JP2010098276A - 半導体発光装置およびその製造方法 - Google Patents

半導体発光装置およびその製造方法 Download PDF

Info

Publication number
JP2010098276A
JP2010098276A JP2009003288A JP2009003288A JP2010098276A JP 2010098276 A JP2010098276 A JP 2010098276A JP 2009003288 A JP2009003288 A JP 2009003288A JP 2009003288 A JP2009003288 A JP 2009003288A JP 2010098276 A JP2010098276 A JP 2010098276A
Authority
JP
Japan
Prior art keywords
semiconductor light
light emitting
emitting device
lead
resin package
Prior art date
Legal status (The legal status is an assumption and is not a legal conclusion. Google has not performed a legal analysis and makes no representation as to the accuracy of the status listed.)
Granted
Application number
JP2009003288A
Other languages
English (en)
Other versions
JP5416975B2 (ja
Inventor
Masahiko Kobayakawa
正彦 小早川
Kazuhiro Mireba
一寛 見連場
Shintaro Yasuda
慎太郎 安田
Junichi Itai
順一 板井
Yasusuke Okada
泰輔 岡田
Current Assignee (The listed assignees may be inaccurate. Google has not performed a legal analysis and makes no representation or warranty as to the accuracy of the list.)
Rohm Co Ltd
Original Assignee
Rohm Co Ltd
Priority date (The priority date is an assumption and is not a legal conclusion. Google has not performed a legal analysis and makes no representation as to the accuracy of the date listed.)
Filing date
Publication date
Priority to JP2009003288A priority Critical patent/JP5416975B2/ja
Application filed by Rohm Co Ltd filed Critical Rohm Co Ltd
Priority to US12/401,852 priority patent/US8633506B2/en
Publication of JP2010098276A publication Critical patent/JP2010098276A/ja
Priority to US14/108,922 priority patent/US8921874B2/en
Application granted granted Critical
Publication of JP5416975B2 publication Critical patent/JP5416975B2/ja
Priority to US14/562,998 priority patent/US9634212B2/en
Priority to US15/457,679 priority patent/US9953901B2/en
Priority to US15/818,202 priority patent/US10446475B2/en
Priority to US15/938,660 priority patent/US10305009B2/en
Priority to US16/562,288 priority patent/US10861778B2/en
Priority to US17/091,690 priority patent/US11444008B2/en
Priority to US17/885,181 priority patent/US11777068B2/en
Priority to US18/459,763 priority patent/US12166162B2/en
Priority to US18/938,905 priority patent/US20250063876A1/en
Active legal-status Critical Current
Anticipated expiration legal-status Critical

Links

Images

Classifications

    • HELECTRICITY
    • H10SEMICONDUCTOR DEVICES; ELECTRIC SOLID-STATE DEVICES NOT OTHERWISE PROVIDED FOR
    • H10HINORGANIC LIGHT-EMITTING SEMICONDUCTOR DEVICES HAVING POTENTIAL BARRIERS
    • H10H20/00Individual inorganic light-emitting semiconductor devices having potential barriers, e.g. light-emitting diodes [LED]
    • H10H20/80Constructional details
    • H10H20/85Packages
    • H10H20/857Interconnections, e.g. lead-frames, bond wires or solder balls
    • HELECTRICITY
    • H10SEMICONDUCTOR DEVICES; ELECTRIC SOLID-STATE DEVICES NOT OTHERWISE PROVIDED FOR
    • H10HINORGANIC LIGHT-EMITTING SEMICONDUCTOR DEVICES HAVING POTENTIAL BARRIERS
    • H10H20/00Individual inorganic light-emitting semiconductor devices having potential barriers, e.g. light-emitting diodes [LED]
    • H10H20/80Constructional details
    • H10H20/85Packages
    • HELECTRICITY
    • H10SEMICONDUCTOR DEVICES; ELECTRIC SOLID-STATE DEVICES NOT OTHERWISE PROVIDED FOR
    • H10HINORGANIC LIGHT-EMITTING SEMICONDUCTOR DEVICES HAVING POTENTIAL BARRIERS
    • H10H20/00Individual inorganic light-emitting semiconductor devices having potential barriers, e.g. light-emitting diodes [LED]
    • H10H20/80Constructional details
    • H10H20/85Packages
    • H10H20/8506Containers
    • HELECTRICITY
    • H10SEMICONDUCTOR DEVICES; ELECTRIC SOLID-STATE DEVICES NOT OTHERWISE PROVIDED FOR
    • H10HINORGANIC LIGHT-EMITTING SEMICONDUCTOR DEVICES HAVING POTENTIAL BARRIERS
    • H10H20/00Individual inorganic light-emitting semiconductor devices having potential barriers, e.g. light-emitting diodes [LED]
    • H10H20/80Constructional details
    • H10H20/85Packages
    • H10H20/851Wavelength conversion means
    • H10H20/8511Wavelength conversion means characterised by their material, e.g. binder
    • H10H20/8512Wavelength conversion materials
    • HELECTRICITY
    • H10SEMICONDUCTOR DEVICES; ELECTRIC SOLID-STATE DEVICES NOT OTHERWISE PROVIDED FOR
    • H10HINORGANIC LIGHT-EMITTING SEMICONDUCTOR DEVICES HAVING POTENTIAL BARRIERS
    • H10H20/00Individual inorganic light-emitting semiconductor devices having potential barriers, e.g. light-emitting diodes [LED]
    • H10H20/80Constructional details
    • H10H20/85Packages
    • H10H20/852Encapsulations
    • HELECTRICITY
    • H10SEMICONDUCTOR DEVICES; ELECTRIC SOLID-STATE DEVICES NOT OTHERWISE PROVIDED FOR
    • H10HINORGANIC LIGHT-EMITTING SEMICONDUCTOR DEVICES HAVING POTENTIAL BARRIERS
    • H10H20/00Individual inorganic light-emitting semiconductor devices having potential barriers, e.g. light-emitting diodes [LED]
    • H10H20/80Constructional details
    • H10H20/85Packages
    • H10H20/852Encapsulations
    • H10H20/853Encapsulations characterised by their shape
    • HELECTRICITY
    • H10SEMICONDUCTOR DEVICES; ELECTRIC SOLID-STATE DEVICES NOT OTHERWISE PROVIDED FOR
    • H10HINORGANIC LIGHT-EMITTING SEMICONDUCTOR DEVICES HAVING POTENTIAL BARRIERS
    • H10H20/00Individual inorganic light-emitting semiconductor devices having potential barriers, e.g. light-emitting diodes [LED]
    • H10H20/80Constructional details
    • H10H20/85Packages
    • H10H20/852Encapsulations
    • H10H20/854Encapsulations characterised by their material, e.g. epoxy or silicone resins
    • HELECTRICITY
    • H10SEMICONDUCTOR DEVICES; ELECTRIC SOLID-STATE DEVICES NOT OTHERWISE PROVIDED FOR
    • H10HINORGANIC LIGHT-EMITTING SEMICONDUCTOR DEVICES HAVING POTENTIAL BARRIERS
    • H10H20/00Individual inorganic light-emitting semiconductor devices having potential barriers, e.g. light-emitting diodes [LED]
    • H10H20/80Constructional details
    • H10H20/85Packages
    • H10H20/855Optical field-shaping means, e.g. lenses
    • H10H20/856Reflecting means
    • HELECTRICITY
    • H10SEMICONDUCTOR DEVICES; ELECTRIC SOLID-STATE DEVICES NOT OTHERWISE PROVIDED FOR
    • H10HINORGANIC LIGHT-EMITTING SEMICONDUCTOR DEVICES HAVING POTENTIAL BARRIERS
    • H10H20/00Individual inorganic light-emitting semiconductor devices having potential barriers, e.g. light-emitting diodes [LED]
    • H10H20/80Constructional details
    • H10H20/85Packages
    • H10H20/858Means for heat extraction or cooling
    • HELECTRICITY
    • H10SEMICONDUCTOR DEVICES; ELECTRIC SOLID-STATE DEVICES NOT OTHERWISE PROVIDED FOR
    • H10HINORGANIC LIGHT-EMITTING SEMICONDUCTOR DEVICES HAVING POTENTIAL BARRIERS
    • H10H20/00Individual inorganic light-emitting semiconductor devices having potential barriers, e.g. light-emitting diodes [LED]
    • H10H20/80Constructional details
    • H10H20/85Packages
    • H10H20/858Means for heat extraction or cooling
    • H10H20/8582Means for heat extraction or cooling characterised by their shape
    • HELECTRICITY
    • H10SEMICONDUCTOR DEVICES; ELECTRIC SOLID-STATE DEVICES NOT OTHERWISE PROVIDED FOR
    • H10HINORGANIC LIGHT-EMITTING SEMICONDUCTOR DEVICES HAVING POTENTIAL BARRIERS
    • H10H20/00Individual inorganic light-emitting semiconductor devices having potential barriers, e.g. light-emitting diodes [LED]
    • H10H20/80Constructional details
    • H10H20/85Packages
    • H10H20/858Means for heat extraction or cooling
    • H10H20/8585Means for heat extraction or cooling being an interconnection
    • H10W70/40
    • H10W70/411
    • H10W70/415
    • H10W70/421
    • H10W70/424
    • H10W70/461
    • H10W70/464
    • H10W72/00
    • H10W72/20
    • H10W74/10
    • H10W90/00
    • H10W90/811
    • H10W90/756

Landscapes

  • Engineering & Computer Science (AREA)
  • Microelectronics & Electronic Packaging (AREA)
  • Power Engineering (AREA)
  • Physics & Mathematics (AREA)
  • Condensed Matter Physics & Semiconductors (AREA)
  • General Physics & Mathematics (AREA)
  • Computer Hardware Design (AREA)
  • Led Device Packages (AREA)
  • Geometry (AREA)

Abstract

【課題】小型化を図りつつ放熱性を高めて高輝度化を図ることができる半導体発光装置を提供すること。
【解決手段】1以上の半導体発光素子と、上記半導体発光素子を囲む樹脂パッケージ4と、を備える半導体発光装置A1であって、上記半導体発光素子をダイボンディングするためのダイボンディングパッドを有するとともに、このダイボンディングパッドの反対側の露出面12が樹脂パッケージ4から露出し、かつこの露出面12が樹脂パッケージ4によって囲われているリードを備える。
【選択図】図2

Description

本発明は、たとえば携帯電話機の光源装置や高精細なドットマトリクス表示器の画素光源として用いられる半導体発光装置、およびその製造方法に関する。
図13は、従来の半導体発光装置の一例を示している(たとえば、特許文献1参照)。同図に示された半導体発光装置Xは、1対の電極92A,92Bが形成された基板91にLEDチップ94がボンディングされた構成とされている。LEDチップ94およびボンディングワイヤ96は、樹脂パッケージ95によって覆われている。電極92Aには、ダイボンディングパッド92Aaが形成されている。LEDチップ94は、Agペースト93を用いてダイボンディングパッド92Aaにダイボンディングされている。電極92Bには、ボンディングワイヤ94をボンディングするためのボンディングパッド92Baが形成されている。
特開2001−196641号公報
しかしながら、近年、たとえば携帯電話機の小型化が強く指向されている。このため、半導体発光装置Xに対しても、小型化の要請が強い。一方、半導体発光装置XにおいてLEDチップ94の高輝度化を図ろうとすると、LEDチップ94に流れる電流が増大し、LEDチップ94からの発熱が増大する。基板91は、ガラスエポキシ樹脂などからなるため、熱伝導率が比較的小さい。LEDチップ94からの放熱を促進しつつ、全体の小型化を図る上で、半導体発光装置Xはいまだ改善の余地があった。
本発明は、上記した事情のもとで考え出されたものであって、小型化を図りつつ放熱性を高めて高輝度化を図ることができる半導体発光装置を提供することをその課題とする。
本発明の第1の側面によって提供される半導体発光装置は、1以上の半導体発光素子と、上記半導体発光素子を囲む樹脂パッケージと、を備える半導体発光装置であって、上記半導体発光素子をダイボンディングするためのダイボンディングパッドを有するとともに、このダイボンディングパッドの反対側の面が上記樹脂パッケージから露出し、かつこの露出面がその面内方向において上記樹脂パッケージによって囲われているリードを備えることを特徴としている。
このような構成によれば、上記リードを介して上記半導体発光素子からの熱を効率よく逃がすことができる。また、上記リードを上記半導体発光素子を搭載するのに最低限必要な大きさとすることが可能である。したがって、上記半導体発光装置の小型化と高輝度化とを図ることができる。
本発明の好ましい実施の形態においては、上記ダイボンディングパッドには、複数の上記半導体発光素子がダイボンディングされている。このような構成によれば、複数の上記半導体発光素子を互いに近接して配置することができる。
本発明の好ましい実施の形態においては、上記リードには、厚さ方向において上記ダイボンディングパッド側に位置する薄肉縁部が形成されている。このような構成によれば、リードが上記樹脂パッケージから抜け落ちることを防止することができる。
本発明の第2の側面によって提供される半導体発光装置は、1以上の半導体発光素子と、上記半導体発光素子を搭載するものを含む1以上のリードと、上記リードを部分的に覆う樹脂パッケージとを備え、上記リードは、上記半導体発光素子が搭載される面とは反対側が窪む薄肉部と、この薄肉部に面内方向につながる厚肉部とを有しており、上記厚肉部における上記反対側の面が上記樹脂パッケージから露出し、かつ上記薄肉部における上記反対側の面が上記樹脂パッケージによって覆われていることを特徴としている。
このような構成によっても、半導体発光素子から発せられる熱を、リードを介して効率よく外部に逃がすことができる。一方、リードには薄肉部が設けられており、この薄肉部においては、半導体発光素子が搭載される面とは反対側の面が樹脂パッケージによって覆われている。したがって、薄肉部が樹脂パッケージに引っ掛かることにより、リードが樹脂パッケージから脱落するのを防止することができる。このことは、半導体発光装置の小型化(薄型化)に有利である。
本発明の好ましい実施の形態においては、上記半導体発光素子が搭載される上記リードは、少なくとも上記薄肉部の一部が上記半導体発光素子と重なっている。
本発明の好ましい実施の形態においては、複数の上記リードが上記面内方向のうち第1方向に離間して並ぶとともに、上記薄肉部および厚肉部は上記面内方向において上記第1方向に対して直角である第2方向に沿って並んでおり、複数の上記リードの上記薄肉部と上記厚肉部との境界は、いずれも上記第1方向に沿った一直線上にある。
本発明の好ましい実施の形態においては、上記厚肉部には、その厚み方向と直角である方向に突出する突起が形成されている。
本発明の第3の側面によって提供される半導体発光装置の製造方法は、金属板に対して、一方の面において一部が窪むようにプレス加工を施すことにより、他方の面において互いに面一となる薄肉部および厚肉部を有するリードを形成する工程と、上記リードの上記他方の面に半導体発光素子を搭載する工程と、上記リードの上記一方の面において上記厚肉部が露出し、かつ上記薄肉部が覆われるようにして、上記リードを部分的に覆う樹脂パッケージを形成する工程と、を有することを特徴としている。このような製造方法によれば、本発明の第2の側面によって提供される半導体発光装置を効率よく、かつ適切に製造することができる。
本発明のその他の特徴および利点は、添付図面を参照して以下に行う詳細な説明によって、より明らかとなろう。
本発明の第1実施形態に係る半導体発光装置を示す平面図である。 本発明の第1実施形態に係る半導体発光装置を示す背面図である。 図1のIII−III線に沿う断面図である。 図1のIV−IV線に沿う断面図である。 本発明の第2実施形態に係る半導体発光装置を示す平面図である。 本発明の第2実施形態に係る半導体発光装置を示す背面図である。 本発明の第3実施形態に係る半導体発光装置を示す平面図である。 本発明の第3実施形態に係る半導体発光装置を示す背面図である。 図7のIX−IX線に沿う断面図である。 薄肉部の形成方法を説明するための図であり、(a)は要部平面図、(b)、(c)は要部断面図である。 本発明の第4実施形態に係る半導体発光装置を示す平面図である。 図11のXII−XII線に沿う断面図である。 従来の半導体発光装置の一例を示す断面図である。
図1〜図4は、本発明の第1実施形態に係る半導体発光装置の一例を示している。第1実施形態の半導体発光装置A1は、複数のリード1A,1B、3つのLEDチップ2、樹脂パッケージ4、および封止樹脂5を備えている。図1においては、便宜上封止樹脂5を省略している。半導体発光装置A1は、平面視寸法が3mm角程度、厚さが0.5〜0.6mm程度とされており、小型でありかつ非常に薄型の半導体発光装置として構成されている。
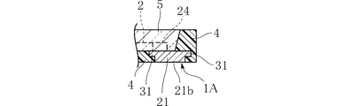
複数のリード1A,1Bは、LEDチップ2を支持するとともに、LEDチップ2に電力を供給するためのものである。複数のリード1A,1Bは、たとえばCu、その合金、またはFe−Ni合金からなり、その厚さが0.1mm弱程度とされている。リード1Aは、ダイボンディングパッド11、露出面12、および薄肉縁部13を有している。ダイボンディングパッド11は、LEDチップ2をダイボンディングするための部分であり、略帯状とされている。図2に示すように、ダイボンディングパッド11の裏側にある露出面12は、樹脂パッケージ4から露出しており、四方を樹脂パッケージ4によって囲われている。図3および図4に示すように、薄肉縁部13は、ダイボンディングパッド11を囲むように形成されている。薄肉縁部13は、ダイボンディングパッド11と面一とされており、露出面12が露出している側には露出していない。
複数のリード1Bは、ワイヤボンディングパッド14、端子15、および薄肉縁部16を有している。ワイヤボンディングパッド14は、ワイヤ3をボンディングするためのものである。端子15は、ワイヤボンディングパッド14とは反対側にある面であり、図2に示すように樹脂パッケージ4から露出している。図3に示すように、薄肉縁部16は、ワイヤボンディングパッド14から延出しており、端子15が露出している側には露出していない。
LEDチップ2は、半導体発光装置A1の光源であり、たとえばn型半導体層およびp型半導体層と、これらに挟まれた活性層とが積層された構造とされている。本実施形態においては、3つのLEDチップ2が搭載されている。これらのLEDチップ2は、たとえば赤色光、緑色光、および青色光を発光する。
樹脂パッケージ4は、複数のリード1A,1Bの一部ずつを覆っており、たとえば白色樹脂によって形成されている。樹脂パッケージ4には、3つのLEDチップ2を囲む内向き傾斜面4aが形成されている。この内向き傾斜面4aは、3つのLEDチップ2から側方に出射された光を半導体発光装置A1の外部に向けて反射させるリフレクタとして機能する。樹脂パッケージ4は、たとえばリード1A,1Bが配置された金型(図略)内に溶融状態の樹脂材料を注入することにより一体成形される。
封止樹脂5は、LEDチップ2およびワイヤ3を保護するためのものである。封止樹脂5は、内向き傾斜面4aによって囲われた空間に充填されている。封止樹脂5は、LEDチップ2からの光に対して透光性を有するたとえばエポキシ樹脂を用いて形成されている。
次に、半導体発光装置A1の作用について説明する。
第1実施形態によれば、LEDチップ2からの熱を露出面12を介してたとえば半導体発光装置A1が実装される回路基板(図示略)に効率よく逃がすことができる。これにより、半導体発光装置A1の高輝度化を図ることができる。
また、リード1Aは、露出面12がその四方から樹脂パッケージ4に囲われており、樹脂パッケージ4の端縁まで延出していない。一方、LEDチップ2は、半導体発光装置A1の中央寄りに設けることが、高輝度化の観点から好ましい。このため、リード1Aを、LEDチップ2を搭載するのに最低限必要なサイズとすることができる。これは、半導体発光装置A1の小型化に好ましい。
ダイボンディングパッド11に3つのLEDチップ2を搭載することにより、これらのLEDチップ2を互いに近接して配置することができる。これは、3つのLEDチップ2からの光の混色を促進するのに適している。
薄肉縁部13,16を設けることにより、複数のリード1A,1Bが樹脂パッケージ4から抜け落ちることを防止することができる。
図5および図6は、本発明の第2実施形態に係る半導体発光装置を示している。第2実施形態の半導体発光装置A2は、ダイボンディングパッド11(リード1A)の形状が上述した第1実施形態と異なっている。なお、これらの図において、第1実施形態と同一または類似の要素には、第1実施形態と同一の符号を付している。
第2実施形態においては、図5に示すように、ダイボンディングパッド11は、その幅が長手方向において段階的に異なる形状とされている。比較的幅広である部分17には、2つのLEDチップ2がダイボンディングされている。また、比較的狭幅である部分18には、1つのLEDチップ2がダイボンディングされている。このような実施形態によれば、3つのLEDチップ2を、それぞれが三角形の頂点に位置する配置とすることができる。これは、3つのLEDチップ2からの光を混色させるのに好適である。
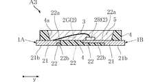
図7〜図9は、本発明の第3実施形態に係る半導体発光装置を示している。なお、これらの図において、上記実施形態と同一または類似の要素には、上記実施形態と同一の符号を付している。また、第3実施形態においては、図7の紙面における左右方向をX方向、それに直交する方向をY方向とする。
第3実施形態の半導体発光装置A3では、1つのリード1Aと複数のリード1Bとが配置されていた第1および第2実施形態の半導体発光装置A1,A2に対し、リード1A,1Bが対をなし、その対の組み合わせが複数配置されている点で第1および第2実施形態の半導体発光装置A1,A2と異なる。すなわち、複数のリード1A,1Bは、図7に示すように、Y方向に離間して対をなすリード1A,1BがX方向に離間して3つ並んだ態様となっている。
各リード1A,1Bは、図9に示すように、相対的に厚さの大きい厚肉部21、および相対的に厚さの小さい薄肉部22がY方向につながった板状とされている。薄肉部22は、上面22aが厚肉部21と面内方向に面一状である一方、上面22aとは反対側が窪んでいる。厚肉部21の下面21bは、樹脂パッケージ4から露出しており、半導体発光装置A3を図示しない回路基板に面実装するための端子として用いられる。薄肉部22の下面22bは、樹脂パッケージ4によって覆われている。リード1A,1Bの厚さは、厚肉部21が0.15mm程度、薄肉部22が0.1mm弱程度とされている。
図7に示すように、各リード1Aの厚肉部21と薄肉部22との境界は、X方向に沿った直線L1上にある。また、各リード1Bの厚肉部21と薄肉部22との境界は、X方向に沿った直線L2上にある。このような薄肉部22を有するリード1A,1Bは、たとえばプレス加工によって形成することができる。
薄肉部22の形成手順の具体例を、図10を参照して以下に示す。まず、図10(a)、(b)に示すように、厚さが均一な複数の金属板1A’,1B’をバックアップ用の金型23Aおよびプレス用の金型23B間にセットする。金型23Bは、平面視矩形状とされている。ここで、金属板1A’,1B’は、リードフレーム(図示略)などによって一体的に支持されている。次いで、図10(c)に示すように、金型23Bを押し下げて金属板1A’,1B’に所定の衝撃荷重を加えることにより、金属板1A’,1B’のうち金型23Bによって押圧された部位は窪む。この窪んだ部分が、薄肉部22となる。このようにして、金属板1A’,1B’から、1回のプレス操作によって、リード1A,1Bが形成される。すなわち、リード1A,1Bにおいて、薄肉部11と厚肉部12との境界は、金型23Bの外形線と一致している。
第3実施形態においては、3つのLEDチップ2は、たとえば赤色光、緑色光、青色光を発するLEDチップ2R,2G,2Bからなる。LEDチップ2は、図9に示すように、リード1A,1Bの薄肉部22の上面22aに各別に搭載されている。各LEDチップ2には、ワイヤ3の一端が接合されている。ワイヤ3の他端は、LEDチップ2が搭載されるリード1A(1B)とY方向に対をなすリード1B(1A)に接合されている。
第3実施形態では、LEDチップ2Rは、一組の電極が両側の主面に分散して配置される両面電極構造とされており、X方向中央のリード1Bにダイボンディングされている。リードLEDチップ2G,2Bは、一組の電極が片方の主面にまとめて配置される片面電極構造とされており、X方向両端のリード1Aにボンディングされている。また、X方向両端のリード1Bには、LEDチップ2G,2Bと逆バイアスになるように並列接続されたツェナーダイオード24が搭載されており、LEDチップ2G,2Bに過剰な電流が流れるのを防止している。
次に、半導体発光装置A3の作用について説明する。
第3実施形態によれば、LEDチップ2から発せられる熱を、リード1A,1Bの露出面(厚肉部21の下面21b)を介して、たとえば半導体発光装置A3が面実装される回路基板(図示略)に効率よく逃がすことができる。一方、リード1A,1Bには薄肉部22が設けられており、この薄肉部22の下面22bは、樹脂パッケージ4によって覆われている。これにより、半導体発光装置A3の小型化を図るべくリード1A,1B全体の厚さを薄くしても、薄肉部22が樹脂パッケージ4に引っ掛かることにより、リード1A,1Bが樹脂パッケージ4から脱落するのを防止することができる。このことは、半導体発光装置A3の小型化(薄型化)に有利である。
リード1A,1Bにおいては、薄肉部22にLEDチップ2が搭載されており、この薄肉部22は比較的広範囲に設けられている。したがって、リード1A,1Bは、樹脂パッケージ4によって広い範囲にわたって覆われており、リード1A,1Bが樹脂パッケージ4から脱落するのを確実に防止することができる。また、LEDチップ2を薄肉部22に搭載することにより、図7に示すように、複数のLEDチップ2を互いに近接して配置することができる。このことは、半導体発光装置A3の小型化に有利である。
第3実施形態では、リード1A,1Bの薄肉部22は、矩形状の金型23Bでプレスすることにより一括して形成される。したがって、薄肉部22の形成を簡単に行うことが可能であり、また、薄肉部22の寸法の安定化を図ることができる。このことは、半導体発光装置A3の小型化を図るうえで有利である。
図11および図12は、本発明の第4実施形態に係る半導体発光装置を示している。第4実施形態の半導体発光装置A4は、各リード1A,1Bに突起31が形成されている点で第3実施形態の半導体発光装置A3と異なる。なお、これらの図において、上記実施形態と同一または類似の要素には、上記実施形態と同一の符号を付している。
第4実施形態では、図11に示すように、リード1Aおよびリード1Bの厚肉部21の両側面、すなわち樹脂パッケージ4に接触する面において、厚肉部21の厚み方向と直角である方向に突出する複数の突起31が形成されている。各突起31は、平面視略矩形状とされている。各突起31は、その厚さが薄肉部12の厚さと同じとされ、半導体発光装置A4の背面には露出していない。
この第4実施形態によれば、リード1A,1Bの厚肉部21に突起31が形成されているので、リード1A,1Bの表面積を実質的に増大させることができる。そのため、リード1A,1Bと樹脂パッケージ4との接触面積を増やすことができるので、樹脂パッケージ4との密着性を高めることができる。したがって、リード1A,1Bが樹脂パッケージ4から抜け落ちることをより一層効果的に抑制することができる。
また、リード1A,1Bと、樹脂パッケージ4との密着性を高める方法としては、たとえばリード1A,1BがCu以外の材質で形成されている場合、リード1A,1Bのダイボンディングおよびワイヤボンディングされる部分を除く表面に、樹脂パッケージ4とのなじみがよいCuめっきを施してもよい。また、ダイボンディングおよびワイヤボンディングされる部分を除く表面にたとえばショット・ブラストを施し、当該表面を微細な凹凸状に形成するようにしてもよい。さらに、これらの方法を必要に応じて組み合わせて用いてもよい。
本発明に係る半導体発光装置は、上述した実施形態に限定されるものではない。本発明に係る半導体発光装置の具体的な構成は、種々に設計変更自在である。
上記実施形態で示したように、たとえば3つのLEDチップ2から赤色光、緑色光、青色光を発光させる構成に限定されず、たとえば、青色光を発光するLEDチップ2と蛍光物質が混入された封止樹脂5とを備える構成としてもよい。この場合、白色光を出射することができる。また、3つのLEDチップ2は、全て同じ色(たとえば青色光)を発光するものでもよい。LEDチップ2が同じ色を発光すれば、より輝度の高い半導体発光装置とすることができる。
また、第3実施形態においては、LEDチップ2がリード1A,1Bの薄肉部22に搭載される構成とされているが、これに限定されるものではない。LEDチップ2が薄肉部22と厚肉部21とに跨って搭載される、あるいは厚肉部21に搭載される構成であってもよい。
A1,A2,A3,A4 半導体発光装置
1A,1B リード
1A’,1B’ 金属板
2 LEDチップ(半導体発光素子)
3 ワイヤ
4 樹脂パッケージ
5 封止樹脂
11 ダイボンディングパッド
12 露出面
13 薄肉縁部
14 ワイヤボンディングパッド
15 端子
16 薄肉縁部
21 厚肉部
21b 下面(半導体発光素子が搭載される面とは反対側の面)
22 薄肉部
22a 上面(半導体発光素子が搭載される面)
22b 下面(半導体発光素子が搭載される面とは反対側の面)
31 突起
L1,L2 直線

Claims (8)

  1. 1以上の半導体発光素子と、
    上記半導体発光素子を囲む樹脂パッケージと、
    を備える半導体発光装置であって、
    上記半導体発光素子をダイボンディングするためのダイボンディングパッドを有するとともに、このダイボンディングパッドの反対側の面が上記樹脂パッケージから露出し、かつこの露出面がその面内方向において上記樹脂パッケージによって囲われているリードを備えることを特徴とする、半導体発光装置。
  2. 上記ダイボンディングパッドには、複数の上記半導体発光素子がダイボンディングされている、請求項1に記載の半導体発光装置。
  3. 上記リードには、厚さ方向において上記ダイボンディングパッド側に位置する薄肉縁部が形成されている、請求項1または2に記載の半導体発光装置。
  4. 1以上の半導体発光素子と、
    上記半導体発光素子を搭載するものを含む1以上のリードと、
    上記リードを部分的に覆う樹脂パッケージとを備え、
    上記リードは、上記半導体発光素子が搭載される面とは反対側が窪む薄肉部と、この薄肉部に面内方向につながる厚肉部とを有しており、
    上記厚肉部における上記反対側の面が上記樹脂パッケージから露出し、かつ上記薄肉部における上記反対側の面が上記樹脂パッケージによって覆われていることを特徴とする、半導体発光装置。
  5. 上記半導体発光素子が搭載される上記リードは、少なくとも上記薄肉部の一部が上記半導体発光素子と重なっている、請求項4に記載の半導体発光装置。
  6. 複数の上記リードが上記面内方向のうち第1方向に離間して並ぶとともに、上記薄肉部および厚肉部は上記面内方向において上記第1方向に対して直角である第2方向に沿って並んでおり、
    複数の上記リードの上記薄肉部と上記厚肉部との境界は、いずれも上記第1方向に沿った一直線上にある、請求項4または5に記載の半導体発光装置。
  7. 上記厚肉部には、その厚み方向と直角である方向に突出する突起が形成されている、請求項4ないし6のいずれかに記載の半導体発光装置。
  8. 金属板に対して、一方の面において一部が窪むようにプレス加工を施すことにより、他方の面において互いに面一となる薄肉部および厚肉部を有するリードを形成する工程と、
    上記リードの上記他方の面に半導体発光素子を搭載する工程と、
    上記リードの上記一方の面において上記厚肉部が露出し、かつ上記薄肉部が覆われるようにして、上記リードを部分的に覆う樹脂パッケージを形成する工程と、
    を有することを特徴とする、半導体発光装置の製造方法。
JP2009003288A 2008-03-11 2009-01-09 半導体発光装置 Active JP5416975B2 (ja)

Priority Applications (12)

Application Number Priority Date Filing Date Title
JP2009003288A JP5416975B2 (ja) 2008-03-11 2009-01-09 半導体発光装置
US12/401,852 US8633506B2 (en) 2008-03-11 2009-03-11 Semiconductor light emitting device and method for manufacturing the same
US14/108,922 US8921874B2 (en) 2008-03-11 2013-12-17 Semiconductor light emitting device and method for manufacturing the same
US14/562,998 US9634212B2 (en) 2008-03-11 2014-12-08 Semiconductor light emitting device and method for manufacturing the same
US15/457,679 US9953901B2 (en) 2008-03-11 2017-03-13 Semiconductor light emitting device and method for manufacturing the same
US15/818,202 US10446475B2 (en) 2008-03-11 2017-11-20 Semiconductor light emitting device and method for manufacturing the same
US15/938,660 US10305009B2 (en) 2008-03-11 2018-03-28 Semiconductor light emitting device and method for manufacturing the same
US16/562,288 US10861778B2 (en) 2008-03-11 2019-09-05 Semiconductor light emitting device and method for manufacturing the same
US17/091,690 US11444008B2 (en) 2008-03-11 2020-11-06 Semiconductor light emitting device and method for manufacturing the same
US17/885,181 US11777068B2 (en) 2008-03-11 2022-08-10 Semiconductor light emitting device and method for manufacturing the same
US18/459,763 US12166162B2 (en) 2008-03-11 2023-09-01 Semiconductor light emitting device and method for manufacturing the same
US18/938,905 US20250063876A1 (en) 2008-03-11 2024-11-06 Semiconductor light emitting device and method for manufacturing the same

Applications Claiming Priority (5)

Application Number Priority Date Filing Date Title
JP2008060781 2008-03-11
JP2008060781 2008-03-11
JP2008236997 2008-09-16
JP2008236997 2008-09-16
JP2009003288A JP5416975B2 (ja) 2008-03-11 2009-01-09 半導体発光装置

Publications (2)

Publication Number Publication Date
JP2010098276A true JP2010098276A (ja) 2010-04-30
JP5416975B2 JP5416975B2 (ja) 2014-02-12

Family

ID=41062048

Family Applications (1)

Application Number Title Priority Date Filing Date
JP2009003288A Active JP5416975B2 (ja) 2008-03-11 2009-01-09 半導体発光装置

Country Status (2)

Country Link
US (11) US8633506B2 (ja)
JP (1) JP5416975B2 (ja)

Cited By (14)

* Cited by examiner, † Cited by third party
Publication number Priority date Publication date Assignee Title
JP2011077188A (ja) * 2009-09-29 2011-04-14 Toyoda Gosei Co Ltd 照明装置
JP2012039110A (ja) * 2010-07-15 2012-02-23 Lextar Electronics Corp 発光ダイオード、そのフレーム形成方法及び改良されたフレーム構造
JP2012089669A (ja) * 2010-10-19 2012-05-10 Dainippon Printing Co Ltd 半導体装置およびその製造方法
JP2012119376A (ja) * 2010-11-29 2012-06-21 Toshiba Corp Ledパッケージ
JP2013012732A (ja) * 2011-05-30 2013-01-17 Nichia Chem Ind Ltd 発光装置
JP2013012712A (ja) * 2011-06-29 2013-01-17 Lg Innotek Co Ltd 発光素子パッケージ及びこれを具備したライトユニット
JP2014225511A (ja) * 2013-05-15 2014-12-04 ローム株式会社 Ledモジュールおよびledモジュールの製造方法
JP2016021554A (ja) * 2014-06-16 2016-02-04 シチズン電子株式会社 Led発光装置
JP2016127059A (ja) * 2014-12-26 2016-07-11 日亜化学工業株式会社 発光装置
JP2016201456A (ja) * 2015-04-09 2016-12-01 豊田合成株式会社 発光装置
JP2017174798A (ja) * 2016-03-18 2017-09-28 ローム株式会社 Led照明装置
KR101830135B1 (ko) * 2011-07-29 2018-02-20 엘지이노텍 주식회사 발광 소자
JP2018160677A (ja) * 2010-09-17 2018-10-11 ローム株式会社 半導体発光装置
JP2020504437A (ja) * 2017-03-28 2020-02-06 山東晶泰星光電科技有限公司Shandong Prosperous Star Optoelectronics Co.,Ltd. 集積型rgb−ledディスプレイ

Families Citing this family (36)

* Cited by examiner, † Cited by third party
Publication number Priority date Publication date Assignee Title
JP5416975B2 (ja) * 2008-03-11 2014-02-12 ローム株式会社 半導体発光装置
JP5464825B2 (ja) * 2008-07-23 2014-04-09 ローム株式会社 Ledモジュール
US10431567B2 (en) * 2010-11-03 2019-10-01 Cree, Inc. White ceramic LED package
EP2478750B1 (en) * 2009-09-17 2014-11-12 Koninklijke Philips N.V. Light-source module and light-emitting device
JP5010716B2 (ja) * 2010-01-29 2012-08-29 株式会社東芝 Ledパッケージ
US8901583B2 (en) 2010-04-12 2014-12-02 Cree Huizhou Opto Limited Surface mount device thin package
US9831393B2 (en) 2010-07-30 2017-11-28 Cree Hong Kong Limited Water resistant surface mount device package
US9627361B2 (en) * 2010-10-07 2017-04-18 Cree, Inc. Multiple configuration light emitting devices and methods
US9240395B2 (en) 2010-11-30 2016-01-19 Cree Huizhou Opto Limited Waterproof surface mount device package and method
KR20120067153A (ko) * 2010-12-15 2012-06-25 삼성엘이디 주식회사 발광소자, 발광소자 패키지, 발광소자의 제조방법, 및 발광소자의 패키징 방법
CN102738353A (zh) * 2011-04-12 2012-10-17 国碁电子(中山)有限公司 Led封装结构
JP6338136B2 (ja) * 2013-04-30 2018-06-06 東芝ライテック株式会社 車両用照明装置、および車両用灯具
US9711489B2 (en) 2013-05-29 2017-07-18 Cree Huizhou Solid State Lighting Company Limited Multiple pixel surface mount device package
US9166131B2 (en) * 2013-07-17 2015-10-20 Tai-Yin Huang Composite LED package and its application to light tubes
CN104979338B (zh) * 2014-04-10 2018-07-27 光宝光电(常州)有限公司 发光二极管封装结构
JP6225812B2 (ja) 2014-04-18 2017-11-08 日亜化学工業株式会社 発光装置
CN105206534B (zh) * 2014-06-19 2019-06-07 先进科技新加坡有限公司 引线框架及其形成方法、芯片封装方法
DE102014110074A1 (de) * 2014-07-17 2016-01-21 Osram Opto Semiconductors Gmbh Elektronisches Bauelement, Leiterrahmen und Verfahren zum Herstellen eines elektronischen Bauelements
CN105742467A (zh) * 2014-12-30 2016-07-06 震扬集成科技股份有限公司 承载器阵列以及发光二极管封装结构
WO2016117910A1 (ko) * 2015-01-19 2016-07-28 엘지이노텍 주식회사 발광 소자
CN106571383B (zh) * 2015-10-08 2020-04-28 联华电子股份有限公司 半导体元件及其制作方法
JP2017147272A (ja) * 2016-02-15 2017-08-24 ローム株式会社 半導体装置およびその製造方法、ならびに、半導体装置の製造に使用されるリードフレーム中間体
JP6842246B2 (ja) * 2016-05-26 2021-03-17 ローム株式会社 Ledモジュール
US11545471B2 (en) * 2017-07-07 2023-01-03 Creeled, Inc. RGB LED package with BSY emitter
KR101946289B1 (ko) * 2018-01-24 2019-05-02 엘지이노텍 주식회사 발광 소자 패키지 및 이를 구비한 라이트 유닛
CN108305926B (zh) * 2018-02-08 2020-02-07 开发晶照明(厦门)有限公司 Led支架、led模组、以及led支架的制造方法
CN109244102A (zh) * 2018-09-10 2019-01-18 佛山市国星光电股份有限公司 一种led显示单元组及显示面板
US11189764B2 (en) 2018-11-22 2021-11-30 Nichia Corporation Light-emitting device and manufacturing method thereof
KR101998785B1 (ko) * 2019-01-30 2019-07-10 엘지이노텍 주식회사 발광 소자 패키지 및 이를 구비한 라이트 유닛
DE102019105123B4 (de) * 2019-02-28 2021-08-12 Infineon Technologies Ag Halbleiteranordnung, laminierte Halbleiteranordnung und Verfahren zur Herstellung einer Halbleiteranordnung
KR102042547B1 (ko) * 2019-07-04 2019-11-08 엘지이노텍 주식회사 발광 소자 패키지 및 이를 구비한 라이트 유닛
US11538741B2 (en) * 2020-02-17 2022-12-27 Texas Instruments Incorporated Multi-chip module leadless package
US11552006B2 (en) 2020-07-22 2023-01-10 Texas Instruments Incorporated Coated semiconductor devices
CN112747295B (zh) * 2021-01-25 2024-10-01 崇义县精亿灯饰制品有限公司 灯珠支架及灯具
DE102021125056A1 (de) 2021-09-28 2023-03-30 OSRAM Opto Semiconductors Gesellschaft mit beschränkter Haftung Bauelement mit einer mehrzahl von halbleiterchips
TWI792914B (zh) * 2022-02-10 2023-02-11 友達光電股份有限公司 顯示裝置

Citations (9)

* Cited by examiner, † Cited by third party
Publication number Priority date Publication date Assignee Title
JP2004274027A (ja) * 2003-02-18 2004-09-30 Sharp Corp 半導体発光装置、その製造方法および電子撮像装置
JP2005353914A (ja) * 2004-06-11 2005-12-22 Toshiba Corp 半導体発光装置及びその製造方法並びに半導体発光ユニット
JP2006261242A (ja) * 2005-03-15 2006-09-28 Toshiba Corp リードフレームおよびそれを用いた光半導体装置
JP2007073575A (ja) * 2005-09-05 2007-03-22 Matsushita Electric Ind Co Ltd 半導体発光装置
JP2007208265A (ja) * 2006-02-02 2007-08-16 Lg Electronics Inc リードフレーム及びこれを用いた発光素子パッケージ
JP2007288198A (ja) * 2006-04-17 2007-11-01 Samsung Electro-Mechanics Co Ltd 発光ダイオードパッケージ及びその製造方法
JP2007335765A (ja) * 2006-06-16 2007-12-27 Nichia Chem Ind Ltd 発光装置
JP2008047712A (ja) * 2006-08-16 2008-02-28 Nichia Chem Ind Ltd 発光装置
JP2010021374A (ja) * 2008-07-10 2010-01-28 Hitachi Cable Ltd 半導体パッケージ

Family Cites Families (43)

* Cited by examiner, † Cited by third party
Publication number Priority date Publication date Assignee Title
DE4242842C2 (de) * 1992-02-14 1999-11-04 Sharp Kk Lichtemittierendes Bauelement zur Oberflächenmontage und Verfahren zu dessen Herstellung
US5521429A (en) * 1993-11-25 1996-05-28 Sanyo Electric Co., Ltd. Surface-mount flat package semiconductor device
DE19638667C2 (de) 1996-09-20 2001-05-17 Osram Opto Semiconductors Gmbh Mischfarbiges Licht abstrahlendes Halbleiterbauelement mit Lumineszenzkonversionselement
US6054716A (en) 1997-01-10 2000-04-25 Rohm Co., Ltd. Semiconductor light emitting device having a protecting device
JP3461332B2 (ja) * 1999-09-10 2003-10-27 松下電器産業株式会社 リードフレーム及びそれを用いた樹脂パッケージと光電子装置
JP2001196641A (ja) 2000-01-14 2001-07-19 Matsushita Electric Ind Co Ltd 表面実装型の半導体装置
JP4731021B2 (ja) * 2001-01-25 2011-07-20 ローム株式会社 半導体装置の製造方法および半導体装置
AU2002252090A1 (en) * 2001-02-27 2002-09-12 Microsemi Corporation Encapsulated die package with improved parasitic and thermal performance
JP2002314138A (ja) 2001-04-09 2002-10-25 Toshiba Corp 発光装置
US6437429B1 (en) * 2001-05-11 2002-08-20 Walsin Advanced Electronics Ltd Semiconductor package with metal pads
US7057273B2 (en) * 2001-05-15 2006-06-06 Gem Services, Inc. Surface mount package
US20040061232A1 (en) * 2002-09-27 2004-04-01 Medtronic Minimed, Inc. Multilayer substrate
TW594950B (en) * 2003-03-18 2004-06-21 United Epitaxy Co Ltd Light emitting diode and package scheme and method thereof
CN100587560C (zh) * 2003-04-01 2010-02-03 夏普株式会社 发光装置用组件、发光装置、背侧光照射装置、显示装置
US20050037082A1 (en) * 2003-08-13 2005-02-17 Wan-Kei Wan Poly(vinyl alcohol)-bacterial cellulose nanocomposite
US20050077616A1 (en) * 2003-10-09 2005-04-14 Ng Kee Yean High power light emitting diode device
JP2005183531A (ja) * 2003-12-17 2005-07-07 Sharp Corp 半導体発光装置
JP3915992B2 (ja) * 2004-06-08 2007-05-16 ローム株式会社 面実装型電子部品の製造方法
JP3994095B2 (ja) * 2004-06-23 2007-10-17 ローム株式会社 面実装型電子部品
US20070295975A1 (en) 2004-06-25 2007-12-27 Sanyo Electric Co., Ltd. Light-Emitting Device
JP5192811B2 (ja) * 2004-09-10 2013-05-08 ソウル セミコンダクター カンパニー リミテッド 多重モールド樹脂を有する発光ダイオードパッケージ
TWI277223B (en) * 2004-11-03 2007-03-21 Chen-Lun Hsingchen A low thermal resistance LED package
KR100665117B1 (ko) * 2005-02-17 2007-01-09 삼성전기주식회사 Led 하우징 및 그 제조 방법
US20060208364A1 (en) * 2005-03-19 2006-09-21 Chien-Jen Wang LED device with flip chip structure
US7705365B2 (en) * 2006-01-24 2010-04-27 Denso Corporation Lighting device and light emitting module for the same
KR100820529B1 (ko) * 2006-05-11 2008-04-08 엘지이노텍 주식회사 발광 장치 및 그 제조방법, 면 발광 장치
JP4300223B2 (ja) * 2006-06-30 2009-07-22 株式会社 日立ディスプレイズ 照明装置および照明装置を用いた表示装置
US8367945B2 (en) * 2006-08-16 2013-02-05 Cree Huizhou Opto Limited Apparatus, system and method for use in mounting electronic elements
US7910938B2 (en) * 2006-09-01 2011-03-22 Cree, Inc. Encapsulant profile for light emitting diodes
KR101026914B1 (ko) 2006-12-28 2011-04-04 니치아 카가쿠 고교 가부시키가이샤 발광 장치, 패키지, 발광 장치의 제조 방법, 패키지의 제조방법 및 패키지 제조용 금형
JP5106862B2 (ja) * 2007-01-15 2012-12-26 昭和電工株式会社 発光ダイオードパッケージ
TWI367573B (en) * 2007-01-31 2012-07-01 Young Lighting Technology Inc Light emitting diode package and manufacturing method thereof
DE102007015474A1 (de) * 2007-03-30 2008-10-02 Osram Opto Semiconductors Gmbh Elektromagnetische Strahlung emittierendes optoelektronisches Bauelement und Verfahren zur Herstellung eines optoelektronischen Bauelements
US20080265248A1 (en) 2007-04-27 2008-10-30 Microchip Technology Incorporated Leadframe Configuration to Enable Strip Testing of SOT-23 Packages and the Like
JP5431688B2 (ja) * 2007-06-29 2014-03-05 ソウル セミコンダクター カンパニー リミテッド マルチledパッケージ
CN101388161A (zh) * 2007-09-14 2009-03-18 科锐香港有限公司 Led表面安装装置和并入有此装置的led显示器
US8018139B2 (en) * 2007-11-05 2011-09-13 Enertron, Inc. Light source and method of controlling light spectrum of an LED light engine
US7524087B1 (en) * 2007-11-16 2009-04-28 Avago Technologies Ecbu Ip (Singapore) Pte. Ltd. Optical device
KR101488448B1 (ko) * 2007-12-06 2015-02-02 서울반도체 주식회사 Led 패키지 및 그 제조방법
JP5416975B2 (ja) * 2008-03-11 2014-02-12 ローム株式会社 半導体発光装置
US8598602B2 (en) * 2009-01-12 2013-12-03 Cree, Inc. Light emitting device packages with improved heat transfer
US8368112B2 (en) * 2009-01-14 2013-02-05 Cree Huizhou Opto Limited Aligned multiple emitter package
US10431567B2 (en) * 2010-11-03 2019-10-01 Cree, Inc. White ceramic LED package

Patent Citations (9)

* Cited by examiner, † Cited by third party
Publication number Priority date Publication date Assignee Title
JP2004274027A (ja) * 2003-02-18 2004-09-30 Sharp Corp 半導体発光装置、その製造方法および電子撮像装置
JP2005353914A (ja) * 2004-06-11 2005-12-22 Toshiba Corp 半導体発光装置及びその製造方法並びに半導体発光ユニット
JP2006261242A (ja) * 2005-03-15 2006-09-28 Toshiba Corp リードフレームおよびそれを用いた光半導体装置
JP2007073575A (ja) * 2005-09-05 2007-03-22 Matsushita Electric Ind Co Ltd 半導体発光装置
JP2007208265A (ja) * 2006-02-02 2007-08-16 Lg Electronics Inc リードフレーム及びこれを用いた発光素子パッケージ
JP2007288198A (ja) * 2006-04-17 2007-11-01 Samsung Electro-Mechanics Co Ltd 発光ダイオードパッケージ及びその製造方法
JP2007335765A (ja) * 2006-06-16 2007-12-27 Nichia Chem Ind Ltd 発光装置
JP2008047712A (ja) * 2006-08-16 2008-02-28 Nichia Chem Ind Ltd 発光装置
JP2010021374A (ja) * 2008-07-10 2010-01-28 Hitachi Cable Ltd 半導体パッケージ

Cited By (22)

* Cited by examiner, † Cited by third party
Publication number Priority date Publication date Assignee Title
JP2011077188A (ja) * 2009-09-29 2011-04-14 Toyoda Gosei Co Ltd 照明装置
JP2012039110A (ja) * 2010-07-15 2012-02-23 Lextar Electronics Corp 発光ダイオード、そのフレーム形成方法及び改良されたフレーム構造
US10593846B2 (en) 2010-09-17 2020-03-17 Rohm Co., Ltd. Semiconductor light-emitting device, method for producing same, and display device
JP2018160677A (ja) * 2010-09-17 2018-10-11 ローム株式会社 半導体発光装置
JP2012089669A (ja) * 2010-10-19 2012-05-10 Dainippon Printing Co Ltd 半導体装置およびその製造方法
JP2012119376A (ja) * 2010-11-29 2012-06-21 Toshiba Corp Ledパッケージ
JP2013012732A (ja) * 2011-05-30 2013-01-17 Nichia Chem Ind Ltd 発光装置
JP2013012712A (ja) * 2011-06-29 2013-01-17 Lg Innotek Co Ltd 発光素子パッケージ及びこれを具備したライトユニット
US10559734B2 (en) 2011-06-29 2020-02-11 Lg Innotek Co., Ltd. Light emitting device package and light unit including the same
US10147857B2 (en) 2011-06-29 2018-12-04 Lg Innotek Co., Ltd. Light emitting device package and light unit including the same
JP2016167642A (ja) * 2011-06-29 2016-09-15 エルジー イノテック カンパニー リミテッド 発光素子パッケージ
US9515058B2 (en) 2011-06-29 2016-12-06 Lg Innotek Co., Ltd. Light emitting device package and light unit including the same
US9728525B2 (en) 2011-06-29 2017-08-08 Lg Innotek Co., Ltd. Light emitting device package and light unit including the same
JP2017157838A (ja) * 2011-06-29 2017-09-07 エルジー イノテック カンパニー リミテッド 発光素子パッケージ
KR101830135B1 (ko) * 2011-07-29 2018-02-20 엘지이노텍 주식회사 발광 소자
JP2014225511A (ja) * 2013-05-15 2014-12-04 ローム株式会社 Ledモジュールおよびledモジュールの製造方法
JP2016021554A (ja) * 2014-06-16 2016-02-04 シチズン電子株式会社 Led発光装置
JP2016127059A (ja) * 2014-12-26 2016-07-11 日亜化学工業株式会社 発光装置
US10283489B2 (en) 2014-12-26 2019-05-07 Nichia Corporation Light emitting device
JP2016201456A (ja) * 2015-04-09 2016-12-01 豊田合成株式会社 発光装置
JP2017174798A (ja) * 2016-03-18 2017-09-28 ローム株式会社 Led照明装置
JP2020504437A (ja) * 2017-03-28 2020-02-06 山東晶泰星光電科技有限公司Shandong Prosperous Star Optoelectronics Co.,Ltd. 集積型rgb−ledディスプレイ

Also Published As

Publication number Publication date
US20250063876A1 (en) 2025-02-20
JP5416975B2 (ja) 2014-02-12
US8921874B2 (en) 2014-12-30
US20170186930A1 (en) 2017-06-29
US8633506B2 (en) 2014-01-21
US20230411581A1 (en) 2023-12-21
US9634212B2 (en) 2017-04-25
US9953901B2 (en) 2018-04-24
US20090230413A1 (en) 2009-09-17
US20140103375A1 (en) 2014-04-17
US10861778B2 (en) 2020-12-08
US20190393139A1 (en) 2019-12-26
US20220384699A1 (en) 2022-12-01
US11777068B2 (en) 2023-10-03
US20180076371A1 (en) 2018-03-15
US11444008B2 (en) 2022-09-13
US20180218967A1 (en) 2018-08-02
US10305009B2 (en) 2019-05-28
US20150091044A1 (en) 2015-04-02
US20210057312A1 (en) 2021-02-25
US10446475B2 (en) 2019-10-15
US12166162B2 (en) 2024-12-10

Similar Documents

Publication Publication Date Title
JP5416975B2 (ja) 半導体発光装置
JP5368982B2 (ja) 半導体発光装置
JP5038623B2 (ja) 光半導体装置およびその製造方法
CN101675537B (zh) 半导体发光装置
JP6131048B2 (ja) Ledモジュール
JP5161504B2 (ja) 半導体発光装置
JP2012114286A (ja) Ledパッケージ
JP2012114311A (ja) Ledモジュール
JP2012114284A (ja) Ledモジュール及び照明装置
JP2012113919A (ja) 照明装置
JP2018107207A (ja) Ledパッケージ
JP2009260222A (ja) 半導体発光モジュールおよびその製造方法
JP6619966B2 (ja) 半導体発光装置
JP2007115928A (ja) 半導体発光装置
JP2014067933A (ja) 発光装置
JP2021129092A (ja) 発光装置
JP2019106556A (ja) 半導体装置

Legal Events

Date Code Title Description
A621 Written request for application examination

Free format text: JAPANESE INTERMEDIATE CODE: A621

Effective date: 20111227

A977 Report on retrieval

Free format text: JAPANESE INTERMEDIATE CODE: A971007

Effective date: 20121128

A131 Notification of reasons for refusal

Free format text: JAPANESE INTERMEDIATE CODE: A131

Effective date: 20130219

A521 Request for written amendment filed

Free format text: JAPANESE INTERMEDIATE CODE: A523

Effective date: 20130418

TRDD Decision of grant or rejection written
A01 Written decision to grant a patent or to grant a registration (utility model)

Free format text: JAPANESE INTERMEDIATE CODE: A01

Effective date: 20131022

A61 First payment of annual fees (during grant procedure)

Free format text: JAPANESE INTERMEDIATE CODE: A61

Effective date: 20131118

R150 Certificate of patent or registration of utility model

Ref document number: 5416975

Country of ref document: JP

Free format text: JAPANESE INTERMEDIATE CODE: R150

R250 Receipt of annual fees

Free format text: JAPANESE INTERMEDIATE CODE: R250

R250 Receipt of annual fees

Free format text: JAPANESE INTERMEDIATE CODE: R250

R250 Receipt of annual fees

Free format text: JAPANESE INTERMEDIATE CODE: R250

R250 Receipt of annual fees

Free format text: JAPANESE INTERMEDIATE CODE: R250

R250 Receipt of annual fees

Free format text: JAPANESE INTERMEDIATE CODE: R250

R250 Receipt of annual fees

Free format text: JAPANESE INTERMEDIATE CODE: R250

S111 Request for change of ownership or part of ownership

Free format text: JAPANESE INTERMEDIATE CODE: R313113

R350 Written notification of registration of transfer

Free format text: JAPANESE INTERMEDIATE CODE: R350

R250 Receipt of annual fees

Free format text: JAPANESE INTERMEDIATE CODE: R250