JP2010076517A - 車両の制御装置 - Google Patents

車両の制御装置 Download PDF

Info

Publication number
JP2010076517A
JP2010076517A JP2008244920A JP2008244920A JP2010076517A JP 2010076517 A JP2010076517 A JP 2010076517A JP 2008244920 A JP2008244920 A JP 2008244920A JP 2008244920 A JP2008244920 A JP 2008244920A JP 2010076517 A JP2010076517 A JP 2010076517A
Authority
JP
Japan
Prior art keywords
air
heating
engine
cooling
mix door
Prior art date
Legal status (The legal status is an assumption and is not a legal conclusion. Google has not performed a legal analysis and makes no representation as to the accuracy of the status listed.)
Granted
Application number
JP2008244920A
Other languages
English (en)
Other versions
JP5176820B2 (ja
Inventor
Makoto Yoshida
真 吉田
Current Assignee (The listed assignees may be inaccurate. Google has not performed a legal analysis and makes no representation or warranty as to the accuracy of the list.)
Mazda Motor Corp
Original Assignee
Mazda Motor Corp
Priority date (The priority date is an assumption and is not a legal conclusion. Google has not performed a legal analysis and makes no representation as to the accuracy of the date listed.)
Filing date
Publication date
Application filed by Mazda Motor Corp filed Critical Mazda Motor Corp
Priority to JP2008244920A priority Critical patent/JP5176820B2/ja
Publication of JP2010076517A publication Critical patent/JP2010076517A/ja
Application granted granted Critical
Publication of JP5176820B2 publication Critical patent/JP5176820B2/ja
Expired - Fee Related legal-status Critical Current
Anticipated expiration legal-status Critical

Links

Images

Landscapes

  • Air-Conditioning For Vehicles (AREA)

Abstract

【課題】エンジンの自動停止時に、空調性能を確保しながら、エアミックスドアのモータの作動音の発生頻度を低減すること。
【解決手段】エンジンEGを自動停止するエンジン制御部10と、車室内の前部吹出部を有する空調ユニット110と、室温が目標室温に近づくように制御する空調制御部とを備え、空調ユニット110が、前部吹出部に連通した空気通路D1と、前部吹出部へ空気を圧送する送風機と、送風機により圧送される空気を冷却する冷却部と、送風機により圧送される空気を加熱する加熱部と、前部吹出部から吹き出される空調空気の、冷却部により冷却された空気と、加熱部により加熱された空気と、の混合割合を調整するエアミックスドアと、ドアを駆動するモータと、を備えた車両の制御装置において、エアミックスドアの開度を規定するモータに対する制御量を、エンジン制御部10によるエンジンEGの自動停止中は、そうでない場合よりも増大補正する。
【選択図】図1

Description

本発明は、車両の制御技術に関し、特に、エンジンを自動的に停止させる機能を備えた車両における空調装置を制御する技術に関する。
車両の制御装置として、特許文献1には、車両が予め定めた条件を満たす場合に、エンジンを停止させる自動停止機能(いわゆるアイドリングストップ機能)を備えた車両において、この機能によりエンジンが停止した際に、空調装置の送風ファンを作動させて車室内の空調を行う技術が開示されている。
特許第3624617号
ここで、空調装置は、加熱用熱交換器と冷却用熱交換器とを備え、これらのそれぞれには、エンジンの駆動力を用いて加熱媒体や冷却媒体が供給されている。このため、アイドリングストップ機能によってエンジンが停止した場合、加熱用熱交換器又は冷却用熱交換器に対する加熱媒体又は冷却媒体の供給が停止することとなる。これにより、加熱用熱交換器の加熱性能又は冷却用熱交換器の冷却性能が低下してしまうため、これを補うべく、エアミックスドアを作動させて加熱空気と冷却空気との混合割合を調整している。
しかしながら、エアミックスドアは、モータにより駆動するため、頻繁に作動した場合には、乗員にとって耳障りとなる。特に、エンジンがアイドリングストップ機能により停止している場合には、この作動音が顕著に露呈してしまう。
従って、本発明の目的は、エンジンの自動停止時に、空調性能を確保しながら、エアミックスドアのモータの作動音の発生頻度を低減することにある。
上記課題を解決するため、本発明においては、予め定めた条件が成立した場合に、エンジンを自動停止する自動停止手段と、車室内に空調空気を吹き出す吹出部を有する空調手段と、車室内の実室温が目標室温に近づくように前記空調手段を制御する空調制御手段と、を備え、前記空調手段が、前記吹出部に連通した空気通路と、前記空気通路に設けられ、前記吹出部へ空気を圧送する送風機と、前記空気通路に設けられ、前記送風機により圧送される空気を冷却する冷却手段と、前記空気通路に設けられ、前記送風機により圧送される空気を加熱する加熱手段と、前記空気通路に設けられ、前記吹出部から吹き出される空調空気の、前記冷却手段により冷却された空気と、前記加熱手段により加熱された空気と、の混合割合を調整するエアミックスドアと、前記エアミックスドアを駆動するモータと、を備えた車両の制御装置において、前記空調制御手段は、前記エアミックスドアの開度を規定する前記モータに対する制御量を、前記自動停止手段による前記エンジンの自動停止中は、そうでない場合よりも増大補正することを特徴とする車両の制御装置が提供される。
本発明によれば、前記空調制御手段は、前記エアミックスドアの開度を規定する前記モータに対する制御量を、前記自動停止手段による前記エンジンの自動停止中は、そうでない場合よりも増大補正するため、前記空調装置の空調性能を確保しながら、前記エアミックスドアを作動する前記モータの作動音の発生頻度を低減することができる。
また、本発明においては、前記エアミックスドアは、運転席側に供給する空調空気における前記冷却された空気と前記加熱された空気との混合割合を調整する第1のエアミックスドアと、助手席側に供給する空調空気における前記冷却された空気と前記加熱された空気との混合割合を調整する第2のエアミックスドアと、を備え、前記モータは、前記第1のエアミックスドアを作動する第1のモータと、前記第2のエアミックスドアを作動する第2のモータと、を備え、前記空調制御手段は、前記第1及び第2のモータを独立して制御する構成であってもよい。このように、前記空調制御手段が前記第1及び第2のモータを独立して制御する構成とすると、前記モータの作動音の発生頻度が更に増加するが、前記モータに対する制御量を増大補正することにより、前記モータの作動音の発生頻度を低減することができる。
また、本発明においては、前記空調手段は、前記冷却手段に冷却媒体を供給する冷却媒体供給手段と、前記加熱手段に加熱媒体を供給する加熱媒体供給手段と、を更に備え、前記冷却媒体供給手段及び前記加熱媒体供給手段の少なくともいずれか一方は、エンジンの駆動力を用いることにより、前記冷却手段に前記冷却媒体を供給し、又は前記加熱手段に前記加熱媒体を供給する構成であってもよい。この構成によれば、前記加熱媒体供給手段、前記冷却媒体供給手段の少なくともいずれか一方が、エンジンの駆動力を用いて前記供給処理を行うため、前記自動停止手段によるエンジンの自動停止中は、前記加熱媒体又は前記冷却媒体の供給が停止されることとなる。このため、前記冷却手段の冷却性能、前記加熱手段の加熱性能の少なくともいずれか一方が低下するため、前記エアミックスドアの開度調整が頻繁に行われることとなる。このような状態で、前記モータに対する制御量を増大補正することにより、前記モータの作動音の発生頻度をより効果的に低減することができる。
また、本発明においては、前記空調手段は、前記冷却媒体又は前記冷却された空気の温度を検出する第1温度検出手段と、前記加熱媒体又は前記加熱された空気の温度を検出する第2温度検出手段と、を備え、前記空調制御手段は、前記自動停止手段によるエンジンの自動停止中は、前記第1又は前記第2温度検出手段で検出した温度の変化量に基づいて、前記モータを制御する構成であってもよい。この構成によれば、エンジンが停止されている間は、前記加熱用熱交換器の加熱性能又は前記冷却用熱交換器の冷却性能が低下していくため、それに応じて前記モータを駆動していく必要があるが、前記モータに対する制御量を増大補正することにより、前記モータの作動音の発生頻度を低減することができる。
本発明によれば、エンジンの自動停止時に、空調性能を確保しながら、エアミックスドアのモータの作動音の発生頻度を低減することができる。
以下に、本発明の実施の形態について添付図面を参照して詳細に説明する。なお、以下に説明する実施の形態は、本発明の実現手段としての一例であり、本発明は、その趣旨を逸脱しない範囲で以下の実施形態を修正又は変形したものに適用可能である。
[全体構成]
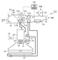
図1は、本発明の一実施形態に係る車両の側面図である。図2において、(a)は図1のA方向から見た矢視図であり、(b)は暖房強度設定部220を示す図であり、(c)は暖房ユニット210の構成を概念的に示す図である。図3は、本発明の一実施形態に係る空調ユニット110の構成を概念的に示す図である。図4において、(a)は加熱媒体W1の循環経路を示す図であり、(b)は冷却媒体W2の循環経路を示す図である。図5は、空調制御部130の機能的構成を示すブロック図である。
本実施形態では、車両前後方向の長さが長い車両(例えば、ミニバンタイプ)を想定しており、車室内には、車両前後方向に並んで3列のシートS1、S2、S3が配設される。シートS1は、運転席及び助手席である。ダッシュボードDBの車両前後方向前方には、エンジンルームERが形成される。
エンジンルームER内には、エンジンEGやトルクコンバータTC等が搭載される。エンジンEGは、種々のセンサから取得される情報に基づいて、エンジン制御部10によって制御される。エンジン制御部10は、例えば、CPU、ROM、RAM等を有するエンジンコントロールユニット(ECU)である。エンジン制御部10は、予め定めた条件が成立した場合に燃料噴射制御や点火制御等によりエンジンEGを自動停止させる自動停止部として機能する。すなわち、エンジン制御部10は、エンジンEGをアイドリングストップさせるか否かを制御する機能を有する。
また、車両には、車室内の空調を行う車両用空調装置Sが配設される。
[車両用空調装置Sの構成]
車両用空調装置Sは、車室内空間のうち、前席側空間に空調空気を吹き出す前部吹出部113を有する空調ユニット110と、車室内及び車室外の空調環境を検出する空調環境検出部120と、車室内の実室温が目標室温に近づくように空調ユニット110を制御する空調制御部130とを備える。
空調ユニット110は、ダッシュボードDBの車両前後方向前方に設けられる。空調ユニット110は、前部吹出部113に連通した空気通路D1と、車室内又は車室外の空気を圧送する送風機111と、送風機111により圧送される空気を冷却する冷却部112bと、送風機111により圧送される空気を加熱する加熱部112aと、前部吹出部113から吹き出される空調空気の、冷却部112bにより冷却された空気と、加熱部112aにより加熱された空気との混合割合を調整するエアミックスドア114と、エアミックスドア114を駆動するモータ115とを備える。また、空調ユニット110は、加熱部112aに加熱媒体W1を供給する加熱媒体供給部112eと、冷却部112bに冷却媒体W2を供給する冷却媒体供給部112fとを備える。
送風機111は、空気通路D1に設けられる。また、送風機111は、車室内から取り込んだ内気を圧送するモードと、車室外から取り込んだ外気を圧送するモードとを切替弁B1を切り替えることにより選択可能である。
冷却部112bは、空気通路D1内において、送風機111の送風方向の下流側に設けられる。また、冷却部112bは、冷却用熱交換器で構成され、この冷却用熱交換器には、冷却媒体供給部112fによってエンジンEGの駆動力を用いることにより冷却媒体W2が供給される。
加熱部112aは、空気通路D1内において、冷却部112bに対して、送風機111の送風方向の下流側に設けられる。また、加熱部112aは、加熱用熱交換器で構成され、この加熱用熱交換器には、加熱媒体供給部112eによって加熱媒体W1が供給される。
加熱媒体供給部112eは、エンジンEGから熱を奪って高温となった冷却水を加熱媒体W1として加熱部112aに供給し、加熱部112aで熱を奪われて低温となった冷却水を再びエンジンEGに戻すウォーターポンプH1と、エンジンEGから熱を奪って高温となった冷却水を冷却するラジエータH2とを有する。
ウォーターポンプH1は、本実施形態では、モータを作動させることにより、冷却水を強制的に循環させる。ラジエータH2は、エンジンEGの車両前後方向前方であって、後述のコンデンサC2の車両前後方向後方のエンジンルームER内に配設され、フロントグリルから取り入れた走行風に加えて、エンジンEGの駆動力を用いて作動するファンF1によって冷却される。
冷却媒体供給部112fは、冷却部112bで空気の熱を奪って気化した低温・低圧の冷媒ガスを吸入圧縮して高温・高圧のガス冷媒とするコンプレッサC1と、コンプレッサC1からの高温・高圧のガス冷媒を冷却して凝縮液化して冷却部112bに供給するコンデンサC2とを有する。
コンプレッサC1には、その出力軸にプーリP1が固定されており、そのプーリP1とエンジンEGのクランクシャフトCSに固定されたプーリP2との間でベルトB1が巻き回されている。これにより、エンジンEGの駆動力がコンプレッサC1に伝達される。コンデンサC2は、本実施形態では、ラジエータH2の車両前後方向前方のエンジンルームER内に配設され、走行風によって冷却される。
従って、エンジン制御部10によってエンジンEGが停止されている場合には、クランクシャフトCSが回転しないため、コンプレッサC1が作動せず、冷却媒体W2の供給が停止されることとなる。なお、ウォーターポンプH1は、本実施形態では、モータにより駆動するものとしたが、コンプレッサC1と同様に、エンジンEGの駆動力を用いて作動する構成としてもよい。また、ウォーターポンプH1をエンジンEGの駆動力を用いて作動させ、コンプレッサC1をモータによって作動させる構成であってもよい。
エアミックスドア114及びモータ115は、空気通路D1内において、冷却部112bと加熱部112aとの間に設けられる。すなわち、エアミックスドア114は、冷却部112bで冷却された空気が加熱部112aを通過する割合を規定する。モータ115は、回動軸115cを有し、その回動軸115cにエアミックスドア114が固定される。モータ115には、例えば、ステッピングモータやサーボモータ、ポテンショ式モータ等のように回転角度を制御可能であるモータを用いることができる。
前部吹出部113は、フロントウインドウFWの内面に空調空気を吹き出す吹出口113aと、シートS1(前席)の乗員に向けて空調空気を吹き出す吹出口113bとを含む。吹出口113bは、シートS1(前席)に着座する乗員の顔面に向けて空調空気を吹き出す吹出口113b’と、シートS1(前席)に着座する乗員の足元に向けて空調空気を吹き出す吹出口113b”とを含む。
吹出口113aは、フロントウインドウFWの曇りを除去又は防止するデフロスタモードに用いられる。吹出口113b’、113b”は、フェイスモード、フットモードにそれぞれ用いられる。空調ユニット110は、吹出口113a、113bから空調空気を吹き出す第1モードと、吹出口113aのみから空調空気を吹き出す第2モードを含む複数の動作モードで動作可能である。
空調環境検出部120は、車室温度Trを検出する内気温度検出センサ121、外気温度Tambを検出する外気温度検出センサ122、加熱部112aで加熱された加熱空気の温度を検出する加熱空気温度検出センサ123(第2温度検出手段)と、冷却部112bで冷却された冷却空気の温度を検出する冷却空気温度検出センサ124(第1温度検出手段)と、日射量を検出する日射量検出センサ125とを有する。
内気温度検出センサ121は、ダッシュボードDBに設けられ、前席側の車室温度を検出する。加熱空気温度検出センサ123は、加熱部112aの送風方向に対する下流側に設けられ、冷却空気温度検出センサ124は、冷却部112bの送風方向に対する下流側に設けられる。加熱空気温度検出センサ123及び冷却空気温度検出センサ124は、加熱空気又は冷却空気の温度を常時検出している。しかし、加熱空気温度検出センサ123及び冷却空気温度検出センサ124は、アイドリングストップ機能によってエンジンEGが停止している間だけ検出するようにしても構わない。
また、加熱空気温度検出センサ123は、加熱部112aで加熱された加熱空気の温度を検出するものとしたが、加熱媒体W1の温度を検出するものとしてもよい。同様に、冷却空気温度検出センサ124は、冷却部112bで冷却された冷却空気の温度を検出するものとしたが、冷却媒体W2の温度を検出するものとしてもよい。
空調制御部130は、例えば、CPU、ROM、RAM等を有する車載コンピュータである。空調制御部130は、エアミックスドア114の開度を規定するモータ115に対する制御量をエンジン制御部10によるエンジンEGの自動停止中は、そうでない場合よりも増大補正する。すなわち、空調制御部130には、空調環境検出部120としての種々のセンサが接続されている。空調制御部130は、これらのセンサから入力される情報に基づいて、送風機111の電圧Vやエアミックスドア114の開度、すなわち、モータ115の回転角度Rを制御する。なお、空調制御部130の具体的な制御手順については後述する。
また、車両用空調装置Sは、車室内空間のうち、後席側空間の暖房強度を乗員が設定可能な暖房強度設定部220と、暖房強度設定部220により設定された暖房強度に応じて、後席側空間に暖気を吹き出す後部吹出部213を有する暖房ユニット210とを備える。
暖房ユニット210は、後部吹出部213に連通した空気通路D2と、車室内の空気を圧送する送風機211と、送風機211により圧送される空気を加熱する加熱部212とを有する。
送風機211及び加熱部212は、空気通路D2内において、運転席及び助手席の上下方向下方に設けられる。加熱部212は、加熱用熱交換器で構成され、この加熱用熱交換器には、図4(a)で示すように、加熱媒体供給部112eによって空調ユニット110の加熱部112aに供給される加熱媒体W1と同じ加熱媒体が供給される。
後部吹出部213は、シートS1の上下方向下方に配設され、シートS2の乗員の足元に温風を吹き出す吹出口213aと、シートS2の上下方向下方に配設され、シートS3の乗員の足元に温風を吹き出す吹出口213bとを含む。
暖房強度設定部220は、ルーフ部R2の車室側に配設され、送風機211の送風能力をユーザが設定可能である。すなわち、送風能力は、本実施形態では送風強度であり、図2(b)で示すように、「OFF・1・2・3」の4段階に設定することができる。更に、ユーザは、後席の乗員の足元に空調空気を吹き出すモード(フットモード)と、後席の乗員の顔面周辺に空調空気を吹き出すモード(フェイスモード)とに設定可能である。なお、これらのフットモードとフェイスモードとを同時に設定することも可能である。
また、暖房強度設定部220は、本実施形態では、送風機211の送風能力を設定可能であるものとしたが、加熱部212の加熱能力をユーザが設定可能としてもよい。
[空調制御部130の制御について]
図6は、空調制御部130の制御手順を示す図である。まず、ステップS101において、各種のセンサで検出された情報を読み込む。具体的には、車室温度Tr、外気温度Tamb、日射量Sun、冷却空気温度Te、加熱空気温度Tw、乗員によって設定された空調ユニット110の設定温度Tsetを読み込む。
次に、ステップS102において、目標車室温度Ttargetを(式1)を用いて算出する。なお、(式1)のfは演算式であることを示す。
Ttarget=f(Tamb,Sun,Tset)・・・(式1)
次に、ステップS103において、車室温度Trが目標車室温度Ttargetと同値となるように、空調ユニット110の送風機111の風量及び空調空気の温度を算出する。そして、ステップS104において、ステップS103で算出された送風機111の風量及び空調空気の温度に基づいて、送風機111の電圧及びエアミックスドア114の開度を算出する。
次に、ステップS105において、車室温度Trと目標車室温度Ttargetとの差分(絶対値)が閾値th1以下であるか否かを判定する。ステップS105で差分が閾値th1以下であると判定された場合には、ステップS106において、アイドリングストップ許可をエンジン制御部10に送信する。一方、ステップS105で差分が閾値th1よりも大きいと判定された場合には、ステップS106及びステップS107の処理を行わずにステップS109に進む。
次に、ステップS107において、空調制御部130がエンジン制御部10からアイドリングストップの実行を受信したか否かを判定する。ステップS107でアイドリングストップの実行を受信したと判定された場合には、ステップS108において、エアミックスドア114の開度補正処理を行う。なお、エアミックスドア開度補正処理の詳細については後述する。一方、ステップS107でアイドリングストップの実行を受信しなかったと判定された場合には、エアミックスドア開度補正処理を行わずにステップS109に進む。
ステップS109では、送風機111の電圧V及びエアミックスドア114の開度Xに基づいて、送風機111及びモータ115を制御する。
図7は、第1の実施形態に係るエアミックスドア開度補正処理(ステップS108)の詳細な動作手順を示す図である。
まず、ステップS108aにおいて、加熱空気温度検出センサ123で検出された加熱空気温度Twが低下したか、又は冷却空気温度検出センサ124で検出された冷却空気温度Teが上昇したか否かを判定する。ステップS108aで加熱空気温度Twが低下したか、又は冷却空気温度Teが上昇したと判定された場合には、ステップS108bにおいて、加熱空気温度Twの低下量又は冷却空気温度Teの上昇量を補正するためのエアミックスドア114の開度補正量ΔXを算出する。すなわち、開度補正量ΔXは、エンジンEGがアイドリング停止したことに起因する変化量を補正する値である。一方、ステップS108aで加熱空気温度Twが低下せず、かつ、冷却空気温度Teが上昇していないと判定された場合には、エアミックスドア114の開度補正処理を行わずにステップS108の処理を終了する。エンジンEGがアイドリング停止しているとしても、加熱空気温度Tw又は冷却空気温度Teに変化がなければ、空調空気の温度に影響が出ないためである。
従って、空調制御部130は、エンジン制御部10によってエンジンEGが停止されている間、加熱空気温度検出センサ123で検出した加熱空気温度Tw及び冷却空気温度検出センサ124で検出した冷却空気温度Teの変化量ΔXに基づいて、モータ115を制御する。
なお、ステップS108aでは、エンジンEGが自動停止してから加熱空気温度Twが少しでも上昇した、又は冷却空気温度Teが少しでも低下した場合には、ステップS108bに進むこととするが、変化量の閾値を予め設定しておき、変化量がその閾値を越えているか否かによって判定してもよい。
次に、ステップS108cにおいて、ステップS108bで算出されたエアミックスドア114の開度補正量ΔXが閾値th2よりも大きいか否かを判定する。ステップS108cで開度補正量ΔXが閾値th2よりも大きい(ΔX>th2)と判定された場合には、ステップS108dにおいて、エアミックスドア114の開度Xを(式2)を用いて補正する。
X=X+ΔX・・・(式2)
一方、ステップS108cで開度補正量ΔXが閾値th2以下である(ΔX<=th2)と判定された場合には、エアミックスドア114の開度補正処理を行わずにステップS108の処理を終了する。
その後、ステップS108eにおいて、エアミックスドア114の制御量単位をxからxよりも大きいx’に変更する。最後に、上述したステップS109において、この補正後のエアミックスドア114の開度Xに基づいて、エアミックスドアXのモータ115の回転角度をステップS108eで変更された制御量単位x’で制御する。
従って、空調制御部130は、エンジン制御部10によってエンジンEGが停止されている間、エンジンEG作動中の制御量単位よりも大きい制御量単位でモータ115を駆動する。例えば、エンジン作動中におけるモータ115の1回当たりの回転角度が3°であった場合には、エンジンEGがアイドリング停止中にはモータ115の1回当たりの回転角度を6°に設定することにより、モータ115の作動音の発生頻度を半減させることができる。
以上述べた通り、本実施形態によれば、エンジンEGがアイドリング停止している間において、空調性能を確保しながら、エアミックスドア114のモータ115の作動音の発生頻度を低減することができる。
なお、本実施形態では、エンジン制御部10と空調制御部130とが別々の制御装置からなるものとしたが、1つの制御装置がこれらの機能を備えていても構わない。また、本実施形態では、後席側の暖房を行う暖房ユニット210を備える構成としたが、暖房ユニット210は本発明を実施する上で必須の構成ではない。
[第1の実施形態の変形例]
なお、上述の実施形態では、空調ユニット110は、運転席側と助手席側との間で同じ温度の空調空気を供給する構成としたが、図8で示すように、運転席側と助手席側との間で異なる温度の空調空気を供給可能である構成としてもよい。図8は、一実施形態の変形例に係る空調ユニット310を概念的に示す図である。
エアミックスドア114は、運転席側に供給する空調空気における加熱空気と冷却空気との混合割合を調整するエアミックスドア114a(第1のエアミックスドア)と、助手席側に供給する空調空気における加熱空気と冷却空気との混合割合を調整するエアミックスドア114b(第2のエアミックスドア)とを含む。
モータ115は、エアミックスドア114aを作動するモータ115a(第1のモータ)と、エアミックスドア114bを作動するモータ115b(第2のモータ)とを含む。
エアミックスドア114の送風方向に対する上流側には、冷却部112bがダクトの幅全域に渡って配設され、エアミックスドア114の送風方向に対する下流側には、加熱部112aがダクトの幅全域に渡って配設される。また、加熱部112aの送風方向に対する下流側には、上述のフェイスモードやフットモード等の吹き出しモードを選択するためのモードダンパ116が設けられる。モードダンパ116は、ユーザの操作に応じて駆動するモータ117によって作動する。
空調制御部130は、エアミックスドア114a、114bのモータ115a、115bを独立して制御する。これにより、運転席と助手席とで設定温度Tsetを変えることで、運転席と助手席との間で異なる温度の空調空気を供給することが可能となる。このような制御を行うと、2つのモータ115a、115bのそれぞれから作動音が発生することとなるため、本発明を適用することにより、作動音の発生頻度をより効果的に減少させることができる。
<第2の実施形態>
上述の第1の実施形態では、エアミックスドア114の開度補正量ΔXが閾値th2よりも大きい場合にのみ、開度補正処理を行うものであった。一方、本実施形態では、エンジンEGがアイドリング停止した時からタイマのカウントを開始し、タイマが所定時間カウントを完了した場合にのみ開度補正処理を行う。すなわち、本実施形態では、エンジンEGがアイドリング停止してから所定時間経過した場合には、必ず開度補正処理を行うことにより、エンジン停止時における目標車室温度の維持に重点を置いた制御を行う。
図9は、第2の実施形態に係るエアミックスドア開度補正処理(ステップS108)の詳細な制御手順を示す図である。まず、ステップS107でエンジン制御部10からアイドリングストップの実行を受信した場合には、ステップS108a’において、タイマのカウントを開始する。
そして、ステップS108b’において、加熱空気温度検出センサ123で検出された加熱空気温度Twが低下したか、又は冷却空気温度検出センサ124で検出された冷却空気温度Teが上昇したか否かを判定する。ステップS108b’で加熱空気温度Twが低下せず、かつ、冷却空気温度Teが上昇していないと判定された場合には、エアミックスドア114の開度補正処理を行わずにステップS108の処理を終了する。一方、ステップS108b’で加熱空気温度Twが低下したか、又は冷却空気温度Teが上昇したと判定された場合には、ステップS108c’において、タイマが所定時間のカウントを完了したか否かを判定する。
ステップS108c’でタイマが所定時間のカウントを完了していないと判定された場合には、エアミックスドア114の開度補正処理を行わずにステップS108の処理を終了する。一方、ステップS108c’でタイマが所定時間のカウントを完了したと判定された場合には、ステップS108d’において、エアミックスドア114の開度補正量ΔXを算出する。
そして、ステップS108e’において、ステップS104で算出されたエアミックスドア114の開度Xに開度補正量ΔXを(式3)のように加算する補正を行って、ステップS108f’でタイマをリセットする。
X=X+ΔX・・・(式3)
その後、ステップS108g’において、エアミックスドア114の制御量単位をxからxよりも大きいx’に変更する。最後に、上述したステップS109において、この補正後のエアミックスドア114の開度Xに基づいて、エアミックスドアXのモータ115の回転角度をステップS108g’で変更された制御量単位x’で制御する。
以上述べた通り、本実施形態によれば、エンジンEGがアイドリング停止している際に、空調性能を確保しながら、エアミックスドア114のモータ115の作動音の発生頻度を低減することができる。
本発明の一実施形態に係る車両の側面図である。 (a)は図1のA方向から見た矢視図であり、(b)は暖房強度設定部220を示す図であり、(c)は暖房ユニット210の構成を概念的に示す図である。 本発明の一実施形態に係る空調ユニット110の構成を概念的に示す図である。 (a)は加熱媒体W1の循環経路を示す図であり、(b)は冷却媒体W2の循環経路を示す図である。 空調制御部130の機能的構成を示すブロック図である。 空調制御部130の制御手順を示す図である。 第1の実施形態に係るエアミックスドア開度補正処理(ステップS108)の詳細な制御手順を示す図である。 第1の実施形態の変形例に係る空調ユニット310の構成を概念的に示す図である。 第2の実施形態に係るエアミックスドア開度補正処理(ステップS108)の詳細な制御手順を示す図である。
符号の説明
C2 コンデンサ
D1 空気通路
DB ダッシュボード
EG エンジン
ER エンジンルーム
FW フロントウインドウ
H2 ラジエータ
10 エンジン制御部
110 空調ユニット
111 送風機
112a 加熱部
112b 冷却部
113 前部吹出部
114 エアミックスドア
115 モータ
120 空調環境検出部
130 空調制御部

Claims (4)

  1. 予め定めた条件が成立した場合に、エンジンを自動停止する自動停止手段と、
    車室内に空調空気を吹き出す吹出部を有する空調手段と、
    車室内の実室温が目標室温に近づくように前記空調手段を制御する空調制御手段と、を備え、
    前記空調手段が、
    前記吹出部に連通した空気通路と、
    前記空気通路に設けられ、前記吹出部へ空気を圧送する送風機と、
    前記空気通路に設けられ、前記送風機により圧送される空気を冷却する冷却手段と、
    前記空気通路に設けられ、前記送風機により圧送される空気を加熱する加熱手段と、
    前記空気通路に設けられ、前記吹出部から吹き出される空調空気の、前記冷却手段により冷却された空気と、前記加熱手段により加熱された空気と、の混合割合を調整するエアミックスドアと、
    前記エアミックスドアを駆動するモータと、
    を備えた車両の制御装置において、
    前記空調制御手段は、
    前記エアミックスドアの開度を規定する前記モータに対する制御量を、前記自動停止手段による前記エンジンの自動停止中は、そうでない場合よりも増大補正することを特徴とする車両の制御装置。
  2. 前記エアミックスドアは、
    運転席側に供給する空調空気における前記冷却された空気と前記加熱された空気との混合割合を調整する第1のエアミックスドアと、
    助手席側に供給する空調空気における前記冷却された空気と前記加熱された空気との混合割合を調整する第2のエアミックスドアと、を備え、
    前記モータは、
    前記第1のエアミックスドアを作動する第1のモータと、
    前記第2のエアミックスドアを作動する第2のモータと、を備え、
    前記空調制御手段は、前記第1及び第2のモータを独立して制御することを特徴とする請求項1に記載の車両の制御装置。
  3. 前記空調手段は、
    前記冷却手段に冷却媒体を供給する冷却媒体供給手段と、
    前記加熱手段に加熱媒体を供給する加熱媒体供給手段と、を更に備え、
    前記冷却媒体供給手段及び前記加熱媒体供給手段の少なくともいずれか一方は、エンジンの駆動力を用いることにより、前記冷却手段に前記冷却媒体を供給し、又は前記加熱手段に前記加熱媒体を供給することを特徴とする請求項1又は2に記載の車両の制御装置。
  4. 前記空調手段は、
    前記冷却媒体又は前記冷却された空気の温度を検出する第1温度検出手段と、
    前記加熱媒体又は前記加熱された空気の温度を検出する第2温度検出手段と、を備え、
    前記空調制御手段は、前記自動停止手段によるエンジンの自動停止中は、前記第1又は前記第2温度検出手段で検出した温度の変化量に基づいて、前記モータを制御することを特徴とする請求項3に記載の車両の制御装置。
JP2008244920A 2008-09-24 2008-09-24 車両の制御装置 Expired - Fee Related JP5176820B2 (ja)

Priority Applications (1)

Application Number Priority Date Filing Date Title
JP2008244920A JP5176820B2 (ja) 2008-09-24 2008-09-24 車両の制御装置

Applications Claiming Priority (1)

Application Number Priority Date Filing Date Title
JP2008244920A JP5176820B2 (ja) 2008-09-24 2008-09-24 車両の制御装置

Publications (2)

Publication Number Publication Date
JP2010076517A true JP2010076517A (ja) 2010-04-08
JP5176820B2 JP5176820B2 (ja) 2013-04-03

Family

ID=42207476

Family Applications (1)

Application Number Title Priority Date Filing Date
JP2008244920A Expired - Fee Related JP5176820B2 (ja) 2008-09-24 2008-09-24 車両の制御装置

Country Status (1)

Country Link
JP (1) JP5176820B2 (ja)

Cited By (8)

* Cited by examiner, † Cited by third party
Publication number Priority date Publication date Assignee Title
WO2012035573A1 (ja) * 2010-09-14 2012-03-22 三菱電機株式会社 空気調和装置
CN104057799A (zh) * 2013-03-18 2014-09-24 马自达汽车株式会社 车辆用空调控制装置
JP2014180892A (ja) * 2013-03-18 2014-09-29 Mazda Motor Corp 車両用空調制御装置
JP2014180882A (ja) * 2013-03-18 2014-09-29 Mazda Motor Corp 車両用空調制御装置
JP2014193640A (ja) * 2013-03-28 2014-10-09 Japan Climate Systems Corp 車両用空調装置
JP2015186963A (ja) * 2014-03-27 2015-10-29 マツダ株式会社 車両用空調制御装置
JP2016120801A (ja) * 2014-12-24 2016-07-07 マツダ株式会社 車両用空調装置
KR101801230B1 (ko) * 2011-08-23 2017-11-24 한온시스템 주식회사 아이들 스톱 차량용 공조장치

Citations (10)

* Cited by examiner, † Cited by third party
Publication number Priority date Publication date Assignee Title
JPH0717241A (ja) * 1993-06-30 1995-01-20 Nissan Motor Co Ltd エンジン補機の回転数制御装置
JPH07266840A (ja) * 1994-02-09 1995-10-17 Nippondenso Co Ltd 車両用空気調和装置
JP2000280897A (ja) * 1999-03-31 2000-10-10 Mitsubishi Electric Corp 鉄道車両用換気装置
JP2001026214A (ja) * 1999-05-11 2001-01-30 Denso Corp 車両用空調装置
JP2001180246A (ja) * 1999-12-28 2001-07-03 Fuji Heavy Ind Ltd 車両用空調装置
JP2004243812A (ja) * 2003-02-12 2004-09-02 Denso Corp 車両用空調装置
JP2004360580A (ja) * 2003-06-05 2004-12-24 Honda Motor Co Ltd 空調装置を備えた車両
JP3624617B2 (ja) * 1997-03-18 2005-03-02 株式会社日本自動車部品総合研究所 車両用空調装置
JP2007269218A (ja) * 2006-03-31 2007-10-18 Denso Corp 車両用空調装置
JP2008080889A (ja) * 2006-09-26 2008-04-10 Calsonic Kansei Corp 車両用空気調和装置

Patent Citations (10)

* Cited by examiner, † Cited by third party
Publication number Priority date Publication date Assignee Title
JPH0717241A (ja) * 1993-06-30 1995-01-20 Nissan Motor Co Ltd エンジン補機の回転数制御装置
JPH07266840A (ja) * 1994-02-09 1995-10-17 Nippondenso Co Ltd 車両用空気調和装置
JP3624617B2 (ja) * 1997-03-18 2005-03-02 株式会社日本自動車部品総合研究所 車両用空調装置
JP2000280897A (ja) * 1999-03-31 2000-10-10 Mitsubishi Electric Corp 鉄道車両用換気装置
JP2001026214A (ja) * 1999-05-11 2001-01-30 Denso Corp 車両用空調装置
JP2001180246A (ja) * 1999-12-28 2001-07-03 Fuji Heavy Ind Ltd 車両用空調装置
JP2004243812A (ja) * 2003-02-12 2004-09-02 Denso Corp 車両用空調装置
JP2004360580A (ja) * 2003-06-05 2004-12-24 Honda Motor Co Ltd 空調装置を備えた車両
JP2007269218A (ja) * 2006-03-31 2007-10-18 Denso Corp 車両用空調装置
JP2008080889A (ja) * 2006-09-26 2008-04-10 Calsonic Kansei Corp 車両用空気調和装置

Cited By (14)

* Cited by examiner, † Cited by third party
Publication number Priority date Publication date Assignee Title
JP5752135B2 (ja) * 2010-09-14 2015-07-22 三菱電機株式会社 空気調和装置
CN103097832A (zh) * 2010-09-14 2013-05-08 三菱电机株式会社 空气调节装置
WO2012035573A1 (ja) * 2010-09-14 2012-03-22 三菱電機株式会社 空気調和装置
US9587861B2 (en) 2010-09-14 2017-03-07 Mitsubishi Electric Corporation Air-conditioning apparatus
CN103097832B (zh) * 2010-09-14 2016-04-27 三菱电机株式会社 空气调节装置
KR101801230B1 (ko) * 2011-08-23 2017-11-24 한온시스템 주식회사 아이들 스톱 차량용 공조장치
JP2014180892A (ja) * 2013-03-18 2014-09-29 Mazda Motor Corp 車両用空調制御装置
JP2014180882A (ja) * 2013-03-18 2014-09-29 Mazda Motor Corp 車両用空調制御装置
US9422861B2 (en) 2013-03-18 2016-08-23 Mazda Motor Corporation Vehicle air-conditioning control apparatus
JP2014180881A (ja) * 2013-03-18 2014-09-29 Mazda Motor Corp 車両用空調制御装置
CN104057799A (zh) * 2013-03-18 2014-09-24 马自达汽车株式会社 车辆用空调控制装置
JP2014193640A (ja) * 2013-03-28 2014-10-09 Japan Climate Systems Corp 車両用空調装置
JP2015186963A (ja) * 2014-03-27 2015-10-29 マツダ株式会社 車両用空調制御装置
JP2016120801A (ja) * 2014-12-24 2016-07-07 マツダ株式会社 車両用空調装置

Also Published As

Publication number Publication date
JP5176820B2 (ja) 2013-04-03

Similar Documents

Publication Publication Date Title
JP5176820B2 (ja) 車両の制御装置
US6732941B2 (en) Air conditioner for vehicle
US9796242B2 (en) Air conditioner for vehicle
JP3722041B2 (ja) 車両用空調装置
US20120152512A1 (en) Vehicle air-conditioning control apparatus
JP6019776B2 (ja) 車両用空調装置
WO2016186170A1 (ja) 車両用空調装置
JP6363972B2 (ja) 車両用空調装置
JP5492857B2 (ja) 車両用空調制御装置
US20190039433A1 (en) Vehicular air conditioning device
JP5549639B2 (ja) 車両用空調装置
JP5640936B2 (ja) 車両用空調装置
JP6630615B2 (ja) 車両用空調装置
JP2010120414A (ja) 車両用空気調和装置
JP6280480B2 (ja) 車両用空調装置
JP2010076516A (ja) 車両用空調装置
JP6443054B2 (ja) 車両用空調装置
JP4457301B2 (ja) 車両用冷暖房装置
JP2002144840A (ja) 車両用空気調和装置
JP6568812B2 (ja) 車両用空調装置
JP6107781B2 (ja) 車両の制御装置
JP3309750B2 (ja) 車両用空調装置
JP6390364B2 (ja) 車両用空調装置
JP5482754B2 (ja) 車両用空調装置
JP3265822B2 (ja) 車両用空調装置

Legal Events

Date Code Title Description
RD03 Notification of appointment of power of attorney

Free format text: JAPANESE INTERMEDIATE CODE: A7423

Effective date: 20101001

RD04 Notification of resignation of power of attorney

Free format text: JAPANESE INTERMEDIATE CODE: A7424

Effective date: 20101001

A621 Written request for application examination

Free format text: JAPANESE INTERMEDIATE CODE: A621

Effective date: 20110802

A521 Written amendment

Free format text: JAPANESE INTERMEDIATE CODE: A523

Effective date: 20120723

A977 Report on retrieval

Free format text: JAPANESE INTERMEDIATE CODE: A971007

Effective date: 20121207

TRDD Decision of grant or rejection written
A01 Written decision to grant a patent or to grant a registration (utility model)

Free format text: JAPANESE INTERMEDIATE CODE: A01

Effective date: 20121211

A61 First payment of annual fees (during grant procedure)

Free format text: JAPANESE INTERMEDIATE CODE: A61

Effective date: 20121224

R150 Certificate of patent or registration of utility model

Ref document number: 5176820

Country of ref document: JP

Free format text: JAPANESE INTERMEDIATE CODE: R150

LAPS Cancellation because of no payment of annual fees