JP2010070368A - 用紙処理システム - Google Patents

用紙処理システム Download PDF

Info

Publication number
JP2010070368A
JP2010070368A JP2008242307A JP2008242307A JP2010070368A JP 2010070368 A JP2010070368 A JP 2010070368A JP 2008242307 A JP2008242307 A JP 2008242307A JP 2008242307 A JP2008242307 A JP 2008242307A JP 2010070368 A JP2010070368 A JP 2010070368A
Authority
JP
Japan
Prior art keywords
paper
sheet
processing system
path
post
Prior art date
Legal status (The legal status is an assumption and is not a legal conclusion. Google has not performed a legal analysis and makes no representation as to the accuracy of the status listed.)
Granted
Application number
JP2008242307A
Other languages
English (en)
Other versions
JP5262504B2 (ja
Inventor
Junichi Iida
淳一 飯田
Shinya Kitaoka
真也 北岡
Hideya Nagasako
秀也 永迫
Current Assignee (The listed assignees may be inaccurate. Google has not performed a legal analysis and makes no representation or warranty as to the accuracy of the list.)
Ricoh Co Ltd
Original Assignee
Ricoh Co Ltd
Priority date (The priority date is an assumption and is not a legal conclusion. Google has not performed a legal analysis and makes no representation as to the accuracy of the date listed.)
Filing date
Publication date
Application filed by Ricoh Co Ltd filed Critical Ricoh Co Ltd
Priority to JP2008242307A priority Critical patent/JP5262504B2/ja
Priority to US12/585,502 priority patent/US8213854B2/en
Publication of JP2010070368A publication Critical patent/JP2010070368A/ja
Application granted granted Critical
Publication of JP5262504B2 publication Critical patent/JP5262504B2/ja
Expired - Fee Related legal-status Critical Current
Anticipated expiration legal-status Critical

Links

Images

Classifications

    • BPERFORMING OPERATIONS; TRANSPORTING
    • B65CONVEYING; PACKING; STORING; HANDLING THIN OR FILAMENTARY MATERIAL
    • B65HHANDLING THIN OR FILAMENTARY MATERIAL, e.g. SHEETS, WEBS, CABLES
    • B65H5/00Feeding articles separated from piles; Feeding articles to machines
    • B65H5/26Duplicate, alternate, selective, or coacting feeds
    • GPHYSICS
    • G03PHOTOGRAPHY; CINEMATOGRAPHY; ANALOGOUS TECHNIQUES USING WAVES OTHER THAN OPTICAL WAVES; ELECTROGRAPHY; HOLOGRAPHY
    • G03GELECTROGRAPHY; ELECTROPHOTOGRAPHY; MAGNETOGRAPHY
    • G03G15/00Apparatus for electrographic processes using a charge pattern
    • G03G15/65Apparatus which relate to the handling of copy material
    • G03G15/6502Supplying of sheet copy material; Cassettes therefor
    • GPHYSICS
    • G03PHOTOGRAPHY; CINEMATOGRAPHY; ANALOGOUS TECHNIQUES USING WAVES OTHER THAN OPTICAL WAVES; ELECTROGRAPHY; HOLOGRAPHY
    • G03GELECTROGRAPHY; ELECTROPHOTOGRAPHY; MAGNETOGRAPHY
    • G03G15/00Apparatus for electrographic processes using a charge pattern
    • G03G15/65Apparatus which relate to the handling of copy material
    • G03G15/6555Handling of sheet copy material taking place in a specific part of the copy material feeding path
    • G03G15/6573Feeding path after the fixing point and up to the discharge tray or the finisher, e.g. special treatment of copy material to compensate for effects from the fixing
    • BPERFORMING OPERATIONS; TRANSPORTING
    • B65CONVEYING; PACKING; STORING; HANDLING THIN OR FILAMENTARY MATERIAL
    • B65HHANDLING THIN OR FILAMENTARY MATERIAL, e.g. SHEETS, WEBS, CABLES
    • B65H2220/00Function indicators
    • B65H2220/09Function indicators indicating that several of an entity are present
    • BPERFORMING OPERATIONS; TRANSPORTING
    • B65CONVEYING; PACKING; STORING; HANDLING THIN OR FILAMENTARY MATERIAL
    • B65HHANDLING THIN OR FILAMENTARY MATERIAL, e.g. SHEETS, WEBS, CABLES
    • B65H2301/00Handling processes for sheets or webs
    • B65H2301/30Orientation, displacement, position of the handled material
    • B65H2301/33Modifying, selecting, changing orientation
    • B65H2301/333Inverting
    • B65H2301/3331Involving forward reverse transporting means
    • B65H2301/33312Involving forward reverse transporting means forward reverse rollers pairs
    • BPERFORMING OPERATIONS; TRANSPORTING
    • B65CONVEYING; PACKING; STORING; HANDLING THIN OR FILAMENTARY MATERIAL
    • B65HHANDLING THIN OR FILAMENTARY MATERIAL, e.g. SHEETS, WEBS, CABLES
    • B65H2402/00Constructional details of the handling apparatus
    • B65H2402/10Modular constructions, e.g. using preformed elements or profiles
    • BPERFORMING OPERATIONS; TRANSPORTING
    • B65CONVEYING; PACKING; STORING; HANDLING THIN OR FILAMENTARY MATERIAL
    • B65HHANDLING THIN OR FILAMENTARY MATERIAL, e.g. SHEETS, WEBS, CABLES
    • B65H2402/00Constructional details of the handling apparatus
    • B65H2402/30Supports; Subassemblies; Mountings thereof
    • BPERFORMING OPERATIONS; TRANSPORTING
    • B65CONVEYING; PACKING; STORING; HANDLING THIN OR FILAMENTARY MATERIAL
    • B65HHANDLING THIN OR FILAMENTARY MATERIAL, e.g. SHEETS, WEBS, CABLES
    • B65H2801/00Application field
    • B65H2801/24Post -processing devices
    • B65H2801/27Devices located downstream of office-type machines
    • GPHYSICS
    • G03PHOTOGRAPHY; CINEMATOGRAPHY; ANALOGOUS TECHNIQUES USING WAVES OTHER THAN OPTICAL WAVES; ELECTROGRAPHY; HOLOGRAPHY
    • G03GELECTROGRAPHY; ELECTROPHOTOGRAPHY; MAGNETOGRAPHY
    • G03G2215/00Apparatus for electrophotographic processes
    • G03G2215/00016Special arrangement of entire apparatus
    • GPHYSICS
    • G03PHOTOGRAPHY; CINEMATOGRAPHY; ANALOGOUS TECHNIQUES USING WAVES OTHER THAN OPTICAL WAVES; ELECTROGRAPHY; HOLOGRAPHY
    • G03GELECTROGRAPHY; ELECTROPHOTOGRAPHY; MAGNETOGRAPHY
    • G03G2215/00Apparatus for electrophotographic processes
    • G03G2215/00362Apparatus for electrophotographic processes relating to the copy medium handling
    • G03G2215/00367The feeding path segment where particular handling of the copy medium occurs, segments being adjacent and non-overlapping. Each segment is identified by the most downstream point in the segment, so that for instance the segment labelled "Fixing device" is referring to the path between the "Transfer device" and the "Fixing device"
    • G03G2215/00417Post-fixing device
    • G03G2215/00421Discharging tray, e.g. devices stabilising the quality of the copy medium, postfixing-treatment, inverting, sorting

Landscapes

  • Physics & Mathematics (AREA)
  • General Physics & Mathematics (AREA)
  • Engineering & Computer Science (AREA)
  • Mechanical Engineering (AREA)
  • Separation, Sorting, Adjustment, Or Bending Of Sheets To Be Conveyed (AREA)
  • Folding Of Thin Sheet-Like Materials, Special Discharging Devices, And Others (AREA)
  • Electrophotography Configuration And Component (AREA)

Abstract

【課題】用紙前処理装置の空間部に用紙後処理装置などが着脱可能に設置される構成において、省スペース化が可能な構成により、確実に用紙の反転と用紙後処理装置への用紙の搬送とを行う。
【解決手段】画像形成装置の空間部Dに画像形成装置の反転ローラ対6から排出される用紙を受ける用紙反転ユニットRを装着し、用紙後処理装置Fを用紙反転ユニットRの用紙搬送方向下流側に装着する。用紙反転ユニットRには搬送ローラ対11,12を設けた2つの搬送路を備え、一方の搬送ローラ対11を、用紙を反転ローラ対6から受けて用紙後処理装置Fへ搬送する搬送経路に設け、他方の搬送ローラ対12を反転搬送ローラとして、用紙に対して反転処理を行うための反転経路に設ける。各搬送経路の切り換えは切換爪部材t4が行う。
【選択図】図3

Description

本発明は、排紙部として装置本体内に空間部を設置してなる用紙処理装置と、前記空間部に着脱可能に設置される用紙後処理装置,用紙反転経路などからなる用紙処理システムに関するものである。
近年の画像形成システムにおいては、画像形成後の用紙に対してパンチ,綴じ,仕分けを行う用紙後処理の要求が高まっている。しかしながら、このような処理を行う用紙後処理装置は、用紙が装置本体の側面から排出されるタイプの画像形成装置に対して、画像形成装置の外側の側面に連結される構成になっており、このことが画像形成システムの設置スペースを大きくする原因となっていた。
これに対し、画像形成装置の設置面積内部(装置本体内)に空間部を有し、この空間部に用紙が排出されるタイプの画像形成装置にあっては、空間部に各種の用紙後処理装置が装着されるものがある(特許文献1〜3参照)。
また、画像形成装置内には、用紙の片面あるいは両面に画像形成するために複数の用紙搬送手段を備えており、処理モードに応じて使用される用紙搬送手段を適宜切り換えるための切換手段が備えられている。
以下、空間部に各種の用紙後処理装置が装着可能で、かつ両面画像形成が可能な構成の従来の画像形成装置について説明する。
図11は従来の画像形成装置の外観構成を示す正面図であって、本画像形成装置は、給紙部Aと画像形成部Bと画像読取部Cとから構成されており、画像読取部Cの下部に、画像形成部Bにて画像形成処理を受けた用紙が排紙・収納される空間部Dが設けられ、該空間部Dの下部に用紙が順次排紙されて積載される排紙部D1が設置されている。
図12は図11における画像形成装置の用紙搬送路の内部構成と動作についての説明図であって、給紙部Aに積載されている用紙Sを搬送する第一の用紙搬送路を構成する搬送手段である搬送ローラ対1,2と、用紙反転用の第二の用紙搬送路を構成する搬送ローラ対5,7,8,9と、用紙に画像形成する画像形成部Bの画像転写部3と、空間部Dの排紙部D1上へ用紙を排出する排紙ローラ対4と、用紙に両面画像形成を行うときに用紙を反転させるため正逆回転する反転ローラ対6と、使用される用紙搬送路の切換を行う切換手段であって、各分岐路に設けられた切換爪部材t1〜t3とから構成されている。
図12の装置において用紙の片面に画像形成するときの動作を図13(a),(b)を参照して説明する。
先ず、外部もしくは画像読取部Cから画像情報を取得して画像形成部Bにて画像情報処理を行う。そして、図13(a)に示すように、給紙部Aから用紙Sを第1の用紙搬送路の搬送ローラ対1,2により画像形成部Bの画像転写部3へ搬送して画像形成処理を行う。その後、図13(b)に示すように、片面に画像が形成された用紙S1は、切換爪部材t1に案内されて排紙経路の排紙ローラ対4により、空間部Dの排紙部D1上へ排出される。
次に、用紙の両面に画像形成するときの動作を図14(a)〜(e)を参照して説明する。
図14(a)に示すように、給紙部Aから搬送されてきた用紙S1に画像形成部Bの画像転写部3にて画像形成し、その後、用紙S1を切換爪部材t1によって縦搬送路へ送り、図14(b)に示すように、搬送ローラ対5と切換爪部材t2との搬送ガイドによって反転経路へ搬送する。図14(c)に示すように、用紙Sは反転ローラ対6にて搬送され続けるが、用紙後端が切換爪部材t2を通過すると、切換爪部材t2が切り換わり、図14(d)に示すように、反転ローラ対6が逆転して用紙S1をスイッチバックして右搬送路に搬送し始める。その後、切換手爪部材t3にて縦反転経路へ搬送し、そのまま用紙S1を搬送ローラ対7,8,9で搬送し続けて再び搬送ローラ対2を経て、図14(e)に示すように、画像転写部3にて用紙他面に画像形成を行う。その後、用紙S1は切換爪部材t1により排紙経路に送られ、排紙ローラ対4にて空間部Dの排紙部D1へ排出される。
次に、画像形成装置の外側上部に排紙トレイEを装着し、該排紙トレイE上に用紙を排紙するときの動作を図15(a)〜(c)を参照して説明する。
図15(a)に示すように、給紙部Aから搬送されてきた用紙S1に画像形成部Bの画像転写部3にて画像形成する。用紙S1は、切換爪部材t1により縦搬送路へ送られ、搬送ローラ対5と切換爪部材t2との搬送ガイドによって反転経路へ一旦搬送される。用紙S1は、反転ローラ対6にて搬送され続けるが、図15(b)に示すように、用紙後端が切換爪部材t2を通過すると、切換爪部材t2が切り換り、さらに反転ローラ対6が逆転して、用紙S1をスイッチバックして右搬送路に搬送し始める、そして、図15(c)に示すように、用紙S1が切換爪部材t3を経て排紙トレイEの排紙ローラ10によって、排紙トレイE上に画像面を下にした状態で順次積載される。
図16は増設排紙ユニットを装着したときの構成図であって、増設排紙ユニットUは排紙ローラ対13と増設積載トレイD2を備えており、増設積載トレイD2は、画像形成装置の空間部Dにおける反転ローラ対6の用紙搬送方向下流側に増設可能になっている。
これにより両面印刷時、排紙トレイEへの排出時に用紙を反転する際には、反転ローラ対6と排紙ローラ対13が同一動作をして、用紙Sを増設積載トレイD2上で受けることによって用紙反転が可能となる。また、排紙先を増設排紙ユニットUに設定するとすることにより、通常の排紙先である排紙部D1とは別の排紙先として増設積載トレイD2を設定して使用することが可能となる。
特開2006−206271号公報 特許第3898358号公報 特開2004−155566号公報
前記従来の技術において、画像形成装置の空間部(胴内空間)に用紙後処理装置を装着可能な構成にすると、用紙後処理装置を含めた画像形成システムは、画像形成装置単体と同程度の設置面積でよくなり、用紙後処理装置が画像形成装置の外側に連結される画像形成システムに比して大幅な省スペースを達成することが可能となる。
また、図11〜図16を参照して説明したように、画像形成装置には用紙の両面に画像形成するための用紙反転経路を設置していることが多い、この場合、用紙両面に画像処理をした後、すなわち、用紙反転経路を経て用紙後処理装置へ用紙を搬送する場合には、何等の工夫がなされない場合には搬送経路が長く、用紙搬送トラブルが発生する可能性が高くなる。
本発明の目的は、前記従来技術の課題を解決し、用紙前処理装置の空間部に用紙後処理装置などが着脱可能に設置される構成において、省スペース化が可能な構成により、用紙の反転と用紙後処理装置への用紙の搬送とが確実に行われるようにした用紙処理システムを提供することにある。
前記目的を達成するため、請求項1に係る発明は、用紙前処理部からの処理済の用紙が排出される用紙受部と、前記用紙受部に用紙を排出する第一の用紙搬送路と、前記用紙受部に対して用紙の一部を排出した後、用紙を反転するための第二の用紙搬送路とを備え、前記用紙受部として装置本体内に空間部を設置してなる用紙前処理装置、および前記空間部に着脱可能に設置される用紙後処理装置からなる用紙処理システムであって、前記用紙前処理装置の前記空間部に、前記用紙後処理装置が前記装置本体内の前記空間部に装着されたとき、前記第二の用紙搬送路から用紙を受けて前記用紙後処理装置へ用紙を搬送する搬送経路と、前記第二の用紙搬送路から用紙を受けて用紙搬送方向を反転するための反転経路と、前記搬送経路と前記反転経路とのいずれかに用紙搬送方向を切り替える切換部材とを設けたことを特徴とし、この構成によって、用紙前処理装置の空間部に用紙の反転経路を設置したことにより、該空間部内に用紙後処理装置が設置される構成であっても、システム全体として大型化せず、搬送方向の長さが長い用紙でも装置外に出すことなく反転可能となり、よって、反転経路内で紙詰まりが生じても容易にジャム処理を行うことができる。
請求項2に記載の発明は、請求項1記載の用紙処理システムにおいて、反転経路の一部として、用紙後処理装置の下面と用紙前処理装置の空間部の底面間に形成した間隙を用いることを特徴とし、この構成によって、用紙後処理装置と用紙前処理装置との間隙を反転経路のガイドとして利用することにより、省スペース化と部品点数の削減を図ることができる。
請求項3に記載の発明は、請求項1または2記載の用紙処理システムにおいて、用紙前処理装置の空間部の底面に仕切り部材を設けたことを特徴とし、この構成によって、仕切り部材の存在により、空間部からの用紙,異物などの落下を防ぐことができる。
請求項4に記載の発明は、請求項3記載の用紙処理システムにおいて、仕切り部材は用紙搬送面を兼ねることを特徴とする。
請求項5に記載の発明は、請求項3または4記載の用紙処理システムにおいて、仕切り部材上に用紙後処理装置を置載可能にしたことを特徴とし、この構成によって、仕切り部材が用紙後処理装置の置載の際の作業台として利用することができる。
請求項6に記載の発明は、請求項1記載の用紙処理システムにおいて、用紙前処理装置の空間部以外に、反転された用紙を排出する第三の用紙搬送路と、該第三の用紙搬送路から用紙を受ける用紙トレイとを設けたことを特徴とし、この構成によって、空間部以外の用紙トレイへの用紙の排紙が可能になり、使用者の利便性が高まる。
請求項7に記載の発明は、請求項1または6記載の用紙処理システムにおいて、反転された用紙を用紙受部としての空間部あるいは用紙トレイのいずれかに排出可能にしたことを特徴とし、この構成によって、用紙の排紙時状態,排出位置の選択が可能になる。
請求項8に記載の発明は、請求項1記載の用紙処理システムにおいて、反転経路内に正逆転可能な反転搬送ローラを設けたことを特徴とし、この構成によって、反転搬送ローラによる用紙の搬送補助が行われ、安定した反転動作が行われる。
請求項9に記載の発明は、請求項1または8記載の用紙処理システムにおいて、反転搬送ローラと切換手段とを、用紙後処理装置に設けた制御部により制御することを特徴とし、この構成により、用紙後処理装置や反転経路の動作コントロールに必要な制御部を用紙前処理装置側に具備させる必要がなくなる。
請求項10に記載の発明は、請求項8または9記載の用紙処理システムにおいて、反転搬送ローラを、互いに接離可能な一対のローラにより構成したことを特徴とし、この構成により、他部材との動作タイミング、あるいはローラ間の動作タイミング,寸法誤差などを適宜調整することが可能になる。
請求項11に記載の発明は、請求項10記載の用紙処理システムにおいて、反転搬送ローラの一対のローラに対する離間制御は、用紙を反転するための第二の用紙搬送路に設けられて正逆転する反転ローラと反転搬送ローラとの間の受け渡し線速が一定である場合には離間せず、また加速または減速する場合には、加速または減速開始前に離間する制御を行うことを特徴とし、この構成によって、用紙の受け渡しにおけるローラ駆動の加減速制御が安定し、用紙に損傷を与えることなく良好な搬送が行われる。
請求項12に記載の発明は、請求項8〜11いずれか1項記載の用紙処理システムにおいて、反転搬送ローラと切換手段の制御および用紙後処理装置の制御を同時に制御可能にしたことを特徴とし、この構成によって、先行用紙と後行用紙との同時処理が可能になり、生産性を低下させることがない。
請求項13に記載の発明は、請求項8〜12いずれか1項記載の用紙処理システムにおいて、反転搬送ローラと切換手段とを、用紙後処理異常発生時においても制御可能にしたことを特徴とし、この構成によって、用紙後処理異常発生時であっても、用紙後処理以外の用紙搬送などの動作を実行することが可能になる。
請求項14に記載の発明は、請求項1記載の用紙処理システムにおいて、用紙前処理装置のジョブ処理中の反転経路における用紙停止を紙詰まりとして検知しないことを特徴とし、この構成によって、前処理における何らかの処理のために、反転経路にて用紙の搬送が停止しても、それを紙詰まりとしないことにより、用紙の取出し要求などの無駄な作業を防ぐことができる。
請求項15に記載の発明は、請求項1,8または14記載の用紙処理システムにおいて、反転経路内に用紙に対してパンチ穴を穿設するパンチユニットを備えたことを特徴とし、この構成によって、用紙後処理装置によらないパンチ処理が可能になる。
本発明によれば、用紙前処理装置の空間部に用紙後処理装置などが着脱可能に設置される構成であっても、用紙前処理装置の空間部に用紙の反転経路を設置したことにより、システム全体として大型化せず、搬送方向の長さが長い用紙でも装置外に出すことなく反転可能となり、よって、反転経路内で紙詰まりが生じても容易にジャム処理を行うことができるなど、実際的な効果が大である。
以下、本発明の実施の形態を図面に基づいて説明する。なお、以下の説明において、図11〜図16にて説明した部材に対応する部材には同一符号を付して、詳しい説明は省略する。
図1は本発明の実施形態を説明するための画像形成装置の外観構成を示す正面図であって、本画像形成装置は、給紙部Aと画像形成部Bと画像読取部Cとから構成されており、画像読取部Cの下部に、画像形成部Bにて画像形成処理を受けた用紙が排紙・収納される用紙受部としての空間部Dが設けられ、該空間部Dの下部に用紙が順次排紙されて積載される排紙部D1が設置されている。
本実施形態の画像形成装置において、図2に示すように、画像形成装置における空間部Dの排紙部D1は取り外し可能であって、空間部Dの空間を最大限に確保することができる。そして、該空間部Dには用紙に後処理を行う用紙後処理装置を装着することができる。排紙部D1は画像形成部Bの内部を覆うカバーの機能も持ち合わせているため、排紙部D1を取り外した後は、仕切り板D3により覆うことにより、画像形成部Bの内部を保護する。
また、本画像形成装置側の用紙搬送経路の内部構成は図12に示す構成と同様である。
ここで用紙後処理装置を空間部Dに装着するためには、図3(a)に示すように、用紙反転ユニットRを装着した後に、用紙後処理装置Fを装着する。この際、仕切り板D3上に用紙反転ユニットR,用紙後処理装置Fを一旦置載して作業することが可能であり、かつ、そのままスライドして空間部Dの内側の所定の部位に装着するために移動していくことができるため、設置作業が容易になる。
すなわち、図3(b)に示すように、まず、用紙反転時に画像形成装置の反転ローラ対6から排出される用紙を受ける用紙反転ユニットRを装着し、空間部Dが後処理装置で塞がれても用紙の反転動作を妨げないようにする。その後、図3(c)に示すように、用紙後処理装置Fを用紙反転ユニットRの用紙搬送方向下流側に装着する。
用紙反転ユニットRは2つの搬送路を具備し、それぞれの搬送路への切り換えは切換爪部材t4が行う。また、搬送路には搬送手段である搬送ローラ対11、12を設けて用紙の搬送を行う。一方の搬送ローラ対11は、用紙を前記第二の用紙搬送路の反転ローラ対6から受けて用紙後処理装置Fへ搬送する搬送経路に設けられ、他方の搬送ローラ対12は反転搬送ローラとして、用紙を前記第二の用紙搬送路の反転ローラ対6から受けて反転処理を行うための反転経路に設けられている。
また、用紙後処理装置Fは、搬送路,搬送手段,整合手段,綴じ手段,積載手段などを具備しており、画像形成された用紙に対して後処理を行うことができる構成のものである。
前記用紙後処理装置Fが装着されて用紙が後処理されるときの動作について、以下説明する。
先ず、片面画像形成された用紙が後処理されるときの動作について、図4(a)〜(c)を参照して説明する。
図4(a)に示すように、第一の用紙搬送路の搬送ローラ対1,2により搬送されて、画像形成部Bの画像転写部3にて画像形成された用紙Sは、切換爪部材t1,t2のガイドされて搬送ローラ対5と反転ローラ対6によって搬送され、用紙反転ユニットR内へ搬送される。そして用紙Sは、図4(b)に示すように、用紙反転ユニットR内の切換爪部材t4と搬送ローラ対11によって用紙後処理装置Fへ搬送され、図4(c)に示すように、後処理を施された後に、積載トレイ上へ順次積載される。
両面印刷された用紙が後処理されるときの動作について、図5(a)〜(e)を参照して説明する。
本実施形態では、図5(a)に示すように、画像形成装置における空間部Dに用紙反転ユニットRと用紙後処理装置Fを装着し、かつ画像形成装置右側の排紙トレイEを装着している。そして、用紙反転ユニットRの反転経路上には搬送ローラ対12を備えている。
そして、図5(a)に示すように、画像転写部3にて一面に画像形成された用紙S1は、切換爪部材t1,t2にガイドされて搬送ローラ対5と反転ローラ対6によって搬送され、図5(b)に示すように、用紙反転ユニットR内へ搬送される。このとき、用紙S1は、用紙反転ユニットRの切換爪部材t4によって、用紙後処理装置Fへの搬送路とは別の反転経路内へ搬送され、用紙S1の先端が、用紙後処理装置Fの下部と仕切り板D3上に形成された間隙Sに進入する。このとき仕切り板D3の上面は用紙搬送面として用紙をガイドする。
そして、用紙後端が切換爪部材t2を通過すると、切換爪部材t2が切り換わり、さらに反転ローラ対6が逆転し、図5(c)に示すように、用紙S1をスイッチバックして画像形成部B内の第二の用紙搬送路としての縦反転経路へ用紙S1を搬送する。その後、図5(d)に示すように、第一の用紙搬送路の画像転写部3にて用紙S1の他面への画像形成を行い、図5(e)に示すように、再び用紙反転ユニットRに搬送され、切換爪部材t4が切り換わって、用紙S1を用紙後処理装置F内へ搬送する。
次に、排紙トレイEを装着したときの排紙動作について図5(a),(b),(f)を参照して説明する。
前記両面画像形成時と同じく、図5(a),(b)に示すように、画像形成部Bの画像転写部3にて画像形成された用紙S1は、切換爪部材t1,搬送ローラ対5,切換爪部材t2を経て反転ローラ対6によって用紙反転ユニットR内の反転経路内へ搬送され、用紙S1の先端が、用紙後処理装置Fの下部と空間部Dの底面に設けられた仕切り板D3上に形成された間隙Cに進入する。
そして用紙後端が切換爪部材t2を通過すると、切換爪部材t2が切り換わり、さらに反転ローラ対6が逆転して、用紙S1は、図5(f)に示すように、スイッチバックして画像形成部B内の第三の用紙搬送路である右搬送路へ搬送され、切換爪部材t3を経て排紙トレイEの排紙ローラ10によって、排紙トレイE上に画像面を下にした状態で順次積載される。
なお、反転時に用紙S1が紙詰まりを起こした場合、図6に示すように、用紙後処理装置Fを外方へスライドさせて移動させることにより、用紙S1の確認を容易に行うことができ、かつ、紙詰まり部位から取り除くことができる。
本実施形態において、厚さや硬さが大きい用紙が用紙反転ユニットR内の湾曲した反転経路内を搬送される際、搬送抵抗が大きくなり搬送されづらくなってしまうことがある。このとき、図7に示すように、搬送ローラ対12によって用紙搬送力を付加することにより、反転時の用紙S1の搬送をサポートすることができる。
また、搬送ローラ対12を含む用紙反転ユニットRや用紙後処理装置Fの動作や制御を行う制御手段や制御ソフトを、用紙後処理装置F側に具備させることにより、画像形成装置は必要最小限の制御手段や制御ソフトを持つだけでよくなる。
ところで、画像形成装置の反転ローラ対6から送り出される用紙を反転経路内の搬送ローラ対12で受け取るとき、あるいは用紙が反転ローラ対6と搬送ローラ対12とに跨っている状態のときに、反転ローラ対6が増加減速をするなどして二つのローラ対6,12間に微小な速度差が生じる可能性がある。
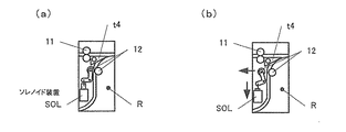
このため、本実施形態では、図8(a),(b)に示すように、搬送ローラ対12を構成する駆動ローラと従動ローラとの一対のローラを、ソレノイド装置SOLなどで接離可能な構成にしている。このようにして搬送ローラ対12を互いに離間させることにより、速度差によって生じる用紙へのダメージを回避することができる。また、搬送ローラ対12の一方、例えば、従動ローラを離間するローラとしてソレノイド装置SOLにより駆動する構成にすれば、ローラの離間構成が容易になる。
本実施形態における反転動作に関して図9のフローチャートを参照して説明する。
反転する用紙先端が画像形成装置の反転ローラ対6に送られて来たときに(S1)、分岐爪t4を動作させ、用紙反転ユニットRの反転経路へ用紙を導く準備を行う。用紙反転ユニットRでは、画像形成装置から送られてくる線速情報により受入れ線速を決定し、搬送ローラ対12を回転させる(S2)。
さらに、画像形成装置から送られてくる用紙のサイズ情報により搬送ローラ対12の従動ローラに対するソレノイド装置SOLによる離間タイミングを決定する(S3)。画像形成装置において、形成画像を用紙に定着させるための定着部(図示せず)に用紙がある場合は、用紙を定常の画像形成プロセス線速で搬送するが、定着部を用紙が抜けると排紙線速まで加速する。
このとき、各部の駆動が異なるため同期が困難であって、本実施形態では離間動作を下記三条件に分けにて行う(S4)。
(1)用紙サイズが、前記加速開始前に搬送ローラ対12に到達するようなサイズの場合は、画像形成プロセス線速にて用紙を受け取り、用紙加速開始ポイントのχmm手前にて搬送ローラ対12の従動ローラを離間し、離間以降は反転ローラ6にて搬送する。
(2)用紙サイズが、前記加速完了後に搬送ローラ対12に到達するような用紙サイズの場合は、排紙線速にて用紙を受取り、用紙停止ポイントのχmm手前にて搬送ローラ対12の従動ローラを離間する。
(3)用紙サイズが、前記加速中に搬送ローラ対12に到達するような用紙サイズの場合は、搬送ローラ対12の用紙を受け取る前に、搬送ローラ対12の従動ローラを離間し、離間以降は反転ローラ6にて搬送する。
用紙スイッチバック開始時は、ソレノイド装置SOLにより搬送ローラ対12の従動ローラが離間されている状態になっており、その状態では反転ローラ6のみで画像形成装置への再搬送動作を行う。
本実施形態において、用紙反転ユニットRや用紙後処理装置F内の各々駆動系の制御を互いに同時に行うことができるような制御システムおよび制御ソフトウエアにすることにより、用紙後処理装置F内で用紙の後処理が行われている最中でも、用紙反転ユニットRにおいて反転する用紙を受け取って反転処理を行うことが可能になる。よって、画像形成/用紙処理システム全体としての生産性を落とすことなく、用紙に対する後処理を行うことができる。
また、用紙後処理装置F内で紙詰まりなどが生じて用紙が滞留してしまっても、画像形成装置の反転ローラ対6から排出する用紙を用紙反転ユニットRで受け取って反転した後は、スイッチバックして画像形成装置の右搬送路から排紙トレイEへ搬送することにより、印刷順序を乱すことなく積載排紙することが可能になる。さらに、用紙後処理装置Fが何らかの異常により停止したとしても、排紙トレイEへ搬送することは可能であるため、システムダウンをしてしまうことを防ぐことができる。
画像形成装置において画像調整などに係る定常ジョブが実行されているために、用紙の印刷および搬送が一時的に停止したときに、用紙反転ユニットRの反転経路内における反転動作中で用紙の停滞状態が続いたとしても、制御システム上では紙詰まりとして判断しないようにシステム設計するとよい。このことにより、用紙反転ユニットRでの用紙滞留時点でも、画像形成装置における調整が可能になり、規定枚数にて調整が可能となるため画像品質の維持,向上に役立ち、画像調整が終了して、画像形成装置において用紙の印刷および搬送が再開された時点で用紙の反転動作が再開されることになる。
ただし、反転動作中に用紙が停滞した状態で停止指令が出力された場合は、用紙処理システムに異常発生の可能性があるため、正常時の処理を中断し、異常時の処理として残紙チェック,残紙検出処理などを行う。例えば、用紙搬送路内に用紙が残っているか否かの検出を行い、用紙が検出された場合に、用紙が残っている旨の表示をしたり、残紙を取り除く旨の表示などを行うようにする。
図10(a)は画像形成装置の空間部Dに、用紙に対してパンチ穴を穿つパンチユニットPを、前記用紙反転ユニットRと前記用紙後処理装置Fと共に装着し、かつ画像形成装置の右側面に排紙トレイEを装着した状態を示している。このように画像形成装置の反転ローラ対6と用紙反転ユニットRとの間にパンチユニットPを装着して、反転経路をパンチユニットPと反転ユニットRの用紙搬送経路にて構成すれば、図10(b)に示すように、用紙反転ユニットRにて用紙を反転させるときに、パンチユニットPにてパンチ穴を穿孔して、排紙トレイEに排出することができる。
本発明は、複写機,ファクシミリ装置,プリンタ、それらの複合機などに設けられている空間部に、用紙パンチ処理装置または用紙綴じ装置または用紙仕分け装置などの用紙後処理装置や、用紙反転装置などの用紙搬送装置が着脱可能に設置される用紙処理システムに適用して有効である。
本発明の実施形態を説明するための画像形成装置の外観構成を示す正面図 本実施形態において画像形成装置における空間部の排紙部を取り外した状態を示す正面図 (a)〜(c)は本実施形態において空間部に対する用紙反転ユニット,用紙後処理装置の装着に関する説明図 (a)〜(c)は本実施形態において片面画像形成された用紙が後処理されるときの動作説明図 (a)〜(f)は本実施形態において両面印刷された用紙が後処理されるときの動作説明図 本実施形態において紙詰まり処理時の作業の説明図 本実施形態における搬送ローラ対による反転時の用紙搬送サポートの説明図 (a),(b)は本実施形態における搬送ローラ対の接離構造の説明図 本実施形態における反転動作,タイミングに係るフローチャート (a),(b)は本実施形態において搬送経路にパンチユニットを設置した場合の構成例を示す図 従来の画像形成装置の外観構成を示す正面図 図11における画像形成装置の用紙搬送路の内部構成と動作についての説明図 (a),(b)は図12の装置において用紙の片面に画像形成するときの動作説明図 (a)〜(e)は図12の装置において用紙の両面に画像形成するときの動作説明図 (a)〜(c)は図12の装置において画像形成装置外の排紙トレイ上に用紙を排紙するときの動作説明図 図12の装置において増設排紙ユニットを装着したときの構成図
符号の説明
A 給紙部
B 画像形成部
C 画像読取部
D 空間部
D1 排紙部
D3 仕切り板
E 排紙トレイ
F 用紙後処理装置
P パンチユニット
R 用紙反転ユニット
S 間隙
SOL ソレノイド装置
1,2,5〜9,11,12 搬送ローラ対
3 転写部
6 反転ローラ対
10 排紙ローラ
t1〜t4 切換爪部材

Claims (15)

  1. 用紙前処理部からの処理済の用紙が排出される用紙受部と、前記用紙受部に用紙を排出する第一の用紙搬送路と、前記用紙受部に対して用紙の一部を排出した後、用紙を反転するための第二の用紙搬送路とを備え、前記用紙受部として装置本体内に空間部を設置してなる用紙前処理装置、および前記空間部に着脱可能に設置される用紙後処理装置からなる用紙処理システムであって、
    前記用紙前処理装置の前記空間部に、前記用紙後処理装置が前記装置本体内の前記空間部に装着されたとき、前記第二の用紙搬送路から用紙を受けて前記用紙後処理装置へ用紙を搬送する搬送経路と、前記第二の用紙搬送路から用紙を受けて用紙搬送方向を反転するための反転経路と、前記搬送経路と前記反転経路とのいずれかに用紙搬送方向を切り換える切換部材とを設けたことを特徴とする用紙処理システム。
  2. 前記反転経路の一部として、前記用紙後処理装置の下面と前記用紙前処理装置の前記空間部の底面間に形成した間隙を用いることを特徴とする請求項1記載の用紙処理システム。
  3. 前記用紙前処理装置の前記空間部の底面に仕切り部材を設けたことを特徴とする請求項1または2記載の用紙処理システム。
  4. 前記仕切り部材は用紙搬送面を兼ねることを特徴とする請求項3記載の用紙処理システム。
  5. 前記仕切り部材上に前記用紙後処理装置を置載可能にしたことを特徴とする請求項3または4記載の用紙処理システム。
  6. 前記用紙前処理装置の前記空間部以外に、反転された用紙を排出する第三の用紙搬送路と、該第三の用紙搬送路から用紙を受ける用紙トレイとを設けたことを特徴とする請求項1記載の用紙処理システム。
  7. 反転された用紙を前記用紙受部としての前記空間部あるいは前記用紙トレイのいずれかに排出可能にしたことを特徴とする請求項1または6記載の用紙処理システム。
  8. 前記反転経路内に正逆転可能な反転搬送ローラを設けたことを特徴とする請求項1記載の用紙処理システム。
  9. 前記反転搬送ローラと前記切換手段とを、前記用紙後処理装置に設けた制御部により制御することを特徴とする請求項1または8記載の用紙処理システム。
  10. 前記反転搬送ローラを、互いに接離可能な一対のローラにより構成したことを特徴とする請求項8または9記載の用紙処理システム。
  11. 前記反転搬送ローラの一対のローラに対する離間制御は、用紙を反転するための前記第二の用紙搬送路に設けられて正逆転する反転ローラと前記反転搬送ローラとの間の受け渡し線速が一定である場合には離間せず、また加速または減速する場合には、加速または減速開始前に離間する制御を行うことを特徴とする請求項10記載の用紙処理システム。
  12. 前記反転搬送ローラと前記切換手段の制御および前記用紙後処理装置の制御を同時に制御可能にしたことを特徴とする請求項8〜11いずれか1項記載の用紙処理システム。
  13. 前記反転搬送ローラと前記切換手段とを、用紙後処理異常発生時においても前記用紙後処理装置側において制御可能にしたことを特徴とする8〜12いずれか1項記載の用紙処理システム。
  14. 前記用紙前処理装置の動作中の前記反転経路における用紙停止を紙詰まりとして検知しないことを特徴とする請求項1記載の用紙処理システム。
  15. 前記反転経路内に用紙に対してパンチ穴を穿設するパンチユニットを備えたことを特徴とする1,8または14記載の用紙処理システム。
JP2008242307A 2008-09-22 2008-09-22 用紙処理システム Expired - Fee Related JP5262504B2 (ja)

Priority Applications (2)

Application Number Priority Date Filing Date Title
JP2008242307A JP5262504B2 (ja) 2008-09-22 2008-09-22 用紙処理システム
US12/585,502 US8213854B2 (en) 2008-09-22 2009-09-16 Sheet processing system

Applications Claiming Priority (1)

Application Number Priority Date Filing Date Title
JP2008242307A JP5262504B2 (ja) 2008-09-22 2008-09-22 用紙処理システム

Publications (2)

Publication Number Publication Date
JP2010070368A true JP2010070368A (ja) 2010-04-02
JP5262504B2 JP5262504B2 (ja) 2013-08-14

Family

ID=42036838

Family Applications (1)

Application Number Title Priority Date Filing Date
JP2008242307A Expired - Fee Related JP5262504B2 (ja) 2008-09-22 2008-09-22 用紙処理システム

Country Status (2)

Country Link
US (1) US8213854B2 (ja)
JP (1) JP5262504B2 (ja)

Cited By (4)

* Cited by examiner, † Cited by third party
Publication number Priority date Publication date Assignee Title
JP2016210568A (ja) * 2015-05-11 2016-12-15 コニカミノルタ株式会社 シート搬送装置、およびそれを備えた画像形成装置とシステム
JP2018148481A (ja) * 2017-03-08 2018-09-20 コニカミノルタ株式会社 画像読取装置および画像形成システム
JP2019180084A (ja) * 2017-03-08 2019-10-17 コニカミノルタ株式会社 画像読取装置および画像形成システム
US10569985B2 (en) 2018-03-20 2020-02-25 Fuji Xerox Co., Ltd. Image forming apparatus and recording material transport device

Families Citing this family (10)

* Cited by examiner, † Cited by third party
Publication number Priority date Publication date Assignee Title
JP5504917B2 (ja) * 2010-01-27 2014-05-28 株式会社リコー 画像形成システム
JP5609179B2 (ja) * 2010-03-15 2014-10-22 株式会社リコー 画像形成システム
JP6222554B2 (ja) 2012-12-25 2017-11-01 株式会社リコー 画像読取装置および画像形成装置
JP6089787B2 (ja) 2013-02-28 2017-03-08 株式会社リコー 自動原稿搬送装置およびこれを備えた画像形成装置
JP2015158664A (ja) * 2014-01-23 2015-09-03 キヤノン株式会社 加湿装置及び画像形成装置
JP5976038B2 (ja) * 2014-06-04 2016-08-23 京セラドキュメントソリューションズ株式会社 シート処理装置、およびこれを備えた画像形成装置
JP7233879B2 (ja) * 2018-10-19 2023-03-07 キヤノン株式会社 シート搬送装置及び画像形成装置
US11254536B2 (en) * 2018-10-19 2022-02-22 Canon Kabushiki Kaisha Image forming apparatus
JP7318442B2 (ja) * 2019-09-18 2023-08-01 セイコーエプソン株式会社 媒体処理装置及び記録装置
JP7463857B2 (ja) * 2020-06-05 2024-04-09 京セラドキュメントソリューションズ株式会社 仕分け装置およびそれを備えた画像形成装置

Citations (5)

* Cited by examiner, † Cited by third party
Publication number Priority date Publication date Assignee Title
JPH05286624A (ja) * 1992-04-08 1993-11-02 Ricoh Co Ltd 用紙反転搬送装置
JP2000086044A (ja) * 1998-09-17 2000-03-28 Minolta Co Ltd シート一時保持装置およびそれを用いた画像形成装置
JP2002333750A (ja) * 2001-05-09 2002-11-22 Canon Inc 画像形成装置
JP2004155566A (ja) * 2002-11-07 2004-06-03 Toshiba Tec Corp 用紙後処理装置及びこれを備える画像形成装置
JP2006137582A (ja) * 2004-11-15 2006-06-01 Kyocera Mita Corp 画像形成装置本体および画像形成装置

Family Cites Families (19)

* Cited by examiner, † Cited by third party
Publication number Priority date Publication date Assignee Title
US6785507B2 (en) * 2000-05-17 2004-08-31 Canon Kabushiki Kaisha Image forming apparatus having function of automatically selecting one of sheet feeders, method of controlling the image forming apparatus and storage medium
JP2002372817A (ja) 2001-04-13 2002-12-26 Canon Inc 画像形成装置、画像形成装置の制御方法、および画像形成装置の制御プログラム
US6957810B2 (en) 2001-09-25 2005-10-25 Ricoh Company, Ltd. Sheet finisher with two processing trays
JP3836348B2 (ja) * 2001-09-27 2006-10-25 シャープ株式会社 用紙処理装置
US20030215275A1 (en) 2002-03-12 2003-11-20 Masahiro Tamura Sheet finisher with a punching unit
JP4071642B2 (ja) 2002-03-25 2008-04-02 株式会社リコー 用紙処理装置及び画像形成システム
JP4769420B2 (ja) 2003-04-09 2011-09-07 株式会社リコー 画像形成装置
JP4340582B2 (ja) 2003-07-28 2009-10-07 株式会社リコー 用紙処理装置及び画像形成装置
JP2005345541A (ja) 2004-05-31 2005-12-15 Kyocera Mita Corp シート体の後処理装置
US7416177B2 (en) 2004-09-16 2008-08-26 Ricoh Company, Ltd. Sheet folding apparatus, sheet processing apparatus and image forming apparatus
JP2006193283A (ja) 2005-01-14 2006-07-27 Canon Inc シート後処理装置
JP2006206271A (ja) 2005-01-28 2006-08-10 Canon Finetech Inc 搬送装置および画像形成装置
JP4316519B2 (ja) 2005-03-10 2009-08-19 シャープ株式会社 シート後処理装置及びこれを用いた画像形成装置
US7510177B2 (en) * 2005-03-01 2009-03-31 Sharp Kabushiki Kaisha Sheet post-processing apparatus and image formation apparatus
JP4039431B2 (ja) * 2005-03-08 2008-01-30 コニカミノルタビジネステクノロジーズ株式会社 画像形成システム
JP4224468B2 (ja) 2005-03-10 2009-02-12 シャープ株式会社 シート後処理装置及びこれを用いた画像形成装置
JP2007308211A (ja) 2006-05-16 2007-11-29 Kyocera Mita Corp 画像形成装置
JP4811156B2 (ja) * 2006-06-30 2011-11-09 富士ゼロックス株式会社 シート処理装置
JP4809188B2 (ja) * 2006-10-30 2011-11-09 京セラミタ株式会社 画像形成装置

Patent Citations (5)

* Cited by examiner, † Cited by third party
Publication number Priority date Publication date Assignee Title
JPH05286624A (ja) * 1992-04-08 1993-11-02 Ricoh Co Ltd 用紙反転搬送装置
JP2000086044A (ja) * 1998-09-17 2000-03-28 Minolta Co Ltd シート一時保持装置およびそれを用いた画像形成装置
JP2002333750A (ja) * 2001-05-09 2002-11-22 Canon Inc 画像形成装置
JP2004155566A (ja) * 2002-11-07 2004-06-03 Toshiba Tec Corp 用紙後処理装置及びこれを備える画像形成装置
JP2006137582A (ja) * 2004-11-15 2006-06-01 Kyocera Mita Corp 画像形成装置本体および画像形成装置

Cited By (5)

* Cited by examiner, † Cited by third party
Publication number Priority date Publication date Assignee Title
JP2016210568A (ja) * 2015-05-11 2016-12-15 コニカミノルタ株式会社 シート搬送装置、およびそれを備えた画像形成装置とシステム
JP2018148481A (ja) * 2017-03-08 2018-09-20 コニカミノルタ株式会社 画像読取装置および画像形成システム
US10404883B2 (en) 2017-03-08 2019-09-03 Konica Minolta, Inc. Image reading apparatus and image forming system
JP2019180084A (ja) * 2017-03-08 2019-10-17 コニカミノルタ株式会社 画像読取装置および画像形成システム
US10569985B2 (en) 2018-03-20 2020-02-25 Fuji Xerox Co., Ltd. Image forming apparatus and recording material transport device

Also Published As

Publication number Publication date
US20100072692A1 (en) 2010-03-25
JP5262504B2 (ja) 2013-08-14
US8213854B2 (en) 2012-07-03

Similar Documents

Publication Publication Date Title
JP5262504B2 (ja) 用紙処理システム
JP3752413B2 (ja) 用紙搬送装置、及び用紙搬送装置における用紙の供給方法
JP4897656B2 (ja) 画像形成装置
JP2015118116A (ja) 画像形成装置及び画像形成システム並びに画像形成制御方法
JP2018034926A (ja) 印刷装置
US9760051B2 (en) Post-processing apparatus and image forming system
JP2005172890A (ja) 画像形成システム
JP2005221518A (ja) 画像形成装置
US8861989B2 (en) Printer capable of resolving a jam of a print medium
JP2018070336A (ja) 印刷装置
JP5435098B2 (ja) 画像形成装置
JP4429939B2 (ja) 画像形成装置
JP5182506B2 (ja) 用紙処理システム
JP6393580B2 (ja) 印刷装置
JP2010089912A (ja) 印刷装置の給紙機構
JP2009282498A (ja) 紙折り装置及び画像形成装置
JP2016160063A (ja) シート材搬送装置及びその制御方法、並びにプログラム
JPWO2009048059A1 (ja) 印刷装置
JP4319967B2 (ja) 用紙処理装置および画像形成装置
JP7674843B2 (ja) 媒体供給機構
JP4457032B2 (ja) 用紙処理装置・画像形成装置
JP2014061991A (ja) シート搬送装置及び画像形成装置
JP2009292557A (ja) 印刷装置のリカバリー機構及びリカバリー方法
JP2006188338A (ja) 自動原稿給紙装置および画像形成装置
JP2006248640A (ja) 画像形成装置、シート搬送方法

Legal Events

Date Code Title Description
RD02 Notification of acceptance of power of attorney

Free format text: JAPANESE INTERMEDIATE CODE: A7422

Effective date: 20100617

RD04 Notification of resignation of power of attorney

Free format text: JAPANESE INTERMEDIATE CODE: A7424

Effective date: 20100624

A621 Written request for application examination

Free format text: JAPANESE INTERMEDIATE CODE: A621

Effective date: 20110805

A977 Report on retrieval

Free format text: JAPANESE INTERMEDIATE CODE: A971007

Effective date: 20121112

A131 Notification of reasons for refusal

Free format text: JAPANESE INTERMEDIATE CODE: A131

Effective date: 20121114

A521 Request for written amendment filed

Free format text: JAPANESE INTERMEDIATE CODE: A523

Effective date: 20121220

TRDD Decision of grant or rejection written
A01 Written decision to grant a patent or to grant a registration (utility model)

Free format text: JAPANESE INTERMEDIATE CODE: A01

Effective date: 20130402

A61 First payment of annual fees (during grant procedure)

Free format text: JAPANESE INTERMEDIATE CODE: A61

Effective date: 20130415

R151 Written notification of patent or utility model registration

Ref document number: 5262504

Country of ref document: JP

Free format text: JAPANESE INTERMEDIATE CODE: R151

LAPS Cancellation because of no payment of annual fees