JP2010058212A - 研削ホイール - Google Patents

研削ホイール Download PDF

Info

Publication number
JP2010058212A
JP2010058212A JP2008225542A JP2008225542A JP2010058212A JP 2010058212 A JP2010058212 A JP 2010058212A JP 2008225542 A JP2008225542 A JP 2008225542A JP 2008225542 A JP2008225542 A JP 2008225542A JP 2010058212 A JP2010058212 A JP 2010058212A
Authority
JP
Japan
Prior art keywords
wheel
grinding
grinding wheel
mount
wheel base
Prior art date
Legal status (The legal status is an assumption and is not a legal conclusion. Google has not performed a legal analysis and makes no representation as to the accuracy of the status listed.)
Granted
Application number
JP2008225542A
Other languages
English (en)
Other versions
JP5259307B2 (ja
Inventor
Sosuke Kumagai
壮祐 熊谷
Fumiteru Tashino
文照 田篠
Current Assignee (The listed assignees may be inaccurate. Google has not performed a legal analysis and makes no representation or warranty as to the accuracy of the list.)
Disco Corp
Original Assignee
Disco Abrasive Systems Ltd
Priority date (The priority date is an assumption and is not a legal conclusion. Google has not performed a legal analysis and makes no representation as to the accuracy of the date listed.)
Filing date
Publication date
Application filed by Disco Abrasive Systems Ltd filed Critical Disco Abrasive Systems Ltd
Priority to JP2008225542A priority Critical patent/JP5259307B2/ja
Publication of JP2010058212A publication Critical patent/JP2010058212A/ja
Application granted granted Critical
Publication of JP5259307B2 publication Critical patent/JP5259307B2/ja
Active legal-status Critical Current
Anticipated expiration legal-status Critical

Links

Images

Landscapes

  • Constituent Portions Of Griding Lathes, Driving, Sensing And Control (AREA)
  • Grinding And Polishing Of Tertiary Curved Surfaces And Surfaces With Complex Shapes (AREA)
  • Polishing Bodies And Polishing Tools (AREA)

Abstract

【課題】 研削砥石に超音波振動を充分伝達可能な研削ホイールを提供することである。
【解決手段】 研削装置のスピンドル先端に固定されたホイールマウントに装着される研削ホイールであって、該ホイールマウントに装着されるマウント装着リングと、第1面及び該第1面と反対側の第2面を有し、複数の研削砥石が該第2面の外周部に固定されたホイールベースと、該研削砥石の半径方向内側で該ホイールベースの該第1面に配設された超音波振動子と、該マウント装着リングと該ホイールベースとの間に介装された振動吸収リングと、を具備したことを特徴とする。
【選択図】図4

Description

本発明は、半導体ウエーハ等の被加工物を研削するための研削装置に装着される研削ホイールに関する。
IC、LSI等の数多くのデバイスが表面に形成され、且つ個々のデバイスが分割予定ライン(ストリート)によって区画された半導体ウエーハは、研削装置によって裏面が研削されて所定の厚みに加工された後、切削装置(ダイシング装置)によって分割予定ラインを切削して個々のデバイスに分割され、分割されたデバイスは携帯電話、パソコン等の電気機器に利用される。
ウエーハの裏面を研削する研削装置は、ウエーハを保持するチャックテーブルと、該チャックテーブルに保持されたウエーハを研削する研削砥石を有する研削ホイールが回転可能に装着された研削手段とを備えていて、ウエーハを高精度に所望の厚みに研削できる。
ところで、サファイア、シリコンナイトライド、リチウムタンタレート、アルチック等の脆性硬質材料を研削装置で研削すると長時間を要し、生産性が悪いという問題があることから、本出願人は、超音波振動子を研削ホイールに配設して被加工物を研削する技術を開発し、特許出願した(特開2008−23693号公報)。
特開2008−23693号公報
しかし、特許文献1に開示された研削ホイールの構造では、超音波振動子が生成する超音波振動が研削砥石に充分伝達しないという問題があることが判明した。
本発明はこのような点に鑑みてなされたものであり、その目的とするところは、研削砥石に超音波振動子が生成する超音波振動を充分伝達可能な研削ホイールを提供することである。
本発明によると、研削装置のスピンドル先端に固定されたホイールマウントに装着される研削ホイールであって、該ホイールマウントに装着されるマウント装着リングと、第1面及び該第1面と反対側の第2面を有し、複数の研削砥石が該第2面の外周部に固定されたホイールベースと、該研削砥石の半径方向内側で該ホイールベースの該第1面に配設された超音波振動子と、該マウント装着リングと該ホイールベースとの間に介装された振動吸収リングと、を具備したことを特徴とする研削ホイールが提供される。
好ましくは、ホイールベースは第1面に環状溝を有しており、超音波振動子は該環状溝中に挿入固定されている。
好ましくは、前記振動吸収リングは、該ホイールベースに連結される第1の連結部と、該マウント装着リングに連結される第2の連結部と、該第1の連結部と該第2の連結部との間に形成され、該ホイールベースに生成された超音波振動を吸収するスリット部とを有している。
更に好ましくは、前記振動吸収リングは、ポリエーテルエーテルケトン(PEEK)又はポリアセタール(POM)の何れかである硬質樹脂から形成される。
本発明によると、複数の研削砥石が固定された面と反対側のホイールベースの面上で且つ研削砥石の内側に超音波振動子を配設するとともに、研削砥石と超音波振動子とが固定されたホイールベースを振動吸収リングを介してマウント装着リングに取り付けたので、超音波振動子が生成した超音波振動が振動吸収リングで吸収されてホイールマウントに伝達されることが抑制され、超音波振動を研削砥石に充分伝達することができ、効率良くサファイア等の脆性硬質材料を研削することができる。
以下、本発明の実施形態を図面を参照して詳細に説明する。図1は本発明実施形態の研削ホイールを具備した研削装置2の外観斜視図を示している。4は研削装置2のハウジングであり、ハウジング4の後方にはコラム6が立設されている。コラム6には、上下方向に伸びる一対のガイドレール8が固定されている。
この一対のガイドレール8に沿って研削ユニット(研削手段)10が上下方向に移動可能に装着されている。研削ユニット10は、スピンドルハウジング12と、スピンドルハウジング12を保持する支持部14を有しており、支持部14が一対のガイドレール8に沿って上下方向に移動する移動基台16に取り付けられている。
研削ユニット10はスピンドルハウジング12中に回転可能に収容されたスピンドル18と、スピンドル18の先端に固定されたホイールマウント20と、ホイールマウント20にねじ締結され環状に配設された複数の研削砥石を有する研削ホイール22と、スピンドル18を回転駆動する電動モーターを含んでいる。
研削装置2は、研削ユニット10を一対の案内レール8に沿って上下方向に移動するボールねじ28とパルスモータ30とから構成される研削ユニット移動機構32を備えている。パルスモータ30を駆動すると、ボールねじ28が回転し、移動基台16が上下方向に移動される。
ハウジング4の上面には凹部4aが形成されており、この凹部4aにチャックテーブル機構34が配設されている。チャックテーブル機構34はチャックテーブル36を有し、図示しない移動機構によりウエーハ着脱位置Aと、研削ユニット10に対向する研削位置Bとの間でY軸方向に移動される。38,40は蛇腹である。ハウジング4の前方側には、研削装置2のオペレータが検索条件等を入力する操作パネル42が配設されている。
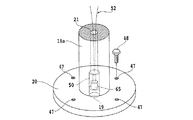
図2及び図3に示すように、スピンドル18の先端は小径先端部18aに形成されており、この小径先端部18aにホイールマウント20が固定されている。ホイールマウント20は4個の丸穴47を有しており、これらの丸穴47にボルト48を挿入して研削ホイール22のねじ穴にボルト48を螺合することにより、研削ホイール22がホイールマウント20に取り付けられる。
スピンドル18には、スピンドル18を上下方向に貫通する貫通孔21が形成されており、この貫通孔21の先端部は図3に示すように径が拡大されたコネクター挿入孔19が形成されている。コネクター挿入孔19中に凹型コネクター50が挿入されており、この凹型コネクター50に後で説明する超音波振動子に接続された凸型コネクター65が嵌合される。
図4を参照すると、本発明実施形態の研削ホイール22の分解斜視図が示されている。図5は研削ホイール22の斜視図、図6は研削ホイール22の一部断面正面図である。56は研削ホイール22のホイールベースであり、ホイールベース56の第2面即ち下面56b(図7参照)の外周には複数の研削砥石58が環状に固着されている。
図7に最も良く示されるように、ホイールベース56の第1面即ち上面56aには環状溝59が形成されており、この環状溝59中に環状の超音波振動子60が挿入されて接着剤等により固着されている。ホイールベース56は中心穴63を有している。超音波振動子60は複数の円弧状超音波振動子を環状溝59中に挿入固定するようにしても良い。
図7に示したホイールベース56の変形例として、ホイールベース56の上面56aに環状溝59を形成せずに、環状又は円弧状の超音波振動子60を接着力の強い接着剤によりホイールベース56の上面56a上に直接接着するようにしても良い。超音波振動子60に接続された一対の導電線61は図3に示した凸型コネクター65に接続されている。
図4を再び参照すると、62はマウント装着リングであり、ボルト48が螺合される4個のねじ穴64と、4個の貫通穴66を有している。各貫通穴66の上部には締結ねじの頭部が挿入される座繰り66aが形成されている。
68は振動吸収リングであり、例えばアルミニウム合金から形成されている。振動吸収リング68はホイールベース56に連結される第1の連結部68aと、マウント装着リング62に連結される第2の連結部68bと、第1の連結部68aと第2の連結部68bとの間に形成されたホイールベース56に生成された超音波振動を吸収する複数のスリット70を有している。振動吸収リング68は更に、マウント装着リング62の各貫通穴66に整列して締結ねじが螺合される4個のねじ穴72を有している。
研削ホイール22を組み立てるには、ホイールベース56を振動吸収リング68の第1の連結部68aに接着等により固定する。更に、マウント装着リング62の貫通穴66中に締結ねじを挿入し振動吸収リング68のねじ穴72に螺合することにより、振動吸収リング68を第2の連結部68bでマウント装着リング62に固定する。
これにより、図5及び図6に示すような研削ホイール22が得られる。マウント装着リング62を振動吸収リング68にねじ締結する代わりに、マウント装着リング62を振動吸収リング68に接着固定するようにしても良い。
超音波振動子60としては、チタン酸バリウム(BaTiO)、チタン酸ジルコン酸鉛(Pb(Zi,Ti)O)、リチウムナイオベート(LiNbO)、リチウムタンタレート(LiTaO)を用いることができる。
上述した実施形態では、振動吸収リング68をアルミニウム合金から形成した例について説明したが、振動吸収リング68としてエンジニアリングプラスチック(硬質樹脂)を採用するようにしても良い。エンジニアリングプラスチックは、例えばポリエーテルエーテルケトン(PEEK)又はポリアセタール(POM)の何れかから選択される。
振動吸収リング68をエンジニアリングプラスチックから形成した場合には、スリット70を特に設けなくてもホイールベース56に生成された超音波振動を吸収できるが、複数のスリット70を形成すると振動の吸収がより効果的である。
図2を再び参照すると、研削ユニット10はスピンドル18を回転駆動する電動モーター74を備えている。電動モーター74は例えば永久磁石式モーターから構成される。電動モーター74は、スピンドル18の中間部に形成されたモーター装着部76に装着された永久磁石からなるローター78と、ローター78の外周側においてスピンドルハウジング12に配設されたステータコイル80とから構成される。
このように構成された電動モーター74は、ステータコイル80に後述する電力供給手段によって交流電力を印加することによりローター78が回転し、ローター78が装着されたスピンドル18が回転される。
研削ユニット10は更に、超音波振動子60に交流電力を印加するとともに電動モーター74に交流電力を印加する電力供給手段82を具備している。電力供給手段82は、スピンドル18の上端に配設されたロータリートランス84を含んでいる。
ロータリートランス84は、スピンドル18の上端に配設された受電手段86と、受電手段86と対向して配設された給電手段88を具備している。受電手段86は、スピンドル18に装着されたローターコア90と、ローターコア90に巻回された受電コイル92とから構成される。
このように構成された受電手段86の受電コイル92には導電線52が接続されている。この導電線52は、スピンドル18の中心に軸方向に形成された貫通穴21内に配設され、その先端が図3に示す凹型コネクター50に接続されている。
給電手段88は、受電手段86の外周側に配設されたステータコア94と、ステータコア94に配設された給電コイル96とから構成される。このように構成された給電手段88の給電コイル96には、電気配線98を介して交流電力が供給される。
電力供給手段82は、交流電源100と、交流電源100とロータリートランス84の給電コイル96との間に挿入された電圧調整手段102と、給電手段88に供給する交流電力の周波数を調整する周波数調整手段104と、電圧調整手段102及び周波数調整手段104を制御する制御手段106と、制御手段106に研削砥石に付与する超音波振動の振幅等を入力する入力手段108を具備している。
交流電源100は、制御回路112及び電気配線110を介して電動モーター74のステータコイル80に交流電力を供給する。周波数調整手段104としては、株式会社エヌエフ回路設計ブロックが提供するデジタルファンクションジェネレータ、商品名「DF−1905」を使用することができる。DF−1905によると、周波数を10Hz〜500kHzの範囲内で適宜調整することができる。
このように構成された研削装置2の研削作業について以下に説明する。図1に示すウエーハ着脱位置Aに位置付けられたチャックテーブル36上に、図8に示すように表面に保護テープTが貼付されたウエーハWを保護テープTを下にして吸引保持する。次いで、チャックテーブル36をY軸方向に移動して研削位置Bに位置付ける。
このように位置付けられたウエーハWに対して、図8に示すようにチャックテーブル36を矢印A方向に例えば300rpmで回転しつつ、研削ホイール22をチャックテーブル36と同一方向に、即ち矢印B方向に例えば6000rpmで回転駆動させるとともに、研削ユニット移動機構32を作動して研削砥石58をウエーハWの裏面に接触させる。
この研削加工時には、電力供給手段82によってロータリートランス84を構成する給電手段88の給電コイル96に所定周波数の交流電力を供給する。その結果、回転する受電手段86の受電コイル92、導電線52、凹型コネクター50、凸型コネクター65、導電線61を介して超音波振動子60に所定周波数の交流電力が印加され、超音波振動子60は主にラジアル方向(径方向)に超音波振動する。この超音波振動は、ホイールベース56を介して複数の研削砥石58に伝達され、研削砥石58がラジアル方向に超音波振動する。
本実施形態の研削ホイール22では、複数のスリット70を有する振動吸収リング68を介してホイールベース56がマウント装着リング6に取り付けられているため、超音波振動子60が発生する超音波振動のホイールマウント20への伝達が抑制される。従って、超音波振動子60から発生された超音波振動は、ホイールベース56を介して複数の研削砥石58に効果的に伝達される。
このように超音波振動子60で研削砥石58を主にラジアル方向に振動させながら研削ホイール22を所定の研削送り速度(例えば3〜5μm/秒)で下方に所定量研削送りして、ウエーハWの研削を実施する。
研削砥石58がラジアル方向に超音波振動すると、研削によって生成され研削砥石58の砥粒間に滞留して目詰まりの原因となる研削屑が、研削砥石58に作用する微振動により研削水とともに流動されて除去される。
従って、研削砥石58の目詰まりを防止することができるため、サファイア、シリコンナイトライド、リチウムタンタレート、アルチック等の脆性硬質材料であっても効率良く研削することができる。
(実施例)
超音波振動子60をチタン酸ジルコン酸鉛(Pb(Zi,Ti)O)から形成した本発明実施形態の研削ホイール22をホイールマウント20に装着し、超音波振動子60に50kHzの周波数で150Vの電圧を印加した。
その結果、研削砥石58は50kHzの周波数でラジアル方向(径方向)に6μm前後の振幅で振動した。研削砥石58は軸方向にも超音波振動するが、軸方向への振幅は1.0μm前後でラジアル方向に比較して小さいものであった。
尚、比較のために特許文献1に開示された研削ホイールをホイールマウントに装着し、実施例と同一条件で超音波振動子に交流電圧を印加したところ、研削砥石はラジアル方向に僅かに超音波振動したが、その振幅は0.2μm前後で充分な振幅は得られなかった。
本発明の研削ホイールが装着された研削装置の外観斜視図である。 本発明実施形態の研削ユニットの一部断面正面図である。 スピンドルの先端部分に装着されたホイールマウントの斜視図である。 本発明実施形態の研削ホイールの分解斜視図である。 研削ホイールの斜視図である。 研削ホイールの一部断面正面図である。 ホイールベースの断面図である。 研削作業の様子を示す説明図である。
符号の説明
2 研削装置
10 研削ユニット
20 ホイールマウント
22 研削ホイール
36 チャックテーブル
56 ホイールベース
58 研削砥石
60 超音波振動子
62 マウント装着リング
68 振動吸収リング
70 スリット

Claims (5)

  1. 研削装置のスピンドル先端に固定されたホイールマウントに装着される研削ホイールであって、
    該ホイールマウントに装着されるマウント装着リングと、
    第1面及び該第1面と反対側の第2面を有し、複数の研削砥石が該第2面の外周部に固定されたホイールベースと、
    該研削砥石の半径方向内側で該ホイールベースの該第1面に配設された超音波振動子と、
    該マウント装着リングと該ホイールベースとの間に介装された振動吸収リングと、
    を具備したことを特徴とする研削ホイール。
  2. 前記ホイールベースは前記第1面に環状溝を有しており、前記超音波振動子は該環状溝中に挿入固定されていることを特徴とする請求項1記載の研削ホイール。
  3. 前記振動吸収リングは、該ホイールベースに連結される第1の連結部と、該マウント装着リングに連結される第2の連結部と、該第1の連結部と該第2の連結部との間に形成され、該ホイールベースに生成された超音波振動を吸収するスリット部とを有している請求項1又は2記載の研削ホイール。
  4. 前記振動吸収リングは硬質樹脂から形成される請求項1〜3の何れかに記載の研削ホイール。
  5. 該硬質樹脂は、ポリエーテルエーテルケトン(PEEK)又はポリアセタール(POM)の何れかである請求項4記載の研削ホイール。
JP2008225542A 2008-09-03 2008-09-03 研削ホイール Active JP5259307B2 (ja)

Priority Applications (1)

Application Number Priority Date Filing Date Title
JP2008225542A JP5259307B2 (ja) 2008-09-03 2008-09-03 研削ホイール

Applications Claiming Priority (1)

Application Number Priority Date Filing Date Title
JP2008225542A JP5259307B2 (ja) 2008-09-03 2008-09-03 研削ホイール

Publications (2)

Publication Number Publication Date
JP2010058212A true JP2010058212A (ja) 2010-03-18
JP5259307B2 JP5259307B2 (ja) 2013-08-07

Family

ID=42185605

Family Applications (1)

Application Number Title Priority Date Filing Date
JP2008225542A Active JP5259307B2 (ja) 2008-09-03 2008-09-03 研削ホイール

Country Status (1)

Country Link
JP (1) JP5259307B2 (ja)

Cited By (7)

* Cited by examiner, † Cited by third party
Publication number Priority date Publication date Assignee Title
JP2010058252A (ja) * 2008-09-08 2010-03-18 Disco Abrasive Syst Ltd 研削ホイール
JP2012016779A (ja) * 2010-07-08 2012-01-26 Disco Corp リチウムタンタレートの加工方法
JP2012125850A (ja) * 2010-12-13 2012-07-05 Disco Corp 研削ホイール
JP2014042947A (ja) * 2012-08-24 2014-03-13 Disco Abrasive Syst Ltd 研削装置
CN108747715A (zh) * 2018-08-28 2018-11-06 艾尔发智能科技股份有限公司 一种湿式自动打磨抛光机
CN109397086A (zh) * 2017-08-17 2019-03-01 株式会社迪思科 安装座
KR20220060170A (ko) * 2020-11-04 2022-05-11 주식회사아일 전도체 디코팅 툴

Citations (8)

* Cited by examiner, † Cited by third party
Publication number Priority date Publication date Assignee Title
JPS6478764A (en) * 1987-09-18 1989-03-24 Inoue Japax Res Grindstone
JP2003218078A (ja) * 2002-01-18 2003-07-31 Nippei Toyama Corp ウェーハの加工装置
JP2006142472A (ja) * 2004-10-19 2006-06-08 Kurenooton Kk オンラインロール研削用カップ状砥石
WO2006137453A1 (ja) * 2005-06-21 2006-12-28 Kazumasa Ohnishi 超音波振動を利用する研磨装置
JP2007030114A (ja) * 2005-07-28 2007-02-08 Disco Abrasive Syst Ltd 切削装置
JP2008023693A (ja) * 2006-07-25 2008-02-07 Disco Abrasive Syst Ltd 研削装置および研削ホイール
JP2008142805A (ja) * 2006-12-07 2008-06-26 Nikon Corp 研削用砥石、砥石ペレット及び光学素子の製造方法
WO2009009870A1 (en) * 2007-07-13 2009-01-22 UNIVERSITé LAVAL Thermoformable ultrasonic machining tool and method

Patent Citations (8)

* Cited by examiner, † Cited by third party
Publication number Priority date Publication date Assignee Title
JPS6478764A (en) * 1987-09-18 1989-03-24 Inoue Japax Res Grindstone
JP2003218078A (ja) * 2002-01-18 2003-07-31 Nippei Toyama Corp ウェーハの加工装置
JP2006142472A (ja) * 2004-10-19 2006-06-08 Kurenooton Kk オンラインロール研削用カップ状砥石
WO2006137453A1 (ja) * 2005-06-21 2006-12-28 Kazumasa Ohnishi 超音波振動を利用する研磨装置
JP2007030114A (ja) * 2005-07-28 2007-02-08 Disco Abrasive Syst Ltd 切削装置
JP2008023693A (ja) * 2006-07-25 2008-02-07 Disco Abrasive Syst Ltd 研削装置および研削ホイール
JP2008142805A (ja) * 2006-12-07 2008-06-26 Nikon Corp 研削用砥石、砥石ペレット及び光学素子の製造方法
WO2009009870A1 (en) * 2007-07-13 2009-01-22 UNIVERSITé LAVAL Thermoformable ultrasonic machining tool and method

Cited By (9)

* Cited by examiner, † Cited by third party
Publication number Priority date Publication date Assignee Title
JP2010058252A (ja) * 2008-09-08 2010-03-18 Disco Abrasive Syst Ltd 研削ホイール
JP2012016779A (ja) * 2010-07-08 2012-01-26 Disco Corp リチウムタンタレートの加工方法
JP2012125850A (ja) * 2010-12-13 2012-07-05 Disco Corp 研削ホイール
JP2014042947A (ja) * 2012-08-24 2014-03-13 Disco Abrasive Syst Ltd 研削装置
CN109397086A (zh) * 2017-08-17 2019-03-01 株式会社迪思科 安装座
CN108747715A (zh) * 2018-08-28 2018-11-06 艾尔发智能科技股份有限公司 一种湿式自动打磨抛光机
CN108747715B (zh) * 2018-08-28 2024-03-26 艾尔发智能科技股份有限公司 一种湿式自动打磨抛光机
KR20220060170A (ko) * 2020-11-04 2022-05-11 주식회사아일 전도체 디코팅 툴
KR102482263B1 (ko) * 2020-11-04 2022-12-28 주식회사아일 전도체 디코팅 툴

Also Published As

Publication number Publication date
JP5259307B2 (ja) 2013-08-07

Similar Documents

Publication Publication Date Title
JP5259307B2 (ja) 研削ホイール
JP5280247B2 (ja) 研削装置
JP2011148028A (ja) 研削ホイール
US7347766B2 (en) Cutting method and cutting apparatus
JP4977416B2 (ja) 研削装置および研削ホイール
JP5329264B2 (ja) 研削ホイール
JP6153323B2 (ja) 研削装置及び研削方法
JP5766566B2 (ja) 研削装置
JP5362492B2 (ja) 研削ホイール
JP5902945B2 (ja) 研削ホイール
JP5208630B2 (ja) 研削ホイール
JP5301321B2 (ja) 研削ホイール
JP2009285798A (ja) サファイア基板の研削方法
JP2012125850A (ja) 研削ホイール
JP2010214496A (ja) 研磨装置
JP2010194651A (ja) 研削ホイール
JP5357571B2 (ja) 研削ホイール
JP5068147B2 (ja) 研削ホイール
JP2011152605A (ja) 研削装置
JP5798014B2 (ja) 研削装置
JP5690643B2 (ja) 研削装置
JP2016100557A (ja) 研削方法
JP2012086351A (ja) 研削装置
JP4989213B2 (ja) 超音波振動子を備えた切削工具
JP4847093B2 (ja) 切削工具

Legal Events

Date Code Title Description
A621 Written request for application examination

Free format text: JAPANESE INTERMEDIATE CODE: A621

Effective date: 20110824

A977 Report on retrieval

Free format text: JAPANESE INTERMEDIATE CODE: A971007

Effective date: 20130131

A131 Notification of reasons for refusal

Free format text: JAPANESE INTERMEDIATE CODE: A131

Effective date: 20130212

A521 Request for written amendment filed

Free format text: JAPANESE INTERMEDIATE CODE: A523

Effective date: 20130401

TRDD Decision of grant or rejection written
A01 Written decision to grant a patent or to grant a registration (utility model)

Free format text: JAPANESE INTERMEDIATE CODE: A01

Effective date: 20130423

A61 First payment of annual fees (during grant procedure)

Free format text: JAPANESE INTERMEDIATE CODE: A61

Effective date: 20130424

FPAY Renewal fee payment (event date is renewal date of database)

Free format text: PAYMENT UNTIL: 20160502

Year of fee payment: 3

R150 Certificate of patent or registration of utility model

Free format text: JAPANESE INTERMEDIATE CODE: R150

Ref document number: 5259307

Country of ref document: JP

Free format text: JAPANESE INTERMEDIATE CODE: R150

R250 Receipt of annual fees

Free format text: JAPANESE INTERMEDIATE CODE: R250

R250 Receipt of annual fees

Free format text: JAPANESE INTERMEDIATE CODE: R250

R250 Receipt of annual fees

Free format text: JAPANESE INTERMEDIATE CODE: R250

R250 Receipt of annual fees

Free format text: JAPANESE INTERMEDIATE CODE: R250

R250 Receipt of annual fees

Free format text: JAPANESE INTERMEDIATE CODE: R250

R250 Receipt of annual fees

Free format text: JAPANESE INTERMEDIATE CODE: R250

R250 Receipt of annual fees

Free format text: JAPANESE INTERMEDIATE CODE: R250

R250 Receipt of annual fees

Free format text: JAPANESE INTERMEDIATE CODE: R250

R250 Receipt of annual fees

Free format text: JAPANESE INTERMEDIATE CODE: R250

R250 Receipt of annual fees

Free format text: JAPANESE INTERMEDIATE CODE: R250