JP2010043727A - 電動弁 - Google Patents

電動弁 Download PDF

Info

Publication number
JP2010043727A
JP2010043727A JP2009030796A JP2009030796A JP2010043727A JP 2010043727 A JP2010043727 A JP 2010043727A JP 2009030796 A JP2009030796 A JP 2009030796A JP 2009030796 A JP2009030796 A JP 2009030796A JP 2010043727 A JP2010043727 A JP 2010043727A
Authority
JP
Japan
Prior art keywords
rotor shaft
rotor
end stopper
magnet rotor
fixed
Prior art date
Legal status (The legal status is an assumption and is not a legal conclusion. Google has not performed a legal analysis and makes no representation as to the accuracy of the status listed.)
Granted
Application number
JP2009030796A
Other languages
English (en)
Other versions
JP4669051B2 (ja
Inventor
Seiichi Nakano
誠一 中野
Takashi Hirakawa
尚 平川
Yasuaki Onodera
康明 小野寺
Daiki Nakagawa
大樹 中川
Current Assignee (The listed assignees may be inaccurate. Google has not performed a legal analysis and makes no representation or warranty as to the accuracy of the list.)
Saginomiya Seisakusho Inc
Original Assignee
Saginomiya Seisakusho Inc
Priority date (The priority date is an assumption and is not a legal conclusion. Google has not performed a legal analysis and makes no representation as to the accuracy of the date listed.)
Filing date
Publication date
Application filed by Saginomiya Seisakusho Inc filed Critical Saginomiya Seisakusho Inc
Priority to JP2009030796A priority Critical patent/JP4669051B2/ja
Priority to CN 200910151775 priority patent/CN101629649B/zh
Publication of JP2010043727A publication Critical patent/JP2010043727A/ja
Application granted granted Critical
Publication of JP4669051B2 publication Critical patent/JP4669051B2/ja
Active legal-status Critical Current
Anticipated expiration legal-status Critical

Links

Images

Classifications

    • Y02B30/72

Landscapes

  • Electrically Driven Valve-Operating Means (AREA)

Abstract

【課題】電動弁において支持部材に対してロータ軸及びマグネットロータの組み付け作業を容易にする。
【解決手段】ロータ軸3とマグネットロータ42とを別部材で構成する。支持部材2の端部に固定下端ストッパSD1を形成し、支持部材2に固定上端ストッパSU1を形成する。ロータ軸3に可動下端ストッパMD1を形成する。マグネットロータ42に可動上端ストッパMU1を形成する。支持部材2、ロータ軸3及びマグネットロータ42は樹脂成形する。支持部材2の雌ネジ21aにロータ軸3の雄ネジ32aをねじ込み、ロータ軸3を支持部材2に取り付ける。可動上端ストッパMU1が固定上端ストッパSU1と干渉しない位置で、ロータ軸3の係合部Aにマグネットロータ42を嵌合して固着する。マグネットロータ42はロータ軸3の係合部Aに対してニードル部33と反対側から嵌合可能な構造とする。
【選択図】図1

Description

本発明は、冷凍サイクルの膨張弁など冷媒の流量を制御する電動弁に関する。
従来、冷凍サイクルにおいて、室外熱交換器と室内熱交換器との間には膨張弁が設けられており、冷房モードのときは室外熱交換器からの冷媒を膨張弁で膨張させて室内熱交換器に導かれ、暖房モードのときは室内熱交換器からの冷媒を膨張弁で膨張させて室外熱交換器に導かれる。このような膨張弁としては、通常運転、デフロスト運転、除湿運転などに対応するように、冷媒の流量を制御する電動弁が各種提案されている(特許文献1、特許文献2参照)。
この従来の電動弁は、モータ部によりマグネットロータ及びロータ軸を回動することにより、ロータ軸のネジ送り作用にてロータ軸の端部のニードル弁(弁体部)を弁ポートに対して進退させて、弁ポートを通る流体の流量を制御している。そして、流量の制御範囲における弁閉方向のニードル弁の最下端位置や弁開方向のニードル弁の最上端位置を規制するために、ロータ軸の回動位置を規制するためのストッパ機構を備えている。
特開平10−47517号公報 特許第3310042号公報
特許文献1の電動弁は、ロータ(60,62)及び弁ホルダ(70)が一体に組み付けられ、ストッパ機構を構成する一方の部材であるレバー(150)がロータ60に対して取り付けられている。一方、ストッパ機構を構成する他方のストッパ部材(100)がブッシュ(90)に固着されている。そして、ブッシュ(90)の雌ネジに弁ホルダ(70)の雄ネジが螺合されている。このため、ブッシュ(90)に弁ホルダ(70)を螺合させて組み立てることになり、この組み立てる際に、上端位置を規定するストッパ部(上端の当接部110)とレバー150が干渉してネジ部を組み付けることが非常に困難となるという問題がある。
なお、特許文献2は、ネジの切り始め位置とストッパの突起の位置を合わせることで、弁閉位置でロータの回転を止めるストッパ部の製造方法について主に開示されているが、上記のように組み付け時の作業性で特に問題となる、弁開時の上端位置を規制するストッパ機構については開示されていない。
本発明は、モータ部のマグネットロータとロータ軸のネジ送り作用により弁体部を弁ポートに接離させることで流体の流量を制御する電動弁において、流量の制御範囲における弁体部の最下端位置と最上端位置を規制するストッパ機構を容易に組み立てることができるようにすることを課題とする。
請求項1の電動弁は、弁ポートを有する弁室に対して該弁ポートと反対側に配置された支持部であって、該弁ポートの軸と同軸に雌ネジが形成された支持部と、該支持部の雌ネジに螺合する外周に雄ネジを有するロータ軸と、該ロータ軸に固定され該支持部の一部を覆うマグネットロータと、該マグネットロータの外周に配置されたモータ部とを備え、該モータ部によりマグネットロータ及びロータ軸を回動することにより、該ロータ軸のネジ送り作用にて該ロータ軸の端部に備えられた弁体部を前記弁ポートに対して進退させて、弁ポートを通る流体の流量を制御するようにした電動弁において、前記支持部には軸回りの1箇所に固定下端ストッパが形成され、前記ロータ軸または前記マグネットロータには軸回りの1箇所に該固定下端ストッパに係合可能な可動下端ストッパが形成され、さらに前記支持部には、前記マグネットロータの内周に対向する該支持部の外周の1箇所に固定上端ストッパが一体成形され、前記マグネットロータには、該固定上端ストッパに係合可能な可動上端ストッパが、該固定上端ストッパよりも前記弁ポート側となる該マグネットロータの内周の1箇所に一体成形され、前記ロータ軸のネジ送り作用にて前記弁体部を弁ポート側に移動したときに、前記固定下端ストッパに前記可動下端ストッパを係合させて、該弁体部の下端位置を規制するとともに、該ネジ送り作用にて該弁体部を弁ポートと反対側に移動したときに、前記固定上端ストッパに前記可動上端ストッパを係合させて、該弁体部の上端位置を規制するように構成され、前記マグネットロータと前記ロータ軸とが別部材であって、該マグネットロータと該ロータ軸とが、該ロータ軸の前記弁体部側と反対側端部に対して該マグネットロータを嵌合可能となる形状にそれぞれ形成され、該マグネットロータとロータ軸とが互いに嵌合固着することで組み立てられていることを特徴とする。
請求項2の電動弁は、請求項1に記載の電動弁であって、前記マグネットロータ、前記ロータ軸及び前記支持部がそれぞれ樹脂成形されたものであることを特徴とする。
請求項3の電動弁は、請求項2に記載の電動弁であって、前記マグネットロータには中心に嵌合孔が形成されるとともに、前記ロータ軸には前記弁体部と反対側の端部に該ロータ軸の半径方向に弾性変形可能で端部が前記嵌合孔の径よりも僅かに外側に突出する複数の爪部材が形成され、前記マグネットロータの前記嵌合孔に前記ロータ軸の前記爪部材を弾性変形させて嵌合されることで、該マグネットロータと該ロータ軸とが互いに嵌合固着されていることを特徴とする。
請求項4の電動弁は、請求項2に記載の電動弁であって、前記マグネットロータには中心に嵌合孔が形成されるとともに、前記ロータ軸には前記弁体部と反対側の端部外周に溝が形成され、前記マグネットロータの前記嵌合孔に前記ロータ軸の前記端部を嵌合されるとともに、前記溝にリング状のクリップが係合されることで、該マグネットロータと該ロータ軸とが互いに嵌合固着されていることを特徴とする。
請求項5の電動弁は、請求項2に記載の電動弁であって、前記マグネットロータには中心に嵌合孔が形成され、該嵌合孔に前記ロータ軸の前記弁体部と反対側の端部が挿入され、該端部が熱かしめされることで、該マグネットロータと該ロータ軸とが互いに嵌合固着されていることを特徴とする。
請求項6の電動弁は、請求項2に記載の電動弁であって、前記マグネットロータには中心に嵌合孔が形成されるとともに、前記ロータ軸には前記弁体部と反対側の端部外周に該ロータ軸の外周半径方向に前記嵌合孔の径よりも僅かに突出する突起部が形成され、前記マグネットロータの前記嵌合孔に前記ロータ軸の前記突起部を弾性変形させて圧入されることで、該マグネットロータと該ロータ軸とが互いに嵌合固着されていることを特徴とする。
請求項7の電動弁は、請求項2に記載の電動弁であって、前記マグネットロータは中心に嵌合孔が形成されるとともに、前記ロータ軸には前記弁体部と反対側の端部に下穴が形成され、該嵌合孔より大なるフランジ部と該下穴より大なるインサート部からなる取付金具を、該インサート部を該下穴に圧入またはネジ止めするとともに該フランジ部を該嵌合孔の周囲に当接させることで、該マグネットロータと該ロータ軸とが互いに嵌合固着されていることを特徴とする。
請求項8の電動弁は、請求項1乃至7の何れか一項に記載の電動弁であって、前記固定下端ストッパが前記支持部の前記モータ部側の端部に形成されるとともに、前記可動下端ストッパが前記ロータ軸に形成されていることを特徴とする。
請求項9の電動弁は、請求項1乃至7の何れか一項に記載の電動弁であって、前記固定下端ストッパが前記支持部の前記モータ部側の端部に形成されるとともに、前記可動下端ストッパが前記マグネットロータに形成されていることを特徴とする。
請求項10の電動弁は、請求項1乃至7の何れか一項に記載の電動弁であって、前記固定下端ストッパが前記支持部の前記固定上端ストッパよりも前記弁ポート側となる位置に形成されるとともに、前記可動下端ストッパが前記可動上端ストッパと一体に形成されていることを特徴とする。
請求項11の電動弁は、請求項1乃至7の何れか一項に記載の電動弁であって、前記固定下端ストッパが前記支持部の雌ネジの端部に形成され、前記可動下端ストッパが前記ロータ軸の雄ネジの端部に形成されていることを特徴とする。
請求項1の電動弁によれば、ロータ軸のネジ送り作用にて弁体部を弁ポート側に移動したときに、固定下端ストッパに可動下端ストッパが係合して最下端位置が規制され、弁体部を弁ポートと反対側に移動したときに、固定上端ストッパに可動上端ストッパが係合して最上端位置が規制される。固定上端ストッパは支持部材の外周の1箇所に形成され、可動上端ストッパは、マグネットロータの内周の1箇所であって固定上端ストッパよりも弁ポート側となる位置に形成されて、さらに、マグネットロータとロータ軸とが別部材であって、マグネットロータをロータ軸に対して弁体部側と反対側からロータ軸の端部に嵌合可能な形状に形成されているので、ロータ軸を最上端位置と最下端位置の間である制御範囲の位置になるまで支持部に螺合して、この制御範囲内で可動上端ストッパと固定上端ストッパとが軸回り周上の異なる位置(角度)となるようにすることで、可動上端ストッパと固定上端ストッパとが干渉することなく、マグネットロータをロータ軸の端部に容易に嵌合することができる。したがって、ストッパ機構を容易に組み立てることができる。
また、固定上端ストッパが支持部と一体成形され、可動上端ストッパがマグネットロータと一体成形され、さらにマグネットロータはロータ軸に対して嵌合されるので、固定上端ストッパ、可動上端ストッパ、ロータ軸の雄ネジ及び支持部の雌ネジの各位置関係を一定にして形成することができ、ストッパ機構のバラツキを低減することができる。
請求項2の電動弁によれば、請求項1の効果に加えて、マグネットロータ、ロータ軸及び支持部がそれぞれ樹脂成形されているので、製造が容易になる。
請求項3の電動弁によれば、請求項2の効果に加えて、ロータ軸の爪部材をマグネットロータの嵌合孔に嵌合させるだけでよいので、組み付け作業が簡単になる。
請求項4の電動弁によれば、請求項2の効果に加えて、ロータ軸の端部をマグネットロータの嵌合孔に嵌合して、端部の溝にリング状のクリップを係合するだけでよいので、組み付け作業が簡単になる。
請求項5の電動弁によれば、請求項2の効果に加えて、ロータ軸の端部をマグネットロータの嵌合孔に挿入して、その端部を熱かしめするだけでよいので、組み付け作業が簡単になる。
請求項6の電動弁によれば、請求項2の効果に加えて、ロータ軸の端部をマグネットロータの嵌合孔に圧入するだけでよいので、組み付け作業が簡単になる。
請求項7の電動弁によれば、請求項2の効果に加えて、ロータ軸の端部をマグネットロータの嵌合孔に挿入し、該ロータ軸の下穴に取付金具のインサート部を圧入またはネジ止めするだけでよいので、組み付け作業が簡単になる。
請求項8の電動弁によれば、請求項1乃至7の効果に加えて、固定下端ストッパが支持部のモータ部側の端部に形成されるとともに、可動下端ストッパがロータ軸に形成されているので、マグネットロータをロータ軸に嵌合するときに、この固定下端ストッパと可動下端ストッパが互いに干渉することがなく、さらに、組み付け作業が簡単になる。
請求項9の電動弁によれば、請求項1乃至7の効果に加えて、固定下端ストッパが支持部のモータ部側の端部に形成されるとともに、可動下端ストッパがマグネットロータに形成されているので、マグネットロータをロータ軸に嵌合するときに、この固定下端ストッパと可動下端ストッパが互いに干渉することがなく、さらに、組み付け作業が簡単になる。
請求項10の電動弁によれば、請求項1乃至7の効果に加えて、可動下端ストッパが可動上端ストッパと一体に形成されているので、この可動下端ストッパも可動上端ストッパと同様に固定上端ストッパとの干渉を避けることができるとともに、一体に形成されることで製造が容易になる。
請求項11の電動弁によれば、請求項1乃至7の効果に加えて、固定下端ストッパと可動下端ストッパが支持部の内側に形成されることになるので、該支持部の周囲の構造が簡単になる。
本発明の第1実施形態の電動弁の縦断面図である。 第1実施形態における支持部材の三面図である。 第1実施形態におけるロータ軸の四面図である。 第1実施形態におけるマグネットロータの二面図である。 第1実施形態における固定下端ストッパと可動下端ストッパの作用を説明する図である。 第1実施形態における固定上端ストッパと可動上端ストッパの作用を説明する図である。 第1実施形態の電動弁の動作を示す図である。 第1実施形態における支持部材、ロータ軸及びマグネットロータの組み付け方法を説明する図である。 第1実施形態における固定下端ストッパ及び可動下端ストッパの制作方法の一例を示す図である。 第1実施形態における固定上端ストッパ及び可動状態ストッパの制作方法の一例を示す図である。 第2実施形態の電動弁の縦断面図である。 第2実施形態における支持部材の要部を示す三面図である。 第2実施形態におけるロータ軸の要部を示す三面図である。 第3実施形態の電動弁の縦断面図である。 第3実施形態におけるマグネットロータの二面図である。 第4実施形態の電動弁の縦断面図である。 第4実施形態における支持部材の要部を示す三面図である。 第4実施形態におけるマグネットロータの二面図である。 第5実施形態の電動弁の縦断面図である。 第5実施形態における支持部材の雌ネジ及びロータ軸の雄ネジを示す図である。 実施形態における溝とクリップからなる係合部の例を示す図である。 実施形態における熱かしめによる係合部の例を示す図である。 実施形態における突起部の圧入による係合部の例を示す図である。 第6実施形態の電動弁の縦断面図である。 第7実施形態の電動弁の縦断面図である。 第7実施形態におけるロータ軸とマグネットロータを固着する手順を示す図である。 第7実施形態における取付金具のスパイラルローレットを形成した変形例を示す図である。 第7実施形態における取付金具の突状の爪を形成した変形例を示す図である。 第7実施形態における取付金具の板状の爪を形成した変形例を示す図である。 第7実施形態における取付金具のインサート部を巻きブッシュ形状とした変形例を示す図である。
次に、本発明の電動弁の実施の形態を図面を参照して説明する。図1は第1実施形態の電動弁の縦断面図、図2は同電動弁の支持部材の三面図、図3は同電動弁のロータ軸の四面図、図4は同電動弁のマグネットロータの二面図である。なお、以下の説明における「上下」の概念は図1の図面における上下に対応する。この電動弁は、円筒形状の弁本体1を有している。弁本体1には、その片側端部に弁ポート1aが開口されている。また、弁本体1の弁ポート1aと反対側の開口部には「支持部」としての支持部材2が取り付けられている。これにより、弁本体1はその内側に弁室1bを形成している。弁本体1の外周片側には冷媒の流路としての第1継手管11が接続され、この第1継手管11は弁室1bに導通されている。また、弁ポート1a側には第2継手管12が接続され、この第2継手管12は弁ポート1aを介して弁室1bに導通される。なお、第1継手管11、第2継手管12及び支持部材2は、弁本体1に対して蝋付け等により固着されている。
支持部材2は中央のホルダ部21とこのホルダ部21の外周のフランジ部22とを有しており、フランジ部22により弁本体1に取り付けられている。ホルダ部21の中心には、弁ポート1aの軸Lと同軸の雌ネジ21aとそのネジ孔が形成されるとともに、弁ポート1aと反対側には雌ネジ21aのネジ孔の外周よりも径の大きな円筒状のスライド孔21bが形成されている。そして、この雌ネジ21aのネジ孔とスライド孔21bの中に円柱棒状のロータ軸3が配設されている。ロータ軸3はスライド孔21bに整合する大径部31とこの大径部31より径の小さな小径部32とを有し、さらに、この小径部32の下端には「弁体部」としてのニードル部33を備えている。小径部32の外周には雄ネジ32aが形成されており、この雄ネジ32aはホルダ部21の雌ネジ21aに螺合されている。なお、雌ネジ21aと雄ネジ32aは右ネジである。また、ロータ軸3の大径部31の上端部には後述の係合部Aを備えている。
弁本体1の上端には、モータ部としてのステッピングモータ4のケース41が溶接等によって気密に固定されている。ケース41内には外周部を多極に着磁されたマグネットロータ42が回転可能に設けられている。また、ケース41の外周には、ステータコイル43が配設されており、モータ部としてのステッピングモータ4は、ステータコイル43にパルス信号が与えられることにより、そのパルス数に応じてマグネットロータ42を回転させる。
マグネットロータ42は、係合部Aにおいてロータ軸3に係合固着されている。そして、マグネットロータ42の回転によってマグネットロータ42と共にロータ軸3が回転し、雄ネジ32aと雌ネジ21aのネジ送り作用により、ロータ軸3が軸L方向(上下)に移動してニードル部33が弁ポート1aに対して進退する。これにより、弁ポート1aの開度を変化させ、第1継手管11から第2継手管12へ流れる冷媒の流量、または第2継手管12から第1継手管11へ流れる冷媒の流量が制御される。
図2に示すように、支持部材2は合成樹脂により型成形されたものであり、ホルダ部21には、その上端部の外周縁に固定下端ストッパSD1が形成され、ホルダ部21の外周の上端には半径方向に突出した固定上端ストッパSU1が形成されている。この固定下端ストッパSD1と固定上端ストッパSU1は支持部材2の本体と一体に形成されている。
図3に示すように、ロータ軸3は合成樹脂により型成形されたものであり、大径部31にはフランジ部31aが形成され、このフランジ部31aの一部は扇形に切り欠かれた位置出し部31bとされている。また、フランジ部31aの小径部32側の面(下面)には可動下端ストッパMD1がロータ軸3の本体と一体に形成されている。大径部31のニードル部33と反対側の係合部Aは、ロータ軸3の半径方向に弾性変形可能なフォーク状の2つの爪部材3a,3aを有している。この爪部材3a,3aの側面は円錐面とされるとともにフランジ部31a側の外周縁部3a1,3a1は半径方向に大径部31の径より僅かに突出している。
図4に示すように、マグネットロータ42は円柱状のマグネット部421とその内側の円盤部422とで構成されており、円盤部422の中心には、係合部Aとして、ロータ軸3の大径部31と同じ径の嵌合孔422aが形成されている。すなわち、前記ロータ軸3側の爪部材3a,3aの外周縁部3a1,3a1は、嵌合孔422aの径よりも僅かに外側に突出する形状となっている。また、マグネット部421の内周面の下端には、軸回りの1箇所に可動上端ストッパMU1が形成されている。この可動上端ストッパMU1は、マグネットロータ42の組み付け状態では、固定上端ストッパSU1よりも弁ポート1a側となる位置に形成されている。さらに、この可動上端ストッパMU1はマグネットロータ42と一体成形されている。そして、この可動上端ストッパMU1は内周側に突出しており、後述のようにマグネットロータ42が上昇したときに支持部材2の固定上端ストッパSU1に係合可能となっている。
また、マグネットロータ42の円盤部422には、その一部に扇状に突出した位置出し部422bが形成されており、この位置出し部422bは前記ロータ軸3の位置出し部31bに係合され、ロータ軸3とマグネットロータ42との相対位置が決められる。
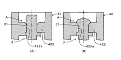
図5は固定下端ストッパSD1と可動下端ストッパMD1の作用を説明する図、図6は固定上端ストッパSU1と可動上端ストッパMU1の作用を説明する図である。ロータ軸3が回動して支持部材2側に移動(下降)するとき、流量を制御する制御範囲では、図5(A)に示すように可動下端ストッパMD1は固定下端ストッパSD1の上を通過し、制御範囲の下限になると、図5(B) に示すように、可動下端ストッパMD1が固定下端ストッパSD1に係合し、ロータ軸3の回動が規制される。また、ロータ軸3及びマグネットロータ42が回動して支持部材2と反対側に移動(上昇)するとき、制御範囲では、図6(A)に示すように可動上端ストッパMU1は固定上端ストッパSU1の下を通過し、制御範囲の上限になると、図6(B) に示すように、可動上端ストッパMU1が固定上端ストッパSU1に係合し、ロータ軸3の回動が規制される。
図7は第1実施形態の電動弁の動作を示す図であり、弁ポート1aの開度により流量を制御する制御範囲では、例えば図7(B) の状態にある。この状態からマグネットロータ42及びロータ軸3を下降すると図7(A) の状態になり、ロータ軸3の可動下端ストッパMD1が支持部材2の固定下端ストッパSD1に係合し、ロータ軸3の回動が停止するとともに、ニードル部33が弁ポート1aを最小絞り状態とする。一方、図7(B) の状態からマグネットロータ42及びロータ軸3を上昇すると図7(C) の状態になり、マグネットロータ42の可動上端ストッパMU1が支持部材2の固定上端ストッパSU1に係合し、ロータ軸3の回動が停止するとともに、ニードル部33が弁ポート1aを全開状態とする。
図8は支持部材2、ロータ軸3及びマグネットロータ42の組み付け方法を説明する図である。なお、図8(B) は図8(A) のC−C矢視図であり、この図8(B) においてはロータ軸3については可動下端ストッパMD1のみを一点鎖線で図示してある。先ず、図8(A) のように、支持部材2の雌ネジ21aのネジ孔にロータ軸3をねじ込み、支持部材2の固定上端ストッパSU1の下端からロータ軸3のフランジ部31aの上端までの寸法Aが、マグネットロータ42の可動上端ストッパMU1の上端から円盤部422の下端までの寸法Bよりも、小さくなるようにする。また、このとき、図8(B) のように、可動上端ストッパMU1が固定上端ストッパSU1に重ならない回動位置となるように、ロータ軸3の回動位置を決める。
そして、ロータ軸3の爪部材3a,3aをマグネットロータ42の嵌合孔422aに嵌め込むようにし、位置出し部422bを位置出し部31bに係合し、ロータ軸3とマグメットロータ42を係合して固着する。このとき、マグネットロータ42とロータ軸3及び支持部材2は相互に干渉するような部分はなく、容易に組み付けることができる。
図9は固定下端ストッパSD1及び可動下端ストッパMD1の製作方法の一例を示す図である。なお、図9及び後述の図10は位置関係を概念的に示す図であり、例えば縦方向の長さの比率等は実寸とは異なっている。固定下端ストッパSD1は支持部材2の雌ネジ21aにおける基準位置O1からの距離D1によりその上端を設定し、可動下端ストッパMD1はロータ軸3の雄ネジ32aにおける基準位置O2からの距離D2によりその下端を設定する。この場合、D1−D2が接触高さになるが、この接触高さは、雌ネジ21a(及び雄ネジ32a)のピッチより小さくすることはいうまでもない。
図10は固定上端ストッパSU1及び可動上端ストッパMU1の製作方法の一例を示す図である。固定上端ストッパSU1は支持部材2の雌ネジ21aにおける基準位置O1からの距離D3によりその下端を設定し、可動上端ストッパMU1はロータ軸3の雄ネジ32aにおける基準位置O2からフランジ部31aの上端面までの距離D4と、マグネットロータ42の円盤部422の下端面からの距離D5によりその上端を設定する。この場合、(D4−D5)−D3が接触高さになるが、この接触高さは、雌ネジ21a(及び雄ネジ32a)のピッチより小さくすることはいうまでもない。
このように、支持部材2、ロータ軸3及びマグネットロータ42は合成樹脂の型成形により形成されているので、電動弁のロットにおいてのバラツキはなく、制御域の上端及び下端を規制するストッパ機構として精度よいものが得られる。なお、必要とする制御範囲のニードル部33の下端位置から上端位置までの距離は設計により決定されるので、この距離をネジのピッチで割れば回転数(小数を含む)を割り出すことができ、これにより、固定下端ストッパSD1、可動下端ストッパMD1、固定上端ストッパSU1及び可動上端ストッパMU1の位置を設定することができる。
図11は第2実施形態の電動弁の縦断面図、図12は第2実施形態の電動弁における支持部材の要部を示す三面図、図13は第2実施形態の電動弁におけるロータ軸の要部を示す三面図である。なお、以下の実施形態で第1実施形態と同様な要素及び対応する要素には同符号を付記して重複する詳細な説明は省略する。この第2実施形態では、ロータ軸3のフランジ部31aの径を大きくし、可動下端ストッパMD2を第1実施形態の可動下端ストッパMD1よりも外側に配置し、さらに、支持部材2における固定下端ストッパSD2を第1実施形態の固定下端ストッパSD1よりも外側に配置したものである。なお、可動上端ストッパMU1及び固定上端ストッパSU1は第1実施形態と同様である。
この第2実施形態によれば、第1実施形態に比べて、下端位置での可動下端ストッパMD2及び固定下端ストッパSD2に作用するトルクを低減できる。
図14は第3実施形態の電動弁の縦断面図、図15は第3実施形態の電動弁におけるマグネットロータの二面図である。この第3実施形態における支持部材2は第2実施形態と同様であり、第2実施形態におけるロータ軸3に形成した可動下端ストッパMD2の代わりに、マグネットロータ42に可動下端ストッパMD3を形成したものである。この場合にも第2実施形態と同様に、下端位置での可動下端ストッパMD3及び固定下端ストッパSD2に作用するトルクを低減できる。
図16は第4実施形態の電動弁の縦断面図、図17は第4実施形態の電動弁における支持部材の要部を示す三面図、図18は第4実施形態の電動弁におけるマグネットロータの二面図である。この第4実施形態では、固定下限ストッパSD4を支持部材2の外周の下端に設け、可動下端ストッパMD4と可動上端ストッパMU4をマグネットロータ42の内周面の一つの突起として一体に設けたものである。
図19は第5実施形態の電動弁の縦断面図、図20は第5実施形態の電動弁における支持部材の雌ネジ及びロータ軸の雄ネジを示す図である。この第5実施形態では、固定上端ストッパSU1及び可動上端ストッパMU1は第1実施形態と同様である。固定下端ストッパSD5は支持部材2の雌ネジ21aの端部を壁状にして形成し、可動下端ストッパMD5はロータ軸3の雄ネジ32aの端部を壁状にして形成したものである。
図21〜23は係合部Aの他の実施形態を示す図であり、図21の係合部Aはロータ軸3の大径部31の端部の外周に溝3bを形成したものである。そして、マグネットロータ42の嵌合孔422a内に大径部31を嵌挿し、リング状のクリップ3cを溝3bに嵌め込んでロータ軸3とマグネットロータ42を固着する。
図22の係合部Aの例は、図22(A) のように、ロータ軸3の大径部31をマグネットロータ42の嵌合孔422aに嵌挿され、図22(B) のように、この係合部Aが熱かしめされ、マグネットロータ42とロータ軸3とが互いに嵌合固着されている。
図23の係合部Aの例は、ロータ軸3の大径部31の端部の外周に、大径部31の外周半径方向に嵌合孔422aの径よりも僅かに突出する突起部3dが形成されている。そして、マグネットロータ42の嵌合孔422aにロータ軸3の大径部31の端部が突起部3dを弾性変形させて圧入されている。これにより、マグネットロータ42とロータ軸3とが互いに嵌合固着されている。
以上の各係合部Aは、前記ストッパ機構に関する各実施形態の何れにも適用できることはいうまでもない。
図24は第6実施形態の電動弁の縦断面図である。この第6実施形態ではロータ軸3を金属製の芯棒3Aとその周囲の樹脂部3Bとで構成したものであり、このロータ軸3はインサート成形して形成されている。その他の構造は第1実施形態と同様である。この実施形態によれば、ロータ軸3の成形時の反りを低減することができ、作動を確実にしてより信頼性が高まる。また、この実施形態のようにニードル部33を芯棒3Aで兼ねることもできる。
図25は第7実施形態の電動弁の縦断面図である。この第7実施形態と前記各実施形態との違いは、マグネットロータ42とロータ軸5の固着構造にある。また、この第7実施形態ではロータ軸5と弁棒6を一体にせずに、ロータ軸5に対して弁棒6が軸L方向に移動可能になっている点にある。
ロータ軸5は合成樹脂により型成形されたものであり、このロータ軸5は支持部材2のスライド孔21bに整合する大径部51とこの大径部51より径の小さな小径部52とを有している。大径部51にはフランジ部51aとが形成されるとともに、このフランジ部51aの面(下面)には可動下端ストッパMD1が形成されている。また、小径部52の外周には雄ネジ52aが形成されている。そして、雄ネジ52aがホルダ部21の雌ネジ21aに螺合されている。さらに、小径部52を貫通するように弁棒6が配設されており、この弁棒6は、その下端に「弁体部」としてのニードル部61を備えている。
なお、ホルダ部21の固定下端ストッパSD1、固定上端ストッパSU1、可動下端ストッパMD1及び可動上端ストッパMU1の作用は第1実施形態と同様である。
ロータ軸5には弁体部61と反対側の端部に下穴5aが形成されており、この下穴5aの上端部分に,取付金具7が配設されている。取付金具7は、マグネットロータ42の円板部422の中心に形成された嵌合孔422aより大なるフランジ部71と、ロータ軸5の下穴5aより大なるインサート部72から構成されており、インサート部72の周囲はローレット加工によりあやめローレットが形成されている。そして、インサート部72が下穴5aに圧入され、フランジ部71が嵌合孔422aの周囲に当接され、このフランジ部71とロータ軸5のフランジ部51aとによりマグネットロータ42が挟まれている。これにより、マグネットロータ42とロータ軸5とが互いに嵌合固着されている。
ロータ軸5の下穴5a内にはコイルばね62が配設されており、このコイルばねの付勢力により弁棒6は弁ポート1a側に付勢されており、この第7実施形態では、可動下端ストッパMD1が固定下端ストッパSD1に当接する直前にニードル部61が弁ポート1aを全閉とする。そして、可動下端ストッパMD1が固定下端ストッパSD1に当接するまで、コイルばね62が僅かに圧縮される。
図26はロータ軸5とマグネットロータ42を固着する手順を示す図である。まず、図26(A) のように、下穴5a内に弁棒6とコイルばね62をセットする。次に、図26(B) のように取付金具7のインサート部72の先端を下穴5aに挿入する。そして、図26(C) のように、加熱治具Bにより取付金具7を加熱及び押圧し、図26(D) のようにフランジ部71をマグネットロータ42の円板部422に当接させる。
図27〜図30は取付金具7の変形例を示す図である。図27の取付金具7はフランジ部71とインサート部72を有し、このインサート部72の周囲にローレット加工によりスパイラルローレットを形成したものである。図28の取付金具7は板金のプレス加工によりフランジ部71とインサート部72を形成し、このインサート部72の周囲に突状の爪72aを形成したものである。図29の取付金具7は板金のプレス加工によりフランジ部71とインサート部72を形成し、このインサート部72の周囲に板状の爪72aを形成したものである。図30の取付金具7は板金の打ち抜き及び曲げ加工によりフランジ部71とインサート部72を形成したものであり、このインサート部72を巻きブッシュ形状としたものである。これら図27〜図30の取付金具7も図25に示す取付金具7と同様にロータ軸5の下穴5a内にインサート部72を嵌合し、ロータ軸5とマグネットロータ42とを嵌合固着する。
また、取付金具のインサート部の周囲に雄ネジを形成し、ロータ軸の下穴に雌ネジを形成し、取付金具をロータ軸の下穴にネジ止めするようにしてもよい。
以上の第7実施形態のように取付家具7によりロータ軸5とマグネットロータ42とを嵌合固着する構造は、前記第1〜第6実施形態の何れの構造にも適用できる。また、第7実施形態の可動下端ストッパMD1、固定下端ストッパSD1、可動下端ストッパMD1及び固定下端ストッパSD1は第1実施形態と同様であるが、その他の実施形態のストッパの構造を第7実施形態に適用することもできる。
1 弁本体
1a 弁ポート
1b 弁室
2 支持部材
21 ホルダ部
21a 雌ネジ
3 ロータ軸
31 大径部
32 小径部
32a 雄ネジ
33 ニードル部
4 ステッピングモータ
42 マグネットロータ
422a 嵌合孔
5 ロータ軸
5a 下穴
6 弁棒
7 取付金具
71 フランジ部
72 インサート部
SD1 固定下端ストッパ
MD1 可動下端ストッパ
SU1 固定上端ストッパ
MU1 可動上端ストッパ

Claims (11)

  1. 弁ポートを有する弁室に対して該弁ポートと反対側に配置された支持部であって、該弁ポートの軸と同軸に雌ネジが形成された支持部と、該支持部の雌ネジに螺合する外周に雄ネジを有するロータ軸と、該ロータ軸に固定され該支持部の一部を覆うマグネットロータと、該マグネットロータの外周に配置されたモータ部とを備え、該モータ部によりマグネットロータ及びロータ軸を回動することにより、該ロータ軸のネジ送り作用にて該ロータ軸の端部に備えられた弁体部を前記弁ポートに対して進退させて、弁ポートを通る流体の流量を制御するようにした電動弁において、
    前記支持部には軸回りの1箇所に固定下端ストッパが形成され、前記ロータ軸または前記マグネットロータには軸回りの1箇所に該固定下端ストッパに係合可能な可動下端ストッパが形成され、
    さらに前記支持部には、前記マグネットロータの内周に対向する該支持部の外周の1箇所に固定上端ストッパが一体成形され、前記マグネットロータには、該固定上端ストッパに係合可能な可動上端ストッパが、該固定上端ストッパよりも前記弁ポート側となる該マグネットロータの内周の1箇所に一体成形され、
    前記ロータ軸のネジ送り作用にて前記弁体部を弁ポート側に移動したときに、前記固定下端ストッパに前記可動下端ストッパを係合させて、該弁体部の下端位置を規制するとともに、該ネジ送り作用にて該弁体部を弁ポートと反対側に移動したときに、前記固定上端ストッパに前記可動上端ストッパを係合させて、該弁体部の上端位置を規制するように構成され、
    前記マグネットロータと前記ロータ軸とが別部材であって、該マグネットロータと該ロータ軸とが、該ロータ軸の前記弁体部側と 反対側端部に対して該マグネットロータを嵌合可能となる形状にそれぞれ形成され、該マグネットロータとロータ軸とが互いに嵌合固着することで組み立てられていることを特徴とする電動弁。
  2. 前記マグネットロータ、前記ロータ軸及び前記支持部がそれぞれ樹脂成形されたものであることを特徴とする請求項1に記載の電動弁。
  3. 前記マグネットロータには中心に嵌合孔が形成されるとともに、前記ロータ軸には前記弁体部と反対側の端部に該ロータ軸の半径方向に弾性変形可能で端部が前記嵌合孔の径よりも僅かに外側に突出する複数の爪部材が形成され、
    前記マグネットロータの前記嵌合孔に前記ロータ軸の前記爪部材を弾性変形させて嵌合されることで、該マグネットロータと該ロータ軸とが互いに嵌合固着されていることを特徴とする請求項2に記載の電動弁。
  4. 前記マグネットロータには中心に嵌合孔が形成されるとともに、前記ロータ軸には前記弁体部と反対側の端部外周に溝が形成され、
    前記マグネットロータの前記嵌合孔に前記ロータ軸の前記端部を嵌合されるとともに、前記溝にリング状のクリップが係合されることで、該マグネットロータと該ロータ軸とが互いに嵌合固着されていることを特徴とする請求項2に記載の電動弁。
  5. 前記マグネットロータには中心に嵌合孔が形成され、該嵌合孔に前記ロータ軸の前記弁体部と反対側の端部が挿入され、該端部が熱かしめされることで、該マグネットロータと該ロータ軸とが互いに嵌合固着されていることを特徴とする請求項2に記載の電動弁。
  6. 前記マグネットロータには中心に嵌合孔が形成されるとともに、前記ロータ軸には前記弁体部と反対側の端部外周に該ロータ軸の外周半径方向に前記嵌合孔の径よりも僅かに突出する突起部が形成され、
    前記マグネットロータの前記嵌合孔に前記ロータ軸の前記突起部を弾性変形させて圧入されることで、該マグネットロータと該ロータ軸とが互いに嵌合固着されていることを特徴とする請求項2に記載の電動弁。
  7. 前記マグネットロータは中心に嵌合孔が形成されるとともに、前記ロータ軸には前記弁体部と反対側の端部に下穴が形成され、
    該嵌合孔より大なるフランジ部と該下穴より大なるインサート部からなる取付金具を、該インサート部を該下穴に圧入またはネジ止めするとともに該フランジ部を該嵌合孔の周囲に当接させることで、該マグネットロータと該ロータ軸とが互いに嵌合固着されていることを特徴とする請求項2に記載の電動弁。
  8. 前記固定下端ストッパが前記支持部の前記モータ部側の端部に形成されるとともに、前記可動下端ストッパが前記ロータ軸に形成されていることを特徴とする請求項1乃至7の何れか一項に記載の電動弁。
  9. 前記固定下端ストッパが前記支持部の前記モータ部側の端部に形成されるとともに、前記可動下端ストッパが前記マグネットロータに形成されていることを特徴とする請求項1乃至7の何れか一項に記載の電動弁。
  10. 前記固定下端ストッパが前記支持部の前記固定上端ストッパよりも前記弁ポート側となる位置に形成されるとともに、前記可動下端ストッパが前記可動上端ストッパと一体に形成されていることを特徴とする請求項1乃至7の何れか一項に記載の電動弁。
  11. 前記固定下端ストッパが前記支持部の雌ネジの端部に形成され、前記可動下端ストッパが前記ロータ軸の雄ネジの端部に形成されていることを特徴とする請求項1乃至7の何れか一項に記載の電動弁。
JP2009030796A 2008-07-16 2009-02-13 電動弁 Active JP4669051B2 (ja)

Priority Applications (2)

Application Number Priority Date Filing Date Title
JP2009030796A JP4669051B2 (ja) 2008-07-16 2009-02-13 電動弁
CN 200910151775 CN101629649B (zh) 2008-07-16 2009-07-15 电动阀

Applications Claiming Priority (2)

Application Number Priority Date Filing Date Title
JP2008184395 2008-07-16
JP2009030796A JP4669051B2 (ja) 2008-07-16 2009-02-13 電動弁

Publications (2)

Publication Number Publication Date
JP2010043727A true JP2010043727A (ja) 2010-02-25
JP4669051B2 JP4669051B2 (ja) 2011-04-13

Family

ID=41574869

Family Applications (1)

Application Number Title Priority Date Filing Date
JP2009030796A Active JP4669051B2 (ja) 2008-07-16 2009-02-13 電動弁

Country Status (2)

Country Link
JP (1) JP4669051B2 (ja)
CN (1) CN101629649B (ja)

Cited By (34)

* Cited by examiner, † Cited by third party
Publication number Priority date Publication date Assignee Title
JP2010169173A (ja) * 2009-01-22 2010-08-05 Fuji Koki Corp 電動弁
CN101858455A (zh) * 2010-06-04 2010-10-13 烟台冰轮高压氧舱有限公司 一种电动调节阀
JP2011208716A (ja) * 2010-03-30 2011-10-20 Fuji Koki Corp 電動弁
CN102297189A (zh) * 2010-06-25 2011-12-28 株式会社不二工机 内螺纹部件、使用该部件的电动阀以及电动阀用内螺纹部件的制造方法
JP2012007682A (ja) * 2010-06-25 2012-01-12 Fuji Koki Corp 雌ねじ部材、それを用いた電動弁、及び電動弁用雌ねじ部材の製造方法
JP2012013095A (ja) * 2010-06-29 2012-01-19 Fuji Koki Corp 電動弁
JP2012062961A (ja) * 2010-09-16 2012-03-29 Fuji Koki Corp 電動弁
JP2013133914A (ja) * 2011-12-27 2013-07-08 Saginomiya Seisakusho Inc 制御弁
JP2013221578A (ja) * 2012-04-17 2013-10-28 Rinnai Corp 流量調節弁
JP2013539849A (ja) * 2010-10-15 2013-10-28 浙江三花股▲ふん▼有限公司 電動弁
JP2014088029A (ja) * 2011-12-07 2014-05-15 Saginomiya Seisakusho Inc 雌ネジ部材をインサート成形によって一体化するインサート成形方法
JP2016156439A (ja) * 2015-02-24 2016-09-01 株式会社不二工機 電動弁
JP2016164434A (ja) * 2015-03-06 2016-09-08 株式会社鷺宮製作所 電動弁
JP2019002572A (ja) * 2018-10-10 2019-01-10 株式会社不二工機 電気的駆動弁
KR20190027896A (ko) * 2016-07-13 2019-03-15 스톤 마운틴 테크놀로지스, 인크. 다수의 오리피스 판을 갖는 전자 팽창 밸브
CN110159821A (zh) * 2018-02-13 2019-08-23 株式会社鹭宫制作所 电动阀以及冷冻循环系统
CN110529606A (zh) * 2018-05-25 2019-12-03 浙江三花智能控制股份有限公司 电子膨胀阀
JP2020076485A (ja) * 2018-11-08 2020-05-21 株式会社不二工機 流路切換弁
KR20200057149A (ko) * 2018-11-15 2020-05-26 우리산업 주식회사 전자 팽창 밸브
KR20200059371A (ko) * 2018-11-20 2020-05-29 우리산업 주식회사 전자 팽창 밸브
JP2020122576A (ja) * 2020-04-09 2020-08-13 株式会社鷺宮製作所 電動弁および冷凍サイクルシステム
EP3696453A1 (en) * 2019-02-14 2020-08-19 TGK CO., Ltd. Motor operated valve
CN112081928A (zh) * 2019-06-12 2020-12-15 浙江盾安禾田金属有限公司 电子膨胀阀
US10948099B2 (en) 2019-02-14 2021-03-16 Tgk Co., Ltd. Motor operated valve
EP3845789A1 (en) * 2019-12-31 2021-07-07 Kyungdong Navien Co., Ltd. Valve for water flow control
JP2021110460A (ja) * 2019-12-31 2021-08-02 キュンドン ナビエン シーオー.,エルティーディー. 流量調節用弁
CN113606146A (zh) * 2021-09-16 2021-11-05 珠海格力节能环保制冷技术研究中心有限公司 一种吸气止回组件及包括其的涡旋压缩机
KR20220024970A (ko) * 2019-08-21 2022-03-03 제지앙 둔안 아트피셜 인바이런먼트 컴퍼니 리미티드 전자 팽창 밸브 및 이의 설치 방법
WO2022098251A1 (en) * 2020-11-03 2022-05-12 Institutul Naţional De Cercetare Dezvoltare Pentru Inginerie Electrică Icpe-Ca Equipment for continuous adjustment of liquid flow, with direct electric drive of the element which performs the modification of the flow section
KR20220088500A (ko) * 2019-11-19 2022-06-27 제지앙 둔안 아트피셜 인바이런먼트 컴퍼니 리미티드 자기 회전자 어셈블리 및 전자 팽창 밸브
WO2022185824A1 (ja) * 2021-03-04 2022-09-09 株式会社不二工機 流量制御弁
JP2022190566A (ja) * 2021-06-14 2022-12-26 株式会社不二工機 電動弁
JP2023501395A (ja) * 2019-11-19 2023-01-18 浙江盾安人工環境股▲ふん▼有限公司 電子膨張弁
JP2023023649A (ja) * 2021-08-05 2023-02-16 日本精工株式会社 ボールねじ装置

Families Citing this family (22)

* Cited by examiner, † Cited by third party
Publication number Priority date Publication date Assignee Title
JP5130339B2 (ja) * 2010-10-05 2013-01-30 株式会社鷺宮製作所 電動弁
CN102213509B (zh) * 2011-06-02 2017-04-12 上海俊乐制冷自控元件有限公司 一种电子膨胀阀
CN102287536B (zh) * 2011-07-27 2013-03-20 浙江盾安禾田金属有限公司 一种电子膨胀阀
DE102012208352A1 (de) * 2012-05-18 2013-11-21 Robert Bosch Gmbh Verfahren zum Verbinden zweier aus ungleichen Materialien bestehenden Batteriepolen zweier Batteriezellen sowie Batterieeinheit
CN104132149B (zh) * 2013-05-02 2017-09-01 浙江三花智能控制股份有限公司 一种电动阀
CN108980378A (zh) * 2014-06-17 2018-12-11 浙江盾安人工环境股份有限公司 电子膨胀阀
CN104165233B (zh) * 2014-06-23 2018-02-09 珠海格力电器股份有限公司 进流结构及压降装置和空调器
JP6214488B2 (ja) * 2014-07-18 2017-10-18 株式会社鷺宮製作所 電動弁
JP6419482B2 (ja) * 2014-08-06 2018-11-07 株式会社不二工機 電気的駆動弁
JP6240243B2 (ja) * 2016-03-07 2017-11-29 株式会社鷺宮製作所 電動弁及び電動弁の製造方法
JP6651437B2 (ja) * 2016-12-27 2020-02-19 株式会社鷺宮製作所 電動弁
CN108662169B (zh) * 2017-03-27 2021-12-21 盾安环境技术有限公司 一种电子膨胀阀
JP7023737B2 (ja) * 2018-02-21 2022-02-22 株式会社鷺宮製作所 電動弁および冷凍サイクルシステム
CN112413147B (zh) * 2019-08-21 2022-12-23 浙江盾安禾田金属有限公司 电子膨胀阀及其加工方法
CN112855953B (zh) * 2019-11-27 2025-12-09 浙江盾安禾田金属有限公司 电子膨胀阀
CN113639052A (zh) * 2020-05-11 2021-11-12 浙江三花智能控制股份有限公司 电子膨胀阀
CN111963695B (zh) * 2020-07-28 2022-01-25 东风汽车集团有限公司 一种低磨损结构的车用电子膨胀阀和车辆
CN114110188B (zh) * 2020-08-31 2024-01-23 盾安环境技术有限公司 电子膨胀阀的组装方法和电子膨胀阀
CN212959909U (zh) * 2020-08-31 2021-04-13 盾安环境技术有限公司 电子膨胀阀
CN114458773B (zh) * 2020-10-21 2024-03-29 盾安环境技术有限公司 电子膨胀阀
CN116625032A (zh) * 2021-06-30 2023-08-22 广东威灵电机制造有限公司 电子膨胀阀和制冷设备
DE102023114466A1 (de) 2023-06-01 2024-12-05 Pierburg Gmbh Ventil

Citations (23)

* Cited by examiner, † Cited by third party
Publication number Priority date Publication date Assignee Title
JPS54134864U (ja) * 1978-03-10 1979-09-19
JPS55109175U (ja) * 1979-01-29 1980-07-31
JPS57159361U (ja) * 1981-03-31 1982-10-06
JPS6228173U (ja) * 1985-08-06 1987-02-20
JPH01169677U (ja) * 1988-05-23 1989-11-30
JPH0211981A (ja) * 1988-06-30 1990-01-17 Toshiba Corp パルスモータ駆動弁
JPH0669069U (ja) * 1993-03-12 1994-09-27 日野車体工業株式会社 貨物車両用荷台
JPH084931A (ja) * 1994-06-15 1996-01-12 Hitachi Ltd 電動式流量調節弁及びこれを備えている流量制御装置
JPH09109268A (ja) * 1995-10-20 1997-04-28 Nippon Plast Co Ltd 接合構造およびそのためのかしめ治具
JPH09310777A (ja) * 1996-05-24 1997-12-02 Tgk Co Ltd 流量制御弁
JPH09317925A (ja) * 1996-05-31 1997-12-12 Fuji Koki:Kk 電動弁
JPH1047517A (ja) * 1996-08-05 1998-02-20 Fuji Koki:Kk 電動弁
JPH10220614A (ja) * 1997-02-05 1998-08-21 Denso Corp 電動式制御弁
JP2000002355A (ja) * 1998-04-13 2000-01-07 Tgk Co Ltd 電動弁
JP2001050415A (ja) * 1999-06-02 2001-02-23 Fuji Koki Corp 電動弁
JP2001260338A (ja) * 2000-03-22 2001-09-25 Seiko Epson Corp インクジェット記録装置及びその製造方法
JP3310042B2 (ja) * 1993-02-16 2002-07-29 株式会社不二工機 電動弁用のロータ中心体とロータ送りねじ及びロータの製造方法
JP2003013933A (ja) * 2001-06-28 2003-01-15 Hikari Kairiku Sangyo Kk 締着具
JP2004239428A (ja) * 2003-01-17 2004-08-26 Saginomiya Seisakusho Inc 電動弁
JP2006029435A (ja) * 2004-07-15 2006-02-02 Saginomiya Seisakusho Inc 電動式コントロールバルブおよび冷凍サイクル装置
JP2006307975A (ja) * 2005-04-28 2006-11-09 Fuji Koki Corp 電動弁
JP2007032675A (ja) * 2005-07-26 2007-02-08 Fuji Koki Corp 電動弁
JP2007139016A (ja) * 2005-11-16 2007-06-07 Saginomiya Seisakusho Inc 電動式コントロールバルブおよび冷凍サイクル装置

Family Cites Families (2)

* Cited by examiner, † Cited by third party
Publication number Priority date Publication date Assignee Title
JPH10215545A (ja) * 1997-01-28 1998-08-11 Mitsubishi Electric Corp 回転/直動変換用モータ
CN2846913Y (zh) * 2005-12-08 2006-12-13 浙江中宝自控元件有限公司 一种电子膨胀阀

Patent Citations (23)

* Cited by examiner, † Cited by third party
Publication number Priority date Publication date Assignee Title
JPS54134864U (ja) * 1978-03-10 1979-09-19
JPS55109175U (ja) * 1979-01-29 1980-07-31
JPS57159361U (ja) * 1981-03-31 1982-10-06
JPS6228173U (ja) * 1985-08-06 1987-02-20
JPH01169677U (ja) * 1988-05-23 1989-11-30
JPH0211981A (ja) * 1988-06-30 1990-01-17 Toshiba Corp パルスモータ駆動弁
JP3310042B2 (ja) * 1993-02-16 2002-07-29 株式会社不二工機 電動弁用のロータ中心体とロータ送りねじ及びロータの製造方法
JPH0669069U (ja) * 1993-03-12 1994-09-27 日野車体工業株式会社 貨物車両用荷台
JPH084931A (ja) * 1994-06-15 1996-01-12 Hitachi Ltd 電動式流量調節弁及びこれを備えている流量制御装置
JPH09109268A (ja) * 1995-10-20 1997-04-28 Nippon Plast Co Ltd 接合構造およびそのためのかしめ治具
JPH09310777A (ja) * 1996-05-24 1997-12-02 Tgk Co Ltd 流量制御弁
JPH09317925A (ja) * 1996-05-31 1997-12-12 Fuji Koki:Kk 電動弁
JPH1047517A (ja) * 1996-08-05 1998-02-20 Fuji Koki:Kk 電動弁
JPH10220614A (ja) * 1997-02-05 1998-08-21 Denso Corp 電動式制御弁
JP2000002355A (ja) * 1998-04-13 2000-01-07 Tgk Co Ltd 電動弁
JP2001050415A (ja) * 1999-06-02 2001-02-23 Fuji Koki Corp 電動弁
JP2001260338A (ja) * 2000-03-22 2001-09-25 Seiko Epson Corp インクジェット記録装置及びその製造方法
JP2003013933A (ja) * 2001-06-28 2003-01-15 Hikari Kairiku Sangyo Kk 締着具
JP2004239428A (ja) * 2003-01-17 2004-08-26 Saginomiya Seisakusho Inc 電動弁
JP2006029435A (ja) * 2004-07-15 2006-02-02 Saginomiya Seisakusho Inc 電動式コントロールバルブおよび冷凍サイクル装置
JP2006307975A (ja) * 2005-04-28 2006-11-09 Fuji Koki Corp 電動弁
JP2007032675A (ja) * 2005-07-26 2007-02-08 Fuji Koki Corp 電動弁
JP2007139016A (ja) * 2005-11-16 2007-06-07 Saginomiya Seisakusho Inc 電動式コントロールバルブおよび冷凍サイクル装置

Cited By (60)

* Cited by examiner, † Cited by third party
Publication number Priority date Publication date Assignee Title
JP2010169173A (ja) * 2009-01-22 2010-08-05 Fuji Koki Corp 電動弁
JP2011208716A (ja) * 2010-03-30 2011-10-20 Fuji Koki Corp 電動弁
CN101858455A (zh) * 2010-06-04 2010-10-13 烟台冰轮高压氧舱有限公司 一种电动调节阀
CN102297189B (zh) * 2010-06-25 2015-07-15 株式会社不二工机 内螺纹部件、使用其的电动阀和该内螺纹部件的制造方法
CN102297189A (zh) * 2010-06-25 2011-12-28 株式会社不二工机 内螺纹部件、使用该部件的电动阀以及电动阀用内螺纹部件的制造方法
JP2012007682A (ja) * 2010-06-25 2012-01-12 Fuji Koki Corp 雌ねじ部材、それを用いた電動弁、及び電動弁用雌ねじ部材の製造方法
JP2012007683A (ja) * 2010-06-25 2012-01-12 Fuji Koki Corp 雌ねじ部材、それを用いた電動弁及び電動弁用雌ねじ部材の製造方法
KR101772700B1 (ko) * 2010-06-29 2017-08-29 가부시기가이샤 후지고오키 전동 밸브
JP2012013095A (ja) * 2010-06-29 2012-01-19 Fuji Koki Corp 電動弁
JP2012062961A (ja) * 2010-09-16 2012-03-29 Fuji Koki Corp 電動弁
JP2013539849A (ja) * 2010-10-15 2013-10-28 浙江三花股▲ふん▼有限公司 電動弁
JP2014088029A (ja) * 2011-12-07 2014-05-15 Saginomiya Seisakusho Inc 雌ネジ部材をインサート成形によって一体化するインサート成形方法
JP2013133914A (ja) * 2011-12-27 2013-07-08 Saginomiya Seisakusho Inc 制御弁
JP2013221578A (ja) * 2012-04-17 2013-10-28 Rinnai Corp 流量調節弁
JP2016156439A (ja) * 2015-02-24 2016-09-01 株式会社不二工機 電動弁
JP2016164434A (ja) * 2015-03-06 2016-09-08 株式会社鷺宮製作所 電動弁
US11162719B2 (en) 2016-07-13 2021-11-02 Stone Mountain Technologies, Inc. Electronic expansion valves having multiple orifice plates
KR20190027896A (ko) * 2016-07-13 2019-03-15 스톤 마운틴 테크놀로지스, 인크. 다수의 오리피스 판을 갖는 전자 팽창 밸브
JP2019521307A (ja) * 2016-07-13 2019-07-25 ストーン・マウンテン・テクノロジーズ,インコーポレーテッド 複数のオリフィスプレートを備えた電子膨張弁
KR102173688B1 (ko) * 2016-07-13 2020-11-02 스톤 마운틴 테크놀로지스, 인크. 다수의 오리피스 판을 갖는 전자 팽창 밸브
CN110159821A (zh) * 2018-02-13 2019-08-23 株式会社鹭宫制作所 电动阀以及冷冻循环系统
CN110529606A (zh) * 2018-05-25 2019-12-03 浙江三花智能控制股份有限公司 电子膨胀阀
CN110529606B (zh) * 2018-05-25 2022-04-29 浙江三花智能控制股份有限公司 电子膨胀阀
JP2019002572A (ja) * 2018-10-10 2019-01-10 株式会社不二工機 電気的駆動弁
JP7105489B2 (ja) 2018-11-08 2022-07-25 株式会社不二工機 流路切換弁
JP2020076485A (ja) * 2018-11-08 2020-05-21 株式会社不二工機 流路切換弁
KR102170493B1 (ko) * 2018-11-15 2020-10-29 우리산업 주식회사 전자 팽창 밸브
KR20200057149A (ko) * 2018-11-15 2020-05-26 우리산업 주식회사 전자 팽창 밸브
KR102170491B1 (ko) * 2018-11-20 2020-10-29 우리산업 주식회사 전자 팽창 밸브
KR20200059371A (ko) * 2018-11-20 2020-05-29 우리산업 주식회사 전자 팽창 밸브
EP3696453A1 (en) * 2019-02-14 2020-08-19 TGK CO., Ltd. Motor operated valve
US10948099B2 (en) 2019-02-14 2021-03-16 Tgk Co., Ltd. Motor operated valve
CN112081928A (zh) * 2019-06-12 2020-12-15 浙江盾安禾田金属有限公司 电子膨胀阀
EP3957881A4 (en) * 2019-06-12 2023-01-18 Zhejiang Dunan Artificial Environment Co., Ltd. ELECTRONIC EXPANSION VALVE
US12146694B2 (en) 2019-06-12 2024-11-19 Zhejiang Dunan Artificial Environment Co., Ltd. Electronic expansion valve
KR20220024970A (ko) * 2019-08-21 2022-03-03 제지앙 둔안 아트피셜 인바이런먼트 컴퍼니 리미티드 전자 팽창 밸브 및 이의 설치 방법
JP2022545152A (ja) * 2019-08-21 2022-10-26 浙江盾安人工環境股▲ふん▼有限公司 電子膨張弁及びその取り付け方法
KR102624431B1 (ko) * 2019-08-21 2024-01-15 제지앙 둔안 아트피셜 인바이런먼트 컴퍼니 리미티드 전자 팽창 밸브 및 이의 설치 방법
JP7356521B2 (ja) 2019-08-21 2023-10-04 浙江盾安人工環境股▲ふん▼有限公司 電子膨張弁及びその取り付け方法
JP2023501395A (ja) * 2019-11-19 2023-01-18 浙江盾安人工環境股▲ふん▼有限公司 電子膨張弁
JP7549014B2 (ja) 2019-11-19 2024-09-10 浙江盾安人工環境股▲ふん▼有限公司 磁気ロータアセンブリ及び電子膨張弁
KR20220088500A (ko) * 2019-11-19 2022-06-27 제지앙 둔안 아트피셜 인바이런먼트 컴퍼니 리미티드 자기 회전자 어셈블리 및 전자 팽창 밸브
JP2023501339A (ja) * 2019-11-19 2023-01-18 浙江盾安人工環境股▲ふん▼有限公司 磁気ロータアセンブリ及び電子膨張弁
KR102639708B1 (ko) 2019-11-19 2024-02-23 제지앙 둔안 아트피셜 인바이런먼트 컴퍼니 리미티드 자기 회전자 어셈블리 및 전자 팽창 밸브
JP7429290B2 (ja) 2019-11-19 2024-02-07 浙江盾安人工環境股▲ふん▼有限公司 電子膨張弁
EP3845789A1 (en) * 2019-12-31 2021-07-07 Kyungdong Navien Co., Ltd. Valve for water flow control
US11549590B2 (en) 2019-12-31 2023-01-10 Kyungdong Navien Co., Ltd Valve for water flow control
JP2021110460A (ja) * 2019-12-31 2021-08-02 キュンドン ナビエン シーオー.,エルティーディー. 流量調節用弁
JP2020122576A (ja) * 2020-04-09 2020-08-13 株式会社鷺宮製作所 電動弁および冷凍サイクルシステム
JP2022183148A (ja) * 2020-04-09 2022-12-08 株式会社鷺宮製作所 電動弁および冷凍サイクルシステム
WO2022098251A1 (en) * 2020-11-03 2022-05-12 Institutul Naţional De Cercetare Dezvoltare Pentru Inginerie Electrică Icpe-Ca Equipment for continuous adjustment of liquid flow, with direct electric drive of the element which performs the modification of the flow section
JPWO2022185824A1 (ja) * 2021-03-04 2022-09-09
WO2022185824A1 (ja) * 2021-03-04 2022-09-09 株式会社不二工機 流量制御弁
JP7233757B2 (ja) 2021-06-14 2023-03-07 株式会社不二工機 電動弁
JP2023055907A (ja) * 2021-06-14 2023-04-18 株式会社不二工機 電動弁
JP2022190566A (ja) * 2021-06-14 2022-12-26 株式会社不二工機 電動弁
JP7511934B2 (ja) 2021-06-14 2024-07-08 株式会社不二工機 電動弁
JP2023023649A (ja) * 2021-08-05 2023-02-16 日本精工株式会社 ボールねじ装置
JP7632161B2 (ja) 2021-08-05 2025-02-19 日本精工株式会社 ボールねじ装置
CN113606146A (zh) * 2021-09-16 2021-11-05 珠海格力节能环保制冷技术研究中心有限公司 一种吸气止回组件及包括其的涡旋压缩机

Also Published As

Publication number Publication date
CN101629649A (zh) 2010-01-20
CN101629649B (zh) 2011-01-05
JP4669051B2 (ja) 2011-04-13

Similar Documents

Publication Publication Date Title
JP4669051B2 (ja) 電動弁
CN114458781B (zh) 电动阀以及冷冻循环系统
JP4679613B2 (ja) 電動弁
JP6481155B2 (ja) 電動弁
JP5164579B2 (ja) 電動弁及びその組立方法
JP6978391B2 (ja) 電動弁及び冷凍サイクルシステム
JP6218029B2 (ja) ステッピングモータ駆動式の制御弁
JP3997077B2 (ja) 電動弁
CN110107724B (zh) 电动阀以及冷冻循环系统
JP4786834B2 (ja) 電動弁
JP6175715B2 (ja) ステッピングモータ駆動式の制御弁
JP2016217451A (ja) 電動弁及びその組立方法
JP6359593B2 (ja) 電動弁
JP6240243B2 (ja) 電動弁及び電動弁の製造方法
CN1967026B (zh) 电动调节阀以及冷冻循环装置
JP2000120885A (ja) 電動弁
JP7145134B2 (ja) 電動弁及び冷凍サイクルシステム
JP6445654B2 (ja) 電動弁及び電動弁の製造方法
JP7465845B2 (ja) 電動弁及び冷凍サイクルシステム
JP6643450B2 (ja) 電動弁
JP2002147900A (ja) 電動式制御弁
JP4615693B2 (ja) 電動式コントロールバルブ
JP2023525102A (ja) 電子膨張弁
JP7264975B2 (ja) 電動弁及び冷凍サイクルシステム
JP2025043404A (ja) 電動弁

Legal Events

Date Code Title Description
A621 Written request for application examination

Free format text: JAPANESE INTERMEDIATE CODE: A621

Effective date: 20091224

A977 Report on retrieval

Free format text: JAPANESE INTERMEDIATE CODE: A971007

Effective date: 20100524

A131 Notification of reasons for refusal

Free format text: JAPANESE INTERMEDIATE CODE: A131

Effective date: 20100615

A521 Written amendment

Free format text: JAPANESE INTERMEDIATE CODE: A523

Effective date: 20100813

TRDD Decision of grant or rejection written
A01 Written decision to grant a patent or to grant a registration (utility model)

Free format text: JAPANESE INTERMEDIATE CODE: A01

Effective date: 20101221

A01 Written decision to grant a patent or to grant a registration (utility model)

Free format text: JAPANESE INTERMEDIATE CODE: A01

A61 First payment of annual fees (during grant procedure)

Free format text: JAPANESE INTERMEDIATE CODE: A61

Effective date: 20110113

FPAY Renewal fee payment (event date is renewal date of database)

Free format text: PAYMENT UNTIL: 20140121

Year of fee payment: 3

R150 Certificate of patent or registration of utility model

Ref document number: 4669051

Country of ref document: JP

Free format text: JAPANESE INTERMEDIATE CODE: R150

Free format text: JAPANESE INTERMEDIATE CODE: R150