JP2010039302A - 液晶表示装置、及びその製造方法 - Google Patents

液晶表示装置、及びその製造方法 Download PDF

Info

Publication number
JP2010039302A
JP2010039302A JP2008203433A JP2008203433A JP2010039302A JP 2010039302 A JP2010039302 A JP 2010039302A JP 2008203433 A JP2008203433 A JP 2008203433A JP 2008203433 A JP2008203433 A JP 2008203433A JP 2010039302 A JP2010039302 A JP 2010039302A
Authority
JP
Japan
Prior art keywords
liquid crystal
substrate
display device
crystal display
layer
Prior art date
Legal status (The legal status is an assumption and is not a legal conclusion. Google has not performed a legal analysis and makes no representation as to the accuracy of the status listed.)
Granted
Application number
JP2008203433A
Other languages
English (en)
Other versions
JP4683090B2 (ja
Inventor
Takeo Koito
健夫 小糸
Koichi Nagasawa
耕一 永澤
Muneharu Hayashi
宗治 林
Hidehiro Kosaka
英寛 小坂
Current Assignee (The listed assignees may be inaccurate. Google has not performed a legal analysis and makes no representation or warranty as to the accuracy of the list.)
Sony Corp
Original Assignee
Sony Corp
Priority date (The priority date is an assumption and is not a legal conclusion. Google has not performed a legal analysis and makes no representation as to the accuracy of the date listed.)
Filing date
Publication date
Application filed by Sony Corp filed Critical Sony Corp
Priority to JP2008203433A priority Critical patent/JP4683090B2/ja
Priority to US12/510,402 priority patent/US8355108B2/en
Priority to CN2009101611406A priority patent/CN101644847B/zh
Publication of JP2010039302A publication Critical patent/JP2010039302A/ja
Application granted granted Critical
Publication of JP4683090B2 publication Critical patent/JP4683090B2/ja
Active legal-status Critical Current
Anticipated expiration legal-status Critical

Links

Images

Classifications

    • GPHYSICS
    • G02OPTICS
    • G02FOPTICAL DEVICES OR ARRANGEMENTS FOR THE CONTROL OF LIGHT BY MODIFICATION OF THE OPTICAL PROPERTIES OF THE MEDIA OF THE ELEMENTS INVOLVED THEREIN; NON-LINEAR OPTICS; FREQUENCY-CHANGING OF LIGHT; OPTICAL LOGIC ELEMENTS; OPTICAL ANALOGUE/DIGITAL CONVERTERS
    • G02F1/00Devices or arrangements for the control of the intensity, colour, phase, polarisation or direction of light arriving from an independent light source, e.g. switching, gating or modulating; Non-linear optics
    • G02F1/01Devices or arrangements for the control of the intensity, colour, phase, polarisation or direction of light arriving from an independent light source, e.g. switching, gating or modulating; Non-linear optics for the control of the intensity, phase, polarisation or colour 
    • G02F1/13Devices or arrangements for the control of the intensity, colour, phase, polarisation or direction of light arriving from an independent light source, e.g. switching, gating or modulating; Non-linear optics for the control of the intensity, phase, polarisation or colour  based on liquid crystals, e.g. single liquid crystal display cells
    • G02F1/133Constructional arrangements; Operation of liquid crystal cells; Circuit arrangements
    • G02F1/1333Constructional arrangements; Manufacturing methods
    • G02F1/13338Input devices, e.g. touch panels
    • GPHYSICS
    • G02OPTICS
    • G02FOPTICAL DEVICES OR ARRANGEMENTS FOR THE CONTROL OF LIGHT BY MODIFICATION OF THE OPTICAL PROPERTIES OF THE MEDIA OF THE ELEMENTS INVOLVED THEREIN; NON-LINEAR OPTICS; FREQUENCY-CHANGING OF LIGHT; OPTICAL LOGIC ELEMENTS; OPTICAL ANALOGUE/DIGITAL CONVERTERS
    • G02F1/00Devices or arrangements for the control of the intensity, colour, phase, polarisation or direction of light arriving from an independent light source, e.g. switching, gating or modulating; Non-linear optics
    • G02F1/01Devices or arrangements for the control of the intensity, colour, phase, polarisation or direction of light arriving from an independent light source, e.g. switching, gating or modulating; Non-linear optics for the control of the intensity, phase, polarisation or colour 
    • G02F1/13Devices or arrangements for the control of the intensity, colour, phase, polarisation or direction of light arriving from an independent light source, e.g. switching, gating or modulating; Non-linear optics for the control of the intensity, phase, polarisation or colour  based on liquid crystals, e.g. single liquid crystal display cells
    • G02F1/133Constructional arrangements; Operation of liquid crystal cells; Circuit arrangements
    • G02F1/1333Constructional arrangements; Manufacturing methods
    • G02F1/1339Gaskets; Spacers; Sealing of cells
    • G02F1/13394Gaskets; Spacers; Sealing of cells spacers regularly patterned on the cell subtrate, e.g. walls, pillars
    • GPHYSICS
    • G02OPTICS
    • G02FOPTICAL DEVICES OR ARRANGEMENTS FOR THE CONTROL OF LIGHT BY MODIFICATION OF THE OPTICAL PROPERTIES OF THE MEDIA OF THE ELEMENTS INVOLVED THEREIN; NON-LINEAR OPTICS; FREQUENCY-CHANGING OF LIGHT; OPTICAL LOGIC ELEMENTS; OPTICAL ANALOGUE/DIGITAL CONVERTERS
    • G02F1/00Devices or arrangements for the control of the intensity, colour, phase, polarisation or direction of light arriving from an independent light source, e.g. switching, gating or modulating; Non-linear optics
    • G02F1/01Devices or arrangements for the control of the intensity, colour, phase, polarisation or direction of light arriving from an independent light source, e.g. switching, gating or modulating; Non-linear optics for the control of the intensity, phase, polarisation or colour 
    • G02F1/13Devices or arrangements for the control of the intensity, colour, phase, polarisation or direction of light arriving from an independent light source, e.g. switching, gating or modulating; Non-linear optics for the control of the intensity, phase, polarisation or colour  based on liquid crystals, e.g. single liquid crystal display cells
    • G02F1/133Constructional arrangements; Operation of liquid crystal cells; Circuit arrangements
    • G02F1/1333Constructional arrangements; Manufacturing methods
    • G02F1/1339Gaskets; Spacers; Sealing of cells
    • G02F1/13396Spacers having different sizes

Landscapes

  • Physics & Mathematics (AREA)
  • Nonlinear Science (AREA)
  • Mathematical Physics (AREA)
  • Chemical & Material Sciences (AREA)
  • Crystallography & Structural Chemistry (AREA)
  • General Physics & Mathematics (AREA)
  • Optics & Photonics (AREA)
  • Liquid Crystal (AREA)

Abstract

【課題】外圧に強いセル構造を持つ液晶表示装置、およびその製造方法を提供する。
【解決手段】第1の基板(アレイ基板7)と、第1の基板に対向して形成される第2の基板(対向基板8)と、第1の基板と前記第2の基板との間に、所定の厚さで形成される液晶層9と、第1の基板または第2の基板の少なくとも一方の液晶層9側の面に形成される、液晶層9側の面を平坦化するための平坦化膜17と、平坦化膜17と一体形成される突起部24a,24bとから構成される。
【選択図】図1

Description

本発明は、液晶表示装置、及びその製造方法に関する。
液晶表示装置は、薄型、軽量、低消費電力といった利点を有する。このため、液晶表示装置は、携帯電話、デジタルカメラ等のモバイル用途の電子機器において多く使用されている。液晶表示装置は、一対の基板の間に、液晶層が封入された液晶パネルを有しており、その液晶パネルの背面に設けられたバックライトなどの平面光源から照射された光を、その液晶パネルが変調する。そして、その変調した光によって、画像の表示が液晶パネルの正面にて実施される。
近年、液晶表示装置において、液晶表示装置の画面上に表示されたアイコン等を、ユーザが直接タッチすることにより、ユーザの指示内容を入力することのできるタッチパネルが具備された液晶表示装置が使用されている。
このタッチパネルは、液晶表示装置の画面上に示す指示内容を、人の手、又は物体で直接的に接触することにより、選択できるように、液晶表示装置の最上側に設置される。タッチパネルでは、手、又は物体が接触された位置が検出され、接触された位置で指示する内容を入力信号として、液晶表示装置を駆動する。タッチパネルを具備する液晶表示装置は、コンピュータ等に使用される場合や、キーボード、又はマウスのような入力装置、携帯電話のようなモバイル製品に使用される場合、キーパッドのような入力装置を別に必要としないため、その使用が拡大している傾向にある。
一方、タッチパネルが、液晶表示装置の上部に配置されることにより、タッチパネルを具備した製品では、厚み、又はサイズの増加、屈折界面の影響による光学特性の低下が起こる。また、液晶表示装置の他に、タッチパネルが必要なことによる製造コスト高などの問題があり、液晶表示装置と、タッチパネルを一体形成することが検討されている。
近年、このような、液晶表示装置とタッチパネルが一体形成された、いわゆるセンサ機能を有する液晶表示装置が提案されている。センサ機能を有する液晶表示装置の一つとして、下記特許文献1には、液晶表示装置の液晶パネルに、手、又は物体が接触する場合に発生する外部圧力を、液晶パネルを構成する一対の基板間の電気的接触によって検出する方法が記載されている。
図10に、従来のセンサ機能を有する液晶表示装置の概略構成を示す。従来のセンサ機能を有する液晶表示装置100は、アレイ基板101と、アレイ基板101に対向して設けられる対向基板102と、アレイ基板101、及び対向基板102の間に介在される、液晶層103とを含んで構成される。
まず、アレイ基板101について説明する。
アレイ基板101は、透明な矩形平板状のガラス等からなる絶縁基板104と、その絶縁基板104上に画素に対応して形成される複数個のスイッチング素子である薄膜トランジスタ(Thin Transistor:以下TFT)107とを有して構成される。そして、TFT107上部には、TFT107を被覆して平坦化するための平坦化膜105を有し、平坦化膜105に形成されたコンタクト部118を通して、TFT107に接続される画素電極106が、その平坦化膜105上にパターン形成されている。さらに、その画素電極106上部には、配向膜108を有する。
次に、対向基板102について説明する。
対向基板102は、ガラス、又はポリカーボネート(PC)等のような透明な絶縁基板109と、絶縁基板109の一主面に形成されるカラーフィルタ層110と、カラーフィルタ層110上に形成される平坦化膜111とを有する。また、平坦化膜111上には、突起状のセンサ調整層115と、そのセンサ調整層115を含む全面に形成される共通電極112とを有する。さらに、その共通電極112上の所定の位置に、液晶層103の厚さを保持する為に形成されるスペーサ層114と、そのスペーサ層114を除く全面に形成される配向膜113とを有する。
カラーフィルタ層110は、赤(R)、緑(G)、青(B)の三原色を持つ染料や顔料の入った樹脂膜で構成される。
平坦化膜111は、カラーフィルタ層110面上を平坦化するものであり、光透過性の材料で構成される。
センサ調整層115は、平坦化膜111上の所定の位置に突起状に形成されるものであり、セル厚(液晶層103の厚さ)よりも小さい値を有するように形成される。このセンサ調整層115を含む全面に、共通電極112が形成される。従来例においては、このセンサ調整層115上面に形成される共通電極112により、センサ電極116が構成される。
また、スペーサ層114は、共通電極112上に等間隔で離間して形成されるものであり、柱状に、所定のセル厚の高さに形成される。このスペーサ層114により、アレイ基板101と対向基板102との間のセル厚が保持されることとなる。
対向基板102と、アレイ基板101とは、それぞれの配向膜108,113とが内側に面するように、所定のセル厚を保持して、対向して形成される。このセル厚は、スペーサ層114の高さにより面上で一定に保持されるものであり、このセル厚内に、所定の液晶材料が封入されることで液晶層103が形成される。
以上の構成を有する液晶表示装置100では、センサ電極116と、そのセンサ電極116に対向する位置の画素電極106とにより、タッチセンサが構成される。
図10に示す液晶表示装置100において、手や指等のタッチ対称117により、対向基板102を押して、圧力印加をする。そうすると、センサ電極116と、そのセンサ電極116に対向するアレイ基板101の画素電極106とが、配向膜108,113を介して接触する。このセンサ電極116と、画素電極106との接触を検出することにより、タッチ対称によるタッチされた位置を検出することができる。
このような従来のセンサ機能を有する液晶表示装置100では、センサ電極116と画素電極106とが電気的に接続することで、タッチ対称117によりタッチされた位置の検出がされる。このため、2つの電極間距離が近いほど、小さい外圧の印加で、タッチされた位置の検出が可能となる。このため、従来のセンサ機能を有する液晶表示装置100では、図10のように、平坦化膜111上に突起状に形成されたセンサ調整層115が構成され、センサ電極116の高さが調整された例が多くみられる。
しかしながら、このような突起状のセンサ調整層115と、センサ調整層115の下層の平坦化膜111との接着面積は、数ミクロンφオーダーの微小領域である場合が多いため、接着強度の確保が難しい。
また、柱上のスペーサ層114は、共通電極113上に形成される場合が多いが、一般的には、この共通電極113と、スペーサ層114との密着性は弱いものであり、容易に剥離する。
特開2007−95044号公報
このように、液晶表示装置100の表示画面上から、直接外圧を印加して、外圧が印加された位置を検出する構成では、液晶表示装置100が外圧を直接受けるので、外圧に強い構造である必要がある。しかしながら、上述したように、従来の液晶表示装置100においては、対向基板102上に形成されたスペーサ層114や、センサ調整層115等の構造物は剥離しやすいものである。特に、打鍵試験や、摺動試験等の物理強度が要求される試験を行った場合、タッチセンサとして働くセンサ電極116の下層に形成される突起状のセンサ調整層115が、対向基板102面から剥離することがある。そうすると、表示される画像に輝点や滅点が発生し、表示不良や、センサ感度不良が起こってしまう。また、スペーサ層114の剥離によるギャップむらや、構造物の剥離によるセル内の異物の発生も問題となる。
加えて、昨今は液晶表示装置の薄型化や、FF(Film-Film)タッチパネルの使用による軽量化により、液晶表示装置の表示画面への圧力や衝撃が以前よりかかる環境下での使用が増えて来ている。また、液晶表示装置を使用する電子機器の拡大もなされている現在、表示画面への圧力や衝撃に耐え得る液晶表示装置が求められている。
上述の点に鑑み、本発明は、外圧に強いセル構造を持つ液晶表示装置、およびその製造方法を提供するものである。
上記課題を解決し、本発明の目的を達成するため、本発明の液晶表示装置は、第1の基板と、第1の基板に対向して形成される第2の基板と、第1の基板と前記第2の基板との間に、所定の厚さで形成される液晶層とを含み構成される。また、第1の基板または第2の基板の少なくとも一方の液晶層側の面に形成される液晶層側の面を平坦化するための平坦化膜と、平坦化膜と一体形成される突起部とを含み構成される。
本発明の液晶表示装置では、突起部は、平坦化膜と一体形成されている。これにより、突起部と、第1の基板、又は第2の基板との接着面積が大きくなり、突起部の第1の基板、又は第2の基板からの剥離強度が大きくなる。
また、本発明の液晶表示装置の製造方法は、複数の薄膜トランジスタが構成された第1の基板を準備する工程、第1の基板との間に、所定の厚さの液晶層を介在させて、第1の基板に貼り合わせる為の第2の基板を準備する工程とを含む。また、第1の基板、第2の基板の少なくとも一方の液晶層に面する側に、平坦化膜を形成するとともに、平坦化膜と一体に突起状の突起部を形成する工程とを含む。
本発明の液晶表示装置の製造方法では、突起部は、平坦化膜と一体形成されている。これにより、突起部と、第1の基板、又は第2の基板との接着面積が大きくなり、突起部の第1の基板、又は第2の基板からの剥離強度が大きくなる。さらには、本発明では、突起部は平坦化膜と一体形成されるので、突起部の形成と、平坦化膜の形成を一度にでき、工程数を減少させることができる。
本発明によれば、外圧に強く、信頼性の高い液晶表示装置を得ることができる。
以下、図面を参照して本発明の実施の形態を説明する。
[第1の実施形態]
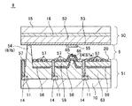
図1に、本発明の第1の実施形態における液晶表示装置の概略構成を示す。本実施形態例の液晶表示装置1は、表示画面へのタッチ位置を検出できるセンサ機能を有する液晶表示装置である。
本実施形態例の液晶表示装置1は、複数の薄膜トランジスタ(Thin Film Transistor:以下、TFT)11が形成される側の第1の基板であるアレイ基板7と、そのアレイ基板7に対向して設けられた第2の基板である対向基板8とを有する。そして、アレイ基板7と対向基板8と、その2つの基板の間に形成された所定の厚さの液晶層9から構成される。以下、アレイ基板7、対向基板8、液晶層9について、順に説明する。
アレイ基板7は、透明な矩形平板状のガラス等からなる絶縁基板10と、その絶縁基板10上の、液晶層9に面する側に形成される複数個のTFT11とを有して構成される。このTFT11は、画素に対応してアレイ状に複数個設けられるものであり、スイッチング素子として用いられるものである。そして、そのTFT11を被覆するように、絶縁基板10全面に、平坦化膜12が形成されており、この平坦化膜12には、TFT11の一部を露出させるコンタクト部14が形成されている。この平坦化膜12は、アレイ基板7の、液晶層9に面する側において、コンタクト部14以外の部分を平坦化するために構成されるものである。また、平坦化膜12の上部には、それぞれの画素に対応して画素電極13がパターン形成されている。それぞれの画素電極13は、平坦化膜12に形成されたコンタクト部14を通して、スイッチング素子であるTFT11に接続されている。この画素電極13は、透明電極とされ、例えば、ITO(Indium Tin Oxide)を用いて構成される。
さらに、画素電極13上部には、画素電極13を被覆する全面に、配向膜20が形成されている。
対向基板8は、ガラス、又はポリカーボネート(PC)等のような、透明な絶縁基板15と、絶縁基板15の液晶層9面側に形成されるカラーフィルタ層16と、カラーフィルタ層16上に形成される平坦化膜17とから構成される。そして、平坦化膜17と一体形成された突起部24a,24bとを有する。本実施形態例において、突起部24a,24bは、それぞれ、センサ調整層22、スペーサ層21を構成するものである。このスペーサ層21を除く全面には、共通電極18が形成され、共通電極18上には、配向膜19が形成される。
カラーフィルタ層16は、赤(R)、緑(G)、青(B)の三原色を持つ染料や顔料の入った樹脂膜で構成される。
平坦化膜17は、対向基板8の液晶層9に面する側を平坦化するために構成されるものであり、特に、平坦化膜17と一体形成される突起部24a,24bを除く面は平坦になされる。突起部24a,24bで構成されるスペーサ層21、センサ調整層22は、好ましくは、液晶表示装置1において、図示しない遮光膜等により遮光される位置に形成されるものである。
スペーサ層21は、液晶層9の厚さ、すなわち、セル厚を、面内で一定に保持するために構成されるものであり、セル厚が所定の厚さになるような高さに形成されている。
センサ調整層22は、スペーサ層21よりは低く形成されるものであり、センサ調整層22の上部に形成された画素電極18は、センサ電極25とされる。すなわち、センサ調整層22は、対向基板8側に形成されるセンサ電極25の高さ出しに用いられるものである。
以下に、図2A〜Dを用いて、上述の構成を有する対向基板7の製造方法を説明する。
まず、図2Aに示すように、絶縁基板15にカラーフィルタ層16を形成し、その上に、所定の厚さの感光性樹脂膜17aを形成する。この感光性樹脂膜17aの材料としては、ポジ型、又はネガ型の感光性樹脂材料を用いることができる。本実施形態例では、ポジ型の感光性樹脂材料を用いる例とする。そして、このように形成された感光性樹脂膜17aのうち、前述したスペーサ層21と、センサ調整層22となる部分をマスク80により遮光して、露光する。
次に、図2Bに示すように、感光性樹脂膜17aのうち、センサ調整層22となる部分のみをマスク81により遮光して、露光する。
その後、現像工程を経ることにより、図2Cに示すように、平坦化膜17と、平坦化膜17と一体形成されたセンサ調整層22、及びスペーサ層21となる突起部24a,24bが形成される。このように、感光性樹脂膜17aを2回露光することにより、高さの異なる突起部24a,24bを形成することができ、センサ調整層22、及びスペーサ層21をそれぞれ所望の高さとなるように形成することができる。
一般的に、センサ感度に影響する突起部24aは、スペーサ層21となる突起部24bよりも少し低く、また、その高さは、0.2μm〜0.5μm程度の制御性が求められるものである。本実施形態例によれば、露光量のみで、形成する突起部24a,24bの高さを制御することができ、精度良く、突起部24a,24bを形成することができる。
その後、図2Dに示すように、スペーサ層21となる部分を除いた全面に、共通電極18、及び配向膜19を形成する。共通電極18は、透明電極とされ、例えば、ITOを用いることができる。
以上の工程により、突起部24a,24bと平坦化膜17とが一体形成された対向基板8が完成される。本実施形態例の製造方法では、2回の露光工程を経て、高さの異なる突起部24a,24bを形成する例としたが、露光工程において、透過する露光量を制御するハーフトーンマスクを使用して、高さの異なる突起部24a,24bを形成することもできる。ハーフトーンマスクを用いる場合には、マスク数を削減することができ、また、製造時間の短縮を図ることができる。
本実施形態例の液晶表示装置1の製造方法では、平坦化膜17と突起部24a,24bを一体形成するため、従来のように、突起部24a,24bと、平坦化膜17とを別々の工程で形成する必要がなく、工程数が減る。
上述したアレイ基板7、及び対向基板8は、互いに配向膜20,19が内側となるように、前述したスペーサ層21の高さ分のセル厚を保持した状態で、図示しないシール剤により張り合わされている。
液晶層9は、互いの配向膜20,19を向き合わせて配置されたアレイ基板7と対向基板8との間に、液晶が封入されて形成される。アレイ基板7と対向基板8との間の距離、すなわち、セル厚は、前述したスペーサ層21の高さにより規定されており、そのセル厚が、液晶層9の厚さとなる。本実施形態例の液晶表示装置1では、アレイ基板7側の画素電極13をパターニングすることにより、ショートしないようにしているが、対向基板9側の共通電極18をパターニングする例としてもよい。
本実施形態例の液晶表示装置1では、対向基板8の液晶層9側とは反対側の面が、表示画面とされる。また、本実施形態例においては、センサ電極25と対向する位置の画素電極13が、本発明の対向電極を構成するものである。そして、本実施形態例の液晶表示装置1では、対向基板8に形成されたセンサ電極25と、そのセンサ電極25と対向する位置に形成されたアレイ基板7上の画素電極13(対向電極)とにより、タッチセンサが構成される。
タッチセンサとは、表示画面に印加された外圧を検出するためのものであり、例えば、手や指などのタッチ対称により、表示画面に圧力が印加された場合に、そのタッチされた位置を検出できるものである。
以上の構成を有する液晶表示装置1では、共通電極18と画素電極13との間に電圧を印加することで、液晶層9の液晶の配向状態が変化される。そして、例えば、アレイ基板7側から照射される図示しない光源からの光が、この液晶層9により変調されることにより、表示画面に、所望の画像が表示される。
また、本実施形態例の液晶表示装置1では、例えば、対向基板8側の外部から、手や指などのタッチ対称により圧力が印加された場合、対向基板8が、アレイ基板7側に湾曲する。そして、圧力が印加された位置のセンサ電極25と、このセンサ電極25に対向する位置にある画素電極13が電気的に接続される。この電気的に接続されたセンサ電極25と画素電極25との位置を検出することにより、タッチ対称によりタッチされた表示画面の位置を検出することができる。本実施形態例の液晶表示装置1では、画素電極13と、共通電極18に構成されたセンサ電極25との接触により、タッチされた表示画面の位置を検出する構成としているが、共通電極18とは別に、別途センサ電極を設ける構成としてもよい。また、センサ電極25と対向する画素電極13を本発明の対向電極としているが、別途対向電極を構成する例としてもよい。
[第1の実施形態の効果]
本実施形態例の液晶表示装置1によれば、対向基板8に形成されたセンサ調整層22、及びスペーサ層21となる突起部24a,24bは、平坦化膜17と一体に形成されている。このため、対向基板8と、スペーサ層21、及びセンサ調整層22との密着性が増し、液晶表示装置1への圧力印加に起因するスペーサ層21、及びセンサ調整層22の剥離が低減される。
図3に、従来の液晶表示装置と、本実施形態例の液晶表示装置1に対して行った打鍵試験の結果を示す。打鍵試験は、直径0.8mmのポリアセタール製スタイラスを用いて、2.5Nの力で、液晶表示装置の表面を打鍵することにより行った。図3は、打鍵回数によるスペーサ層の損傷本数を測定した結果である。
図3からわかるように、従来の液晶表示装置では、およそ1万回の打鍵により、スペーサ層の損傷が見られるが、本実施形態例の液晶表示装置1では、100万回の打鍵によってもスペーサ層の損傷は見られなかった。
従来の液晶表示装置では、スペーサ層や、センサ調整層は、微小な接着面積で下層の面に密着していたため、剥離界面の接着面積が小さく、剥離されやすかった。これに対し、本実施形態例の液晶表示装置1によれば、スペーサ層21や、センサ調整層22となる突起部24a,24bを、平坦化膜17と一体形成することで、突起部24a,24bと、突起部24a,24bの下層の面との接着面積は、基板全面となり、剥離界面も全面となるので、外圧に強い構造となる。
さらに、本実施形態例の製造方法では、対向基板8において、突起部24a,24bが、平坦化膜17の形成と同時に形成される。このため、従来の、平坦化膜と突起部とを別々に形成する方法に比べ工程数を減らすことができ、さらに、スループット、歩留まりの面でも優位になる。
本実施形態例の液晶表示装置1では、センサ電極25を形成して、センサ機能を有する液晶表示装置1とする例を用いたが、センサ機能を有さない液晶表示装置にも、本実施形態例を用いることができる。また、本実施形態例の液晶表示装置1では、対向基板8に、突起部24a,24bを構成する例としたが、液晶層9に面する側に、突起部が構成される構造であれば、適宜適用可能であり、アレイ基板7側に構成する例としてもよい。アレイ基板7側に突起部を形成する場合も、上述した対向基板8への突起部24a,24bの形成と同様に、感光性樹脂材料からなる平坦化膜17を露光、現像することにより、形成することができる。
このように、対向基板8、又はアレイ基板7に形成される突起部は、黒表示時に光が漏れる原因となり、透過コントラスト比への影響が懸念される。このため、突起部は、対向基板8、又は、アレイ基板7において、画素の非開口部(遮光部)に構成することにより、コントラストの低下を防ぐことができる。また、画素の非開口部として、アレイ基板7側であれば、信号線上、対向基板8側であれば、隣接する画素と画素との間に構成することができる。信号線上や、隣接する画素間は、一般的には、信号線を構成する金属配線が、0.3μm〜1μmであるため、表面が盛り上がる構造になるので、スペーサ層21や、センサ調整層22の高さに、表面の盛り上がり部分を用いることができ、プロセスの負担が軽減できる。すなわち、突起部24a,24bの高さ出し、アレイ基板7に形成された信号線の厚みを利用することができる。
また、スペーサ層21となる突起部24bを信号線上に形成し、補助スペーサ層22となる突起部24aを、信号線以外の所に形成することで、同じプロセス内で、高さの異なるスペーサ層21と補助スペーサ層22を形成することができる。さらには、平坦化膜12を構成する際に、別の絶縁層を平坦化膜17の間に挟んで形成したり、その絶縁層を形成する段階で所望の突起部24a,24bを構成したりすることにより、適宜、突起部24a,24bの高さを調整することが可能である。
[第2の実施形態]
図4に、本発明の第2の実施形態における液晶表示装置2の概略構成を示す。本実施形態例の液晶表示装置2は、タッチ位置を検出できるセンサ機能を有する液晶表示装置である。本実施形態例において、図1に対応する部分には、同一符号を付し、重複説明を省略する。
液晶表示装置2は、複数のTFT11が形成される側のアレイ基板7と、そのアレイ基板7に対向して設けられた、対向基板61とを有する。そして、アレイ基板7と対向基板61と、その2つの基板の間に形成された所定の厚さの液晶層9から構成される。
本実施形態例の液晶表示装置2における対向基板61は、平坦化膜17と一体形成されたスペーサ層21、センサ調整層22となる突起部24a,24bの他に、補助スペーサ層23となる突起部24cを有する。そして、スペーサ層21、補助スペーサ層23を除く全面に、共通電極18、及び配向膜19が順に形成される。
補助スペーサ層23は、スペーサ層21よりも少し低い高さで構成されるものであり、セル厚を規定するスペーサ層21の補助的役割を担うものである。アレイ基板7と対向基板61に対して印加される垂直な外圧による液晶表示装置1の不要な変形を防ぐ為に、スペーサ層23のみを増やす構成では、対向基板61で絶縁基板15に用いられるガラスの変形に対する戻りに、液晶層9を構成する液晶材料の戻りが追いつかなくなる。ガラスの変形がもとに戻る速度が大きく、液晶材料の戻る速度が遅いと、液晶層9に気泡が発生してしまうという問題がある。これに対して、スペーサ層21の高さよりも低い補助スペーサ層23を構成することにより、アレイ基板7と対向基板61間に、外力が印加されたときに、不要な変形を防ぐ強度を得ることができる。かつ、絶縁基板15を構成するガラスと液晶層9の戻り速度の違いによる気泡の発生を抑えることができる。
対向基板61に、補助スペーサ層23を構成する突起部23cは、第1の実施形態で説明した突起部24a,24bの形成工程において、露光工程をもう一回増やすことにより、形成することができる。第1の実施形態で示したように、ポジ型の感光性樹脂材料を塗布して感光性樹脂膜17aを形成し、露光、現像して突起部24a,24b,24cを形成する場合は、露光量でのみ、突起部24a,24b,24cの高さを制御することができるので、精度の高い制御が可能である。このように、ポジ型の感光性樹脂材料を用いて突起部24a,24b,24cを形成する場合は、制御性の悪い塗布膜厚に依存することなく、スペーサ層21、補助スペーサ層23、センサ調整層22を形成することができる。そして、このように、露光量でのみ、突起部24a,24b,24cの高さを制御する場合には、スペーサ層21と補助スペーサ層23となる突起部24b,24cの高さが近い場合にも、精度よく形成することができる。
本実施形態例の液晶表示装置2では、対向基板61の液晶層9側とは反対側の面が、表示画面とされる。また、本実施形態例においては、センサ電極25と対向する位置の画素電極13が、本発明の対向電極を構成するものである。そして、本実施形態例の液晶表示装置2では、対向基板61に形成されたセンサ電極25と、そのセンサ電極25と対向する位置に形成されたアレイ基板7上の画素電極13(対向電極)とにより、タッチセンサが構成される。
以上の構成を有する液晶表示装置2では、共通電極18と画素電極13との間に電圧を印加することで、液晶層9の液晶の配向状態が変化される。そして、例えば、アレイ基板7側から照射される図示しない光源からの光が、この液晶層9により変調されることにより、表示画面に、所望の画像が表示される。
また、本実施形態例の液晶表示装置2では、例えば、対向基板61側の外部から、手や指などのタッチ対称により圧力が印加された場合、対向基板61が、アレイ基板7側に湾曲する。そして、圧力が印加された位置のセンサ電極25と、このセンサ電極25に対向する位置にある画素電極13が電気的に接続される。この電気的に接続されたセンサ電極25と画素電極13との位置を検出することにより、タッチ対称によりタッチされた表示画面の位置を検出することができる。
[第2の実施形態の効果]
本実施形態例によれば、補助スペーサ層23も、第1の実施形態で示したスペーサ層21や、センサ調整部22と同様に、平坦化膜17と一体に形成することにより、外圧に強い構造とすることができる。
このように、スペーサ層21の他に、スペーサ層21よりも高さの低い補助スペーサ層23を形成する場合も、平坦化膜17と一体に形成することにより、スペーサ層21、補助スペーサ層23、センサ調整層22の剥離強度の向上が図られる等、第1の実施形態と同様の効果を得ることができる。
[第3の実施形態]
図5に、本発明の第3の実施形態における液晶表示装置3の概略構成を示す。本実施形態例の液晶表示装置3は、タッチ位置を検出できるセンサ機能を有する液晶表示装置である。本実施形態例において、図1に対応する部分には、同一符号を付し、重複説明を省略する。
液晶表示装置3は、複数のTFT11が形成される側のアレイ基板7と、そのアレイ基板7に対向して設けられた、対向基板26とを有する。そして、アレイ基板7と対向基板26と、その2つの基板の間に形成された所定の厚さの液晶層9から構成される。
本実施形態例の液晶表示装置3における対向基板26は、カラーフィルタ層16上面に、高さの異なる突起状の第1ギャップ調整層28、第2ギャップ調整層27、及びセンサ調整層31が形成されている。本実施形態例では、第1ギャップ調整層28の高さが一番高く形成され、第2ギャップ調整層27、センサ調整層31は、第1ギャップ調整層28よりも低く形成される。
そして、これらの第1ギャップ調整層28、第2ギャップ調整層27、センサ調整層31を被覆して、全面に平坦化膜29が塗布形成される。本実施形態例では、このように、所定の高さの第1ギャップ調整層28、第2ギャップ調整層27、センサ調整層31が平坦化膜29に被覆され、平坦化膜29と一体化されることにより、それぞれ所定の高さの突起部30a,30b,30cが構成される。すなわち、本実施形態例において、第1のギャップ調整層28、第2のギャップ調整層27、及びセンサ調整層31は、突起部30a,30b,30cの高さを調整するための調整層として用いられる。
第1ギャップ調整層28が平坦化膜29に被覆されることにより形成された突起部30bは、所定のセル厚を保持するためのスペーサ層33とされる。また、第2ギャップ調整層27が平坦化膜29に被覆されることにより形成された突起部30cは、スペーサ層33にかかる外圧を緩和する補助的役割を担う補助スペーサ層32とされる。
また、本実施形態例においても、第1及び、第2の実施形態と同様に、スペーサ層33、補助スペーサ層32を除いた全面に、共通電極18、及び配向膜19が順に形成されている。これにより、本実施形態例では、そのセンサ調整層31が平坦化膜29により被覆されて形成された突起部30a上に形成された共通電極18は、センサ電極34とされる。
本実施形態例では、平坦化膜29と一体に形成されたセンサ調整層31で構成された突起部30aが、本発明のセンサ調整層を構成するものである。
本実施形態例の液晶表示装置3では、対向基板26の液晶層9側とは反対側の面が、表示画面とされる。また、本実施形態例においては、センサ電極34と対向する位置の画素電極13が、本発明の対向電極を構成するものである。そして、本実施形態例の液晶表示装置3では、対向基板26に形成されたセンサ電極34と、そのセンサ電極34と対向する位置に形成されたアレイ基板7上の画素電極13(対向電極)とにより、タッチセンサが構成される。ここで、タッチセンサとは、表示画面に印加された外圧を検出するためのものであり、例えば、手や指などのタッチ対称により、表示画面に圧力が印加された場合に、そのタッチされた位置を検出できるものである。
以上の構成を有する液晶表示装置3では、共通電極18と画素電極13との間に電圧を印加することで、液晶層9の液晶の配向状態が変化される。そして、例えば、アレイ基板7側から照射される図示しない光源からの光が、この液晶層9により変調されることにより、表示画面に、所望の画像が表示される。
また、本実施形態例の液晶表示装置3では、例えば、対向基板26側の外部から、手や指などのタッチ対称により圧力が印加された場合、対向基板26が、アレイ基板7側に湾曲する。そして、圧力が印加された位置のセンサ電極34と、このセンサ電極34に対向する位置にある画素電極13が電気的に接続される。この電気的に接続されたセンサ電極34と画素電極13との位置を検出することにより、タッチ対称によりタッチされた表示画面の位置を検出することができる。
[第3の実施形態の効果]
本実施形態例の液晶表示装置3によれば、突起部30a,30b,30cが、センサ調整層31、第1ギャップ調整層28、第2ギャップ調整層27と、それらを被覆して形成される平坦化膜29により形成される。このように、突起部30a,30b,30cが、基板全面に形成される平坦化膜29により被覆され、平坦化膜29と一体に形成されるので、突起部30a,30b,30cと、突起部30a,30b,30cの下層の面との接着面積は、基板全面となる。このため、突起部30a,30b,30cの剥離界面が基板全面とされるので、突起部30a,30b,30cの剥離強度を向上させることができる等、第1の実施形態と同様の効果を奏する。
また、本実施形態例では、突起部30a,30b,30cは、平坦化膜29と一体化されるものの、一括には形成されない。このため、突起部30a,30b,30cのそれぞれの高さを調整するためのセンサ調整層31、第1ギャップ調整層28、第2ギャップ調整層27に、信号線等の金属材料や、着色レジスト等のネガレジスト、ノボラック系のポジレジスト、アクリル系のレジスト等、透明でない材料を用いることができる。また、平坦性の問題や、イオン等の脱ガスが発生することによる問題も、上部に別途平坦化膜29を形成するために、厳しく問われない。このため、第1ギャップ調整層28、第2ギャップ調整層27、センサ調整層31を構成する材料の選択の幅が広がる。
これらの第1ギャップ調整層28、第2ギャップ調整層27、センサ調整層31は、同じ材料を全面に塗布して、露光回数を変えることにより、形成可能であるが、それぞれ、別々の材料を用いて形成することも可能である。また、それらを異なる層に構成することもできる。第1ギャップ調整層28、第2ギャップ調整層27、センサ調整層31を同一材料で形成する場合には、工程数を減らすことができる。
[第4の実施形態]
図6に、本発明の第3の実施形態における液晶表示装置4の概略構成を示す。本実施形態例の液晶表示装置4は、タッチ位置を検出できるセンサ機能を有する液晶表示装置である。本実施形態例において、図1に対応する部分には、同一符号を付し、重複説明を省略する。
液晶表示装置4は、複数のTFT11が形成される側のアレイ基板35と、そのアレイ基板35に対向して設けられた、対向基板36とを有する。そして、アレイ基板35と対向基板36と、その2つの基板の間に形成された所定の厚さの液晶層9から構成される。
アレイ基板35は、透明な矩形平板状のガラス等からなる絶縁基板10と、その絶縁基板10上の、液晶層9に面する側に形成される複数個のTFT11とを有して構成される。さらに、絶縁基板10の液晶層9に面する側であって、後述するセンサ電極と対向する位置に、突起状の第1のセンサ調整層37が形成される。そして、そのTFT11、及び第1センサ調整層37を被覆するように、絶縁基板10全面に、平坦化膜62が形成されており、この平坦化膜62には、TFT11の一部を露出させるコンタクト部14が形成されている。この平坦化膜62は、アレイ基板35の、液晶層9に面する側において、コンタクト部14、及び第1のセンサ調整層37以外の部分を平坦化するために構成されるものである。第1のセンサ調整層37と、その上部に形成される平坦化膜62により、突起部41が構成される。
そして、平坦化膜62の上部には、それぞれの画素に対応して画素電極13がパターン形成される。それぞれの画素電極13は、平坦化膜63に形成されたコンタクト部14を通して、スイッチング素子であるTFT11に接続される。画素電極13は、透明電極とされ、例えば、ITO(Indium Tin Oxide)を用いて構成される。本実施形態例では、この突起部41上部に形成された画素電極13は、第1のセンサ電極43aとされる。
また、画素電極13上部の所定の位置には、スペーサ層44が形成される。このスペーサ層44は、液晶層9の厚さ、すなわち、セル厚を、面内で一定に保持するために構成されるものであり、セル厚が所定の厚さになるような高さに形成されている。
さらに、画素電極13上部には、画素電極13を被覆する全面に、配向膜20が形成される。
対向基板36は、ガラス、又はポリカーボネート(PC)等のような、透明な絶縁基板15と、絶縁基板15の液晶層9面側に形成されるカラーフィルタ層16と、カラーフィルタ層16上の所定の位置に形成される第2のセンサ調整層38と、平坦化膜39とから構成される。
第2のセンサ調整層38は、突起状に形成される。
平坦化膜39は、第2のセンサ調整層38を被覆して全面に形成され、この平坦化膜39により、画素の開口部が平坦化される。そして、第2のセンサ調整層38と、その上部に形成された平坦化膜39により、突起部42が構成される。
そして、平坦化膜39上全面に、共通電極18が形成され、共通電極18上には、配向膜19が形成される。本実施形態例では、この突起部42上部に形成された共通電極18は、第2のセンサ電極43bとされる。
本実施形態例では、平坦化膜62,39と一体に形成された第1及び第2のセンサ調整層37,38で構成された突起部42及び42が、本発明のセンサ調整層を構成するものである。
本実施形態例においても、アレイ基板35と、対向基板36とを、スペーサ層44により所定のセル厚を保持して、配向膜19,20を内側にして貼り合わせ、アレイ基板35と対向基板36間に液晶を封入することで液晶層9が形成される。
第1及び第2のセンサ調整層37,38は、それぞれ突起部41,42の高さを調整するための調整層として構成されるものであり、すなわち、第1のセンサ電極43aと、第2のセンサ電極43bとの間の距離を調整するために設けられる層である。第1のセンサ電極43aと、第2のセンサ電極43bとは、液晶表示装置4に外圧が印加されない状態において、接続されない状態である必要がある。このため、第1及び第2のセンサ調整層37,38の高さは、スペーサ層44で保持されたセル厚においては、第1のセンサ電極43aと、それに対向する第2のセンサ電極43bとが接触しないような高さとされる。本実施形態例では、第2のセンサ電極43bが、本発明の対向電極を構成するものである。
本実施形態例の液晶表示装置4では、対向基板35の液晶層9側とは反対側の面が、表示画面とされる。また、本実施形態例においては、一方のセンサ電極と対向する位置の他方のセンサ電極が、本発明の対向電極を構成するものである。また、本実施形態例の液晶表示装置4では、アレイ基板35に形成された第1のセンサ電極43aと、その第1のセンサ電極43aと対向する位置に形成された対向基板36上の第2のセンサ電極43b(対向電極)とにより、タッチセンサが構成される。ここで、タッチセンサとは、表示画面に印加された外圧を検出するためのものであり、例えば、手や指などのタッチ対称により、表示画面に圧力が印加された場合に、そのタッチされた位置を検出できるものである。
以上の構成を有する液晶表示装置4では、共通電極18と画素電極13との間に電圧を印加することで、液晶層9の液晶の配向状態が変化される。そして、例えば、アレイ基板35側から照射される図示しない光源からの光が、この液晶層9により変調されることにより、表示画面に、所望の画像が表示される。
また、本実施形態例の液晶表示装置4では、例えば、対向基板36側の外部から、手や指などのタッチ対称により圧力が印加された場合、対向基板36が、アレイ基板35側に湾曲する。そして、圧力が印加された位置の第1のセンサ電極43aと、第1のセンサ電極43aに対向する位置にある第2のセンサ電極43bが電気的に接続される。この電気的に接続された第1のセンサ電極43aと第2のセンサ電極43bとの位置を検出することにより、タッチ対称によりタッチされた表示画面の位置を検出することができる。
[第4の実施形態の効果]
本実施形態例の液晶表示装置4では、対向基板36と、アレイ基板35との両方に、突起部41,42を構成することにより、平坦化膜62,39の材料の特性により、突起部41,42の高さを十分に出せない場合においても、精度良くセンサ機能を発揮できる液晶表示装置4とすることができる。
そして、本実施形態例では、第3の実施形態例と同様に、突起部41,42が、第1センサ調整層37、第2センサ調整層38と、それらを被覆して形成される平坦化膜62,39により形成される。このように、突起部41,42が、基板全面に形成される平坦化膜62,39により、それぞれ被覆され、平坦化膜62,39と一体に形成されるので、突起部41,42と、突起部41,42の下層の面との接着面積は、基板全面となる。このため、突起部41,42の剥離界面が基板全面とされるので、突起部41,42の剥離強度を向上させることができる等の効果を奏する。
本実施形態例では、突起状の第1のセンサ調整層37、第2のセンサ調整層38を形成し、その後平坦化膜62,39をそれぞれ形成し、突起部41,42を形成する例とした。これに限らず、第1の実施形態と同様に、感光性樹脂膜を露光、現像することにより、第1のセンサ調整層37、第2のセンサ調整層38と、平坦化膜62,39とを一体に、一括形成された突起部41,42を設ける構成としてもよい。このように、第1のセンサ調整層37、第2のセンサ調整層38を、それぞれ平坦化膜62,39と一括に形成する方法は、厚膜によりステッパタクトが掛かりすぎる場合に有効である。さらに、平坦化膜62,39となる塗布材料が、第1、及び第2センサ調整層37,38の形状にうまく濡れない場合にも有効に用いられる。また、リフロー等で突起部41,42の形状がうまく形成できない場合にも有効である。
[第5の実施形態]
図7に、本発明の第3の実施形態における液晶表示装置5の概略構成を示す。本実施形態例の液晶表示装置5は、タッチ位置を検出できるセンサ機能を有する液晶表示装置である。本実施形態例において、図1に対応する部分には、同一符号を付し、重複説明を省略する。
液晶表示装置5は、複数のTFT11が形成される側のアレイ基板45と、そのアレイ基板45に対向して設けられた、対向基板46とを有する。そして、アレイ基板45と対向基板46と、その2つの基板の間に形成された所定の厚さの液晶層9から構成される。
アレイ基板45は、透明な矩形平板状のガラス等からなる絶縁基板10と、その絶縁基板10上の、液晶層9に面する側に形成される複数個のTFT11とを有して構成される。このTFT11は、画素に対応してアレイ状に複数個設けられるものである。
そして、そのTFT11を被覆するように、絶縁基板10全面に、平坦化膜72が形成されている。この平坦化膜72には、TFT11の一部を露出させるコンタクト部14が形成されていると共に、対向基板46に形成される後述のセンサ電極に対応する位置に、所定の深さの溝部48が形成されている。この平坦化膜72は、アレイ基板45の、液晶層9に面する側において、コンタクト部14、及び溝部48以外の部分、すなわち、画素の開口部となる部分を、平坦化するために構成されるものである。
さらに、平坦化膜72の上部には、それぞれの画素に対応して画素電極58がパターン形成されている。このとき、平坦化膜72に形成された溝部48内にも、画素電極58が形成される。それぞれの画素電極58は、平坦化膜72に形成されたコンタクト部14を通して、スイッチング素子であるTFT11に接続される。この画素電極58は、透明電極とされ、例えば、ITO(Indium Tin Oxide)を用いて構成される。
そして、画素電極58上部には、画素電極58を被覆して、全面に配向膜49が形成される。そして、溝部48は、画素電極58、配向膜49が形成された場合にも、完全には、埋め込まれない深さである。
対向基板46は、ガラス、又はポリカーボネート(PC)等のような、透明な絶縁基板15と、絶縁基板15の液晶層9面側に形成されるカラーフィルタ層16と、カラーフィルタ層16上に形成される平坦化膜47とから構成される。そして、平坦化膜47と一体形成された突起部50a,50bとを有する。本実施形態例において、突起部50a,50bは、それぞれ、センサ調整層51、スペーサ層52を構成するものである。このスペーサ層52を除く全面には、共通電極59が形成され、共通電極59上には、配向膜60が形成される。
スペーサ層52は、液晶層9の厚さ、すなわち、セル厚を、面内で一定に保持するために構成されるものであり、セル厚が所定の厚さになるような高さに形成されている。
そして、本実施形態例において、センサ調整層51も、スペーサ層52と同一の高さに形成され、また、センサ調整層51上部に形成される共通電極59は、センサ電極53とされる。また、センサ調整層51上部に形成される共通電極59で構成されるセンサ電極53に対向する位置のアレイ基板45は、平坦化膜72に溝部48が形成されており、その溝部48に入り込んで画素電極58が形成されている。このため、外力が印加されない状態においては、センサ電極53と、画素電極58との接続はなされないものである。また、本実施形態例においては、センサ電極53と対向する位置の画素電極58が、本発明の対向電極を構成するものである。本実施形態例においては、センサ電極53と、センサ電極53に対向するアレイ基板45の溝部48に形成された画素電極58(対向電極)とでタッチセンサが構成される。
以上の構成を有する液晶表示装置5では、共通電極59と画素電極58との間に電圧を印加することで、液晶層9の液晶の配向状態が変化し、所望の画像が表示される。また、本実施形態例の液晶表示装置5では、例えば、対向基板46側の外部から、手や指などのタッチ対称により圧力が印加された場合、対向基板46が、アレイ基板45側に湾曲し、圧力が印加された位置のセンサ電極53が、アレイ基板45に形成された溝部48に入り込み、溝部48に構成された画素電極58と電気的に接続される。この電気的に接続されたセンサ電極53と画素電極58との位置を検出することにより、タッチ対称によりタッチされたタッチ位置を検出することができる。
[第5の実施形態の効果]
本実施形態例の液晶表示装置5では、対向基板46に形成されたセンサ調整層51、及びスペーサ層52となる突起部50a,50bは、平坦化膜47と一体に形成されている。このため、対向基板46と、スペーサ層52、及びセンサ調整層51との密着性が増し、液晶表示装置5への圧力印加等によるスペーサ層52、及びセンサ調整層51の剥離が低減される。
また、本実施形態例の液晶表示装置5によれば、セル厚を規定するスペーサ層52と同一の高さに、センサ調整層51を形成するので、2回露光等の工程が必要ない。このため、工程数を増やすことがなく、センサ調整層51を形成することができる。
[第6の実施形態]
図8に、本発明の第6の実施形態における液晶表示装置6の概略構成を示す。本実施形態例の液晶表示装置6は、タッチ位置を検出できるセンサ機能を有する液晶表示装置である。本実施形態例において、図1に対応する部分には、同一符号を付し、重複説明を省略する。
液晶表示装置6は、複数のTFT11が形成される側のアレイ基板51と、そのアレイ基板51に対向して設けられた対向基板50とを有する。そして、アレイ基板51と対向基板50と、その2つの基板の間に形成された所定の厚さの液晶層9から構成される。
アレイ基板51は、透明な矩形平板状のガラス等からなる絶縁基板10と、その絶縁基板10上の、液晶層9に面する側に形成される複数個のTFT11とを有して構成される。このTFT11は、画素に対応してアレイ状に複数個設けられるものである。そして、そのTFT11を被覆するように、絶縁基板10全面に、平坦化膜63が形成されており、また、この平坦化膜63と一体形成された、突起部67a,67bが形成されている。突起部67aは、センサ調整層64となるものであり、また、突起部67bは、スペーサ層54とされるものである。スペーサ層54を除く平坦化膜63上には、共通電極56が構成されている。そして、この共通電極56上部のスペーサ層54を除く全面には、層間絶縁膜59が形成されており、この層間絶縁膜59上に、それぞれの画素に対応した画素電極57が形成されている。この画素電極57は、層間絶縁膜59、及び平坦化膜63を貫通して形成されたコンタクト部14を通して、TFT11に接続される。また、このとき、コンタクト部14において、画素電極57と、共通電極56とが短絡することがないように、共通電極56は、コンタクト部14を除く平坦化膜63上、及び、センサ調整層64上に形成される。そして、画素電極57を被覆するように、配向膜20が形成される。また、本実施形態例の平坦化膜63と一体に形成された突起部67aと、その上部に形成された層間絶縁膜59とにより、複数層からなる突起部66が構成される。
ところで、スペーサ層54は、液晶層9の厚さ、すなわち、セル厚を、面内で一定に保持するために構成されるものであり、セル厚が所定の厚さになるような高さに形成されるものである。したがって、平坦化膜63と一体に形成されたスペーサ層54は、平坦化膜63上部に、共通電極56、層間絶縁膜59、画素電極57、配向膜20が形成された時点で、液晶層9のセル厚となる高さを十分に有するような高さの突起状に形成されている。また、センサ調整層64は、スペーサ層54よりは、低く形成されるものであり、センサ調整層64及び、層間絶縁膜を含む突起部66上部に形成された画素電極57は、センサ電極65とされる。すなわち、センサ調整層64は、センサ電極65の高さ出しに用いられるものである。本実施形態例では、突起部66が、本発明のセンサ調整層を構成するものである。
対向基板50は、ガラス、又はポリカーボネート(PC)等のような、透明な絶縁基板15と、絶縁基板15の液晶層9面側に形成されるカラーフィルタ層16と、カラーフィルタ層16上に形成される平坦化膜52とから構成される。そして、平坦化膜52全面に、配向膜53が形成され、アレイ基板51のセンサ電極65に対向する部分の配向膜53上には、対向電極55が形成される。
本実施形態例においても、アレイ基板51と、対向基板50とを、スペーサ層54により所定のセル厚を保持して、配向膜20,53を内側にして貼り合わせ、アレイ基板51と対向基板50間に液晶を封入することで液晶層9が形成される。また、本実施形態例の液晶表示装置6は、FFS(Fringe Field Switching)モードの液晶表示装置である。
本実施形態例の液晶表示装置6では、対向基板50の液晶層9側とは反対側の面が、表示画面とされる。また、本実施形態例の液晶表示装置6では、アレイ基板51に形成されたセンサ電極65と、そのセンサ電極65と対向する位置に形成された対向基板50上の対向電極55とにより、タッチセンサが構成される。ここで、タッチセンサとは、表示画面に印加された外圧を検出するためのものであり、例えば、手や指などのタッチ対称により、表示画面に圧力が印加された場合に、そのタッチされた位置を検出できるものである。
以上の構成を有する液晶表示装置6では、共通電極56と画素電極57との間に電圧を印加することで、液晶層9の液晶の配向状態が変化される。そして、例えば、アレイ基板51側から照射される図示しない光源からの光が、この液晶層9により変調されることにより、表示画面に、所望の画像が表示される。
また、本実施形態例の液晶表示装置6では、例えば、対向基板50側の外部から、手や指などのタッチ対称により圧力が印加された場合、対向基板50が、アレイ基板51側に湾曲する。そして、圧力が印加された位置のセンサ電極65と、このセンサ電極65に対向する位置にある対向電極55が電気的に接続される。この電気的に接続されたセンサ電極65と対向電極55との位置を検出することにより、タッチ対称によりタッチされた表示画面の位置を検出することができる。
[第6の実施形態の効果]
本実施形態例の液晶表示装置6では、アレイ基板51に形成されたセンサ調整層64、及びスペーサ層54となる突起部67a,67bは、平坦化膜63と一体に形成されている。このため、アレイ基板51と、スペーサ層54、及びセンサ調整層64との密着性が増し、アレイ基板51への圧力印加等によるスペーサ層54、及びセンサ調整層64の剥離が低減される。
また、本実施形態例の液晶表示装置6によれば、平坦化膜63と一体形成されるセンサ調整層64上層に、共通電極56、画素電極57、層間絶縁膜59等、複数の層を積層させても、外圧に耐え得る強度が得られる。また、レイヤーの種類によって、外圧による破壊も考慮する必要がある場合は、パターニングにより、センサ調整層64上への積層を回避してもよい。
上述した第1〜第6の実施形態においては、突起部を、スペーサ層や、センサ調整層に用いる例を示した。このように、センサ電極が構成され、タッチセンサを有する液晶表示装置では、表示画面に外圧を印加することで、操作が可能とされるが、このように、外圧による負担が掛かる場合においても、上述した実施形態例を有効に用いることができる。
本発明は、以上のように、タッチセンサを有する液晶表示装置に限られるものではない。例えば、液晶の配向モードを制御する配向制御部として、平坦化膜と一体形成された突起部を有する液晶表示装置に、本発明を適用することができる。
[第7の実施形態例]
図9に、本発明の第7の実施形態における液晶表示装置67の概略構成を示す。本実施形態例の液晶標示装置67は、液晶の配向モードを制御する配向制御部が構成された例である。本実施形態例でいう配向制御部とは、垂直配向モード等で、VAP(Vertical Alignment Protrusion)と呼ばれるものである。図9において、図1に対応する部分には、同一符号を付し、重複説明を省略する。
液晶表示装置67は、複数のTFT11が形成される側のアレイ基板7と、そのアレイ基板7に対向して設けられた対向基板68とを有する。そして、アレイ基板7と対向基板68と、その2つの基板の間に形成された所定の厚さの液晶層9から構成される。
本実施形態例の液晶表示装置67における対向基板68は、平坦化膜71と一体形成された配向制御部69となる突起部70を有する。そして、配向制御部69となる突起部70を含む平坦化膜71全面に、共通電極18、及び配光膜19が順に形成される。
配向制御部69は、無電界時に液晶を傾かせ、また電圧印加時には電気力線の歪みにより斜め電界を作り出し、配向制御部69を中心にして液晶があらゆる方向に配向するように配向を制御するものである。すなわち、配向因子となるものである。
本実施形態例の液晶表示装置67では、対向基板68の液晶層9側とは反対側の面が、表示画面とされる。
以上の構成を有する液晶表示装置67では、共通電極18と画素電極13との間に電圧を印加することで、液晶層9の液晶の配向状態が変化される。そして、例えば、アレイ基板7側から照射される図示しない光源からの光が、この液晶層9により変調されることにより、表示画面に、所望の画像が表示される。そして、共通電極18と画素電極13間に電圧を印加した場合には、配向制御部を核として、液晶が配向する。これにより、液晶の配向が放射状になされる。これにより、液晶表示装置67において、方位角方向から表示画面を見たときに、見た目の輝度変化が小さくなり、広視野角性能が得られる。
[第7の実施形態の効果]
本実施形態例の液晶表示装置67によれば、対向基板68に形成された配向制御部69となる突起部70は、平坦化膜71と一体に形成されている。このため、対向基板68と、配向制御部69との密着性が増し、対向基板68への圧力印加に起因する配向制御部69の剥離が低減される。
上述した第1〜第7の実施形態における液晶表示装置では、外圧による突起部の剥離を抑制でき、外圧に対する信頼性の向上が図られる。それは、タッチセンサが内蔵された液晶表示装置のみならず、外圧を感知するセンサが付された液晶表示装置や、薄型の液晶表示装置、ウィンドレス等で使用される液晶表示装置等、外圧により変化を受ける可能性のある環境下で使用する全ての液晶表示装置への適用に有効である。これらの液晶表示装置は、例えば、携帯電話や、デジタルカメラ等、モバイル用途の電子機器に適用可能である。また、本発明は、液晶表示装置の外側に取り付けられる形の抵抗膜式のタッチパネルにも同様の構造を用いることができ、その場合においても、スペーサ層の剥離防止に有効である。
本発明の第1の実施形態に係る液晶表示装置の概略断面構成図である。 A〜D 本発明の第1の実施形態に係る液晶表示装置の製造工程図である。 本発明における液晶表示装置と、従来の液晶表示装置における打鍵試験の結果を示す図である。 本発明の第2の実施形態に係る液晶表示装置の概略断面構成図である。 本発明の第3の実施形態に係る液晶表示装置の概略断面構成図である。 本発明の第4の実施形態に係る液晶表示装置の概略断面構成図である。 本発明の第5の実施形態に係る液晶表示装置の概略断面構成図である。 本発明の第6の実施形態に係る液晶表示装置の概略断面構成図である。 本発明の第7の実施形態に係る液晶表示装置の概略断面構成図である。 従来の液晶表示装置の概略断面構成図である。
符号の説明
1,2,3,4,5,6,67,100・・液晶表示装置、7・・アレイ基板、8・・対向基板、9・・液晶層、10,15・・絶縁基板、11・・TFT、12,17・・平坦化膜、13・・画素電極、14・・コンタクト部、16・・カラーフィルタ層、18・・共通電極、19,20・・配向膜、24a,24b・・突起部、22・・センサ調整層、21・・スペーサ層、25・・センサ電極

Claims (11)

  1. 第1の基板と、
    前記第1の基板に対向して形成される第2の基板と、
    前記第1の基板と前記第2の基板との間に、所定の厚さで形成される液晶層と、
    前記第1の基板または前記第2の基板の少なくとも一方の前記液晶層側の面に形成される前記液晶層側の面を平坦化するための平坦化膜と、
    前記平坦化膜と一体形成される突起部と、
    を含む液晶表示装置。
  2. 前記突起部は、前記液晶層の厚さを保持するためのスペーサ層である
    請求項1記載の液晶表示装置。
  3. 前記突起部は、前記液晶層の厚さを保持するためのスペーサ層と、前記スペーサ層よりも低く形成された補助スペーサ層である
    請求項1記載の液晶表示装置。
  4. 前記突起部は、前記液晶層の厚さよりも低く形成され、
    前記突起部上に形成されるセンサ電極と、
    前記センサ電極に対して、前記液晶層を介して対向する前記第1の基板、又は第2の基板上に形成され、前記第1の基板、又は第2の基板の湾曲により、前記センサ電極と接続可能に形成される対向電極とを有する
    請求項1記載の液晶表示装置。
  5. 前記突起部は、前記液晶層を構成する液晶の配向を制御する配向制御部である
    請求項1記載の液晶表示装置。
  6. 前記突起部は、前記平坦化膜の下に形成された調整層により高さが調整される
    請求項1〜5記載の液晶表示装置。
  7. 前記突起部は、複数の異なる層が積層されて構成される
    請求項1〜5記載の液晶表示装置。
  8. 前記突起部は、非開口部に形成される
    請求項1〜6記載の液晶表示装置。
  9. 複数の薄膜トランジスタが構成された第1の基板を準備する工程、
    前記第1の基板との間に、所定の厚さの液晶層を介在させて、前記第1の基板に貼り合わせる為の第2の基板を準備する工程、
    前記第1の基板、前記第2の基板の少なくとも一方の前記液晶層に面する側に、平坦化膜を形成するとともに、前記平坦化膜と一体に突起状の突起部を形成する工程、とを含む
    液晶表示装置の製造方法。
  10. 前記平坦化膜、及び突起部は、感光性樹脂材料より形成した感光性樹脂膜を露光、現像することにより形成する
    請求項9記載の液晶表示装置の製造方法。
  11. 前記突起部を形成する工程の前に、突起部の高さを調整する調整層を形成する工程を有する
    請求項9記載の液晶表示装置の製造方法。
JP2008203433A 2008-08-06 2008-08-06 液晶表示装置、及びその製造方法 Active JP4683090B2 (ja)

Priority Applications (3)

Application Number Priority Date Filing Date Title
JP2008203433A JP4683090B2 (ja) 2008-08-06 2008-08-06 液晶表示装置、及びその製造方法
US12/510,402 US8355108B2 (en) 2008-08-06 2009-07-28 Liquid-crystal display device and method of manufacturing same
CN2009101611406A CN101644847B (zh) 2008-08-06 2009-08-06 液晶显示装置及其制造方法

Applications Claiming Priority (1)

Application Number Priority Date Filing Date Title
JP2008203433A JP4683090B2 (ja) 2008-08-06 2008-08-06 液晶表示装置、及びその製造方法

Publications (2)

Publication Number Publication Date
JP2010039302A true JP2010039302A (ja) 2010-02-18
JP4683090B2 JP4683090B2 (ja) 2011-05-11

Family

ID=41652592

Family Applications (1)

Application Number Title Priority Date Filing Date
JP2008203433A Active JP4683090B2 (ja) 2008-08-06 2008-08-06 液晶表示装置、及びその製造方法

Country Status (3)

Country Link
US (1) US8355108B2 (ja)
JP (1) JP4683090B2 (ja)
CN (1) CN101644847B (ja)

Cited By (6)

* Cited by examiner, † Cited by third party
Publication number Priority date Publication date Assignee Title
WO2011148690A1 (ja) * 2010-05-24 2011-12-01 シャープ株式会社 液晶表示パネル
KR20110139981A (ko) * 2010-06-24 2011-12-30 삼성모바일디스플레이주식회사 액정 표시 장치
WO2012046589A1 (ja) * 2010-10-05 2012-04-12 シャープ株式会社 液晶表示パネル用基板の製造方法、及び、フォトマスク
JP5226879B2 (ja) * 2009-12-17 2013-07-03 シャープ株式会社 液晶表示パネル及び液晶表示パネルの製造方法
KR101820661B1 (ko) 2011-07-19 2018-01-23 엘지디스플레이 주식회사 액정표시장치
JP2018124313A (ja) * 2017-01-30 2018-08-09 パナソニック液晶ディスプレイ株式会社 液晶表示装置及び液晶表示装置の製造方法

Families Citing this family (18)

* Cited by examiner, † Cited by third party
Publication number Priority date Publication date Assignee Title
TWI372267B (en) * 2008-04-28 2012-09-11 Au Optronics Corp Touch panel, color filter substrate and fabricating method thereof
JP5571298B2 (ja) * 2008-08-07 2014-08-13 株式会社ジャパンディスプレイ 液晶表示装置
KR101621027B1 (ko) * 2009-12-30 2016-05-16 삼성디스플레이 주식회사 표시 장치 및 이의 제조 방법
CN102269897A (zh) * 2010-06-02 2011-12-07 京东方科技集团股份有限公司 彩膜基板及其制造方法、液晶面板以及液晶显示器
CN102654688A (zh) * 2011-11-08 2012-09-05 京东方科技集团股份有限公司 一种彩膜基板及其制造方法、液晶显示装置
US9307204B1 (en) * 2012-11-13 2016-04-05 Amazon Technologies, Inc. Enhancement of media sink compatibility
TWI498797B (zh) * 2012-12-13 2015-09-01 Au Optronics Corp 觸控面板及觸控顯示面板
JP2014174319A (ja) * 2013-03-08 2014-09-22 Sony Corp 表示装置および表示装置の製造方法ならびに電子機器
CN103257772B (zh) * 2013-04-27 2016-03-02 北京京东方光电科技有限公司 一种可实现3d显示的触摸屏、显示装置及其制作方法
TWI539217B (zh) * 2014-07-03 2016-06-21 友達光電股份有限公司 顯示面板
CN104330926A (zh) * 2014-12-02 2015-02-04 合肥京东方光电科技有限公司 显示基板及其制作方法、显示面板
CN104503622B (zh) * 2015-01-04 2017-03-29 京东方科技集团股份有限公司 触控显示面板及其制备方法、驱动方法和触控显示装置
CN104898884B (zh) * 2015-06-16 2018-03-13 合肥鑫晟光电科技有限公司 一种单片玻璃式触控面板及其制作方法
CN104898329A (zh) * 2015-06-24 2015-09-09 深圳市华星光电技术有限公司 用于制造液晶面板的方法
CN106054468A (zh) * 2016-07-29 2016-10-26 厦门天马微电子有限公司 显示面板及包含其的显示装置
CN106154651A (zh) * 2016-09-14 2016-11-23 厦门天马微电子有限公司 一种触控显示面板
CN111610655B (zh) * 2020-06-04 2022-09-13 厦门天马微电子有限公司 一种显示面板及其制备方法、电子设备
CN117539086B (zh) * 2023-11-08 2024-07-02 浙江大学 光调控变色结构、装置、系统及方法

Citations (15)

* Cited by examiner, † Cited by third party
Publication number Priority date Publication date Assignee Title
JPH08114809A (ja) * 1994-10-14 1996-05-07 Sony Corp 液晶パネル及びその製造方法
JPH11264968A (ja) * 1998-03-17 1999-09-28 Hitachi Ltd 液晶表示装置
JP2000206541A (ja) * 1999-01-13 2000-07-28 Sony Corp 液晶パネル、液晶パネルの製造方法および液晶表示装置
JP2000314886A (ja) * 1999-04-28 2000-11-14 Matsushita Electric Ind Co Ltd 液晶パネル及びその製造方法
JP2001075074A (ja) * 1999-08-18 2001-03-23 Internatl Business Mach Corp <Ibm> タッチセンサ一体型液晶表示素子
JP2001296530A (ja) * 2000-04-12 2001-10-26 Seiko Epson Corp 電気光学装置およびその製造方法
JP2001305557A (ja) * 2000-04-21 2001-10-31 Nec Corp 液晶表示装置
JP2003186023A (ja) * 2001-12-19 2003-07-03 Hitachi Ltd 液晶表示装置
JP2004271590A (ja) * 2003-03-05 2004-09-30 Casio Comput Co Ltd 液晶表示素子
JP2006154815A (ja) * 2004-11-22 2006-06-15 Samsung Electronics Co Ltd 感知素子を内蔵した表示装置
JP2007128091A (ja) * 2005-11-03 2007-05-24 Samsung Electronics Co Ltd 表示基板及びその製造方法並びにそれを具備した表示パネル
JP2007316363A (ja) * 2006-05-26 2007-12-06 Toppan Printing Co Ltd カラーフィルタの製造方法、カラーフィルタ、及び液晶表示装置
JP2008102303A (ja) * 2006-10-19 2008-05-01 Sekisui Chem Co Ltd 表示装置の製造方法及び表示装置
JP2008116938A (ja) * 2006-10-31 2008-05-22 Samsung Electronics Co Ltd 表示装置及びその製造方法
JP2008165181A (ja) * 2006-12-27 2008-07-17 Samsung Electronics Co Ltd ディスプレイ装置

Family Cites Families (12)

* Cited by examiner, † Cited by third party
Publication number Priority date Publication date Assignee Title
DE69840797D1 (de) * 1997-06-12 2009-06-10 Sharp Kk Anzeigevorrichtung mit vertikal ausgerichtetem Flüssigkristall
JP3285011B2 (ja) * 1999-07-14 2002-05-27 日本電気株式会社 液晶表示装置
JP2001084100A (ja) * 1999-08-27 2001-03-30 Internatl Business Mach Corp <Ibm> タッチセンサ式液晶表示装置および液晶表示装置
US7081888B2 (en) * 2003-04-24 2006-07-25 Eastman Kodak Company Flexible resistive touch screen
KR101057859B1 (ko) * 2003-11-08 2011-08-19 엘지디스플레이 주식회사 액정표시패널 및 그 제조방법
KR101226440B1 (ko) 2005-09-26 2013-01-28 삼성디스플레이 주식회사 표시패널, 이를 구비한 표시장치 및 표시장치의 터치 위치검출방법
JP2008058844A (ja) * 2006-09-04 2008-03-13 Hitachi Displays Ltd 液晶表示装置
US7990481B2 (en) * 2006-10-30 2011-08-02 Samsung Electronics Co., Ltd. Display device having particular touch sensor protrusion facing sensing electrode
KR101383708B1 (ko) * 2007-03-27 2014-04-10 삼성디스플레이 주식회사 디스플레이장치 및 그 제조방법
TWI362544B (en) * 2007-11-07 2012-04-21 Au Optronics Corp Liquid crystal display panel and manufacturing method thereof
US8184256B2 (en) * 2007-12-28 2012-05-22 Samsung Electronics Co., Ltd. Display panel and method for manufacturing the same
KR20090100639A (ko) * 2008-03-20 2009-09-24 삼성전자주식회사 표시 패널 및 이의 제조 방법

Patent Citations (15)

* Cited by examiner, † Cited by third party
Publication number Priority date Publication date Assignee Title
JPH08114809A (ja) * 1994-10-14 1996-05-07 Sony Corp 液晶パネル及びその製造方法
JPH11264968A (ja) * 1998-03-17 1999-09-28 Hitachi Ltd 液晶表示装置
JP2000206541A (ja) * 1999-01-13 2000-07-28 Sony Corp 液晶パネル、液晶パネルの製造方法および液晶表示装置
JP2000314886A (ja) * 1999-04-28 2000-11-14 Matsushita Electric Ind Co Ltd 液晶パネル及びその製造方法
JP2001075074A (ja) * 1999-08-18 2001-03-23 Internatl Business Mach Corp <Ibm> タッチセンサ一体型液晶表示素子
JP2001296530A (ja) * 2000-04-12 2001-10-26 Seiko Epson Corp 電気光学装置およびその製造方法
JP2001305557A (ja) * 2000-04-21 2001-10-31 Nec Corp 液晶表示装置
JP2003186023A (ja) * 2001-12-19 2003-07-03 Hitachi Ltd 液晶表示装置
JP2004271590A (ja) * 2003-03-05 2004-09-30 Casio Comput Co Ltd 液晶表示素子
JP2006154815A (ja) * 2004-11-22 2006-06-15 Samsung Electronics Co Ltd 感知素子を内蔵した表示装置
JP2007128091A (ja) * 2005-11-03 2007-05-24 Samsung Electronics Co Ltd 表示基板及びその製造方法並びにそれを具備した表示パネル
JP2007316363A (ja) * 2006-05-26 2007-12-06 Toppan Printing Co Ltd カラーフィルタの製造方法、カラーフィルタ、及び液晶表示装置
JP2008102303A (ja) * 2006-10-19 2008-05-01 Sekisui Chem Co Ltd 表示装置の製造方法及び表示装置
JP2008116938A (ja) * 2006-10-31 2008-05-22 Samsung Electronics Co Ltd 表示装置及びその製造方法
JP2008165181A (ja) * 2006-12-27 2008-07-17 Samsung Electronics Co Ltd ディスプレイ装置

Cited By (10)

* Cited by examiner, † Cited by third party
Publication number Priority date Publication date Assignee Title
JP5226879B2 (ja) * 2009-12-17 2013-07-03 シャープ株式会社 液晶表示パネル及び液晶表示パネルの製造方法
WO2011148690A1 (ja) * 2010-05-24 2011-12-01 シャープ株式会社 液晶表示パネル
KR20110139981A (ko) * 2010-06-24 2011-12-30 삼성모바일디스플레이주식회사 액정 표시 장치
KR101677747B1 (ko) * 2010-06-24 2016-11-21 삼성디스플레이 주식회사 액정 표시 장치
US9869904B2 (en) 2010-06-24 2018-01-16 Samsung Display Co., Ltd. Liquid crystal display apparatus
WO2012046589A1 (ja) * 2010-10-05 2012-04-12 シャープ株式会社 液晶表示パネル用基板の製造方法、及び、フォトマスク
JP5400229B2 (ja) * 2010-10-05 2014-01-29 シャープ株式会社 液晶表示パネル用基板の製造方法
KR101820661B1 (ko) 2011-07-19 2018-01-23 엘지디스플레이 주식회사 액정표시장치
JP2018124313A (ja) * 2017-01-30 2018-08-09 パナソニック液晶ディスプレイ株式会社 液晶表示装置及び液晶表示装置の製造方法
US10962841B2 (en) 2017-01-30 2021-03-30 Panasonic Liquid Crystal Display Co., Ltd. Liquid crystal display device and the method of manufacturing the same

Also Published As

Publication number Publication date
CN101644847A (zh) 2010-02-10
CN101644847B (zh) 2011-11-16
US8355108B2 (en) 2013-01-15
JP4683090B2 (ja) 2011-05-11
US20100033668A1 (en) 2010-02-11

Similar Documents

Publication Publication Date Title
JP4683090B2 (ja) 液晶表示装置、及びその製造方法
TWI440943B (zh) 液晶顯示器裝置及其製造方法
US7633595B2 (en) Liquid crystal display panel having dummy color filter and fabricating method thereof
TWI416214B (zh) 液晶顯示器裝置及製造其之方法
WO2019184769A1 (zh) 液晶显示面板、其制作方法及显示装置
US9405143B2 (en) Liquid crystal panel, liquid crystal display and method for manufacturing the same
TWI453499B (zh) 顯示裝置、觸控感測器及顯示裝置之製造方法
JP5202987B2 (ja) 液晶装置、液晶装置の製造方法及び電子機器
WO2010026682A1 (ja) 液晶表示装置
JP4235576B2 (ja) カラーフィルタ基板及びそれを用いた表示装置
CN104115059B (zh) 具有倒置液晶显示器的电子设备
JP2010182120A (ja) 情報入力装置、及び情報入出力装置
CN105629655B (zh) 掩膜板
JP6232769B2 (ja) 表示装置用基板の製造方法及び表示装置用基板、表示装置
JP5311299B2 (ja) 液晶表示装置
JP2009139853A (ja) 液晶表示装置
CN101261392B (zh) 触控显示面板、彩色滤光基板及其制作方法
KR20150058629A (ko) 터치 스크린이 내장된 액정표시장치
JP2008152159A (ja) 表示装置およびその製造方法
JP2011039406A (ja) 液晶表示装置およびタッチセンサ内蔵表示装置、並びに電子機器
JP2005309147A (ja) アクティブマトリクス基板及びそれを備えた表示装置
JP2008233459A (ja) 液晶装置および液晶装置の製造方法
JP2008304507A (ja) フォトマスク、カラーフィルタの製造方法、カラーフィルタ、及び液晶表示装置
JP2014002195A (ja) タッチパネル機能付きカラーフィルタ基板とそれを備えた表示装置
CN115016164B (zh) 显示面板及其制备方法、显示装置

Legal Events

Date Code Title Description
A977 Report on retrieval

Free format text: JAPANESE INTERMEDIATE CODE: A971007

Effective date: 20100413

A131 Notification of reasons for refusal

Free format text: JAPANESE INTERMEDIATE CODE: A131

Effective date: 20100511

A521 Request for written amendment filed

Free format text: JAPANESE INTERMEDIATE CODE: A523

Effective date: 20100702

A131 Notification of reasons for refusal

Free format text: JAPANESE INTERMEDIATE CODE: A131

Effective date: 20101005

A521 Request for written amendment filed

Free format text: JAPANESE INTERMEDIATE CODE: A523

Effective date: 20101116

TRDD Decision of grant or rejection written
A01 Written decision to grant a patent or to grant a registration (utility model)

Free format text: JAPANESE INTERMEDIATE CODE: A01

Effective date: 20110111

A01 Written decision to grant a patent or to grant a registration (utility model)

Free format text: JAPANESE INTERMEDIATE CODE: A01

A61 First payment of annual fees (during grant procedure)

Free format text: JAPANESE INTERMEDIATE CODE: A61

Effective date: 20110124

FPAY Renewal fee payment (event date is renewal date of database)

Free format text: PAYMENT UNTIL: 20140218

Year of fee payment: 3

R151 Written notification of patent or utility model registration

Ref document number: 4683090

Country of ref document: JP

Free format text: JAPANESE INTERMEDIATE CODE: R151

FPAY Renewal fee payment (event date is renewal date of database)

Free format text: PAYMENT UNTIL: 20140218

Year of fee payment: 3

FPAY Renewal fee payment (event date is renewal date of database)

Free format text: PAYMENT UNTIL: 20140218

Year of fee payment: 3

S111 Request for change of ownership or part of ownership

Free format text: JAPANESE INTERMEDIATE CODE: R313113

FPAY Renewal fee payment (event date is renewal date of database)

Free format text: PAYMENT UNTIL: 20140218

Year of fee payment: 3

R350 Written notification of registration of transfer

Free format text: JAPANESE INTERMEDIATE CODE: R350

R250 Receipt of annual fees

Free format text: JAPANESE INTERMEDIATE CODE: R250

R250 Receipt of annual fees

Free format text: JAPANESE INTERMEDIATE CODE: R250

R250 Receipt of annual fees

Free format text: JAPANESE INTERMEDIATE CODE: R250

R250 Receipt of annual fees

Free format text: JAPANESE INTERMEDIATE CODE: R250

R250 Receipt of annual fees

Free format text: JAPANESE INTERMEDIATE CODE: R250

R250 Receipt of annual fees

Free format text: JAPANESE INTERMEDIATE CODE: R250

R250 Receipt of annual fees

Free format text: JAPANESE INTERMEDIATE CODE: R250

R250 Receipt of annual fees

Free format text: JAPANESE INTERMEDIATE CODE: R250

S111 Request for change of ownership or part of ownership

Free format text: JAPANESE INTERMEDIATE CODE: R313111

R350 Written notification of registration of transfer

Free format text: JAPANESE INTERMEDIATE CODE: R350

R250 Receipt of annual fees

Free format text: JAPANESE INTERMEDIATE CODE: R250

R250 Receipt of annual fees

Free format text: JAPANESE INTERMEDIATE CODE: R250

R250 Receipt of annual fees

Free format text: JAPANESE INTERMEDIATE CODE: R250

R250 Receipt of annual fees

Free format text: JAPANESE INTERMEDIATE CODE: R250

S111 Request for change of ownership or part of ownership

Free format text: JAPANESE INTERMEDIATE CODE: R313113

R350 Written notification of registration of transfer

Free format text: JAPANESE INTERMEDIATE CODE: R350