JP2010033631A - 不揮発性半導体記憶装置 - Google Patents

不揮発性半導体記憶装置 Download PDF

Info

Publication number
JP2010033631A
JP2010033631A JP2008192470A JP2008192470A JP2010033631A JP 2010033631 A JP2010033631 A JP 2010033631A JP 2008192470 A JP2008192470 A JP 2008192470A JP 2008192470 A JP2008192470 A JP 2008192470A JP 2010033631 A JP2010033631 A JP 2010033631A
Authority
JP
Japan
Prior art keywords
power
voltage
chip
reset
memory chip
Prior art date
Legal status (The legal status is an assumption and is not a legal conclusion. Google has not performed a legal analysis and makes no representation as to the accuracy of the status listed.)
Granted
Application number
JP2008192470A
Other languages
English (en)
Other versions
JP5086929B2 (ja
Inventor
Yoshihisa Sugiura
浦 義 久 杉
Current Assignee (The listed assignees may be inaccurate. Google has not performed a legal analysis and makes no representation or warranty as to the accuracy of the list.)
Toshiba Corp
Original Assignee
Toshiba Corp
Priority date (The priority date is an assumption and is not a legal conclusion. Google has not performed a legal analysis and makes no representation as to the accuracy of the date listed.)
Filing date
Publication date
Application filed by Toshiba Corp filed Critical Toshiba Corp
Priority to JP2008192470A priority Critical patent/JP5086929B2/ja
Priority to US12/407,938 priority patent/US7848170B2/en
Priority to KR1020090067628A priority patent/KR101022127B1/ko
Publication of JP2010033631A publication Critical patent/JP2010033631A/ja
Application granted granted Critical
Publication of JP5086929B2 publication Critical patent/JP5086929B2/ja
Active legal-status Critical Current
Anticipated expiration legal-status Critical

Links

Images

Classifications

    • GPHYSICS
    • G11INFORMATION STORAGE
    • G11CSTATIC STORES
    • G11C16/00Erasable programmable read-only memories
    • G11C16/02Erasable programmable read-only memories electrically programmable
    • G11C16/06Auxiliary circuits, e.g. for writing into memory
    • G11C16/30Power supply circuits
    • GPHYSICS
    • G11INFORMATION STORAGE
    • G11CSTATIC STORES
    • G11C16/00Erasable programmable read-only memories
    • G11C16/02Erasable programmable read-only memories electrically programmable
    • G11C16/06Auxiliary circuits, e.g. for writing into memory
    • G11C16/10Programming or data input circuits
    • G11C16/20Initialising; Data preset; Chip identification
    • GPHYSICS
    • G11INFORMATION STORAGE
    • G11CSTATIC STORES
    • G11C5/00Details of stores covered by group G11C11/00
    • G11C5/02Disposition of storage elements, e.g. in the form of a matrix array
    • GPHYSICS
    • G11INFORMATION STORAGE
    • G11CSTATIC STORES
    • G11C5/00Details of stores covered by group G11C11/00
    • G11C5/06Arrangements for interconnecting storage elements electrically, e.g. by wiring
    • G11C5/063Voltage and signal distribution in integrated semi-conductor memory access lines, e.g. word-line, bit-line, cross-over resistance, propagation delay
    • GPHYSICS
    • G11INFORMATION STORAGE
    • G11CSTATIC STORES
    • G11C5/00Details of stores covered by group G11C11/00
    • G11C5/14Power supply arrangements, e.g. power down, chip selection or deselection, layout of wirings or power grids, or multiple supply levels
    • G11C5/143Detection of memory cassette insertion or removal; Continuity checks of supply or ground lines; Detection of supply variations, interruptions or levels ; Switching between alternative supplies
    • GPHYSICS
    • G11INFORMATION STORAGE
    • G11CSTATIC STORES
    • G11C7/00Arrangements for writing information into, or reading information out from, a digital store
    • G11C7/20Memory cell initialisation circuits, e.g. when powering up or down, memory clear, latent image memory
    • HELECTRICITY
    • H03ELECTRONIC CIRCUITRY
    • H03KPULSE TECHNIQUE
    • H03K17/00Electronic switching or gating, i.e. not by contact-making and –breaking
    • H03K17/22Modifications for ensuring a predetermined initial state when the supply voltage has been applied
    • H03K17/223Modifications for ensuring a predetermined initial state when the supply voltage has been applied in field-effect transistor switches

Landscapes

  • Engineering & Computer Science (AREA)
  • Power Engineering (AREA)
  • Read Only Memory (AREA)
  • Static Random-Access Memory (AREA)

Abstract

【課題】電源ノイズが入力されても所定の動作をすることが可能な不揮発性半導体記憶装置を提供する。
【解決手段】チップアドレス指定されることにより動作する複数のメモリチップを備えた不揮発性半導体記憶装置であって、リセット時においてチップアドレス指定されて動作するように設定されている第1のメモリチップと、リセット時においてチップアドレス指定されず動作しないように設定されている第2のメモリチップと、を備える。第1のメモリチップおよび第2のメモリチップは、電源投入後、電源電圧を検知し、電源電圧が所定値以上になった場合に、その動作を初期化するためのリセット信号を出力するパワーオンリセット回路を、それぞれ有する。
【選択図】図1

Description

本発明は、1つのパッケージ内に複数のメモリチップを搭載する不揮発性半導体記憶装置に関する。
半導体メモリ製品のパッケージのフットプリントを変えずに大容量製品を得るための方法として、マルチチップパッケージ技術がある。このマルチチップパッケージ技術は、パッケージ内に複数のメモリチップを積み重ねるものである。
ここで、このマルチチップパッケージ技術を用いた従来の不揮発性半導体記憶装置には、例えば、ROMリード動作を伴うメモリチップを複数個使用し、パワーオン時に複数個のメモリチップのROMリード動作の起動タイミングを異ならせるものがある。
これにより、複数個のメモリチップを使用した場合に、パワーオン直後のROMリード動作時における消費電流を低減する(例えば、特許文献1参照。)。
特開2004−152405
本発明は、電源ノイズが入力されても所定の動作をすることが可能な不揮発性半導体記憶装置を提供する。
本発明の一態様に係る実施例に従った不揮発性半導体記憶装置は、チップアドレス指定されることにより動作する複数のメモリチップを備えた不揮発性半導体記憶装置であって、リセット時においてチップアドレス指定されて動作するように設定されている第1のメモリチップと、リセット時においてチップアドレス指定されず動作しないように設定されている第2のメモリチップと、を備え、前記第1のメモリチップおよび前記第2のメモリチップは、電源投入後、電源電圧を検知し、前記電源電圧が所定値以上になった場合に、その動作を初期化するためのリセット信号を出力するパワーオンリセット回路を、それぞれ有し、前記パワーオンリセット回路は、電源に一端が接続された第1の分圧抵抗と、前記第1の分圧抵抗の他端と接地との間に接続された第2の分圧抵抗と、前記電源にソースが接続され、前記第1の分圧抵抗と前記第2の分圧抵抗との間の第1の接点の電圧に応じた電圧がゲートに印加されるPMOSトランジスタと、前記PMOSトランジスタのドレインと前記接地との間に接続された出力抵抗と、前記電源と前記第1の接点との間に接続されたスイッチ素子と、前記電源と前記第1の接点との間で、前記スイッチ素子と直列に接続された分圧比調整抵抗と、前記スイッチ素子のオン/オフを切り換えるための切換信号を出力する切換回路と、前記PMOSトランジスタと前記出力抵抗との間の第2の接点に接続され、前記リセット信号を出力するための出力端子と、を含み、前記第1のメモリチップの前記パワーオンリセット回路において、前記切換回路は、前記パワーオンリセット回路の前記スイッチ素子を、オンし、前記第2のメモリチップの前記パワーオンリセット回路において、前記切換回路は、前記パワーオンリセット回路の前記スイッチ素子を、オフすることを特徴とする。
本発明の他の態様に係る実施例に従った不揮発性半導体記憶装置は、チップアドレス指定されることにより動作する複数のメモリチップを備えた不揮発性半導体記憶装置であって、リセット時においてチップアドレス指定されて動作するように設定されている第1のメモリチップと、リセット時においてチップアドレス指定されず動作しないように設定されている第2のメモリチップと、を備え、前記第1のメモリチップおよび前記第2のメモリチップは、電源投入後、電源電圧を検知し、前記電源電圧が所定値以上になった場合に、その動作を初期化するためのリセット信号を出力するパワーオンリセット回路を、それぞれ有し、前記パワーオンリセット回路は、電源に一端が接続された第1の分圧抵抗と、前記第1の分圧抵抗の他端と接地との間に接続された第2の分圧抵抗と、前記電源にソースが接続され、前記第1の分圧抵抗と前記第2の分圧抵抗との間の第1の接点の電圧に応じた電圧がゲートに印加されるPMOSトランジスタと、前記PMOSトランジスタのドレインと接地との間に接続された出力抵抗と、前記接地と前記第1の接点との間に接続されたスイッチ素子と、前記接地と前記第1の接点との間で、前記スイッチ素子と直列に接続された分圧比調整抵抗と、前記スイッチ素子のオン/オフを切り換えるための切換信号を出力する切換回路と、前記PMOSトランジスタと前記出力抵抗との間の第2の接点に接続され、前記リセット信号を出力するための出力端子と、を含み、前記第1のメモリチップの前記パワーオンリセット回路において、前記切換回路は、前記スイッチ素子を、オフし、前記第2のメモリチップの前記パワーオンリセット回路において、前記切換回路は、前記スイッチ素子を、オンすることを特徴とする。
本発明のさらに他の態様に係る実施例に従った不揮発性半導体記憶装置は、チップアドレス指定されることにより動作する複数のメモリチップを備えた不揮発性半導体記憶装置であって、リセット時においてチップアドレス指定されて動作するように設定されている第1のメモリチップと、リセット時においてチップアドレス指定されず動作しないように設定されている第2のメモリチップと、を備え、前記第1のメモリチップおよび前記第2のメモリチップは、電源投入後、電源電圧を検知し、前記電源電圧が所定値以上になった場合に、その動作を初期化するためのリセット信号を出力するパワーオンリセット回路を、それぞれ有し、前記パワーオンリセット回路は、電源に一端が接続された第1の分圧抵抗と、前記第1の分圧抵抗の他端と接地との間に接続された第2の分圧抵抗と、前記電源にソースが接続され、前記第1の分圧抵抗と前記第2の分圧抵抗との間の第1の接点の電圧に応じた電圧がゲートに印加されるPMOSトランジスタと、前記PMOSトランジスタのドレインと接地との間に接続された出力抵抗と、前記接地と前記第1の接点との間に接続されたスイッチ素子と、前記接地と前記第1の接点との間で、前記スイッチ素子と直列に接続された分圧比調整抵抗と、前記スイッチ素子のオン/オフを切り換えるための切換信号を出力する切換回路と、前記PMOSトランジスタと前記出力抵抗との間の第2の接点に接続され、前記リセット信号を出力するための出力端子と、を含み、前記第1のメモリチップの前記パワーオンリセット回路において、前記切換回路は、前記パワーオンリセット回路の前記スイッチ素子を、オフし、前記第2のメモリチップの前記パワーオンリセット回路において、前記切換回路は、前記スイッチ素子を、前記電源電圧が設定電圧未満であるときには、オフし、前記電源電圧が前記設定電圧以上であるときには、オンすることを特徴とする。
本発明の不揮発性半導体記憶装置によれば、電源ノイズが入力されても所定の動作をすることができる。
(比較例)
図1は、比較例である4個のメモリチップ100a1〜100a4を積層したマルチチップパッケージ製品(不揮発性半導体記憶装置1000a)の模式的な断面の一例を示す断面図である。
図1に示すように、不揮発性半導体記憶装置1000aは、基板1003a上に積層された4個のメモリチップ100a1〜100a4、コントローラ1001aを備える。
これらのメモリチップ100a1〜100a4は、例えば、NAND型フラッシュメモリチップである。
コントローラ1001aは、主としてメモリチップ100a1〜100a4に対するデータ入出力制御、データ管理を行う。コントローラ1001aは、ECC訂正回路(図示せず)を有しており、データを書き込む際には誤り訂正符合(ECC)付加し、読み出す際にも誤り訂正符号の解析・処理を行う。
メモリチップ100a1〜100a4、およびコントローラ1001aは、ワイヤ1002aにより基板1003aにボンディングされている。
基板1003aの裏面に設けられた各半田ボール1004aは、それぞれワイヤ1002aに電気的に接続されている。パッケージ形状としては、例えば、各半田ボール1004aが二次元的に配置された表面実装型のBGA(Ball Grid Array)が採用される。
また、図2は、図1に示す不揮発性半導体記憶装置1000aの4個のメモリチップの回路図である。
図2に示すように、4個のメモリチップ100a1〜100a4のコントロール線、I/O線および電源線は、パッケージの基板1003a上で共通配線となっている。これらのメモリチップの選択は、アドレス入力によって行われる。
ウェハ製造時には、4個のメモリチップ100a1〜100a4は、同一の製品である。しかし、パッケージにアセンブリされた後で、メモリチップ内部のアドレスセット回路(図示せず)にメモリチップ100a1〜100a4のアドレスをセットし、外部から入力したアドレスの上位2ビットにより各メモリチップの選択/非選択を制御する。
チップアドレスのビットを3ビット、4ビットと増やすことにより、搭載するチップの数は、8チップ、16チップとさらに多数を制御することもできる。
一般に、半導体メモリ製品には、電源投入時に電源の立ち上がりを検知して、メモリチップの内部状態をある決められた初期状態にリセットするリセット信号を出力するパワーオンリセット回路が備えられている。
マルチチップパッケージ品では、それぞれのメモリチップの内部に備えられているパワーオンリセット回路が、リセット信号を出力して、電源の立ち上がりを検知してそれぞれのメモリチップを初期状態にリセットする。リセット後には、例えば、メモリチップ100a1が選択状態になり、メモリチップ100a2〜100a4は非選択状態になる。
ここで、図3は、比較例のパワーオンリセット回路の構成の一例を示す回路図である。
図3に示すように、パワーオンリセット回路2aのPMOSトランジスタP1は、電源電圧Vccがソースに印加され、電源電圧Vccを抵抗R1と抵抗R2で分割した接点W1における電圧がゲートに印加されている。
また、電源電圧VccをPMOSトランジスタP1と抵抗R3で分割した接点W2における電圧が、インバータI1、I2、I5を介して、パワーオンリセット回路2aのリセット信号PWONとして出力される。
ここで、図4は、電源投入時における、図3に示すパワーオンリセット回路2aの各接点の電圧、および出力信号(リセット信号)の電圧を示す図である。
図4に示すように、電源電圧Vccが0Vから立ち上がる時、第1の接点W1の電圧は、抵抗分割されている分だけ電源電圧Vccよりも遅れて立ち上がる。電源電圧Vccが低いときには、ソースとゲートの電位差が小さいため、PMOSトランジスタP1はオフしている(遮断状態)。これにより、リセット信号PWONは、電源電圧Vccとともに上昇する。
電源電圧Vccがある電圧(パワーオン検知電圧)まで上昇したときに、電源電圧Vccと第1の接点W1の電圧の差は、トランジスタP1のしきい値電圧Vth(P1)に達する(時間t1)。この電源電圧Vccがこの電圧以上では、PMOSトランジスタP1はオンする(導通状態)。これにより、リセット信号PWONは、“Low”レベルになる。
したがって、パワーオンリセット回路2aは、電源電圧Vccが立ち上がるにしたがって、出力信号であるリセット信号PWON(パルス信号)を発生することになる。このリセット信号PWONは、メモリチップ内部のすべての回路のリセットに使われる。リセット信号PWONが“High”レベルである時にメモリチップ内部の状態は初期状態にリセットされる。
このように、パワーオンリセット回路2aのパワーオン検知電圧は、PMOSトランジスタP1のしきい値電圧によって決まっている。このため、メモリチップ間で数十mV程度のばらつきが生じ得る。
パワーオン検知電圧は、製品の動作保証範囲よりも十分低い電圧に設定されているので、通常は動作には影響しない。しかし、ノイズによって電源電圧Vccがパワーオン検知電圧よりも低くなったときに、リセット信号PWONが出力され、メモリチップ内部は初期状態にリセットされる。この場合、電源電圧Vccが、もとの動作保証範囲に戻ったときに、再び動作が正常に開始できれば問題はない。しかし、条件によっては、メモリチップの動作に異常が発生し得る。
図5は、図3に示すパワーオンリセット回路2aのパワーオン検知電圧と電源電圧Vccとの関係を示す図である。また、図6は、図2に示す各メモリチップ100a1〜100a4の選択状態の遷移の一例を示す図である。なお、図6においては、電源ノイズが入る前に、メモリチップ100a3を選択していた場合を示している。
ここで、例えば、PMOSトランジスタP1のしきい値電圧のばらつきにより、メモリチップ100a1のパワーオン検知電圧Va1がその他のメモリチップ100a2〜100a4のパワーオン検知電圧Va2〜Va4と比べ低く設定されている時に、図5に示すような電源ノイズが入った場合を考える。
電源ノイズによって、電源電圧Vccがパワーオン検知電圧Va3よりも低くなり、メモリチップ100a3のパワーオンリセット回路2aは、リセット信号PWONを出力する。このため、図6に示すように、メモリチップ100a3は、初期状態であるチップ非選択状態になる。
一方、既述のように、メモリチップ100a1のパワーオンリセット回路2aのパワーオン検知電圧Va1は、電源ノイズよりも低くなっている。このため、メモリチップ100a1のパワーオンリセット回路2aはリセット信号PWONを出力されることはない。すなわち、図6に示すように、メモリチップ100a1は、電源ノイズが消えた後も非選択状態のままとなる。
その結果、電源ノイズ後にスタンドバイ状態に戻っても、すべてのメモリチップ100a1〜100a4が非選択となってしまう。
上記状態で、IDコード読み出しのようなチップアドレスを必要としない動作をメモリチップ100a1〜100a4に対して要求すると、すべてのメモリチップ100a1〜100a4は信号を出力できないという問題が生じ得る。
そこで、本発明に係る実施形態では、パワーオンリセット回路のトランジスタのしきい値電圧のばらつきの影響を低減し、瞬間的な電源低下ノイズが入ったときにも所望の動作をする不揮発性半導体記憶装置を提供する。
以下、本発明に係る各実施例について図面に基づいて説明する。
図7は、本発明の一態様である実施例1に係る不揮発性半導体記憶装置1000の要部の模式的な断面の一例を示す断面図である。
図7に示すように、不揮発性半導体記憶装置1000は、基板1003上に積層された4個のメモリチップ100−1〜100−4、コントローラ1001を備える。
これらのメモリチップ100−1〜100−4は、例えば、NAND型フラッシュメモリチップである。
コントローラ1001は、主としてメモリチップ100−1〜100−4に対するデータ入出力制御、データ管理を行う。コントローラ1001は、ECC訂正回路(図示せず)を有しており、データを書き込む際には誤り訂正符合(ECC)付加し、読み出す際にも誤り訂正符号の解析・処理を行う。
メモリチップ100−1〜100−4、およびコントローラ1001は、ワイヤ1002により基板1003にボンディングされている。
基板1003の裏面に設けられた各半田ボール1004は、それぞれワイヤ1002に電気的に接続されている。パッケージ形状としては、例えば、各半田ボール1004が二次元的に配置された表面実装型のBGA(Ball Grid Array)が採用される。
図8は、図7に示す不揮発性半導体記憶装置1000のメモリチップ100−1〜1004内部の構成の一例を示す図である。
図8に示すように、各メモリチップ100−1〜100−4は、メモリセルアレイ11と、アドレスバッファ12と、カラムデコーダ13と、ロウデコーダ14と、センスアンプ15と、入出力バッファ17と、パワーオンリセット回路18と、制御回路19と、電圧生成回路20と、チップアドレスデコード回路21と、チップアドレスセット回路22と、を備える。
メモリセルアレイ11は、データを格納する通常のメモリセル領域11aと、リダンダンシ情報、トリミング情報などを格納するROM領域11bとを有する。
アドレスバッファ12に入力されたアドレスのうち、カラムアドレスがカラムデコーダ13に入力されてデコードされ、ロウアドレスがロウデコーダ14に入力されてデコードされる。そして、指定されたアドレスに基づいて、メモリセル領域11aにおけるメモリセルへのデータの書込、または、該メモリセルからのデータ読み出しが行われる。
データが読み出される時は、センスアンプ15、カラムデコーダ13、および入出力バッファ17を介して、読み出しデータが出力される。
一方、データが書き込まれる時は、読み出しとは逆の経路で、書き込みデータがメモリセルアレイ11に供給される。
電圧生成回路20は、外部から供給された電源電圧Vccを用いて、参照用の基準電圧や、プログラム電圧等の内部電圧を生成する。
チップアドレスセット回路22は、アドレスバッファ12を介して入力された2ビットのロウアドレスADD_0、ADD_1、を、ボンディングによって決定された2ビットのチップアドレスCHIPADD_0、CHIPADD_1(チップ選択情報)と比較する。そして、チップアドレスセット回路22は、その比較結果を、制御回路19に出力する。これにより、この比較結果に基づいて、制御回路19は、メモリチップを動作させる。すなわち、該比較結果が一致したメモリチップがチップアドレス指定され、このメモリチップのみが動作するようになっている。
ここで、チップアドレスセット回路22は、電源投入時等のリセット時において、ロウアドレスの入力が無い場合においても、メモリチップ100−1〜100−4の何れかをチップアドレス指定するように設定されている。これにより、例えば、メモリチップ100−1は、リセット時においてチップアドレス指定されて動作するように(すなわち、リセット時に選択状態に)、設定されている。一方、メモリチップ100−2〜100−4は、リセット時においてチップアドレス指定されず動作しないように(すなわち、リセット時に非選択状態に)、設定されている。
チップアドレスデコード回路21は、各メモリチップに固有の2ビットのチップアドレスCHIPADD_0、CHIPADD_1を演算し、その演算結果である信号CADD1をパワーオンリセット回路18に出力するようになっている。
パワーオンリセット回路18は、電源電圧Vccに応じて、リセット信号PWONを、制御回路19に出力するようになっている。例えば、パワーオンリセット回路18は、電源が投入されてから電源電圧Vccがパワーオン検知電圧以上になると、リセット信号PWON(パルス波)が出力されるように、設定されている。
このパワーオンリセット回路18は、上述の信号CADD1により、該パワーオン検知電圧が制御されるようになっている。
また、制御回路19は、リセット信号PWONに基づいて、アドレスバッファ12、カラムデコーダ13、ロウデコーダ14、センスアンプ15、および電圧生成回路20それぞれを初期化するための制御信号を出力するようになっている。
また、既述のように、制御回路19は、チップアドレスセット回路22の比較結果に基づいて、メモリチップを動作させる。すなわち、該比較結果が一致したメモリチップがチップアドレス指定され、このメモリチップのみが動作するようになっている。
以上のように、不揮発性半導体記憶装置1000の各メモリチップは、電源投入後、電源電圧Vccを検知し、電源電圧Vccが所定値以上になった場合に、その動作を初期化するためのリセット信号PWONを出力するパワーオンリセット回路18を、それぞれ有する。
ここで、図9は、図7に示す4個のメモリチップ100−1〜100−4を備えた場合の不揮発性半導体記憶装置1000のブロック図である。
図9に示すように、電源パッド(Vcc)および接地パッド(Vss)、/CE(チップイネーブル信号)、/WE(ライトイネーブル信号)、/RE(リードイネーブル信号)などの制御信号やコマンド入力用の各種パッド、I/Oなどの入出力パッドが、4個のメモリチップ100−1〜100−4で共通の配線によって相互に結線される。
また、上記各パッドの他に、4個の各メモリチップ100−1〜100−4にはそれぞれ、後述するように、チップアドレス指定用の2ビットのチップアドレスCHIPADD_0、CHIPADD_1を入力するための2個のパッドが設けられる。
そして、各2個のチップアドレス指定用のパッドに対し、ボンディングワイヤによりそれぞれのチップアドレスに対応した電圧(電源電圧Vccまたは接地電圧Vss)を接続することで、各々のメモリチップがどのチップアドレスに対応しているかが決定される。
例えば、メモリチップ100−1では、CHIPADD_0、CHIPADD_1指定用のパッドが共に接地電圧VSSに接続されている。メモリチップ100−2では、CHIPADD_0指定用のパッドが接地電圧VSSに接続され、CHIPADD_1指定用のパッドが電源電圧VDDに接続されている。メモリチップ100−3では、CHIPADD_0指定用のパッドが電源電圧VDDに接続され、CHIPADD_1指定用のパッドが接地電圧VSSに接続されている。メモリチップ100−4では、CHIPADD_0、CHIPADD_1指定用のパッドが共に電源電圧VDDに接続されている。
外部から個々のメモリチップ100−1〜100−4にアクセスするには、1個のメモリチップのみが設けられている場合と同様に、コマンドやアドレス、データの入出力が行われる。アドレスは、1個のメモリチップのみが設けられている場合の4倍のアドレス空間で入力される。複数のメモリチップは同時にこのアドレスを受け取り、受け取ったアドレスがどのメモリチップに該当しているが個々のメモリチップで判断され、該当チップのみが動作する。
既述のように、チップアドレスセット回路22は、入力された2ビットのロウアドレスADD_0、ADD_1を、ボンディングによって決定された2ビットのチップアドレスCHIPADD_0、CHIPADD_1と比較する。そして、チップアドレスセット回路22は、その比較結果を、制御回路19に出力する。これにより、この比較結果に基づいて、制御回路19は、メモリチップを動作させる。すなわち、該比較結果が一致したメモリチップのみが動作するようになっている。
これにより、複数個のメモリチップが実装されているにもかかわらず、あたかもパッケージの外から見たら4倍のメモリ容量のメモリチップ1個が動作しているようになる。
なお、このチップアドレス指定用のパッドは2個に限られるものではなく、例えば、同一パッケージ内に8個のメモリチップを収納する場合にはチップアドレス指定用のパッドは3個設けられ、16個のメモリチップを収納する場合にはチップアドレス指定用のパッドは4個設けられる。
ここで、図10は、図8に示すメモリセルの実施例1に係るパワーオンリセット回路18の構成を示す回路図である。
図9に示すように、パワーオンリセット回路18は、第1の分圧抵抗R1と、第2の分圧抵抗R2と、出力抵抗R3と、分圧比調整抵抗R4と、PMOSトランジスタP1と、スイッチ素子P2と、出力端子18aと、切換回路18bと、を含む。
第1の分圧抵抗R1は、電源に一端が接続されている。
第2の分圧抵抗R2は、第1の分圧抵抗R1の他端と接地との間に接続されている。
PMOSトランジスタP1は、電源にソースが接続され、第1の分圧抵抗R1と第2の分圧抵抗R2との間の第1の接点W1の電圧に応じた電圧がゲートに印加されるようになっている。
出力抵抗R3は、PMOSトランジスタP1のドレインと接地との間に接続されている。
スイッチ素子P2は、電源と第1の接点W1との間に接続されている。このスイッチ素子P2は、ここでは、例えば、PMOSトランジスタで構成される。なお、スイッチ素子P2は、他のトランジスタ等の素子で構成されていてもよい。
分圧比調整抵抗R4は、電源と第1の接点W1との間で、スイッチ素子P2と直列に接続されている。
出力端子18aは、PMOSトランジスタP1と出力抵抗R3との間の第2の接点W2に、インバータI1、I2、I5を介して接続され、リセット信号PWONを出力するようになっている。
切換回路18bは、スイッチ素子P2のオン/オフを切り換えるための切換信号を出力するようになっている。
この切換回路18bは、インバータI3と、コンデンサC1と、を有する。
インバータI3は、信号CADD1が入力され、スイッチ素子P2であるPMOSトランジスタのゲートに出力が接続されている。
コンデンサC1は、電源に一端が接続され、スイッチ素子P2であるPMOSトランジスタのゲートに他端が接続されている。このコンデンサC1により、スイッチ素子P2であるPMOSトランジスタのゲートの電圧が安定するようになっている。
すなわち、切換回路18bは、信号CADD1を反転した信号を切換信号として、スイッチ素子P2に出力する。
ここで、図11は、図8に示すメモリチップの実施例1に係るチップアドレスデコード回路21の構成の一例を示す回路図である。
図11に示すように、チップアドレスデコード回路21は、例えば、チップアドレス(信号)CHIPADD_0とチップアドレス(信号)CHIPADD_1とが入力される論理和回路21aと、この論理和回路21aの出力が入力に接続され、信号CADD1を出力するインバータ21bとにより構成されている。
このチップアドレスデコード回路21は、CHIPADD_0とCHIPADD_1がともに“Low”レベルの時、“High”レベルの信号CADD1を出力する。
一方、チップアドレスデコード回路21は、CHIPADD_0とCHIPADD_1がともに“High”レベル、または、何れかが“High”レベルの時、“Low”レベルの信号CADD1を出力する。
次に、以上のような構成を有する不揮発性半導体記憶装置1000の動作の一例について説明する。
メモリチップ100−1のパワーオンリセット回路18において、切換回路18bは、信号CADD1(“High”レベル)に応じて、該パワーオンリセット回路18のスイッチ素子P2を、オンする(導通状態)。
これにより、分圧抵抗R1、R2、分圧比調整抵抗R4による抵抗分割の電源側の分圧比が小さく設定される。このため、第1の接点W1の電圧が高くなる。
一方、メモリチップ100−2〜100−4のパワーオンリセット回路18において、切換回路18bは、信号CADD1(“Low”レベル)に応じて、パワーオンリセット回路18のスイッチ素子P2を、オフする(遮断状態)。
これにより、分圧抵抗R1、R2、分圧比調整抵抗R4による抵抗分割の電源側の分圧比が大きく設定される。このため、メモリチップ100−2〜100−4のパワーオンリセット回路18の第1の接点W1の電圧が、メモリチップ100−1のパワーオンリセット回路18の第1の接点W1の電圧よりも低くなる。
これにより、メモリチップ100−1のパワーオン検知電圧V1が、その他のメモリチップ100−2〜100−4のパワーオン検知電圧V2〜V4よりも高く設定される。
なお、メモリチップ100−1のパワーオン検知電圧V1とその他のメモリチップ100−2〜100−4のパワーオン検知電圧V2〜V4の差が、PMOSトランジスタP1のしきい値電圧のばらつきによるメモリチップ間の検知電圧のばらつきの程度となるように、分圧比調整抵抗R4の抵抗値が選ばれる。
ここで、図12Aは、電源投入時における、図10に示すパワーオンリセット回路18の各接点の電圧、および出力信号の電圧を示す図である。
図12Aに示すように、各メモリチップ100−1〜100−4において、電源電圧Vccが0Vから立ち上がっていく時、接点W1の電圧は、抵抗分割されている分だけ電源電圧Vccよりも遅れて立ち上がる。電源電圧Vccが低いときには、ソースとゲートの電位差が小さいため、PMOSトランジスタP1はオフしている(遮断状態)。これにより、リセット信号PWONは、電源電圧Vccとともに上昇する。
ここで、メモリチップ100−2〜100−4において、電源電圧Vccがある電圧(パワーオン検知電圧V2〜V4)まで上昇したときに、電源電圧Vccと第1の接点W1の電圧の差は、トランジスタP1のしきい値電圧Vth(P1)に達する(時間t1)。この電源電圧Vccがこの電圧以上では、PMOSトランジスタP1はオンする(導通状態)。これにより、リセット信号PWONは、“Low”レベルになる。
したがって、メモリチップ100−2〜100−4のパワーオンリセット回路18は、電源電圧Vccが立ち上がるにしたがって、出力信号であるリセット信号PWON(パルス信号)を発生することになる。このリセット信号PWONは、メモリチップ内部のすべての回路のリセットに使われる。すなわち、リセット信号PWON(パルス信号)に応じて、メモリチップ100−2〜100−4内部の状態は初期状態にリセットされる。
一方、メモリチップ100−1において、電源電圧Vccがある電圧(パワーオン検知電圧V1:V1>V2〜V4)まで上昇したときに、電源電圧Vccと接点W1の電圧の差は、トランジスタP1のしきい値電圧Vth(P1)に達する(時間t2)。この電源電圧Vccがこの電圧以上では、PMOSトランジスタP1はオンする(導通状態)。これにより、リセット信号PWONは、“Low”レベルになる。
したがって、メモリチップ100−1のパワーオンリセット回路18は、電源電圧Vccが立ち上がるにしたがって、出力信号であるリセット信号PWON(パルス信号)を発生することになる。このリセット信号PWON(パルス信号)は、メモリチップ100−1内部のすべての回路のリセットに使われる。すなわち、リセット信号PWON(パルス信号)に応じて、メモリチップ100−1内部の状態は初期状態にリセットされる。
以上のように、メモリチップ100−1のパワーオンリセット回路18のパワーオン検知電圧V1は、メモリチップ100−2〜100−4のパワーオンリセット回路18のパワーオン検知電圧よりも高く設定される。
ここで、図12Bは、図10に示すパワーオンリセット回路18のパワーオン検知電圧と電源電圧Vccとの関係を示す図である。
既述のように、メモリチップ100−1のパワーオン検知電圧V1がその他のメモリチップ100−2〜100−4のパワーオン検知電圧V2〜V4と比べ高く設定されている。
図12Bに示すように、例えば、電源ノイズAによって、電源電圧Vccがパワーオン検知電圧V1〜V4よりも低くなる場合を考える。
この場合、メモリチップ間の検知電圧のぱらつきによらず、まずメモリチップ100−1でリセット動作が始まる。続いて、第2〜第4のメモリチップ100−2〜100−4でリセット動作が始まる。
メモリチップ100−1〜100−4のパワーオンリセット回路18は、リセット信号PWONを出力する。このため、メモリチップ100−1は、初期状態になるとともにチップ選択状態になり、メモリチップ100−2〜100−4は、初期状態になるとともにチップ非選択状態になる。
一方、電源ノイズBによって、電源電圧Vccがパワーオン検知電圧V1よりも低くなる場合を考える。この場合、メモリチップ100−1のパワーオンリセット回路18は、リセット信号PWONを出力する。このため、メモリチップ100−1は、初期状態になるとともにチップ選択状態になる。この場合、他のメモリチップ100−2〜100−4は、リセットされず、チップ選択状態またはチップ非選択状態となる。
このように、少なくともメモリチップ100−1が、電源ノイズが消えた後にチップ選択状態となる。
上記状態で、IDコード読み出しのようなチップアドレスを必要としない動作をメモリチップ100−1〜100−4に対して要求した場合、すべてのメモリチップ100−1〜100−4は信号を出力できないという問題は回避される。
以上のように、本実施例に係る不揮発性半導体記憶装置によれば、電源ノイズが入力されても所定の動作をすることができる。
実施例1では、電源ノイズが入力されても所定の動作をするためのパワーオンリセット回路の構成の一例について述べた。
本実施例2では、特に、パワーオンリセット回路のスイッチ素子、切換回路が異なる他の例について述べる。
図13は、実施例2に係るパワーオンリセット回路318の構成を示す回路図である。なお、このパワーオンリセット回路318は、実施例1のパワーオンリセット回路18と同様に、図8に示すメモリチップ100−1〜100−4に適用される。
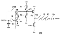
図13に示すように、パワーオンリセット回路318は、実施例1のパワーオンリセット回路18と比較して、スイッチ素子N1、切換回路318bの構成が、実施例1のスイッチ素子P2、切換回路18bと異なる。
スイッチ素子N1は、接地と第1の接点W1との間に接続されている。このスイッチ素子N1は、ここでは、例えば、NMOSトランジスタで構成される。なお、スイッチ素子N1は、他のトランジスタ等の素子で構成されていてもよい。
分圧比調整抵抗R4は、接地と第1の接点W1との間で、スイッチ素子N2と直列に接続されている。
切換回路318bは、スイッチ素子N1のオン/オフを切り換えるための切換信号を出力するようになっている。
切換回路318bは、インバータI4と、コンデンサC3と、を有する。
インバータI4は、信号CADD1が入力され、スイッチ素子N1であるNMOSトランジスタのゲートに出力が接続されている。
コンデンサC3は、接地に一端が接続され、スイッチ素子N1であるNMOSトランジスタのゲートに他端が接続されている。このコンデンサC3により、スイッチ素子N1であるNMOSトランジスタのゲートの電圧が安定するようになっている。
すなわち、切換回路318bは、信号CADD1を反転した信号を切換信号として、スイッチ素子N1に出力する。
なお、パワーオンリセット回路318のその他の構成は、実施例1のパワーオンリセット回路18と同様である。
次に、上記パワーオンリセット回路318を適用した構成を有する不揮発性半導体記憶装置1000の動作の一例について説明する。
メモリチップ100−1のパワーオンリセット回路318において、切換回路318bは、信号CADD1(“High”レベル)に応じて、該パワーオンリセット回路318のスイッチ素子N1を、オフする(遮断状態)。
これにより、分圧抵抗R1、R2、分圧比調整抵抗R4による抵抗分割の電源側の分圧比が小さく設定される。このため、第1の接点W1の電圧が高くなる。
一方、メモリチップ100−2〜100−4のパワーオンリセット回路318において、切換回路318bは、信号CADD1(“Low”レベル)に応じて、パワーオンリセット回路318のスイッチ素子N1を、オンする(導通状態)。
これにより、分圧抵抗R1、R2、分圧比調整抵抗R4による抵抗分割の電源側の分圧比が大きく設定される。このため、メモリチップ100−2〜100−4のパワーオンリセット回路318の第1の接点W1の電圧が、メモリチップ100−1のパワーオンリセット回路318の第1の接点W1の電圧よりも低くなる。
これにより、メモリチップ100−1のパワーオン検知電圧V1が、その他のメモリチップ100−2〜100−4のパワーオン検知電圧V2〜V4よりも高く設定される。
なお、メモリチップ100−1のパワーオン検知電圧V1とその他のメモリチップ100−2〜100−4のパワーオン検知電圧V2〜V4の差が、PMOSトランジスタP1のしきい値電圧のばらつきによるメモリチップ間の検知電圧のばらつきの程度となるように、分圧比調整抵抗R4の抵抗値が選ばれる。
したがって、実施例1と同様に、電源ノイズが電源電圧Vccに入力された場合、少なくともメモリチップ100−1が、電源ノイズが消えた後にチップ選択状態となる。
そして、実施例1と同様に、上記状態で、IDコード読み出しのようなチップアドレスを必要としない動作をメモリチップ100−1〜100−4に対して要求した場合、すべてのメモリチップ100−1〜100−4は信号を出力できないという問題は回避される。
以上のように、本実施例に係る不揮発性半導体記憶装置によれば、電源ノイズが入力されても所定の動作をすることができる。
実施例2では、電源ノイズが入力されても所定の動作をするためのパワーオンリセット回路の構成の一例について述べた。
本実施例3では、特に、パワーオンリセット回路の切換回路が異なる例について述べる。
図14は、実施例3に係るパワーオンリセット回路418の構成を示す回路図である。なお、このパワーオンリセット回路418は、実施例2のパワーオンリセット回路318と同様に、図8に示すメモリチップ100−1〜100−4に適用される。
図14に示すように、パワーオンリセット回路418は、実施例2のパワーオンリセット回路318と比較して、切換回路418bの構成が、実施例2の切換回路318bと異なる。
この切換回路418bは、演算回路であるAND回路X2と、インバータI4と、コンデンサC3と、を有する。
AND回路X2は、インバータI4の出力信号(信号CADD1の反転信号)およびインバータI2の出力信号(リセット信号PWONの反転信号)が入力され、スイッチ素子N1であるNMOSトランジスタのゲートに出力が接続されている。
このように、切換回路418bは、インバータI4の出力信号とインバータI2の出力信号とを論理演算した信号を切換信号として、スイッチ素子N1に出力するようになっている。
コンデンサC4は、電源に一端が接続され、インバータI2の出力に他端が接続されている。このコンデンサC4は、電源の立ち上がり時に、AND回路X2の入力を安定させる働きがある。
なお、パワーオンリセット回路418のその他の構成は、実施例2のパワーオンリセット回路318と同様である。
次に、上記パワーオンリセット回路418を適用した構成を有する不揮発性半導体記憶装置1000の動作の一例について説明する
ここで、実施例2と同様に、メモリチップ100−1のパワーオンリセット回路418において、切換回路418bは、信号CADD1(“High”レベル)が入力されるように設定されている。
したがって、切換回路418bは、インバータI2の出力信号に拘わらず、パワーオンリセット回路418のスイッチ素子N1を、オフする(遮断状態)。これにより、分圧抵抗R1、R2、分圧比調整抵抗R4による抵抗分割の電源側の分圧比が小さく設定される。
また、メモリチップ100−2〜100−4のパワーオンリセット回路418において、切換回路418bは、信号CADD1(“Low”レベル)が入力されるように設定されている。
したがって、メモリチップ100−2〜100−4において、インバータI2の出力信号が“Low”レベルのとき、該パワーオンリセット回路418のスイッチ素子N1を、オフする(遮断状態)。これにより、分圧抵抗R1、R2、分圧比調整抵抗R4による抵抗分割の電源側の分圧比が小さく設定される。このため、第1の接点W1の電圧が高くなる。
一方、メモリチップ100−2〜100−4において、インバータI2の出力信号が“High”レベルのとき、該パワーオンリセット回路418のスイッチ素子N1を、オンする(導通状態)。これにより、分圧抵抗R1、R2、分圧比調整抵抗R4による抵抗分割の電源側の分圧比が大きく設定される。このため、第1の接点W1の電圧が低くなる。
このように、メモリチップ100−2〜100−4のパワーオンリセット回路418において、切換回路418bは、スイッチ素子N1を、電源電圧Vccが或る設定電圧未満であるときには、オンし、電源電圧Vccが該設定電圧以上であるときには、オフする。
このため、電源電圧Vccが該設定電圧以上の場合、メモリチップ100−2〜100−4のパワーオンリセット回路418の第1の接点W1の電圧が、メモリチップ100−1のパワーオンリセット回路418の第1の接点W1の電圧よりも低くなる。
これにより、電源電圧Vccが該設定電圧以上の場合、メモリチップ100−1のパワーオン検知電圧V1が、その他のメモリチップ100−2〜100−4のパワーオン検知電圧V2〜V4よりも高く設定される。
なお、メモリチップ100−1のパワーオン検知電圧V1とその他のメモリチップ100−2〜100−4のパワーオン検知電圧V2〜V4の差が、PMOSトランジスタP1のしきい値電圧のばらつきによるメモリチップ間の検知電圧のばらつきの程度となるように、分圧比調整抵抗R4の抵抗値が選ばれる。
以上のように、初めの電源投入時のパワーオン検知電圧は、すべてのメモリチップで同じ電圧に設定されている。しかし、電源が立ち上がった後(パワーオンリセットが完了した後)は、メモリチップ100−1のパワーオン検知電圧V1だけが、その他のメモリチップ100−2〜100−4のパワーオン検知電圧V2〜V4よりも高く設定される。
これにより、本実施例4では、パワーオンリセット回路の本来の目的である初めの電源投入の動作には影響を与えず、動作中の電源ノイズによる不具合のみを回避することができる。
以上のように、本実施例に係る不揮発性半導体記憶装置によれば、電源ノイズが入力されても所定の動作をすることができる。
実施例4では、特に、フリップフロップによりパワーオンリセット回路を制御する例について述べる。
図15は、実施例4に係るパワーオンリセット回路518の構成を示す回路図である。なお、このパワーオンリセット回路518は、図8に示すメモリチップ100−1〜100−4に適用される。
図15に示すように、パワーオンリセット回路518は、第1の分圧抵抗R1と、第2の分圧抵抗R2と、出力抵抗R3と、調整抵抗R5と、PMOSトランジスタP1、P6と、スイッチ素子N2、P4、P5と、出力端子18aと、フリップフロップF1と、NAND回路X3と、コンデンサC5と、インバータI1、I2、I5〜I7と、を備える。
第1の分圧抵抗R1は、分圧抵抗R1aと分圧抵抗R1bに分割されている。
分圧抵抗R1bと第2の分圧抵抗R2の間の第1の接点W1は、PMOSトランジスタP1のゲートに接続されている。したがって、電源が立ち上がっていく時に、電源電圧Vccと第1の接点W1の電圧との電位差がPMOSトランジスタP1のしきい値電圧となる時に、PMOSトランジスタP1はオフからオンに状態が切り替わるようになっている。
PMOSトランジスタP1のドレインには、PMOSトランジスタで構成されたスイッチ素子P4が接続されている。出力抵抗R3は、このスイッチ素子P4のドレイン側の第2の接点W2に接続されている。この第2の接点W2と出力端子18aとの間には、直列に接続されたインバータI1、I2、I5が接続されている。
また、分圧抵抗R1aと分圧抵抗R1bとの間の接点W3は、PMOSトランジスタP6のゲートに接続されている。
PMOSトランジスタP6のドレイン側の第4の接点W4は、フリップフロップF1のセット端子Sに入力されている。この第4の接点W4は、PMOSトランジスタで構成されたスイッチ素子P5のソースに接続されている。スイッチ素子P5のドレインは、第2の接点W2に接続されている。
フリップフロップF1のリセット端子Rには、第5の接点W5が接続されている。この第5の接点W5は、PMOSトランジスタP1のドレインに、インバータI6を介して、接続されている。フリップフロップF1の出力Qは、信号CADD1とともに、NAND回路X3に入力されている。なお、NAND回路X3の信号CADD1が入力される端子と接地との間には、コンデンサC5が接続されている。
このNAND回路X3の出力は、スイッチ素子P5のゲートに入力されている。さらに、NAND回路X3の出力は、インバータI7を介して、スイッチ素子P4のゲートに入力されている。
また、第4の接点W4と接地との間には、スイッチ素子(NMOSトランジスタ)N2と調整抵抗R5とが直列に接続されている。このスイッチ素子N2のゲートには、NAND回路X3の出力が入力されている。
次に、以上のような構成を有するパワーオンリセット回路518の動作について説明する。
電源電圧Vccを分圧抵抗R1a、R1b、R2で分圧した電圧により、第3の接点W3の電圧は、第1の接点W1の電圧と比べて高くなる。このため、電源電圧Vccが立ち上がる時には、PMOSトランジスタP6よりも先にPMOSトランジスタP1がオフからオンに切り替わる。この時、第5の接点W5の電圧は、“High”レベルから“Low”レベルになる。これにより、フリップフロップF1のリセット動作が完了する。
そして、電源電圧Vccがさらに上がっていくと、電源電圧Vccを分圧抵抗R1a、R1b、R2で分圧した電圧でPMOSトランジスタP6がオフからオンに切り替わる。この時、第4の接点W4の電圧は、“Low”レベルから“High”レベルになる。これにより、フリップフロップF1がセットされる。これにより、フリップフロップF1の出力Qからは“High”レベルが出力されることになる。
チップアドレスが先頭チップ(メモリチップ100−1)である場合には、信号CADD1が“High”レベルであるため、第6の接点W6は“High”レベルから“Low”レベルに切り替わる。したがって、各スイッチ素子の状態は、スイッチ素子P4がオン、スイッチ素子P5がオフの状態から、スイッチ素子P4がオフ、スイッチ素子P5がオンの状態に切り替わる。
以上の動作から、メモリチップ100−1のパワーオンリセット回路518は、電源の立ち上げ始めにおいて、電源電圧VccがPMOSトランジスタP1のしきい値電圧で設定されたパワーオン検知電圧のとき、リセット信号PWONを出力する。しかし、メモリチップ100−1のパワーオンリセット回路518は、電源電圧VccがPMOSトランジスタP6のしきい値電圧で設定されたパワーオン検知電圧以上に電源が立ち上がった後は、電源電圧VccがPMOSトランジスタP1よりも高いPMOSトランジスタP6によるパワーオン検知電圧のとき、リセット信号PWONを出力する。
メモリチップ100−1以外のメモリチップ100−2〜100−4では、信号CADD1が“Low”レベルである。このため、第6の接点W6は、常に“High”レベルとなっている。これにより、スイッチ素子P4がオン、スイッチ素子P5がオフしている。このため、単に電源電圧VccがPMOSトランジスタP1で設定されたパワーオン検知電圧のとき、リセット信号PWONが出力される。
PMOSトランジスタP1とPMOSトランジスタP2のパワーオンリセット回路の差が、PMOSトランジスタのしきい値のばらつきを補償できる値になるように分圧抵抗R1aと分圧抵抗R1bを設定する。これにより、電源電圧がノイズにより下がった場合には、必ずメモリチップ100−1が初めにリセットされることになる。これにより、どのメモリチップも動作しないという状況は避けられる。
さらに、電源の立ち上げ時にはメモリチップ100−1を含めて全てのメモリチップで同じ設定状態となるため、通常の動作には影響しない。このため、メモリチップ100−1とそれ以外のメモリチップ100−2〜100−4のノイズ耐性の設定は、容易になる。
本実施例5では、既述の不揮発性半導体記憶装置1000を、電子機器の一例である携帯電話に適用する例について説明する。
図16は、不揮発性半導体記憶装置1000を内部に実装する携帯電話を示す図である。図16に示すように、携帯電話2000は、メイン画面2001を有する本体上部2002と、キーパッド2003を有する本体下部2004と、を備えている。この携帯電話2000には、不揮発性半導体記憶装置(半導体チップ)1000が搭載される。
携帯電話2000に搭載されたCPU(図示せず)は、不揮発性半導体記憶装置1000にインターフェイス(図示せず)を介してアクセスし、データ等の転送を行うようになっている。
尚、不揮発性半導体記憶装置1000は、上記携帯電話以外にも、パーソナルコンピュータ、デジタルスチルカメラ、PDA等の各種電子機器に適用することができる。
比較例である4個のメモリチップ100a1〜100a4を積層したマルチチップパッケージ製品(不揮発性半導体記憶装置1000a)の模式的な断面の一例を示す断面図である。 図1に示す不揮発性半導体記憶装置1000aの4個のメモリチップの回路図である。 比較例のパワーオンリセット回路の構成の一例を示す回路図である。 電源投入時における、図3に示すパワーオンリセット回路2aの各接点の電圧、および出力信号(リセット信号)の電圧を示す図である。 図3に示すパワーオンリセット回路2aのパワーオン検知電圧と電源電圧Vccとの関係を示す図である。 図2に示す各メモリチップ100a1〜100a4の選択状態の遷移の一例を示す図である。 本発明の一態様である実施例1に係る不揮発性半導体記憶装置1000の要部の模式的な断面の一例を示す断面図である。 図7に示す不揮発性半導体記憶装置1000のメモリチップ100−1〜1004内部の構成の一例を示す図である。 図7に示す4個のメモリチップ100−1〜100−4を備えた場合の不揮発性半導体記憶装置1000のブロック図である。 図8に示すメモリセルの実施例1に係るパワーオンリセット回路18の構成を示す回路図である。 図8に示すメモリチップの実施例1に係るチップアドレスデコード回路21の構成の一例を示す回路図である。 電源投入時における、図10に示すパワーオンリセット回路18の各接点の電圧、および出力信号の電圧を示す図である。 図10に示すパワーオンリセット回路18のパワーオン検知電圧と電源電圧Vccとの関係を示す図である。 実施例2に係るパワーオンリセット回路318の構成を示す回路図である。 実施例3に係るパワーオンリセット回路418の構成を示す回路図である。 実施例4に係るパワーオンリセット回路518の構成を示す回路図である。 不揮発性半導体記憶装置1000を内部に実装する携帯電話を示す図である。
符号の説明
11 メモリセルアレイ
12 アドレスバッファ
13 カラムデコーダ
14 ロウデコーダ
15 センスアンプ
17 入出力バッファ
18 パワーオンリセット回路
18a 出力端子
18b 切換回路
19 制御回路
20 電圧生成回路
21 チップアドレスデコード回路
21a 論理和回路
21b インバータ
22 チップアドレスセット回路
100−1〜100−4、100a1〜100a4 メモリチップ
1000、1000a 不揮発性半導体記憶装置
1001、1001a コントローラ
1002、1002a ワイヤ
1003、1003a 基板
1004、1004a 半田ボール
2000 携帯電話
2001 メイン画面
2002 本体上部
2003 キーパッド
2004 本体下部
C1、C2、C3、C4、C5 コンデンサ
F1 フリップフロップ
I1、I2、I3、I4、I5、I6、I7 インバータ
P1、P6 PMOSトランジスタ
P2、P3、P4、P5、N1、N2 スイッチ素子
PWOM リセット信号
Q フリップフロップの出力
R リセット端子
R1 第1の分圧抵抗
R1a、R1b 分圧抵抗
R2 第2の分圧抵抗
R3 出力抵抗
R4 分圧比調整抵抗
R5 調整抵抗
S セット端子
W1 第1の接点
W2 第2の接点
W3 第3の接点
W4 第4の接点
W5 第5の接点
W6 第6の接点
X1、X3 NAND回路
X2 AND回路

Claims (5)

  1. チップアドレス指定されることにより動作する複数のメモリチップを備えた不揮発性半導体記憶装置であって、
    リセット時においてチップアドレス指定されて動作するように設定されている第1のメモリチップと、
    リセット時においてチップアドレス指定されず動作しないように設定されている第2のメモリチップと、を備え、
    前記第1のメモリチップおよび前記第2のメモリチップは、電源投入後、電源電圧を検知し、前記電源電圧が所定値以上になった場合に、その動作を初期化するためのリセット信号を出力するパワーオンリセット回路を、それぞれ有し、
    前記パワーオンリセット回路は、
    電源に一端が接続された第1の分圧抵抗と、
    前記第1の分圧抵抗の他端と接地との間に接続された第2の分圧抵抗と、
    前記電源にソースが接続され、前記第1の分圧抵抗と前記第2の分圧抵抗との間の第1の接点の電圧に応じた電圧がゲートに印加されるPMOSトランジスタと、
    前記PMOSトランジスタのドレインと前記接地との間に接続された出力抵抗と、
    前記電源と前記第1の接点との間に接続されたスイッチ素子と、
    前記電源と前記第1の接点との間で、前記スイッチ素子と直列に接続された分圧比調整抵抗と、
    前記スイッチ素子のオン/オフを切り換えるための切換信号を出力する切換回路と、
    前記PMOSトランジスタと前記出力抵抗との間の第2の接点に接続され、前記リセット信号を出力するための出力端子と、を含み、
    前記第1のメモリチップの前記パワーオンリセット回路において、前記切換回路は、前記パワーオンリセット回路の前記スイッチ素子を、オンし、
    前記第2のメモリチップの前記パワーオンリセット回路において、前記切換回路は、前記パワーオンリセット回路の前記スイッチ素子を、オフする
    ことを特徴とする不揮発性半導体記憶装置。
  2. チップアドレス指定されることにより動作する複数のメモリチップを備えた不揮発性半導体記憶装置であって、
    リセット時においてチップアドレス指定されて動作するように設定されている第1のメモリチップと、
    リセット時においてチップアドレス指定されず動作しないように設定されている第2のメモリチップと、を備え、
    前記第1のメモリチップおよび前記第2のメモリチップは、電源投入後、電源電圧を検知し、前記電源電圧が所定値以上になった場合に、その動作を初期化するためのリセット信号を出力するパワーオンリセット回路を、それぞれ有し、
    前記パワーオンリセット回路は、
    電源に一端が接続された第1の分圧抵抗と、
    前記第1の分圧抵抗の他端と接地との間に接続された第2の分圧抵抗と、
    前記電源にソースが接続され、前記第1の分圧抵抗と前記第2の分圧抵抗との間の第1の接点の電圧に応じた電圧がゲートに印加されるPMOSトランジスタと、
    前記PMOSトランジスタのドレインと接地との間に接続された出力抵抗と、
    前記接地と前記第1の接点との間に接続されたスイッチ素子と、
    前記接地と前記第1の接点との間で、前記スイッチ素子と直列に接続された分圧比調整抵抗と、
    前記スイッチ素子のオン/オフを切り換えるための切換信号を出力する切換回路と、
    前記PMOSトランジスタと前記出力抵抗との間の第2の接点に接続され、前記リセット信号を出力するための出力端子と、を含み、
    前記第1のメモリチップの前記パワーオンリセット回路において、前記切換回路は、前記スイッチ素子を、オフし、
    前記第2のメモリチップの前記パワーオンリセット回路において、前記切換回路は、前記スイッチ素子を、オンする
    ことを特徴とする不揮発性半導体記憶装置。
  3. チップアドレス指定されることにより動作する複数のメモリチップを備えた不揮発性半導体記憶装置であって、
    リセット時においてチップアドレス指定されて動作するように設定されている第1のメモリチップと、
    リセット時においてチップアドレス指定されず動作しないように設定されている第2のメモリチップと、を備え、
    前記第1のメモリチップおよび前記第2のメモリチップは、電源投入後、電源電圧を検知し、前記電源電圧が所定値以上になった場合に、その動作を初期化するためのリセット信号を出力するパワーオンリセット回路を、それぞれ有し、
    前記パワーオンリセット回路は、
    電源に一端が接続された第1の分圧抵抗と、
    前記第1の分圧抵抗の他端と接地との間に接続された第2の分圧抵抗と、
    前記電源にソースが接続され、前記第1の分圧抵抗と前記第2の分圧抵抗との間の第1の接点の電圧に応じた電圧がゲートに印加されるPMOSトランジスタと、
    前記PMOSトランジスタのドレインと接地との間に接続された出力抵抗と、
    前記接地と前記第1の接点との間に接続されたスイッチ素子と、
    前記接地と前記第1の接点との間で、前記スイッチ素子と直列に接続された分圧比調整抵抗と、
    前記スイッチ素子のオン/オフを切り換えるための切換信号を出力する切換回路と、
    前記PMOSトランジスタと前記出力抵抗との間の第2の接点に接続され、前記リセット信号を出力するための出力端子と、を含み、
    前記第1のメモリチップの前記パワーオンリセット回路において、前記切換回路は、前記パワーオンリセット回路の前記スイッチ素子を、オフし、
    前記第2のメモリチップの前記パワーオンリセット回路において、前記切換回路は、前記スイッチ素子を、前記電源電圧が設定電圧未満であるときには、オフし、前記電源電圧が前記設定電圧以上であるときには、オンする
    ことを特徴とする不揮発性半導体記憶装置。
  4. 前記切換回路は、チップアドレスに基づいて、前記スイッチ素子のオン/オフを切り換える
    ことを特徴とすることを特徴とする請求項1ないし3の何れかに記載の不揮発性半導体記憶装置。
  5. 前記第1のメモリチップおよび前記第2のメモリチップは、NAND型フラッシュメモリチップである
    ことを特徴とする請求項1ないし4の何れかに記載の不揮発性半導体記憶装置。
JP2008192470A 2008-07-25 2008-07-25 不揮発性半導体記憶装置 Active JP5086929B2 (ja)

Priority Applications (3)

Application Number Priority Date Filing Date Title
JP2008192470A JP5086929B2 (ja) 2008-07-25 2008-07-25 不揮発性半導体記憶装置
US12/407,938 US7848170B2 (en) 2008-07-25 2009-03-20 Nonvolatile semiconductor memory
KR1020090067628A KR101022127B1 (ko) 2008-07-25 2009-07-24 비휘발성 반도체 메모리

Applications Claiming Priority (1)

Application Number Priority Date Filing Date Title
JP2008192470A JP5086929B2 (ja) 2008-07-25 2008-07-25 不揮発性半導体記憶装置

Publications (2)

Publication Number Publication Date
JP2010033631A true JP2010033631A (ja) 2010-02-12
JP5086929B2 JP5086929B2 (ja) 2012-11-28

Family

ID=41568535

Family Applications (1)

Application Number Title Priority Date Filing Date
JP2008192470A Active JP5086929B2 (ja) 2008-07-25 2008-07-25 不揮発性半導体記憶装置

Country Status (3)

Country Link
US (1) US7848170B2 (ja)
JP (1) JP5086929B2 (ja)
KR (1) KR101022127B1 (ja)

Cited By (2)

* Cited by examiner, † Cited by third party
Publication number Priority date Publication date Assignee Title
KR20190111430A (ko) * 2018-03-22 2019-10-02 에스케이하이닉스 주식회사 리셋동작을 수행하는 반도체패키지 및 반도체시스템
US10672433B2 (en) 2017-03-24 2020-06-02 Toshiba Memory Corporation Semiconductor memory device

Families Citing this family (5)

* Cited by examiner, † Cited by third party
Publication number Priority date Publication date Assignee Title
US8605536B2 (en) 2012-02-13 2013-12-10 Qualcomm Incorporated Power-on-reset (POR) circuits for resetting memory devices, and related circuits, systems, and methods
US8830780B2 (en) 2013-01-15 2014-09-09 Qualcomm Incorporated System and method of performing power on reset for memory array circuits
KR20170006980A (ko) * 2015-07-10 2017-01-18 에스케이하이닉스 주식회사 파워 온 리셋 회로 및 이를 포함하는 반도체 메모리 장치
JP7259130B2 (ja) * 2020-08-06 2023-04-17 長江存儲科技有限責任公司 3次元メモリのためのマルチダイピーク電力管理
CN119135148B (zh) * 2024-11-14 2025-04-29 南京创芯慧联技术有限公司 芯片开关机电路和芯片

Citations (10)

* Cited by examiner, † Cited by third party
Publication number Priority date Publication date Assignee Title
JPH09167217A (ja) * 1995-12-14 1997-06-24 Hitachi Ltd マルチチップicカード及びそれを用いたicカードシステム
JPH11120075A (ja) * 1997-10-20 1999-04-30 Toshiba Corp 半導体記憶装置及び半導体記憶システム
JPH11150452A (ja) * 1997-11-17 1999-06-02 Toshiba Microelectronics Corp レベル変換回路および液晶表示装置
JP2002100974A (ja) * 2000-09-21 2002-04-05 Toshiba Corp 半導体装置
JP2002150788A (ja) * 2000-11-06 2002-05-24 Fujitsu Ltd 半導体装置及び半導体装置初期設定方法
JP2002329791A (ja) * 2001-04-27 2002-11-15 Toshiba Corp 電圧発生回路
US20030218479A1 (en) * 2000-09-02 2003-11-27 Actel Corporation, A California Corporation Tileable field-programmable gate array architecture
JP2004152405A (ja) * 2002-10-30 2004-05-27 Toshiba Corp 不揮発性半導体記憶装置
JP2008077834A (ja) * 2007-12-10 2008-04-03 Toshiba Corp 不揮発性半導体記憶装置
JP2008077779A (ja) * 2006-09-22 2008-04-03 Toshiba Corp 半導体記憶装置

Family Cites Families (5)

* Cited by examiner, † Cited by third party
Publication number Priority date Publication date Assignee Title
US6208542B1 (en) * 1998-06-30 2001-03-27 Sandisk Corporation Techniques for storing digital data in an analog or multilevel memory
JP3802239B2 (ja) * 1998-08-17 2006-07-26 株式会社東芝 半導体集積回路
KR100394757B1 (ko) * 2000-09-21 2003-08-14 가부시끼가이샤 도시바 반도체 장치
JP4284247B2 (ja) * 2004-08-13 2009-06-24 株式会社東芝 不揮発性半導体記憶装置
US7660161B2 (en) * 2007-01-19 2010-02-09 Silicon Storage Technology, Inc. Integrated flash memory systems and methods for load compensation

Patent Citations (10)

* Cited by examiner, † Cited by third party
Publication number Priority date Publication date Assignee Title
JPH09167217A (ja) * 1995-12-14 1997-06-24 Hitachi Ltd マルチチップicカード及びそれを用いたicカードシステム
JPH11120075A (ja) * 1997-10-20 1999-04-30 Toshiba Corp 半導体記憶装置及び半導体記憶システム
JPH11150452A (ja) * 1997-11-17 1999-06-02 Toshiba Microelectronics Corp レベル変換回路および液晶表示装置
US20030218479A1 (en) * 2000-09-02 2003-11-27 Actel Corporation, A California Corporation Tileable field-programmable gate array architecture
JP2002100974A (ja) * 2000-09-21 2002-04-05 Toshiba Corp 半導体装置
JP2002150788A (ja) * 2000-11-06 2002-05-24 Fujitsu Ltd 半導体装置及び半導体装置初期設定方法
JP2002329791A (ja) * 2001-04-27 2002-11-15 Toshiba Corp 電圧発生回路
JP2004152405A (ja) * 2002-10-30 2004-05-27 Toshiba Corp 不揮発性半導体記憶装置
JP2008077779A (ja) * 2006-09-22 2008-04-03 Toshiba Corp 半導体記憶装置
JP2008077834A (ja) * 2007-12-10 2008-04-03 Toshiba Corp 不揮発性半導体記憶装置

Cited By (4)

* Cited by examiner, † Cited by third party
Publication number Priority date Publication date Assignee Title
US10672433B2 (en) 2017-03-24 2020-06-02 Toshiba Memory Corporation Semiconductor memory device
US10783933B2 (en) 2017-03-24 2020-09-22 Toshiba Memory Corporation Semiconductor memory device
KR20190111430A (ko) * 2018-03-22 2019-10-02 에스케이하이닉스 주식회사 리셋동작을 수행하는 반도체패키지 및 반도체시스템
KR102504180B1 (ko) 2018-03-22 2023-02-28 에스케이하이닉스 주식회사 리셋동작을 수행하는 반도체패키지 및 반도체시스템

Also Published As

Publication number Publication date
JP5086929B2 (ja) 2012-11-28
US7848170B2 (en) 2010-12-07
US20100020628A1 (en) 2010-01-28
KR101022127B1 (ko) 2011-03-17
KR20100011942A (ko) 2010-02-03

Similar Documents

Publication Publication Date Title
CN107799155B (zh) 包括列冗余的存储装置
JP5086929B2 (ja) 不揮発性半導体記憶装置
KR100912561B1 (ko) 반도체 기억 장치
CN100590739C (zh) 半导体集成电路器件
US7760553B2 (en) Fuse circuit and flash memory device having the same
KR102515463B1 (ko) 비휘발성 메모리 장치와, 이의 리드 및 라이트 방법
US10031792B2 (en) Flash memory
US9424914B2 (en) Resistive memory apparatus and memory cell thereof
KR102520496B1 (ko) 오티피 메모리 장치 및 오피 메모리 장치의 테스트 방법
KR101391358B1 (ko) 반도체 집적회로 및 그것의 초기화 정보 읽기 방법
KR20220127907A (ko) 전력 전압 선택 회로
JP2005122574A (ja) 半導体集積回路
JP2012069565A (ja) 半導体集積回路及び制御方法
JP2011119865A (ja) 半導体集積回路
US10629249B2 (en) Semiconductor device and semiconductor system
US9368229B2 (en) Semiconductor integrated circuit device including fuse block
JP2009134828A (ja) 半導体装置
JP2008011446A (ja) 半導体集積回路
JP2013222474A (ja) 不揮発性メモリ回路、半導体装置、及び読出し方法
JP2009129472A (ja) 半導体記憶装置
KR20070074232A (ko) 램 영역과 롬 영역을 동시에 가지는 반도체 메모리 장치
JP2008004196A (ja) 半導体メモリ装置
JP2013186920A (ja) 不揮発性半導体記憶装置及びメモリシステム
US20240419536A1 (en) Memory controller and memory system
JP2005203064A (ja) 半導体記憶装置

Legal Events

Date Code Title Description
A621 Written request for application examination

Free format text: JAPANESE INTERMEDIATE CODE: A621

Effective date: 20100915

A977 Report on retrieval

Free format text: JAPANESE INTERMEDIATE CODE: A971007

Effective date: 20120801

TRDD Decision of grant or rejection written
A01 Written decision to grant a patent or to grant a registration (utility model)

Free format text: JAPANESE INTERMEDIATE CODE: A01

Effective date: 20120810

A01 Written decision to grant a patent or to grant a registration (utility model)

Free format text: JAPANESE INTERMEDIATE CODE: A01

A61 First payment of annual fees (during grant procedure)

Free format text: JAPANESE INTERMEDIATE CODE: A61

Effective date: 20120907

R151 Written notification of patent or utility model registration

Ref document number: 5086929

Country of ref document: JP

Free format text: JAPANESE INTERMEDIATE CODE: R151

FPAY Renewal fee payment (event date is renewal date of database)

Free format text: PAYMENT UNTIL: 20150914

Year of fee payment: 3

S111 Request for change of ownership or part of ownership

Free format text: JAPANESE INTERMEDIATE CODE: R313111

R350 Written notification of registration of transfer

Free format text: JAPANESE INTERMEDIATE CODE: R350

S111 Request for change of ownership or part of ownership

Free format text: JAPANESE INTERMEDIATE CODE: R313111

R350 Written notification of registration of transfer

Free format text: JAPANESE INTERMEDIATE CODE: R350