JP2010028059A - 液処理装置 - Google Patents

液処理装置 Download PDF

Info

Publication number
JP2010028059A
JP2010028059A JP2008191344A JP2008191344A JP2010028059A JP 2010028059 A JP2010028059 A JP 2010028059A JP 2008191344 A JP2008191344 A JP 2008191344A JP 2008191344 A JP2008191344 A JP 2008191344A JP 2010028059 A JP2010028059 A JP 2010028059A
Authority
JP
Japan
Prior art keywords
processed
liquid
cup
processing
wafer
Prior art date
Legal status (The legal status is an assumption and is not a legal conclusion. Google has not performed a legal analysis and makes no representation as to the accuracy of the status listed.)
Granted
Application number
JP2008191344A
Other languages
English (en)
Other versions
JP5355951B2 (ja
Inventor
Jiro Tojima
島 治 郎 東
Hiromitsu Nanba
波 宏 光 難
Current Assignee (The listed assignees may be inaccurate. Google has not performed a legal analysis and makes no representation or warranty as to the accuracy of the list.)
Tokyo Electron Ltd
Original Assignee
Tokyo Electron Ltd
Priority date (The priority date is an assumption and is not a legal conclusion. Google has not performed a legal analysis and makes no representation as to the accuracy of the date listed.)
Filing date
Publication date
Application filed by Tokyo Electron Ltd filed Critical Tokyo Electron Ltd
Priority to JP2008191344A priority Critical patent/JP5355951B2/ja
Priority to KR1020090064964A priority patent/KR101377196B1/ko
Priority to US12/506,506 priority patent/US8590547B2/en
Priority to TW098125031A priority patent/TWI446418B/zh
Publication of JP2010028059A publication Critical patent/JP2010028059A/ja
Application granted granted Critical
Publication of JP5355951B2 publication Critical patent/JP5355951B2/ja
Active legal-status Critical Current
Anticipated expiration legal-status Critical

Links

Images

Classifications

    • H10P50/00
    • H10P72/0424

Landscapes

  • Cleaning Or Drying Semiconductors (AREA)
  • Weting (AREA)
  • Exposure Of Semiconductors, Excluding Electron Or Ion Beam Exposure (AREA)

Abstract

【課題】被処理体を処理した処理液を排出機構へと導く回転カップを被処理体に近接した位置に設け、かつ、支持された被処理体と回転カップとの間の間隙を均一にすること。
【解決手段】液処理装置は、被処理体Wの下面と側面を処理する。液処理装置は、被処理体Wに処理液を供給する処理液供給機構37,39と、被処理体Wを処理した処理液を排出する排出機構20,21と、被処理体Wの周縁外方に設けられ、被処理体Wを処理した処理液を排出機構20,21へと導く回転カップ10と、回転カップ10を回転させる回転駆動部60と、を備えている。回転カップ10には、周縁内方に突出し、被処理体Wの周縁部を支持する支持部15が設けられている。
【選択図】図1

Description

本発明は、半導体ウエハなどからなる被処理体の下面と側面を処理する液処理装置に関する。
従来から、基板(被処理体)上面に気体を供給すると同時に基板下面にエッチング液を供給することにより、基板上面の周縁部および下面に対して選択的にエッチング処理を施すためのベベルエッチング装置(液処理装置)が知られている(特許文献1参照)。特許文献1に記載されているベベルエッチング装置(液処理装置)は、基板をほぼ水平に保持しつつ回転させる基板保持回転手段と、この基板保持回転手段により回転される基板の下面に向けてエッチング液を供給するエッチング液供給手段と、基板の上面に対して所定間隔の隙間を空けて対向するように基板保持回転手段上に載置されて、基板保持回転手段により基板とともに回転され、基板の下面から上面への上記エッチング液の回り込みを制御するための気体を当該基板の上面に供給するための開口部がほぼ中央に形成された遮断板(トッププレート)と、を含んでいる。
特開2002−110626号公報
しかしながら、特許文献1のような従来技術では、基板下面から上面への回り込みの防止、および、エッチング液の周縁部からの飛び散りの抑制が充分ではなかった。
本発明は、このような点を考慮してなされたものであり、被処理体を処理した処理液を排出機構へと導く回転カップを被処理体に近接した位置に設けることができ、かつ、支持部によって支持された被処理体と回転カップとの間の間隙を均一にすることができ、ひいては、被処理体周縁部から処理液が飛び散ることを抑制し、かつ、被処理体の下面から上面へ処理液が回り込むことを防止することができる液処理装置を提供することを目的とする。
本発明による液処理装置は、
被処理体の下面と側面を処理する液処理装置において、
前記被処理体に処理液を供給する処理液供給機構と、
前記被処理体を処理した処理液を排出する排出機構と、
前記被処理体の周縁外方に設けられ、前記被処理体を処理した処理液を前記排出機構へと導く回転カップと、
前記回転カップに設けられ、周縁内方に突出し、前記被処理体の周縁部を支持する支持部と、
前記回転カップを回転させる回転駆動部と、
を備えている。
本発明による液処理装置において、
前記被処理体の上面側に設けられ、前記被処理体と前記回転カップとの間の間隙に、不活性ガスを供給する不活性ガス供給機構をさらに備えたことが好ましい。
このような液処理装置において、
前記被処理体の上面側に設けられ、前記被処理体と前記回転カップとの間の間隙に、純水を供給する純水供給部をさらに備えたことが好ましい。
本発明による液処理装置において、
前記被処理体の上面側に設けられ、該被処理体を覆うトッププレートをさらに備え、
前記トッププレートは、前記回転カップの上方まで延びた周縁外方突出部を有し、
前記周縁外方突出部に、該周縁外方突出部に付着した処理液を吸引する吸引口を有する吸引機構が設けられていることが好ましい。
このような液処理装置において、
前記吸引口は、第一吸引口と、第二吸引口を有することが好ましい。
このような液処理装置において、
前記第一吸引口は、再利用する処理液を吸引し、
前記第二吸引口は、排液として処理する処理液を吸引することが好ましい。
上述のような液処理装置において、
前記処理液供給機構から前記被処理体に供給される前記処理液は、洗浄液とリンス液を含み、
前記第一吸引口は、洗浄液を吸引し、
前記第二吸引口は、リンス液を吸引することが好ましい。
本発明による液処理装置において、
前記支持部と前記回転カップとが一体で構成されることが好ましい。
本発明による液処理装置において、
前記回転カップの下方側に設けられ、前記回転駆動部によって回転されるベースと、
前記ベースと前記回転カップとの間に配置されたスペーサと、をさらに備え、
前記スペーサと前記回転カップとが一体で構成されることが好ましい。
本発明によれば、回転カップに、周縁内方に突出し、被処理体の周縁部を支持する支持部が設けられている。このため、被処理体を処理した処理液を排出機構へと導く回転カップを被処理体に近接した位置に設けることができる。また、支持部によって支持された被処理体と回転カップとの間の間隙を均一にすることができる。これらのことより、被処理体周縁部から処理液が飛び散ることを抑制し、被処理体の下面から上面へ処理液が回り込むことを防止することができる。
発明を実施するための形態
第1の実施の形態
以下、本発明に係る液処理装置の第1の実施の形態について、図面を参照して説明する。ここで、図1乃至図5は本発明の第1の実施の形態を示す図である。
図1に示すように、本実施の形態の液処理装置は、被処理体である半導体ウエハW(以下、ウエハWと呼ぶ)の下面と側面に処理液を供給して、これらウエハWの下面と側面を洗浄して処理するものである。なお、本願で処理液とは、薬液や純水(リンス液)のことを意味している。そして、薬液としては、例えば、フッ酸、硝酸とフッ酸の混合溶液などを用いることができる。
図1に示すように、液処理装置は、ウエハWの下面に処理液を供給する処理液供給機構37,39と、ウエハWを処理した処理液を排出する排出機構20,21と、ウエハWの周縁外方に設けられ、ウエハWを処理した処理液を排出機構20,21へと導く回転カップ10と、を備えている。
このうち、処理液供給機構37,39は、図1に示すように、処理液を供給する処理液供給部39と、処理液供給部39から供給された処理液をウエハWの下面側まで導く処理液供給管37とを有している。なお、処理液供給管37の上面は、処理液供給口37aを構成している。
また、排出機構20,21は、図1に示すように、回転カップ10によって導かれた処理液を受ける排液カップ20と、排液カップ20によって受けられた処理液を排出する排液管21と、を有している。また、排液カップ20の周りには、排気カップ26が設けられ、この排気カップ26には、排気カップ26内の窒素ガスなどの気体を吸引して排出する排気管25が設けられている。なお、この排気管25には、吸引力を付与する排出吸引部(図示せず)が連結されている。
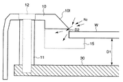
また、図1乃至図4に示すように、回転カップ10の下端には、周縁内方に突出し、ウエハWの周縁部の下面を支持する複数の支持ピン(支持部)15が設けられている。なお、図4は、図3のAの箇所を拡大した斜視図を示している。
また、図1に示すように、支持ピン15によって支持されたウエハWの上面側には、このウエハWを覆うようにしてトッププレート40が設けられている。また、このトッププレート40内部には、窒素ガスやアルゴンガスなどの不活性ガス(本実施の形態では窒素ガス)を供給する不活性ガス供給部46に連結された不活性ガス供給管47が延在している。なお、不活性ガス供給管47は、トッププレート40の中心部で端部となっており、当該端部が不活性ガス供給口47aを構成している。また、図1に示すように、トッププレート40には、トッププレート40を上下方向に移動させるトッププレート駆動部49が連結されている。
また、図1に示すように、回転カップ10の下方側には、中空形状からなるベースプレート(ベース)30が設けられ、このベースプレート30には、下方に向かって延在する中空構造の回転軸31が設けられている。そして、回転軸31には、この回転軸31を回転させる回転駆動部60が連結されている。なお、このように回転軸31を回転させることによって、ベースプレート30および回転カップ10を回転させることができ、ひいては、回転カップ10に設けられた支持ピン15上のウエハWを回転させることができる。
回転駆動部60は、図1に示すように、回転軸31の周縁外方に配置されたプーリ62と、このプーリ62に巻きかけられた駆動ベルト63と、この駆動ベルト63に駆動力を付与することによって、プーリ62を介して回転軸31を回転させるモータ61とを有している。また、回転軸31の周縁外方にはベアリング32が配置されている。
また、図1に示すように、回転カップ10と回転軸31の中空内には、リフトピン35aを有し、中空形状からなるリフトピンプレート35と、このリフトピンプレート35から下方に延在し、中空形状からなるリフト軸36が配置されている。また、図1に示すように、リフトピンプレート35およびリフト軸36の内部(中空空間内)には、処理液供給管37が上下方向に延在している。なお、リフト軸36には、このリフト軸36を上下方向に移動させるリフト軸駆動部(図示せず)が連結されている。
また、図2に示すように、ベースプレート30と回転カップ10との間にはスペーサ11が配置されており、このスペーサ11内には、回転カップ10とベースプレート30とを締結するネジなどの締結部材12が設けられている。また、図3および図4に示すように、回転カップ10には締結部材12を貫通させるための孔部10aが設けられている。
なお、本実施の形態では、支持ピン15と回転カップ10とは一体成形され、一体に構成されている。また、スペーサ11と回転カップ10も一体成形され、一体に構成されている。
次に、このような構成からなる本実施の形態の作用について述べる。
まず、搬送ロボット(図示せず)によって、キャリア(図示せず)から取り出されたウエハWが、リフト軸駆動部(図示せず)により受け渡し位置(上方位置)に位置づけられたリフトピンプレート35のリフトピン35a上に載置される。このとき、トッププレート40は、トッププレート駆動部49によって、ウエハWの受け渡し位置よりも上方位置に位置づけられている。
次に、リフト軸駆動部(図示せず)によって、リフトピンプレート35が下方に移動させられてウエハ処理位置に位置づけられる(図1参照)。このようにリフトピンプレート35が下方に移動させられている間に、回転カップ10に設けられた支持ピン15によって、ウエハWの下面が支持される。その後、トッププレート駆動部49によって、トッププレート40が下方位置に位置づけられる。なお、本実施の形態では、回転カップ10の内周面10fが下方に向かって傾斜している(図2参照)。このため、例えウエハWが誤って回転カップ10上に配置された場合であっても、ウエハWを下方へ滑らせることができ、ウエハWを支持ピン15によって確実に支持させることができる。
次に、回転駆動部60により回転軸31が回転駆動されることによって、ベースプレート30および回転カップ10が回転され、この結果、回転カップ10に設けられた支持ピン15上のウエハWが回転される(図1参照)。ここで、回転軸31は、モータ61から駆動ベルト63を介してプーリ62に駆動力が付与されることによって、回転駆動される。
このとき、ウエハWの下面には、処理液供給部39から供給された処理液が供給される(図1参照)。そして、ウエハWの下面に供給された処理液は、ウエハWが回転することによって発生する遠心力によって周縁外方に向かって移動される。
他方、トッププレート40の中心部に設けられた不活性ガス供給口47aからは窒素ガスが供給される(図1参照)。そして、この窒素ガスは、ウエハWの上面を経た後、ウエハWと回転カップ10との間の間隙D2に供給される(図2参照)。このため、ウエハWの周縁部に達した処理液が、毛細管現象によって、ウエハWと支持ピン15との間およびウエハWと回転カップ10との間から、ウエハWの上面側に回り込むことを防止することができる。
ところで、本実施の形態によれば、回転カップ10に、周縁内方に突出し、被処理体の周縁部の下面を支持する支持ピン15が設けられている。このため、回転カップ10をウエハWの周縁部に近接した位置に設けることができる(図2参照)。この結果、ウエハWの下面に供給された処理液が、ウエハWの周縁部から飛び散ることを防止することができる。
また、支持ピン15によって支持されたウエハWの上面の位置を、回転カップ10の下面に対して均一にすることもできる(ウエハWの周縁部のあらゆる箇所で、ウエハWと回転カップ10との間の間隙D2を均一にすることができる)(図2参照)。このため、ウエハWの上面側を流れる窒素ガスの流れを均一にすることができるので、ウエハWの周縁部に達した処理液が、毛細管現象によって、ウエハWと支持ピン15および回転カップ10との間から、ウエハWの上面側に回り込むことをより確実に防止することができる。すなわち、本実施の形態によれば、ウエハWの周縁部のあらゆる箇所で、ウエハWと回転カップ10との間の間隙D2を均一にすることができるので、ウエハWと回転カップ10との間の間隙D2に供給される窒素ガスの量を均一にすることができる。このため、処理液がウエハWの上面側に回り込むことを防止するために必要な窒素ガスの量を容易に決めることができ、ウエハWの周縁部に達した処理液が、ウエハWの上面側に回り込むことをより確実に防止することができるのである。
また、このように、支持ピン15によって支持されたウエハWの上面の位置を回転カップ10の下面に対して均一にすることができるので、下方位置にあるトッププレート40の下端とウエハWの上面との間の間隙D3も、ウエハWの周縁部のあらゆる箇所で均一にすることができる(図5および図6参照)。このため、トッププレート40の下端を経てウエハWの周縁部に至る窒素ガスをより均一にすることができる。
なお、本実施の形態によれば、支持ピン15と回転カップ10とが一体で構成されているので、支持ピン15で支持されたウエハWと回転カップ10との間の間隙D2を確実に均一にすることができる。このため、ウエハWの上面側を流れる窒素ガスの流れをより均一にすることができ、ウエハWの周縁部に達した処理液がウエハWの上面側に回り込むことをさらに確実に防止することができる。
さらに、本実施の形態によれば、スペーサ11と回転カップ10とも一体で構成されている。このため、支持ピン15で支持されたウエハWの高さ位置を、ベースプレート30の高さ位置に対して均一にすることができる(ウエハWの周縁部のあらゆる箇所で、所定の距離D1を維持することができる)(図2参照)。この結果、ウエハWの下面側を流れる窒素ガスの流れを均一にすることができるので、ウエハWの処理精度をさらに向上させることができる。
ところで、本実施の形態において、処理液供給機構37,39からウエハWの下面に供給される処理液を、適宜変更することができる。処理液供給機構37,39は、例えば、まず、希フッ酸(SC1)を供給し、その後、純水(DIW)を供給することができる。
上述のような処理液によるウエハWを洗浄する処理が終了すると、処理液供給部39からの処理液(例えば、純水)の供給が停止される。
次に、回転駆動部60によって回転軸31が高速回転される。この結果、支持ピン15上のウエハWが高速回転され、ウエハWが乾燥される(図1参照)。その後、回転駆動機構60のモータ61が停止され、支持ピン15上のウエハWの回転も停止される(図1参照)。
次に、トッププレート駆動部49によって、トッププレート40がウエハWの受け渡し位置よりも上方位置に位置づけられる。その後、リフト軸駆動部(図示せず)によって、リフトピンプレート35が上方位置に移動させられて、ウエハWが受け渡し位置(上方位置)に位置づけられる。
次に、搬送ロボット(図示せず)によって、リフトピンプレート35上からウエハWが除去される。このようにして、一枚のウエハWの処理が終了する。
ところで、上記では、トッププレート40の中心部に不活性ガス供給口47aが設けられている態様を用いて説明した。しかしながら、これに限ることなく、例えば、図5に示すように、トッププレート40の周縁部であってウエハWの周縁部に対向する位置に、不活性ガス供給管47が設けられていてもよい。
また、ウエハWの上面側に、ウエハWと回転カップ10との間の間隙D2に、純水を供給する純水供給部48をさらに設けてもよい。具体的には、例えば図5に示すように、トッププレート40の周縁部であってウエハWの周縁部に対向する位置に、純水を供給する純水供給部48が設けられてもよい。このように純水供給部48を設けることによって、ウエハWの周縁部の上面もリンスすることができる。
なお、上記では、支持ピン15と回転カップ10とが一体で構成されている態様を用いて説明した。しかしながら、これに限られることなく、支持ピン15が回転カップ10と別体を構成し、支持ピン15が回転カップ10に取り付けられるような構成からなっていてもよい。
また、上記では、スペーサ11と回転カップ10とが一体で構成されている態様を用いて説明した。しかしながら、これに限られることなく、スペーサ11が回転カップ10と別体を構成し、スペーサ11が回転カップ10に取り付けられるような構成からなっていてもよい。
第2の実施の形態
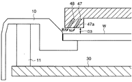
次に、図6および図7(a)(b)により、本発明の第2の実施の形態について説明する。図6および図7(a)(b)に示す第2の実施の形態は、トッププレート40が回転カップ10の上方まで延びた周縁外方突出部40pを有している。また、周縁外方突出部40p内には、吸引力を付与する吸引部70に連結された吸引管75が延在しており、吸引管75の吸引部70と反対側の端部が、周縁外方突出部40pに付着した処理液を吸引する吸引口75aを構成している。なお、これら吸引部70と吸引管75によって、吸引機構が構成されている。その他の構成は、図1乃至図5に示す第1の実施の形態と略同一である。
図6および図7(a)(b)に示す第2の実施の形態において、図1乃至図5に示す第1の実施の形態と同一部分には同一符号を付して詳細な説明は省略する。
図6に示すように、周縁外方突出部40pに、吸引部70に連結された吸引管75の吸引口75aが設けられている。そして、図7(a)に示すように、トッププレート40の周縁外方突出部40pの下面や下方外側面40q(図6参照)に付着した純水(処理液供給機構37,39から供給された純水)には、回転カップ10が回転することによって生じる気流の流れによって、回転力が付与される。このため、周縁外方突出部40pの下面や下方外側面40qに付着した処理液は、これら周縁外方突出部40pの下面や下方外側面40q上を移動し、吸引口75aから吸引されることとなる。
なお、周縁外方突出部40pの周縁外方側(トッププレート40の半径方向において吸引口75aから離れた位置)に付着した処理液は、周縁外方突出部40pと回転カップ10との間に発生する気流の流れによって、周縁外方突出部40pの周縁外方に向かって流れて除去されることとなる(図6および図7(a)参照)。また、回転カップ10の上面に付着した処理液は、回転カップ10が回転することによって発生する遠心力によって、周縁外方突出部40pと回転カップ10との間から周縁外方に向かって流れて除去されることとなる。
これらのことから、処理液が、回転カップ10の内周端とウエハWの外周端との間からウエハWの上方へと飛び散って、周縁外方突出部40pの下面、下方外側面40qおよび回転カップ10の上面に付着した場合であっても(図6参照)、当該処理液を確実に除去することができる。
従って、搬送ロボット(図示せず)によって、処理済みのウエハWがトッププレート40の下方を移動されるときに、トッププレート40の周縁外方突出部40pの下面や下方外側面40qに付着した処理液が、当該ウエハW上に落ちることを防止することができる。また、周縁外方突出部40pの下面や下方外側面40qに付着した処理液によって、次回以降に処理されるウエハWに、悪影響を及ぼされることも防止することができる。
さらに、周縁外方突出部40pの下面や下方外側面40q上を移動する処理液によって、これら周縁外方突出部40pの下面や下方外側面40qを洗浄することができる。このため、周縁外方突出部40pの下面および下方外側面40qを、清潔な状態で維持することができる。
なお、上記では、周縁外方突出部40pに1個の吸引口75aが設けられている態様を用いて説明した。しかしながら、これに限られることなく、図7(b)に示すように、周縁外方突出部40pに2個の吸引口(第一吸引口76aおよび第二吸引口77a)が設けられてもよい。
この場合には、吸引部70と反対側の端部が第一吸引口76aを構成する第一吸引管76に、開閉自在の第一バルブ71が設けられ、吸引部70と反対側の端部が第二吸引口77aを構成する第二吸引管77に、開閉自在の第二バルブ72が設けられている。
このため、第一バルブ71および第二バルブ72の開閉状態を調整することによって、第一吸引口76aと第二吸引口77aで吸引される処理液の種類を代えることができる。例えば、第一吸引口76aを再利用する処理液を吸引するために利用し、第二吸引口77aは、排液として処理する処理液を吸引するために利用することができる。また、第一吸引口76aを薬液を吸引するために利用し、第二吸引口77aを純水を吸引するために利用することもできる。
なお、第一吸引口76aによって処理液を吸引する場合には、第一バルブ71が開状態となり第二バルブ72が閉状態となっている。他方、第二吸引口77aによって処理液を吸引する場合には、第一バルブ71が閉状態となり第二バルブ72が開状態となっている。
ところで、上述した各実施の形態において、ウエハWの下面の中心部に処理液が供給され、ウエハWの下面全体と側面が処理される態様を用いて説明したが、これに限られることなく、ウエハWの下面の周縁部に処理液が供給され、ウエハWの下面の周縁部と側面が処理されるものであってもよい。
本発明の第1の実施の形態による液処理装置の構成を示す概略断面図。 本発明の第1の実施の形態による液処理装置の回転カップ近傍を拡大した概略断面図。 本発明の第1の実施の形態による液処理装置の回転カップの斜視図。 図3のAの箇所を拡大した斜視図。 本発明の第1の実施の形態の変形例による液処理装置の回転カップ近傍を拡大した概略断面図。 本発明の第2の実施の形態による液処理装置の回転カップ近傍の処理液の流れを示した概略断面図。 本発明の第2の実施の形態による液処理装置の回転カップと吸引機構の上方平面図。
符号の説明
W ウエハ(被処理体)
10 回転カップ
11 スペーサ
15 支持ピン(支持部)
20 排液カップ
21 排液管
25 排気管
26 排気カップ
30 ベースプレート(ベース)
37 処理液供給管
39 処理液供給部
40 トッププレート
40p 周縁外方突出部
47 不活性ガス供給管
48 純水供給部
60 回転駆動部
70 吸引部
71 第一バルブ
72 第二バルブ
75,76,77 吸引管

Claims (9)

  1. 被処理体の下面と側面を処理する液処理装置において、
    前記被処理体に処理液を供給する処理液供給機構と、
    前記被処理体を処理した処理液を排出する排出機構と、
    前記被処理体の周縁外方に設けられ、前記被処理体を処理した処理液を前記排出機構へと導く回転カップと、
    前記回転カップに設けられ、周縁内方に突出し、前記被処理体の周縁部を支持する支持部と、
    前記回転カップを回転させる回転駆動部と、
    を備えたことを特徴とする液処理装置。
  2. 前記被処理体の上面側に設けられ、前記被処理体と前記回転カップとの間の間隙に、不活性ガスを供給する不活性ガス供給機構をさらに備えたことを特徴とする請求項1に記載の液処理装置。
  3. 前記被処理体の上面側に設けられ、前記被処理体と前記回転カップとの間の間隙に、純水を供給する純水供給部をさらに備えたことを特徴とする請求項2に記載の液処理装置。
  4. 前記被処理体の上面側に設けられ、該被処理体を覆うトッププレートをさらに備え、
    前記トッププレートは、前記回転カップの上方まで延びた周縁外方突出部を有し、
    前記周縁外方突出部に、該周縁外方突出部に付着した処理液を吸引する吸引口を有する吸引機構が設けられていることを特徴とする請求項1乃至3のいずれか1項に記載の液処理装置。
  5. 前記吸引口は、第一吸引口と、第二吸引口を有することを特徴とする請求項4に記載の液処理装置。
  6. 前記第一吸引口は、再利用する処理液を吸引し、
    前記第二吸引口は、排液として処理する処理液を吸引することを特徴とする請求項5に記載の液処理装置。
  7. 前記処理液供給機構から前記被処理体に供給される前記処理液は、洗浄液とリンス液を含み、
    前記第一吸引口は、洗浄液を吸引し、
    前記第二吸引口は、リンス液を吸引することを特徴とする請求項5に記載の液処理装置。
  8. 前記支持部と前記回転カップとが一体で構成されることを特徴とする請求項1乃至7のいずれか1項に記載の液処理装置。
  9. 前記回転カップの下方側に設けられ、前記回転駆動部によって回転されるベースと、
    前記ベースと前記回転カップとの間に配置されたスペーサと、をさらに備え、
    前記スペーサと前記回転カップとが一体で構成されることを特徴とする請求項1乃至8のいずれか1項に記載の液処理装置。
JP2008191344A 2008-07-24 2008-07-24 液処理装置 Active JP5355951B2 (ja)

Priority Applications (4)

Application Number Priority Date Filing Date Title
JP2008191344A JP5355951B2 (ja) 2008-07-24 2008-07-24 液処理装置
KR1020090064964A KR101377196B1 (ko) 2008-07-24 2009-07-16 액처리 장치
US12/506,506 US8590547B2 (en) 2008-07-24 2009-07-21 Liquid processing apparatus
TW098125031A TWI446418B (zh) 2008-07-24 2009-07-24 液體處理裝置

Applications Claiming Priority (1)

Application Number Priority Date Filing Date Title
JP2008191344A JP5355951B2 (ja) 2008-07-24 2008-07-24 液処理装置

Publications (2)

Publication Number Publication Date
JP2010028059A true JP2010028059A (ja) 2010-02-04
JP5355951B2 JP5355951B2 (ja) 2013-11-27

Family

ID=41567547

Family Applications (1)

Application Number Title Priority Date Filing Date
JP2008191344A Active JP5355951B2 (ja) 2008-07-24 2008-07-24 液処理装置

Country Status (4)

Country Link
US (1) US8590547B2 (ja)
JP (1) JP5355951B2 (ja)
KR (1) KR101377196B1 (ja)
TW (1) TWI446418B (ja)

Cited By (4)

* Cited by examiner, † Cited by third party
Publication number Priority date Publication date Assignee Title
JP2011222965A (ja) * 2010-03-24 2011-11-04 Tokyo Electron Ltd 液処理装置、液処理方法及びその液処理方法を実行させるためのプログラムを記録した記録媒体
KR20120028212A (ko) 2010-09-13 2012-03-22 도쿄엘렉트론가부시키가이샤 액처리 장치, 액처리 방법 및 기억 매체
JP2012084607A (ja) * 2010-10-07 2012-04-26 Tokyo Electron Ltd 液処理装置
US9305767B2 (en) 2011-03-16 2016-04-05 Tokyo Electron Limited Liquid processing apparatus, liquid processing method and storage medium

Families Citing this family (4)

* Cited by examiner, † Cited by third party
Publication number Priority date Publication date Assignee Title
JP5457381B2 (ja) * 2010-02-22 2014-04-02 東京エレクトロン株式会社 現像処理装置及び現像処理方法
JP6017262B2 (ja) * 2012-10-25 2016-10-26 東京エレクトロン株式会社 基板処理装置および基板処理方法
JP5951444B2 (ja) * 2012-10-25 2016-07-13 東京エレクトロン株式会社 基板処理装置および基板処理方法
JP2023140681A (ja) 2022-03-23 2023-10-05 株式会社Screenホールディングス 基板処理装置

Citations (4)

* Cited by examiner, † Cited by third party
Publication number Priority date Publication date Assignee Title
JP2000077378A (ja) * 1998-08-27 2000-03-14 Dainippon Screen Mfg Co Ltd 基板処理装置
JP2003286597A (ja) * 2002-03-27 2003-10-10 Dainippon Screen Mfg Co Ltd 基板処理装置およびそれを備えたメッキ装置
JP2004265912A (ja) * 2003-02-03 2004-09-24 Personal Creation Ltd 基板の処理装置
JP2008117971A (ja) * 2006-11-06 2008-05-22 Tokyo Electron Ltd 液処理装置

Family Cites Families (8)

* Cited by examiner, † Cited by third party
Publication number Priority date Publication date Assignee Title
JP3102831B2 (ja) 1994-06-20 2000-10-23 大日本スクリーン製造株式会社 回転処理装置
TW442336B (en) * 1997-08-19 2001-06-23 Tokyo Electron Ltd Film forming method
TW459266B (en) * 1997-08-27 2001-10-11 Tokyo Electron Ltd Substrate processing method
JP3745214B2 (ja) 2000-09-27 2006-02-15 大日本スクリーン製造株式会社 ベベルエッチング装置およびベベルエッチング方法
JP3892792B2 (ja) * 2001-11-02 2007-03-14 大日本スクリーン製造株式会社 基板処理装置および基板洗浄装置
US7584760B2 (en) * 2002-09-13 2009-09-08 Dainippon Screen Mfg. Co., Ltd. Substrate processing apparatus
JP4409312B2 (ja) 2004-02-18 2010-02-03 大日本スクリーン製造株式会社 基板周縁処理装置および基板周縁処理方法
CN100550291C (zh) * 2006-06-16 2009-10-14 东京毅力科创株式会社 液体处理装置及液体处理方法

Patent Citations (4)

* Cited by examiner, † Cited by third party
Publication number Priority date Publication date Assignee Title
JP2000077378A (ja) * 1998-08-27 2000-03-14 Dainippon Screen Mfg Co Ltd 基板処理装置
JP2003286597A (ja) * 2002-03-27 2003-10-10 Dainippon Screen Mfg Co Ltd 基板処理装置およびそれを備えたメッキ装置
JP2004265912A (ja) * 2003-02-03 2004-09-24 Personal Creation Ltd 基板の処理装置
JP2008117971A (ja) * 2006-11-06 2008-05-22 Tokyo Electron Ltd 液処理装置

Cited By (11)

* Cited by examiner, † Cited by third party
Publication number Priority date Publication date Assignee Title
JP2011222965A (ja) * 2010-03-24 2011-11-04 Tokyo Electron Ltd 液処理装置、液処理方法及びその液処理方法を実行させるためのプログラムを記録した記録媒体
KR20120028212A (ko) 2010-09-13 2012-03-22 도쿄엘렉트론가부시키가이샤 액처리 장치, 액처리 방법 및 기억 매체
JP2012084856A (ja) * 2010-09-13 2012-04-26 Tokyo Electron Ltd 液処理装置、液処理方法及び記憶媒体
US8887741B2 (en) 2010-09-13 2014-11-18 Tokyo Electron Limited Liquid processing apparatus, liquid processing method and storage medium
TWI483333B (zh) * 2010-09-13 2015-05-01 東京威力科創股份有限公司 液體處理裝置、液體處理方法及記憶媒體
KR101590661B1 (ko) 2010-09-13 2016-02-01 도쿄엘렉트론가부시키가이샤 액처리 장치, 액처리 방법 및 기억 매체
JP2012084607A (ja) * 2010-10-07 2012-04-26 Tokyo Electron Ltd 液処理装置
US8741099B2 (en) 2010-10-07 2014-06-03 Tokyo Electron Limited Liquid processing apparatus
KR101507487B1 (ko) 2010-10-07 2015-04-06 도쿄엘렉트론가부시키가이샤 액처리 장치
TWI500076B (zh) * 2010-10-07 2015-09-11 東京威力科創股份有限公司 液體處理裝置
US9305767B2 (en) 2011-03-16 2016-04-05 Tokyo Electron Limited Liquid processing apparatus, liquid processing method and storage medium

Also Published As

Publication number Publication date
KR20100011909A (ko) 2010-02-03
TW201013762A (en) 2010-04-01
KR101377196B1 (ko) 2014-03-25
TWI446418B (zh) 2014-07-21
US8590547B2 (en) 2013-11-26
US20100018557A1 (en) 2010-01-28
JP5355951B2 (ja) 2013-11-27

Similar Documents

Publication Publication Date Title
JP5355951B2 (ja) 液処理装置
JP6229933B2 (ja) 処理カップ洗浄方法、基板処理方法および基板処理装置
JP4018958B2 (ja) 基板処理装置
KR101280768B1 (ko) 기판처리장치 및 기판처리방법
JP5996425B2 (ja) 基板処理装置を洗浄するための洗浄治具および洗浄方法、および基板処理システム
JP4825178B2 (ja) 基板処理装置
KR101932775B1 (ko) 액처리 장치, 세정용 지그 및 세정 방법
JPWO2008013118A1 (ja) 液処理装置および液処理方法
JP2002353181A (ja) 枚葉式基板洗浄方法および枚葉式基板洗浄装置
JP5031671B2 (ja) 液処理装置、液処理方法および記憶媒体
JP5188217B2 (ja) 基板処理装置
JP2009135396A (ja) 基板処理装置および基板処理方法
CN104289463A (zh) 旋转清洗装置
TW201250887A (en) Substrate liquid processing apparatus
JP5005571B2 (ja) 液処理装置
JP5143657B2 (ja) 液処理装置
JP3917384B2 (ja) 基板処理装置および基板洗浄装置
JP6159200B2 (ja) 基板処理装置および洗浄用治具
JP4043019B2 (ja) 基板処理装置
JP7539801B2 (ja) 基板処理装置
JP2019106560A (ja) 基板処理装置および基板処理方法
JP7772142B1 (ja) ワークの洗浄装置およびワークの洗浄方法
JP2003045772A (ja) スピン処理装置
JP6513774B2 (ja) 基板処理装置および基板処理方法
JP2000105076A (ja) スピン処理装置

Legal Events

Date Code Title Description
A621 Written request for application examination

Free format text: JAPANESE INTERMEDIATE CODE: A621

Effective date: 20100823

A977 Report on retrieval

Free format text: JAPANESE INTERMEDIATE CODE: A971007

Effective date: 20120116

A131 Notification of reasons for refusal

Free format text: JAPANESE INTERMEDIATE CODE: A131

Effective date: 20120302

A521 Request for written amendment filed

Free format text: JAPANESE INTERMEDIATE CODE: A523

Effective date: 20120425

A131 Notification of reasons for refusal

Free format text: JAPANESE INTERMEDIATE CODE: A131

Effective date: 20121030

A521 Request for written amendment filed

Free format text: JAPANESE INTERMEDIATE CODE: A523

Effective date: 20121213

A131 Notification of reasons for refusal

Free format text: JAPANESE INTERMEDIATE CODE: A131

Effective date: 20130507

A521 Request for written amendment filed

Free format text: JAPANESE INTERMEDIATE CODE: A523

Effective date: 20130624

TRDD Decision of grant or rejection written
A01 Written decision to grant a patent or to grant a registration (utility model)

Free format text: JAPANESE INTERMEDIATE CODE: A01

Effective date: 20130802

A61 First payment of annual fees (during grant procedure)

Free format text: JAPANESE INTERMEDIATE CODE: A61

Effective date: 20130828

R150 Certificate of patent or registration of utility model

Ref document number: 5355951

Country of ref document: JP

Free format text: JAPANESE INTERMEDIATE CODE: R150

Free format text: JAPANESE INTERMEDIATE CODE: R150

R250 Receipt of annual fees

Free format text: JAPANESE INTERMEDIATE CODE: R250

R250 Receipt of annual fees

Free format text: JAPANESE INTERMEDIATE CODE: R250

R250 Receipt of annual fees

Free format text: JAPANESE INTERMEDIATE CODE: R250

R250 Receipt of annual fees

Free format text: JAPANESE INTERMEDIATE CODE: R250

R250 Receipt of annual fees

Free format text: JAPANESE INTERMEDIATE CODE: R250

R250 Receipt of annual fees

Free format text: JAPANESE INTERMEDIATE CODE: R250

R250 Receipt of annual fees

Free format text: JAPANESE INTERMEDIATE CODE: R250

R250 Receipt of annual fees

Free format text: JAPANESE INTERMEDIATE CODE: R250