JP2010023824A - 自動車窓ガラスを切り抜くための方法および装置 - Google Patents

自動車窓ガラスを切り抜くための方法および装置 Download PDF

Info

Publication number
JP2010023824A
JP2010023824A JP2009098485A JP2009098485A JP2010023824A JP 2010023824 A JP2010023824 A JP 2010023824A JP 2009098485 A JP2009098485 A JP 2009098485A JP 2009098485 A JP2009098485 A JP 2009098485A JP 2010023824 A JP2010023824 A JP 2010023824A
Authority
JP
Japan
Prior art keywords
wire
winder
guide
cutting
unit
Prior art date
Legal status (The legal status is an assumption and is not a legal conclusion. Google has not performed a legal analysis and makes no representation as to the accuracy of the status listed.)
Granted
Application number
JP2009098485A
Other languages
English (en)
Other versions
JP5356102B2 (ja
Inventor
William Finck
フィンク ウィリアム
Current Assignee (The listed assignees may be inaccurate. Google has not performed a legal analysis and makes no representation or warranty as to the accuracy of the list.)
Belron Hungary Kft Zug Branch
Original Assignee
Belron Hungary Kft Zug Branch
Priority date (The priority date is an assumption and is not a legal conclusion. Google has not performed a legal analysis and makes no representation as to the accuracy of the date listed.)
Filing date
Publication date
Application filed by Belron Hungary Kft Zug Branch filed Critical Belron Hungary Kft Zug Branch
Publication of JP2010023824A publication Critical patent/JP2010023824A/ja
Application granted granted Critical
Publication of JP5356102B2 publication Critical patent/JP5356102B2/ja
Anticipated expiration legal-status Critical
Expired - Fee Related legal-status Critical Current

Links

Images

Classifications

    • BPERFORMING OPERATIONS; TRANSPORTING
    • B60VEHICLES IN GENERAL
    • B60JWINDOWS, WINDSCREENS, NON-FIXED ROOFS, DOORS, OR SIMILAR DEVICES FOR VEHICLES; REMOVABLE EXTERNAL PROTECTIVE COVERINGS SPECIALLY ADAPTED FOR VEHICLES
    • B60J1/00Windows; Windscreens; Accessories therefor
    • BPERFORMING OPERATIONS; TRANSPORTING
    • B26HAND CUTTING TOOLS; CUTTING; SEVERING
    • B26DCUTTING; DETAILS COMMON TO MACHINES FOR PERFORATING, PUNCHING, CUTTING-OUT, STAMPING-OUT OR SEVERING
    • B26D1/00Cutting through work characterised by the nature or movement of the cutting member or particular materials not otherwise provided for; Apparatus or machines therefor; Cutting members therefor
    • B26D1/01Cutting through work characterised by the nature or movement of the cutting member or particular materials not otherwise provided for; Apparatus or machines therefor; Cutting members therefor involving a cutting member which does not travel with the work
    • B26D1/547Cutting through work characterised by the nature or movement of the cutting member or particular materials not otherwise provided for; Apparatus or machines therefor; Cutting members therefor involving a cutting member which does not travel with the work having a wire-like cutting member
    • BPERFORMING OPERATIONS; TRANSPORTING
    • B26HAND CUTTING TOOLS; CUTTING; SEVERING
    • B26BHAND-HELD CUTTING TOOLS NOT OTHERWISE PROVIDED FOR
    • B26B27/00Hand cutting tools not provided for in the preceding groups, e.g. finger rings for cutting string, devices for cutting by means of wires
    • B26B27/002Tools using wires as cutting means
    • BPERFORMING OPERATIONS; TRANSPORTING
    • B26HAND CUTTING TOOLS; CUTTING; SEVERING
    • B26BHAND-HELD CUTTING TOOLS NOT OTHERWISE PROVIDED FOR
    • B26B7/00Hand knives with reciprocating motor-driven blades
    • BPERFORMING OPERATIONS; TRANSPORTING
    • B32LAYERED PRODUCTS
    • B32BLAYERED PRODUCTS, i.e. PRODUCTS BUILT-UP OF STRATA OF FLAT OR NON-FLAT, e.g. CELLULAR OR HONEYCOMB, FORM
    • B32B43/00Operations specially adapted for layered products and not otherwise provided for, e.g. repairing; Apparatus therefor
    • B32B43/006Delaminating
    • BPERFORMING OPERATIONS; TRANSPORTING
    • B60VEHICLES IN GENERAL
    • B60JWINDOWS, WINDSCREENS, NON-FIXED ROOFS, DOORS, OR SIMILAR DEVICES FOR VEHICLES; REMOVABLE EXTERNAL PROTECTIVE COVERINGS SPECIALLY ADAPTED FOR VEHICLES
    • B60J1/00Windows; Windscreens; Accessories therefor
    • B60J1/02Windows; Windscreens; Accessories therefor arranged at the vehicle front, e.g. structure of the glazing, mounting of the glazing
    • BPERFORMING OPERATIONS; TRANSPORTING
    • B65CONVEYING; PACKING; STORING; HANDLING THIN OR FILAMENTARY MATERIAL
    • B65HHANDLING THIN OR FILAMENTARY MATERIAL, e.g. SHEETS, WEBS, CABLES
    • B65H2701/00Handled material; Storage means
    • B65H2701/30Handled filamentary material
    • B65H2701/35Ropes, lines
    • B65H2701/354Cutting lines, e.g. for grass cutting
    • YGENERAL TAGGING OF NEW TECHNOLOGICAL DEVELOPMENTS; GENERAL TAGGING OF CROSS-SECTIONAL TECHNOLOGIES SPANNING OVER SEVERAL SECTIONS OF THE IPC; TECHNICAL SUBJECTS COVERED BY FORMER USPC CROSS-REFERENCE ART COLLECTIONS [XRACs] AND DIGESTS
    • Y10TECHNICAL SUBJECTS COVERED BY FORMER USPC
    • Y10TTECHNICAL SUBJECTS COVERED BY FORMER US CLASSIFICATION
    • Y10T156/00Adhesive bonding and miscellaneous chemical manufacture
    • Y10T156/11Methods of delaminating, per se; i.e., separating at bonding face
    • Y10T156/1168Gripping and pulling work apart during delaminating
    • Y10T156/1179Gripping and pulling work apart during delaminating with poking during delaminating [e.g., jabbing, etc.]
    • Y10T156/1184Piercing layer during delaminating [e.g., cutting, etc.]
    • YGENERAL TAGGING OF NEW TECHNOLOGICAL DEVELOPMENTS; GENERAL TAGGING OF CROSS-SECTIONAL TECHNOLOGIES SPANNING OVER SEVERAL SECTIONS OF THE IPC; TECHNICAL SUBJECTS COVERED BY FORMER USPC CROSS-REFERENCE ART COLLECTIONS [XRACs] AND DIGESTS
    • Y10TECHNICAL SUBJECTS COVERED BY FORMER USPC
    • Y10TTECHNICAL SUBJECTS COVERED BY FORMER US CLASSIFICATION
    • Y10T156/00Adhesive bonding and miscellaneous chemical manufacture
    • Y10T156/19Delaminating means
    • Y10T156/1961Severing delaminating means [e.g., chisel, etc.]
    • Y10T156/1967Cutting delaminating means

Landscapes

  • Engineering & Computer Science (AREA)
  • Mechanical Engineering (AREA)
  • Forests & Forestry (AREA)
  • Life Sciences & Earth Sciences (AREA)
  • Automobile Manufacture Line, Endless Track Vehicle, Trailer (AREA)
  • Re-Forming, After-Treatment, Cutting And Transporting Of Glass Products (AREA)
  • Winding Filamentary Materials (AREA)
  • Storage Of Web-Like Or Filamentary Materials (AREA)
  • Grinding And Polishing Of Tertiary Curved Surfaces And Surfaces With Complex Shapes (AREA)
  • Finish Polishing, Edge Sharpening, And Grinding By Specific Grinding Devices (AREA)
  • Fittings On The Vehicle Exterior For Carrying Loads, And Devices For Holding Or Mounting Articles (AREA)
  • Joining Of Glass To Other Materials (AREA)
  • Window Of Vehicle (AREA)
  • Knives (AREA)

Abstract

【課題】装置の再位置決めがほとんどないか全くない、自動車窓ガラスを切り抜きを達成する新規な自動車窓ガラス切り抜きユニットを提供する。
【解決手段】ビークルガラスはめ込みパネルを切り取る際に、切断ワイヤと使用するための巻き取り機ユニット1が開示される。このユニットは、上記ガラスはめ込みパネルに取り付けられ得、そしてワイヤを巻き取るための第1および第2の巻き取り機スプール4、5を含む。案内要素(代表的には、プーリー)の周りの少なくとも1つのワイヤラップが、取り付け手段から離れて位置決めされる。このユニット1は、単独、または補助案内配列物と組み合わせてのいずれかで種々の技法で用いられ得る。
【選択図】図1

Description

本発明は、自動車窓ガラスの切り抜く技法に関する。
自動車のウインドスクリーン(フロントガラス)のような自動車窓ガラスは、代表的には、支持フレーム中に、この窓ガラスおよびフレームの周縁の周りの連続的ビード中に付与されたポリウレタンのような接着剤結合材料によって結合されている。
ワイヤ切り抜き技法が、従前には提案され、そして(置き換えまたはその他のために)ガラス除去を行うために用いられている。例示の技法は、例えば、EP−A−0093283(特許文献1)、カナダ国特許明細書第2034221号(特許文献2)、米国特許第6616800号(特許文献3)、独国特許第4012207号(特許文献4)ならびにPCT公開第WO86/07017号(特許文献5)およびPCT公開第WO98/58779号(特許文献6)に開示されている。
欧州特許出願公開第0093283号明細書 カナダ国特許第2034221号明細書 米国特許第6616800号明細書 独国特許第4012207号明細書 国際公開第WO86/07017号パンフレット 国際公開第WO98/58779号パンフレット
改良された技法および装置が、ここで考案された。
第1の局面によれば、本発明は、自動車窓ガラスを切り抜く際に切断ワイヤとの使用のための巻き取り機ユニットを提供し、このユニットは:このユニットを取り付けるための取り付け手段;切断ワイヤを巻き取るための第1および第2の巻き取り機スプール;およびこの巻き取り機スプールおよび/またはこの取り付け手段から間隔を置かれた案内要素の周りの少なくとも1つのワイヤラップを備える。
案内要素の周りのこのラップは、好ましくは、個々の近位巻き取り機スプールの側に位置決めされる。案内要素の周りのこのラップは、上記ユニットに対して回転可能に取り付けられた案内ホイールまたはプーリーを備える。好ましくは、上記巻き取り機スプールは、並んだ配列で整列され、個々の案内ホイールまたはプーリーが各個々の巻き取り機スプールの外側に位置決めされる。上記案内ホイールは、上記ユニットに対して回転可能に取り付けられる。この案内ホイールまたはプーリーはすべて、好ましくは、上記ワイヤの位置によって規定される同一平面中にある。上記巻き取り機スプールの少なくとも1つは、スプール回転を一方の方向または他方の方向に阻害されるようにするラチェト配列物を含む。有利には、このラチェトは、阻害された方向に回転を可能にするように解除可能である。上記取り付け手段は、所望であれば、1つ以上の吸引マウントを備える。1つの実施形態では、上記ユニットは、4つの案内ホイールまたはプーリーを含み得、上記ワイヤを案内し、上記案内ホイールまたはプーリーが、多角形の概念的な隅に実質的に提供される。
上記ユニットは、ワイヤとともに用いられ得、ガラスはめ込みパネルを取り除く。代表的には、上記ワイヤの端部は、交差し、そして上記巻取りスプールの個々のスプールに連結される。
特定の技法および実施形態では、上記巻き取り機ユニットは、有利には、案内配列物と組み合わせて用いられ得る。
さらなる局面によれば、本発明は、介在された結合性材料の手段によりフレーム中に結合された自動車窓ガラスを切り取る方法を提供し、この方法は:ウインドスクリーン上にワイヤ巻き取り機ユニットを設定する工程であって、この巻き取り機ユニットは、複数の巻き取り機スプール、および上記自動車窓ガラスの隅に近接して位置決めされた案内要素の周りの少なくとも1つのワイヤラップを含む工程;ワイヤ案内配列物を、上記ワイヤ巻き取り機ユニットから間隔を置かれた上記ウインドスクリーン上に設定する工程であって、このワイヤ案内配列物は、上記ガラスはめ込みパネルの個々の隅に近接して位置決めされた案内要素の周りに個々のワイヤラップを含む工程;上記ガラスはめ込みパネルの周縁の周りに切断ワイヤを巻き付け、そして上記結合性材料を通って上記ワイヤの第1端部および第2の端部を挿入する工程;上記ワイヤを、上記巻き取り機スプールにより対向する端部から巻き取る工程、を包含する。
上記ワイヤ巻き取り機ユニットおよび上記ワイヤ案内配列物の上記ガラスはめ込みパネルに対する設定位置は、上記切り抜き手順を通じて実質的に固定されたままであることが好ましい。従って、この手順の間に上記装置を必ずしも再配置する必要性はない。
有利には、上記巻き取り機スプールは間隔を置かれ、そして上記切断ワイヤの対向する端部部分は、個々のスプールの周りで巻かれ、ワイヤの交差部分が上記巻き取り機スプールに隣接して生成される。
上記ワイヤ巻き取り機ユニットおよびワイヤ案内配列物は、好ましくは、上記自動車の内部の上記ガラス上に設定され、上記切断ワイヤは、上記自動車の外部のガラスの周縁の周りに巻かれる。
案内要素のまわりの1つ以上のラップが、回転可能に取り付けられた案内ホイールを備えることが好ましい。
より特定すれば、本願発明は以下の項目に関し得る。
(項目1)
ビークルガラスはめ込みパネルを切り取る際に切断ワイヤとの使用のための巻き取り機ユニットであって:上記ユニットを取り付けるための取り付け手段;切断ワイヤを巻き取るための第1および第2の巻き取り機スプール;および上記巻き取り機スプールおよび/または上記取り付け手段から間隔を置かれた案内要素の周りの少なくとも1つのワイヤラップを備える、巻き取り機ユニット。
(項目2)
上記案内要素の周りのラップが、上記ユニットに対して回転可能に取り付けられた案内ホイールまたはプーリーを備える、項目1に記載の巻き取り機ユニット。
(項目3)
上記巻き取り機スプールが、並んだ配列で整列され、個々の案内ホイールまたはプーリーが各個々の巻き取り機スプールの外側に位置決めされる、項目1または2に記載の巻き取り機ユニット。
(項目4)
上記案内ホイールが、上記ユニットに対して回転可能に取り付けられる、項目2または3に記載の巻き取り機ユニット。
(項目5)
少なくとも1つの巻き取り機スプールが、スプール回転を一方の方向または他方の方向に阻害されるようにするラチェト配列物を含む、項目1〜4のいずれか1項に記載の巻き取り機ユニット。
(項目6)
上記ラチェトが、(反対の)両方向のスプール回転を可能にするように解除可能である、項目5に記載の巻き取り機ユニット。
(項目7)
上記取り付け手段が、1つ以上の吸引マウントを備える、項目1〜6のいずれか1項に記載の巻き取り機ユニット。
(項目8)
上記ユニットが、4つの案内ホイールまたはプーリーを含み、上記ワイヤを案内し、上記案内ホイールまたはプーリーが、多角形の概念的な隅に実質的に提供される、項目1〜7のいずれか1項に記載の巻き取り機ユニット。
(項目9)
介在された結合性材料の手段によりフレーム中に結合されたビークルガラスはめ込みパネルを切り取る方法であって:
ウインドスクリーン上にワイヤ巻き取り機ユニットを設定する工程であって、上記巻き取り機ユニットが、複数の巻き取り機スプール、および上記ビークルガラスはめ込みパネルの隅に近接して位置決めされた案内要素の周りの少なくとも1つのワイヤラップを含む工程;
上記ワイヤ案内配列物を、上記ワイヤ巻き取り機ユニットから間隔を置かれた上記ウインドスクリーン上に設定する工程であって、上記ワイヤ案内配列物が、上記ガラスはめ込みパネルの個々の隅に近接して位置決めされた案内要素の周りに個々のワイヤラップを含む工程;
上記ガラスはめ込みパネルの周縁の周りに切断ワイヤを巻き付け、そして上記結合性材料を通って上記ワイヤの第1端部および第2の端部を挿入する工程;
上記ワイヤを、上記巻き取り機スプールにより対向する端部から巻き取る工程、包含する、方法。
(項目10)
上記ワイヤ巻き取り機ユニットおよび上記ワイヤ案内配列物の上記ガラスはめ込みパネルに対する設定位置が、上記切り取り手順を通じて実質的に固定されたままである、項目9に記載の方法。
(項目11)
上記巻き取り機スプールが間隔を置かれ、そして上記切断ワイヤの対向する端部部分が、個々のスプールの周りで巻かれ、ワイヤの交差部分が上記巻き取り機スプールに隣接して生成される、項目9または項目10に記載の方法。
(項目12)
上記ワイヤ巻き取り機ユニットおよびワイヤ案内配列物が、上記ビークルの内部の上記ガラスはめ込みパネル上に設定され、上記切断ワイヤが、上記ビークルの外部のガラスはめ込みパネルの周縁の周りに巻かれる、項目9〜11のいずれか1項に記載の方法。
(項目13)
案内要素のまわりの1つ以上のラップが、回転可能に取り付けられた案内ホイールを備える、項目9〜12のいずれか1項に記載の方法。
(項目14)
上記ワイヤ案内配列物が、1つ以上の吸引マウントを備える、項目9〜13のいずれか1項に記載の方法。
(項目15)
上記ワイヤ巻き取り機ユニットが、1つ以上の吸引マウントを備える取り付け配列物を備える、項目9〜14のいずれか1項に記載の方法。
(項目16)
設定において、上記切断ワイヤが、上記ガラスはめ込みパネルの隅に近接した位置で上記結合性材料を通過する、項目9〜15のいずれか1項に記載の方法。
(項目17)
設定において、上記切断ワイヤが、上記ワイヤ巻き取り機ユニットと同じ側の上記ガラスはめ込みパネルの位置で上記結合性材料を通過する、項目16に記載の方法。
(項目18)
設定において、上記切断ワイヤが、上記ワイヤ巻き取り機ユニットに実質的に直接に下の位置で、上記結合性材料を通過する、項目17に記載の方法。
(項目19)
上記案内配列物の案内要素の周りのワイヤラップが、上記ガラスはめ込みパネルの同じ側に位置決めされる、項目9〜18のいずれか1項に記載の方法。
(項目20)
設定において、上記ビークルの内部で、より長い長さの切断ワイヤが、上記案内配列物の案内要素の周りの上記ラップの周りに延び、そして上記巻き取り機ユニットの第1の巻き取り機スプール上に巻かれ、より短い長さの切断ワイヤが、上記上記巻き取り機ユニットの案内要素の周りのラップの周りに延び、そして上記巻き取り機ユニットの第2の巻き取り機スプール上に巻かれる、項目9〜19のいずれか1項に記載の方法。
(項目21)
上記より短い長さのワイヤに連結された上記スプールが最初に巻き込まれて第1の切断相を行い;上記より長い長さのワイヤに連結されたスプールが実質的に巻き込まれる、項目20に記載の方法。
(項目22)
上記巻き取る手順の間に、上記スプールの1つのラチェットが解除されて、上記切断ワイヤの先に巻かれた部分の緩みまたは解きを容易にする、項目9〜21のいずれか1項に記載の方法。
(項目23)
上記案内配列物が、マウント、および一対の位置決めリムであって、上記リムの近位端によって規定される頂点で上記マウントから延びるリムを含み、上記リムの各々が、その遠位端で上記切断ワイヤのために案内要素の周りに個々のラップを保持する、項目9〜22のいずれか1項に記載の切り取り方法を支援して実施することにおける使用のための案内配列物。
(項目24)
上記案内要素の周りのラップが、上記個々のリムに回転可能に取り付けられた案内ホイールを備える、項目23に記載の案内配列物。
(項目25)
上記リムが、上記マウントに、上記リム間の角度が変化され得るように回動可能に連結される、項目23また項目24に記載の案内配列物。
(項目26)
上記リムが、上記マウントに、上記リムが2つの互いに垂直な軸で回動し得るように回動可能に連結される、項目23〜25のいずれか1項に記載の案内配列物。
(項目27)
上記回動マウントが、ボールおよびソケット型連結を備える、項目26に記載の案内配列物。
(項目28)
上記頂点のマウントが、吸引マウントを備える、項目23〜27のいずれか1項に記載の案内配列物。
(項目29)
1つまたは両方のリムが、上記リムの対向する端部の中間にさらなるマウントを提供される、項目23〜28のいずれか1項に記載の案内配列物。
(項目30)
上記さらなるマウントが、吸引マウントを備える、項目29に記載の案内配列物。
(項目31)
上記さらなるマウントが、上記リムの長さに沿った種々の位置で固定されるように調節可能である、項目29または項目30に記載の案内配列物。
(項目32)
上記さらなるマウントが、上記リムの長軸方向軸の周りでその角度をなす配向に対して調節可能である、項目29〜31のいずれか1項に記載の案内配列物。
(項目33)
上記さらなるマウントが、上記リムの下で上記マウントの位置に調節可能である、項目29〜32のいずれか1項に記載の案内配列物。
(項目34)
切断ワイヤを用いてビークルガラスはめ込みパネルを切断することにおける使用のための装置であって:以下を備える巻き取り機ユニット:上記巻き取り機ユニットを取り付けるための取り付け手段;上記切断ワイヤを巻き取るための第1および第2の巻き取り機スプール;および上記取り付け手段から離れて位置決めされた案内要素の周りの少なくとも1つのワイヤラップ;ならびに案内配列物であって、上記案内配列物を取り付けるための取り付け手段、および一対の位置決めリブであって、上記リムの近位端によって規定される頂点で上記マウントから延び、各々がその遠位端に上記切断ワイヤのための案内要素の周りに個々のラップを保持する一対のリブを含む案内配列物、を備える、装置。
図1は、本発明に従う、例示の切り抜きシステムの巻き取り機ユニットの概略平面図である。 図2は、本発明の例示の切り抜きシステムに従う、巻き取り機ユニットとの使用のための案内配列物の概略表示である。 図3のaおよびbは、図2の案内配列物の部分の詳細図である。 図3のaおよびbは、図2の案内配列物の部分の詳細図である。 図4は、本発明に従う、切り抜き技法を順番に概略表示している図である。 図5は、本発明に従う、切り抜き技法を順番に概略表示している図である。 図6は、本発明に従う、切り抜き技法を順番に概略表示している図である。 図7は、本発明に従う、切り抜き技法を順番に概略表示している図である。 図8は、本発明に従う、切り抜き技法を順番に概略表示している図である。 図9は、本発明に従う、代替技法を順番に概略表示している図である。 図10は、本発明に従う、代替技法を順番に概略表示している図である。 図11は、本発明に従う、代替技法を順番に概略表示している図である。 図12は、本発明に従う、さらなる技法の概略表示である。 図13は、本発明に従う、さらなる代替技法の概略表示である。 図14は、本発明に従う、さらなる代替技法の概略表示である。
好ましい実施形態では、上記ワイヤ案内配列物は、1つ以上の吸引マウントを備える取り付け配列物を含む。
好ましい実施形態では、上記ワイヤ巻き取り機ユニットは、1つ以上の吸引マウントを備える取り付け配列物を含む。
有利には、設定において、上記切断ワイヤは、上記ガラスはめ込みパネルの隅に近接した位置で、より好ましくは、上記ワイヤ巻き取り機ユニットと同じ側の前記ガラスはめ込みパネルの位置で、なおより好ましくは、上記ワイヤ巻き取り機ユニットに実質的に直接に下の位置で、上記結合性材料を通過するように挿入される。
上記案内配列物の案内要素の周りのワイヤラップは、上記ガラスはめ込みパネルの同じ側に位置決めされることが好ましい。
好ましい技法では、設定において、長方の端部長さの切断ワイヤが、上記案内配列物の案内要素の周りの上記ラップの周りに延び、そして上記巻き取り機ユニットの第1の巻き取り機スプール上に巻かれ、短方の端部長さの切断ワイヤが、上記該巻き取り機ユニットの案内要素の周りのラップの周りに延び、そして上記巻き取り機ユニットの第2の巻き取り機スプール上に巻かれる。このワイヤは、有利には、上記巻き取り機スプールに近接する交差点を規定する。上記短方の長さのワイヤに連結された上記スプールが最初に巻き込まれて第1の切断相を行い;上記長方の長さのワイヤに連結されたスプールが実質的に巻き込まれることが好ましい。
有利には、上記手順の間に、上記スプールの1つのラチェットが解除されて、上記切断ワイヤの先に巻かれた部分の緩みまたはより好ましく解き(逆巻き)を容易にする。
上記案内配列物は、好ましくは、マウント、および一対の位置決めリムであって、このリムの近位端によって規定される頂点でこのマウントから延びるリムを含み、このリムの各々は、その遠位端で前記切断ワイヤのために案内要素の周りに個々のラップを保持する。望ましくは、案内要素の周りのラップは、個々のリムに回転可能に取り付けられた案内ホイールを備える。有利には、上記リムは、上記マウントに、これらリム間の角度が変化され得るように回動可能に連結される。上記リムは、好ましくは、上記マウントに、これらリムが2つの互いに垂直な軸で回動し得るように回動可能に連結される。好ましい実施形態において、上記回動マウントは、ボールおよびソケット型連結を備える。上記頂点のマウントは、吸引マウントを備えることが好ましい。
1つまたは両方のリム(好ましくは両方)が、上記リムの対向する端部の中間にさらなるマウントを提供されることが好ましい。望ましくは、上記さらなるマウントは、吸引マウントを備える。このさらなるマウントは、好ましくは、上記リムの長さに沿った種々の位置で固定されるように調節可能である。あるいは、またはさらに、上記さらなるマウントは、上記リムの長軸方向軸の周りでその角度をなす配向に対して調節可能である。このさらなるマウントは、上記リムの下で上記マウントの位置に調節可能である。
上記巻き取り機ユニットは、好ましくは:このユニットを取り付けるための取り付け手段;切断ワイヤを巻き取るための第1および第2の巻き取り機スプール;および上記取り付け手段から離れて位置決めされた案内要素の周りの少なくとも1つのワイヤラップを備える。
有利には、案内要素の周りの上記ラップは、上記ユニットに対して回転可能に取り付けられた案内ホイールを備える。望ましくは、上記取り付け手段は、1つ以上(好ましくは一対)の吸引マウントを備える。
さらなる局面によれば、本発明は、切断ワイヤを用いて自動車窓ガラスを切断することにおける使用のための装置を提供し、この装置は:以下を備える巻き取り機ユニット:この巻き取り機ユニットを取り付けるための取り付け手段;切断ワイヤを巻き取るための第1および第2の巻き取り機スプール;および上記取り付け手段から離れて位置決めされた案内要素の周りの少なくとも1つのワイヤラップ;ならびに
案内配列物であって、この案内配列物を取り付けるための取り付け手段、および一対の位置決めリブであって、このリムの近位端によって規定される頂点で上記マウントから延び、各々がその遠位端に該切断ワイヤのための案内要素の周りに個々のラップを保持する一対のリブを含む案内配列物を備える。
この装置の好ましい特徴は、本明細書中に説明され、そして例示される。
本発明は、ここで、例示のみによる特定の実施形態で、そして添付に図面を参照してさらに説明される。
図面を参照して、そして最初に、図1〜3についていえば、特に、ウインドスクリーンのような結合された自動車窓ガラスの切り抜きにおける使用のための切り抜きシステムが示される。この切り抜きシステムは、巻き取り機ユニット1および案内配列物2を備える。可撓性の切断ワイヤが、ウインドスクリーンガラスはめ込みパネルの外側の周りでループに巻かれ、ガラスはめ込みパネルと、上記自動車の支持フレームとの間に挟持されている結合ビード(代表的には、ポリウレタン結合性ビード)に隣接して周縁に横たわる。この切断ワイヤの対向する端部は、詳細に説明されるように、この結合性ビードを通って作製される貫通チャネルを通って供給され、そしてこれら自由端部は、次いで、上記巻き取り機ユニットの別個の巻き取り機スプール4、5の周りに各々巻かれる。説明されるように、このワイヤの長い端部は、この案内配列物2の案内プーリーホイール6、7および、上記巻き取り機ユニット1の案内プーリーの最初の1つ8の周りを通され;上記切断ワイヤの短方の端部は、上記巻取り機ユニットの案内プーリー9の他方の周りを通過する。
この巻き取り機ユニット1は、この巻取り機ユニットがウインドスクリーンに離脱可能に固定されることを可能にする一対の離脱可能な吸引カップマウント10、11を備える。これらの吸引カップマウントは、剛直なプラスチックカップ12および下にある可撓性のゴムスカート膜13を備える。個々の作動/解放レバー14は、付与および解除されるべき一貫した吸引を可能にする。このような吸引マウントは、ウインドスクリーン置き換えおよび修復技術では共通して採用されている。これら吸引カップマウント10、11は、上記巻き取り機ユニットの支持ブラケット15に回動可能/偏向可能に取り付けられ、両方のマウント10、11が、ウインドスクリーンの湾曲にかかわらず、このウインドスクリーンとの良好な係合に位置づけ得ることを確実にする。支持ブラケット15の本体は、一対の下に突き出た巻き取り機スプール4、5を並んだ関係で保持する。これらスプールは、巻き取り機ユニット上に提供されるベアリング16、17中に支持されている軸方向巻取りシャフトに連結される。これらスプール4、5は、手動巻き取り機を経由して手動によるか、または動力化巻き取り機ツールまたは巻き揚げ機ツールのような機械的アクチュエーターによるかのいずれかで軸方向に回転して駆動される。駆動ボス18が、雄駆動ツールを受容するための雌ソケット19(矩形のボア)とともに提供される。これら巻き取り機スプールの外側に位置決めされるのは、低摩擦性プラスチック材料の個々のワイヤ案内プーリーホイール8、9である。これらのプーリーホイールは、個々の回転軸の周りで回転可能であるように取り付けられる。これら案内プーリーは、上記切断ワイヤが、説明されるように、これらプーリーを横切って接線方向に引かれるとき回転する。巻き取り機スプール4、5は、個々のラチェット機構によって1つの方向にのみ(各々反対の意味(巻く方向)で)回転するように保持される。各機構は、先に締め付けられたワイヤが緩み、または解かれる(逆巻き)ことを可能にするラチェットオーバーライドを含む。
案内配列物2は、各々が、個々の遠位案内プーリーホイール6、7をそれらの個々の遠位端に保持する間隔を置かれたアーム21、22が延びる頂点の吸引カップマウント20を備える。これらの遠位案内プーリー6、7は、低摩擦性プラスチック材料から製造され、そして個々の支持ボス23、24上でこれらアームの遠位端に回転可能に取り付けられる。各プーリーホイールは、その中に上記切断ワイヤが位置する周縁チャネル25を含む。各アーム21、22には、個々の遠位吸引カップマウント26、27が提供される。これら遠位吸引カップマウント26、27は、個々のアーム21、22に沿ってスライド可能であり、そして回転手ル29によって作動される固定クランプ28が提供され、上記個々のアームの長さに沿った所望に位置にこの個々の遠位吸引カップマウントを固定する。これら固定クランプはまた、個々のアームを備えるロッドの周縁外面の周りのこれら遠位吸引カップの角度をなす回転(図2および3a中の矢印A)を許容する。これら個々のアームの下の吸引カップマウントの深さもまた、クランプ28がその周りで相対的にスライドする直立ポスト31を含む吸引カップマウントにより調節可能であり(図2および3a中の矢印B)、そして止雌ねじ30によって固定する。これら吸引カップマウント26、27はまた、この直立支持ポスト31の周りで回動し得る(図3a中矢印C)。これらアームの近位端は、上記頂点の吸引マウント20に、その一部の周りに球状の管状軸受けベアリング37が取り付けられる個々の球状面プロフィールのボス35によって取り付けられる。これらの取り付けは、調節されるべきアーム間の角度(図2中矢印D)を許容し、目的物ウンドスクリーンの形態およびサイズに適合する。アーム軸と、ウインドスクリーンの表面との間の角度はまた、このウインドスクリーンの湾曲に適合するよう変化され得る(図3b中矢印E)。記載のような案内システムの配列は、遠位案内プーリーホイール6、7がこのウインドスクリーンの隅に緊密に近接して正確に位置決めされ得ること、しかも、上記遠位吸引カップマウント28が、これら遠位プーリーホイール6、7に近接する強固な支持を提供するために便利に配置され得ることを確実にする。アーム21、22が両者とも頂点の吸引カップマウント20に取り付けられるので、全体の案内配列物がウインドスクリーンに強固に保持されて、これらアームは、張力下にある切断ワイヤによって奏される相当の引き締め力を利用する。巻き取りの間に上記ワイヤ中に生成されるこの大きな力を考慮すれば、この案内配列物がウインドスクリーンに十分強固に保持されて固定され、そして十分に構造的一体的であることが重要である。
図4〜8を参照して、ここでは、自動車窓スクリーンのような例示の物体を切り取るためのシステムの作動が記載される。本発明の技法は、このシステム装置の引き続く再位置決めがほとんどないか、全くない切り抜きを達成するために、このシステムの装置の位置決めを可能にする。この設定は、従って、この技法の重要な相である。
案内配列物2は、はじめに、図4に示されるように、上記吸引カップマウント20、28を経由して上記自動車の内部で上記ウインドスクリーンの内に取り付けられる。狙いは、プーリーホイール6、7を、ウインドスクリーンの一方の側の上部および下部の隅に向かって可能な限り遠く、ガラスとプーリーホイールとの間の分離が可能な限り少なくして位置決めすることである。通常、この案内配列物のプーリーホイール6、7は、自動車のドライバー側ではない側に位置決めされる。示される右手ドライブの実施形態では、この案内配列物のプーリーホイール6、7は、ウインドスクリーンの上部および下部の左手の隅に位置決めされる。吸引パッドは、この考慮とともに位置決めされ、そして調節可能なクランプを用いてこの位置決めを微細調整する。
巻き取り機ユニット1は、並んだ関係にあるプーリーを備えた上部エッジに沿って、プーリーホイールの1つ(プーリーホイール9)が、上部の隅に可能な限り遠く位置決めされるように、上記案内配列物の反対側の自動車の内部のウインドスクリーンに固定される。この配列は図5に示される。
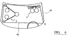
使用のために好ましい切断ワイヤは、ウインドスクリーン取り外しのその他の様式における使用について公知であるように、断面がほぼ矩形である。記載のような巻き取り機ユニットおよび案内配列で、この切断ワイヤは、ウインドスクリーンの外側の周りでループに巻かれ、ガラスと自動車の支持フレームとの間に挟持される結合性ビードの周縁に隣接して横たわる。この切断ワイヤの対向する端部は、巻き取り機ユニット1の位置の下のウインドスクリーンの隅(X)中の結合性ビードを通じて作製された貫通チャネルを通って供給される。このワイヤの長方の端部長さ40は、自動車の内部に通って引かれ、そしてこの案内配列物の2つのプーリーホイール6、7の周りを通過し、そして巻き取り機ユニットが取り付けられている隅に最も近い巻き取り機ユニットの巻き取り機スプール4に巻き取るために連結される。上記ワイヤの短方の端部長さ41は、ウインドスクリーンの内側に隣接して供給され、そして他方の巻き取り機スプール5に巻き取られるために接続する前に、巻き取り機ユニットが取り付けられる隅に最も近い巻き取り機ユニットのプーリーホイール9の周りを通過する(このワイヤの端部は、従って、巻き取り機ユニットの個々の巻き取り機スプール4、5に接続するために交差する)。記載のような状況は、図6に示される。これで、この技法の設定相は終了する。
切断手順の最初の相は、左手巻きスプール5に巻き込むことにより、上記ワイヤの短方の端部長さ41を巻き取ることである;これは、切断線を、結合性ビードを通って上方に、そして巻き取り機ユニットに近接するウインドスクリーンの上部の隅の周りに移動させ、ウインドスクリーンの上部エッジの短い部分に沿って通過させる。この短方の端部長さは、図7で点線によって示されるような逐次的な位置をとる。この時点で、ラチェットが解除され、そしてスプールが、ワイヤがわずかに緩むまでわずかに巻き戻される。この理由は、この手順において後に説明される。
この巻き取り機ユニット1の他方の巻き取り機スプール4の作動は、ウインドスクリーンの底部エッジに沿って、この案内配列物に近接するウインドスクリーンの側面の上方に、そしてこのウインドスクリーンの上部エッジに沿って切断を行う。逐次的な内部ワイヤ長さ位置は、図8に点線で示される。最初、ワイヤが、下部案内プーリーホイールを離れた後、第1の作動された巻取り機スプールから先に解除されたラチェットが、再び能動化される。第2の巻き取り機スプール4の継続する動作は、切断線をウインドスクリーンの上部の隅の周り、そしてウインドスクリーンの上部エッジに沿って(図面に示されるとき、左から右まで)移動し、巻き取り機ユニットの上で短方のワイヤ長さ部分と交差し、ウインドスクリーンの完全な切り抜きを行う。
上記に記載のように、第1の用いられた巻取り機スプール5のラチェットは、第1の短い長さの切断の後、解除される。これは、上記長方の端部長さのワイヤが巻き込まれ、そして上記切断線が、図面中のウインドスクリーンの下部エッジに沿って右から左まで移動する第2の切断ステージでは、ウインドスクリーンのこの領域で遭遇される可能性のあるより厚い過剰の結合性材料が、切断するには頑丈であり、このシステムを通じて伝達される力を増加するためである。この第1の巻き取り機スプール5のラチェットを非能動化することにより、ワイヤは、この時点でスリップ/スライドし、この時点で切断有効性を支援する切断組継ぎ作用を生じる程度まで第1のスプールの供給を戻す。より頑丈な切断が達成されるとき、ワイヤは、再び、最も少ない抵抗性の経路を追従し、そして切断を正常に再開(そしてワイヤは、第1の巻き取り機スプールの戻り供給を停止)する。このシステムのひねりは、過剰の張力に起因するワイヤ破壊の可能性を低減する。次に、ラチェットは、再適用され得る。ラチェットが再適用および非能動化されるべき時点は、代表的には、オペレーターの技量、経験および判断に帰着する。
図9および10に示される技法では、ガラスはめ込みパネルは、ワイヤ41および巻き取り機ユニット1のみを用いて除去される(案内2のようなさらなる案内は必要ではない)。この技法では、巻き取り機ユニットは、図9に示されるように、操縦ホイールの上に位置決めされて、ガラスはめ込みパネルの操縦ホイール側に最初に固定される。巻き取りユニットおよび案内配列物を説明されるような位置にして、切断ワイヤがウインドスクリーン外側の周りでループにされ、ガラスと自動車の支持フレームとの間に挟持される結合性ビードの周縁に隣接して横たわる。この切断ワイヤの対向する端部が、巻き取り機ユニット1の位置の下のウインドスクリーン(X)の隅中の結合性ビードを通って作製された貫通チャネルを通じて供給される。
このワイヤの長さ41が、自動車の内部まで通って引かれ、そして巻き取り機ユニットのプーリーホイール9の周りを通過し、そして巻き取り機ユニットの巻き取り機スプール5に巻き取りのために連結される。ワイヤ47の自由端部長さが通って引かれ、ガラスはめ込みパネルの上部左手隅に到達するために十分な長さである。巻き取り機スプール5は、次いで、作動されてこのワイヤ長さ41が、切断線がウインドスクリーンの上部右手隅の周りを通過するまで、ウインドスクリーンの側面に沿って上方に結合性ビードを通って切断するようにする。この接続部では、上記ユニット1は、上記スクリーンから取り外され、そして図10に示されるように、上部左手隅にガラスはめ込みパネル上で再位置決めされる。このユニット1の再位置決めの前に、巻き取り機スプール5のラチェットは解除されて、上記ワイヤが、それが再位置決めされるべきガラスはめ込みパネルを横切って移動されるとき、このスプールから巻き取られることを許容する。このラチェットは、引き続き、再係合され、そしてスプール5は、もう一度作動されて、図10に示される位置から、それが図10に点線で示される位置に到達するまでワイヤを巻き込む。
次いで、上記ユニット1は、ガラスはめ込みパネルの隅の周り、および実質的に直角を通って、図11に示される位置まで移動され、そこで、それは、ガラスはめ込みパネルに固定される。これを実施可能にするために、スプール5のラチェットは、再び解除され、そして次いで、このユニットが図11に示される位置にあるとき、再係合される。ワイヤ47の自由長さの端部は、次いで、プーリー8の周りに巻かれ、そして巻き取り機スプール4に連結され、そしてこれらスプール4および5は、逐次的に(または同時に)操作され、切断を終了する。図11に示されるように、切断を終了するためにワイヤの長さは、Zで交差する。個々のスプール4、5から外側に間隔を置かれたプーリー8、9の存在は、上記切断プロセスの間に、上記巻取り機ユニットの作動を支援する。
図12には、4つの個々の隅に個々のプーリーを提供するために位置決めされる、プーリー108、109の周りのさらなるラップを有する改変された巻き取り機ユニット1が示される。このユニットは、図12に示されるように、ガラスはめ込みパネルのほぼ中央に取り付けられる。ワイヤは、このパネルの外部の周りでループにされ、ワイヤの2つの端部は、自動車の内部中にXでチャネルを通じて通過する。自由端部は、個々のスプール4、5に固定され、ワイヤは115で交差する。示された位置からのワイヤの個々の長さに巻くためのスプール4、5の作動は、このガラスはめ込みパネルの全周縁の周り行われる切断を生じる。
この技法に対する改変では、図13および14に示されるように、4つのプーリー巻き取り機ユニットが用いられる。このユニットは、最初、図13に示されるように位置決めされ、そしてプーリーホイール4は、最初、作動されて、ガラスはめ込みパネルの上部左手隅の周りでワイヤを巻き取る。引き続き、このユニットは、図14に示される位置に再位置決めされ、そして両方の巻き取り機スプール4および5が作動されて(代表的には順番に)、切断プロセスを終了する。
本発明は、過剰に複雑なシステム装置配列物、または初期設定の後の装置類を顕著に再構成する必要性なしにワイヤ切断システムの利点を提供する。この技法は、最少の複雑さの初期設定ルーチン後、比較的乏しい経験または身体的強度のオペレーターによっても用いられ得る。
1 巻き取り機ユニット
2 案内配列物
4、5 巻き取り機スプール
6、7 遠位案内プーリー
8、9 案内プーリーホイール
10、11 吸引カップマウント
12 プラスチックカップ
13 ゴムスカート膜
14 作動/解放レバー
15 支持ブラケット
16 17ベアリング
21、22 アーム
26、27 遠位吸引カップマウント
28 固定クランプ

Claims (36)

  1. 自動車窓ガラスを切り抜く際に切断ワイヤとの使用のための巻き取り機ユニットであって:
    該ユニットを取り付けるための取り付け手段;
    切断ワイヤを巻き取るための第1および第2の巻き取り機スプール;および
    該巻き取り機スプールおよび/または該取り付け手段から間隔を置かれた案内要素の周りの少なくとも1つのワイヤラップを備える、巻き取り機ユニット。
  2. 前記案内要素の周りのラップが、前記ユニットに対して回転可能に取り付けられた案内ホイールまたはプーリーを備える、請求項1に記載の巻き取り機ユニット。
  3. 前記巻き取り機スプールが、並んだ配列で整列され、個々の案内ホイールまたはプーリーが各個々の巻き取り機スプールの外側に位置決めされる、請求項1または2に記載の巻き取り機ユニット。
  4. 前記案内ホイールが、前記ユニットに対して回転可能に取り付けられる、請求項2または3に記載の巻き取り機ユニット。
  5. 少なくとも1つの巻き取り機スプールが、スプール回転を一方の方向または他方の方向に阻害されるようにするラチェト配列物を含む、請求項1〜4のいずれか1項に記載の巻き取り機ユニット。
  6. 前記ラチェトが、(反対の)両方向のスプール回転を可能にするように解除可能である、請求項5に記載の巻き取り機ユニット。
  7. 前記取り付け手段が、1つ以上の吸引マウントを備える、請求項1〜6のいずれか1項に記載の巻き取り機ユニット。
  8. 前記ユニットが、4つの案内ホイールまたはプーリーを含み、前記ワイヤを案内し、該案内ホイールまたはプーリーが、多角形の概念的な隅に実質的に提供される、請求項1〜7のいずれか1項に記載の巻き取り機ユニット。
  9. 介在された結合性材料の手段によりフレーム中に結合された自動車窓ガラスを切り取る方法であって:
    ウインドスクリーン上にワイヤ巻き取り機ユニットを設定する工程であって、該巻き取り機ユニットが、複数の巻き取り機スプール、および該自動車窓ガラスの隅に近接して位置決めされた案内要素の周りの少なくとも1つのワイヤラップを含む工程;
    該ワイヤ案内配列物を、該ワイヤ巻き取り機ユニットから間隔を置かれた該ウインドスクリーン上に設定する工程であって、該ワイヤ案内配列物が、該自動車窓ガラスの個々の隅に近接して位置決めされた案内要素の周りに個々のワイヤラップを含む工程;
    自動車窓ガラスはめ込みパネルの周縁の周りに切断ワイヤを巻き付け、そして該結合性材料を通って該ワイヤの第1端部および第2の端部を挿入する工程;
    該ワイヤを、該巻き取り機スプールにより対向する端部から巻き取る工程、を包含する、方法。
  10. 前記ワイヤ巻き取り機ユニットおよび前記ワイヤ案内配列物の前記自動車窓ガラスに対する設定位置が、前記切り抜き手順を通じて実質的に固定されたままである、請求項9に記載の方法。
  11. 前記巻き取り機スプールが間隔を置かれ、そして前記切断ワイヤの対向する端部部分が、個々のスプールの周りで巻かれ、ワイヤの交差部分が該巻き取り機スプールに隣接して生成される、請求項9または請求項10に記載の方法。
  12. 前記ワイヤ巻き取り機ユニットおよびワイヤ案内配列物が、前記自動車の内部の前記自動車窓ガラス上に設定され、前記切断ワイヤが、該自動車の外部のガラスの周縁の周りに巻かれる、請求項9〜11のいずれか1項に記載の方法。
  13. 案内要素のまわりの1つ以上のラップが、回転可能に取り付けられた案内ホイールを備える、請求項9〜12のいずれか1項に記載の方法。
  14. 前記ワイヤ案内配列物が、1つ以上の吸引マウントを備える、請求項9〜13のいずれか1項に記載の方法。
  15. 前記ワイヤ巻き取り機ユニットが、1つ以上の吸引マウントを備える取り付け配列物を備える、請求項9〜14のいずれか1項に記載の方法。
  16. 設定において、前記切断ワイヤが、前記自動車窓ガラスの隅に近接した位置で前記結合性材料を通過する、請求項9〜15のいずれか1項に記載の方法。
  17. 設定において、前記切断ワイヤが、前記ワイヤ巻き取り機ユニットと同じ側の前記自動車窓ガラスの位置で前記結合性材料を通過する、請求項16に記載の方法。
  18. 設定において、前記切断ワイヤが、前記ワイヤ巻き取り機ユニットに実質的に直接に下の位置で、前記結合性材料を通過する、請求項17に記載の方法。
  19. 前記案内配列物の案内要素の周りのワイヤラップが、前記自動車窓ガラスの同じ側に位置決めされる、請求項9〜18のいずれか1項に記載の方法。
  20. 設定において、前記自動車の内部で、長方の長さの切断ワイヤが、前記案内配列物の案内要素の周りの前記ラップの周りに延び、そして前記巻き取り機ユニットの第1の巻き取り機スプール上に巻かれ、短方の長さの切断ワイヤが、該該巻き取り機ユニットの案内要素の周りのラップの周りに延び、そして該巻き取り機ユニットの第2の巻き取り機スプール上に巻かれる、請求項9〜19のいずれか1項に記載の方法。
  21. 記短方の長さのワイヤに連結された前記スプールが最初に巻き込まれて第1の切断相を行い;前記長方の長さのワイヤに連結されたスプールが実質的に巻き込まれる、請求項20に記載の方法。
  22. 前記巻き取る手順の間に、前記スプールの1つのラチェットが解除されて、前記切断ワイヤの先に巻かれた部分の緩みまたは解きを容易にする、請求項9〜21のいずれか1項に記載の方法。
  23. 前記案内配列物が、マウント、および一対の位置決めリムであって、該リムの近位端によって規定される頂点で該マウントから延びるリムを含み、該リムの各々が、その遠位端で前記切断ワイヤのために案内要素の周りに個々のラップを保持する、請求項9〜22のいずれか1項に記載の切り抜き方法を支援して実施することにおける使用のための案内配列物。
  24. 前記案内要素の周りのラップが、前記個々のリムに回転可能に取り付けられた案内ホイールを備える、請求項23に記載の案内配列物。
  25. 前記リムが、前記マウントに、該リム間の角度が変化され得るように回動可能に連結される、請求項23また請求項24に記載の案内配列物。
  26. 前記リムが、前記マウントに、該リムが2つの互いに垂直な軸で回動し得るように回動可能に連結される、請求項23〜25のいずれか1項に記載の案内配列物。
  27. 前記回動マウントが、ボールおよびソケット型連結を備える、請求項26に記載の案内配列物。
  28. 前記頂点のマウントが、吸引マウントを備える、請求項23〜27のいずれか1項に記載の案内配列物。
  29. 1つまたは両方のリムが、前記リムの対向する端部の中間にさらなるマウントを提供される、請求項23〜28のいずれか1項に記載の案内配列物。
  30. 前記さらなるマウントが、吸引マウントを備える、請求項29に記載の案内配列物。
  31. 前記さらなるマウントが、前記リムの長さに沿った種々の位置で固定されるように調節可能である、請求項29または請求項30に記載の案内配列物。
  32. 前記さらなるマウントが、前記リムの長軸方向軸の周りでその角度をなす配向に対して調節可能である、請求項29〜31のいずれか1項に記載の案内配列物。
  33. 前記さらなるマウントが、前記リムの下で前記マウントの位置に調節可能である、請求項29〜32のいずれか1項に記載の案内配列物。
  34. 切断ワイヤを用いて自動車窓ガラスを切断することにおける使用のための装置であって:
    以下を備える巻き取り機ユニット:
    該巻き取り機ユニットを取り付けるための取り付け手段;
    該切断ワイヤを巻き取るための第1および第2の巻き取り機スプール;および
    該取り付け手段から離れて位置決めされた案内要素の周りの少なくとも1つのワイヤラップ;ならびに
    案内配列物であって、該案内配列物を取り付けるための取り付け手段、および一対の位置決めリブであって、該リムの近位端によって規定される頂点で該マウントから延び、各々がその遠位端に該切断ワイヤのための案内要素の周りに個々のラップを保持する一対のリブを含む案内配列物、を備える、装置。
  35. 自動車窓ガラスを切り抜くことにおいて、切断ワイヤと使用するための巻き取り機ユニットであって:
    該ユニットを該自動車窓ガラスに取り付けるための取り付け手段;
    該切断ワイヤを巻き取るための第1および第2の巻き取り機スプール;および
    該巻き取り機スプールおよび/または該取り付け手段から間隔を置かれた案内要素の周りの少なくとも1つのワイヤラップを備え、
    ここで、該自動車窓ガラスを切り抜くことにおいて、該切断ワイヤを巻き取るために両方の巻き取り機スプールが用いられ、該巻き取り機ユニットが切断の間に該自動車窓ガラスに取り付けられ、そして:
    該巻き取り機ユニットが、該自動車窓ガラスの切り抜きを行うための手順の間に該自動車窓ガラス上の間隔をおいた取り付け位置の間で再位置決めされ;そして/または
    1つ、または両方のスプールに、個々のラチェット機構が提供され、該ラチェット機構が、該手順の間に、該ワイヤが緩むようになるように解放される、巻き取り機ユニット。
  36. 自動車窓ガラスを切り抜くことにおいて、切断ワイヤと使用するための巻き取り機ユニットであって:
    該ユニットを取り付けるための間隔を置かれた吸引カップマウント;
    切断ワイヤを巻き取るための第1および第2の巻き取り機スプール;および
    該巻き取り機スプールから間隔を置かれた案内要素の周りの少なくとも1つのワイヤラップ:を有し、
    ここで、該吸引キャップマンウトが、該巻き取り機ユニットに対して傾斜可能に取り付けられる、巻き取り機ユニット。
JP2009098485A 2004-09-14 2009-04-14 自動車窓ガラスを切り抜くための方法および装置 Expired - Fee Related JP5356102B2 (ja)

Applications Claiming Priority (2)

Application Number Priority Date Filing Date Title
GB0420468.1 2004-09-14
GB0420468A GB0420468D0 (en) 2004-09-14 2004-09-14 Vehicle glazing panel cut out

Related Parent Applications (1)

Application Number Title Priority Date Filing Date
JP2006544566A Division JP4777259B2 (ja) 2004-09-14 2005-09-14 自動車窓ガラスを切り取るための方法および装置

Publications (2)

Publication Number Publication Date
JP2010023824A true JP2010023824A (ja) 2010-02-04
JP5356102B2 JP5356102B2 (ja) 2013-12-04

Family

ID=33306579

Family Applications (2)

Application Number Title Priority Date Filing Date
JP2006544566A Expired - Fee Related JP4777259B2 (ja) 2004-09-14 2005-09-14 自動車窓ガラスを切り取るための方法および装置
JP2009098485A Expired - Fee Related JP5356102B2 (ja) 2004-09-14 2009-04-14 自動車窓ガラスを切り抜くための方法および装置

Family Applications Before (1)

Application Number Title Priority Date Filing Date
JP2006544566A Expired - Fee Related JP4777259B2 (ja) 2004-09-14 2005-09-14 自動車窓ガラスを切り取るための方法および装置

Country Status (22)

Country Link
US (2) US9233478B2 (ja)
EP (3) EP1714812B1 (ja)
JP (2) JP4777259B2 (ja)
CN (2) CN101052540B (ja)
AT (3) ATE458635T1 (ja)
AU (1) AU2005283924B2 (ja)
BR (1) BRPI0515277B1 (ja)
CA (3) CA2831881C (ja)
DE (2) DE602005019539D1 (ja)
DK (3) DK2186664T3 (ja)
ES (3) ES2339799T3 (ja)
GB (1) GB0420468D0 (ja)
HR (1) HRP20110887T1 (ja)
IL (1) IL181808A0 (ja)
ME (3) ME01770B (ja)
NO (1) NO339542B1 (ja)
NZ (2) NZ553639A (ja)
PL (3) PL1714812T3 (ja)
PT (3) PT2186664E (ja)
RS (3) RS52049B (ja)
SI (3) SI1789274T1 (ja)
WO (1) WO2006030212A1 (ja)

Cited By (4)

* Cited by examiner, † Cited by third party
Publication number Priority date Publication date Assignee Title
JP2014501626A (ja) * 2010-11-22 2014-01-23 ベルロン ハンガリー ケーエフティー − ツーク ブランチ 車両用グレージングパネルを切り取る装置及び方法
KR101650834B1 (ko) * 2015-07-24 2016-08-24 윤두현 차량 유리 탈거장치
JP2016536182A (ja) * 2013-09-20 2016-11-24 ベルロン ハンガリー ケーエフティー − ツーク ブランチ 車両のグレージングパネル切取り方法
KR101720564B1 (ko) * 2016-11-07 2017-03-29 권용진 자동차 유리 제거장치

Families Citing this family (20)

* Cited by examiner, † Cited by third party
Publication number Priority date Publication date Assignee Title
DE102008060803A1 (de) * 2008-12-01 2010-06-02 C. & E. Fein Gmbh Spule für eine Wickeleinrichtung
DE102008060804A1 (de) * 2008-12-01 2010-06-02 C. & E. Fein Gmbh Vorrichtung zum Durchtrennen des Klebewulstes von eingeklebten Scheiben
GB2494548B (en) * 2008-12-08 2013-09-04 Belron Hungary Kft Zug Branch Vehicle glazing panel cut out
GB2465847B (en) 2008-12-08 2013-01-16 Belron Hungary Kft Zug Branch Vehicle glazing panel cut out
GB2517347B (en) * 2010-02-19 2015-07-22 Belron Hungary Kft Zug Branch Wire handling for vehicle glazing panel cut out
GB2477953A (en) 2010-02-19 2011-08-24 Belron Hungary Kft Zug Branch Wire Handling For Vehicle Glazing Panel Cut Out
FR2968264B1 (fr) * 2010-12-03 2013-03-01 Gillet Group Dispositif de decoupe de pare-prise
WO2012121631A1 (en) * 2011-03-04 2012-09-13 Ramhuset Patent Ab Winch friction brake, method and winch tool
GB2489835B (en) * 2011-05-19 2016-09-28 Terry Vaughan Richard Cutting device
GB2508822B (en) * 2012-12-11 2017-06-07 Belron Hungary Kft - Zug Branch Glazing panel removal
GB2526308B (en) * 2014-05-20 2021-06-09 Belron Int Ltd Glazing panel removal
GB201418184D0 (en) * 2014-10-14 2014-11-26 Belron Hungary Kft Zug Branch Apparatus and method for cutting out a vehicle glazing panel
SE538489C2 (en) * 2014-12-02 2016-08-02 Ramhuset Patent Ab Method and device for removing vehicle windshields
US10227965B2 (en) * 2015-03-23 2019-03-12 Kent R. Mayhugh Windshield removal assist device
GB201601500D0 (en) 2016-01-27 2016-03-09 Belron Hungary Kft Zug Branch Winder unit for vehicle glazing panel cut out
CZ2017232A3 (cs) * 2017-04-27 2018-04-18 VladimĂ­r Hauser Zařízení pro uvolňování skel z karoserií vozidel a způsob uvolňování skel karoserií vozidel
WO2018218180A1 (en) * 2017-05-25 2018-11-29 Rolladeck Industries, Inc. Windshield removal winch
CN108470145B (zh) * 2018-01-31 2021-03-16 浙江工业大学 一种基于曲线斜率变化的汽车方向盘检测方法
US20230150161A1 (en) * 2021-11-15 2023-05-18 Milwaukee Electric Tool Corporation Glass Removal Tool
CN116766330A (zh) * 2023-06-25 2023-09-19 东风汽车集团股份有限公司 一种用于拆卸汽车风挡玻璃的装置

Citations (4)

* Cited by examiner, † Cited by third party
Publication number Priority date Publication date Assignee Title
JPH03126527U (ja) * 1990-04-06 1991-12-19
JP2000289582A (ja) * 1999-04-12 2000-10-17 Big Tool Co Ltd 自動車用窓ガラスの取り外し方法及びこの方法で使用する装置及び治具
US20020121330A1 (en) * 2001-03-05 2002-09-05 Eriksson Rolf O. Method and device for removing windshields
JP2003145486A (ja) * 2001-11-19 2003-05-20 Asahi Glass Co Ltd 車両用窓材の取外し方法

Family Cites Families (16)

* Cited by examiner, † Cited by third party
Publication number Priority date Publication date Assignee Title
DE3215892A1 (de) 1982-04-29 1983-11-10 Audi Nsu Auto Union Ag, 7107 Neckarsulm Vorrichtung zum herausschneiden verklebeter scheiben
SE8502633D0 (sv) * 1985-05-31 1985-05-29 Folksam Auto Ab Sett och anordning for demontering
EP0437793A3 (en) 1990-01-15 1991-12-18 Gurit-Essex Ag Cutting string
DE4012207C1 (ja) 1990-04-14 1991-10-24 Gurit-Essex Ag, Freienbach, Ch
CA2034221A1 (en) 1990-01-16 1991-07-17 Thomas S. Coolbaugh Method of synthesising a selective olefin hydrogenation catalyst
CN2167879Y (zh) * 1993-08-18 1994-06-08 珠海经济特区兴业安全玻璃股份有限公司兴业汽车安全玻璃厂 汽车用带天线夹层挡风安全玻璃
JPH081598A (ja) * 1994-06-24 1996-01-09 Koizumi:Kk ウインドーガラスの取り外し方法及びその装置
WO1998058779A1 (de) 1997-06-20 1998-12-30 Naessl Walter Verfahren und vorrichtung zur demontage eines mit einem bauteil verklebten elements
CN2334617Y (zh) * 1998-05-22 1999-08-25 刘兴海 车用挡风玻璃
AU2003247272A1 (en) * 2002-08-09 2004-02-25 Mobilglas 2000 Aps An apparatus and a method for guiding a tool along a path on a surface
US7618023B2 (en) 2003-05-21 2009-11-17 Ramhuset-Dalaspeglar Ab Method and a device for removing vehicle windows
GB2465847B (en) * 2008-12-08 2013-01-16 Belron Hungary Kft Zug Branch Vehicle glazing panel cut out
GB2517347B (en) * 2010-02-19 2015-07-22 Belron Hungary Kft Zug Branch Wire handling for vehicle glazing panel cut out
GB2540053B (en) * 2010-11-22 2017-06-07 Belron Hungary Kft - Zug Branch Apparatus and method for cutting out a vehicle glazing panel
DE102011013790B4 (de) * 2011-03-03 2018-03-29 C. & E. Fein Gmbh Vorrichtung und Verfahren zum Durchtrennen des Klebewulstes von eingeklebten Scheiben
GB2508822B (en) * 2012-12-11 2017-06-07 Belron Hungary Kft - Zug Branch Glazing panel removal

Patent Citations (4)

* Cited by examiner, † Cited by third party
Publication number Priority date Publication date Assignee Title
JPH03126527U (ja) * 1990-04-06 1991-12-19
JP2000289582A (ja) * 1999-04-12 2000-10-17 Big Tool Co Ltd 自動車用窓ガラスの取り外し方法及びこの方法で使用する装置及び治具
US20020121330A1 (en) * 2001-03-05 2002-09-05 Eriksson Rolf O. Method and device for removing windshields
JP2003145486A (ja) * 2001-11-19 2003-05-20 Asahi Glass Co Ltd 車両用窓材の取外し方法

Cited By (4)

* Cited by examiner, † Cited by third party
Publication number Priority date Publication date Assignee Title
JP2014501626A (ja) * 2010-11-22 2014-01-23 ベルロン ハンガリー ケーエフティー − ツーク ブランチ 車両用グレージングパネルを切り取る装置及び方法
JP2016536182A (ja) * 2013-09-20 2016-11-24 ベルロン ハンガリー ケーエフティー − ツーク ブランチ 車両のグレージングパネル切取り方法
KR101650834B1 (ko) * 2015-07-24 2016-08-24 윤두현 차량 유리 탈거장치
KR101720564B1 (ko) * 2016-11-07 2017-03-29 권용진 자동차 유리 제거장치

Also Published As

Publication number Publication date
DK1789274T3 (da) 2010-05-10
DE602005019583D1 (de) 2010-04-08
DK1714812T3 (da) 2010-05-17
AU2005283924A1 (en) 2006-03-23
CA2579369A1 (en) 2006-03-23
CA2579369C (en) 2015-10-27
JP5356102B2 (ja) 2013-12-04
EP2186664B1 (en) 2011-09-14
DE602005019539D1 (de) 2010-04-08
HK1096915A1 (en) 2007-06-15
ES2339686T3 (es) 2010-05-24
PL1714812T3 (pl) 2010-08-31
ATE524336T1 (de) 2011-09-15
GB0420468D0 (en) 2004-10-20
HRP20110887T1 (hr) 2012-02-29
ATE458635T1 (de) 2010-03-15
DK2186664T3 (da) 2012-01-02
ES2373305T3 (es) 2012-02-02
SI2186664T1 (sl) 2012-03-30
PL1789274T3 (pl) 2010-08-31
JP4777259B2 (ja) 2011-09-21
SI1789274T1 (sl) 2010-06-30
PT2186664E (pt) 2011-12-27
IL181808A0 (en) 2007-07-04
NO339542B1 (no) 2016-12-27
CN101817297A (zh) 2010-09-01
PT1789274E (pt) 2010-04-07
PT1714812E (pt) 2010-04-07
CN101052540B (zh) 2010-05-26
ME01978B (me) 2012-04-30
ATE458636T1 (de) 2010-03-15
NZ553639A (en) 2011-03-31
EP1714812A3 (en) 2007-10-10
EP1789274A1 (en) 2007-05-30
CA2831878C (en) 2015-03-31
EP2186664A1 (en) 2010-05-19
AU2005283924B2 (en) 2012-05-03
CA2831878A1 (en) 2006-03-23
CN101817297B (zh) 2012-05-30
US9840016B2 (en) 2017-12-12
JP2007515334A (ja) 2007-06-14
US20080017295A1 (en) 2008-01-24
WO2006030212A1 (en) 2006-03-23
RS52049B (sr) 2012-04-30
US9233478B2 (en) 2016-01-12
ME01770B (me) 2010-12-31
RS51234B (sr) 2010-12-31
BRPI0515277A (pt) 2008-07-15
EP1714812B1 (en) 2010-02-24
CA2831881C (en) 2015-03-31
ME01769B (me) 2010-12-31
CN101052540A (zh) 2007-10-10
BRPI0515277B1 (pt) 2018-05-22
CA2831881A1 (en) 2006-03-23
SI1714812T1 (sl) 2010-07-30
PL2186664T3 (pl) 2012-02-29
EP1714812A2 (en) 2006-10-25
NZ587577A (en) 2012-03-30
EP1789274B1 (en) 2010-02-24
RS51208B (sr) 2010-12-31
US20160167245A1 (en) 2016-06-16
NO20071883L (no) 2007-04-13
ES2339799T3 (es) 2010-05-25
HK1101565A1 (en) 2007-10-18

Similar Documents

Publication Publication Date Title
JP5356102B2 (ja) 自動車窓ガラスを切り抜くための方法および装置
KR101683600B1 (ko) 차량의 글레이징 패널을 컷팅하는 장치 및 방법
US20080012349A1 (en) Vehicle Glazing Panel Cut Out
CN102227291B (zh) 交通工具玻璃板切除装置和技术
JP6427170B2 (ja) 車両のグレージングパネル切取り方法
HK1101565B (en) Method and an apparatus to cut out a vehicle glazing panel
HK1096915B (en) Apparatus to cut out a vehicle glazing panel
AU2015201824A1 (en) Method and an apparatus to cut out a vehicle glazing panel
AU2012202210A1 (en) Method and an apparatus to cut out a vehicle glazing panel

Legal Events

Date Code Title Description
A521 Request for written amendment filed

Free format text: JAPANESE INTERMEDIATE CODE: A523

Effective date: 20100305

A977 Report on retrieval

Free format text: JAPANESE INTERMEDIATE CODE: A971007

Effective date: 20110825

A131 Notification of reasons for refusal

Free format text: JAPANESE INTERMEDIATE CODE: A131

Effective date: 20110830

A601 Written request for extension of time

Free format text: JAPANESE INTERMEDIATE CODE: A601

Effective date: 20111129

A602 Written permission of extension of time

Free format text: JAPANESE INTERMEDIATE CODE: A602

Effective date: 20111202

A601 Written request for extension of time

Free format text: JAPANESE INTERMEDIATE CODE: A601

Effective date: 20111221

A602 Written permission of extension of time

Free format text: JAPANESE INTERMEDIATE CODE: A602

Effective date: 20111227

A521 Request for written amendment filed

Free format text: JAPANESE INTERMEDIATE CODE: A523

Effective date: 20120215

A131 Notification of reasons for refusal

Free format text: JAPANESE INTERMEDIATE CODE: A131

Effective date: 20120713

A601 Written request for extension of time

Free format text: JAPANESE INTERMEDIATE CODE: A601

Effective date: 20121002

A602 Written permission of extension of time

Free format text: JAPANESE INTERMEDIATE CODE: A602

Effective date: 20121005

A601 Written request for extension of time

Free format text: JAPANESE INTERMEDIATE CODE: A601

Effective date: 20121212

A602 Written permission of extension of time

Free format text: JAPANESE INTERMEDIATE CODE: A602

Effective date: 20121217

TRDD Decision of grant or rejection written
A01 Written decision to grant a patent or to grant a registration (utility model)

Free format text: JAPANESE INTERMEDIATE CODE: A01

Effective date: 20130802

A61 First payment of annual fees (during grant procedure)

Free format text: JAPANESE INTERMEDIATE CODE: A61

Effective date: 20130828

R150 Certificate of patent or registration of utility model

Ref document number: 5356102

Country of ref document: JP

Free format text: JAPANESE INTERMEDIATE CODE: R150

Free format text: JAPANESE INTERMEDIATE CODE: R150

R250 Receipt of annual fees

Free format text: JAPANESE INTERMEDIATE CODE: R250

R250 Receipt of annual fees

Free format text: JAPANESE INTERMEDIATE CODE: R250

S531 Written request for registration of change of domicile

Free format text: JAPANESE INTERMEDIATE CODE: R313531

R350 Written notification of registration of transfer

Free format text: JAPANESE INTERMEDIATE CODE: R350

S111 Request for change of ownership or part of ownership

Free format text: JAPANESE INTERMEDIATE CODE: R313113

R350 Written notification of registration of transfer

Free format text: JAPANESE INTERMEDIATE CODE: R350

R250 Receipt of annual fees

Free format text: JAPANESE INTERMEDIATE CODE: R250

LAPS Cancellation because of no payment of annual fees