JP2010005801A - Rfタグラベルテープの製造装置 - Google Patents

Rfタグラベルテープの製造装置 Download PDF

Info

Publication number
JP2010005801A
JP2010005801A JP2008164461A JP2008164461A JP2010005801A JP 2010005801 A JP2010005801 A JP 2010005801A JP 2008164461 A JP2008164461 A JP 2008164461A JP 2008164461 A JP2008164461 A JP 2008164461A JP 2010005801 A JP2010005801 A JP 2010005801A
Authority
JP
Japan
Prior art keywords
tag
label
label tape
mount
release paper
Prior art date
Legal status (The legal status is an assumption and is not a legal conclusion. Google has not performed a legal analysis and makes no representation as to the accuracy of the status listed.)
Granted
Application number
JP2008164461A
Other languages
English (en)
Other versions
JP5386117B2 (ja
Inventor
Masahiro Sumida
正洋 隅田
Current Assignee (The listed assignees may be inaccurate. Google has not performed a legal analysis and makes no representation or warranty as to the accuracy of the list.)
Miyakoshi Printing Machinery Co Ltd
Original Assignee
Miyakoshi Printing Machinery Co Ltd
Priority date (The priority date is an assumption and is not a legal conclusion. Google has not performed a legal analysis and makes no representation as to the accuracy of the date listed.)
Filing date
Publication date
Application filed by Miyakoshi Printing Machinery Co Ltd filed Critical Miyakoshi Printing Machinery Co Ltd
Priority to JP2008164461A priority Critical patent/JP5386117B2/ja
Publication of JP2010005801A publication Critical patent/JP2010005801A/ja
Application granted granted Critical
Publication of JP5386117B2 publication Critical patent/JP5386117B2/ja
Expired - Fee Related legal-status Critical Current
Anticipated expiration legal-status Critical

Links

Images

Landscapes

  • Sorting Of Articles (AREA)
  • Making Paper Articles (AREA)

Abstract

【課題】生産ラインを各列にしてRFタグラベルテープの生産能率を高くすると共に、設備費が低いRFタグラベルテープの製造装置を得る。
【解決手段】RFタグラベルテープ10の複数倍の幅を有するラベルテープ1のラベル台紙1aと剥離紙1bとが別々に走行する走行ラインを設け、この走行ラインの下流側に、ラベル台紙と剥離紙を貼り合わせてラベルテープとするRFタグ貼り合わせ部5と、このラベルテープを各RFタグラベルテープの幅に分断するスリッタ12を設け、上記ラベル台紙の走行ラインの側方に、ラベル台紙の各RFタグラベルテープ幅の位置に、ラベル台紙の走行方向と直行する方向からRFタグを供給するRFタグ供給装置6を設け、上記RFタグ供給装置は、RFタグを1個ずつ搬送するRFタグ搬送手段と、このRFタグ搬送手段にて搬送される間に各RFタグの機能を検査する機能検査手段と、機能検査手段による不良品を除去する不良品除去手段が設けられている
【選択図】図1

Description

本発明は、RFIDに用いられるRFタグをラベルテープ内に所定間隔を有して封入してなるRFタグラベルテープを製造する装置に関するものである。
RFID(Radio Frequency Identification)は無線周波による非接触自動識別技術のことで、人や物の移動体に取り付けたRFタグの識別情報を、コンピュータに接続されたリーダが無線周波を介して読み取り、対象物を自動的に識別するシステムである。そして上記RFタグは、送受信回路、制御回路、メモリ等をシングルチップ化した半導体とアンテナで構成されたバッテリレス通信機である。
上記RFタグはこれを連続的に配置した連続体として予め作られており、このRFタグ連続体より1個ずつ切断分離してラベルテープ内に所定間隔で封入してRFタグラベルテープとするようにしている。そしてこのRFタグラベルテープを1個のRFタグを含む所定の長さに切断することによりRFタグラベルがICモジュールとして得られるものである。
RFタグ連続体として予め作成される上記個々のRFタグには必ず一定割合で不良品が混入しているものであり、上記RFタグラベルテープの製造工程においては、この不良品をラベルテープ内に封入する前に除去することが望ましい。
従来のこの種のRFタグラベルテープの製造装置にあっては、特許文献1に示されるように、RFタグの供給ラインがラベルテープの走行方向と同一方向に設けられていて、そのライン上でICモジュール(RFタグ)の機能を確認し、これの機能異常の場合にはこれを回収除去し、正常のもののみをラベルテープ内に供給するようにしている。
特開2004−59113号公報
上記従来技術のものにあっては、生産能率を上げるべくRFタグラベルテープを多列状にした場合、ラベルテープへRFタグを供給するRFタグの供給ラインと検査手段を各列に対応して設けなければならず、多列生産により生産能率を上げるためには設備費が高くなってしまうという問題がある。
本発明は上記のことに鑑みなされたもので、RFタグラベルテープの生産ラインを多列にして、このRFタグラベルテープの生産能率を高くすると共に、このように生産ラインを多列にしても、ラベルテープへのRFタグの供給及び、全てのRFタグの検査を1つのRFタグ供給装置にて行うことができて設備費を低くすることができるようにしたRFタグラベルテープの製造装置を提供することを目的とするものである。
上記の目的を達成するために、本発明に係るRFタグラベルテープの製造方法は、全面に糊が塗布されているラベル台紙にRFタグを貼り付けてから剥離紙を積層することにより、ラベル台紙と剥離紙とからなるラベルテープ内にRFタグを長手方向に所定の間隔で封入してなるRFタグラベルテープの製造装置において、RFタグラベルテープの複数倍の幅を有するラベルテープのラベル台紙と剥離紙とが別々に走行する走行ラインを設け、この走行ラインの下流側に、ラベル台紙と剥離紙を貼り合わせてラベルテープとするRFタグ貼り合わせ部と、このラベルテープを各RFタグラベルテープの幅に分断するスリッタを設け、上記ラベル台紙の走行ラインの側方に、ラベル台紙の各RFタグラベルテープ幅の位置に、ラベル台紙の走行方向と直行する方向からRFタグを供給するRFタグ供給装置を設け、上記RFタグ供給装置は、RFタグを1個ずつ搬送するRFタグ搬送手段と、このRFタグ搬送手段にて搬送される間に各RFタグの機能を検査する機能検査手段と、機能検査手段による不良品を除去する不良品除去手段が設けられている構成になっている。
そして上記RFタグ供給装置のRFタグ搬送手段が、ドライ式のRFタグ連続体を搬送する搬送手段と、このRFタグ連続体から1個ずつのRFタグに切断して機能検査手段側へ供給する切断手段とからなり、あるいはRFタグ供給装置のRFタグ搬送手段が、剥離紙にRFタグを貼り付けてなるウエット式のRFタグ連続体を搬送する搬送手段と、このRFタグ連続体から剥離紙を剥離して1個ずつRFタグを機能検査手段側へ供給する剥離紙剥離手段とからなり、さらに上記両RFタグ供給装置を選択的に用いることができるようにした。
そして剥離紙の走行ラインに、ドライ式のRFタグを貼り付けたラベル台紙に貼り合わせる剥離紙のRFタグに対応する位置にあらかじめ糊を塗布する糊装置を設けた。
さらにラベル台紙の走行ラインで、かつRFタグ供給装置に対応する位置に、RFタグ供給装置から1個ずつ供給されるRFタグを、ラベル台紙の走行とタイミングを合わせて各RFタグラベルテープ幅の位置に搬入するRFタグ搬入ベルトを設けた構成になっている。
本発明の請求項1に記載の構成によれば、RFタグラベルテープの複数倍の幅のラベルテープを用いた多列の生産ラインにおいても、各列のラベルテープに検査機能を有する1つのRFタグ供給装置で対応することができることによりRFタグラベルテープの生産能率を高くすることができ、しかも上記のように複数列生産ラインにおいてもこの各列の生産ラインへのRFタグの供給及び、全てのRFタグの検査を1つのRFタグ供給装置にて行うことができて設備費を低くすることができる。
また、請求項2に記載のRFタグ供給装置を用いることにより、ドライ式のRFタグ連続体から個々のRFタグを、また請求項3に記載のRFタグ供給装置を用いることにより、ウエット式のRFタグ連続体から個々のRFタグを、ラベル台紙の走行ラインへそれぞれ供給することができ、さらに請求項4に記載の構成によれば、上記両RFタグ供給装置を選択的に用いることができ、ドライ式とウエット式のいずれのRFタグ連続体からのRFタグの供給にも対応することができる。
そして請求項5に記載の構成によれば、上記請求項2に記載のRFタグ供給装置を用いて、ラベル台紙にドライ式のRFタグを供給したときにおいて、RFタグを貼り付けたラベル台紙に積層する剥離紙に、上記ラベル台紙上のRFタグに対応する位置に糊を塗布することができ、このドライ式のRFタグを用いた場合において、剥離紙をラベル台紙のRFタグに接合することができ、完成品の状態で部分的に浮きが生じることがないRFタグラベルテープを得ることができる。
さらに請求項6に記載の構成によれば、RFタグ供給装置にて供給されてくるRFタグを、ラベル台紙の走行ラインを走行するラベル台紙の各RFタグラベルテープに相当する位置に1個ずつ正確に供給することができる。
図1は本発明に係るRFタグラベルテープの製造装置の全体を示す正面図であり、図中1はラベル台紙1aと剥離紙1bを貼着積層してなるラベルテープであり、このラベルテープ1はロール状になっていてラベルテープ供給部2から繰り出し供給されるようになっている。3はこのラベルテープ供給部2から供給されるラベルテープ1から剥離紙1bを剥がしローラ4にて剥がす剥がし部、5はこの剥がし部3にて剥離紙1bが剥がされたラベル台紙1a上に、後述するRFタグ供給装置6にて供給されたRFタグ7を、ラベル台紙1aの流れ方向に等間隔に貼り付けるRFタグ貼り付け部、8はこのRFタグ貼り付け部5の下流側に設けられて、上記剥がし部3にて剥がされた剥離紙1bを貼り合わせローラ9にて再びラベル台紙1aに貼り合わせて上記RFタグ7をラベルテープ1内に挟み込み封入してRFタグラベルテープ10とする貼り合わせ部、11はこのRFタグラベルテープ10を巻き取るテープ巻き取り部である。
本発明装置にあっては、図3に示すように上記ラベルテープ1のW1は、この装置における製品であるRFタグラベルテープ10のテープ幅W2の複数倍、例えば4倍幅になっていて、上記RFタグ供給装置6からは上記各テープ幅位置の中央に上記RFタグラベルテープ10のテープ幅W2より狭いタグ幅W3のRFタグ7が供給されるようになっている。そして貼り合わせ部8の下流側にRFタグラベルテープ10の各テープ幅W2にカットするスリッタ12が設けてある。また上記貼り合わせ部8の上流側の剥離紙1bの走行ラインに、剥離紙1bの裏面に糊を塗布する糊装置13が設けてある。
この糊装置13はRFタグ供給装置6より供給されるRFタグ7がドライ式、すなわち上面に糊が付いていない場合に用いるものであって、貼り合わせ部8にてラベル台紙1aに貼り合わせたときのRFタグ7に対応する剥離紙1bの位置にタイミングをとって糊を塗布するようになっている。
上記RFタグ供給装置6はRFタグ貼り付け部5において、図2、図3に示すように、ラベル台紙1aの走行ラインの側方で、これと直交する姿勢にして設けられている。
図2、図3、図4はこのRFタグ供給装置6を示すもので、図2は図1のA−A矢視図、図3は平面図、図4は図3のB−B矢視拡大図である。
図2において14は個別のRFタグ6が連続して並んで長尺状になっているドライ式のRFタグ連続体であり、このRFタグ連続体14はロール状部から引き出しローラ15にて所定の引き出し速度でループ部16へ引き出されるようになっている。
このループ部16から上記ラベルテープ1の走行路に至る間に、ループ部16からRFタグ連続体14を引き出す引き出し搬送ベルト17と、この引き出し搬送ベルト17の終端部に設けられていて、引き出し搬送ベルト17にて搬送されてきたRFタグ連続体14から幅W3のRFタグ7に切断するRFタグ切断装置18と、このRFタグ切断装置18にて切断されたRFタグ7を吸着し、所定間隔をあけて搬送する第1・第2の吸引搬送ベルト19,20と、第1の吸引搬送ベルト19の上方に設けられ、この第1の吸引搬送ベルト19にて搬送されるRFタグを1個ずつこれの機能を検査するRFタグ検査装置21と、第1・第2両吸引搬送ベルト19,20の間に設けられ、上記RFタグ検査装置21の検査にて不良品と判定されたRFタグ7を受け箱22に選択的に落下させる区分け板23が配置されている。
上記第1・第2の吸引搬送ベルト19,20の内側には吸引箱19a,20aが設けてあり、この各吸引箱19a,20aの負圧が各ベルトに設けられた吸引穴を介してRFタグ7に作用して切断後の各RFタグ7がベルトと共に走行されるようになっている。
上記第2の吸引搬送ベルト20の下流端が臨むラベル台紙1aの走行ラインのRFタグ貼り付け部5に、ラベル台紙1aの走行ラインを走行するラベル台紙1aの上面に沿わせて案内板24が設けてあり、第2の吸引搬送ベルト20にて搬送されてくるRFタグ7はこの案内板24上に搬入されるようになっている。この案内板24のラベル台紙1aの走行方向側端は図3、図4に示すように、ラベル台紙1a上に搬入されるRFタグ7のラベル台紙1aにおける下流側端から外れる位置になっていて、この部分にラベル台紙1a上での各RFタグ7のラベル台紙上の端部の上方に対向するようにして貼り付けローラ25が、ラベル台紙1aの走行方向に回転可能にし、かつ下動して押圧動作可能にして設けてある。そしてこの貼り付けローラ25に対向する下側には、ラベル台紙1aの下面に沿う圧胴26がラベル台紙1aの走行方向に回転自在にして設けられている。
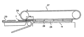
上記案内板24の上側には第2の吸着搬送ベルト20にて搬送されてきたRFタグ7を案内板24上に搬入するRFタグ搬入ベルト27が設けてある。このRFタグ搬入ベルト27は、これの下側走行側が第2の吸引搬送ベルト20の下流側と重複する位置からラベル台紙1aの全幅にわたってこれを横切る方向に、かつ第2の吸引搬送ベルト20と案内板24の上面にわずかな隙間をあけて間欠走行するようになっている。そしてこのRFタグ搬入ベルト27にはRFタグラベルテープ10のテープ幅W2と同一の間隔W2でピン28が植設されている。このRF搬入ベルト27は、この実施の形態ではRFタグ7の長さ方向(ラベル台紙1aの走行方向)に2列状にして設けた例を示したが、所定幅をもたせることにより1列状にしてもよい。そして上記ピン28は、これの先端が案内板24の上面に接触して移動するようになっている。
上記RFタグ搬入ベルト27は、上記第2の吸引搬送ベルト20と連動して間欠的に作動し、吸引搬送ベルト20にて搬送されてくるRFタグ7を1個ずつ順次4倍幅のラベル台紙1aの各RFタグラベルテープ10のテープ幅W2の中央位置に搬入するようになっている。
このときの作動を図4、図5、図6、図7にて説明する。なお、この説明においてピン28の径は実質的に小径であるので、これの径を無視して説明する。
RFタグ搬入ベルト27は、これの下側走行部の最上流側のピン28が真下へ向いた状態を基点としてピン28の間隔W2にわたって間欠走行するようになっている。そしてこの間欠走行作動は、上記基点状態の最上流側のピン28に第2の吸引搬送ベルト20にて搬送されてきたRFタグ7が当接したときに、これをピン28にて、あるいは側方に設けた検知手段にて検知してそのつどRFタグラベルテープ10のテープ幅W2だけ間欠走行する。このRFタグ搬入ベルト27の走行速度は第2の吸引搬送ベルト20の走行速度に対して(W2−W3)の距離だけ速く走行するようになっている。
図5は上記した基点状態、すなわちRFタグ搬入ベルト27は最上流側のピン28が真下を向いた状態で停止している状態で、かつ第2の吸引搬送ベルト20にて搬送されてきたRFタグ7が上記ピン28に当接した状態である。このときにおいて、RFタグ搬入ベルト27のピン28と、RFタブ貼り付け部5におけるラベル台紙1aとの距離関係は、基点位置にあるピン28がテープ幅W2にわたって、例えば1ピッチ移動した状態で、このピン28がラベル台紙1aのRFタグ供給側でのRFタグラベルテープ10におけるRFタグ7のRFタグ供給側端に位置する関係になっている。
この基点状態で、第2の吸引搬送ベルト20にて搬送されてきたRFタグ7が最上流側のピン28に当接する位置まで搬送されると、RFタグ搬入ベルト27がテープ幅W2にわたって上記第2の吸引搬送ベルト20の搬送速度よりW2−W3だけ速い速度で作動する。したがって、上記最上流側のピン28より1つ上流側のピン28がテープ幅W2だけ走行する間に上記RFタグ7の後端に当接してRFタグをタグ幅W3にわたって移動して停止し、このRFタグ7をラベル台紙1a側へ送り込む。この状態を図6にて示す。
この図6で示す状態でRFタグ搬入ベルト27が停止している間に第2の吸引搬送ベルト20で搬送されてきた次のRFタグ7が最上流側に位置する次のピン28に当接する。これによりRFタグ搬入ベルト27がテープ幅W2だけ作動し、このRFタグ7をラベル台紙1a側へテープ幅W2にわたって送り込む。この作動により先に送り込まれたRFタグ7は、テープ幅W2を1ピッチとして案内板24上を移動する。この状態でこのRFタグ7は1番手前側のRFタグラベルテープ10の幅方向中央に位置される。
このようにして図3、図7に示すように、ラベル台紙1aの各テープ幅W2の中央部に各RFタグ7が案内板24上で、ラベル台紙1aの走行方向に位置を合わせた状態で支持される。この状態でRFタグ供給装置6は一時停止し、従ってRFタグ搬入ベルト27も一時停止する。ついで図3、図4に示される各貼り付けローラ25が下動して圧胴26間でラベル台紙1aとRFタグ7を挟圧する。この状態でラベル台紙1aの走行に従って各RFタグ7がラベル台紙1aの各テープ幅W2の幅方向中央部に貼り付けられる。
その後、再びRFタグ供給装置6が作動して上記作動が繰り返される。このときにおいてラベル台紙1aは一定の速度で走行されており、ラベル台紙1aの走行方向に対する上記貼り付けローラ25による各RFタグ7の貼り付け位置は、このラベル台紙1aの走行速度とRFタグ供給装置6の作動タイミングを合わせることにより、適宜の位置に設定される。
また、このときにおいて上記RFタグ供給装置6の作動中に、RFタグ切断装置18にて単体状に切断された各RFタグ7は第1の吸引搬送ベルト19上を搬送される間にRFタグ検査装置21にて1個ずつ検査される。そしてこの検査にて不良品と判定されたRFタグ7は、この検査信号にて作動する区分け板23にて分別されて受け箱22内に落下される。
これにより第2の吸引搬送ベルト20側へのRFタグ7の搬送間隔は少なくとも1個分にわたって隙間があくが、その間にわたってRFタグ搬入ベルト27は停止しており、次のRFタグ7がピン28に当接することにより搬入作動を行う。またこのときにおいて、案内板24上に4個のRFタグ7が揃うまで、RFタグ7の1個分の搬送時間が遅れるので、その間にわたってラベル台紙1aの走行が停止される。
図8はラベル台紙1aに対するRFタグの貼り付け位置の一例を示すもので、L1の長さの各RFタグ7をL3の間隔をあけて貼り付けるとすると、次のRFタグ7の4列のラベル台紙1a上への供給動作はラベル台紙1aのL3の搬送時間内で行われればよく、ラベル台紙1aを通常は停止させることなく連続送りで行うことができる。そしてこのRFタグ7の供給が不良品排除のために、1個あるいは2個の供給間隔があいた場合には、その時点でラベル台紙1aの走行が停止し、4列分のRFタグ7の供給が完了した状態で走行を再開し、間欠送りで貼り合わせる。
なお図8において、L2はRFタグラベルテープ10をその後の工程で切断してRFタグラベル10aとしたときの長さを示す。
上記した実施の形態においては、RFタグ搬入ベルト27に設けたピン28は、これの先端が案内板24の上面に当接しながら移動して、この案内板24上のRFタグ7を押動するようにした例を示したが、このピン28によるRFタグ7の押動をより確実にするために、案内板24にピン28の移動軌跡にわたって溝を設け、この溝にピン28が没入した状態で上記押動作用を行うようにしてもよい。
図1において、29は貼り合わせ部8の下流側に設けた再検査装置、30は印字装置であり、この再検査装置29は4列並んだ各RFタグ7を再検査するものであり、この再検査において不良品と判定されたRFタグ7には剥離紙1bの上側から上記印字装置30にてその旨印字するようになっている。
上記構成において、ラベルテープ供給部2から供給されるラベルテープ1は、剥がし部3にて剥離紙1bが剥がされてラベル台紙1aとなり、その後このラベル台紙1aにRFタグ貼り付け部5にてRFタグ供給装置6から供給されるRFタグ7が4列にわたって貼り付けられる。
このときにおいて、RFタグ7はラベル台紙1aの走行方向に対して直交する側方から供給され、かつRFタグ検査装置21による検査済みのものだけが4列状の各RFタグラベルテープ10に供給される。
ついで貼り合わせ部8にて上記剥がし部3にて剥がされた剥離紙1bが上記RFタグ7を貼り付けたラベル台紙1aに重ねられて貼り合わされる。このとき、剥離後の剥離紙1bの裏面には、この貼り合わせ部8にてラベル台紙1aに貼り合わせたときのRFタグ7に対応する部分に糊装置13にて糊付けされ、貼り合わせ部8にて貼り合わせた剥離紙1bはラベル台紙1aに再接着されると共に、RFタグ7の全面にわたって接合される。
その後、貼り合わせ部8の下流側で、ラベル台紙1aと剥離紙1bとの間に封入されたRFタグ7は再検査装置29にて再検査して、不良品が混入している場合には、さらに下流側で各列ごとに印字装置30にてその不良品ごとに所定の印字を行い、これを使用段階で判別除去できるようにされる。
ただし、この工程における再検査及び不良品印字は、4列に切り離して巻き取る個々のRFタグラベルテープ10の巻き取りロールとしての次工程での処理装置部で検査除去することもでき、その方が設備費は低くすることができる。
上記再検査後にはスリッタ12にて走行方向にカットして4列のRFタグラベルテープ10として巻き取り部11にて巻き取りロールとして完成させる。
図9、図10、図11は発明の他の実施の形態を示すものである。
図9はウエット式のRFタグを用いる場合のRFタグ供給装置6aを示すものである。この場合のRFタグ連続体14aは、剥離紙31に個々のRFタグ7が糊にて貼り付けられている構成になっていて、このRFタグ連続体14aは引き出し搬送ベルト17にて引き出された後に剥離紙31を剥離紙巻き取り装置32にて剥離することにより、RFタグが1個ずつとなって第1・第2の吸引搬送ベルト19,20に搬送され、それ以後は図2に示した実施の形態と同様の作動にて個々のRFタグ7がラベル台紙1aに供給されるようになっている。この実施の形態においても、各RFタグ7は検査装置21にて検査され、不良品は区分け板23にて区分けされる。
この図9にて示した実施の形態によれば、剥離紙31を剥離することにより個々のRFタグとなるので図2で示した実施の形態のようなRFタグ切断装置18は不用となる。また、個々のRFタグ7の表面には糊が付着していて、ラベルテープ1から剥がした剥離紙1bは直接RFタグ7の表面に付着されるので、図1に示した実施の形態における糊装置13は不用となる。
この図9に示したウエット式のRFタグを用いるRFタグ供給装置6aの構成と、図2にて示したドライ式のRFタグを用いるRFタグ供給装置6の構成は、第1の吸引搬送ベルト19より下流側の構成は同一になっていて、これより上流側の構成はRFタグで連続体がドライ式かウエット式であるかによって選択的に用いられる。なお装置全体を選択的に用いてもよい。
図10はラベル台紙1aと剥離紙1bとを別々に供給し、ラベル台紙1aには台紙用糊装置33にてこれの全表面に糊を塗布し、これにRFタグ貼り付け部5にてRFタグ供給装置6から供給されるRFタグ7を貼り付けるようにした実施の形態を示す。そしてこのときのRFタグ供給装置6から供給されるRFタグ7がドライ方式である場合には、上記剥離紙1bのRFタグの貼り合わせ位置に糊装置13にて糊付けする。
図11は図3に示したRFタグ供給装置6の引き出し搬送ベルト17の側方に短辺幅のRFタグ7を供給する短辺幅RFタグ供給装置34を連結した構成のRFタグ供給装置6bを示す。上記短辺幅RFタグ供給装置34は、短辺幅のRFタグ連続体14bをロール状部から引き出しローラ15aにて引き出し、ループ部16aを介して引き出し搬送ベルト17aにて引き出し、ついでRFタグ切断装置18aにて長辺方向に切断して吸引搬送ベルト19aにてRFタグ供給装置6の引き出し搬送ベルト17上へ供給するようになっている。
この実施の形態によれば、RFタグ連続体のロール状部の幅がRFタグの長辺側の場合と短辺側の場合の2通りのものを使用できる。
本発明装置の全体を示す正面図である。 図1のA−A線矢視図で、RFタグ供給装置を示す説明図である。 RFタグ供給装置を示す平面図である。 図3のB−B矢視拡大図である。 RFタグ供給装置の作用説明図である。 RFタグ供給装置の作用説明図である。 RFタグ供給装置の作用説明図である。 RFタグラベルテープを示す平面図である。 RFタグ供給装置の他例を示す説明図である。 RFタグラベルテープの製造装置の他例を示す正面図である。 RFタグ供給装置の他例を示す平面図である。
符号の説明
1…ラベルテープ、1a…ラベル台紙、1b、31…剥離紙、2…ラベルテープ供給部、3…剥がし部、4…剥がしローラ、5…RFタグ貼り付け部、6,6a,6b…RFタグ供給装置、7…RFタグ、8…貼り合わせ部、9…貼り合わせローラ、10…RFタグラベルテープ、10a…RFタグラベル、11…テープ巻き取り部、12…スリッタ、13…糊装置、14,14a…RFタグ連続体、15…引き出しローラ、16…ループ部、17…引き出し搬送ベルト、18…RFタグ切断装置、19,20…第1・第2の吸引搬送ベルト、19a,20a…吸引箱、21…RFタグ検査装置、22…受け箱、23…区分け板、24…案内板、25…貼り付けローラ、26…圧胴、27…RFタグ搬入ベルト、28…ピン、29…再検査装置、30…印字装置、32…剥離紙巻き取り装置、33…台紙用糊装置、34…短辺幅RFタグ供給装置。

Claims (6)

  1. 全面に糊が塗布されているラベル台紙にRFタグを貼り付けてから剥離紙を積層することにより、ラベル台紙と剥離紙とからなるラベルテープ内にRFタグを長手方向に所定の間隔で封入してなるRFタグラベルテープの製造装置において、
    RFタグラベルテープの複数倍の幅を有するラベルテープのラベル台紙と剥離紙とが別々に走行する走行ラインを設け、この走行ラインの下流側に、ラベル台紙と剥離紙を貼り合わせてラベルテープとするRFタグ貼り合わせ部と、このラベルテープを各RFタグラベルテープの幅に分断するスリッタを設け、
    上記ラベル台紙の走行ラインの側方に、ラベル台紙の各RFタグラベルテープ幅の位置に、ラベル台紙の走行方向と直行する方向からRFタグを供給するRFタグ供給装置を設け、
    上記RFタグ供給装置は、RFタグを1個ずつ搬送するRFタグ搬送手段と、このRFタグ搬送手段にて搬送される間に各RFタグの機能を検査する機能検査手段と、機能検査手段による不良品を除去する不良品除去手段が設けられている
    ことを特徴とするRFタグラベルテープの製造装置。
  2. RFタグ供給装置のRFタグ搬送手段が、
    ドライ式のRFタグ連続体を搬送する搬送手段と、このRFタグ連続体から1個ずつのRFタグに切断して機能検査手段側へ供給する切断手段とからなる
    ことを特徴とする請求項1記載のRFタグラベルテープの製造装置。
  3. RFタグ供給装置のRFタグ搬送手段が、
    剥離紙にRFタグを貼り付けてなるウエット式のRFタグ連続体を搬送する搬送手段と、このRFタグ連続体から剥離紙を剥離して1個ずつRFタグを機能検査手段側へ供給する剥離紙剥離手段とからなる
    ことを特徴とする請求項1記載のRFタグラベルテープの製造装置。
  4. 請求項2記載のRFタグ供給装置と、請求項3記載のRFタグ供給装置を選択的に用いることができるようにしたことを特徴とする請求項1記載のRFタグラベルテープの製造装置。
  5. 剥離紙の走行ラインに、ドライ式のRFタグを貼り付けたラベル台紙に貼り合わせる剥離紙のRFタグに対応する位置にあらかじめ糊を塗布する糊装置を設けたことを特徴とする請求項2,4記載のRFタグラベルテープの製造装置。
  6. ラベル台紙の走行ラインで、かつRFタグ供給装置に対応する位置に、RFタグ供給装置から1個ずつ供給されるRFタグを、ラベル台紙の走行とタイミングを合わせて各RFタグラベルテープ幅の位置に搬入するRFタグ搬入ベルトを設けたことを特徴とする請求項1,2,3,4及び5のいずれか1項記載のRFタグラベルテープの製造装置。
JP2008164461A 2008-06-24 2008-06-24 Rfタグラベルテープの製造装置 Expired - Fee Related JP5386117B2 (ja)

Priority Applications (1)

Application Number Priority Date Filing Date Title
JP2008164461A JP5386117B2 (ja) 2008-06-24 2008-06-24 Rfタグラベルテープの製造装置

Applications Claiming Priority (1)

Application Number Priority Date Filing Date Title
JP2008164461A JP5386117B2 (ja) 2008-06-24 2008-06-24 Rfタグラベルテープの製造装置

Publications (2)

Publication Number Publication Date
JP2010005801A true JP2010005801A (ja) 2010-01-14
JP5386117B2 JP5386117B2 (ja) 2014-01-15

Family

ID=41586849

Family Applications (1)

Application Number Title Priority Date Filing Date
JP2008164461A Expired - Fee Related JP5386117B2 (ja) 2008-06-24 2008-06-24 Rfタグラベルテープの製造装置

Country Status (1)

Country Link
JP (1) JP5386117B2 (ja)

Cited By (9)

* Cited by examiner, † Cited by third party
Publication number Priority date Publication date Assignee Title
JP2012139928A (ja) * 2010-12-29 2012-07-26 Fuji Xerox Co Ltd ラベル用紙、及びその製造方法
WO2015151306A1 (ja) * 2014-03-31 2015-10-08 サトーホールディングス株式会社 Icタグ発行装置およびシールド板
CN106133758A (zh) * 2014-03-31 2016-11-16 佐藤控股株式会社 Ic标签发行装置
CN108082991A (zh) * 2017-12-18 2018-05-29 深圳市天美克科技有限公司 自动剥离收集设备
JP2018136955A (ja) * 2018-03-14 2018-08-30 サトーホールディングス株式会社 Icタグ発行装置およびシールド板
US10242238B2 (en) 2014-03-31 2019-03-26 Sato Holdings Kabushiki Kaisha IC tag issuing apparatus
JP2019526447A (ja) * 2016-07-20 2019-09-19 バリー−ヴェーミラー ペイパーシステムズ インコーポレイテッド キャリアウェブへのデータキャリアの取り付け装置
CN113967941A (zh) * 2021-10-18 2022-01-25 广州山木新材料科技有限公司 一种标签自动分拣切片机
WO2023100761A1 (ja) * 2021-12-03 2023-06-08 株式会社村田製作所 Rfidタグピッチ変換装置

Citations (10)

* Cited by examiner, † Cited by third party
Publication number Priority date Publication date Assignee Title
JPH0655878A (ja) * 1992-08-10 1994-03-01 Eiburii Toppan Kk プリンター用タック紙とその製造方法
JPH1017134A (ja) * 1996-07-04 1998-01-20 Toyo Jidoki Co Ltd 包装袋の配列方法及び装置
JP2002134635A (ja) * 2000-10-24 2002-05-10 Toppan Forms Co Ltd Icラベルの製造装置および製造方法
JP2003530252A (ja) * 2000-04-07 2003-10-14 メルツエル、マシネンバウ、ゲーエムベーハー トランスポンダーを備えたデータキャリアを製造するための方法及び装置
JP2006027050A (ja) * 2004-07-15 2006-02-02 Osaka Sealing Printing Co Ltd ラベル連続体の製造方法および製造装置
JP2006240302A (ja) * 2006-03-27 2006-09-14 Osaka Sealing Printing Co Ltd 多重ラベルの製造装置
JP2007094977A (ja) * 2005-09-30 2007-04-12 Nippon Tsushinki Kk インレット供給装置
JP2007108983A (ja) * 2005-10-13 2007-04-26 Matsushita Electric Ind Co Ltd Ic実装モジュールとその製造方法および製造装置
JP2007111868A (ja) * 2005-10-18 2007-05-10 Asahi Printing Co Ltd タックシュリンクラベル載せ換え装置
JP2007148511A (ja) * 2005-11-24 2007-06-14 Toppan Forms Co Ltd アンテナシート及びその製造方法

Patent Citations (10)

* Cited by examiner, † Cited by third party
Publication number Priority date Publication date Assignee Title
JPH0655878A (ja) * 1992-08-10 1994-03-01 Eiburii Toppan Kk プリンター用タック紙とその製造方法
JPH1017134A (ja) * 1996-07-04 1998-01-20 Toyo Jidoki Co Ltd 包装袋の配列方法及び装置
JP2003530252A (ja) * 2000-04-07 2003-10-14 メルツエル、マシネンバウ、ゲーエムベーハー トランスポンダーを備えたデータキャリアを製造するための方法及び装置
JP2002134635A (ja) * 2000-10-24 2002-05-10 Toppan Forms Co Ltd Icラベルの製造装置および製造方法
JP2006027050A (ja) * 2004-07-15 2006-02-02 Osaka Sealing Printing Co Ltd ラベル連続体の製造方法および製造装置
JP2007094977A (ja) * 2005-09-30 2007-04-12 Nippon Tsushinki Kk インレット供給装置
JP2007108983A (ja) * 2005-10-13 2007-04-26 Matsushita Electric Ind Co Ltd Ic実装モジュールとその製造方法および製造装置
JP2007111868A (ja) * 2005-10-18 2007-05-10 Asahi Printing Co Ltd タックシュリンクラベル載せ換え装置
JP2007148511A (ja) * 2005-11-24 2007-06-14 Toppan Forms Co Ltd アンテナシート及びその製造方法
JP2006240302A (ja) * 2006-03-27 2006-09-14 Osaka Sealing Printing Co Ltd 多重ラベルの製造装置

Cited By (17)

* Cited by examiner, † Cited by third party
Publication number Priority date Publication date Assignee Title
JP2012139928A (ja) * 2010-12-29 2012-07-26 Fuji Xerox Co Ltd ラベル用紙、及びその製造方法
US10242238B2 (en) 2014-03-31 2019-03-26 Sato Holdings Kabushiki Kaisha IC tag issuing apparatus
US10255542B2 (en) 2014-03-31 2019-04-09 Sato Holdings Kabushiki Kaisha IC tag issuing apparatus and shield plate
CN106133758A (zh) * 2014-03-31 2016-11-16 佐藤控股株式会社 Ic标签发行装置
CN106164928A (zh) * 2014-03-31 2016-11-23 佐藤控股株式会社 Ic标签发行装置以及屏蔽板
US10217035B2 (en) 2014-03-31 2019-02-26 Sato Holdings Kabushiki Kaisha IC tag issuing apparatus
WO2015151306A1 (ja) * 2014-03-31 2015-10-08 サトーホールディングス株式会社 Icタグ発行装置およびシールド板
JP2015194815A (ja) * 2014-03-31 2015-11-05 サトーホールディングス株式会社 Icタグ発行装置およびシールド板
CN106133758B (zh) * 2014-03-31 2019-08-13 佐藤控股株式会社 Ic标签发行装置
JP2019526447A (ja) * 2016-07-20 2019-09-19 バリー−ヴェーミラー ペイパーシステムズ インコーポレイテッド キャリアウェブへのデータキャリアの取り付け装置
CN108082991A (zh) * 2017-12-18 2018-05-29 深圳市天美克科技有限公司 自动剥离收集设备
CN108082991B (zh) * 2017-12-18 2024-06-04 深圳市天美克科技有限公司 自动剥离收集设备
JP2018136955A (ja) * 2018-03-14 2018-08-30 サトーホールディングス株式会社 Icタグ発行装置およびシールド板
CN113967941A (zh) * 2021-10-18 2022-01-25 广州山木新材料科技有限公司 一种标签自动分拣切片机
CN113967941B (zh) * 2021-10-18 2023-03-14 广州山木新材料科技有限公司 一种标签自动分拣切片机
WO2023100761A1 (ja) * 2021-12-03 2023-06-08 株式会社村田製作所 Rfidタグピッチ変換装置
JP2023082846A (ja) * 2021-12-03 2023-06-15 株式会社村田製作所 Rfidタグピッチ変換装置

Also Published As

Publication number Publication date
JP5386117B2 (ja) 2014-01-15

Similar Documents

Publication Publication Date Title
JP5386117B2 (ja) Rfタグラベルテープの製造装置
JP4551122B2 (ja) Rfidラベルの貼付装置
US5389191A (en) Mounting apparatus for deploying an electronic component mounts formed on a tape carrier
US20080295318A1 (en) Method and Device for Continuously Producing Electronic Film Components and an Electronic Film Component
JP4978832B2 (ja) 非接触通信部材の製造方法および非接触通信部材の製造装置、並びに、インターポーザの製造方法およびインターポーザの製造装置
JP2003006596A (ja) データキャリアシートの製造装置
JP4430728B2 (ja) 大判インレットの製造方法、インレット付テープ、その製造方法及びその製造装置
US11615283B2 (en) System and method for producing a strip of material with an integrated electronic component
JP2007094977A (ja) インレット供給装置
US8640325B2 (en) Method of continuously producing electronic film components
KR20160143971A (ko) 드라이필름 라미네이팅 모듈 및 이를 이용한 pcb 제조방법
JPWO2005073902A1 (ja) 電子回路基板中間部材、その製造方法、その製造装置、非接触idカード類の製造方法、およびその装置
JP5324254B2 (ja) Icラベル製造装置
JP2017177636A (ja) ラベル製造装置
CN223059471U (zh) 一种贴标复合机
JP4606812B2 (ja) シート状媒体製造装置
JP4031661B2 (ja) 接続部材貼付装置
JP4526878B2 (ja) 非接触データキャリア部材取付方法及び装置
JP5501912B2 (ja) Rfidラベルロール製造装置
JP4754251B2 (ja) 非接触式icタグシートの製造方法及びその製造装置
JP6679163B2 (ja) ラベル製造装置
JP2006039659A (ja) 非接触データキャリア部材取付方法及び装置
JP6679164B2 (ja) ラベル製造装置
JP2017177633A (ja) ラベル製造装置
JP5167619B2 (ja) 非接触型データキャリア用導電シートの製造方法及び装置、icタグ付きシートの製造装置。

Legal Events

Date Code Title Description
RD04 Notification of resignation of power of attorney

Free format text: JAPANESE INTERMEDIATE CODE: A7424

Effective date: 20100209

A621 Written request for application examination

Free format text: JAPANESE INTERMEDIATE CODE: A621

Effective date: 20110610

A977 Report on retrieval

Free format text: JAPANESE INTERMEDIATE CODE: A971007

Effective date: 20121122

A131 Notification of reasons for refusal

Free format text: JAPANESE INTERMEDIATE CODE: A131

Effective date: 20130109

A521 Request for written amendment filed

Free format text: JAPANESE INTERMEDIATE CODE: A523

Effective date: 20130311

TRDD Decision of grant or rejection written
A01 Written decision to grant a patent or to grant a registration (utility model)

Free format text: JAPANESE INTERMEDIATE CODE: A01

Effective date: 20130925

A61 First payment of annual fees (during grant procedure)

Free format text: JAPANESE INTERMEDIATE CODE: A61

Effective date: 20131007

R150 Certificate of patent or registration of utility model

Ref document number: 5386117

Country of ref document: JP

Free format text: JAPANESE INTERMEDIATE CODE: R150

Free format text: JAPANESE INTERMEDIATE CODE: R150

R250 Receipt of annual fees

Free format text: JAPANESE INTERMEDIATE CODE: R250

R250 Receipt of annual fees

Free format text: JAPANESE INTERMEDIATE CODE: R250

R250 Receipt of annual fees

Free format text: JAPANESE INTERMEDIATE CODE: R250

R250 Receipt of annual fees

Free format text: JAPANESE INTERMEDIATE CODE: R250

R250 Receipt of annual fees

Free format text: JAPANESE INTERMEDIATE CODE: R250

R250 Receipt of annual fees

Free format text: JAPANESE INTERMEDIATE CODE: R250

LAPS Cancellation because of no payment of annual fees