JP2006201416A - 投射型表示装置及びマルチスクリーン表示装置 - Google Patents

投射型表示装置及びマルチスクリーン表示装置 Download PDF

Info

Publication number
JP2006201416A
JP2006201416A JP2005012232A JP2005012232A JP2006201416A JP 2006201416 A JP2006201416 A JP 2006201416A JP 2005012232 A JP2005012232 A JP 2005012232A JP 2005012232 A JP2005012232 A JP 2005012232A JP 2006201416 A JP2006201416 A JP 2006201416A
Authority
JP
Japan
Prior art keywords
display device
light
projection
detector
projection lens
Prior art date
Legal status (The legal status is an assumption and is not a legal conclusion. Google has not performed a legal analysis and makes no representation as to the accuracy of the status listed.)
Granted
Application number
JP2005012232A
Other languages
English (en)
Other versions
JP4736436B2 (ja
Inventor
Manabu Suginobu
学 杉延
Satoshi Shibuya
敏 渋谷
Mitsuru Oki
満 沖
Current Assignee (The listed assignees may be inaccurate. Google has not performed a legal analysis and makes no representation or warranty as to the accuracy of the list.)
Hitachi Ltd
Original Assignee
Hitachi Ltd
Priority date (The priority date is an assumption and is not a legal conclusion. Google has not performed a legal analysis and makes no representation as to the accuracy of the date listed.)
Filing date
Publication date
Application filed by Hitachi Ltd filed Critical Hitachi Ltd
Priority to JP2005012232A priority Critical patent/JP4736436B2/ja
Priority to US11/312,763 priority patent/US7543944B2/en
Priority to CNB2006100012061A priority patent/CN100520564C/zh
Publication of JP2006201416A publication Critical patent/JP2006201416A/ja
Application granted granted Critical
Publication of JP4736436B2 publication Critical patent/JP4736436B2/ja
Anticipated expiration legal-status Critical
Expired - Fee Related legal-status Critical Current

Links

Images

Classifications

    • HELECTRICITY
    • H04ELECTRIC COMMUNICATION TECHNIQUE
    • H04NPICTORIAL COMMUNICATION, e.g. TELEVISION
    • H04N9/00Details of colour television systems
    • H04N9/12Picture reproducers
    • H04N9/31Projection devices for colour picture display, e.g. using electronic spatial light modulators [ESLM]
    • H04N9/3191Testing thereof
    • H04N9/3194Testing thereof including sensor feedback
    • HELECTRICITY
    • H04ELECTRIC COMMUNICATION TECHNIQUE
    • H04NPICTORIAL COMMUNICATION, e.g. TELEVISION
    • H04N9/00Details of colour television systems
    • H04N9/12Picture reproducers
    • H04N9/31Projection devices for colour picture display, e.g. using electronic spatial light modulators [ESLM]
    • H04N9/3141Constructional details thereof
    • H04N9/3147Multi-projection systems
    • HELECTRICITY
    • H04ELECTRIC COMMUNICATION TECHNIQUE
    • H04NPICTORIAL COMMUNICATION, e.g. TELEVISION
    • H04N9/00Details of colour television systems
    • H04N9/12Picture reproducers
    • H04N9/31Projection devices for colour picture display, e.g. using electronic spatial light modulators [ESLM]
    • H04N9/3179Video signal processing therefor
    • H04N9/3182Colour adjustment, e.g. white balance, shading or gamut
    • HELECTRICITY
    • H04ELECTRIC COMMUNICATION TECHNIQUE
    • H04NPICTORIAL COMMUNICATION, e.g. TELEVISION
    • H04N5/00Details of television systems
    • H04N5/44Receiver circuitry for the reception of television signals according to analogue transmission standards
    • H04N5/57Control of contrast or brightness
    • H04N5/58Control of contrast or brightness in dependence upon ambient light

Landscapes

  • Engineering & Computer Science (AREA)
  • Multimedia (AREA)
  • Signal Processing (AREA)
  • Projection Apparatus (AREA)
  • Liquid Crystal (AREA)
  • Control Of Indicators Other Than Cathode Ray Tubes (AREA)
  • Controls And Circuits For Display Device (AREA)

Abstract

【課題】
投射型表示装置において、表示領域内の光強度を投射光の乱反射光を検出することにより把握し、自動的に調整することで光学部品の経時変化を低減し良好な映像を表示する。
【解決手段】
本発明の投射型表示装置は、光源(20)、光源からの光を駆動電圧に応じて変調し光学像を形成する表示デバイス(29,34,42)、表示デバイス上の光学像を拡大投影する投射レンズ(15)、該投射レンズからの光を検出する検出器(5)、及び該検出器の出力に応じて前記駆動電圧を制御する制御回路(11)を有する。そしてこの検出器は、投射レンズから出射される光束の外縁近傍に配置され、投射レンズからの光のうちスクリーン(45)の有効領域外に到達する光(乱反射光)を検出する。
【選択図】 図1

Description

本発明は、液晶などの表示デバイス上に形成した光学像を拡大して投射する投射型表示装置、およびそれを用いたマルチスクリーン表示装置に関する。
従来の投射型表示装置においては、一般に光源にはランプが使用されるが、このランプは使用初期の段階では輝度が高く、使用時間が長くなるにつれて輝度が低下する。この輝度低下を補償する従来技術としては、例えば特許文献1、2に記載のものが知られている。特許文献1には、投射型表示装置のスクリーン近傍に明るさ(輝度)を検出する光検出器(以下、「検出器」と省略する)を配置し、その検出出力に応じて光源に供給する入力パワーの大きさを調整して、スクリーン上での明るさが一定となるように制御する技術が開示されている。また特許文献2には、検出器を光源から表示デバイスに至るまでの光路途中に配置し、特許文献1と同様に、検出器の出力に応じて光源に供給する入力パワーの大きさを調整するようにして、スクリーン上での明るさが一定となるように制御する技術が開示されている。
特開平2−73241号公報 特開2001−117164号公報
特許文献1に記載された技術においては、スクリーンの近傍の有効領域内に検出器を配置している。このため、スクリーンの周囲の光(例えば投射型表示装置が設置されている部屋の照明光)の影響により投射レンズからの輝度を正しく測定できない可能性がある。さらにスクリーン近傍の有効領域内に検出器を配置しているため、検出器の影が映像に影響してしまい、常時配置して調整することができない。
特許文献2においては、光源から表示デバイスに至るまでの密閉構造の光路途中に検出器を配置しているため、特許文献1のように周囲光の影響は受けない。しかしながら、経時変化するのは光源だけではなく、偏光板や表示デバイスなどの光学部品が光源からの光に含まれる紫外線により劣化され得る。したがって、特許文献2においては、光源および光源から検出器までの光路上に設けられている光学部品の経時変化は検出可能であるが、検出器以降の光路上に配置されているその他の光学部分(特に表示デバイス)の経時変化は検出できない。
本発明は、上記事情に鑑みてなされたものである。その目的は、投射型表示装置において、光源、表示デバイス、偏光板などの光学部品の経時変化に対する補償や補正を、スクリーン上の映像に対する影響、または周囲光の影響を低減しつつ行うことが可能な技術を提供することにある。
上記課題を解決するために、本発明の投射型表示装置においては、投射レンズから出射される投射光の乱反射光の輝度を検出器により検出することを特徴とする。この乱反射光は、例えば検出器を投射レンズから出射される光束の外縁近傍に配置することにより検出される。この構成とすることで、表示デバイスや偏光板を透過もしくは反射した光を検出できるので、光源から投射レンズまでの光学部品全ての経時変化に対応できる。ここで乱反射光とは、投射レンズを透過する際にレンズの表面や鏡筒内面などで乱反射を起こし、スクリーンの表示領域外に投射される光、すなわち投射レンズから出射される光のうちスクリーンの有効領域外に到達しない光を示す。このため、検出器の影がスクリーンの有効領域に上に投影されず、検出器の(影の)映像に与える影響を低減できる。このとき、検出器の受光部を投射レンズ側に向け、該投射レンズに近接して配置すれば、投射レンズからの出射光以外の周囲光の影響を大きく低減できる。
本発明によれば、検出器の映像に与える影響を低減しつつ光上記各種光学部品の経時変化に対する補償や補正を行うことができる。また、そのような補償または補正を、装置外部の周囲光の影響を低減して行うことが可能となる。
以下、本発明に係る実施の形態について図面を用いて説明する。
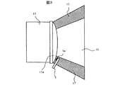
図1は本発明を適用した第1の実施例を示す投射型表示装置の構成を示す図、図2は投射レンズの光軸に直交する断面を拡大し出射光側から見た図、図3は投射レンズを拡大し横から見た図、図4は表示領域内で画像光の光強度を変化させたときに乱反射光の光強度を検出器で検出した結果をグラフ化したものである。
図1において、1は投射型表示装置であり、光学部2と信号処理部3とを含む。最初に、図1,図2,図3,図4を用いて、光学部2について説明する。図1において、光源20から出た光束は複数のレンズセル(図示せず)からなる第1レンズアレイ21に入射する。第1レンズアレイ21に入射した光束は各レンズセルで複数の光束に分割され、複数のレンズセル(図示せず)からなる第2レンズアレイ22のそれぞれ対応したレンズセル(図示せず)近傍に2次光源像を形成する。第2レンズアレイ22は、第1レンズアレイの各レンズセル像を合焦レンズ24とコンデンサレンズ27,32とリレーレンズ36,38,40とともに表示デバイス29,34,42上に重畳して結像させ、均一な照明を行う。
このとき、第2レンズアレイ22を出射した光束は、偏光ビームスプリッタ−23により偏光がそろえられる(例えばS偏光)。また、合焦レンズ24を出射した白色光は、色分離手段としてのダイクロイックミラー25,31と、光路を折り曲げる反射ミラー26,37,39の作用により、それぞれ各色対応(ここでは、赤色,緑色,青色)の表示デバイス29,34,42(ここでは透過型液晶パネル)に分離されて導かれる。また、コントラストを向上させるために、表示デバイス29,34,42の前後に入射側偏光板28,33,41と出射側偏光板30,35,43が配置されている。
表示デバイス29,34,42にそれぞれ入射した色光は、各表示デバイスで後述する表示デバイス駆動回路からの駆動信号(電圧)に基づいて光強度変調されて、光学像が形成され、合成プリズム44により色合成されてカラー光学像とされ、該カラー光学像は投射レンズ15で拡大されてスクリーン45上に投射される。
投射レンズ15からの出射光(投射光)は、図2,図3に示されるように、その光束断面が表示デバイスの表示領域(図示せず)と相似な矩形状領域(以下、この領域も「表示領域」と称する)16aであるスクリーン45上で光学像を形成する画像光16と、画像光16の周囲に形成される乱反射光17とからなる。乱反射光17は投射レンズ15内でレンズの表面や鏡筒15の面等で反射されて生じた光である。この乱反射光17は、スクリーン45の有効(表示)領域外に投影される。そして、投射レンズ15の出射側レンズ15a近傍には、明るさ(輝度)を検出する検出器5が配設されている。検出器5は、図3から明らかなように、周囲光の影響を低減するために、その受光部5aが投射レンズ15の出射側レンズ15aの向きに取り付けられ、表示領域16aの周囲に現れる乱反射光(斜線部)17の光強度を検出する構成になっている。
図4に、画像光領域内で画像光の光強度を変化させたときに検出器5で検出される乱反射光の光強度特性の一例を模式的に示す。この光強度特性から画像光領域内の光強度とその周辺に現れる乱反射光に相関関係があることが導かれる。つまり、画像光に影響を及ぼさない(例えば、検出器5の影が生じない)ように、表示領域外に検出器5を配置し、検出器5で乱反射光17を検出すれば、検出値と画像光の光強度との間に相関があるので、投射型表示装置の最初の使用開始時の検出器5による初期検出値と、経時変化後の検出値とを比較すれば、初期値に対する光強度(輝度)低下量の変化(後述するが、本発明では初期検出値に対する経時変化後の検出値の比を用いる)を知ることができる。
次に、図1を用いて、信号処理部3について説明する。図1において、信号処理部3は、入力された映像信号に必要な信号処理を行う映像信号処理回路7と、信号処理された映像信号を記憶するためのフレームメモリ14と、フレームメモリ14から出力された映像信号を基に表示デバイス29,34,42をそれぞれ駆動する駆動信号を生成する表示デバイス駆動回路13と、表示デバイス駆動回路13から出力される最大諧調値(例えば映像信号が8ビットの場合には、階調値255)に対応した出力電圧を調整する出力電圧レベル調整回路12と、光束の明るさ(輝度)を検出する検出器5から出力される電流または電圧を増幅するアンプ8と、アンプ8の出力をデジタルデータに変換するA/D変換回路9と、不揮発性のメモリ10と、図示しないROMに格納されたプログラムに従って投射型表示装置全体の制御を行う演算制御手段(以下、「マイコン」と記す)11で構成されている。
メモリ10には、光源,偏光板や表示デバイスなどの光学部品の経時変化で生じる輝度低下の変化を測定するための表示パターン(ビットマップパターン)が予め記憶されており、また、輝度低下の変化の基準値となる初期値が記憶される。
通常の映像表示の場合、信号処理部3に入力された映像信号6は映像信号処理回路7で所定の信号処理がなされ、フレームメモリ14に記憶される。表示デバイス駆動回路13は、フレームメモリ14から入力された映像信号を基に、表示デバイス29,34,42をそれぞれ駆動する駆動信号を生成し、各表示デバイスを駆動して、それぞれの光の透過率あるいは反射率を該駆動信号電圧に応じて変化させ、各表示デバイス上に該表示デバイスに対応した色光の光学像を形成させる。この時、表示デバイス駆動回路13から出力される最大諧調値に対応した出力電圧Vw(以下、この電圧を疑義が生じない限り、「基準出力電圧」と称する)が出力電圧レベル調整回路12で規定されるので、表示デバイス駆動回路13から出力される任意諧調値の映像信号の出力電圧は、基準出力電圧Vwを重み係数とした出力となる。従って、表示デバイス上に形成される光学像の明るさ(輝度)は基準出力電圧Vwにより左右されることになる。つまり、基準出力電圧Vwを調整することにより、明るさを変えることができる。なお、ここでは、基準出力電圧Vwが大きい程明るくなるものとする。
通常、Vwで透過率100%となるように設定するが、以下の説明では、使用開始時(工場出荷時)に、Vwで透過率100%以下にし、経時変化で生じる輝度低下を、Vwを大きくして補正できるようにしているものとする。ただし、本発明はこれに限定されるものではない。
一方、光強度を検出する場合には、マイコン11はメモリ10から所定の表示パターンを読み出し、フレームメモリ14上に書込み、表示デバイス駆動回路を介して各表示デバイス上に所定の表示パターンを表示し、スクリーン45に投射させる。投射レンズ15の出射側近傍に配設された検出器5は、投射レンズ15から出射される光(乱反射光)を検出して、例えば電圧を発生させ、該電圧はA/D変換器でデジタル量に変換され、マイコン11に入力される。マイコン11は、初期値の測定の場合には、入力された測定データをメモリ10に初期値として記憶させ、以降の経時変化の影響による輝度低下の調整の場合には、経時変化で生じる輝度低下の影響を低減するために、初期値からの変化量(後述するが、本発明では変化比)を求め、その変化量に基づいて、出力電圧レベル調整回路12で、表示デバイス駆動回路13から表示デバイスに出力される駆動信号の基準出力電圧を調整する。これらの一連の処理は、フローチャート図を用いて詳細に後述する。なお、投射型表示装置の使用開始時には、表示デバイス駆動回路13から出力される基準出力電圧は、出力電圧レベル調整回路12で所定の出力電圧に設定されているものとする。
図5は、予めメモリ10に格納されている、経時変化で生じる輝度低下の変化を測定する際に用いる表示パターン(ビットマップパターン)の一例である。表示デバイスの矩形状の表示領域を、図5のように、8行(行V〜V)8列(列H〜H)のセル(小領域)52に64分割し、(H列,V行)のセルをHで表示するものとすれば、メモリ10には、各セルH(i,j:0〜7)部のみを白(100%)表示させ、他のセルは黒(0%)表示させる64通りの表示パターンが格納されている。図5では、セルHが白表示部分50で、他のセルは黒表示部分51である。マイコン11は表示パターンを表示する場合、メモリ10に格納されている表示パターンの内の一つを適宜読み出し、フレームメモリ14に書込み、表示デバイスにパターン表示を行わせる。なお、以下セルH部のみを白表示させる表示パターンをPijで表すものとする。
ところで、図1において、光源20は光を投射するものを意味しており、ランプやLED等でもよく、限定するものではない。また、光学部2の構成は偏光ビームスプリッター、偏光板、レンズ、表示デバイスなど必ずしも図1のような構成にする必要はない。用いる表示デバイスに合わせて、適宜その構成を変更してもよい。
以下、本実施例による経時変化で生じる輝度低下の調整処理の動作について、フローチャートを用いて詳細に説明する。まず、リファレンスデータ(初期値)の取得手順について説明する。図6はリファレンスデータ(初期値)取得手順のフローチャートである。
図6において、ステップ(以下、「S」と省略する)101でリファレンスデータの取得を開始すると、まず初期値j=0(S102),i=0(S103)とし、S104に進み、図5に示すように、64セルに分割した表示デバイスの表示領域の内セルHのみを白表示にした表示パターンPijをメモリ10から読み出し、フレームメモリ14に書込み、該表示パターンPijを表示デバイス上に形成し、投射レンズ15でスクリーン45に投射させる。そして、投射レンズ15の出射側レンズ15a近傍に配設された検出器5から得られる乱反射光17の光強度を検出し、そのときの検出器5の検出出力値(以下、「センサ出力値」と称する)Rijを表示パターンPijに対応させてメモリ10に記憶する(S105)。S106では現在値iに+1し、S107でその加算値が表示領域の列数8より小さいかを判定する。S107の判定結果がYESであれば、Vj行でのデータ取得が終わってないので、S104に戻り、以下、Vj行の全てのセルH(i:0〜7)でのデータ取得が終わるまでS104〜S107の処理を繰り返す。
S107でNOであれば、Vj行の全てのセルでのデータ取得が終わったので、次の行のデータ取得を行うために、S108で現在値jに+1する。そして、S109でその加算値が表示領域の行数8より小さいかを判定し、その判定結果がYESであれば、全ての行でのデータ取得が終わってないので、S103に戻り、以下、全ての行でのデータ取得が終わるまでS103〜S109の処理を繰り返す。S109でNOであれば、すべての行すなわち全てのセルでのデータ取得が終わったので、リファレンスデータ取得処理を終了する(S110)。
以上の処理で得られた、つまりセルHのみ白表示でその他の全てのセルを黒表示として得られた64個のデータ(R00からR77)をリファレンスデータとする。
なお、本実施例では、64分割の表示パターンについて説明したが、表示パターンの分割数詳細に関してはシステムや目的に応じて調整するものであり、分割数を増やすほど表示領域内を細かく把握でき検出時間が増えるが、本実施例の表示パターンの分割数に限定するものではない。
次に、経時変化で生じる輝度低下の調整処理の動作について説明する。図7は表示領域を分割したセル毎の調整手順のフローチャートである。
図7において、S201で調整を開始すると、まず初期値j=0(S202)、i=0(S203)とし、S204に進む。S204では、図6のS104と同様にセルHのみを白表示にした表示パターンPijを出力し、投射型表示装置1で表示させ、検出器5から得られる乱反射光17の光強度を検出し、そのときの検出器5のセンサ出力値Aijを表示パターンPijに対応させてメモリ10に記憶する(S205)。
次に、S206で、セルHにおける経年変化による輝度低下の変化量を初期値であるリファレンスデータRijに対するAijの比で定義し、マイコン11はメモリ10からRijとAijを読み出し、該変化量αij=Aij/Rijを算出する。そして、S207で、変化量αijが1であるか判定を行う。S207でNOであれば輝度変化が大きいので、S212に行き、表示デバイス駆動回路13の出力電圧を出力電圧レベル調整回路12で、表示デバイス上の光学像の明るさを明るくする方向に調整し、S204〜S207−S212のループ処理を繰り返し行い、変化量αij=1となるようにする。なお、用いた表示パターンの白は100%レベルなので、表示デバイス駆動回路13の出力電圧は最大階調値に対応した基準出力電圧となるが、αij=1となれば、初期の明るさと等しい明るさを実現できる基準出力電圧となる。
S207でYESであれば、そのセルでは輝度低下(変化)はない(あるいはαij=1と調整できた)ので、その時の表示デバイス駆動回路13からの出力電圧(基準出力電圧)を表示パターンPijに対応させてメモリ10に記憶し、S208に進み、現在値iに+1し、S209でその加算値が表示領域の列数8より小さいかを判定する。S209の判定結果がYESであれば、V行での調整が終わってないので、S204に戻り、以下、V行の全てのセルH(i:0〜7)での調整が終わるまでS204〜S209の処理を繰り返す。
S209でNOであれば、V行の全てのセルでの調整が終わったので、次の行の調整を行うために、S210で現在値jに+1する。そして、S211でその加算値が表示領域の行数8より小さいかを判定し、の判定結果がYESであれば、全ての行でのデータ取得が終わってないので、S203に戻り、以下、全ての行でのデータ取得が終わるまでS203〜S211の処理を繰り返す。S211でNOであれば、すべての行すなわち全てのセルでの調整が終わったので、調整処理を終了する(S213)。
この調整処理で得られた、全ての64分割したセルHに対応したデバイス駆動回路13からの出力電圧(基準出力電圧)はメモリ10に記憶され、以後、これらの基準出力電圧Vmaxij(i,j:0〜7)を基に、表示領域の明るさを初期の明るさに設定できる。
以上述べたように、本実施例によれば、光学部品の経時変化により輝度低下(輝度変化)が生じても、輝度低下(輝度変化)がなくなるように調整できる。その際、検出器を投射レンズの出射側レンズ近傍に設けたため、光源のみならず、光源から投射レンズまでの光路上に配設された光学部品の経時変化の影響を含めることができる。また、検出器の受光部を投射レンズの出射側レンズ側に向けるので、周囲光の影響を軽減できる。また、検出器を乱反射光領域に設置し、輝度検出を乱反射光を用いて行っているので、スクリーン上に検出器の影が映るなどの副作用もない。また、分割の表示パターンを用いて光強度を検出するので、画像光を部分的に検出でき、輝度むらも低減できる。
なお、上記では、図7のS207の判定をαij=1としたが、これに限定されるものではなく、αijが1を中心に所定の近傍範囲内となるようにしてもよいことはいうまでもない。また、表示パターンの白レベルを100%としたが、本発明は変化量が等しくなるように調整するのであるから、これに限定されるものではなく、任意のレベル例えば80%白であってもよい。
第1の実施例では、説明を容易とするために、経時変化による輝度低下を元の輝度に戻せる(補正できる)ものとしたが、輝度低下が大きい場合には、補正ができない場合も考えられる。この事を考慮した第2の実施例について以下述べる。なお、本実施例のブロック構成は、第1の実施例と同じであり、その構成の詳細については、その説明を省略する。
図8,図9,図10は第2の実施例を示す調整手順のフローチャートである。
第2の実施例は、第1の実施例を示す図7において、判定処理S214を追加したものであり、第1の実施例と同じS201〜S212の処理については、その説明を省略し、S214以降の処理について、以下説明する。
図8において、S214では、対象セルHにおける表示デバイス駆動回路13からの出力電圧が最大であるか判定する。なお、ここでいう最大出力電圧とは、表示デバイス(ここでは透過型液晶パネル)の光の透過率が100%となる時の電圧である。最大でなければ、出力電圧レベル調整回路12で出力電圧を上げることができるので、S212に行き出力電圧の調整を行う。最大であれば調整できないので、図9の調整2のS301に行き、調整2を開始する。
調整2は64個のセルの内で、最も変化が大きいつまり変化量αij=Aij/Rijが最も小さい(暗い)ものを算出する処理である。
図9において、調整2を開始すると、初期値αmin=1(S302),j=0(S303),i=0(S304)とし、セルHのみを白表示にした表示パターンPijを出力し、投射型表示装置1で表示させ(S305)、検出器5から得られる乱反射光17の光強度を検出し、そのときの検出器5のセンサ出力値Aij をメモリ10に記憶する(S306)。次に、S307で、メモリ10からRijとAijを読み出し、変化量αij=Aij/Rijを算出し、S308でαij≧αminであるか判定する。NOならS309へ進み、αmin=αijとしてS310に進み、YESであればそのままS310に進む。S310では、画像光が暗くなりすぎ、光源20の交換が必要と判断される変化量(ここではこの値を例えば0.8とする)よりαminが大きいか判定する。
S310でNOであれば、S315で光源20交換などのアラームを行い(例えば「ランプ交換」の表示を行い)、光源交換を促し、S213へ行き、調整処理を終了する。
S310でYESであれば、S311に進み、現在値iに+1し、S312でその加算値が表示領域の列数8より小さいかを判定する。S312の判定結果がYESであれば、Vj行での調整が終わってないので、S305に戻り、以下、V行の全てのセルH(i:0〜7)でのデータ取得が終わるまでS305〜S312の処理を繰り返す。S312でNOであれば、V行の全てのセルでの調整が終わったので、次の行の調整を行うために、S313で現在値jに+1する。そして、S314でその加算値が表示領域の行数8より小さいかを判定し、その判定結果がYESであれば、全ての行でのデータ取得が終わってないので、S304に戻り、以下、全ての行でのデータ取得が終わるまでS304〜S314の処理を繰り返す。S314でNOであれば、すべての行すなわち全てのセルでの調整が終わった、すなわちターゲットとするαminの値が算出されたことになり、図10の調整3のS401へ進み、調整3を開始する。
調整3は64個のセルの変化量を調整2で算出されたαminに設定する処理である。
図10において、調整3を開始すると、j=0(S402),i=0(S403)とし、セルHのみを白表示にした表示パターンPijを出力し、投射型表示装置1で表示させ(S404)、検出器5から得られる乱反射光17の光強度を検出し、そのときの検出器5のセンサ出力値Aij をメモリ10に記憶する(S405)。次に、S406で変化量αij=Aij/Rijを算出し、S407でαij=αminであるか判定する。NOであればS412に進み、表示デバイス駆動回路13の出力電圧を出力電圧レベル調整回路12で調整し、S404〜S407−S412のループ処理を繰り返し行い、変化量αij=αminとなるようにする。
S407でYESとなれば、その時の表示デバイス駆動回路13からの出力電圧(基準出力電圧)をセルHに対応させてメモリ10に記憶し、全てのセルH(i:0〜7,j:0〜7)について、iおよびjを変えて、変化量αij=αminと設定する処理を行い(S408〜S411)、全てのセルに対する設定処理(調整3)が完了すると、S213に行き、調整処理を終了する。
以上述べたように、本実施例によれば、第1の実施例に記載の効果に加えて、経時変化による輝度低下を元の輝度に戻せない(補正できない)場合には、各セルでの輝度(光強度)の変化量が同じとなるように調整することにより、輝度ムラをなくし、経時変化による映像の変化を低減することが可能である。また、輝度(光強度)の変化が大きく、その変化量(比)の値が小さい場合には、ランプの交換を促すようにしたので、メンテナンスも容易となる。
本実施例では、ターゲットの変化量をαminとして表示領域を均一に調整する方法を説明したが、αminは調整する目的に応じて調整するのものであり、特にαmin=0.8に限定するものではない。
また、図8のS214の判定処理で、YESの場合には、ランプ交換表示をして、直ちに、調整処理を終了するようにしてもよい。
また、図9のS315では、「ランプ交換」の表示を行い、調整処理を終了するとしたが、これに限定されるものではなく、経時変化によって輝度低下が生じる表示デバイス,光学部品等も交換するように促し、調整処理を終了するようにしてもよい。
次に、第3の実施例について説明する。第1の実施例では、表示デバイスの矩形状の表示領域を図5のように8行,8列の64セルに分割したが、本実施例では、分割数を少なくして、高速かつ簡易的に調整可能にしたものである。なお、本実施例のブロック構成は、第1の実施例と同じであり、その構成の詳細については、その説明を省略する。
図11は、本実施例による予めメモリ10に格納されている、経時変化で生じる輝度低下の変化を測定する際に用いる表示パターン(ビットマップパターン)の一例である。図11のように、表示デバイスの矩形状の表示領域を3行(U0〜U2)の小領域(セル)62に分割し、各セルをUで表示するものとすれば、メモリ10には、各セルU(i:0〜2)部のみを白表示させ、他のセルは黒(0%)表示させる3通りの表示パターンが格納されている。図11では、セルUが白表示部分60で、他のセルU,Uは黒表示部分61である。
以下、本実施例の動作について説明する。図12はリファレンスデータ取得手順のフローチャートである。
図12において、S501でリファレンスデータの取得を開始すると、まず初期値i=0(S502)とし、S503に進み、図11に示すように、セルUのみを白表示にした表示パターンPを出力し、投射型表示装置1で表示させる。そして、検出器5から得られる乱反射光17の光強度を検出し、そのときの検出器5の検出出力値であるセンサ出力値Riをメモリ10に記憶する(S504)。以上のようにして、表示パターンPを用いたリファレンスデータ取得ができる。以下、S505,S506でi=1,i=2として表示パターンP,Pを用いたリファレンスデータ取得を行い、リファレンスデータ取得を終了する(S507)。
以上の処理で得られた、つまりセルVのみ白表示でその他の全てのセルを黒表示として得られた3個のデータ(R0からR2)をリファレンスデータとする。
なお上記では、3分割の表示パターンについて説明したが、これに限定されるものではなく、必要に応じて適宜変更できることはいうまでもない。
次に、経時変化で生じる輝度低下の調整処理の動作について説明する。図13は調整手順のフローチャートである。
図13において、S601で調整を開始すると、まず初期値i=0(S602)とし、S603に進む。S603では、セルUのみを白表示にした表示パターンPを出力し、投射型表示装置1で表示させ、検出器5から得られる乱反射光17の光強度を検出し、そのときの検出器5のセンサ出力値Ai をメモリ10に記憶する(S604)。
次に、S605で、メモリ10からRとAを読み出し、変化量α=A/Rを算出する。次に、S606で現在値iに+1し、S607でその加算値が表示領域の行数3より小さいかを判定する。S607の判定結果がYESであれば、全ての行での測定が終わってないので、S603に戻り、以下、全ての行でのデータ取得が終わるまでS603〜S607の処理を繰り返す。
S607でNOであれば、すべての行すなわち全てのセルでの測定が終わったので、S608で表示画面の平均の変化量α=Σα/3を算出する。次に、S609で平均変化量αが1.0であるか判定を行い、NOであればS610に行き、表示領域全体において、表示デバイス駆動回路13の出力電圧を、出力電圧レベル調整回路12で、平均変化量αが1.0になるように所定の電圧ステップで調整し、そして、S603〜S609−S610のループ処理をα=1となるまで繰り返す。
平均変化量α=1.0に調整できたら、調整処理を終了する(S611)。
以上により、第1の実施例と同様な効果を得ながら、経時変化による映像全体の輝度変化を簡易的にかつ短時間の処理で低減することが可能である。
なお、図13のS609ではα=1.0としたが、これに限定されるものではなく、平均変化量αが1を中心に所定の近傍範囲内となるようにしてもよいことはいうまでもない。
また、本実施例では、S610で、表示領域全体における表示デバイス駆動回路13の出力電圧を、出力電圧レベル調整回路12で、平均変化量αが1.0になるように調整したが、これに限定されるものではなく、光源20の明るさを制御する光源制御手段(図示せず)を備え、該光源制御手段で光源20の明るさを上げて、平均変化量αが1.0になるように調整してもよい。光源制御手段で光源20の明るさを調整すると、容易に表示領域全体の明るさを平均的に上げることができる。
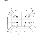
本発明は、投射型表示装置を複数台配列して表示を行う所謂マルチスクリーン装置にも適用できる。以下、本発明をマルチスクリーン装置に用いた第4の実施例について説明する。図14は第4の実施例を示すマルチスクリーン装置の模式構成図、図15は第4の実施例を示す一レファレンスデータ取得処理、図16は第4の実施例を示す一調整処理である。
図14において、マルチスクリーン装置は例えば図1で示される4台の投射型表示装置が2列(H,H)2行(V,V)に配列されて構成されている。便宜上、列,行の交点の投射型表示装置を符号1km,その表示面を符号H,投射型表示装置1kmに設けられた検出器の符号を5kmで示すものとする。また、4台の投射型表示装置の内、マルチスクリーン装置全体の制御を行うマスター機器が例えば投射型表示装置100であり、他の投射型表示装置110,101,111はスレーブ機器とする。従って、マルチスクリーン装置は投射型表示装置100のマイコン1100で制御線70を介して制御される。各投射型表示装置1kmの構成は図1に同じであり、その詳細な説明を省略する。また、各投射型表示装置1kmの構成要素を示す場合には、構成要素の符号に添え字kmを付して示すものとする。
まず、リファレンスデータ取得処理について、図15を用いて述べ、次に調整処理について図16を用いて説明する。本実施例ではマルチスクリーン装置を構成する投射型表示装置ごとに第3の実施例に用いた調整アルゴリズムを使うが、これに限定されるものではない。
図15において、S701でリファレンスデータの取得を開始すると、マスター機器の投射型表示装置100のマイコン1100は、まず初期値m =0(S702),k=0(S703)とし、S704に進み、投射型表示装置1km(表示面H)のマイコン11kmに対してデータ取得を指示する。指示されたマイコン11kmは、第3の実施例でのリファレンス取得アルゴリズムに従い、白表示を行い、検出器5kmにより乱反射光17kmの光強度を検出し、そのときのセンサ出力値Skm をメモリ10kmに記憶する(S705)。そして、マスター機器のマイコン1100にデータ取得したことを連絡する。すると、マスター機器のマイコン1100は、S706で現在値kに+1し、S707でその加算値がマルチスクリーン装置を構成する投射型表示装置の列数2より小さいかを判定する。S707の判定結果がYESであれば、V行でのデータ取得が終わってないので、S104に戻り、以下、V行の全ての投射型表示装置1km(k:0,1)でのデータ取得が終わるまでS704〜S707の処理を繰り返す。
S707でNOであれば、V行の全ての投射型表示装置でのデータ取得が終わったので、次の行のデータ取得を行うために、S708で現在値mに+1する。そして、S709でその加算値が行数2より小さいかを判定し、その判定結果がYESであれば、全ての行でのデータ取得が終わってないので、S703に戻り、以下、全ての行でのデータ取得が終わるまでS703〜S709の処理を繰り返す。S709でNOであれば、すべての行すなわち全ての投射型表示装置でのデータ取得が終わったので、リファレンスデータ取得処理を終了する(S710)。
以上の処理で得られたリファレンスデータを基準に、次に述べる調整を行うことが可能である。
次に調整処理について図16を用いて説明する。図16において、S801で調整を開始すると、マスター機器の投射型表示装置100のマイコン1100は、まず初期値m=0(S802)、k=0(S803)とし、S804に進み、投射型表示装置1km(表示面H)のマイコン11kmに対して経時変化後の調整を指示する。指示されたマイコン11kmは、第3の実施例での調整アルゴリズムに従い、白表示を行い、検出器5kmから得られる乱反射光17kmの光強度を検出し、そのときのセンサ出力値Bkmをメモリ10kmに記憶する(S805)。
次に、S806で、マイコン11kmはメモリ10kmからSkmとBkmを読み出し、変化量αkm=Bkm/Skmを算出する。そして、S807で変化量αkmが1.0であるか判定を行う。S807でNOであればS812に行き、表示デバイス駆動回路13kmの出力電圧を出力電圧レベル調整回路12kmで、αkmが1.0となる方向に、調整し、S804〜S807−S802のループ処理を繰り返し行い、変化量αkm=1となるようにする。
S807でYESとなれば、当該投射型表示装置での調整が終了したので、マスター機器のマイコン1100にその連絡を行う。すると、マスター機器のマイコン1100は、S808に進み、現在値kに+1し、S809でその加算値が列数2より小さいかを判定する。S809の判定結果がYESであれば、V行での調整が終わってないので、S804に戻り、以下、V行の全ての投射型表示装置1km(k:0,1)での調整が終わるまでS804〜S809の処理を繰り返す。
S809でNOであれば、V行の全ての投射型表示装置での調整が終わったので、次の行の調整を行うために、S810で現在値mに+1する。そして、S811でその加算値が行数2より小さいかを判定し、その判定結果がYESであれば、全ての行での投射型表示装置の調整が終わってないので、S803に戻り、以下、全ての行での投射型表示装置の調整が終わるまでS803〜S811の処理を繰り返す。S811でNOであれば、すべての行すなわち全ての投射型表示装置での調整が終わったので、調整処理を終了する(S813)。
以上述べたように、本実施例によれば、マルチスクリーン装置を構成する各投射型表示装置の経時変化による輝度低下を低減することができるとともに、経時変化による輝度低下で生じる各投射型表示装置間の輝度ムラも低減することができる。
本実施例では4面の投射型表示装置のマルチスクリーン装置で説明したが面数に限定はない。さらに個々の投射型表示装置ごとに調整を行うので、アルゴリズムのように順番にリファレンスの取得および調整を行う必要はなく、同時に行うことができる。
なお、本実施例では、投射型表示装置100をマスター機器,他の投射型表示装置110,101,111をスレーブ機器としたが、これに限定されるものではなく、全ての投射型表示装置100,110,101,111をスレーブ機器とし、これらの機器を外部のマスター機器が制御するようにしてもよいことはいうまでもない。
また、本実施例では、第3の実施例に用いた調整アルゴリズムを用い、出力電圧レベル調整回路12kmで変化量αkmが1となるようにしたが、第3の実施例でも述べたように、出力電圧レベル調整回路12kmに代えて光源20kmの明るさを制御する光源制御手段を各投射型表示装置に備え、該光源制御手段で光源20kmの明るさを上げて、平均変化量αkmが1.0になるように調整してもよい。
第4の実施例であるマルチスクリーン装置では、説明を容易とするために、経時変化による輝度低下を元の輝度に戻せる(補正できる)ものとしたが、輝度低下が大きい場合には、補正ができない場合も考えられる。この事を考慮した第5の実施例について以下述べる。なお、本実施例のマルチスクリーン装置の構成は、第4の実施例と同じであり、その構成の詳細については、その説明を省略する。
図17,図18,図19は第5の実施例を示す調整手順のフローチャートである。第5の実施例は、第4の実施例を示す図16において、判定処理S814を追加したものであり、第4の実施例と同じS801〜S812の処理については、その説明を省略し、S814以降の処理について、以下説明する。
図17において、S814では、対象投射型表示装置1kmにおける表示デバイス駆動回路13kmからの出力電圧が最大であるか判定する。最大でなければ、出力電圧レベル調整回路12kmで出力電圧を上げることができるので、S812に行き出力電圧の調整を行う。最大であれば図18の調整2’のS901に行き、調整2’を開始する。
調整2’はマルチスクリーン装置を構成する4つの投射型表示装置の内で、最も輝度(光強度)の変化が大きいつまり最も小さい(暗い)αkmを算出する処理である。
調整2’を開始すると、マスター機器の投射型表示装置100のマイコン1100は、まず、初期値αmin=1(S902),m=0(S903),k=0(S904)とし、S905に進み、対象の投射型表示装置1km(表示面H)のマイコン11kmに対して変化量αkmの算出を指示する。これを受けた対象の投射型表示装置1kmのマイコン11kmは、第3の実施例での調整アルゴリズムに従い、白表示を行い、検出器5kmから得られる乱反射光17kmの光強度を検出し、そのときのセンサ出力値Bkmをメモリ10kmに記憶する(S906)。次に、S907で、マイコン11kmはメモリ10kmからSkmとBkmを読み出し、変化量αkm=Bkm/Skmを算出し、その算出結果をマスター機器のマイコン1100に送信する。マスター機器のマイコン1100は、S908で受信したαkmがαkm≧αminであるか判定する。NOならS909へ進み、αmin=αkmとしてS910に進み、YESであればそのままS910に進む。S910では、画像光が暗くなりすぎ、光源20kmの交換が必要と判断される変化量(ここではこの値を例えば0.8とする)よりαminが大きいか判定する。S910でNOであれば、S915で光源20km交換などのアラームを行い(例えば投射型表示装置1kmの「ランプ交換」の表示を行い)、光源交換を促し、S813へ行き、調整処理を終了する。
S910でYESであれば、S911に進み、現在値kに+1し、S912でその加算値が列数2より小さいかを判定する。S912の判定結果がYESであれば、V行での調整が終わってないので、S905に戻り、以下、V行の全ての投射型表示装置1km(k:0,1)での調整が終わるまでS905〜S912の処理を繰り返す。S912でNOであれば、V行の全ての投射型表示装置での調整が終わったので、次の行の調整を行うために、S913で現在値mに+1する。そして、S914でその加算値が行数2より小さいかを判定し、その判定結果がYESであれば、全ての行での調整が終わってないので、S904に戻り、以下、全ての行での調整が終わるまでS904〜S914の処理を繰り返す。S914でNOであれば、すべての行すなわち全ての投射型表示装置での調整が終わった、すなわちターゲットとするαminの値が算出されたことになり、マスター機器のマイコン1100は図19の調整3’のS1001へ進み、調整3’を開始する。
調整3’はマルチスクリーン装置を構成する投射型表示装置の変化量を調整2’で算出されたαminに設定する処理である。
図19において、調整3’を開始すると、マスター機器の投射型表示装置100のマイコン1100は、まず、初期値m=0(S1002),k=0(S1003)とし、S1004に進み、対象の投射型表示装置1km(表示面H)のマイコン11kmに対して、変化量αkmの算出を指示するとともに、調整2’で算出したデータαminも送る。これを受けた対象の投射型表示装置1kmのマイコン11kmは、データαminをメモリ10kmに格納するとともに、第3の実施例での調整アルゴリズムに従い、白表示を行い、検出器5kmから得られる乱反射光17kmの光強度を検出し、そのときのセンサ出力値Bkmをメモリ10kmに記憶する(S1005)。次に、S1006で、マイコン11kmはメモリ10kmからSkmとBkmを読み出し、変化量αkm=Bkm/Skmを算出し、S1007でメモリ10kmからαminを読み出し、αkm=αminであるか判定する。NOであればS1012に進み、表示デバイス駆動回路13kmの出力電圧を出力電圧レベル調整回路12kmで調整し、S1004〜S1007−S1012のループ処理を繰り返し行い、変化量αkm=αminとなるようにする。
S1007で変化量αkm=αminとなり、当該投射型表示装置1kmでの調整が終わると、当該投射型表示装置1kmのマイコン11kmはマスター機器のマイコン1100に調整終了を送信する。これを受けて、マスター機器のマイコン1100は、S1008に進み、全ての投射型表示装置1km(k:0,1,m:0,1)について、kおよびmを変えて、変化量αkm=αminと設定する処理を行い(S1008〜S1011)、全ての投射型表示装置に対する設定処理(調整3’)が完了すると、S813に行き、調整処理を終了する。
以上述べたように、本実施例によれば、第4の実施例で述べた効果を得ながら、経時変化による輝度低下を元の輝度に戻せない(補正できない)場合には、マルチスクリーン装置を構成する各投射型表示装置間での輝度(光強度)の変化量が同じとなるように調整することにより、各投射型表示装置間の輝度ムラをなくし、経時変化による映像の変化を低減することが可能である。また、輝度(光強度)の変化が大きく、その変化量(比)の値が小さい場合には、ランプの交換を促すようにしたので、メンテナンスも容易となる。
第1から第5の実施例では、検出器は、光強度(輝度)を検出するものとしたが、これに限定されるものではなく、R,G,B光毎の光強度(輝度)を検出する所謂カラーセンサを用いてもよい。以下、検出器としてカラーセンサを用いた第6の実施例について説明する。
図20は検出器にカラーセンサを用いた第6の実施例を示す投射型表示装置の模式構成図である。図20の投射型表示装置1’は、第1の実施例を示す図1の投射型表示装置1において、検出器5に代えて、カラーセンサ5’を使用したもので、その他は同様の構成である。そこで、重複する説明をさけるために、図1と共通な機能を有する部分には同一な符号を付して、その詳細な説明を省略し、第1の実施例と異なる動作について説明する。
図21は検出器5に代えてカラーセンサ5’を第1の実施例における図2,図3で示す位置に取り付け、表示領域内で画像光の光強度を変化させたときに検出されるRGB毎の乱反射光の光強度特性である。図4に示した検出器5の場合の乱反射光の光強度特性と同様に、このグラフから表示領域内のR,G,B毎の光強度とその周辺に現れる乱反射光に相関関係があることが導かれる。
本実施例では、R,G,B毎に光強度を検出するので、表示パターンPijとしては、セルHのみを白表示からR,GまたはB色表示に代えた表示パターンPijr,ijg,ijbを用いる。そして、これらの表示パターンは予めメモリ10に格納されている。
リファレンスデータ取得は、第1の実施例と同様に、図6で示したリファレンスデータ取得手順のフローチャートに従い、各色の表示パターンを表示させ、乱反射光の光強度をカラーセンサ5’によりR,G,B毎に取得し、取得したリファレンスデータRijr(R00rからR77r),Rijg(R00gからR77g),Rijb(R00bからR77b)をメモリ10に第1の実施例と同様に格納する。
次の経時変化後の調整では、図7の調整手順のフローチャートに従い、セルH(i,j:0〜7)において、メモリ10から読み出した各色の表示パターンを表示させ、乱反射光の光強度を検出し、検出したセンサ出力Aijr(A00rからA77r),Aijg(A00gからA77g),Aijb(A00bからA77b)を基に変化量αijr,αijg,αijbを算出し、出力電圧レベル調整回路12においてαijr,αijg,αijbがそれぞれ1.0になるまで表示デバイスの制御電圧を調整する。変化量αijr,αijg,αijbそれぞれが1.0になったら、次のセルについて同様な処理を行い、次々に64個の全てのセルH(i,j:0〜7)について調整を行う。
以上により光学部品の経時変化による光強度の変化を表示パターン毎に、かつR,G,Bの色信号ごとに変化量が0になるまで表示デバイスの制御電圧を調整することによって、経時変化による映像の色バランス変化を低減することが可能である。
以上述べた実施例(第1〜第6)では、表示デバイスとして映像信号電圧により透過率を変えて光学像を形成する透過型液晶パネルを用いたが、これに限定されるものではなく、映像信号電圧により反射率を変えて光学像を形成する反射型液晶パネルを用いることができる。勿論、映像信号電圧により透過率あるいは反射率を変えて光学像を形成する表示デバイスであれば、本発明を好適に適用できる。
また、オン反射角度とオフ反射角度の2つの反射角度を有し、その反射角度を時間に応じて切り換えて光学像を形成する微小ミラーで構成された表示デバイスにも適用できるのはいうまでもない。
第1実施例を示す投射型表示装置の構成図。 投射レンズの光軸に直交する断面を拡大し出射光側から見た図。 投射レンズを拡大し横から見た図。 表示画面内の画像光と乱反射光の関係図。 第1実施例の表示パターン例。 第1実施例のリファレンスデータ取得手順を示すフローチャート図。 第1実施例の調整手順を示すフローチャート図。 第2実施例の調整手順を示すフローチャート図。 第2実施例の調整2の手順を示すフローチャート図。 第2実施例の調整3の手順を示すフローチャート図。 第3実施例の表示パターン例。 第3実施例のリファレンスデータ取得手順を示すフローチャート図。 第3実施例の調整手順を示すフローチャート図。 第4実施例を示すマルチスクリーン装置の模式構成図。 第4実施例を示すレファレンスデータ取得処理のフローチャート図。 第4実施例を示す調整手順のフローチャート図。 第5実施例を示す調整手順のフローチャート図。 第5実施例を示す調整2’の手順のフローチャート図。 第5実施例を示す調整3’の手順のフローチャート図。 検出器にカラーセンサを用いた第6の実施例を示す投射型表示装置の模式構成図。 第6実施例に係わる表示画面内の画像光と乱反射光の関係図。
符号の説明
1…投射型表示装置、2…光学部、3…信号処理部、5…検出器、6…映像信号、7…映像信号処理回路、8…アンプ、9…A/D変換器、10…メモリ、11…マイコン、12…出力電圧レベル調整回路、13…表示デバイス駆動回路、14…フレームメモリ、15…投射レンズ、16…画像光、17…乱反射光、20…光源、21…第1レンズアレイ、22…第2レンズアレイ、23…偏光ビームスプリッター、24…合焦レンズ、25…ダイクロイックミラー、26…反射ミラー、27…コンデンサレンズ、28…入射側偏光板、29…表示デバイス、30…出射側偏光板、31…ダイクロイックミラー、32…コンデンサレンズ、33…入射側偏光板、34…表示デバイス、35…出射側偏光板、36…リレーレンズ、37…反射ミラー、38…リレーレンズ、39…反射ミラー、40…リレーレンズ、41…入射側偏光板、42…表示デバイス、43…出射側偏光板、44…合成プリズム、45…スクリーン、50…白表示部分、51…黒表示部分、52…セル、60…白表示部分、61…黒表示部分、62…セル、70…制御線。

Claims (13)

  1. 投射型表示装置において、
    光源と、該光源からの光を、駆動電圧に応じて変調して光学像を形成する表示デバイスと、該表示デバイス上の光学像を拡大投影する投射レンズと、該投射レンズからの光を検出する検出器と、該検出器の検出結果に応じて前記駆動電圧を制御する制御回路とを備え、
    前記検出器は、投射レンズから出射される光束の外縁近傍に配置されることを特徴とする投射型表示装置。
  2. 投射型表示装置において、
    光源と、該光源からの光を、駆動電圧に応じて変調して光学像を形成する表示デバイスと、該表示デバイス上の光学像を拡大投影する投射レンズと、該投射レンズからの光が投影されるスクリーンと、該投射レンズからの光を検出する検出器と、該検出器の検出結果に応じて前記駆動電圧を制御する制御回路とを備え、
    前記検出器は、投射レンズから出射される光のうち前記スクリーンの有効領域外に到達する光を検出することを特徴とする投射型表示装置。
  3. 投射型表示装置において、
    光源と、該光源からの光を、駆動電圧に応じて変調して光学像を形成する表示デバイスと、該表示デバイス上の光学像を拡大投影する投射レンズと、該投射レンズからの光を検出する検出器と、該検出器の検出結果に応じて前記駆動電圧を制御する制御回路とを備え、
    前記検出器は、投射レンズから出射される乱反射光を検出することを特徴とする投射型表示装置。
  4. 請求項3に記載の投射型表示装置において、前記制御回路は、前記表示デバイスの領域毎に駆動電圧を制御することにより映像の明るさを領域毎に制御可能な手段を含むことを特徴とする投射型表示装置。
  5. 請求項4に記載の投射型表示装置において、前記制御回路は、更に、複数の表示パターンにそれぞれ対応する基準データを予め記憶するメモリと、該メモリに記憶されたデータと前記複数の表示パターンを表示したときに前記検出器によって得られた光強度に関するデータとを、該複数の表示パターン毎に比較する比較部とを備え、該比較部による比較結果に応じて、前記表示デバイスの領域毎に電圧制御することを特徴とする投射型表示装置。
  6. 請求項4に記載の投射型表示装置において、前記表示デバイスの領域毎に電圧を制御する際に、該電圧をある一定の変化率で制御できない場合は、前記検出され光強度に関するデータの最小値に基づいて電圧制御することを特徴とする投射型表示装置。
  7. 請求項3に記載の投射型表示装置において、前記検出器は、RGBの色毎に光強度を検出可能であり、該各色毎に前記表示デバイスの電圧制御を行うようにしたことを特徴とする投射型表示装置。
  8. 投射型表示装置において、
    光源と、該光源からの光を、駆動電圧に応じて変調して光学像を形成する表示デバイスと、該表示デバイス上の光学像を拡大投影する投射レンズと、該投射レンズからの光が投影されるスクリーンと、該投射レンズからの光を検出する検出器と、該検出器の検出結果に応じて光源に印加される電圧を制御する制御回路とを備え、
    前記検出器は、投射レンズから出射される乱反射光を検出することを特徴とする投射型表示装置。
  9. 請求項3に記載の投射型表示装置において、前記検出器は、投射レンズから出射される光束の外縁近傍に配置され、前記投射レンズから出射される光のうち前記スクリーンの有効領域外に到達する光の強度を検出することを特徴とする投射型表示装置。
  10. 請求項7に記載の投射型表示装置において、前記制御回路は、更に、複数の表示パターンにそれぞれ対応する基準データを予め記憶するメモリと、該メモリに記憶されたデータと前記複数の表示パターンを表示したときに前記検出器によって得られた光強度に関するデータとを、該複数の表示パターン毎に比較する比較部とを備え、該比較部による比較結果に応じて、前記光源に印加される電圧を制御することを特徴とする投射型表示装置。
  11. 複数の投射型表示装置を組み合わせたマルチスクリーン表示装置において、
    前記複数の投射型表示装置の各々は、光源と、該光源からの光を、駆動電圧に応じて変調して光学像を形成する表示デバイスと、該表示デバイス上の光学像を拡大投影する投射レンズと、該投射レンズからの光が投影されるスクリーンと、該投射レンズからの光を検出する検出器と、該検出器の検出結果に応じて前記複数の投射型表示装置間の輝度差を補正するように制御する制御回路とを備え、
    前記検出器は、投射レンズから出射される乱反射光を検出することを特徴とするマルチスクリーン表示装置。
  12. 請求項11に記載のマルチスクリーン表示装置において、前記制御回路は、前記光源に印加される電圧、及び前記表示デバイスの駆動電圧の少なくともいずれかを制御することにより、前記複数の投射型表示装置間の輝度差を補正することを特徴とするマルチスクリーン表示装置。
  13. 請求項11に記載のマルチスクリーン表示装置において、前記制御回路は、ある一定の変化率で前記光源に印加される電圧または前記表示デバイスの駆動電圧を制御できない場合に、前記検出器で検出された光強度データの最小値にあわせて電圧制御を行うことを特徴とするマルチスクリーン表示装置。

JP2005012232A 2005-01-20 2005-01-20 投射型表示装置及びマルチスクリーン表示装置 Expired - Fee Related JP4736436B2 (ja)

Priority Applications (3)

Application Number Priority Date Filing Date Title
JP2005012232A JP4736436B2 (ja) 2005-01-20 2005-01-20 投射型表示装置及びマルチスクリーン表示装置
US11/312,763 US7543944B2 (en) 2005-01-20 2005-12-21 Projection-type display apparatus and multiscreen display apparatus
CNB2006100012061A CN100520564C (zh) 2005-01-20 2006-01-10 投射型显示装置及多屏幕显示装置

Applications Claiming Priority (1)

Application Number Priority Date Filing Date Title
JP2005012232A JP4736436B2 (ja) 2005-01-20 2005-01-20 投射型表示装置及びマルチスクリーン表示装置

Publications (2)

Publication Number Publication Date
JP2006201416A true JP2006201416A (ja) 2006-08-03
JP4736436B2 JP4736436B2 (ja) 2011-07-27

Family

ID=36683430

Family Applications (1)

Application Number Title Priority Date Filing Date
JP2005012232A Expired - Fee Related JP4736436B2 (ja) 2005-01-20 2005-01-20 投射型表示装置及びマルチスクリーン表示装置

Country Status (3)

Country Link
US (1) US7543944B2 (ja)
JP (1) JP4736436B2 (ja)
CN (1) CN100520564C (ja)

Cited By (2)

* Cited by examiner, † Cited by third party
Publication number Priority date Publication date Assignee Title
CN101995749A (zh) * 2009-08-21 2011-03-30 卡西欧计算机株式会社 光源装置、投影装置和投影方法
JP2021092757A (ja) * 2019-11-28 2021-06-17 株式会社リコー 画像投射装置

Families Citing this family (8)

* Cited by examiner, † Cited by third party
Publication number Priority date Publication date Assignee Title
US20080024674A1 (en) * 2006-02-06 2008-01-31 Toshiba America Consumer Products, Llc. Brightness control system and method
US9110495B2 (en) * 2010-02-03 2015-08-18 Microsoft Technology Licensing, Llc Combined surface user interface
CN105491359B (zh) * 2014-10-13 2018-07-06 联想(北京)有限公司 投影设备、投影系统和投影方法
CN105991980B (zh) * 2015-02-06 2019-05-03 深圳光峰科技股份有限公司 投影系统及其控制方法
JP6699189B2 (ja) * 2016-01-19 2020-05-27 セイコーエプソン株式会社 プロジェクター及びプロジェクターの制御方法
CN107728413B (zh) * 2016-08-12 2019-07-16 深圳光峰科技股份有限公司 投影系统及应用于投影系统的亮度调节方法
KR102478607B1 (ko) * 2018-03-27 2022-12-16 삼성전자주식회사 전자 장치 및 그 동작방법
DE102019212673A1 (de) * 2019-07-22 2021-01-28 OSRAM CONTINENTAL GmbH Optische anordnung und verfahren

Citations (4)

* Cited by examiner, † Cited by third party
Publication number Priority date Publication date Assignee Title
JPH06217242A (ja) * 1993-01-14 1994-08-05 Matsushita Electric Ind Co Ltd 画像表示装置
JPH07284120A (ja) * 1994-04-07 1995-10-27 Hitachi Ltd マルチディスプレイ装置
JP2000148075A (ja) * 1998-11-10 2000-05-26 Nec Corp 色補正システムおよび色補正方法ならびにマルチプロジェクタシステム
JP2003228046A (ja) * 2001-12-15 2003-08-15 Samsung Electronics Co Ltd 画像表示素子の駆動電圧制御装置及び方法

Family Cites Families (18)

* Cited by examiner, † Cited by third party
Publication number Priority date Publication date Assignee Title
JPH0273241A (ja) 1988-09-08 1990-03-13 Hitachi Ltd 投射形ディスプレイのスクリーン明るさ制御方法及び装置
JPH08278512A (ja) * 1995-04-06 1996-10-22 Sharp Corp 液晶表示装置
JP2001117164A (ja) 1999-10-14 2001-04-27 Nec Viewtechnology Ltd プロジェクタ用光源の輝度自動調整装置及び調整方法
US20030067587A1 (en) * 2000-06-09 2003-04-10 Masami Yamasaki Multi-projection image display device
US6788469B2 (en) * 2000-12-30 2004-09-07 Texas Instruments Incorporated Automated lamp focus
EP1466473B1 (en) * 2002-01-02 2009-02-11 Philips Intellectual Property & Standards GmbH Image projector and method of operating same
AU2003212146A1 (en) * 2002-03-13 2003-09-22 The University Of British Columbia High dynamic range display devices
JP2003324670A (ja) 2002-05-01 2003-11-14 Canon Inc 投写型映像表示装置
JP2004062109A (ja) 2002-07-31 2004-02-26 Canon Inc 投写型表示装置
US20040021831A1 (en) * 2002-07-31 2004-02-05 Canon Kabushiki Kaisha, Tokyo, Japan Projection type image display apparatus and image display system
DE10248376A1 (de) * 2002-10-17 2004-04-29 Philips Intellectual Property & Standards Gmbh Projektionssystem
JP2004157348A (ja) * 2002-11-07 2004-06-03 Chinontec Kk 投射レンズ装置及びプロジェクタ装置
JP4245563B2 (ja) * 2002-12-26 2009-03-25 三洋電機株式会社 投写型映像表示装置
JP4086664B2 (ja) * 2003-01-07 2008-05-14 三菱電機株式会社 照明光学系構造及び投写型表示装置
JP2004228948A (ja) * 2003-01-23 2004-08-12 Seiko Epson Corp 画像処理システム、プロジェクタ、プログラム、情報記憶媒体および画像処理方法
US7018050B2 (en) * 2003-09-08 2006-03-28 Hewlett-Packard Development Company, L.P. System and method for correcting luminance non-uniformity of obliquely projected images
JP4426281B2 (ja) * 2003-12-25 2010-03-03 船井電機株式会社 プロジェクタ装置
US7278745B2 (en) * 2004-12-21 2007-10-09 Infocus Corporation Method and apparatus for adjusting relative disposition of projection optics based on operating conditions

Patent Citations (4)

* Cited by examiner, † Cited by third party
Publication number Priority date Publication date Assignee Title
JPH06217242A (ja) * 1993-01-14 1994-08-05 Matsushita Electric Ind Co Ltd 画像表示装置
JPH07284120A (ja) * 1994-04-07 1995-10-27 Hitachi Ltd マルチディスプレイ装置
JP2000148075A (ja) * 1998-11-10 2000-05-26 Nec Corp 色補正システムおよび色補正方法ならびにマルチプロジェクタシステム
JP2003228046A (ja) * 2001-12-15 2003-08-15 Samsung Electronics Co Ltd 画像表示素子の駆動電圧制御装置及び方法

Cited By (4)

* Cited by examiner, † Cited by third party
Publication number Priority date Publication date Assignee Title
CN101995749A (zh) * 2009-08-21 2011-03-30 卡西欧计算机株式会社 光源装置、投影装置和投影方法
CN101995749B (zh) * 2009-08-21 2012-08-08 卡西欧计算机株式会社 光源装置、投影装置和投影方法
JP2021092757A (ja) * 2019-11-28 2021-06-17 株式会社リコー 画像投射装置
JP7494635B2 (ja) 2019-11-28 2024-06-04 株式会社リコー 画像投射装置

Also Published As

Publication number Publication date
US7543944B2 (en) 2009-06-09
US20060158516A1 (en) 2006-07-20
CN100520564C (zh) 2009-07-29
CN1808265A (zh) 2006-07-26
JP4736436B2 (ja) 2011-07-27

Similar Documents

Publication Publication Date Title
CN100507704C (zh) 投影式显示装置
US7605828B2 (en) Method and system for reducing gray scale discontinuities in contrast enhancing screens affected by ambient light
US8011789B2 (en) Rear projection display
JP2006319950A (ja) 映像表示装置
JP5071442B2 (ja) 液晶表示装置、制御方法および電子機器
US7384157B2 (en) Projection type video display
JP4736436B2 (ja) 投射型表示装置及びマルチスクリーン表示装置
JP3353320B2 (ja) 階調補正装置及びレーザ表示装置
CN104749864B (zh) 图像显示装置及其控制方法
US6771233B1 (en) Projection display device using two liquid crystal display panels
JP3299058B2 (ja) 液晶プロジェクタ
JPH0764522A (ja) マルチディスプレイ装置の自動調整システム
WO2017017758A1 (ja) プロジェクタ装置、プロジェクタ装置における色補正方法
JP2009231853A (ja) 画像調整装置、画像表示システム及び画像調整方法
JP2005150922A (ja) プロジェクタの表示状態の調整装置及び方法
JP4909665B2 (ja) 液晶表示装置及びコモン電圧調整方法
JP4595961B2 (ja) 投射型表示装置
JP2008089836A (ja) プロジェクタ
JPH06217336A (ja) マルチディスプレイ装置の自動調整システム
US7253796B2 (en) Circuit for and method of driving liquid crystal panel of liquid crystal projector
JP6398162B2 (ja) 画像処理回路、電気光学装置及び電子機器
JP4683022B2 (ja) 投射型表示装置
JP2009294265A (ja) 画像表示装置
JP2005227577A (ja) 液晶プロジェクタ
KR20000028261A (ko) 프로젝션 텔레비전에서 컨버어전스 자동조정방법

Legal Events

Date Code Title Description
RD04 Notification of resignation of power of attorney

Free format text: JAPANESE INTERMEDIATE CODE: A7424

Effective date: 20060425

A621 Written request for application examination

Free format text: JAPANESE INTERMEDIATE CODE: A621

Effective date: 20070314

A977 Report on retrieval

Free format text: JAPANESE INTERMEDIATE CODE: A971007

Effective date: 20100415

A131 Notification of reasons for refusal

Free format text: JAPANESE INTERMEDIATE CODE: A131

Effective date: 20100713

A521 Request for written amendment filed

Free format text: JAPANESE INTERMEDIATE CODE: A523

Effective date: 20100909

A131 Notification of reasons for refusal

Free format text: JAPANESE INTERMEDIATE CODE: A131

Effective date: 20101124

A521 Request for written amendment filed

Free format text: JAPANESE INTERMEDIATE CODE: A523

Effective date: 20110119

TRDD Decision of grant or rejection written
A01 Written decision to grant a patent or to grant a registration (utility model)

Free format text: JAPANESE INTERMEDIATE CODE: A01

Effective date: 20110405

A61 First payment of annual fees (during grant procedure)

Free format text: JAPANESE INTERMEDIATE CODE: A61

Effective date: 20110418

R151 Written notification of patent or utility model registration

Ref document number: 4736436

Country of ref document: JP

Free format text: JAPANESE INTERMEDIATE CODE: R151

FPAY Renewal fee payment (event date is renewal date of database)

Free format text: PAYMENT UNTIL: 20140513

Year of fee payment: 3

S111 Request for change of ownership or part of ownership

Free format text: JAPANESE INTERMEDIATE CODE: R313111

R350 Written notification of registration of transfer

Free format text: JAPANESE INTERMEDIATE CODE: R350

S111 Request for change of ownership or part of ownership

Free format text: JAPANESE INTERMEDIATE CODE: R313111

R350 Written notification of registration of transfer

Free format text: JAPANESE INTERMEDIATE CODE: R350

R250 Receipt of annual fees

Free format text: JAPANESE INTERMEDIATE CODE: R250

R250 Receipt of annual fees

Free format text: JAPANESE INTERMEDIATE CODE: R250

R250 Receipt of annual fees

Free format text: JAPANESE INTERMEDIATE CODE: R250

S111 Request for change of ownership or part of ownership

Free format text: JAPANESE INTERMEDIATE CODE: R313111

R350 Written notification of registration of transfer

Free format text: JAPANESE INTERMEDIATE CODE: R350

R250 Receipt of annual fees

Free format text: JAPANESE INTERMEDIATE CODE: R250

R250 Receipt of annual fees

Free format text: JAPANESE INTERMEDIATE CODE: R250

R250 Receipt of annual fees

Free format text: JAPANESE INTERMEDIATE CODE: R250

R250 Receipt of annual fees

Free format text: JAPANESE INTERMEDIATE CODE: R250

S111 Request for change of ownership or part of ownership

Free format text: JAPANESE INTERMEDIATE CODE: R313111

R350 Written notification of registration of transfer

Free format text: JAPANESE INTERMEDIATE CODE: R350

R250 Receipt of annual fees

Free format text: JAPANESE INTERMEDIATE CODE: R250

LAPS Cancellation because of no payment of annual fees