JP2005299768A - センサ付軸受装置 - Google Patents

センサ付軸受装置 Download PDF

Info

Publication number
JP2005299768A
JP2005299768A JP2004115347A JP2004115347A JP2005299768A JP 2005299768 A JP2005299768 A JP 2005299768A JP 2004115347 A JP2004115347 A JP 2004115347A JP 2004115347 A JP2004115347 A JP 2004115347A JP 2005299768 A JP2005299768 A JP 2005299768A
Authority
JP
Japan
Prior art keywords
sensor
plate
mounting member
sensor mounting
elastic body
Prior art date
Legal status (The legal status is an assumption and is not a legal conclusion. Google has not performed a legal analysis and makes no representation as to the accuracy of the status listed.)
Granted
Application number
JP2004115347A
Other languages
English (en)
Other versions
JP4508704B2 (ja
Inventor
Ken Yamamoto
山本  憲
Current Assignee (The listed assignees may be inaccurate. Google has not performed a legal analysis and makes no representation or warranty as to the accuracy of the list.)
NTN Corp
Original Assignee
NTN Corp
NTN Toyo Bearing Co Ltd
Priority date (The priority date is an assumption and is not a legal conclusion. Google has not performed a legal analysis and makes no representation as to the accuracy of the date listed.)
Filing date
Publication date
Application filed by NTN Corp, NTN Toyo Bearing Co Ltd filed Critical NTN Corp
Priority to JP2004115347A priority Critical patent/JP4508704B2/ja
Publication of JP2005299768A publication Critical patent/JP2005299768A/ja
Application granted granted Critical
Publication of JP4508704B2 publication Critical patent/JP4508704B2/ja
Anticipated expiration legal-status Critical
Expired - Fee Related legal-status Critical Current

Links

Images

Classifications

    • FMECHANICAL ENGINEERING; LIGHTING; HEATING; WEAPONS; BLASTING
    • F16ENGINEERING ELEMENTS AND UNITS; GENERAL MEASURES FOR PRODUCING AND MAINTAINING EFFECTIVE FUNCTIONING OF MACHINES OR INSTALLATIONS; THERMAL INSULATION IN GENERAL
    • F16CSHAFTS; FLEXIBLE SHAFTS; ELEMENTS OR CRANKSHAFT MECHANISMS; ROTARY BODIES OTHER THAN GEARING ELEMENTS; BEARINGS
    • F16C19/00Bearings with rolling contact, for exclusively rotary movement
    • F16C19/02Bearings with rolling contact, for exclusively rotary movement with bearing balls essentially of the same size in one or more circular rows
    • F16C19/14Bearings with rolling contact, for exclusively rotary movement with bearing balls essentially of the same size in one or more circular rows for both radial and axial load
    • F16C19/18Bearings with rolling contact, for exclusively rotary movement with bearing balls essentially of the same size in one or more circular rows for both radial and axial load with two or more rows of balls
    • F16C19/181Bearings with rolling contact, for exclusively rotary movement with bearing balls essentially of the same size in one or more circular rows for both radial and axial load with two or more rows of balls with angular contact
    • F16C19/183Bearings with rolling contact, for exclusively rotary movement with bearing balls essentially of the same size in one or more circular rows for both radial and axial load with two or more rows of balls with angular contact with two rows at opposite angles
    • F16C19/184Bearings with rolling contact, for exclusively rotary movement with bearing balls essentially of the same size in one or more circular rows for both radial and axial load with two or more rows of balls with angular contact with two rows at opposite angles in O-arrangement
    • F16C19/186Bearings with rolling contact, for exclusively rotary movement with bearing balls essentially of the same size in one or more circular rows for both radial and axial load with two or more rows of balls with angular contact with two rows at opposite angles in O-arrangement with three raceways provided integrally on parts other than race rings, e.g. third generation hubs
    • FMECHANICAL ENGINEERING; LIGHTING; HEATING; WEAPONS; BLASTING
    • F16ENGINEERING ELEMENTS AND UNITS; GENERAL MEASURES FOR PRODUCING AND MAINTAINING EFFECTIVE FUNCTIONING OF MACHINES OR INSTALLATIONS; THERMAL INSULATION IN GENERAL
    • F16CSHAFTS; FLEXIBLE SHAFTS; ELEMENTS OR CRANKSHAFT MECHANISMS; ROTARY BODIES OTHER THAN GEARING ELEMENTS; BEARINGS
    • F16C33/00Parts of bearings; Special methods for making bearings or parts thereof
    • F16C33/72Sealings
    • F16C33/76Sealings of ball or roller bearings
    • F16C33/78Sealings of ball or roller bearings with a diaphragm, disc, or ring, with or without resilient members
    • F16C33/7886Sealings of ball or roller bearings with a diaphragm, disc, or ring, with or without resilient members mounted outside the gap between the inner and outer races, e.g. sealing rings mounted to an end face or outer surface of a race
    • FMECHANICAL ENGINEERING; LIGHTING; HEATING; WEAPONS; BLASTING
    • F16ENGINEERING ELEMENTS AND UNITS; GENERAL MEASURES FOR PRODUCING AND MAINTAINING EFFECTIVE FUNCTIONING OF MACHINES OR INSTALLATIONS; THERMAL INSULATION IN GENERAL
    • F16CSHAFTS; FLEXIBLE SHAFTS; ELEMENTS OR CRANKSHAFT MECHANISMS; ROTARY BODIES OTHER THAN GEARING ELEMENTS; BEARINGS
    • F16C33/00Parts of bearings; Special methods for making bearings or parts thereof
    • F16C33/72Sealings
    • F16C33/76Sealings of ball or roller bearings
    • F16C33/78Sealings of ball or roller bearings with a diaphragm, disc, or ring, with or without resilient members
    • F16C33/7896Sealings of ball or roller bearings with a diaphragm, disc, or ring, with or without resilient members with two or more discrete sealings arranged in series
    • FMECHANICAL ENGINEERING; LIGHTING; HEATING; WEAPONS; BLASTING
    • F16ENGINEERING ELEMENTS AND UNITS; GENERAL MEASURES FOR PRODUCING AND MAINTAINING EFFECTIVE FUNCTIONING OF MACHINES OR INSTALLATIONS; THERMAL INSULATION IN GENERAL
    • F16CSHAFTS; FLEXIBLE SHAFTS; ELEMENTS OR CRANKSHAFT MECHANISMS; ROTARY BODIES OTHER THAN GEARING ELEMENTS; BEARINGS
    • F16C41/00Other accessories, e.g. devices integrated in the bearing not relating to the bearing function as such
    • F16C41/007Encoders, e.g. parts with a plurality of alternating magnetic poles
    • FMECHANICAL ENGINEERING; LIGHTING; HEATING; WEAPONS; BLASTING
    • F16ENGINEERING ELEMENTS AND UNITS; GENERAL MEASURES FOR PRODUCING AND MAINTAINING EFFECTIVE FUNCTIONING OF MACHINES OR INSTALLATIONS; THERMAL INSULATION IN GENERAL
    • F16CSHAFTS; FLEXIBLE SHAFTS; ELEMENTS OR CRANKSHAFT MECHANISMS; ROTARY BODIES OTHER THAN GEARING ELEMENTS; BEARINGS
    • F16C2326/00Articles relating to transporting
    • F16C2326/01Parts of vehicles in general
    • F16C2326/02Wheel hubs or castors

Landscapes

  • Engineering & Computer Science (AREA)
  • General Engineering & Computer Science (AREA)
  • Mechanical Engineering (AREA)
  • Sealing Of Bearings (AREA)
  • Rolling Contact Bearings (AREA)

Abstract

【課題】 センサの取付けが確実で、信頼性に優れ、種々異なるサイズの軸受部への対応が容易で、かつシール性にも優れて、低コストにできるセンサ付軸受装置を提供する。
【解決手段】 軸受部1の内方部材4に回転センサ部2のエンコーダ17を取付け、外方部材3の端部にセンサ取付部材22を介してセンサ18を取付ける。センサ取付部材22は、外方部材3の外径面に嵌合する嵌合筒部22a、および外方部材3の端面に接して軸方向に位置決めされる側板部22bを有する。センサ取付部材22の前記側板部22aに、半径方向に沿う断面形状がコ字状の外方へ膨らむ凹み板部25を設ける。この凹み板部25と対向板部26との間に、センサ18を挟み込み状態に取付ける。センサ取付部材22は、内板23と外板24とが二重に重なったものとする。外方部材3の外径面とセンサ取付部材22の嵌合筒部22aとの間に、弾性体27を介在させる。
【選択図】 図2

Description

この発明は、自動車における回転センサ付きの車輪用軸受や、その他各種の用途のセンサ付軸受装置に関する。
自動車の車輪用軸受装置では、アンチロックブレーキ装置の制御や、その他種々の目的で、車輪回転速度を検出する回転センサが設けられる。この回転センサは、回転側の軌道輪となる内輪に取付けられるリング状の磁気エンコーダと、静止側の軌道輪となる外輪に取付けられて上記磁気エンコーダを非接触で検出するセンサとで構成される。
センサを取付ける構成例としては、板金プレス加工製のセンサ取付部材を用いたものが提案されている(例えば、特許文献1)。この提案例のものは、外輪に嵌合して取付けられる環状の支持体に切欠孔を設け、この切欠孔の両側縁にセンサの両側部を嵌合させる一対の滑り溝形成部を設け、上記切欠孔の下縁にセンサの背面を押し付ける舌片を設けたものである。
センサを取付ける他の構成例としては、外輪に嵌合させる外輪嵌合筒に、円環状のセンサホルダを一体にモールド成形し、このセンサホルダの一部に設けた円弧状の保持部内にセンサ要素を埋め込んだものがある(例えば、特許文献2)。
特開平6−308145号公報 特開2003−254985号公報
上記の滑り溝形成部の間にセンサを差し込んで舌片で押しつける取付構造は、簡単に装着できるという利点があるが、不測に外れる恐れがある。また、車輪用軸受装置は路面に曝される環境下にあるため、土砂がセンサと磁気エンコーダとの間に入り易く、損傷の恐れがある。
また、上記他の取付構成例は、センサ要素を埋め込んだセンサホルダと外輪嵌合筒とが一体にモールド成形されているため、車種、軸受容量等の異なるサイズのセンサ付軸受装置毎にそれぞれサイズの異なるセンサホルダを製作する必要があり、コスト高になる。
これらの課題を解消するものとして、本出願人は、外方部材の外径面に嵌合する嵌合筒部、および外方部材の端面に接して軸方向に位置決めされる側板部を有するセンサ取付部材を設け、その側板部に凹み板部および対向板部を設けてセンサを挟み込み状態に取付けるものを提案した(特願2004−39201号)。しかし、嵌合筒部のシール性に関して、圧入だけでは今一つシール性の確保が難しいと考えられる。
この発明の目的は、センサの取付けが確実で、信頼性に優れ、種々異なるサイズの軸受部への対応が容易で、かつシール性にも優れて、低コストにできるセンサ付軸受装置を提供することである。
この発明のセンサ付軸受装置は、内周に軌道面を有する外方部材、上記軌道面に対向する軌道面を有する内方部材、および両軌道面の間に介在した転動体を有する軸受部と、前記内方部材の端部に取付けられるエンコーダ、およびこのエンコーダに対向して前記外方部材の端部に取付けられるセンサを有する回転センサ部とを備えたセンサ付軸受装置において、次のセンサ取付部材によりセンサを取付けたものである。
このセンサ取付部材は、前記外方部材の外径面に嵌合する嵌合筒部、および外方部材の端面に接して軸方向に位置決めされる側板部を有する。このセンサ取付部材の前記側板部に、内面側が凹む凹み板部とこの凹み板部の底面部分に対面する対向板部とを設け、これら凹み板部の底面部分と前記対向板部との間に前記センサを挟み込み状態に取付ける。前記凹み板部は、例えば軸受半径方向に沿う断面形状がコ字状のものとされる。また、前記外方部材の外径面とセンサ取付部材の前記嵌合筒部との間、および前記外方部材の端面とセンサ取付部材の前記側板部との間の少なくとも一方に弾性体を介在させる。
この構成によると、センサ取付部材に設けられた凹み板部の底面部分と対向板部との間に前記センサを挟み込み状態に取付けたため、センサが外れる恐れがなく、取付けが確実で、信頼性の高いものとできる。センサ取付部材は、嵌合筒部で外方部材の外径面に嵌合し、側板部で外方部材の端面に接して軸方向に位置決めされるため、位置決めが簡単に精度良く行え、センサのエンコーダに対する位置決め精度が優れたものとできる。上記センサは、例えば、センサ素子を樹脂製等のセンサホルダ内に埋込んだものとされるが、このセンサホルダは、センサ取付部材とは別体に製作されてセンサ取付部材に取付けられる。そのため、種々異なるサイズの軸受部に取付ける場合に、センサ取付部材を軸受部のサイズに合わせたものとすることで対処できて、センサホルダ付きのセンサは同一のものを用いて種々異なるサイズの軸受部に対応できる。しがって、センサおよびセンサ取付部材からなるセンサユニットを低コストで製作できる。
また、外方部材の外径面とセンサ取付部材の前記嵌合筒部との間、および前記外方部材の端面とセンサ取付部材の前記側板部との間の少なくとも一方に弾性体を介在させているので、シール性が向上し、外方部材とセンサ取付部材との間から、センサ取付部材で覆われる軸受内へ水などが浸入することの防止機能が高められる。
前記センサ取付部材は、例えば、互いに内外に重なった2枚の金属板製の内板および外板からなるものとされる。その場合、前記外板に前記凹み板部を設け、前記内板に前記対向板部を設ける。
センサ取付部材が互いに重なる内板および外板からなるものであると、センサをセンサ取付部材の上記コ字状の凹み板部と対向板部との間に挟み込む作業が簡単に行える。
前記外方部材の前記嵌合筒部が嵌合する外径面部分には、前記弾性体を抜け止めする抜止溝を設けても良い。抜止溝を設けることで、弾性体が外方部材から抜け難くなり、外方部材へのセンサ取付部材の嵌合がより確実なものになる。
前記弾性体は、センサ取付部材の前記嵌合筒部に接着しておいても良く、これにより、センサ取付部材の固定がより一層確実となる。センサ取付部材が上記2枚の金属板製の内板および外板からなるものである場合は、内板の内面に弾性体を接着する。
前記外方部材の前記嵌合筒部が嵌合する外径面部分には、Oリング嵌合溝を設け、前記弾性体を、前記Oリング嵌合溝に嵌合したOリングとしても良い。
弾性体としてOリングを用いると、優れたシール性が得易い。
前記外方部材の前記嵌合筒部が嵌合する外径面部分には、前記弾性体を抜け止めする抜止溝を設け、前記センサ取付部材における内板および外板の前記嵌合筒部を構成する部分を、内板よりも外板の方が軸受中央側へ延びるものとしても良い。
外板の方が内板よりも延びていることにより、外板が内板に対して抜け難くなり、振動等で外板が内板から緩んだり外たりすることが防止される。また、両板の重なり面に水等が侵入することが防止される。
この発明のセンサ付軸受装置は、外方部材の外径面に嵌合する嵌合筒部、および前記外方部材の端面に接して軸方向に位置決めされる側板部を有するセンサ取付部材を設け、このセンサ取付部材の前記側板部に、内面側が凹む凹み板部とこの凹み板部の底面部分に対面する対向板部とを設け、これら凹み板部の底面部分と前記対向板部との間に前記センサを挟み込み状態に取付け、前記外方部材の外径面と前記センサ取付部材の前記嵌合筒部との間、および前記外方部材の端面と前記センサ取付部材の側板部との間の少なくとも一方に弾性体を介在させたため、センサの取付けが確実で、信頼性に優れ、種々異なるサイズの軸受部への対応が容易で、かつシール性にも優れて、低コストにできるという効果が得られる。
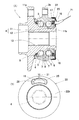
この発明の第1の実施形態を図1および図2と共に説明する。この実施形態は、第3世代型の車輪用軸受装置に適用したものである。このセンサ付軸受装置は、軸受部1に回転センサ部2を取付けたものであり、図1(A)は等速ジョイント14を連結した状態を示している。
軸受部1は、内周に複列の軌道面5を形成した外方部材3と、上記各軌道面5に対向する軌道面6を形成した内方部材4と、これら外方部材3および内方部材4の軌道面5,6間に介在した複列の転動体7とで構成される。各列の転動体7は保持器8により保持されている。外方部材3と内方部材4との間の軸受空間の両端は、シール9,10によりそれぞれ密封されている。
外方部材3は、一体の部品からなり、車体の懸架装置(図示せず)におけるナックル等に取付けるフランジ3aが外周に設けられている。
内方部材4は、アウトボード側端に車輪取付用フランジ11aを有するハブ輪11と、このハブ輪11のインボード側端の外周に嵌合した内輪12とを有し、これらハブ輪11および内輪12に前記複列の軌道面6における各列の軌道面6が設けられている。なお、アウトボード側とは、車輪用軸受装置を車両に取付けた状態で車幅方向の外側となる側を言い、中央側となる側をインボード側と言う。
内方部材4は、中央孔13を有し、等速ジョイント14の片方の継手部材となる外輪15のステム部15aが挿通される。ステム部15aは先端に雄ねじ部を有し、この雄ねじ部に螺合するナット16の締め付けにより、等速ジョイント外輪15が内方部材4に結合される。このとき、等速ジョイント外輪15に設けられた段面15bが、内方部材4の内輪12の幅面を押し付けることで、内輪12のハブ輪11に対する固定が行われる。
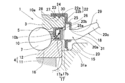
図2に拡大して示すように、回転センサ部2は、内方部材4の端部外周に取付けられるエンコーダ17、およびこのエンコーダ17に対向して外方部材3の端部に取付けられるセンサ18を有する。
エンコーダ17は磁気エンコーダからなり、断面L字状の環状の芯金17aの側板部に多極磁石17bを設けたものとされている。エンコーダ17は、芯金17aの円筒部を内方部材4の外周に圧入することより、内方部材4に取付けられている。多極磁石17bは、円周方向に交互に磁極N,Sを形成した部材であり、ゴム磁石、プラスチック磁石、または焼結磁石などからなる。
エンコーダ17は、この実施形態では、インボード側のシール10の構成部品を兼ねており、スリンガとしての機能を発揮する。このシール10は、エンコーダ17の芯金17aと、外方部材3の内径面に嵌合したシール部材10aとで構成される。シール部材10aは、環状の芯金にゴム等の弾性体を設けたものであり、エンコーダ17の芯金17aの側板部および円筒部にそれぞれ先端が摺接する複数のリップ部10bが、前記弾性体に設けられている。
センサ18は、エンコーダ17の磁界を検出する磁気センサであり、センサ取付部材22を介して外方部材3に取付けられる。センサ18は、ホール素子や磁気抵抗素子等のセンサ素子19を、樹脂製等のセンサホルダ20内に埋め込んだものである。センサ18において、前記センサ素子19は、例えばエンコーダ17の磁極配列に対して、電気的位相が90°ずれた2つのパルス出力が得られるように、円周方向に離して2個設けられている。このため、センサ18のセンサホルダ20の本体部20aは、軸受中心と同心の円弧状に延びる正面形状とされている。センサホルダ20は、本体部20aの先端付近から外径側へ延びる張出部分20bを有し、かつ本体部20aから次第に小径となって検出面に対して後方へ延びるコードカバー部20cが設けられている。コードカバー部20cの先端から、コード21が延びている。張出部分20bは、本体部20aの軸受円周方向幅の全体から外径側へ張り出すものとされている。
センサ取付部材22は、外方部材3の外径面に嵌合する嵌合筒部22a、および外方部材3の端面に接して軸方向に位置決めされる側板部22bを有する。この側板部22bに、内面側が凹むカップ状の凹み板部25とこの凹み板部25の底面部分25aに対面する対向板部26とが設けられ、これら凹み板部25の底面部分25aと対向板部26との間に、センサ18が挟み込み状態に取付けられている。凹み板部25は、その軸受半径方向に沿う断面形状がコ字状とされる。凹み板部25は、詳しくはその正面形状が、図1(B)に示すようにセンサ取付部材22の円周方向に延びる円弧状とされ、その円弧状となった外周側辺と内周側辺の両端が、円弧状辺で続く形状とされている。
センサ取付部材22は、互いに内外に重なった2枚の金属板製の内板23および外板24からなり、前記外板24に前記凹み板部25が設けられ、内板23の一部が前記対向板部26となる。対向板部26は、図示の例では、内板23の側板部分における外板24の凹み板部25の底面部分25aと対向する部分からなる。内板23および外板24は、いずれも板金のプレス加工品からなる。
センサ取付部材22の外方部材3への取付けは、センサ取付部材22の嵌合筒部22aを、その嵌合筒部22aと外方部材3の外径面との間に弾性体27を介在させて外方部材3の外径面に圧入することで行われる。これにより、センサ取付部材22の嵌合筒部22aと外方部材22aの外径面との間が確実にシールされる。
弾性体27は、嵌合筒部22aにおいて、内板23の内面に加硫接着等により接着されたものとする。また、外方部材3の前記嵌合筒部22aが嵌合する外径面部分には、前記弾性体27を抜け止めする抜止溝28が設けられている。この抜止溝28に前記弾性体27が係合することで、センサ取付部材22の外方部材3からの抜け止めも確実となる。前記抜止溝28は、弾性体27の抜け止めをより確実にするために、軸受端部側に向けて下降傾斜する断面鋸歯状とされている。弾性体27は、その内周面に、抜止溝28に嵌まり込む突条が設けられたものであっても良く、また内周面が平坦面に形成されていて、圧入に伴って内周面が抜止溝28内に嵌まり込むように膨らむものであっても良い。
センサ取付部材22の凹み板部25および対向板部26が、センサ18を内外に貫通させるセンサ取付開口29,30を有し、これらセンサ取付開口29,30は、センサ18のセンサホルダ本体部20aの外周に嵌合する形状とされている。センサ18は、前記のように張出部分20bを有していて、この張出部分20bはセンサ取付開口29,30の周囲よりも軸受外径側へ張り出すものとされる。この張出部分20bを、凹み板部25の底面部分25aと対向板部26との間に挟み込む。
センサ取付部材22の側板部22bにおいて、内板23と外板24との間にはリング状の弾性体31を挟み込んであり、この弾性体31は、センサ取付部材22における凹み板部25の内面全体とセンサ18との間に介在する。弾性体31は、シート状のゴム材等からなる。弾性材31は、センサ取付部材22の側板部22bの内周縁から突出するリップ部31aを有し、このリップ部31aは先端が等速ジョイント外輪15の外径面に摺接する。このリップ部31aは、内方部材4とセンサ取付部材22との間を密封するシールとなる。
この構成のセンサ付軸受装置によると、センサ取付部材22に設けられた凹み板部25の底面部分25aと対向板部26との間にセンサ18を挟み込み状態に取付けたため、センサ18が外れる恐れがない。そのため、取付けが確実で、信頼性の高いものとできる。また、この実施形態では、凹み板部25が断面コ状とされてその内部に嵌合状態にセンサ18のセンサホルダ本体20aが配置されているため、センサ取付部材22に対するセンサ18の位置決め効果も得られる。センサ取付部材22は、嵌合筒部22aで外方部材3の外径面に嵌合し、側板部22bで外方部材3の端面に接して軸方向に位置決めされるため、位置決めが簡単に精度良く行え、センサ18のエンコーダ17に対する位置決め精度が優れたものとできる。また、センサ18はセンサ取付部材22とは別体に製作されてセンサ取付部材22に取付けられるため、種々異なるサイズの車輪用軸受装置に取付ける場合に、センサ取付部材22を軸受部1のサイズに合わせたものとすることで対処できる。そのため、センサ素子19およびセンサホルダ20からなるセンサ18につき、同一のものを用いて種々異なるサイズの軸受部に対応でき、したがってセンサ18およびセンサ取付部材22からなるセンサユニット32を低コストで製作できる。
センサ取付部材22は、互いに内外に重なった内板23および外板24からなるため、センサ18をセンサ取付部材22のコ字状凹み板部25と対向板部26との間に挟み込む作業が簡単に行える。
センサ取付部材22は、センサ18を内外に貫通させるセンサ取付開口29,30を有しているため、側板部22bを介することなく、センサ18をエンコーダ17に直接に対向させることができる。また、凹み板部25にセンサ取付開口30が設けられているため、外側へコード21の引出しが容易に行える。また、センサ取付開口29,30が設けられていると、このセンサ取付開口29,30にセンサ18の外周が嵌合するように配置することで、軸受部1の径方向や円周方向に対するセンサ18の位置決めを行うことが可能であり、位置決めがより一層容易となる。
センサ取付部材22の凹み板部25の底面部分25aとセンサ18との間には弾性体31が介在しているため、センサ取付部材22にセンサ18をがたつきなく、また無理な挟み付け力を生じさせることなく、安定して保持させることができる。なお、弾性体31は、センサ18と対向板部26との間に介在させても良い。
また、弾性体31は、リップ部31aが等速ジョイント外輪15aの外周面に摺接するため、内方部材4とセンサ取付部材22との間が密閉される。そのため、エンコーダ17とセンサ18との間に異物を噛み込みことがなく、路面からの石跳ね等によって砂粒をエンコーダ17とセンサ18間に噛み込むことが防止され、センサ18等の損傷が防止される。また、センサ18とエンコーダ17の対向部分がセンサ取付部材22および弾性体31のリップ部31aによって覆われるため、塩泥水からのエンコーダ17やセンサ18の検出面の保護が得られる。
弾性体31は、センサ18の安定取付けとシール手段とに兼用されるため、部品点数を増やすことなくシール性を高めることができる。
さらに、外方部材3の外径面とセンサ取付部材22の嵌合筒部22aとの間に弾性体27が介在しているため、センサ取付部材22で覆われる軸受内のシール性が向上し、水等の浸入をより確実に防止できる。また、センサ取付部材22の嵌合筒部22aが嵌合する外方部材3の外径面部分には、前記弾性体27を抜け止めする抜止溝28が設けられているので、外方部材3へのセンサ取付部材22の嵌合をより確実なものとすることができる。さらに、前記抜止溝28は、軸受端部側に向けて下降傾斜する断面鋸歯状としているので、前記弾性体27が外方部材3から抜ける方向に移動しようとすると、前記抜止溝28への弾性体27の食い込みがより強くなり、弾性体27の抜け止めがより確実になる。
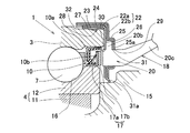
図3は、この発明の他の実施形態にかかるセンサ付軸受装置の要部拡大断面図を示す。この実施形態は、図1,図2と共に説明した第1の実施形態において、外方部材3の外径面の抜止溝28をOリング嵌合溝38に置き換えて、外方部材3の外径面とセンサ取付部材22の嵌合筒部22aとの間に介在させる弾性体27を前記Oリング嵌合溝38に嵌合するOリングとしたものである。この実施形態におけるその他の構成,効果は、第1の実施形態と同様である。
この実施形態の場合にも、前記Oリング嵌合溝38に嵌合するOリング(弾性体27)によって、外方部材3の外径面とセンサ取付部材22の嵌合筒部22aとの間が密閉されるので、センサ取付部材22で覆われる軸受内のシール性が向上し、センサ取付部材22で覆われる軸受内への水等の浸入をより確実に防止することができる。
図4は、この発明のさらに他の実施形態にかかるセンサ付軸受装置の要部拡大断面図を示す。この実施形態は、図1,図2と共に説明した第1の実施形態において、外方部材3の外径面の抜止溝28を軸方向に並ぶ2列としたものである。この実施形態におけるその他の構成,効果は、第1の実施形態と同じである。
この実施形態の場合、抜止溝28が2列設けられているので、外方部材3へのセンサ取付部材22の嵌合、および弾性体27の抜け止めがより確実なものとなる。
図5は、この発明のさらに他の実施形態にかかるセンサ付軸受装置の要部拡大断面図を示す。この実施形態は、図1,図2と共に説明した第1の実施形態において、センサ取付部材22の嵌合筒部22aにおける外板24を、内板23よりも軸受中央側へ延ばしている。また、センサ取付部材22の凹み板部25の底面部分25aとセンサ18との間に介在させた弾性体31を、センサ取付部材22の嵌合筒部22aまで延ばして、この弾性体31を、前記嵌合筒部22aの内板23と外板24の間にも介在させている。この実施形態におけるその他の構成,効果は、第1の実施形態と同じである。
この実施形態の場合、センサ取付部材22の嵌合筒部22aにおける軸受中央側に向く端部で、外板24が内板23に覆い被さるように突出するため、外板24が内板23から抜け難くなり、振動等で外板24が内板23に対して緩んだり、不足に脱落することが防止される。また、外板24と内板23との重なり面から水等が侵入することが防止される。また、センサ取付部材22の凹み板部25の底面部分25aとセンサ18の間に介在させた弾性体31をセンサ取付部材22の嵌合筒部22aまで延ばして、嵌合筒部22aの内板23と外板24の間にも介在させているので、嵌合筒部22aにおける内板23と外板24の積層部の密閉性が増し、この積層部から水等がセンサ取付部材22のセンサ設置部へ浸入することが、より確実に防止される。弾性体31が外板24の内面に接着されていると、弾性体31が外板24よりも引っ込んだ内板23の先端に引っ掛かるため、外板24が内板23に対してより一層抜け難くなる。
図6は、この発明のさらに他の実施形態にかかるセンサ付軸受装置の要部拡大断面図を示す。この実施形態は、図5に示す実施形態において、外方部材3の外径面に設ける抜止溝28を、断面鋸歯状のものから断面半円状のものに置き換えたものである。弾性体27の内周面には、抜止溝28と略同一断面形状の突条が形成されていて、この突条が抜止溝28に嵌まり込む。この実施形態におけるその他の構成,効果は、図5の実施形態と同じである。
図7,図8は、この発明のさらに他の実施形態を示す。この実施形態は、図1,図2と共に説明した第1の実施形態において、ハブ輪11に嵌合させた内輪12を、ハブ輪11の後端を加締た加締部分11bによってハブ輪11に固定したものである。センサ取付部材22に設けられた弾性体31のリップ部31aは、内方部材4における上記ハブ輪11の加締部分11bに摺接するようにしてある。なお、リップ部31aは、内方部材4の端面に先端が摺接するものとしても良い。
この構成の場合は、弾性体31のリップ部31aの接触が等速ジョイントの結合状態に依存せず、この車輪用軸受装置の車体への取付作業が簡単である。この実施形態におけるその他の構成,効果は、第1の実施形態と同様である。
なお、上記各実施形態は、外方部材3の外径面とセンサ取付部材22の嵌合筒部22aとの間に弾性体27を介在させた場合について説明したが、この位置の弾性体27に代えて、またはこの位置に弾性体27を介在させると共に、外方部材3の端面とセンサ取付部材22の側板部22bとの間に弾性体(図示せず)を介在させても良い。
また、上記各実施形態は、車輪用軸受装置に適用した場合につき説明したが、この発明は回転センサ部を有するラジアル型の転がり軸受一般に適用することができる。
また、上記各実施形態において、エンコーダ17およびセンサ部18は磁気式のものとしたが、光学式のものであっても良い。
(A)はこの発明の第1の実施形態に係る車輪用軸受装置からなるセンサ付軸受装置の断面図、(B)はそのセンサ取付部材およびセンサを示す正面図である。 図1(A)の部分拡大断面図である。 この発明の他の実施形態に係る車輪用軸受装置からなるセンサ付軸受装置の部分拡大断面図である。 この発明のさらに他の実施形態に係る車輪用軸受装置からなるセンサ付軸受装置の部分拡大断面図である。 この発明のさらに他の実施形態に係る車輪用軸受装置からなるセンサ付軸受装置の部分拡大断面図である。 この発明のさらに他の実施形態に係る車輪用軸受装置からなるセンサ付軸受装置の部分拡大断面図である。 (A)はこの発明のさらに他の実施形態に係る車輪用軸受装置からなるセンサ付軸受装置の断面図、(B)はそのセンサ取付部材およびセンサを示す正面図である。 図7(A)の部分拡大断面図である。
符号の説明
1…軸受部
2…回転センサ部
3…外方部材
4…内方部材
7…転動体
17…エンコーダ
18…センサ
22…センサ取付部材
22a…嵌合筒部
22b…側板部
23…内板
24…外板
25…凹み板部
25a…底面部分
26…対向板部
27…弾性体
28…抜止溝
38…Oリング嵌合溝
31a…リップ部

Claims (6)

  1. 内周に軌道面を有する外方部材、上記軌道面に対向する軌道面を有する内方部材、および前記両軌道面の間に介在した転動体を有する軸受部と、前記内方部材の端部に取付けられたエンコーダ、およびこのエンコーダに対向して前記外方部材の端部に取付けられるセンサを有する回転センサ部とを備えたセンサ付軸受装置において、
    前記外方部材の外径面に嵌合する嵌合筒部、および前記外方部材の端面に接して軸方向に位置決めされる側板部を有するセンサ取付部材を設け、このセンサ取付部材の前記側板部に、内面側が凹む凹み板部とこの凹み板部の底面部分に対面する対向板部とを設け、これら凹み板部の底面部分と前記対向板部との間に前記センサを挟み込み状態に取付け、前記外方部材の外径面と前記センサ取付部材の前記嵌合筒部との間、および前記外方部材の端面と前記センサ取付部材の側板部との間の少なくとも一方に弾性体を介在させたことを特徴とするセンサ付軸受装置。
  2. 請求項1において、前記センサ取付部材が、互いに内外に重なった2枚の金属板製の内板および外板からなり、前記外板に前記凹み板部を設け、前記内板に前記対向板部を設けたセンサ付軸受装置。
  3. 請求項1または請求項2において、前記外方部材の前記嵌合筒部が嵌合する外径面部分に、前記弾性体を抜け止めする抜止溝を設けたセンサ付軸受装置。
  4. 請求項3において、前記弾性体を前記センサ取付部材の前記嵌合筒部に接着したセンサ付軸受装置。
  5. 請求項1または請求項2において、前記外方部材の前記嵌合筒部が嵌合する外径面部分にOリング嵌合溝を設け、前記弾性体を、前記Oリング嵌合溝に嵌合したOリングとしたセンサ付軸受装置。
  6. 請求項2ないし請求項4のいずれか1項において、前記外方部材の前記嵌合筒部が嵌合する外径面部分に、前記弾性体を抜け止めする抜止溝を設け、前記センサ取付部材における内板および外板の前記嵌合筒部を構成する部分を、内板よりも外板の方が軸受中央側へ延びるものとしたセンサ付軸受装置。
JP2004115347A 2004-04-09 2004-04-09 センサ付軸受装置 Expired - Fee Related JP4508704B2 (ja)

Priority Applications (1)

Application Number Priority Date Filing Date Title
JP2004115347A JP4508704B2 (ja) 2004-04-09 2004-04-09 センサ付軸受装置

Applications Claiming Priority (1)

Application Number Priority Date Filing Date Title
JP2004115347A JP4508704B2 (ja) 2004-04-09 2004-04-09 センサ付軸受装置

Publications (2)

Publication Number Publication Date
JP2005299768A true JP2005299768A (ja) 2005-10-27
JP4508704B2 JP4508704B2 (ja) 2010-07-21

Family

ID=35331547

Family Applications (1)

Application Number Title Priority Date Filing Date
JP2004115347A Expired - Fee Related JP4508704B2 (ja) 2004-04-09 2004-04-09 センサ付軸受装置

Country Status (1)

Country Link
JP (1) JP4508704B2 (ja)

Cited By (9)

* Cited by examiner, † Cited by third party
Publication number Priority date Publication date Assignee Title
WO2008136169A1 (ja) * 2007-04-13 2008-11-13 Ntn Corporation 回転速度検出装置付き車輪用軸受装置
WO2009011340A1 (ja) * 2007-07-17 2009-01-22 Nsk Ltd. ハブユニット軸受
JP2009097660A (ja) * 2007-10-18 2009-05-07 Jtekt Corp センサ付き転がり軸受装置
JP2009197941A (ja) * 2008-02-22 2009-09-03 Ntn Corp 回転速度検出装置付き車輪用軸受装置
JP2010180955A (ja) * 2009-02-05 2010-08-19 Jtekt Corp 密封構造および軸受装置
WO2011115252A1 (ja) * 2010-03-18 2011-09-22 Ntn株式会社 回転速度検出装置付き車輪用軸受装置
JP2012036997A (ja) * 2010-08-09 2012-02-23 Nsk Ltd エンコーダ付転がり軸受ユニット
US8123410B2 (en) 2007-11-08 2012-02-28 Jtekt Corporation Rolling bearing device
EP2752308A1 (en) * 2013-01-08 2014-07-09 Aktiebolaget SKF Rolling bearing unit with an encoder and protective cover for a vehicle wheel hub

Citations (6)

* Cited by examiner, † Cited by third party
Publication number Priority date Publication date Assignee Title
JPS60143002U (ja) * 1984-03-02 1985-09-21 ダイハツ工業株式会社 ホイ−ルベアリングのシ−ル構造
JPH0527335U (ja) * 1991-09-13 1993-04-09 日本精工株式会社 センサ付転がり軸受ユニツト
JPH09236611A (ja) * 1996-02-29 1997-09-09 Nippon Seiko Kk 回転速度検出装置付転がり軸受ユニットのセンサ取付部
JP2002214245A (ja) * 2001-01-16 2002-07-31 Nsk Ltd 回転速度検出装置付転がり軸受ユニット
JP2003262645A (ja) * 2002-03-08 2003-09-19 Ntn Corp 回転検出装置およびこれを用いたアンチロックブレーキ装置
JP2003262647A (ja) * 2002-03-08 2003-09-19 Ntn Corp 回転検出装置およびこれを搭載した車輪用軸受装置

Patent Citations (6)

* Cited by examiner, † Cited by third party
Publication number Priority date Publication date Assignee Title
JPS60143002U (ja) * 1984-03-02 1985-09-21 ダイハツ工業株式会社 ホイ−ルベアリングのシ−ル構造
JPH0527335U (ja) * 1991-09-13 1993-04-09 日本精工株式会社 センサ付転がり軸受ユニツト
JPH09236611A (ja) * 1996-02-29 1997-09-09 Nippon Seiko Kk 回転速度検出装置付転がり軸受ユニットのセンサ取付部
JP2002214245A (ja) * 2001-01-16 2002-07-31 Nsk Ltd 回転速度検出装置付転がり軸受ユニット
JP2003262645A (ja) * 2002-03-08 2003-09-19 Ntn Corp 回転検出装置およびこれを用いたアンチロックブレーキ装置
JP2003262647A (ja) * 2002-03-08 2003-09-19 Ntn Corp 回転検出装置およびこれを搭載した車輪用軸受装置

Cited By (15)

* Cited by examiner, † Cited by third party
Publication number Priority date Publication date Assignee Title
WO2008136169A1 (ja) * 2007-04-13 2008-11-13 Ntn Corporation 回転速度検出装置付き車輪用軸受装置
WO2009011340A1 (ja) * 2007-07-17 2009-01-22 Nsk Ltd. ハブユニット軸受
JP2009024732A (ja) * 2007-07-17 2009-02-05 Nsk Ltd ハブユニット軸受
US8419288B2 (en) 2007-07-17 2013-04-16 Nsk Ltd. Hub unit bearing
JP2009097660A (ja) * 2007-10-18 2009-05-07 Jtekt Corp センサ付き転がり軸受装置
US8123410B2 (en) 2007-11-08 2012-02-28 Jtekt Corporation Rolling bearing device
JP2009197941A (ja) * 2008-02-22 2009-09-03 Ntn Corp 回転速度検出装置付き車輪用軸受装置
JP2010180955A (ja) * 2009-02-05 2010-08-19 Jtekt Corp 密封構造および軸受装置
WO2011115252A1 (ja) * 2010-03-18 2011-09-22 Ntn株式会社 回転速度検出装置付き車輪用軸受装置
JP2011196425A (ja) * 2010-03-18 2011-10-06 Ntn Corp 回転速度検出装置付き車輪用軸受装置
US8585298B2 (en) 2010-03-18 2013-11-19 Ntn Corporation Wheel bearing apparatus incorporated with a rotation speed detecting apparatus
JP2012036997A (ja) * 2010-08-09 2012-02-23 Nsk Ltd エンコーダ付転がり軸受ユニット
EP2752308A1 (en) * 2013-01-08 2014-07-09 Aktiebolaget SKF Rolling bearing unit with an encoder and protective cover for a vehicle wheel hub
ITTO20130006A1 (it) * 2013-01-08 2014-07-09 Skf Ab Gruppo cuscinetto per una ruota di un veicolo
US9016949B2 (en) 2013-01-08 2015-04-28 Aktiebolaget Skf Bearing unit for a vehicle wheel

Also Published As

Publication number Publication date
JP4508704B2 (ja) 2010-07-21

Similar Documents

Publication Publication Date Title
US5863124A (en) Rolling bearing unit having tone wheel
WO2005078457A1 (ja) センサ付軸受装置
US20110089642A1 (en) Bearing Seal
JP2009115257A (ja) 転がり軸受装置
JP4508704B2 (ja) センサ付軸受装置
US20040046328A1 (en) Seal with integrated sealing and rotation measuring capabilities
JP2005265826A (ja) センサ付軸受装置
JP2004011827A (ja) 車輪用軸受の磁気エンコーダ付きシールド構造
JP2005331429A (ja) エンコーダ付転がり軸受装置
JPH11174068A (ja) エンコーダ付転がり軸受ユニット
JP5067718B2 (ja) センサー付き転がり軸受装置
JP2004211832A (ja) センサ対応軸受装置
JP5098730B2 (ja) 自動二輪車の車輪用回転速度検出装置
JP2007120560A (ja) 車輪用軸受装置
EP1780549B1 (en) Seal device with sensor and rolling bearing device using the same
JP5035754B2 (ja) センサー付き転がり軸受装置
JP4026557B2 (ja) 回転検出用のパルサリングおよびシール装置
JP2010048290A (ja) 磁気エンコーダ付き密封装置
JP5196180B2 (ja) センサ付き転がり軸受装置
JP2004190736A (ja) 車輪用軸受装置
JP4656917B2 (ja) 回転速度検出装置付車輪用軸受装置
JP2008267423A (ja) ベアリングシール
JP2008215921A (ja) 着磁パルサリング、及びこれを用いたセンサ付き転がり軸受装置
JP2006064145A (ja) 車輪用軸受装置
JP4023405B2 (ja) 回転検出用のパルサリング、シール装置および転がり軸受装置

Legal Events

Date Code Title Description
A621 Written request for application examination

Free format text: JAPANESE INTERMEDIATE CODE: A621

Effective date: 20070404

A977 Report on retrieval

Free format text: JAPANESE INTERMEDIATE CODE: A971007

Effective date: 20090827

A131 Notification of reasons for refusal

Free format text: JAPANESE INTERMEDIATE CODE: A131

Effective date: 20090915

A521 Written amendment

Free format text: JAPANESE INTERMEDIATE CODE: A523

Effective date: 20091112

TRDD Decision of grant or rejection written
A01 Written decision to grant a patent or to grant a registration (utility model)

Free format text: JAPANESE INTERMEDIATE CODE: A01

Effective date: 20100427

A01 Written decision to grant a patent or to grant a registration (utility model)

Free format text: JAPANESE INTERMEDIATE CODE: A01

A61 First payment of annual fees (during grant procedure)

Free format text: JAPANESE INTERMEDIATE CODE: A61

Effective date: 20100427

FPAY Renewal fee payment (event date is renewal date of database)

Free format text: PAYMENT UNTIL: 20130514

Year of fee payment: 3

R150 Certificate of patent or registration of utility model

Free format text: JAPANESE INTERMEDIATE CODE: R150

LAPS Cancellation because of no payment of annual fees