JP2005297728A - 駆動輪用転がり軸受ユニットの製造方法及びその製造装置 - Google Patents

駆動輪用転がり軸受ユニットの製造方法及びその製造装置 Download PDF

Info

Publication number
JP2005297728A
JP2005297728A JP2004115864A JP2004115864A JP2005297728A JP 2005297728 A JP2005297728 A JP 2005297728A JP 2004115864 A JP2004115864 A JP 2004115864A JP 2004115864 A JP2004115864 A JP 2004115864A JP 2005297728 A JP2005297728 A JP 2005297728A
Authority
JP
Japan
Prior art keywords
peripheral surface
cylindrical surface
fitting cylindrical
inner ring
spline
Prior art date
Legal status (The legal status is an assumption and is not a legal conclusion. Google has not performed a legal analysis and makes no representation as to the accuracy of the status listed.)
Granted
Application number
JP2004115864A
Other languages
English (en)
Other versions
JP4696466B2 (ja
Inventor
Shoko Yasumura
昌紘 安村
Akifumi Horiie
章史 堀家
Current Assignee (The listed assignees may be inaccurate. Google has not performed a legal analysis and makes no representation or warranty as to the accuracy of the list.)
NSK Ltd
Original Assignee
NSK Ltd
Priority date (The priority date is an assumption and is not a legal conclusion. Google has not performed a legal analysis and makes no representation as to the accuracy of the date listed.)
Filing date
Publication date
Application filed by NSK Ltd filed Critical NSK Ltd
Priority to JP2004115864A priority Critical patent/JP4696466B2/ja
Priority to US11/085,043 priority patent/US7707724B2/en
Publication of JP2005297728A publication Critical patent/JP2005297728A/ja
Application granted granted Critical
Publication of JP4696466B2 publication Critical patent/JP4696466B2/ja
Anticipated expiration legal-status Critical
Expired - Lifetime legal-status Critical Current

Links

Images

Classifications

    • FMECHANICAL ENGINEERING; LIGHTING; HEATING; WEAPONS; BLASTING
    • F16ENGINEERING ELEMENTS AND UNITS; GENERAL MEASURES FOR PRODUCING AND MAINTAINING EFFECTIVE FUNCTIONING OF MACHINES OR INSTALLATIONS; THERMAL INSULATION IN GENERAL
    • F16CSHAFTS; FLEXIBLE SHAFTS; ELEMENTS OR CRANKSHAFT MECHANISMS; ROTARY BODIES OTHER THAN GEARING ELEMENTS; BEARINGS
    • F16C19/00Bearings with rolling contact, for exclusively rotary movement
    • F16C19/02Bearings with rolling contact, for exclusively rotary movement with bearing balls essentially of the same size in one or more circular rows
    • F16C19/14Bearings with rolling contact, for exclusively rotary movement with bearing balls essentially of the same size in one or more circular rows for both radial and axial load
    • F16C19/18Bearings with rolling contact, for exclusively rotary movement with bearing balls essentially of the same size in one or more circular rows for both radial and axial load with two or more rows of balls
    • F16C19/181Bearings with rolling contact, for exclusively rotary movement with bearing balls essentially of the same size in one or more circular rows for both radial and axial load with two or more rows of balls with angular contact
    • F16C19/183Bearings with rolling contact, for exclusively rotary movement with bearing balls essentially of the same size in one or more circular rows for both radial and axial load with two or more rows of balls with angular contact with two rows at opposite angles
    • F16C19/184Bearings with rolling contact, for exclusively rotary movement with bearing balls essentially of the same size in one or more circular rows for both radial and axial load with two or more rows of balls with angular contact with two rows at opposite angles in O-arrangement
    • F16C19/186Bearings with rolling contact, for exclusively rotary movement with bearing balls essentially of the same size in one or more circular rows for both radial and axial load with two or more rows of balls with angular contact with two rows at opposite angles in O-arrangement with three raceways provided integrally on parts other than race rings, e.g. third generation hubs
    • BPERFORMING OPERATIONS; TRANSPORTING
    • B60VEHICLES IN GENERAL
    • B60BVEHICLE WHEELS; CASTORS; AXLES FOR WHEELS OR CASTORS; INCREASING WHEEL ADHESION
    • B60B27/00Hubs
    • BPERFORMING OPERATIONS; TRANSPORTING
    • B60VEHICLES IN GENERAL
    • B60BVEHICLE WHEELS; CASTORS; AXLES FOR WHEELS OR CASTORS; INCREASING WHEEL ADHESION
    • B60B27/00Hubs
    • B60B27/0005Hubs with ball bearings
    • BPERFORMING OPERATIONS; TRANSPORTING
    • B60VEHICLES IN GENERAL
    • B60BVEHICLE WHEELS; CASTORS; AXLES FOR WHEELS OR CASTORS; INCREASING WHEEL ADHESION
    • B60B27/00Hubs
    • B60B27/001Hubs with roller-bearings
    • BPERFORMING OPERATIONS; TRANSPORTING
    • B60VEHICLES IN GENERAL
    • B60BVEHICLE WHEELS; CASTORS; AXLES FOR WHEELS OR CASTORS; INCREASING WHEEL ADHESION
    • B60B27/00Hubs
    • B60B27/0015Hubs for driven wheels
    • B60B27/0021Hubs for driven wheels characterised by torque transmission means from drive axle
    • B60B27/0026Hubs for driven wheels characterised by torque transmission means from drive axle of the radial type, e.g. splined key
    • BPERFORMING OPERATIONS; TRANSPORTING
    • B60VEHICLES IN GENERAL
    • B60BVEHICLE WHEELS; CASTORS; AXLES FOR WHEELS OR CASTORS; INCREASING WHEEL ADHESION
    • B60B27/00Hubs
    • B60B27/0078Hubs characterised by the fixation of bearings
    • B60B27/0084Hubs characterised by the fixation of bearings caulking to fix inner race
    • BPERFORMING OPERATIONS; TRANSPORTING
    • B60VEHICLES IN GENERAL
    • B60BVEHICLE WHEELS; CASTORS; AXLES FOR WHEELS OR CASTORS; INCREASING WHEEL ADHESION
    • B60B27/00Hubs
    • B60B27/0094Hubs one or more of the bearing races are formed by the hub
    • BPERFORMING OPERATIONS; TRANSPORTING
    • B60VEHICLES IN GENERAL
    • B60BVEHICLE WHEELS; CASTORS; AXLES FOR WHEELS OR CASTORS; INCREASING WHEEL ADHESION
    • B60B3/00Disc wheels, i.e. wheels with load-supporting disc body
    • B60B3/04Disc wheels, i.e. wheels with load-supporting disc body with a single disc body not integral with rim, i.e. disc body and rim being manufactured independently and then permanently attached to each other in a second step, e.g. by welding
    • FMECHANICAL ENGINEERING; LIGHTING; HEATING; WEAPONS; BLASTING
    • F16ENGINEERING ELEMENTS AND UNITS; GENERAL MEASURES FOR PRODUCING AND MAINTAINING EFFECTIVE FUNCTIONING OF MACHINES OR INSTALLATIONS; THERMAL INSULATION IN GENERAL
    • F16CSHAFTS; FLEXIBLE SHAFTS; ELEMENTS OR CRANKSHAFT MECHANISMS; ROTARY BODIES OTHER THAN GEARING ELEMENTS; BEARINGS
    • F16C35/00Rigid support of bearing units; Housings, e.g. caps, covers
    • F16C35/04Rigid support of bearing units; Housings, e.g. caps, covers in the case of ball or roller bearings
    • F16C35/06Mounting or dismounting of ball or roller bearings; Fixing them onto shaft or in housing
    • F16C35/063Fixing them on the shaft
    • F16C35/0635Fixing them on the shaft the bore of the inner ring being of special non-cylindrical shape which co-operates with a complementary shape on the shaft, e.g. teeth, polygonal sections
    • FMECHANICAL ENGINEERING; LIGHTING; HEATING; WEAPONS; BLASTING
    • F16ENGINEERING ELEMENTS AND UNITS; GENERAL MEASURES FOR PRODUCING AND MAINTAINING EFFECTIVE FUNCTIONING OF MACHINES OR INSTALLATIONS; THERMAL INSULATION IN GENERAL
    • F16CSHAFTS; FLEXIBLE SHAFTS; ELEMENTS OR CRANKSHAFT MECHANISMS; ROTARY BODIES OTHER THAN GEARING ELEMENTS; BEARINGS
    • F16C43/00Assembling bearings
    • F16C43/04Assembling rolling-contact bearings
    • FMECHANICAL ENGINEERING; LIGHTING; HEATING; WEAPONS; BLASTING
    • F16ENGINEERING ELEMENTS AND UNITS; GENERAL MEASURES FOR PRODUCING AND MAINTAINING EFFECTIVE FUNCTIONING OF MACHINES OR INSTALLATIONS; THERMAL INSULATION IN GENERAL
    • F16DCOUPLINGS FOR TRANSMITTING ROTATION; CLUTCHES; BRAKES
    • F16D1/00Couplings for rigidly connecting two coaxial shafts or other movable machine elements
    • F16D1/10Quick-acting couplings in which the parts are connected by simply bringing them together axially
    • F16D1/108Quick-acting couplings in which the parts are connected by simply bringing them together axially having retaining means rotating with the coupling and acting by interengaging parts, i.e. positive coupling
    • FMECHANICAL ENGINEERING; LIGHTING; HEATING; WEAPONS; BLASTING
    • F16ENGINEERING ELEMENTS AND UNITS; GENERAL MEASURES FOR PRODUCING AND MAINTAINING EFFECTIVE FUNCTIONING OF MACHINES OR INSTALLATIONS; THERMAL INSULATION IN GENERAL
    • F16CSHAFTS; FLEXIBLE SHAFTS; ELEMENTS OR CRANKSHAFT MECHANISMS; ROTARY BODIES OTHER THAN GEARING ELEMENTS; BEARINGS
    • F16C19/00Bearings with rolling contact, for exclusively rotary movement
    • F16C19/22Bearings with rolling contact, for exclusively rotary movement with bearing rollers essentially of the same size in one or more circular rows, e.g. needle bearings
    • F16C19/34Bearings with rolling contact, for exclusively rotary movement with bearing rollers essentially of the same size in one or more circular rows, e.g. needle bearings for both radial and axial load
    • F16C19/38Bearings with rolling contact, for exclusively rotary movement with bearing rollers essentially of the same size in one or more circular rows, e.g. needle bearings for both radial and axial load with two or more rows of rollers
    • F16C19/383Bearings with rolling contact, for exclusively rotary movement with bearing rollers essentially of the same size in one or more circular rows, e.g. needle bearings for both radial and axial load with two or more rows of rollers with tapered rollers, i.e. rollers having essentially the shape of a truncated cone
    • F16C19/385Bearings with rolling contact, for exclusively rotary movement with bearing rollers essentially of the same size in one or more circular rows, e.g. needle bearings for both radial and axial load with two or more rows of rollers with tapered rollers, i.e. rollers having essentially the shape of a truncated cone with two rows, i.e. double-row tapered roller bearings
    • F16C19/386Bearings with rolling contact, for exclusively rotary movement with bearing rollers essentially of the same size in one or more circular rows, e.g. needle bearings for both radial and axial load with two or more rows of rollers with tapered rollers, i.e. rollers having essentially the shape of a truncated cone with two rows, i.e. double-row tapered roller bearings in O-arrangement
    • FMECHANICAL ENGINEERING; LIGHTING; HEATING; WEAPONS; BLASTING
    • F16ENGINEERING ELEMENTS AND UNITS; GENERAL MEASURES FOR PRODUCING AND MAINTAINING EFFECTIVE FUNCTIONING OF MACHINES OR INSTALLATIONS; THERMAL INSULATION IN GENERAL
    • F16CSHAFTS; FLEXIBLE SHAFTS; ELEMENTS OR CRANKSHAFT MECHANISMS; ROTARY BODIES OTHER THAN GEARING ELEMENTS; BEARINGS
    • F16C2326/00Articles relating to transporting
    • F16C2326/01Parts of vehicles in general
    • F16C2326/02Wheel hubs or castors
    • FMECHANICAL ENGINEERING; LIGHTING; HEATING; WEAPONS; BLASTING
    • F16ENGINEERING ELEMENTS AND UNITS; GENERAL MEASURES FOR PRODUCING AND MAINTAINING EFFECTIVE FUNCTIONING OF MACHINES OR INSTALLATIONS; THERMAL INSULATION IN GENERAL
    • F16DCOUPLINGS FOR TRANSMITTING ROTATION; CLUTCHES; BRAKES
    • F16D1/00Couplings for rigidly connecting two coaxial shafts or other movable machine elements
    • F16D1/10Quick-acting couplings in which the parts are connected by simply bringing them together axially
    • F16D2001/103Quick-acting couplings in which the parts are connected by simply bringing them together axially the torque is transmitted via splined connections
    • YGENERAL TAGGING OF NEW TECHNOLOGICAL DEVELOPMENTS; GENERAL TAGGING OF CROSS-SECTIONAL TECHNOLOGIES SPANNING OVER SEVERAL SECTIONS OF THE IPC; TECHNICAL SUBJECTS COVERED BY FORMER USPC CROSS-REFERENCE ART COLLECTIONS [XRACs] AND DIGESTS
    • Y10TECHNICAL SUBJECTS COVERED BY FORMER USPC
    • Y10TTECHNICAL SUBJECTS COVERED BY FORMER US CLASSIFICATION
    • Y10T29/00Metal working
    • Y10T29/49Method of mechanical manufacture
    • Y10T29/49636Process for making bearing or component thereof
    • YGENERAL TAGGING OF NEW TECHNOLOGICAL DEVELOPMENTS; GENERAL TAGGING OF CROSS-SECTIONAL TECHNOLOGIES SPANNING OVER SEVERAL SECTIONS OF THE IPC; TECHNICAL SUBJECTS COVERED BY FORMER USPC CROSS-REFERENCE ART COLLECTIONS [XRACs] AND DIGESTS
    • Y10TECHNICAL SUBJECTS COVERED BY FORMER USPC
    • Y10TTECHNICAL SUBJECTS COVERED BY FORMER US CLASSIFICATION
    • Y10T29/00Metal working
    • Y10T29/49Method of mechanical manufacture
    • Y10T29/49636Process for making bearing or component thereof
    • Y10T29/49696Mounting
    • YGENERAL TAGGING OF NEW TECHNOLOGICAL DEVELOPMENTS; GENERAL TAGGING OF CROSS-SECTIONAL TECHNOLOGIES SPANNING OVER SEVERAL SECTIONS OF THE IPC; TECHNICAL SUBJECTS COVERED BY FORMER USPC CROSS-REFERENCE ART COLLECTIONS [XRACs] AND DIGESTS
    • Y10TECHNICAL SUBJECTS COVERED BY FORMER USPC
    • Y10TTECHNICAL SUBJECTS COVERED BY FORMER US CLASSIFICATION
    • Y10T29/00Metal working
    • Y10T29/49Method of mechanical manufacture
    • Y10T29/49826Assembling or joining
    • Y10T29/49908Joining by deforming
    • Y10T29/49909Securing cup or tube between axially extending concentric annuli
    • Y10T29/49911Securing cup or tube between axially extending concentric annuli by expanding inner annulus
    • YGENERAL TAGGING OF NEW TECHNOLOGICAL DEVELOPMENTS; GENERAL TAGGING OF CROSS-SECTIONAL TECHNOLOGIES SPANNING OVER SEVERAL SECTIONS OF THE IPC; TECHNICAL SUBJECTS COVERED BY FORMER USPC CROSS-REFERENCE ART COLLECTIONS [XRACs] AND DIGESTS
    • Y10TECHNICAL SUBJECTS COVERED BY FORMER USPC
    • Y10TTECHNICAL SUBJECTS COVERED BY FORMER US CLASSIFICATION
    • Y10T29/00Metal working
    • Y10T29/49Method of mechanical manufacture
    • Y10T29/49826Assembling or joining
    • Y10T29/49908Joining by deforming
    • Y10T29/49915Overedge assembling of seated part
    • Y10T29/4992Overedge assembling of seated part by flaring inserted cup or tube end
    • YGENERAL TAGGING OF NEW TECHNOLOGICAL DEVELOPMENTS; GENERAL TAGGING OF CROSS-SECTIONAL TECHNOLOGIES SPANNING OVER SEVERAL SECTIONS OF THE IPC; TECHNICAL SUBJECTS COVERED BY FORMER USPC CROSS-REFERENCE ART COLLECTIONS [XRACs] AND DIGESTS
    • Y10TECHNICAL SUBJECTS COVERED BY FORMER USPC
    • Y10TTECHNICAL SUBJECTS COVERED BY FORMER US CLASSIFICATION
    • Y10T29/00Metal working
    • Y10T29/53Means to assemble or disassemble
    • Y10T29/53104Roller or ball bearing
    • YGENERAL TAGGING OF NEW TECHNOLOGICAL DEVELOPMENTS; GENERAL TAGGING OF CROSS-SECTIONAL TECHNOLOGIES SPANNING OVER SEVERAL SECTIONS OF THE IPC; TECHNICAL SUBJECTS COVERED BY FORMER USPC CROSS-REFERENCE ART COLLECTIONS [XRACs] AND DIGESTS
    • Y10TECHNICAL SUBJECTS COVERED BY FORMER USPC
    • Y10TTECHNICAL SUBJECTS COVERED BY FORMER US CLASSIFICATION
    • Y10T29/00Metal working
    • Y10T29/53Means to assemble or disassemble
    • Y10T29/53104Roller or ball bearing
    • Y10T29/53109Roller or ball bearing including deforming means

Landscapes

  • Engineering & Computer Science (AREA)
  • Mechanical Engineering (AREA)
  • General Engineering & Computer Science (AREA)
  • Rolling Contact Bearings (AREA)
  • Mounting Of Bearings Or Others (AREA)

Abstract

【課題】 スプライン孔にスプライン軸を挿入しにくくなる事を防止する。
【解決手段】 ハブ3を把持する為の把持手段28を構成する各把持部材29、29を、小径段部15の径方向内方に変位させ、素孔25の軸方向内端部内周面を、この小径段部15に内輪を締り嵌めで外嵌固定する事に基づいて弾性変形するのと同じ若しくはそれよりも僅かに大きく弾性変形させる。この状態で、上記素孔25にスプライン孔を構成する為の雌スプライン部を形成する。
【選択図】 図4

Description

この発明は、独立懸架式サスペンションに支持された駆動輪(FF車の前輪、FR車、MR車及びRR車の後輪、4WD車の全輪)を懸架装置に対して回転自在に支持すると共に、上記駆動輪を回転駆動する為に利用する駆動輪用転がり軸受ユニットの製造方法及びその製造装置の改良に関する。
車輪を懸架装置に対して回転自在に支持する為に、外輪と内輪とを転動体を介して回転自在に組み合わせた駆動輪用転がり軸受ユニットが、各種使用されている。例えば特許文献1等には、図23〜24に示す様な、駆動輪用転がり軸受ユニット1が記載されている。この駆動輪用転がり軸受ユニット1は、外輪2の内径側にハブ3及び内輪4を、複数個の転動体5、5を介して回転自在に支持して成る。このうちの外輪2は、その外周面に設けた第一のフランジ6により懸架装置を構成するナックル7に結合固定した状態で、使用時にも回転しない。又、上記外輪2の内周面には複列の外輪軌道8、8を設け、この外輪2の内径側に上記ハブ3及び内輪4を、この外輪2と同心に、回転自在に支持している。
又、上記ハブ3は、外周面の軸方向外端(軸方向に関して外とは、自動車への組み付け状態で車両の幅方向外側となる側で、各図の左側。本明細書及び特許請求の範囲全体で同じ。)寄り部分に、車輪を構成するホイール9及び制動装置であるディスクブレーキを構成するディスク10を支持する為の第二のフランジ11を設けている。上記ホイール9及びディスク10はこの第二のフランジ11の外側面に、スタッド12とナット13とにより、結合固定している。又、上記ハブ3の外周面の中間部に第一の内輪軌道14を形成し、同じく軸方向内端(軸方向に関して内とは、自動車への組み付け状態で車両の幅方向中央側となる側で、各図の右側。本明細書及び特許請求の範囲全体で同じ。)部に形成した、特許請求の範囲に記載した嵌合円筒面部に相当する小径段部15に、その外周面に第二の内輪軌道16を形成した上記内輪4を、締り嵌めにより外嵌固定している。
又、上記ハブ3の中心部には、スプライン孔17を設けている。このスプライン孔17には、等速ジョイント18を構成するスプライン軸19を、軸方向内側から外側に向け挿通する。そして、このスプライン軸19の外端部で上記ハブ3の外端面から突出した部分に設けた雄ねじ部20にナット21を螺合し、更に緊締する事により、上記等速ジョイント18と前記駆動輪用転がり軸受ユニット1とを互いに結合固定する。この状態で、前記内輪4の軸方向内端面が上記等速ジョイント18を構成する等速ジョイント用外輪22の軸方向外端面に当接するので、この内輪4が前記小径段部15から抜け出る方向に変位する事はない。同時に、前記各転動体5、5に適正な予圧が付与される。
尚、上記等速ジョイント18の構成各部の形状等に就いては、周知のツェッパ型或はバーフィールド型の等速ジョイントの場合と同様であり、本発明の要旨とは関係しないので、詳しい図示並びに説明は省略する。又、図25に示す様に、ハブ3aの軸方向内端部で小径段部15aに外嵌した内輪4よりも軸方向内方に突出した部分に存在する円筒部23を、直径方向外方にかしめ広げ(塑性変形させ)てかしめ部24を形成し、このかしめ部24により上記内輪4の内端面を抑え付ける構造も、前記特許文献1等に記載され従来から知られている。この様な構造の場合にも、上記かしめ部24により上記内輪4の内端面を抑え付けた状態で、各転動体5、5に適切な予圧が付与される。
ところで、前述の図23〜24に示す様な内輪4の内端面を等速ジョイント用外輪22により抑え付ける構造にしても、上述の図25に示す様な内輪4の内端面をかしめ部24により抑え付ける構造にしても、ハブ3、3aの中心部にスプライン孔17を形成する作業並びに構成各部材を組み付ける作業を従来は、次の様に行なっていた。尚、以下の説明は、上記図23〜24に示した構造を中心に行なう。先ず、図26に示す様に、ハブ3(3a)に内輪4を含む構成各部材を組み付ける前の状態で、このハブ3(3a)の中心部に設けた、素孔25の内周面にブローチ加工を施して、図27に示す様に、スプライン孔17を構成する為の雌スプライン部を形成する。次いで、図28に示す様に、上記ハブ3(3a)に上記内輪4以外の構成各部材を組み付けた状態で、図29に示す様に、このハブ3の内端部に設けた小径段部15に上記内輪4を、締り嵌めで外嵌固定する。そして、必要に応じてかしめ部24(図25参照)を形成した後、前述の図23に示す様に、上記スプライン孔17に等速ジョイント18を構成するスプライン軸19を挿入し、駆動輪用転がり軸受ユニット1と等速ジョイント18とを組み合わせる。この様に従来は、上記ハブ3(3a)の中心部にスプライン孔17を形成する作業を、このハブ3(3a)に上記内輪4を組み付ける以前に行なっていた。
ところが、この様にスプライン孔17の加工後に内輪4を小径段部15に外嵌固定する場合、このスプライン孔17の軸方向内端部が径方向内方に僅かとは言え縮まる事が避けられない。即ち、上記内輪4は上記小径段部15に締り嵌め(自由状態での内輪4の内径A<自由状態での小径段部15の外径B)により外嵌固定する為、外嵌した状態で、比較的薄肉である上記小径段部15部分に、径方向内方に向いた大きな力が、全周に亙って作用する。そして、この様な力に基づいて上記スプライン孔17の軸方向内端部が、上記図29に誇張して示す様に径方向内方に変形し、このスプライン孔17の内端部内周面が縮径する(各雌スプライン溝や各雌スプライン歯の内接円の内径、オーバーピン径が縮径する)。この様にスプライン孔17の内端部内周面が縮径すると、このスプライン孔17内にスプライン軸19を挿入しにくくなり、車輪駆動用転がり軸受ユニット1と等速ジョイント17との組立作業を行ないにくくなる。
この様な不都合を防止すべく、特許文献2には、小径段部15に内輪4又はこの内輪4と同等の内周面を有する治具を締り嵌めで外嵌固定した状態で、スプライン孔17を構成する為の雌スプライン部を形成する発明が記載されている。即ち、この様に小径段部15に内輪4又は治具を締り嵌めで外嵌固定する事により、上記スプライン孔17の軸方向内端部を、上記小径段部15に上記内輪4を締り嵌めで外嵌した場合と同じ状態に弾性変形させる。そして、この状態で上記雌スプライン部を形成する事で、この雌スプライン部を、上記小径段部15に上記内輪4を締り嵌めで外嵌する事に基づく変形分を補償した状態で形成する。この為、上記スプライン孔17内にスプライン軸19を挿入しにくくなって、車輪駆動用転がり軸受ユニット1と等速ジョイント18との組立作業が行ないにくくなる事を防止できる。
但し、この様に小径段部15に内輪4又は治具を外嵌した状態で雌スプライン部を形成する場合、この雌スプライン部の形成作業の後に、上記内輪4又は治具を上記小径段部15から取り外す必要がある。この様な内輪4を小径段部15から取り外す作業は、この内輪4と小径段部15とを締り嵌めで嵌合する為、これら内輪4の内周面と小径段部15の外周面とが擦れ合って、これら各周面に損傷を生じる可能性がある。上記ハブ3に少なくとも外輪2、各転動体5、5、内輪4を組み付けた状態で、このハブ3の中央部に雌スプライン部を形成すれば、上記内輪4を上記小径段部15から取り外す必要がなくなる。但し、この様に構成各部材2、4、5を組み付けた状態で雌スプライン部を形成する場合には、この雌スプライン部の形成作業に伴う切削屑等が上記構成各部材2、4、5同士の間に入り込む事を防止する為の処置が必要になったり、この様な切削屑を洗浄する為の作業が面倒になる等、好ましくない。
又、特許文献3にも、前述の図22に示す様な小径段部15aの内端部にかしめ部24を形成する構造で、このかしめ部24の形成に基づいて上記スプライン孔17の軸方向内端部の内径が縮まる事により、このスプライン孔17にスプライン軸19を挿入しにくくなる事を防止する為の発明が記載されている。即ち、上記特許文献3に記載された発明の場合には、図27に示す様に、小径段部15aに治具26を締り嵌め外嵌する事で、スプライン孔17の内端部内周面を、かしめ部24(図22)を形成した場合と同じ状態に弾性変形させる。そして、この状態で、上記スプライン孔17を構成する為の雌スプライン部を形成する事により、この雌スプライン部を、上記かしめ部24を形成する事に基づく変形分を補償した状態で形成する。
この様な特許文献3に記載された発明の場合も、上述した特許文献2に記載された発明と同様に、上記雌スプライン部を形成した後、上記治具26を上記小径段部15aから取り外す必要がある。又、上述の様な特許文献3に記載された発明の場合には、上記スプライン孔17の内端部内周面を、上記かしめ部24を形成した場合と同じ状態に弾性変形させる為、上記治具26の内周面と上記小径段部15aの外周面との締め代が大きくなる。この為、上記小径段部15aの外周面の損傷が著しくなり、この損傷を無視できなくなる可能性がある。
特開2003−139174号公報 特開2002−317824号公報 特開2002−327715号公報
本発明の駆動輪用転がり軸受ユニットの製造方法及びその製造装置は、上述の様な事情に鑑みて、嵌合円筒部に内輪を外嵌固定する事に基づく変形分を補償した状態で雌スプライン部を形成でき、しかも、上記嵌合円筒面部の外周面に擦れ等の損傷を生じにくくできる製造方法及び製造装置を実現すべく発明したものである。
本発明の駆動輪用転がり軸受ユニットの製造方法及びその製造装置により造る駆動輪用転がり軸受ユニットは、外輪と、ハブと、内輪と、複数の転動体とを備える。
このうちの外輪は、外周面に懸架装置に結合固定する為の第一のフランジを、内周面に複列の外輪軌道を、それぞれ有するものである。
又、上記ハブは、中心部にスプライン孔を、外周面の軸方向外端寄り部分に駆動輪を支持固定する為の第二のフランジを、外周面の軸方向中間部に第一の内輪軌道を、外周面の軸方向内端寄り部分に嵌合円筒面部を、それぞれ有するものである。
又、上記内輪は、外周面に第二の内輪軌道を有し、上記嵌合円筒部に締り嵌めで外嵌固定されたものである。
又、上記各転動体は、上記複列の外輪軌道と上記第一、第二の内輪軌道との間に、それぞれ複数個ずつ転動自在に設けられている。
特に、請求項1に記載した駆動輪用転がり軸受ユニットの製造方法に於いては、上記嵌合円筒面部に上記内輪を締り嵌めで外嵌固定するのに先立ち、この嵌合円筒面部を把持手段により把持すると共に、この把持手段のうちでこの嵌合円筒面部を把持した部分の内径をこの嵌合円筒面部の自由状態での外径よりも縮径する事により、上記スプライン孔の軸方向内端部内周面を径方向内方に弾性変形させる。例えば、このスプライン孔の軸方向内端部内周面を、上記嵌合円筒面部に上記内輪を締り嵌めで外嵌固定する事に基づいて弾性変形するのと同じ若しくはそれよりも僅かに大きく弾性変形させる(請求項2)。或は、必要に応じて、上記スプライン孔の軸方向内端部内周面を、上記嵌合円筒面部の内端部にかしめ部を形成する事に基づいて弾性変形するのと同じ若しくはそれよりも僅かに大きく弾性変形させる。そして、この様に弾性変形させた状態で、上記スプライン孔を構成する為の雌スプライン部を形成した後、上記把持手段のうちで上記嵌合円筒部を把持した部分の内径を、この嵌合円筒面部の外径よりも拡径する事により上記弾性変形を解除してから、この嵌合円筒面部に内輪を締り嵌めで外嵌固定する。
又、請求項4に記載した駆動輪用転がり軸受ユニットの製造装置に於いては、上記嵌合円筒面部を把持自在で、且つ、この嵌合円筒面部を把持する部分の内径をこの嵌合円筒面部の自由状態での外径よりも拡径並びに縮径自在(自由状態での外径を挟んで拡縮自在)とした把持手段と、上記スプライン孔を構成する為の雌スプライン部を形成する為の切削手段とを備える。そして、上記嵌合円筒面部を上記把持手段により把持すると共に、この把持手段のうちでこの嵌合円筒面部を把持した部分の内径をこの嵌合円筒面部の自由状態での外径よりも縮径する事により、上記スプライン孔の軸方向内端部内周面を径方向内方に弾性変形させた状態で、上記切削手段により上記雌スプライン部を形成する。
上述の様に構成する本発明の駆動輪用転がり軸受ユニットの製造方法及び製造装置によれば、把持手段によりスプライン孔の軸方向内端部内周面を径方向内方に弾性変形させた状態で、このスプライン孔を構成する為の雌スプライン部を形成する。この為、この雌スプライン部を、例えば嵌合円筒面部に内輪を締り嵌めで外嵌固定する事に基づく変形分や、この嵌合円筒面部の軸方向内端部にかしめ部を形成する事に基づく変形分を補償した状態で形成でき、上記スプライン孔へのスプライン軸の挿入作業が面倒になる事を防止できる。しかも、上記スプライン孔に雌スプライン部を形成した後は、把持手段のうちで上記嵌合円筒面部を把持する部分の内径をこの嵌合円筒面部の外径よりも拡径する事で、上記スプライン孔の内端部内周面の弾性変形を解除する。この為、上記嵌合円筒面部の外周面に、内輪や治具の取り外しに伴う擦れ等の損傷が生じる事を防止できる。
尚、上記スプライン孔の内端部内周面の弾性変形量は、上記把持手段のうちで上記嵌合円筒面部を把持する部分の内径寸法を規制する事により、容易に調節できる。
請求項4に記載した駆動輪用転がり軸受ユニットの製造装置を実施する場合に好ましくは、請求項5に記載した様に、把持手段は、嵌合円筒面部の径方向に変位自在な複数の把持部材を、この嵌合円筒面部の円周方向に等間隔に設けたものとする。そして、これら各把持部材をこの嵌合円筒面部の径方向に変位させる事により、上記把持手段のうちでこの嵌合円筒面部を把持する部分の内径を、この嵌合円筒面部の自由状態での外径よりも拡径並びに縮径自在とする。
この様に構成すれば、単純な構造で、上記嵌合円筒面部の外周面に径方向内方に向かう荷重を、この嵌合円筒面部の周方向に亙り均等に加える事ができ、スプライン孔の軸方向内端部内周面の弾性変形量を所望の状態に規制し易くできる。
図1〜8は、本発明の実施例1を示している。尚、本実施例の特徴は、ハブ3の軸方向内端部に形成した、特許請求の範囲に記載した嵌合円筒面部に相当する小径段部15に内輪4を締り嵌めで外嵌固定した状態で、このハブ3の中心部に形成したスプライン孔17の形状及び寸法が適正になる様にすると共に、上記小径段部15の外周面に擦れ等の損傷が生じるのを防止すべく、上記スプライン孔17の加工方法並びにこのスプライン孔17を加工する為の加工装置の構造を工夫した点にある。車輪駆動用転がり軸受ユニット1の基本的な構造自体は、前述の図23〜24に示した構造と同様であるから、同等部分に関する説明は省略若しくは簡略にし、以下、本発明の製造方法並びに製造装置の実施例に就いて説明する。
本実施例の製造方法の場合には、先ず、図2に示す様に、円筒状の素材に鍛造加工や旋削加工、必要に応じて穿孔加工、ねじ切り加工、研削加工等の機械加工、及び、熱処理、コーティング処理等の表面処理を施して、ハブ3を形成する。次いで、このハブ3の内端部に設けた小径段部15に内輪4を締り嵌めで外嵌固定するのに先立って、図3に示す様に、このハブ3を、このハブ3の中心部に設けた素孔25の内周面に雌スプライン部を形成する為の加工装置27に支持する。この加工装置27は、特許請求の範囲に記載した駆動輪用転がり軸受ユニットの製造装置に相当するもので、上記小径段部15を把持自在で、且つ、この小径段部15を把持する部分の内径を、この小径段部15の自由状態での外径よりも拡径並びに縮径自在の把持手段28と、上記素孔25に上記スプライン孔17を構成する為の雌スプライン部を形成する為の、図示しない切削手段とを備える。このうちの切削手段は、上記素孔25の内周面にブローチ加工を施す為のブローチにより構成しており、上記把持手段28により上記小径段部15を把持した状態で、このブローチを上記素孔25に押し込んで、この素孔25の内周面に雌スプライン部を形成する。
又、上記把持手段28は、上記小径段部15の径方向に変位自在な複数個(3〜4個)の把持部材29、29を、この小径段部15の円周方向に関して等間隔に設けたもので、工作機械のチャックの如き構造を有する。又、上記各把持部材29、29は、油圧シリンダ等の駆動手段30により、それぞれが上記小径段部15の径方向に、互いに同期して等しく変位する様に(小径段部15の径方向に亙って均等に荷重を加えられる様に)構成している。又、上記各把持部材29、29の内側面(小径段部15の外周面と対向並びに当接する面)31、31を、上記小径段部15の半径とほぼ同等の曲率半径を有する部分円筒面状としている。そして、上記各把持部材29、29を上記小径段部15の径方向に変位させる事で、この小径段部15を把持する部分の内径、即ち、これら各把持部材29、29の内側面31、31により構成される間欠円筒面の内径を、この小径段部15の外径よりも拡径並びに縮径自在としている。
尚、上記各把持部材29、29を上記小径段部15の径方向に関して最も内方に変位させた状態で、それぞれが部分円筒面であるこれら各把持部材29、29の内側面31、31同士が単一円筒面を構成する事が好ましい。又、この状態で、これら各内側面31、31により構成される円筒面の内径は、上記小径段部15の自由状態での外径よりも小さくなる。本実施例の場合には、この状態でこの円筒面の内径寸法を、上記小径段部15に締り嵌めで外嵌固定する前記内輪4の内径と同じかこの内径よりも僅かに小さくなる様にしている。尚、この様に円筒面の内径寸法を規制する事で、後述する雌スプライン部を形成する際に、前記素孔25(スプライン孔17)の内端部内周面の弾性変形量を所望の値に調節できる。一方、上記各把持部材29、29を上記小径段部15の径方向に関して最も外方に変位させた状態で、これら各把持部材29、29の内側面31、31により構成される上記間欠円筒面の直径は、上記小径段部15の(自由状態での)外径よりも大きくなる。
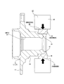
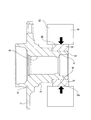
上述の様に構成する加工装置27に上記ハブ3を取り付ける場合、先ず、上記把持手段28を構成する上記各把持部材29、29を上記小径段部15の径方向外方に変位させ、これら各把持部材29、29の内側面31、31により構成される間欠円筒面の直径を、上記小径段部15の自由状態での外径よりも大きくする。そして、この状態で、上記各把持部材29、29の内側に上記小径段部15を挿入すると共に、前記駆動手段30によりこれら各把持部材29、29を径方向内方に変位させ、上記各内側面31、31を上記小径段部15、15の外周面に当接させる。この状態で、前記図3に示す様に、上記ハブ3が上記加工装置27を構成する上記把持手段28に把持(支持)される。更に本実施例の場合には、この状態から上記駆動手段30により上記各把持部材29、29を上記小径段部15の径方向内方に更に変位させ、この小径段部15に径方向内方に向かう荷重を付与する。
即ち、上記各把持部材29、29の内側面31、31により構成される間欠円筒面の内径を、上記小径段部15の外径よりも小さくし、図4に誇張して示す様に、前記素孔25の軸方向内端部内周面を径方向内方に弾性変形させる。本実施例の場合、前述した様に各把持部材29、29を上記小径段部15の径方向に関して最も内方に変位させた状態で、上記各把持部材29、29の内側面31、31同士が単一円筒面を構成する。又、この状態で、この単一円筒面の内径が、前記内輪4の内径と同じか僅かに小さくなる。従って、この様に各把持部材29、29を変位させた状態で、上記素孔25の内端部内周面は、上記小径段部15に上記内輪4を締り嵌めで外嵌固定する事に基づいて弾性変形するのと同じ若しくはそれよりも僅かに大きく弾性変形する。この状態で、上記素孔25の軸方向内端部内周面で、上記各把持部材29、29と軸方向に重畳する部分が、全周に亙り他の部分よりも径方向内方に突出する。
そして、この様に素孔25の内端部内周面を弾性変形させた状態で、前記切削手段を構成するブローチをこの素孔25に押し込み、図5に示す様にスプライン孔17とする。尚、上記ブローチに丸刃を設ける事により、この雌スプライン部の形成の際に、この雌スプライン部を構成する各雌スプライン歯の先端面の加工を同時に行なっても良い。又、この様なブローチ加工は、通常の切削油や切削液を用いたウエット加工の他、環境を配慮して、切削油や切削液の使用量を少なくしたセミドライ加工、切削油や切削液を使用しないドライ加工を採用しても良い。この様に雌スプライン部を形成した状態では、上記スプライン孔17の内周面は軸方向に亙って均一となる(径方向内方に突出した部分はなくなる)。
そして、この様に雌スプライン部を形成したら、図6に示す様に、上記各把持部材29、29を上記小径段部15の径方向外方に変位させ、これら各把持部材29、29の内側面31、31の内接円の直径を、上記小径段部15の外径よりも大きくし、図7に示す様に、上記把持手段28から上記ハブ3を取り外す。この状態で、上記スプライン孔17の軸方向内端部内周面は、軸方向内方に進むに従って外径が大きくなる方向に僅かに傾斜する。即ち、上述の様に雌スプライン部の形成作業を、上記スプライン孔17の内端部内周面を径方向内方に弾性変形させた状態で行なった為、この様に径方向内方に弾性変形した部分は多く切削される。この為、上記各把持部材29、29を径方向外方に変位させて上記弾性変形を解除した状態では、上記スプライン孔17の軸方向内端部内周面が上述の様に傾斜する。
次いで、必要に応じて機械加工及び表面処理を施した後、図8に示す様に、上記ハブ3に上記内輪4以外の構成各部品を組み付けてから、図1に示す様に、このハブ3の内端部に設けた上記小径段部15に上記内輪4を、締り嵌めで外嵌固定する。本実施例の場合、この様な締り嵌めに基づいて上記スプライン孔17の軸方向内端部内周面が径方向内方に変位しても、この変形した部分が他の部分よりも径方向内方に突出する事はない。この様に本実施例の場合には、上記スプライン孔17を構成する為の雌スプライン部を、上記小径段部15に上記内輪4を締り嵌めで外嵌固定する事に基づく変形分を補償した状態で形成できる。この為、等速ジョイント18の端部に固設したスプライン軸19(図23参照)を上記スプライン孔17に挿入する作業が面倒になる事を防止できる。しかも、上記雌スプライン部を形成した後は、上述した様に、上記各把持部材29、29を径方向外方に変位させ、これら各把持部材29、29の内側面31、31により構成される内接円の直径を上記小径段部15の外径よりも大きくする。この為、上記小径段部15の外周面と上記内側面31、31とが擦れ合う事はなく、前述の特許文献2、3に記載された様な内輪4や治具26(図30参照)の取り付け、取り外しに伴う擦れ等の損傷が生じる事を防止できる。尚、この様な内輪4や治具26の内周面に、摩擦係数低減を目的としたコーティング等の表面処理を予め施す事により、これら内輪4や治具26の取り外しに伴う損傷や摩耗粉の発生を抑える事もできる。
又、上記ハブ3に施す熱処理は、上記雌スプライン部の形成前に行なえば、この雌スプライン部を熱処理変形のないものとできるが、この雌スプライン部を形成した後に熱処理を施しても良い。
図9は、本発明の実施例2を示している。本実施例の場合には、ハブ3の中心部に設けた素孔25(雌スプライン部を形成する前のスプライン孔)の軸方向内端部内周面で、このハブ3の内端部(図9の右端部)に設けた小径段部15と径方向に重畳する部分に、軸方向内方(図9の右方)に進むに従って内径が大きくなる方向に傾斜した円すい凹面状のテーパー面部32を設けている。この様な本実施例の場合には、把持手段26(図3等参照)により上記素孔25の内端部内周面を、上記小径段部15に内輪4(図1参照)を締り嵌めで外嵌固定する事に基づいて弾性変形するのと同程度に弾性変形させた状態での、この素孔25の内端部内周面の径方向内方への突出量を小さくできる。この為、切削手段であるブローチを上記素孔25に押し込む際に、このブローチの引っかかりを防止して、スプライン孔を構成する雌スプライン部の形成作業をスムーズに行なえる。その他の部分の構造及びハブ3の中心部にスプライン孔17を形成する方法に関しては、上述した実施例1の場合と同様であるから、重複する説明を省略する。
図10は、本発明の実施例3を示している。前述の図1〜8に示した実施例1の場合は、ハブ3の外周面の軸方向外端寄り部分に設けた第二のフランジ11に、ホイール9及びディスク10(図23参照)を支持する為のスタッド12を、この第二のフランジ11に設けた貫通孔33(図1参照)に圧入固定(植込み固定)している。これに対し、本実施例の場合には、この第二のフランジ11の円周方向複数個所に、この第二のフランジ11を軸方向に貫通する状態でねじ孔34を設け、これら各ねじ孔34に上記ホイール9及びディスク10を支持する為の図示しないボルトを螺合自在としている。その他の部分の構造及びハブ3の中心部にスプライン孔17を形成する方法に関しては、上述した実施例1の場合と同様であるから、重複する説明を省略する。
図11〜19は、本発明の実施例4を、工程順に示している。本実施例の場合には、図11に示す様に、ハブ3aの内端部で小径段部15aに外嵌した内輪4よりも軸方向内方に突出した部分に存在する円筒部23を、直径方向外方にかしめ広げ(塑性変形させ)てかしめ部24を形成し、このかしめ部24により上記内輪4の軸方向内端面を抑え付けている。この様なかしめ部24を形成する本実施例の場合も、前述した実施例1の製造方法の場合と同様に、図12に示す様な素孔25を形成したハブ3の軸方向内端部を、図13に示す様に、把持手段28により抑え付ける。そして、この素孔25の内端部内周面を、図14に誇張して示す様に、上記小径段部15に上記内輪4を締り嵌めで外嵌固定する事に基づいて弾性変形するのと同じ若しくはそれよりも僅かに大きく弾性変形させる。そして、この状態で、上記素孔25に、図15に示す様に、スプライン孔17を構成する為の雌スプライン部を形成する。この結果、図16、17に示す様に、このスプライン孔17の内径が、内端部に向かう程大きくなる、ハブ3とする。そして、この様に雌スプライン部を形成した後、図18、19に示す様に、上記ハブ3aに上記内輪4を含む構成各部材を組み付けた状態で、上記円筒部23を径方向外方に塑性変形させて、図11に示したかしめ部24を形成する。
尚、この様なかしめ部24の形成作業の際に、このかしめ部24の形成に伴って上記スプライン孔17の軸方向内端部の内径が縮まると、前述の様にこのスプライン孔17にスプライン軸9(図23参照)を挿入しにくくなる。この為、上記かしめ部24の形成は、例えば特開2002−339959号公報に記載されている様に、上記スプライン孔17にスプライン軸の如き抑え冶具を内嵌させた状態で、比較的小さな荷重で行なえる揺動かしめにより行なう事が好ましい。この様にかしめ部24を形成すれば、このかしめ部24の形成に伴って上記スプライン孔17の軸方向内端部の内径が縮まる量を低減できる。尚、この様なかしめ部24の形成に伴う縮径を考慮して、このスプライン孔17の内端部内周面を、このかしめ部24を形成する事に基づいて弾性変形するのと同じ若しくはそれよりも僅かに大きく弾性変形させた状態で、上記雌スプライン部を形成する事もできる。その他の部分の構造及びハブ3aの中心部にスプライン孔17を形成する方法に関しては、前述した実施例1の場合と同様であるから、重複する説明を省略する。
次に、図20は、本発明の実施例5を示している。本実施例の場合には、ハブ3aの中心部に設けた素孔25(雌スプライン部を形成する前のスプライン孔)の軸方向内端部内周面で、このハブ3aの軸方向内端部に設けた小径段部15aと径方向に重畳する部分に、軸方向内方に進むに従って内径が大きくなる方向に傾斜した円すい凹面状のテーパー面部32を設けている。この様な本実施例の場合には、前述した実施例2と同様に、切削手段であるブローチを上記素孔25に押し込む際に、このブローチの引っかかりを防止して、スプライン孔を構成する雌スプライン部の形成作業をスムーズに行なえる。その他の部分の構造及びハブ3aの中心部にスプライン孔17を形成する方法に関しては、上述した実施例4の場合と同様であるから、重複する説明を省略する。
図21は、本発明の実施例6を示している。本実施例の場合は、前述した実施例3と同様に、ハブ3aの外周面の軸方向外端寄り部分に設けた第二のフランジ11の円周方向複数個所に、この第二のフランジ11を軸方向に貫通する状態でねじ孔34を設け、これら各ねじ孔34にホイール9及びディスク10(図23参照)を支持する為の図示しないボルトを螺合自在としている。その他の部分の構造及びハブ3aの中心部にスプライン孔17を形成する方法に関しては、前述した実施例4の場合と同様であるから、重複する説明を省略する。
図22は、本発明の実施例7を示している。本実施例の場合には、各転動体5a、5aを円すいころとすると共に、これに合わせて、第一、第二の各内輪軌道14a、16aを互いに逆方向に傾斜した円すい凸面状のものとし、各外輪軌道8a、8aを互いに逆方向に傾斜した円すい凹面状のものとしている。又、これと共に、上記第一の内輪軌道14aを、ハブ3aに設けた小径段部15bに締り嵌めで外嵌固定した別の内輪4aの外周面に設けている。この様な本実施例の場合は、上記小径段部15bを上記ハブ3aの軸方向中間部から内端部に亙って設け、この小径段部15bにそれぞれ第一、第二の内輪軌道14a、16aをその外周面に設けた1対の内輪4、4a(内輪4、別の内輪4a)を締り嵌めで外嵌固定する。そして、この様に小径段部15bに1対の内輪4、4aを締り嵌めで外嵌固定した状態で、これら1対の内輪4、4aのうちの軸方向内側の内輪4よりも軸方向内方に突出した部分に存在する円筒部23を、直径方向外方にかしめ広げ(塑性変形させ)てかしめ部24を形成する。
この様に構成する本実施例の場合も、スプライン孔17を構成する雌スプライン部の形成作業を、前述した実施例1、3で説明した加工装置27(図3等参照)を構成する把持手段28により、上記スプライン孔17の内周面を径方向内方に弾性変形させた状態で行なう。即ち、上記把持手段28を構成する各把持部材29、29(図3等参照)を、上記小径段部15bの径方向内方に変位させる事により、上記スプライン孔17の内周面を、上記小径段部15bに上記1対の内輪4、4aを締り嵌めで外嵌固定する事に基づいて弾性変形するのと同じ若しくはそれよりも僅かに大きく弾性変形させる。そして。この状態で、上記スプライン孔17を構成する雌スプライン部をブローチ加工により形成する。勿論、上記かしめ部24の形成に伴う上記スプライン孔17の縮径を考慮して、このスプライン孔17の内周面を、このかしめ部24を形成する事に基づいて弾性変形するのと同じ若しくはそれよりも僅かに大きく弾性変形させた状態で、上記雌スプライン部を形成する事もできる。その他の部分の構造及びハブ3aの中心部にスプライン孔17を形成する方法に関しては、前述した実施例4の場合と同様であるから、重複する説明を省略する。
尚、前述した各実施例の説明は、雌スプライン部を形成する際のスプライン孔17の内周面の弾性変形量を、内輪4(1対の内輪4、4a)の締り嵌めに基づく変形量と、かしめ部24の形成に伴う変形量とをそれぞれ別にして規制した場合を例に説明した。但し、必要に応じて、これら内輪4(1対の内輪4、4a)の締り嵌めに基づく変形量と、かしめ部24の形成に伴う変形量との両方を考慮して規制する事も好ましい。
本発明の実施例1の方法により造った駆動輪用転がり軸受ユニットを示す断面図。 雌スプライン部を形成する前のハブを示す断面図。 ハブを加工装置に支持した状態を示す断面図。 続いて把持手段によりスプライン孔の軸方向内端部内周面を弾性変形させた状態を示す断面図。 続いて雌スプライン部を形成した状態を示す断面図。 続いてスプライン孔の内端部内周面の弾性変形を解除した状態を示す断面図。 続いてハブを加工装置から取り外した状態を示す断面図。 続いてハブに内輪以外の構成各部材を組み付ける状態を示す断面図。 本発明の実施例2を示す、図2と同様の断面図。 本発明の実施例3を示す、図1と同様の断面図。 本発明の実施例4の方法により造った駆動輪用転がり軸受ユニットを示す断面図。 雌スプライン部を形成する前のハブを示す断面図。 ハブを加工装置に支持した状態を示す断面図。 続いて把持手段によりスプライン孔の内端部内周面を弾性変形させた状態を示す断面図。 続いて雌スプライン部を形成した状態を示す断面図。 続いてスプライン孔の内端部内周面の弾性変形を解除した状態を示す断面図。 続いてハブを加工装置から取り外した状態を示す断面図。 続いてハブに内輪以外の構成各部材を組み付ける状態を示す断面図。 続いてハブに内輪を組み付けた状態を示す断面図。 本発明の実施例5を示す、図12と同様の断面図。 本発明の実施例6を示す、図11と同様の断面図。 本発明の実施例7を示す、図11と同様の断面図。 本発明の対象となる駆動輪用転がり軸受ユニットの第1例を、懸架装置への組み付け状態で示す断面図。 同じく車輪駆動用転がり軸受ユニットを取り出して示す断面図。 従来構造の第2例を示す、図24と同様の断面図。 車輪駆動用転がり軸受ユニットを造る途中で、雌スプライン部を形成する前のハブを示す断面図。 続いて雌スプライン部を形成した状態を示す断面図。 続いてハブに内輪以外の構成各部材を組み付ける状態を示す断面図。 続いてハブに内輪を組み付けた状態を示す断面図。 従来の製造方法の別例を示す断面図。
符号の説明
1 駆動輪用転がり軸受ユニット
2 外輪
3、3a ハブ
4、4a 内輪
5、5a 転動体
6 第一のフランジ
7 ナックル
8、8a 外輪軌道
9 ホイール
10 ディスク
11 第二のフランジ
12 スタッド
13 ナット
14、14a 第一の内輪軌道
15、15a、15b 小径段部
16、16a 第二の内輪軌道
17 スプライン孔
18 等速ジョイント
19 スプライン軸
20 雄ねじ部
21 ナット
22 等速ジョイント用外輪
23 円筒部
24 かしめ部
25 素孔
26 治具
27 加工装置
28 把持手段
29 把持部材
30 駆動手段
31 内側面
32 テーパ面部
33 貫通孔
34 ねじ孔

Claims (5)

  1. 外輪と、ハブと、内輪と、複数の転動体とを備え、このうちの外輪は、外周面に懸架装置に結合固定する為の第一のフランジを、内周面に複列の外輪軌道を、それぞれ有するものであり、上記ハブは、中心部にスプライン孔を、外周面の軸方向外端寄り部分に駆動輪を支持固定する為の第二のフランジを、外周面の軸方向中間部に第一の内輪軌道を、外周面の軸方向内端寄り部分に嵌合円筒面部を、それぞれ有するものであり、上記内輪は、外周面に第二の内輪軌道を有し、上記嵌合円筒部に締り嵌めで外嵌固定されたものであり、上記各転動体は、上記複列の外輪軌道と上記第一、第二の内輪軌道との間に、それぞれ複数個ずつ転動自在に設けられているものである駆動輪用転がり軸受ユニットの製造方法であって、上記嵌合円筒面部に上記内輪を締り嵌めで外嵌固定するのに先立ち、この嵌合円筒面部を把持手段により把持すると共に、この把持手段のうちでこの嵌合円筒面部を把持した部分の内径をこの嵌合円筒面部の自由状態での外径よりも縮径する事により、上記スプライン孔の軸方向内端部内周面を径方向内方に弾性変形させた状態で、このスプライン孔を構成する為の雌スプライン部を形成した後、上記把持した部分の内径を上記嵌合円筒面部の外径よりも拡径する事により上記弾性変形を解除してから、この嵌合円筒面部に内輪を締り嵌めで外嵌固定する、駆動輪用転がり軸受ユニットの製造方法。
  2. スプライン孔の内端部内周面を、嵌合円筒面部に内輪を締り嵌めで外嵌固定する事に基づいて弾性変形するのと同じ若しくはそれよりも僅かに大きく弾性変形させる、請求項1に記載した駆動輪用転がり軸受ユニットの製造方法。
  3. 第一の内輪軌道が、嵌合円筒面部に締り嵌めで外嵌固定した別の内輪の外周面に設けられたものである、請求項1〜2の何れかに記載した駆動輪用転がり軸受ユニットの製造方法。
  4. 外輪と、ハブと、内輪と、複数の転動体とを備え、このうちの外輪は、外周面に懸架装置に結合固定する為の第一のフランジを、内周面に複列の外輪軌道を、それぞれ有するものであり、上記ハブは、中心部にスプライン孔を、外周面の軸方向外端寄り部分に駆動輪を支持固定する為の第二のフランジを、外周面の軸方向中間部に第一の内輪軌道を、外周面の軸方向内端寄り部分に嵌合円筒面部を、それぞれ有するものであり、上記内輪は、外周面に第二の内輪軌道を有し、上記嵌合円筒部に締り嵌めで外嵌固定されたものであり、上記各転動体は、上記複列の外輪軌道と上記第一、第二の内輪軌道との間に、それぞれ複数個ずつ転動自在に設けられているものである駆動輪用転がり軸受ユニットの製造装置であって、上記嵌合円筒面部を把持自在で、且つ、この嵌合円筒面部を把持する部分の内径をこの嵌合円筒面部の自由状態での外径よりも拡径並びに縮径自在とした把持手段と、上記スプライン孔を構成する為の雌スプライン部を形成する為の切削手段とを備え、上記嵌合円筒面部を上記把持手段により把持すると共に、この把持手段のうちでこの嵌合円筒面部を把持した部分の内径をこの嵌合円筒面部の自由状態での外径よりも縮径する事により、上記スプライン孔の軸方向内端部内周面を径方向内方に弾性変形させた状態で、上記切削手段により上記雌スプライン部を形成する、駆動輪用転がり軸受ユニットの製造装置。
  5. 把持手段は、嵌合円筒面部の径方向に変位自在の複数の把持部材を、この嵌合円筒面部の円周方向に等間隔に設けており、これら各把持部材をこの嵌合円筒面部の径方向に変位させる事により、上記把持手段のうちのこの嵌合円筒面部を把持する部分の内径を、この嵌合円筒面部の自由状態での外径よりも拡径並びに縮径自在とした、請求項3に記載した駆動輪用転がり軸受ユニットの製造装置。
JP2004115864A 2004-04-09 2004-04-09 駆動輪用転がり軸受ユニットの製造方法及びその製造装置 Expired - Lifetime JP4696466B2 (ja)

Priority Applications (2)

Application Number Priority Date Filing Date Title
JP2004115864A JP4696466B2 (ja) 2004-04-09 2004-04-09 駆動輪用転がり軸受ユニットの製造方法及びその製造装置
US11/085,043 US7707724B2 (en) 2004-04-09 2005-03-22 Manufacturing method for a drive wheel rolling bearing unit and manufacturing apparatus therefor

Applications Claiming Priority (1)

Application Number Priority Date Filing Date Title
JP2004115864A JP4696466B2 (ja) 2004-04-09 2004-04-09 駆動輪用転がり軸受ユニットの製造方法及びその製造装置

Publications (2)

Publication Number Publication Date
JP2005297728A true JP2005297728A (ja) 2005-10-27
JP4696466B2 JP4696466B2 (ja) 2011-06-08

Family

ID=35059047

Family Applications (1)

Application Number Title Priority Date Filing Date
JP2004115864A Expired - Lifetime JP4696466B2 (ja) 2004-04-09 2004-04-09 駆動輪用転がり軸受ユニットの製造方法及びその製造装置

Country Status (2)

Country Link
US (1) US7707724B2 (ja)
JP (1) JP4696466B2 (ja)

Cited By (1)

* Cited by examiner, † Cited by third party
Publication number Priority date Publication date Assignee Title
JP2010089522A (ja) * 2008-10-03 2010-04-22 Nsk Ltd 車輪支持用転がり軸受ユニットの製造方法

Families Citing this family (12)

* Cited by examiner, † Cited by third party
Publication number Priority date Publication date Assignee Title
JP4904980B2 (ja) 2006-08-14 2012-03-28 株式会社ジェイテクト 車軸用軸受装置
JP5597159B2 (ja) * 2011-04-12 2014-10-01 住友重機械工業株式会社 歯車構造体の製造方法及び歯車構造体の中間構造体
CN102734388B (zh) * 2011-04-12 2015-09-02 住友重机械工业株式会社 具有齿轮结构体的变速装置系列及齿轮结构体系列
JP2013159137A (ja) * 2012-02-01 2013-08-19 Ntn Corp 車輪用軸受装置
JP5867121B2 (ja) * 2012-02-02 2016-02-24 株式会社ジェイテクト 車輪支持装置
CN105522867A (zh) * 2015-12-30 2016-04-27 长安马自达汽车有限公司 一种新型的驱动轮用轮毂轴承单元
CN107035776A (zh) * 2017-05-04 2017-08-11 泰州市众擎金属制品有限公司 一种内法兰盘
JP7441609B2 (ja) * 2019-03-25 2024-03-01 Ntn株式会社 車輪用軸受装置
DE102019130321B4 (de) * 2019-11-11 2022-04-14 Audi Ag Radlagereinheit für ein Kraftfahrzeug sowie Verfahren zum Herstellen einer Radlagereinheit
FR3126900B1 (fr) 2021-09-10 2023-12-08 Ntn Snr Roulements Procédé d’assemblage d’au moins une bague coopérant par frettage avec une portée de frettage d'une pièce
CN113953835B (zh) * 2021-10-18 2022-08-02 泰州市东方传动技术有限公司 一种十字轴连接加工系统及加工工艺
FR3147141B1 (fr) * 2023-03-29 2025-11-21 Ntn Snr Roulements Procédé d’assemblage d’un ensemble de roulement de roue

Citations (3)

* Cited by examiner, † Cited by third party
Publication number Priority date Publication date Assignee Title
JP2002106557A (ja) * 2000-09-29 2002-04-10 Nsk Ltd 車輪駆動用軸受ユニット
JP2002317824A (ja) * 2001-04-19 2002-10-31 Nsk Ltd 駆動輪用転がり軸受ユニットの製造方法及び車輪用駆動ユニット
JP2002327715A (ja) * 2001-04-27 2002-11-15 Koyo Seiko Co Ltd 車軸用軸受装置、及びその車軸用軸受装置の製造方法

Family Cites Families (5)

* Cited by examiner, † Cited by third party
Publication number Priority date Publication date Assignee Title
JP3567629B2 (ja) * 1996-07-25 2004-09-22 マツダ株式会社 内歯を有する環状体の成形方法およびその装置
JP3896751B2 (ja) * 2000-02-23 2007-03-22 日本精工株式会社 車輪用軸受ユニットの製造方法
JP2002089572A (ja) * 2000-07-10 2002-03-27 Koyo Seiko Co Ltd 軸受装置
JP3902415B2 (ja) 2001-03-29 2007-04-04 Ntn株式会社 駆動車輪用軸受装置
JP4023129B2 (ja) 2001-10-31 2007-12-19 日本精工株式会社 制動用回転部材及びホイール付転がり軸受ユニット

Patent Citations (3)

* Cited by examiner, † Cited by third party
Publication number Priority date Publication date Assignee Title
JP2002106557A (ja) * 2000-09-29 2002-04-10 Nsk Ltd 車輪駆動用軸受ユニット
JP2002317824A (ja) * 2001-04-19 2002-10-31 Nsk Ltd 駆動輪用転がり軸受ユニットの製造方法及び車輪用駆動ユニット
JP2002327715A (ja) * 2001-04-27 2002-11-15 Koyo Seiko Co Ltd 車軸用軸受装置、及びその車軸用軸受装置の製造方法

Cited By (1)

* Cited by examiner, † Cited by third party
Publication number Priority date Publication date Assignee Title
JP2010089522A (ja) * 2008-10-03 2010-04-22 Nsk Ltd 車輪支持用転がり軸受ユニットの製造方法

Also Published As

Publication number Publication date
US7707724B2 (en) 2010-05-04
JP4696466B2 (ja) 2011-06-08
US20050223557A1 (en) 2005-10-13

Similar Documents

Publication Publication Date Title
EP2127902B1 (en) Bearing device for driving wheel, and its assembling method
JP4484132B2 (ja) 振れを最小限に抑えたハブアセンブリとその製造方法
JP4696466B2 (ja) 駆動輪用転がり軸受ユニットの製造方法及びその製造装置
JP2002200902A (ja) 車輪駆動用ユニットとその製造方法
JP5228343B2 (ja) 車輪支持用複列転がり軸受ユニット及びその製造方法
JP4114368B2 (ja) 駆動輪用転がり軸受ユニットの製造方法
JP4894652B2 (ja) 車輪支持用転がり軸受ユニットの製造方法
JP2005306157A (ja) 車輪支持用転がり軸受ユニット及びその製造方法
EP1902861B1 (en) Wheel rolling bearing apparatus
JP2010127305A (ja) 転がり軸受装置の製造方法
JP3960005B2 (ja) 車輪用回転支持装置
EP2587078A1 (en) Wheel bearing device
JP2009030618A (ja) 駆動輪用転がり軸受ユニット及びその製造方法
JP4779953B2 (ja) 軸受ユニット製造方法及び軸受ユニット
JP2004338584A (ja) 駆動車輪用軸受ユニットの製造方法および車輪用駆動ユニット
JP2021165130A (ja) ハブユニット軸受及び車両
JP2002301532A (ja) 軸受装置のかしめ方法
JP2002337504A (ja) 車輪駆動用軸受ユニットの組立方法及び組立用治具
JP2005119383A (ja) 車輪用軸受装置
JP2000229501A (ja) 車輪支持用ハブユニット
JP2004263835A (ja) 車輪用軸受装置
US20070047863A1 (en) Bearing apparatus for driving wheel and working method thereof
JP2004299666A (ja) 車輪用軸受装置
JP2002274118A (ja) 駆動輪用転がり軸受ユニット及び車輪用駆動ユニット
WO2007125654A1 (ja) 駆動車輪用軸受装置およびその製造方法

Legal Events

Date Code Title Description
A621 Written request for application examination

Free format text: JAPANESE INTERMEDIATE CODE: A621

Effective date: 20070323

RD04 Notification of resignation of power of attorney

Free format text: JAPANESE INTERMEDIATE CODE: A7424

Effective date: 20070323

A977 Report on retrieval

Free format text: JAPANESE INTERMEDIATE CODE: A971007

Effective date: 20081224

A131 Notification of reasons for refusal

Free format text: JAPANESE INTERMEDIATE CODE: A131

Effective date: 20091215

A521 Request for written amendment filed

Free format text: JAPANESE INTERMEDIATE CODE: A523

Effective date: 20091224

A131 Notification of reasons for refusal

Free format text: JAPANESE INTERMEDIATE CODE: A131

Effective date: 20100601

A521 Request for written amendment filed

Free format text: JAPANESE INTERMEDIATE CODE: A523

Effective date: 20100716

TRDD Decision of grant or rejection written
A01 Written decision to grant a patent or to grant a registration (utility model)

Free format text: JAPANESE INTERMEDIATE CODE: A01

Effective date: 20110201

A61 First payment of annual fees (during grant procedure)

Free format text: JAPANESE INTERMEDIATE CODE: A61

Effective date: 20110214

R150 Certificate of patent or registration of utility model

Ref document number: 4696466

Country of ref document: JP

Free format text: JAPANESE INTERMEDIATE CODE: R150

EXPY Cancellation because of completion of term