JP2005295542A - 直線性補償回路 - Google Patents
直線性補償回路 Download PDFInfo
- Publication number
- JP2005295542A JP2005295542A JP2005083845A JP2005083845A JP2005295542A JP 2005295542 A JP2005295542 A JP 2005295542A JP 2005083845 A JP2005083845 A JP 2005083845A JP 2005083845 A JP2005083845 A JP 2005083845A JP 2005295542 A JP2005295542 A JP 2005295542A
- Authority
- JP
- Japan
- Prior art keywords
- harmonic
- input
- input signal
- signal
- corrected
- Prior art date
- Legal status (The legal status is an assumption and is not a legal conclusion. Google has not performed a legal analysis and makes no representation as to the accuracy of the status listed.)
- Granted
Links
Images
Classifications
-
- H—ELECTRICITY
- H03—ELECTRONIC CIRCUITRY
- H03M—CODING; DECODING; CODE CONVERSION IN GENERAL
- H03M1/00—Analogue/digital conversion; Digital/analogue conversion
- H03M1/06—Continuously compensating for, or preventing, undesired influence of physical parameters
- H03M1/0617—Continuously compensating for, or preventing, undesired influence of physical parameters characterised by the use of methods or means not specific to a particular type of detrimental influence
- H03M1/0626—Continuously compensating for, or preventing, undesired influence of physical parameters characterised by the use of methods or means not specific to a particular type of detrimental influence by filtering
-
- H—ELECTRICITY
- H03—ELECTRONIC CIRCUITRY
- H03M—CODING; DECODING; CODE CONVERSION IN GENERAL
- H03M1/00—Analogue/digital conversion; Digital/analogue conversion
- H03M1/06—Continuously compensating for, or preventing, undesired influence of physical parameters
- H03M1/0614—Continuously compensating for, or preventing, undesired influence of physical parameters of harmonic distortion
-
- H—ELECTRICITY
- H03—ELECTRONIC CIRCUITRY
- H03M—CODING; DECODING; CODE CONVERSION IN GENERAL
- H03M1/00—Analogue/digital conversion; Digital/analogue conversion
- H03M1/12—Analogue/digital converters
-
- H—ELECTRICITY
- H03—ELECTRONIC CIRCUITRY
- H03M—CODING; DECODING; CODE CONVERSION IN GENERAL
- H03M1/00—Analogue/digital conversion; Digital/analogue conversion
- H03M1/12—Analogue/digital converters
- H03M1/14—Conversion in steps with each step involving the same or a different conversion means and delivering more than one bit
- H03M1/16—Conversion in steps with each step involving the same or a different conversion means and delivering more than one bit with scale factor modification, i.e. by changing the amplification between the steps
- H03M1/164—Conversion in steps with each step involving the same or a different conversion means and delivering more than one bit with scale factor modification, i.e. by changing the amplification between the steps the steps being performed sequentially in series-connected stages
-
- H—ELECTRICITY
- H03—ELECTRONIC CIRCUITRY
- H03M—CODING; DECODING; CODE CONVERSION IN GENERAL
- H03M1/00—Analogue/digital conversion; Digital/analogue conversion
- H03M1/12—Analogue/digital converters
- H03M1/34—Analogue value compared with reference values
- H03M1/38—Analogue value compared with reference values sequentially only, e.g. successive approximation type
- H03M1/44—Sequential comparisons in series-connected stages with change in value of analogue signal
Landscapes
- Engineering & Computer Science (AREA)
- Theoretical Computer Science (AREA)
- Amplifiers (AREA)
- Filters And Equalizers (AREA)
Abstract
【解決手段】高調波歪の補正されていない入力信号が高調波補正ユニット142〜14Mと、これら高調波補正ユニットの遅延時間と同じ補償遅延回路12に供給される。高調波補正ユニットの各々は、ヒルベルト変換フィルタを用いて個別に補正された高調波成分を発生する。加算器16は、補償遅延回路12と、高調波補正ユニット142〜14Mとの出力信号を加算して、高調波歪の高調波をキャンセルした補正済入力信号を発生する。
【選択図】図1
Description
S(f(t)+g(t))≠S(f(t))+S(g(t))
なお、f(t)及びg(t)は2つの信号である。非線形システムの入力信号がある期間Tにわたって繰り返す場合、メモリのない非線形システムを通過する経路の信号も同じ期間にわたって繰り返される。フーリエ理論には、次の条件がある。
a)周期Tの総ての繰り返し信号は、直流オフセット、周期Tの基本正弦波、及び基本波の高調波の和により表すことができる。
b)基本波及び高調波の各々は、繰り返し信号の波形により独自に決まる振幅及び位相を有する。
正弦周波数は、その周期又はサイクル時間の逆数であるので、基本周波数は、1秒当たり1/Tサイクル、即ち、1/Tヘルツである。周期Tの正弦波の高調波は、基本周波数の整数倍の周波数であるので、n次高調波は、周波数がn/Tであり、周期がT/nである。
Y(t)=DC+Σn=1-M(A(n,f)sin(2πnft+P(n,f)))
A(n,f)は、基本周波数のn次高調波の振幅であり、P(n,f)は、対応する位相である。角周波数の単位はラジンアン/秒で2πf=ωであるので、1つの円、即ち、1サイクルは2πラジアンとなる。実現可能なシステムでは、高周波数の経路が制限されるので、高次高調波が制限される。例えば、アナログ・システムは、最大の駆動電流能力及び容量負荷により制限されるので、実際には、Mは、無限大にまで拡張されない。よって、繰り返し信号は、Tと、M個の振幅{A}及び位相{P}の有限の2組とにより決まる。
Y(t)=X(t)+KX(t)2
ここで、Kは小さいと仮定する。エラー項を補正するには、次のようにする。
X'(t)≒Y(t)-K'Y(t)2
K'=Kの場合、上述の式をY(t)で置き換え、展開して簡略化すると、次のようになる。
X'(t)≒X(t)-2K2X(t)3-K3K(t)4
小さなKに対して、最後の2つの項は一層小さく、その近似が正確となる。他のパワーに対しても同様なとなる。
Y(t)=X(t)+KX(t)n=X(t)(1+KX(t)n-1)
となる。このパワーの補正は、次の形式が適用できる。
X(t)=Y(t)(1-Correction(n,KY(t)n-1))
ここで、n次の高調波及び入力pに対して、
Correction(n,p)=-nΣk=1->R{((nk-1)!(-p)k)/(((n-1)k+1)!(k-1)!)}
この和の収束は、有限な整数Rに対して補償されている。もし、
|p|<(n-1)n-1/nn
ならば、
p=KY(t)n-1
となる。|p|に対するこの制限により、Kは次の範囲内となる。
|K|<{(n-1)/n|Ymax|}n-1(1/n)
選択された高調波に対する補正関数Correctionを入力pの補正ルックアップ・テーブルにエンコードすれば、付加的な掛け算のみが必要となる。減算をこのルックアップ・テーブルに組合わせるか、このルックアップ・テーブルの外で減算を行って、ルックアップ・テーブルの大きさを最小にできる。
Y(t)=X(t)Πi=0->r(1+KiX(t)n(i)-1)
X(t)が残るまで上述のアルゴリズムを順次適用して、この積の各項を補正するか、取り除く。残念なことに、上述の簡単な実際の項に因数分解することは、常に可能ではない。上述は、各時点において補正できる歪メカニズムを仮定している。一般的に、これが事実ではないと判り、異なる非線形補正技法を用いる必要がある。
Y(t)=X(t)+Σn=2->MK(n,X(t))X(t+D(n,X(t)))n
D(n,X(t))は、入力X(t)に応じたn次高調波の時間遅延であり、また、K(n,X(t))は、上述のKとは異なり、X(t)に応じたn次高調波の振幅に関連する。
X(t)=Y(t)-Σn=2->MK'(n,X(t))X(t-D'(n,X(t)))n
測定した関数K'が実際のKに近く、D'がDに近い限り、この近似は逆に作用する。偶数高調波を考察すると、6次高調波歪により4次及び2次の高調波並びに直流オフセットが生じている。実際に、これらの高調波は、補正をしなければならない6次高調波よりも大きい。上述のパワー関数は、高調波の以下の特徴を意味する。
cos(ωt)6=(1/64)(2cos(6ωt)+12cos(4ωt)+30cos(2ωt)+20)
4次高調波の振幅は、6次高調波よりも6倍大きく、2次高調波の振幅は、15倍大きいことに留意されたい。
Q(n,ωt)=P(n,X(t))X(1+D(n,X(t)))
となり、n次のパワーに適用すると、
Q(n,ωt)n=P(n,X(t))nX(1+D(n,X(t)))n
となる。この結果の右辺は、次のようになる。
P(n,ωt)=K(n,X(t))1/n
これは、各高調波用パワー関数の前に配置されていれば、校正された応答K()から得たフィルタ処理に要求される振幅応答を示す。
(sin(ω1t)+sin(ω2t))2=1-(1/2)cos(2ω1t)- (1/2)cos(2ω2t)+cos((ω1-ω2)t)-cos((ω1+ω2)t)
右辺の最初の2つの非直流項は、各項を分離して2乗するときに予想できるが、最後の2つの項は、周波数の和及び差の結果である。遅延を伴うパワーのこのモデルが正しければ、正しく校正されたキャンセル・システムは、相互変調歪も低減できるが、このキャンセル方法は、同じ多項式メカニズムを用いるので、正確な位相及び振幅の相互変調歪も導入する。
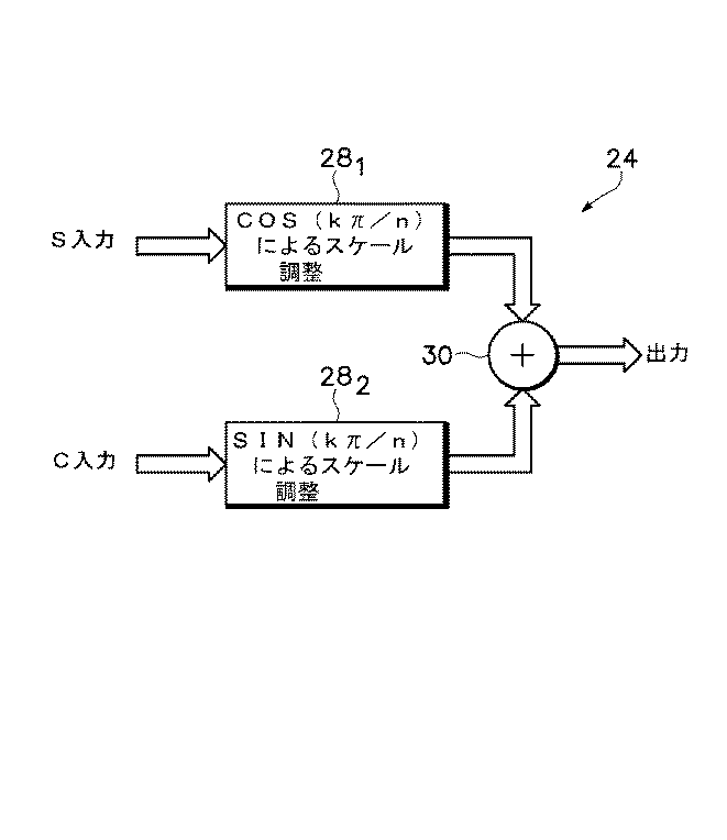
sin(n,ωt)=2n-1Πk=0->n-1(sin(ωt)cos(kπ/n)+cos(ωt)sin(kπ/n))
入力f(t)=sin(ωt)に対して、ヒルベルト変換H()フィルタを用いてcos(ωt)を発生する。ヒルベルト変換フィルタは、目標とする精度を設計入力周波数範囲内として、総ての入力周波数に対してπ/2だけ効果的に位相シフトをできる。フィルタを無限に長くしなければならないので、これは総ての可能な入力周波数に対して動作しない。ヒルベルト変換フィルタを有限インパルス応答(FIR)フィルタとして通常実現するので、これは、線形であり、その入力の総ての位相をπ/2だけ同時に位相シフトできる。入力f(t)に対して、上述の式は、任意の入力用に一般化して、n次の高調波出力を次のように発生する。
Hm(3,f(t))=4(f(t)cos(0)+H(f(t)sin(0))(f(t)cos(π/3)+H(f(t))sin(π/3))(f(t)cos(2π/3)+H(f(t))sin(2π/3))
sin()及びcos()を評価して、次のように簡略化する。
Hm(3,f(t))=4f(t)(f(t)/2+squrt(3)H(f(t))/2)(-f(t)/2+sqrt(3)H(f(t))/2)
なお、squrtは、平方根を意味する。さらに、これを簡略化すると次のようになる。
Hm(3,f(t))=f(t)(3H(f(t))2-f(t)2)
この結果が3次高調波となることを示すために、入力を角周波数ωとして単一の正弦波に設定する。
f(t)=sin(ωt)
ヒルベルト変換フィルタがsin(ωt)をcos(ωt)に変換すると、
H(f(t))=cos(ωt)
となる。以下の既知の多数の角度の展開が、基本波のパワーの点から見て高調波を定義する。
sin(nx)=Σk=0->|_(n-1)/2_|(n,2k+1)(-1)kcos(x)n-1-2ksin(x)2k+1
cos(nx)=Σk=0->|_n/2_|(n,2k)(-1)kcos(x)n-2ksin(x)2k
y=|_x_|は、フロア関数であり、最大の整数y=<xを返す。n=3に対して上述を評価すると、
Hm(3,sin(ωt))=sin(3ωt)
これにより、角周波数ωから直接的に3次高調波角周波数3ωが生じ、他の高調波が生じない。この形式の歪は、上述の如く、又は自己変調メカニズムにより、多項式に分解した非線形性の一部として生じる。
関心のある周波数範囲にわたって好ましく等間隔にした1組の補正周波数に対して、
(1)既知の振幅及び周波数の正弦波を非線形システムに入力し、その出力を取込む。
(2)同時に、非線形システムの出力を図2の回路に供給し、n次の高調波を直接発生し、ステップ(1)と同じサンプリング時間で取込む。この回路の入力の歪は、それ自体の結果の歪であるが、これらは、基本波に対して非常に小さいと仮定する。
(3)非線形システムによりステップ(1)及び(2)により発生したn次高調波の相対振幅及び位相を測定する。
(5)各周波数における相対振幅応答のn次のルートを求める。
(6)ステップ(4)及び(5)で求めた遅延値及び振幅値からデジタル入力フィルタを校正する。一般的には、フィルタは非線形位相の非対称フィルタであるので、設計アプローチの1つは、反復FFTアルゴリズムを用いて、関心のある入力周波数帯域の外側での制約を緩める。よって、規則的に離間した校正周波数にとって好ましい。
(7)ステップ(6)からのn次高調波用に振幅/位相補正フィルタ18をプログラムし、発生した高調波を設定し、それを遅延した入力から減算して、要求されたn次の高調波キャンセルを行う。
(8)直線性補償回路(キャンセル・システム)10を動作させて高調波をキャンセルする。
12 補償遅延回路(加算手段の一部)
14 高調波補正ユニット(発生手段)
16 加算器(加算手段の一部)
18 振幅及び位相補正フィルタ(入力フィルタ)
20 ヒルベルト変換フィルタ
22 補償遅延回路
24 位相シフト・ユニット
26 掛け算器
28 スケール調整回路
30 位相加算器
Claims (4)
- 入力信号に高調波歪を引き起こす非線形システムの直線性を補償する回路であって、
ヒルベルト変換フィルタを用いて個別に補正された複数の高調波成分を上記入力信号から発生する発生手段と、
上記個別に補正された複数の高調波成分を、遅延させた上記入力信号と加算し、上記高調波歪の高調波をキャンセルして、上記入力信号を補正した出力信号を発生する加算手段と
を具えた直線性補償回路。 - 上記発生手段は、上記入力信号の基本周波数に対する複数の高調波用の高調波補正ユニットを有し、
上記高調波補正ユニットの各々は、入力として上記入力信号を受け、出力として上記個別に補正された複数の高調波成分を発生することを特徴とする請求項1の直線性補償回路。 - 上記加算手段は、
上記入力信号を入力として受け、遅延した上記入力信号を出力として発生する回路であって、上記入力信号を遅延して上記高調波補正ユニットの処理時間を補償する入力補償遅延回路と、
上記個別に補償された複数の高調波成分及び上記遅延した入力信号を入力として受け、上記補正した入力信号を出力として発生する加算器と
を有することを特徴とする請求項2の直線性補償回路。 - 上記高調波補正ユニットの各々は、
上記入力信号を入力として受け、振幅及び位相の補正された上記入力信号を出力として発生する入力フィルタと、
上記振幅及び位相の補正された入力信号を入力として受け、第1信号を出力として発生するヒルベルト変換フィルタと、
上記振幅及び位相の補正された入力信号を遅延させ、第2信号を出力として発生し、上記遅延を上記ヒルベルト変換フィルタの処理時間に等しくさせる手段と、
上記第1信号及び上記第2信号を位相シフトさせ、上記高調波補正ユニット用の所望の高調波を発生し、複数の個別の位相シフトした信号を発生する手段と、
上記複数の個別の位相シフトした信号を掛け算して、上記個別に補正された高調波成分を発生する手段と
を有することを特徴とする請求項2の直線性補償回路。
Applications Claiming Priority (1)
| Application Number | Priority Date | Filing Date | Title |
|---|---|---|---|
| US10/817,203 US6911925B1 (en) | 2004-04-02 | 2004-04-02 | Linearity compensation by harmonic cancellation |
Publications (2)
| Publication Number | Publication Date |
|---|---|
| JP2005295542A true JP2005295542A (ja) | 2005-10-20 |
| JP4498184B2 JP4498184B2 (ja) | 2010-07-07 |
Family
ID=34679453
Family Applications (1)
| Application Number | Title | Priority Date | Filing Date |
|---|---|---|---|
| JP2005083845A Expired - Lifetime JP4498184B2 (ja) | 2004-04-02 | 2005-03-23 | 直線性補償回路 |
Country Status (4)
| Country | Link |
|---|---|
| US (1) | US6911925B1 (ja) |
| EP (1) | EP1583243B1 (ja) |
| JP (1) | JP4498184B2 (ja) |
| CN (1) | CN1677870B (ja) |
Cited By (2)
| Publication number | Priority date | Publication date | Assignee | Title |
|---|---|---|---|---|
| JP2010117338A (ja) * | 2008-10-16 | 2010-05-27 | Advantest Corp | 信号処理装置、試験システム、歪検出装置、信号補償装置、解析信号生成装置、プログラム、記憶媒体、歪検出方法、信号補償方法、および、解析信号生成方法 |
| WO2016006515A1 (ja) * | 2014-07-08 | 2016-01-14 | 国立大学法人大阪大学 | 計測装置及び計測方法 |
Families Citing this family (20)
| Publication number | Priority date | Publication date | Assignee | Title |
|---|---|---|---|---|
| ES2541927T3 (es) | 2002-07-12 | 2015-07-28 | Ricoh Company, Ltd. | Dispositivo de calentamiento, dispositivo de suministro de potencia auxiliar, sistema de suministro de potencia auxiliar, dispositivo de fijación, y aparato de formación de imagen |
| US7348908B2 (en) * | 2004-11-04 | 2008-03-25 | Tektronix, Inc. | Linearity corrector using filter products |
| US7161511B2 (en) * | 2005-06-03 | 2007-01-09 | General Electric Company | Linearization system and method |
| US7460043B2 (en) * | 2005-06-03 | 2008-12-02 | General Electric Company | Analog-to-digital converter compensation system and method |
| GB2442265A (en) * | 2006-09-30 | 2008-04-02 | Univ Cardiff | Nonlinear signal processing |
| US20090091487A1 (en) * | 2007-10-04 | 2009-04-09 | Texas Instruments Incorporated | Spurious Free Dynamic Range Of An Analog To Digital Converter |
| US8625813B2 (en) * | 2008-12-23 | 2014-01-07 | Stmicroelectronics, Inc. | Asymmetric polynomial psychoacoustic bass enhancement |
| JP5609684B2 (ja) * | 2011-02-01 | 2014-10-22 | ソニー株式会社 | Ad変換装置および信号処理システム |
| CN103023498A (zh) * | 2012-12-31 | 2013-04-03 | 深圳市九洲电器有限公司 | 一种提高数模转换器非线性失真性能的方法及装置 |
| US9112457B1 (en) | 2013-01-29 | 2015-08-18 | Teledyne Lecroy, Inc. | Decompressor |
| CN107040214B (zh) * | 2017-03-03 | 2021-01-29 | 北京东方计量测试研究所 | 一种基于多点补偿方案的低杂散正弦信号发生器 |
| US11489847B1 (en) * | 2018-02-14 | 2022-11-01 | Nokomis, Inc. | System and method for physically detecting, identifying, and diagnosing medical electronic devices connectable to a network |
| US10574250B1 (en) * | 2019-02-28 | 2020-02-25 | Nxp Usa, Inc. | Digital calibration systems and methods for multi-stage analog-to-digital converters |
| CN111277267A (zh) * | 2020-03-05 | 2020-06-12 | 中国人民解放军国防科技大学 | 双通道tiadc的时延失配补偿方法、装置及电子设备 |
| CN111682912B (zh) * | 2020-05-29 | 2022-03-08 | 中国科学院微电子研究所 | 一种基于fpga的超宽带功放谐波消除装置及方法 |
| CN112084732B (zh) * | 2020-08-12 | 2024-03-01 | 中电科思仪科技股份有限公司 | 一种基于fpga的谐波补偿方法 |
| WO2022150744A1 (en) | 2021-01-11 | 2022-07-14 | Ysi, Inc. | Induced crosstalk circuit for improved sensor linearity |
| CN112763769B (zh) * | 2021-04-08 | 2021-07-06 | 深圳市鼎阳科技股份有限公司 | 一种具有超低谐波失真的信号发生器 |
| CN114123205B (zh) * | 2021-11-01 | 2023-12-22 | 深圳供电局有限公司 | 谐波补偿系统及其相位校正方法与装置 |
| CN114283857B (zh) * | 2021-12-16 | 2024-05-28 | 上海艾为电子技术股份有限公司 | 分频信号的延时补偿、分频方法、系统和分频器 |
Citations (6)
| Publication number | Priority date | Publication date | Assignee | Title |
|---|---|---|---|---|
| JPS61129908A (ja) * | 1984-11-28 | 1986-06-17 | Toshiba Corp | 3逓倍回路 |
| JPS63121916U (ja) * | 1987-01-30 | 1988-08-08 | ||
| JPH07321613A (ja) * | 1994-05-24 | 1995-12-08 | Kokusai Electric Co Ltd | 周波数逓倍器、波形整形回路、可変位相シフト回路 |
| JPH10303708A (ja) * | 1997-04-24 | 1998-11-13 | Nec Corp | 周波数逓倍回路 |
| JPH1117749A (ja) * | 1997-06-24 | 1999-01-22 | Nec Corp | 復調回路 |
| JP2003133959A (ja) * | 2001-10-29 | 2003-05-09 | Sony Corp | D/a変換器および出力増幅回路 |
Family Cites Families (11)
| Publication number | Priority date | Publication date | Assignee | Title |
|---|---|---|---|---|
| US4615038A (en) * | 1984-06-06 | 1986-09-30 | At&T Information Systems Inc. | Equalization of modulated data signals utilizing tentative and final decisions and replication of non-linear channel distortion |
| JPH07118649B2 (ja) | 1986-01-08 | 1995-12-18 | ヤマハ株式会社 | デイザ回路 |
| US5168526A (en) * | 1990-10-29 | 1992-12-01 | Akg Acoustics, Inc. | Distortion-cancellation circuit for audio peak limiting |
| GB9026906D0 (en) * | 1990-12-11 | 1991-01-30 | B & W Loudspeakers | Compensating filters |
| US5196851A (en) * | 1991-05-24 | 1993-03-23 | Samsung Electronics Co., Ltd. | Linearizing non-linear analog-to-digital process and circuit |
| US5617058A (en) * | 1995-11-13 | 1997-04-01 | Apogee Technology, Inc. | Digital signal processing for linearization of small input signals to a tri-state power switch |
| US6177893B1 (en) * | 1998-09-15 | 2001-01-23 | Scott R. Velazquez | Parallel processing analog and digital converter |
| US6198416B1 (en) | 1999-04-16 | 2001-03-06 | Scott R. Velazquez | Linearity error compensator |
| US6584205B1 (en) * | 1999-08-26 | 2003-06-24 | American Technology Corporation | Modulator processing for a parametric speaker system |
| US6424275B1 (en) | 2001-01-18 | 2002-07-23 | Scott R. Velazquez | Linearity error compensator |
| US6570514B1 (en) | 2001-12-21 | 2003-05-27 | Scott R. Velazquez | Linearity error compensator |
-
2004
- 2004-04-02 US US10/817,203 patent/US6911925B1/en not_active Expired - Lifetime
-
2005
- 2005-03-23 JP JP2005083845A patent/JP4498184B2/ja not_active Expired - Lifetime
- 2005-04-01 EP EP05252069.9A patent/EP1583243B1/en not_active Expired - Lifetime
- 2005-04-01 CN CN2005100651465A patent/CN1677870B/zh not_active Expired - Lifetime
Patent Citations (6)
| Publication number | Priority date | Publication date | Assignee | Title |
|---|---|---|---|---|
| JPS61129908A (ja) * | 1984-11-28 | 1986-06-17 | Toshiba Corp | 3逓倍回路 |
| JPS63121916U (ja) * | 1987-01-30 | 1988-08-08 | ||
| JPH07321613A (ja) * | 1994-05-24 | 1995-12-08 | Kokusai Electric Co Ltd | 周波数逓倍器、波形整形回路、可変位相シフト回路 |
| JPH10303708A (ja) * | 1997-04-24 | 1998-11-13 | Nec Corp | 周波数逓倍回路 |
| JPH1117749A (ja) * | 1997-06-24 | 1999-01-22 | Nec Corp | 復調回路 |
| JP2003133959A (ja) * | 2001-10-29 | 2003-05-09 | Sony Corp | D/a変換器および出力増幅回路 |
Cited By (4)
| Publication number | Priority date | Publication date | Assignee | Title |
|---|---|---|---|---|
| JP2010117338A (ja) * | 2008-10-16 | 2010-05-27 | Advantest Corp | 信号処理装置、試験システム、歪検出装置、信号補償装置、解析信号生成装置、プログラム、記憶媒体、歪検出方法、信号補償方法、および、解析信号生成方法 |
| WO2016006515A1 (ja) * | 2014-07-08 | 2016-01-14 | 国立大学法人大阪大学 | 計測装置及び計測方法 |
| JPWO2016006515A1 (ja) * | 2014-07-08 | 2017-04-27 | 国立大学法人大阪大学 | 計測装置及び計測方法 |
| US10241031B2 (en) | 2014-07-08 | 2019-03-26 | Osaka University | Measuring device and measuring method |
Also Published As
| Publication number | Publication date |
|---|---|
| EP1583243A3 (en) | 2006-06-28 |
| EP1583243B1 (en) | 2017-06-07 |
| CN1677870B (zh) | 2010-06-09 |
| US6911925B1 (en) | 2005-06-28 |
| CN1677870A (zh) | 2005-10-05 |
| EP1583243A2 (en) | 2005-10-05 |
| JP4498184B2 (ja) | 2010-07-07 |
Similar Documents
| Publication | Publication Date | Title |
|---|---|---|
| JP4498184B2 (ja) | 直線性補償回路 | |
| US8917125B1 (en) | Interleaving analog-to-digital converter (ADC) with background calibration | |
| US7394415B2 (en) | Time-interleaved analog-to-digital converter and high speed signal processing system using the same | |
| JP4754941B2 (ja) | 線形補正器 | |
| CN109936366B (zh) | 信号路径线性化 | |
| CN111384950B (zh) | 用于时间交织数模转换器的线性和非线性校准 | |
| US9030340B1 (en) | N-path interleaving analog-to-digital converter (ADC) with background calibration | |
| CN107959499B (zh) | 测量和校正系统的非理想性 | |
| EP2359479B1 (en) | Methods and apparatuses for estimation and compensation of nonlinearity errors | |
| JP2014103671A (ja) | Rf信号源の校正方法及び振幅平坦及び位相リニアリティ校正器 | |
| US8842033B1 (en) | Dynamic linearity corrector for digital-to-analog converters | |
| JP3752237B2 (ja) | A/d変換装置 | |
| JP4076547B2 (ja) | 量子化装置用ディザ回路 | |
| US9166610B2 (en) | Converter arrangement and method for converting an analogue input signal into a digital output signal | |
| JP4451486B2 (ja) | アナログ/デジタル変換装置およびデジタル/アナログ変換装置 | |
| JP7734235B2 (ja) | 位相ノイズ影響除去用の補正システムとそれを含むアナログ・デジタル変換装置 | |
| US9292035B2 (en) | Packet based DDS minimizing mathematical and DAC noise | |
| Soudan et al. | Correction structures for linear weakly time-varying systems | |
| JP2006279425A (ja) | A/d変換装置 | |
| US20130271155A1 (en) | Impedance measurement device and method | |
| JP6512092B2 (ja) | 周波数特性補正回路 | |
| US11695424B2 (en) | Distortion reduction circuit | |
| Mankovskyy et al. | Digital Method of SSB Modulation | |
| US9112457B1 (en) | Decompressor | |
| JP2006029826A (ja) | 遅延量測定方法 |
Legal Events
| Date | Code | Title | Description |
|---|---|---|---|
| RD04 | Notification of resignation of power of attorney |
Free format text: JAPANESE INTERMEDIATE CODE: A7424 Effective date: 20060616 |
|
| A625 | Written request for application examination (by other person) |
Free format text: JAPANESE INTERMEDIATE CODE: A625 Effective date: 20070220 |
|
| A131 | Notification of reasons for refusal |
Free format text: JAPANESE INTERMEDIATE CODE: A131 Effective date: 20090616 |
|
| A521 | Request for written amendment filed |
Free format text: JAPANESE INTERMEDIATE CODE: A523 Effective date: 20090727 |
|
| A131 | Notification of reasons for refusal |
Free format text: JAPANESE INTERMEDIATE CODE: A131 Effective date: 20090929 |
|
| A521 | Request for written amendment filed |
Free format text: JAPANESE INTERMEDIATE CODE: A523 Effective date: 20091216 |
|
| A131 | Notification of reasons for refusal |
Free format text: JAPANESE INTERMEDIATE CODE: A131 Effective date: 20100119 |
|
| A521 | Request for written amendment filed |
Free format text: JAPANESE INTERMEDIATE CODE: A523 Effective date: 20100308 |
|
| TRDD | Decision of grant or rejection written | ||
| A01 | Written decision to grant a patent or to grant a registration (utility model) |
Free format text: JAPANESE INTERMEDIATE CODE: A01 Effective date: 20100413 |
|
| A01 | Written decision to grant a patent or to grant a registration (utility model) |
Free format text: JAPANESE INTERMEDIATE CODE: A01 |
|
| A61 | First payment of annual fees (during grant procedure) |
Free format text: JAPANESE INTERMEDIATE CODE: A61 Effective date: 20100413 |
|
| FPAY | Renewal fee payment (event date is renewal date of database) |
Free format text: PAYMENT UNTIL: 20130423 Year of fee payment: 3 |
|
| R150 | Certificate of patent or registration of utility model |
Ref document number: 4498184 Country of ref document: JP Free format text: JAPANESE INTERMEDIATE CODE: R150 Free format text: JAPANESE INTERMEDIATE CODE: R150 |
|
| R250 | Receipt of annual fees |
Free format text: JAPANESE INTERMEDIATE CODE: R250 |
|
| R250 | Receipt of annual fees |
Free format text: JAPANESE INTERMEDIATE CODE: R250 |
|
| R250 | Receipt of annual fees |
Free format text: JAPANESE INTERMEDIATE CODE: R250 |
|
| R250 | Receipt of annual fees |
Free format text: JAPANESE INTERMEDIATE CODE: R250 |
|
| R250 | Receipt of annual fees |
Free format text: JAPANESE INTERMEDIATE CODE: R250 |
|
| R250 | Receipt of annual fees |
Free format text: JAPANESE INTERMEDIATE CODE: R250 |
|
| R250 | Receipt of annual fees |
Free format text: JAPANESE INTERMEDIATE CODE: R250 |
|
| R250 | Receipt of annual fees |
Free format text: JAPANESE INTERMEDIATE CODE: R250 |
|
| R250 | Receipt of annual fees |
Free format text: JAPANESE INTERMEDIATE CODE: R250 |
|
| R250 | Receipt of annual fees |
Free format text: JAPANESE INTERMEDIATE CODE: R250 |
|
| R250 | Receipt of annual fees |
Free format text: JAPANESE INTERMEDIATE CODE: R250 |
|
| R250 | Receipt of annual fees |
Free format text: JAPANESE INTERMEDIATE CODE: R250 |
|
| EXPY | Cancellation because of completion of term |
