JP2005294736A - 半導体発光装置の製造方法 - Google Patents

半導体発光装置の製造方法 Download PDF

Info

Publication number
JP2005294736A
JP2005294736A JP2004111120A JP2004111120A JP2005294736A JP 2005294736 A JP2005294736 A JP 2005294736A JP 2004111120 A JP2004111120 A JP 2004111120A JP 2004111120 A JP2004111120 A JP 2004111120A JP 2005294736 A JP2005294736 A JP 2005294736A
Authority
JP
Japan
Prior art keywords
semiconductor light
light emitting
lead frame
emitting element
manufacturing
Prior art date
Legal status (The legal status is an assumption and is not a legal conclusion. Google has not performed a legal analysis and makes no representation as to the accuracy of the status listed.)
Pending
Application number
JP2004111120A
Other languages
English (en)
Inventor
Masahiro Miyoshi
正裕 三妙
Itsuki Shoji
巖 東海林
Toshifumi Watanabe
稔文 渡辺
Current Assignee (The listed assignees may be inaccurate. Google has not performed a legal analysis and makes no representation or warranty as to the accuracy of the list.)
Stanley Electric Co Ltd
Original Assignee
Stanley Electric Co Ltd
Priority date (The priority date is an assumption and is not a legal conclusion. Google has not performed a legal analysis and makes no representation as to the accuracy of the date listed.)
Filing date
Publication date
Application filed by Stanley Electric Co Ltd filed Critical Stanley Electric Co Ltd
Priority to JP2004111120A priority Critical patent/JP2005294736A/ja
Publication of JP2005294736A publication Critical patent/JP2005294736A/ja
Pending legal-status Critical Current

Links

Images

Classifications

    • HELECTRICITY
    • H01ELECTRIC ELEMENTS
    • H01LSEMICONDUCTOR DEVICES NOT COVERED BY CLASS H10
    • H01L2224/00Indexing scheme for arrangements for connecting or disconnecting semiconductor or solid-state bodies and methods related thereto as covered by H01L24/00
    • H01L2224/01Means for bonding being attached to, or being formed on, the surface to be connected, e.g. chip-to-package, die-attach, "first-level" interconnects; Manufacturing methods related thereto
    • H01L2224/26Layer connectors, e.g. plate connectors, solder or adhesive layers; Manufacturing methods related thereto
    • H01L2224/31Structure, shape, material or disposition of the layer connectors after the connecting process
    • H01L2224/32Structure, shape, material or disposition of the layer connectors after the connecting process of an individual layer connector
    • H01L2224/321Disposition
    • H01L2224/32151Disposition the layer connector connecting between a semiconductor or solid-state body and an item not being a semiconductor or solid-state body, e.g. chip-to-substrate, chip-to-passive
    • H01L2224/32221Disposition the layer connector connecting between a semiconductor or solid-state body and an item not being a semiconductor or solid-state body, e.g. chip-to-substrate, chip-to-passive the body and the item being stacked
    • H01L2224/32245Disposition the layer connector connecting between a semiconductor or solid-state body and an item not being a semiconductor or solid-state body, e.g. chip-to-substrate, chip-to-passive the body and the item being stacked the item being metallic
    • HELECTRICITY
    • H01ELECTRIC ELEMENTS
    • H01LSEMICONDUCTOR DEVICES NOT COVERED BY CLASS H10
    • H01L2224/00Indexing scheme for arrangements for connecting or disconnecting semiconductor or solid-state bodies and methods related thereto as covered by H01L24/00
    • H01L2224/01Means for bonding being attached to, or being formed on, the surface to be connected, e.g. chip-to-package, die-attach, "first-level" interconnects; Manufacturing methods related thereto
    • H01L2224/42Wire connectors; Manufacturing methods related thereto
    • H01L2224/47Structure, shape, material or disposition of the wire connectors after the connecting process
    • H01L2224/48Structure, shape, material or disposition of the wire connectors after the connecting process of an individual wire connector
    • H01L2224/4805Shape
    • H01L2224/4809Loop shape
    • H01L2224/48091Arched
    • HELECTRICITY
    • H01ELECTRIC ELEMENTS
    • H01LSEMICONDUCTOR DEVICES NOT COVERED BY CLASS H10
    • H01L2224/00Indexing scheme for arrangements for connecting or disconnecting semiconductor or solid-state bodies and methods related thereto as covered by H01L24/00
    • H01L2224/01Means for bonding being attached to, or being formed on, the surface to be connected, e.g. chip-to-package, die-attach, "first-level" interconnects; Manufacturing methods related thereto
    • H01L2224/42Wire connectors; Manufacturing methods related thereto
    • H01L2224/47Structure, shape, material or disposition of the wire connectors after the connecting process
    • H01L2224/48Structure, shape, material or disposition of the wire connectors after the connecting process of an individual wire connector
    • H01L2224/481Disposition
    • H01L2224/48151Connecting between a semiconductor or solid-state body and an item not being a semiconductor or solid-state body, e.g. chip-to-substrate, chip-to-passive
    • H01L2224/48221Connecting between a semiconductor or solid-state body and an item not being a semiconductor or solid-state body, e.g. chip-to-substrate, chip-to-passive the body and the item being stacked
    • H01L2224/48245Connecting between a semiconductor or solid-state body and an item not being a semiconductor or solid-state body, e.g. chip-to-substrate, chip-to-passive the body and the item being stacked the item being metallic
    • H01L2224/48247Connecting between a semiconductor or solid-state body and an item not being a semiconductor or solid-state body, e.g. chip-to-substrate, chip-to-passive the body and the item being stacked the item being metallic connecting the wire to a bond pad of the item
    • HELECTRICITY
    • H01ELECTRIC ELEMENTS
    • H01LSEMICONDUCTOR DEVICES NOT COVERED BY CLASS H10
    • H01L2224/00Indexing scheme for arrangements for connecting or disconnecting semiconductor or solid-state bodies and methods related thereto as covered by H01L24/00
    • H01L2224/01Means for bonding being attached to, or being formed on, the surface to be connected, e.g. chip-to-package, die-attach, "first-level" interconnects; Manufacturing methods related thereto
    • H01L2224/42Wire connectors; Manufacturing methods related thereto
    • H01L2224/47Structure, shape, material or disposition of the wire connectors after the connecting process
    • H01L2224/48Structure, shape, material or disposition of the wire connectors after the connecting process of an individual wire connector
    • H01L2224/484Connecting portions
    • H01L2224/48463Connecting portions the connecting portion on the bonding area of the semiconductor or solid-state body being a ball bond
    • H01L2224/48465Connecting portions the connecting portion on the bonding area of the semiconductor or solid-state body being a ball bond the other connecting portion not on the bonding area being a wedge bond, i.e. ball-to-wedge, regular stitch
    • HELECTRICITY
    • H01ELECTRIC ELEMENTS
    • H01LSEMICONDUCTOR DEVICES NOT COVERED BY CLASS H10
    • H01L2224/00Indexing scheme for arrangements for connecting or disconnecting semiconductor or solid-state bodies and methods related thereto as covered by H01L24/00
    • H01L2224/73Means for bonding being of different types provided for in two or more of groups H01L2224/10, H01L2224/18, H01L2224/26, H01L2224/34, H01L2224/42, H01L2224/50, H01L2224/63, H01L2224/71
    • H01L2224/732Location after the connecting process
    • H01L2224/73251Location after the connecting process on different surfaces
    • H01L2224/73265Layer and wire connectors
    • HELECTRICITY
    • H01ELECTRIC ELEMENTS
    • H01LSEMICONDUCTOR DEVICES NOT COVERED BY CLASS H10
    • H01L2224/00Indexing scheme for arrangements for connecting or disconnecting semiconductor or solid-state bodies and methods related thereto as covered by H01L24/00
    • H01L2224/91Methods for connecting semiconductor or solid state bodies including different methods provided for in two or more of groups H01L2224/80 - H01L2224/90
    • H01L2224/92Specific sequence of method steps
    • H01L2224/922Connecting different surfaces of the semiconductor or solid-state body with connectors of different types
    • H01L2224/9222Sequential connecting processes
    • H01L2224/92242Sequential connecting processes the first connecting process involving a layer connector
    • H01L2224/92247Sequential connecting processes the first connecting process involving a layer connector the second connecting process involving a wire connector
    • HELECTRICITY
    • H01ELECTRIC ELEMENTS
    • H01LSEMICONDUCTOR DEVICES NOT COVERED BY CLASS H10
    • H01L2924/00Indexing scheme for arrangements or methods for connecting or disconnecting semiconductor or solid-state bodies as covered by H01L24/00
    • H01L2924/013Alloys
    • H01L2924/0132Binary Alloys
    • H01L2924/01322Eutectic Alloys, i.e. obtained by a liquid transforming into two solid phases
    • HELECTRICITY
    • H01ELECTRIC ELEMENTS
    • H01LSEMICONDUCTOR DEVICES NOT COVERED BY CLASS H10
    • H01L2924/00Indexing scheme for arrangements or methods for connecting or disconnecting semiconductor or solid-state bodies as covered by H01L24/00
    • H01L2924/15Details of package parts other than the semiconductor or other solid state devices to be connected
    • H01L2924/181Encapsulation

Landscapes

  • Led Device Packages (AREA)

Abstract

【課題】本発明は、リードフレームとランプハウスが一体形成されたパッケージに半導体発光素子を搭載した表面実装型の半導体発光装置において、光取り出し効率及び光の利用効率を高めて高輝度の半導体発光装置を実現する製造方法を提供する。
【解決手段】多数の半導体発光素子が搭載されたリードフレーム1a、1bをインサートとして多数個取りの金型5に挿入して密閉し、金型内にキャビティ6とLEDチップ2を包含する密閉空間7を形成する。そして、キャビティ6内に成形材料となる高反射率の非透光性樹脂を圧入して固化させ、その後、半導体発光素子が搭載された成形品を金型5から取り出して順次ワイヤボンディング及び半導体発光素子とボンディングワイヤの透光性樹脂による封止の工程を経て完成する。
【選択図】 図2

Description

本発明は、半導体発光装置の製造方法に関するものであり、詳しくはリードフレームを使用した表面実装型の半導体発光装置の製造方法に関する。
発光ダイオード(LED)はプリント基板に実装するときの実装方法によって二種類に大別することができる。一種は両面スルーホールプリント基板のスルーホールにLEDチップが搭載されたリードフレームを挿入してプリント基板の反対側から半田付けによって固定するものであり、他の一種はプリント基板上にLEDを配置して同一面上に形成された回路導体パターンに電極を半田付けして固定するものである。
後者は表面実装型LEDと呼ばれ、片面のみに回路導体パターンを設けたプリント基板が採用できるためにコストダウンに寄与する半導体発光装置となる。また、一般的に前者に比べて著しく小型化が進んでおり、現在では携帯電話、PDAなどの小型機器を構成する液晶やテンキー等の照明用光源、カメラ付携帯電話の補助光源やストロボ用光源等として使用されている。
また、表面実装型LEDの構造は二種類に大別でき、一種はプリント基板に形成された回路導体パターンに共晶接合或いは半田接合等の接合方法でLEDチップを固定(ダイボンディング)することによってLEDチップの下方の電極と回路導体パターンとの電気的導通を図り、LEDチップの上方の電極とLEDチップが固定された回路導体パターンとは分離した回路導体パターンをボンディングワイヤを介して接続(ワイヤボンディング)することによって電気的導通を図り、前記LEDチップ及びボンディングワイヤを透光性樹脂で封止することによってLEDチップを水分、塵埃及びガス等の外部環境から保護し、且つボンディングワイヤを振動及び衝撃等の機械的応力から保護したものである。
他の一種は略平板状のリードフレームが擂鉢形状の凹部が形成された高反射率を有する非透光性樹脂からなるランプハウスに埋め込まれて一体形成されてパッケージが構成され、前記パッケージのランプハウスの凹部の底部に露出したリードフレームに共晶接合或いは半田接合等の接合方法でLEDチップをダイボンディングすることによってLEDチップの下方の電極とリードフレームとの電気的導通を図り、LEDチップの上方の電極とLEDチップがダイボンディングされたリードフレームとは分離したリードフレームをワイヤボンディングすることによってボンディングワイヤを介して接続して電気的導通を図り、凹部内に透光性樹脂を充填することによってLEDチップ及びボンディングワイヤを封止したものである。
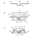
なお、後者の表面実装型LEDの従来の製造方法は、図6(a)及び図7(a)のリードフレーム31a、31bを成形する工程、図6(b)及び図7(b)の成形金型32にリードフレーム31a、31bを埋め込んでセットし、高反射率の非透光性樹脂をキャビティ40に圧入してリードフレーム31a、31bとランプハウス33が一体形成されたパッケージ34に成形する工程、図6(c)及び図7(c)のパッケージのランプハウス33に形成された凹部35の底部のリードフレーム31a上に接合部材39を介してLEDチップ36を搭載するダイボンディング工程、図6(d)及び図7(d)のダイボンディングされたLEDチップ36の上方電極とリードフレーム31bをボンディングワイヤ37で接続するワイヤボンディング工程、図6(e)及び図7(e)のパッケージのランプハウス33の凹部35内に透光性樹脂38を充填、硬化してLEDチップ36及びボンディングワイヤ37を封止する工程、図6(f)及び図7(f)のリードフレーム31a、31bをカット・フォーミングする工程を順次経て製造されるものである(例えば、特許文献1参照。)。
特開2002−249769号公報
しかしながら、上述した従来の表面実装型LEDの製造方法は、LEDチップをリードフレームに共晶接合或いは半田接合等の接合方法でダイボンディングする際の高温環境下でパッケージの非透光性樹脂からなるランプハウスに変形や焦げを生じ易いという問題を有している。
一方、この問題を回避するために共晶接合時或いは半田接合時の高温環境下に耐えられる非透光性樹脂をランプハウスを形成する材料として採用することが考えられるが、その場合は採用する樹脂の選択範囲が限定され、高反射率の非透光性樹脂であっても耐熱性が低いために採用できない場合が生じ、その結果、満足するような優れた光学特性の製品を作り上げることができないことになる。
従って、従来の表面実装型LEDの製造方法は、共晶接合及び半田接合等の接合方法でLEDチップをリードフレームにダイボンディングするには適した方法であるとは言い難いものである。
そこで、本発明は上記問題に鑑みて創案なされたもので、光の利用効率を高くして高輝度化された表面実装型LEDの製造方法を提供するものである。
上記課題を解決するために、本発明の請求項1に記載された発明は、ランプハウスに設けられた擂鉢形状の凹部の底部に配置されたリードフレームに半導体発光素子がダイボンディングされ、前記半導体発光素子に設けられた電極と前記半導体発光素子がダイボンディングされたリードフレームとは分離した前記凹部の底部に配置されたリードフレームがボンディングワイヤによって接続され、前記凹部内に充填された透光性樹脂によって前記半導体発光素子及び前記ボンディングワイヤが封止されている半導体発光装置の製造方法であって、前記リードフレームを形成する第1の工程と、前記リードフレームに前記半導体発光素子をダイボンディングする第2の工程と、前記リードフレームと前記ランプハウスを一体形成する第3の工程と、前記半導体発光素子に設けられた電極と前記半導体発光素子がダイボンディングされたリードフレームとは分離したリードフレームをボンディングワイヤを介して接続するためにワイヤボンディングする第4の工程と、前記半導体発光素子と前記ボンディングワイヤを透光性樹脂で封止する第5の工程とを有することを特徴とするものである。
また、本発明の請求項2に記載された発明は、請求項1の前記第3の工程において、前記リードフレームにダイボンディングされた前記半導体発光素子が前記ランプハウスを形成する成形材料に埋没しないように、且つ成形材料から発生するガスに汚染されないように前記半導体発光素子に保護手段を施したことを特徴とするものである。
また、本発明の請求項3に記載された発明は、請求項1または2の何れか1項において、前記保護手段は前記半導体発光素子を包含する密閉空間を形成したことであることを特徴とするものである。
リードフレームに半導体発光素子を搭載した後にリードフレームとランプハウスを一体形成することにより、ランプハウスがリードフレームに半導体発光素子を搭載するときの高温環境下に曝されることがないため、ランプハウスを形成する高反射率の成形材料を高耐熱性の拘束なく選択・採用することができるという利点がある。
以下、この発明の好適な実施形態を図1から図5を参照しながら、詳細に説明する(同一部分については同じ符号を付す)。尚、以下に述べる実施形態は、本発明の好適な具体例であるから、技術的に好ましい種々の限定が付されているが、本発明の範囲は、以下の説明において特に本発明を限定する旨の記載がない限り、これらの態様に限られるものではない。
図1は本発明の半導体発光装置の製造方法に係わる工程フローチャート、図2は同じく半導体発光装置の製造方法に係わる工程図である。以降、図1と図2を対比しながら製造工程の詳細な説明を行う。
まず、図1(a)に示すように、リードフレームを形成する工程である。上述したように、本発明の表面実装型LEDは小型化の傾向が進んでおり、現状一例として縦・横とも3mm程度、高さが2mm程度の寸法で製品化されているものがある。このような小型の部品は量産開始から完成に至るまでの製造工程を1個単位で流すのではなく、多数個取りの状態で流して一括大量生産を行う場合がほとんどである。
従って、リードフレームにおいても、多数のLEDチップが搭載できるように銅、鉄及び42アロイ系等の素材からなる一枚の金属板をプレス打抜き加工やエッチング手法によって所望する形状に形成し、金メッキ及び銀メッキ等の表面処理を行って図2(a)に示すようなリードフレーム1a、1bを成形する。
次に、図1(b)に示すダイボンディング工程である。これは、図2(b)に示すように、高温環境下での共晶接合や半田接合等の接合方法でLEDチップ2をリードフレーム1aに固定し、同時にLEDチップ2の下方電極とリードフレーム1aとを接合部材3を介して電気的導通を図る。
次に、図1(c)に示すパッケージ成形工程である。これは一般的には射出成形で行われ、図2(c)に示すようにリードフレーム1a、1bをインサートとして、リードフレーム1aのLEDチップ2が搭載された面をパーティング面4とする二つの多数個取りの金型5に挿入して密閉すると二つの金型5でキャビティ6が形成されると共に、リードフレーム1aに搭載されたLEDチップ2が成形材料に埋没しないように、また成形材料から発生するガスに汚染されないように二つの金型5とリードフレーム1aによってLEDチップ2を包含する密閉空間7が形成される。
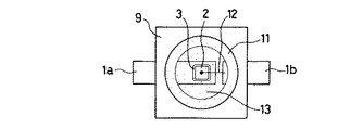
そして、上記インサートを挿入してセットが完了した金型5のキャビティ6内に成形材料となる高反射率の非透光性樹脂を圧入して固化させ、その後金型5から成形品を取り出すと図2(c)のような半導体発光装置のパッケージ8が出来上がる。
半導体発光装置のパッケージ8の高反射率の非透光性樹脂で成形されたランプハウス9は底部にLEDチップ2が配置された擂鉢形状の凹部10が形成され、その内周面は反射面11が形成されている。また、凹部10の底部に位置するリードフレーム1a、1bは表面が大気中に露出しており、表面を覆う物は何も存在しない。
次は図1(d)のワイヤボンディング工程である。これは図2(d)に示すように、LEDチップ2の上方電極と、LEDチップ2が搭載されたリードフレーム1aと分離したリードフレーム1bがランプハウス9の凹部10の底部に露出した部分とを金あるいはアルミニウムを主成分とする細線のボンディングワイヤ12によって接続し、両者の電気的導通を図ったものである。
次は図1(e)の封止・硬化工程である。これは図2(e)に示すように、ランプハウス9に形成された凹部10内にエポキシ樹脂あるいはシリコーン樹脂からなる透光性樹脂13を充填してLEDチップ2及びボンディングワイヤ12を封止し、硬化させる。
LEDチップ2とボンディングワイヤ12を透光性樹脂13で封止する目的の一つはLEDチップ2を水分、ガス及び塵埃などの外部環境から保護し、ボンディングワイヤ12を振動、衝撃などの機械的応力から保護することである。
同様に目的の一つは、エポキシ樹脂あるいはシリコーン樹脂からなる透光性樹脂13を透光性樹脂13と界面を形成するLEDチップ2の光出射面14を構成する半導体材料の屈折率に近い屈折率を有するものから選択・採用する。するとLEDチップ2内で発光した光のうち、LEDチップ2の光出射面14で全反射してLEDチップ2内に戻る光を極力少なくし、出来る限り多くの光をLEDチップ2の光出射面14から界面を形成する透光性樹脂13内に入射させてLEDチップ2からの光取り出し効率を高めることができるからである。
そして最後は図1(f)に示すカット・フォーミングの工程である。これは、リードフレーム1a、1bによって連結された多数個の半導体発光装置のリードフレーム1a、1bをカットして個々の半導体発光装置に分離し、リードフレーム1a、1bを所望する形状にフォーミングするものである。図2(f)はリードフレームをフォーミングして完成した半導体発光装置の断面図であり、図3は図2(f)の上面図である。
なお、ランプハウスを形成する樹脂に高反射率の部材を使用する効果は、半導体発光素子から発せられる光のうちランプハウスに形成された擂鉢形状の凹部の内周面方向に向かう光を内周面に形成された反射面で反射して半導体発光装置の放射方向に向け、集光効果によって光取り出し効率及び光の利用効率を高め、光源としての高輝度化を実現するものである。従って、凹部の内周面の反射率が高いほど光源の高輝度化が可能になる。
図4はリードフレームに内周面を反射面とする擂鉢形状の凹部を形成し、これを上記製造工程に投入して半導体発光装置を完成させるまでの工程を抜粋して表したもので、(a)は成形されたリードフレームの形状を示す断面図、(b)は半導体発光素子を搭載したリードフレームを金型にセットした状態を示す断面図、(c)完成品の断面図である。更に図5は図4(c)の完成品の上面図である。なお、ここではリードフレームを投入してから完成品に至るまでの製造工程は上記同様であるので全工程のなかから一部の工程図を記号を付して示し、同時に工程の説明は重複するので省略する。
この場合、リードフレームの凹部15内周面に形成された反射面16とランプハウス9の凹部10内周面に形成された反射面11が2段重ねで形成されており、反射面が一段のときに比べて反射面で反射される確率が高くなり、その分、光取り出し効率及び光の利用効率が高くなって、光源の高輝度化に繋がる。
また、リードフレーム1a、1bとランプハウス9を一体形成する場合、金型5によってリードフレーム1aの凹部15を覆うことによって密閉空間7が確保できるためにその中に包含された半導体発光素子2を確実に樹脂及び樹脂から発生するガスから保護することができる。更に、金型5の端面17を平面に形成することで密閉空間7が確実に確保できるために金型の製作コスト低減でき、その結果、製品コストも低減することができる。
次に、本発明の半導体発光装置の製造方法の効果について説明する。まず、半導体発光素子がダイボンディングされたリードフレームを非透光性樹脂からなるランプハウスと一体形成するようにした。言い換えると、リードフレームを非透光性樹脂からなるランプハウスと一体形成する前にリードフレームに半導体発光素子をダイボンディングした。これにより、非透光性樹脂からなるランプハウスが半導体発光素子をリードフレームに共晶接合或いは半田接合等の接合方法でダイボンディングする際の高温環境下に曝されることがない。従って、ランプハウスに使用される樹脂の選択範囲が前記接合温度に拘束されることがなくなり、前記接合温度よりも耐熱温度が低い高反射率の樹脂であってもランプハウスを形成する樹脂として採用することができるために、光取り出し効率及び光の利用効率の高い高輝度の半導体発光装置を実現することができる。
当然、ランプハウスには半導体発光素子とリードフレームの接合時の温度が加わらないため、ランプハウスに変形や焦げを生じることはなく、高品質の製品に仕上げることができる。などの優れた効果を奏するものである。
本発明の半導体発光装置の製造方法に係わる実施形態を示すフローチャートである。 本発明の半導体発光装置の製造方法に係わる実施形態を示す工程図である。 図2(f)の上面図である。 本発明の半導体発光装置の製造方法に係わる別のリードフレームを使用したときの(a)はリードフレームの断面図、(b)は金型セット時の断面図、(c)は完成品の断面図である。 図5(c)の上面図である。 従来の半導体発光装置の製造方法に係わるフローチャートである。 従来の半導体発光装置の製造方法に係わる工程図である。
符号の説明
1a、1b リードフレーム
2 LEDチップ
3 接合部材
4 パーティングメン
5 金型
6 キャビティ
7 密閉空間
8 パッケージ
9 ランプハウス
10 凹部
11 反射面
12 ボンディングワイヤ
13 透光性樹脂
14 光出射面
15 凹部
16 反射面
17 端面

Claims (3)

  1. ランプハウスに設けられた擂鉢形状の凹部の底部に配置されたリードフレームに半導体発光素子がダイボンディングされ、前記半導体発光素子に設けられた電極と前記半導体発光素子がダイボンディングされたリードフレームとは分離した前記凹部の底部に配置されたリードフレームがボンディングワイヤによって接続され、前記凹部内に充填された透光性樹脂によって前記半導体発光素子及び前記ボンディングワイヤが封止されている半導体発光装置の製造方法であって、前記リードフレームを形成する第1の工程と、前記リードフレームに前記半導体発光素子をダイボンディングする第2の工程と、前記リードフレームと前記ランプハウスを一体形成する第3の工程と、前記半導体発光素子に設けられた電極と前記半導体発光素子がダイボンディングされたリードフレームとは分離したリードフレームをボンディングワイヤを介して接続するためにワイヤボンディングする第4の工程と、前記半導体発光素子と前記ボンディングワイヤを透光性樹脂で封止する第5の工程とを有することを特徴とする半導体発光装置の製造方法。
  2. 前記第3の工程において、前記リードフレームにダイボンディングされた前記半導体発光素子が前記ランプハウスを形成する成形材料に埋没しないように、且つ成形材料から発生するガスに汚染されないように前記半導体発光素子に保護手段を施したことを特徴とする請求項1に記載の半導体発光装置の製造方法。
  3. 前記保護手段は前記半導体発光素子を包含する密閉空間を形成したことであることを特徴とする請求1または2の何れか1項に記載の半導体発光装置の製造方法。
JP2004111120A 2004-04-05 2004-04-05 半導体発光装置の製造方法 Pending JP2005294736A (ja)

Priority Applications (1)

Application Number Priority Date Filing Date Title
JP2004111120A JP2005294736A (ja) 2004-04-05 2004-04-05 半導体発光装置の製造方法

Applications Claiming Priority (1)

Application Number Priority Date Filing Date Title
JP2004111120A JP2005294736A (ja) 2004-04-05 2004-04-05 半導体発光装置の製造方法

Publications (1)

Publication Number Publication Date
JP2005294736A true JP2005294736A (ja) 2005-10-20

Family

ID=35327292

Family Applications (1)

Application Number Title Priority Date Filing Date
JP2004111120A Pending JP2005294736A (ja) 2004-04-05 2004-04-05 半導体発光装置の製造方法

Country Status (1)

Country Link
JP (1) JP2005294736A (ja)

Cited By (36)

* Cited by examiner, † Cited by third party
Publication number Priority date Publication date Assignee Title
JP2007188059A (ja) * 2005-12-12 2007-07-26 Nichia Chem Ind Ltd 光部品、光変換部材及び発光装置
JP2007280983A (ja) * 2006-04-03 2007-10-25 Nichia Chem Ind Ltd 発光装置
JP2008053726A (ja) * 2006-08-23 2008-03-06 Seoul Semiconductor Co Ltd 発光ダイオードパッケージ
JP2008098218A (ja) * 2006-05-10 2008-04-24 Nichia Chem Ind Ltd 半導体発光装置及び半導体発光装置の製造方法
WO2008072862A1 (en) * 2006-12-13 2008-06-19 Seoul Semiconductor Co., Ltd. Light emitting diode package with odds of lead fram removed from its surface and method for fabricating the same
WO2008081794A1 (ja) 2006-12-28 2008-07-10 Nichia Corporation 発光装置およびその製造方法
WO2008081696A1 (ja) 2006-12-28 2008-07-10 Nichia Corporation 発光装置、パッケージ、発光装置の製造方法、パッケージの製造方法及びパッケージ製造用金型
KR100855062B1 (ko) 2007-06-26 2008-08-29 럭스피아(주) 발광 다이오드 패키지 및 그 제조 방법
WO2008123232A1 (ja) * 2007-03-30 2008-10-16 Rohm Co., Ltd. 半導体発光装置
JP2010040791A (ja) * 2008-08-05 2010-02-18 Nichia Corp 光半導体装置
US7696525B2 (en) 2006-04-21 2010-04-13 Samsung Electro-Mechanics Co., Ltd. Surface mounting device-type light emitting diode
KR100956888B1 (ko) 2008-01-24 2010-05-11 삼성전기주식회사 발광 다이오드 패키지 및 그 제조 방법
JP2010165979A (ja) * 2009-01-19 2010-07-29 Rohm Co Ltd Ledモジュールの製造方法およびledモジュール
JP2011035306A (ja) * 2009-08-05 2011-02-17 Sharp Corp 発光装置および発光装置の製造方法
JP2011508416A (ja) * 2007-12-24 2011-03-10 サムソン エルイーディー カンパニーリミテッド. 発光ダイオードパッケージ
US7932525B2 (en) 2007-05-29 2011-04-26 Iwatani Corporation Semiconductor light-emitting device
KR101099494B1 (ko) 2010-11-19 2011-12-27 (주)네오빛 발광다이오드 패키지
CN102299240A (zh) * 2010-06-28 2011-12-28 乐金显示有限公司 发光二极管以及包括其的背光单元和液晶显示器件
JP2012510153A (ja) * 2008-11-25 2012-04-26 エルジー イノテック カンパニー リミテッド 発光素子パッケージ
EP2124252A4 (en) * 2007-03-09 2012-10-17 Omron Tateisi Electronics Co Package manufacturing method, package, optical module and die for integral molding
CN102767707A (zh) * 2012-05-21 2012-11-07 王定锋 在导线线路板上直接形成led支架的led模组及其制造方法
US8362512B2 (en) 2006-04-24 2013-01-29 Cree, Inc. Side-view surface mount white LED
CN103022275A (zh) * 2011-09-23 2013-04-03 展晶科技(深圳)有限公司 发光二极管的封装方法
CN103117348A (zh) * 2011-11-16 2013-05-22 Lg伊诺特有限公司 发光器件以及具有发光器件的照明装置
JP2013102175A (ja) * 2012-12-25 2013-05-23 Nichia Chem Ind Ltd 光半導体装置
US8617909B2 (en) 2004-07-02 2013-12-31 Cree, Inc. LED with substrate modifications for enhanced light extraction and method of making same
JP2014132688A (ja) * 2014-03-25 2014-07-17 Apic Yamada Corp Ledパッケージ用基板、ledパッケージ用基板の製造方法、及び、ledパッケージの製造方法
US8802459B2 (en) 2006-12-28 2014-08-12 Nichia Corporation Surface mount lateral light emitting apparatus and fabrication method thereof
EP2383808A3 (en) * 2010-04-30 2014-08-27 Nichia Corporation Light emitting device package having leads with a recess for the chip mount area
US8858004B2 (en) 2005-12-22 2014-10-14 Cree, Inc. Lighting device
US8901585B2 (en) 2003-05-01 2014-12-02 Cree, Inc. Multiple component solid state white light
US9431589B2 (en) 2007-12-14 2016-08-30 Cree, Inc. Textured encapsulant surface in LED packages
US9666772B2 (en) 2003-04-30 2017-05-30 Cree, Inc. High powered light emitter packages with compact optics
US10096756B2 (en) 2005-11-25 2018-10-09 Samsung Electronics Co., Ltd. Side view light emitting diode package
US10615324B2 (en) 2013-06-14 2020-04-07 Cree Huizhou Solid State Lighting Company Limited Tiny 6 pin side view surface mount LED
JP2022126390A (ja) * 2021-02-18 2022-08-30 日亜化学工業株式会社 発光装置及びその製造方法

Cited By (54)

* Cited by examiner, † Cited by third party
Publication number Priority date Publication date Assignee Title
US9666772B2 (en) 2003-04-30 2017-05-30 Cree, Inc. High powered light emitter packages with compact optics
US8901585B2 (en) 2003-05-01 2014-12-02 Cree, Inc. Multiple component solid state white light
US8617909B2 (en) 2004-07-02 2013-12-31 Cree, Inc. LED with substrate modifications for enhanced light extraction and method of making same
US10096756B2 (en) 2005-11-25 2018-10-09 Samsung Electronics Co., Ltd. Side view light emitting diode package
JP2007188059A (ja) * 2005-12-12 2007-07-26 Nichia Chem Ind Ltd 光部品、光変換部材及び発光装置
US8858004B2 (en) 2005-12-22 2014-10-14 Cree, Inc. Lighting device
JP2007280983A (ja) * 2006-04-03 2007-10-25 Nichia Chem Ind Ltd 発光装置
US7696525B2 (en) 2006-04-21 2010-04-13 Samsung Electro-Mechanics Co., Ltd. Surface mounting device-type light emitting diode
US8487337B2 (en) 2006-04-24 2013-07-16 Cree, Inc. Side view surface mount LED
US8362512B2 (en) 2006-04-24 2013-01-29 Cree, Inc. Side-view surface mount white LED
JP2008098218A (ja) * 2006-05-10 2008-04-24 Nichia Chem Ind Ltd 半導体発光装置及び半導体発光装置の製造方法
JP2008053726A (ja) * 2006-08-23 2008-03-06 Seoul Semiconductor Co Ltd 発光ダイオードパッケージ
US7999280B2 (en) 2006-08-23 2011-08-16 Seoul Semiconductor Co., Ltd. Light emitting diode package employing lead terminal with reflecting surface
WO2008072862A1 (en) * 2006-12-13 2008-06-19 Seoul Semiconductor Co., Ltd. Light emitting diode package with odds of lead fram removed from its surface and method for fabricating the same
US8440478B2 (en) 2006-12-28 2013-05-14 Nichia Corporation Light emitting device, package, light emitting device manufacturing method, package manufacturing method and package manufacturing die
US8217414B2 (en) 2006-12-28 2012-07-10 Nichia Corporation Light emitting device, package, light emitting device manufacturing method, package manufacturing method and package manufacturing die
US8802459B2 (en) 2006-12-28 2014-08-12 Nichia Corporation Surface mount lateral light emitting apparatus and fabrication method thereof
WO2008081794A1 (ja) 2006-12-28 2008-07-10 Nichia Corporation 発光装置およびその製造方法
WO2008081696A1 (ja) 2006-12-28 2008-07-10 Nichia Corporation 発光装置、パッケージ、発光装置の製造方法、パッケージの製造方法及びパッケージ製造用金型
US8093619B2 (en) 2006-12-28 2012-01-10 Nichia Corporation Light emitting device
US9190588B2 (en) 2006-12-28 2015-11-17 Nichia Corporation Side-view type light emitting apparatus and package
EP2124252A4 (en) * 2007-03-09 2012-10-17 Omron Tateisi Electronics Co Package manufacturing method, package, optical module and die for integral molding
US8334548B2 (en) 2007-03-30 2012-12-18 Rohm Co., Ltd. Semiconductor light emitting device
WO2008123232A1 (ja) * 2007-03-30 2008-10-16 Rohm Co., Ltd. 半導体発光装置
US7932525B2 (en) 2007-05-29 2011-04-26 Iwatani Corporation Semiconductor light-emitting device
KR100855062B1 (ko) 2007-06-26 2008-08-29 럭스피아(주) 발광 다이오드 패키지 및 그 제조 방법
US9431589B2 (en) 2007-12-14 2016-08-30 Cree, Inc. Textured encapsulant surface in LED packages
JP2011508416A (ja) * 2007-12-24 2011-03-10 サムソン エルイーディー カンパニーリミテッド. 発光ダイオードパッケージ
KR100956888B1 (ko) 2008-01-24 2010-05-11 삼성전기주식회사 발광 다이오드 패키지 및 그 제조 방법
JP2010040791A (ja) * 2008-08-05 2010-02-18 Nichia Corp 光半導体装置
EP2899762A1 (en) * 2008-11-25 2015-07-29 LG Innotek Co., Ltd. Light emitting device package
JP2014241443A (ja) * 2008-11-25 2014-12-25 エルジー イノテック カンパニー リミテッド 発光素子パッケージ
US10847680B2 (en) 2008-11-25 2020-11-24 Lg Innotek Co., Ltd. Light emitting device package
US10134953B2 (en) 2008-11-25 2018-11-20 Lg Innotek Co., Ltd. Light-emitting device package including lead frame and using lead terminal as a reflective cavity
JP2012510153A (ja) * 2008-11-25 2012-04-26 エルジー イノテック カンパニー リミテッド 発光素子パッケージ
US9425360B2 (en) 2008-11-25 2016-08-23 Lg Innotek Co., Ltd. Light emitting device package
US8928008B2 (en) 2008-11-25 2015-01-06 Lg Innotek Co., Ltd. Light emitting device package comprising a lead electrode exposed to a recessed bottom portion of the package body
JP2010165979A (ja) * 2009-01-19 2010-07-29 Rohm Co Ltd Ledモジュールの製造方法およびledモジュール
JP2011035306A (ja) * 2009-08-05 2011-02-17 Sharp Corp 発光装置および発光装置の製造方法
EP2383808A3 (en) * 2010-04-30 2014-08-27 Nichia Corporation Light emitting device package having leads with a recess for the chip mount area
CN102299240B (zh) * 2010-06-28 2014-06-18 乐金显示有限公司 发光二极管以及包括其的背光单元和液晶显示器件
CN102299240A (zh) * 2010-06-28 2011-12-28 乐金显示有限公司 发光二极管以及包括其的背光单元和液晶显示器件
US8625053B2 (en) 2010-06-28 2014-01-07 Lg Display Co., Ltd. Light emitting diode and backlight unit and liquid crystal display device with the same
KR101099494B1 (ko) 2010-11-19 2011-12-27 (주)네오빛 발광다이오드 패키지
TWI455367B (zh) * 2011-09-23 2014-10-01 Advanced Optoelectronic Tech 發光二極體的封裝方法
CN103022275A (zh) * 2011-09-23 2013-04-03 展晶科技(深圳)有限公司 发光二极管的封装方法
CN103117348A (zh) * 2011-11-16 2013-05-22 Lg伊诺特有限公司 发光器件以及具有发光器件的照明装置
US10128423B2 (en) 2011-11-16 2018-11-13 Lg Innotek Co., Ltd. Light emitting device and lighting apparatus having the same
CN102767707A (zh) * 2012-05-21 2012-11-07 王定锋 在导线线路板上直接形成led支架的led模组及其制造方法
JP2013102175A (ja) * 2012-12-25 2013-05-23 Nichia Chem Ind Ltd 光半導体装置
US10615324B2 (en) 2013-06-14 2020-04-07 Cree Huizhou Solid State Lighting Company Limited Tiny 6 pin side view surface mount LED
JP2014132688A (ja) * 2014-03-25 2014-07-17 Apic Yamada Corp Ledパッケージ用基板、ledパッケージ用基板の製造方法、及び、ledパッケージの製造方法
JP2022126390A (ja) * 2021-02-18 2022-08-30 日亜化学工業株式会社 発光装置及びその製造方法
JP7549220B2 (ja) 2021-02-18 2024-09-11 日亜化学工業株式会社 発光装置及びその製造方法

Similar Documents

Publication Publication Date Title
JP2005294736A (ja) 半導体発光装置の製造方法
CN100452380C (zh) 表面安装型半导体器件及其引线架结构
EP2218116B1 (en) Slim led package
CN103718314B (zh) 发光装置
US20060273337A1 (en) Side-emitting LED package and method of manufacturing the same
US20130037845A1 (en) Lead frame, and light emitting diode module having the same
US8530252B2 (en) Method for manufacturing light emitting diode
KR20050092300A (ko) 고출력 발광 다이오드 패키지
TWI713437B (zh) 發光組件及其製造方法
JP2018160677A (ja) 半導体発光装置
JP2005317661A (ja) 半導体発光装置およびその製造方法
KR20130058721A (ko) 표면 장착 가능한 광전자 소자 그리고 표면 장착 가능한 광전자 소자를 제조하기 위한 방법
JP4976168B2 (ja) 発光装置
CN103378268A (zh) 封装件和封装件的制造方法
JP3219881U (ja) 発光素子パッケージ
JP2007329516A (ja) 半導体発光装置
US8783933B2 (en) Light emitting device package, and display apparatus and lighting system having the same
JP2012109521A (ja) Ledモジュール装置及びその製造方法
JP2008147203A (ja) 半導体発光装置
KR100585014B1 (ko) 일체형 열전달 슬러그가 형성된 발광다이오드 패키지 및 그 제조방법
JP2005116937A (ja) 半導体発光装置およびその製造方法
JP2012049486A (ja) Ledパッケージとその製造方法、及び該ledパッケージを用いて構成したledモジュール装置とその製造方法
CN100481430C (zh) 表面安装型发光二极管
JP2006049624A (ja) 発光素子
JP2005217308A (ja) 半導体発光装置及びその製法

Legal Events

Date Code Title Description
A621 Written request for application examination

Free format text: JAPANESE INTERMEDIATE CODE: A621

Effective date: 20070220

A131 Notification of reasons for refusal

Free format text: JAPANESE INTERMEDIATE CODE: A131

Effective date: 20090721

A977 Report on retrieval

Free format text: JAPANESE INTERMEDIATE CODE: A971007

Effective date: 20090721

A521 Request for written amendment filed

Free format text: JAPANESE INTERMEDIATE CODE: A523

Effective date: 20090910

A02 Decision of refusal

Free format text: JAPANESE INTERMEDIATE CODE: A02

Effective date: 20091124