JP2005294494A - 光半導体装置及びその製造方法 - Google Patents

光半導体装置及びその製造方法 Download PDF

Info

Publication number
JP2005294494A
JP2005294494A JP2004106772A JP2004106772A JP2005294494A JP 2005294494 A JP2005294494 A JP 2005294494A JP 2004106772 A JP2004106772 A JP 2004106772A JP 2004106772 A JP2004106772 A JP 2004106772A JP 2005294494 A JP2005294494 A JP 2005294494A
Authority
JP
Japan
Prior art keywords
light receiving
light emitting
light
receiving element
optical semiconductor
Prior art date
Legal status (The legal status is an assumption and is not a legal conclusion. Google has not performed a legal analysis and makes no representation as to the accuracy of the status listed.)
Pending
Application number
JP2004106772A
Other languages
English (en)
Inventor
Yoshio Noguchi
吉雄 野口
Current Assignee (The listed assignees may be inaccurate. Google has not performed a legal analysis and makes no representation or warranty as to the accuracy of the list.)
Toshiba Corp
Original Assignee
Toshiba Corp
Priority date (The priority date is an assumption and is not a legal conclusion. Google has not performed a legal analysis and makes no representation as to the accuracy of the date listed.)
Filing date
Publication date
Application filed by Toshiba Corp filed Critical Toshiba Corp
Priority to JP2004106772A priority Critical patent/JP2005294494A/ja
Priority to US11/094,301 priority patent/US7170099B2/en
Publication of JP2005294494A publication Critical patent/JP2005294494A/ja
Priority to US11/615,170 priority patent/US7307285B2/en
Pending legal-status Critical Current

Links

Images

Classifications

    • HELECTRICITY
    • H01ELECTRIC ELEMENTS
    • H01LSEMICONDUCTOR DEVICES NOT COVERED BY CLASS H10
    • H01L25/00Assemblies consisting of a plurality of semiconductor or other solid state devices
    • H01L25/16Assemblies consisting of a plurality of semiconductor or other solid state devices the devices being of types provided for in two or more different subclasses of H10B, H10D, H10F, H10H, H10K or H10N, e.g. forming hybrid circuits
    • H01L25/167Assemblies consisting of a plurality of semiconductor or other solid state devices the devices being of types provided for in two or more different subclasses of H10B, H10D, H10F, H10H, H10K or H10N, e.g. forming hybrid circuits comprising optoelectronic devices, e.g. LED, photodiodes
    • HELECTRICITY
    • H01ELECTRIC ELEMENTS
    • H01LSEMICONDUCTOR DEVICES NOT COVERED BY CLASS H10
    • H01L2224/00Indexing scheme for arrangements for connecting or disconnecting semiconductor or solid-state bodies and methods related thereto as covered by H01L24/00
    • H01L2224/01Means for bonding being attached to, or being formed on, the surface to be connected, e.g. chip-to-package, die-attach, "first-level" interconnects; Manufacturing methods related thereto
    • H01L2224/42Wire connectors; Manufacturing methods related thereto
    • H01L2224/47Structure, shape, material or disposition of the wire connectors after the connecting process
    • H01L2224/48Structure, shape, material or disposition of the wire connectors after the connecting process of an individual wire connector
    • H01L2224/4805Shape
    • H01L2224/4809Loop shape
    • H01L2224/48091Arched
    • HELECTRICITY
    • H01ELECTRIC ELEMENTS
    • H01LSEMICONDUCTOR DEVICES NOT COVERED BY CLASS H10
    • H01L2224/00Indexing scheme for arrangements for connecting or disconnecting semiconductor or solid-state bodies and methods related thereto as covered by H01L24/00
    • H01L2224/01Means for bonding being attached to, or being formed on, the surface to be connected, e.g. chip-to-package, die-attach, "first-level" interconnects; Manufacturing methods related thereto
    • H01L2224/42Wire connectors; Manufacturing methods related thereto
    • H01L2224/47Structure, shape, material or disposition of the wire connectors after the connecting process
    • H01L2224/48Structure, shape, material or disposition of the wire connectors after the connecting process of an individual wire connector
    • H01L2224/481Disposition
    • H01L2224/48151Connecting between a semiconductor or solid-state body and an item not being a semiconductor or solid-state body, e.g. chip-to-substrate, chip-to-passive
    • H01L2224/48221Connecting between a semiconductor or solid-state body and an item not being a semiconductor or solid-state body, e.g. chip-to-substrate, chip-to-passive the body and the item being stacked
    • H01L2224/48245Connecting between a semiconductor or solid-state body and an item not being a semiconductor or solid-state body, e.g. chip-to-substrate, chip-to-passive the body and the item being stacked the item being metallic
    • H01L2224/48247Connecting between a semiconductor or solid-state body and an item not being a semiconductor or solid-state body, e.g. chip-to-substrate, chip-to-passive the body and the item being stacked the item being metallic connecting the wire to a bond pad of the item
    • HELECTRICITY
    • H01ELECTRIC ELEMENTS
    • H01LSEMICONDUCTOR DEVICES NOT COVERED BY CLASS H10
    • H01L2924/00Indexing scheme for arrangements or methods for connecting or disconnecting semiconductor or solid-state bodies as covered by H01L24/00
    • H01L2924/013Alloys
    • H01L2924/0132Binary Alloys
    • H01L2924/01322Eutectic Alloys, i.e. obtained by a liquid transforming into two solid phases
    • HELECTRICITY
    • H01ELECTRIC ELEMENTS
    • H01LSEMICONDUCTOR DEVICES NOT COVERED BY CLASS H10
    • H01L2924/00Indexing scheme for arrangements or methods for connecting or disconnecting semiconductor or solid-state bodies as covered by H01L24/00
    • H01L2924/10Details of semiconductor or other solid state devices to be connected
    • H01L2924/11Device type
    • H01L2924/13Discrete devices, e.g. 3 terminal devices
    • H01L2924/1304Transistor
    • H01L2924/1306Field-effect transistor [FET]
    • H01L2924/13091Metal-Oxide-Semiconductor Field-Effect Transistor [MOSFET]
    • HELECTRICITY
    • H01ELECTRIC ELEMENTS
    • H01LSEMICONDUCTOR DEVICES NOT COVERED BY CLASS H10
    • H01L2924/00Indexing scheme for arrangements or methods for connecting or disconnecting semiconductor or solid-state bodies as covered by H01L24/00
    • H01L2924/19Details of hybrid assemblies other than the semiconductor or other solid state devices to be connected
    • H01L2924/191Disposition
    • H01L2924/19101Disposition of discrete passive components
    • H01L2924/19107Disposition of discrete passive components off-chip wires

Landscapes

  • Engineering & Computer Science (AREA)
  • Microelectronics & Electronic Packaging (AREA)
  • Physics & Mathematics (AREA)
  • Condensed Matter Physics & Semiconductors (AREA)
  • General Physics & Mathematics (AREA)
  • Computer Hardware Design (AREA)
  • Power Engineering (AREA)
  • Photo Coupler, Interrupter, Optical-To-Optical Conversion Devices (AREA)

Abstract

【課題】 パッケージの小型化、及び工程数の削減を図ることが可能な光半導体装置及びその製造方法を提供する。
【解決手段】 発光側及び受光側のリードフレーム1と、前記発光側及び受光側のリードフレームの一部及び/又はその近傍で、実質的に同一平面上に形成される発光側及び受光側の素子搭載部2と、発光側の前記素子搭載部2a上の所定位置に載置される発光素子3と、前記発光素子と対向するように設置される受光素子5と、受光側の前記素子搭載部2b上に配置され、前記発光素子3から所定距離となるように、所定面において前記受光素子5を支持する受光素子支持手段6を備える。
【選択図】 図1

Description

本発明は、発光素子と受光素子が対向配置する構造を有する光半導体装置及びその製造方法に関する。
一般に、フォトカプラ、フォトリレー等光半導体装置においては、発光素子(発光ダイオード)、受光素子(光起電ダイオード)及び駆動用のMOSFETを夫々リードフレームに搭載し、発光素子と受光素子が対向するように配置して封止する構造が用いられている(例えば特許文献1参照)。
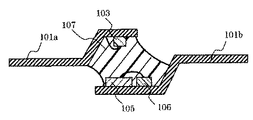
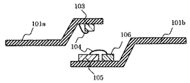
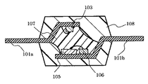
図10に従来の光半導体装置を二重封止構造のフォトリレーを例に挙げて示す。図に示すように、発光側リードフレーム101aに発光素子103が、受光側リードフレーム101bに受光素子105及びMOSFET106が搭載されており、これらが対向するように配置されている。これら素子は光透過性樹脂107で1次封止、光遮断性樹脂108で2次封止されている。発光素子、受光素子は夫々リードフレーム、MOSFETとワイヤー104によりボンディングされている。
このようなフォトカプラは、以下のように形成される。先ず、図11に示すように、夫々押し下げ加工されたリードフレーム101a、101bに、夫々発光素子103、受光素子105/MOSFET106を搭載する。そして、図12に示すように、これらを対向させた状態に配置する。
次に、図13に示すように、これらを光透過性樹脂107により1次封止し、光の伝達経路を形成する。そして、図14に示すように、光を遮断し、素子を保護するために、光遮断性樹脂108により2次封止する。さらに各リードフレーム101a、101bをフォーミングして、図10に示す光半導体素子が形成される。
特開2003−8050号公報
近年、半導体装置の高性能化、実装密度の向上に伴い、光半導体装置の小型化が強く要求されている。しかしながら、このような従来の光半導体装置においては、上述したとおり、受光側リードフレームにおいて、受光素子とMOSFETを平面配置しているため、パッケージの小型化が困難であるという問題があった。
また、従来の製造工程においては、発光側、受光側のリードフレームを対向させる工程、さらにこれを保持した上で封止する工程を要しており、工程数の削減によるリードタイムの短縮やコストの削減が困難であるという問題があった。
そこで、本発明は、従来の問題を取り除き、パッケージの小型化、及び工程数の削減を図ることが可能な光半導体装置及びその製造方法を提供することを目的とするものである。
本発明の一態様によれば、発光側及び受光側のリードフレームと、前記発光側及び受光側のリードフレームの一部及び/又はその近傍で、実質的に同一平面上に形成される発光側及び受光側の素子搭載部と、発光側の前記素子搭載部上の所定位置に載置される発光素子と、前記発光素子と対向するように設置される受光素子と、受光側の前記素子搭載部上に配置され、前記発光素子から所定距離となるように、所定面において前記受光素子を支持する受光素子支持手段を備えることを特徴とする光半導体装置が提供される。
また、本発明の一態様によれば、発光側リードフレーム及び受光側リードフレームの一部及び/又はその近傍に形成される発光側及び受光側の素子搭載部を、実質的に同一平面となるように配置する工程と、発光素子を前記発光側の素子搭載部に載置する工程と、受光素子支持手段を受光側の素子搭載部に載置する工程と、受光素子を受光素子支持手段の所定面に設置し、前記発光素子と対向するように配置する工程を備えることを特徴とする光半導体装置の製造方法が提供される。
本発明の一実施態様によれば、パッケージの小型化、及び工程数の削減を図ることが可能な光半導体装置及びその製造方法を提供することができる。
以下本発明の実施形態について、図を参照して説明する。
(実施形態1)
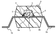
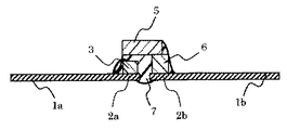
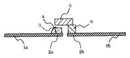
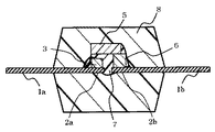
図1に本実施形態の光半導体装置の断面図を示す。図に示すように、発光側リードフレーム1aのベッド2a(発光側素子搭載部)上に発光素子3が載置・接続され、ワイヤー4により他方のリードフレームとボンディングされている。そして、この発光素子3と対向するように受光素子5が配置されている。受光素子5は、受光側リードフレーム1bのベッド2b(受光側素子搭載部)上に載置・接続されたMOSFET6とFCB(フリップチップボンディング)などにより接続され、これにより支持されている。発光素子3と受光素子5は光透過性の1次封止樹脂7で封止され、光の伝達経路が形成されており、さらに光遮断性の2次封止樹脂8で封止されている。
そして、このような光半導体装置において、リードフレーム1aより外部からの電気信号が入力され、発光素子3が発光し、1次封止樹脂7を介して受光素子5に光信号が伝達される。そして、受光素子5において電気信号に変換され、MOSFET6を経て、リードフレーム1bより出力される。
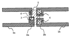
このような光半導体装置は、例えば以下のように形成される。先ず、図2−aに断面図を、図2−bに上面図を示すように、プレス、エッチングなどにより発光側と受光側が所定の間隔となるように形成され、一体化されたリードフレーム1a、1bを用い、ベッド2a上に発光素子3を、ベッド2b上にMOSFET6を夫々載置、接続する。そして、MOSFET6上に、受光素子5をその一部が発光素子3と対向するように載置する。
次いで、図3に示すように、発光素子3、受光素子5を光透過性の1次封止樹脂7で封止し、光の伝達経路を形成する。そして、図4に示すように、これらを光遮断性の2次封止樹脂8で封止する。さらに、封止樹脂8から露出したリードフレーム1a、1bを、実装用にフォーミングし、図1に示す光半導体装置が形成される。
このような光半導体素子においては、従来平面配置されていた受光素子とMOSFETを立体的に配置することができ、パッケージの小型化を実現することが可能となる。さらに、発光素子と受光素子は、発光側、受光側が同一平面上に配置されたリードフレーム上に搭載されるため、従来の1次封止前の、発光側、受光側リードフレームを対向・保持する接合工程を省略することができ、工程数の削減が可能となる。また、高さ方向の位置制御も容易となり、さらに発光側と受光側が一体化したリードフレームを用いているため、フレーム方向の位置ずれが抑制され、特性のばらつきも抑えられる。
(実施形態2)
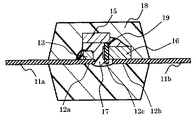
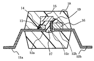
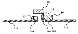
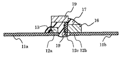
図5に本実施形態の光半導体装置を示す。図に示すように、実施形態1と同様に、発光側リードフレーム11aのベッド12a(発光側素子搭載部)上に発光素子13が載置・接続され、ワイヤー14によりボンディングされている。そしてこの発光素子13と対向するように受光素子15が配置されている。受光素子15は、受光側リードフレーム11bのベッド12b(受光側素子搭載部)上に載置・接続されたMOSFET16上で、ベッド12a、ベッド12b間に設けられた導電性のベッド12c上に載置された導電性のダミーペレット19により支持されている。ベッド12cはMOSFET16と接続されており、ダミーペレット19を経て受光素子15と接続されている。そして、実施形態1と同様に、発光素子13と受光素子15は光透過性の1次封止樹脂17で封止され、さらに光遮断性の2次封止樹脂18で封止されている。
このような光半導体装置において、実施形態1と同様に、リードフレーム11aより外部からの電気信号が入力され、発光素子13が発光し、1次封止樹脂17を介して受光素子15に光信号が伝達される。そして、受光素子15において電気信号に変換され、MOSFET16を経て、リードフレーム11bより出力される。
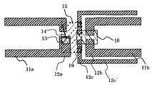
このような光半導体装置は、例えば以下のように形成される。先ず、図6−aに断面図を、図6−bに上面図を示すように、実施形態1と同様に、リードフレーム11a、11bの、ベッド12a上に発光素子13を、ベッド12b上にMOSFET16を夫々載置、接続する。一方、受光側リードフレーム11bの外周を囲むように形成されたフレーム12c’のベッド12cと、MOSFET16を接続し、これを挟むように、ベッド12c上にダミーペレット19を載置する。そして、ダミーペレット19上に、受光素子15を載置、接続し、発光素子13と対向させる。尚、リードフレーム11a、11b、フレーム12c’は、プレス、エッチングなどにより形成され、一体化されている。
次いで、図7に示すように、発光素子13、受光素子15を光透過性の1次封止樹脂17で封止し、光の伝達経路を形成する。そして、図8に示すように、これらを光遮断性の2次封止樹脂18で封止する。
次いで、図9に示すように、フレーム12c’の封止樹脂18から露出した部分を切断、除去する。そして、封止樹脂18から露出したリードフレーム11a、11bを、実装用にフォーミングし、図5に示す光半導体装置が形成される。
本実施形態において、ダミーペレットの材料を特に規定していないが、内部素子のデザインにより、セラミックス系、シリコン系、金属系等、導電性、非導電性の種々の材料を適宜選択することが可能である。
尚、これら実施形態において、発光側、受光側が一体化されたリードフレームが用いられているが、必ずしも一体化されていなくてもよく、夫々形成されたものを同一平面上に位置制御して配置しても良い。また、HOOP状フレームを用いて、連続的に形成することも可能である。
また、ベッド上における各素子の接続方法は特に規定されないが、樹脂接合、共晶接合や、FCB等適宜選択することができる。
これら実施形態においては、MOSFETを搭載しているが、MOSFETを有さない光半導体素子においても、ダミーペレット上に受光素子を載置することで、工程数の削減や、特性のばらつきの抑制、パッケージの小型化等の効果を得ることができる。そして、ダミーペレットは、樹脂封止後においても必ずしもベッド上に固定されている必要はなく、樹脂封止後にベッドが除去されていてもよい。
尚、本発明は、上述した実施形態に限定されるものではない。その他要旨を逸脱しない範囲で種々変形して実施することができる。
本発明の一実施態様の光半導体装置を示す図。 本発明の一実施態様の光半導体装置の製造工程を示す図。 本発明の一実施態様の光半導体装置の製造工程を示す図。 本発明の一実施態様の光半導体装置の製造工程を示す図。 本発明の一実施態様の光半導体装置の製造工程を示す図。 本発明の一実施態様の光半導体装置を示す図。 本発明の一実施態様の光半導体装置の製造工程を示す図。 本発明の一実施態様の光半導体装置の製造工程を示す図。 本発明の一実施態様の光半導体装置の製造工程を示す図。 本発明の一実施態様の光半導体装置の製造工程を示す図。 本発明の一実施態様の光半導体装置の製造工程を示す図。 従来の光半導体装置を示す図。 従来の光半導体装置の製造工程を示す図。 従来の光半導体装置の製造工程を示す図。 従来の光半導体装置の製造工程を示す図。 従来の光半導体装置の製造工程を示す図。
符号の説明
1a、1b、11a、11b、101a、101b リードフレーム
2a、2b、12a、12b、12c、102a、102b ベッド
12c’ フレーム
3、13、103 発光素子
4、14、104 ワイヤー
5、15、105 受光素子
6、16、106 MOSFET
7、17、107 一次封止樹脂
8、18、108 二次封止樹脂
19 ダミーペレット

Claims (5)

  1. 発光側及び受光側のリードフレームと、
    前記発光側及び受光側のリードフレームの一部及び/又はその近傍で、実質的に同一平面上に形成される発光側及び受光側の素子搭載部と、
    発光側の前記素子搭載部上の所定位置に載置される発光素子と、
    前記発光素子と対向するように設置される受光素子と、
    受光側の前記素子搭載部上に配置され、前記発光素子から所定距離となるように、所定面において前記受光素子を支持する受光素子支持手段を備えることを特徴とする光半導体装置。
  2. 前記受光素子支持手段は、ダミーペレット及び/又は前記受光素子を制御する制御素子ペレットであることを特徴とする請求項1記載の光半導体装置。
  3. 前記受光素子支持手段は、前記受光素子を前記発光素子と対向する面において支持することを特徴とする請求項1又は2に記載の光半導体装置。
  4. 発光側リードフレーム及び受光側リードフレームの一部及び/又はその近傍に形成される発光側及び受光側の素子搭載部を、実質的に同一平面となるように配置する工程と、
    発光素子を前記発光側の素子搭載部に載置する工程と、
    受光素子支持手段を受光側の素子搭載部に載置する工程と、
    受光素子を受光素子支持手段の所定面に設置し、前記発光素子と対向するように配置する工程を備えることを特徴とする光半導体装置の製造方法。
  5. 少なくとも前記発光素子及び前記受光素子を樹脂封止する工程と、
    樹脂封止の後、前記受光側素子搭載部及び/又は受光素子支持手段の一部を除去する工程を備えることを特徴とする請求項4に記載の光半導体装置の製造方法。
JP2004106772A 2004-03-31 2004-03-31 光半導体装置及びその製造方法 Pending JP2005294494A (ja)

Priority Applications (3)

Application Number Priority Date Filing Date Title
JP2004106772A JP2005294494A (ja) 2004-03-31 2004-03-31 光半導体装置及びその製造方法
US11/094,301 US7170099B2 (en) 2004-03-31 2005-03-31 Optical semiconductor device and a method for manufacturing the same
US11/615,170 US7307285B2 (en) 2004-03-31 2006-12-22 Optical semiconductor device and a method for manufacturing the same

Applications Claiming Priority (1)

Application Number Priority Date Filing Date Title
JP2004106772A JP2005294494A (ja) 2004-03-31 2004-03-31 光半導体装置及びその製造方法

Publications (1)

Publication Number Publication Date
JP2005294494A true JP2005294494A (ja) 2005-10-20

Family

ID=35053362

Family Applications (1)

Application Number Title Priority Date Filing Date
JP2004106772A Pending JP2005294494A (ja) 2004-03-31 2004-03-31 光半導体装置及びその製造方法

Country Status (2)

Country Link
US (2) US7170099B2 (ja)
JP (1) JP2005294494A (ja)

Cited By (3)

* Cited by examiner, † Cited by third party
Publication number Priority date Publication date Assignee Title
CN107275436A (zh) * 2013-09-12 2017-10-20 株式会社东芝 安装部件和光耦合器
JP2023044783A (ja) * 2021-09-21 2023-04-03 株式会社東芝 半導体装置
JP2023176187A (ja) * 2022-05-31 2023-12-13 株式会社東芝 半導体装置

Families Citing this family (9)

* Cited by examiner, † Cited by third party
Publication number Priority date Publication date Assignee Title
JP4796293B2 (ja) * 2004-11-04 2011-10-19 株式会社 日立ディスプレイズ 照明装置の製造方法
US7736070B2 (en) * 2005-08-31 2010-06-15 Avago Technologies Ecbu Ip (Singapore) Pte. Ltd. Double mold optocoupler
US8044412B2 (en) 2006-01-20 2011-10-25 Taiwan Semiconductor Manufacturing Company, Ltd Package for a light emitting element
JP2008091671A (ja) * 2006-10-03 2008-04-17 Toshiba Corp 光結合装置
US20100116970A1 (en) * 2008-11-12 2010-05-13 Wen-Long Chou Photo detection device
US8265487B2 (en) * 2009-07-29 2012-09-11 Avago Technologies Fiber Ip (Singapore) Pte. Ltd. Half-duplex, single-fiber (S-F) optical transceiver module and method
CN101834267B (zh) * 2010-04-30 2013-07-10 深圳市奥伦德元器件有限公司 平面支架及封装方法
JP2016018832A (ja) * 2014-07-07 2016-02-01 パナソニックIpマネジメント株式会社 光結合装置
JP6445947B2 (ja) * 2015-09-04 2018-12-26 株式会社東芝 光結合装置

Family Cites Families (30)

* Cited by examiner, † Cited by third party
Publication number Priority date Publication date Assignee Title
JPS584470B2 (ja) * 1975-04-02 1983-01-26 株式会社日立製作所 ヒカリケツゴウハンドウタイソウチ オヨビ ソノセイホウ
JPS59177978A (ja) * 1983-03-26 1984-10-08 Nec Corp マルチチヤンネル型半導体光結合装置
US5148243A (en) * 1985-06-25 1992-09-15 Hewlett-Packard Company Optical isolator with encapsulation
US5049527A (en) * 1985-06-25 1991-09-17 Hewlett-Packard Company Optical isolator
DE3633251A1 (de) * 1986-09-30 1988-03-31 Siemens Ag Optoelektronisches koppelelement
EP0630056B1 (en) * 1993-05-28 1998-02-18 Toshiba Ave Co., Ltd Use of anisotropically conductive film for connecting leads of wiring board with electrode pads of photoelectric converting device and mounting method of the device
JP3349577B2 (ja) * 1993-12-30 2002-11-25 セイコーエプソン株式会社 印字装置
JP3176496B2 (ja) * 1993-12-27 2001-06-18 シャープ株式会社 光結合装置およびその製造方法
US5647034A (en) * 1994-10-03 1997-07-08 Matsushita Electric Works, Ltd. Operation displaying semiconductor switch
DE4439838C2 (de) * 1994-11-08 1999-02-25 Telefunken Microelectron Gabelkoppler
JPH08222757A (ja) * 1995-02-14 1996-08-30 Sharp Corp 光結合素子
JPH09148620A (ja) * 1995-09-20 1997-06-06 Sharp Corp 光反射型検出器及びその製造方法
US5753929A (en) * 1996-08-28 1998-05-19 Motorola, Inc. Multi-directional optocoupler and method of manufacture
JPH11195973A (ja) * 1998-01-07 1999-07-21 Oki Electric Ind Co Ltd 半導体装置及びそれを用いた双方向光mosリレー
JPH11204825A (ja) 1998-01-14 1999-07-30 Oki Electric Ind Co Ltd 光半導体装置およびその製造方法
US6051848A (en) * 1998-03-02 2000-04-18 Motorola, Inc. Optical device packages containing an optical transmitter die
US6864227B1 (en) * 1998-04-13 2005-03-08 California Institute Of Technology Artery-and vein-specific proteins and uses therefor
US6393183B1 (en) * 1998-08-13 2002-05-21 Eugene Robert Worley Opto-coupler device for packaging optically coupled integrated circuits
DE60002367T2 (de) * 1999-01-13 2004-02-19 Sharp K.K. Fotokoppler
JP2001059923A (ja) * 1999-06-16 2001-03-06 Seiko Epson Corp 光モジュール及びその製造方法、半導体装置並びに光伝達装置
JP3502305B2 (ja) * 1999-08-13 2004-03-02 Nec化合物デバイス株式会社 光半導体装置
JP4117868B2 (ja) * 1999-11-22 2008-07-16 シャープ株式会社 光結合素子
US6770867B2 (en) * 2001-06-29 2004-08-03 Fei Company Method and apparatus for scanned instrument calibration
JP3781180B2 (ja) * 2001-05-15 2006-05-31 シャープ株式会社 光結合素子を製造する製造装置、およびその製造方法
JP2003008050A (ja) 2001-06-26 2003-01-10 Matsushita Electric Works Ltd 半導体リレー
JP3938479B2 (ja) * 2001-07-18 2007-06-27 シャープ株式会社 光結合素子の生産システム
US6885016B2 (en) * 2001-09-04 2005-04-26 Eugene Robert Worley Switching power supply circuit using a silicon based LED for feedback
JP2003282935A (ja) * 2002-03-26 2003-10-03 Sharp Corp 光結合素子、その製造方法、及び電子機器
US6919625B2 (en) * 2003-07-10 2005-07-19 General Semiconductor, Inc. Surface mount multichip devices
JP4282392B2 (ja) * 2003-07-11 2009-06-17 株式会社東芝 光半導体装置及びその製造方法

Cited By (6)

* Cited by examiner, † Cited by third party
Publication number Priority date Publication date Assignee Title
CN107275436A (zh) * 2013-09-12 2017-10-20 株式会社东芝 安装部件和光耦合器
CN107275436B (zh) * 2013-09-12 2019-04-30 株式会社东芝 安装部件和光耦合器
JP2023044783A (ja) * 2021-09-21 2023-04-03 株式会社東芝 半導体装置
JP7566708B2 (ja) 2021-09-21 2024-10-15 株式会社東芝 半導体装置
JP2023176187A (ja) * 2022-05-31 2023-12-13 株式会社東芝 半導体装置
JP7712894B2 (ja) 2022-05-31 2025-07-24 株式会社東芝 半導体装置

Also Published As

Publication number Publication date
US20070102712A1 (en) 2007-05-10
US20050218492A1 (en) 2005-10-06
US7170099B2 (en) 2007-01-30
US7307285B2 (en) 2007-12-11

Similar Documents

Publication Publication Date Title
KR100604190B1 (ko) 고체촬상장치, 반도체 웨이퍼, 광학장치용 모듈,고체촬상장치의 제조방법, 및 광학장치용 모듈의 제조방법
US7838899B2 (en) Integrated circuit package system with image sensor system
US6909168B2 (en) Resin encapsulation semiconductor device utilizing grooved leads and die pad
US20070278665A1 (en) Thermally Enhanced Three-Dimensional Package and Method for Manufacturing the Same
JP2007142042A (ja) 半導体パッケージとその製造方法,半導体モジュール,および電子機器
KR101579623B1 (ko) 이미지 센서용 반도체 패키지 및 그 제조 방법
KR20090017961A (ko) 화상센서 패키지 및 그 형성 방법
JP2006332680A (ja) イメージセンサをパッケージングするための方法及びパッケージングされたイメージセンサ
JP2005294494A (ja) 光半導体装置及びその製造方法
US8003426B2 (en) Method for manufacturing package structure of optical device
JP4925832B2 (ja) 光センサを実装するための方法
JP2009193986A (ja) 半導体装置及びその製造方法
JP2006179718A (ja) 青色光学素子パッケージ及び光学素子パッケージの製造方法
JP4282392B2 (ja) 光半導体装置及びその製造方法
JP4466552B2 (ja) 固体撮像装置の製造方法
CN101567333A (zh) 图像感测装置及其封装方法
JP2003254988A (ja) 力学量センサおよびその製造方法
JP2006005612A (ja) 撮像モジュール
US20070057149A1 (en) Image sensor chip package fabrication method
JP2005327967A (ja) 半導体装置
JP3140970U (ja) 光感知モジュールのパッケージング
US20110241191A1 (en) Semiconductor lamination package and method of producing semiconductor lamination package
JP2008026183A (ja) Ic一体型加速度センサ
JP2010040826A (ja) 半導体チップおよびその製造方法
JP2006278743A (ja) 固体撮像装置

Legal Events

Date Code Title Description
A621 Written request for application examination

Free format text: JAPANESE INTERMEDIATE CODE: A621

Effective date: 20060424

RD04 Notification of resignation of power of attorney

Free format text: JAPANESE INTERMEDIATE CODE: A7424

Effective date: 20060427

A977 Report on retrieval

Free format text: JAPANESE INTERMEDIATE CODE: A971007

Effective date: 20080916

A131 Notification of reasons for refusal

Free format text: JAPANESE INTERMEDIATE CODE: A131

Effective date: 20080930

A02 Decision of refusal

Free format text: JAPANESE INTERMEDIATE CODE: A02

Effective date: 20090217