EP2408568B2 - Elektrodenanordnung für einen elektrostatischen zerstäuber - Google Patents
Elektrodenanordnung für einen elektrostatischen zerstäuber Download PDFInfo
- Publication number
- EP2408568B2 EP2408568B2 EP10709704.0A EP10709704A EP2408568B2 EP 2408568 B2 EP2408568 B2 EP 2408568B2 EP 10709704 A EP10709704 A EP 10709704A EP 2408568 B2 EP2408568 B2 EP 2408568B2
- Authority
- EP
- European Patent Office
- Prior art keywords
- atomizer
- electrode
- thread
- housing element
- axis
- Prior art date
- Legal status (The legal status is an assumption and is not a legal conclusion. Google has not performed a legal analysis and makes no representation as to the accuracy of the status listed.)
- Active
Links
Images
Classifications
-
- B—PERFORMING OPERATIONS; TRANSPORTING
- B05—SPRAYING OR ATOMISING IN GENERAL; APPLYING FLUENT MATERIALS TO SURFACES, IN GENERAL
- B05B—SPRAYING APPARATUS; ATOMISING APPARATUS; NOZZLES
- B05B5/00—Electrostatic spraying apparatus; Spraying apparatus with means for charging the spray electrically; Apparatus for spraying liquids or other fluent materials by other electric means
- B05B5/025—Discharge apparatus, e.g. electrostatic spray guns
- B05B5/053—Arrangements for supplying power, e.g. charging power
- B05B5/0533—Electrodes specially adapted therefor; Arrangements of electrodes
-
- B—PERFORMING OPERATIONS; TRANSPORTING
- B05—SPRAYING OR ATOMISING IN GENERAL; APPLYING FLUENT MATERIALS TO SURFACES, IN GENERAL
- B05B—SPRAYING APPARATUS; ATOMISING APPARATUS; NOZZLES
- B05B13/00—Machines or plants for applying liquids or other fluent materials to surfaces of objects or other work by spraying, not covered by groups B05B1/00 - B05B11/00
- B05B13/02—Means for supporting work; Arrangement or mounting of spray heads; Adaptation or arrangement of means for feeding work
- B05B13/0221—Means for supporting work; Arrangement or mounting of spray heads; Adaptation or arrangement of means for feeding work characterised by the means for moving or conveying the objects or other work, e.g. conveyor belts
- B05B13/0271—Means for supporting work; Arrangement or mounting of spray heads; Adaptation or arrangement of means for feeding work characterised by the means for moving or conveying the objects or other work, e.g. conveyor belts the object or work standing still during the spraying operation
-
- B—PERFORMING OPERATIONS; TRANSPORTING
- B05—SPRAYING OR ATOMISING IN GENERAL; APPLYING FLUENT MATERIALS TO SURFACES, IN GENERAL
- B05B—SPRAYING APPARATUS; ATOMISING APPARATUS; NOZZLES
- B05B13/00—Machines or plants for applying liquids or other fluent materials to surfaces of objects or other work by spraying, not covered by groups B05B1/00 - B05B11/00
- B05B13/02—Means for supporting work; Arrangement or mounting of spray heads; Adaptation or arrangement of means for feeding work
- B05B13/04—Means for supporting work; Arrangement or mounting of spray heads; Adaptation or arrangement of means for feeding work the spray heads being moved during spraying operation
- B05B13/0431—Means for supporting work; Arrangement or mounting of spray heads; Adaptation or arrangement of means for feeding work the spray heads being moved during spraying operation with spray heads moved by robots or articulated arms, e.g. for applying liquid or other fluent material to three-dimensional [3D] surfaces
-
- B—PERFORMING OPERATIONS; TRANSPORTING
- B05—SPRAYING OR ATOMISING IN GENERAL; APPLYING FLUENT MATERIALS TO SURFACES, IN GENERAL
- B05B—SPRAYING APPARATUS; ATOMISING APPARATUS; NOZZLES
- B05B13/00—Machines or plants for applying liquids or other fluent materials to surfaces of objects or other work by spraying, not covered by groups B05B1/00 - B05B11/00
- B05B13/02—Means for supporting work; Arrangement or mounting of spray heads; Adaptation or arrangement of means for feeding work
- B05B13/04—Means for supporting work; Arrangement or mounting of spray heads; Adaptation or arrangement of means for feeding work the spray heads being moved during spraying operation
- B05B13/0447—Installation or apparatus for applying liquid or other fluent material to conveyed separate articles
- B05B13/0457—Installation or apparatus for applying liquid or other fluent material to conveyed separate articles specially designed for applying liquid or other fluent material to three-dimensional [3D] surfaces of the work, e.g. by using several moving spray heads
-
- B—PERFORMING OPERATIONS; TRANSPORTING
- B05—SPRAYING OR ATOMISING IN GENERAL; APPLYING FLUENT MATERIALS TO SURFACES, IN GENERAL
- B05B—SPRAYING APPARATUS; ATOMISING APPARATUS; NOZZLES
- B05B16/00—Spray booths
- B05B16/90—Spray booths comprising conveying means for moving objects or other work to be sprayed in and out of the booth, e.g. through the booth
- B05B16/95—Spray booths comprising conveying means for moving objects or other work to be sprayed in and out of the booth, e.g. through the booth the objects or other work to be sprayed lying on, or being held above the conveying means, i.e. not hanging from the conveying means
-
- B—PERFORMING OPERATIONS; TRANSPORTING
- B05—SPRAYING OR ATOMISING IN GENERAL; APPLYING FLUENT MATERIALS TO SURFACES, IN GENERAL
- B05B—SPRAYING APPARATUS; ATOMISING APPARATUS; NOZZLES
- B05B5/00—Electrostatic spraying apparatus; Spraying apparatus with means for charging the spray electrically; Apparatus for spraying liquids or other fluent materials by other electric means
- B05B5/005—Electrostatic spraying apparatus; Spraying apparatus with means for charging the spray electrically; Apparatus for spraying liquids or other fluent materials by other electric means the high voltage supplied to an electrostatic spraying apparatus being adjustable during spraying operation, e.g. for modifying spray width, droplet size
-
- B—PERFORMING OPERATIONS; TRANSPORTING
- B05—SPRAYING OR ATOMISING IN GENERAL; APPLYING FLUENT MATERIALS TO SURFACES, IN GENERAL
- B05B—SPRAYING APPARATUS; ATOMISING APPARATUS; NOZZLES
- B05B5/00—Electrostatic spraying apparatus; Spraying apparatus with means for charging the spray electrically; Apparatus for spraying liquids or other fluent materials by other electric means
- B05B5/025—Discharge apparatus, e.g. electrostatic spray guns
- B05B5/04—Discharge apparatus, e.g. electrostatic spray guns characterised by having rotary outlet or deflecting elements, i.e. spraying being also effected by centrifugal forces
- B05B5/0403—Discharge apparatus, e.g. electrostatic spray guns characterised by having rotary outlet or deflecting elements, i.e. spraying being also effected by centrifugal forces characterised by the rotating member
- B05B5/0407—Discharge apparatus, e.g. electrostatic spray guns characterised by having rotary outlet or deflecting elements, i.e. spraying being also effected by centrifugal forces characterised by the rotating member with a spraying edge, e.g. like a cup or a bell
-
- B—PERFORMING OPERATIONS; TRANSPORTING
- B05—SPRAYING OR ATOMISING IN GENERAL; APPLYING FLUENT MATERIALS TO SURFACES, IN GENERAL
- B05B—SPRAYING APPARATUS; ATOMISING APPARATUS; NOZZLES
- B05B5/00—Electrostatic spraying apparatus; Spraying apparatus with means for charging the spray electrically; Apparatus for spraying liquids or other fluent materials by other electric means
- B05B5/025—Discharge apparatus, e.g. electrostatic spray guns
- B05B5/04—Discharge apparatus, e.g. electrostatic spray guns characterised by having rotary outlet or deflecting elements, i.e. spraying being also effected by centrifugal forces
- B05B5/0422—Discharge apparatus, e.g. electrostatic spray guns characterised by having rotary outlet or deflecting elements, i.e. spraying being also effected by centrifugal forces comprising means for controlling speed of rotation
-
- B—PERFORMING OPERATIONS; TRANSPORTING
- B05—SPRAYING OR ATOMISING IN GENERAL; APPLYING FLUENT MATERIALS TO SURFACES, IN GENERAL
- B05B—SPRAYING APPARATUS; ATOMISING APPARATUS; NOZZLES
- B05B5/00—Electrostatic spraying apparatus; Spraying apparatus with means for charging the spray electrically; Apparatus for spraying liquids or other fluent materials by other electric means
- B05B5/025—Discharge apparatus, e.g. electrostatic spray guns
- B05B5/053—Arrangements for supplying power, e.g. charging power
- B05B5/0533—Electrodes specially adapted therefor; Arrangements of electrodes
- B05B5/0536—Dimensional characteristics of electrodes, e.g. diameter or radius of curvature of a needle-like corona electrode
-
- B—PERFORMING OPERATIONS; TRANSPORTING
- B05—SPRAYING OR ATOMISING IN GENERAL; APPLYING FLUENT MATERIALS TO SURFACES, IN GENERAL
- B05B—SPRAYING APPARATUS; ATOMISING APPARATUS; NOZZLES
- B05B13/00—Machines or plants for applying liquids or other fluent materials to surfaces of objects or other work by spraying, not covered by groups B05B1/00 - B05B11/00
- B05B13/02—Means for supporting work; Arrangement or mounting of spray heads; Adaptation or arrangement of means for feeding work
- B05B13/04—Means for supporting work; Arrangement or mounting of spray heads; Adaptation or arrangement of means for feeding work the spray heads being moved during spraying operation
- B05B13/0447—Installation or apparatus for applying liquid or other fluent material to conveyed separate articles
- B05B13/0452—Installation or apparatus for applying liquid or other fluent material to conveyed separate articles the objects being vehicle components, e.g. vehicle bodies
-
- B—PERFORMING OPERATIONS; TRANSPORTING
- B05—SPRAYING OR ATOMISING IN GENERAL; APPLYING FLUENT MATERIALS TO SURFACES, IN GENERAL
- B05B—SPRAYING APPARATUS; ATOMISING APPARATUS; NOZZLES
- B05B16/00—Spray booths
-
- B—PERFORMING OPERATIONS; TRANSPORTING
- B05—SPRAYING OR ATOMISING IN GENERAL; APPLYING FLUENT MATERIALS TO SURFACES, IN GENERAL
- B05B—SPRAYING APPARATUS; ATOMISING APPARATUS; NOZZLES
- B05B5/00—Electrostatic spraying apparatus; Spraying apparatus with means for charging the spray electrically; Apparatus for spraying liquids or other fluent materials by other electric means
- B05B5/025—Discharge apparatus, e.g. electrostatic spray guns
- B05B5/04—Discharge apparatus, e.g. electrostatic spray guns characterised by having rotary outlet or deflecting elements, i.e. spraying being also effected by centrifugal forces
- B05B5/0426—Means for supplying shaping gas
-
- B—PERFORMING OPERATIONS; TRANSPORTING
- B05—SPRAYING OR ATOMISING IN GENERAL; APPLYING FLUENT MATERIALS TO SURFACES, IN GENERAL
- B05B—SPRAYING APPARATUS; ATOMISING APPARATUS; NOZZLES
- B05B5/00—Electrostatic spraying apparatus; Spraying apparatus with means for charging the spray electrically; Apparatus for spraying liquids or other fluent materials by other electric means
- B05B5/08—Plant for applying liquids or other fluent materials to objects
- B05B5/082—Plant for applying liquids or other fluent materials to objects characterised by means for supporting, holding or conveying the objects
- B05B5/084—Plant for applying liquids or other fluent materials to objects characterised by means for supporting, holding or conveying the objects the objects lying on, or being supported above conveying means, e.g. conveyor belts
-
- B—PERFORMING OPERATIONS; TRANSPORTING
- B05—SPRAYING OR ATOMISING IN GENERAL; APPLYING FLUENT MATERIALS TO SURFACES, IN GENERAL
- B05B—SPRAYING APPARATUS; ATOMISING APPARATUS; NOZZLES
- B05B5/00—Electrostatic spraying apparatus; Spraying apparatus with means for charging the spray electrically; Apparatus for spraying liquids or other fluent materials by other electric means
- B05B5/08—Plant for applying liquids or other fluent materials to objects
- B05B5/087—Arrangements of electrodes, e.g. of charging, shielding, collecting electrodes
Definitions
- the invention relates to the field of coating workpieces by means of electrostatically assisted atomization, in particular by means of electrostatic rotary atomization.
- electrostatic atomizers for coating workpieces such as vehicle bodies, for example, electrostatic atomizers, in particular electrostatic rotary atomizers, with so-called external charging can be used, in which a spray jet is exposed to an electrostatic field generated by external electrodes.
- the paint droplets are charged by ion accumulation and transported to the grounded workpiece, for example, as described in the publications DE 10202711 A1 and EP 1 362 640 B1 is described.
- a disadvantage of the known external charging concepts is that the external electrodes required to generate the electrostatic field are used to coat narrow surfaces and narrow spaces such as B. in the interior of workpieces or in the interior of a vehicle door or in the entry areas of the vehicle body, or the coating of closely related items on a goods carrier, especially attachments with little distance, such as bumpers, complicate due to their size.
- the invention is based on the knowledge that an efficient external charging concept that enables both the internal / detailed coating (i.e. an internal coating and / or detailed coating) and the external coating of workpieces can be realized by an electrode arrangement with, for example, an electrode ring.
- the electrodes of the electrode arrangement are provided for generating an electrostatic field, which contributes to the generation of discharge currents flowing at least over a housing surface.
- Preferred is one in the direction of the axis of symmetry, i.e.
- a discharge current component of a discharge current that specifically influences the dielectric in particular damped.
- both directions of the respective axis can be taken into account.
- the invention enables in particular a minimization or avoidance of undesired or parasitic discharges, as a result of which an increased charging of the coating agent or the spray jet can advantageously be achieved.
- the dimensions of the electrostatic atomizers can be reduced, which simplifies the accessibility of interior parts of the body that are difficult to access.
- the electrodes can be arranged in such a way that the same electrostatic atomizer can be used both for the interior coating and for the exterior coating.
- an electrode arrangement that is to be used in each case and that can be modularly connected to the electrostatic atomizer can be adapted to the respective purpose, so that, for example, an electrode arrangement with smaller dimensions and for the interior painting the outer coating an electrode arrangement with larger dimensions can be used.
- telescopically displaceable electrodes can be provided, which can be pushed out for the exterior painting, for example by means of compressed air.
- the electrode arrangement can have electrodes with different lengths and / or inclination angles with respect to the axis of symmetry.
- the invention relates to an arrangement for one or more electrodes or an electrode arrangement for an electrostatic atomizer, for example for an electrostatic rotary atomizer, with an electrode holder device for holding at least one electrode generating an electrostatic field around an axis of symmetry, it being possible, for example, to provide a dielectric material, preferably for influencing a discharge current component of a discharge current extending in the direction of the axis of symmetry.
- the electrode arrangement is provided for the external charging of coating agents and is particularly suitable for the external charging of coating agents in the interior / detail coating and / or the exterior coating.
- the electrode arrangement can have one or more electrodes or be designed to receive one or more electrodes.
- the electrode arrangement and / or the electrode holder device and / or the dielectric material preferably has a central axis.
- the axis of symmetry preferably corresponds to the central axis of the electrode arrangement and / or the electrode holding device and / or the dielectric material.
- the axis of symmetry can be, for example, an axis of symmetry, in particular an axis of rotation, of the electrode holder device, which can be designed, for example, in a rotationally symmetrical, in particular annular, manner.
- the axis of symmetry can be an axis of symmetry of, for example, a rotationally symmetrical electrostatic field.
- the axis of symmetry can be defined by a spray direction of a jet sprayed by a spray element, or by an axis of a turbine shaft which drives the spray element, for example a bell cup.
- the aforementioned axes of symmetry can also coincide to form a common axis of symmetry, in particular in the case of rotary atomizers.
- the discharge current component extending towards the axis of symmetry can, in particular, extend at an arbitrary angle to the axis of symmetry and, for example, directly in the direction of the axis of symmetry, for example perpendicularly thereto, or at an angle which is less than 90 °, or along a housing surface or along one spread or extend the electric field lines of a predetermined path or in any way towards the axis of symmetry.
- the dielectric material can be, for example, an insulating material with a dielectric constant which differs from or exceeds that of the air.
- the dielectric material is preferably provided to influence the discharge current component extending in the direction of the axis of symmetry, and is arranged in particular in order to isolate the grounded or low-potential components (for example spray element (bell cup), drive turbine, bearing device, hand axis, etc.) , whereby the current flow can be specifically changed and / or minimized and / or interrupted.
- the current flow is changed or prevented by the insulation of, for example, earthed components, which also reduces wear, but has a positive influence on the current flow through the atomized paint.
- the dielectric material for example, a propagation path of the discharge current is extended towards the axis of symmetry, which causes an extension of a discharge path, so that the electrode arrangement can also be used for interior painting.
- the dielectric material is provided on the at least one electrode in such a way that, when the atomizer is in operation, insulation to the rear (for example in the direction of the hand axis or on the hand axis side or in the direction facing away from the spray element or towards the side facing away from the spray element) and / or to the (radially) inside (e.g. in the direction of the drive turbine or other internal atomizing technology) and / or to the front (e.g.
- the concept according to the invention is also particularly advantageously suitable for use in a painting booth, for example in a universal booth or in a painting box.
- the concept of the invention can be used in a box concept which is described in the publication WO 2007/131660 A1 , is described.
- the dielectric material is arranged or designed asymmetrically, for example, with respect to an electrode that can be held or held by the electrode holding device, so that the discharge current component extending in the direction of the axis of symmetry can be influenced in a targeted manner.
- the dielectric material can, for example, be arched toward the axis of symmetry, which advantageously effects a direction-dependent influencing of the discharge current component.
- the electrode arrangement comprises at least one electrode, which can be coupled in particular mechanically and / or electrically to the electrode holder device for generating the electrostatic field.
- the at least one electrode can be at least partially or completely embedded or housed or inserted into the electrode holder device or up to an electrode end, which can be between approximately 1 mm to 5 mm long, or completely or largely.
- the at least one electrode can furthermore be completely or almost completely recessed in the electrode holder device or in at least one electrode receiving space.
- the dielectric material can, for example, be an integral part of the electrode holding device, which can or consist of a dielectric material.
- At least one electrode and / or at least one electrode receiving space is preferably accommodated in the electrode holder device.
- resistors with a length of approximately 30 mm or between approximately 30 mm to 100 mm and / or a diameter of approximately 8 mm or between approximately 6 mm can be provided in the electrode holder device or in an insulating material of the electrode holder device or in the dielectric material and 12 mm are embedded in an insulating medium. Voltage flashovers can thereby be prevented in an advantageous manner.
- a resistor or a plurality of resistors can be provided.
- the resistance can e.g. be a resistance element which is made of partially conductive plastic or a semiconductor, which preferably permanently provides essentially the same resistance value as a commercially available thick-film resistor.
- the electrode arrangement can have one or a plurality of preferably cylindrical or sleeve-shaped resistance receiving means for receiving at least one resistor.
- the at least one resistance receiving means can be provided with an insulating medium, e.g. be coated or filled.
- the at least one resistor can be coated or encased by an insulating medium or embedded in an insulating medium.
- the resistance receiving means in particular its receiving space, can be made with a closing means, preferably made of plastic, e.g. a cap, can be designed to be closable, which can prevent e.g. liquid insulation medium emerges.
- the at least one resistor and / or the at least one resistor receiving means can be arranged essentially parallel to the axis of symmetry.
- the isolating medium or isolating fluid can be, for example, lipids (oils, fats, etc.).
- the insulating medium can be gaseous (eg SF 6 ), solid, liquid or fluid. It is also possible to use potting compound or suitable adhesives as the insulating medium.
- the insulation medium should have very good insulation properties. It is also possible to arrange or embed the parts to be insulated (for example the electrodes, the resistors, etc.) directly in insulating or dielectric material.
- the electrode holder device preferably comprises at least one, for example cylindrical or sleeve-shaped, receiving space for receiving an electrode.
- the electrode arrangement preferably comprises at least one electrode and / or at least one electrode receiving space, which is arranged at an angle with respect to the axis of symmetry and / or extends obliquely outwards and / or forward.
- the electrode and / or the electrode receiving space are thus preferably arranged non-parallel to the axis of symmetry.
- the electrode arrangement comprises at least one electrode (or at least one electrode receiving space), which can be coupled mechanically and / or electrically to the electrode holder device for generating the electrostatic field, for example, an angle between the at least one electrode and the axis of symmetry being greater than 0 ° and not larger, preferably smaller than 90 ° or 180 °, for example larger than approximately 40 °, 45 ° or 50 ° and / or smaller than approximately 60 °, 65 ° or 70 °, in particular approximately 55 °. It is also possible that the angle has negative values down to approximately -90 °.
- the electrodes or the electrode receiving spaces can thus in particular be arranged obliquely or at an angle to the axis of symmetry, for example extending forward and / or outward, but also extending forward and / or inward. Even an outward and / or rearward extension is possible.
- the electrodes or electrode receiving spaces can be arranged essentially parallel or non-parallel or skewed to the axis of symmetry. In the arrangement that is not parallel to the axis of symmetry, angles between 0 ° and +/- 180 ° are possible.
- the axis of symmetry and at least one electrode receiving space and / or at least one electrode may extend in a fictitious common plane.
- the electrode arrangement comprises at least one electrode which can be mechanically and / or electrically coupled to the electrode holder device for generating the electrostatic field, the dielectric material being arranged, for example, between the at least one electrode and the axis of symmetry, or enclosing the at least one electrode asymmetrically or does not enclose or only partially encloses.
- the dielectric material can be shaped, for example, in the form of a dielectric bead or a dielectric projection, in particular a collar-shaped projection.
- the discharge current component of the discharge current pointing towards the axis of symmetry is advantageously influenced by extending a propagation path towards the axis of symmetry along the dielectric and / or (during operation of the atomizer) insulation to the rear (for example on the hand axis side or in the direction of the hand axis or into the relative to the spray element facing away).
- the dielectric material in particular the dielectric bead or the dielectric projection, to project outward and / or forward, for example obliquely or curved, for example to expand conically and / or to be arranged coaxially with the axis of symmetry, in particular in a ring around the axis of symmetry extend.
- the dielectric or insulating material can be provided essentially in a ring shape with or without interruptions. It is also possible for the at least one electrode to extend into the bulge or the projection and even protrude from the bulge or the projection.
- the dielectric material is provided to influence or not to influence or not to influence or to dampen or to dampen a further discharge current component which is directed opposite to the aforementioned discharge current component less than the discharge current component which points in the direction of or towards the axis of symmetry to dampen.
- a current discharge path is advantageously extended towards the axis of symmetry, so that the electrode arrangement as a whole can have more compact dimensions, which are advantageous for the inner coating.
- the electrode holder device is shaped, for example, in a ring around the axis of symmetry, so that the axis of symmetry coincides with an axis of rotation of the electrode holder device.
- the axis of symmetry can be the axis about which the electrostatic field can be generated, which can be generated by a plurality of electrodes arranged around the axis of symmetry and electrically and / or mechanically coupled to the electrode holder device, e.g. can extend coronary.
- the electrostatic field can be extended in the direction of the axis of symmetry.
- both axes of symmetry preferably coincide, so that the dielectric material can only be shaped with respect to one axis of symmetry. If the symmetry axes mentioned above do not coincide, the dielectric material can be provided to take only one of the symmetry axes into account. Furthermore, the dielectric material can be arranged with respect to both axes of symmetry as described above.
- the axis of symmetry preferably coincides with the central axis of a spraying element and / or a central axis of the atomizer (e.g. a central axis of an atomizer housing element or a housing element) and / or an axis of rotation of the atomizer (coaxial).
- the previous central axes preferably merge or intersect.
- an inner circumference of the electrode arrangement is in contact with an outer circumference of a housing element of the atomizer in order to ensure a compact atomizer structure.
- the electrode arrangement and / or the electrode holder device and / or the dielectric material can preferably be fastened on the end face, in particular on an end face of the atomizer (preferably an atomizer housing element), preferably in an annular contact and / or thread-like or other fastening.
- the atomizer preferably an atomizer housing element
- the electrode arrangement comprises a plurality of electrode receiving spaces and / or a plurality of electrodes, which are arranged around the axis of symmetry and are in particular electrically and / or mechanically coupled to the electrode holder device, the ends of the plurality of electrodes facing away from the electrode holder device being along one Circular path are arranged.
- a ratio of a radius of the circular path to a radius of a cross section of a spray element of the electrostatic atomizer, in particular a bell cup of a rotary atomizer, or to a radius of a cross section of the electrode holder device is preferably predetermined.
- the ratio within a tolerance range for example ⁇ ⁇ / 4, is equal to n.
- the ratio can be within a ratio range, in particular ⁇ 1% or ⁇ 2%, between 2 and 4 or between 2.5 and 3.5 or between 3 and 3.2 are.
- a ratio of a product of a radius of the circular path and a distance of the circular path to a spray element of the electrostatic atomizer, for example to a bell plate or to a bell plate edge, to a squared diameter of this spray element can be in a range between 2 n and 4 n , This design rule defines an advantageous distance between the electrode ends with respect to the spray element.
- the electrode arrangement comprises at least one electrode which is mechanically and / or electrically coupled to the electrode holder device for generating the electrostatic field.
- the at least one electrode preferably comprises a variable electrode length or at least one movable electrode section, which can be telescopically pushed onto or inserted into a further electrode section.
- the changeable electrode length can be set, for example, by means of compressed air, so that, for example, a ring electrode arrangement can advantageously be adapted for the exterior and interior painting.
- the electrode arrangement comprises at least one electrode which is electrically and / or mechanically coupled to the electrode holder device for generating the electrostatic field.
- the at least one electrode is preferably coated with a dielectric material, symmetrical or asymmetrical, which can be, for example, polytetrafluoroethylene.
- the electrode fingers are advantageously insulated.
- the electrode arrangement comprises a thread, which can preferably be provided coaxially to the central axis and / or axis of symmetry.
- the thread can be provided with an insulating medium (for example insulating grease such as petroleum jelly), which improves the insulation, which contributes to directional absorption or removal or prevention or minimization of the discharge current.
- the thread can also be provided, with the electrode holder device to connect a housing of an electrostatic atomizer preferably detachably by means of a thread engagement.
- the thread can also be formed from an insulating or dielectric material, as a result of which the insulation properties can be further improved.
- the thread can be tapered to create a self-locking.
- the thread is preferably arranged coaxially to the axis of symmetry. It is possible for the thread to extend around the electrode arrangement and / or the electrode holding device and / or the axis of symmetry.
- the thread may or may be provided with an insulating medium, preferably to prevent or minimize a discharge current or a discharge current component.
- the thread can be provided in order to achieve a preferably enlarged discharge path and / or a labyrinth for discharge current (for example from a part that is at high voltage, such as an electrode tip, to a part that is at a lower voltage or to a grounded part, such as a bell plate or one Drive turbine), and in particular to ensure internal and / or rearward isolation or to reduce or avoid undesired discharges.
- the electrode holder device comprises a first electrical connection or a connection ring for contacting at least one electrode.
- the first electrical connection can furthermore have a resistor or have a resistor in order to bring about an electrical resistance adaptation of the electrode.
- the first electrical connection can also be provided to contact a plurality of electrodes, wherein one or more resistors can be provided for this.
- the electrode arrangement or the electrode holding device comprises a corresponding second electrical connection or a connection ring for contacting the first electrical connection, the second electrical connection being guided to the outside or accessible from the outside.
- the electrode arrangement and / or the electrode holding device and / or the dielectric material is preferably shaped essentially in a ring shape around the axis of symmetry or is arranged coaxially to the axis of symmetry.
- the electrode arrangement and / or the electrode holding device and / or the dielectric material and / or the first and / or second diaphragm mentioned below can define a central opening for receiving a part of the atomizer (for example a housing element of the atomizer, which is a storage unit or a drive turbine, for example) houses) and / or for the passage of a coating agent or other internal atomizing technology (e.g. paint / air supply, etc.).
- a coating agent or other internal atomizing technology e.g. paint / air supply, etc.
- One or more electrode receiving spaces are preferably connected to one or more resistance receiving means.
- one or more electrodes can be connected to one or more resistors.
- the one or more resistors can be provided in order to be connected to a charging part, preferably a charging ring, provided in an atomizer housing element.
- one or more electrode receiving spaces and / or electrodes and / or resistance receiving means and / or resistors can be arranged spaced apart from the central axis and / or the axis of symmetry.
- a plurality of electrode receiving spaces and / or electrodes and / or resistance receiving means and / or resistors around the central axis and / or the axis of symmetry are preferably provided, preferably evenly spaced apart from one another in the circumferential direction.
- the electrode arrangement and / or the electrode holding device can comprise a first diaphragm and / or a second diaphragm.
- the first diaphragm and / or the second diaphragm can be provided essentially in the form of a ring.
- the first diaphragm and / or the second diaphragm is preferably arranged essentially coaxially and / or parallel to the axis of symmetry.
- the first diaphragm preferably has a larger diameter than the second diaphragm. It is possible for the at least one resistance receiving means and / or the at least one resistance to be arranged between the first diaphragm and the second diaphragm.
- the screen can preferably have the thread.
- the thread is preferably provided on the outer circumference of the first screen.
- the second diaphragm is preferably made thicker or thicker than the first diaphragm.
- the first and / or second diaphragm is preferably made of dielectric or insulating material.
- the first and / or second diaphragm can be provided to form a sandwich-like arrangement, in particular with an atomizer housing element, which is provided with at least one corresponding diaphragm.
- the electrode arrangement, the electrode holding device and / or the dielectric material can comprise a substantially circular section and / or at least one section that widens and / or protrudes (preferably obliquely, curved or otherwise outwards and / or forwards, in particular essentially conically) ,
- the at least one widening section is preferably provided as the electrode holder device, in which at least one electrode and / or at least one electrode receiving space are preferably accommodated.
- the electrode arrangement can consist of the annular section and the widening section.
- the widening section can preferably have an essentially conical shape (for example with a rectilinearly shaped surface line or a curved surface line), funnel-shaped, plate-edge-shaped or rotational hyperboloid (ring) -shaped.
- a single widening section is preferably provided, which is shaped in a ring around the axis of symmetry and / or is arranged coaxially to the axis of symmetry.
- the widening section can have a multiplicity of Has interruptions and thus consequently comprises several sections or consists of several sections which, for example, can also protrude outwards and / or forwards, in particular can be evenly spaced from one another in the circumferential direction and moreover are oriented essentially parallel or not parallel or skewed to the axis of symmetry could be.
- the widening section can extend from the substantially circular section.
- the widening section (relative to the annular section and / or relative to the atomizer) preferably projects outward (radially) and / or forward (axially) and / or widens.
- the essentially circular section preferably comprises the thread and / or at least one resistor and / or at least one resistor receiving space and / or the first and / or the second diaphragm, the widening section preferably comprising one or more electrodes and / or one or takes up several electrode receiving spaces.
- the widening section preferably protrudes in particular obliquely forward (in the direction of the spraying element or to the side of the spraying element) and (radially) outwards, the annular section, at least in sections, preferably essentially completely, by a Atomizer housing element is covered.
- the widening section and / or one or more of the parts encompassed by the annular section can preferably be formed from dielectric or insulating material.
- the at least one widening section corresponds to the electrode holder device.
- the invention relates to an atomizer housing element, in particular for holding an electrode arrangement, as described for example above, for an electrostatic atomizer, in particular for a rotary atomizer, which has an atomizer housing with a housing element with a first diameter for directly or indirectly holding a steering air ring and / or for receiving or covering a bearing device for a spray element, in particular for a bell plate.
- the bearing device can, for example, comprise or be a turbine or a turbine shaft for driving the spraying element.
- the turbine or the turbine shaft can be held indirectly or directly by the housing element, for example.
- the housing element essentially serves to cover the turbine and / or the turbine shaft, which can be held, for example, by means of a flange on the hand axis side.
- the atomizer housing element can, for example, be directly upstream of the housing element and / or be connectable to the housing element.
- the atomizer housing element is preferably provided as a tube, which can be straight or angled.
- the housing element of the atomizer housing of the atomizer is not a feature of the atomizer housing element.
- the atomizer housing element can take over the function of the housing element or form an integral or one-piece unit with it.
- the atomizer housing element preferably comprises a second diameter, which differs from the first diameter, a difference in diameter between the first diameter and the second diameter defining an electrode holding area for holding the electrode arrangement.
- the electrode holder area can be formed, for example, by a circumferential surface, the width of which is determined by the difference in diameter. This surface can, for example, be arranged perpendicular to a surface, in particular to an outer surface, of the atomizer housing element, so that the electrode holder area is defined by a direct, abrupt transition, which is determined by the difference in diameter.
- the electrode holder area can be formed by a steady or inclined transition, which does not extend perpendicularly, but rather at a flatter angle with respect to the outer surface of the atomizer housing element.
- the electrode holder area can also be formed by the difference in diameter at a boundary between the atomizer housing element and the housing element.
- the atomizer housing element can comprise a first thread and / or a second thread at a first (axial) end of the atomizer housing element. Furthermore, a third thread can be provided on a second (axial) end of the atomizer housing element.
- the first thread is preferably provided for connecting the atomizer housing element to the electrode arrangement, the second thread for connecting the atomizer housing element to the housing element and the third thread for connecting the atomizer housing element to an insulating sleeve.
- the electrode holder area can extend between a surface of the atomizer housing element and the second thread.
- the atomizer housing element which can be provided, for example, for the isolated housing of at least one valve of an atomizer, comprises a connection area, which can for example comprise the first and / or second thread, for connecting the atomizer housing element to the housing element and / or the electrode arrangement, wherein the electrode holder region extends between a surface, in particular an outer surface, of the atomizer housing element and the connection region.
- the electrode holder area is thus formed by a section of the atomizer housing element, which is determined by the difference in diameter and is not covered by the housing element when connected to it.
- the thread or threads of the connection area can also be a further extension of a Effect discharge path and be provided with insulating medium (eg insulating grease, preferably petroleum jelly).
- the second diameter is preferably larger than the first diameter, so that the electrode holder area or its normal points, for example, in a spraying direction.
- the second diameter can be smaller than the first diameter, which enables the electrodes to be arranged or aligned directly on a surface of the atomizer housing.
- the difference in diameter defines an area, at least partially pointing in the direction of spraying, or an at least partially pointing in the direction of spraying, in particular circumferentially, for holding the electrode arrangement.
- the nebulizer housing member may include a central axis that extends through the nebulizer housing member.
- the axis of symmetry of the electrode arrangement and the central axis of the atomizer housing element can coincide (coaxial).
- the axis of symmetry and the central axis preferably merge or intersect at least.
- the atomizer housing element can comprise a first diaphragm and / or a second diaphragm, which are preferably provided essentially in a ring shape and in particular can be arranged coaxially and / or extending parallel to the central axis.
- the first diaphragm preferably has a larger diameter than the second diaphragm. It is possible that at least one receiving space for a resistance receiving means and / or a resistor is formed between the first diaphragm and the second diaphragm.
- the second aperture can be made stronger than the first aperture.
- the first diaphragm and / or the second diaphragm is provided in order to achieve internal insulation and / or a labyrinth or to reduce or avoid undesired discharges.
- the screens can be provided to form a sandwich-like arrangement, in particular with the electrode arrangement, which is provided with at least one matching screen.
- the first and / or second diaphragm is preferably made of dielectric or insulating material.
- the atomizer housing element is straight or, for example, angled in an angular range by approximately 60 °, which is advantageous for an inner coating.
- the nebulizer housing member is angled less than about 70 ° or 65 ° and / or more than about 50 ° or 55 °.
- the atomizer housing element can furthermore comprise at least one detachable insulating sleeve or an extension section which is formed in one piece or uniformly with the atomizer housing element in order to include a receiving device (for example a bore) for a fastening means (for example a central clamping pin) for assembling or disassembling an atomizer and / or a robot - Cover the hand axis with insulation.
- the electrode holder area comprises at least one electrical connection or a charging ring for electrically contacting at least one electrical connection of the electrode arrangement. This advantageously ensures electrode excitation or electrode contact via the atomizer housing element.
- the first thread and / or the second thread and / or the third thread can be arranged coaxially to the central axis of the atomizer housing element, preferably extend around the atomizer housing element and / or the central axis thereof, and in particular can be provided or provided with insulating medium, thereby preventing them or minimization of a discharge current or a discharge current component can be achieved.
- Previous threads can also be tapered to produce self-locking.
- first, the second and / or the third thread can generate an enlarged or lengthened discharge path and / or a labyrinth for discharge current, in particular in order to ensure insulation to the inside and / or to the rear or to reduce or reduce undesired discharges avoid, which can advantageously increase the charge of the coating agent.
- the invention relates to an atomizer housing for an electrostatic atomizer, in particular for a rotary atomizer, with a housing element with a first diameter, the housing element being suitable for receiving or covering a drive turbine and / or a bearing device for a spray element, in particular for a bell cup or is provided, and preferably the atomizer housing element for holding the electrode arrangement.
- the atomizer housing can consist of only the housing element; in another preferred embodiment, it can also comprise in particular the atomizer housing element.
- the housing element is preferably provided as a tube, which can be designed in particular in a straight line. It is possible for a central axis to extend through the housing element or the atomizer housing.
- the housing element can comprise a first thread at a first (axial) end and / or a second thread at a second (axial) end.
- the first thread can be provided for connection to the atomizer housing element, and the second thread can be provided for connection to an atomizer part having a steering air ring. It is also possible for the housing element and the atomizer part having the steering air ring (integral) to be provided in one piece or for the steering air ring to be incorporated into the housing element.
- the diameter of the first thread larger than the diameter of the second thread.
- the first thread and / or the second thread is arranged coaxially to the central axis of the housing element.
- the first thread and / or the second thread of the housing element can extend around the housing element and / or the central axis of the housing element, and can preferably be provided or provided with insulating medium. Similar to the threads already mentioned, the first thread and / or the second thread of the housing element is provided in particular for preventing or minimizing a discharge current or a discharge current component, can be conical in order to produce a self-locking, and can be provided in order to preferably to achieve increased discharge distance and / or a labyrinth for discharge current. In particular, insulation to the front and / or inside during operation of the atomizer is to be ensured or undesired discharges are to be reduced or avoided, as a result of which the charging of the coating agent can advantageously be increased.
- the electrode holder region is formed between an outer surface of the atomizer housing element and an outer surface of the housing element.
- the electrode holder area thus extends between the outer surfaces of the atomizer housing element and the housing element and is determined by the difference in diameter.
- the atomizer housing element is detachable from the housing element, for example connectable or connected by means of a threaded connection, and is arranged upstream of the atomizer housing element with respect to an arrangement of the spraying element or with respect to a spraying direction.
- the atomizer housing or the atomizer housing element comprises an insulating cover or dielectric insulating sleeve for covering a wall on the hand axis side or for covering a (robot) hand axis, which can be grounded and / or which can house, for example, a valve arrangement or supply hoses of an atomizer.
- the dielectric sleeve consists, for example, of a dielectric material, in particular of polytetrafluoroethylene, and can, for example, be connected to the atomizer housing or the atomizer housing element by means of a thread engagement or in particular form an (integral or) one-piece or one-piece unit with the atomizer housing element and e.g. can be clamped on the atomizer side via a circumferential collar.
- the invention also relates to an insulating sleeve per se.
- the insulating sleeve is provided for the insulation of built-in components such as paint / air feeds or atomizer housing elements or for the insulation of a wall on the hand axis side or a hand axis of the robot.
- the insulating sleeve can have a connection area for releasable connection, in particular by means of a threaded connection or a snap connection, to the atomizer housing element.
- the insulating sleeve is preferably formed from an insulating material, in particular from polytetrafluoroethylene.
- the insulating sleeve can comprise a first thread at a first (axial) end and / or a second thread at a second (axial) end.
- the insulating sleeve is preferably provided in a cylindrical manner, which can be formed in particular in a straight line.
- the insulating sleeve can preferably be detachably connected to a further insulating sleeve (“extension insulating sleeve”) in order to advantageously further increase the insulating effect in the direction of the hand axis or to the rear and / or to shield grounded components located under the at least one insulating sleeve.
- a single, correspondingly long insulating sleeve or the further insulating sleeve can be a receiving device (for example a bore) for a fastening means (for example a central clamping pin) with which the (preferably complete) atomizer can be dismantled in a simple manner, and / or cover a robotic hand axis isolating.
- a receiving device for example a bore
- a fastening means for example a central clamping pin
- the further insulating sleeve can be screwed onto the second thread of the insulating sleeve (on the hand axis side).
- the first thread is preferably provided for connection to the atomizer housing element.
- the insulating sleeve is preferably formed from an insulating material, in particular from polytetrafluoroethylene, but can differ in color from other insulating components by, for example, admixing MoS 2 .
- a central axis preferably extends through the at least one insulating sleeve.
- the diameter of the first thread can be essentially the same size as the diameter of the second thread.
- the first thread and / or the second thread can be arranged coaxially to the central axis of the insulating sleeve.
- first thread and / or the second thread can extend around the insulating sleeve and / or its central axis.
- first thread and / or the second thread of the insulating sleeve is provided in particular for preventing or minimizing a discharge current or a discharge current component, can be conical in order to produce a self-locking effect, and can be provided for preferably one to achieve increased discharge distance and / or a labyrinth for discharge current.
- insulation to the rear of the atomizer during operation is to be ensured or undesirable Discharges are reduced or avoided, which can advantageously increase the charge of the coating agent.
- the insulating sleeve has a length in a range between approximately 100 mm and 200 mm or approximately 140 mm or 160 mm.
- the insulating sleeve is preferably approximately 150 mm long.
- the surface of the insulating sleeve for enlarging the surface is not flat, but is, for example, wavy or structured or is provided with elevations and depressions, so that the surface of the insulating sleeve e.g. can resemble a golf ball surface with dimpled depressions.
- the surface of the atomizer housing element, the housing element or the electrode arrangement can likewise have such a surface configuration in order to enlarge the discharge path or creepage distance, as a result of which a greater resistance to the current can be achieved.
- the insulating sleeve can also be connectable to the atomizer housing element described above, for example by means of the first thread, which can be provided with an insulating medium (e.g. insulating grease, for example petroleum jelly).
- an insulating medium e.g. insulating grease, for example petroleum jelly.
- the invention relates to an electrostatic atomizer, in particular a rotary atomizer, preferably with the atomizer housing according to the invention, the electrode arrangement according to the invention and / or the at least one insulating sleeve according to the invention, as described above.
- the atomizer is advantageously suitable for external charging for one or for an outer coating and for one or for an inner coating and / or detailed coating.
- the atomizer is particularly suitable for interior / detail coating without electrical isolation.
- the electrostatic atomizer comprises a spray element, for example a bell cup, which can be held by a storage device.
- the bearing device can be, for example, a turbine or a turbine shaft, which is held or covered by the housing element.
- the housing element can also be provided for holding the steering air ring.
- the electrostatic atomizer further comprises at least one electrode which is held by the electrode arrangement.
- the electrostatic atomizer can preferably be held by means of a connecting element on the hand axis side, which can be covered, for example, with one or the above-mentioned insulating sleeve, for example a flange, for example on a robot arm, with a ratio of a distance between an electrode end of the at least one electrode, which is connected to the electrode arrangement can be mechanically and / or electrically coupled, to the spraying element, in particular to an edge of the spraying element, for example to a bell plate edge, to the hand axis-side, for example grounded, connecting element or to a plastic hand axis or to a housed hand axis in a range between 1.5 and 2 or 2 and 2.5 lies.
- a connecting element on the hand axis side which can be covered, for example, with one or the above-mentioned insulating sleeve, for example a flange, for example on a robot arm, with a ratio of a distance between an electrode end of the at least one
- a distance between an electrode end of the at least one electrode to the spray element, in particular to a spray element edge, for example a bell plate edge can be in a range between 80 mm and 200 mm and in particular be approximately 118 mm (preferably greater than or equal to approximately 80 mm, 120 mm, 160 mm , 200mm or 240mm and / or smaller about 100mm, 140mm, 180mm, 220mm or 260mm).
- a distance between the at least one electrode or its end to the first grounded hand axis element or to a connecting element, for example a grounded connecting flange, of the electrostatic atomizer can be in a range between approximately 120 mm and 625 mm or approximately 195 mm or 240 mm (with "Extension of insulating sleeve"). These dimensions ensure that the electrostatic atomizer is particularly suitable for interior painting and has good electrical insulation properties.
- the atomizing part having the steering air ring can partially or substantially completely and / or completely shield and / or shield the outer surface of the spray element facing away from the component to be coated from a discharge current component or discharge current and expose the spray element in such a way that a discharge, in particular can ignite a corona discharge, preferably at the edge of the bell plate.
- the spray element in particular the outer surface of the spray element facing away from the component to be coated, can also be arranged essentially exposed, whereby a free air gap between the at least one electrode and the spray element, in particular the outer surface of the spray element facing away from the component to be coated, is achieved.
- the spraying element e.g.
- a bell plate preferably does not protrude from the atomizer part having the steering air ring and / or the housing element, in this embodiment the front edge of the atomizing part having the steering air ring defining the front end of the atomizer. It is preferred that the spraying element is partially or completely accommodated in the atomizing part having the steering air ring and / or the housing element, for example by partially or completely enclosing the outer periphery of the spraying element by the atomizing part having the steering air ring and / or the housing element.
- the electrostatic atomizer comprises the insulating sleeve (s) described above, which covers a wall of the electrostatic atomizer or its housing.
- the electrostatic atomizer comprises the above-mentioned at least one insulating sleeve, wherein the electrostatic atomizer can furthermore have a steering air ring, the electrode arrangement has at least one electrode, and wherein the electrode arrangement and / or the housing element are formed from dielectric material for influencing a current component extending in the direction of the axis of symmetry and / or in the direction of the spraying element for charging an atomizable lacquer or atomized lacquer and / or the discharge current component.
- the electrode arrangement and / or the housing element and / or the insulating sleeve and / or the steering air ring are each coated or by means of a thread, in particular one with insulating medium or insulating fluid (for example insulating grease such as petroleum jelly) surrounding thread, can be held, and / or wherein the thread (on the electrode arrangement) has at least one screen, in particular a screen coated with insulating medium, the thread and / or the at least one screen being provided, an extension, in particular through a labyrinth, to cause a discharge current path.
- insulating medium or insulating fluid for example insulating grease such as petroleum jelly
- the at least one insulating sleeve and / or the steering air ring (or the atomizing part having the steering air ring) and / or the electrode arrangement and / or the housing element and / or the atomizing housing element and / or a spraying element, in particular a bell plate are modularly interchangeable and preferably adaptable or adapted to a respective application scenario which comprises an inner coating and an outer coating.
- the steering air ring (or the atomizing part having the steering air ring), the electrode holder (or electrode arrangement) and the spraying element, in particular a bell cup, are preferably modularly interchangeable.
- the invention relates to an operating method, preferably an electrostatically assisted atomization method, preferably with external charging of the coating agent and in particular for the external charging of the coating agent in the interior / detail coating, in which a spray jet is atomized by means of electrostatic atomization, in particular rotary atomization. with the steps of generating an electrostatic field for electrostatically charging the spray jet about an axis of symmetry, preferably about one of the aforementioned axes of symmetry, and for example electrically influencing a discharge current component of the discharge current, which can preferably extend in the direction of the axis of symmetry, by means of a dielectric material.
- the operating method can include carrying out an external charging of a coating agent in the interior / detail coating and preferably in the exterior coating.
- An interior / detail coating can advantageously be carried out without electrical isolation.
- the same atomizer and / or the same external charging system can advantageously be used to carry out an interior / detail coating and an exterior coating with preferably low-resistance paints (e.g. solvent-based paints) and / or water-based paints.
- the same atomizer and / or the same external charging system can advantageously be used for external charging of the coating agent in the internal / detailed coating and the external coating. For example, an inner coating can be carried out first and then an outer coating (or vice versa).
- the operating method preferably also includes external charging of a water-based lacquer or of a solvent lacquer in the interior painting and / or the detailed painting.
- the discharge current component of the discharge current opposite the discharge current component is less or not influenced, in particular less or not attenuated.
- the electrostatic field is generated by one or more electrodes arranged around the axis of symmetry.
- the operating method can be carried out with a painting distance between the front edge of the atomizer (e.g. the front edge of the spraying element or the front edge of the atomizer part having the steering air ring) and the component to be coated, which is greater than or equal to approximately 5 mm, 10 mm, 50 mm, 100 mm, 150 mm or 200 mm is; and / or is less than about 7.5mm, 25mm, 75mm, 125mm, 175mm or 225mm.
- a painting distance between the front edge of the atomizer e.g. the front edge of the spraying element or the front edge of the atomizer part having the steering air ring
- a painting distance between the front edge of the atomizer e.g. the front edge of the spraying element or the front edge of the atomizer part having the steering air ring
- a painting distance between the front edge of the atomizer e.g. the front edge of the spraying element or the front edge of the atomizer part having the steering air ring
- the invention further relates to a method for producing the electrode arrangement described above, comprising the steps of forming an electrode holder device for holding electrodes around an axis of symmetry and forming a dielectric material for influencing a discharge current component of the discharge current which extends in the direction of the axis of symmetry.
- the invention relates to a method for producing an atomizer housing as described above for holding an electrode holder as described above for an electrostatic atomizer, in particular for a rotary atomizer, with the step of forming the atomizer housing element with the second diameter, around an electrode holder region for holding the Determine electrode arrangement by a difference in diameter between the first diameter and the second diameter.
- the invention relates to a method for producing an atomizer housing as described above, comprising the steps of forming the housing element, which is used to receive or cover a bearing device, for example a turbine and / or a turbine shaft, for a spray element, in particular for a bell cup, and / or is suitable or provided for holding a steering air ring, with the first diameter, and the formation of the atomizer housing element.
- a bearing device for example a turbine and / or a turbine shaft
- a spray element in particular for a bell cup
- / or is suitable or provided for holding a steering air ring with the first diameter
- the invention further relates to a method for producing an electrostatic atomizer as described above, comprising the steps of forming the atomizer housing, forming the electrode arrangement and bringing the atomizer housing and the electrode arrangement together in order to obtain the electrostatic atomizer.
- the step of merging can include, for example, the step of connecting, for example by means of a thread engagement.
- the method comprises the step of forming the insulating sleeve, in particular for insulation on the hand axis side or influencing a discharge current component on the hand axis side.
- the invention further relates to a method for producing an insulating sleeve as described above, the connection region being formed with a thread to create a discharge gap.
- the invention relates to a use of the electrostatic atomizer described above for the interior / detail coating, in particular the interior / detail painting, of vehicle bodies (e.g. door entrances, windows, etc.) or preferably small parts or attachments or bumpers or bumpers made of plastic Bumpers, in particular bumper elements or bumpers or bumper strips.
- the invention relates to the use of an electrostatic rotary atomizer (preferably as described above) and / or an electrode arrangement (preferably as described above) for externally charging a coating agent in the interior / detail coating and preferably also in the exterior coating.
- the parts according to the invention are intended for external charging of the coating agent (for the inner / detailed coating and / or the outer coating).
- the parts according to the invention e.g. the electrode arrangement, the atomizer, the operating method, etc.
- the parts according to the invention are particularly suitable for the external coating of e.g. Motor vehicle bodies, add-on parts, etc., but preferably also for the interior / detail coating of e.g. Motor vehicle bodies (e.g. door entrances), add-on parts, small parts, bumpers or bumpers, bumper elements, bumpers, bumper strips, etc.
- position monitoring of an object to be coated can be achieved by evaluating current (I) and voltage (U).
- Position monitoring includes e.g. the position and / or the orientation or location of an object to be coated.
- the symmetry or central axis of the electrode arrangement, the central axis of the atomizer housing element, the central axis of the housing element, the central axis of the atomizer housing and / or the central axis of the insulating sleeve (s) coincide or go together at least one over the other or intersect.
- the electrode arrangement, the electrode holder device, the atomizer housing element, the housing element, the insulating sleeve and / or the atomizer part having the steering air ring can have dielectric or insulating material in sections or can be coated or encased by means of dielectric or insulating material.
- the electrode arrangement, the electrode holder device, the atomizer housing element, the housing element, the insulating sleeve and / or the atomizer part having the steering air ring can preferably be formed in one piece from dielectric or insulating material and / or essentially consist of dielectric or insulating material.
- Individual component groups e.g. the electrode arrangement, the at least one insulating sleeve, the atomizer housing element, the atomizer housing, the housing element and / or the steering air ring (or the atomizing part having the steering air ring)
- the atomizer housing element and the at least one insulating sleeve can be made in one piece or in one piece.
- the atomizer housing element and the at least one insulating sleeve and the electrode arrangement can be made in one piece or in one piece.
- the electrode arrangement can also be made in one piece or one piece with the housing element and / or the atomizer housing element It is also possible to use the housing element and the steering air ring (or the atomizing part having the steering air ring) to be made in one piece or in one piece, so that the steering air ring can preferably be incorporated in the housing element.
- the dielectric or insulating material is preferably a high-voltage-resistant material, in particular made of fluoroplastic or fluoroplastic compounds, for example polytetrafluoroethylene. Undesired discharges can thus be minimized or avoided, as a result of which the charging of the coating agent can advantageously be increased.
- the spray element e.g. a bell cup
- the spray element can also be made or consist at least partially of dielectric or insulating material, in particular if another counter electrode / ignition electrode is provided to ignite the necessary (corona) discharge.
- detachable connections e.g. snap connections, snap-in connections, clamp connections, Velcro fasteners, screw connections, etc.
- detachable connections can also be provided in an advantageous manner to the electrode arrangement, the housing element, the atomizer part having the steering air ring, the atomizer housing element and / or the at least one insulating sleeve To be able to assemble, disassemble or replace quickly and easily.
- the electrode arrangement, the housing element, the atomizer part having the steering air ring, the atomizer housing element and / or the at least one insulating sleeve are preferably provided in a detachable or removable or exchangeable manner.
- the threads described above are advantageous because they extend discharge distances or "creepage distances" (from high electrical potential to low or earth potential).
- the threads or the discharge paths represent a labyrinth for the discharge current.
- the threads advantageously provide a detachable connection.
- All or some of the parts formed from insulating or dielectric material can have rounded edges.
- connection mechanisms of the respective components e.g. some or all of the threads described above and below are lubricated or provided with an insulating medium (e.g. insulating grease, preferably petroleum jelly).
- an insulating medium e.g. insulating grease, preferably petroleum jelly.
- a distance (d1) between an electrode end of the at least one electrode from the spray element, in particular from an edge of the spray element, or generally from the foremost part of the atomizer can be in a range between greater than 75 mm, 125 mm, 175 mm , 225mm or 275mm, and / or smaller than 100mm, 150mm, 200mm, 250mm or 300mm, preferably in the range between 80mm and 250mm.
- An axial distance (d3) between an electrode end of the at least one electrode to the spray element, in particular to a spray element edge, or generally to the foremost part of the atomizer can preferably be in a range between greater than 60 mm, 100 mm, 140 mm, 180 mm or 220 mm, and / or smaller than 80mm, 120mm, 160mm, 200mm or 240mm, preferably in the range of approximately 105mm +/- 25mm. This ensures an extremely compact and flexible atomizer, which e.g. compared to conventional atomizers with long electrode fingers can be guided closer to or around the component to be coated.
- Fig. 1 shows a rotary atomizer with an electrode arrangement which comprises an electrode holder device 101 for holding at least one electrode or a plurality of electrodes. Furthermore, dielectric material 103 is provided in order to influence at least one component of a discharge current, which extends in the direction of an axis of symmetry 105.
- the dielectric material is, for example, bulged toward the axis of symmetry 105 and consists, for example, of polytetrafluoroethylene.
- a plurality of recesses (electrode receiving spaces) 107 is formed in the electrode holder device 101 and is provided for receiving electrodes 108.
- the electrodes 108 can each be contacted via resistors 109 in order to ensure that the electrodes can be excited by the high-voltage control and that they can be triggered to generate an electrostatic field.
- the electrodes 108 preferably have a length which can correspond to the length of the recess 107, so that the electrodes 108 are completely embedded in the electrode holder device 101 or up to their outwardly directed tips, the free length of which can be 1 mm to 5 mm are.
- the electrode arrangement comprises a connection area 111, which is formed, for example, by a thread and is provided for holding the electrode arrangement on an atomizer housing element 113, which can house a valve 114.
- the atomizer housing element 113 further comprises an electrode holding region 115, on which the electrode arrangement can be held.
- the electrode holder area 115 is defined by a difference in diameter between a first diameter of a housing element 117 of the rotary atomizer and a second diameter of the atomizer housing element 113. The difference in diameter thus defines a circumferential surface, the normal of which extends parallel to the axis of symmetry 105.
- the electrode holder region 115 comprises, for example, a thread 116, in which the thread of the connection region 111 engages.
- the housing element 117 is provided, for example, to accommodate a bearing device for a spray element (119), in particular for a bell plate, or to cover it in an insulated manner.
- the storage device can, for example, be a Fig. 1 turbine or a turbine shaft 120, not shown, or include.
- a steering air ring 121 or an atomizing part Arranged between the housing element 117 and the spraying element 119 is, for example, a steering air ring 121 or an atomizing part which has a steering air ring and which can be held by the housing element 117.
- the housing element 117 and the steering air ring 121 can also be made of one piece or in one piece.
- the atomizer housing element 113 is arranged in front of the housing element 117 and connected to it, for example by means of a threaded connection 123 or a clamp connection or a latching connection or an adhesive connection.
- diaphragms 125 of the same or different thickness which can be concentric or form a labyrinth, can be provided in the connecting region 111 in order to ensure the largest possible discharge distances, so-called creepage distances.
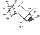
- Fig. 2 shows the electrostatic rotary atomizer Fig. 1 with the electrode arrangement comprising the electrode holder device 101, in which the recesses 107 are formed.
- the electrode arrangement is held on the atomizer housing element 113, which can, for example, be angled by 60 ° or straight.
- a dielectric sleeve 201 which covers a hand axis 203, is arranged in front of the atomizer housing element 113.
- a valve arrangement can be provided which can be supplied with coating agent, for example, by means of the supply lines 205.
- the insulating sleeve 201 is connected to the atomizer housing element 113, for example by means of a threaded connection.
- the insulating sleeve 201 can also be glued to the wall 203.
- a base lacquer ie a primer, a base layer BC 1 (BC: base coat), an effect layer BC 2 and a clear lacquer layer CC (CC: clear coat) can be provided as the coating agent. Additional layers are possible, e.g. B. multiple clearcoat to achieve a particularly advantageous coating quality of an object to be painted.
- the atomizer shown comprises an atomizer housing which, because of the atomizer housing element 113 angled, for example, by 60 °, is particularly suitable for interior painting.
- the atomizer housing element 113 can have, for example, an integrated charging ring which is provided for electrode contacting or electrode application.
- the electrodes can be placed or screwed on together with the electrode arrangement in the form of an electrode ring. According to one embodiment, however, the charging ring can also be formed by the electrode arrangement.
- the atomizer housing element 113 with the charging ring can be formed from an insulating and high-voltage-resistant material, preferably from polytetrafluoroethylene (PTFE), since the PTFE or other fluoroplastics for the inner or outer skin coating or the add-on part coating offer sufficient insulating properties in order to achieve good coating results.
- PTFE polytetrafluoroethylene
- the atomizer element 301 comprises, for example, an element 303 with channels 305 for supplying supply lines of a paint supply valve block to the atomizer. Furthermore, a conductive distributor ring is guided in a charging ring 307, which can preferably be formed from metal or from a conductive PTFE or from another conductive fluoroplastic. A high-voltage cable can be routed to the charging ring 307, for example, in order to ensure sufficient electrode contact with a high-voltage generator. Both low-resistance high-voltage cables (standard) and high-voltage cables with high impedance at high frequencies can be used. The distributor ring 307 can, for example, be used or sintered into the atomizer housing section 301.
- the guide through the atomizer housing element 301 takes place, for example, in an odd manner, and the necessary lead-throughs for the optical fiber cables or for the high-voltage cables can be hidden in the PTFE, for example, by means of a sintering process.
- a sintering process for example, a generative manufacturing process can also be used to manufacture the 60 ° atomizer housing element 301.
- the atomizer housing element 301 can be formed, for example, by an insulating sleeve, which can also be angled by 60 ° or can have a different shape and can be made of PTFE or other fluoroplastics or fluoroplastic compounds in order to provide high-voltage shielding.
- ceramic materials and / or other plastics for example petroleum jelly filling or transformer oil filling, can be used.
- an insulating sleeve can be attached or screwed to the atomizer housing element 301, for example on the hand axis side, or can be an integral or integral unit with the atomizer housing element.
- the atomizer housing element 301 can have, for example, a thread 309 on the hand axis side, which is intended for connection to the insulating sleeve.
- the insulating sleeve can also be slipped or welded on one or both sides over the internal components of the atomizer.
- the atomizer housing element 301 can have a straight design or can be angled by 90 °.
- the atomizer housing element 301 can have a thread 311 on the atomizer side, which thread is used for connection to a housing element of the atomizer, for example the one in FIG Fig. 1 housing element 117 shown, is provided.
- the thread 311 can be an M110x2 thread with a thread length of at least 9 mm, preferably 20 mm.
- a further thread 313 with a larger diameter is provided for an electrode arrangement, as shown, for example, in Fig. 1 is shown and which can be shaped in the form of an electrode ring to hold.
- the further thread 313 can be, for example, an M165x2 thread with a thread length of 12 mm.
- the threads 309, 311 or 313 can, for example, be conical and self-locking in order to ensure the greatest possible discharge distances, so-called creepage distances, for example from a higher electrical potential to a ground potential. In this configuration, these discharge or creepage distances represent a labyrinth for the discharge current, so that inward insulation can advantageously be brought about.
- diaphragms 315 can also be provided, which bring about a further extension of the discharge path.
- the diaphragms 315 can be of different thicknesses or thicknesses, preferably the inward-facing diaphragms should be thicker than the outer ones, in order to provide adequate insulation inwards.
- a generator or several generators can also be integrated directly in the atomizer housing element 301 and, for example, all or individual grouped electrodes or electrode tips with high voltage for generating an electrostatic Field.
- the high-voltage cable can also be directly integrated in the atomizer housing element 301 and embedded in, for example, an insulating medium, preferably petroleum jelly, and cast outside in the area of a robot arm or in a connecting flange area of the atomizer with a high-voltage supply cable that is connected to a high-voltage generator, for example via a coupling member inserted or screwed, be connected.
- the high-voltage cable can also be laid on the opposite side in the atomizer housing element 301 and a corresponding channel or channels of insulating material, preferably PTFE, which can be pushed into one another, for guiding and fixing the high-voltage cable be provided.
- a corresponding channel or channels of insulating material preferably PTFE
- Fig. 4 shows views of an insulating sleeve 401 for the hand axis-side insulation of an electrostatic atomizer.
- the insulating sleeve 401 is preferably cylindrical for reasons of insulation against discharges that lead from the electrode tips to the grounded hand axis of a / the robot, and is made, for example, of PTFE.
- the insulating sleeve 401 can, for example, by means of a thread 403 on the in Fig. 3 the atomizer housing element 301 shown can be screwed on.
- several cylindrical sleeves can be provided.
- the insulating sleeve 401 has, for example, a thickness in the range of 15 +/- 10 mm and a length of, for example, 150 mm.
- the insulating sleeve preferably brings about insulation, which is a prerequisite for maintaining a greater charge of the spray jet and preferably for causing no or weak parasitic discharges, for example to the hand axis.
- An insulation distance of at least 150 mm which corresponds, for example, to the length of the insulating sleeve, can also be represented by the earthed hand axis of the rotary atomizer taking on insulating properties.
- Either the entire hand axis of the rotary atomizer or part of its surface can be made of insulating material, for example PTFE.
- the length of the atomizer is reduced while the insulation distance remains the same, so that, for example, longer insulation distances up to 150 to 500 mm can be realized with longer atomizers.
- the TCP TCP: Tool Center Point
- one or more additional cylindrical insulating sleeves can be screwed onto the existing insulating sleeve to extend the insulation distance by covering partial areas of the earthed hand axis or attached in another way ("extension insulating sleeve").
- the thread 403 is, for example, an M125x2 thread with a thread length of 12 mm.
- Thread 403 may preferably be coated with an insulating medium, e.g. Insulating grease, especially petroleum jelly, must be lubricated in order to effectively avoid undesirable creepage distances for possible discharge currents in combination with the thread 403, which represents an insulation labyrinth.
- the insulating sleeve 401 can have a surface which can be both smooth and wavy in order to effect further creepage distances, as are common in standard insulators in high-voltage technology.
- an undesired discharge current can be reduced because the longer creepage distances result in a greater resistance to the current.
- all grounded components can be insulated by means of a surface coating using a plastic that is conductive or non-conductive with an insulating plastic.
- a surface treatment it is preferable to ensure that there are no or a few conductive particles on the surface in order to avoid a reduction in the insulation effect.
- the use of antistatic agents for a homogeneous, flat electrical behavior is also possible.
- a further possibility of bringing the charged spray jet or paint mist preferably onto the body to be coated or onto the workpiece or object to be coated is to partially or completely isolate the atomizer's insulating parts by e.g. Bring conductive or partially conductive materials to the same negative potential that corresponds to the high voltage supply or the electrode potential.
- the entire insulation is preferably accomplished by PTFE.
- FIG. 5 shows different views of an electrode arrangement with an electrode holder device 501, which of the in Fig. 1 can correspond to the electrode holder device 101 shown, which is designed in the form of a ring or electrode ring with a diameter of 65 to 300 mm and by means of a thread 503 with an atomizer housing element, as is shown, for example, in FIG Fig. 1 is shown, can be connected.
- the electrode arrangement comprises, for example, a plurality of electrodes 505, for example 3 to 60 electrodes with electrode tips, the diameter of which is 1.5 ⁇ 1.2 mm and which are made, for example, of stainless steel or of other metals or of conductive, carbon-based materials such as diamond layers or carbon nanostructures or their connections, which have a high field emission, can be shaped.
- the electrode tips 505 can be inserted or inserted with the respective resistor 507, for example, at the same distance into an electrode holder device 509, which can be formed from a dielectric material, the total diameter of the electrode ring preferably being approximately 220 mm.
- the electrode tips of the electrodes 505 can be arranged, for example, by an angle ⁇ between 0 ° and 180 ° with respect to an axial paint tube direction 511.
- the electrodes can have an angle of 25 ° to 90 ° in the tangential direction.
- axial angles of 55 ° and tangential angles of 90 ° are preferred.
- the electrodes 505 can, for example, in the electrode holder device 509, which the electrode holder device 501 or the in Fig. 1 can correspond to the electrode holder device 101 shown, can be embedded on electrode tips, which are free-standing and can be 1 mm to 5 mm.
- the electrodes However, 505 can be sunk or housed in the electrode holder device 509 or covered by an insulating plastic part.
- the electrode ends 505 are preferably arranged in such a way that they come into contact with the resistors 507, for example in a charging ring, which are equipped with a pressure point 513, for example.
- each tip of the respective electrode 505 meets a resistor 507, it being conceivable that two or more electrode tips meet a resistor 507 in order to realize an effective corona charging of the lacquer at lower voltages.
- a maximum number of 12 electrodes or electrode tips per resistor can be provided, which enables a maximum of 720 electrode tips in total.
- Resistors 507 can have, for example, resistance values R of 30 to 400 M ⁇ , resistance values of 100 M ⁇ with 5% tolerance preferably being used.
- the size of the resistors is (L x D) 30 to 100 mm x 6 - 12 mm, preferably 30 to 60 mm x 8 mm. A series connection of two or more resistors is also conceivable.
- the opposite side of the respective resistor 507 can also be provided with a pressure point 515, which can interact with the conductive, preferably metallic, high-voltage distribution ring already described.
- the resistors 507 can be embedded in a cylindrical resistance receptacle 519 in insulating medium, for example in insulating grease, preferably in petroleum jelly, and sealed with a plastic cap 512.
- insulating medium for example in insulating grease, preferably in petroleum jelly
- An insulating potting compound or a solid or liquid adhesive or a direct embedding of the resistor 507 in PTFE may also be possible as the insulating material.
- a resistance element made of partially conductive plastic or a semiconductor can also be implemented, which permanently provides the same resistance value as a commercially available thick-film resistor 507.
- Fig. 6 shows various views of a resistor 507 with the closure cap 512, wherein a sealing ring 601 can be provided.
- a further sealing ring can be provided on the opposite side of the resistor, for example integrated in the insulating cap 512.
- the insulating medium e.g. Insulating grease, for example petroleum jelly
- Insulating grease for example petroleum jelly
- the insulating grease is slowly and evenly filled into the space 517 with the placed resistor 507 by means of a dosing tip.
- a dosing tip preferably only one sealing ring 601 can be used.
- the insulating medium is in solid or liquid form.
- the insulating medium becomes liquid and thus has a self-healing effect in that it distributes itself ideally.
- the insulating cap 512 can prevent the insulating medium from escaping.
- the electrode holder device 509 can be screwed onto, for example, a thread, lubricated with an insulating medium, for example insulating grease, preferably with petroleum jelly Fig. 1 the atomizer housing element 113 shown are screwed on.
- the thread can be, for example, an M165x2 thread with a thread length of 12 mm.
- one or more screens 521 can be provided as a further labyrinth corresponding to the thickness of the electrode holder device 501, ie the electrode holder ring, in order to ensure adequate internal insulation.
- Fig. 7 shows an electrode arrangement with an electrode holder device 701, which can correspond to the electrode holder devices 509 or 501 or 101, in which an electrode 703 is arranged.
- the electrode 703 contacts a resistor 707 by means of a pressure point 705.
- the electrode 703 can be formed differently.
- the electrode can have a free-standing end with a length of 1 mm to 5 mm, the electrode nevertheless being largely embedded in the dielectric material of the electrode holder device 701.
- the electrode is recessed or enclosed and preferably completely surrounded by the dielectric material of the electrode holder device 701.
- the electrode can be covered by a dielectric material 715, which forms an insulating plastic part.
- the dielectric material 715 can be designed and provided, for example, in the form of a projection (for example facing forwards and / or outwards) or a bulge, a discharge current component which extends in the direction of an axis of symmetry 717 or to the rear (for example on the hand axis side or in In the direction of the hand axis or in the direction facing away from a spray element), for example to dampen.
- a discharge current component backwards and / or outwards and / or forwards and / or inwards in a targeted manner, in particular is damped.
- the dielectric material can also, as for example by the dashed lines in Figure 7 indicated.
- Fig. 8 shows a rotary atomizer with the elements of the atomizer from the Figures 1 and 2 , which has, for example, telescopic electrodes 801.
- the electrodes 801 can be provided as screwable electrode fingers consisting of an electrode tip with one or more resistors.
- cylindrical insulating plastic sleeves can be provided in different lengths.
- its electrode fingers can each consist of elements of different sizes, which are held together, for example, by springs. These elements can be pushed apart using compressed air in order to achieve different electrode lengths. Other methods can also be used for this purpose, for example using a rope or a liquid in a cylinder, which is filled with detergent, for example, or a solvent or a transformer oil.
- distance d 1 shown between an electrode end and the spraying element 119 or its edge d 1 80-250 mm, preferably 140 mm.
- the electrode fingers can be extended for an outer skin coating and retracted accordingly for an inner or detailed coating.
- electrode fingers 901 of different lengths but not adjustable in length can be provided, for example, electrode fingers 901 of different lengths but not adjustable in length, with all possible external charging applications, in particular painting at outflow rates of more than 1000 ml, by exchanging the electrode arrangement or the electrode ring and the bell cup or steering air ring system / min with the appropriate application systems.
- the electrode fingers 901 can also differ from one another in terms of their length, so that asymmetrical distances are possible, which are selected as a function of a painting direction or air flow direction in such a way that a uniform, adapted spray pattern is produced.
- a spraying element 903 for example a bell plate, can be used as a free-standing device. It is also a combination of the two Figures 8 and 9a . 9b Embodiments shown possible, so that, among other things, a possibility is provided to adapt an electrode length and thus the electrical field immediately in a process and to react to possible changes in cabin conditions or a painting direction.
- Figure 9b is largely identical to Figure 9a , however, shows in particular a further insulating sleeve 210 which can be attached to the insulating sleeve 201, for example by means of a thread 212.
- the further insulating sleeve 210 can be provided in order to insulate an accommodating device for a fastening means for mounting or removing an atomizer and / or a robot hand axis.
- the atomizer housing element 113 and / or the insulating sleeve 201 could also be made long enough to insulate the receiving device for the fastening means for mounting or dismounting the atomizer and / or the robot hand axis.
- a one-piece, two-piece or three-piece design is thus possible in order to be able to fulfill the previous function.
- Fig. 10a shows an electrostatic atomizer, in which the in Fig. 10a
- the dimensions d 1 , d 2 , d 3 and l 1 shown in the drawing can be selected as described below in such a way that advantageous insulation against undesired discharge currents is made possible and this electrostatic atomizer can be used universally for interior / detail and exterior skin painting.
- the electrostatic atomizer can be a high-speed rotary atomizer, for example, wherein the distance between the electrodes and a bell cup (front) edge d 1 can be between 80 and 250 mm of air gap, preferably 140 mm.
- a bell cup (GT) to be used can be free-standing, ie there is a free air gap between the electrodes and almost the entire GT.
- the bell cup can also be half covered by an insulating or partially insulating steering air ring. Full coverage or any partial coverage is also possible.
- the bell cup should preferably be formed of an insulating steering air ring, which is preferably made of PEEK or PTFE with an admixture of MOS2 (MOS2 (MoS 2 ): molybdenum disulfide), so that no destructive discharges occur between a PTFE housing element, for example the tube, and the steering air ring , be covered so that not too much current flows from the electrodes via the bell plate, but the bell plate is not covered so much that the necessary corona discharge cannot ignite.
- the bell plate with its edge is an important factor that enables the ignition of a corona discharge.
- the bell plate or at least its edge can be conductive, preferably metallic made of titanium, for example. As a result, electrons can be generated, which attach to air molecules and "charge" the atomized paint, so that maximum application efficiency (AWG) is guaranteed. In this sense, the bell plate edge represents a "corona ignition electrode".
- All or partially earthed components of the atomizer can also be connected to the earthing system via an electrical resistance ⁇ 1 MOhm.
- an air heater can e.g. in the control air (engine air) or the storage air of the storage device, which, in addition to its intended function, minimizes the cooling of the expanding engine air by preheating, as well as the condensation of the ambient or engine air, which can cause one or more unwanted discharge paths in the area the bell cup or the steering air ring prevented.
- the convex shape is advantageous because it represents a less critical counter potential compared to the electrodes at the back compared to an oblique outer jacket shape, due to a lower field line concentration on the partially round convex surface.
- a wall thickness of a steering air ring of at least 5 mm is preferred.
- the steering air ring 121 together with the housing element 117 or tube can be understood as "bearing unit insulation”.
- the combination of the electrode ring or the electrode arrangement 101 with the 60 ° atomizer housing element 113 can be referred to as a “charging device”.
- a combination of the atomizer housing element 113 and the insulating sleeve 201 is also possible.
- the combination of the electrode ring or the electrode arrangement 101 with the preferably 60 ° atomizer housing element 113 and the insulating sleeve 201 can advantageously be manufactured or referred to as a “charging sleeve”. All in all, all components can also be connected to one another, in particular in a modular manner, and can be regarded as an “external charging atomizer”.
- All surfaces of the atomizer housing and / or the insulating sleeve can be provided with a frame (overleaf), structured or wavy in order to (significantly) increase the creepage distances for possible discharge currents.
- a frame overleaf
- the charger i.e. the charging and electrode ring, for example, can be equipped with 3 to 60 short or long electrodes or fingers.
- a special combination of a steering air ring and bell plate is provided, whereby external charging with a flexible spray jet is possible, so that a small spray jet between 50 - 280 mm for an interior / detailed finish and a large spray jet with 150 - 550 for an exterior finish mm can be used.
- the entire system can also be operated with air atomization systems through slight modifications.
- the steering air ring or the atomizing part having the steering air ring is preferably to be produced from insulating material on the basis of insulation measures.
- the steering air ring can also be partially insulating and partially conductive.
- the bell plate can also be made insulating or partially insulating, provided that another counter electrode / ignition electrode is used to ignite the necessary corona discharge, e.g. a conductive or partially conductive steering air ring. This enables a smaller painting distance, which can preferably be 150 mm. The smallest possible distance in air from the electrodes to an object or a vehicle body can be up to 10 mm.
- the painting distance can be reduced to up to 10 mm, preferably 150 mm, by using the universal bell cup steering air system compared to the standard system. At 150 mm painting distance, no heavy contamination is observed compared to the standard system at 200 - 300 mm.
- Operating mode 1 is preferably used for direct charging, for example for the application of solvent-based paints.
- the voltage is set to a constant value between -40 to -85 kV.
- Operating modes 2) and 3) are preferably used for external charging, for example for the application of water-based paints.
- Operating mode 3) in particular can preferably be used for the compact external charging described above.
- Paint by means of external charging in constant current mode regulates the voltage depending on the ambient conditions, for example depending on a counter potential, surrounding the electrode tips.
- the resistances in the electrode holder device (101) regulate the voltage at a high reaction rate without causing spark flashes. This allows you to react ideally to changes in movement, e.g. driving closely past earthed object parts. This is not possible with direct charging (constant voltage operation 1).
- an earth switch can be dispensed with when the high voltage is switched off.
- the voltage can be limited to a lower value or switched off using operating mode 3 if an earthed goods carrier, for example a metal frame behind the edge areas of the bumper, leads to over-coatings.
- an earthed goods carrier for example a metal frame behind the edge areas of the bumper, leads to over-coatings.
- the voltage limitation can be adjusted to higher values again.
- a certain voltage (operating mode 1) or a certain current (operating mode 2 or 3) can be specified.
- a constant current I between 200 ⁇ A to 500 ⁇ A, preferably 400 ⁇ A, a voltage U limited to a maximum of -85 to -100 kV, preferably -90 kV.
- a total current of 400 ⁇ A is distributed as follows, for example: 60 to 250 ⁇ A flow to the object or body, 340 to 150 ⁇ A flow to the earthed bell plate or atomizer.
- a constant current I between 200 ⁇ A to 500 ⁇ A, preferably 400 ⁇ A, and a voltage U limited to a maximum of -80 to -100 kV, preferably -85 kV, can be set.
- a total current of 400 ⁇ A is distributed as follows: 40 to 200 ⁇ A flow through the paint mist to the object / body, 360 to 200 ⁇ A flow to the earthed bell plate or atomizer.
- Fig. 10b shows a side view
- Fig. 10c 2 shows a perspective view of an atomizer according to a further embodiment and in particular a modified housing element 117 and a modified electrode arrangement or electrode holder device 101 Figures 10b .
- 10c an atomizer housing element 113, to which an insulating sleeve 201 is detachably attached.
- a further insulating sleeve 210 can be seen, which is detachably connected to the insulating sleeve 201.
- the further insulating sleeve 210 is provided in order to isolate a robot hand axis and / or a receiving device for a fastening means for the assembly or disassembly of an atomizer.
- an atomizer housing element one piece
- an atomizer housing element with a detachably attachable insulating sleeve two pieces
- an atomizer housing element with a detachably attachable insulating sleeve to which another insulating sleeve can be detachably attached three pieces
- an insulating cover to enable a robot hand axis and / or a receiving device for a fastener for assembling or disassembling an atomizer.
- the electrode arrangement or the electrode holding device 101 is shaped essentially in a ring around an axis of symmetry 105 and is arranged essentially coaxially to the axis of symmetry 105.
- the electrode arrangement comprises a substantially circular section and the electrode holder device 101 (a widening section) which slopes obliquely outwards (radially) and towards (axially) to the front (or in the direction of the spraying element / bell plate 119 or to the side of the spraying element / bell plate) 119), in particular essentially conically widening and / or projecting.
- the electrodes or electrode receiving spaces 107 are accommodated in the widening electrode holder device 101 and thus also extend obliquely outwards and forwards.
- the substantially circular section comprises a thread which is connected to a thread of the atomizer housing element 113.
- the annular section and the thread of the electrode arrangement are in the Figures 10b . 10c not seen since they are covered by the atomizer housing element 113.
- a steering air ring 121 can also be seen, which is incorporated into the housing element 117.
- the housing element 117 is the atomizer part which has the steering air ring 121.
- Fig. 10d shows an atomizer which is identical to the atomizer according to FIGS Figures 10b . 10c .
- the in the Figures 10b . 10c shown expanding electrode holder device 101 is provided as a single expanding section, whereas the in FIG Fig. 10d shown electrode holder device 101 has a plurality of interruptions and thus comprises or consists of several sections consists of several sections, which each project outwards and / or forwards, are evenly spaced apart in the circumferential direction.
- Each individual section of the expanding electrode holder 101 of FIG Fig. 10d comprises an electrode or an electrode receiving space 107 and tapers towards its free end.
- the electrodes in the atomizer according to Figure 10d are preferably identical to the electrodes of the atomizer Figures 10b and 10c arranged.
- Fig. 11 shows different views of a housing element 1101, which the in Fig. 1 shown housing element 117 corresponds.
- the housing element comprises a thread 1103 for screwing to an atomizer housing element, for example the atomizer housing element 113 Fig. 1 .
- the thread can be, for example, an M110x2 thread with a thread length of at least 9 mm, preferably 20 mm.
- This thread can be lubricated, for example, with an insulating medium, for example 1-grease, preferably petroleum jelly, and forms a labyrinth with the thread 1103 for possible discharge paths.
- a further thread 1105 is for screwing to a steering air ring, for example the steering air ring 121 Fig. 1 , intended.
- the thread can be an M65x2 thread with a thread length of at least 9 mm.
- the housing element 1101 is designed, for example, as a tube and has a surface 1107 which can be smooth or wavy in order to achieve the insulation effect described above. The larger the surface 1107, the greater the creepage distances for a discharge current from electrode tips located at high voltage to, for example, grounded spray element 119, for example a bell cup, or a turbine to the front.
- the housing element can be formed, for example, from an insulating material, preferably from PTFE, and can be provided to cover, for example, the grounded bearing unit located underneath in an insulating manner.
- a foamed material for example a grid-like crosslinking, or multilayer layers can be used, the insulation preferably corresponding to that of a solid material.
- the housing element can have a thickness between 1 mm and 15 mm with a length of, for example, 140 mm or in the range from 85 mm to 185 mm.
- An insulating plastic steering ring made of, for example, a mixture of PTFE and MoS 2 , which can be screwed on or is firmly connected, for example welded, glued or sintered, can also be integrated on the housing element 1101.
- FIGs 12a to 12g are exemplary field profiles which illustrate the desired current flow from the electrode tips (high voltage) to earthed elements such as, for example, a bell plate or a hand axis or the like, using the example of a rotary atomizer 1201.
- the shielding measures can be used to increase the current flow over the respective object.
- the rear discharge currents 1203 are stronger than the discharge currents 1207 directed to a bell cup 1205.
- Fig. 12b can be caused by an insulating sleeve 1209 that the rear discharge currents 1211 are weakened compared to the discharge currents 1203 directed towards the bell plate 1201.
- the insulation inwards and backwards can be realized by a choice of material, by a material thickness, by a length of the insulating sleeve 1209, by a thread, which can be provided with an insulating medium such as petroleum jelly, or by other manufacturing processes.
- a change in the field line concentration or discharge currents 1215 to the front on an edge of the bell cup 1217 can be brought about by covering the same.
- a change in a field line concentration or discharge currents 1219 towards the bell cup can be brought about by different angles of electrodes 1221 or by covered electrodes 1221.
- a field line concentration 1223 can be represented by a modular structure of an electrode 1224 for various applications, for example for the outer skin or for the inner coating.
- a concentration of the rear discharge currents 1225 and of the discharge currents 1227 directed towards the bell cup can be represented by an atomizer housing element 1229, for example angled by 60 °, which can be insulated, in particular for the interior painting.
- An insulation sleeve 1230 connected to the atomizer housing element 1229 influences a discharge current component 1231 which extends in the direction of the hand axis of the atomizer.
- Fig. 12g is an exemplary extension of a leakage current path 1233, which defines a propagation path for a discharge current component, illustrated by a sleeve 1235 or its thread.
- the exterior charging concept described above enables a compact and modular design of rotary atomizers and is therefore particularly suitable for painting the interior of the body, painting the attachments, painting the exterior skin and / or painting the interior. This also makes it possible to produce rotary atomizers which can be cleaned in a compact atomizer cleaning device.
- sparkovers can advantageously be avoided, for example, between a bell plate edge and the body or the paint object due to the design, both in the interior and in the exterior painting, so that a coating of body cavities or narrow, sharp edges with higher voltages than with direct charging is possible.
- painting with or without high voltage is possible, whereby both body and small-part lacquering can be realized in low and high quantities, which means that greater flexibility and greater safety can be achieved.
- the aforementioned atomizer is used particularly advantageously, as is the case with car body painting, both for the interior and exterior skin painting.
- the invention also includes the knowledge that by evaluating current (I) and / or voltage (U), positioning monitoring / detection / determination of an object to be painted and / or the atomizer, in particular the electrode arrangement, can be achieved.
- the relative position between the atomizer and the object to be painted can preferably be monitored, recorded and / or determined.
- the voltage is regulated downward in the case of a predetermined current in operating mode 2 or 3 (I constant., U limited). This behavior can be used to determine the distance between the electrode ring and the grounded object and to draw conclusions about the position of the object to be painted relative to the atomizer.
- the position of a door or bonnet to be painted etc. can be determined or at least the information: object positioned yes or no.
- a possible embodiment provides for the values of actual current I and actual voltage U to be recorded or recorded.
- the evaluation can be carried out differentially dI / dt or dU / dt, changing environmental conditions (temperature, humidity, etc.) or the atomizer contamination or layers already coated on the object to be painted, which have an influence on the current or voltage values to calculate out.
- the absolute values of actual current I and actual voltage U can also be compared at these "master positions" in order to determine any deviations. For example, if the actual current and voltage values deviate too much (towards lower voltage values), forced atomizer cleaning can be recognized or initiated.
- Design variant 2 Since the voltage does not depend linearly on the distance and the geometry of the object and the position of the electrode ring in relation to the object are also taken into account, a theoretical approximation curve can be stored with parameters. These parameters can then be individually adapted in terms of software for the respective object. For each modified object to be painted (e.g. door, bonnet, etc.), a different approximation curve can be stored with appropriate parameters or created once. The adaptation of the theoretical approximation curve to reality happens e.g. unique by measuring U and I at different defined distances x from the object to be painted (see variant 1).
- the design variants 1 and 2 can be combined for redundant position monitoring, but each can also be used individually.
- the position of an object to be painted can be determined by a defined movement of the atomizer (electrode ring) in the direction of the object (e.g. door or hood etc.). With the calculation of the values dU / dt or dI / dt, a comparison with the master positions x makes it possible to determine whether the object to be painted is correctly positioned within a tolerance range or not.
Landscapes
- Engineering & Computer Science (AREA)
- Robotics (AREA)
- Electrostatic Spraying Apparatus (AREA)
- Application Of Or Painting With Fluid Materials (AREA)
Priority Applications (1)
| Application Number | Priority Date | Filing Date | Title |
|---|---|---|---|
| PL10709704T PL2408568T5 (pl) | 2009-03-19 | 2010-03-19 | Układ elektrod dla rozpylacza elektrostatycznego |
Applications Claiming Priority (2)
| Application Number | Priority Date | Filing Date | Title |
|---|---|---|---|
| DE102009013979A DE102009013979A1 (de) | 2009-03-19 | 2009-03-19 | Elektrodenanordnung für einen elektrostatischen Zerstäuber |
| PCT/EP2010/001751 WO2010105849A1 (de) | 2009-03-19 | 2010-03-19 | Elektrodenanordnung für einen elektrostatischen zerstäuber |
Publications (3)
| Publication Number | Publication Date |
|---|---|
| EP2408568A1 EP2408568A1 (de) | 2012-01-25 |
| EP2408568B1 EP2408568B1 (de) | 2016-12-21 |
| EP2408568B2 true EP2408568B2 (de) | 2019-12-25 |
Family
ID=42167500
Family Applications (1)
| Application Number | Title | Priority Date | Filing Date |
|---|---|---|---|
| EP10709704.0A Active EP2408568B2 (de) | 2009-03-19 | 2010-03-19 | Elektrodenanordnung für einen elektrostatischen zerstäuber |
Country Status (14)
| Country | Link |
|---|---|
| US (2) | US9901942B2 (enExample) |
| EP (1) | EP2408568B2 (enExample) |
| JP (1) | JP5735953B2 (enExample) |
| KR (1) | KR101791844B1 (enExample) |
| CN (1) | CN102427888B (enExample) |
| BR (1) | BRPI1009509B1 (enExample) |
| DE (1) | DE102009013979A1 (enExample) |
| ES (1) | ES2619838T5 (enExample) |
| HU (1) | HUE032503T2 (enExample) |
| MX (1) | MX344930B (enExample) |
| PL (1) | PL2408568T5 (enExample) |
| RU (1) | RU2523813C2 (enExample) |
| WO (1) | WO2010105849A1 (enExample) |
| ZA (1) | ZA201106751B (enExample) |
Cited By (1)
| Publication number | Priority date | Publication date | Assignee | Title |
|---|---|---|---|---|
| DE102020130197A1 (de) | 2020-11-16 | 2022-05-19 | Gema Switzerland Gmbh | Beleuchtungseinrichtung für eine sprühpistole sowie sprühpistole mit einer derartigen beleuchtungseinrichtung |
Families Citing this family (32)
| Publication number | Priority date | Publication date | Assignee | Title |
|---|---|---|---|---|
| DE102009013979A1 (de) * | 2009-03-19 | 2010-09-23 | Dürr Systems GmbH | Elektrodenanordnung für einen elektrostatischen Zerstäuber |
| WO2012012621A1 (en) * | 2010-07-21 | 2012-01-26 | Valspar Sourcing, Inc. | Electrostatic spray apparatus and method |
| DE102011006617B4 (de) * | 2011-04-01 | 2018-08-16 | Bayerische Motoren Werke Aktiengesellschaft | Rotationszerstäuber mit Außenelektroden zum Beschichten eines Werkstücks |
| DE102011121915A1 (de) * | 2011-12-22 | 2013-06-27 | Eisenmann Ag | Elektrodenanordnung und elektrostatischer Zerstäuber mit einer solchen |
| US10503373B2 (en) * | 2012-03-14 | 2019-12-10 | Sony Interactive Entertainment LLC | Visual feedback for highlight-driven gesture user interfaces |
| WO2013173234A1 (en) * | 2012-05-14 | 2013-11-21 | Intuitive Surgical Operations | Systems and methods for registration of a medical device using rapid pose search |
| FR3004661B1 (fr) * | 2013-04-22 | 2017-06-02 | Sames Tech | Projecteur electrostatique de produit de revetement liquide et installation de projection comprenant un tel projecteur |
| JP6326880B2 (ja) * | 2014-03-14 | 2018-05-23 | マツダ株式会社 | 断熱層の形成方法 |
| WO2016067310A1 (en) * | 2014-10-27 | 2016-05-06 | Council Of Scientific & Industrial Research | Manually controlled variable coverage high range electrostatic sprayer |
| DE102015000709A1 (de) | 2015-01-21 | 2016-07-21 | Dürr Systems GmbH | Glockenteller oder Lenkluftring mit nicht-metallischem Material zur Funkenvermeidung |
| JP2016159249A (ja) * | 2015-03-03 | 2016-09-05 | 旭サナック株式会社 | 粉体塗装ガンのガンカバー |
| JP6669537B2 (ja) * | 2015-04-17 | 2020-03-18 | トヨタ車体株式会社 | 塗装装置及び塗装方法 |
| DE102015213732A1 (de) | 2015-07-21 | 2017-01-26 | Volkswagen Aktiengesellschaft | Zerstäuber sowie Verfahren zur Beschichtung einer Oberfläche mit einem elektrostatisch aufgeladenen Beschichtungsmaterial |
| US10510144B2 (en) | 2015-09-10 | 2019-12-17 | Magentiq Eye Ltd. | System and method for detection of suspicious tissue regions in an endoscopic procedure |
| JP6585494B2 (ja) * | 2015-12-17 | 2019-10-02 | トリニティ工業株式会社 | 静電塗装機 |
| FR3048896B1 (fr) * | 2016-03-21 | 2018-04-13 | Exel Industries | Pulverisateur de produit de revetement, procede de montage et de demontage |
| DE102016207552A1 (de) * | 2016-05-02 | 2017-11-02 | Volkswagen Aktiengesellschaft | Sprühvorrichtung zum Besprühen eines Werkstücks mit einer Beschichtung |
| CN106984458B (zh) * | 2017-04-13 | 2019-10-11 | 天长市金陵电子有限责任公司 | 一种精控型静电粉末喷涂机 |
| DE102017113180A1 (de) * | 2017-06-14 | 2018-12-20 | Eisenmann Se | Elektrostatischer Zerstäuber zur elektrostatischen Beschichtung von Werkstücken |
| IT201700075174A1 (it) * | 2017-07-05 | 2019-01-05 | Davide Brescianini | Elemento di copertura per polo di alternatore. |
| CN107470061A (zh) * | 2017-08-30 | 2017-12-15 | 四川广安慧诚科艺玻璃有限公司 | 瓶体静电喷涂工装及静电喷涂设备 |
| JP6939721B2 (ja) * | 2018-06-29 | 2021-09-22 | トヨタ車体株式会社 | ベル型塗装装置 |
| CN113853252A (zh) * | 2019-03-25 | 2021-12-28 | 卡莱流体技术有限公司 | 静电涂覆系统及方法 |
| CN110252543B (zh) * | 2019-07-29 | 2024-07-23 | 天津铭捷智能装备有限公司 | 一种空气成形罩、旋杯及雾化喷涂装置 |
| FR3103718B1 (fr) * | 2019-12-02 | 2021-12-17 | Exel Ind | Projecteur électrostatique rotatif de produit de revêtement et installation de projection comprenant un tel projecteur |
| FR3103717B1 (fr) * | 2019-12-02 | 2022-07-01 | Exel Ind | Projecteur électrostatique rotatif de produit de revêtement, installation de projection comprenant un tel projecteur et procédé de revêtement au moyen d’un tel projecteur |
| ES2981258T3 (es) * | 2020-03-25 | 2024-10-08 | Basf Coatings Gmbh | Sistema de cambio de atomizador para robots de recubrimiento de muñeca hueca de varios ejes |
| WO2022246106A1 (en) | 2021-05-20 | 2022-11-24 | Climb Works LLC | Electrostatic sprayer |
| JP6948487B1 (ja) * | 2021-06-23 | 2021-10-13 | アーベーベー・シュバイツ・アーゲーABB Schweiz AG | 静電塗装装置 |
| DE102021121553A1 (de) * | 2021-08-19 | 2023-02-23 | Dürr Systems Ag | Betriebsverfahren für einen Zerstäuber und entsprechende Lackieranlage |
| DE102021123081A1 (de) * | 2021-09-07 | 2023-03-09 | Dürr Systems Ag | Elektrodenanordnung für einen Rotationszerstäuber und zugehöriges Betriebsverfahren |
| US11897242B2 (en) | 2022-01-19 | 2024-02-13 | Paper Converting Machine Company | Embosser-laminator with electrostatic adhesive application |
Citations (8)
| Publication number | Priority date | Publication date | Assignee | Title |
|---|---|---|---|---|
| US4589597A (en) † | 1983-10-03 | 1986-05-20 | Graco Inc. | Rotary atomizer spray painting device |
| EP1224981A2 (en) † | 2001-01-19 | 2002-07-24 | Illinois Tool Works Inc. | Shaping air distribution methods and apparatus |
| DE69623768T2 (de) † | 1995-05-19 | 2003-08-14 | Nordson Corp., Westlake | Pulverzerstäuber mit rotierendem sprühkopf |
| DE69824908T2 (de) † | 1997-04-07 | 2005-08-25 | Nordson Corp., Westlake | Pulver-Sprühvorrichtung mit Rotationszerstäuber |
| US7070130B1 (en) † | 2002-11-06 | 2006-07-04 | E. I. Dupont De Nemours And Company | Rotatable electrode ring and use thereof in electrostatically assisted high-speed rotary application of spray coating agents |
| DE102005000983A1 (de) † | 2005-01-07 | 2006-07-20 | Fraunhofer-Gesellschaft zur Förderung der angewandten Forschung e.V. | Universeller Ionisierungsaufsatz für ein Sprühgerät, elektrostatisches Sprühgerät und Sprühbeschichtungsverfahren zur Sprühbeschichtung |
| DE202006015967U1 (de) † | 2006-10-18 | 2007-01-04 | W. Kolb Fertigungstechnik Gmbh | Reinigungsmittel zum Reinigen von Gegenständen |
| WO2008150790A1 (en) † | 2007-05-29 | 2008-12-11 | Nordson Corporation | High density powder coating pump and nozzle for producing a narrow, dense spray pattern |
Family Cites Families (54)
| Publication number | Priority date | Publication date | Assignee | Title |
|---|---|---|---|---|
| JPS5359737A (en) | 1976-11-10 | 1978-05-29 | Onoda Cement Co Ltd | Electrostatic powder coating and its equipment |
| US4572438A (en) * | 1984-05-14 | 1986-02-25 | Nordson Corporation | Airless spray gun having improved nozzle assembly and electrode circuit connections |
| DE3609240C2 (de) * | 1986-03-19 | 1996-08-01 | Behr Industrieanlagen | Vorrichtung zum elektrostatischen Beschichten von Gegenständen |
| DE3709508A1 (de) * | 1987-03-23 | 1988-10-06 | Behr Industrieanlagen | Vorrichtung zum elektrostatischen beschichten von werkstuecken |
| ES2004334B3 (es) | 1987-03-23 | 1992-01-16 | Behr Ind Gmbh & Co | Procedimiento para el recubrimiento electrostatico de pieza de trabajo |
| DE3733997C3 (de) | 1987-10-08 | 1996-12-19 | Kuesters Eduard Maschf | Verfahren und Vorrichtung zum kontinuierlichen Färben einer textilen Warenbahn |
| SU1547855A1 (ru) | 1987-12-21 | 1990-03-07 | Всесоюзный научно-исследовательский институт фитопатологии | Электростатический распылитель |
| US5044564A (en) * | 1989-11-21 | 1991-09-03 | Sickles James E | Electrostatic spray gun |
| JP2926071B2 (ja) * | 1990-05-18 | 1999-07-28 | エービービー株式会社 | 静電塗装装置 |
| US5397063A (en) * | 1992-04-01 | 1995-03-14 | Asahi Sunac Corporation | Rotary atomizer coater |
| US5633306A (en) * | 1992-12-03 | 1997-05-27 | Ransburg Corporation | Nonincendive rotary atomizer |
| DE4306800C2 (de) * | 1993-03-04 | 1998-07-02 | Duerr Gmbh & Co | Beschichtungsvorrichtung mit einem Rotationszerstäuber |
| JP3308398B2 (ja) * | 1994-06-22 | 2002-07-29 | エービービー株式会社 | 静電塗装機 |
| JPH08108114A (ja) | 1994-10-07 | 1996-04-30 | Abb Ransburg Kk | 塗装装置 |
| EP0767005B1 (en) * | 1995-04-06 | 2002-12-18 | Abb K.K. | Rotary atomizing head type coating machine |
| US5765761A (en) * | 1995-07-26 | 1998-06-16 | Universtiy Of Georgia Research Foundation, Inc. | Electrostatic-induction spray-charging nozzle system |
| JP3322100B2 (ja) * | 1995-11-09 | 2002-09-09 | 日産自動車株式会社 | 回転霧化静電塗装装置 |
| JPH08257441A (ja) * | 1996-02-02 | 1996-10-08 | Trinity Ind Corp | 回転霧化式静電塗装機 |
| JP3453078B2 (ja) | 1998-01-13 | 2003-10-06 | Abb株式会社 | 回転霧化頭型塗装装置 |
| US6164561A (en) | 1998-01-13 | 2000-12-26 | Abb K.K. | Rotary atomizing head type coating device |
| WO2000054888A1 (de) * | 1999-03-16 | 2000-09-21 | Abb Patent Gmbh | Hochrotationszerstäuber mit lenkluftring |
| JP2001113207A (ja) | 1999-10-13 | 2001-04-24 | Abb Kk | 静電塗装装置 |
| RU2163515C1 (ru) | 1999-10-13 | 2001-02-27 | Тукбаев Эрнст Ерусланович | Устройство для нанесения полимерных порошковых покрытий в электростатическом поле |
| DE10202711A1 (de) | 2002-01-24 | 2003-07-31 | Duerr Systems Gmbh | Zerstäuber für die elektrostatische Serienbeschichtung von Werkstücken |
| DE10205593A1 (de) | 2002-02-11 | 2003-08-21 | Duerr Systems Gmbh | Beschichtungsmaschine mit einem Zerstäuber und einem Zerstäuber und einem Drehgelenk |
| US6889921B2 (en) * | 2002-09-30 | 2005-05-10 | Illinois Tool Works Inc. | Bell cup skirt |
| JP3866182B2 (ja) | 2002-10-31 | 2007-01-10 | アネスト岩田株式会社 | 静電塗装ガン及びその外部帯電電極 |
| TW200413101A (en) | 2002-10-31 | 2004-08-01 | Anest Iwata Kk | Spray gun for electrostatic painting |
| US7748651B2 (en) * | 2003-03-27 | 2010-07-06 | Asahi Sunac Corporation | Electrostatic coating spray gun |
| US7128277B2 (en) * | 2003-07-29 | 2006-10-31 | Illinois Tool Works Inc. | Powder bell with secondary charging electrode |
| EP2314379A1 (en) | 2003-08-18 | 2011-04-27 | Nordson Corporation | Spray applicator for particulate material |
| US7793869B2 (en) | 2003-08-18 | 2010-09-14 | Nordson Corporation | Particulate material applicator and pump |
| US20050126476A1 (en) | 2003-11-05 | 2005-06-16 | Nordson Corporation | Improved particulate material application system |
| US20050115496A1 (en) | 2003-11-05 | 2005-06-02 | Nordson Corporation | Supply for dry particulate material |
| US7762481B2 (en) * | 2003-11-06 | 2010-07-27 | Fanuc Robotics America, Inc. | Electrostatic rotary atomizer with indirect internal charge |
| US20050158187A1 (en) | 2003-11-24 | 2005-07-21 | Nordson Corporation | Dense phase pump for dry particulate material |
| ATE397497T1 (de) * | 2004-09-13 | 2008-06-15 | Duerr Systems Gmbh | Verfahren, beschichtungsanlage und rotationszerstäuber zur serienbeschichtung von werkstücken |
| US7913938B2 (en) * | 2004-11-12 | 2011-03-29 | Mystic Tan, Inc. | Electrostatic spray nozzle with adjustable fluid tip and interchangeable components |
| US20070290080A1 (en) * | 2004-12-28 | 2007-12-20 | Mamoru Okumoto | Electrostatic Spraying Device |
| US20060219816A1 (en) * | 2005-04-05 | 2006-10-05 | Durr Systems | Rotary atomizer component |
| DE202006015697U1 (de) | 2005-05-31 | 2007-03-08 | Nordson Corporation, Westlake | Verbesserter Applikator für Teilchenmaterial und Pumpe |
| JP4396591B2 (ja) | 2005-07-15 | 2010-01-13 | パナソニック電工株式会社 | 静電霧化装置 |
| JP4612047B2 (ja) * | 2005-08-01 | 2011-01-12 | Abb株式会社 | 静電塗装装置 |
| US7797878B2 (en) | 2005-09-13 | 2010-09-21 | Bruce Schuster | Fire ant suppression system |
| BRPI0711360B1 (pt) | 2006-05-12 | 2019-05-28 | Dürr Systems GmbH | Instalação de revestimento e respectivo método de operação |
| JP4745934B2 (ja) | 2006-09-27 | 2011-08-10 | Abb株式会社 | 静電塗装装置 |
| JP5066677B2 (ja) | 2006-12-12 | 2012-11-07 | 株式会社やまびこ | 静電噴霧装置及びノズル管カバー |
| JP4093282B1 (ja) | 2007-01-26 | 2008-06-04 | 松下電工株式会社 | 静電霧化装置 |
| CN101432079B (zh) | 2007-02-06 | 2012-05-23 | Abb株式会社 | 涂装系统 |
| JP4347372B2 (ja) | 2007-08-10 | 2009-10-21 | トヨタ自動車株式会社 | 静電塗装装置 |
| DE102008027997A1 (de) | 2008-06-12 | 2009-12-24 | Dürr Systems GmbH | Universalzerstäuber |
| US7762236B2 (en) * | 2008-07-16 | 2010-07-27 | Transonic Combustion, Inc. | Piezoelectric fuel injector having a temperature compensating unit |
| US7815132B2 (en) * | 2008-08-12 | 2010-10-19 | Illinois Tool Works Inc. | Method for preventing voltage from escaping fluid interface for water base gravity feed applicators |
| DE102009013979A1 (de) * | 2009-03-19 | 2010-09-23 | Dürr Systems GmbH | Elektrodenanordnung für einen elektrostatischen Zerstäuber |
-
2009
- 2009-03-19 DE DE102009013979A patent/DE102009013979A1/de not_active Withdrawn
-
2010
- 2010-03-19 ES ES10709704T patent/ES2619838T5/es active Active
- 2010-03-19 JP JP2012500153A patent/JP5735953B2/ja active Active
- 2010-03-19 HU HUE10709704A patent/HUE032503T2/en unknown
- 2010-03-19 PL PL10709704T patent/PL2408568T5/pl unknown
- 2010-03-19 KR KR1020117024376A patent/KR101791844B1/ko active Active
- 2010-03-19 US US13/257,490 patent/US9901942B2/en active Active
- 2010-03-19 EP EP10709704.0A patent/EP2408568B2/de active Active
- 2010-03-19 RU RU2011142148/05A patent/RU2523813C2/ru active
- 2010-03-19 MX MX2011009443A patent/MX344930B/es active IP Right Grant
- 2010-03-19 CN CN201080022127.3A patent/CN102427888B/zh active Active
- 2010-03-19 BR BRPI1009509-8A patent/BRPI1009509B1/pt active IP Right Grant
- 2010-03-19 WO PCT/EP2010/001751 patent/WO2010105849A1/de not_active Ceased
-
2011
- 2011-09-15 ZA ZA2011/06751A patent/ZA201106751B/en unknown
-
2017
- 2017-11-15 US US15/813,390 patent/US10464084B2/en active Active
Patent Citations (8)
| Publication number | Priority date | Publication date | Assignee | Title |
|---|---|---|---|---|
| US4589597A (en) † | 1983-10-03 | 1986-05-20 | Graco Inc. | Rotary atomizer spray painting device |
| DE69623768T2 (de) † | 1995-05-19 | 2003-08-14 | Nordson Corp., Westlake | Pulverzerstäuber mit rotierendem sprühkopf |
| DE69824908T2 (de) † | 1997-04-07 | 2005-08-25 | Nordson Corp., Westlake | Pulver-Sprühvorrichtung mit Rotationszerstäuber |
| EP1224981A2 (en) † | 2001-01-19 | 2002-07-24 | Illinois Tool Works Inc. | Shaping air distribution methods and apparatus |
| US7070130B1 (en) † | 2002-11-06 | 2006-07-04 | E. I. Dupont De Nemours And Company | Rotatable electrode ring and use thereof in electrostatically assisted high-speed rotary application of spray coating agents |
| DE102005000983A1 (de) † | 2005-01-07 | 2006-07-20 | Fraunhofer-Gesellschaft zur Förderung der angewandten Forschung e.V. | Universeller Ionisierungsaufsatz für ein Sprühgerät, elektrostatisches Sprühgerät und Sprühbeschichtungsverfahren zur Sprühbeschichtung |
| DE202006015967U1 (de) † | 2006-10-18 | 2007-01-04 | W. Kolb Fertigungstechnik Gmbh | Reinigungsmittel zum Reinigen von Gegenständen |
| WO2008150790A1 (en) † | 2007-05-29 | 2008-12-11 | Nordson Corporation | High density powder coating pump and nozzle for producing a narrow, dense spray pattern |
Cited By (2)
| Publication number | Priority date | Publication date | Assignee | Title |
|---|---|---|---|---|
| DE102020130197A1 (de) | 2020-11-16 | 2022-05-19 | Gema Switzerland Gmbh | Beleuchtungseinrichtung für eine sprühpistole sowie sprühpistole mit einer derartigen beleuchtungseinrichtung |
| US12472516B2 (en) | 2020-11-16 | 2025-11-18 | Gema Switzerland Gmbh | Illumination device for a spray gun and spray gun having such an illumination device |
Also Published As
| Publication number | Publication date |
|---|---|
| PL2408568T3 (pl) | 2017-06-30 |
| CN102427888A (zh) | 2012-04-25 |
| JP2012520753A (ja) | 2012-09-10 |
| ES2619838T3 (es) | 2017-06-27 |
| CN102427888B (zh) | 2015-06-17 |
| US10464084B2 (en) | 2019-11-05 |
| EP2408568B1 (de) | 2016-12-21 |
| ES2619838T5 (es) | 2020-08-07 |
| KR101791844B1 (ko) | 2017-11-01 |
| HUE032503T2 (en) | 2017-09-28 |
| US20180141062A1 (en) | 2018-05-24 |
| RU2011142148A (ru) | 2013-04-27 |
| US9901942B2 (en) | 2018-02-27 |
| BRPI1009509A2 (pt) | 2016-03-15 |
| JP5735953B2 (ja) | 2015-06-17 |
| RU2523813C2 (ru) | 2014-07-27 |
| WO2010105849A1 (de) | 2010-09-23 |
| MX2011009443A (es) | 2012-02-28 |
| MX344930B (es) | 2017-01-11 |
| KR20120000083A (ko) | 2012-01-03 |
| EP2408568A1 (de) | 2012-01-25 |
| ZA201106751B (en) | 2012-12-27 |
| PL2408568T5 (pl) | 2021-07-26 |
| US20120006916A1 (en) | 2012-01-12 |
| DE102009013979A1 (de) | 2010-09-23 |
| BRPI1009509B1 (pt) | 2020-12-15 |
Similar Documents
| Publication | Publication Date | Title |
|---|---|---|
| EP2408568B2 (de) | Elektrodenanordnung für einen elektrostatischen zerstäuber | |
| EP0283918B1 (de) | Vorrichtung zum elektrostatischen Beschichten von Werkstücken | |
| EP1362640B1 (de) | Zerstäuber für die elektrostatische Serienbeschichtung von Werkstücken | |
| DE3609240C2 (de) | Vorrichtung zum elektrostatischen Beschichten von Gegenständen | |
| DE69310026T2 (de) | Vorrichtung zum elektrostatischen Sprühen von pulverformigen Stoffen mit einem rotierenden Ionisierungskopf | |
| EP0236794B1 (de) | Elektrostatische Sprüheinrichtung für Beschichtungspulver | |
| EP0779105B1 (de) | Sprühbeschichtungsvorrichtung zur elektrostatischen Sprühbeschichtigung | |
| EP0192854A1 (de) | Spritzpistole für Beschichtungsmaterial | |
| DE7205829U (de) | Elektrostatisches Zerstäubergerät für Flüssigkeit | |
| EP0808663A2 (de) | Elektrostatische Sprühvorrichtung | |
| DE1953989B2 (de) | Spritzpistole zum Versprühen von zum Beschichten von Gegenstanden dienenden Farben oder Lacken | |
| DE3718154A1 (de) | Sprueheinheit mit einem rotationsspruehorgan | |
| DE4105116A1 (de) | Vorrichtung und verfahren zum elektrostatischen beschichten von gegenstaenden | |
| DE3716776A1 (de) | Nicht-leitender rotierender zerstaeuber | |
| EP1242190B1 (de) | Hochrotationszerstäuber zur aufbringung von pulverlack | |
| DE10053295C2 (de) | Hochrotationszerstäuber zur Aufbringung von Pulverlack | |
| DE10319916A1 (de) | Sprühgerät für Beschichtungsmaterial, insbesondere Beschichtungspulver | |
| WO2004048001A1 (de) | Ultraschall-stehwellen-zerstäuberanordnung | |
| DE102005000983A1 (de) | Universeller Ionisierungsaufsatz für ein Sprühgerät, elektrostatisches Sprühgerät und Sprühbeschichtungsverfahren zur Sprühbeschichtung | |
| EP0737517B1 (de) | Pulver-Sprühpistole für Beschichtungspulver | |
| DE3709508A1 (de) | Vorrichtung zum elektrostatischen beschichten von werkstuecken | |
| EP1334775B1 (de) | Beschichtungsmaschine mit einem Zerstäuber und einem Drehgelenk | |
| DE102015213732A1 (de) | Zerstäuber sowie Verfahren zur Beschichtung einer Oberfläche mit einem elektrostatisch aufgeladenen Beschichtungsmaterial | |
| DE102004033168A1 (de) | Elektrostatisches Lackiergerät und Lackierverfahren zur Spritzlackierung mittels elektrostatisch aufgeladenem Flüssiglack unter Nutzung einer Betriebsluftionisierung | |
| EP1481733B1 (de) | Glockenteller für Rotationzerstäuber |
Legal Events
| Date | Code | Title | Description |
|---|---|---|---|
| PUAI | Public reference made under article 153(3) epc to a published international application that has entered the european phase |
Free format text: ORIGINAL CODE: 0009012 |
|
| 17P | Request for examination filed |
Effective date: 20111014 |
|
| AK | Designated contracting states |
Kind code of ref document: A1 Designated state(s): AT BE BG CH CY CZ DE DK EE ES FI FR GB GR HR HU IE IS IT LI LT LU LV MC MK MT NL NO PL PT RO SE SI SK SM TR |
|
| DAX | Request for extension of the european patent (deleted) | ||
| 17Q | First examination report despatched |
Effective date: 20150326 |
|
| GRAP | Despatch of communication of intention to grant a patent |
Free format text: ORIGINAL CODE: EPIDOSNIGR1 |
|
| INTG | Intention to grant announced |
Effective date: 20160726 |
|
| RAP1 | Party data changed (applicant data changed or rights of an application transferred) |
Owner name: DUERR SYSTEMS AG |
|
| GRAS | Grant fee paid |
Free format text: ORIGINAL CODE: EPIDOSNIGR3 |
|
| STAA | Information on the status of an ep patent application or granted ep patent |
Free format text: STATUS: GRANT OF PATENT IS INTENDED |
|
| GRAA | (expected) grant |
Free format text: ORIGINAL CODE: 0009210 |
|
| STAA | Information on the status of an ep patent application or granted ep patent |
Free format text: STATUS: THE PATENT HAS BEEN GRANTED |
|
| AK | Designated contracting states |
Kind code of ref document: B1 Designated state(s): AT BE BG CH CY CZ DE DK EE ES FI FR GB GR HR HU IE IS IT LI LT LU LV MC MK MT NL NO PL PT RO SE SI SK SM TR |
|
| REG | Reference to a national code |
Ref country code: GB Ref legal event code: FG4D Free format text: NOT ENGLISH |
|
| REG | Reference to a national code |
Ref country code: CH Ref legal event code: EP |
|
| REG | Reference to a national code |
Ref country code: IE Ref legal event code: FG4D Free format text: LANGUAGE OF EP DOCUMENT: GERMAN |
|
| REG | Reference to a national code |
Ref country code: AT Ref legal event code: REF Ref document number: 855008 Country of ref document: AT Kind code of ref document: T Effective date: 20170115 |
|
| REG | Reference to a national code |
Ref country code: DE Ref legal event code: R096 Ref document number: 502010012918 Country of ref document: DE |
|
| PG25 | Lapsed in a contracting state [announced via postgrant information from national office to epo] |
Ref country code: LV Free format text: LAPSE BECAUSE OF FAILURE TO SUBMIT A TRANSLATION OF THE DESCRIPTION OR TO PAY THE FEE WITHIN THE PRESCRIBED TIME-LIMIT Effective date: 20161221 |
|
| REG | Reference to a national code |
Ref country code: FR Ref legal event code: PLFP Year of fee payment: 8 |
|
| REG | Reference to a national code |
Ref country code: LT Ref legal event code: MG4D |
|
| REG | Reference to a national code |
Ref country code: NL Ref legal event code: MP Effective date: 20161221 |
|
| PG25 | Lapsed in a contracting state [announced via postgrant information from national office to epo] |
Ref country code: SE Free format text: LAPSE BECAUSE OF FAILURE TO SUBMIT A TRANSLATION OF THE DESCRIPTION OR TO PAY THE FEE WITHIN THE PRESCRIBED TIME-LIMIT Effective date: 20161221 Ref country code: LT Free format text: LAPSE BECAUSE OF FAILURE TO SUBMIT A TRANSLATION OF THE DESCRIPTION OR TO PAY THE FEE WITHIN THE PRESCRIBED TIME-LIMIT Effective date: 20161221 Ref country code: GR Free format text: LAPSE BECAUSE OF FAILURE TO SUBMIT A TRANSLATION OF THE DESCRIPTION OR TO PAY THE FEE WITHIN THE PRESCRIBED TIME-LIMIT Effective date: 20170322 Ref country code: NO Free format text: LAPSE BECAUSE OF FAILURE TO SUBMIT A TRANSLATION OF THE DESCRIPTION OR TO PAY THE FEE WITHIN THE PRESCRIBED TIME-LIMIT Effective date: 20170321 |
|
| PG25 | Lapsed in a contracting state [announced via postgrant information from national office to epo] |
Ref country code: FI Free format text: LAPSE BECAUSE OF FAILURE TO SUBMIT A TRANSLATION OF THE DESCRIPTION OR TO PAY THE FEE WITHIN THE PRESCRIBED TIME-LIMIT Effective date: 20161221 Ref country code: HR Free format text: LAPSE BECAUSE OF FAILURE TO SUBMIT A TRANSLATION OF THE DESCRIPTION OR TO PAY THE FEE WITHIN THE PRESCRIBED TIME-LIMIT Effective date: 20161221 |
|
| REG | Reference to a national code |
Ref country code: ES Ref legal event code: FG2A Ref document number: 2619838 Country of ref document: ES Kind code of ref document: T3 Effective date: 20170627 |
|
| PG25 | Lapsed in a contracting state [announced via postgrant information from national office to epo] |
Ref country code: NL Free format text: LAPSE BECAUSE OF FAILURE TO SUBMIT A TRANSLATION OF THE DESCRIPTION OR TO PAY THE FEE WITHIN THE PRESCRIBED TIME-LIMIT Effective date: 20161221 |
|
| PG25 | Lapsed in a contracting state [announced via postgrant information from national office to epo] |
Ref country code: RO Free format text: LAPSE BECAUSE OF FAILURE TO SUBMIT A TRANSLATION OF THE DESCRIPTION OR TO PAY THE FEE WITHIN THE PRESCRIBED TIME-LIMIT Effective date: 20161221 Ref country code: EE Free format text: LAPSE BECAUSE OF FAILURE TO SUBMIT A TRANSLATION OF THE DESCRIPTION OR TO PAY THE FEE WITHIN THE PRESCRIBED TIME-LIMIT Effective date: 20161221 Ref country code: IS Free format text: LAPSE BECAUSE OF FAILURE TO SUBMIT A TRANSLATION OF THE DESCRIPTION OR TO PAY THE FEE WITHIN THE PRESCRIBED TIME-LIMIT Effective date: 20170421 |
|
| PG25 | Lapsed in a contracting state [announced via postgrant information from national office to epo] |
Ref country code: BG Free format text: LAPSE BECAUSE OF FAILURE TO SUBMIT A TRANSLATION OF THE DESCRIPTION OR TO PAY THE FEE WITHIN THE PRESCRIBED TIME-LIMIT Effective date: 20170321 Ref country code: SM Free format text: LAPSE BECAUSE OF FAILURE TO SUBMIT A TRANSLATION OF THE DESCRIPTION OR TO PAY THE FEE WITHIN THE PRESCRIBED TIME-LIMIT Effective date: 20161221 Ref country code: PT Free format text: LAPSE BECAUSE OF FAILURE TO SUBMIT A TRANSLATION OF THE DESCRIPTION OR TO PAY THE FEE WITHIN THE PRESCRIBED TIME-LIMIT Effective date: 20170421 |
|
| REG | Reference to a national code |
Ref country code: DE Ref legal event code: R026 Ref document number: 502010012918 Country of ref document: DE |
|
| PLBI | Opposition filed |
Free format text: ORIGINAL CODE: 0009260 |
|
| REG | Reference to a national code |
Ref country code: HU Ref legal event code: AG4A Ref document number: E032503 Country of ref document: HU |
|
| 26 | Opposition filed |
Opponent name: EISENMANN SE Effective date: 20170920 |
|
| PLAX | Notice of opposition and request to file observation + time limit sent |
Free format text: ORIGINAL CODE: EPIDOSNOBS2 |
|
| REG | Reference to a national code |
Ref country code: CH Ref legal event code: PL |
|
| REG | Reference to a national code |
Ref country code: SK Ref legal event code: T3 Ref document number: E 24523 Country of ref document: SK |
|
| PG25 | Lapsed in a contracting state [announced via postgrant information from national office to epo] |
Ref country code: DK Free format text: LAPSE BECAUSE OF FAILURE TO SUBMIT A TRANSLATION OF THE DESCRIPTION OR TO PAY THE FEE WITHIN THE PRESCRIBED TIME-LIMIT Effective date: 20161221 Ref country code: MC Free format text: LAPSE BECAUSE OF FAILURE TO SUBMIT A TRANSLATION OF THE DESCRIPTION OR TO PAY THE FEE WITHIN THE PRESCRIBED TIME-LIMIT Effective date: 20161221 |
|
| REG | Reference to a national code |
Ref country code: IE Ref legal event code: MM4A |
|
| PG25 | Lapsed in a contracting state [announced via postgrant information from national office to epo] |
Ref country code: LU Free format text: LAPSE BECAUSE OF NON-PAYMENT OF DUE FEES Effective date: 20170319 |
|
| PG25 | Lapsed in a contracting state [announced via postgrant information from national office to epo] |
Ref country code: LI Free format text: LAPSE BECAUSE OF NON-PAYMENT OF DUE FEES Effective date: 20170331 Ref country code: SI Free format text: LAPSE BECAUSE OF FAILURE TO SUBMIT A TRANSLATION OF THE DESCRIPTION OR TO PAY THE FEE WITHIN THE PRESCRIBED TIME-LIMIT Effective date: 20161221 Ref country code: CH Free format text: LAPSE BECAUSE OF NON-PAYMENT OF DUE FEES Effective date: 20170331 Ref country code: IE Free format text: LAPSE BECAUSE OF NON-PAYMENT OF DUE FEES Effective date: 20170319 |
|
| PLBB | Reply of patent proprietor to notice(s) of opposition received |
Free format text: ORIGINAL CODE: EPIDOSNOBS3 |
|
| REG | Reference to a national code |
Ref country code: HU Ref legal event code: HC9C |
|
| REG | Reference to a national code |
Ref country code: FR Ref legal event code: PLFP Year of fee payment: 9 |
|
| REG | Reference to a national code |
Ref country code: AT Ref legal event code: MM01 Ref document number: 855008 Country of ref document: AT Kind code of ref document: T Effective date: 20170319 |
|
| PLAB | Opposition data, opponent's data or that of the opponent's representative modified |
Free format text: ORIGINAL CODE: 0009299OPPO |
|
| R26 | Opposition filed (corrected) |
Opponent name: EISENMANN SE Effective date: 20170920 |
|
| PG25 | Lapsed in a contracting state [announced via postgrant information from national office to epo] |
Ref country code: AT Free format text: LAPSE BECAUSE OF NON-PAYMENT OF DUE FEES Effective date: 20170319 |
|
| PG25 | Lapsed in a contracting state [announced via postgrant information from national office to epo] |
Ref country code: MT Free format text: LAPSE BECAUSE OF FAILURE TO SUBMIT A TRANSLATION OF THE DESCRIPTION OR TO PAY THE FEE WITHIN THE PRESCRIBED TIME-LIMIT Effective date: 20161221 |
|
| APBM | Appeal reference recorded |
Free format text: ORIGINAL CODE: EPIDOSNREFNO |
|
| APBP | Date of receipt of notice of appeal recorded |
Free format text: ORIGINAL CODE: EPIDOSNNOA2O |
|
| APAH | Appeal reference modified |
Free format text: ORIGINAL CODE: EPIDOSCREFNO |
|
| APBU | Appeal procedure closed |
Free format text: ORIGINAL CODE: EPIDOSNNOA9O |
|
| PG25 | Lapsed in a contracting state [announced via postgrant information from national office to epo] |
Ref country code: CY Free format text: LAPSE BECAUSE OF NON-PAYMENT OF DUE FEES Effective date: 20161221 |
|
| PUAH | Patent maintained in amended form |
Free format text: ORIGINAL CODE: 0009272 |
|
| STAA | Information on the status of an ep patent application or granted ep patent |
Free format text: STATUS: PATENT MAINTAINED AS AMENDED |
|
| PG25 | Lapsed in a contracting state [announced via postgrant information from national office to epo] |
Ref country code: MK Free format text: LAPSE BECAUSE OF FAILURE TO SUBMIT A TRANSLATION OF THE DESCRIPTION OR TO PAY THE FEE WITHIN THE PRESCRIBED TIME-LIMIT Effective date: 20161221 |
|
| 27A | Patent maintained in amended form |
Effective date: 20191225 |
|
| AK | Designated contracting states |
Kind code of ref document: B2 Designated state(s): AT BE BG CH CY CZ DE DK EE ES FI FR GB GR HR HU IE IS IT LI LT LU LV MC MK MT NL NO PL PT RO SE SI SK SM TR |
|
| REG | Reference to a national code |
Ref country code: DE Ref legal event code: R102 Ref document number: 502010012918 Country of ref document: DE |
|
| REG | Reference to a national code |
Ref country code: SK Ref legal event code: T5 Ref document number: E 24523 Country of ref document: SK |
|
| REG | Reference to a national code |
Ref country code: ES Ref legal event code: DC2A Ref document number: 2619838 Country of ref document: ES Kind code of ref document: T5 Effective date: 20200807 |
|
| P01 | Opt-out of the competence of the unified patent court (upc) registered |
Effective date: 20230512 |
|
| PGFP | Annual fee paid to national office [announced via postgrant information from national office to epo] |
Ref country code: DE Payment date: 20250319 Year of fee payment: 16 |
|
| PGFP | Annual fee paid to national office [announced via postgrant information from national office to epo] |
Ref country code: HU Payment date: 20250321 Year of fee payment: 16 |
|
| PGFP | Annual fee paid to national office [announced via postgrant information from national office to epo] |
Ref country code: BE Payment date: 20250319 Year of fee payment: 16 |
|
| PGFP | Annual fee paid to national office [announced via postgrant information from national office to epo] |
Ref country code: PL Payment date: 20250307 Year of fee payment: 16 Ref country code: FR Payment date: 20250325 Year of fee payment: 16 Ref country code: CZ Payment date: 20250311 Year of fee payment: 16 |
|
| PGFP | Annual fee paid to national office [announced via postgrant information from national office to epo] |
Ref country code: IT Payment date: 20250320 Year of fee payment: 16 Ref country code: GB Payment date: 20250321 Year of fee payment: 16 Ref country code: SK Payment date: 20250310 Year of fee payment: 16 |
|
| PGFP | Annual fee paid to national office [announced via postgrant information from national office to epo] |
Ref country code: TR Payment date: 20250311 Year of fee payment: 16 |
|
| PGFP | Annual fee paid to national office [announced via postgrant information from national office to epo] |
Ref country code: ES Payment date: 20250425 Year of fee payment: 16 |