EP2256238B2 - Fadenklemmeinrichtung für eine Spindel einer Spinn- oder Zwirnmaschine - Google Patents

Fadenklemmeinrichtung für eine Spindel einer Spinn- oder Zwirnmaschine Download PDF

Info

Publication number
EP2256238B2
EP2256238B2 EP10004384.3A EP10004384A EP2256238B2 EP 2256238 B2 EP2256238 B2 EP 2256238B2 EP 10004384 A EP10004384 A EP 10004384A EP 2256238 B2 EP2256238 B2 EP 2256238B2
Authority
EP
European Patent Office
Prior art keywords
nipping
yarn
elements
load
spindle
Prior art date
Legal status (The legal status is an assumption and is not a legal conclusion. Google has not performed a legal analysis and makes no representation as to the accuracy of the status listed.)
Active
Application number
EP10004384.3A
Other languages
English (en)
French (fr)
Other versions
EP2256238A1 (de
EP2256238B1 (de
Inventor
Gerd Stahlecker
Werner Zott
Nora Stopp
Current Assignee (The listed assignees may be inaccurate. Google has not performed a legal analysis and makes no representation or warranty as to the accuracy of the list.)
Maschinenfabrik Rieter AG
Original Assignee
Maschinenfabrik Rieter AG
Priority date (The priority date is an assumption and is not a legal conclusion. Google has not performed a legal analysis and makes no representation as to the accuracy of the date listed.)
Filing date
Publication date
Family has litigation
First worldwide family litigation filed litigation Critical https://patents.darts-ip.com/?family=42651398&utm_source=google_patent&utm_medium=platform_link&utm_campaign=public_patent_search&patent=EP2256238(B2) "Global patent litigation dataset” by Darts-ip is licensed under a Creative Commons Attribution 4.0 International License.
Application filed by Maschinenfabrik Rieter AG filed Critical Maschinenfabrik Rieter AG
Publication of EP2256238A1 publication Critical patent/EP2256238A1/de
Application granted granted Critical
Publication of EP2256238B1 publication Critical patent/EP2256238B1/de
Publication of EP2256238B2 publication Critical patent/EP2256238B2/de
Active legal-status Critical Current
Anticipated expiration legal-status Critical

Links

Images

Classifications

    • DTEXTILES; PAPER
    • D01NATURAL OR MAN-MADE THREADS OR FIBRES; SPINNING
    • D01HSPINNING OR TWISTING
    • D01H1/00Spinning or twisting machines in which the product is wound-up continuously
    • D01H1/14Details
    • D01H1/38Arrangements for winding reserve lengths of yarn on take-up packages or spindles, e.g. transfer tails
    • BPERFORMING OPERATIONS; TRANSPORTING
    • B65CONVEYING; PACKING; STORING; HANDLING THIN OR FILAMENTARY MATERIAL
    • B65HHANDLING THIN OR FILAMENTARY MATERIAL, e.g. SHEETS, WEBS, CABLES
    • B65H65/00Securing material to cores or formers
    • BPERFORMING OPERATIONS; TRANSPORTING
    • B65CONVEYING; PACKING; STORING; HANDLING THIN OR FILAMENTARY MATERIAL
    • B65HHANDLING THIN OR FILAMENTARY MATERIAL, e.g. SHEETS, WEBS, CABLES
    • B65H2701/00Handled material; Storage means
    • B65H2701/30Handled filamentary material
    • B65H2701/31Textiles threads or artificial strands of filaments

Definitions

  • the invention relates to a thread clamping device for a spindle of a spinning or twisting machine with a receptacle for attaching the thread clamping device to the spindle, with two mutually movable clamping elements for clamping a thread, with at least one loading element for closing the clamping elements with a loading force, and at least one Relief element for generating a load force opposing the relieving force, wherein the relief element is movable in the thread clamping device under centrifugal force with rotating spindle and wherein the clamping elements can be opened by the unloading force.
  • a thread clamping device of this type is by the WO 2007/131562 A1 State of the art.
  • the loading element which causes the clamping of the thread is formed in the known thread clamping device by a spring.
  • a plurality of relief elements are arranged in the form of balls, which are radially movable and are guided in half-shell-like guides.
  • the guides for the balls are designed so that the clamping elements for the thread open and close during a radial movement of the balls.
  • the WO 2007065703 A2 relates to a thread clamping device for underwinding threads on spindles of a ring spinning or ring twisting machine, wherein between a clamping ring and a radially projecting collar on the spindle an axial, between a defined by the system to the clamping ring clamping position and an open position slidable clamping sleeve is provided.
  • the clamping sleeve is assigned for the axial movement of an actuating device which cooperate with radially extending means on the clamping sleeve.
  • the clamping sleeve are assigned elements for fixing their position at least in the clamping position.
  • the actuating elements and / or the radially projecting means are held on the clamping sleeve radially to each spindle axis elastically to each other and are provided in both relative directions of movement with radially effective ramps. Magnets or spring push buttons are used to fix the clamping sleeve and thus to clamp the thread.
  • magnets are provided as loading elements.
  • the magnets load the movable clamping elements by their attraction, thereby causing the clamping of the thread. Since the attraction of the magnets greatly reduced with increasing distance of the clamping elements, a very high unloading force, ie a high spindle speed is required to open the thread clamping device.
  • the invention has for its object to provide an improved thread clamping device.
  • the relief element can exert different levels of relief forces, depending on which position it is in a thread clamping device can create that opens at a first spindle speed and at a second, different from the first spindle speed closes. Due to the variable unloading forces no magnets in the thread clamping device are required.
  • the loading force of the at least one loading element can be higher in the opened state of the clamping elements than in the closed state of the clamping elements. This makes it possible to achieve the advantage that the clamping force of a thicker thread is greater than the clamping force of a thinner thread.
  • all load elements by very inexpensive spring elements be formed.
  • a closed state of the clamping elements and a second position of a relief element is associated with an open state of the clamping elements a first position of a relief element, wherein the relief element in the first position with closed clamping elements a low unloading force and in the second position open clamping elements high discharge force can be generated.
  • This comparison is made at a predetermined and kept constant speed of the spindle.
  • This embodiment has the advantage that the clamping elements open in the acceleration phase of the spindle only at a high spindle speed and close again in the deceleration phase at a low spindle speed. The opening and closing of the thread clamping device happens when the unloading force and the loading force are in equilibrium.
  • the relief element can take two positions in the thread clamping device, in which it generates different relief forces, there are two limit speeds, in which the unloading force and load force are in equilibrium.
  • a relief element for opening the clamping elements from the first position to the second position movable, and falls below a lower limit than the lower limit speed is a relief element for closing the clamping elements of the second position back into the first position movable. Since only a low unloading force at a predefined spindle speed can be generated by the relief element in the first position, a higher spindle speed is required conversely until the unloading force is sufficient to release the loading force and bring the clamping elements into the open state.
  • the relief element In the deceleration phase of the spindle, the relief element is in the second position and generates accordingly - at the same speed - a higher unloading force.
  • the spindle speed can therefore be lowered to the lower limit speed without closing the clamping elements. Only when falling below the lower limit speed, the unloading force falls below the loading force, and leads to a closing of the clamping elements.
  • a relief element is formed by a substantially radially movable centrifugal force body.
  • a centrifugal body is advantageously formed by a ball.
  • the centrifugal body are assigned at least two contact surfaces.
  • a first contact surface is associated with the first position of the centrifugal force body and a second contact surface with the second position of the centrifugal force body.
  • the contact surfaces are at a different radius, which is defined by the distance of the contact surface to the center line of the receptacle for attaching the thread clamping device to the spindle. Since the centrifugal body moves radially from the first position to the second position and thereby opens the clamping elements, it is advantageous to arrange the contact surface assigned to the first position to a smaller radius than the contact surface assigned to the second position.
  • a tangent applied at the contact point between a centrifugal force body and a contact surface, seen in the axial section of the thread clamping device has an angle to the center line of the receptacle, and a tangent is present at a contact surface lying on a small radius, which has a small angle to the center line of the receptacle, and that at a lying on a large radius abutment surface a tangent is present, which has a large angle to the center line of the receptacle.
  • the angle between the tangent and the center line determines the size of the unloading force with the same centrifugal force of the relief element.
  • a very simple thread clamping device can be created in which different relief forces can be generated by a relief element at a definable spindle speed.
  • the upper and lower limit speed can be adapted in a very simple manner by the geometry of the contact surfaces to the requirements.
  • On expensive magnets can be dispensed with.
  • An additional assembly step for the attachment of the magnets in the thread clamping device can be omitted.
  • An inventive thread clamping device can thus be produced in small quantities with little effort.
  • the tangent applied at the point of contact intersects the midline.
  • the tangent lies in the axial section plane of the receptacle. This results in a particularly good conversion of the centrifugal force generated by the centrifugal force in one of the loading force opposing unloading force.
  • the low angle is between 0 ° and 20 ° and is particularly preferably in the range of 5 ° to 10 °.
  • the large angle is advantageously between 60 ° and 80 ° and is particularly preferably in the range of 60 ° to 75 °.
  • a contact surface lying on a small radius may have a region which, viewed in axial section, encloses a small angle with the center line of the receptacle.
  • a contact surface lying on a large radius can have a region which, viewed in axial section, encloses a large angle with the center line of the receptacle. Areas of the contact surfaces that run straight in axial section leave make it very easy. Also, the unloading force generated by the centrifugal body is substantially constant over the rectilinear region of the contact surface, so that the influence of manufacturing tolerances on the upper and lower limit speed can be reduced. In an area extending in a straight line contact surface, the angle between the contact surface and center line corresponds exactly to the angle between the center line and a tangent applied to the contact surface of the centrifugal body tangent.
  • a contact surface for a centrifugal body is arranged on a deformable by centrifugal force component of the thread clamping device.
  • the centrifugal body and the deformable by centrifugal force component have a contact point in which a tangent can be applied.
  • This embodiment has the advantage that the angle of the tangent to the central axis of the recording changes during the acceleration phase of the spindle. At low spindle speeds, the angle of the tangent to the center line is very small, so that a high upper limit speed is reached by the additional component, in which open the clamping elements.
  • the deformable by centrifugal force component is preferably formed by a ring.
  • the center of the ring is preferably on the center line of the receptacle.
  • the ring may advantageously consist of a rubber-elastic material.
  • the ring is preferably arranged so that it does not hinder the movement of the centrifugal body when closing the clamping elements.
  • FIG. 1 a spindle 1 of a spinning or twisting machine is shown.
  • the spindle 1 consists of a rotating upper part 2 and a non-rotating bearing housing 3, which is fixedly mounted on a spindle bank, not shown.
  • the upper part 2 has a co-rotating shaft 4 which is mounted in the bearing housing 3 in a neck bearing 5 and a footrest, not shown.
  • the upper part 2 contains a whorl 6, via which it can be driven by a belt 7.
  • the thread clamping device 8 is mounted with a receptacle 9 on the spindle upper part 2.
  • the thread clamping device 8 is preferably releasably attached to the upper part 2 in order to be easily replaceable in the event of a defect.
  • the upper part 2 can receive above the thread clamping device 8, a spool sleeve, not shown, on which the yarn produced is wound up into a coil.
  • the Aufwindevorgang is carried out in a known manner by means of a raised and lowered ring rail, which extends over a plurality of juxtaposed in the machine spindles 1.
  • Each spindle 1 is associated with a spinning ring, also not shown, on which a rotor rotates in a known manner, which gives the thread a rotation during operation and guides it to the spool.
  • the thread clamping device 8 consists of a sleeve-shaped base body 10 which contains the receptacle 9 for the spindle 1. On the main body 10, an axially displaceable sleeve 11 is arranged. On the main body 10 and on the sleeve 11, a respective clamping element 12 and 13 is arranged. The clamping elements 12 and 13 include clamping surfaces 14 and 15, which may form a gap 16 for clamping a thread. The thread to be clamped is also called "underwind thread". The opened gap 16 between the clamping elements 12 and 13 is in FIG. 2 recognizable.
  • the thread clamping device 8 includes a loading element 17 in the form of a spring. The loading element 17 generates a loading force that presses the clamping element 13 on the sleeve 11 against the clamping element 12 on the base body 10, so that an underwinding thread between the clamping surfaces 14 and 15 can be clamped.
  • the movement of the sleeve 11 during opening and closing of the clamping elements 12, 13 is ensured by two guides 41 and 42.
  • a first guide in the region of the clamping element 13 is arranged.
  • a second guide 42 is spaced as far as possible from the first guide 41.
  • the guide 41 and the guide 42 are arranged so that the loading element 17 and the relief elements 18 seen in axial section between the two guides 41, 42 are located.
  • the spring 17 is guided and centered by the base body 10.
  • the thread clamping device 8 also includes a plurality of relief elements 18 for generating a load force opposing the load force.
  • a plurality of relief elements 18 for generating a load force opposing the load force.
  • two relief elements 18 are shown. It can be arranged evenly distributed on the circumference of the thread clamping device 8 several relief elements 18.
  • the relief element 18 is formed by a substantially radially movable centrifugal force body 19 in the form of a sphere.
  • the ball is preferably made of steel.
  • the relief element 18 is in a first position.
  • the centrifugal body 19 is guided in a guide 20 in the main body 10.
  • the centrifugal body 19 is associated with a first bearing surface 21.
  • the contact surface 21 is arranged on the sleeve 11. Under centrifugal force with rotating spindle 1, the ball 19 applies to the contact surface 21 at.
  • the contact surface 21 includes a small angle A with the center line 23 of the receptacle 9 a. By the angle A, the ball 19 generates a force in the axial direction of the center line 23 on the sleeve 11, which is opposite to the loading force of the spring 17.
  • the state of the thread clamping device 8 with open clamping elements 12, 13 is in FIG. 2 recognizable.
  • the centrifugal body 19 are in the second position and between the clamping surfaces 14 and 15, the gap 16 is opened. In this position, the centrifugal body 19 is associated with a second bearing surface 22 on the sleeve 11, which has an angle B to the center line 23 of the receptacle 9. The angle B is greater than the angle A.
  • the centrifugal force generated by the ball 19 at a given spindle speed in this second position is slightly larger, since the distance of the ball to the rotation axis 23 is slightly larger, the unloading force is the Ball 19 on the sleeve 11 due to the larger angle B much larger than in the first position.
  • the thread clamping device 8 closes when it falls below the upper limit speed at which the thread clamping device 8 had opened, not yet again. Only when falling below a lower limit speed, the relief force decreases so far that the discharge force falls below the loading force of the spring 17 and the sleeve 11 is pressed by the spring 17 back up.
  • the loading element 17 closes the clamping elements 12, 13 and the ball 19 moves back to the first position, see FIG. 1 ,
  • FIG. 3 is again the area around the ball 19 shown as a relief element 18 enlarged. It can be seen that the ball 19 rests against the guide 20 of the main body 10 and on the contact surface 21 of the sleeve 11. Due to the angle A of the contact surface 21 to the center line 23 is formed in the contact point 24 between the centrifugal body 19 and the contact surface 21 of the clamping force opposing unloading force.
  • the contact surface 21 has a region extending in a straight line in axial section.
  • the angle A of the contact surface 21 is thus identical to that of a tangent applied to the ball 19 at the contact point 24.
  • the second contact surface 22 has a large angle B to the center line 23.
  • the angle B is substantially greater than the angle A. This angle difference is achieved that the thread clamping device 8 opens at a high spindle speed, and closes only at a much lower spindle speed again.
  • the thread clamping device 8 closes and the underwinding thread is clamped between the clamping elements 12 and 13. Then the spindle is stopped and the full cop is pulled up from the upper part 2. The yarn end coming from the stretching or delivery unit remains clamped when pulling off the full cop in the thread clamping device 8 and the thread is separated between cop and thread clamping device 8.
  • the machine is started again. During the acceleration of the spindle 1, the ring rail is already raised again to a position so that the thread is wound onto the seated on the upper part 2 sleeve.
  • the thread clamping device 8 opens again and the thread end clamped in the gap 16 is ejected.
  • the lower limit speed is very low, for example of the order of about 1,000 to 2,000 l / min.
  • the design of the contact surfaces 21 and 22 can be varied. In the FIGS. 4 to 8 some advantageous variants are shown.
  • FIG. 6 an advantageous variant is shown, in which the contact surface 21 and the contact surface 22 are already curved. It can thereby achieve a particularly gentle transition of the ball 19.
  • the position of the ball 19 is shown with closed thread clamping device.
  • the right part of the FIG. 6 shows the ball 19 with open thread clamping device 8.
  • the tangent applied at the contact point 24 27 and its angle A to the center line 23 prevail.
  • the angle B of a tangent 28 in the contact point between the ball 19 and bearing surface 22 is relevant.
  • the angle A is preferably in the range between 5 ° and 10 °, particularly preferably about 6 °.
  • the angle B is advantageously in the range of 60 ° to 75 °, and in particular about 65 °.
  • FIG. 7 a variant is shown in which the contact surface 21 has a slight elevation.
  • the tangent 27 at the contact point 24 thereby has a very small angle A to the center line 23. This makes it possible to achieve a relatively high upper limit speed for opening the thread clamping device.
  • the sleeve 11 of the thread clamping device 8 contains a component 29 that can be deformed by the action of centrifugal force.
  • the contact surface 21, against which the centrifugal force element 19 rests when the thread clamping device 8 is closed, is arranged on the deformable component 29.
  • the tangent 27 applied in the contact point 24 in turn has a small angle A to the center line 23.
  • the deformable component 29 is advantageously formed by a ring 30.
  • the center of the ring 30 lies on the center line 23 of the receptacle.
  • the ring 30 is made of a rubber-elastic material. The ring 30 causes the thread clamping device 8 opens only at a high upper limit speed.
  • the spindle speed must become so high that the ring 30 widens due to the action of centrifugal force and thereby enables the ball 19 to change its position.
  • the deformable component 29 is not a hindrance to the moving from the second to the first position ball 19.
  • a corresponding arrangement of a ring 30 may in the embodiment according to FIG. 8 even the angle A of the tangent 27 to be reduced to a negative value, so that at the beginning of the acceleration phase of the centrifugal body 19, the clamping force of the clamping elements 12, 13 amplified and thereby the clamping action of the thread clamping device 8, especially with thick threads, further improved.
  • the angle A increases steadily until the ball 19 finally pushes over the ring 30 over.
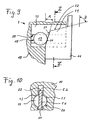
  • FIGS. 9 and 10 an embodiment of a thread clamping device 8 is shown, in which the stroke of the sleeve 11 is greater than the diameter of the balls 19.
  • two contact surfaces 21 and 22 are provided on the sleeve, which have a different angle A and B to the center line 23 of the spindle 1 have.
  • the contact surfaces 21 and 22 are arranged on a radially inwardly projecting web 51.
  • the web 51 protrudes into a recess 52 of the base body 10.
  • the web 51 is arranged so that the ball 19 is centrally supported.
  • the guide 20 for the ball 19 in the main body 10 is formed so that the ball 19 is guided by two segment-shaped guide surfaces 53 and in the radial direction from the illustrated first position to a second position similar to the illustration in FIG. 2 can move.
  • the guide surfaces 53 are formed by cutouts of peripheral surfaces of a cylinder.
  • the guide 20 and the contact surfaces 21, 22 arranged symmetrically to the ball center. The ball 19 is thereby guided very precisely, so that they do not jam in their radial movement.
  • FIGS. 3 to 8 illustrated embodiments of the contact surfaces 21, 22 in one embodiment according to the FIGS. 9 and 10 deploy.

Landscapes

  • Engineering & Computer Science (AREA)
  • Mechanical Engineering (AREA)
  • Textile Engineering (AREA)
  • Spinning Or Twisting Of Yarns (AREA)

Description

  • Die Erfindung betrifft eine Fadenklemmeinrichtung für eine Spindel einer Spinn- oder Zwirnmaschine mit einer Aufnahme zur Anbringung der Fadenklemmeinrichtung an der Spindel, mit zwei gegeneinander beweglichen Klemmelementen zur Klemmung eines Fadens, mit wenigstens einem Belastungselement zum Schließen der Klemmelemente mit einer Belastungskraft, und mit wenigstens einem Entlastungselement zum Erzeugen einer der Belastungskraft entgegengerichteten Entlastungskraft, wobei das Entlastungselement in der Fadenklemmeinrichtung unter Fliehkrafteinwirkung bei rotierender Spindel beweglich ist und wobei die Klemmelemente durch die Entlastungskraft öffenbar sind.
  • Eine Fadenklemmeinrichtung dieser Art ist durch die WO 2007/131562 A1 Stand der Technik. Das Belastungselement, das die Klemmung des Fadens bewirkt, wird bei der bekannten Fadenklemmeinrichtung durch eine Feder gebildet. In der Fadenklemmeinrichtung sind mehrere Entlastungselemente in Form von Kugeln angeordnet, die radial beweglich sind und in halbschalenartigen Führungen geführt werden. Die Führungen für die Kugeln sind so gestaltet, dass sich die Klemmelemente für den Faden bei einer radialen Bewegung der Kugeln öffnen und schließen. Bei einer Rotation der Spindel im Betriebszustand erfahren die Kugeln eine mit der Spindeldrehzahl steigende Fliehkraft. Es gibt eine Grenzdrehzahl, bei der die von den Kugeln erzeugte Entlastungskraft der Belastungskraft der Feder entspricht. Bei Überschreiten dieser Grenzdrehzahl öffnet sich die Fadenklemmeinrichtung. Beim Abbremsen der Spindel wird bei Unterschreiten der Grenzdrehzahl die Fliehkraft der Kugeln geringer als die Belastungskraft der Feder, so dass sich die Fadenklemmeinrichtung schließt. Öffnen und Schließen der Klemmelemente der Fadenklemmeinrichtung geschieht bei ein und derselben Drehzahl. Eine ähnliche Fadenklemmeinrichtung ist auch bereits aus der DE 196 28 826 A1 bekannt.
  • Die WO 2007065703 A2 betrifft eine Fadenklemmvorrichtung für Unterwindefäden an Spindeln einer Ringspinn- oder Ringzwirnmaschine, wobei zwischen einem Klemmring und einem radial vorstehendem Bund an der Spindel eine axial, zwischen einer durch die Anlage an dem Klemmring definierten Klemmstellung und einer Offenstellung verschiebbare Klemmhülse vorgesehen ist. Der Klemmhülse ist für deren axiale Bewegung eine Betätigungsvorrichtung zugeordnet, die mit sich radial erstreckenden Mitteln an der Klemmhülse zusammenwirken. Der Klemmhülse sind Elemente zur Fixierung ihrer Lage mindestens in der Klemmstellung zugeordnet. Die Betätigungselemente und/oder die radial vorstehenden Mittel werden an der Klemmhülse radial zu jeder Spindelachse elastisch aneinander gehalten und sind in beiden relativen Bewegungsrichtungen mit radial wirksamen Auflaufschrägen versehen. Zur Fixierung der Klemmhülse und damit zur Klemmung des Fadens werden Magnete oder Feder-Druckknöpfe verwendet.
  • Aus der WO 2007/065703 A2 erfolgt das Öffnen und Schließen der Klemmelemente bei unterschiedlichen Spindeldrehzahlen. Ein Wechseln eines auf der Spindel sitzenden Kopses, der sogenannte Doff-Vorgang, wird erleichtert, wenn die Fadenunterwindung bei niedriger Spindeldrehzahl erfolgen kann und wenn nach dem Wiederanlauf der Spinn- oder Zwirnmaschine der Faden noch bis zu einer möglichst hohen Spindeldrehzahl in der Fadenklemmeinrichtung fixiert bleibt. Dies wird mit der Fadenklemmeinrichtung gemäß der WO 2007/065703 A2 realisiert. Das Öffnen der Klemmelemente in der Beschleunigungsphase der Spindel erfolgt bei einer hohen Drehzahl, das Schließen der Klemmelemente in der Verzögerungsphase der Spindel dagegen bei einer niedrigen Drehzahl. Dieses Verhalten der Fadenklemmeinrichtung wird dadurch erreicht, dass Magnete als Belastungselemente vorgesehen sind. Die Magnete belasten die beweglichen Klemmelemente durch ihre Anziehungskraft und bewirken dadurch die Klemmung des Fadens. Da sich die Anziehungskraft der Magnete mit größer werdendem Abstand der Klemmelemente stark reduziert, ist zum Öffnen der Fadenklemmeinrichtung eine sehr hohe Entlastungskraft, also eine hohe Spindeldrehzahl, erforderlich.
  • Da sich die Anziehungskraft der Magnete bei größer werdendem Klemmspalt reduziert, reduziert sich auch die Klemmkraft, je dicker der zu klemmende Faden ist. Gerade bei dickeren Fäden wird aufgrund einer höheren Reißfestigkeit des Fadens jedoch eine verstärkte Klemmkraft in der Fadenklemmeinrichtung gefordert. Außerdem sind Magnete teure Komponenten, insbesondere wenn sie wie im vorliegenden Fall eine hohe Magnetkraft aufweisen müssen und gleichzeitig unempfindlich gegen Vibrationen sein müssen.
  • Der Erfindung liegt die Aufgabe zugrunde, eine verbesserte Fadenklemmeinrichtung zu schaffen.
  • Die Aufgabe wird gemäß Anspruch 1 gelöst.
  • Dadurch dass bei einer definierten und konstant gehaltenen Spindeldrehzahl das Entlastungselement unterschiedlich große Entlastungskräfte ausüben kann, je nachdem, in welcher Position es sich befindet, lässt sich eine Fadenklemmeinrichtung schaffen, die sich bei einer ersten Spindeldrehzahl öffnet und bei einer zweiten, von der ersten verschiedenen Spindeldrehzahl schließt. Durch die veränderlichen Entlastungskräfte sind keine Magnete in der Fadenklemmeinrichtung erforderlich. Die Belastungskraft des wenigstens einen Belastungselementes kann im geöffneten Zustand der Klemmelemente höher als im geschlossenen Zustand der Klemmelemente sein. Hierdurch lässt sich der Vorteil erreichen, dass die Klemmkraft eines dickeren Fadens größer als die Klemmkraft eines dünneren Fadens ist. Während eines Kopswechselvorganges können so auch dicke Garne oder Zwirne sicher in der Fadenklemmeinrichtung gehalten werden. Trotzdem können alle Belastungselemente durch sehr preisgünstige Federelemente gebildet werden.
  • In vorteilhafter Ausgestaltung ist vorgesehen, dass einer ersten Position eines Entlastungselementes ein geschlossener Zustand der Klemmelemente und einer zweiten Position eines Entlastungselementes ein geöffneter Zustand der Klemmelemente zugeordnet ist, wobei vom Entlastungselement in der ersten Position bei geschlossenen Klemmelementen eine niedrige Entlastungskraft und in der zweiten Position bei geöffneten Klemmelementen eine hohe Entlastungskraft erzeugbar ist. Dieser Vergleich wird bei einer vorgegebenen und konstantgehaltenen Drehzahl der Spindel vorgenommen. Diese Ausgestaltung hat den Vorteil, dass sich die Klemmelemente in der Beschleunigungsphase der Spindel erst bei einer hohen Spindeldrehzahl öffnen und in der Verzögerungsphase bei einer niedrigen Spindeldrehzahl wieder schließen. Das Öffnen und Schließen der Fadenklemmeinrichtung geschieht, wenn sich die Entlastungskraft und die Belastungskraft im Gleichgewicht befinden. Dadurch dass das Entlastungselement zwei Positionen in der Fadenklemmeinrichtung einnehmen kann, in denen es unterschiedliche Entlastungskräfte erzeugt, gibt es zwei Grenzdrehzahlen, bei der Entlastungskraft und Belastungskraft im Gleichgewicht sind. Vorteilhafterweise ist bei Überschreiten einer oberen Grenzdrehzahl der Spindel ein Entlastungselement zum Öffnen der Klemmelemente von der ersten Position in die zweite Position bewegbar, und bei Unterschreiten einer unterhalb der oberen Grenzdrehzahl liegenden unteren Grenzdrehzahl ist ein Entlastungselement zum Schließen der Klemmelemente von der zweiten Position wieder in die erste Position bewegbar. Da vom Entlastungselement in der ersten Position nur eine niedrige Entlastungskraft bei einer vordefinierten Spindeldrehzahl erzeugbar ist, ist im Umkehrschluss eine höhere Spindeldrehzahl erforderlich, bis die Entlastungskraft ausreicht, die Belastungskraft aufzuheben und die Klemmelemente in den geöffneten Zustand zu bringen. In der Verzögerungsphase der Spindel befindet sich das Entlastungselement in der zweiten Position und erzeugt dementsprechend - bei gleicher Drehzahl - eine höhere Entlastungskraft. Die Spindeldrehzahl kann also bis zu der unteren Grenzdrehzahl gesenkt werden, ohne dass sich die Klemmelemente schließen. Erst bei Unterschreiten der unteren Grenzdrehzahl unterschreitet die Entlastungskraft die Belastungskraft, und führt zu einem Schließen der Klemmelemente.
  • Zur Vermeidung von Unwuchten an der Spindel ist es vorteilhaft, mehrere Entlastungselemente am Umfang der Fadenklemmeinrichtung anzuordnen. Bevorzugt wird ein Entlastungselement durch einen im Wesentlichen radial beweglichen Fliehkraftkörper gebildet. Ein Fliehkraftkörper wird vorteilhafterweise durch eine Kugel gebildet.
  • Dem Fliehkraftkörper sind wenigstens zwei Anlageflächen zugeordnet. Eine erste Anlagefläche ist der ersten Position des Fliehkraftkörpers und eine zweite Anlagefläche der zweiten Position des Fliehkraftkörpers zugeordnet. Dabei liegen die Anlageflächen auf einem unterschiedlichen Radius, der durch den Abstand der Anlagefläche zu der Mittellinie der Aufnahme zur Anbringung der Fadenklemmeinrichtung an der Spindel definiert wird. Da sich der Fliehkraftkörper von der ersten Position radial in die zweite Position bewegt und dabei die Klemmelemente öffnet, ist es vorteilhaft, die der ersten Position zugeordnete Anlagefläche auf einem kleineren Radius anzuordnen als die der zweiten Position zugeordnete Anlagefläche.
  • Erfindungsgemäß ist vorgesehen, dass eine im Berührpunkt zwischen einem Fliehkraftkörper und einer Anlagefläche angelegte Tangente - im Axialschnitt der Fadenklemmeinrichtung gesehen - einen Winkel zur Mittellinie der Aufnahme aufweist, und das an einer auf einem geringen Radius liegenden Anlagefläche eine Tangente vorhanden ist, die einen geringen Winkel zur Mittellinie der Aufnahme aufweist, und dass an einer auf einem großen Radius liegenden Anlagefläche eine Tangente vorhanden ist, die einen großen Winkel zur Mittellinie der Aufnahme aufweist. Der Winkel zwischen der Tangente und der Mittellinie bestimmt die Größe der Entlastungskraft bei gleicher Fliehkraft des Entlastungselementes. Durch diese Ausgestaltung lässt sich eine sehr einfache Fadenklemmeinrichtung schaffen, bei der von einem Entlastungselement bei einer definierbaren Spindeldrehzahl unterschiedliche Entlastungskräfte erzeugbar sind. In Abstimmung mit der Masse der Fliehkraftkörper lässt sich die obere und untere Grenzdrehzahl in sehr einfacher Weise durch die Geometrie der Anlageflächen an die Erfordernisse anpassen. Auf teure Magnete kann verzichtet werden. Auch ein zusätzlicher Montageschritt für die Anbringung der Magnete in der Fadenklemmeinrichtung kann entfallen. Eine erfindungsgemäße Fadenklemmeinrichtung lässt sich somit auch in großen Stückzahlen mit wenig Aufwand herstellen.
  • Es ist vorteilhaft, wenn die im Berührpunkt angelegte Tangente die Mittellinie schneidet. Besonders bevorzugt liegt die Tangente in der Axialschnitt-Ebene der Aufnahme. Hierdurch erfolgt eine besonders gute Umwandlung der durch den Fliehkraftkörper erzeugten Fliehkraft in eine der Belastungskraft entgegengerichtete Entlastungskraft. Der geringe Winkel beträgt zwischen 0° und 20° und liegt besonders bevorzugt im Bereich von 5° bis 10°. Der große Winkel beträgt vorteilhaft zwischen 60° und 80° und liegt besonders bevorzugt im Bereich von 60° bis 75°.
  • In weiterer Ausgestaltung kann es vorteilhaft sein, dass eine auf einem geringen Radius liegende Anlagefläche einen Bereich aufweist, der - im Axialschnitt gesehen - einen geringen Winkel mit der Mittellinie der Aufnahme einschließt. Eine auf einem großen Radius liegende Anlagefläche kann einen Bereich aufweisen der - im Axialschnitt gesehen - einen großen Winkel mit der Mittellinie der Aufnahme einschließt. Bereiche der Anlageflächen, die im Axialschnitt gradlinig verlaufen, lassen sich besonders einfach herstellen. Auch ist die vom Fliehkraftkörper erzeugte Entlastungskraft über den gradlinig verlaufenden Bereich der Anlagefläche im Wesentlichen konstant, so dass der Einfluss von Fertigungstoleranzen auf die obere und untere Grenzdrehzahl verringert werden kann. Bei einer in einem Bereich gradlinig verlaufenden Anlagefläche entspricht der Winkel zwischen Anlagefläche und Mittellinie genau dem Winkel zwischen der Mittellinie und einer im Berührpunkt des Fliehkraftkörpers an der Anlagefläche angelegten Tangente.
  • Um eine reibungslose Bewegung des Fliehkraftkörpers in radialer Richtung zu gewährleisten, kann es vorteilhaft sein, dass zwischen der auf einem geringen Radius liegenden Anlagefläche und der auf einem großen Radius liegenden Anlagefläche eine Anlagefläche vorhanden ist, deren Winkel zu der Mittellinie sich mit zunehmendem Radius stetig vergrößert.
  • Es kann vorteilhaft sein, dass eine Anlagefläche für einen Fliehkraftkörper an einer durch Fliehkrafteinwirkung verformbaren Komponente der Fadenklemmeinrichtung angeordnet ist. Der Fliehkraftkörper und die durch Fliehkrafteinwirkung verformbare Komponente weisen einen Berührpunkt auf, in dem eine Tangente anlegbar ist. Diese Ausgestaltung hat den Vorteil, dass sich der Winkel der Tangente zur Mittelachse der Aufnahme während der Beschleunigungsphase der Spindel verändert. Bei niedrigen Spindeldrehzahlen ist der Winkel der Tangente zur Mittelinie sehr klein, so dass durch die Zusatzkomponente eine hohe obere Grenzdrehzahl erreichbar ist, bei der sich die Klemmelemente öffnen. Die durch Fliehkrafteinwirkung verformbare Komponente ist dabei bevorzugt durch einen Ring gebildet. Der Mittelpunkt des Rings liegt bevorzugt auf der Mittellinie der Aufnahme. Der Ring kann vorteilhaft aus einem gummielastischen Material bestehen. Der Ring ist bevorzugt so angeordnet, dass er die Bewegung des Fliehkraftkörpers beim Schließen der Klemmelemente nicht behindert.
  • Weitere Vorteile und Merkmale der Erfindung ergeben sich aus der nachfolgenden Beschreibung einiger Ausführungsbeispiele.
  • Es zeigen:
    • Figur 1 eine teilweise geschnittene Axialansicht auf eine vergrößert dargestellte Spindel, mit einer geschlossenen Fadenklemmeinrichtung,
    • Figur 2 die gleiche Spindel aus Figur 1 mit geöffneter Fadenklemmeinrichtung,
    • Figur 3 den mit III gekennzeichneten Bereich der Figur 1 in vergrößerter Darstellung,
    • Figuren 4 bis 8 Ansichten ähnlich Figur 3 bei anders ausgestalteten Fadenklemmeinrichtungen,
    • Figur 9 eine Ansicht ähnlich Figur 3 auf eine abgewandelte Ausgestaltung einer Fadenklemmeinrichtung,
    • Figur 10 eine entlang der Schnittfläche X-X der Figur 9 geschnittene Ansicht.
  • In Figur 1 ist eine Spindel 1 einer Spinn- oder Zwirnmaschine dargestellt. Die Spindel 1 besteht aus einem rotierenden Oberteil 2 und einem nicht rotierenden Lagergehäuse 3, welches stationär an einer nicht dargestellten Spindelbank befestigt ist. Das Oberteil 2 weist einen mitrotierenden Schaft 4 auf, der in dem Lagergehäuse 3 in einem Halslager 5 und einem nicht dargestellten Fußlager gelagert ist. Das Oberteil 2 enthält einen Wirtel 6, über den es von einem Riemen 7 antreibbar ist.
  • Oberhalb des Wirtels 6 ist eine Fadenklemmeinrichtung 8 angeordnet. Die Fadenklemmeinrichtung 8 ist mit einer Aufnahme 9 an dem Spindeloberteil 2 angebracht. Die Fadenklemmeinrichtung 8 ist bevorzugt lösbar am Oberteil 2 befestigt, um im Falle eines Defektes leicht austauschbar zu sein. Das Oberteil 2 kann oberhalb der Fadenklemmeinrichtung 8 eine nicht dargestellte Spulenhülse aufnehmen, auf welcher der erzeugte Faden zu einer Spule aufgewunden wird. Der Aufwindevorgang wird bekannter Weise mittels einer heb- und senkbaren Ringbank durchgeführt, die sich über eine Vielzahl von nebeneinander in der Maschine angeordneten Spindeln 1 erstreckt. Jeder Spindel 1 ist ein ebenfalls nicht dargestellter Spinnring zugeordnet, auf dem in bekannter Weise ein Läufer umläuft, der bei Betrieb dem Faden eine Drehung erteilt und ihn auf die Spule führt.
  • Die Fadenklemmeinrichtung 8 besteht aus einem hülsenförmigen Grundkörper 10, der die Aufnahme 9 für die Spindel 1 enthält. Auf dem Grundkörper 10 ist eine axial verschiebbare Hülse 11 angeordnet. Am Grundkörper 10 und an der Hülse 11 ist jeweils ein Klemmelement 12 und 13 angeordnet. Die Klemmelemente 12 und 13 enthalten Klemmflächen 14 und 15, die einen Spalt 16 zur Klemmung eines Fadens bilden können. Der zu klemmende Faden wird auch als "Unterwindefaden" bezeichnet. Der geöffnete Spalt 16 zwischen den Klemmelementen 12 und 13 ist in Figur 2 erkennbar. Die Fadenklemmeinrichtung 8 enthält ein Belastungselement 17 in Form einer Feder. Das Belastungselement 17 erzeugt eine Belastungskraft, die das Klemmelement 13 an der Hülse 11 gegen das Klemmelement 12 am Grundkörper 10 drückt, so dass ein Unterwindefaden zwischen den Klemmflächen 14 und 15 geklemmt werden kann.
  • Die Bewegung der Hülse 11 beim Öffnen und Schließen der Klemmelemente 12, 13 wird durch zwei Führungen 41 und 42 gewährleistet. Damit die Hülse 11 präzise auf dem Grundkörper 10 geführt ist, ist eine erste Führung im Bereich des Klemmelementes 13 angeordnet. Eine zweite Führung 42 ist möglichst weit von der ersten Führung 41 beabstandet. Die Führung 41 und die Führung 42 sind so angeordnet, dass sich das Belastungselement 17 und die Entlastungselemente 18 im Axialschnitt gesehen zwischen den beiden Führungen 41, 42 befinden. Zur Minimierung von unerwünschten Unwuchten an der Fadenklemmeinrichtung 8 ist die Feder 17 durch den Grundkörper 10 geführt und zentriert.
  • Die Fadenklemmeinrichtung 8 enthält außerdem mehrere Entlastungselemente 18 zum Erzeugen einer der Belastungskraft entgegengerichteten Entlastungskraft. In den Figuren 1 und 2 sind zwei Entlastungselemente 18 dargestellt. Es können durchaus mehrere Entlastungselemente 18 gleichmäßig am Umfang der Fadenklemmeinrichtung 8 verteilt angeordnet sein. Das Entlastungselement 18 wird durch einen im Wesentlichen radial beweglichen Fliehkraftkörper 19 in Form einer Kugel gebildet. Die Kugel besteht vorzugsweise aus Stahl.
  • In dem in Figur 1 dargestellten geschlossenen Zustand der Klemmelemente 12, 13 befindet sich das Entlastungselement 18 in einer ersten Position. Der Fliehkraftkörper 19 ist in einer Führung 20 im Grundkörper 10 geführt. Dem Fliehkraftkörper 19 ist eine erste Anlagefläche 21 zugeordnet. Die Anlagefläche 21 ist an der Hülse 11 angeordnet. Unter Fliehkrafteinwirkung bei rotierender Spindel 1 legt sich die Kugel 19 an die Anlagefläche 21 an. Die Anlagefläche 21 schließt einen geringen Winkel A mit der Mittellinie 23 der Aufnahme 9 ein. Durch den Winkel A erzeugt die Kugel 19 eine Kraft in axialer Richtung der Mittellinie 23 auf die Hülse 11, die der Belastungskraft der Feder 17 entgegengerichtet ist. Wenn die Spindeldrehzahl eine obere Grenzdrehzahl überschreitet, übersteigt die von der Kugel 19 ausgeübte Entlastungskraft die Belastungskraft der Feder 17, so dass sich die Hülse 11 in Richtung zum Wirtel 6 hin bewegt. Durch die Bewegung der Hülse 11 öffnen sich die Klemmelemente 12, 13. Gleichzeitig bewegt sich die Kugel 19 in der Führung 20 radial nach außen in eine zweite Position auf einem größeren Radius.
  • Der Zustand der Fadenklemmeinrichtung 8 mit geöffneten Klemmelementen 12, 13 ist in Figur 2 erkennbar. Die Fliehkraftkörper 19 befinden sich in der zweiten Position und zwischen den Klemmflächen 14 und 15 ist der Spalt 16 geöffnet. In dieser Position ist dem Fliehkraftkörper 19 eine zweite Anlagefläche 22 an der Hülse 11 zugeordnet, die einen Winkel B zur Mittellinie 23 der Aufnahme 9 aufweist. Der Winkel B ist größer als der Winkel A. Abgesehen davon, dass die durch die Kugel 19 erzeugte Fliehkraft bei einer gegebenen Spindeldrehzahl in dieser zweiten Position etwas größer ist, da der Abstand der Kugel zur Rotationsachse 23 ein wenig größer ist, ist die Entlastungskraft der Kugel 19 auf die Hülse 11 aufgrund des größeren Winkels B wesentlich größer als in der ersten Position. Wird nun die Spindeldrehzahl wieder reduziert, schließt sich die Fadenklemmeinrichtung 8 bei Unterschreiten der oberen Grenzdrehzahl, bei der sich die Fadenklemmeinrichtung 8 geöffnet hatte, noch nicht wieder. Erst bei Unterschreiten einer unteren Grenzdrehzahl verringert sich die Entlastungskraft so weit, dass die Entlastungskraft die Belastungskraft der Feder 17 unterschreitet und die Hülse 11 von der Feder 17 wieder nach oben gedrückt wird. Das Belastungselement 17 schließt die Klemmelemente 12, 13 und die Kugel 19 bewegt sich wieder in die erste Position, vergleiche Figur 1.
  • In Figur 3 ist noch einmal der Bereich um die Kugel 19 als Entlastungselement 18 vergrößert dargestellt. Es ist erkennbar, dass die Kugel 19 an der Führung 20 des Grundkörpers 10 und an der Anlagefläche 21 der Hülse 11 anliegt. Durch den Winkel A der Anlagefläche 21 zur Mittellinie 23 entsteht im Berührpunkt 24 zwischen dem Fliehkraftkörper 19 und der Anlagefläche 21 eine der Klemmkraft entgegengerichtete Entlastungskraft. Die Anlagefläche 21 weist einen im Axialschnitt geradlinig verlaufenden Bereich auf. Der Winkel A der Anlagefläche 21 ist somit identisch mit dem einer im Berührpunkt 24 an die Kugel 19 angelegten Tangente. Die zweite Anlagefläche 22, an der die Kugel 19 bei geöffneter Fadenklemmeinrichtung anliegt, liegt auf einem größeren Radius als die erste Anlagefläche 21. Die zweite Anlagefläche 22 weist einen großen Winkel B zur Mittellinie 23 auf. Der Winkel B ist wesentlich größer als der Winkel A. Durch diesen Winkelunterschied wird erreicht, dass sich die Fadenklemmeinrichtung 8 bei einer hohen Spindeldrehzahl öffnet, und erst bei einer wesentlich niedrigeren Spindeldrehzahl wieder schließt.
  • Zur Verdeutlichung wird der Ablauf beim Betrieb einer Spindel 1 mit einer erfindungsgemäßen Fadenklemmeinrichtung 8 noch einmal chronologisch beschrieben. Während des Spinn- oder Zwirnvorgangs mit Betriebsdrehzahl, die beispielsweise 20.000 1/min beträgt, ist die Fadenklemmeinrichtung 8 geöffnet. Der Spalt 16 ist leer. Der Faden wird auf die Hülse aufgewunden, die sich auf den Oberteil 2 der Spindel 1 befindet. Vor einem Kopswechsel-Vorgang, bei dem die volle Spule bzw. der volle Kops gegen eine leere Hülse ausgetauscht wird, wird die Ringbank mit dem Ring in eine Position gefahren, dass sich der Faden in den Spalt 16 einlegt. Bei diesem sogenannten Unterwindevorgang des Fadens wird die Drehzahl der Spindel 1 reduziert. Wenn die Spindeldrehzahl den unteren Grenzwert unterschreitet, schließt sich die Fadenklemmeinrichtung 8 und der Unterwindefaden wird zwischen den Klemmelementen 12 und 13 geklemmt. Anschließend wird die Spindel angehalten und der volle Kops wird nach oben vom Oberteil 2 abgezogen. Das vom Streck- oder Lieferwerk kommende Fadenende bleibt beim Abziehen des vollen Kopses in der Fadenklemmeinrichtung 8 geklemmt und der Faden wird zwischen Kops und Fadenklemmeinrichtung 8 getrennt. Nach dem Aufsetzen einer leeren Hülse auf das Oberteil 2 wird die Maschine wieder angefahren. Während des Beschleunigens der Spindel 1 wird die Ringbank bereits wieder in eine Position hochgefahren, so dass der Faden auf die auf dem Oberteil 2 sitzende Hülse aufgewickelt wird. Überschreitet die Spindeldrehzahl einen oberen Grenzwert, öffnet sich die Fadenklemmeinrichtung 8 wieder und das im Spalt 16 geklemmte Fadenende wird herausgeschleudert. Um einen sicheren und zuverlässigen Betrieb während eines Kopswechsel-Vorgangs sicherzustellen, ist es vorteilhaft, wenn die untere Grenzdrehzahl sehr niedrig liegt, beispielsweise in der Größenordnung von etwa 1.000 bis 2.000 1/min. Beim Einlegen des Unterwindefadens in den Spalt 16 ist es wichtig, dass der Faden zum einen sicher im Spalt 16 liegt, um zuverlässig geklemmt werden zu können, aber andererseits darf der Faden den Grundkörper 10 der Fadenklemmeinrichtung nicht mehr als 360° umschlingen, damit sich das Fadenende später auch wieder leicht aus den Klemmelementen 12 und 13 herauslöst. Ein Einlegen des Unterwindefadens in den Spalt 16 lässt sich präziser und einfacher realisieren, wenn die Spindeldrehzahl möglichst gering ist. Deshalb ist es wichtig, dass die Fadenklemmeinrichtung 8 bei möglichst geringer unterer Grenzdrehzahl schließt. Im Gegensatz dazu ist es in der Beschleunigungsphase der Spindel sehr vorteilhaft, wenn die obere Grenzdrehzahl, bei der sich die Fadenklemmeinrichtung 8 wieder öffnet, bei einer möglichst hohen Spindeldrehzahl, beispielsweise in der Größenordnung von 10.000 1/min, befindet. Das zwischen den Klemmelementen 12 und 13 eingeklemmte Ende des Unterwindefadens wird dadurch so lange sicher in der Fadenklemmeinrichtung 8 gehalten, bis genügend Windungen auf der leeren Hülse aufgewunden sind. Fehlfunktionen und Fadenbrüche beim Kopswechsel lassen sich so sehr stark verringern.
  • Zur weiteren Optimierung der Fadenklemmeinrichtung 8 lässt sich die Gestaltung der Anlageflächen 21 und 22 variieren. In den Figuren 4 bis 8 sind einige vorteilhafte Varianten dargestellt.
  • Bei der Variante in Figur 4 ist zwischen der Anlagefläche 21 und der Anlagefläche 22 ein Bereich 25 vorhanden, dessen Winkel zur Mittelinie 23 zwischen dem Winkel A und dem Winkel B liegt. Durch die Anlagefläche 25 wird der Übergang der Kugel 19 von der Anlagefläche 21 auf die Anlagefläche 22 verbessert. Eine weitere Verbesserung der Führung der Kugel 19 kann erreicht werden, wenn zwischen der auf einem geringen Radius liegenden Anlagefläche 21 und der auf einem großen Radius liegenden Anlagefläche 22 eine Anlagefläche 26 vorhanden ist, deren Winkel mit der Mittellinie 23 sich mit zunehmendem Radius stetig vergrößert. Eine solche gerundete Anlagefläche 26 ist in Figur 5 dargestellt.
  • In Figur 6 ist eine vorteilhafte Variante dargestellt, bei der die Anlagefläche 21 und die Anlagefläche 22 bereits gekrümmt sind. Es lässt sich dadurch ein besonders sanfter Übergang der Kugel 19 erreichen. Im linken Teil der Figur 6 ist die Position der Kugel 19 bei geschlossener Fadenklemmeinrichtung dargestellt. Der rechte Teil der Figur 6 zeigt die Kugel 19 bei geöffneter Fadenklemmeinrichtung 8. Für die durch die Kugel 19 hervorgerufene Entlastungskraft ist bei einer gekrümmten Anlagefläche 21 die im Berührpunkt 24 angelegte Tangente 27 und deren Winkel A zur Mittellinie 23 maßgeblich. Auch wenn sich die Kugel 19 bei geöffneter Fadenklemmeinrichtung 8 auf der Anlagefläche 22 befindet, ist wiederum der Winkel B einer Tangente 28 im Berührpunkt zwischen Kugel 19 und Anlagefläche 22 maßgeblich.
  • Da die Auflageflächen 21 und 22 in den Figuren 3 bis 5 geradlinig verlaufende Bereiche aufweisen fallen dort die Tangenten 27 und 28 mit der Oberfläche der Auflageflächen 21, 22 zusammen. Der Winkel A liegt bevorzugt im Bereich zwischen 5° und 10°, besonders bevorzugt bei etwa 6°. Der Winkel B liegt vorteilhafterweise im Bereich von 60° bis 75°, und insbesondere bei etwa 65°.
  • In Figur 7 ist eine Variante dargestellt, bei der die Anlagefläche 21 eine leichte Erhebung aufweist. Die Tangente 27 im Berührungspunkt 24 weist dadurch einen sehr kleinen Winkel A zur Mittellinie 23 auf. Hierdurch lässt sich eine relativ hohe obere Grenzdrehzahl für das Öffnen der Fadenklemmeinrichtung erreichen.
  • In Figur 8 enthält die Hülse 11 der Fadenklemmeinrichtung 8 eine durch Fliehkrafteinwirkung verformbare Komponente 29. Die Anlagefläche 21, an der der Fliehkraftkörper 19 bei geschlossener Fadenklemmeinrichtung 8 anliegt, ist an der verformbaren Komponente 29 angeordnet. Die im Berührpunkt 24 angelegte Tangente 27 weist wiederum einen kleinen Winkel A zur Mittellinie 23 auf. Die verformbare Komponente 29 ist vorteilhafterweise durch einen Ring 30 gebildet. Der Mittelpunkt des Rings 30 liegt auf der Mittellinie 23 der Aufnahme. Der Ring 30 besteht aus einem gummielastischen Material. Der Ring 30 bewirkt, dass sich die Fadenklemmeinrichtung 8 erst bei einer hohen oberen Grenzdrehzahl öffnet. Die Spindeldrehzahl muss so hoch werden, dass sich der Ring 30 durch die Fliehkrafteinwirkung aufweitet und dadurch der Kugel 19 ermöglicht, ihre Position zu verändern. In der Verzögerungsphase der Spindel 1 stellt die verformbare Komponente 29 keine Behinderung für die sich aus der zweiten in die erste Position bewegende Kugel 19 dar. Durch eine entsprechende Anordnung eines Rings 30 kann bei der Ausführung gemäß Figur 8 sogar der Winkel A der Tangente 27 auf einen negativen Wert verkleinert werden, so dass zu Beginn der Beschleunigungsphase der Fliehkraftkörper 19 die Klemmkraft der Klemmelemente 12, 13 verstärkt und dadurch die Klemmwirkung der Fadenklemmeinrichtung 8, insbesondere bei dicken Fäden, weiter verbessert wird. Bei zunehmender Spindeldrehzahl und zunehmender Aufweitung des Ringes 30 vergrößert sich der Winkel A stetig, bis sich die Kugel 19 schließlich über den Ring 30 hinüberschiebt.
  • Bei den in den Figuren 1 bis 8 dargestellten Ausführungsformen ist der Hub, den die Hülse 11 bei ihrer Axialbewegung zum Öffnen und Schließen des Spaltes 16 ausführt, kleiner als der Durchmesser der Kugeln 19. Ist nun ein größerer Hub der Hülse 11 erwünscht oder sollen kleinere Kugeln 19 verwendet werden, so ist eine besondere Anpassung der Führung 20 der Kugeln 19 im Grundkörper 10 der Fadenklemmeinrichtung 8 vorteilhaft.
  • In den Figuren 9 und 10 ist eine Ausgestaltung einer Fadenklemmeinrichtung 8 dargestellt, bei der der Hub der Hülse 11 größer als der Durchmesser der Kugeln 19 ist. Wie auch bei den Ausführungsbeispielen der Figuren 1 bis 8 sind an der Hülse 11 zwei Anlageflächen 21 und 22 vorgesehen, die einen unterschiedlichen Winkel A und B zu der Mittellinie 23 der Spindel 1 aufweisen. Die Anlageflächen 21 und 22 sind an einem radial nach innen ragenden Steg 51 angeordnet. Der Steg 51 ragt in eine Aussparung 52 des Grundkörpers 10. Der Steg 51 ist so angeordnet, dass die Kugel 19 mittig abgestützt wird. Die Führung 20 für die Kugel 19 im Grundkörper 10 ist so ausgebildet, dass die Kugel 19 durch zwei segmentförmige Führungsflächen 53 geführt wird und sich in radialer Richtung aus der dargestellten ersten Position in eine zweite Position ähnlich der Darstellung in Figur 2 bewegen kann. Die Führungsflächen 53 werden durch Ausschnitte aus Umfangflächen eines Zylinders gebildet. Wie in Figur 10 deutlich erkennbar, ist die Führung 20 und die Anlageflächen 21, 22 symmetrisch zur Kugelmitte angeordnet. Die Kugel 19 wird dadurch sehr präzise geführt, so dass sie sich bei ihrer radialen Bewegung nicht verklemmt.
  • Selbstverständlich lassen sich auch die in den Figuren 3 bis 8 dargestellten Ausgestaltungen der Anlageflächen 21, 22 bei einer Ausführungsform gemäß der Figuren 9 und 10 einsetzen.

Claims (12)

  1. Fadenklemmeinrichtung für eine Spindel (1) einer Spinn- oder Zwirnmaschine mit einer Aufnahme (9) zur Anbringung der Fadenklemmeinrichtung (8) an der Spindel (1), mit zwei gegeneinander beweglichen Klemmelementen (12, 13) zur Klemmung eines Fadens, mit wenigstens einem Belastungselement (17) zum Schliessen der Klemmelemente mit einer Belastungskraft, und mit wenigstens einem Entlastungselement (18) zum Erzeugen einer der Belastungskraft entgegengerichteten Entlastungskraft, wobei das wenigstens eine Entlastungselement (18) in der Fadenklemmeinrichtung unter Fliehkrafteinwirkung bei rotierender Spindel (1) beweglich ist, wobei die Klemmelemente (12, 13) durch die Entlastungskraft öffenbar sind, wobei dem wenigstens einen Entlastungselement (18) wenigstens zwei Positionen in der Fadenklemmeinrichtung (8) zugeordnet sind und bei einer definierbaren Spindeldrehzahl von dem wenigstens einen Entlastungselement (18) in Abhängigkeit der Position unterschiedliche, der Belastungskraft entgegengerichtete Entlastungskräfte erzeugbar sind, wobei das wenigstens eine Entlastungselement (18) durch einen im Wesentlichen radial beweglichen Fliehkraftkörper (19) gebildet wird, wobei dem Fliehkraftkörper (19) wenigstens zwei Anlageflächen (21, 22) zugeordnet sind, wobei die Anlageflächen (21, 22) auf einem unterschiedlichen Radius liegen, der durch den Abstand der Anlagefläche (21; 22) zu der Mittellinie (23) der Aufnahme (9) zur Anbringung der Fadenklemmeinrichtung (8) an der Spindel (1) gebildet wird, wobei eine im Berührpunkt (24) zwischen einem Fliehkraftkörper (19) und einer Anlagefläche (21; 22) angelegte Tangente (27; 28) - im Axialschnitt der Fadenklemmeinrichtung (8) gesehen - einen Winkel (A; B) zur Mittellinie (23) der Aufnahme (9) aufweist, wobei an einer auf einem geringeren Radius liegenden Anlagefläche (21) eine Tangente (27) vorhanden ist, die einen geringen Winkel (A) zur Mittellinie (23) der Aufnahme (9) aufweist, und wobei an einer auf einem größeren Radius liegenden Anlagefläche (22) eine Tangente (28) vorhanden ist, die einen großen Winkel (B) zur Mittellinie (23) der Aufnahme (8) aufweist dadurch gekennzeichnet, dass der geringe Winkel (A) zwischen 0° und 20° beträgt.
  2. Fadenklemmeinrichtung nach Anspruch 1, dadurch gekennzeichnet, dass einer ersten Position eines Entlastungselementes (18) ein geschlossener Zustand der Klemmelemente (12, 13) und einer zweiten Position eines Entlastungselementes (18) ein geöffneter Zustand der Klemmelemente (12, 13) zugeordnet ist, wobei vom Entlastungselement (18) in der ersten Position bei geschlossenen Klemmelementen (12, 13) eine niedrige Entlastungskraft und in der zweiten Position bei geöffneten Klemmelementen (12, 13) eine hohe Entlastungskraft erzeugbar ist.
  3. Fadenklemmeinrichtung nach Anspruch 1 oder 2, dadurch gekennzeichnet, dass die Belastungskraft des wenigstens einen Belastungselementes (17) in geöffnetem Zustand der Klemmelemente (12, 13) höher als im geschlossenen Zustand der Klemmelemente (12, 13) ist.
  4. Fadenklemmeinrichtung nach Anspruch 3, dadurch gekennzeichnet, dass alle Belastungselemente (17) durch Federelemente gebildet werden.
  5. Fadenklemmeinrichtung nach einem der Ansprüche 1 bis 4, dadurch gekennzeichnet, dass bei Überschreiten einer oberen Grenzdrehzahl der Spindel (1) ein Entlastungselement (18) zum Öffnen der Klemmelemente (12, 13) von der ersten Position in die zweite Position bewegbar ist, und das bei Unterschreiten einer unterhalb der oberen Grenzdrehzahl liegenden unteren Grenzdrehzahl ein Entlastungselement (18) zum Schließen der Klemmelemente (12, 13) von der zweiten Position in die erste Position bewegbar ist.
  6. Fadenklemmeinrichtung nach einem der Ansprüche 1 bis 5, dadurch gekennzeichnet, dass mehrere Entlastungselemente (18) am Umfang der Fadenklemmeinrichtung (8) angeordnet sind.
  7. Fadenklemmeinrichtung nach einem der Ansprüche 1 bis 6, dadurch gekennzeichnet, dass der Fliehkraftkörper vorzugsweise durch eine Kugel (19) gebildet wird.
  8. Fadenklemmeinrichtung nach Anspruch 1, dadurch gekennzeichnet, dass eine auf einem geringeren Radius liegende Anlagefläche (21) einen Bereich aufweist, der im Axialschnitt gesehen einen geringen Winkel (A) mit der Mittellinie (23) der Aufnahme einschließt.
  9. Fadenklemmeinrichtung nach Anspruch 1 oder 8, dadurch gekennzeichnet, dass eine auf einem größeren Radius liegende Anlagefläche (22) einen Bereich aufweist, der im Axialschnitt gesehen einen großen Winkel (B) mit der Mittellinie (23) der Aufnahme (9) einschließt.
  10. Fadenklemmeinrichtung nach einem der Ansprüche 1, 8 oder 9, dadurch gekennzeichnet, dass zwischen der auf einem geringeren Radius liegenden Anlagefläche (21) und der auf einem größeren Radius liegenden Anlagefläche (22) eine Anlagefläche (26) vorhanden ist, deren Winkel mit der Mittellinie (23) der Aufnahme (9) sich mit zunehmendem Radius stetig vergrößert.
  11. Fadenklemmeinrichtung nach einem der Ansprüche 1, 8, 9 oder 10, dadurch gekennzeichnet, dass eine Anlagefläche (21) für einen Fliehkraftkörper (19) an einer durch Fliehkrafteinwirkung verformbaren Komponente (29) der Fadenklemmeinrichtung (8) angeordnet ist.
  12. Fadenklemmeinrichtung nach Anspruch 11, dadurch gekennzeichnet, dass die durch Fliehkrafteinwirkung verformbare Komponente (29) durch einen Ring (30) gebildet wird, wobei der Ring (30) vorzugsweise aus einem gummielastischen Material besteht.
EP10004384.3A 2009-05-25 2010-04-26 Fadenklemmeinrichtung für eine Spindel einer Spinn- oder Zwirnmaschine Active EP2256238B2 (de)

Applications Claiming Priority (1)

Application Number Priority Date Filing Date Title
DE200910023644 DE102009023644A1 (de) 2009-05-25 2009-05-25 Fadenklemmeinrichtung für eine Spindel einer Spinn- oder Zwirnmaschine

Publications (3)

Publication Number Publication Date
EP2256238A1 EP2256238A1 (de) 2010-12-01
EP2256238B1 EP2256238B1 (de) 2014-05-07
EP2256238B2 true EP2256238B2 (de) 2018-11-14

Family

ID=42651398

Family Applications (1)

Application Number Title Priority Date Filing Date
EP10004384.3A Active EP2256238B2 (de) 2009-05-25 2010-04-26 Fadenklemmeinrichtung für eine Spindel einer Spinn- oder Zwirnmaschine

Country Status (4)

Country Link
EP (1) EP2256238B2 (de)
JP (1) JP2010270430A (de)
CN (1) CN101899730B (de)
DE (1) DE102009023644A1 (de)

Families Citing this family (7)

* Cited by examiner, † Cited by third party
Publication number Priority date Publication date Assignee Title
DE102008058655B4 (de) * 2008-11-22 2019-01-10 Saurer Spinning Solutions Gmbh & Co. Kg Klemmvorrichtung
DE102011076744A1 (de) * 2011-05-31 2012-12-06 Maschinenfabrik Rieter Ag Fadenklemmeinrichtung für eine Spinn- oder Zwirnspindel
DE102013020470A1 (de) * 2013-12-03 2015-06-03 Saurer Components Gmbh Klemmvorrichtung zum Klemmen eines Fadens an einer Spindel einer Spinn- oder Zwirnmaschine und Spinn- oder Zwirnmaschine
CN108138385B (zh) * 2015-11-06 2020-12-04 Ate私有企业有限责任公司 卷绕中的夹紧装置及其夹紧纱线的方法
DE102017103754A1 (de) * 2017-02-23 2018-08-23 Maschinenfabrik Rieter Ag Klemmvorrichtung, Spindel mit einer Klemmvorrichtung und Verfahren zum Herstellen einer Klemmvorrichtung
CN111676555A (zh) * 2020-06-08 2020-09-18 山东祥瑞祥纺织有限公司 变支在59tex以上密度纱自动落纱环节中的应用
CN116497513B (zh) * 2023-05-18 2025-05-06 晋江市福景纺织科技有限公司 一种大圆机的进纱夹纱机构

Family Cites Families (9)

* Cited by examiner, † Cited by third party
Publication number Priority date Publication date Assignee Title
JPH0315562Y2 (de) * 1988-08-31 1991-04-04
DE19628826A1 (de) 1996-07-17 1998-01-22 Lieser Gmbh Beteiligungsgesell Klemmvorrichtung für Fäden
JPH10140427A (ja) * 1996-11-05 1998-05-26 Howa Mach Ltd リング精紡機における停止方法及びリング精紡機
IT1299011B1 (it) * 1997-06-06 2000-02-07 Novibra Gmbh Fuso per un filatoio o torcitoio ad anelli
DE19746819A1 (de) * 1997-10-23 1999-04-29 Novibra Gmbh Vorrichtung zum Bilden und Auflösen einer Unterwindung
JP2001316948A (ja) * 2000-05-11 2001-11-16 Howa Mach Ltd リング精紡機における停止方法及びリング精紡機
DE102005061043A1 (de) * 2005-12-08 2007-06-14 König, Günter Fadenklemmvorrichtung für Unterwindefäden an Spindeln einer Ringspinn- oder Ringzwirnmaschine
DE102006022484B4 (de) * 2006-05-13 2017-04-27 Saurer Components Gmbh Klemmvorrichtung
DE102008058655B4 (de) * 2008-11-22 2019-01-10 Saurer Spinning Solutions Gmbh & Co. Kg Klemmvorrichtung

Also Published As

Publication number Publication date
CN101899730B (zh) 2015-06-24
EP2256238A1 (de) 2010-12-01
CN101899730A (zh) 2010-12-01
JP2010270430A (ja) 2010-12-02
DE102009023644A1 (de) 2010-12-02
EP2256238B1 (de) 2014-05-07

Similar Documents

Publication Publication Date Title
EP2256238B2 (de) Fadenklemmeinrichtung für eine Spindel einer Spinn- oder Zwirnmaschine
EP2189408B1 (de) Klemmvorrichtung
EP2024265B1 (de) Klemmvorrichtung
EP2530041B1 (de) Fadenklemmeinrichtung für eine Spinn- oder Zwirnspindel
EP3260406B1 (de) Fadenklemmvorrichtung
DE7331545U (de) Vorrichtung zum uebertragen von garndrehungen bei ringspinnmaschinen
EP2157217B1 (de) Klemmvorrichtung
CH706759A1 (de) Abschirmelement für eine Spindel
DE19705872A1 (de) Ringspinn- oder Ringzwirnmaschine
EP0775769A1 (de) Vorrichtung zum Klemmen eines Unterwindefadens an der Spindel einer Ringspinn- oder -zwirnmaschine
WO2005115896A1 (de) Aufspulmaschine
DE3025470A1 (de) Offenendspinnverfahren und vorrichtung zum durchfuehren dieses verfahrens
DE741581C (de) Spindel fuer Spinn- und Zwirnmaschinen
DE4206030C2 (de) Zentrifugenspinnvorrichtung mit Mitteln zum Anspinnen
DE2653697C2 (de) Vorrichtung zum Ringspinnen oder Ringzwirnen
DE19807740B4 (de) Spindel für eine Ringspinn- oder Ringzwirnmaschine
EP0458088A1 (de) Fadentrennvorrichtung für eine Spindel einer Spinn- oder Zwirnmaschine
DE102020118327A1 (de) Verfahren und Vorrichtung zur Falschdrahteinleitung sowie Spinnmaschine
EP4144902B1 (de) Spinnstelleneinrichtung mit kapselung
LU504192B1 (de) Hülsenteller
DE1760458A1 (de) Verfahren zum Abtrennen von auf Spindeln unterwundenen Faeden und Spindel zur Durchfuehrung des Verfahrens
DE19820211C1 (de) Vorrichtung zum Klemmen und Freigeben eines Unterwindefadens an der Spindel einer Ringspinn- und/oder -zwirnmaschine
CH692663A5 (de) Spindel für eine Ringspinn- oder Ringzwirnmaschine.
DE3732967C2 (de)
EP3029185A1 (de) Mehrfachdraht-zwirnspindel für zwirnmaschinen

Legal Events

Date Code Title Description
PUAI Public reference made under article 153(3) epc to a published international application that has entered the european phase

Free format text: ORIGINAL CODE: 0009012

AK Designated contracting states

Kind code of ref document: A1

Designated state(s): AT BE BG CH CY CZ DE DK EE ES FI FR GB GR HR HU IE IS IT LI LT LU LV MC MK MT NL NO PL PT RO SE SI SK SM TR

AX Request for extension of the european patent

Extension state: AL BA ME RS

17P Request for examination filed

Effective date: 20110218

17Q First examination report despatched

Effective date: 20111102

GRAP Despatch of communication of intention to grant a patent

Free format text: ORIGINAL CODE: EPIDOSNIGR1

INTG Intention to grant announced

Effective date: 20131206

GRAS Grant fee paid

Free format text: ORIGINAL CODE: EPIDOSNIGR3

GRAA (expected) grant

Free format text: ORIGINAL CODE: 0009210

AK Designated contracting states

Kind code of ref document: B1

Designated state(s): AT BE BG CH CY CZ DE DK EE ES FI FR GB GR HR HU IE IS IT LI LT LU LV MC MK MT NL NO PL PT RO SE SI SK SM TR

REG Reference to a national code

Ref country code: GB

Ref legal event code: FG4D

Free format text: NOT ENGLISH

REG Reference to a national code

Ref country code: AT

Ref legal event code: REF

Ref document number: 666790

Country of ref document: AT

Kind code of ref document: T

Effective date: 20140515

REG Reference to a national code

Ref country code: IE

Ref legal event code: FG4D

Free format text: LANGUAGE OF EP DOCUMENT: GERMAN

REG Reference to a national code

Ref country code: DE

Ref legal event code: R096

Ref document number: 502010006850

Country of ref document: DE

Effective date: 20140618

REG Reference to a national code

Ref country code: NL

Ref legal event code: VDEP

Effective date: 20140507

REG Reference to a national code

Ref country code: LT

Ref legal event code: MG4D

PG25 Lapsed in a contracting state [announced via postgrant information from national office to epo]

Ref country code: LT

Free format text: LAPSE BECAUSE OF FAILURE TO SUBMIT A TRANSLATION OF THE DESCRIPTION OR TO PAY THE FEE WITHIN THE PRESCRIBED TIME-LIMIT

Effective date: 20140507

Ref country code: NO

Free format text: LAPSE BECAUSE OF FAILURE TO SUBMIT A TRANSLATION OF THE DESCRIPTION OR TO PAY THE FEE WITHIN THE PRESCRIBED TIME-LIMIT

Effective date: 20140807

Ref country code: IS

Free format text: LAPSE BECAUSE OF FAILURE TO SUBMIT A TRANSLATION OF THE DESCRIPTION OR TO PAY THE FEE WITHIN THE PRESCRIBED TIME-LIMIT

Effective date: 20140907

Ref country code: CY

Free format text: LAPSE BECAUSE OF FAILURE TO SUBMIT A TRANSLATION OF THE DESCRIPTION OR TO PAY THE FEE WITHIN THE PRESCRIBED TIME-LIMIT

Effective date: 20140507

Ref country code: FI

Free format text: LAPSE BECAUSE OF FAILURE TO SUBMIT A TRANSLATION OF THE DESCRIPTION OR TO PAY THE FEE WITHIN THE PRESCRIBED TIME-LIMIT

Effective date: 20140507

Ref country code: GR

Free format text: LAPSE BECAUSE OF FAILURE TO SUBMIT A TRANSLATION OF THE DESCRIPTION OR TO PAY THE FEE WITHIN THE PRESCRIBED TIME-LIMIT

Effective date: 20140808

PG25 Lapsed in a contracting state [announced via postgrant information from national office to epo]

Ref country code: HR

Free format text: LAPSE BECAUSE OF FAILURE TO SUBMIT A TRANSLATION OF THE DESCRIPTION OR TO PAY THE FEE WITHIN THE PRESCRIBED TIME-LIMIT

Effective date: 20140507

Ref country code: ES

Free format text: LAPSE BECAUSE OF FAILURE TO SUBMIT A TRANSLATION OF THE DESCRIPTION OR TO PAY THE FEE WITHIN THE PRESCRIBED TIME-LIMIT

Effective date: 20140507

Ref country code: SE

Free format text: LAPSE BECAUSE OF FAILURE TO SUBMIT A TRANSLATION OF THE DESCRIPTION OR TO PAY THE FEE WITHIN THE PRESCRIBED TIME-LIMIT

Effective date: 20140507

Ref country code: LV

Free format text: LAPSE BECAUSE OF FAILURE TO SUBMIT A TRANSLATION OF THE DESCRIPTION OR TO PAY THE FEE WITHIN THE PRESCRIBED TIME-LIMIT

Effective date: 20140507

Ref country code: PL

Free format text: LAPSE BECAUSE OF FAILURE TO SUBMIT A TRANSLATION OF THE DESCRIPTION OR TO PAY THE FEE WITHIN THE PRESCRIBED TIME-LIMIT

Effective date: 20140507

PG25 Lapsed in a contracting state [announced via postgrant information from national office to epo]

Ref country code: PT

Free format text: LAPSE BECAUSE OF FAILURE TO SUBMIT A TRANSLATION OF THE DESCRIPTION OR TO PAY THE FEE WITHIN THE PRESCRIBED TIME-LIMIT

Effective date: 20140908

PG25 Lapsed in a contracting state [announced via postgrant information from national office to epo]

Ref country code: DK

Free format text: LAPSE BECAUSE OF FAILURE TO SUBMIT A TRANSLATION OF THE DESCRIPTION OR TO PAY THE FEE WITHIN THE PRESCRIBED TIME-LIMIT

Effective date: 20140507

Ref country code: EE

Free format text: LAPSE BECAUSE OF FAILURE TO SUBMIT A TRANSLATION OF THE DESCRIPTION OR TO PAY THE FEE WITHIN THE PRESCRIBED TIME-LIMIT

Effective date: 20140507

Ref country code: SK

Free format text: LAPSE BECAUSE OF FAILURE TO SUBMIT A TRANSLATION OF THE DESCRIPTION OR TO PAY THE FEE WITHIN THE PRESCRIBED TIME-LIMIT

Effective date: 20140507

Ref country code: RO

Free format text: LAPSE BECAUSE OF FAILURE TO SUBMIT A TRANSLATION OF THE DESCRIPTION OR TO PAY THE FEE WITHIN THE PRESCRIBED TIME-LIMIT

Effective date: 20140507

REG Reference to a national code

Ref country code: DE

Ref legal event code: R026

Ref document number: 502010006850

Country of ref document: DE

PLBI Opposition filed

Free format text: ORIGINAL CODE: 0009260

PG25 Lapsed in a contracting state [announced via postgrant information from national office to epo]

Ref country code: NL

Free format text: LAPSE BECAUSE OF FAILURE TO SUBMIT A TRANSLATION OF THE DESCRIPTION OR TO PAY THE FEE WITHIN THE PRESCRIBED TIME-LIMIT

Effective date: 20140507

26 Opposition filed

Opponent name: SAURER COMPONENTS GMBH

Effective date: 20150131

PLAX Notice of opposition and request to file observation + time limit sent

Free format text: ORIGINAL CODE: EPIDOSNOBS2

REG Reference to a national code

Ref country code: DE

Ref legal event code: R026

Ref document number: 502010006850

Country of ref document: DE

Effective date: 20150131

PLBB Reply of patent proprietor to notice(s) of opposition received

Free format text: ORIGINAL CODE: EPIDOSNOBS3

PLAS Information related to reply of patent proprietor to notice(s) of opposition deleted

Free format text: ORIGINAL CODE: EPIDOSDOBS3

PLBB Reply of patent proprietor to notice(s) of opposition received

Free format text: ORIGINAL CODE: EPIDOSNOBS3

PG25 Lapsed in a contracting state [announced via postgrant information from national office to epo]

Ref country code: SI

Free format text: LAPSE BECAUSE OF FAILURE TO SUBMIT A TRANSLATION OF THE DESCRIPTION OR TO PAY THE FEE WITHIN THE PRESCRIBED TIME-LIMIT

Effective date: 20140507

PG25 Lapsed in a contracting state [announced via postgrant information from national office to epo]

Ref country code: LU

Free format text: LAPSE BECAUSE OF FAILURE TO SUBMIT A TRANSLATION OF THE DESCRIPTION OR TO PAY THE FEE WITHIN THE PRESCRIBED TIME-LIMIT

Effective date: 20150426

Ref country code: MC

Free format text: LAPSE BECAUSE OF FAILURE TO SUBMIT A TRANSLATION OF THE DESCRIPTION OR TO PAY THE FEE WITHIN THE PRESCRIBED TIME-LIMIT

Effective date: 20140507

GBPC Gb: european patent ceased through non-payment of renewal fee

Effective date: 20150426

REG Reference to a national code

Ref country code: IE

Ref legal event code: MM4A

PG25 Lapsed in a contracting state [announced via postgrant information from national office to epo]

Ref country code: GB

Free format text: LAPSE BECAUSE OF NON-PAYMENT OF DUE FEES

Effective date: 20150426

REG Reference to a national code

Ref country code: FR

Ref legal event code: ST

Effective date: 20151231

PG25 Lapsed in a contracting state [announced via postgrant information from national office to epo]

Ref country code: FR

Free format text: LAPSE BECAUSE OF NON-PAYMENT OF DUE FEES

Effective date: 20150430

PG25 Lapsed in a contracting state [announced via postgrant information from national office to epo]

Ref country code: IE

Free format text: LAPSE BECAUSE OF NON-PAYMENT OF DUE FEES

Effective date: 20150426

REG Reference to a national code

Ref country code: AT

Ref legal event code: MM01

Ref document number: 666790

Country of ref document: AT

Kind code of ref document: T

Effective date: 20150426

PLAB Opposition data, opponent's data or that of the opponent's representative modified

Free format text: ORIGINAL CODE: 0009299OPPO

PG25 Lapsed in a contracting state [announced via postgrant information from national office to epo]

Ref country code: AT

Free format text: LAPSE BECAUSE OF NON-PAYMENT OF DUE FEES

Effective date: 20150426

R26 Opposition filed (corrected)

Opponent name: SAURER COMPONENTS GMBH

Effective date: 20150131

PG25 Lapsed in a contracting state [announced via postgrant information from national office to epo]

Ref country code: MT

Free format text: LAPSE BECAUSE OF FAILURE TO SUBMIT A TRANSLATION OF THE DESCRIPTION OR TO PAY THE FEE WITHIN THE PRESCRIBED TIME-LIMIT

Effective date: 20140507

PG25 Lapsed in a contracting state [announced via postgrant information from national office to epo]

Ref country code: BG

Free format text: LAPSE BECAUSE OF FAILURE TO SUBMIT A TRANSLATION OF THE DESCRIPTION OR TO PAY THE FEE WITHIN THE PRESCRIBED TIME-LIMIT

Effective date: 20140507

Ref country code: SM

Free format text: LAPSE BECAUSE OF FAILURE TO SUBMIT A TRANSLATION OF THE DESCRIPTION OR TO PAY THE FEE WITHIN THE PRESCRIBED TIME-LIMIT

Effective date: 20140507

Ref country code: HU

Free format text: LAPSE BECAUSE OF FAILURE TO SUBMIT A TRANSLATION OF THE DESCRIPTION OR TO PAY THE FEE WITHIN THE PRESCRIBED TIME-LIMIT; INVALID AB INITIO

Effective date: 20100426

PG25 Lapsed in a contracting state [announced via postgrant information from national office to epo]

Ref country code: BE

Free format text: LAPSE BECAUSE OF NON-PAYMENT OF DUE FEES

Effective date: 20150430

PG25 Lapsed in a contracting state [announced via postgrant information from national office to epo]

Ref country code: MK

Free format text: LAPSE BECAUSE OF FAILURE TO SUBMIT A TRANSLATION OF THE DESCRIPTION OR TO PAY THE FEE WITHIN THE PRESCRIBED TIME-LIMIT

Effective date: 20140507

PUAH Patent maintained in amended form

Free format text: ORIGINAL CODE: 0009272

STAA Information on the status of an ep patent application or granted ep patent

Free format text: STATUS: PATENT MAINTAINED AS AMENDED

REG Reference to a national code

Ref country code: CH

Ref legal event code: AELC

27A Patent maintained in amended form

Effective date: 20181114

AK Designated contracting states

Kind code of ref document: B2

Designated state(s): AT BE BG CH CY CZ DE DK EE ES FI FR GB GR HR HU IE IS IT LI LT LU LV MC MK MT NL NO PL PT RO SE SI SK SM TR

REG Reference to a national code

Ref country code: DE

Ref legal event code: R102

Ref document number: 502010006850

Country of ref document: DE

P01 Opt-out of the competence of the unified patent court (upc) registered

Effective date: 20230329

PGFP Annual fee paid to national office [announced via postgrant information from national office to epo]

Ref country code: CZ

Payment date: 20250325

Year of fee payment: 16

PGFP Annual fee paid to national office [announced via postgrant information from national office to epo]

Ref country code: DE

Payment date: 20250430

Year of fee payment: 16

PGFP Annual fee paid to national office [announced via postgrant information from national office to epo]

Ref country code: IT

Payment date: 20250428

Year of fee payment: 16

PGFP Annual fee paid to national office [announced via postgrant information from national office to epo]

Ref country code: CH

Payment date: 20250501

Year of fee payment: 16

PGFP Annual fee paid to national office [announced via postgrant information from national office to epo]

Ref country code: TR

Payment date: 20250421

Year of fee payment: 16