EP1517097B1 - System zur Bereitstellung von erwärmtem Brauchwasser in einem Leitungssystem und Ventil zu dessen Steuerung - Google Patents
System zur Bereitstellung von erwärmtem Brauchwasser in einem Leitungssystem und Ventil zu dessen Steuerung Download PDFInfo
- Publication number
- EP1517097B1 EP1517097B1 EP04019690A EP04019690A EP1517097B1 EP 1517097 B1 EP1517097 B1 EP 1517097B1 EP 04019690 A EP04019690 A EP 04019690A EP 04019690 A EP04019690 A EP 04019690A EP 1517097 B1 EP1517097 B1 EP 1517097B1
- Authority
- EP
- European Patent Office
- Prior art keywords
- water
- hot
- valve
- cold
- water reservoir
- Prior art date
- Legal status (The legal status is an assumption and is not a legal conclusion. Google has not performed a legal analysis and makes no representation as to the accuracy of the status listed.)
- Expired - Lifetime
Links
- XLYOFNOQVPJJNP-UHFFFAOYSA-N water Substances O XLYOFNOQVPJJNP-UHFFFAOYSA-N 0.000 title claims abstract description 282
- 238000010438 heat treatment Methods 0.000 claims abstract description 52
- 238000009434 installation Methods 0.000 claims description 5
- 239000012528 membrane Substances 0.000 claims description 5
- 238000010079 rubber tapping Methods 0.000 claims description 4
- 238000000926 separation method Methods 0.000 claims description 4
- 238000009413 insulation Methods 0.000 claims description 3
- 230000002441 reversible effect Effects 0.000 abstract description 3
- 230000004087 circulation Effects 0.000 description 10
- 238000005070 sampling Methods 0.000 description 9
- 238000003809 water extraction Methods 0.000 description 6
- 239000007788 liquid Substances 0.000 description 4
- 238000001816 cooling Methods 0.000 description 3
- 230000001419 dependent effect Effects 0.000 description 3
- 238000010276 construction Methods 0.000 description 2
- 238000000605 extraction Methods 0.000 description 2
- 238000000034 method Methods 0.000 description 2
- 238000005086 pumping Methods 0.000 description 2
- 238000010992 reflux Methods 0.000 description 2
- 238000009420 retrofitting Methods 0.000 description 2
- 230000004913 activation Effects 0.000 description 1
- 230000006978 adaptation Effects 0.000 description 1
- 239000000463 material Substances 0.000 description 1
- 239000000203 mixture Substances 0.000 description 1
- 230000000284 resting effect Effects 0.000 description 1
- 238000007789 sealing Methods 0.000 description 1
- 230000003068 static effect Effects 0.000 description 1
- 239000013589 supplement Substances 0.000 description 1
- 238000011144 upstream manufacturing Methods 0.000 description 1
Images
Classifications
-
- F—MECHANICAL ENGINEERING; LIGHTING; HEATING; WEAPONS; BLASTING
- F24—HEATING; RANGES; VENTILATING
- F24D—DOMESTIC- OR SPACE-HEATING SYSTEMS, e.g. CENTRAL HEATING SYSTEMS; DOMESTIC HOT-WATER SUPPLY SYSTEMS; ELEMENTS OR COMPONENTS THEREFOR
- F24D17/00—Domestic hot-water supply systems
- F24D17/0078—Recirculation systems
-
- F—MECHANICAL ENGINEERING; LIGHTING; HEATING; WEAPONS; BLASTING
- F24—HEATING; RANGES; VENTILATING
- F24D—DOMESTIC- OR SPACE-HEATING SYSTEMS, e.g. CENTRAL HEATING SYSTEMS; DOMESTIC HOT-WATER SUPPLY SYSTEMS; ELEMENTS OR COMPONENTS THEREFOR
- F24D17/00—Domestic hot-water supply systems
Definitions
- the invention relates to a system for substantially permanent or rapid provision of heated by a central heating system water with a first line section, a second line section, at least one connected to the first and second line section, a hot water reservoir and a cold water reservoir having container.
- a system according to the preamble of claim 1 is known from the document DE 334 2 273 known.
- Circulation ducts in turn emit enormous thermal energy due to permanent maximum temperature difference and about twice the duct length. Time switches and demand switches reduce this only to a limited extent, because in the rest periods the approximately double amount of hot water also cools down and then has to be completely replaced again. The desired comfort is again severely limited in time-controlled circulations during rest periods. Circulation lines also mean about twice the assembly and material costs.
- a system is made available which is able to provide heated service water at the removal point almost permanently available and / or to ensure the supply and removal of heated or cold service water safely and energy-saving.
- the system according to the present invention can be installed in new buildings as well as created by retrofitting already existing piping systems.
- any number of water taps may be provided or an existing system may be extended by subsystems utilizing parts of the main system.
- the line system according to the invention is particularly simple in design, designed maintenance-friendly and is therefore particularly suitable for use in private households.
- the demand sensor starts the pump, which pumps hot water from the heating system to the water tap.
- the sensor opens the valve which connects the first line section to the second line section, which in turn is connected to the heating system.
- the still cold water in the first line section can thus be returned to the heating system.
- the valve is closed and hot water can be removed from the sampling point.
- the system of the invention consists essentially of a central heating system for heating the service water, a first line section for supplying the heated service water to a hot water reservoir, one of the hot water reservoir although thermally insulated, but not pressure-insulated arranged cold water reservoir and one of the cold water reservoir to the first Line section leading second line section for returning excess cold service water.
- the water tap is located at the hot water reservoir or at least in its vicinity, so that when opening the water tap anywhere and almost directly heated hot water is available.
- thermo valve upstream of the container causes hot water flowing in from the heating system to flow into the hot water reservoir after the hot water has been drawn, while cold water is directed to the cold water reservoir.
- cold water is not directed into the hot water reservoir.
- the hot water reservoir preferably contains at least the same amount of warm water as the inlet between the central heating system and the hot water reservoir can accommodate.
- the warm water flows directly from the hot water reservoir.
- warm water flows out of the heating system through the first line section in the direction of the hot water reservoir.
- the cooled water pressed by the inflowing warm water, flows out of the line or passages into the cold water reservoir.
- the warm water reaches the sensor, it switches the valve and directs the subsequent warm water into the hot water reservoir.
- the sensor near the sampling point can be any sensor.
- it is a temperature sensor and / or a flow meter that switches as soon as a certain volume, preferably the volume of the first line section has flowed into the second line section.
- a pump is activated, which nach textilet cold water and thus also transfers the present in the first line section of warm water in the hot water reservoir.
- the pump preferably operates at least until only cold water is stored in the line sections.
- the pump is activated by any demand sensor known to those skilled in the art.
- This demand sensor can be a simple switch or by a Pressure sensor that starts the pump when the pressure drops.
- the pump can be started before the actual water removal is to take place.
- the pump is controlled via one or more flow sensors. These flow sensors are preferably able to detect the removal of hot water from the hot water reservoir and deliver a control signal to the pump.
- the system has at least one, preferably two demand sensors, wherein the first preferably at least in the vicinity of the heating system, each further arranged in the cold water line, preferably before the branch to the pump or behind the branch.
- All sensors are preferably arranged close to the pump / regulation of the pump, whereby the technical complexity is minimized.
- the circulatory system can be arranged an almost arbitrary amount of containers with a hot and a cold water reservoir.
- a first hot water reservoir can also serve as a heating system, also as a sub-central heating, for both a conventional hot water circuit and for another system according to the invention.
- warm water can preferably be pumped through the system during longer periods of rest without hot water removal. This can preferably be done when no additional heating elements are arranged in the hot water reservoir and the warm water within the hot water reservoir drops despite the heat insulation below a preferably predefined temperature level. Likewise, the warm water used for this purpose can be removed from the central heating system.
- the second line section usually used as a cold water line, line section as the return line of the circulatory system.
- the second line section with respect to a hot water extraction used exclusively as a return line is stored in the only cold water.
- the valve for controlling the mass flows preferably within a system described above for preferably permanently providing hot water at a hot water tap.
- the valve has a container preferably arranged within a housing for receiving and storing water and / or air, and a closure plate which reversibly seals the container and the connection between the line sections and has at least three active surfaces, the water pressure prevailing in the first line section a first active surface, which presses in the second line section prevailing water pressure on a second active surface and the pressure prevailing in the container water and / or air pressure on a third active surface, wherein acting on the third effective surface pressure before the valve in pressure equality to the line section or holds behind the valve in the closed state and the size ratio of the first effective area to the second effective area is coordinated such that an opening or closing of the valve substantially independent of the pressure difference in the line sections un d is substantially dependent on the pressure in the first conduit section or in the second conduit section.
- a valve which is capable of opening substantially only at an elevated pressure in one of the two line sections or substantially only when it falls below a preferably predefined negative pressure in one of the two line sections.
- the valve according to the invention is also coarsely adjusted during assembly by storing a water / air mixture in a container disposed within the valve. Any necessary adaptation to changing pressure conditions, for example, when changing the water pressure provided by the utilities, thus takes place automatically after activation of the valve.
- the valve can be tuned in advance by the choice of a suitable size ratio between the individual active surfaces of the closure plate of the valve to the usual in the line sections pressure differences.
- a fine adjustment of the valve can be achieved by changing the force acting on the third effective surface of the closure plate spring force.
- the valve is particularly simple in construction and very flexible adjustable and used.
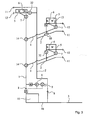
- FIG. 1 a schematic representation of a first system according to the invention is shown.
- the system comprises a heating system 15 having an inlet 16, a hot water pipe 1 connecting the heating plant 15 to the hot water reservoir W, and a cold water pipe 2 reaching from the cold water reservoir K to the hot water pipe 1.
- a heating element 13 for heating the hot water reservoir as required W stored water arranged.
- the feed to the individual water reservoirs W, K is controlled by the thermo valve 7, the drain from the hot water reservoir W via the hot water tapping point 12.
- the cold water line 2 is also arranged via a flow sensor 8 adjustable designed pump 4, which controls the circulation of water within the system.
- FIG. 2 a schematic representation of a second system according to the invention is shown.
- two series-connected containers 5 are arranged on the first line section 1, each having a hot water reservoir W and a separated by a membrane 6 cold water reservoir K, a hot water outlet 12 and a heating element 13.
- Both containers 5 are supplied via a respective thermo valve 7a, 7b with cold and warm water.
- a bypass Valve 43 is disposed between the leading from the thermo valve 7a to the cold water reservoir K and the hot water reservoir W inlets.
- the aforementioned feeds are connected to each other and also ensures a hot water supply to the second thermo valve 7b.
- bypass valve 43 may be provided with a strong spring that allows the bypass valve 43 to open only as a secondary alternative when the primary path for the water is blocked.
- a pump-valve sequence 4, 9 is arranged, which is adjustable via a arranged in the cold water supply line 3 flow sensor 8.
- FIG. 3 a third circulatory system according to the invention is shown.
- the system has a central heating system 15, which is connected to the general water network via the supply line 3, 16, on. With the heating system 15 also the line sections 1 and 2 are connected via the supply line 16. A connection between the line sections 1 and 2 is arranged in the vicinity of the heating system 15. The connection is made via a valve 9, which opens, provided that the downstream pump 4 operates. Both the valve 9 and the pump 4 are controlled by control signals transmitted by flow sensors 8.
- At the first line section 1 two branches 14 are arranged, from which, in the form of subsystems, further first line sections 1 lead to further containers 5.
- the heating system 15 next arranged container 5, the filling of the various reservoirs W, K takes place in the under FIG.
- FIG. 4 A fourth system according to the invention for providing warm water at a plurality of hot water taps 12 is shown.
- the system has three containers 5 arranged one behind the other in the first line section 1. From the hot water reservoir W of the middle container 5 is a circulating line 17, at the three hot water tapping points 12 are arranged.
- the hot water reservoir W is used in this case as a sub-heating system for a conventional hot water supply.
- a subsystem 18, consisting of a line circuit and arranged on this circuit two containers 5 is shown at the downstream within the system shown hot water reservoir W.
- the container 5 serves as a sub-heating system for a further system according to the invention the two containers 5 are arranged.
- FIG. 5 a fifth system according to the invention is shown.
- two containers 5 are arranged starting from the heating system 15.
- the first container 5 is fed with hot and cold water in the manner already described above.
- the downstream second container 5, however, is filled only after filling the first container 5 with water.
- two valves 32, 37 are arranged on the output side of the first container 5.
- the valve 32 opens at a higher pressure at the inlet, but not at lower pressure at the outlet of the valve 32.
- the valve 37 opens only at lower pressure at the outlet, but not at higher pressure at the inlet of the valve 37.
- FIG. 6 a sixth system according to the invention for the provision of hot water at a plurality of hot water tapping points 12 is shown.
- two parallel connected container 5 are arranged, which are supplied at the same time or independently of each other via a common thermo valve 7 both with cold and with warm water.
- Both parallel connected container 5 supply in the under FIG. 6 illustrated manner depending on a downstream container. 5
- FIG. 7 a simplified embodiment of a system without container 5 is shown.
- the pump 4 starts as soon as the flow sensor 8 detects a water removal, which can be done for example by a very short removal of water as a signal.
- the pump 4 can also be activated by means of a switch in the vicinity of the removal points 11 or 12.
- the sensor 7 detects cold water, the water is diverted from the line 1 into the line 2 and thus flows back to the heating system.
- the flow process from the hot water pipe 1 via the valve 32 into the cold water pipe 2 is stopped and warm water can be removed at the removal point 12.
- FIG. 8 corresponds to the line content of the hot water pipe 1 substantially, preferably exactly the content of Container 5, if this is filled only with warm water.
- the valve 9, which may be designed, for example, as an electric valve, is used only as described below to supplement the amount of cold water that may be necessary. Flows namely water from the sampling point 12 before the hot water column from the hot water reservoir W arrives at the sampling point 12, so this cold amount is missing to fill the cold water reservoir K and the hot water column shoots over, ie it flows at least partially into the line 2, which is undesirable.
- the valve 9 the shortage of hot water can be supplemented, ie the valve 9 is open only during the first supporting pumping operation. If no more warm water in the container 5, due to the design, no cold water flows from the cold water reservoir K from the container 5 in the hot water pipe and vice versa.
- FIG. 9 shows another variant of a system.
- No sensor for example a thermal sensor, needs to be arranged in front of the valve 32, since the line contents of the hot water line 1 up to the valve 32 correspond to the contents of the hot water reservoir in the container 5.
- the pump 4 pumps the cold water from the cold water reservoir K of the container 5 via the cold water line 2 the other valve 32 in the hot water pipe and the warm water from the hot water pipe 1 is pumped into the hot water reservoir W of the container 5 until the container 5 is completely filled with warm water.
- this system is particularly suitable for a spatial proximity of the two removal points 12.
- FIG. 12 schematic representation of a valve 32 is shown. Shown is a valve 32, which opens only at positive pressure from line 1, but not by a negative pressure in line 2.
- the valve 32 is particularly for an arrangement behind the last container 5 in the Figures 3 . 5 . 6 . 7 . 9 . 10 and 11 illustrated embodiment, in which the cold water line is used as a return line suitable.
- the power of the circulation pump 4 and the execution and adjustment of the valve 32 by the adjusting screw 31 are preferably coordinated.
- the active surface 40 for the liquid from line section 1 on the closure plate 29 is comparatively large, that of the liquid from line section 2 comparatively small.
- the shape of the piston housing 38 shown here also allows a non-vertical installation of the valve 32, which also can be dispensed with a membrane ,
- the adjustment of the valve 32 by running the water into the piston housing 38 and / or the spring housing 33 is preferably carried out only after assembly after the valve 32 has reached its final position.
- the piston housing 38 and the spring housing 33 are preferably filled with air under atmospheric pressure prior to assembly. In this case, after entering the water into the valve 32, the air / water level described above is formed, which allows adjustment of the valve 32.
- FIG. 13 a schematic representation of a second valve 37 is shown.
- the valve 37 opens even at a low relative negative pressure in line 1, but not at an overpressure on the opposite side of the valve 37.
- This overpressure for example, by inflow from a hot water reservoir (not shown), such as in FIG. 5 is shown done.
- the closure plate 29 has on the line section 1 side facing a large effective area 40 for the water, whereas the active surface on the side facing away from the line 1 a relatively small attack surface for the water. If the piston cover 29 is raised, the water in line 1 can flow in, since the spring housing 33 and the piston housing 38 are not sealed against each other. It thus finds an adjustment of the valve 37 by influencing the air / water level 35th instead of.
- the air trapped in the valve 37 also ensures by its compressibility that the piston cover 29 can detach from the seals 28.
- the pressure, which occurs during the flow of water within the piston housing 38 and the spring housing 33, is preferably slightly below the static pressure and above the release vacuum in line 1 to open the valve 37.
- the spring 34 in this case still provides up to one with the adjustment screw 31 adjustable limit value of the negative pressure for the concern of the closure plate 29 to the seals 28.
- the shape of the piston housing 38 shown here also allows a non-vertical installation of the valve 32, which also can be dispensed with a membrane.
- the adjustment of the valve 37 by running the water into the piston housing 38 and / or the spring housing 33 is preferably carried out only after assembly after the valve 37 has reached its final position.
- the piston housing 38 and the spring housing 33 are preferably filled with air under atmospheric pressure prior to assembly. In this case forms after entering the water in the valve 37, the above-described air / water level, which allows adjustment of the valve 37.
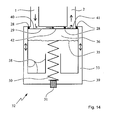
- FIG. 14 shows an embodiment of the valve according to FIG. 12 , wherein the spring housing and the valve housing are made in one piece.
- FIG. 15 shows an embodiment of the valve according to FIG. 13 , wherein the spring housing and the valve housing are made in one piece.
- FIG. 16 a combination of the valves 32 and 37 is shown.
- the pressure in the valve relaxes. Even a slight overpressure in the hot water pipe 1 pushes the piston down because it has a large attack surface due to its depression.
- Cold water flows past the thermocouple / valve until incoming warm water closes the cold water outlet 46 and cold water inlet 47 opens. Due to the still existing pressure of the pump, the entire valve 45 is pressurized again. Since the thermocouple is down, the cold water inlet 47 is opened from the cold water line 2 via a valve 32, so that reflux of cold Water from the line section 2 in the line section 1 is now possible. This displaces the warm water from the line section 1.
- a cooling rate at 7 in 45 which corresponds to the cooling rate of the warm water in the line 1, is advantageous.
- FIG. 17 a schematic representation of a second valve 22 is shown.
- the clamping bolt 25 In the initial position of the clamping bolt 25 is provided with lever arm 23 in the middle position with balanced voltage of both valves 22.
- the right clamping bolt 25 Upon removal of water from the line 26, the right clamping bolt 25 is pushed up the right valve 22, whereby the left clamping pin 25 is pressed down on the valve 22 of line 27 via the lever arm 23.
- the clamping bolt 25 and the lever arm 23 remain first, even in the case of removal of water from line 27.
- the left valve 22 can be opened solely by the water pressure, however, the operation of the left valve 22 is due to the design of the valves 22 with lever arms 23 heavier than the right valve 22. After completion of each removal starts the circulation.
- the higher pressure in the line is measured, or it can be an acoustic or electrical, but preferably not audible signal can be used.
- the lever arm 23 controlled by the control and support member 24 to.
- the right valve 22 is now stretched more than the left valve 22, whereby the circulation of water from now on via line 27 takes place.
- the control / influence of the lever arm 23 ends by the control and support member 24.
- the current status of the system can preferably by three temperature sensors, which at Inlet, line 26 and arranged on line 27 are registered.
- the clamping bolt 25 and the lever arm 23 then go back to the starting position.
- an electrically controlled opening and closing of the valves 22 can also take place.
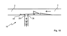
- FIG. 18 is a schematic representation of the principle of action of a flow valve 10 for a water pipe 1, 2 shown.
- the Flow valve has a hinged to a bearing 44 sealing plate, which is located above the junction between line 2 and line 1 and 1 line closes against the line 2 reversible.
- the flow valve 10 serves to close the connection between line 1 and line 2 when a predefined mass flow in line 2 is exceeded. If there is a certain water pressure both in line 1 and in line 2, then the ratio of the two water pressures is decisive for whether the flow valve 10 closes the two lines against each other or connects the lines together.
- the water stored in line 1 presses from below against the flow valve and against the water pressure present in line 2.
- the water flowing in line 2 flows over a slope arranged inside the line 2 in front of the connection point and impinges on the inclined plane arranged on the flow valve 10. If the water also flows over the inclined plane, then the closure plate 29 of the flow valve 10 is additionally pressed onto the connection point between line 1 and line 2 and thus closes line 1 with respect to line 2.
- a circumferential seal arranged to seal the line 1 is at the edge of the connection point between line 1 and 2, a circumferential seal arranged.
Landscapes
- Engineering & Computer Science (AREA)
- General Engineering & Computer Science (AREA)
- Chemical & Material Sciences (AREA)
- Thermal Sciences (AREA)
- Combustion & Propulsion (AREA)
- Mechanical Engineering (AREA)
- Physics & Mathematics (AREA)
- Domestic Hot-Water Supply Systems And Details Of Heating Systems (AREA)
- Water Treatment By Sorption (AREA)
- Devices For Dispensing Beverages (AREA)
- Steam Or Hot-Water Central Heating Systems (AREA)
- Multiple-Way Valves (AREA)
- Cookers (AREA)
Description
- Die Erfindung betrifft ein System zur im wesentlichen permanenten oder raschen Bereitstellung von durch eine zentrale Heizungsanlage erwärmtem Wasser mit einem ersten Leitungsabschnitt, einem zweiten Leitungsabschnitt, wenigstens einem mit dem ersten und dem zweiten Leitungsabschnitt verbundenen, ein Warmwasserreservoir und ein Kaltwasserreservoir aufweisenden Behälter. Ein System gemäß dem Oberbegriff von Anspruch 1 ist aus dem Dokument
DE 334 2 273 bekannt. - Die Versorgung mit erwärmtem Brauchwasser in Haushalten wird in der Regel durch eine zentrale Heizungsanlage oder durch dezentrale elektrische Erhitzer gewährleistet. Dabei stellt sich das Problem, dass elektrische Erhitzer, sofern, wie gerade in Nassräumen üblich, keine Starkstromleitung installiert ist, mit der üblichen Netzspannung von 220 V betrieben werden und daher nur eine begrenzte Aufheizenergie bereitstellen können. Darüber hinaus weisen die elektrischen Erhitzer keine zufriedenstellende Energieausnutzung auf. Bei der Erwärmung des Brauchwassers in zentralen Heizungsanlagen besteht jedoch das Problem, dass sich das nach einer Warmwasserentnahme in den von der Heizungsanlage zu der Entnahmestelle führenden Leitungsabschnitten gespeicherte erwärmte Wasser im Anschluss an die Entnahme abkühlt und seine Wärme an die Umgebung abgibt. Bei einer erneuten Entnahme fließt das so abgekühlte Wasser zuerst ab, bevor eine ausreichende Menge an erwärmtem Wasser nachgeflossen ist und die abgekühlten Leitungsabschnitte wieder erwärmt sind. Zirkulationsleitungen wiederum geben durch permanent maximale Temperaturdifferenz und ca. doppelte Leitungslänge enorme Wärmeenergie ab. Zeitschalter und Bedarfsschalter reduzieren dies nur bedingt, da in den Ruhephasen ebenfalls die ca. doppelte Warmwassermenge auskühlt und anschließend wieder komplett ersetzt werden muss. Der gewünschte Komfort wird bei zeitgesteuerten Zirkulationen zu den Ruhezeiten wiederum stark eingeschränkt. Zirkulationsleitungen bedeuten außerdem ca. doppelten Montage- und Materialaufwand.
- Die aus dem Stand der Technik bekannten Systeme zur Bereitstellung von erwärmtem Brauchwasser mittels zentraler Heizungen stellen somit nicht sofort bei Öffnen der Entnahmestelle erwärmtes Brauchwasser zur Verfügung und/oder sind energetisch uneffektiv.
- Es war daher eine Aufgabe der Erfindung, ein System zur vorzugsweise permanenten oder raschen Bereitstellung von mittels einer zentralen Heizung erwärmtem Brauchwasser an wenigstens einer Entnahmestelle zur Verfügung zu stellen, welches die sich aus dem Stand der Technik ergebenden Probleme nicht aufweist. Es war ferner eine Aufgabe der Erfindung, die innerhalb des Systems auftretenden Masseströme an erwärmtem und kaltem Brauchwasser sicher und effektiv zu leiten und/oder zu regeln.
- Diese Aufgaben werden durch ein System mit den Merkmalen des Anspruchs 1 gelöst. Vorteilhafte Ausgestaltungen der Erfindung finden sich in den abhängigen Ansprüchen.
- Es wird hierbei ein System zur Verfügung gestellt, welches in der Lage ist, erwärmtes Brauchwasser an der Entnahmestelle nahezu permanent zur Verfügung zu stellen und/oder die Zu- und Abfuhr erwärmten oder kalten Brauchwassers sicher und energiesparend zu gewährleisten. Das System gemäß der vorliegenden Erfindung kann sowohl bei Neubauten installiert werden als auch durch Nachrüstung bereits bestehender Leitungssysteme erstellt werden. Zudem kann eine beliebige Anzahl von Wasserentnahmestellen vorgesehen sein oder ein bestehendes System durch Untersysteme, die Teile des Hauptsystems nutzen, erweitert werden. Das erfindungsgemäße Leitungssystem ist besonders einfach aufgebaut, wartungsfreundlich konzipiert und eignet sich daher besonders zur Verwendung in Privathaushalten.
- Ein weiteres System zur Bereitstellung von durch eine Heizungsanlage erwärmtem Wasser an wenigstens einer Wasserentnahmestelle besteht aus einem zwischen und der Heizungsanlage und der Entnahmestelle angeordneten ersten Leitungsabschnitt und einem zweiten Leitungsabschnitt, wobei
- in dem ersten Leitungsabschnitt, vorzugsweise im Bereich der Wasserentnahmestelle ein Sensor angeordnet ist,
- im ersten oder zweiten Leitungsabschnitt ein Bedarfssensor und eine Pumpe angeordnet ist,
- der erste Leitungsabschnitt und der zweite Leitungsabschnitt durch einen Ventil reversibel miteinander verbindbar sind.
- Bei Warmwasserbedarf setzt der Bedarfssensor die Pumpe in Gang, die Warmwasser von der Heizungsanlage zu der Wasserentnahmestelle pumpt. Da sich in dem ersten Leitungsabschnitt jedoch noch kaltes Wasser befindet, öffnet der Sensor das Ventil, das den ersten Leitungsabschnitt mit dem zweiten Leitungsabschnitt verbindet, der wiederum mit der Heizungsanlage verbunden ist. Das noch kalte Wasser in dem ersten Leitungsabschnitt kann somit zu der Heizungsanlage zurückgeleitet werden. Sobald der Sensor warmes Wasser detektiert, wird das Ventil geschlossen und warmes Wasser kann der Entnahmestelle entnommen werden.
- Ein solches System fällt jedoch nicht unter den Schutzbereich der Ansprüche.
- In einer Ausführungsform besteht das erfindungsgemäße System im wesentlichen aus einer zentralen Heizungsanlage zur Erwärmung des Brauchwassers, einem ersten Leitungsabschnitt zur Zufuhr des erwärmten Brauchwassers zu einem Warmwasserreservoir, einem von dem Warmwasserreservoir zwar wärmeisoliert, jedoch nicht druckisoliert angeordneten Kaltwasserreservoir und einer von dem Kaltwasserreservoir zu dem ersten Leitungsabschnitt führenden zweiten Leitungsabschnitt zur Rückführung überschüssigen kalten Brauchwassers. Die Wasserentnahmestelle ist an dem Warmwasserreservoir oder zumindest in dessen Nähe angeordnet, so dass bei Öffnen der Wasserentnahmestelle jederzeit und nahezu direkt erwärmtes Brauchwasser zur Verfügung steht.
- Sowohl durch die wärmeisolierende und nicht druckisolierte Trennung von Warmwasser- und Kaltwasserreservoir als auch durch die offene Verbindung der beiden Reservoirs zu dem Leitungssystem wird zum einen ermöglicht, dass das erwärmte Wasser nicht durch das Kaltwasser abgekühlt wird. Zum anderen wird ermöglicht, dass auch bei Entnahme von erwärmtem Wasser aus dem Warmwasserreservoir ein ausreichender Wasserdruck auch durch das in das Kaltwasserreservoir fließende Wasser aufrecht erhalten wird.
- Das Funktionsprinzip dieses Gegenstandes der vorliegenden Erfindung beruht darauf, dass das dem Behälter vorgeschaltete Thermoventil bewirkt, dass aus der Heizungsanlage nachfließendes warmes Wasser nach der Warmwasserentnahme in das Warmwasserreservoir nachfließt, kaltes Wasser dagegen zu dem Kaltwasserreservoir geleitet wird. Somit wird auch kaltes oder in den Leitungsabschnitten abgekühltes Wasser nicht in das Warmwasserreservoir geleitet. Nach Befüllen des Warmwasserreservoirs wird kaltes in das im Regelfall ruhende Kreislaufsystem geführt.
- Das Warmwasserreservoir enthält dabei vorzugsweise mindestens die gleiche Menge warmen Wassers wie der Zulauf zwischen der zentralen Heizungsanlage und dem Warmwasserreservoir aufnehmen kann. Bei Warmwasserentnahme fließt nun das warme Wasser direkt aus dem Warmwasserreservoir. Vorzugsweise zeitgleich fließt warmes Wasser aus der Heizungsanlage durch den ersten Leitungsabschnitt in Richtung des Warmwasserreservoirs nach. Am durch einen Sensor gesteuerten Ventil fließt das erkaltete Wasser, gedrückt von dem nachfließenden warmen Wasser, aus dem oder den Leitungsabschnitt(en) in das Kaltwasserreservoir ab. Wenn das warme Wasser den Sensor erreicht, schaltet dieser das Ventil um und leitet das nachfolgende warme Wasser in das Warmwasserreservoir.
- Der Sensor in der Nähe der Entnahmestelle kann jeder beliebige Sensor sein. Beispielsweise ist es ein Temperatursensor und/oder ein Mengenmesser, der umschaltet, sobald ein gewisses Volumen, vorzugsweise das Volumen des ersten Leitungsabschnitts in den zweiten Leitungsabschnitt geflossen ist.
- Nach Ende der Warmwasserentnahme wird eine Pumpe aktiviert, welche kaltes Wasser nachfördert und somit das in dem ersten Leitungsabschnitt vorhandene warme Wasser ebenfalls in das Warmwasserreservoir befördert. Die Pumpe arbeitet dabei vorzugsweise mindestens so lange, bis ausschließlich kaltes Wasser in den Leitungsabschnitten gespeichert ist.
- Die Pumpe wird durch jeden beliebigen dem Fachmann geläufigen Bedarfssensor in Gang gesetzt. Dieser Bedarfssensor kann ein einfacher Schalter oder durch einen Drucksensor, der bei abfallendem Druck die Pumpe in Gang setzt, sein. Die Pumpe kann in Gang gesetzt werden, bevor die eigentliche Wasserentnahme erfolgen soll. In einer bevorzugten Ausgestaltung der Erfindung wird die Pumpe dabei über einen oder mehrere Fließsensoren gesteuert. Diese Fließsensoren sind bevorzugt in der Lage, die Entnahme von Warmwasser aus dem Warmwasserreservoir zu detektieren und ein Steuersignal an die Pumpe abzugeben. In einer besonders bevorzugten Ausgestaltung der Erfindung weist das System mindestens einen, vorzugsweise zwei Bedarfssensoren auf, wobei der erste vorzugsweise zumindest in der Nähe der Heizungsanlage, jeder weitere in der Kaltwasserleitung, vorzugsweise vor dem Abzweig zur Pumpe oder hinter dem Abzweig, angeordnet. So kann in besonders vorteilhafter Weise und leicht festgestellt werden, ob während der Umwälzung eine Wasserentnahme eingesetzt hat und die Umwälzung anschließend unterbrochen werden. Alle Sensoren sind vorzugsweise nahe der Pumpe/Regelung der Pumpe angeordnet, wodurch der technische Aufwand minimiert wird.
- Dem Kreislaufsystem kann eine nahezu beliebige Menge an Behältern mit einem Warm- und einem Kaltwasserreservoir angeordnet werden. Zudem kann ein erstes Warmwasserreservoir auch als Heizungsanlage, gleichfalls als Unterzentralheizung, für sowohl einen herkömmlichen Warmwasserkreislauf als auch für ein weiteres erfindungsgemäßes System dienen.
- Durch einen zusätzlichen Heizer, welcher vorzugsweise in der Nähe der Pumpe angeordnet ist, kann bevorzugt bei längeren Ruhephasen ohne Warmwasserentnahme warmes Wasser durch das System gepumpt werden. Dies kann vorzugsweise dann erfolgen, wenn keine zusätzlichen Heizelemente in dem Warmwasserreservoir angeordnet sind und das warme Wasser innerhalb des Warmwasserreservoir trotz der Wärmeisolierung unter ein vorzugsweise vorab definiertes Temperaturniveau abfällt. Ebenso kann das hierfür verwendete warme Wasser aus der zentralen Heizungsanlage entnommen werden.
- Besonders vorteilhaft ist die Nutzung des üblicherweise dem ersten, als Warmwasserleitung genutzten, Leitungsabschnitt zugeordneten zweiten, üblicherweise als Kaltwasserleitung genutzten, Leitungsabschnitt als Rücklaufleitung des Kreislaufsystems. Bei Verwendung geeigneter Ventile wird vorzugsweise der zweite Leitungsabschnitt bezüglich einer Warmwasserentnahme ausschließlich als Rücklaufleitung genutzt, in der ausschließlich kaltes Wasser gespeichert wird.
- Ein weiterer Aspekt ist ein Ventil zur Steuerung der Massenströme vorzugsweise innerhalb eines oben beschriebenen Systems zur vorzugsweise permanenten Bereitstellung von warmem Wasser an einer Warmwasserentnahmestelle. Das Ventil weist ein vorzugsweise innerhalb eines Gehäuses angeordnetes Behältnis zur Aufnahme und Speicherung von Wasser und/oder Luft, und eine das Behältnis und die Verbindung zwischen den Leitungsabschnitten reversibel abdichtende, mindestens drei Wirkflächen aufweisende Verschlussplatte auf, wobei der in dem ersten Leitungsabschnitt vorherrschende Wasserdruck auf eine erste Wirkfläche, der in dem zweiten Leitungsabschnitt vorherrschende Wasserdruck auf eine zweite Wirkfläche und der in dem Behältnis vorherrschende Wasser- und/oder Luftdruck auf eine dritte Wirkfläche drückt, wobei der auf die dritte Wirkfläche wirkende Druck das Ventil bei Druckgleichheit zu dem Leitungsabschnitt vor oder hinter dem Ventil im Schließzustand hält und das Größenverhältnis der ersten Wirkfläche zu der zweiten Wirkfläche derart aufeinander abgestimmt ist, dass eine Öffnung oder ein Schließen des Ventils im wesentlichen unabhängig von der Druckdifferenz in den Leitungsabschnitten und im wesentlichen abhängig von dem Druck in dem ersten Leitungsabschnitt oder in dem zweiten Leitungsabschnitt ist.
- Es wird somit ein Ventil zur Verfügung gestellt, welches in der Lage ist, im wesentlichen nur bei einen erhöhten Druck in einer der beiden Leitungsabschnitte oder aber im wesentlichen nur bei Unterschreiten eines vorzugsweise vorab definierten Unterdrucks in einer der beiden Leitungsabschnitte zu öffnen. Das erfindungsgemäße Ventil wird darüber hinaus bei der Montage durch Speichern eines Wasser-/Luftgemisches in einem innerhalb des Ventils angeordneten Behältnis grobjustiert. Jede erforderliche Anpassung an geänderte Druckverhältnisse, beispielsweise bei einer Änderung des von den Versorgungsbetrieben zur Verfügung gestellten Wasserdrucks, erfolgt somit automatisch nach der Aktivierung des Ventils.
- Das Ventil kann dabei vorab durch die Wahl eines geeigneten Größenverhältnisses zwischen den einzelnen Wirkflächen der Verschlussplatte des Ventils auf die in den Leitungsabschnitten üblichen Druckdifferenzen abgestimmt werden. Darüber hinaus kann in einer besonders bevorzugten Ausgestaltung eine Feinjustierung des Ventils durch eine Veränderung der auf die dritte Wirkfläche der Verschlussplatte einwirkenden Federkraft erreicht werden. Das Ventil ist besonders einfach im Aufbau und sehr flexibel einstellund einsetzbar.
- Die Erfindung wird im folgenden anhand der
Figuren 1 bis 6 und11 ausführlich erläutert. Diese Figuren sind jedoch lediglich beispielhafte Darstellungen der Erfindung und sind daher nicht geeignet, den allgemeinen Grundgedanken der Erfindung einzuschränken. - Figur 1
- zeigt eine schematische Darstellung eines ersten erfindungsgemäßen Systems,
- Figur 2
- zeigt eine schematische Darstellung eines zweiten erfindungsgemäßen Systems,
- Figur 3
- zeigt eine schematische Darstellung eines dritten erfindungsgemäßen Systems,
- Figur 4
- zeigt eine schematische Darstellung eines vierten erfindungsgemäßen Systems,
- Figur 5
- zeigt eine schematische Darstellung eines fünften erfindungsgemäßen Systems,
- Figur 6
- zeigt eine schematische Darstellung eines sechsten erfindungsgemäßen Systems,
- Figur 7
- zeigt eine schematische Darstellung einer vereinfachten Ausführungsform deines Systems
- Figur 8
- zeigt eine schematische Darstellung eines Systems,
- Figur 9
- zeigt eine schematische Darstellung eines Systems,
- Figur 10
- zeigt eine schematische Darstellung eines Systems,
- Figur 11
- zeigt eine schematische Darstellung eines erfindungsgemäßen Systems,
- Figur 12
- zeigt eine schematische Darstellung eines ersten Ventils,
- Figur 13
- zeigt eine schematische Darstellung eines zweiten Ventils,
- Figur 14
- zeigt eine schematische Darstellung eines dritten Ventils,
- Figur 15
- zeigt eine schematische Darstellung eines vierten Ventils,
- Figur 16
- zeigt eine schematische Darstellung eines fünften Ventils,
- Figur 17
- zeigt eine schematische Darstellung eines dritten Ventils,
- Figur 18
- zeigt eine schematische Darstellung des Wirkprinzips einer strömungsabhängigen Dichtung für eine Wasserleitung.
- In
Figur 1 ist eine schematische Darstellung eines ersten erfindungsgemäßen Systems gezeigt. Das System umfasst eine einen Zulauf 16 aufweisende Heizungsanlage 15, eine die Heizungsanlage 15 mit dem Warmwasserreservoir W verbindende Warmasserleitung 1 und eine von dem Kaltwasserreservoir K zur Warmwasserleitung 1 reichende Kaltwasserleitung 2. Innerhalb des Warmwasserreservoirs W ist ein Heizelement 13 zur bedarfsweisen Erwärmung des in dem Warmwasserreservoir W gespeicherten Wassers angeordnet. Der Zulauf zu den einzelnen Wasserreservoirs W, K wird über das Thermoventil 7 geregelt, der Ablauf aus dem Warmwasserreservoir W erfolgt über die Warmwasserentnahmestelle 12. In der Kaltwasserleitung 2 ist zudem eine über einen Fließsensor 8 regelbar ausgestaltete Pumpe 4 angeordnet, die den Kreislauf von Wasser innerhalb des Systems gewährleistet. - In
Figur 2 ist eine schematische Darstellung eines zweiten erfindungsgemäßen Systems gezeigt. In Fließrichtung des Wassers hinter der Heizungsanlage 15 sind an dem ersten Leitungsabschnitt 1 zwei in Reihe geschaltete Behälter 5 angeordnet, die jeweils ein Warmwasserreservoir W und ein von diesem durch eine Membran 6 getrenntes Kaltwasserreservoir K, eine Warmwasserentnahmestelle 12 sowie ein Heizelement 13 aufweisen. Beide Behälter 5 werden über jeweils ein Thermoventil 7a, 7b mit kaltem und warmem Wasser versorgt. Hinter dem ersten Behälter 5 zugeordneten Thermoventil 7a ist ein Bypass-Valve 43 zwischen den von dem Thermoventil 7a zu dem Kaltwasserreservoir K und dem Warmwasserreservoir W führenden Zuläufen angeordnet. Über dieses Bypass-Valve 43 werden die genannten Zuläufe miteinander verbunden und zudem ein Warmwasserzulauf zu dem zweiten Thermoventil 7b gewährleistet. Das Bypass-Valve 43 kann beispielsweise mit einer starken Feder versehen sein, die ermöglicht, dass das Bypass-Valve 43 nur als nachrangige Alternative öffnet, wenn der primäre Weg für das Wasser versperrt ist. In dem in Fließrichtung hinter den Behältern 5 angeordneten zweiten Leitungsabschnitt 2 ist zudem eine Pumpen-Ventil-Abfolge 4, 9 angeordnet, die über einen in der Kaltwasserzulaufleitung 3 angeordneten Fließsensor 8 regelbar ist. - In
Figur 3 ist ein drittes erfindungsgemäßes Kreislaufsystem dargestellt. Das System weist eine zentrale Heizungsanlage 15, welche mit dem allgemeinen Wassernetz über die Zuleitung 3, 16 verbunden ist, auf. Mit der Heizungsanlage 15 sind zudem die Leitungsabschnitte 1 und 2 über die Zuleitung 16 verbunden. Eine Verbindung zwischen den Leitungsabschnitten 1 und 2 ist in der Nähe der Heizungsanlage 15 angeordnet. Die Verbindung erfolgt über ein Ventil 9, welches öffnet, sofern die nachgeschaltete Pumpe 4 arbeitet. Sowohl das Ventil 9 als auch die Pumpe 4 werden über von Fließsensoren 8 übermittelte Steuerungssignale geregelt. An dem ersten Leitungsabschnitt 1 sind zwei Abzweige 14 angeordnet, von denen aus in der Form von Untersystemen weitere erste Leitungsabschnitte 1 zu weiteren Behältern 5 abgehen. An dem der Heizungsanlage 15 am nächsten angeordneten Behälter 5 erfolgt die Befüllung der verschiedenen Reservoirs W, K in der unterFigur 1 bereits dargestellten Weise über das Thermoventil 7. Der Rücklauf des kalten Wassers aus dem Kaltwasserreservoir K erfolgt über ein Ventil 32 zu dem zweiten Leitungsabschnitt 2. Dieses Ventil 32 öffnet bei höherem Druck im Zulauf des Ventils 32, nicht jedoch bei einem geringeren oder höheren Druck am Ablauf des Ventils 32. Die Steuerung des Ablaufs aus dem Kaltwasserreservoir K des der Heizungsanlage 15 entfernter liegenden Behälters 5 erfolgt dagegen über ein Strömungsventil 10, welches verhindert, dass bei einem Druckverlust in dem zweiten Leitungsabschnitt 2, welcher beispielsweise durch eine Entnahme kalten Wassers an der dafür vorgesehenen Kaltwasserentnahmestelle 11 erfolgt, ein Strömen des Wassers aus dem ersten Leitungsabschnitt 1 in den zweiten Leitungsabschnitt 2 verhindert. - In
Figur 4 ist ein viertes erfindungsgemäßes System zur Bereitstellung warmen Wassers an einer Vielzahl von Warmwasserentnahmestellen 12 gezeigt. Das System weist drei hintereinander in dem ersten Leitungsabschnitt 1 angeordnete Behälter 5 auf. Von dem Warmwasserreservoir W des mittleren Behälters 5 geht eine umlaufende Leitung 17 aus, an der drei Warmwasserentnahmestellen 12 angeordnet sind. Das Warmwasserreservoir W dient in diesem Fall als Unterheizungsanlage für eine herkömmliche Warmwasserbereitstellung. An dem innerhalb des dargestellten Systems nachgeschalteten Warmwasserreservoir W ist ein Untersystem 18, bestehend aus einem Leitungskreislauf und an diesem Kreislauf angeordneten zwei Behältern 5 dargestellt. In diesem Fall dient der Behälter 5 als Unterheizungsanlage für ein weiteres erfindungsgemäßes System dem zwei Behälter 5 angeordnet sind. - In
Figur 5 ist ein fünftes erfindungsgemäßes System dargestellt. In dem ersten Leitungsabschnitt 1 sind ausgehend von der Heizungsanlage 15 zwei Behälter 5 angeordnet. Der erste Behälter 5 wird in der oben bereits dargelegten Weise mit warmem und kaltem Wasser gespeist. Der nachgeschaltete zweite Behälter 5 wird dagegen erst nach Befüllen des ersten Behälters 5 mit Wasser befüllt. Zur Regelung des Massenstroms aus dem Warmwasserreservoir W und dem Kaltwasserreservoir K des ersten Behälters 5 sind an der Ausgangsseite des ersten Behälters 5 zwei Ventile 32, 37 angeordnet. Dabei öffnet das Ventil 32 bei einem höheren Druck am Zulauf, nicht aber bei geringerem Druck am Ablauf des Ventils 32. Dagegen öffnet das Ventil 37 nur bei geringerem Druck am Ablauf, nicht jedoch bei höherem Druck am Zulauf des Ventils 37. - In
Figur 6 ist ein sechstes erfindungsgemäßes System zur Bereitstellung warmen Wassers an einer Vielzahl von Warmwasserentnahmestellen 12 dargestellt. An dem ersten Leitungsabschnitt sind zwei parallel geschaltete Behälter 5 angeordnet, welche zeitgleich oder aber unabhängig voneinander über ein gemeinsames Thermoventil 7 sowohl mit kaltem als auch mit warmem Wasser versorgt werden. Beide parallel geschalteten Behälter 5 versorgen in der unterFigur 6 dargestellten Weise je einen nachgeschalteten Behälter 5. - In
Figur 7 ist eine vereinfachte Ausführungsform eines Systems ohne Behälter 5 dargestellt. Die Pumpe 4 springt an, sobald der Fließsensor 8 eine Wasserentnahme feststellt, was beispielsweise durch eine nur sehr kurze Entnahme von Wasser als Signal erfolgen kann. Alternativ kann die Pumpe 4 auch per Schalter in der Nähe der Entnahmestellen 11 oder 12 aktiviert werden. Solang der Sensor 7 kaltes Wasser detektiert, wird das Wasser aus der Leitung 1 in die Leitung 2 umgeleitet und strömt somit zu der Heizungsanlage zurück. Sobald warmes Wasser beim Sensor 7 ankommt, wird der Fließvorgang aus der Warmwasserleitung 1 über das Ventil 32 in die Kaltwasserleitung 2 gestoppt und warmes Wasser kann an der Entnahmestelle 12 entnommen werden. - Ein solches System fällt jedoch nicht unter den Schutzbereich den Ansprüche.
- Bei der Ausführungsvariante gemäß
Figur 8 entspricht der Leitungsinhalt der Warmwasserleitung 1 im wesentlichen, vorzugsweise genau dem Inhalt des Behälters 5, wenn dieser nur mit warmen Wasser gefüllt ist. Das Ventil 9, das beispielsweise als elektrisches Ventil ausgeführt sein kann, dient nur noch wie folgt beschrieben zur gegebenenfalls notwendigen Ergänzung der Kaltwassermenge. Fließt nämlich Wasser aus der Entnahmestelle 12 bevor die Warmwassersäule aus dem Warmwasserreservoir W bei der Entnahmestelle 12 ankommt, so fehlt diese Kaltmenge zur Befüllung des Kaltwasserreservoirs K und die Warmwassersäule schießt über, d. h. sie strömt zumindest teilweise in die Leitung 2, was unerwünscht ist. Durch das Ventil 9 kann die Fehlmenge an warmen Wasser ergänzt werden, d. h. das Ventil 9 ist nur während des ersten unterstützenden Pumpvorgangs geöffnet. Wenn kein warmes Wasser mehr im Behälter 5 ist, fließt konstruktionsbedingt auch kein kaltes Wasser aus dem Kaltwasserreservoir K aus dem Behälter 5 in die Warmwasserleitung und umgekehrt. - Ein solches System fällt jedoch nicht unter den Schutzbereich der Ansprüche.
-
Figur 9 zeigt eine weitere Variante eines Systems. Anders als in der Ausführungsform gemäßFigur 7 braucht vor dem Ventil 32 hier kein Sensor, beispielsweise ein Thermosensor, angeordnet zu werden, da der Leitungsinhalt der Warmwasserleitung 1 bis zu dem Ventil 32 dem Inhalt des Warmwasserreservoirs in dem Behälter 5 entspricht. Wenn kein warmes Wasser mehr im Behälter 5 ist, fließt konstruktionsbedingt auch kein kaltes Wasser aus dem Kaltwasserreservoir K aus dem Behälter 5 in die Warmwasserleitung 1. Nach Entnahmeende pumpt die Pumpe 4 das kalte Wasser aus dem Kaltwasserreservoir K des Behälters 5 via der Kaltwasserleitung 2 über das andere Ventil 32 in die Warmwasserleitung und das warme Wasser aus der Warmwasserleitung 1 wird in das Warmwasserreservoir W des Behälters 5 gepumpt bis der Behälter 5 vollständig mit warmen Wasser gefüllt ist. Der Fachmann erkennt, dass sich dieses System insbesondere bei einer räumlichen Nähe beider Entnahmestellen 12 eignet. - Ein solches System fällt jedoch nicht unter den Schutzbereich der Ansprüche.
-
Figur 10 zeigt eine weitere Ausführungsform eines Systems. Dieses Systems weist zwei Pumpen 4 auf, wobei sowohl vor der Warmwasserentnahme als auch nach der Warmwasserentnahme zuerst die Pumpe vor dem Behälter 5 und dann die im Bypass angeordnete Pumpe 4 arbeitet. Ein solches System fällt jedoch nicht unter den Schutzbereich der Ansprüche. Bei dieser Ausführungsform des Systems wird ein Ventil beispielsweise gemäßFigur 12 oder14 in Kombination mit einem Ventil beispielsweise gemäßFigur 16 eingesetzt. Der Leitungsstrang 1 für warmes Wasser wird durch die Pumpe 4 bis zum Ventil 45 gefüllt, an dem eine Entnahme initiiert wurde. Der Rückfluss, der durch umgekehrte Pumprichtung nach Entnahmeende erfolgt, findet baubedingt auch über dieses Ventil 45 statt. Da an dem Abzweig 14 keinerlei Vorrichtung notwendig ist, eignet sich dieses System insbesondere zum nachträglichen Einbau des erfindungsgemäßen Systems. Die unterschiedlichen Volumina der verschiedenen Leitungsstränge 1 verhindern einen genau definierten Rückfluss. Deshalb muss in dem vorliegenden Fall das Thermoventil schließen, sobald alles warme Wasser in die Heizung 15 bzw. in das Warmwasserreservoir W des Behälters 5 gelangt ist. Die Anordnung von Behälter 5 vor der Heizungsanlage 15, also an deren Zulauf, bringt zwei Vorteile: - 1. Das warme Wasser aus dem Zulauf der Heizungsanlage ist deutlich kühler, so dass weniger Energieverluste durch Auskühlung des Warmwasserreservoirs in dem Behälter 5 befürchtet werden müssen.
- 2. Ein zusätzlicher Heizer in dem Behälter 5 ist überflüssig.
-
Figur 11 zeigt eine weitere Ausführungsform des erfindungsgemäßen Systems. Dieses System weist ein funk- und/oder zeitgesteuertes oder durch elektrische Leitungen ansteuerbares Ventil 48 und ein funk- und/oder zeitgesteuertes oder durch elektrische Leitungen ansteuerbares mit dem Ventil 48 verbundenes Relais 49 für die Pumpe 4 auf. Ansonsten entspricht diese Ausführungsform im wesentlichen den bereits vorher beschriebenen erfindungsgemäßen Ausführungsformen. Der Vorteil dieses Ausführungsbeispiels ist darin zu sehen, dass an den Verzweigungen der Warmwasserleitung 1 keinerlei Aggregate angebracht werden müssen. Auch größere Häuser mit beispielsweise mehreren Mietern können so wunschgemäß bestückt werden. Das erfindungsgemäße System gemäß dieser Ausführungsform arbeitet wie folgt: - Der Sensor 8 registriert an seinem Behälter 5 eine Entnahme und leitet dieses Signal per Funk oder mittels einer Elektroverbindung an das zugehörige Ventil 48 und das Relais 49. Das Relais 49 aktiviert hier nach Ende der Entnahme die Pumpe 4. Nur das zuvor aktivierte Ventil 48 öffnet gegebenenfalls später das andere Ventil, falls dies auch später aktiviert wurde. Bei Entnahme aus der unteren Entnahmestelle 12 ohne Behälter 5 wird die Pumpe 4 nicht aktiviert. Die zeitgesteuerte Arbeitsweise erfolgt wie folgt: z. B. nach 10 Minuten nach Einsetzen der Warmwasserentnahme an einem der Behälter öffnet das zugehörige Ventil 48 und bleibt solange geöffnet, bis sein Behälter wieder gefüllt ist. Die Pumpe 4 springt ebenfalls nach genau 10 Minuten eines Warmwasserentnahmebeginns für z. B. 1 Minute an. Nach wiederum 10 Minuten springt die Pumpe 4 nochmals für z. B. 1 Minute an. Innerhalb z. B. dieses Zeitrasters sind auch sich überschneidende Entnahmen an verschiedenen Behältern abgedeckt. Der Behälter 5 mit der früheren Entnahme bekommt seine größere Fehlmenge warmen Wassers, der spätere seine geringere.
- Der Fachmann erkennt, dass sich alle vorgenannten Varianten, die einen Behälter 5 in der Nähe der Entnahmestelle und einen Behälter 5 in der Nähe der Heizungsanlage aufweisen, mit einer Pumpe so kombinieren lassen, dass durch das schnellere Hinfließen des warmen Wassers zur Entnahmestelle 12 die Behälter 5 in der Nähe der Entnahmestelle deutlich kleiner sein können, als die Behälter in der Nähe der Heizungsanlage und dass das Volumen der Behälter 5 in der Nähe der Entnahmestellen damit auch deutlich kleiner sein kann als der Leitungsinhalt 1 ihres Abzweigs.
- In
Figur 12 ist schematische Darstellung eines Ventils 32 dargestellt. Gezeigt ist ein Ventil 32, welches nur bei Überdruck aus Leitung 1 öffnet, nicht aber durch einen Unterdruck in Leitung 2. Das Ventil 32 ist besonders für eine Anordnung hinter dem letzten Behälter 5 der in denFiguren 3 ,5 ,6 ,7 ,9 ,10 und11 dargestellten Ausführungsform, in der die Kaltwasserleitung als Rücklaufleitung genutzt wird, geeignet. Die Kraft der Umwälzpumpe 4 sowie die Ausführung und Einstellung des Ventils 32 durch die Einstellschraube 31 sind dabei vorzugsweise aufeinander abgestimmt. Die Wirkfläche 40 für die Flüssigkeit aus Leitungsabschnitt 1 auf den Verschlussplatte 29 ist vergleichsweise groß, die der Flüssigkeit aus Leitungsabschnitt 2 vergleichsweise klein. Somit kann bereits ein verhältnismäßig kleiner relativer Überdruck in Leitungsabschnitt 1 die Verschlussplatte 29 gegen die Kraft der Feder 30 senken, was dann das Fließen der Flüssigkeit aus Leitungsabschnitt 1 in Leitungsabschnitt 2 ermöglicht. Der Fachmann versteht, dass nicht notwendigerweise Federn verwendet werden, sondern dass die erforderlichen Kräfte bei geeigneter Ausgestaltung des Ventils ebenso durch die von den Massen der einzelnen Bauelemente erzeugten Gewichtskräfte aufgebracht werden können. - Weil die Wirkfläche der Verschlussplatte 29 zum Leitungsabschnitt 2 hin vergleichsweise klein ist, kann auch bei einer relativen Druckabnahme in Leitungsabschnitt 2, welche ein Anpressen der Verschlussplatte 29 an die Dichtungen 28 bewirkt, ein Überdruck in Leitungsabschnitt 1 ein Öffnen des Ventils 32 bewirken. Da das Federgehäuse 33 und das Kolbengehäuse 38 nicht gegeneinander abgedichtet sind, kann bei Öffnung des Ventils 32, also der Trennung der Verschlussplatte 29 von den Dichtungen 28, Flüssigkeit aus dem Innenraum des Kolbengehäuses 38 und des Federgehäuses 33 heraus oder in diese herein gelangen, wodurch zusätzlich der Luft/Wasser-Pegel in dem Kolbengehäuse 38 angepasst wird. Es findet somit eine erste Justierung des Ventils 32 statt. Zudem ermöglicht die in dem Kolbengehäuse über dem Wasser gespeicherte Luft durch ihre Kompressibilität ein problemloses Loslösen der Verschlussplatte 29 von den Dichtungen 28. Die hier dargestellte Form des Kolbengehäuses 38 ermöglicht ebenso einen nicht senkrechten Einbau des Ventil 32, wobei zudem auf eine Membran verzichtet werden kann. Die Justierung des Ventils 32 durch Einlaufen des Wassers in das Kolbengehäuse 38 und/oder das Federgehäuse 33 erfolgt jedoch vorzugsweise erst nach der Montage, nachdem das Ventil 32 seine endgültige Lage erlangt hat. Das Kolbengehäuse 38 und das Federgehäuse 33 liegen vor der Montage vorzugsweise unter Atmosphärendruck mit Luft gefüllt vor. In diesem Fall bildet sich nach Einlaufen des Wassers in das Ventil 32 der oben beschriebene Luft/Wasser-Pegel, der eine Justierung des Ventils 32 ermöglicht.
- In
Figur 13 wird eine schematische Darstellung eines zweiten Ventils 37 gezeigt. Das Ventil 37 öffnet bereits bei einem geringen relativen Unterdruck in Leitung 1, jedoch nicht bei einem Überdruck auf der gegenüberliegenden Seite des Ventils 37. Dieser Überdruck kann beispielsweise durch Zulauf aus einem Warmwasserreservoirs (nicht gezeigt), wie sie beispielsweise inFigur 5 dargestellt ist, erfolgen. Die Verschlussplatte 29 besitzt auf der dem Leitungsabschnitt 1 zugewandten Seite eine große Wirkfläche 40 für das Wasser, wohingegen die Wirkfläche auf der der Leitung 1 abgewandten Seite eine vergleichsweise kleine Angriffsfläche für das Wasser. Wird der Kolbendeckel 29 angehoben, so kann das Wasser in Leitung 1 herein strömen, da das Federgehäuse 33 und das Kolbengehäuse 38 nicht gegeneinander abgedichtet sind. Es findet somit eine Justierung des Ventils 37 durch die Beeinflussung des Luft/Wasser-Pegels 35 statt. Die in dem Ventil 37 eingeschlossene Luft gewährleistet darüber hinaus durch ihre Kompressibilität, dass sich der Kolbendeckel 29 von den Dichtungen 28 ablösen kann. Der Druck, welcher sich während des Strömens des Wassers innerhalb des Kolbengehäuses 38 und des Federgehäuses 33 einstellt, liegt vorzugsweise gering unter dem Ruhedruck und über dem Auslöseunterdruck in Leitung 1 zum Öffnen des Ventils 37. Die Feder 34 sorgt in diesem Fall dennoch bis zu einem mit der Einstellschraube 31 einstellbaren Grenzwert des Unterdrucks für das Anliegen der Verschlussplatte 29 an den Dichtungen 28. Die hier dargestellte Form des Kolbengehäuses 38 ermöglicht ebenso einen nicht senkrechten Einbau des Ventil 32, wobei zudem auf eine Membran verzichtet werden kann. Die Justierung des Ventils 37 durch Einlaufen des Wassers in das Kolbengehäuse 38 und/oder das Federgehäuse 33 erfolgt jedoch vorzugsweise erst nach der Montage, nachdem das Ventil 37 seine endgültige Lage erlangt hat. Das Kolbengehäuse 38 und das Federgehäuse 33 liegen vor der Montage vorzugsweise unter Atmosphärendruck mit Luft gefüllt vor. In diesem Fall bildet sich nach Einlaufen des Wassers in das Ventil 37 der oben beschriebene Luft/Wasser-Pegel, der eine Justierung des Ventils 37 ermöglicht. -
Figur 14 zeigt eine Ausführungsform des Ventils gemäßFigur 12 , wobei das Federgehäuse und das Ventilgehäuse einstückig ausgeführt sind. -
Figur 15 zeigt eine Ausführungsform des Ventils gemäßFigur 13 , wobei das Federgehäuse und das Ventilgehäuse einstückig ausgeführt sind. - In
Figur 16 ist eine Kombination der Ventile 32 und 37 dargestellt. Bei einer Warmwasserentnahme entspannt sich der Druck in dem Ventil. Bereits ein leichter Überdruck in der Warmwasserleitung 1 drückt den Kolben nach unten, da er aufgrund seiner Vertiefung eine große Angriffsfläche aufweist. Kaltes Wasser strömt am Thermoelement / Ventil vorbei bis ankommendes warmes Wasser den Kaltwasserausgang 46 schließt und Kaltwassereingang 47 öffnet. Durch den noch vorhandenen Druck der Pumpe wird das gesamte Ventil 45 wieder unter Druck gesetzt. Da das Thermoelement unten ist, ist der Kaltwassereingang 47 aus der Kaltwasserleitung 2 über ein Ventil 32 geöffnet, so dass Rückfluss von kaltem Wasser aus dem Leitungsabschnitt 2 in den Leitungsabschnitt 1 jetzt möglich ist. Dieses verdrängt das warme Wasser aus dem Leitungsabschnitt 1. Eine Auskühlungsgeschwindigkeit bei 7 in 45 die der Auskühlgeschwindigkeit des warmen Wassers in der Leitung 1 entspricht, ist vorteilhaft. - In
Figur 17 ist eine schematische Darstellung eines zweiten Ventils 22 dargestellt. In der Ausgangslage liegt der Spannbolzen 25 mit Hebelarm 23 in mittlerer Lage bei ausgewogener Spannung beider Ventile 22 vor. Bei einer Entnahme von Wasser aus der Leitung 26 wird der rechte Spannbolzen 25 am rechten Ventil 22 hochgedrückt, wodurch der linke Spannbolzen 25 am Ventil 22 von Leitung 27 über den Hebelarm 23 heruntergedrückt wird. In dieser Position verharren die Spannbolzen 25 und der Hebelarm 23 zunächst, auch im Falle einer Entnahme von Wasser aus Leitung 27. Hierbei kann das linke Ventil 22 allein durch den Wasserdruck geöffnet werden, jedoch erfolgt die Betätigung des linken Ventils 22 aufgrund der Ausgestaltung der Ventile 22 mit Hebelarmen 23 schwerer als das rechte Ventil 22. Nach Beendigung jeder Entnahme setzt die Zirkulation ein. Je nach Bauart wird der höhere Druck in der Leitung gemessen, oder es kann ein akustisches oder elektrisches, vorzugsweise jedoch nicht hörbares Signal verwendet werden. Aufgrund der unterschiedlichen Federspannung zirkuliert zuerst Leitung 26, nach Ablauf einer an dem Regel- und Halterungselement 24 vorgewählten Zeit oder aber nach Durchfluss einer vorab definierten Menge an Wasser, springt der Hebelarm 23, geregelt durch das Regel- und Halterungselement 24, um. Hierdurch ist nun das rechte Ventil 22 stärker gespannt als das linke Ventil 22, wodurch die Zirkulation des Wassers fortan über Leitung 27 stattfindet. Nach Ende der Zirkulation, beispielsweise bei einem Druckabfall oder nach Abgabe eines Ton- oder elektrischen Signals, endet auch die Regelung/Beeinflussung des Hebelarms 23 durch das Regel- und Halterungselement 24. Der aktuelle Status des Systems kann vorzugsweise durch drei Temperaturfühler, welche an den Zulauf, Leitung 26 und an Leitung 27 angeordnet sind, registriert werden. Der Spannbolzen 25 und der Hebelarm 23 gehen anschließend wieder in die Ausgangslage zurück. Alternativ hierzu kann ebenso ein elektrisch geregeltes Öffnen und Schließen der Ventile 22 erfolgen. - In
Figur 18 ist eine schematische Darstellung des Wirkprinzips eines Strömungsventils 10 für eine Wasserleitung 1, 2 gezeigt. Das Strömungsventil besitzt eine an einem Lager 44 klappbar gelagerte Verschlussplatte, die über der Verbindungsstelle zwischen Leitung 2 und Leitung 1 angeordnet ist und Leitung 1 gegenüber der Leitung 2 reversibel verschließt. Das Strömungsventil 10 dient dazu, bei Überschreiten eines vorab definierten Massenstroms in Leitung 2, die Verbindung zwischen Leitung 1 und Leitung 2 zu verschließen. Liegt sowohl in Leitung 1 als auch in Leitung 2 ein bestimmter Wasserdruck vor, so ist das Verhältnis der beiden Wasserdrücke dafür entscheidend, ob das Strömungsventil 10 die beiden Leitungen gegeneinander abschließt oder die Leitungen miteinander verbindet. Dabei drückt das in Leitung 1 gespeicherte Wasser von unten gegen das Strömungsventil und gegen den Wasserdruck, der in Leitung 2 vorliegt. Zusätzlich strömt das in Leitung 2 fließende Wasser über eine innerhalb der Leitung 2 vor der Verbindungsstelle angeordnete Schräge hinweg und trifft auf die an dem Strömungsventil 10 angeordnete schiefe Ebene. Strömt das Wasser auch über die schiefe Ebene hinweg, so wird die Verschlussplatte 29 des Strömungsventils 10 zusätzlich auf die Verbindungsstelle zwischen Leitung 1 und Leitung 2 gepresst und verschließt somit Leitung 1 gegenüber Leitung 2. Zur Abdichtung der Leitung 1 ist am Rand der Verbindungsstelle zwischen Leitung 1 und Leitung 2 eine umlaufende Dichtung angeordnet. -
- W
- Warmwasserreservoir
- K
- Kaltwasserreservoir
- 1
- Warmwasserleitung
- 2
- Kaltwasserleitung
- 3
- Kaltwasserzufuhrleitung
- 4
- Umwälzpumpe
- 5
- Behälter
- 6
- Membran
- 7
- Sensor, Thermoventil, Temperatursensor
- 8
- Bedarfssensor, Fließsensor
- 9
- Ventil
- 10
- Strömungsventil
- 11
- Kaltwasserentnahmestelle
- 12
- Warmwasserentnahmestelle
- 13
- Heizelement
- 14
- Abzweig
- 15
- Heizungsanlage
- 16
- Speisung Heizungsanlage
- 17
- konventioneller Warmwasserkreislauf
- 18
- erfindungsgemäßer Warmwasserkreislauf
- 19
- Heizer
- 20
- Ventil
- 21
- Sensor
- 22
- Rückschlagventil
- 23
- Hebelarm
- 24
- Regel- und Halterungselement
- 25
- Stellbolzen/-riegel
- 26
- Weiterführung der Leitung
- 27
- Weiterführung der Leitung
- 28
- Dichtung
- 29
- Verschlussplatte
- 30
- Feder (drückend)
- 31
- Einstellschraube
- 32
- Ventil
- 33
- Federgehäuse und Zylinder
- 34
- Feder (ziehend)
- 35
- Gas-/Luft-Pegel
- 36
- Gas/Luft in Kolbengehäuse
- 37
- Ventil
- 38
- Kolbengehäuse
- 39
- Ventil-/Gesamt-Gehäuse
- 40
- erste Wirkfläche der Verschlussplatte
- 41
- zweite Wirkfläche der Verschlussplatte
- 42
- dritte Wirkfläche der Verschlussplatte
- 43
- Bypass- Valve
- 44
- Lager
- 45
- Ventil
- 46
- Kaltwasserausgang
- 47
- Kaltwassereingang
- 48
- Ventil
- 49
- Relais
Claims (14)
- System zur Bereitstellung von durch eine Heizungsanlage (15) erwärmtem Wasser an wenigstens einer zumindest in der Nähe eines Warmwasserreservoirs (W) angeordneten Wasserentnahmestelle (12), mit wenigstens einem, das Warmwassenwservoir (W) aufweisenden Behälter (5), einem zwischen dem Behälter (5) und der Heizungsanlage (15) anordbaren ersten Leitungsabschnitt (1) und einem zwischen dem Behälter (5) und dem ersten Leitungsabschnitt (1) anordbaren zweiten Leitungsabschnitt (2), dadurch gekennzeichnet, dass der Behälter auch ein Kaltwasserreservoir (k) aufweist, und dass das Warmwasserreservoir (W) von dem Kaltwasscrreservoir (K) im wesentlichen wärme-, jedoch nicht druckisoliert getrennt angeordnet ist und dass das Warmwasserreservoir (W) über ein innerhalb des ersten Leitungsabschnitts (1) angeordnetes Thermoventil (7) ausschließlich mit warmem Wasser befüllbar ist.
- System nach Anspruch 1, dadurch gekennzeichnet, dass das Warmwasserreservoir (W) und das Kaltwasserreservoir (K) durch eine wärmeisolierende Membran (6) voneinander getrennt sind.
- System nach Anspruch 1, dadurch gekennzeichnet, dass das Warmwasserreservoir (W) und das Kattwasserreservoir (K) durch mindestens eine Wandung eines in einem Zylinder beweglichen Kolbens voneinander getrennt sind.
- System nach einem der Ansprüche 1 - 3 , dadurch gekennzeichnet, dass die Befüllung des Kaltwasserreservoirs (K) mit Kaltwasser und Warmwasserreservoirs (W) mit Warmwasser über einen Sensor (7) steuerbar ist.
- System nach Anspruch 4, dadurch gekennzeichnet, dass der Sensor (7) ein Ventil ansteuert, mit dem Warmwasser über den ersten Leitungsabschnitt (1) in das Warmwasserreservoir (W) und Kaltwasser über einen den ersten Leitungsabschnitt (1) mit dem Kaltwasserreservoir (K) verbindenden Abzweig in das Kaltwasserreservoir (K) führbar ist.
- System nach einem der Ansprüche 1 - 5, dadurch gekennzeichnet, dass das nach Befüllen des Kaltwasserreservoirs (K) überschüssige Kaltwasser in den zweiten Leitungsabschnitt (2) leitbar ist.
- System nach einem der voranstehenden Ansprüche, dadurch gekennzeichnet, dass das nach der Entnahme von Warmwasser in dem ersten Leitungsabschnitt (1) verbliebene Warmwasser mittels einer Pumpe (4) in das Warmwasserreservoir (W) füllbar ist.
- System nach Anspruch 7, dadurch gekennzeichnet, dass die Pumpe (4) innerhalb des ersten oder zweiten Leitungsabschnitts (2) angeordnet ist und vorzugsweise mittels eines vorzugsweise in dem ersten Leitungsabschnit (1) angeordneten Bedarfssensors (8) regelbar ist.
- System nach einem der Ansprüche 1 - 8, dadurch gekennzeichnet, dass innerhalb des Warmwasserreservoirs (W) ein Heizmittel (13) angeordnet ist.
- System nach einem der Anspruche 1 - 9, dadurch gekennzeichnet, dass mehrere Warmwasserreservoirs (W) und Kaltivasserreservoirs (K) an dem ersten Leitungsabschnitt (1) in Reihe angeordnet sind.
- System nach einem der Ansprüche 1-10, dadurch gekennzeichnet, dass dem Warmwasserreservoir (W) ein weiteres System, bestehend aus einem ersten Leitungsabschnitt (1) und einem zweiten Leitungsabschnitt (2) sowie einem daran angeordneten zweiten Warmwasserreservoir (W) und einem zweiten Kaltwasserreservoir(K) angeordnet ist.
- System nach einem der Ansprüche 10-11, dadurch gekennzeichnet, dass der Zu- und Abfluss von Warm- oder Kaltwasser innerhalb der Leitungsabschnitte zu den verschiedenen Warmwasserreservoirs (W) und Kaltwasserreservoirs (K) durch jeweils wenigstens ein Ventil, vorzugsweise ein Rückschlagventil, regelbar ist.
- System nach einem der Ansprüche 10-12, dadurch gekennzeichnet, dass der Zu- und Abfluss zu den Warmwasserreservoirs (W) und Kaltwasserreservoirs (K) mittels auf beiden Seiten jedes Abzweigs (14) angeordneter und abhängig voneinander wirkender Ventile regelbar ist.
- Heizungsanlage mit dem System nach einem der Ansprüche 1-13, dadurch gekennzeichnet, dass der Behälter (5) in der Nähe, vorzugsweise im Zulauf der Heizungsanlage (15), angeordnet ist.
Applications Claiming Priority (2)
| Application Number | Priority Date | Filing Date | Title |
|---|---|---|---|
| DE10343700 | 2003-09-18 | ||
| DE10343700A DE10343700A1 (de) | 2003-09-18 | 2003-09-18 | System zur Bereitstellung von erwärmtem Brauchwasser in einem Leitungssystem und Ventil zu dessen Steuerung |
Publications (3)
| Publication Number | Publication Date |
|---|---|
| EP1517097A2 EP1517097A2 (de) | 2005-03-23 |
| EP1517097A3 EP1517097A3 (de) | 2005-07-06 |
| EP1517097B1 true EP1517097B1 (de) | 2011-02-09 |
Family
ID=34177867
Family Applications (1)
| Application Number | Title | Priority Date | Filing Date |
|---|---|---|---|
| EP04019690A Expired - Lifetime EP1517097B1 (de) | 2003-09-18 | 2004-08-19 | System zur Bereitstellung von erwärmtem Brauchwasser in einem Leitungssystem und Ventil zu dessen Steuerung |
Country Status (3)
| Country | Link |
|---|---|
| EP (1) | EP1517097B1 (de) |
| AT (1) | ATE498097T1 (de) |
| DE (2) | DE10343700A1 (de) |
Families Citing this family (8)
| Publication number | Priority date | Publication date | Assignee | Title |
|---|---|---|---|---|
| DE102011014527A1 (de) | 2011-03-18 | 2012-09-20 | Markus Keitsch | System zur Bereitstellung erwärmten Brauchwassers in einem Leitungssystem |
| EP2503252B1 (de) * | 2011-03-18 | 2020-04-29 | Markus Keitsch | System zur Bereitstellung von erwärmtem Brauchwasser in einem Leitungssystem |
| DE102012011042A1 (de) | 2012-06-05 | 2013-12-05 | Markus Keitsch | Verbessertes System zur Bereitstellung von erwärmtem Wasser in einem Leitungssystem |
| DE102013008991A1 (de) | 2013-03-14 | 2014-09-18 | Markus Keitsch | Effizientes, vielseitig einsetzbares, einfach steuerbares und leicht nachrüstbares System zur Bereitstellung warmen Wassers, oder anderer Medien mit einer Temperaturdifferenz zur Umgebung, in einem Leitungssystem |
| DE102014006539A1 (de) | 2014-05-05 | 2015-11-05 | Markus Keitsch | Ein besonders leicht nachrüstbares, besonders vielseitig einsetzbares, sehr energiesparendes und einfach steuerbares System zur Bereitstellung warmen Wassers, oder anderer Medien mit einer Temperaturdifferenz zur Umgebung in einem Leitungssystem |
| DE102015001450A1 (de) | 2014-07-02 | 2016-01-07 | Markus Keitsch | System zum energiesparenden Betrieb nicht permanent genutzter oder nicht permanent ausgelasteter Wärmetauscher in einem Leitungssystem, insbesondere zur Trinkwassererwärmung |
| DE102015006945A1 (de) | 2015-06-05 | 2016-12-08 | Markus Keitsch | System zur beschleunigten Beförderung warmer Flüssigkeit in einem kälteren Leitungssystem bei spontan einsetzendem Bedarf an warmer Flüssigkeit bei dezentralen Wärmetauschern oder dezentralen Zwischenspeichern |
| WO2025215309A1 (fr) * | 2024-04-09 | 2025-10-16 | David Perrin | Procédé et dispositif de distribution d'eau chaude sanitaire |
Citations (1)
| Publication number | Priority date | Publication date | Assignee | Title |
|---|---|---|---|---|
| US5277219A (en) * | 1991-05-03 | 1994-01-11 | Metlund Enterprises | Hot water demand system suitable for retrofit |
Family Cites Families (12)
| Publication number | Priority date | Publication date | Assignee | Title |
|---|---|---|---|---|
| DE2244289A1 (de) * | 1972-09-09 | 1974-03-21 | Franz Gonsior | Durchlaufventil |
| AT377598B (de) * | 1981-07-03 | 1985-04-10 | Azote Sa Cie Neerlandaise | Warmwasserleitungssystem |
| DE3126883C2 (de) * | 1981-07-08 | 1985-12-05 | Stiebel Eltron Gmbh & Co Kg, 3450 Holzminden | Heizungsanlage für die Brauchwasserbereitung |
| DE3342273A1 (de) * | 1983-11-23 | 1985-05-30 | kabelmetal electro GmbH, 3000 Hannover | Verfahren und vorrichtung zur erzeugung und bereitstellung von erwaermtem brauchwasser |
| DE3522344A1 (de) * | 1985-06-22 | 1987-01-02 | Meyer Fa Rud Otto | Verfahren zur regelung der temperatur des an ein warmwasser-versorgungssystem mit zirkulationsleitung angeschlossenen verbrauchern zufliessenden warmwassers und warmwasserversorgungssystem zur durchfuehrung des verfahrens |
| DE9100283U1 (de) * | 1991-01-11 | 1991-04-04 | Wienandt, Reinhold, 4600 Dortmund | Niederdruck-Selbstschlußventil für die Aquaristik |
| US5181656A (en) * | 1991-12-16 | 1993-01-26 | Schwerdt Gerald N | Water recirculating apparatus |
| JPH11248181A (ja) * | 1998-02-25 | 1999-09-14 | Hazama Gumi Ltd | 給湯方法及びそのシステム |
| DE19910096C1 (de) * | 1999-03-08 | 2000-05-31 | Guenther Litzba | Verfahren und Vorrichtung zum Wasser- und Energiesparen bei Warmwasser-Versorgungssystemen |
| DE19934627A1 (de) * | 1999-07-23 | 2001-01-25 | Michael Manok | Warmwasserversorgungsanlage |
| DE19934786A1 (de) * | 1999-07-27 | 2001-02-01 | Oliver Kudera | Warmwasserversorgungsanlage |
| GB2366830A (en) * | 2000-07-17 | 2002-03-20 | South Staffordshire Water Plc | Pressure relief valve in mains water supply system |
-
2003
- 2003-09-18 DE DE10343700A patent/DE10343700A1/de not_active Withdrawn
-
2004
- 2004-08-19 EP EP04019690A patent/EP1517097B1/de not_active Expired - Lifetime
- 2004-08-19 AT AT04019690T patent/ATE498097T1/de active
- 2004-08-19 DE DE502004012171T patent/DE502004012171D1/de not_active Expired - Lifetime
Patent Citations (1)
| Publication number | Priority date | Publication date | Assignee | Title |
|---|---|---|---|---|
| US5277219A (en) * | 1991-05-03 | 1994-01-11 | Metlund Enterprises | Hot water demand system suitable for retrofit |
Also Published As
| Publication number | Publication date |
|---|---|
| DE10343700A1 (de) | 2005-05-04 |
| EP1517097A3 (de) | 2005-07-06 |
| ATE498097T1 (de) | 2011-02-15 |
| EP1517097A2 (de) | 2005-03-23 |
| DE502004012171D1 (de) | 2011-03-24 |
Similar Documents
| Publication | Publication Date | Title |
|---|---|---|
| DE2933606C2 (de) | Heißwasserbereiter | |
| EP2397777A1 (de) | Gehäuseeinheit für eine Heizungsanlage | |
| EP2503252B1 (de) | System zur Bereitstellung von erwärmtem Brauchwasser in einem Leitungssystem | |
| EP1517097B1 (de) | System zur Bereitstellung von erwärmtem Brauchwasser in einem Leitungssystem und Ventil zu dessen Steuerung | |
| EP1884720B1 (de) | Baueinheit für eine Kompaktheizungsanlage | |
| EP3800403B1 (de) | Verfahren zum betreiben einer heizvorrichtung, heizvorrichtung | |
| DE630658C (de) | Elektrischer Durchlauferhitzer mit selbsttaetiger Schaltung mittels einer dem vollen Fluessigkeitsdruck ausgesetzten Membran | |
| DE102011014527A1 (de) | System zur Bereitstellung erwärmten Brauchwassers in einem Leitungssystem | |
| EP2413047B2 (de) | Brauchwassererwärmungseinheit | |
| WO1998052110A1 (de) | Wassersteuervorrichtung | |
| DE3145636C2 (de) | ||
| DE19642179A1 (de) | Vorrichtung für die Bereitung von Brauchwarmwasser | |
| AT402575B (de) | Verfahren zur steuerung eines volumenstrombegrenzers | |
| DE4308941C2 (de) | Anordnung zur Warmwasserbereitstellung für mit Gaswandgeräten beheizte Durchlaufspeicher | |
| DE2451544A1 (de) | Waermepumpe | |
| AT501612B1 (de) | Verfahren zum betreiben einer warmwasserbereitungsanlage und warmwasserbereitungsanlage | |
| DE202012004232U1 (de) | Zusatzheizeinrichtung für zumindest einen Heizkörper sowie Heizkörper mit einer solchen Zusatzheizeinrichtung | |
| DE102019003716A1 (de) | Verbessertes System zur koordiniereten Beschleunigung von Flüssigkeit in einem Leitungssystem, insbesondere von Heizungswasser zum Erwärmen von Trinkwasser über Wärmetauscher | |
| DE60012963T2 (de) | Heisswasserentnahmeleitung | |
| DE310254C (de) | ||
| DE102022127744A1 (de) | Zentralheizungssystem und Verfahren zum Betrieb und/oder zur Steuerung und/oder zur Regelung eines Zentralheizungssystems | |
| DE684453C (de) | Gasbeheizter Durchlaufwassererhitzer zur Versorgung mehrerer entfernt liegender Zapfstellen | |
| DE3100121C2 (de) | Verfahren zum Aufheizen von Brauchwasser in einem doppelwandigen Speicher mit einem Brauchwasser- und einem Heizwasserteil und Warmwasserheizvorrichtung mit einer Wärmepumpe | |
| DE4226802C2 (de) | Mischwasserbereitungsanlage mit einer Zirkulationsleitung und einem Injektor | |
| WO2025003336A1 (de) | Zentralheizungssystem und verfahren zum betrieb und/oder zur steuerung und/oder zur regelung eines zentralheizungssystems |
Legal Events
| Date | Code | Title | Description |
|---|---|---|---|
| PUAI | Public reference made under article 153(3) epc to a published international application that has entered the european phase |
Free format text: ORIGINAL CODE: 0009012 |
|
| AK | Designated contracting states |
Kind code of ref document: A2 Designated state(s): AT BE BG CH CY CZ DE DK EE ES FI FR GB GR HU IE IT LI LU MC NL PL PT RO SE SI SK TR |
|
| AX | Request for extension of the european patent |
Extension state: AL HR LT LV MK |
|
| PUAL | Search report despatched |
Free format text: ORIGINAL CODE: 0009013 |
|
| AK | Designated contracting states |
Kind code of ref document: A3 Designated state(s): AT BE BG CH CY CZ DE DK EE ES FI FR GB GR HU IE IT LI LU MC NL PL PT RO SE SI SK TR |
|
| AX | Request for extension of the european patent |
Extension state: AL HR LT LV MK |
|
| 17P | Request for examination filed |
Effective date: 20060106 |
|
| AKX | Designation fees paid |
Designated state(s): AT BE BG CH CY CZ DE DK EE ES FI FR GB GR HU IE IT LI LU MC NL PL PT RO SE SI SK TR |
|
| 17Q | First examination report despatched |
Effective date: 20061130 |
|
| RAP1 | Party data changed (applicant data changed or rights of an application transferred) |
Owner name: KEITSCH, MARKUS |
|
| RIN1 | Information on inventor provided before grant (corrected) |
Inventor name: KEITSCH, MARKUS |
|
| GRAP | Despatch of communication of intention to grant a patent |
Free format text: ORIGINAL CODE: EPIDOSNIGR1 |
|
| GRAS | Grant fee paid |
Free format text: ORIGINAL CODE: EPIDOSNIGR3 |
|
| GRAA | (expected) grant |
Free format text: ORIGINAL CODE: 0009210 |
|
| AK | Designated contracting states |
Kind code of ref document: B1 Designated state(s): AT BE BG CH CY CZ DE DK EE ES FI FR GB GR HU IE IT LI LU MC NL PL PT RO SE SI SK TR |
|
| REG | Reference to a national code |
Ref country code: GB Ref legal event code: FG4D Free format text: NOT ENGLISH |
|
| REG | Reference to a national code |
Ref country code: CH Ref legal event code: EP |
|
| REG | Reference to a national code |
Ref country code: IE Ref legal event code: FG4D Free format text: LANGUAGE OF EP DOCUMENT: GERMAN |
|
| REF | Corresponds to: |
Ref document number: 502004012171 Country of ref document: DE Date of ref document: 20110324 Kind code of ref document: P |
|
| REG | Reference to a national code |
Ref country code: DE Ref legal event code: R096 Ref document number: 502004012171 Country of ref document: DE Effective date: 20110324 |
|
| REG | Reference to a national code |
Ref country code: NL Ref legal event code: VDEP Effective date: 20110209 |
|
| PG25 | Lapsed in a contracting state [announced via postgrant information from national office to epo] |
Ref country code: ES Free format text: LAPSE BECAUSE OF FAILURE TO SUBMIT A TRANSLATION OF THE DESCRIPTION OR TO PAY THE FEE WITHIN THE PRESCRIBED TIME-LIMIT Effective date: 20110520 Ref country code: GR Free format text: LAPSE BECAUSE OF FAILURE TO SUBMIT A TRANSLATION OF THE DESCRIPTION OR TO PAY THE FEE WITHIN THE PRESCRIBED TIME-LIMIT Effective date: 20110510 Ref country code: PT Free format text: LAPSE BECAUSE OF FAILURE TO SUBMIT A TRANSLATION OF THE DESCRIPTION OR TO PAY THE FEE WITHIN THE PRESCRIBED TIME-LIMIT Effective date: 20110609 Ref country code: SE Free format text: LAPSE BECAUSE OF FAILURE TO SUBMIT A TRANSLATION OF THE DESCRIPTION OR TO PAY THE FEE WITHIN THE PRESCRIBED TIME-LIMIT Effective date: 20110209 |
|
| PG25 | Lapsed in a contracting state [announced via postgrant information from national office to epo] |
Ref country code: CY Free format text: LAPSE BECAUSE OF FAILURE TO SUBMIT A TRANSLATION OF THE DESCRIPTION OR TO PAY THE FEE WITHIN THE PRESCRIBED TIME-LIMIT Effective date: 20110209 Ref country code: SI Free format text: LAPSE BECAUSE OF FAILURE TO SUBMIT A TRANSLATION OF THE DESCRIPTION OR TO PAY THE FEE WITHIN THE PRESCRIBED TIME-LIMIT Effective date: 20110209 Ref country code: FI Free format text: LAPSE BECAUSE OF FAILURE TO SUBMIT A TRANSLATION OF THE DESCRIPTION OR TO PAY THE FEE WITHIN THE PRESCRIBED TIME-LIMIT Effective date: 20110209 Ref country code: PL Free format text: LAPSE BECAUSE OF FAILURE TO SUBMIT A TRANSLATION OF THE DESCRIPTION OR TO PAY THE FEE WITHIN THE PRESCRIBED TIME-LIMIT Effective date: 20110209 Ref country code: BG Free format text: LAPSE BECAUSE OF FAILURE TO SUBMIT A TRANSLATION OF THE DESCRIPTION OR TO PAY THE FEE WITHIN THE PRESCRIBED TIME-LIMIT Effective date: 20110509 Ref country code: NL Free format text: LAPSE BECAUSE OF FAILURE TO SUBMIT A TRANSLATION OF THE DESCRIPTION OR TO PAY THE FEE WITHIN THE PRESCRIBED TIME-LIMIT Effective date: 20110209 |
|
| REG | Reference to a national code |
Ref country code: IE Ref legal event code: FD4D |
|
| PG25 | Lapsed in a contracting state [announced via postgrant information from national office to epo] |
Ref country code: DK Free format text: LAPSE BECAUSE OF FAILURE TO SUBMIT A TRANSLATION OF THE DESCRIPTION OR TO PAY THE FEE WITHIN THE PRESCRIBED TIME-LIMIT Effective date: 20110209 Ref country code: IE Free format text: LAPSE BECAUSE OF FAILURE TO SUBMIT A TRANSLATION OF THE DESCRIPTION OR TO PAY THE FEE WITHIN THE PRESCRIBED TIME-LIMIT Effective date: 20110209 Ref country code: EE Free format text: LAPSE BECAUSE OF FAILURE TO SUBMIT A TRANSLATION OF THE DESCRIPTION OR TO PAY THE FEE WITHIN THE PRESCRIBED TIME-LIMIT Effective date: 20110209 |
|
| PG25 | Lapsed in a contracting state [announced via postgrant information from national office to epo] |
Ref country code: CZ Free format text: LAPSE BECAUSE OF FAILURE TO SUBMIT A TRANSLATION OF THE DESCRIPTION OR TO PAY THE FEE WITHIN THE PRESCRIBED TIME-LIMIT Effective date: 20110209 Ref country code: SK Free format text: LAPSE BECAUSE OF FAILURE TO SUBMIT A TRANSLATION OF THE DESCRIPTION OR TO PAY THE FEE WITHIN THE PRESCRIBED TIME-LIMIT Effective date: 20110209 Ref country code: RO Free format text: LAPSE BECAUSE OF FAILURE TO SUBMIT A TRANSLATION OF THE DESCRIPTION OR TO PAY THE FEE WITHIN THE PRESCRIBED TIME-LIMIT Effective date: 20110209 |
|
| PLBE | No opposition filed within time limit |
Free format text: ORIGINAL CODE: 0009261 |
|
| STAA | Information on the status of an ep patent application or granted ep patent |
Free format text: STATUS: NO OPPOSITION FILED WITHIN TIME LIMIT |
|
| 26N | No opposition filed |
Effective date: 20111110 |
|
| BERE | Be: lapsed |
Owner name: KEITSCH, MARKUS Effective date: 20110831 |
|
| REG | Reference to a national code |
Ref country code: DE Ref legal event code: R097 Ref document number: 502004012171 Country of ref document: DE Effective date: 20111110 |
|
| PG25 | Lapsed in a contracting state [announced via postgrant information from national office to epo] |
Ref country code: MC Free format text: LAPSE BECAUSE OF NON-PAYMENT OF DUE FEES Effective date: 20110831 |
|
| REG | Reference to a national code |
Ref country code: CH Ref legal event code: PL |
|
| GBPC | Gb: european patent ceased through non-payment of renewal fee |
Effective date: 20110819 |
|
| PG25 | Lapsed in a contracting state [announced via postgrant information from national office to epo] |
Ref country code: LI Free format text: LAPSE BECAUSE OF NON-PAYMENT OF DUE FEES Effective date: 20110831 Ref country code: CH Free format text: LAPSE BECAUSE OF NON-PAYMENT OF DUE FEES Effective date: 20110831 |
|
| REG | Reference to a national code |
Ref country code: FR Ref legal event code: ST Effective date: 20120430 |
|
| PG25 | Lapsed in a contracting state [announced via postgrant information from national office to epo] |
Ref country code: BE Free format text: LAPSE BECAUSE OF NON-PAYMENT OF DUE FEES Effective date: 20110831 Ref country code: IT Free format text: LAPSE BECAUSE OF FAILURE TO SUBMIT A TRANSLATION OF THE DESCRIPTION OR TO PAY THE FEE WITHIN THE PRESCRIBED TIME-LIMIT Effective date: 20110209 |
|
| PG25 | Lapsed in a contracting state [announced via postgrant information from national office to epo] |
Ref country code: FR Free format text: LAPSE BECAUSE OF NON-PAYMENT OF DUE FEES Effective date: 20110831 Ref country code: GB Free format text: LAPSE BECAUSE OF NON-PAYMENT OF DUE FEES Effective date: 20110819 |
|
| REG | Reference to a national code |
Ref country code: AT Ref legal event code: MM01 Ref document number: 498097 Country of ref document: AT Kind code of ref document: T Effective date: 20110819 |
|
| PG25 | Lapsed in a contracting state [announced via postgrant information from national office to epo] |
Ref country code: AT Free format text: LAPSE BECAUSE OF NON-PAYMENT OF DUE FEES Effective date: 20110819 |
|
| PG25 | Lapsed in a contracting state [announced via postgrant information from national office to epo] |
Ref country code: LU Free format text: LAPSE BECAUSE OF NON-PAYMENT OF DUE FEES Effective date: 20110819 |
|
| PG25 | Lapsed in a contracting state [announced via postgrant information from national office to epo] |
Ref country code: TR Free format text: LAPSE BECAUSE OF FAILURE TO SUBMIT A TRANSLATION OF THE DESCRIPTION OR TO PAY THE FEE WITHIN THE PRESCRIBED TIME-LIMIT Effective date: 20110209 |
|
| PG25 | Lapsed in a contracting state [announced via postgrant information from national office to epo] |
Ref country code: HU Free format text: LAPSE BECAUSE OF FAILURE TO SUBMIT A TRANSLATION OF THE DESCRIPTION OR TO PAY THE FEE WITHIN THE PRESCRIBED TIME-LIMIT Effective date: 20110209 |
|
| PGFP | Annual fee paid to national office [announced via postgrant information from national office to epo] |
Ref country code: DE Payment date: 20230831 Year of fee payment: 20 |
|
| REG | Reference to a national code |
Ref country code: DE Ref legal event code: R071 Ref document number: 502004012171 Country of ref document: DE |