EP1479969A2 - Seilaufhänger für Leuchten - Google Patents

Seilaufhänger für Leuchten Download PDF

Info

Publication number
EP1479969A2
EP1479969A2 EP04011705A EP04011705A EP1479969A2 EP 1479969 A2 EP1479969 A2 EP 1479969A2 EP 04011705 A EP04011705 A EP 04011705A EP 04011705 A EP04011705 A EP 04011705A EP 1479969 A2 EP1479969 A2 EP 1479969A2
Authority
EP
European Patent Office
Prior art keywords
cable
lamp
hanger
housing
lateral displacement
Prior art date
Legal status (The legal status is an assumption and is not a legal conclusion. Google has not performed a legal analysis and makes no representation as to the accuracy of the status listed.)
Granted
Application number
EP04011705A
Other languages
English (en)
French (fr)
Other versions
EP1479969A3 (de
EP1479969B1 (de
Inventor
Bernd Dipl.-Ing. Radin
Matthias Dipl.-Ing. Eickel
Current Assignee (The listed assignees may be inaccurate. Google has not performed a legal analysis and makes no representation or warranty as to the accuracy of the list.)
Trilux GmbH and Co KG
Original Assignee
Trilux Lenze GmbH and Co KG
Priority date (The priority date is an assumption and is not a legal conclusion. Google has not performed a legal analysis and makes no representation as to the accuracy of the date listed.)
Filing date
Publication date
Application filed by Trilux Lenze GmbH and Co KG filed Critical Trilux Lenze GmbH and Co KG
Publication of EP1479969A2 publication Critical patent/EP1479969A2/de
Publication of EP1479969A3 publication Critical patent/EP1479969A3/de
Application granted granted Critical
Publication of EP1479969B1 publication Critical patent/EP1479969B1/de
Anticipated expiration legal-status Critical
Expired - Lifetime legal-status Critical Current

Links

Images

Classifications

    • FMECHANICAL ENGINEERING; LIGHTING; HEATING; WEAPONS; BLASTING
    • F21LIGHTING
    • F21VFUNCTIONAL FEATURES OR DETAILS OF LIGHTING DEVICES OR SYSTEMS THEREOF; STRUCTURAL COMBINATIONS OF LIGHTING DEVICES WITH OTHER ARTICLES, NOT OTHERWISE PROVIDED FOR
    • F21V21/00Supporting, suspending, or attaching arrangements for lighting devices; Hand grips
    • F21V21/10Pendants, arms, or standards; Fixing lighting devices to pendants, arms, or standards
    • F21V21/112Fixing lighting devices to pendants
    • FMECHANICAL ENGINEERING; LIGHTING; HEATING; WEAPONS; BLASTING
    • F21LIGHTING
    • F21YINDEXING SCHEME ASSOCIATED WITH SUBCLASSES F21K, F21L, F21S and F21V, RELATING TO THE FORM OR THE KIND OF THE LIGHT SOURCES OR OF THE COLOUR OF THE LIGHT EMITTED
    • F21Y2103/00Elongate light sources, e.g. fluorescent tubes
    • FMECHANICAL ENGINEERING; LIGHTING; HEATING; WEAPONS; BLASTING
    • F21LIGHTING
    • F21YINDEXING SCHEME ASSOCIATED WITH SUBCLASSES F21K, F21L, F21S and F21V, RELATING TO THE FORM OR THE KIND OF THE LIGHT SOURCES OR OF THE COLOUR OF THE LIGHT EMITTED
    • F21Y2113/00Combination of light sources

Definitions

  • the invention relates to a cable hanger for suspended luminaires with a holder for a vertical rope in the installation position for hanging a lamp in a cable support point and with a mounting area for mounting the lamp on the hanger, the attachment area being a center wherein means for based on the cable longitudinal direction lateral displacement of the cable support point relative to the center of the attachment area for the lamp or means related to the longitudinal extent an associated lamp lateral displacement of the Luminaire center of gravity relative to the cable support point of the Luminaire housing are provided.
  • the invention relates to a lamp with a cable hanger.
  • the luminaire housing in many Falls over two or four ropes on one blanket or another suspended horizontal beams, with the ropes from each other spaced attack on the lamp body.
  • the assigned Rope holding points are mostly in the area of the frontal Ends of the lamp housing arranged so that this one have the greatest possible distance from each other.
  • the rope holding point is the substantially point-shaped area of the rope on which the load transfer of the lamp housing on the rope, i. the point at which the Luminaire housing including cable hanger on the respective Rope load-bearing attacks.
  • the rope hanger itself is here on the lamp with an associated mounting area connected, which has a center, thereby definable is that with a symmetric, i.
  • cable hangers which generally by a strand-shaped, elongated suspension element are suspended, including within the meaning of the invention, wires or the like to be understood.
  • the rope in different Transverse directions different to its longitudinal direction Have diameter and, for example in the manner of a Bandes be executed, in which case the support point in lies the central longitudinal axis of the band.
  • Such inclinations of the lamp body can be separated fixed at the lamp to be mounted balance weights determining the target positions and target weights of the counterweights to achieve a horizontal layout of the
  • the light is comparatively expensive.
  • the invention is therefore based on the object, a lamp or to provide a device of a luminaire, by means of which even when a tilt of the suspension lamp causing asymmetrical weight distribution the lamp to simple Way horizontally alignable, the device on easy way to the light integratable and easy to produce is.
  • the lateral displacement means comprises an eccentric element, by its rotation a lateral displacement of the cable support point and the center of the luminaire mounting area relative to each other or the rope support point and the center of gravity of a associated lamp housing is effected relative to each other.
  • the object is achieved by a luminaire housing after the independent Claim 17 solved.
  • Means be provided in relation to the longitudinal extent the luminaire's center of gravity in the transverse direction relative to the cable support point of the lamp to move. These means are preferably based on the lamp's longitudinal direction at least approximately or exactly at the height of the cable hanger arranged, without this is always mandatory.
  • To adjust the horizontal position of the lamp for example in the housing integrated, sliding balance weights be provided, it can also be already existing Components, especially those with comparatively high Weight such as transformers, housing components or the like, be transversely displaceable to the housing transverse direction.
  • the housing is in total in the transverse direction slidable to the cable suspension, for example by a suitable Training the luminaire suspension itself, because due the highPolises only relatively small Displacement paths are necessary for balancing.
  • this has a lateral Relocation of the attachment area of the cable suspension relative to the cable support point of about 0.5 to about 5 mm, preferably in the range of 1 to 3 mm proved sufficient.
  • the lateral displacement means may be associated with one Luminaire housing under lateral displacement of the same relative to the housing longitudinal direction, through the connecting line spaced rope support points is defined act.
  • the Shifting means can thus directly or optionally even with the interposition of a transmission mechanism the luminaire housing act.
  • the displacement means can thereby It is and will be particularly simple and robust thus also for suspension lamps with comparatively high weight used.
  • the cable holder is designed as a cable feedthrough, which extends through the lateral displacement means.
  • the cable feedthrough can be closed on all sides be.
  • the cable hanger can thus be particularly compact be executed.
  • the rope mount can be attached to the center of the hanger or on its longitudinal axis, which is parallel to the longitudinal direction the rope extends, be arranged, wherein the lateral displacement means be designed in such a way can that the rope holding point by pressing the displacement means in a direction perpendicular to the lamp's longitudinal direction positionally changeable.
  • a balance is made thus not a change in position of the cable support point.
  • the Displacement means upon actuation of the Displacement means by a rotational movement of the cable support point be arranged at the height of the axis of rotation.
  • the lateral displacement means act on the cable holder or directly on the cable holder attack, so that under lateral displacement of the Cable holder relative to the housing longitudinal axis or a housing center plane the associated luminaire housing substantially or exactly horizontally alignable.
  • the housing longitudinal axis is here by the line connecting the rope suspension points Are defined.
  • each cable suspension of the lamp is a erfindnässes invention associated with lateral displacement means.
  • a particularly easy access of the lateral displacement means is given when an actuator for the lateral Displacement of luminaire mounting area and cable holder relative to each other or generally the luminaire's center of gravity relative to the cable suspension at the upper end of the installation position Cable hanger is arranged.
  • the shifting means is thereby easily accessible, regardless of which Luminaire side the respective operator the displacement means actuated.
  • the actuator an attack area for a tool, which on the in installation position upper end of the cable hanger is arranged.
  • the actuator but optionally also on the side of the lamp housing be arranged.
  • the actuator may be configured such that at this the position of the lateral displacement means and thus at least qualitatively the displacement of wire suspension and Luminaire mounting area relative to each other is read.
  • the actuator in a displacement means in Shape of an eccentric described below, the actuator have a mark, which also in the form of a Attack area for a tool such as in form of Slot can be executed, wherein the mark the eccentric axis can indicate, for example, by the slit-shaped Mark runs parallel to the eccentric axis.
  • the lateral displacement means an eccentric element, wherein Rotation of the eccentric a lateral displacement of the Seilauf wher structurallys relative to the center of the luminaire mounting area is effected.
  • the eccentric plane stands here preferably perpendicular to the longitudinal direction of the Rope. Due to the eccentric element are high torques and / or Forces to move the lamp relative to the cable suspension in a compact embodiment of the cable hanger possible.
  • the displacement means consists only from an eccentric element acting directly on the housing and an actuator acting directly on it, the integral with each other or executed in several parts could be.
  • the eccentric element can hereby by immediate Actuation of the component provided with the eccentric actuated be, the eccentric can also be actuated by an actuator become.
  • a power transmission means such as in the form of a linkage or the like be provided.
  • a particularly easy attachable to the lamp housing Cable hanger is given if this in installation position an upper and a lower hanger member attachable to each other are, at least the lower hanger part a cable holder and a mounting area for the luminaire housing having.
  • the cable hanger can thereby particularly easy a fixing area of the housing are set, which for example, is designed as a passage opening, which partially or completely surrounds the cable hanger.
  • the Attachment of the upper and lower hanger part can be detachable or permanent or insoluble.
  • the Attachment by a screw connection the Helical longitudinal axis runs parallel to the eccentric rotation axis.
  • the eccentric provided with an internally threaded Be provided hole.
  • the upper and lower hanger part can be a screw lock or another suitable securing element so that the top and bottom hangers are always in sync be moved together.
  • the support area the cable hanger for the luminaire housing if necessary mainly only a holding or support function may come, even with respect to the eccentric element variable in position, e.g. be rotatable.
  • the rope holder can here as partially or all-sided closed cable entry be executed.
  • a lateral Querterrorismsseinschnürung as a laterally open groove for receiving arranged a mounting region of the lamp housing be, wherein the groove may be designed as a circumferential groove.
  • the lateral displacement means which in particular can be designed as an eccentric, at the top Hangers arranged or it attacks on this, so that provided with the eccentric component directly itself actuated by causing the lateral displacement is.
  • the shift means but also on attack the lower hanger part.
  • the lower suspension part has a in the upper hanger part engaging fastening area, in particular in the form of a threaded pin, wherein at the bottom Suspension member preferably centric to the threaded pin a Cable holder is provided, for example in the form of a Blind hole, which extends in the journal longitudinal direction, so that a rope end provided with a staple or the like the recess can be arranged and the rope through the threaded pin is feasible.
  • the lateral displacement means comprise an actuating means or designed as such be in a direction transverse to the desired position of Rope or transverse, in particular perpendicular, to a rope passage of the cable hanger under relative change in position of the Cable suspension point to the center of the luminaire mounting area is displaceable.
  • an actuating means can in Form of a screw to be executed, which on the cable suspension or a lamp housing area, which to the Rope suspension is displaced, is executed.
  • the shifting agent can for example also be designed as a slide organ be, by a set screw transverse to the longitudinal direction of the rope is displaceable. The slider organ can do this on a suitable slide or a slide-like Housing area be stored.
  • a slide organ can also arranged on the rope suspension means for the lamp housing serve as an end-to-end staple.
  • the adjusting agent or the slider can hereby transverse to the longitudinal direction of the rope to be linearly movable.
  • the actuator for the slider can in this case from a direction transverse to the rope longitudinal direction be operable, if necessary with the interposition of a force deflection of the slide also from a vertical direction, for example from the top of the lamp ago, be operable.
  • the invention comprises a luminaire housing with an inventive Cable suspension.
  • the luminaire housing can hereby the rope suspension in two vertically spaced planes surrounded, including the housing a mounting area for the Rope suspension has, in the installed position in a first vertical Height is arranged, above the same a cover may be provided, through which the lateral displacement means is actuated, for example by introducing a Tool in a recess of the cover, in which case included is that the displacement means roughly up Height of the cover completes.
  • the displacement means also upwards or laterally from the Projecting housing.
  • the cable suspension on a gear tray of Luminaire be attached, the device carrier more electrical Equipment or connections of the luminaire for the operation of the respective illuminant receives, such as electrical Connectors, transformers or the like.
  • the invention is not on such an arrangement of the cable suspension limited to the luminaire housing.
  • a particularly stable embodiment is when the attachment area of the housing as a U-profile shaped area executed, for example, a portion of a another profile.
  • the U-profile is here with provided at least one receptacle for a cable suspension.
  • the U-profile is mounted on the inner wall of a box profile or integrally connected thereto, wherein the box section a top, preferably removable, cover has. If necessary, the U-profile can also be made up of several profiles be composed, e.g. through two L-profiles.
  • the box profile In this case, it preferably forms a circumferential substantially closed profile.
  • the box profile can be essentially one have rectangular or square cross-section, without being limited thereto.
  • the U-profile is here preferably flat on the inner walls of the box profile and therefore preferably conforms substantially to the cross-sectional shape of the box profile without this being always mandatory necessary is. This is a simple attachment of Rope suspension with high rigidity of the luminaire housing area or device carrier given.
  • the U-profile can be in the Essentially over the longitudinal extent of the respective housing part such as B. a device carrier, the U-profile Optionally, it may also be associated with only one cable suspension at a time be.
  • the respective luminaire housing according to the invention can by be suspended two, three or four rope hanger without alsauf brieflyt to be limited.
  • FIG. 1 shows a cable hanger 1 according to the invention of a preferred embodiment Embodiment with a suspension rope 2, which an a ceiling or the like can be fastened, wherein on the Cable hanger a light housing 3 is suspended, which is a middle equipment carrier 4 and arranged on both sides of this Korpi 5 for receiving bulbs such as of fluorescent tubes or the like with associated reflectors 6 have.
  • the luminous center 3a is schematic specified.
  • the cable hanger 1 defines a cable support point 7, which through the rope center in the area of the cable attachment is defined.
  • the rope attachment takes place here in such a way that at the lamp end facing the cable end a cross-sectional widening is provided in the form of an attached staple 8, wherein the staple completely from the recess 9 of the cable hanger is included, but possibly also partially or completely from the cable hanger in the vertical direction can protrude.
  • the luminaire longitudinal direction is in this case by the connecting line the two cable suspensions or their associated Fixing areas defined, which are usually at the end areas of the lamp housing are arranged. It is understood that optionally the width of the wing-like Korpi 5 the length the lamp may exceed or that other irregular Luminaire geometries may be present.
  • a lateral Querterrorismsseinschnürung on here as the side open circumferential groove 10 (Fig. 4) is executed. Due to the described below rotation of the cable suspension for Compensation of inclinations of the pendant lamp is understood, that the Querterrorismsseinschnürung at least on through should extend the rotational movement defined peripheral region.
  • the circumferential groove 10 engage substantially horizontally arranged mounting portions 11 of the lamp, wherein the attachment areas 11 extend horizontally here and on the lamp are mounted load-bearing.
  • the attachment areas 11 are part of a U-profiled support profile 12, but optionally also opposite L-shaped profiles may be provided, wherein the attachment areas 11 having support profile 12 at the same time a displacement assurance of the cable hanger in the longitudinal direction of the luminaire prevented.
  • corresponding passage openings in the support profile provided for receiving the cable hanger the can be completely closed.
  • the center 14 of the attachment area of the cable hanger is here through the center of a Queritesseinschnürung or circumferential groove 10 having Seilauf motivationr Schemes or in the given embodiment by the Defined center of the eccentric, wherein according to the embodiment the attachment portion 11 of the lamp the attachment area 12 of the rope hanger with little play or practical surrounds without play.
  • the eccentricity is shown in FIG. 3b indicating the centers of the cable suspension and the center 14 indicated in the attachment area, it is understood that in two rotated by 90 ° to each other positions the lateral displacement the luminaire for cable suspension maximum or minimum is, with a slight shift of rope holding point and center of the attachment area of the cable hanger in the longitudinal direction of the lamp is practically not noticeable.
  • the lateral Displacement may be in the range of 1 to 3 mm. Due to the fact that the luminaire is totally against its suspension point is shifted laterally, and thus the luminaire weight Total wear is comparatively low lateral Shifts the lamp sufficiently to this horizontally align.
  • the device carrier is with a cover 15 provided by which the cable hanger in vertical Direction protrudes. Due to the lateral displacement of Lamp opposite the cable suspension point has the passage opening 16 of the cover a slightly larger diameter, as the passage opening provided in the attachment area 11, taking into account the diameter of the cable suspension the eccentric movement of the cable suspension relative to be able to compensate for the lamp (see Fig. 5).
  • the luminaire according to FIG. 1 represents a double-leafed one Light is, the wings each by one of the two sides the equipment carrier arranged Korpi 5 are formed.
  • the Carrier profile 12 is in this case also on the walls 17 of the caste profile 18 load-bearing attached, for example, welded, whereby a high rigidity of the device carrier achieved becomes.
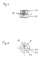
  • this has a lower hanger part 20 (see Fig. 2) and an upper hanger part 30 (see Fig. 3).
  • the lower hanger part has a holding portion 21 which after the embodiment substantially cylindrical is, and on the web-shaped mounting portion 11 of Light can be applied load-bearing.
  • the lower one Hanger part with a contact area for load-bearing Suspension provided on the rope 2, to which the recess 9 is provided is.
  • the recess 9 opens into a cable feedthrough 22, with a rope feedthrough 31 to form a Connected rope feedthrough is connected, preferably under coaxial arrangement of the two cable bushings 22, 31.
  • the lower suspension part has a fastening means laying down on the upper suspension part, including each other corresponding threaded pin 23 and a threaded recess 32 provided on the upper and lower hanger part are.
  • z. B. in the form of a screw lock, be provided as they is known, for. B. by a squeezing element, a bond or the like, always coupled to upper and lower hanger part to be able to move.
  • a tool engagement area 24 in the form of opposite ones Flattening to attack an open-end wrench or the like provided to the hanger parts together, preferably non-rotatable to attach.
  • the upper hanger part has a tool engagement 33 in the form of a slot which at the same time serves as a marker for the Position of the respective lateral displacement means or the Eccentric 13 is used.
  • the upper hanger part a central fastening area in the form of the threaded receptacle 32, which is coaxial with the cable feedthrough 31 or executed a differently designed rope holding area, wherein the eccentric 13 is shifted laterally by about 1 to 3 mm. It is understood that by twisting the wire suspension to 90 ° of the eccentric 13 is also rotated and thereby a lateral Displacement of the lamp housing relative to the cable support point in a direction transverse to the housing longitudinal direction he follows.
  • Figure 6 shows an alternative hanger in a schematic Top view, which is essentially like the hanger behind The figures 1-4 is constructed.

Landscapes

  • Engineering & Computer Science (AREA)
  • General Engineering & Computer Science (AREA)
  • Non-Portable Lighting Devices Or Systems Thereof (AREA)
  • Securing Globes, Refractors, Reflectors Or The Like (AREA)
  • Fastening Of Light Sources Or Lamp Holders (AREA)
  • Electric Cable Installation (AREA)

Abstract

Die Erfindung betrifft einen Seilaufhänger für Hängeleuchten mit einer Halterung für ein in Einbaulage vertikales Seil zur Aufhängung einer Leuchte in einem Seilhalterungspunkt und mit einem Befestigungsbereich zur Befestigung der Leuchte an dem Aufhänger, wobei der Befestigungsbereich ein Zentrum aufweist, wobei Mittel 13, 71 zur bezogen auf die Seillängserstreckungsrichtung lateralen Verschiebung des Seilhalterungspunktes 7 relativ zum Zentrum 14 des Befestigungsbereichs für die Leuchte oder Mittel 13, 71 zur bezogen auf die Längserstreckung einer zugeordneten Leuchte lateralen Verschiebung des Leuchtenschwerpunktes 3a relativ zum Seilhalterungspunkt 7 des Leuchtengehäuses vorgesehen sind, zeichnet sich die Erfindung dadurch aus, dass das laterale Verschiebungsmittel ein Exzenterelement 13 umfasst, durch dessen Verdrehung eine laterale Verschiebung des Seilhalterungspunktes 7 und des Zentrums 14 des Leuchtenbefestigungsbereichs relativ zueinander oder des Seilhalterungspunktes und des Schwerpunktes 3a eines zugeordneten Leuchtengehäuses relativ zueinander bewirkt wird. <IMAGE>

Description

Die Erfindung betrifft einen Seilaufhänger für Hängeleuchten mit einer Halterung für ein in Einbaulage vertikales Seil zur Aufhängung einer Leuchte in einem Seilhalterungspunkt und mit einem Befestigungsbereich zur Befestigung der Leuchte an dem Aufhänger, wobei der Befestigungsbereich ein Zentrum aufweist, wobei Mittel zur bezogen auf die Seillängserstreckungsrichtung lateralen Verschiebung des Seilhalterungspunktes relativ zum Zentrum des Befestigungsbereichs für die Leuchte oder Mittel zur bezogen auf die Längserstreckung einer zugeordneten Leuchte lateralen Verschiebung des Leuchtenschwerpunktes relativ zum Seilhalterungspunkt des Leuchtengehäuses vorgesehen sind.
Ferner betrifft die Erfindung eine Leuchte mit einem Seilaufhänger.
Um Leuchten aufzuhängen, wird das Leuchtengehäuse in vielen Fällen über zwei oder vier Seile an einer Decke oder einem anderen horizontalen Träger aufgehängt, wobei die Seile voneinander beabstandet an dem Leuchtenkörper angreifen. Die zugeordneten Seilhalterungspunkte sind zumeist im Bereich der stirnseitigen Enden des Leuchtengehäuses angeordnet, so dass diese einen größtmöglichen Abstand voneinander aufweisen. Der Seilhalterungspunkt ist hierbei der im Wesentlichen punktförmige Bereich des Seils, an welchem die Lastabtragung des Leuchtengehäuses auf das Seil erfolgt, d.h. der Punkt, an welchem das Leuchtengehäuse einschließlich Seilaufhänger an dem jeweiligen Seil lastabtragend angreift. Der Seilaufhänger selber ist hierbei an der Leuchte mit einem zugeordneten Befestigungsbereich verbunden, welcher ein Zentrum aufweist, das dadurch definierbar ist, dass bei einer symmetrischen, d.h. idealen, Gewichtsverteilung auf beiden Seiten des Gehäuses, die durch die Verbindungslinie der Seilhalterungspunkte der Leuchte definiert werden, der Schwerpunkt der Leuchte auf der Verbindungslinie der Seilhalterungspunkte liegt und daher die Leuchte exakt waagerecht aufgehängt ist. Das Zentrum des Befestigungsbereichs des Aufhängers ist somit in der Gehäusemittelebene angeordnet.
Unter einem derartigen Seilaufhänger im Sinne der Erfindung seien Seilaufhänger verstanden, welche allgemein durch ein strangförmiges, langgestrecktes Aufhängelement aufgehängt werden, worunter im Sinne der Erfindung auch Drähte oder dergleichen zu verstehen sind. Ferner kann das Seil in unterschiedlichen Querrichtungen zu seiner Längserstreckungsrichtung unterschiedliche Durchmesser aufweisen und beispielsweise in Art eines Bandes ausgeführt sein, wobei dann der Halterungspunkt in der Mittellängsachse des Bandes liegt.
Bei derartigen Aufhängevorrichtungen für Hängeleuchten ergibt sich verschiedentlich das Problem, dass unterschiedliche Gewichtsverteilungen auf beiden Seiten der Leuchte eine unerwünschte Schrägstellung der abgehängten Leuchte bewirken. Derartige unsymmetrische Gewichtsverteilungen können sich beispielsweise durch Toleranzen der jeweiligen Materialstärken der einzelnen Bauteile, durch asymmetrische Einbauteile und/oder durch Montagetoleranzen ergeben. Derartige Probleme stellen sich insbesondere bei zweiflügeligen Leuchten, bei welchen Leuchtmittel beidseitig eines mit Seilaufhängern versehenen Geräteträgers angeordnet sind, so dass derartige Leuchten eine vergleichsweise große Breite aufweisen.
Derartige Schräglagen der Leuchtenkörper können durch separat an der Leuchte zu befestigende Ausgleichsgewichte beseitigt werden, die Bestimmung der Solllagen und Sollgewichte der Ausgleichsgewichte zur Erzielung einer horizontalen Anordnung der Leuchte ist jedoch vergleichsweise aufwändig.
Der Erfindung liegt daher die Aufgabe zugrunde, eine Leuchte bzw. eine Einrichtung einer Leuchte zu schaffen, mittels welcher auch bei einer eine Schräglage der Hängeleuchte bewirkenden asymmetrische Gewichtsverteilung die Leuchte auf einfache Weise waagerecht ausrichtbar ist, wobei die Einrichtung auf einfache Weise an der Leuchte integrierbar und einfach herstellbar ist.
Die Aufgabe wird dadurch gelöst, dass das laterale Verschiebungsmittel ein Exzenterelement umfasst, durch dessen Verdrehung eine laterale Verschiebung des Seilhalterungspunktes und des Zentrums des Leuchtenbefestigungsbereichs relativ zueinander oder des Seilhalterungspunktes und des Schwerpunktes eines zugeordneten Leuchtengehäuses relativ zueinander bewirkt wird.
Ferner wird die Aufgabe durch ein Leuchtengehäuse nach dem unabhängigen Anspruch 17 gelöst.
Durch die laterale Verschiebung des Seilhalterungspunktes relativ zum Befestigungsbereich der Leuchte können ungleichmäßige Gewichtsverteilungen der Leuchte ausgeglichen werden, so dass der Leuchtenschwerpunkt wieder mit der Verbindungslinie der in Leuchtenlängsrichtung beabstandeten Seilhalterungspunkte zusammenfällt. Dadurch, dass der Gewichtsausgleich durch die erfindungsgemäße Ausbildung des Seilaufhängers erfolgt, ist die Anordnung weiterer Leuchtenzubehörteile wie von Ausgleichsgewichten oder dergleichen entbehrlich, da lediglich das Leuchtengehäuse insgesamt bezogen auf die Seilaufhängung seitlich verschoben werden kann, was besonders bevorzugt ist. Die Verschiebung erfolgt somit im Ergebnis zumindest mit einer Komponente quer zur Leuchtenlängsrichtung, wobei die Verschiebung linear, vorzugsweise senkrecht zur Leuchtenlängsrichtung, oder mit einem anderen, beispielsweise gekrümmten, Verschiebungsweg erfolgen kann.
Es können jedoch auch gegebenenfalls unabhängig von dem Seilaufhänger Mittel vorgesehen sein, um bezogen auf die Längserstreckung der Leuchte den Leuchtenschwerpunkt in Querrichtung relativ zum Seilhalterungspunkt der Leuchte zu verschieben. Diese Mittel sind vorzugsweise bezogen auf die Leuchtenlängsrichtung zumindest in etwa oder genau auf Höhe der Seilaufhänger angeordnet, ohne dass dies immer zwingend notwendig ist. Zur Einstellung der waagerechten Lage der Leuchte können beispielsweise in dem Gehäuse integrierte, verschiebbare Ausgleichsgewichte vorgesehen sein, es können auch bereits vorhandene Komponenten, insbesondere solche mit vergleichsweise hohem Gewicht wie Tranformatoren, Gehäusekomponenten oder dergleichen, zur Gehäusequerrichtung querverschiebbar sein. Vorteilhafterweise ist jedoch das Gehäuse insgesamt in Querrrichtung zur Seilaufhängung verschiebbar, beispielsweise durch eine geeignete Ausbildung der Leuchtenaufhängung selber, da aufgrund des hohen Gehäusegesamtgewichtes nur vergleichsweise geringe Verschiebewege zur Ausbalancierung notwendig sind.
Für die meisten Anwendungsfälle hat sich hierbei eine laterale Verschiebung des Befestigungsbereichs der Seilaufhängung relativ zu dem Seilhalterungspunkt von ca. 0,5 bis ca. 5 mm, vorzugsweise in dem Bereich von 1 bis 3 mm als ausreichend erwiesen.
Das laterale Verschiebungsmittel kann auf ein zugeordnetes Leuchtengehäuse unter lateraler Verschiebung desselben relativ zu der Gehäuselängsrichtung, die durch die Verbindungslinie beabstandeter Seilhalterungspunkte definiert wird, wirken. Das Verschiebungsmittel kann somit unmittelbar oder gegebenenfalls auch unter Zwischenschaltung eines Übertragungsmechanismus auf das Leuchtengehäuse wirken. Das Verschiebungsmittel kann hierdurch besonders einfach und robust ausgeführt werden und ist somit auch für Hängeleuchten mit vergleichsweise hohem Gewicht einsetzbar.
Vorzugsweise ist die Seilhalterung als Seildurchführung ausgeführt, die sich durch das laterale Verschiebungsmittel erstreckt. Die Seildurchführung kann allseitig geschlossen ausgeführt sein. Der Seilaufhänger kann hierdurch besonders kompakt ausgeführt werden.
Insbesondere kann die Seilhalterung an dem Zentrum des Aufhängers bzw. auf dessen Längsachse, die sich parallel zur Längserstreckungsrichtung des Seils erstreckt, angeordnet sein, wobei das laterale Verschiebungsmittel derart ausgeführt sein kann, dass der Seilhalterungspunkt durch Betätigung des Verschiebungsmittels in einer Richtung senkrecht zur Leuchtenlängsrichtung lageunveränderlich ist. Eine Ausbalancierung erfolgt somit nicht über eine Lageänderung des Seilhalterungspunktes. Hierzu kann beispielsweise bei einer Betätigung des Verschiebungsmittels durch eine Drehbewegung der Seilhalterungspunkt auf Höhe der Drehachse angeordnet sein.
Alternativ oder zusätzlich kann das laterale Verschiebungsmittel auf die Seilhalterung wirken bzw. unmittelbar an der Seilhalterung angreifen, so dass unter lateraler Verschiebung der Seilhalterung relativ zu der Gehäuselängsachse bzw. einer Gehäusemittelebene das zugeordnete Leuchtengehäuse im Wesentlichen oder exakt horizontal ausrichtbar ist. Die Gehäuselängsachse wird hierbei durch die Verbindungslinie der Seilaufhängungspunkte definiert.
Vorzugsweise ist jeder Seilaufhängung der Leuchte ein erfindungsgemnässes laterales Verschiebungsmittel zugeordnet.
Ein besonders einfacher Zugang des lateralen Verschiebungsmittels ist gegeben, wenn ein Betätigungsorgan für die laterale Verschiebung von Leuchtenbefestigungsbereich und Seilhalterung relativ zueinander oder allgemein des Leuchtenschwerpunktes relativ zur Seilaufhängung an dem in Einbaulage oberen Ende des Seilaufhängers angeordnet ist. Das Verschiebungsmittel ist hierdurch unabhängig davon leicht zugänglich, von welcher Leuchtenseite die jeweilige Bedienperson das Verschiebungsmittel betätigt. Hierzu kann das Betätigungsorgan einen Angriffsbereich für ein Werkzeug aufweisen, welcher an dem in Einbaulage oberen Ende des Seilaufhängers angeordnet ist. Das Betätigungsorgan kann gegebenenfalls aber auch seitlich an dem Leuchtengehäuse angeordnet sein.
Das Betätigungsorgan kann derart ausgebildet sein, dass an diesem die Stellung des lateralen Verschiebungsmittels und damit zumindest qualitativ die Verschiebung von Seilaufhängung und Leuchtenbefestigungsbereich relativ zueinander ablesbar ist. Hierzu kann beispielsweise bei einem Verschiebungsmittel in Form eines weiter unten beschriebenen Exzenters das Betätigungsorgan eine Markierung aufweisen, welche auch in Form eines Angriffsbereichs für ein Werkzeug wie z.B. in Form eines Schlitzes ausgeführt sein kann, wobei die Markierung die Exzenterachse andeuten kann, beispielsweise indem die schlitzförmige Markierung parallel zu der Exzenterachse verläuft.
Nach einer besonders bevorzugten Ausführungsform umfasst das laterale Verschiebungsmittel ein Exzenterelement, wobei durch Verdrehung des Exzenterelementes eine laterale Verschiebung des Seilaufhängepunktes relativ zu dem Zentrum des Leuchtenbefestigungsbereichs bewirkt wird. Die Exzenterebene steht hierbei vorzugsweise senkrecht zu der Längserstreckungsrichtung des Seils. Durch das Exzenterelement sind hohe Drehmomente und/oder Kräfte zur Verschiebung der Leuchte relativ zu der Seilaufhängung bei einer kompakten Ausführungsform des Seilaufhängers möglich. Vorzugsweise besteht das Verschiebungsmittel lediglich aus einem unmittelbar auf das Gehäuse wirkendem Exzenterelement und einem unmittelbar auf dieses wirkendem Betätigungsorgan, die einstückig miteinander verbunden oder mehrteilig ausgeführt sein können. Das Exzenterelement kann hierbei durch unmittelbare Betätigung des mit dem Exzenter versehenen Bauteils betätigt werden, das Exzenterelement kann auch durch ein Stellglied betätigt werden. Gegebenenfalls kann auch zwischen dem Exzenterelement und der Seilhalterung oder dem Leuchtengehäusebereich, auf welches das Exzenterelement wirkt, ein Kraftübertragungsmittel wie beispielsweise in Form eines Gestänges oder dergleichen vorgesehen sein.
Ein besonders einfach an dem Leuchtengehäuse befestigbarer Seilaufhänger ist gegeben, wenn dieser in Einbaulage ein oberes und ein unteres Aufhängerteil umfasst, die aneinander befestigbar sind, wobei zumindest das untere Aufhängerteil eine Seilhalterung und einen Befestigungsbereich für das Leuchtengehäuse aufweist. Der Seilaufhänger kann hierdurch besonders einfach an einem Befestigungsbereich des Gehäuses festgelegt werden, welcher beispielsweise als eine Durchtrittsöffnung ausgeführt ist, welche den Seilaufhänger teilweise oder vollständig umgibt. Die Befestigung des oberen und unteren Aufhängerteils kann lösbar oder dauerhaft bzw. unlösbar erfolgen. Insbesondere kann die Befestigung durch eine Schraubverbindung erfolgen, wobei die Schraubenlängsachse parallel zur Exzenterdrehachse verläuft. Hierbei kann der Exzenter mit einer mit einem Innengewinde versehenen Bohrung versehen sein. Zur verliersicheren Befestigung des oberen und unteren Aufhängerteils kann eine Schraubensicherung oder ein anderes geeignetes Sicherungselement vorgesehen sein, so dass das obere und das untere Aufhängerteil stets synchron miteinander bewegt werden. Gegebenenfall kann der Auflagebereich des Seilaufhängers für das Leuchtengehäuse, dem gegebenenfalls vorwiegend lediglich eine Halte- bzw. Unterstützungsfunktion zukommen kann, auch gegenüber dem Exzenterelement lageveränderlich, z.B. verdrehbar sein. Die Seilhalterung kann hierbei als teilweise oder allseitig geschlossene Seildurchführung ausgeführt sein.
Zur Befestigung des Leuchtengehäuses kann in dem Verbindungsbereich des oberen und unteren Aufhängerteils eine seitliche Querschnittseinschnürung wie eine seitlich offene Nut zur Aufnahme eines Befestigungsbereichs des Leuchtengehäuses angeordnet sein, wobei die Nut als Umfangsnut ausgeführt sein kann. Vorzugsweise ist das laterale Verschiebungsmittel, welches insbesondere als Exzenterelement ausgeführt sein kann, an dem oberen Aufhängerteil angeordnet oder es greift an diesem an, so dass das mit dem Exzenterelement versehene Bauteil unmittelbar selber unter Bewirkung der lateralen Verschiebung betätigbar ist. Gegebenenfalls kann das Verschiebungsmittel aber auch an dem unteren Aufhängerteil angreifen.
Ferner weist vorzugsweise das untere Aufhängerteil einen in das obere Aufhängerteil eingreifenden Befestigungsbereich, insbesondere in Form eines Gewindezapfens auf, wobei an dem unteren Aufhängerteil vorzugsweise zentrisch zu dem Gewindezapfen eine Seilhalterung vorgesehen ist, beispielsweise in Form einer Sackbohrung, die sich in Zapfenlängsrichtung erstreckt, so dass ein mit einer Krampe oder dergleichen versehenes Seilende in der Ausnehmung anordenbar und das Seil durch den Gewindezapfen durchführbar ist.
Nach einer alternativen Ausführungsform kann das laterale Verschiebungsmittel ein Stellmittel umfassen oder als solches ausgebildet sein, das in eine Richtung quer zur Sollposition des Seils bzw. quer, insbesondere senkrecht, zu einer Seildurchführung des Seilaufhängers unter relativer Lageveränderung des Seilaufhängepunktes zum Zentrum des Leuchtenbefestigungsbereichs verschiebbar ist. Ein derartiges Stellmittel kann in Form einer Stellschraube ausgeführt sein, welche an der Seilaufhängung oder einem Leuchtengehäusebereich, welcher zu der Seilaufhängung verschiebbar ist, ausgeführt ist. Das Verschiebungsmittel kann beispielsweise auch als Schieberorgan ausgeführt sein, der durch eine Stellschraube quer zur Längserstreckungsrichtung des Seils verschiebbar ist. Das Schieberorgan kann hierzu auf einem geeigneten Schlitten oder einem schlittenartigen Gehäusebereich gelagert sein. Als Schieberorgan kann auch das an dem Seil angeordnete Aufhängemittel für das Leuchtengehäuse wie eine endseitige Krampe dienen. Das Stellmittel bzw. der Schieber können hierbei quer zur Längserstreckungsrichtung des Seils linear bewegbar sein. Das Betätigungselement für den Schieber kann hierbei aus einer Richtung quer zur Seillängserstreckungsrichtung betätigbar sein, gegebenenfalls kann unter Zwischenschaltung einer Kraftumlenkung der Schieber auch aus einer vertikalen Richtung, beispielsweise von der Leuchtenoberseite her, betätigbar sein.
Ferner umfasst die Erfindung ein Leuchtengehäuse mit einer erfindungsgemäßen Seilaufhängung. Das Leuchtengehäuse kann hierbei die Seilaufhängung in zwei vertikal beabstandeten Ebenen umgeben, wozu das Gehäuse einen Befestigungsbereich für die Seilaufhängung aufweist, der in Einbaulage in einer ersten vertikalen Höhe angeordnet ist, wobei oberhalb desselben eine Abdeckung vorgesehen sein kann, durch die das laterale Verschiebungsmittel betätigbar ist, beispielsweise durch Einführung eines Werkzeuges in einer Ausnehmung der Abdeckung, wobei hierbei eingeschlossen ist, dass das Verschiebungsmittel in etwa auf Höhe der Abdeckung abschließt. Zur einfacheren Betätigung kann das Verschiebungsmittel auch nach oben oder seitlich von dem Gehäuse vorstehen.
Insbesondere kann die Seilaufhängung an einem Geräteträger der Leuchte befestigt sein, wobei der Geräteträger weitere elektrische Einrichtungen oder Anschlüsse der Leuchte zum Betrieb des jeweiligen Leuchtmittels aufnimmt, wie beispielsweise elektrische Anschlüsse, Transformatoren oder dergleichen. Die Erfindung ist jedoch nicht auf eine derartige Anordnung der Seilaufhängung an dem Leuchtengehäuse beschränkt.
Eine besonders stabile Ausführungsform liegt vor, wenn der Befestigungsbereich des Gehäuses als U-profilförmiger Bereich ausgeführt ist, der beispielsweise auch einen Teilbereich eines anderen Profils darstellen kann. Die Ausbildung als U-Profil bedingt jedoch ein vergleichsweise geringes Gewicht bei hoher Steifigkeit des Gehäusebereichs. Das U-Profil ist hierbei mit mindestens einer Aufnahme für eine Seilaufhängung versehen. Das U-Profil ist an der Innenwand eines Kastenprofils gehaltert bzw. einstückig mit diesem verbunden, wobei das Kastenprofil eine oberseitige, vorzugsweise abnehmbare, Abdeckung aufweist. Das U-Profil kann gegebenenfalls aber auch durch mehrere Profile zusammengesetzt sein, z.B. durch zwei L-Profile. Das Kastenprofil bildet hierbei vorzugsweise ein umfänglich im Wesentlichen geschlossenes Profil. Das Kastenprofil kann einen im Wesentlichen rechteckigen oder quadratischen Querschnitt aufweisen, ohne hierauf beschränkt zu sein. Das U-Profil liegt hierbei vorzugsweise flächig an den Innenwänden des Kastenprofils an und passt sich daher vorzugsweise im Wesentlichen der Querschnittsform des Kastenprofils an, ohne dass dies immer zwingend notwendig ist. Hierdurch ist eine einfache Befestigung der Seilaufhängung bei hoher Steifigkeit des Leuchtengehäusebereichs bzw. Geräteträgers gegeben. Das U-Profil kann sich im Wesentlichen über die Längserstreckung des jeweiligen Gehäuseteils wie z. B. eines Geräteträgers erstrecken, das U-Profil kann gegebenenfalls auch jeweils nur einer Seilaufhängung zugeordnet sein.
Das jeweilige Leuchtengehäuse gemäss der Erfindung kann durch zwei, drei oder vier Seilaufhänger abgehängt sein, ohne hierauf beschränkt zu sein.
Die Erfindung wird nachfolgend beispielhaft beschrieben und anhand der Figuren beispielhaft erläutert. Es zeigen:
Figur 1
eine Querschnittsansicht einer Hängeleuchte mit erfindungsgemäßem Seilaufhänger,
Figur 2
unter- und oberseitige Draufsichten (Fig. 2a, 2c), Seitenansicht (Fig. 2b), Schnittdarstellung (Fig. 2d) und perspektivische Ansicht (Fig. 2e) eines unteren Aufhängerteils des erfindungsgemäßen Seilaufhängers,
Figur 3
unterseitige und oberseitige Draufsichten (Fig. 3a, 3c), Schnittansichten (Fig. 3b, 3d) eines oberen Seilaufhängerteils der erfindungsgemäßen Seilaufhängung,
Figur 4
eine Seitenansicht im Teilaufriss eines erfindungsgemäßen Seilaufhängers,
Figur 5
eine Draufsicht auf eine Hängeleuchte mit erfindungsgemäßen Seilaufhänger,
Figur 6
eine schematische Draufsicht auf einen erfindungsgemäßen Seilaufhänger einer weiteren Ausführungsform,
Figur 1 zeigt einen erfindungsgemäßen Seilaufhänger 1 einer bevorzugten Ausführungsform mit einem Aufhängeseil 2, welches an einer Decke oder dergleichen befestigbar ist, wobei an dem Seilaufhänger ein Leuchtegehäuse 3 aufgehängt ist, welches einen mittleren Geräteträger 4 und beidseitig von diesem angeordnete Korpi 5 zur Aufnahme von Leuchtmittel wie beispielsweise von Leuchtstoffröhren oder dergleichen mit zugeordneten Reflektoren 6 aufweisen. Der Leuchtenschwerpunkt 3a ist schematisch angegeben.
Der Seilaufhänger 1 definiert einen Seilhalterungspunkt 7, welcher durch den Seilmittelpunkt im Bereich der Seilbefestigung definiert wird. Die Seilbefestigung erfolgt hierbei derart, dass an dem der Leuchte zugewandten Seilende eine Querschnittserweiterung in Form einer aufgesetzten Krampe 8 vorgesehen ist, wobei die Krampe vollständig von der Ausnehmung 9 des Seilaufhängers aufgenommen ist, jedoch gegebenenfalls auch teilweise oder vollständig von dem Seilaufhänger in vertikaler Richtung vorstehen kann.
Die Leuchtenlängsrichtung wird hierbei durch die Verbindungslinie der beiden Seilaufhängungen bzw. der diesen zugeordneten Befestigungsbereiche definiert, die zumeist an den Endbereichen des Leuchtengehäuses angeordnet sind. Es versteht sich, dass gegebenenfalls die Breite der flügelartigen Korpi 5 die Länge der Leuchte überschreiten kann oder dass andere unregelmäßige Leuchtengeometrien vorliegen können.
Zur Befestigung der Leuchte an dem Seilaufhänger weist dieser eine seitliche Querschnittseinschnürung auf, die hier als seitlich offene Umfangsnut 10 (Fig. 4) ausgeführt ist. Aufgrund der weiter unten beschriebenen Verdrehung der Seilaufhängung zum Ausgleich von Schräglagen der Hängeleuchte versteht es sich, dass die Querschnittseinschnürung sich zumindest über den durch die Drehbewegung definierten Umfangsbereich erstrecken sollte. In die Umfangsnut 10 greifen hierbei im Wesentlichen horizontal angeordnete Befestigungsbereiche 11 der Leuchte ein, wobei sich die Befestigungsbereiche 11 hier horizontal erstrecken und an der Leuchte lastabtragend befestigt sind. Die Befestigungsbereiche 11 sind hierbei Bestandteil eines U-profilierten Tragprofils 12, wobei gegebenenfalls jedoch auch gegenüberliegende L-förmige Profile vorgesehen sein können, wobei das die Befestigungsbereiche 11 aufweisende Tragprofil 12 zugleich eine Verschiebungssicherung des Seilaufhängers in Leuchtenlängsrichtung verhindert. Hierzu sind in dem Tragprofil entsprechende Durchtrittsöffnungen zur Aufnahme des Seilaufhängers vorgesehen, die vollumfänglich geschlossen sein können.
Das Zentrum 14 des Befestigungsbereichs des Seilaufhängers, dessen Begrenzung in Fig. 3 zur Verdeutlichung gestrichelt dargestellt ist, wird hierbei durch das Zentrum des eine Querschnittseinschnürung bzw. Umfangsnut 10 aufweisenden Seilaufhängerbereichs oder bei der gegebenen Ausführungsform durch das Zentrum des Exzenters definiert, wobei nach dem Ausführungsbeispiel der Befestigungsbereich 11 der Leuchte den Befestigungsbereich 12 des Seilaufhängers mit nur geringem Spiel oder praktisch spielfrei umgibt.
Um ungleichmäßige Gewichtsverteilungen der Leuchte auszugleichen, die zu einer Schräglage der lediglich an zwei Aufhängepunkten aufgehängten Hängeleuchte führen würde, sind Mittel zur Verschiebung des Leuchtenschwerpunktes relativ zu dem Seilhalterungspunkt der jeweiligen Aufhängung in Form eines Exzenterelementes 13 vorgesehen. Hierzu ist der Befestigungsbereich 12 des Seilaufhängers exzentrisch ausgebildet (siehe auch Figuren 3a, 3b). Durch Verdrehung der Seilaufhängung um die Längserstreckungsrichtung des Seils in seiner Sollposition bzw. um die Seillängsachse kann (vergleiche insbesondere Figur 3a) das Zentrum des Befestigungsbereichs des Seilaufhängers bzw. damit gekoppelt der Befestigungsbereich der Leuchte und damit die Leuchte insgesamt seitlich zu der Seilaufhängung bzw. dem Seilhalterungspunkt 7 verschoben werden. Das Ausmaß der Verschiebung hängt von der Exzentrizität und/oder dem Durchmesser des Exzenterelementes 13 ab. Die Exzentrizität ist in Figur 3b durch Angabe der Zentren der Seilaufhängung und des Zentrums 14 des Befestigungsbereichs angedeutet, es versteht sich, dass in zwei um 90° zueinander verdrehten Stellungen die laterale Verschiebung der Leuchte zur Seilaufhängung maximal bzw. minimal ist, wobei eine geringfügige Verschiebung von Seilhalterungspunkt und Zentrum des Befestigungsbereichs des Seilaufhängers in Leuchtenlängsrichtung praktisch nicht bemerkbar ist. Die laterale Verschiebung kann hierbei im Bereich von 1 bis 3 mm liegen. Dadurch, dass die Leuchte insgesamt gegen deren Aufhängepunkt seitlich verschoben wird, und somit das Leuchtengewicht insgesamt zu tragen kommt, sind vergleichsweise geringe laterale Verschiebungen der Leuchte ausreichend, um diese waagerecht auszurichten.
Nach dem Ausführungsbeispiel ist der Geräteträger mit einer Abdeckung 15 versehen, durch welche der Seilaufhänger in vertikaler Richtung vorsteht. Aufgrund der seitlichen Verschiebung der Leuchte gegenüber dem Seilaufhängepunkt weist die Durchtrittsöffnung 16 der Abdeckung einen etwas größeren Durchmesser auf, als die in dem Befestigungsbereich 11 vorgesehene Durchtrittsöffnung, um unter Berücksichtigung des Durchmessers der Seilaufhängung die exzentrische Bewegung des Seilaufhängers relativ zu der Leuchte ausgleichen zu können (vgl. Fig. 5).
Die Leuchte gemäß Figur 1 stellt hierbei eine zweiflügelige Leuchte dar, wobei die Flügel jeweils durch einen der beidseitig der Geräteträger angeordneten Korpi 5 gebildet werden. Das Trägerprofil 12 ist hierbei ferner an den Wänden 17 des Kasteprofils 18 lastaufnehmend befestigt, beispielsweise angeschweißt, wodurch eine hohe Steifigkeit des Geräteträgers erzielt wird.
Um den Seilaufhänger sicher an dem Leuchtengehäuse befestigen zu können, weist dieser ein unteres Aufhängerteil 20 (siehe Fig. 2) und ein oberes Aufhängerteil 30 (siehe Fig. 3) auf. Das untere Aufhängerteil weist einen Haltebereich 21 auf, der nach dem Ausführungsbeispiel im Wesentlichen zylindrisch ausgeführt ist, und auf den der stegförmige Befestigungsbereich 11 der Leuchte lastabtragend aufgelegt werden kann. Ferner ist das untere Aufhängerteil mit einem Anlagebereich zur lastabtragenden Aufhängung an dem Seil 2 versehen, wozu die Ausnehmung 9 vorgesehen ist. Die Ausnehmung 9 mündet in einer Seildurchführung 22, die mit einer Seildurchführung 31 unter Ausbildung einer zusammenhängenden Seildurchführung verbindbar ist, vorzugsweise unter koaxialer Anordnung der beiden Seildurchführungen 22, 31. Ferner weist das untere Aufhängerteil ein Befestigungsmittel zur Festlegung an dem oberen Aufhängerteil auf, wozu miteinander korrespondierende Gewindezapfen 23 und eine Gewindeausnehmung 32 an dem oberen und unteren Aufhängerteil vorgesehen sind. An dem Gewindebereich kann zusätzlich eine Sicherung, z. B. in Form einer Schraubensicherung, vorgesehen sein, wie sie bekannt ist, z. B. durch ein Quetschelement, eine Verklebung oder dergleichen, um oberes und unteres Aufhängerteil stets gekoppelt bewegen zu können. An dem unteren Aufhängerteil ist ebenfalls ein Werkzeugangriffsbereich 24 in Form gegenüberliegender Abflachungen zum Angriff eines Maulschlüssels oder dergleichen vorgesehen, um die Aufhängerteile aneinander, vorzugsweise verdrehfest, befestigen zu können.
Das obere Aufhängerteil weist einen Werkzeugangriff 33 in Form eines Schlitzes auf, der gleichzeitig als Markierung für die Stellung des jeweiligen lateralen Verschiebungsmittels bzw. des Exzenters 13 dient. Gemäß Figur 3a weist das obere Aufhängerteil einen zentrischen Befestigungsbereich in Form der Gewindeaufnahme 32 auf, der koaxial zu der Seildurchführung 31 bzw. einem anders ausgeführten Seilhaltebereich ausgeführt ist, wobei der Exzenter 13 um ca. 1 bis 3 mm seitlich verschoben ist. Es versteht sich, dass durch Verdrehung der Seilaufhängung um 90° der Exzenter 13 ebenfalls verdreht und hierdurch eine laterale Verschiebung des Leuchtengehäuses relativ zu dem Seilhalterungspunkt in einer Richtung quer zur Gehäuselängsrichtung erfolgt. Dies ist in Figur 5 schematisch dargestellt, wobei die exzentrische Stellung des oberen Seilaufhängers an dem Leuchtengehäuse bzw. dem Geräteträger desselben anhand des Schlitzes 50 ablesbar ist, wobei die Längserstreckung des Schlitzes parallel zur Exzentrizitätslinie, d.h. der Verbindungslinie des Exzenterelementmittelpunktes mit dem Seilhalterungspunkt verläuft (vergleiche Figuren 3a, 3c).
Figur 6 zeigt einen alternativen Aufhänger in einer schematischen Draufsicht, der im wesentlichen wie der Aufhänger nach den Figuren 1-4 aufgebaut ist. Eine Abwandlung besteht in der Exzenteranordnung, bei welcher der Befestigungsbereich 61 des Seilaufhängers für die Leuchte bzw. damit auch der Befestigungsbereich der Leuchte zentriert an dem Seilaufhänger angeordnet sind, wobei der Seilhalterungsbereich 62, der in Art der Ausnehmung 9 gemäß Figur 2d ausgeführt sein kann, exzentrisch zu der Seilaufhängerlängsachse bzw. der Drehachse 63 des Aufhängers angeordnet ist. Auch hierbei kann durch Verdrehung des Seilaufhängers eine laterale Verschiebung der Leuchte zu dem Aufhängepunkt erfolgen, um die Leuchte waagerecht einzustellen.
Bezugszeichenliste
1
Seilaufhänger
2
Seil
3
Leuchtengehäuse
3a
Leuchtengehäuseschwerpunkt
4
Geräteträger
5
Korpus
6
Reflektor
7
Seilhalterungspunkt
8
Krampe
9
Ausnehmung
10
Umfangsnut
11
Befestigungsbereich
12
Befestigungsbereich
12a
Täger
13
Exzenterelement
14
Zentrum des Befestigungsbereichs
15
Abdeckung
16
Durchtrittsöffnung
17
Wand
18
Kastenprofil
20
unteres Aufhängerteil
21
Haltebereich
22
Seildurchführung
23
Gewindezapfen
24
Werkzeugangriffsbereich
30
oberes Aufhängerteil
31
Seildurchführung
32
Gewindeausnehmung
33
Werkzeugangriffsbereich
50
Schlitz
60
Seilaufhänger
61
Befestigungsbereich
62
Seilhalterungsbereich
63
Drehachse
70
Seilaufhänger

Claims (13)

  1. Seilaufhänger für Hängeleuchten mit einer Halterung für ein in Einbaulage vertikales Seil zur Aufhängung einer Leuchte in einem Seilhalterungspunkt und mit einem Befestigungsbereich zur Befestigung der Leuchte an dem Aufhänger, wobei der Befestigungsbereich ein Zentrum aufweist, wobei Mittel (13, 71) zur bezogen auf die Seillängserstreckungsrichtung lateralen Verschiebung des Seilhalterungspunktes (7) relativ zum Zentrum (14) des Befestigungsbereichs für die Leuchte oder Mittel (13, 71) zur bezogen auf die Längserstreckung einer zugeordneten Leuchte lateralen Verschiebung des Leuchtenschwerpunktes (3a) relativ zum Seilhalterungspunkt (7) des Leuchtengehäuses vorgesehen sind, dadurch gekennzeichnet, dass das laterale Verschiebungsmittel ein Exzenterelement (13) umfasst, durch dessen Verdrehung eine laterale Verschiebung des Seilhalterungspunktes (7) und des Zentrums (14) des Leuchtenbefestigungsbereichs relativ zueinander oder des Seilhalterungspunktes und des Schwerpunktes (3a) eines zugeordneten Leuchtengehäuses relativ zueinander bewirkt wird.
  2. Seilaufhänger nach Anspruch 1, dadurch gekennzeichnet, dass die Seilhalterung eine Seildurchführung (22, 31) für das Seil aufweist, die sich durch das Zentrum des Aufhängers (1) erstreckt und bei Betätigung des lateralen Verschiebungsmittels lageunveränderlich ist.
  3. Seilaufhänger nach Anspruch 1 oder 2, dadurch gekennzeichnet, dass der Seilaufhänger ein in Einbaulage oberes und ein unteres Aufhängerteil (20, 30) umfasst, die aneinander befestigbar sind, und dass zumindest das untere Aufhängerteil (20) eine Seilhalterung (9) und einen Befestigungsbereich (12) für einen korrespondierenden Befestigungsbereich (11) des Leuchtengehäuses aufweist.
  4. Seilaufhänger nach einem der Ansprüche 1 bis 3, dadurch gekennzeichnet, dass in dem Verbindungsbereich des oberen und unteren Aufhängerteils eine seitliche Querschnittseinschnürung (10) zur Aufnahme eines Befestigungsbereichs des Leuchtengehäuses angeordnet ist.
  5. Seilaufhänger nach einem der Ansprüche 1 bis 4, dadurch gekennzeichnet, dass das laterale Verschiebungsmittel (13) an dem oberen Aufhängerteil angeordnet ist oder an diesem angreift.
  6. Seilaufhänger nach Anspruch 5, dadurch gekennzeichnet, dass das laterale Verschiebungsmittel als Exzenterelement (13) ausgeführt ist und an dem oberen Aufhängerteil angeordnet ist.
  7. Seilaufhänger nach einem der Ansprüche 1 bis 6, dadurch gekennzeichnet, dass ein Betätigungsorgan (30, 33) für die laterale Verschiebung der Seilhalterung relativ zum Befestigungsbereich des Leuchtengehäuses (4) oder für die laterale Verschiebung des Schwerpunktes (3a) der zugeordneten Leuchte zu der Seilhalterung an dem in Einbaulage oberen Ende des Seilaufhängers (1) angeordnet ist.
  8. Seilaufhänger nach einem der Ansprüche 1 bis 7, dadurch gekennzeichnet, dass ein Betätigungsorgan (33) für das Exzenterelement (13) vorgesehen ist, an dem die Stellung des Exzenterelementes zumindest mittelbar oder unmittelbar ablesbar ist.
  9. Leuchtengehäuse einer Hängeleuchte mit einer Seilaufhängung mit Mitteln (13, 71) zur bezogen auf die Längserstreckung der Leuchte lateralen Verschiebung des Leuchtengehäuseschwerpunktes (3a) relativ zu zumindest einem oder mehreren Seilhalterungspunkten (7) des Leuchtengehäuses, dadurch gekennzeichnet, dass ein Seilaufhänger nach einem der Ansprüche 1 bis 8 vorgesehen ist.
  10. Leuchtengehäuse nach Anspruch 9, dadurch gekennzeichnet, dass das Gehäuse einen Befestigungsbereich (11) für den Seilaufhänger (1) aufweist, der in Einbaulage in einer ersten vertikalen Höhe angeordnet ist und dass oberhalb des Befestigungsbereichs eine Abdeckung (15) vorgesehen ist, durch die das laterale Verschiebungsmittel betätigbar ist oder durch die dieses in Einbaulage nach oben oder seitlich aus dem Gehäuse vorsteht.
  11. Leuchtengehäuse nach Anspruch 9 oder 10, dadurch gekennzeichnet, dass der Seilaufhänger an einem Geräteträger (4) des Leuchtengehäuses befestigt ist.
  12. Leuchtengehäuse nach einem der Ansprüche 9 bis 11, dadurch gekennzeichnet, dass die Leuchte eine zweiflügelige Leuchte darstellt, bei welcher sich beidseitig der durch die Seilaufhänger definierten Längsachse Korpi (5) zur Aufnahme von Leuchtmitteln erstrecken.
  13. Leuchtengehäuse nach einem der Ansprüche 9 bis 12, dadurch gekennzeichnet, dass der Befestigungsbereich des Gehäuses als mit zumindest einer Aufnahme für einen Seilaufhänger, vorzugsweise mit zwei in Gehäuselängsrichtung beabstandeten Aufnahmen, versehener Träger (12a) ausgeführt ist, das an der Wandung (17) eines Kastenprofils (18) gehaltert ist, und dass das Kastenprofil eine oberseitige Abdeckung (15) aufweist.
EP04011705A 2003-05-19 2004-05-17 Seilaufhänger für Leuchten Expired - Lifetime EP1479969B1 (de)

Applications Claiming Priority (2)

Application Number Priority Date Filing Date Title
DE20307903U DE20307903U1 (de) 2003-05-19 2003-05-19 Seilaufhängung für Leuchten
DE20307903U 2003-05-19

Publications (3)

Publication Number Publication Date
EP1479969A2 true EP1479969A2 (de) 2004-11-24
EP1479969A3 EP1479969A3 (de) 2005-09-14
EP1479969B1 EP1479969B1 (de) 2010-07-14

Family

ID=27771690

Family Applications (1)

Application Number Title Priority Date Filing Date
EP04011705A Expired - Lifetime EP1479969B1 (de) 2003-05-19 2004-05-17 Seilaufhänger für Leuchten

Country Status (4)

Country Link
US (1) US7019210B2 (de)
EP (1) EP1479969B1 (de)
AT (1) ATE474188T1 (de)
DE (2) DE20307903U1 (de)

Cited By (2)

* Cited by examiner, † Cited by third party
Publication number Priority date Publication date Assignee Title
EP2107298A1 (de) 2008-04-03 2009-10-07 Trilux GmbH & Co. KG Langgestreckte Hängeleuchte
AT14426U1 (de) * 2014-10-07 2015-11-15 Zumtobel Lighting Gmbh Ausgleichsvorrichtung für eine Seilabhängung einer Leuchte

Families Citing this family (11)

* Cited by examiner, † Cited by third party
Publication number Priority date Publication date Assignee Title
US7086041B2 (en) * 2003-06-27 2006-08-01 Microsoft Corporation Extensible type system for representing and checking consistency of program components during the process of compilation
FR2977944B1 (fr) * 2011-07-15 2014-02-28 Senstronic Dispositif electronique et son procede de fabrication
DE102014104421A1 (de) * 2014-03-28 2015-10-15 Trilux Gmbh & Co. Kg Variabel umgestaltbare Leuchte
US10041660B2 (en) * 2015-04-06 2018-08-07 Milwaukee Electric Tool Corporation Hanging light
DE102016104428A1 (de) 2016-03-10 2017-09-14 Trilux Gmbh & Co. Kg modulare Außenleuchte
US10605440B2 (en) 2017-10-13 2020-03-31 Milwaukee Electric Tool Corporation Hanging light
USD946797S1 (en) 2017-12-01 2022-03-22 Milwaukee Electric Tool Corporation Hanging light
US11162668B2 (en) 2018-10-23 2021-11-02 Milwaukee Electric Tool Corporation Hanging light
IT201900007050A1 (it) * 2019-05-21 2020-11-21 Led Luks D O O Apparato di illuminazione
US11424606B2 (en) * 2019-06-14 2022-08-23 Biamp Systems, LLC Electrical device assembly and securing mechanism
EP4460659A1 (de) * 2022-01-04 2024-11-13 Signify Holding B.V. Einstellbare aufhängbare vorrichtung

Citations (5)

* Cited by examiner, † Cited by third party
Publication number Priority date Publication date Assignee Title
GB624727A (en) 1946-11-25 1949-06-15 Thorn Electrical Ind Ltd A device for use in attaching a suspension member to a pendant article
US2740883A (en) 1953-05-11 1956-04-03 A L Smith Iron Company Combination lighting fixture and wiring conduit
WO1980000871A1 (en) 1978-10-27 1980-05-01 J Hallen Suspension attachment for elongated armatures
DE4010416A1 (de) 1989-04-05 1990-10-11 Kotzolt Leuchten Aufhaengevorrichtung
US6517222B1 (en) 2001-08-01 2003-02-11 Linear Lighting Corp. System and method for leveling suspended lighting fixtures and a longitudunal axis

Family Cites Families (9)

* Cited by examiner, † Cited by third party
Publication number Priority date Publication date Assignee Title
US2465857A (en) * 1945-11-29 1949-03-29 Separator Ab Suspension device for flexible pipes and the like
DE1828179U (de) 1960-12-19 1961-03-16 Adolf Schuch K G Leuchte fuer verschiebbare befestigungsabstaende.
DE7838482U1 (de) 1978-12-27 1979-07-12 Kinkeldey-Leuchten August H. Kinkeldey Bad Pyrmont, 3280 Bad Pyrmont Rohrfoermiger schirm fuer leuchtstoffroehren, stromschienen o.dgl.
DE8622319U1 (de) 1986-08-20 1986-10-30 Peill + Putzler Glashüttenwerke GmbH, 52349 Düren Pendelaufhängung für eine Leuchte
ZA9610900B (en) 1995-12-27 1997-06-27 Kevin D Miekis Supporting structure for a prism light guide
CA2321343C (en) 2000-09-28 2008-09-09 Canlyte Inc. Linear fixture suspension system
TW563954U (en) * 2002-05-09 2003-11-21 Yue-Yun Huang Cable storage box with serial connection
US6653560B1 (en) * 2002-07-17 2003-11-25 Wen-Chang Wu Multi-functional do-it-yourself lamp structure
US6870100B2 (en) * 2002-10-30 2005-03-22 James E. Corwin Wiring installation device and associated method

Patent Citations (5)

* Cited by examiner, † Cited by third party
Publication number Priority date Publication date Assignee Title
GB624727A (en) 1946-11-25 1949-06-15 Thorn Electrical Ind Ltd A device for use in attaching a suspension member to a pendant article
US2740883A (en) 1953-05-11 1956-04-03 A L Smith Iron Company Combination lighting fixture and wiring conduit
WO1980000871A1 (en) 1978-10-27 1980-05-01 J Hallen Suspension attachment for elongated armatures
DE4010416A1 (de) 1989-04-05 1990-10-11 Kotzolt Leuchten Aufhaengevorrichtung
US6517222B1 (en) 2001-08-01 2003-02-11 Linear Lighting Corp. System and method for leveling suspended lighting fixtures and a longitudunal axis

Cited By (3)

* Cited by examiner, † Cited by third party
Publication number Priority date Publication date Assignee Title
EP2107298A1 (de) 2008-04-03 2009-10-07 Trilux GmbH & Co. KG Langgestreckte Hängeleuchte
DE102008017462B3 (de) * 2008-04-03 2009-11-26 Trilux Gmbh & Co. Kg Langgestreckte Hängeleuchte
AT14426U1 (de) * 2014-10-07 2015-11-15 Zumtobel Lighting Gmbh Ausgleichsvorrichtung für eine Seilabhängung einer Leuchte

Also Published As

Publication number Publication date
DE20307903U1 (de) 2003-08-21
US7019210B2 (en) 2006-03-28
EP1479969A3 (de) 2005-09-14
US20050051673A1 (en) 2005-03-10
DE502004011382D1 (de) 2010-08-26
EP1479969B1 (de) 2010-07-14
ATE474188T1 (de) 2010-07-15

Similar Documents

Publication Publication Date Title
DE4447144C2 (de) Trägersystem für elektrische Leitungen
EP1479969A2 (de) Seilaufhänger für Leuchten
DE202013104140U1 (de) Einbauleuchte
EP3805576A2 (de) Kupplung
DE4332437C2 (de) Tisch und Tischsystem
EP3461963B1 (de) Trägersystem und system von verbindungselementen zur verbindung von trägern
EP2107298B1 (de) Langgestreckte Hängeleuchte
EP3922869B1 (de) Anschlussvorrichtung zum befestigen an einem hohlprofil sowie stabilisierungsset und stabilisierungsanordnung
DE4116210A1 (de) Befestigungssystem fuer lichtschrankenelemente
EP2383511B1 (de) Anordnung zur Befestigung eines Gegenstandes an einem langgestreckten Aufhängungselement
DE20319586U1 (de) Tragschiene für Leuchtkörper
EP0931977B1 (de) Vorrichtung zum Befestigen von Leuchten an Masten
DE3710609A1 (de) Aufhaengevorrichtung fuer haengeleuchten
EP1351025B1 (de) Wandhalter für Heizkörper
DE10036157A1 (de) Vorrichtung zum Stützen von Fassadenelementen
DE29901397U1 (de) Längliche, im Querschnittsprofil linsenartige Pendel- oder Anbauleuchte
DE3824596A1 (de) Leuchte, insbesondere rohrfoermige leuchte fuer leuchtstofflampen
EP3056798B1 (de) Einbauelement, vorzugsweise einbauleuchte
DE4114378C2 (de)
DE2232970C2 (de) Endklammer zur Sicherung von KLemmenblöcken auf einer Schiene
DE4010416A1 (de) Aufhaengevorrichtung
DE2844600C3 (de) Deckeneinbauleuchte
AT14426U1 (de) Ausgleichsvorrichtung für eine Seilabhängung einer Leuchte
AT14937U1 (de) Seilabhängungsvorrichtung
DE19713818A1 (de) Adapter für ein Haltemittel, welches zum Befestigen einer Einbauleuchte in einer Einbauöffnung bestimmt ist, oder Haltemittel oder Einbauleuchte mit einem solchen Adapter

Legal Events

Date Code Title Description
PUAI Public reference made under article 153(3) epc to a published international application that has entered the european phase

Free format text: ORIGINAL CODE: 0009012

AK Designated contracting states

Kind code of ref document: A2

Designated state(s): AT BE BG CH CY CZ DE DK EE ES FI FR GB GR HU IE IT LI LU MC NL PL PT RO SE SI SK TR

AX Request for extension of the european patent

Extension state: AL HR LT LV MK

PUAL Search report despatched

Free format text: ORIGINAL CODE: 0009013

AK Designated contracting states

Kind code of ref document: A3

Designated state(s): AT BE BG CH CY CZ DE DK EE ES FI FR GB GR HU IE IT LI LU MC NL PL PT RO SE SI SK TR

AX Request for extension of the european patent

Extension state: AL HR LT LV MK

RIC1 Information provided on ipc code assigned before grant

Ipc: 7F 21V 21/008 B

Ipc: 7F 21S 8/06 B

Ipc: 7F 21V 21/112 A

Ipc: 7F 21V 21/00 B

17P Request for examination filed

Effective date: 20051214

AKX Designation fees paid

Designated state(s): AT BE BG CH CY CZ DE DK EE ES FI FR GB GR HU IE IT LI LU MC NL PL PT RO SE SI SK TR

17Q First examination report despatched

Effective date: 20070518

RAP1 Party data changed (applicant data changed or rights of an application transferred)

Owner name: TRILUX GMBH & CO. KG

GRAP Despatch of communication of intention to grant a patent

Free format text: ORIGINAL CODE: EPIDOSNIGR1

GRAS Grant fee paid

Free format text: ORIGINAL CODE: EPIDOSNIGR3

GRAA (expected) grant

Free format text: ORIGINAL CODE: 0009210

AK Designated contracting states

Kind code of ref document: B1

Designated state(s): AT BE BG CH CY CZ DE DK EE ES FI FR GB GR HU IE IT LI LU MC NL PL PT RO SE SI SK TR

REG Reference to a national code

Ref country code: GB

Ref legal event code: FG4D

Free format text: NOT ENGLISH

REG Reference to a national code

Ref country code: CH

Ref legal event code: EP

REG Reference to a national code

Ref country code: IE

Ref legal event code: FG4D

REF Corresponds to:

Ref document number: 502004011382

Country of ref document: DE

Date of ref document: 20100826

Kind code of ref document: P

REG Reference to a national code

Ref country code: NL

Ref legal event code: VDEP

Effective date: 20100714

PG25 Lapsed in a contracting state [announced via postgrant information from national office to epo]

Ref country code: FI

Free format text: LAPSE BECAUSE OF FAILURE TO SUBMIT A TRANSLATION OF THE DESCRIPTION OR TO PAY THE FEE WITHIN THE PRESCRIBED TIME-LIMIT

Effective date: 20100714

Ref country code: NL

Free format text: LAPSE BECAUSE OF FAILURE TO SUBMIT A TRANSLATION OF THE DESCRIPTION OR TO PAY THE FEE WITHIN THE PRESCRIBED TIME-LIMIT

Effective date: 20100714

REG Reference to a national code

Ref country code: IE

Ref legal event code: FD4D

PG25 Lapsed in a contracting state [announced via postgrant information from national office to epo]

Ref country code: PT

Free format text: LAPSE BECAUSE OF FAILURE TO SUBMIT A TRANSLATION OF THE DESCRIPTION OR TO PAY THE FEE WITHIN THE PRESCRIBED TIME-LIMIT

Effective date: 20101115

Ref country code: SI

Free format text: LAPSE BECAUSE OF FAILURE TO SUBMIT A TRANSLATION OF THE DESCRIPTION OR TO PAY THE FEE WITHIN THE PRESCRIBED TIME-LIMIT

Effective date: 20100714

Ref country code: BG

Free format text: LAPSE BECAUSE OF FAILURE TO SUBMIT A TRANSLATION OF THE DESCRIPTION OR TO PAY THE FEE WITHIN THE PRESCRIBED TIME-LIMIT

Effective date: 20101014

Ref country code: CY

Free format text: LAPSE BECAUSE OF FAILURE TO SUBMIT A TRANSLATION OF THE DESCRIPTION OR TO PAY THE FEE WITHIN THE PRESCRIBED TIME-LIMIT

Effective date: 20100714

Ref country code: PL

Free format text: LAPSE BECAUSE OF FAILURE TO SUBMIT A TRANSLATION OF THE DESCRIPTION OR TO PAY THE FEE WITHIN THE PRESCRIBED TIME-LIMIT

Effective date: 20100714

PG25 Lapsed in a contracting state [announced via postgrant information from national office to epo]

Ref country code: GR

Free format text: LAPSE BECAUSE OF FAILURE TO SUBMIT A TRANSLATION OF THE DESCRIPTION OR TO PAY THE FEE WITHIN THE PRESCRIBED TIME-LIMIT

Effective date: 20101015

Ref country code: SE

Free format text: LAPSE BECAUSE OF FAILURE TO SUBMIT A TRANSLATION OF THE DESCRIPTION OR TO PAY THE FEE WITHIN THE PRESCRIBED TIME-LIMIT

Effective date: 20100714

PG25 Lapsed in a contracting state [announced via postgrant information from national office to epo]

Ref country code: DK

Free format text: LAPSE BECAUSE OF FAILURE TO SUBMIT A TRANSLATION OF THE DESCRIPTION OR TO PAY THE FEE WITHIN THE PRESCRIBED TIME-LIMIT

Effective date: 20100714

Ref country code: IE

Free format text: LAPSE BECAUSE OF FAILURE TO SUBMIT A TRANSLATION OF THE DESCRIPTION OR TO PAY THE FEE WITHIN THE PRESCRIBED TIME-LIMIT

Effective date: 20100714

PLBE No opposition filed within time limit

Free format text: ORIGINAL CODE: 0009261

STAA Information on the status of an ep patent application or granted ep patent

Free format text: STATUS: NO OPPOSITION FILED WITHIN TIME LIMIT

PG25 Lapsed in a contracting state [announced via postgrant information from national office to epo]

Ref country code: IT

Free format text: LAPSE BECAUSE OF FAILURE TO SUBMIT A TRANSLATION OF THE DESCRIPTION OR TO PAY THE FEE WITHIN THE PRESCRIBED TIME-LIMIT

Effective date: 20100714

Ref country code: EE

Free format text: LAPSE BECAUSE OF FAILURE TO SUBMIT A TRANSLATION OF THE DESCRIPTION OR TO PAY THE FEE WITHIN THE PRESCRIBED TIME-LIMIT

Effective date: 20100714

Ref country code: SK

Free format text: LAPSE BECAUSE OF FAILURE TO SUBMIT A TRANSLATION OF THE DESCRIPTION OR TO PAY THE FEE WITHIN THE PRESCRIBED TIME-LIMIT

Effective date: 20100714

Ref country code: RO

Free format text: LAPSE BECAUSE OF FAILURE TO SUBMIT A TRANSLATION OF THE DESCRIPTION OR TO PAY THE FEE WITHIN THE PRESCRIBED TIME-LIMIT

Effective date: 20100714

Ref country code: CZ

Free format text: LAPSE BECAUSE OF FAILURE TO SUBMIT A TRANSLATION OF THE DESCRIPTION OR TO PAY THE FEE WITHIN THE PRESCRIBED TIME-LIMIT

Effective date: 20100714

26N No opposition filed

Effective date: 20110415

PG25 Lapsed in a contracting state [announced via postgrant information from national office to epo]

Ref country code: ES

Free format text: LAPSE BECAUSE OF FAILURE TO SUBMIT A TRANSLATION OF THE DESCRIPTION OR TO PAY THE FEE WITHIN THE PRESCRIBED TIME-LIMIT

Effective date: 20101025

REG Reference to a national code

Ref country code: DE

Ref legal event code: R097

Ref document number: 502004011382

Country of ref document: DE

Effective date: 20110415

BERE Be: lapsed

Owner name: TRILUX G.M.B.H. & CO. KG

Effective date: 20110531

PG25 Lapsed in a contracting state [announced via postgrant information from national office to epo]

Ref country code: MC

Free format text: LAPSE BECAUSE OF NON-PAYMENT OF DUE FEES

Effective date: 20110531

REG Reference to a national code

Ref country code: CH

Ref legal event code: PL

GBPC Gb: european patent ceased through non-payment of renewal fee

Effective date: 20110517

PG25 Lapsed in a contracting state [announced via postgrant information from national office to epo]

Ref country code: LI

Free format text: LAPSE BECAUSE OF NON-PAYMENT OF DUE FEES

Effective date: 20110531

Ref country code: CH

Free format text: LAPSE BECAUSE OF NON-PAYMENT OF DUE FEES

Effective date: 20110531

REG Reference to a national code

Ref country code: FR

Ref legal event code: ST

Effective date: 20120131

PG25 Lapsed in a contracting state [announced via postgrant information from national office to epo]

Ref country code: BE

Free format text: LAPSE BECAUSE OF NON-PAYMENT OF DUE FEES

Effective date: 20110531

PG25 Lapsed in a contracting state [announced via postgrant information from national office to epo]

Ref country code: FR

Free format text: LAPSE BECAUSE OF NON-PAYMENT OF DUE FEES

Effective date: 20110531

PG25 Lapsed in a contracting state [announced via postgrant information from national office to epo]

Ref country code: GB

Free format text: LAPSE BECAUSE OF NON-PAYMENT OF DUE FEES

Effective date: 20110517

REG Reference to a national code

Ref country code: AT

Ref legal event code: MM01

Ref document number: 474188

Country of ref document: AT

Kind code of ref document: T

Effective date: 20110517

PG25 Lapsed in a contracting state [announced via postgrant information from national office to epo]

Ref country code: AT

Free format text: LAPSE BECAUSE OF NON-PAYMENT OF DUE FEES

Effective date: 20110517

PG25 Lapsed in a contracting state [announced via postgrant information from national office to epo]

Ref country code: LU

Free format text: LAPSE BECAUSE OF NON-PAYMENT OF DUE FEES

Effective date: 20110517

PG25 Lapsed in a contracting state [announced via postgrant information from national office to epo]

Ref country code: TR

Free format text: LAPSE BECAUSE OF FAILURE TO SUBMIT A TRANSLATION OF THE DESCRIPTION OR TO PAY THE FEE WITHIN THE PRESCRIBED TIME-LIMIT

Effective date: 20100714

PG25 Lapsed in a contracting state [announced via postgrant information from national office to epo]

Ref country code: HU

Free format text: LAPSE BECAUSE OF FAILURE TO SUBMIT A TRANSLATION OF THE DESCRIPTION OR TO PAY THE FEE WITHIN THE PRESCRIBED TIME-LIMIT

Effective date: 20100714

PGFP Annual fee paid to national office [announced via postgrant information from national office to epo]

Ref country code: DE

Payment date: 20210728

Year of fee payment: 18

REG Reference to a national code

Ref country code: DE

Ref legal event code: R119

Ref document number: 502004011382

Country of ref document: DE

PG25 Lapsed in a contracting state [announced via postgrant information from national office to epo]

Ref country code: DE

Free format text: LAPSE BECAUSE OF NON-PAYMENT OF DUE FEES

Effective date: 20221201