EP1415744B1 - Scie de carreaux - Google Patents
Scie de carreaux Download PDFInfo
- Publication number
- EP1415744B1 EP1415744B1 EP20030024657 EP03024657A EP1415744B1 EP 1415744 B1 EP1415744 B1 EP 1415744B1 EP 20030024657 EP20030024657 EP 20030024657 EP 03024657 A EP03024657 A EP 03024657A EP 1415744 B1 EP1415744 B1 EP 1415744B1
- Authority
- EP
- European Patent Office
- Prior art keywords
- assembly
- disposed
- saw
- rail
- cutting wheel
- Prior art date
- Legal status (The legal status is an assumption and is not a legal conclusion. Google has not performed a legal analysis and makes no representation as to the accuracy of the status listed.)
- Expired - Lifetime
Links
- 238000005520 cutting process Methods 0.000 claims abstract description 84
- XAGFODPZIPBFFR-UHFFFAOYSA-N aluminium Chemical compound [Al] XAGFODPZIPBFFR-UHFFFAOYSA-N 0.000 claims description 6
- 229910052782 aluminium Inorganic materials 0.000 claims description 6
- 230000033001 locomotion Effects 0.000 claims description 5
- 239000012530 fluid Substances 0.000 description 34
- 230000007246 mechanism Effects 0.000 description 16
- 239000002002 slurry Substances 0.000 description 11
- 239000000463 material Substances 0.000 description 8
- 230000000712 assembly Effects 0.000 description 5
- 238000000429 assembly Methods 0.000 description 5
- PPBRXRYQALVLMV-UHFFFAOYSA-N Styrene Chemical compound C=CC1=CC=CC=C1 PPBRXRYQALVLMV-UHFFFAOYSA-N 0.000 description 4
- 238000001816 cooling Methods 0.000 description 4
- 229920001903 high density polyethylene Polymers 0.000 description 4
- 239000004700 high-density polyethylene Substances 0.000 description 4
- 239000004743 Polypropylene Substances 0.000 description 3
- 238000002347 injection Methods 0.000 description 3
- 239000007924 injection Substances 0.000 description 3
- 239000003595 mist Substances 0.000 description 3
- -1 polypropylene Polymers 0.000 description 3
- 229920001155 polypropylene Polymers 0.000 description 3
- XLYOFNOQVPJJNP-UHFFFAOYSA-N water Substances O XLYOFNOQVPJJNP-UHFFFAOYSA-N 0.000 description 3
- VTYYLEPIZMXCLO-UHFFFAOYSA-L Calcium carbonate Chemical compound [Ca+2].[O-]C([O-])=O VTYYLEPIZMXCLO-UHFFFAOYSA-L 0.000 description 2
- 244000185238 Lophostemon confertus Species 0.000 description 2
- 239000004727 Noryl Substances 0.000 description 2
- 229920001207 Noryl Polymers 0.000 description 2
- 230000008901 benefit Effects 0.000 description 2
- 239000000356 contaminant Substances 0.000 description 2
- 229910003460 diamond Inorganic materials 0.000 description 2
- 239000010432 diamond Substances 0.000 description 2
- 239000013013 elastic material Substances 0.000 description 2
- 229920001971 elastomer Polymers 0.000 description 2
- 238000004519 manufacturing process Methods 0.000 description 2
- 239000013618 particulate matter Substances 0.000 description 2
- 229920001568 phenolic resin Polymers 0.000 description 2
- 239000012858 resilient material Substances 0.000 description 2
- 238000007493 shaping process Methods 0.000 description 2
- 239000007921 spray Substances 0.000 description 2
- 239000004677 Nylon Substances 0.000 description 1
- 239000004721 Polyphenylene oxide Substances 0.000 description 1
- 229910000639 Spring steel Inorganic materials 0.000 description 1
- 238000007792 addition Methods 0.000 description 1
- 230000004075 alteration Effects 0.000 description 1
- 230000005540 biological transmission Effects 0.000 description 1
- 239000011449 brick Substances 0.000 description 1
- 229910000019 calcium carbonate Inorganic materials 0.000 description 1
- 239000000919 ceramic Substances 0.000 description 1
- 230000003247 decreasing effect Effects 0.000 description 1
- 239000000428 dust Substances 0.000 description 1
- 239000000945 filler Substances 0.000 description 1
- 238000001914 filtration Methods 0.000 description 1
- 239000006260 foam Substances 0.000 description 1
- 238000000034 method Methods 0.000 description 1
- 229920001778 nylon Polymers 0.000 description 1
- 230000000717 retained effect Effects 0.000 description 1
- 238000003860 storage Methods 0.000 description 1
Images
Classifications
-
- B—PERFORMING OPERATIONS; TRANSPORTING
- B28—WORKING CEMENT, CLAY, OR STONE
- B28D—WORKING STONE OR STONE-LIKE MATERIALS
- B28D1/00—Working stone or stone-like materials, e.g. brick, concrete or glass, not provided for elsewhere; Machines, devices, tools therefor
- B28D1/02—Working stone or stone-like materials, e.g. brick, concrete or glass, not provided for elsewhere; Machines, devices, tools therefor by sawing
- B28D1/04—Working stone or stone-like materials, e.g. brick, concrete or glass, not provided for elsewhere; Machines, devices, tools therefor by sawing with circular or cylindrical saw-blades or saw-discs
- B28D1/047—Working stone or stone-like materials, e.g. brick, concrete or glass, not provided for elsewhere; Machines, devices, tools therefor by sawing with circular or cylindrical saw-blades or saw-discs with the work mounted on a carriage
-
- B—PERFORMING OPERATIONS; TRANSPORTING
- B23—MACHINE TOOLS; METAL-WORKING NOT OTHERWISE PROVIDED FOR
- B23D—PLANING; SLOTTING; SHEARING; BROACHING; SAWING; FILING; SCRAPING; LIKE OPERATIONS FOR WORKING METAL BY REMOVING MATERIAL, NOT OTHERWISE PROVIDED FOR
- B23D45/00—Sawing machines or sawing devices with circular saw blades or with friction saw discs
- B23D45/02—Sawing machines or sawing devices with circular saw blades or with friction saw discs with a circular saw blade or the stock mounted on a carriage
-
- B—PERFORMING OPERATIONS; TRANSPORTING
- B23—MACHINE TOOLS; METAL-WORKING NOT OTHERWISE PROVIDED FOR
- B23D—PLANING; SLOTTING; SHEARING; BROACHING; SAWING; FILING; SCRAPING; LIKE OPERATIONS FOR WORKING METAL BY REMOVING MATERIAL, NOT OTHERWISE PROVIDED FOR
- B23D45/00—Sawing machines or sawing devices with circular saw blades or with friction saw discs
- B23D45/04—Sawing machines or sawing devices with circular saw blades or with friction saw discs with a circular saw blade or the stock carried by a pivoted lever
- B23D45/042—Sawing machines or sawing devices with circular saw blades or with friction saw discs with a circular saw blade or the stock carried by a pivoted lever with the saw blade carried by a pivoted lever
- B23D45/044—Sawing machines or sawing devices with circular saw blades or with friction saw discs with a circular saw blade or the stock carried by a pivoted lever with the saw blade carried by a pivoted lever the saw blade being adjustable according to angle of cut
-
- B—PERFORMING OPERATIONS; TRANSPORTING
- B23—MACHINE TOOLS; METAL-WORKING NOT OTHERWISE PROVIDED FOR
- B23D—PLANING; SLOTTING; SHEARING; BROACHING; SAWING; FILING; SCRAPING; LIKE OPERATIONS FOR WORKING METAL BY REMOVING MATERIAL, NOT OTHERWISE PROVIDED FOR
- B23D47/00—Sawing machines or sawing devices working with circular saw blades, characterised only by constructional features of particular parts
- B23D47/02—Sawing machines or sawing devices working with circular saw blades, characterised only by constructional features of particular parts of frames; of guiding arrangements for work-table or saw-carrier
- B23D47/025—Sawing machines or sawing devices working with circular saw blades, characterised only by constructional features of particular parts of frames; of guiding arrangements for work-table or saw-carrier of tables
-
- B—PERFORMING OPERATIONS; TRANSPORTING
- B27—WORKING OR PRESERVING WOOD OR SIMILAR MATERIAL; NAILING OR STAPLING MACHINES IN GENERAL
- B27B—SAWS FOR WOOD OR SIMILAR MATERIAL; COMPONENTS OR ACCESSORIES THEREFOR
- B27B27/00—Guide fences or stops for timber in saw mills or sawing machines; Measuring equipment thereon
- B27B27/06—Guide fences or stops for timber in saw mills or sawing machines; Measuring equipment thereon arranged angularly with respect to the plane of the saw blade, e.g. for mitring
-
- B—PERFORMING OPERATIONS; TRANSPORTING
- B27—WORKING OR PRESERVING WOOD OR SIMILAR MATERIAL; NAILING OR STAPLING MACHINES IN GENERAL
- B27B—SAWS FOR WOOD OR SIMILAR MATERIAL; COMPONENTS OR ACCESSORIES THEREFOR
- B27B27/00—Guide fences or stops for timber in saw mills or sawing machines; Measuring equipment thereon
- B27B27/10—Devices for moving or adjusting the guide fences or stops
-
- B—PERFORMING OPERATIONS; TRANSPORTING
- B27—WORKING OR PRESERVING WOOD OR SIMILAR MATERIAL; NAILING OR STAPLING MACHINES IN GENERAL
- B27B—SAWS FOR WOOD OR SIMILAR MATERIAL; COMPONENTS OR ACCESSORIES THEREFOR
- B27B5/00—Sawing machines working with circular or cylindrical saw blades; Components or equipment therefor
- B27B5/29—Details; Component parts; Accessories
- B27B5/38—Devices for braking the circular saw blade or the saw spindle; Devices for damping vibrations of the circular saw blade, e.g. silencing
-
- B—PERFORMING OPERATIONS; TRANSPORTING
- B28—WORKING CEMENT, CLAY, OR STONE
- B28D—WORKING STONE OR STONE-LIKE MATERIALS
- B28D1/00—Working stone or stone-like materials, e.g. brick, concrete or glass, not provided for elsewhere; Machines, devices, tools therefor
- B28D1/02—Working stone or stone-like materials, e.g. brick, concrete or glass, not provided for elsewhere; Machines, devices, tools therefor by sawing
- B28D1/04—Working stone or stone-like materials, e.g. brick, concrete or glass, not provided for elsewhere; Machines, devices, tools therefor by sawing with circular or cylindrical saw-blades or saw-discs
- B28D1/042—Working stone or stone-like materials, e.g. brick, concrete or glass, not provided for elsewhere; Machines, devices, tools therefor by sawing with circular or cylindrical saw-blades or saw-discs the saw blade being carried by a pivoted lever
-
- B—PERFORMING OPERATIONS; TRANSPORTING
- B28—WORKING CEMENT, CLAY, OR STONE
- B28D—WORKING STONE OR STONE-LIKE MATERIALS
- B28D7/00—Accessories specially adapted for use with machines or devices of the preceding groups
- B28D7/02—Accessories specially adapted for use with machines or devices of the preceding groups for removing or laying dust, e.g. by spraying liquids; for cooling work
-
- H—ELECTRICITY
- H02—GENERATION; CONVERSION OR DISTRIBUTION OF ELECTRIC POWER
- H02K—DYNAMO-ELECTRIC MACHINES
- H02K7/00—Arrangements for handling mechanical energy structurally associated with dynamo-electric machines, e.g. structural association with mechanical driving motors or auxiliary dynamo-electric machines
- H02K7/14—Structural association with mechanical loads, e.g. with hand-held machine tools or fans
-
- H—ELECTRICITY
- H02—GENERATION; CONVERSION OR DISTRIBUTION OF ELECTRIC POWER
- H02K—DYNAMO-ELECTRIC MACHINES
- H02K9/00—Arrangements for cooling or ventilating
- H02K9/02—Arrangements for cooling or ventilating by ambient air flowing through the machine
- H02K9/04—Arrangements for cooling or ventilating by ambient air flowing through the machine having means for generating a flow of cooling medium
- H02K9/06—Arrangements for cooling or ventilating by ambient air flowing through the machine having means for generating a flow of cooling medium with fans or impellers driven by the machine shaft
-
- Y—GENERAL TAGGING OF NEW TECHNOLOGICAL DEVELOPMENTS; GENERAL TAGGING OF CROSS-SECTIONAL TECHNOLOGIES SPANNING OVER SEVERAL SECTIONS OF THE IPC; TECHNICAL SUBJECTS COVERED BY FORMER USPC CROSS-REFERENCE ART COLLECTIONS [XRACs] AND DIGESTS
- Y10—TECHNICAL SUBJECTS COVERED BY FORMER USPC
- Y10T—TECHNICAL SUBJECTS COVERED BY FORMER US CLASSIFICATION
- Y10T83/00—Cutting
- Y10T83/202—With product handling means
- Y10T83/2066—By fluid current
-
- Y—GENERAL TAGGING OF NEW TECHNOLOGICAL DEVELOPMENTS; GENERAL TAGGING OF CROSS-SECTIONAL TECHNOLOGIES SPANNING OVER SEVERAL SECTIONS OF THE IPC; TECHNICAL SUBJECTS COVERED BY FORMER USPC CROSS-REFERENCE ART COLLECTIONS [XRACs] AND DIGESTS
- Y10—TECHNICAL SUBJECTS COVERED BY FORMER USPC
- Y10T—TECHNICAL SUBJECTS COVERED BY FORMER US CLASSIFICATION
- Y10T83/00—Cutting
- Y10T83/242—With means to clean work or tool
-
- Y—GENERAL TAGGING OF NEW TECHNOLOGICAL DEVELOPMENTS; GENERAL TAGGING OF CROSS-SECTIONAL TECHNOLOGIES SPANNING OVER SEVERAL SECTIONS OF THE IPC; TECHNICAL SUBJECTS COVERED BY FORMER USPC CROSS-REFERENCE ART COLLECTIONS [XRACs] AND DIGESTS
- Y10—TECHNICAL SUBJECTS COVERED BY FORMER USPC
- Y10T—TECHNICAL SUBJECTS COVERED BY FORMER US CLASSIFICATION
- Y10T83/00—Cutting
- Y10T83/263—With means to apply transient nonpropellant fluent material to tool or work
-
- Y—GENERAL TAGGING OF NEW TECHNOLOGICAL DEVELOPMENTS; GENERAL TAGGING OF CROSS-SECTIONAL TECHNOLOGIES SPANNING OVER SEVERAL SECTIONS OF THE IPC; TECHNICAL SUBJECTS COVERED BY FORMER USPC CROSS-REFERENCE ART COLLECTIONS [XRACs] AND DIGESTS
- Y10—TECHNICAL SUBJECTS COVERED BY FORMER USPC
- Y10T—TECHNICAL SUBJECTS COVERED BY FORMER US CLASSIFICATION
- Y10T83/00—Cutting
- Y10T83/283—With means to control or modify temperature of apparatus or work
-
- Y—GENERAL TAGGING OF NEW TECHNOLOGICAL DEVELOPMENTS; GENERAL TAGGING OF CROSS-SECTIONAL TECHNOLOGIES SPANNING OVER SEVERAL SECTIONS OF THE IPC; TECHNICAL SUBJECTS COVERED BY FORMER USPC CROSS-REFERENCE ART COLLECTIONS [XRACs] AND DIGESTS
- Y10—TECHNICAL SUBJECTS COVERED BY FORMER USPC
- Y10T—TECHNICAL SUBJECTS COVERED BY FORMER US CLASSIFICATION
- Y10T83/00—Cutting
- Y10T83/283—With means to control or modify temperature of apparatus or work
- Y10T83/293—Of tool
-
- Y—GENERAL TAGGING OF NEW TECHNOLOGICAL DEVELOPMENTS; GENERAL TAGGING OF CROSS-SECTIONAL TECHNOLOGIES SPANNING OVER SEVERAL SECTIONS OF THE IPC; TECHNICAL SUBJECTS COVERED BY FORMER USPC CROSS-REFERENCE ART COLLECTIONS [XRACs] AND DIGESTS
- Y10—TECHNICAL SUBJECTS COVERED BY FORMER USPC
- Y10T—TECHNICAL SUBJECTS COVERED BY FORMER US CLASSIFICATION
- Y10T83/00—Cutting
- Y10T83/647—With means to convey work relative to tool station
-
- Y—GENERAL TAGGING OF NEW TECHNOLOGICAL DEVELOPMENTS; GENERAL TAGGING OF CROSS-SECTIONAL TECHNOLOGIES SPANNING OVER SEVERAL SECTIONS OF THE IPC; TECHNICAL SUBJECTS COVERED BY FORMER USPC CROSS-REFERENCE ART COLLECTIONS [XRACs] AND DIGESTS
- Y10—TECHNICAL SUBJECTS COVERED BY FORMER USPC
- Y10T—TECHNICAL SUBJECTS COVERED BY FORMER US CLASSIFICATION
- Y10T83/00—Cutting
- Y10T83/647—With means to convey work relative to tool station
- Y10T83/6584—Cut made parallel to direction of and during work movement
- Y10T83/6601—Bevel cutting tool
-
- Y—GENERAL TAGGING OF NEW TECHNOLOGICAL DEVELOPMENTS; GENERAL TAGGING OF CROSS-SECTIONAL TECHNOLOGIES SPANNING OVER SEVERAL SECTIONS OF THE IPC; TECHNICAL SUBJECTS COVERED BY FORMER USPC CROSS-REFERENCE ART COLLECTIONS [XRACs] AND DIGESTS
- Y10—TECHNICAL SUBJECTS COVERED BY FORMER USPC
- Y10T—TECHNICAL SUBJECTS COVERED BY FORMER US CLASSIFICATION
- Y10T83/00—Cutting
- Y10T83/647—With means to convey work relative to tool station
- Y10T83/6584—Cut made parallel to direction of and during work movement
- Y10T83/6608—By rectilinearly moving work carriage
-
- Y—GENERAL TAGGING OF NEW TECHNOLOGICAL DEVELOPMENTS; GENERAL TAGGING OF CROSS-SECTIONAL TECHNOLOGIES SPANNING OVER SEVERAL SECTIONS OF THE IPC; TECHNICAL SUBJECTS COVERED BY FORMER USPC CROSS-REFERENCE ART COLLECTIONS [XRACs] AND DIGESTS
- Y10—TECHNICAL SUBJECTS COVERED BY FORMER USPC
- Y10T—TECHNICAL SUBJECTS COVERED BY FORMER US CLASSIFICATION
- Y10T83/00—Cutting
- Y10T83/647—With means to convey work relative to tool station
- Y10T83/6584—Cut made parallel to direction of and during work movement
- Y10T83/6608—By rectilinearly moving work carriage
- Y10T83/6609—Angularly adjustable
-
- Y—GENERAL TAGGING OF NEW TECHNOLOGICAL DEVELOPMENTS; GENERAL TAGGING OF CROSS-SECTIONAL TECHNOLOGIES SPANNING OVER SEVERAL SECTIONS OF THE IPC; TECHNICAL SUBJECTS COVERED BY FORMER USPC CROSS-REFERENCE ART COLLECTIONS [XRACs] AND DIGESTS
- Y10—TECHNICAL SUBJECTS COVERED BY FORMER USPC
- Y10T—TECHNICAL SUBJECTS COVERED BY FORMER US CLASSIFICATION
- Y10T83/00—Cutting
- Y10T83/647—With means to convey work relative to tool station
- Y10T83/664—Roller
-
- Y—GENERAL TAGGING OF NEW TECHNOLOGICAL DEVELOPMENTS; GENERAL TAGGING OF CROSS-SECTIONAL TECHNOLOGIES SPANNING OVER SEVERAL SECTIONS OF THE IPC; TECHNICAL SUBJECTS COVERED BY FORMER USPC CROSS-REFERENCE ART COLLECTIONS [XRACs] AND DIGESTS
- Y10—TECHNICAL SUBJECTS COVERED BY FORMER USPC
- Y10T—TECHNICAL SUBJECTS COVERED BY FORMER US CLASSIFICATION
- Y10T83/00—Cutting
- Y10T83/768—Rotatable disc tool pair or tool and carrier
- Y10T83/7684—With means to support work relative to tool[s]
- Y10T83/7693—Tool moved relative to work-support during cutting
- Y10T83/7697—Tool angularly adjustable relative to work-support
-
- Y—GENERAL TAGGING OF NEW TECHNOLOGICAL DEVELOPMENTS; GENERAL TAGGING OF CROSS-SECTIONAL TECHNOLOGIES SPANNING OVER SEVERAL SECTIONS OF THE IPC; TECHNICAL SUBJECTS COVERED BY FORMER USPC CROSS-REFERENCE ART COLLECTIONS [XRACs] AND DIGESTS
- Y10—TECHNICAL SUBJECTS COVERED BY FORMER USPC
- Y10T—TECHNICAL SUBJECTS COVERED BY FORMER US CLASSIFICATION
- Y10T83/00—Cutting
- Y10T83/768—Rotatable disc tool pair or tool and carrier
- Y10T83/7684—With means to support work relative to tool[s]
- Y10T83/7701—Supporting surface and tool axis angularly related
- Y10T83/7705—Adjustable angular relationship
-
- Y—GENERAL TAGGING OF NEW TECHNOLOGICAL DEVELOPMENTS; GENERAL TAGGING OF CROSS-SECTIONAL TECHNOLOGIES SPANNING OVER SEVERAL SECTIONS OF THE IPC; TECHNICAL SUBJECTS COVERED BY FORMER USPC CROSS-REFERENCE ART COLLECTIONS [XRACs] AND DIGESTS
- Y10—TECHNICAL SUBJECTS COVERED BY FORMER USPC
- Y10T—TECHNICAL SUBJECTS COVERED BY FORMER US CLASSIFICATION
- Y10T83/00—Cutting
- Y10T83/768—Rotatable disc tool pair or tool and carrier
- Y10T83/7684—With means to support work relative to tool[s]
- Y10T83/7722—Support and tool relatively adjustable
- Y10T83/7726—By movement of the tool
-
- Y—GENERAL TAGGING OF NEW TECHNOLOGICAL DEVELOPMENTS; GENERAL TAGGING OF CROSS-SECTIONAL TECHNOLOGIES SPANNING OVER SEVERAL SECTIONS OF THE IPC; TECHNICAL SUBJECTS COVERED BY FORMER USPC CROSS-REFERENCE ART COLLECTIONS [XRACs] AND DIGESTS
- Y10—TECHNICAL SUBJECTS COVERED BY FORMER USPC
- Y10T—TECHNICAL SUBJECTS COVERED BY FORMER US CLASSIFICATION
- Y10T83/00—Cutting
- Y10T83/869—Means to drive or to guide tool
- Y10T83/8696—Means to change datum plane of tool or tool presser stroke
- Y10T83/8699—With adjustable stop
-
- Y—GENERAL TAGGING OF NEW TECHNOLOGICAL DEVELOPMENTS; GENERAL TAGGING OF CROSS-SECTIONAL TECHNOLOGIES SPANNING OVER SEVERAL SECTIONS OF THE IPC; TECHNICAL SUBJECTS COVERED BY FORMER USPC CROSS-REFERENCE ART COLLECTIONS [XRACs] AND DIGESTS
- Y10—TECHNICAL SUBJECTS COVERED BY FORMER USPC
- Y10T—TECHNICAL SUBJECTS COVERED BY FORMER US CLASSIFICATION
- Y10T83/00—Cutting
- Y10T83/869—Means to drive or to guide tool
- Y10T83/8773—Bevel or miter cut
-
- Y—GENERAL TAGGING OF NEW TECHNOLOGICAL DEVELOPMENTS; GENERAL TAGGING OF CROSS-SECTIONAL TECHNOLOGIES SPANNING OVER SEVERAL SECTIONS OF THE IPC; TECHNICAL SUBJECTS COVERED BY FORMER USPC CROSS-REFERENCE ART COLLECTIONS [XRACs] AND DIGESTS
- Y10—TECHNICAL SUBJECTS COVERED BY FORMER USPC
- Y10T—TECHNICAL SUBJECTS COVERED BY FORMER US CLASSIFICATION
- Y10T83/00—Cutting
- Y10T83/95—Machine frame
Definitions
- This invention relates generally to tile or masonry saws according to the preamble of claim 1 (US6000387) and, more particularly, to tile saws with expanded capacity.
- a typical tile saw includes a base which supports a generally flat table top.
- a saw unit may be disposed on the base or table for cutting a workpiece, such as a tile or masonry brick, disposed on the table.
- a workpiece such as a tile or masonry brick
- the maximum cutting capacity of such tile saws is limited by the size of the machine, i.e., the envelope.
- tile saw where the base has two tracks and the table has bearings or wheels riding on the tracks, so that the table can be slid relative to the saw unit for increased capacity.
- Such tile saws are usually susceptible to dust collecting between the tracks and wheels, which creates binding between the base and the table. Ultimately, the binding may cause uneven, inaccurate cuts, which may translate into loss of time, materials and/or profit for the user.
- the capacity of such tile saws is usually limited to the length of the tracks. In other words, if a user wants increased capacity, he may have to lengthen the tracks. However, longer tracks may result in less portability of the tile saw.
- US5906538 describes a cutting apparatus comprising an abrasive wheel driven by a motor via an arbor shaft.
- a first platform is disposed on the top of a track surface and is adapted to support a workpiece to be cut.
- the first platform is slidable along a plurality of guide rails in order to move a workpiece in and out of contact with the abrasive wheel.
- a mechanism for adjusting the height of the abrasive wheel is described.
- the motor unit is disposed on top of a mounting plate, which is attached to the track surface by hinges.
- a bolt extends through a lifting portion having a threaded bore attached to the mounting plate. As the bolt is rotated clockwise, the lifting portion rises upwardly along the bolt and raises the mounting plate to selectively elevate the abrasive wheel to a desired height.
- US6000387 describes a ceramic and masonry power saw having a cutting table slidably mounted on a support frame.
- a cutting head arrangement includes a head platform pivotally mounted on the support frame by means of a pivot arm.
- the cutting head arrangement comprises a motor mounted on the head platform for driving a saw blade via a transmission means.
- an improved tile saw is employed.
- the saw comprises a base, a frame assembly disposed on the base, a first rail disposed on the frame assembly, the first rail having a longitudinal axis, a table slidingly disposed on the first rail, a support assembly disposed on the base, a saw assembly supported by the support assembly, the saw assembly comprising a motor, a cutting wheel driven by the motor, the saw assembly being pivotable about a horizontal axis substantially parallel to the longitudinal axis, and a switch electrically connected to the motor and disposed on the support assembly so that, when the motor assembly is pivoted about the horizontal axis, the switch remains stationary.
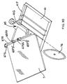
- FIGS. 1-2 illustrates a first embodiment of the present invention, where tile saw 10 comprises a base 11.
- a frame assembly 20 may be disposed on base 11.
- Frame assembly 20 may support rail assembly 30 and table assembly 40, which is movable along rail assembly 30.
- Frame assembly 20 may also support a column assembly 50, which in turn may support an arm assembly 60.
- Arm assembly 60 may support motor assembly 70, which includes a cutting wheel 76 for cutting a workpiece (not shown), such as tile, disposed on table assembly 40 and moved into contact with the cutting wheel 76.
- Base 11 is preferably injection molded or vacuum formed as a tub for supporting the different elements of the tile saw 10 as described below.
- Base 11 may be made of polypropylene with calcium carbonate filler, such as Astryn 75A6-2 by Basell, HDPE (High Density Polyethylene) or ABS.
- base 11 is preferably shaped as a tub to receive most, if not all, the water and slurry created during operation.
- a pump 90 is preferably disposed on base 11 to pump fluid out of base 11.
- extension pan 12 can be attached to the rear of base 11 via thumbscrews 13.
- base 11 may have a lip 11L.
- Extension pan 12 may be shaped so that it is placed on or snapped unto lip 11L.
- extension pans may be attached to the sides or front of base 11.
- These extension pans are preferably injection molded or vacuum formed and made of ABS, styrene, polypropylene, or HDPE.
- base 11 (and thus tile saw 10) may be supported by a stand S.
- base 11 has at least one notch 11N that may extend through the entire width of base 11 or just through a portion of the width of base 11.
- Stand S has beams SB which are disposed within notches 11N.
- the beams SB have a profile which matches the profile of notches 11N.
- one beam SB may be disposed within one notch 11N, while the other beam SB may just contact the underside of base 11.
- a beam SB may be retained within notch 11N by a plate 15 which capture the beam SB.
- plate 15 is attached to the base 11 via a screw 15S.
- Plate 15 may be rotated about the longitudinal axis of the screw 15S or about an axis substantially perpendicular to the longitudinal axis of the screw 15S to allow the user to insert beam SB into notch 11N. Once the beam SB is in place, the user can rotate plate 15 to its original position in order to capture beam SB.
- Base 11 may support frame assembly 20.
- frame assembly 20 may have a body 21 with front and rear extensions 24.
- Base 11 may have notches 14 which receive extensions 24.
- frame assembly 20 is made of cast aluminum. Such material is advantageous as it reduces the flex caused by the tile saw components disposed thereon, providing a more accurate cut.
- frame assembly 20 may have integral storage areas for storing tile saw components thereon.
- frame assembly 20 may have a pump holder assembly 22 for holding pump 90 during transport.
- Pump holder assembly 22 may include a shelf 22S extending from body 21. Shelf 22S may have holes 22H thereon to allow fluid and slurry to fall therethrough. A wall 22W disposed around shelf 22S may retain pump 90 in place. It would also be preferable to provide a hole 22SH in a side wall of body 21 to allow the user to insert a stem protrusion 91 of pump 90 therein, in order to retain pump 90 more securely.
- frame assembly 20 may support column assembly 50.
- Column assembly 50 may be made of cast aluminum and may have a body 51.
- body 51 is screwed unto a support pad 23 of frame assembly 20 via screws 23S.
- posts 23W, 23N may be provided on support pad 23 and/or column body 51. These posts are received in corresponding holes in column body 51 and/or support pad 23. Preferably, post 23W is wider than post 23N. Accordingly, the user need only dispose body 51 unto support pad 23.
- the posts 23W, 23N (and the corresponding holes) enable the user to quickly locate the proper position of column assembly 50 relative to frame assembly 20. Once located, the user need only affix column assembly 50 to frame assembly 20 via screws 23S.
- the holes receiving posts 23W, 23N are preferably close tolerance holes.
- some side-to-side allowance for one of the holes should be provided. This side-to-side allowance could be achieved by making one of the holes into a slot, or shaping one post as a diamond, in a similar manner as post 51D, discussed below.
- frame assembly 20 may support rail assembly 30.
- Rail assembly 30 in turn preferably supports table assembly 40.
- a first embodiment of rail assembly 30 may include a first rail 31 and a second rail 35, both rails being preferably supported by frame assembly 20. Both first and second rails 31, 35 may be made of extruded or cast aluminum.
- First rail 31 is preferably fixed to frame assembly 20 via a bolt and nut combination 32.
- First rail 31 may have a first portion 31C which is substantially C-shaped cross-section throughout a major portion, if not all, of its entire length.
- first rail 31 may include a second portion 31P which includes a rail or rod 31R.
- First and second portions 31C, 31P may be interconnected.
- rod 31R lies outside of the first portion 31C.
- Second rail 35 is preferably fixed to frame assembly 20 via a bolt and nut combination 34.
- Second rail 35 preferably has a substantially L-shaped or C-shaped cross-section throughout a major portion, if not all, of its entire length.
- Table assembly 40 is preferably movably connected to rail assembly 30.
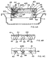
- Table assembly 40 includes a table body 41 having at least one groove 41G.
- Table body 41 may be made of cast aluminum.
- Table body 41 may have rubber portions 42 overmolded thereon to protect a workpiece placed on table assembly 40.
- Table assembly 40 may also include several shafts 43 connected to table body 41.
- Shafts 43 may be fixedly attached to table body 41 (as shown in FIG. 8).
- shafts 43 may be supported by bearings 43B disposed between table body 41 and shafts 43.
- Bearings 43B may be ball or roller bearings.
- a wheel 44 may be disposed on shaft 43.
- Bearings may be disposed between wheel 44 and shaft 43. Preferably, two bearings are pressed into each wheel 44.
- a bearing 45 may be disposed on shaft 43.
- Bearing 45 may be a rotatable roller or a non-rotatable element which may be polygonnally shaped.
- shafts 43, wheels 44 and bearings 45 are disposed on one side of the table body 41.
- At least one bearing 46 may be disposed on the other side of table body 41.
- Bearing 46 may be a rotatable roller, as shown in FIG. 6A.
- Bearing 46 may be disposed on a shaft 46S connected to table body 41.
- Shaft(s) 46S may be fixedly attached to table body 41.
- shaft(s) 43 may be supported by bearings disposed between table body 41 and shafts 43.
- Bearings 43B may be ball or roller bearings.
- Bearings 46B may be disposed between bearing 46 and shaft 46S. Preferably, two bearings 46B are pressed into each bearing 46.
- Bearing 46 preferably rides on second rail 35.
- bearing 46 may be a non-rotatable element, such as linear bearing 46 shown in FIG. 8. Such linear bearing may ride on second rail 35 or travel underneath second rail 35 so that the user cannot pull up such end beyond second rail 35.
- the table assembly 40 may be slidably disposed on rail assembly 30.
- wheels 44 may be disposed on rod 31R, while bearings 45, 46 are disposed within first portion 31C and second rail 35, respectively.
- wheels 44 and bearings 45 support most, if not all, of the weight of the table body 41.
- table body 41 preferably pivots about the contact between rod 31R and wheels 44. Referring to FIG. 6A, as table body 41 rotates in a clockwise direction, bearings 45 contact the inside portion of first portion 31C.
- Table body 41 may thus be moved in a direction parallel to the longitudinal axes of first and second rails 31, 35.
- wheels 44 rotate about and/or with shafts 43, while bearings 45 slide along first portion 31C.
- This arrangement is especially advantageous as it allows the user to move the table assembly 40 beyond the ends of rail assembly 30, as shown in FIGS. 1-2.
- Persons skilled in the art will recognize that, as each wheel 44 moves beyond the front end of rod 31R (except for one or two of the rearmost wheels 44), bearings 45 will contact the inside, upper portion of the first portion and second rail 31C, 35, to support the table assembly 40 in a first cantilevered position.
- bearings 45, 46 will contact the inside, upper portion of the first portion and second rail 31C, 35, to support the table assembly 40 in a second cantilevered position.
- Having the ability to move the table assembly 40 into at least one of the first and second cantilevered positions allows for a longer movement range of table assembly 40, which in turn results in an extended cutting capacity without increasing the length of the rail assembly 30 and/or base 11.
- a cutting wheel 76 with a diameter of about 10 inches, a distance CA between the wheel axis WA and the front of base 11 of about 60.56 centimeters (or a distance CA' between the wheel axis WA and the front of base 11, including lip 11L, of about 62.18 centimeters), and a distance CC between the column body 51 and the plane containing cutting wheel 76 of about 33.4 centimeters, may cut a workpiece T about 25 inches (63.5 centimeters) long disposed on table body 41 at a workpiece angle TA of 0° in one pass.
- the same tile saw could also cut a square workpiece T having sides of about 24 inches along its major diagonal MD (i.e., workpiece T being disposed at a workpiece angle TA of 45°) in two passes.
- table assembly 40 can only be inserted into and/or removed from rail assembly 30 by moving table assembly in a direction parallel to the longitudinal axes of first and second rails 31, 35. It may be desirable to provide first portion 31C and second rail 35 with openings on their respective upper portions to allow the user to lift off table saw assembly 40 when bearings 45, 46 are aligned with said openings. Persons skilled in the art will recognize that multiple sets of openings can be provided on first portion 31C and second rail 35 so that the user can lift off table saw assembly 40 at multiple locations.
- Table body 41 may have downwardly extending lips 41L, which preferably partially cover first and/or second rails 31, 35. This may limit the amount of fluid and/or slurry that enters first and/or second rails 31, 35.
- wheels 44 it is preferable to make at least one of wheels 44 axially movable relative to its shaft 43. This ensures a better alignment between the wheels 44 and rod 31R.
- the center wheel(s) 44 will be axially movable.
- Another advantage of providing such adjustability is that, if wheels 44 have grooves 44G for riding on rod 31R, the width of the grooves 44G can be minimized regardless of the manufacturing tolerances. This in turn may minimize any sideways wobble of the table assembly 40 when it is in a cantilevered position, thus providing a better quality cut.
- the center bearing may be disposed a tad higher than the rearmost bearing, creating a height differential G1.
- the center bearing may be disposed a tad higher than the forwardmost bearing, creating a height differential G2.
- height differentials G1, G2 are substantially equal and are preferably between about 1 mm and about 5mm.
- rod 31R is supported by front and rear supports 31FS, 31RS, respectively.
- Screws 31SSF, 31SSR preferably attach corresponding front and rear supports 31FS, 31RS to frame assembly 20.
- rear support 31RS (and thus rod 31R) can pivot about screw 31SSR, whereas front support 31FS has a slot 31FSS to allow such pivoting action.
- Screw 31SSR is preferably aligned with the rotating axis WA of cutting wheel 76.
- screw 31SSR may be replaced by a pin, cast boss, etc., so long as rod 31R can only be pivoted about one axis, which is aligned with rotating axis WA.
- FIG. 8 illustrates another adjustment mechanism 33 that can be used for pivoting first rail 31 about one pivot axis (if the first rail 31 pivots about one axis and has one adjustment mechanism 33), or for adjusting first rail 31 at multiple locations throughout its length (if multiple adjustment mechanisms 33 are provided).
- adjustment mechanism 33 may include an adjustment screw 33AS, a cylinder 33C threadingly engaged to the adjustment screw 33AS, and a locking screw 33LS extending through first portion 31C, frame body 21 and threadingly engaging cylinder 33C.
- Adjustment screw 33AS preferably threadingly engages frame body 21 or an extension 21E thereof.
- first rail 31 To adjust the alignment of first rail 31, the user needs to loosen locking screw 33LS and then rotate adjustment screw 33AS. As adjustment screw 33AS is rotated, it horizontally moves cylinder 33C (and thus first rail 31). When the desired position is obtained, the user can fix the position of first rail 31 by just tightening locking screw 33LS, which urges first portion 31C against frame body 21.
- cutting wheel 76 cuts a workpiece T disposed on table body 41 and extends below the top surface of table body 41 into one of the grooves 41G disposed thereon.
- Table body 41 may have an upwardly extending fence 41 for supporting workpiece T as it is being moved into and/or cut by cutting wheel 76.
- FIG. 5A One such means is shown in FIG. 5A.
- an insert 46 is disposed on fence 41F to cover groove 41G.
- the table assembly 40 is slid towards cutting wheel 76, until insert 46 is cut by cutting wheel 76.
- Insert 46 will thus have a cut line CL showing where the cutting wheel 76 cuts through. This allows the user to align the workpiece T to the cutting wheel 76.
- insert 46 is made of a material that does not damage the cutting wheel 76 or melt upon contact with the cutting wheel 76. Accordingly, insert 46 may be made of phenolic plastic or any other suitable material, such GE Noryl PPO.
- insert 46 is preferably attached to fence 41 via screws 46S.
- insert 46 is substantially cylindrical and inserted into fence 41F. Insert 46' may have portions 46C of decreased width, which can contact the screws 46S. Having a substantially cylindrical insert 46' is advantageous as the insert 46' can be rotated to an uncut portion when necessary or desired, rather than requiring a full replacement every time.
- FIG. 5C illustrates another means for indicating the cutting wheel.
- an element 48 is slidably attached to fence 41F.
- the user can slide element 48 against or close to cutting wheel 76 and fix its location by tightening screws 48S. The leftmost edge will thus indicate the cutting path of cutting wheel 76.
- element 48 While it is not necessary to cut element 48, some users may still desire to do so. Accordingly, it is preferable to make element 48 of a material that does not damage the cutting wheel 76 or melt upon contact with the cutting wheel 76. Accordingly, element 48 may be made of phenolic plastic or any other suitable material, such GE Noryl GPS.
- an insert 47 may be disposed on fence 41 F.
- Insert 47 is advantageous as, in addition to indicating the cutting path via cut line CL, it has two inclined edges 47M, allowing the user to place workpiece T in a mitered position.
- the two inclined edges 47M are substantially perpendicular.
- each inclined edge 47M forms an angle of 45° with the cut line CL, so that the user can cut diagonally through a square tile.
- table body 41 preferably has grooves 41G.
- grooves 41 G may have a bottom wall 41GB, which slopes downwardly from the front and rear ends of table body 41 to the center of table body 41. Fluid and/or slurry generated during the cutting operation may exit table body 41 through a drain hole 41D provided at the center of bottom wall 41GB. It is preferable to provide drain hole 41D near the center of table body 41 so that drain hole 41D can drain into base 11 regardless of whether table body 41 is within the envelope of base 11 or whether table body 41 is in the front and/or rear cantilevered positions.
- fluid and/or slurry generated during the cutting operation may exit table body 41 through holes 41GBH, which in turn may drain into a draining pan 41RD.
- Draining pan 41RD preferably has a bottom wall which slopes downwardly from the rear end of table body 41 towards the drain hole 41D. The fluid and/or slurry exiting through drain hole 41D ends up in base 11.
- Draining pan 41RD may also have a substantially horizontal baffle 41H disposed below the top surface of table body 41 and cutting wheel 76.
- Baffle 41H would catch some of the fluid and/or slurry that is thrown rearwardly due to the rotation of the cutting wheel 76 and redirect such fluid and/or slurry into the draining pan 41RD.
- Table body 41 may also have a brush 41B at the rearward and/or forward ends of grooves 41G to help limit the flow of fluid and/or slurry beyond the brush 41B and/or grooves 41G.
- the brush 41B has bristles made of nylon or a synthetic rubber-like material.
- extension pan assembly 41E which can further assist in redirecting fluid and/or slurry generated during the cutting operation into base 11.
- extension pan assembly 41E can be attached to table body 41 via screws 41ES.
- Extension pan assembly 41E preferably has a bottom wall 41EB which preferably extends downwardly from its outermost edge towards table body 41.
- a rib 41ER may help separate bottom wall 41EB from table body 41.
- Extension pan assembly 41E may be blow molded, injection molded or vacuum formed and may be made of ABS, styrene, polypropylene, or HDPE.
- FIG. 11 illustrates an alternate embodiment of extension pan assembly 41E, where like numerals refer to like parts.
- the teachings of the previous embodiment are wholly incorporated herein.
- the main difference between the previous and present embodiment is that the extension pan assembly 41E is fixed in the previous embodiment, whereas the extension pan assembly 41E is movable.
- extension pan assembly 41E is slidably attached to rod 41 ER, which in turn is fixed to table body 41 via a bracket 41EB and screws 41EBS.
- Rod 41ER may have holes 41ERH which can receive a detent 41ED which is connected to extension pan assembly 41 E.
- detent 41ED is biased towards holes 41ERH.
- a handle 41EDH can move detent 41ED away from hole 41ERH to allow movement of extension pan assembly 41E.
- an angle guide assembly 65 may be attached to table body 41 to help guide a workpiece T disposed on table body 41 into cutting wheel 76.
- Angle guide assembly 65 may have a guide body 65B that is disposable on table body 41.
- guide body 65B is clamped unto fence 41F.
- Guide body 65B may have a clamping channel 65C which receives fence 41F.
- Clamping channel 65C may include a surface 65CS which is preferably substantially parallel to fence 41F.
- Guide body 65B may also include a movable plate 65P which is moved into contact against fence 41F for sandwiching the fence 41F between surface 65CS and plate 65P.
- Plate 65P may be moved in by a knob 65K which is preferably attached to a screw 65KS, which in turn is preferably threadingly engaged to guide body 65B and may contact plate 65P.
- plate 65P may be attached to guide body 65B via screws 65PS.
- plate 65P is preferably made of spring steel, so that screw 65KS is loosened, plate 65P moves away from fence 41 F.
- plate 65P may just be connected to a shaft or screw 65PP, which extends into and/or through guide body 65B, as shown in FIG. 28B.
- a spring 65PPS captured between screw 65PP and guide body 65B may bias plate 65P away from fence 41 F, so that screw 65KS is loosened, plate 65P moves away from fence 41F.
- Guide body 65B may have a surface 65BP on one side thereof, and preferably two surfaces 65BP on both sides thereof. Surfaces 65BP are preferably substantially perpendicular to surface 65CS. Accordingly, guide body 65B can be attached to table body 41 and a workpiece T can be disposed against fence 41F and surface 65BP. Persons skilled in the art will recognize that, if two surfaces 65BP are provided on both sides of guide body 65B, the user could rest a workpiece T against a surface 65BP regardless on which side of groove 41G the guide body 65B is disposed.
- Angle guide assembly 65 may also have an angled fence 65F.
- Angled fence 65F may be pivotably attached to guide body 65B, as shown in FIG. 27A, so that it can be pivoted to either side of guide body 65B.
- angled fence 65F is pivotable about an axis 65A which is substantially parallel to surfaces 65BP and/or substantially perpendicular to surface 65CS.
- angled fence 65F may be removably disposed on guide body 65B, as shown in FIG. 27B.
- angled fence 65F would include a boss 65FB, which can be slid into a slot 65BSS of support wall 65BS. The user can thus remove angle fence 65F, rotate it, and disposed on the other side of guide body 65B by sliding boss 65FB into slot 65BSS.
- boss 65FB can be slid into a slot 65BSS of support wall 65BS.
- angled fence 65F may have two bosses 65FB received into rear and front slots 65BSS of guide body 65B.
- Angled fence 65F has a surface 65FS which is preferably substantially perpendicular to the support surface of table body 41, though persons skilled in the art will recognize that surface 65FS may be angled relative to table body 41.
- surface 65FS is preferably angled relative to axis 65A and/or surfaces 65BP.
- surface 65FS is disposed at an angle of 45° relative to axis 65A and/or surfaces 65BP, so that the user can support a workpiece T disposed on table body 41 at an angle.
- Angled fence 65F may have support ribs 65FR for added strength and/or stability.
- Guide body 65B may also carry set screws 65SS for properly aligning the surface 65FS relative to table body 41 and/or surfaces 65BP.
- stop assembly 66 may have a surface 66S which is preferably substantially perpendicular to surface 65FS.
- the location of stop assembly 66 is fixed relative to angled fence 65F via a screw 66S.
- angled fence 65F may have two coplanar portions 65FP which define surface 65FS'.
- a rod 67R may be slidably attached to angled fence 65F and/or portions 65FP.
- Rod 67R may carry a stop 67S, which would contact the workpiece T.
- the position of stop 67S may be fixed relative to angled fence 65F via s screw 67SS which is threadingly engaged to portion 65FP and contacts rod 67R.
- column assembly 50 may be supported by frame assembly 20.
- Column assembly 50 in turn may support arm assembly 60.
- Column assembly 50 preferably includes a column body 51.
- Column body 51 is preferably hollow and made of cast aluminum. Ribs 51R may be disposed within column body 51 to increase its strength.
- a plate 52 may be used to cover and/or seal the inner cavity of column body 51 that contain the electrical wires. Plate 52 may also support the incoming power cable 54, which may then extend through the inner cavity of column body 51 and into the arm assembly 60. In addition, plate 52 may also support a power outlet 53, which can be used to power any other electrical device, such as pump 90. Plate 52 may be affixed to column body via screws 52S.
- posts 51W, 51D may be provided on column body 51 and/or arm assembly 60. These posts are received in corresponding holes in arm assembly 60 and/or column body 51.
- the holes receiving posts 51W, 51D are close tolerance holes.
- some side-to-side allowance for one of the holes should be provided. This side-to-side allowance could be achieved by making one of the holes into a slot, or shaping one post, such as post 51D, as a diamond.
- the user need only dispose arm assembly 60 unto column body 51.
- the posts 51W, 51D (and the corresponding holes) enable the user to quickly locate the proper position of column assembly 50 relative to arm assembly 60. Once located, the user need only affix arm assembly 60 to column assembly 50 via screws 51S.
- arm assembly 60 preferably has a body 61 which is substantially U-shaped.
- arm body 61 is substantially hollow to allow the electrical wires to extend therethrough.
- Arm body 61 may pivotably support motor assembly 70.
- arm body 61 supports motor assembly 70 at both ends thereof.
- Motor assembly 70 preferably comprises a motor 78M and a housing 78 covering motor 78M. Housing 73 may be attached to a pivot arm 71. Motor 78M preferably drives a spindle 72, which carries a cutting wheel 76. Cutting wheel 76 may be partially covered by guard assembly 80, as described more fully below.
- Pivot arm 71 preferably has front and rear ends. At the rear end, pivot arm 71 may be pivotably attached to chopping trunnion 73 so that pivot arm 71 (and motor 78M and housing 78) can pivot about axis 73A. Chopping trunnion 73 is preferably pivotably connected to bevel trunnion 63, which in turn may be fixedly connected to arm body 61.
- pivot arm 71 may be movably connected to front plate 74.
- a screw 74KS may be threadingly engaged to pivot arm 71 and/or knob 74K.
- Front plate 74 in turn may be pivotably attached to the front end of arm body 61.
- axis 73A is substantially horizontal (at the 0° bevel position).
- pivot arm 71 and motor 78M and housing 78
- the user can fix the depth of cut of the cutting wheel 76 by rotating knob 74K, which in turn lockingly contacts front plate 74.
- housing 73 may have a handle 78H extending therefrom to assist in the chopping operation.
- handle 78H has a substantially horizontal portion 78HH for the user to grasp.
- chopping trunnion 73 may carry a stop 73SS, such as a boss or bolt, which contacts a surface 71S of pivot arm 71.
- pivot arm 71 may carry a stop 71SS, such as a boss or bolt, which contacts a surface 73S of chopping trunnion 73, as shown in FIG. 15B.
- stop 71SS such as a boss or bolt
- FIG. 15B In order to adjust the end of the chopping range, the user need only adjust stop 71SS or 73SS.
- Chopping trunnion 73 may have a slot 73R.
- a shaft 73SKS may extend through slot 73R.
- Shaft 73SKS may be threadingly engaged to a knob 73SK and/or a stop 73SB, which would contact surface 71 S of pivot arm 71.
- the user would loosen knob 73SK, move the knob/shaft/stop combination to the desired position and tighten knob 73SK.
- FIG. 15E shows another height adjustment stop mechanism, where like numerals refer to like parts.
- a plate 73P is preferably attached to chopping trunnion 73.
- Plate 73P may be pivotally attached to chopping trunnion 73 and is preferably attached so that it pivots about axis 73A.
- a knob 73PK extending through plate 73P and threadingly engaging chopping trunnion 73 can fix the location of plate 73P.
- Pivot arm 71 in turn preferably has a stop barrel 71SB, which, as pivot arm 71 is rotated, contacts a surface 73PS of plate 73P. In order to adjust the end of the chopping range, the user would loosen knob 73PK, move the plate 73P to the desired position and tighten knob 73PK.
- FIG. 15F Another height adjustment stop mechanism 74SS is shown in FIG. 15F, where like numerals refer to like parts.
- a shaft 74SKS may extend through the slot of front plate 74.
- Shaft 74SKS may be threadingly engaged to a knob 74SK and/or a stop 74SB, which would contact a surface of pivot arm 71 or of shaft 74KS.
- the user would loosen knob 74SK, move the knob/shaft/stop combination to the desired position and tighten knob 74SK.
- front plate 74, pivot arm 71 and/or chopping trunnion 73 may pivot together about a bevel axis 63A.
- Such bevel axis 63A may be substantially horizontal and is preferably substantially perpendicular to axis 73A.
- bevel axis 63A not be coplanar with the support surface of table body 41. Furthermore, it is preferable to locate a bevel axis 63A which provides two bevel positions where the distance between the support surface of table body 41 and the end of cutting wheel 76 are substantially equal. Referring to FIG. 14, such bevel axis 63A can be located by first selecting the two bevel positions of cutting wheel 76, and determining the angle difference X between both bevel positions.
- the two bevel positions are 0° and 45°, whereas angle difference X is 45°. Then, the lowermost corner of cutting wheel 76 when cutting wheel 76 is in the 0° bevel position and which is the corner farthest away from the cutting wheel 76 in the 45° bevel position is selected.
- An imaginary line IL is drawn from said lowermost corner at an angle Y off the plane containing said lowermost corner and being parallel to cutting wheel 76 when cutting wheel 76 is in the 0° bevel position.
- Angle Y is preferably half of angle difference X.
- imaginary line IL intersects the plane of cutting wheel 76 when cutting wheel 76 is in the 45° bevel position at a point above the support surface of table body 41.
- Bevel axis 63A can then be selected from any point of imaginary line IL, as all points in imaginary line IL will result in a bevel axis where which provides two bevel positions where the distance between the support surface of table body 41 and the end of cutting wheel 76 are substantially equal.
- bevel trunnion 63 may include a plate 62 with a slot 62S.
- a knob 73K extends through slot 62S and threadingly engages chopping trunnion 73. With such arrangement, the user can fix the bevel angle by tightening knob 73K.
- a bevel pointer 75 may be attached to the pivot arm 71 and/or front plate 74 via screw 75S so that bevel pointer 75 can pivot jointly therewith. The user can then determine the bevel angle of cutting wheel 76 by looking at the position of bevel pointer 75.
- a bevel angle scale or indicia 61I is disposed on arm body 61 to further assist in the determination of the present bevel angle.
- motor housing 78 may have an intake 781 disposed on or near the top of motor housing 78, through which air can enter motor housing 78.
- intake 781 preferably faces forwardly and/or away from cutting wheel 76, rather than facing cutting wheel 76.
- Motor housing 78 may have baffles 78B disposed internally to cause changes in the direction or velocity of the airflow. Such interruptions in the steady flow of air will preferably separate particulate matter 78FD from the air and/or to fall within motor housing 78M before they reach motor 78M.
- baffle 78DS between the airflow and the brush box 78BBB, which supports a motor brush 78BB which in turn contacts motor 78M.
- Such baffle 78DS would collect particulate matter 78FD from the air by redirecting the airflow away from brush box 78BBB.
- Filter 78F may be made of open cell foam, or other suitable filtering material. Filter 78F may be disposed near a drain 78E, so that any fluid collected by filter 78F can exit motor housing 78 via the drain 78E. Persons skilled in the art will recognize that, even though drain 78E is disposed on a bottom surface of motor housing 78 and that cooling air with a higher concentration of airborne contaminants may come in through drain 78E, such air may be filtered by filter 78F. Persons skilled in the art should also recognize that it is preferable to design filter 78F so that it can easily be removed through drain 78E and/or intake 78I.
- outlet 53 is preferably disposed in parallel with motor 78M.
- Outlet 53 and motor 78M preferably receive power via cables 54 which are connected to a plug 55.
- plug 55 is a ground fault circuit interrupt (GFCI) which trips a breaker (thus shutting off power) within about 50 milliseconds if the current exceeds about 5 milliamperes.
- GFCI ground fault circuit interrupt
- Persons skilled in the art will recognize that outlet 53 may also be a GFCI outlet.
- Switch 92 is preferably a single throw, double pole switch connected to both cables 54 and disposed between plug 55 and outlet 53/motor 78M. It is preferable that switch 92 be placed on arm body 61, so that it remains stationary, even when motor assembly 78 is beveled.
- guard assembly 80 partially covers cutting wheel 76.
- Guard assembly 80 may include a guard body 81, which partially covers at least the upper portion of cutting wheel 76. Guard body 81 is preferably pivotably attached to pivot arm 71 so that it can rotate about wheel axis WA.
- guard body 81 has a curved slot 82S, where the radii of the curved slot meet at a center, which is substantially aligned with wheel axis WA.
- a screw 82 may extend through slot 82S and pivot arm 71 and threadingly engage a knob (not shown). This knob can be rotated to fix the pivotal position of guard body 81 relative to pivot arm 71.
- a smaller cutting wheel such as 76' in FIG. 17B
- such arrangement allows the guard body 81 to remain in the same pivotal position relative to cutting wheel 76 regardless of the cutting wheel diameter. This is especially helpful for maintaining the fluid delivery assembly 100, discussed below, aligned with cutting wheel 76.
- guard assembly 80 may support fluid delivery assembly 100, which directs water and/or other fluids towards cutting wheel 76 for cooling cutting wheel 76 during the cutting operation.
- Fluid delivery assembly 100 comprises a hose 102 which is connected to and feeds fluid to a valve body 101.
- Valve body 101 may be attached to guard body 81.
- valve body 101 may have a notch 101N which receives a screw 81 S threadingly engaged to guard body 81.
- Valve body 101 in turn may send the fluid to two nozzles 104, each nozzle 104 being disposed on opposite sides of cutting wheel 76.
- Nozzles 104 in turn have holes 104H through which the fluid exits.
- Nozzles 104 are preferably carried by a carrier 103, which may be pivotably attached to valve body 101.
- Carrier 103 may be connected to pivoter 105. This enables the user to rotate nozzles 104 and/or carrier 103 to a desired position towards or away from cutting wheel 76 by rotating pivoter 105.
- Pivoter 105 preferably has a handle 105H to facilitate such rotation.
- nozzles 104 and/or carrier 103 can be biased away from cutting wheel 76 so that the fluid exiting through holes 104H does not contact cutting wheel 76. This placement advantageously reduces the amount of fluid misting.
- nozzles 104 may be made of an elastic or resilient material such that, when a workpiece T is pushed into contact with cutting wheel 76, workpiece T flexes nozzles 104 as shown in FIG. 19, so the exiting fluid can contact and/or cool cutting wheel 76.
- Making nozzles 104 of an elastic or resilient material may also prevent damage to nozzles 104 and/or fluid delivery assembly 100 when the workpiece T is returned to the original position as nozzles 104 would safely flex out of the way, as shown in the broken line position in FIG. 19.
- each nozzle 104 may have a rib 104R protruding therefrom. Rib 104R is preferably disposed above hole 104H to redirect the air flow AF created by the rotating cutting wheel 76. Such redirection allows the fluid flow FF exiting through nozzle hole 104H to remain in a laminar-type flow until it contacts cutting wheel 76 without disturbance from air flow AF, thus reducing fluid misting.
- hose 102 may include an elbow 102E, which has a plate 102P. Plate 102P can be inserted into an input 101I of valve body 101.
- a plate 106 rotatably attached to valve body 101 may have a slot 106S which captures plate 102P to maintain hose 102 connected to valve body 101.
- plate 106 may be rotatable attached to valve body 101 via a screw 106P.
- Guard assembly 80 may also have other means for controlling fluid flow.
- guard body 81 may have internal baffles 81B and/or a bottom wall 81W, which may be disposed as close as possible to cutting wheel 76. As cutting wheel 76 rotates along path BR, it carries fluid, fluid spray and/or mist. Internal baffles 81 B and/or bottom wall 81W catch the fluid, spray and/or mist off the rotating cutting wheel 76 and redirect such fluid to the rear of guard body 81, where it can be released into base 11.
- Guard assembly 80 may also have a flapper 83 attached to guard body 81.
- Flapper 83 may be made of rubber. Flapper 83 preferably has an upper portion 83R with substantially vertical ribs and a lower portion 83S without ribs. Such arrangement is advantageous as the ribs on the upper portion reduces the amount of mist created when fluid strikes flapper 83, whereas the lower portion 83S can lay flush on workpiece T and act as a wiper.
Landscapes
- Engineering & Computer Science (AREA)
- Mechanical Engineering (AREA)
- Life Sciences & Earth Sciences (AREA)
- Wood Science & Technology (AREA)
- Forests & Forestry (AREA)
- Mining & Mineral Resources (AREA)
- Power Engineering (AREA)
- Processing Of Stones Or Stones Resemblance Materials (AREA)
- Sawing (AREA)
- Saccharide Compounds (AREA)
- Steroid Compounds (AREA)
Claims (5)
- Une scie (10) comprenant :une base (11) ;un ensemble formant cadre (20) disposé sur la base ;un premier rail (31) disposé sur l'ensemble formant cadre, le premier rail ayant un axe longitudinal ;une table (40) disposée à coulissement sur le premier rail ;un ensemble formant scie, disposé sur au moins l'un de la base et de l'ensemble formant cadre, l'ensemble formant scie comprenant un moteur (70) et une roue à découper (76), entraînée par le moteur, dans laquelle, l'ensemble formant scie est susceptible de pivoter, par l'intermédiaire d'un ensemble formant bras (60), autour d'un axe horizontal (73A), de manière qu'un utilisateur puisse actionner la scie un mouvement de hachage,la scie étant caractérisée par le fait que l'ensemble formant scie est susceptible de pivoter sur l'ensemble formant bras (60), autour d'un axe de coupe en onglet (63A), et par un interrupteur (92), relié électriquement au moteur et disposé sur l'ensemble formant bras (60), de manière que, lorsque l'ensemble formant scie est pivoté autour de l'axe de coupe en onglet, l'interrupteur reste stationnaire.
- La scie selon la revendication 1, dans laquelle le premier rail (31) présente une première extrémité et la table est déplaçable au-delà de la première extrémité.
- La scie selon la revendication 1, dans laquelle la table (60) est déplaçable au-delà de la base (11).
- La scie selon la revendication 1, dans laquelle la base est formée d'un tube.
- La scie selon la revendication 1, dans laquelle le cadre est formé d'aluminium.
Priority Applications (2)
| Application Number | Priority Date | Filing Date | Title |
|---|---|---|---|
| EP20050009540 EP1568431B1 (fr) | 2002-11-01 | 2003-10-27 | Scie de carreaux |
| EP20070102681 EP1785211B1 (fr) | 2002-11-01 | 2003-10-27 | Scie pour carrelage |
Applications Claiming Priority (2)
| Application Number | Priority Date | Filing Date | Title |
|---|---|---|---|
| US42333502P | 2002-11-01 | 2002-11-01 | |
| US423335P | 2002-11-01 |
Related Child Applications (1)
| Application Number | Title | Priority Date | Filing Date |
|---|---|---|---|
| EP20050009540 Division EP1568431B1 (fr) | 2002-11-01 | 2003-10-27 | Scie de carreaux |
Publications (3)
| Publication Number | Publication Date |
|---|---|
| EP1415744A2 EP1415744A2 (fr) | 2004-05-06 |
| EP1415744A3 EP1415744A3 (fr) | 2004-06-16 |
| EP1415744B1 true EP1415744B1 (fr) | 2006-06-07 |
Family
ID=32094181
Family Applications (3)
| Application Number | Title | Priority Date | Filing Date |
|---|---|---|---|
| EP20030024657 Expired - Lifetime EP1415744B1 (fr) | 2002-11-01 | 2003-10-27 | Scie de carreaux |
| EP20070102681 Expired - Lifetime EP1785211B1 (fr) | 2002-11-01 | 2003-10-27 | Scie pour carrelage |
| EP20050009540 Expired - Lifetime EP1568431B1 (fr) | 2002-11-01 | 2003-10-27 | Scie de carreaux |
Family Applications After (2)
| Application Number | Title | Priority Date | Filing Date |
|---|---|---|---|
| EP20070102681 Expired - Lifetime EP1785211B1 (fr) | 2002-11-01 | 2003-10-27 | Scie pour carrelage |
| EP20050009540 Expired - Lifetime EP1568431B1 (fr) | 2002-11-01 | 2003-10-27 | Scie de carreaux |
Country Status (7)
| Country | Link |
|---|---|
| US (15) | US8286539B2 (fr) |
| EP (3) | EP1415744B1 (fr) |
| CN (3) | CN101108513B (fr) |
| AT (3) | ATE546250T1 (fr) |
| DE (2) | DE60315877T2 (fr) |
| ES (2) | ES2290816T3 (fr) |
| TW (1) | TWI320743B (fr) |
Cited By (2)
| Publication number | Priority date | Publication date | Assignee | Title |
|---|---|---|---|---|
| CN108214947A (zh) * | 2018-01-16 | 2018-06-29 | 葛润生 | 一种能够调节瓷砖倒角角度的切割方法 |
| CN108247869A (zh) * | 2018-01-16 | 2018-07-06 | 葛润生 | 一种能够调节瓷砖倒角角度的切割装置 |
Families Citing this family (61)
| Publication number | Priority date | Publication date | Assignee | Title |
|---|---|---|---|---|
| US7114494B2 (en) * | 1999-09-17 | 2006-10-03 | Husqvarna Professional Outdoor Products Inc. | Fluid pickup assembly and blade guard for a pavement treatment apparatus |
| US6932075B1 (en) * | 2003-12-24 | 2005-08-23 | Wen-Hai Tsao | Blade angle adjustment device for a stone cutter |
| US20060011191A1 (en) * | 2004-07-13 | 2006-01-19 | Elmer Vavricek | Tile saw stand |
| US20060266189A1 (en) * | 2005-05-27 | 2006-11-30 | Yuehting Chen | Saw blade angular adjustment device for a metal and wood cutting machine |
| US8584564B2 (en) * | 2006-04-21 | 2013-11-19 | Black & Decker Inc. | Table saw |
| ES2324381B1 (es) * | 2007-04-20 | 2010-05-26 | Raquel Durban Asensio (1/3) | Carcasa protectora de la herramienta de corte para maquinas cortadoras para la construccion. |
| US7810482B2 (en) * | 2007-06-04 | 2010-10-12 | Black & Decker Inc. | Tile cutting machine |
| US7686007B2 (en) * | 2007-06-04 | 2010-03-30 | Black & Decker Inc. | Tile saw with releasable tool |
| US7946906B2 (en) | 2007-06-04 | 2011-05-24 | Black & Decker Inc. | Tile saw with laser guide |
| US7810483B2 (en) * | 2007-06-04 | 2010-10-12 | Black & Decker Inc. | Rail guide with bearings for tile saw |
| US7987752B2 (en) * | 2008-03-18 | 2011-08-02 | Mk Diamond Products, Inc. | System and method for delivering pressurized fluid to a rotary cutting blade |
| US20090277315A1 (en) * | 2008-05-08 | 2009-11-12 | Alek Ipatenco | Tile saw |
| US7980163B2 (en) | 2008-05-20 | 2011-07-19 | Black & Decker Inc. | Air deflector assemblies for miter saws |
| ES2329865B1 (es) * | 2008-05-30 | 2010-09-06 | Airbus Operations, S.L. | Maquina de mecanizado superficial. |
| DE202008017787U1 (de) * | 2008-09-22 | 2010-07-15 | Abb Technology Ag | Durchflussmesseinrichtung, insbesondere induktive Durchflussmesseinrichtung |
| US11040464B2 (en) | 2009-03-17 | 2021-06-22 | Husqvarna Ab | Cutting machine with a liquid lubrication delivery system having a controlled liquid level |
| WO2010107425A1 (fr) * | 2009-03-17 | 2010-09-23 | Husqvarna Ab | Découpeuse à système d'alimentation en lubrifiant |
| CN201415446Y (zh) * | 2009-05-14 | 2010-03-03 | 泉峰(中国)贸易有限公司 | 瓷砖切割机 |
| US8215296B1 (en) | 2010-02-10 | 2012-07-10 | Jorge R Cisneros | Tile cutting table device |
| JP5457887B2 (ja) * | 2010-03-03 | 2014-04-02 | 株式会社マキタ | エンジンカッター |
| CN201659635U (zh) * | 2010-03-26 | 2010-12-01 | 南京搏峰电动工具有限公司 | 石材切割机 |
| CN101870006B (zh) * | 2010-05-18 | 2013-04-24 | 昆山华风风电科技有限公司 | 芯材对切装置 |
| JP2012206236A (ja) * | 2011-03-30 | 2012-10-25 | Brother Industries Ltd | 切断装置、及び保持部材 |
| US20120297948A1 (en) * | 2011-05-23 | 2012-11-29 | George Allen Kenton | Method to supply water to tile saw blade |
| US8677987B2 (en) | 2011-11-18 | 2014-03-25 | Robert Bosch Gmbh | Tile saw with removable table |
| TWI480120B (zh) * | 2011-11-23 | 2015-04-11 | Rexon Ind Corp Ltd | 工件擋板調整裝置 |
| US8783240B2 (en) * | 2011-12-16 | 2014-07-22 | Robert Bosch Gmbh | Tile saw with free-rolling wheels |
| CN104275749B (zh) * | 2013-07-02 | 2016-04-27 | 南京德朔实业有限公司 | 石材切割机 |
| USD741557S1 (en) | 2014-01-15 | 2015-10-20 | Milwaukee Electric Tool Corporation | Dust collector |
| USD742081S1 (en) | 2014-01-15 | 2015-10-27 | Milwaukee Electric Tool Corporation | Dust collector |
| ES2553839B1 (es) * | 2014-06-11 | 2016-07-21 | Germans Boada, S.A. | Chasis para cortadora eléctrica de elementos cerámicos |
| EP2965886B1 (fr) | 2014-06-18 | 2020-12-02 | Husqvarna AB | Carreau ou ensemble scie de maçonnerie présentant une capacité améliorée de mouillage de lame |
| US10654188B2 (en) * | 2014-12-31 | 2020-05-19 | Robert Bosch Tool Corporation | Guide foot for an oscillating cutting tool |
| US9993936B2 (en) | 2015-03-24 | 2018-06-12 | Black & Decker Inc. | Chop saw with improved storage mode |
| CN204889142U (zh) * | 2015-09-01 | 2015-12-23 | 浙江永强集团股份有限公司 | 一种太阳能多功能桌 |
| US9707700B2 (en) * | 2015-09-21 | 2017-07-18 | Tti (Macao Commercial Offshore) Limited | Tile saw |
| CN105290518A (zh) * | 2015-10-12 | 2016-02-03 | 广西平果恒通铜铝门业有限公司 | 一种铝材边框构条的45度切割机 |
| US10603819B2 (en) * | 2015-12-16 | 2020-03-31 | Black & Decker Inc. | Tile saw |
| US10583583B2 (en) | 2016-03-01 | 2020-03-10 | Tti (Macao Commercial Offshore) Limited | Table joining mechanism |
| TWI621513B (zh) * | 2016-03-18 | 2018-04-21 | 力山工業股份有限公司 | 磁磚切割機之收納式擋水裝置 |
| WO2018001094A1 (fr) * | 2016-06-30 | 2018-01-04 | 南京德朔实业有限公司 | Outil de coupe |
| US10252444B2 (en) | 2017-04-14 | 2019-04-09 | Tti (Macao Commercial Offshore) Limited | Tile saw |
| CN107876871B (zh) * | 2017-11-20 | 2019-04-26 | 阜阳大可新材料股份有限公司 | 一种板材切割方法 |
| TWI656931B (zh) * | 2018-02-01 | 2019-04-21 | 力山工業股份有限公司 | 可收折鋸切機 |
| US10857688B2 (en) * | 2018-02-11 | 2020-12-08 | Chao-Ying LEE | Method and system of rivering filtration for power saw machine |
| US10857604B2 (en) * | 2018-02-11 | 2020-12-08 | Chao-Ying LEE | Method and system of rivering filtration for power saw machine |
| CN108656368A (zh) * | 2018-04-11 | 2018-10-16 | 南京恒聚通电子科技有限公司 | 一种智能石材切割机器人 |
| US10875109B1 (en) | 2018-04-30 | 2020-12-29 | Kreg Enterprises, Inc. | Adaptive cutting system |
| DE102019200366A1 (de) * | 2019-01-14 | 2020-07-16 | Festool Gmbh | Sägeblattabdeckung, Anschlagseinheit und Tischsäge |
| WO2021035082A1 (fr) * | 2019-08-22 | 2021-02-25 | Black & Decker, Inc. | Scie à carreaux |
| USD969181S1 (en) * | 2019-09-30 | 2022-11-08 | Black & Decker, Inc. | Tile saw |
| WO2021105527A1 (fr) * | 2019-11-27 | 2021-06-03 | Germans Boada, S.A. | Dispositif de réglage pour machines de coupe de carreaux et analogues |
| US11065700B1 (en) | 2020-05-01 | 2021-07-20 | John L. Chipman | Post notch forming tool and related methods |
| US20220118572A1 (en) * | 2020-10-15 | 2022-04-21 | Matthew BLAZEKOVICH | Tile saw splash guard and reservoir system |
| CA3166514A1 (fr) | 2020-10-30 | 2022-05-05 | Germans Boada, S.A. | Machine de coupe electrique |
| TWI764465B (zh) * | 2020-12-23 | 2022-05-11 | 力山工業股份有限公司 | 具收合功能的磁磚切割機 |
| TWI764464B (zh) * | 2020-12-23 | 2022-05-11 | 力山工業股份有限公司 | 具有控水裝置的磁磚切割機 |
| US11642732B1 (en) * | 2021-11-05 | 2023-05-09 | Germans Boada, S.A. | Electric saw |
| CN114474445A (zh) * | 2022-03-28 | 2022-05-13 | 重庆双东实业有限公司 | 一种大理石加工机床清洁排屑装置 |
| KR20250086704A (ko) * | 2022-10-17 | 2025-06-13 | 제이피엘 글로벌, 엘엘씨 | 집진 시스템이 통합된 건식 절단 레일 톱 |
| TWI864738B (zh) * | 2023-05-05 | 2024-12-01 | 力山工業股份有限公司 | 磁磚切割機及其抵靠裝置 |
Family Cites Families (197)
| Publication number | Priority date | Publication date | Assignee | Title |
|---|---|---|---|---|
| US2899781A (en) * | 1959-08-18 | williams | ||
| US124841A (en) * | 1872-03-19 | Improvement in churns | ||
| US637214A (en) * | 1898-04-14 | 1899-11-14 | William P Powell | Adjustable gage for cut-off saws. |
| US1563317A (en) | 1923-09-22 | 1925-12-01 | Westinghouse Electric & Mfg Co | Saw guard |
| US1511797A (en) | 1924-02-15 | 1924-10-14 | Frank E Berghold | Saw guard |
| US1926828A (en) * | 1927-02-02 | 1933-09-12 | U S Slieing Machine Company | Guide for slicing machines |
| US1880885A (en) * | 1927-02-21 | 1932-10-04 | Cromar Co | Sawing machine |
| US1923853A (en) * | 1928-02-07 | 1933-08-22 | Us Slicing Machine Co | Slicing machine guide |
| US1831124A (en) | 1930-01-02 | 1931-11-10 | Koster Cornelius | Work carrier |
| US1830579A (en) | 1930-01-30 | 1931-11-03 | Wappat Inc | Electric handsaw |
| US2000667A (en) * | 1931-12-11 | 1935-05-07 | William C Osterholm | Grinding machine |
| US2055931A (en) | 1933-04-12 | 1936-09-29 | Allis Louis Co | Dynamo-electric machine |
| US2173587A (en) * | 1937-04-01 | 1939-09-19 | Miller Printing Machinery Co | Sawing and trimming machine |
| US2246761A (en) | 1938-03-31 | 1941-06-24 | Edward M Saliba | Portable cutting tool |
| US2346961A (en) | 1941-10-13 | 1944-04-18 | Knapp Monarch Co | Electric handsaw |
| GB554861A (en) * | 1941-11-10 | 1943-06-22 | Papworth Ltd | Work table with sine bar adjustment |
| US2383195A (en) * | 1943-10-06 | 1945-08-21 | Alfred E Horman | Woodworking machine carriage |
| US2450601A (en) * | 1945-02-24 | 1948-10-05 | Lasar William | Reciprocating carriage for endless band meat cutting machines |
| US2450371A (en) | 1945-03-24 | 1948-09-28 | Coates Neligh Clair | Masonry saw |
| US2485274A (en) * | 1945-07-25 | 1949-10-18 | Roy G Garrett | Cutoff gauge for saw tables |
| US2589251A (en) | 1945-08-24 | 1952-03-18 | Reconstruction Finance Corp | Fluid operated measuring or control apparatus |
| US2445676A (en) * | 1945-11-19 | 1948-07-20 | Lasar William | Reciprocating worktable for band saws with means for retracting the table from the cutting plane after each cutting stroke |
| US2464117A (en) * | 1946-10-28 | 1949-03-08 | Neligh C Coates | Conveyer cart for masonry saws |
| US2598251A (en) * | 1946-10-31 | 1952-05-27 | Edwin E Gesner | Tool supporting carriage |
| US2441535A (en) | 1946-11-15 | 1948-05-11 | Champion Mfg Co | Masonry cutter |
| US2693207A (en) | 1948-01-14 | 1954-11-02 | Mc Culloch Motors Corp | Gasoline powered handsaw |
| DE830270C (de) * | 1948-12-09 | 1952-02-04 | Friedrich Moogk | Rollenfuehrung |
| US2691398A (en) * | 1950-09-25 | 1954-10-12 | Us Slicing Machine Co Inc | Gauge plate adjusting mechanism for slicing machines |
| US2624984A (en) | 1950-10-04 | 1953-01-13 | Victor Engineering Corp | Masonry saw |
| US2771821A (en) * | 1953-01-23 | 1956-11-27 | Beusch Andrew | Angular work table |
| US2739624A (en) | 1953-03-09 | 1956-03-27 | Cullen Y Turner | Saw table with guide means for portable electric saws |
| US2716402A (en) | 1954-06-01 | 1955-08-30 | Sr Albert Harrison | Masonry cutting machine |
| US2726652A (en) | 1954-08-30 | 1955-12-13 | Murdock H Brittain | Masonry saw |
| US2787301A (en) * | 1954-11-04 | 1957-04-02 | Russell W Anderson | Table saw miter gauge |
| US2747625A (en) * | 1954-11-12 | 1956-05-29 | Atkins Ind Inc | Block-and-tape lumber measuring device for bench saws |
| US2774131A (en) * | 1955-01-31 | 1956-12-18 | Continental Machines | Metal cutting band saw with manually controllable power driven work feed |
| US2863440A (en) | 1956-05-14 | 1958-12-09 | Clipper Mfg Company | Masonry saw |
| US2819709A (en) | 1956-08-09 | 1958-01-14 | Richard K Macgregor | Masonry saw frame |
| US2941554A (en) | 1957-05-01 | 1960-06-21 | Frank M Long | Electric hand saw mitering guide |
| US2894543A (en) | 1957-05-16 | 1959-07-14 | Jr Hyrle A Ivy | Mitering attachment for power saws |
| US2895515A (en) * | 1957-11-07 | 1959-07-21 | Ende Don | Miter jig attachment for table saws |
| US2913926A (en) | 1957-12-12 | 1959-11-24 | Hammond Machinery Builders Inc | Brush-type guard for printer's saw |
| GB913651A (en) * | 1958-02-19 | 1962-12-19 | Wilfred Ernest Gale | Improvements in or relating to compound mitre-cutting devices |
| US2890693A (en) | 1959-01-28 | 1959-06-16 | Robert G Evans Company | Workpiece conveyor cart for masonry saws |
| US2998813A (en) * | 1959-10-01 | 1961-09-05 | Harry R Wilson | Masonry saw |
| US3108349A (en) * | 1960-06-23 | 1963-10-29 | Vitramon Inc | Apparatus for cutting sheets of soft semi-plastic material |
| US3007499A (en) | 1960-09-12 | 1961-11-07 | Portable Electric Tools Inc | Universal saw mount for portable power saws on machine supports |
| US3299608A (en) * | 1963-08-29 | 1967-01-24 | Oscar Mayer & Company Inc | Packaging machine |
| US3265450A (en) * | 1963-10-17 | 1966-08-09 | Gen Motors Corp | Roller track apparatus |
| US3302669A (en) * | 1964-06-29 | 1967-02-07 | Edler Adolph | Motor powered radial arm tool support |
| US3336177A (en) * | 1965-06-30 | 1967-08-15 | Beck Clayborne Colon | Automatic drawer assembling machine |
| US3298097A (en) * | 1966-04-18 | 1967-01-17 | Beecee Mfg And Supply Company | Sawing machine |
| US3342226A (en) * | 1966-04-29 | 1967-09-19 | Henry J Marcoux | Collapsible work table |
| US3389724A (en) | 1966-06-27 | 1968-06-25 | Bryant M. Paul | Saw guide |
| US3463137A (en) * | 1966-10-03 | 1969-08-26 | Lukens Steel Co | Jig for precision refractory cutting |
| US3476161A (en) * | 1966-10-21 | 1969-11-04 | Laurel E Dunlap | Tool guide support and saw guard |
| US3485275A (en) | 1966-12-02 | 1969-12-23 | Robert Joseph Boudreau | Portable saw guide |
| US3538964A (en) * | 1967-11-20 | 1970-11-10 | Rockwell Mfg Co | Motor driven table saw |
| US3556076A (en) * | 1969-01-17 | 1971-01-19 | King Seeley Thermos Co | Portable barbecue grill |
| US3621829A (en) * | 1969-04-23 | 1971-11-23 | Christensen Diamond Prod Co | Masonry cutting apparatus |
| US3635206A (en) * | 1970-10-12 | 1972-01-18 | Robert G Evans Co | Adjustable masonry saw |
| US3727502A (en) * | 1971-05-06 | 1973-04-17 | A Steinman | Saw-table construction |
| JPS5138471B2 (fr) * | 1972-02-08 | 1976-10-21 | ||
| US3777792A (en) * | 1972-08-14 | 1973-12-11 | P Jameson | Automatic bed frame machine |
| DE2409420C3 (de) * | 1974-02-27 | 1979-06-07 | Fa. Wilhelm Altendorf, 4950 Minden | Rollwagen |
| US3978625A (en) * | 1975-02-18 | 1976-09-07 | Teer, Wickwire & Company | Grinding wheel coolant nozzle |
| US4055206A (en) * | 1975-05-14 | 1977-10-25 | Griffin Carl W | Composite shop trailer |
| US4133360A (en) | 1976-01-12 | 1979-01-09 | Anthony Sanfilippo | Portable circular power hand saw bench |
| US4026173A (en) * | 1976-08-11 | 1977-05-31 | Livick Lester R | Adjustable device for feeding work pieces of different thicknesses past a rip saw for cutting purposes |
| US4105055A (en) * | 1976-09-01 | 1978-08-08 | Robert Brenta | Portable workshop |
| US4061305A (en) * | 1976-10-04 | 1977-12-06 | The Black And Decker Manufacturing Company | Foldable, portable support stand |
| US4073484A (en) * | 1976-10-04 | 1978-02-14 | The Black And Decker Manufacturing Company | Portable workbench assembly |
| US4096789A (en) | 1977-04-06 | 1978-06-27 | Kimball International, Inc. | Saw guard |
| US4208936A (en) * | 1977-10-17 | 1980-06-24 | Aew Engineering Co. Ltd. | Machines for cutting meat and the like |
| US4266376A (en) | 1979-02-09 | 1981-05-12 | Black & Decker Inc. | Portable electrically energized surface finishing tool |
| US4256000A (en) * | 1979-06-04 | 1981-03-17 | Charles Seidel | Adjustable workstop |
| US4280472A (en) | 1979-11-19 | 1981-07-28 | John Cochran | Masonry saw |
| CA1121695A (fr) * | 1980-03-10 | 1982-04-13 | Michele Diplacido | Scie sauteuse de macon |
| US4378716A (en) | 1980-03-10 | 1983-04-05 | Volk Michael J | Ripper attachment for multi-purpose woodworking power tool guide table |
| US4350193A (en) * | 1980-05-01 | 1982-09-21 | Central Quality Industries, Inc. | Power tool accessory table |
| US4369822A (en) * | 1980-11-17 | 1983-01-25 | Rice Robert C | Combination tool chest dolly and leaved workbench |
| US4412468A (en) * | 1981-07-06 | 1983-11-01 | Bucy James D | Table mounted stop gauge for a cutoff saw |
| US4428159A (en) * | 1981-07-29 | 1984-01-31 | Sigetich John D | Portable, direct drive abrasive saw |
| US4446845A (en) | 1981-08-25 | 1984-05-08 | Equipment Development Co. | Self-contained gasoline driven portable masonry saw |
| US4497353A (en) * | 1981-09-10 | 1985-02-05 | Sproat Jr William B | Multipurpose material working tool |
| US4390216A (en) * | 1981-09-16 | 1983-06-28 | Camsco, Inc. | Carriage having integral spring |
| AU571438B2 (en) | 1982-03-03 | 1988-04-21 | Dols Enterprises Pty. Ltd. | Tile cutting apparatus |
| DE3236824C2 (de) | 1982-10-05 | 1986-07-03 | Mauser-Werke Oberndorf Gmbh, 7238 Oberndorf | Vorrichtung zur Aufnahme von Werkstücken |
| US4515048A (en) | 1983-08-01 | 1985-05-07 | Forsell Glenn W | Method and apparatus for trimming lead wires projecting from printed circuit boards |
| US4510980A (en) * | 1983-11-16 | 1985-04-16 | Shopsmith, Inc. | Table assembly for a multipurpose tool |
| US4553284A (en) * | 1984-03-12 | 1985-11-19 | Strumbos William P | Vacuum cleaner universal nozzle |
| FR2561570A1 (fr) | 1984-03-26 | 1985-09-27 | Acma Denninger | Dispositif de protection par capot a lamelles pour deligneuse |
| US4675999A (en) | 1984-11-16 | 1987-06-30 | Hitachi Koki Company, Ltd. | Portable power tool equipped with dust collector |
| US4619081A (en) * | 1985-02-28 | 1986-10-28 | General Signal Corporation | Combined nozzle with air foil |
| US4660450A (en) * | 1985-10-15 | 1987-04-28 | Philip Rafalow | Portable guide for power saw |
| CA1292172C (fr) * | 1986-04-14 | 1991-11-19 | Kouichi Miyamoto | Scie radiale |
| US4778315A (en) * | 1986-09-26 | 1988-10-18 | The Boeing Company | Chip removal and tool lubricating device and method |
| JPH082986B2 (ja) | 1986-10-31 | 1996-01-17 | 日本ユニカー株式会社 | シリカ系多孔質物質を含有する連続気泡型架橋エチレン系樹脂発泡体 |
| US4742257A (en) | 1987-01-29 | 1988-05-03 | General Motors Corporation | Totally enclosed fan cooled induction motor with improved cooling |
| US4885965A (en) * | 1987-02-13 | 1989-12-12 | Ipco Corporation | Rotary saw for sectioning dental models |
| US4896142A (en) | 1987-04-16 | 1990-01-23 | Aycox Dale G | Moisture detection system for carpet cleaning apparatus |
| DE3716258A1 (de) | 1987-05-15 | 1988-12-01 | Black & Decker Overseas Ag | Staender fuer transportable bearbeitungsgeraete |
| US4817832A (en) * | 1987-09-10 | 1989-04-04 | Nagy Joan M | Telescoping nozzle assembly |
| SE462713B (sv) * | 1988-04-27 | 1990-08-20 | Drinx Productions Ab | Doserings- och blandningsanordning |
| US4920845A (en) | 1988-05-04 | 1990-05-01 | Richer Blanchette | Miter box for portable circular saw |
| US4991354A (en) | 1988-10-31 | 1991-02-12 | Great Eagle Enterprises Corporation | Abrasive saw adjustable workpiece supporting frame |
| US4924843A (en) * | 1988-11-28 | 1990-05-15 | Waren Jerry B | Masonry saw jig |
| US5046707A (en) * | 1988-11-30 | 1991-09-10 | The United States Of America As Represented By The Secretary Of The Air Force | Spherical positioning pin |
| DE3843236A1 (de) | 1988-12-22 | 1990-06-28 | Bosch Gmbh Robert | Handkreissaege |
| US5116249A (en) * | 1989-08-11 | 1992-05-26 | Ryobi Limited | Table saw |
| JPH02191501A (ja) * | 1989-01-20 | 1990-07-27 | Fuji Photo Film Co Ltd | 真空濃縮乾燥方法 |
| US4929130A (en) * | 1989-06-28 | 1990-05-29 | United Technologies Corporation | Grinding wheel guard apparatus |
| US4940067A (en) * | 1989-12-06 | 1990-07-10 | Beard Paul R | Joining apparatus for cutting work pieces |
| US5063806A (en) * | 1990-06-28 | 1991-11-12 | Mayfield Alfred B | Anti-kick forward device for radial arm saws |
| US5084972A (en) | 1991-01-25 | 1992-02-04 | Waugh Ricky L | Device for collecting dust from a portable circular saw |
| US5179886A (en) | 1991-05-15 | 1993-01-19 | Rathje Jr Marvin E | Radial beam arm saw table |
| US5190421A (en) * | 1991-11-20 | 1993-03-02 | Hardinge Brothers, Inc. | Coolant supply system for a machine tool |
| US5161590A (en) * | 1992-01-27 | 1992-11-10 | Otto David L | Miter saw table apparatus |
| US5263620A (en) * | 1992-02-28 | 1993-11-23 | International Business Machines Corporation | Wirebond removal apparatus using alternating fluid stream |
| CA2063612A1 (fr) | 1992-03-20 | 1993-09-21 | Andre A. Ferlatte | Dispositif de protection pour moteur |
| US5437214A (en) | 1992-05-22 | 1995-08-01 | Makita Corporation | Miter saw |
| US5617909A (en) | 1992-09-14 | 1997-04-08 | Duginske; Mark A. | Woodworking machinery jig and fixture system |
| US5337641A (en) | 1992-09-14 | 1994-08-16 | Duginske Mark A | Woodworking machinery jig and fixture system |
| DE4238936A1 (de) | 1992-11-19 | 1994-05-26 | Bosch Gmbh Robert | Elektromotorische Handkreissäge |
| JPH06270138A (ja) * | 1993-03-18 | 1994-09-27 | Yamana Seisakusho:Kk | 丸鋸の冷却装置 |
| US5372536A (en) * | 1993-05-21 | 1994-12-13 | Bialek; John S. | Glass bevelling machine |
| CA2109886C (fr) | 1993-11-24 | 1998-07-21 | Denis Robert | Dispositif de positionnement pour le travail du bois |
| US5495784A (en) | 1994-09-29 | 1996-03-05 | Chen; Ruey-Zon | Cutting depth setting device for a saw machine |
| US5577428A (en) * | 1994-10-21 | 1996-11-26 | Rueb; Jacob | Portable saw guide apparatus |
| US5509360A (en) * | 1994-12-09 | 1996-04-23 | Waffer Industrial Corp. | Foldable tray table |
| US5651727A (en) * | 1995-01-20 | 1997-07-29 | Hoffman & Klemperer | Grout removing tool and adapter which employs a water delivery system |
| DE19614580C2 (de) | 1995-04-14 | 2000-10-05 | Makita Corp | Ventilationseinrichtung in einem Motorwerkzeug |
| JPH08296639A (ja) * | 1995-04-25 | 1996-11-12 | Asahi Seiko Kk | 直線案内軸受ユニット |
| JP3289123B2 (ja) | 1995-05-09 | 2002-06-04 | 株式会社マキタ | 切断機 |
| US5931073A (en) | 1995-08-28 | 1999-08-03 | Hoyer-Ellefsen; Sigurd | Bevel angle control on translatory saw apparatus |
| JP3286725B2 (ja) * | 1995-10-04 | 2002-05-27 | 株式会社マキタ | 卓上丸鋸盤 |
| US5676124A (en) * | 1996-01-11 | 1997-10-14 | K Diamond Inc. | Ceramic and masonry power saw |
| JPH09216350A (ja) | 1996-02-09 | 1997-08-19 | Mutoh Ind Ltd | インクジェット出力装置 |
| US6286823B1 (en) * | 1996-03-06 | 2001-09-11 | Manfred A. Morghen | Workpiece indexing and clamping system |
| US6080041A (en) * | 1996-05-23 | 2000-06-27 | Greenland; Darrell | Compact motorized table saw |
| US20010032534A1 (en) * | 1996-06-17 | 2001-10-25 | Warren A. Ceroll | Table saw with switched reluctance motor |
| US5778953A (en) * | 1996-07-22 | 1998-07-14 | Trojan Manufacturing, Inc. | Method and apparatus for carrying and supporting a portable bench top saw |
| US5901270A (en) * | 1996-09-12 | 1999-05-04 | The Plastic Forming Company, Inc. | Apparatus for hot fluid trimming of plastic molded articles |
| US5848822A (en) * | 1997-04-01 | 1998-12-15 | Wu; Tien Tzu | Folding collapsible chair |
| US5746193A (en) | 1997-04-02 | 1998-05-05 | Equipment Development Company, Inc. | Press assembly for a portable masonry cut-off saw |
| US5906538A (en) * | 1997-04-30 | 1999-05-25 | Welch; Richard Joseph | Cutting apparatus with abrasive wheel |
| US5988243A (en) * | 1997-07-24 | 1999-11-23 | Black & Decker Inc. | Portable work bench |
| US6276990B1 (en) * | 1997-08-05 | 2001-08-21 | Darrell Greenland | Tile saw having improved rollers |
| US6412380B2 (en) * | 1997-11-21 | 2002-07-02 | Edward E. Belfiglio | Saw blade guide and components therefor |
| US5884681A (en) | 1997-12-29 | 1999-03-23 | Nickles; Steven R. | Method and apparatus for connecting or securing a power tool with respect to a work surface |
| US5947103A (en) | 1998-01-05 | 1999-09-07 | Saccon; Lorenzo | Stone tile finishing system |
| JP3884865B2 (ja) | 1998-02-06 | 2007-02-21 | 株式会社マキタ | 卓上丸鋸盤 |
| US6119676A (en) * | 1998-03-19 | 2000-09-19 | Greenland; Darrell | Saw having movable table and saw blade |
| US5980167A (en) * | 1998-04-03 | 1999-11-09 | Chen; Ruey-Zon | Table fence assembly of drill press capable of facilitating accurate drilling on workpiece |
| US6065721A (en) * | 1998-04-17 | 2000-05-23 | Sumpton; Danny M | Switch clearing system |
| US6000387A (en) * | 1998-04-20 | 1999-12-14 | Lee; Wy Peron | Power saw with fluid cooling bearing assembly |
| US5937924A (en) * | 1998-05-04 | 1999-08-17 | Cooper; William C. | Multiple-section workbench |
| CN2351263Y (zh) * | 1998-06-24 | 1999-12-01 | 李威鹏 | 具有液冷轴承装置之电锯切割机 |
| US6851345B1 (en) * | 1998-07-02 | 2005-02-08 | John P. Kennelly | Cutting table fence |
| US6427677B1 (en) | 1998-11-02 | 2002-08-06 | Black & Decker Inc. | Tile saw |
| US6119677A (en) * | 1998-11-02 | 2000-09-19 | Tebbe; Joseph J. | Apparatus for clamping and precisely cutting metal castings |
| CN1198700C (zh) * | 1998-11-12 | 2005-04-27 | 布莱克和戴克公司 | 斜切锯操作台 |
| US6108912A (en) | 1998-12-23 | 2000-08-29 | Radigan; Michael C. | Dust collecting shield for power tools |
| US6273081B1 (en) * | 1999-01-08 | 2001-08-14 | Paul Gorgol | Portable gasoline masonry saw with dust removal system |
| US6283110B1 (en) * | 1999-01-12 | 2001-09-04 | Wy Peron Lee | Cutting saw machine |
| US6065724A (en) | 1999-05-10 | 2000-05-23 | Arslan; Robert | Compact bracket for supporting shelves |
| US6182935B1 (en) * | 1999-06-09 | 2001-02-06 | S-B Power Tool Company | Folding table for use with a table saw |
| US6637424B1 (en) | 1999-06-25 | 2003-10-28 | Carver Saw Co. | Cutting apparatus and methods of operation |
| DE19950494A1 (de) * | 1999-10-20 | 2001-04-26 | Bruno Gruber | Schiebetisch für eine Tischkreissäge |
| US6578856B2 (en) * | 2000-01-10 | 2003-06-17 | W. Scott Kahle | Collapsible portable saw stand |
| US6263866B1 (en) * | 2000-01-18 | 2001-07-24 | Wen-Hai Tsao | Stone cutter |
| US6272961B1 (en) * | 2000-02-07 | 2001-08-14 | Wy Peron Lee | Cutting machine with built-in miter cutting feature |
| US6687972B1 (en) | 2000-02-18 | 2004-02-10 | Mk Diamond Products, Inc. | Method of forming a portable cutting apparatus |
| US6481645B1 (en) * | 2000-05-22 | 2002-11-19 | Shurflo Pump Mfg. Company, Inc. | Condiment dispensing nozzle apparatus and method |
| JP3925046B2 (ja) * | 2000-06-29 | 2007-06-06 | 日立工機株式会社 | 卓上丸鋸 |
| US6347624B1 (en) * | 2000-11-17 | 2002-02-19 | Porter-Cable/Delta | Tile saw |
| US6672188B2 (en) * | 2001-01-30 | 2004-01-06 | Wy Peron Lee | Frame structure for power saw machine |
| US7509900B2 (en) * | 2001-02-20 | 2009-03-31 | Young Ronald E | Scroll saw with dust collector |
| US6460818B1 (en) * | 2001-04-26 | 2002-10-08 | Garelick Mfg. Co. | Adjustable lockable tandem slide for boat seat |
| US6508244B2 (en) * | 2001-05-01 | 2003-01-21 | Wy Peron Lee | Tile cutting guide arrangement for power saw machine |
| AUPR566401A0 (en) * | 2001-06-13 | 2001-07-12 | Terpstra Enterprises Pty Ltd | Extraction apparatus |
| US6508281B1 (en) * | 2001-07-19 | 2003-01-21 | Tian Wang Wang | Adjustable and extendible platform for working table |
| US6692424B2 (en) * | 2001-08-01 | 2004-02-17 | Gammerler Corporation | Rotary trimmer apparatus and method |
| US6752140B1 (en) * | 2001-09-21 | 2004-06-22 | Carver Saw Co. | Apparatus and method for adjusting the cutting angle of a cutting tool |
| US20030056630A1 (en) | 2001-09-21 | 2003-03-27 | Euther Phillips | Miter guide |
| TWI234431B (en) | 2002-01-16 | 2005-06-21 | Honda Motor Co Ltd | Working machine having front-rotary working unit |
| US6619348B2 (en) | 2002-01-25 | 2003-09-16 | Tian Wang Wang | Adjustable and extendible platform for working table |
| US6745803B2 (en) * | 2002-03-21 | 2004-06-08 | Anthony Sanfilippo | Portable woodworking device |
| US6752139B2 (en) | 2002-08-13 | 2004-06-22 | Wy Peron Lee | Worktable for cutting machine |
| US6828700B2 (en) | 2002-09-03 | 2004-12-07 | Lasko Holdings, Inc. | Apparatus and method for cooling an electric motor |
| US6679244B1 (en) * | 2002-11-13 | 2004-01-20 | Wen-Hai Tsao | Structurally improved stone cutter |
| US6775917B1 (en) | 2003-03-20 | 2004-08-17 | James L. Campbell | Adjustable angle cutting jig device and method of using |
| US7086434B2 (en) * | 2003-12-04 | 2006-08-08 | Wy Peron Lee | Docking frame for power saw machine |
| DE102004038507B4 (de) * | 2004-08-07 | 2008-04-10 | Grammer Ag | Rollenführung für verstellbare Fahrzeugsitze |
| US7044039B2 (en) | 2004-08-31 | 2006-05-16 | Powell Michael S | Radial arm saw safety top |
| CA2512116A1 (fr) * | 2005-07-14 | 2007-01-14 | Darrin Eugene Smith | Table coulissante pour etabli |
| US20080087153A1 (en) * | 2006-10-11 | 2008-04-17 | Wy Peron Lee | Table sliding arrangement for power saw machine |
-
2003
- 2003-10-17 US US10/688,668 patent/US8286539B2/en not_active Expired - Fee Related
- 2003-10-27 DE DE2003615877 patent/DE60315877T2/de not_active Expired - Lifetime
- 2003-10-27 AT AT07102681T patent/ATE546250T1/de active
- 2003-10-27 EP EP20030024657 patent/EP1415744B1/fr not_active Expired - Lifetime
- 2003-10-27 ES ES05009540T patent/ES2290816T3/es not_active Expired - Lifetime
- 2003-10-27 AT AT03024657T patent/ATE328693T1/de not_active IP Right Cessation
- 2003-10-27 DE DE2003605836 patent/DE60305836T2/de not_active Expired - Lifetime
- 2003-10-27 AT AT05009540T patent/ATE370810T1/de not_active IP Right Cessation
- 2003-10-27 EP EP20070102681 patent/EP1785211B1/fr not_active Expired - Lifetime
- 2003-10-27 ES ES03024657T patent/ES2264751T3/es not_active Expired - Lifetime
- 2003-10-27 EP EP20050009540 patent/EP1568431B1/fr not_active Expired - Lifetime
- 2003-10-31 TW TW92130495A patent/TWI320743B/zh not_active IP Right Cessation
- 2003-11-01 CN CN2007101411580A patent/CN101108513B/zh not_active Expired - Fee Related
- 2003-11-01 CN CN2007101411595A patent/CN101108514B/zh not_active Expired - Fee Related
- 2003-11-01 CN CNB200310125451XA patent/CN100450736C/zh not_active Expired - Fee Related
-
2005
- 2005-01-27 US US11/044,854 patent/US7455003B2/en not_active Expired - Lifetime
- 2005-01-28 US US11/045,752 patent/US7328639B2/en not_active Expired - Fee Related
- 2005-02-07 US US11/052,407 patent/US7308844B2/en not_active Expired - Lifetime
-
2007
- 2007-05-29 US US11/807,489 patent/US7950315B2/en not_active Expired - Lifetime
- 2007-10-11 US US11/974,189 patent/US8001875B2/en not_active Expired - Lifetime
-
2011
- 2011-05-10 US US13/104,611 patent/US9073236B2/en not_active Expired - Lifetime
- 2011-07-20 US US13/186,508 patent/US9623588B2/en not_active Expired - Lifetime
-
2012
- 2012-09-13 US US13/613,505 patent/US9738010B2/en not_active Expired - Lifetime
- 2012-09-13 US US13/613,522 patent/US9044878B2/en not_active Expired - Lifetime
- 2012-09-13 US US13/613,536 patent/US9016180B2/en not_active Expired - Lifetime
- 2012-09-13 US US13/613,420 patent/US20130055865A1/en not_active Abandoned
- 2012-09-13 US US13/613,561 patent/US20130055870A1/en not_active Abandoned
- 2012-09-13 US US13/613,551 patent/US20130055869A1/en not_active Abandoned
-
2017
- 2017-08-02 US US15/666,629 patent/US11554516B2/en not_active Expired - Lifetime
Cited By (3)
| Publication number | Priority date | Publication date | Assignee | Title |
|---|---|---|---|---|
| CN108214947A (zh) * | 2018-01-16 | 2018-06-29 | 葛润生 | 一种能够调节瓷砖倒角角度的切割方法 |
| CN108247869A (zh) * | 2018-01-16 | 2018-07-06 | 葛润生 | 一种能够调节瓷砖倒角角度的切割装置 |
| CN108214947B (zh) * | 2018-01-16 | 2021-08-27 | 肇庆市新顺兴陶瓷有限公司 | 一种能够调节瓷砖倒角角度的切割方法 |
Also Published As
Similar Documents
| Publication | Publication Date | Title |
|---|---|---|
| EP1415744B1 (fr) | Scie de carreaux | |
| US20220168924A1 (en) | Tile saw | |
| EP4326516A1 (fr) | Scie à carreaux |
Legal Events
| Date | Code | Title | Description |
|---|---|---|---|
| PUAI | Public reference made under article 153(3) epc to a published international application that has entered the european phase |
Free format text: ORIGINAL CODE: 0009012 |
|
| PUAL | Search report despatched |
Free format text: ORIGINAL CODE: 0009013 |
|
| AK | Designated contracting states |
Kind code of ref document: A2 Designated state(s): AT BE BG CH CY CZ DE DK EE ES FI FR GB GR HU IE IT LI LU MC NL PT RO SE SI SK TR |
|
| AX | Request for extension of the european patent |
Extension state: AL LT LV MK |
|
| AK | Designated contracting states |
Kind code of ref document: A3 Designated state(s): AT BE BG CH CY CZ DE DK EE ES FI FR GB GR HU IE IT LI LU MC NL PT RO SE SI SK TR |
|
| AX | Request for extension of the european patent |
Extension state: AL LT LV MK |
|
| 17P | Request for examination filed |
Effective date: 20040705 |
|
| 17Q | First examination report despatched |
Effective date: 20040804 |
|
| AKX | Designation fees paid |
Designated state(s): AT BE BG CH CY CZ DE DK EE ES FI FR GB GR HU IE IT LI LU MC NL PT RO SE SI SK TR |
|
| GRAP | Despatch of communication of intention to grant a patent |
Free format text: ORIGINAL CODE: EPIDOSNIGR1 |
|
| RIN1 | Information on inventor provided before grant (corrected) |
Inventor name: MOSS, DARREN B. Inventor name: CEROLL, WARREN A. Inventor name: CHAIKOWSKY, PETER Inventor name: SPENCER, WILLILAM D. Inventor name: TAYLOR, WILLIAM S. Inventor name: SHEDDY, GREGG L. Inventor name: WRIGHT, STUART J. Inventor name: MANNARINO, FRANK A. Inventor name: ZHAO, JIANGANG Inventor name: SCHROEDER, JAMES A. |
|
| GRAS | Grant fee paid |
Free format text: ORIGINAL CODE: EPIDOSNIGR3 |
|
| GRAA | (expected) grant |
Free format text: ORIGINAL CODE: 0009210 |
|
| AK | Designated contracting states |
Kind code of ref document: B1 Designated state(s): AT BE BG CH CY CZ DE DK EE ES FI FR GB GR HU IE IT LI LU MC NL PT RO SE SI SK TR |
|
| PG25 | Lapsed in a contracting state [announced via postgrant information from national office to epo] |
Ref country code: IT Free format text: LAPSE BECAUSE OF FAILURE TO SUBMIT A TRANSLATION OF THE DESCRIPTION OR TO PAY THE FEE WITHIN THE PRESCRIBED TIME-LIMIT;WARNING: LAPSES OF ITALIAN PATENTS WITH EFFECTIVE DATE BEFORE 2007 MAY HAVE OCCURRED AT ANY TIME BEFORE 2007. THE CORRECT EFFECTIVE DATE MAY BE DIFFERENT FROM THE ONE RECORDED. Effective date: 20060607 Ref country code: SK Free format text: LAPSE BECAUSE OF FAILURE TO SUBMIT A TRANSLATION OF THE DESCRIPTION OR TO PAY THE FEE WITHIN THE PRESCRIBED TIME-LIMIT Effective date: 20060607 Ref country code: AT Free format text: LAPSE BECAUSE OF FAILURE TO SUBMIT A TRANSLATION OF THE DESCRIPTION OR TO PAY THE FEE WITHIN THE PRESCRIBED TIME-LIMIT Effective date: 20060607 Ref country code: RO Free format text: LAPSE BECAUSE OF FAILURE TO SUBMIT A TRANSLATION OF THE DESCRIPTION OR TO PAY THE FEE WITHIN THE PRESCRIBED TIME-LIMIT Effective date: 20060607 Ref country code: NL Free format text: LAPSE BECAUSE OF FAILURE TO SUBMIT A TRANSLATION OF THE DESCRIPTION OR TO PAY THE FEE WITHIN THE PRESCRIBED TIME-LIMIT Effective date: 20060607 Ref country code: LI Free format text: LAPSE BECAUSE OF FAILURE TO SUBMIT A TRANSLATION OF THE DESCRIPTION OR TO PAY THE FEE WITHIN THE PRESCRIBED TIME-LIMIT Effective date: 20060607 Ref country code: FI Free format text: LAPSE BECAUSE OF FAILURE TO SUBMIT A TRANSLATION OF THE DESCRIPTION OR TO PAY THE FEE WITHIN THE PRESCRIBED TIME-LIMIT Effective date: 20060607 Ref country code: CZ Free format text: LAPSE BECAUSE OF FAILURE TO SUBMIT A TRANSLATION OF THE DESCRIPTION OR TO PAY THE FEE WITHIN THE PRESCRIBED TIME-LIMIT Effective date: 20060607 Ref country code: CH Free format text: LAPSE BECAUSE OF FAILURE TO SUBMIT A TRANSLATION OF THE DESCRIPTION OR TO PAY THE FEE WITHIN THE PRESCRIBED TIME-LIMIT Effective date: 20060607 Ref country code: SI Free format text: LAPSE BECAUSE OF FAILURE TO SUBMIT A TRANSLATION OF THE DESCRIPTION OR TO PAY THE FEE WITHIN THE PRESCRIBED TIME-LIMIT Effective date: 20060607 |
|
| REG | Reference to a national code |
Ref country code: GB Ref legal event code: FG4D |
|
| RIN1 | Information on inventor provided before grant (corrected) |
Inventor name: CHAIKOWSKY, PETER Inventor name: SHEDDY, GREGG L. Inventor name: SPENCER, WILLIAM D. Inventor name: MANNARINO, FRANK A. Inventor name: CEROLL, WARREN A. Inventor name: TAYLOR, WILLIAM S. Inventor name: MOSS, DARREN B. Inventor name: SCHROEDER, JAMES A. Inventor name: ZHAO, JIANGANG Inventor name: WRIGHT, STUART J. |
|
| REG | Reference to a national code |
Ref country code: CH Ref legal event code: EP |
|
| REG | Reference to a national code |
Ref country code: IE Ref legal event code: FG4D |
|
| REF | Corresponds to: |
Ref document number: 60305836 Country of ref document: DE Date of ref document: 20060720 Kind code of ref document: P |
|
| PG25 | Lapsed in a contracting state [announced via postgrant information from national office to epo] |
Ref country code: DK Free format text: LAPSE BECAUSE OF FAILURE TO SUBMIT A TRANSLATION OF THE DESCRIPTION OR TO PAY THE FEE WITHIN THE PRESCRIBED TIME-LIMIT Effective date: 20060907 |
|
| REG | Reference to a national code |
Ref country code: SE Ref legal event code: TRGR |
|
| PG25 | Lapsed in a contracting state [announced via postgrant information from national office to epo] |
Ref country code: IE Free format text: LAPSE BECAUSE OF NON-PAYMENT OF DUE FEES Effective date: 20061027 |
|
| PG25 | Lapsed in a contracting state [announced via postgrant information from national office to epo] |
Ref country code: MC Free format text: LAPSE BECAUSE OF NON-PAYMENT OF DUE FEES Effective date: 20061031 |
|
| PG25 | Lapsed in a contracting state [announced via postgrant information from national office to epo] |
Ref country code: PT Free format text: LAPSE BECAUSE OF FAILURE TO SUBMIT A TRANSLATION OF THE DESCRIPTION OR TO PAY THE FEE WITHIN THE PRESCRIBED TIME-LIMIT Effective date: 20061107 |
|
| NLV1 | Nl: lapsed or annulled due to failure to fulfill the requirements of art. 29p and 29m of the patents act | ||
| REG | Reference to a national code |
Ref country code: CH Ref legal event code: PL |
|
| ET | Fr: translation filed | ||
| REG | Reference to a national code |
Ref country code: ES Ref legal event code: FG2A Ref document number: 2264751 Country of ref document: ES Kind code of ref document: T3 |
|
| PLBE | No opposition filed within time limit |
Free format text: ORIGINAL CODE: 0009261 |
|
| STAA | Information on the status of an ep patent application or granted ep patent |
Free format text: STATUS: NO OPPOSITION FILED WITHIN TIME LIMIT |
|
| 26N | No opposition filed |
Effective date: 20070308 |
|
| PG25 | Lapsed in a contracting state [announced via postgrant information from national office to epo] |
Ref country code: GR Free format text: LAPSE BECAUSE OF FAILURE TO SUBMIT A TRANSLATION OF THE DESCRIPTION OR TO PAY THE FEE WITHIN THE PRESCRIBED TIME-LIMIT Effective date: 20060908 |
|
| PG25 | Lapsed in a contracting state [announced via postgrant information from national office to epo] |
Ref country code: EE Free format text: LAPSE BECAUSE OF FAILURE TO SUBMIT A TRANSLATION OF THE DESCRIPTION OR TO PAY THE FEE WITHIN THE PRESCRIBED TIME-LIMIT Effective date: 20060607 Ref country code: BG Free format text: LAPSE BECAUSE OF FAILURE TO SUBMIT A TRANSLATION OF THE DESCRIPTION OR TO PAY THE FEE WITHIN THE PRESCRIBED TIME-LIMIT Effective date: 20060907 |
|
| PG25 | Lapsed in a contracting state [announced via postgrant information from national office to epo] |
Ref country code: LU Free format text: LAPSE BECAUSE OF NON-PAYMENT OF DUE FEES Effective date: 20061027 Ref country code: TR Free format text: LAPSE BECAUSE OF FAILURE TO SUBMIT A TRANSLATION OF THE DESCRIPTION OR TO PAY THE FEE WITHIN THE PRESCRIBED TIME-LIMIT Effective date: 20060607 Ref country code: HU Free format text: LAPSE BECAUSE OF FAILURE TO SUBMIT A TRANSLATION OF THE DESCRIPTION OR TO PAY THE FEE WITHIN THE PRESCRIBED TIME-LIMIT Effective date: 20061208 |
|
| PG25 | Lapsed in a contracting state [announced via postgrant information from national office to epo] |
Ref country code: CY Free format text: LAPSE BECAUSE OF FAILURE TO SUBMIT A TRANSLATION OF THE DESCRIPTION OR TO PAY THE FEE WITHIN THE PRESCRIBED TIME-LIMIT Effective date: 20060607 |
|
| REG | Reference to a national code |
Ref country code: FR Ref legal event code: PLFP Year of fee payment: 14 |
|
| PGFP | Annual fee paid to national office [announced via postgrant information from national office to epo] |
Ref country code: FR Payment date: 20160919 Year of fee payment: 14 |
|
| PGFP | Annual fee paid to national office [announced via postgrant information from national office to epo] |
Ref country code: BE Payment date: 20160824 Year of fee payment: 14 Ref country code: ES Payment date: 20160915 Year of fee payment: 14 |
|
| PGFP | Annual fee paid to national office [announced via postgrant information from national office to epo] |
Ref country code: GB Payment date: 20161026 Year of fee payment: 14 Ref country code: DE Payment date: 20161018 Year of fee payment: 14 |
|
| PGFP | Annual fee paid to national office [announced via postgrant information from national office to epo] |
Ref country code: SE Payment date: 20161011 Year of fee payment: 14 Ref country code: IT Payment date: 20161024 Year of fee payment: 14 |
|
| REG | Reference to a national code |
Ref country code: DE Ref legal event code: R119 Ref document number: 60305836 Country of ref document: DE |
|
| REG | Reference to a national code |
Ref country code: SE Ref legal event code: EUG |
|
| GBPC | Gb: european patent ceased through non-payment of renewal fee |
Effective date: 20171027 |
|
| REG | Reference to a national code |
Ref country code: FR Ref legal event code: ST Effective date: 20180629 |
|
| PG25 | Lapsed in a contracting state [announced via postgrant information from national office to epo] |
Ref country code: GB Free format text: LAPSE BECAUSE OF NON-PAYMENT OF DUE FEES Effective date: 20171027 Ref country code: DE Free format text: LAPSE BECAUSE OF NON-PAYMENT OF DUE FEES Effective date: 20180501 |
|
| REG | Reference to a national code |
Ref country code: BE Ref legal event code: MM Effective date: 20171031 |
|
| PG25 | Lapsed in a contracting state [announced via postgrant information from national office to epo] |
Ref country code: FR Free format text: LAPSE BECAUSE OF NON-PAYMENT OF DUE FEES Effective date: 20171031 Ref country code: BE Free format text: LAPSE BECAUSE OF NON-PAYMENT OF DUE FEES Effective date: 20171031 Ref country code: SE Free format text: LAPSE BECAUSE OF NON-PAYMENT OF DUE FEES Effective date: 20171028 |
|
| PG25 | Lapsed in a contracting state [announced via postgrant information from national office to epo] |
Ref country code: IT Free format text: LAPSE BECAUSE OF NON-PAYMENT OF DUE FEES Effective date: 20171027 |
|
| REG | Reference to a national code |
Ref country code: ES Ref legal event code: FD2A Effective date: 20181221 |
|
| PG25 | Lapsed in a contracting state [announced via postgrant information from national office to epo] |
Ref country code: ES Free format text: LAPSE BECAUSE OF NON-PAYMENT OF DUE FEES Effective date: 20171028 |