EP1281491A2 - Maschine und Verfahren zum Bearbeiten von Werkstücken aus Holz, Kunststoff oder dergleichen - Google Patents

Maschine und Verfahren zum Bearbeiten von Werkstücken aus Holz, Kunststoff oder dergleichen Download PDF

Info

Publication number
EP1281491A2
EP1281491A2 EP02017186A EP02017186A EP1281491A2 EP 1281491 A2 EP1281491 A2 EP 1281491A2 EP 02017186 A EP02017186 A EP 02017186A EP 02017186 A EP02017186 A EP 02017186A EP 1281491 A2 EP1281491 A2 EP 1281491A2
Authority
EP
European Patent Office
Prior art keywords
feed unit
machine
machine according
jaws
unit
Prior art date
Legal status (The legal status is an assumption and is not a legal conclusion. Google has not performed a legal analysis and makes no representation as to the accuracy of the status listed.)
Granted
Application number
EP02017186A
Other languages
English (en)
French (fr)
Other versions
EP1281491B1 (de
EP1281491A3 (de
Inventor
Paul Gurka
Current Assignee (The listed assignees may be inaccurate. Google has not performed a legal analysis and makes no representation or warranty as to the accuracy of the list.)
Michael Weinig AG
Original Assignee
Michael Weinig AG
Priority date (The priority date is an assumption and is not a legal conclusion. Google has not performed a legal analysis and makes no representation as to the accuracy of the date listed.)
Filing date
Publication date
Family has litigation
First worldwide family litigation filed litigation Critical https://patents.darts-ip.com/?family=7694094&utm_source=google_patent&utm_medium=platform_link&utm_campaign=public_patent_search&patent=EP1281491(A2) "Global patent litigation dataset” by Darts-ip is licensed under a Creative Commons Attribution 4.0 International License.
Application filed by Michael Weinig AG filed Critical Michael Weinig AG
Priority to DE50209459.1T priority Critical patent/DE50209459C5/de
Publication of EP1281491A2 publication Critical patent/EP1281491A2/de
Publication of EP1281491A3 publication Critical patent/EP1281491A3/de
Application granted granted Critical
Publication of EP1281491B1 publication Critical patent/EP1281491B1/de
Anticipated expiration legal-status Critical
Expired - Lifetime legal-status Critical Current

Links

Images

Classifications

    • BPERFORMING OPERATIONS; TRANSPORTING
    • B27WORKING OR PRESERVING WOOD OR SIMILAR MATERIAL; NAILING OR STAPLING MACHINES IN GENERAL
    • B27CPLANING, DRILLING, MILLING, TURNING OR UNIVERSAL MACHINES FOR WOOD OR SIMILAR MATERIAL
    • B27C1/00Machines for producing flat surfaces, e.g. by rotary cutters; Equipment therefor
    • B27C1/12Arrangements for feeding work
    • BPERFORMING OPERATIONS; TRANSPORTING
    • B27WORKING OR PRESERVING WOOD OR SIMILAR MATERIAL; NAILING OR STAPLING MACHINES IN GENERAL
    • B27FDOVETAILED WORK; TENONS; SLOTTING MACHINES FOR WOOD OR SIMILAR MATERIAL; NAILING OR STAPLING MACHINES
    • B27F1/00Dovetailed work; Tenons; Making tongues or grooves; Groove- and- tongue jointed work; Finger- joints
    • B27F1/02Making tongues or grooves, of indefinite length
    • BPERFORMING OPERATIONS; TRANSPORTING
    • B27WORKING OR PRESERVING WOOD OR SIMILAR MATERIAL; NAILING OR STAPLING MACHINES IN GENERAL
    • B27MWORKING OF WOOD NOT PROVIDED FOR IN SUBCLASSES B27B - B27L; MANUFACTURE OF SPECIFIC WOODEN ARTICLES
    • B27M1/00Working of wood not provided for in subclasses B27B - B27L, e.g. by stretching
    • B27M1/08Working of wood not provided for in subclasses B27B - B27L, e.g. by stretching by multi-step processes
    • YGENERAL TAGGING OF NEW TECHNOLOGICAL DEVELOPMENTS; GENERAL TAGGING OF CROSS-SECTIONAL TECHNOLOGIES SPANNING OVER SEVERAL SECTIONS OF THE IPC; TECHNICAL SUBJECTS COVERED BY FORMER USPC CROSS-REFERENCE ART COLLECTIONS [XRACs] AND DIGESTS
    • Y10TECHNICAL SUBJECTS COVERED BY FORMER USPC
    • Y10TTECHNICAL SUBJECTS COVERED BY FORMER US CLASSIFICATION
    • Y10T83/00Cutting
    • Y10T83/647With means to convey work relative to tool station
    • Y10T83/654With work-constraining means on work conveyor [i.e., "work-carrier"]
    • Y10T83/6542Plural means to constrain plural work pieces

Definitions

  • the invention relates to a machine for processing workpieces made of wood, plastic or the like according to the preamble of Claim 1 and a method for processing such Werkstükke according to the preamble of claim 47.
  • the invention is based on the object, the generic machine and the generic method in such a way that a reliable and easy transport through the machine as well as a dimensionally accurate positioning of the workpieces is guaranteed.
  • each workpiece can be over track, measure and position the axes of the machine very accurately. It can be dispensed with limit switch, as with conventional machines are used.
  • the jaws are arranged above and below the workpiece, so that it from is clamped at the top and bottom. This allows the workpiece to machined his long sides easily with appropriate tools become.
  • the upper and lower jaws are arranged so that they, seen in plan view, arranged in a gap to each other and there is little space between them.
  • the Machine according to FIG. 1 has a transverse profiling unit 1 and a longitudinal profile unit perpendicular to it 2. With the cross profile unit the woods 3 are processed on the front side. In the longitudinal profile unit 2, the woods are then on their long sides profiled.
  • the wood to be processed 3 are in the Querprofilierech. 1 with a clamping device 4 in a predetermined position preferably clamped centrally on a carriage 5 'by a vertical Axis 6 is pivotable.
  • the carriage 5 'can along a cross slide 5 are moved, which is movable along a guide 7. Both carriages 5, 5 'are thus in mutually perpendicular directions adjustable.
  • the Querprofilierü is provided with at least one saw 8, with the respective end of the wood 3 can be sawed off. Depending on Location of the wood 3 relative to the saw 8, the front sides of the wood 3 perpendicular, but also acute or obtuse to the Sawed longitudinal direction of the woods. In this case, that will Wood 3 with the clamping device 4 about the axis 6 in the desired Angle pivoted.
  • This is a (not shown) motor Drive provided with which the clamping device 4 automatically in the desired position can be pivoted.
  • the Clamping device 4 connected to a CNC controller.
  • the saw 8 has a circular saw blade 9, which is about a horizontal axis is rotatably driven. Following the saw 8 is the Querprofiliermati 1 provided with at least one vertical spindle 10, on the known manner, a pin / slot tool 11 rotatably sitting. With him the previously sawn end of the wood 9 is cross-profiled, For example, tapped or slotted or with a counter profile Mistake.
  • the spindle 10 with the tool 11 can be known in the Way be adjustable in the axial direction. In this case, sit on the spindle 10 on top of each other two or more tools with which edited the ends of the wood 3 in the desired manner can be.
  • the spindle 10 can also be adjusted radially be to the spindle 10 to different diameters to adjust the respective tool 11.
  • the cross profile unit 1, as in the illustrated embodiment, with a second spindle 10 may be provided for another tool 11. These second spindle 10 is moved back and thus not in use. Instead of driving back this spindle 10, the clamping device can also 4 by means of the carriage 5 'on the cross slide 5 retracted become.
  • the Querprofilierü 1 Following the spindle 10 is the Querprofilierü 1 with at least a drilling and / or dowel unit 12 provided. With her can the wood 3 following the Querprofiliervorgang with at least a bore and / or be provided with at least one dowel.
  • the Querprofilierü 1 can also only the saw 8 and / or the Spindle 10 and / or the unit 12 have.
  • the cross slide 5 is from the initial position shown in Fig. 1 from along the guide 7 in the direction of arrow 13 is moved. It will the clamped wood 3 successively first with the saw 8 end sawn, then transversely profiled and drilled and / or dowelled.
  • the cross slide 5 in Transport direction 14 moved back to its original position and the clamping device 4 is pivoted about the vertical axis 6 be that in a renewed passage of the wood 3 through the Querprofiliertechnik 1 sawed the other end of the wood 3 and is cross-profiled.
  • the wood 3 is first at both Edited ends before passing it to the Lssensprofiliertechnik 2 becomes. Such a procedure is shown in FIG.
  • the Wood 3 is in the described manner twice through the Querprofiliermaschine 1 transports and edited both ends. Subsequently is the double-sided processed wood 3 of Leksprofilierü 2 pass, in which the wood 3 in to be described Longitudinally profiled.
  • the Leksprofiliertician 2 provided with two spindles 17, on each of which at least a Leksprofiliertechnikmaschine Weg 18 sits.
  • the drilling units 16 be in the transport direction right longitudinal side and in the Top and / or bottom of the wood made 3 holes.
  • the Leksprofiliertician 2 can with be equipped with other spindles.
  • Fig. 1 shows an example behind the second longitudinal profiling spindle 17 has a horizontal groove spindle 84.
  • Fig. 2 shows a first embodiment of the machine, wherein the Wood 3 in the Querprofilieriser 1 in the manner described processed twice in succession at both ends becomes. Subsequently, the wood 3 of the feed unit 15 is transferred, the wood on the drilling units 16 and the two Longitudinal profiling tools 18 of Leksprofiliertechnik 2 passes.
  • the Lssensprofilierwerkmaschinee 18 and the drilling units 16 are so arranged that the wood 3 when passing on its right longitudinal side, as described above, is processed.
  • the machine with a second L Lucassprofiliertechnik 2 with other Lijnsprofilierwerkmaschinemaschineen 18 and provided further drilling units 16. They are arranged that processed with them in the passage of the timber 3, the left longitudinal side becomes.
  • the processed wood 3 passes through the Lssensprofilieriser after passing 2 on a cross conveyor 20, with the wood back is transported to the cross-profiling unit 1.
  • the wood 3 is initially in the transport direction 13 in the Querprofilieriser 1 in the manner described transported.
  • the circular saw blade 9 of the circular saw 8 is the corresponding Sawed off the end of the wood 3 and with the subsequent Tool 11 cross-profiled, for example, slotted or tapped.
  • the drilling and / or dowel unit 12 th the wood 3 drilled and / or dowelled.
  • the wood is 3 passed to the feed unit 15 of Leksprofilierü 2.
  • Leksprofilierü is the wood 3 with the drilling units 16th drilled on its long side and on its top and / or bottom.
  • the longitudinal side with at least one the two spaced apart longitudinal profiling tools 18 longitudinal profiled.
  • the one end and one long side processed wood 3 then passes to the cross conveyor 20, with the the wood perpendicular to the transport direction 21 in the Leksprofiliertechnik 2 is transported in the transport direction 22.
  • the cross conveyor 20 passes the wood 3 a transport device 23, parallel to the Feed unit 15 is located and the wood 3 back to Querprofiliermaschines.
  • the wood 3 is received by the clamping device 4 and aligned so that the other, not yet worked Sawed end of the wood 3 with the saw 8, with the tool 11 cross profiled, for example slotted or tapped, and optionally is processed with the drilling and / or dowel unit 12.
  • the now processed at both ends wood 3 is so the feed unit Pass 15 of Leksprofiliertechnik 2 that not yet processed longitudinal side of the timber 3 to the drilling units 16 and the two Leksprofiliertechnikmaschinemaschinectionen 18 is passed.
  • the Drilling units 16 if necessary, this longitudinal side of the wood 3 drilled.
  • the wood 3 is longitudinal profiled.
  • the machine according to FIG. 3 represents a circular system in which the wood is transported twice through the machine. After this The wood passes twice through the machine and it gets done processed wood either on the cross conveyor 20 over another Processing supplied. But it is also possible to finish the finished To pass wood 3 to the cross conveyor 20, which finished the finished Wood 3 of the transport device 23 passes, which the wood in a magazine 24 (Fig. 3) stores.
  • the woods 3 lie with their long sides together and are in the clamping device 4 clamped. It is designed as a clamp and has a lower jaw 25 and an upper jaw 26.
  • the Woods 3 are stretched between the two jaws 25, 26.
  • the Jaws 25, 26 have flat bearing surfaces 27, 28, so that the Wood can be reliably clamped.
  • the upper jaw 26 is adjustable in height direction 29 (FIG. 8).
  • the whole Clamping device 4 is transverse to the axis of the woods 3, as described, adjustable in direction of arrow 13.
  • the lower jaw 25 is at the free end with an upward Stop 31 provided that slipping of the woods 3 transversely to the jaws 25, 26 prevents and exact alignment or position of the woods 3 guaranteed.
  • the jaw 25 is about a transverse horizontal axis to its longitudinal direction 32 swiveling. Should the woods 3 in a manner to be described be transferred to the feed unit 15 of the L Lucassprofiliertechnik 2, can the jaw 25 about the axis 32 so far down in a release position are pivoted that the stopper 31 outside the movement path of the woods 3 is (Fig. 8).
  • Fig. 7 shows the initial position in the transfer of the woods 3 of the Clamping device 4 of the transverse profiling unit 1 in the feed unit 15 of Lssensprofilierü 2.
  • the clamping device 4 and the feed unit 15 have in this starting position distance from each other.
  • an intermediate clamping device 33 In the area between the clamping device 4 and the feed unit 15 is an intermediate clamping device 33, the two superimposed lying jaws 34, 35, of which at least one is adjustable in height direction.
  • the entire Intermediate clamping device 33 adjustable in height direction.
  • a Transfer unit 36 the two spaced apart horizontal, endless circumferential bands 37, 38 has. They are each mounted on a support 39, 40, of which at least one in the height direction is adjustable. This allows the distance between the two bands 37, 38 simply to the thickness of the transported 3 woods are adjusted.
  • the entire transfer unit 36 is also adjustable in height direction.
  • the clamping device 4 is initially in the adjustment 30 adjusted against the intermediate clamping device 33.
  • the two Clamping jaws 34, 35 of the clamping device 33 are set that the woods 3 reliably between the jaws 34, 35 retract can.
  • the clamping device 33 is located in the area outside the adjustment of the clamping device 4 and its jaws 25, 26.
  • the tensioning device 4 is adjusted so far until the woods 3 completely between the jaws 34, 35 of the clamping device 33 lie (Fig. 8). Once the woods 3 completely between the Jaws 34, 35 are retracted, one of the jaws, in the embodiment, the upper jaw 34 against the woods.
  • the two bands 37, 38 have this one such a distance from each other that during the subsequent adjustment the transfer unit 36 in the direction of the intermediate clamping device 33 reach the woods 3 between the two bands 37, 38 ( Figure 9).
  • the distance between the two bands is adjusted that when adjusting the transfer unit 36 in the transfer position Do not touch the woods 3.
  • at least one of the carrier 39, 40 of the transfer unit 36 adjusted so that the woods 3 of the Bands 37, 38 can be detected.
  • the feed unit 15 has in a manner to be described above their length evenly distributed clamping jaws, with which the woods 3 are clamped on a support 45.
  • the displacement path the woods 3 in the adjustment 44 is by stops 46, which is distributed over the length of the feed unit 15 arranged are and at which the woods 3 come to the plant.
  • FIG. 11 shows the situation in which the feed unit 15 is correspondingly advanced and the second wood 3 in the feed unit 15th has transported.
  • the upper carrier 39 of the transfer unit 36th Move upward, so that the transfer unit 36 against adjustment 42 (FIG. 8) can be reduced. Subsequently the transfer unit 36 is lowered again, so that they for the next delivery cycle is available.
  • those to be edited Woods 3 long can in the feed unit 15 at appropriate Length only one wood can be clamped. Then the sled must 5 Wait in the transfer position until the feed unit 15 after the delivery of the longitudinally profiled wood 3 back into the Transfer area is reduced.
  • the clamping device 4 of the transverse profiling 1 only one wood 3 or even more than two woods record. is the wood 3 as wide as the clamping elements of the clamping device 4, then takes the clamping device 4 only a wood 3 and passes it after processing in the Querprofilierü 1 in the described Way of the feed unit 15.
  • the clamping device 4 Move back to the starting position to pick up the next workpieces.
  • the feed unit 15 is closer explained. It has a carrier 47, which is advantageous over the length the feed unit 15 extends.
  • the carrier 47 is with a vertical Rear wall 48 provided at the distributed over the length guide elements 49 are attached.
  • These guide elements 49 are in two horizontal, spaced apart rows arranged ( Figures 4, 5 and 14). With the guide elements 49 sits the feed unit 15 on two mutually parallel guide rails 50, 51st ( Figure 14) provided on a machine frame (not shown) are.
  • the rear wall 48 of the carrier 47 is at the upper end in a perpendicular to her lying support member 52 via.
  • At its bottom is at least one drive 53 for jaws 54 attached.
  • the drive 53 has advantageous lifting cylinder 56 (Fig. 14), which at the bottom of the horizontal support member 52 are attached and from which down a piston rod 57 protrudes. It is at the bottom over a cross piece 58 with an upwardly directed rod-shaped support 59th connected by at least one guide 60 and a guide bush 61 up above the support member 52 protrudes and at the top free end carries the respective jaw 54. That way are all jaws 54 by a respective lifting cylinder 56 independently adjustable in height direction. Thus, the individual jaws 54 are adjusted independently. It is also possible to group the jaws 54 in groups and groupwise together to disguise.
  • At least one rake-like carrier 62 is mounted, in which the stops 46 are stored for the woods 3.
  • the attacks 46 are advantageous stop bolts, which are perpendicular to the the jaws 54, 55 facing the top of the carrier 62 protrude and under the force of at least one compression spring 63 are. These move the stops 46 axially into a stop position.
  • the jaws 54 have a square in plan view (FIG. 6) Base 64, the one at its terminal longitudinal edge rectangular projection 65 has. This causes the jaws 54 on both sides of the projection 65 with rectangular recesses 66, 67 provided. All jaws 54 are the same and are by far side by side in a row.
  • the jaws 54 are advantageously screwed onto the upper end of the carrier 59, so they can be easily and quickly replaced if necessary can be.
  • the clamping jaws 54 lie in the vertical direction opposite the clamping jaws 55, whose upper sides 68 form the support 45 (FIG. 10) for the wood 3 to be clamped.
  • the jaws 55 are at the same height and are advantageously also limited independently adjustable in height direction. But it is also possible to adjust the lower jaws 55 together or in groups in the height direction. The adjustment can be done via cylinder. But it is possible to adjust the jaws 55 via a CNC axis.
  • the clamping jaws 55 are, as can be seen from FIG. 6, arranged at a gap to the clamping jaws 54, seen in plan view of the feed unit 15.
  • the lower jaws 55 have a T-shape with a rectangular foot 69, which lies in plan view between adjacent jaws 54.
  • the lower clamping jaws 55 are also provided with a web 70 lying at right angles to the foot 69, which, seen in plan view, engages in the recesses 66, 67 of adjacent upper clamping jaws 54. Between the individual jaws 54, 55 there is a small space, seen in plan view. Thereby, the upper jaws 54 can be adjusted in a manner to be described below down between the lower jaws 55 properly and without risk of contact.
  • the lower jaws 55 project transversely from a foot 71 (FIG. 14) which connects the jaws 55 with a lifting cylinder 72.
  • the lifting cylinders 72 can be the lower jaws 55 in Lowering still to be described, if, as with reference to FIG. 7 to 11 has been explained, the woods 3 after the transverse profiling the feed unit 15 are passed.
  • the lifting cylinder 72 are stored on the carrier 47.
  • the rake-shaped carrier 62 has horizontal, spaced from each other lying fingers 73 ( Figures 4 and 14), between which the rod-shaped Carrier 59 for the upper jaws 54 and the feet 71 protrude for the lower jaws 55.
  • the carrier 62 is with with Spaced apart upright supports 74 provided on which the compression springs 63 of the stops 31 are supported by one end are.
  • the rake-shaped carrier 62 can be horizontal in Arrow direction 75 are adjusted on the support member 52 of the carrier 47, to the position of the stops 46 to the cross-sectional shape of the 3 to be clamped wood adapt.
  • the intended Drive is not shown.
  • the adjustment of the rake-shaped Carrier 62 can be done manually; however, it will be advantageous controlled adjusted, so that an automatic adjustment of the Stops 46 with respect to the cross-sectional shape of the machining wood 3 is guaranteed.
  • the feed unit 15 can also two or more side by side lying support 62, which are advantageous in each other independently
  • the described manner are adjustable to several woods in a row to tension, which are processed with different width should.
  • the woods are 3 from the Querprofilieriser 1 not directly the feed unit 15th handed over the Lssensprofiliertechnik 2, but with the help of the transfer unit 36. It is in the transfer position (Fig. 9) with respect to arranged the feed unit 15, that the belts 37, 38 of the transfer unit 36 only a small distance from the jaws 54, 55th the feed unit 15 have. This allows the woods 3 easily from the transfer unit 36 in the feed unit 15 transport. To ensure a trouble-free and optimal transfer of wood 3 to reach before the delivery of the woods, the lower Jaws 55 slightly lowered so far that the support side 68 of the lower jaws 55 below the support level of the lower Bandes 38 of the transfer unit 36 is located. This can do that Wood 3 easily between the two jaws 54, 55 of the Feed unit 15 are transported.
  • the stops 46 are by appropriate displacement of the rake-shaped carrier 62 in the direction of displacement 75 before the transfer the woods 3 set in the necessary position.
  • the upper ones Jaws 54 are slightly up during delivery adjusted, so that they do not interfere with the transfer process.
  • the upper and the lower Clamps 54, 55 moved together by the corresponding Lifting cylinder 56, 72 are operated. This will be the Woods 3 optimally between the jaws 54, 55 of the feed unit 15 clamped.
  • the clamping is done so that through the L Lucassprofilierwerkmaschinemaschinemaschinemaschinee 18 to be machined longitudinal side of the woods 3 exposed, so that this longitudinal side without obstruction by the Clamping jaws 54, 55 can be processed.
  • the feed unit 15 forms not only the transport device for the woods in the Lssensprofilierü 2, but at the same time the clamping device. This will make the high precision machining of the Woods 3 optimally ensured during the Lssensprofiliervorganges.
  • FIG. 14 the long side of the woods 3 to be processed stands sufficiently far beyond the jaws 54, 55 of the feed unit in front. As a result, on this longitudinal side the required processing be made.
  • Fig. 5 shows that on this longitudinal side of the wood 3, for example, two holes 76 in the longitudinal side and two holes 76 in the top of the wood 3 with the drilling units 16 have been attached.
  • the drive of the feed unit 15 is designed as a CNC axis, so that the tensioned wood 3 can be moved exactly in the position for drilling. By doing Area where the two holes 76 in the top of the wood 3 is the appropriate upper jaw 54 of the feed unit 15 has been lowered. This is the wood 3 at this point free, so that with the appropriate drilling unit 16 the holes can be attached.
  • the corresponding Jaws 54 which in the further processing of the Wood 3 in Leksprofilierü 2 could disturb, before handing over the woods 3 in the feed unit under the support level 68th the lower jaws 55 are lowered by the corresponding Lifting cylinder 56 is actuated.
  • the in the feed unit 15th clamped wood 3 can then be exactly relative to the machine-fixed Drilling units 16 drive, the locational exactly the necessary Install holes.
  • the transport unit 77 will be described with reference to FIGS. 12 and 13, with the woods 3 in the manner described from the transfer unit 36 are pushed into the feed unit 15.
  • the transport unit 77 has a plate-shaped carrier 78, the its the wood 3 side facing with spaced apart Antikbacken 79 has.
  • the Antikbacken 79 extend about the height of the beam 78 and the wood 3.
  • the front sides the Antikbacken 79 are rounded, so that they only linear rest against the wood 3.
  • the transport unit 77 is provided with a (not shown) drive, preferably with lifting cylinders, in the direction adjusted to the stops 46 in the feed unit 15.
  • the transport unit 77 is located in the transfer area of the woods 3 from the transverse to L Lucassprofilieriser and is part of Transfer unit 36.
  • the transport unit 77 is then actuated when the woods 3 between the open jaws 54, 55 of the feed unit 15 are pushed.
  • the jaws 54, 55 remain open until the wood 3 by means of the transport unit 77 at the attacks 46 has been brought to bear.
  • the Clamping jaws 54, 55 of the feed unit 15 is actuated so that they Clamp wood 3. Only when this clamping process is completed, the transport unit 77 is returned to its original position.
  • Woods 3 can also be pushed straight to even those woods despite their longitudinal curvature can work properly. Will that be curved timber 3 in the manner described with the transport unit 67 brought to the stops 46 of the feed unit 15 to the plant, becomes by further pressurization the transport unit 77 moves toward the stops 46. Here is the Wood 3 adjacent to the stops 46 straightened (Fig. 13), so that it rests with its one longitudinal side of the stops 46.
  • the transport unit 77 remains in its printing position according to FIG. 13 until the jaws 54, 55 of the feed unit 15 the straight pressed wood 3 clamped.
  • the elasticity of the Jaws 54, 55 is so high that the wood 3 after returning the transport unit 77 in the feed unit 15 in his straight pressed situation remains.
  • FIGS. 2 and 15 show the machine with two longitudinal profiler units, which is thus equipped with two feed units 15. As 15 shows, these two feed units 15 are the same, However, arranged mirror images of each other. Are the woods 3 in the manner described in the right in Fig. 2 feed unit 15 clamped, then the woods are with her to the drilling units 16 and past the L Lucassprofilierwerkmaschineen 18, with where the right in the direction of transport 21 long side of the woods 3 edited becomes.
  • the left in Fig. 2 feed unit 15 is located in a transfer area 80 (Fig. 2), which is in the area between the Double drilling units 16 and longitudinal profiling tools 18 is provided.
  • the two feed units 15 are so to each other arranged, seen in the direction of transport 21 (Fig.
  • Fig. 15 shows the machine from the outlet side.
  • the right feed unit 15 has the wood 3 so on the appropriate tools has passed in the L Lucassprofiliertechnik 2 that in Fig. 15, the left longitudinal side of the timber 3 has been profiled, in the direction of passage of the wood 3 through the machine is the right long side.
  • this feed unit 15 moves into the transfer area 80, are the jaws 54, 55 of FIG. 15 left feed unit 15 so wide that the wood 3 with its protruding Area unhindered between the jaws of this feed unit 15 can retract.
  • the rake-shaped carrier 62 with the Stops 46 is moved in the direction of the wood 3, that the Stops 46 come to him to the plant.
  • the two feed units 15 are at opposite ends Pages in the manner described on a frame part 81st with the guide rails 50, 51 proceed.
  • the machine with one above the other arranged in pairs feed units 15 provided, of which the upper feed units to a horizontal Axis mirrored above the lower feed units 15 are arranged.
  • the Performance of the machine increases, since a feed unit already in the each transfer position can go back while the second Feed unit, the wood 3 at the respective Leksprofilierü passes.
  • the longitudinal feed of the woods 3 in the Leksprofilierü 2 means the feed unit 15 allows accurate tracking, surveying and positioning the timbers over the axles. Thereby are ensures high manufacturing precision and high process reliability.
  • the milling and drilling operations are carried out in one machine, so that a parts complete machining on the machine possible is. Since the woods 3 are transported through the transverse and the longitudinal profile unit 1, 2 are always clamped and not on Table surfaces or stops slip, the corresponding page treated the woods gently. Also, no chip rolling occurs on. With the feed unit 15 and with the clamping device 4 it is possible, the woods 3 several times to the appropriate tools 11, 18 drive by to different processing on the wood 3 make. In this case, the respective spindles 10, 17 respectively radially and / or axially adjusted to those for the different Machining necessary cutting blades engage can.
  • the position of the woods 3 can be determined exactly at any time. This makes it possible to use the woods 3 with this machine to process high production precision. In particular, it can in the manner described in the L Lucassprofiliertechnik 2 the Drilling and / or milling with the machine-fixed drilling units 16 are attached, since the woods 3 with the feed units 15 are positioned accurately relative to the drilling units 16 can.
  • Dives can also be made on wood 3. This includes are profilings that are not understood over the whole Length of the wood 3 extend. Due to the high positioning accuracy The tools can be exactly in the wood retracted and driven out of it.
  • the feed unit 15 Since the feed unit 15 is moved CNC-controlled and also the tools 18 and their spindles 17 CNC-controlled transversely to the direction of travel the feed units 15 are movable, can by Interpolation from these two perpendicular movements the spindle 17 and the feed unit 15 any Contour of the long side of the woods can be achieved. That's how it works the wood Stichbögen, wavy lines and the like without problems produce.
  • the machine parts are constructed as modules, so that the machines can be put together in different ways. So is the construction of the machine regardless of its length, as with appropriate Machine lengths a corresponding number of modules is compiled.
  • the modules can be assembled to the machine be that they work as a legal or link unit can.
  • the magazine 24 (Fig. 1) may be formed so that from him the to be processed wood 3 automatically removed and in the Machine entered and returned after editing become.
  • the machine can operate without operator, because a high Process reliability is guaranteed.
  • the spindle guides are advantageously made of polymer concrete, which achieves optimal vibration decoupling of the spindles becomes.
  • the spindles may, for example, have a length of 700 mm and have a variable stroke of 650 mm. This results a complete freedom in spindle occupation, i. the choice of tools to be attached to the spindles. This is a simple one Design of woodworking possible.
  • Feed rollers can wear out and pollute, causing the transport of the woods is affected by the window machine. In addition, must the feed rollers are adjusted. Due to the feed bar the tools on the window machine are difficult accessible. The position of the woods in the machine must be at a such feed unit to be monitored by limit switches, which can lead to problems.
  • the frame 82 can be easily inserted into the feed unit 15 and be curious.
  • the lowered jaws 54 take the lying in their displacement stops 46 against the force the compression springs 63 with.
  • the clamping jaws 54 in the region of the main body 64 so wide that they two at the same time Detect stops 46 and press down.
  • Fig. 16 shows a sash 82 with a rung 83.
  • the Feed unit 15 can also be two or more adjacent Frame 82 are clamped to mill the outsides.
  • the machine is described as an angle machine have been the cross and the longitudinal Sprofiliermati 1, 2 has, which are at right angles to each other.
  • the described feed unit 15 may also be provided in a machine that does not have a Querprofiliertechnik with which the woods 3 thus only be processed on at least one longitudinal side.
  • the machine according to FIGS. 17a to 17d is mainly used for production used by furniture parts and has no Querprofilierü on.
  • the woods 3 are either by hand or through a magazine placed on the feed unit 15 and with the upper and lower Clamping jaws 54, 55 clamped.
  • the woods 3 are here with its one end face on a machine-fixed stop 85 for Attachment brought to get a length reference. So that Woods on their abutting the stop 85 end face 86 in still too descriptive way can be edited, stand the woods via the jaws 54, 55 in the transport direction.
  • the stopper 85 is from its stop position removed and the feed unit 15 in the transport direction 21 transported.
  • the tool 87 may be a tool magazine 88 in which are cutters, drills, angle units, saws etc. may be arranged.
  • the tool 87 sits on a transverse to the transport direction 21 movable carriage 89, along a Guide 90 perpendicular to the transport direction 21 in the transport direction 91 between the tool magazine 88 and the processing station can be moved. After machining the end face 86 is the wood 3 with the feed unit 15 in the transport direction 21 on transported to a subsequent tool 92.
  • the Tool magazine 94 may be the same design as the tool magazine 88 and different tools for longitudinal processing, Cross-cutting, for drilling or sawing wood 3 contain. With the feed unit 15, the woods 3 are rotating at Tool 92 passed, which in the transport direction 21st right long side of the woods 3 edited.
  • the feed unit 15 retracted against the transport direction 21 to the operator. After loosening the clamping device he takes the wood 3 and it turns around its transverse axis by 180 ° (Fig. 17b). This turned Wood 3 is again between the jaws 54, 55 of the feed unit 15 clamped. The wood 3 is after the turning process with its machined end face 86 on the machine-fixed Stop 85 applied, which in this case from that shown in Fig. 17a Situation in the position shown in FIG. 17b can be adjusted. It but it is also possible to provide a second machine-fixed stop, to align the partially worked wood 3. To the clamping, the feed unit 15 is again in the transport direction 21 proceed.
  • Fig. 18 shows an embodiment in which the wood 3 in a single Passage through the machine on both sides and on both end faces is processed.
  • the wood to be worked becomes either manually by an operator or via a magazine abandoned on the clamping unit of the feed unit 15.
  • the wood is clamped between the jaws 54, 55 of the feed unit.
  • the front in the transport direction 21 end of the wood 3 is sufficiently far over the feed unit 15 before, so that with the Tool 87, the end face 86 of the wood 3 can be edited.
  • the tool 87 by means of Schlittens 89 retracted and the feed unit 15 further in Transport direction 21 moves.
  • the wood 3 then enters the area of the tool 92, with the right in the direction of transport 21 Long side of the wood 3 is processed.
  • the wood 3 is sufficiently far over the jaws 54, 55 before, so that this longitudinal side properly can be edited.
  • the wood 3 In the transport direction 21 behind the tool 92, the wood 3 a passed second feed unit 15, which on the opposite Side of the guide 97 for the two feed units 15 is arranged in mirror image.
  • the wood 3 is so to the further feed unit Pass 15 that wood 3 with his counter Transport direction 21 lying end over this feed unit 15th protrudes.
  • the further feed unit 15 has the jaws 54, 55, with which the wood is clamped at the top and bottom becomes.
  • the wood 3 is in the transfer with the jaws 54, 55 the further feed unit 15 tightened as long as the jaws 54, 55 of the other feed unit 15, the wood 3 is still stretched In this way, a flawless delivery of the Holzes 3 ensures, as it always strained at this handover is held.
  • the further feed unit 15 in the transport direction 21 moved on.
  • a tool 98 which by means of a Carriage 99 is transverse to the transport direction 21 is adjustable, the in Transport direction 21 left longitudinal side of the wood 3 edited.
  • the following in the direction of transport 21 tool 100 the is also mounted on a carriage 101, then the in the transport direction 21 rear end face 96 of the wood. 3 processed.
  • the wood After passing through the machine, the wood is 3 at both End faces 86, 96 and processed on the right and left longitudinal side.
  • the wood 3 is then removed from the feed unit 15 and perpendicular to the transport direction 21 after releasing the clamping device continued.
  • the machine has one each Magazine 88, 94 for the tools 86, 92. This way is always an aggregate in use, so that the machine high productivity or short lead times. It is also possible only one aggregate for longitudinal and transverse machining. But then you have to a non-productive time for changing tools for the transverse and the longitudinal processing are accepted.
  • the machine according to FIGS. 19a to 19e has the same as the previous one Embodiment two feed units 15, which on each other opposite sides of the guide 97 mirror images of each other are arranged. Both feed units 15 are advantageous the same education.
  • the feed unit 15 is then in the transport direction 21 past the tools 87, 92, with which in the described manner in the transport direction 21 front end side 86 and processed in the transport direction right long side of the wood 3 become.
  • the second feed unit 15 In the transport direction behind the tool 92 is the second feed unit 15, to which the wood 3 is transferred, as based on Fig. 18 has been explained in detail (Fig. 19c).
  • the wood 3 With this second Feed unit 15, the wood 3 is opposite to the transport direction 21 along the guide 97 retracted. This is the Wood 3 at its other end face 96 and at the transport direction this second feed unit 15 right longitudinal side with the Tools 92, 87 edited. After the two-way passage through the machine, the wood is thus on both its long sides and machined on its two end faces 86, 96.
  • the second Feed unit 15 With the second Feed unit 15, the wood 3 after the second passage in Transport direction 21 again moved back (Fig. 19e), wherein the both tools 87, 92 are moved back. Then that will be done processed wood of the second feed unit 15 taken. Meanwhile the operator can see the next wood to be machined 3 in clamp the first feed unit 15.
  • FIGS. 20 and 21 show the possibility in the feed unit 15 securely clamp wide, flat workpieces 3 with suction clamps to be able to.
  • the upper jaws 54 are down adjusted (Fig. 20), so that all the jaws 54, 55 on the same Height are.
  • the jaws 54 are on their support side with frame seals 102 provided (Fig. 20), in the lowered position of the jaws survive over the lower jaws 55. Furthermore are the jaws 54, each with at least one passage opening 103 provided.
  • the sheet-like wood 3 (FIG. 21) is placed on the Jaws 54, 55 launched, with the protruding frame seals 102 clean against the support side of the wood 3. About the openings 103 then negative pressure is generated, through which the flat wood 3 firmly against the jaws 54, 55 pulled and reliable is held.
  • the jaws 54 thus form Saugspanner, connected in a known manner to a suction system are.
  • the upper and lower Clamping jaws 54, 55 each arranged in a gap to each other. But it is also possible, not all jaws 54, 55 on gap to arrange, but only a part of these jaws. So can For example, the first upper and lower jaws 54, 55th exactly above each other, while only the subsequent jaws 54, 55 lie on the gap.
  • Such training is that Wood 3 in the area of its front for the cross-processing safely and sturdy. Even shorter woods 3 can be safe Clamp.

Landscapes

  • Life Sciences & Earth Sciences (AREA)
  • Engineering & Computer Science (AREA)
  • Mechanical Engineering (AREA)
  • Wood Science & Technology (AREA)
  • Forests & Forestry (AREA)
  • Jigs For Machine Tools (AREA)
  • Milling, Drilling, And Turning Of Wood (AREA)
  • Feeding Of Workpieces (AREA)
  • Chemical And Physical Treatments For Wood And The Like (AREA)
  • Sawing (AREA)
  • Turning (AREA)
  • Dovetailed Work, And Nailing Machines And Stapling Machines For Wood (AREA)
  • Specific Conveyance Elements (AREA)

Abstract

Die Maschine zum Bearbeiten von Werkstücken (3) aus Holz, Kunststoff und dergleichen hat eine Längsprofiliereinheit (2) mit wenigstens einer Längsprofilierspindel. An ihr wird das Werkstück mit einer Vorschubeinheit (15) vorbeigeführt, auf der das Werkstück (3) mit einer Spanneinheit festgeklemmt wird. Sie hat obere und untere Klemmbacken, von denen wenigstens ein Teil der oberen Klemmbakken auf Lücke zu den unteren Klemmbacken liegt, in Draufsicht gesehen. Zwischen den einzelnen Klemmbacken besteht, in Draufsicht gesehen, ein kleiner Freiraum, so daß die Klemmbacken einwandfrei verstellt werden können. Zwischen verschiedenen Bearbeitungsvorgängen wird das Werkstück (3) so übergeben, daß es bei der Übergabe stets eingespannt ist. <IMAGE>

Description

Die Erfindung betrifft eine Maschine zum Bearbeiten von Werkstükken aus Holz, Kunststoff oder dergleichen nach dem Oberbegriff des Anspruches 1 sowie ein Verfahren zum Bearbeiten solcher Werkstükke nach dem Oberbegriff des Anspruches 47.
Mit derartigen Maschinen werden Werkstücke bearbeitet, aus denen Fenster- und Türrahmen bzw. Fensterflügel hergestellt werden. In der Längsprofiliereinheit werden die Werkstücke an ihren Längsseiten profiliert. Zum Transport der Werkstücke durch die Längsprofiliereinheit sind Vorschubwalzen vorgesehen, die an einem Träger aufgehängt und drehbar angetrieben sind. Diese Vorschubwalzen drücken auf die Werkstücke, die auf Tischplatten abgestützt sind und auf denen sie mit den Vorschubwalzen durch die Maschine transportiert werden. Die Vorschubwalzen verschleißen und verschmutzen, so daß der Transport der Werkstücke beeinträchtigt ist. Außerdem ist der Transport von kurzen Werkstücken problematisch.
Der Erfindung liegt die Aufgabe zugrunde, die gattungsgemäße Maschine und das gattungsgemäße Verfahren so auszubilden, daß ein zuverlässiger und einfacher Transport durch die Maschine sowie eine maßgenaue Positionierung der Werkstücke gewährleistet ist.
Diese Aufgabe wird bei der gattungsgemäßen Maschine erfindungsgemäß mit den kennzeichnenden Merkmalen des Anspruches 1 gelöst und beim gattungsgemäßen Verfahren erfindungsgemäß mit den kennzeichnenden Merkmalen des Anspruches 47 gelöst.
Bei der erfindungsgemäßen Maschine wird als Vorschubeinheit in der Längsprofiliereinheit eine Spanneinheit verwendet, mit der die zu bearbeitenden Werkstücke nicht nur eingespannt, sondern auch durch die Längsprofiliereinheit transportiert werden. Aufgrund der erfindungsgemäßen Vorschubeinheit sind Vorschubwalzen in der Längsprofiliereinheit nicht mehr notwendig. Die zu bearbeitenden Werkstücke werden von der Spanneinheit zuverlässig erfaßt und zusammen mit ihr durch die Maschine gefördert. Schlupfprobleme, wie sie bei Vorschubwalzen zu beobachten sind, treten nicht auf. Durch die Verwendung der Spanneinheit werden die Werkstückoberseiten schonend behandelt, was sich in einer hervorragenden Bearbeitungsqualität auswirkt. Mit der Spanneinheit können auch sehr kurze Werkstücke erfaßt und bearbeitet werden. Da die Spanneinheit in der Längsprofiliereinheit verfahren wird, läßt sich jedes Werkstück über die Achsen der Maschine sehr genau verfolgen, vermessen und positionieren. Dabei kann auf Endschalter verzichtet werden, wie sie bei herkömmlichen Maschinen eingesetzt werden. Die Klemmbacken sind ober- und unterhalb des Werkstückes angeordnet, so daß es von oben und unten eingespannt wird. Dadurch kann das Werkstück an seinen Längsseiten mit entsprechenden Werkzeugen problemlos bearbeitet werden. Die oberen und unteren Klemmbacken sind so angeordnet, daß sie, in Draufsicht gesehen, auf Lücke zueinander angeordnet sind und zwischen ihnen jeweils ein kleiner Freiraum besteht. Durch eine solche Ausbildung der Spanneinrichtung können die Werkstücke universell, flexibel und sicher gespannt werden. Dadurch lassen sich die Werkstücke in der eingespannten Stellung mit einer außerordentlich hohen Genauigkeit und Qualität bearbeiten, insbesondere auch dünne und kurze Teile. Werden die Werkstücke zwischen einzelnen Bearbeitungsvorgängen übergeben, bleiben sie bei der Übergabe stets eingespannt, so daß eine hochgenaue Bearbeitung gewährleistet ist.
Weitere Merkmale der Erfindung ergeben sich aus den weiteren Ansprüchen, der Beschreibung und den Zeichnungen.
Die Erfindung wird anhand eines in den Zeichnungen dargestellten Ausführungsbeispieles näher erläutert. Es zeigen
Fig. 1
in perspektivischer Darstellung eine erfindungsgemäße Maschine,
Fig. 2
in Draufsicht und in schematischer Darstellung den Verfahrensablauf bei der Bearbeitung von Hölzern in einer ersten Ausführungsform einer erfindungsgemäßen Maschine,
Fig. 3
in einer Darstellung entsprechend Fig. 2 den Verfahrensablauf bei der Bearbeitung von Hölzern einer zweiten Ausführungsform einer erfindungsgemäßen Maschine,
Fig. 4
in perspektivischer Darstellung eine Vorschubeinheit der erfindungsgemäßen Maschine,
Fig. 5
in perspektivischer und vergrößerter Darstellung einen Teil der Vorschubeinheit gemäß Fig. 4,
Fig. 6
eine Draufsicht auf einen Teil der Vorschubeinheit gemäß Fig. 4,
Fig. 7 bis 11
den Verfahrensablauf bei der Übergabe der zu bearbeitenden Werkstücke von einer ersten Vorschubeinheit an eine zweite Vorschubeinheit,
Fig. 12
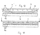
eine Transporteinheit der erfindungsgemäßen Maschine in einer Ausgangsstellung,
Fig. 13
die Transporteinheit gemäß Fig. 12 in der Arbeitsposition,
Fig. 14
in vergrößerter Darstellung einen Teil der Vorschubeinheit gemäß den Fig. 4 bis 6 in Seitenansicht,
Fig. 15
in vergrößerter Darstellung zwei Vorschubeinheiten der Maschine gemäß Fig. 2, von der Auslaufseite der Maschine aus gesehen;
Fig. 16
in perspektivischer Darstellung einen Teil der erfindungsgemäßen Maschine, auf der ein Umfälzvorgang durchgeführt wird,
Fig. 17a bis Fig. 17d
verschiedene Verfahrensschritte bei Durchführung des erfindungsgemäßen Verfahrens auf einer weiteren Ausführungsform einer erfindungsgemäßen Maschine,
Fig. 18
in Draufsicht eine weitere Ausführungsform einer erfindungsgemäßen Maschine,
Fig. 19a bis Fig. 19e
verschiedene Verfahrensabschnitte bei der Bearbeitung der Werkstücke auf einer weiteren Ausführungsform einer erfindungsgemäßen Maschine,
Fig. 20 und Fig. 21
jeweils in perspektivischer Darstellung unterschiedliche Spannsituationen einer weiteren Ausführungsform einer Vorschubeinheit der erfindungsgemäßen Maschine.
Mit der im folgenden beschriebenen Maschine werden Hölzer bearbeitet, aus denen beispielsweise Fenster- oder Türrahmen bzw. flügel zusammengesetzt werden. In der Maschine können aber auch Hölzer bearbeitet werden, die für Treppenstufen, Möbelteile in Rahmen- oder Stollenbauweise oder dergleichen eingesetzt werden. Die Maschine gemäß Fig. 1 hat eine Querprofiliereinheit 1 und eine rechtwinklig zu ihr liegende Längsprofiliereinheit 2. Mit der Querprofiliereinheit werden die Hölzer 3 stirnseitig bearbeitet. In der Längsprofiliereinheit 2 werden die Hölzer anschließend an ihren Längsseiten profiliert.
Die zu bearbeitenden Hölzer 3 werden in der Querprofiliereinheit 1 mit einer Spanneinrichtung 4 in einer vorgegebenen Lage vorzugsweise mittig eingespannt, die auf einem Schlitten 5' um eine vertikale Achse 6 schwenkbar ist. Der Schlitten 5' kann längs eines Querschlittens 5 verfahren werden, der längs einer Führung 7 verfahrbar ist. Beide Schlitten 5, 5' sind somit in zueinander senkrechten Richtungen verstellbar.
Die Querprofiliereinheit ist mit wenigstens einer Säge 8 versehen, mit der das jeweilige Ende des Holzes 3 abgesägt werden kann. Je nach Lage des Holzes 3 relativ zur Säge 8 können die Stirnseiten des Holzes 3 senkrecht, aber auch spitzwinklig bzw. stumpfwinklig zur Längsrichtung der Hölzer gesägt werden. In diesem Falle wird das Holz 3 mit der Spanneinrichtung 4 um die Achse 6 im gewünschten Winkel geschwenkt. Hierzu ist ein (nicht dargestellter) motorischer Antrieb vorgesehen, mit dem die Spanneinrichtung 4 automatisch in die gewünschte Stellung geschwenkt werden kann. Vorteilhaft ist die Spanneinrichtung 4 an eine CNC-Steuerung angeschlossen.
Die Säge 8 hat ein Kreissägeblatt 9, das um eine horizontale Achse drehbar angetrieben wird. Im Anschluß an die Säge 8 ist die Querprofiliereinheit 1 mit wenigstens einer vertikalen Spindel 10 versehen, auf der in bekannter Weise ein Zapfen/Schlitz-Werkzeug 11 drehfest sitzt. Mit ihm wird das zuvor abgesägte Ende des Holzes 9 querprofiliert, beispielsweise gezapft bzw. geschlitzt bzw. mit einem Konterprofil versehen. Die Spindel 10 mit dem Werkzeug 11 kann in bekannter Weise in Achsrichtung verstellbar sein. In diesem Falle sitzen auf der Spindel 10 übereinander zwei oder mehr Werkzeuge, mit denen die Enden des Holzes 3 in der gewünschten Weise bearbeitet werden können. Darüber hinaus kann die Spindel 10 auch radial einstellbar sein, um die Spindel 10 auf unterschiedliche Durchmesser des jeweiligen Werkzeuges 11 einstellen zu können. Die Querprofiliereinheit 1 kann, wie im dargestellten Ausführungsbeispiel, mit einer zweiten Spindel 10 für ein weiteres Werkzeug 11 versehen sein. Diese zweite Spindel 10 ist zurückgefahren und damit nicht im Einsatz. Anstatt diese Spindel 10 zurückzufahren, kann auch die Spanneinrichtung 4 mittels des Schlittens 5' auf dem Querschlitten 5 zurückgefahren werden.
Im Anschluß an die Spindel 10 ist die Querprofiliereinheit 1 mit wenigstens einer Bohr- und/oder Dübeleinheit 12 versehen. Mit ihr kann das Holz 3 im Anschluß an den Querprofiliervorgang mit wenigstens einer Bohrung und/oder mit wenigstens einem Dübel versehen werden.
Die Querprofiliereinheit 1 kann auch nur die Säge 8 und/oder die Spindel 10 und/oder die Einheit 12 aufweisen.
Der Querschlitten 5 wird von der in Fig. 1 dargestellten Ausgangslage aus längs der Führung 7 in Pfeilrichtung 13 verschoben. Dabei wird das eingespannte Holz 3 nacheinander zunächst mit der Säge 8 endseitig gesägt, anschließend querprofiliert und gebohrt und/oder gedübelt. Je nach Ausbildung der Maschine kann der Querschlitten 5 in Transportrichtung 14 wieder in seine Ausgangslage zurückgefahren und die Spanneinrichtung 4 so um die vertikale Achse 6 geschwenkt werden, daß bei einem erneuten Durchlauf des Holzes 3 durch die Querprofiliereinheit 1 das andere Ende des Holzes 3 gesägt und querprofiliert wird. In diesem Falle wird das Holz 3 zunächst an beiden Enden bearbeitet, bevor es an die Längsprofiliereinheit 2 übergeben wird. Ein solcher Verfahrensablauf ist in Fig. 2 dargestellt. Das Holz 3 wird in der beschriebenen Weise zweimal durch die Querprofiliereinheit 1 transportiert und hierbei beide Enden bearbeitet. Anschließend wird das beidseitig bearbeitete Holz 3 der Längsprofiliereinheit 2 übergeben, in der das Holz 3 in noch zu beschreibender Weise längsprofiliert wird.
Wenn der Querschlitten 5 die Übergabestellung erreicht hat, wird die Spanneinrichtung 4 so gedreht, daß das Holz parallel zur Transportrichtung in der Längsprofiliereinheit 2 liegt. In dieser Lage kann dann das Holz von einer Vorschubeinheit 15 der Längsprofiliereinheit 2 übernommen werden. Mit ihr wird das Holz 3 in seiner Längsrichtung durch die Längsprofiliereinheit transportiert und dabei an seiner entsprechenden Längsseite bearbeitet. Die Längsprofiliereinheit 2 hat bei der Maschine gemäß Fig. 1, in Transportrichtung des Holzes 3 gesehen, zunächst Bohraggregate 16 und wenigstens eine vertikale Spindel 17, auf der wenigstens ein Längsprofilierwerkzeug 18 drehfest sitzt. Im dargestellten Ausführungsbeispiel ist die Längsprofiliereinheit 2 mit zwei Spindeln 17 versehen, auf denen jeweils wenigstens ein Längsprofilierwerkzeug 18 sitzt. Mit den Bohraggregaten 16 werden in der in Transportrichtung rechten Längsseite sowie in der Ober- und/oder Unterseite des Holzes 3 Bohrungen vorgenommen. Das Längsprofilierwerkzeug 18 profiliert die in Transportrichtung rechte Längsseite des Holzes 3. Die Längsprofiliereinheit 2 kann mit weiteren Spindeln ausgestattet sein. Fig. 1 zeigt beispielhaft hinter der zweiten Längsprofilierspindel 17 eine horizontale Nutspindel 84.
Fig. 2 zeigt eine erste Ausführungsform der Maschine, bei der das Holz 3 in der Querprofiliereinheit 1 in der beschriebenen Weise bei zweimaligem Durchlauf nacheinander an beiden Enden bearbeitet wird. Anschließend wird das Holz 3 der Vorschubeinheit 15 übergeben, die das Holz an den Bohraggregaten 16 sowie an den beiden Längsprofilierwerkzeugen 18 der Längsprofiliereinheit 2 vorbeiführt. Die Längsprofilierwerkzeuge 18 und die Bohraggregate 16 sind so angeordnet, daß das Holz 3 beim Durchlauf an seiner rechten Längsseite, wie oben beschrieben, bearbeitet wird. Im Anschluß an die Längsprofilierwerkzeuge 18 ist die Maschine mit einer zweiten Längsprofiliereinheit 2 mit weiteren Längsprofilierwerkzeugen 18 sowie weiteren Bohraggregaten 16 versehen. Sie sind so angeordnet, daß mit ihnen beim Durchlauf des Holzes 3 die linke Längsseite bearbeitet wird. Dadurch ist nur ein einmaliger Durchlauf des Holzes 3 durch die Längsprofiliereinheiten 2 und damit durch die ganze Maschine notwendig. Nach der Bearbeitung beider Längsseiten wird das Holz 3 mittels einer Transporteinrichtung senkrecht zur Transportrichtung 21 in den Längsprofiliereinheiten 2 einer weiteren Station oder einem weiteren Magazin 24 zugeführt. Diese Maschine stellt eine Durchlaufanlage dar, bei welcher die Hölzer 3 im Durchlauf bearbeitet werden. Das Holz 3 ist bei der gesamten Bearbeitung und zu jedem Zeitpunkt sowohl in der Quer- als auch in den Längsprofiliereinheiten 1, 2 fest eingespannt, so daß eine optimale Bearbeitungsqualität und -genauigkeit erreicht wird.
Bei einer zweiten Ausführungsform der Maschine entsprechend Fig. 3 gelangt das bearbeitete Holz 3 nach dem Durchlauf durch die Längsprofiliereinheit 2 auf einen Querförderer 20, mit dem das Holz zurück zur Querprofiliereinheit 1 transportiert wird. Zwei Arbeitsweisen einer solchen Maschine werden anhand von Fig. 3 näher beschrieben. Bei der ersten Arbeitsweise wird das Holz 3 zunächst in Transportrichtung 13 in der Querprofiliereinheit 1 in der beschriebenen Weise transportiert. Mit dem Kreissägeblatt 9 der Kreissäge 8 wird das entsprechende Ende des Holzes 3 abgesägt und mit dem anschließenden Werkzeug 11 querprofiliert, beispielsweise geschlitzt bzw. gezapft. Im Anschluß daran wird mit der Bohr- und/oder Dübeleinheit 12 das Holz 3 gebohrt und/oder gedübelt. Anschließend wird das Holz 3 an die Vorschubeinheit 15 der Längsprofiliereinheit 2 übergeben. In der Längsprofiliereinheit wird das Holz 3 mit den Bohraggregaten 16 an seiner Längsseite sowie an seiner Ober- und/oder Unterseite gebohrt. Im Anschluß daran wird die Längsseite mit zumindest einem der beiden mit Abstand hintereinander liegenden Längsprofilierwerkzeugen 18 längsprofiliert. Das an einem Ende und an einer Längsseite bearbeitete Holz 3 gelangt dann auf den Querförderer 20, mit dem das Holz senkrecht zur Transportrichtung 21 in der Längsprofiliereinheit 2 in Transportrichtung 22 transportiert wird. Der Querförderer 20 übergibt das Holz 3 einer Transporteinrichtung 23, die parallel zur Vorschubeinheit 15 liegt und das Holz 3 zurück zur Querprofiliereinheit 1 fördert. Hier wird das Holz 3 von der Spanneinrichtung 4 aufgenommen und so ausgerichtet, daß das andere, noch nicht bearbeitete Ende des Holzes 3 mit der Säge 8 abgesägt, mit dem Werkzeug 11 querprofiliert, zum Beispiel geschlitzt bzw. gezapft, und gegebenenfalls mit der Bohr- und/oder Dübeleinheit 12 bearbeitet wird. Das nunmehr an beiden Enden bearbeitete Holz 3 wird so der Vorschubeinheit 15 der Längsprofiliereinheit 2 übergeben, daß die noch nicht bearbeitete Längsseite des Holzes 3 an den Bohraggregaten 16 und den beiden Längsprofilierwerkzeugen 18 vorbeigeführt wird. Mit den Bohraggregaten 16 wird, falls erforderlich, diese Längsseite des Holzes 3 gebohrt. Mit den nachfolgenden, um vertikale Achsen drehbaren Werkzeugen 18 wird das Holz 3 längsprofiliert.
Bei der zweiten, bevorzugten Arbeitweise werden in der Querprofiliereinheit 1 zunächst beide Enden des Holzes 3 bearbeitet, wobei der Querschlitten 5 in der beschriebenen Weise zweimal die Querprofiliereinheit 1 durchfährt. Dann wird das an beiden Enden bearbeitete Holz 3 der Vorschubeinheit 15 übergeben, die sich in der in Fig. 1 dargestellten Übergabestellung befindet. Das Holz 3 wird mit der Vorschubeinheit 15 an den Bohraggregaten 16 und den Längsprofilierwerkzeugen 18 vorbeigeführt und an seiner einen Längsseite bearbeitet. Mit dem Querförderer 20 und der Transporteinrichtung 23 wird das Holz 3 zur Querprofiliereinheit 1 zurückgeführt und von der Spanneinrichtung 4 aufgenommen. Mit dem Querschlitten 5 wird das Holz 3 ohne Bearbeitung durch die Querprofiliereinheit 1 transportiert und der Vorschubeinheit 15 so übergeben, daß das Holz 3 beim Transport durch die Längsprofiliereinheit 2 an der anderen Längsseite bearbeitet wird.
Während das Holz vom Querförderer 20 zur Transporteinrichtung 23 gefördert wird, fährt die Vorschubeinheit 15 in die Übergabestellung zurück, so daß sie dieses Holz sofort wieder übernehmen kann.
Die Maschine gemäß Fig. 3 stellt eine Kreisanlage dar, in welcher das Holz zweimal durch die Maschine transportiert wird. Nach dem zweimaligen Durchlauf des Holzes 3 durch die Maschine wird das fertig bearbeitete Holz entweder am Querförderer 20 vorbei einer weiteren Bearbeitung zugeführt. Es ist aber auch möglich, das fertig bearbeitete Holz 3 dem Querförderer 20 zu übergeben, der das fertig bearbeitete Holz 3 der Transporteinrichtung 23 übergibt, die das Holz in einem Magazin 24 (Fig. 3) ablegt.
In der Querprofiliereinheit 1 können gleichzeitig zwei Hölzer bearbeitet werden, wie dies aus den Fig. 7 bis 11 hervorgeht. Die Hölzer 3 liegen mit ihren Längsseiten aneinander und sind in der Spanneinrichtung 4 eingespannt. Sie ist als Klemmzange ausgebildet und hat eine untere Klemmbacke 25 und eine obere Klemmbacke 26. Die Hölzer 3 sind zwischen beiden Klemmbacken 25, 26 gespannt. Die Klemmbacken 25, 26 haben ebene Auflageflächen 27, 28, so daß die Hölzer zuverlässig eingespannt werden können. Die obere Klemmbacke 26 ist in Höhenrichtung 29 (Fig. 8) verstellbar. Die gesamte Spanneinrichtung 4 ist quer zur Achse der Hölzer 3, wie beschrieben, in Pfeilrichtung 13 verstellbar.
Die untere Klemmbacke 25 ist am freien Ende mit einem aufwärts gerichteten Anschlag 31 versehen, der ein Wegrutschen der Hölzer 3 quer zu den Klemmbacken 25, 26 verhindert und eine exakte Ausrichtung bzw. Lage der Hölzer 3 gewährleistet. Die Klemmbacke 25 ist um eine quer zu ihrer Längsrichtung liegende horizontale Achse 32 schwenkbar. Sollen die Hölzer 3 in noch zu beschreibender Weise an die Vorschubeinheit 15 der Längsprofiliereinheit 2 übergeben werden, kann die Klemmbacke 25 um die Achse 32 so weit nach unten in eine Freigabestellung geschwenkt werden, daß der Anschlag 31 außerhalb des Bewegungsweges der Hölzer 3 liegt (Fig. 8).
Fig. 7 zeigt die Ausgangslage bei der Übergabe der Hölzer 3 von der Spanneinrichtung 4 der Querprofiliereinheit 1 in die Vorschubeinheit 15 der Längsprofiliereinheit 2. Die Spanneinrichtung 4 und die Vorschubeinheit 15 haben in dieser Ausgangslage Abstand voneinander. Im Bereich zwischen der Spanneinrichtung 4 und der Vorschubeinheit 15 befindet sich eine Zwischenklemmeinrichtung 33, die zwei übereinander liegende Klemmbacken 34, 35 aufweist, von denen wenigstens eine in Höhenrichtung verstellbar ist. Außerdem ist die gesamte Zwischenklemmeinrichtung 33 in Höhenrichtung verstellbar. Im Bereich unterhalb der Zwischenklemmeinrichtung 33 befindet sich eine Ubergabeeinheit 36, die zwei mit Abstand übereinander liegende horizontale, endlos umlaufende Bänder 37, 38 aufweist. Sie sind jeweils auf einem Träger 39, 40 gelagert, von denen wenigstens einer in Höhenrichtung verstellbar ist. Dadurch kann der Abstand zwischen den beiden Bändern 37, 38 einfach an die Dicke der zu transportierenden Hölzer 3 angepaßt werden. Die gesamte Übergabeeinheit 36 ist außerdem in Höhenrichtung verstellbar.
Zur Übergabe der Hölzer 3 von der Spanneinrichtung 4 zur Vorschubeinheit 15 wird die Spanneinrichtung 4 zunächst in Verstellrichtung 30 gegen die Zwischenklemmeinrichtung 33 verstellt. Die beiden Klemmbacken 34, 35 der Klemmeinrichtung 33 sind so eingestellt, daß die Hölzer 3 zuverlässig zwischen die Klemmbacken 34, 35 einfahren können. Die Klemmeinrichtung 33 liegt im Bereich außerhalb des Verstellweges der Spanneinrichtung 4 bzw. ihrer Klemmbacken 25, 26. Die Spanneinrichtung 4 wird so weit verstellt, bis die Hölzer 3 vollständig zwischen den Klemmbacken 34, 35 der Klemmeinrichtung 33 liegen (Fig. 8). Sobald die Hölzer 3 vollständig zwischen die Klemmbacken 34, 35 eingefahren sind, wird eine der Klemmbacken, im Ausführungsbeispiel die obere Klemmbacke 34 gegen die Hölzer 3 verstellt, die dadurch zuverlässig zwischen den Klemmbacken 34, 35 der Klemmeinrichtung 33 eingeklemmt werden (Fig. 8). Anschließend wird die untere Klemmbacke 25 der Spanneinrichtung 4 um die Achse 32 so weit nach unten geschwenkt, daß der Anschlag 31 der Klemmbacke 25 im Bereich unterhalb der Hölzer 3 liegt. Nunmehr kann die Spanneinrichtung 4 in Pfeilrichtung 41 zurückgefahren werden. Dies erfolgt durch entsprechendes Zurückfahren des Querschlittens 5, auf dem die Spanneinrichtung 4 angeordnet ist.
Während der Übergabe der Hölzer 3 von der Spanneinrichtung 4 in die Zwischenklemmeinrichtung 33 befindet sich die Übergabeeinheit 36 noch in ihrer Ausgangsstellung im Bereich unterhalb der Zwischenklemmeinrichtung 33 (Fig. 8). Sobald die Spanneinrichtung 4 zurückgefahren ist, wird die Übergabeeinheit 36 in ihre in Fig. 9 dargestellte Übergabestellung verfahren. Hierzu ist es notwendig, daß die Übergabeeinheit 36 zunächst in ihrer abgesenkten Lage in Pfeilrichtung 42 so weit zurückgefahren wird, daß beim anschließenden Verstellen der Übergabeeinheit 36 in Höhenrichtung (Pfeil 43 in Fig. 8) die Bänder 37, 38 an der von der Vorschubeinheit 15 abgewandten Seite der Zwischenklemmeinrichtung 33 auf Höhe der Hölzer 3 hochgefahren werden kann. Die beiden Bänder 37, 38 haben hierbei einen solchen Abstand voneinander, daß beim anschließenden Verstellen der Übergabeeinheit 36 in Richtung auf die Zwischenklemmeinrichtung 33 die Hölzer 3 zwischen die beiden Bänder 37, 38 gelangen (Fig. 9). Der Abstand zwischen den beiden Bändern wird so eingestellt, daß sie beim Verstellen der Übergabeeinheit 36 in die Übergabestellung die Hölzer 3 nicht berühren. Sobald die in Fig. 9 dargestellte Übergabelage erreicht ist, wird wenigstens einer der Träger 39, 40 der Übergabeeinheit 36 so verstellt, daß die Hölzer 3 von den Bändern 37, 38 erfaßt werden können.
Sobald die Bänder 37, 38 in dieser Weise eingestellt worden sind, können die Klemmbacken 34, 35 der Zwischenklemmeinrichtung 33 geöffnet und damit die Hölzer freigegeben werden. Anschließend fährt die Übergabeeinheit 36 mit den gespannten Hölzern 3 in Pfeilrichtung 30 (Fig. 9) so weit zurück, daß die Klemmbacken 34, 35 der Zwischenklemmeinrichtung 33 im Bereich außerhalb der Hölzer 3 sind. Anschließend wird die Zwischenklemmeinrichtung 33 nach unten weggefahren (Fig. 10).
Sobald die Zwischenklemmeinrichtung 33 im Bereich außerhalb der Hölzer 3 sich befindet, fährt die Übergabeeinheit 36 entgegen Pfeilrichtung 30 (Fig. 9) bis nahe an die Vorschubeinheit 15 heran. Anschließend wird eine schieberartige Transporteinheit 77 in Förderrichtung 44 (Fig. 10) bewegt, welche die Hölzer 3 in die Vorschubeinheit 15 der Längsprofiliereinheit 2 fördert. Die endlos umlaufenden Bänder 37, 38 der Ubergabeeinheit 36 liegen hierbei auf den Hölzern 3 auf und werden beim Verschieben umlaufend mitgenommen. Die Bänder 37, 38 dienen zur Führung der Hölzer 3 und verhindern ein axiales Verschieben bei diesem Übergabevorgang. Die Förderrichtung 44 (Fig. 10) der Hölzer 3 liegt senkrecht zu ihrer Längsachse. Die Vorschubeinheit 15 hat in noch zu beschreibender Weise über ihre Länge gleichmäßig verteilt angeordnete Spannbacken, mit denen die Hölzer 3 auf einer Auflage 45 festgespannt werden. Der Verschiebeweg der Hölzer 3 in Verstellrichtung 44 wird durch Anschläge 46 begrenzt, die über die Länge der Vorschubeinheit 15 verteilt angeordnet sind und an denen die Hölzer 3 zur Anlage kommen.
Da bei der Längsprofilierung die Hölzer 3 nicht, wie bei der Querprofilierung, nebeneinander liegen können, wird zunächst nur das eine Holz 3 in die Vorschubeinheit 15 transportiert. Sobald das Holz 3 an den Anschlägen 46 zur Anlage kommt, werden die Klemmbacken nach unten gefahren und dieses Holz 3 in der Vorschubeinheit 15 festgeklemmt. Anschließend wird die Vorschubeinheit 15 in Vorschubrichtung 21 (Fig. 2 und 3) so weit verschoben, bis das nächste Holz 3 in gleicher Weise mittels der Transporteinheit 77 in die Vorschubeinheit 15 gefördert und dort festgeklemmt werden kann. Fig. 11 zeigt die Situation, in welcher die Vorschubeinheit 15 entsprechend vorgefahren und das zweite Holz 3 in die Vorschubeinheit 15 transportiert hat.
Nachdem dieses zweite Holz 3 in der Vorschubeinheit 15 eingespannt worden ist, wird der obere Träger 39 der Übergabeeinheit 36 aufwärts verfahren, so daß die Übergabeeinheit 36 entgegen Verstellrichtung 42 (Fig. 8) zurückgefahren werden kann. Anschließend wird die Übergabeeinheit 36 wieder abgesenkt, so daß sie für den nächsten Übergabetakt zur Verfügung steht. Sind die zu bearbeitenden Hölzer 3 lang, kann in der Vorschubeinheit 15 bei entsprechender Länge nur ein Holz eingespannt werden. Dann muß der Schlitten 5 so lange in der Übergabeposition warten, bis die Vorschubeinheit 15 nach der Abgabe des längsprofilierten Holzes 3 wieder in den Übergabebereich zurückgefahren ist.
Je nach Holzbreite kann die Spanneinrichtung 4 der Querprofiliereinheit 1 nur ein Holz 3 oder auch mehr als zwei Hölzer aufnehmen. Ist das Holz 3 so breit wie die Spannelemente der Spanneinrichtung 4, dann nimmt die Spanneinrichtung 4 nur ein Holz 3 auf und übergibt es nach der Bearbeitung in der Querprofiliereinheit 1 in der beschriebenen Weise der Vorschubeinheit 15. Haben die Hölzer 3 eine vergleichsweise geringe Breite, können in der Spanneinrichtung 4 drei oder mehr Hölzer 3 aneinanderliegend eingespannt werden. Je nach Länge dieser Hölzer 3 und der Vorschubeinheit 15 können sie hintereinander in der Vorschubeinheit 15 eingespannt werden. Reicht die Länge der Vorschubeinheit 15 nicht aus, alle Hölzer 3 hintereinanderliegend in der Vorschubeinheit 15 einzuspannen, erfolgt die Übergabe der restlichen Hölzer 3 dann, wenn die Vorschubeinheit 15 nach der Bearbeitung der von ihr aufgenommenen Hölzer in der Längsprofiliereinheit 2 in ihre Übergabeposition zurückkehrt. Dann können die restlichen Hölzer 3 in der beschriebenen Weise der Vorschubeinheit 15 übergeben werden.
Solange die Hölzer 3 noch in die Zwischenklemmeinrichtung 33 eingespannt sind, werden vorteilhaft mit dem Bohraggregat 12 der Querprofiliereinheit 1, falls notwendig, Bohrungen im Holz 3 angebracht. Während dieses Bohrvorganges kann die Spanneinrichtung 4 zur Aufnahme der nächsten Werkstücke in die Ausgangsposition zurückfahren.
Anhand der Fig. 4 bis 6 und 14 wird die Vorschubeinheit 15 näher erläutert. Sie hat einen Träger 47, der sich vorteilhaft über die Länge der Vorschubeinheit 15 erstreckt. Der Träger 47 ist mit einer vertikalen Rückwand 48 versehen, an der über die Länge verteilt Führungselemente 49 befestigt sind. Diese Führungselemente 49 sind in zwei horizontalen, mit Abstand übereinander liegenden Reihen angeordnet (Fig. 4, 5 und 14). Mit den Führungselemente 49 sitzt die Vorschubeinheit 15 auf zwei zueinander parallelen Führungsschienen 50, 51 (Fig. 14), die an einem (nicht dargestellten) Maschinengestell vorgesehen sind.
Die Rückwand 48 des Trägers 47 geht am oberen Ende in einen senkrecht zu ihr liegenden Tragteil 52 über. An seiner Unterseite ist wenigstens ein Antrieb 53 für Klemmbacken 54 befestigt. Der Antrieb 53 hat vorteilhaft Hubzylinder 56 (Fig. 14), die an der Unterseite des horizontalen Tragteiles 52 befestigt sind und aus denen nach unten eine Kolbenstange 57 ragt. Sie ist am unteren Ende über ein Querstück 58 mit einem aufwärts gerichteten stangenförmigen Träger 59 verbunden, der durch wenigstens eine Führung 60 sowie eine Führungsbuchse 61 nach oben über den Tragteil 52 ragt und am oberen freien Ende die jeweilige Klemmbacke 54 trägt. Auf diese Weise sind sämtliche Klemmbacken 54 durch jeweils einen Hubzylinder 56 unabhängig voneinander in Höhenrichtung verstellbar. Somit können die einzelnen Klemmbacken 54 unabhängig voneinander verstellt werden. Es ist auch möglich, die Klemmbacken 54 in Gruppen zusammenzufassen und gruppenweise gemeinsam zu verstellen.
Auf dem Tragteil 52 ist mindestens ein rechenartiger Träger 62 gelagert, in dem die Anschläge 46 für die Hölzer 3 gelagert sind. Die Anschläge 46 sind vorteilhaft Anschlagbolzen, die senkrecht über die den Klemmbacken 54, 55 zugewandte Oberseite des Trägers 62 ragen und unter der Kraft wenigstens einer Druckfeder 63 stehen. Diese verschieben die Anschläge 46 axial in eine Anschlagstellung.
Die Klemmbacken 54 haben in Draufsicht (Fig. 6) einen viereckigen Grundkörper 64, der an seinem klemmseitigen Längsrand einen rechteckigen Vorsprung 65 aufweist. Dadurch sind die Klemmbacken 54 beiderseits des Vorsprunges 65 mit rechteckigen Aussparungen 66, 67 versehen. Sämtliche Klemmbacken 54 sind gleich ausgebildet und liegen mit Abstand nebeneinander in einer Reihe. Die Klemmbacken 54 sind vorteilhaft auf das obere Ende der Träger 59 geschraubt, so daß sie bei Bedarf einfach und schnell ausgewechselt werden können.
Die Klemmbacken 54 liegen in vertikaler Richtung den Klemmbacken 55 gegenüber, deren Oberseiten 68 die Auflage 45 (Fig. 10) für das einzuspannende Holz 3 bilden. Die Klemmbacken 55 liegen auf gleicher Höhe und sind vorteilhaft ebenfalls unabhängig voneinander in Höhenrichtung begrenzt verstellbar. Es ist aber auch möglich, die unteren Klemmbacken 55 gemeinsam oder in Gruppen in Höhenrichtung zu verstellen. Die Verstellung kann über Zylinder erfolgen. Es ist aber möglich, die Klemmbacken 55 über eine CNC-Achse zu verstellen.
Die Klemmbacken 55 sind, wie sich aus Fig. 6 ergibt, auf Lücke zu den Klemmbacken 54 angeordnet, in Draufsicht auf die Vorschubeinheit 15 gesehen. Die unteren Klemmbacken 55 haben T-Form mit einem rechteckigen Fuß 69, der in Draufsicht zwischen benachbarten Klemmbacken 54 liegt. Die unteren Klemmbacken 55 sind außerdem mit einem rechtwinklig zum Fuß 69 liegenden Steg 70 versehen, der, in Draufsicht gesehen, in die Aussparungen 66, 67 benachbarter oberer Klemmbacken 54 eingreift. Zwischen den einzelnen Klemmbacken 54, 55 besteht ein kleiner Freiraum, in Draufsicht gesehen. Dadurch können die oberen Klemmbacken 54 in noch zu beschreibender Weise nach unten zwischen die unteren Klemmbacken 55 einwandfrei und ohne Gefahr der Berührung verstellt werden.
Die unteren Klemmbacken 55 stehen quer von einem Fuß 71 ab (Fig. 14), der die Klemmbacken 55 mit einem Hubzylinder 72 verbindet. Mit den Hubzylindern 72 lassen sich die unteren Klemmbacken 55 in noch zu beschreibender Weise absenken, wenn, wie anhand der Fig. 7 bis 11 erläutert worden ist, die Hölzer 3 nach der Querprofilierung der Vorschubeinheit 15 übergeben werden. Die Hubzylinder 72 sind am Träger 47 gelagert.
Der rechenförmige Träger 62 hat horizontale, mit Abstand voneinander liegende Finger 73 (Fig. 4 und 14), zwischen denen die stangenförmigen Träger 59 für die oberen Klemmbacken 54 sowie die Füße 71 für die unteren Klemmbacken 55 ragen. Der Träger 62 ist mit mit Abstand voneinander liegenden aufrechten Auflagern 74 versehen, an denen die Druckfedern 63 der Anschläge 31 mit einem Ende abgestützt sind. Der rechenförmige Träger 62 kann horizontal in Pfeilrichtung 75 auf dem Tragteil 52 des Trägers 47 verstellt werden, um die Lage der Anschläge 46 an die Querschnittsform des einzuspannenden Holzes 3 anzupassen. Der hierfür vorgesehene Antrieb ist nicht dargestellt. Die Verstellung des rechenförmigen Trägers 62 kann manuell erfolgen; vorteilhaft wird er jedoch gesteuert verstellt, so daß eine automatische Einstellung der Anschläge 46 in bezug auf die Querschnittsform des zu bearbeitenden Holzes 3 gewährleistet ist.
Die Vorschubeinheit 15 kann auch zwei oder mehr nebeneinander liegende Träger 62 haben, die vorteilhaft unabhängig voneinander in der beschriebenen Weise verstellbar sind, um mehrere Hölzer hintereinander zu spannen, die mit unterschiedlicher Breite bearbeitet werden sollen.
Wie anhand der Fig. 7 bis 11 erläutert worden ist, werden die Hölzer 3 aus der Querprofiliereinheit 1 nicht direkt der Vorschubeinheit 15 der Längsprofiliereinheit 2 übergeben, sondern mit Hilfe der Übergabeeinheit 36. Sie ist in der Übergabeposition (Fig. 9) so in bezug auf die Vorschubeinheit 15 angeordnet, daß die Bänder 37, 38 der Übergabeeinheit 36 nur geringen Abstand von den Klemmbacken 54, 55 der Vorschubeinheit 15 haben. Dadurch lassen sich die Hölzer 3 problemlos von der Ubergabeeinheit 36 in die Vorschubeinheit 15 transportieren. Um eine störungsfreie und optimale Übergabe der Hölzer 3 zu erreichen, werden vor der Übergabe der Hölzer die unteren Klemmbacken 55 geringfügig so weit abgesenkt, daß die Auflageseite 68 der unteren Klemmbacken 55 unterhalb der Auflageebene des unteren Bandes 38 der Übergabeeinheit 36 liegt. Dadurch kann das Holz 3 problemlos zwischen die beiden Klemmbacken 54, 55 der Vorschubeinheit 15 transportiert werden.
Die Anschläge 46 werden durch entsprechendes Verschieben des rechenförmigen Trägers 62 in Verschieberichtung 75 vor der Übergabe der Hölzer 3 in die notwendige Lage eingestellt. Die oberen Klemmbacken 54 sind während der Übergabe geringfügig nach oben verstellt, so daß sie den Übergabevorgang nicht behindern. Sobald die Hölzer 3 an den über die Länge der Vorschubeinheit verteilt angeordneten Anschlägen 46 anliegen, werden die oberen und die unteren Klemmbacken 54, 55 zusammengefahren, indem die entsprechenden Hubzylinder 56, 72 betätigt werden. Dadurch werden die Hölzer 3 optimal zwischen den Klemmbacken 54, 55 der Vorschubeinheit 15 eingespannt. Die Einspannung erfolgt so, daß die durch die Längsprofilierwerkzeuge 18 zu bearbeitende Längsseite der Hölzer 3 freiliegt, so daß diese Längsseite ohne Behinderung durch die Klemmbacken 54, 55 bearbeitet werden kann. Während der Längsprofilierung wird die Vorschubeinheit 15 längs der Führungsschienen 50, 51 zuverlässig verschoben. Da die Führungselemente 49 über die Länge des Trägers 47 verteilt angeordnet und außerdem in zwei mit ausreichendem Abstand übereinander angeordneten horizontalen Reihen befestigt sind, kann der Träger 47 einwandfrei und ohne Gefahr des Verkantens verschoben werden. Dadurch ist eine sehr genaue Bearbeitung der Hölzer 3 gewährleistet.
Die Vorschubeinheit 15 bildet nicht nur die Transporteinrichtung für die Hölzer in der Längsprofiliereinheit 2, sondern gleichzeitig auch die Spanneinrichtung. Dadurch wird die hochgenaue Bearbeitung der Hölzer 3 auch während des Längsprofiliervorganges optimal sichergestellt.
Wie Fig. 14 zeigt, steht die zu bearbeitende Längsseite der Hölzer 3 ausreichend weit über die Klemmbacken 54, 55 der Vorschubeinheit vor. Dadurch können an dieser Längsseite die erforderlichen Bearbeitungen vorgenommen werden. Fig. 5 zeigt, daß an dieser Längsseite des Holzes 3 beispielsweise zwei Bohrungen 76 in der Längsseite und zwei Bohrungen 76 in der Oberseite des Holzes 3 mit den Bohraggregaten 16 angebracht worden sind. Der Antrieb der Vorschubeinheit 15 ist als CNC-Achse ausgeführt, so daß das gespannte Holz 3 exakt in die Position zum Bohren gefahren werden kann. In dem Bereich, in dem die beiden Bohrungen 76 in der Oberseite des Holzes 3 angebracht werden, ist die entsprechende obere Klemmbacke 54 der Vorschubeinheit 15 abgesenkt worden. Dadurch liegt das Holz 3 an dieser Stelle frei, so daß mit dem entsprechenden Bohraggregat 16 die Bohrungen angebracht werden können. Da der Antrieb der Vorschubeinheit 15 als CNC-Achse ausgeführt ist, können die entsprechenden Klemmbacken 54, die bei der weiteren Bearbeitung des Holzes 3 in der Längsprofiliereinheit 2 stören könnten, vor der Übergabe der Hölzer 3 in die Vorschubeinheit unter die Auflageebene 68 der unteren Klemmbacken 55 abgesenkt werden, indem der entsprechende Hubzylinder 56 betätigt wird. Das in die Vorschubeinheit 15 eingespannte Holz 3 läßt sich dann exakt relativ zu den maschinenfesten Bohraggregaten 16 fahren, die lagegenau die notwendigen Bohrungen anbringen.
Anhand der Fig. 12 und 13 wird die Transporteinheit 77 beschrieben, mit der die Hölzer 3 in der beschriebenen Weise aus der Übergabeeinheit 36 in die Vorschubeinheit 15 geschoben werden.
Die Transporteinheit 77 hat einen plattenförmigen Träger 78, der an seiner dem Holz 3 zugewandten Seite mit Abstand voneinander liegende Andruckbacken 79 aufweist. Die Andruckbacken 79 erstrecken sich über die Höhe des Trägers 78 und des Holzes 3. Die Stirnseiten der Andruckbacken 79 sind gerundet, so daß sie lediglich linienförmig am Holz 3 anliegen. Die Transporteinheit 77 wird mit einem (nicht dargestellten) Antrieb, vorzugsweise mit Hubzylindern, in Richtung auf die Anschläge 46 in der Vorschubeinheit 15 verstellt.
Die Transporteinheit 77 befindet sich im Übergabebereich der Hölzer 3 von der Quer- zur Längsprofiliereinheit und ist Bestandteil der Übergabeeinheit 36. Die Transporteinheit 77 wird dann betätigt, wenn die Hölzer 3 zwischen die geöffneten Klemmbacken 54, 55 der Vorschubeinheit 15 geschoben werden. Die Klemmbacken 54, 55 bleiben so lange geöffnet, bis das Holz 3 mittels der Transporteinheit 77 an den Anschlägen 46 zur Anlage gebracht worden ist. Dann werden die Klemmbacken 54, 55 der Vorschubeinheit 15 betätigt, so daß sie das Holz 3 einspannen. Erst wenn dieser Einspannvorgang beendet ist, wird die Transporteinheit 77 in ihre Ausgangsstellung zurückgefahren.
Mit der Transporteinheit 77 können über ihre Länge leicht gekrümmte Hölzer 3 auch geradegedrückt werden, um auch solche Hölzer trotz ihrer Längskrümmung einwandfrei bearbeiten zu können. Wird das gekrümmte Holz 3 in der beschriebenen Weise mit der Transporteinheit 67 an den Anschlägen 46 der Vorschubeinheit 15 zur Anlage gebracht, wird durch weitere Druckbeaufschlagung die Transporteinheit 77 weiter in Richtung auf die Anschläge 46 bewegt. Hierbei wird das Holz 3 an den Anschlägen 46 anliegend geradegerichtet (Fig. 13), so daß es mit seiner einen Längsseite an den Anschlägen 46 anliegt. Die Transporteinheit 77 bleibt in ihrer Druckstellung gemäß Fig. 13 so lange, bis die Klemmbacken 54, 55 der Vorschubeinheit 15 das geradegedrückte Holz 3 eingespannt haben. Die Spannkraft der Klemmbacken 54, 55 ist so hoch, daß das Holz 3 nach dem Zurückfahren der Transporteinheit 77 in der Vorschubeinheit 15 in seiner geradgedrückten Lage bleibt.
Die Fig. 2 und 15 zeigen die Maschine mit zwei Längsprofiliereinheiten, die somit mit zwei Vorschubeinheiten 15 ausgestattet ist. Wie Fig. 15 zeigt, sind diese beiden Vorschubeinheiten 15 gleich ausgebildet, jedoch spiegelbildlich zueinander angeordnet. Sind die Hölzer 3 in der beschriebenen Weise in die in Fig. 2 rechte Vorschubeinheit 15 eingespannt, dann werden die Hölzer mit ihr an den Bohraggregaten 16 und an den Längsprofilierwerkzeugen 18 vorbeigeführt, mit denen die in Transportrichtung 21 rechte Längsseite der Hölzer 3 bearbeitet wird. Die in Fig. 2 linke Vorschubeinheit 15 befindet sich in einem Übergabebereich 80 (Fig. 2), der im Bereich zwischen den doppelt vorhandenen Bohraggregaten 16 und Längsprofilierwerkzeugen 18 vorgesehen ist. Die beiden Vorschubeinheiten 15 sind so zueinander angeordnet, in Transportrichtung 21 gesehen (Fig. 15), daß ihre Klemmbacken 54, 55 nur sehr geringen Abstand voneinander haben. Die Hölzer 3 sind so in die eine Vorschubeinheit 15 eingespannt, daß sie in der beschriebenen Weise ausreichend weit über die Klemmbacken 54, 55 vorstehen. Dieser Überstand ist so groß, daß die andere Vorschubeinheit 15 mit ihren Klemmbacken 54, 55 das Holz in diesem Bereich einspannen kann.
Fig. 15 zeigt die Maschine von der Auslaufseite her. Die rechte Vorschubeinheit 15 hat das Holz 3 so an den entsprechenden Werkzeugen in der Längsprofiliereinheit 2 vorbeigeführt hat, daß in Fig. 15 die linke Längsseite des Holzes 3 profiliert worden ist, die in Durchlaufrichtung des Holzes 3 durch die Maschine die rechte Längsseite ist. Wenn sich diese Vorschubeinheit 15 in den Übergabebereich 80 bewegt, sind die Klemmbacken 54, 55 der in Fig. 15 linken Vorschubeinheit 15 so weit geöffnet, daß das Holz 3 mit seinem überstehenden Bereich ungehindert zwischen die Klemmbacken dieser Vorschubeinheit 15 einfahren kann. Der rechenförmige Träger 62 mit den Anschlägen 46 wird so in Richtung auf das Holz 3 bewegt, daß die Anschläge 46 an ihm zur Anlage kommen. Anschließend werden die Klemmbacken 54, 55 dieser Vorschubeinheit 15 geschlossen und damit das Holz 3 am überstehenden Bereich gespannt. Anschließend können die Klemmbacken 54, 55 der in Fig. 15 rechten Vorschubeinheit 15 geöffnet werden, so daß dieses Holz 3 nur noch durch die Klemmbacken 54, 55 der linken Vorschubeinheit 15 gespannt ist. Die rechte Vorschubeinheit 15 gemäß Fig. 15 kann dann zurückfahren, um von der Querprofiliereinheit 1 in der beschriebenen Weise die nächsten Hölzer 3 zu übernehmen. Die in Fig. 15 linke Vorschubeinheit 15 führt nunmehr das Werkzeug 3 an den entsprechenden Werkzeugen so vorbei, daß die in Fig. 15 rechte Längsseite des Holzes 3 profiliert wird, die in Durchlaufrichtung des Holzes 3 die linke Längsseite ist.
Die beiden Vorschubeinheiten 15 werden an einander gegenüberliegenden Seiten in der beschriebenen Weise an einem Gestellteil 81 mit den Führungsschienen 50, 51 verfahren.
Bei einer anderen, nicht dargestellten Ausführungsform ist die Maschine mit übereinander paarweise angeordneten Vorschubeinheiten 15 versehen, von denen die oberen Vorschubeinheiten um eine horizontale Achse nach oben gespiegelt oberhalb der unteren Vorschubeinheiten 15 angeordnet sind. Durch eine solche Ausbildung wird die Leistung der Maschine erhöht, da eine Vorschubeinheit bereits in die jeweilige Übergabeposition zurückfahren kann, während die zweite Vorschubeinheit das Holz 3 an der jeweiligen Längsprofiliereinheit vorbeiführt.
Der Längsvorschub der Hölzer 3 in der Längsprofiliereinheit 2 mittels der Vorschubeinheit 15 ermöglicht eine exakte Verfolgung, Vermessung und Positionierung der Hölzer über die Achsen. Dadurch sind eine hohe Fertigungspräzision und hohe Prozeßsicherheiten gewährleistet. Die Fräs- und Bohrarbeiten werden in einer Maschine durchgeführt, so daß eine Teilekomplettbearbeitung auf der Maschine möglich ist. Da die Hölzer 3 während ihres Transportes durch die Quer- und die Längsprofileinheit 1, 2 stets eingespannt sind und nicht auf Tischflächen oder Anschlägen rutschen, wird die entsprechende Seite der Hölzer schonend behandelt. Auch tritt kein Späneaufwalzen auf. Mit der Vorschubeinheit 15 und mit der Spanneinrichtung 4 ist es möglich, die Hölzer 3 mehrmals an den entsprechenden Werkzeugen 11, 18 vorbeizufahren, um unterschiedliche Bearbeitungen am Holz 3 vorzunehmen. Dabei werden die entsprechenden Spindeln 10, 17 jeweils radial und/oder axial verstellt, um die für die unterschiedlichen Bearbeitungen notwendigen Schneidmesser in Eingriff bringen zu können.
Da die Hölzer 3 während der gesamten Bearbeitung und auch während der verschiedenen Übergabeprozeduren fest eingespannt sind, kann die Lage der Hölzer 3 zu jedem Zeitpunkt exakt bestimmt werden. Dadurch ist es möglich, die Hölzer 3 mit dieser Maschine mit hoher Fertigungspräzision zu bearbeiten. Insbesondere können dadurch in der beschriebenen Weise in der Längsprofiliereinheit 2 die Bohrungen und/oder Ausfräsungen mit den maschinenfesten Bohraggregaten 16 angebracht werden, da die Hölzer 3 mit den Vorschubeinheiten 15 exakt relativ zu den Bohraggregaten 16 positioniert werden können.
Da der Antrieb der Vorschubeinheit 15 als CNC-Achse ausgeführt ist, können am Holz 3 auch Tauchungen vorgenommen werden. Hierunter sind Profilierungen zu verstehen, die sich nicht über die gesamte Länge des Holzes 3 erstrecken. Aufgrund der hohen Positioniergenauigkeit können die entsprechenden Werkzeuge exakt in das Holz eingefahren und aus ihm herausgefahren werden.
Da die Vorschubeinheit 15 CNC-gesteuert verfahren wird und auch die Werkzeuge 18 bzw. ihre Spindeln 17 CNC-gesteuert quer zur Verfahrrichtung der Vorschubeinheiten 15 bewegbar sind, kann durch Interpolation aus diesen beiden senkrecht zueinander liegenden Bewegungen der Spindel 17 und der Vorschubeinheit 15 jede beliebige Kontur der Längsseite der Hölzer erreicht werden. So lassen sich an den Hölzern Stichbögen, Wellenlinien und dergleichen ohne Probleme herstellen.
Mit der Spanneinrichtung 4 sowie der Vorschubeinheit 15 können auch sehr kurze Hölzer 3 zuverlässig bearbeitet werden. Dadurch entfallen aufwendige Sonderfertigungen.
Die Maschinenteile sind als Module aufgebaut, so daß die Maschinen in unterschiedlicher Weise zusammengestellt werden können. So ist der Aufbau der Maschine unabhängig von ihrer Länge, da bei entsprechenden Maschinenlängen eine entsprechende Zahl von Modulen zusammengestellt wird. Die Module können so zur Maschine zusammengestellt werden, daß sie als Rechts- oder Linkseinheit arbeiten kann.
Das Magazin 24 (Fig. 1) kann so ausgebildet sein, daß aus ihm die zu bearbeitenden Hölzer 3 automatisch herausgenommen und in die Maschine eingegeben und nach dem Bearbeiten wieder zurückgegeben werden. Die Maschine kann bedienerlos arbeiten, da eine hohe Prozeßsicherheit gewährleistet ist.
Da die Hölzer 3 nicht an einem Anschlag anliegend durch die Maschine transportiert werden, sondern jeweils mittels der Spanneinrichtung 4 bzw. der Vorschubeinheit 15 eingespannt sind, ist eine variable Spanabnahme am Holz 3 problemlos über die Spindelposition steuerbar. Dadurch ergibt sich eine hohe Flexibilität und eine optimale Rohholzausnutzung.
Die Spindelführungen bestehen vorteilhaft aus Polymerbeton, wodurch eine optimale Schwingungsentkoppelung der Spindeln erreicht wird.
Die Spindeln können beispielsweise eine Länge von 700 mm haben und einen variablen Hub von 650 mm aufweisen. Dadurch ergibt sich eine völlige Freiheit in der Spindelbelegung, d.h. der Wahl der auf den Spindeln zu befestigenden Werkzeuge. Dadurch ist eine einfache Projektierung der Holzbearbeitung möglich.
Da sämtliche Holz- und Werkzeugbewegungen über die Steuerung von elektrischen Achsen erfolgen, ergibt sich eine hohe Präzision, eine große Variabilität sowie eine erhebliche Vereinfachung der Projektierung. Da über die gesteuerten Achsen jederzeit eine genaue Kenntnis der Lage des Holzes 3 innerhalb der Maschine gewährleistet ist, können die bei herkömmlichen Fenstermaschinen eingesetzten Lichtschranken entfallen, die häufig erhebliche Fehlerquellen der bekannten Fenstermaschinen sind. Ist die Maschine als Durchlaufanlage entsprechend Fig. 2 ausgebildet, können Mechanisierungen der Maschine entfallen, wie Rückfördereinrichtungen, Schwenkeinrichtungen und dergleichen. Für die Positionierung der Hölzer 3 ist ein Längenanschlag nicht erforderlich, wodurch sich sehr kleine Längentoleranzen der bearbeiteten Hölzer 3 ergeben. Da die Hölzer zumindest in den Bearbeitungsphasen über die elektronischen Achsen kontrolliert werden, können Endschalter im Vorschub der Maschine zur Verfolgung der Hölzer entfallen. Aufgrund des geregelten Taktablaufs der Maschine ist ein Puffer bzw. Magazin und deren Verwaltung nicht notwendig.
Da die Hölzer 3 bei der Quer- und bei der Längsprofilierung jeweils mit der Spanneinrichtung 4 bzw. der Vorschubeinheit 15 transportiert werden, sind Tischplatten zur Auflage und Abstützung der Hölzer nicht mehr erforderlich. Die damit zusammenhängenden Probleme hinsichtlich Verschleiß und Führungsunterbrechung im Bereich der Spindeln entfallen dadurch. Auch können die bei herkömmlichen Fenstermaschinen vorhandenen rechten Anschläge entfallen, die Probleme hinsichtlich des Verschleißes, der Einfräs- und Einstellarbeiten, der Führungsunterbrechung im Bereich der Spindeln sowie hinsichtlich einer optimalen Späneerfassung bereiteten.
Die bei den herkömmlichen Fenstermaschinen verwendeten Vorschubeinheiten in Form von Vorschubwalzen und die damit zusammenhängenden Probleme entfallen. Vorschubwalzen können verschleißen und verschmutzen, wodurch der Transport der Hölzer durch die Fenstermaschine beeinträchtigt wird. Darüber hinaus müssen die Vorschubwalzen eingestellt werden. Aufgrund des Vorschubbalkens sind die Werkzeuge an der Fenstermaschine nur schwierig zugänglich. Die Position der Hölzer in der Maschine muß bei einer solchen Vorschubeinheit durch Endschalter überwacht werden, was zu Problemen führen kann.
Werden die Hölzer zu einem Fenster- oder Türrahmen oder -flügel zusammengesetzt, wird dieser Rahmen bzw. Flügel anschließend durch die Fenstermaschine transportiert und hierbei ein Umfräsen vorgenommen. Bei diesen Umfräsarbeiten ist der Vorschubbalken hinderlich. Für das Umfräsen kleiner Rahmen bzw. Flügel ist ein zusätzlicher Umfräswagen erforderlich. Insbesondere sind solche Umfräswagen nicht für Studiofenster brauchbar, bei denen die Rahmenteile teilweise unter Winkeln ungleich 90° aneinander anschließen.
Solche Probleme treten bei der beschriebenen Maschine nicht auf, weil die Vorschubeinheit 15 auch beim Umfräsen eingesetzt werden kann. Wie Fig. 16 zeigt, wird der aus den in der Maschine bearbeiteten Hölzern 3 zusammengesetzte Rahmen 82 an der Außenseite der Rahmenteile bearbeitet, insbesondere gefräst. Der Rahmen 82 wird mit seinem einen Rahmenteil 3 an die Anschläge 46 der Vorschubeinheit 15 angelegt und in der beschriebenen Weise mit den Klemmbacken 54, 55 gespannt. Da von dem eingespannten Rahmenteil 3 aus senkrecht die weiteren Rahmenteile abstehen, werden diejenigen Klemmbacken 54, die im Bereich dieser quer abstehenden Rahmenteile liegen, vor dem Einspannen des Rahmens 82 unter die Auflageebene 68 der unteren Klemmbacken 55 (Fig. 14) abgesenkt. Die Absenkung der entsprechenden Klemmbacken 54 erfolgt programmgesteuert in Abhängigkeit von dem zu umfräsenden Rahmen 82. Somit kann der Rahmen 82 problemlos in die Vorschubeinheit 15 eingesetzt und gespannt werden. Die abgesenkten Klemmbacken 54 nehmen die in ihrem Verschiebeweg liegenden Anschläge 46 gegen die Kraft der Druckfedern 63 mit. Wie Fig. 6 zeigt, sind die Klemmbacken 54 im Bereich des Grundkörpers 64 so breit, daß sie gleichzeitig zwei Anschläge 46 erfassen und nach unten drücken können.
Fig. 16 zeigt einen Flügelrahmen 82 mit einer Sprosse 83. Mit der Vorschubeinheit 15 können auch zwei oder mehr nebeneinander liegende Rahmen 82 eingespannt werden, um die Außenseiten zu fräsen. Die Zahl der gleichzeitig einzuspannenden Rahmen 82 richtet sich nach der Länge der Vorschubeinheit 15 und der Länge bzw. Breite der Rahmen.
Mit der Vorschubeinheit 15 wird das Holz 3 bei seinem Transport durch die Maschine festgehalten, insbesondere auch im Bereich der jeweiligen Werkzeuge. So kann ein linker Andruck, wie er bei herkömmlichen Fenstermaschinen vorgesehen ist, entfallen. Durch die feste Einspannung in allen Vorschub- bzw. Spanneinrichtungen entstehen am Holz 3 keine Eindrücke, Riefen und dergleichen.
Anhand der Zeichnungen ist die Maschine als Winkelmaschine beschrieben worden, die die Quer- und die Längsprofiliereinheit 1, 2 aufweist, die rechtwinklig zueinander liegen. Die beschriebene Vorschubeinheit 15 kann auch bei einer Maschine vorgesehen sein, die eine Querprofiliereinheit nicht aufweist, mit der die Hölzer 3 somit lediglich nur an wenigstens einer Längsseite bearbeitet werden.
Die Maschine gemäß den Fig. 17a bis 17d wird vor allem zur Fertigung von Möbelteilen verwendet und weist keine Querprofiliereinheit auf. Die Hölzer 3 werden entweder von Hand oder über ein Magazin auf die Vorschubeinheit 15 aufgesetzt und mit den oberen und unteren Klemmbacken 54, 55 eingespannt. Die Hölzer 3 werden hierbei mit ihrer einen Stirnseite an einem maschinenfesten Anschlag 85 zur Anlage gebracht, um ein Längenbezugsmaß zu erhalten. Damit die Hölzer an ihrer am Anschlag 85 anliegenden Stirnseite 86 in noch zu beschreibender Weise bearbeitet werden können, stehen die Hölzer über die Klemmbacken 54, 55 in Transportrichtung vor. Sobald die Hölzer 3 am Längsanschlag 85 ausgerichtet und mit den Klemmbakken 54, 55 festgespannt sind, wird der Anschlag 85 aus seiner Anschlagstellung entfernt und die Vorschubeinheit 15 in Transportrichtung 21 transportiert.
Beim Transport in Transportrichtung 21 gelangen die Hölzer 3 zunächst in den Arbeitsbereich des Werkzeuges 87, mit dem eine entsprechende Bearbeitung an der Stirnseite 86 der Hölzer 3 vorgenommen wird. Das Werkzeug 87 kann einem Werkzeugmagazin 88 entnommen werden, in dem Fräser, Bohrer, Winkelaggregate, Sägen usw. angeordnet sein können. Das Werkzeug 87 sitzt auf einem quer zur Transportrichtung 21 verfahrbaren Schlitten 89, der längs einer Führung 90 senkrecht zur Transportrichtung 21 in Transportrichtung 91 zwischen dem Werkzeugmagazin 88 und der Bearbeitungsstelle verfahren werden kann. Nach der Bearbeitung der Stirnseite 86 wird das Holz 3 mit der Vorschubeinheit 15 in Transportrichtung 21 weiter zu einem nachfolgenden Werkzeug 92 transportiert. Es sitzt ebenfalls auf einem Schlitten 93, der senkrecht zur Transportrichtung 21 zwischen einem weiteren Werkzeugmagazin 94 und seiner Bearbeitungsstelle längs einer Führung 95 verfahren werden kann. Das Werkzeugmagazin 94 kann gleich ausgebildet sein wie das Werkzeugmagazin 88 und unterschiedliche Werkzeuge zur Längsbearbeitung, Querbearbeitung, zum Bohren oder zum Sägen der Hölzer 3 enthalten. Mit der Vorschubeinheit 15 werden die Hölzer 3 am rotierenden Werkzeug 92 vorbeigeführt, das die in Transportrichtung 21 rechte Längsseite der Hölzer 3 bearbeitet.
Ist die Längsbearbeitung des Holzes 3 beendet, wird die Vorschubeinheit 15 entgegen Transportrichtung 21 zum Bediener zurückgefahren. Nach Lösen der Klemmvorrichtung entnimmt er das Holz 3 und wendet es um seine Querachse um 180° (Fig. 17b). Dieses gewendete Holz 3 wird erneut zwischen den Klemmbacken 54, 55 der Vorschubeinheit 15 eingespannt. Das Holz 3 wird nach dem Wendevorgang mit seiner bearbeiteten Stirnseite 86 an den maschinenfesten Anschlag 85 angelegt, der in diesem Fall aus der in Fig. 17a dargestellten Lage in die Lage gemäß Fig. 17b verstellt werden kann. Es ist aber auch möglich, einen zweiten maschinenfesten Anschlag vorzusehen, um das teilweise bearbeitete Holz 3 auszurichten. Nach dem Einspannen wird die Vorschubeinheit 15 erneut in Transportrichtung 21 verfahren. Mit dem Werkzeug 87 wird nunmehr die andere Stirnseite 96 des Holzes 3 (Fig. 17c) bearbeitet. Damit eine problemlose Bearbeitung dieser Stirnseite möglich ist, ist das Holz 3 so zwischen den Klemmbacken 54, 55 eingespannt, daß das Holz 3 ausreichend weit in Transportrichtung 21 über die Vorschubeinheit 15 vorsteht. Nach der Bearbeitung der Stirnseite 96 wird das Werkzeug 87 quer zur Transportrichtung 21 zurückgefahren. Die Vorschubeinheit 15 wird dann weiter in Transportrichtung 21 bewegt und das Holz 3 am Werkzeug 92 vorbeigeführt, mit dem nunmehr die andere Längsseite des Holzes 3 bearbeitet wird. Sobald die Längsbearbeitung des Holzes 3 abgeschlossen ist, wird die Vorschubeinheit 15 in die Ausgangslage zurückgefahren (Fig. 17d). Der Bediener kann dann das an den beiden einander gegenüberliegenden Längsseiten sowie an den beiden Stirnseiten 86, 96 bearbeitete Holz 3 der Vorschubeinheit 15 entnehmen (Fig. 17d).
Bei dem beschriebenen Verfahren wird das Holz 3 zweimal durch die Maschine mittels der Vorschubeinheit 15 bewegt, wobei bei jedem Durchgang eine Stirnseite und eine Längsseite des Holzes 3 bearbeitet wird.
Fig. 18 zeigt eine Ausführungsform, bei der das Holz 3 in einem einzigen Durchgang durch die Maschine an beiden Längsseiten und an beiden Stirnseiten bearbeitet wird. Das zu bearbeitende Holz wird entweder manuell von einem Bediener oder auch über ein Magazin auf die Spanneinheit der Vorschubeinheit 15 aufgegeben. Das Holz wird zwischen den Klemmbacken 54, 55 der Vorschubeinheit festgeklemmt. Das in Transportrichtung 21 vordere Ende des Holzes 3 steht ausreichend weit über die Vorschubeinheit 15 vor, so daß mit dem Werkzeug 87 die Stirnseite 86 des Holzes 3 bearbeitet werden kann. Nach dieser Stirnseitenbearbeitung wird das Werkzeug 87 mittels des Schlittens 89 zurückgefahren und die Vorschubeinheit 15 weiter in Transportrichtung 21 bewegt. Das Holz 3 gelangt dann in den Bereich des Werkzeuges 92, mit dem die in Transportrichtung 21 rechte Längsseite des Holzes 3 bearbeitet wird. Entsprechend der vorhergehenden Ausführungsform steht das Holz 3 ausreichend weit über die Klemmbacken 54, 55 vor, so daß diese Längsseite einwandfrei bearbeitet werden kann.
In Transportrichtung 21 hinter dem Werkzeug 92 wird das Holz 3 einer zweiten Vorschubeinheit 15 übergeben, die auf der gegenüberliegenden Seite der Führung 97 für die beiden Vorschubeinheiten 15 spiegelbildlich angeordnet ist. Das Holz 3 wird so an die weitere Vorschubeinheit 15 übergeben, daß das Holz 3 mit seinem entgegen Transportrichtung 21 liegenden Ende über diese Vorschubeinheit 15 vorsteht. Auch die weitere Vorschubeinheit 15 hat die Klemmbacken 54, 55, mit denen das Holz an der Ober- und Unterseite eingespannt wird. Das Holz 3 wird bei der Übergabe mit den Klemmbacken 54, 55 der weiteren Vorschubeinheit 15 festgespannt, solange die Klemmbacken 54, 55 der anderen Vorschubeinheit 15 das Holz 3 noch gespannt halten,Auf diese Weise ist eine einwandfreie Übergabe des Holzes 3 gewährleistet, da es bei dieser Übergabe stets gespannt gehalten ist.
Nach der Übergabe wird die weitere Vorschubeinheit 15 in Transportrichtung 21 weiterbewegt. Mit einem Werkzeug 98, das mittels eines Schlittens 99 quer zur Transportrichtung 21 verstellbar ist, wird die in Transportrichtung 21 linke Längsseite des Holzes 3 bearbeitet. Mit dem in Transportrichtung 21 nachfolgenden Werkzeug 100, das ebenfalls auf einem Schlitten 101 gelagert ist, wird anschließend die in Transportrichtung 21 hinten liegende Stirnseite 96 des Holzes 3 bearbeitet.
Nach dem Durchlauf durch die Maschine ist das Holz 3 an beiden Stirnseiten 86, 96 und an der rechten und linken Längsseite bearbeitet. Das Holz 3 wird dann der Vorschubeinheit 15 entnommen und senkrecht zur Transportrichtung 21 nach Lösen der Spanneinrichtung weitergeführt.
Mit dieser Maschine werden die Hölzer 3 mit Hilfe zweier Vorschubeinheiten 15, die vorteilhaft gleich ausgebildet und spiegelbildlich zueinander angeordnet sind, an ihren beiden einander gegenüberliegenden Längsseiten bearbeitet. Diese Maschine arbeitet sehr produktiv. Wie anhand der Ausführungsformen nach den Fig. 1 bis 16 beschrieben worden ist, können bei den weiteren Ausführungsformen in der Ober- und Unterseite der Hölzer 3 auch Bohrungen hergestellt werden.
Wie bei der vorigen Ausführungsform hat die Maschine jeweils ein Magazin 88, 94 für die Werkzeuge 86, 92. Auf diese Weise ist immer ein Aggregat im Einsatz, so daß die Maschine eine hohe Produktivität bzw. kurze Durchlaufzeiten hat. Es ist auch möglich, nur ein Aggregat für die Längs- und die Querbearbeitung vorzusehen. Dann muß jedoch eine nicht produktive Zeit für den Wechsel der Werkzeuge für die Quer- und die Längsbearbeitung in Kauf genommen werden.
Die Maschine gemäß den Fig. 19a bis 19e hat entsprechend der vorigen Ausführungsform zwei Vorschubeinheiten 15, die auf einander gegenüberliegenden Seiten der Führung 97 spiegelbildlich zueinander angeordnet sind. Beide Vorschubeinheiten 15 sind vorteilhaft gleich ausgebildet. Der Bediener spannt das zu bearbeitende Holz 3 in die Vorschubeinheit 15 ein, wie anhand von Fig. 17 erläutert worden ist. Die Vorschubeinheit 15 wird anschließend in Transportrichtung 21 an den Werkzeugen 87, 92 vorbeigeführt, mit denen in der beschriebenen Weise die in Transportrichtung 21 vordere Stirnseite 86 und die in Transportrichtung rechte Längsseite des Holzes 3 bearbeitet werden.
In Transportrichtung hinter dem Werkzeug 92 liegt die zweite Vorschubeinheit 15, an die das Holz 3 übergeben wird, wie anhand von Fig. 18 im einzelnen erläutert worden ist (Fig. 19c). Mit dieser zweiten Vorschubeinheit 15 wird das Holz 3 entgegengesetzt zur Transportrichtung 21 längs der Führung 97 zurückgefahren. Dabei wird das Holz 3 an seiner anderen Stirnseite 96 sowie an der in Transportrichtung dieser zweiten Vorschubeinheit 15 rechten Längsseite mit den Werkzeugen 92, 87 bearbeitet. Nach dem zweimaligen Durchgang durch die Maschine ist das Holz somit an seinen beiden Längsseiten und an seinen beiden Stirnseiten 86, 96 bearbeitet. Mit der zweiten Vorschubeinheit 15 wird das Holz 3 nach dem zweiten Durchgang in Transportrichtung 21 wieder zurückgefahren (Fig. 19e), wobei die beiden Werkzeuge 87, 92 zurückgefahren sind. Dann wird das fertig bearbeitete Holz der zweiten Vorschubeinheit 15 entnommen. Währenddessen kann der Bediener das nächste zu bearbeitende Holz 3 in die erste Vorschubeinheit 15 einspannen.
Die Fig. 20 und 21 zeigen die Möglichkeit, in der Vorschubeinheit 15 breite, flächige Werkstücke 3 mit Saugspannern zuverlässig einspannen zu können. Hierzu werden die oberen Klemmbacken 54 nach unten verstellt (Fig. 20), so daß alle Klemmbacken 54, 55 auf gleicher Höhe liegen.
Die Klemmbacken 54 sind an ihrer Auflageseite mit Rahmendichtungen 102 versehen (Fig. 20), die in der abgesenkten Lage der Klemmbacken über die unteren Klemmbacken 55 überstehen. Außerdem sind die Klemmbacken 54 mit jeweils wenigstens einer Durchlaßöffnung 103 versehen. Das flächige Holz 3 (Fig. 21) wird auf die Klemmbacken 54, 55 aufgelegt, wobei die überstehenden Rahmendichtungen 102 sauber an der Auflageseite des Holzes 3 anliegen. Über die Öffnungen 103 wird dann Unterdruck erzeugt, durch den das flächige Holz 3 fest gegen die Klemmbacken 54, 55 gezogen und zuverlässig gehalten wird. Die Klemmbacken 54 bilden somit Saugspanner, die in bekannter Weise an ein Saugsystem angeschlossen sind.
Bei den beschriebenen Ausführungsformen sind die oberen und unteren Klemmbacken 54, 55 jeweils auf Lücke zueinander angeordnet. Es ist aber auch möglich, nicht alle Klemmbacken 54, 55 auf Lücke anzuordnen, sondern nur einen Teil dieser Klemmbacken. So können beispielsweise die ersten oberen und unteren Klemmbacken 54, 55 genau übereinander liegen, während erst die nachfolgenden Klemmbacken 54, 55 auf Lücke liegen. Durch eine solche Ausbildung ist das Holz 3 im Bereich seiner Stirnseite für die Querbearbeitung sicher und stabil gespannt. Auch kürzere Hölzer 3 lassen sich dadurch sicher einspannen.

Claims (56)

  1. Maschine zum Bearbeiten von Werkstücken (3) aus Holz, Kunststoff oder dergleichen, mit wenigstens einer Längsprofiliereinheit (2), die wenigstens eine Längsprofilierspindel aufweist, längs der das Werkstück (3) mit wenigstens einer Vorschubeinheit (15) verfahrbar ist und die Klemmbacken (54, 55) aufweist,
    dadurch gekennzeichnet, daß die Klemmbacken (54, 55) oben und unten auf dem Werkstück (3) so angeordnet sind, daß wenigstens ein Teil der oberen Klemmbacken (54) auf Lücke zu den unteren Klemmbacken (55) liegt, in Draufsicht auf die Vorschubeinheit (15) gesehen, wobei zwischen den einzelnen Klemmbakken (54, 55) ein kleiner Freiraum besteht, in Draufsicht gesehen.
  2. Maschine nach Anspruch 1,
    dadurch gekennzeichnet, daß die Vorschubeinheit (15) jeweils in einer Reihe angeordnete obere und untere Klemmbacken (54, 55) aufweist.
  3. Maschine, insbesondere nach Anspruch 1 oder 2,
    dadurch gekennzeichnet, daß zumindest ein Teil der oberen Klemmbacken (54) der Vorschubeinheit (15) mit einem Antrieb (53) verstellbar ist.
  4. Maschine nach einem der Ansprüche 1 bis 3,
    dadurch gekennzeichnet, daß die oberen Klemmbacken (54) der Vorschubeinheit (15) einzeln verstellbar sind.
  5. Maschine nach einem der Ansprüche 1 bis 4,
    dadurch gekennzeichnet, daß die oberen Klemmbacken (54) jeweils auf einem Träger (59) sitzen, der mit dem Antrieb (53) verbunden ist.
  6. Maschine nach einem der Ansprüche 3 bis 5,
    dadurch gekennzeichnet, daß der Antrieb (53) Hubzylinder (56) aufweist, mit denen die Träger (59) der oberen Klemmbacken (54) verstellbar sind.
  7. Maschine nach einem der Ansprüche 1 bis 6,
    dadurch gekennzeichnet, daß die unteren Klemmbacken (55) der Vorschubeinheit (15) mit wenigstens einem Hubzylinder (72) verstellbar sind.
  8. Maschine, insbesondere nach einem der Ansprüche 1 bis 7,
    dadurch gekennzeichnet, daß die Klemmbacken (54, 55) der Vorschubeinheit (15), in Draufsicht gesehen, komplementäre Umrißform haben.
  9. Maschine nach einem der Ansprüche 1 bis 8,
    dadurch gekennzeichnet, daß die Vorschubeinheit (15) über ihre Länge mit Anschlägen (46) versehen ist, an denen das Werkstück (3) mit seiner Längsseite anliegt.
  10. Maschine nach Anspruch 9,
    dadurch gekennzeichnet, daß die Anschläge (46) in mindestens einem Träger (62) gelagert sind.
  11. Maschine nach Anspruch 10,
    dadurch gekennzeichnet, daß der Träger (62) quer zur Transportrichtung der Werkstücke (3) verstellbar ist.
  12. Maschine nach Anspruch 10 oder 11,
    dadurch gekennzeichnet, daß der Träger (62) rechenförmig ausgebildet ist.
  13. Maschine nach einem der Ansprüche 9 bis 12,
    dadurch gekennzeichnet, daß die Anschläge (46) gegen eine Gegenkraft, vorzugsweise eine Federkraft, versenkbar sind.
  14. Maschine, insbesondere nach einem der Ansprüche 9 bis 13,
    dadurch gekennzeichnet, daß die Anschläge (46) im Bewegungsweg der oberen Klemmbacken (54) der Vorschubeinheit (15) liegen.
  15. Maschine nach Anspruch 14,
    dadurch gekennzeichnet, daß die Anschläge (46) durch die oberen Klemmbacken (54) der Vorschubeinheit (15) in die versenkte Lage verstellbar sind.
  16. Maschine nach einem der Ansprüche 10 bis 15,
    dadurch gekennzeichnet, daß die Träger (59) für die oberen Klemmbacken (54) der Vorschubeinheit (15) durch den Träger (62) der Anschläge (46) ragen.
  17. Maschine nach einem der Ansprüche 1 bis 16,
    dadurch gekennzeichnet, daß die Vorschubeinheit (15) wenigstens einen Träger (47) aufweist, der längs wenigstens einer maschinenseitigen Führung (50, 51) verfahrbar ist.
  18. Maschine nach einem der Ansprüche 1 bis 17,
    dadurch gekennzeichnet, daß der Längsprofiliereinheit (2) wenigstens eine Querprofiliereinheit (1) vorgeschaltet ist, und daß im Übergabebereich zwischen der Querprofiliereinheit (1) und der Längsprofiliereinheit (2) wenigstens eine Übergabeeinheit (36) vorgesehen ist.
  19. Maschine, insbesondere nach Anspruch 18,
    dadurch gekennzeichnet, daß die Übergabeeinheit (36) zwei mit Abstand übereinander liegende Führungen (37, 38) aufweist.
  20. Maschine nach Anspruch 19,
    dadurch gekennzeichnet, daß die Führungen (37, 38) endlos umlaufende Bänder sind.
  21. Maschine nach Anspruch 19 oder 20,
    dadurch gekennzeichnet, daß die Führungen (37, 38) an jeweils einem Tragelement (39, 40) der Übergabeeinheit (36) vorgesehen sind.
  22. Maschine nach Anspruch 21,
    dadurch gekennzeichnet, daß wenigstens eines der beiden Tragelemente (39, 40) relativ zum anderen Tragelement verstellbar ist.
  23. Maschine nach einem der Ansprüche 19 bis 22,
    dadurch gekennzeichnet, daß die Übergabeeinheit (36) gegenüber der Vorschubeinheit (15) höhenverstellbar ist.
  24. Maschine, insbesondere nach einem der Ansprüche 18 bis 23,
    dadurch gekennzeichnet, daß im Übergabebereich zwischen der Querprofiliereinheit (1) und der Längsprofiliereinheit (2) wenigstens eine Zwischenklemmeinrichtung (33) angeordnet ist.
  25. Maschine nach Anspruch 24,
    dadurch gekennzeichnet, daß die Zwischenklemmeinrichtung (33) Klemmbacken (34, 35) aufweist.
  26. Maschine nach einem der Ansprüche 18 bis 25,
    dadurch gekennzeichnet, daß die Querprofiliereinheit (1) wenigstens eine Spanneinrichtung (4) für die Werkstücke (3) aufweist.
  27. Maschine nach Anspruch 26,
    dadurch gekennzeichnet, daß die Spanneinrichtung (4) Klemmbacken (25, 26) aufweist.
  28. Maschine, insbesondere nach Anspruch 27,
    dadurch gekennzeichnet, daß die untere Klemmbacke (25) um eine Achse (32) gegenüber der oberen Klemmbacke (26) in eine Freigabestellung schwenkbar ist.
  29. Maschine nach Anspruch 27 oder 28,
    dadurch gekennzeichnet, daß die untere Klemmbacke (25) am freien Ende mit wenigstens einem Anschlag (31) für das Werkstück (3) versehen ist.
  30. Maschine nach einem der Ansprüche 26 bis 29,
    dadurch gekennzeichnet, daß die Spanneinrichtung (4) auf einem Schlitten (5) gelagert ist.
  31. Maschine nach einem der Ansprüche 26 bis 30,
    dadurch gekennzeichnet, daß die Spanneinrichtung (4), zumindest ihre Klemmbacken (25, 26), um eine vertikale Achse (6) schwenkbar ist.
  32. Maschine nach einem der Ansprüche 26 bis 31,
    dadurch gekennzeichnet, daß die Spanneinrichtung (4) quer zur Transportrichtung der Werkstücke (3) in der Querprofiliereinheit (1) verstellbar ist.
  33. Maschine nach einem der Ansprüche 18 bis 32,
    dadurch gekennzeichnet, daß sie wenigstens eine Transporteinheit (77) aufweist, mit der die Werkstücke (3) aus der Übergabeeinheit (36) in die Vorschubeinheit (15) transportierbar sind.
  34. Maschine nach Anspruch 33,
    dadurch gekennzeichnet, daß die Transporteinheit (77) im Übergabebereich zwischen der Querprofiliereinheit (1) und der Längsprofiliereinheit (2) angeordnet ist.
  35. Maschine nach Anspruch 33 oder 34,
    dadurch gekennzeichnet, daß die Transporteinheit (77) mit Abstand voneinander liegende Andruckbacken (79) aufweist.
  36. Maschine nach Anspruch 35,
    dadurch gekennzeichnet, daß die Andruckbacken (79) eine gekrümmte Anlageseite aufweisen.
  37. Maschine, insbesondere nach einem der Ansprüche 1 bis 36,
    dadurch gekennzeichnet, daß die Längsprofiliereinheit (2) mindestens zwei Vorschubeinheiten (15) aufweist, die spiegelbildlich zueinander angeordnet sind.
  38. Maschine nach Anspruch 37,
    dadurch gekennzeichnet, daß die Vorschubeinheiten (15) jeweils obere und untere Klemmbacken (54, 55) aufweisen
  39. Maschine nach Anspruch 38,
    dadurch gekennzeichnet, daß die Klemmbacken (54, 55) zumindest teilweise auf Lücke zueinander mit einem kleinen Freiraum zwischen ihnen angeordnet sind, in Draufsicht gesehen.
  40. Maschine nach einem der Ansprüche 37 bis 39,
    dadurch gekennzeichnet, daß die Vorschubeinheiten (15) in Transportrichtung der Werkstücke (3) nebeneinander liegen.
  41. Maschine nach einem der Ansprüche 38 bis 40,
    dadurch gekennzeichnet, daß die Klemmbacken (54, 55) der Vorschubeinheiten (15) gegeneinander gerichtet sind.
  42. Maschine nach einem der Ansprüche 38 bis 41,
    dadurch gekennzeichnet, daß die Vorschubeinheiten (15) in einem Übergabebereich (80) nebeneinander liegen, in dem die Klemmbacken (54, 55) der Vorschubeinheiten (15) dasselbe Werkstück (3) übergreifen.
  43. Maschine nach einem der Ansprüche 37 bis 42,
    dadurch gekennzeichnet, daß die Vorschubeinheiten (15) an einem gemeinsamen Gestellteil (81) der Maschine geführt sind.
  44. Maschine nach einem der Ansprüche 1 bis 43,
    dadurch gekennzeichnet, daß der Antrieb der Vorschubeinheit (15) als CNC-Achse ausgeführt ist.
  45. Maschine nach einem der Ansprüche 1 bis 44,
    dadurch gekennzeichnet, daß die Vorschubeinheit (15) zum Spannen von breiten Werkstücken (3) mit Saugspannern (54) versehen ist.
  46. Maschine, insbesondere nach einem der Ansprüche 1 bis 45,
    dadurch gekennzeichnet, daß die oberen Klemmbacken (54) Teil von Saugspannern sind.
  47. Verfahren zum Bearbeiten von Werkstücken (3) in einer Maschine nach einem der Ansprüche 1 bis 46, bei dem die Werkstücke (3) in wenigstens einer Vorschubeinheit (15) gespannt und zusammen mit ihr durch die Maschine transportiert werden,
    dadurch gekennzeichnet, daß die Werkstücke (3) in der Vorschubeinheit (15) oben und unten gespannt und zwischen verschiedenen Bearbeitungsvorgängen übergeben werden, wobei die Werkstücke (3) bei der Übergabe stets eingespannt sind.
  48. Verfahren nach Anspruch 47,
    dadurch gekennzeichnet, daß die Werkstücke (3) an wenigstens einer Längsseite bearbeitet werden.
  49. Verfahren nach Anspruch 48,
    dadurch gekennzeichnet, daß die Werkstücke (3) bei der Bearbeitung der Längsseite an wenigstens einem stationären Bohraggregat (16) gebohrt werden.
  50. Verfahren zum Bearbeiten von Werkstücken (3) in einer Maschine nach einem der Ansprüche 1 bis 46, bei dem die Werkstücke (3) in wenigstens einer Vorschubeinheit (15) gespannt und zusammen mit ihr durch die Maschine transportiert werden,
    dadurch gekennzeichnet, daß die Werkstücke (3) in der Vorschubeinheit (15) oben und unten gespannt und in einem ersten Durchlauf durch die Maschine an einer Stirnseite (86) und an einer Längsseite und in einem zweiten Durchlauf an der anderen Stirnseite (96) und an der anderen Längsseite bearbeitet werden.
  51. Verfahren nach Anspruch 50,
    dadurch gekennzeichnet, daß die Vorschubeinheit (15) nach dem ersten Durchlauf in die Ausgangslage zurückgefahren, das Werkstück (3) abgenommen und um 180° gewendet wieder in der Vorschubeinheit (15) gespannt wird, die anschließend erneut durch die Maschine gefahren wird.
  52. Verfahren zum Bearbeiten von Werkstücken (3) in einer Maschine nach einem der Ansprüche 1 bis 46, bei dem die Werkstücke (3) in wenigstens einer Vorschubeinheit (15) gespannt und zusammen mit ihr durch die Maschine transportiert werden,
    dadurch gekennzeichnet, daß die Werkstücke (3) in einer ersten Vorschubeinheit (15) eingespannt werden, daß beim Transport durch die Maschine das Werkstück (3) an seiner einen Stirnseite (86) und seiner einen Längsseite bearbeitet wird, daß anschließend das Werkstück (3) an eine zweite Vorschubeinheit (15) übergeben wird, mit der das Werkstück (3) weiter durch die Maschine transportiert wird, wobei das Werkstück (3) an seiner anderen Stirnseite (96) und seiner anderen Längsseite bearbeitet wird.
  53. Verfahren nach Anspruch 52,
    dadurch gekennzeichnet, daß das Werkstück (3) bei seiner Übergabe von der ersten an die zweite Vorschubeinheit (15) stets fest eingespannt bleibt.
  54. Verfahren nach Anspruch 52 oder 53,
    dadurch gekennzeichnet, daß das Werkstück (3) mit den beiden Vorschubeinheiten (15) in gleicher Richtung (21) durch die Maschine transportiert wird.
  55. Verfahren nach Anspruch 52 oder 53,
    dadurch gekennzeichnet, daß das Werkstück (3) mit der zweiten Vorschubeinheit (15) entgegengesetzt zur ersten Vorschubeinheit (15) durch die Maschine transportiert wird.
  56. Verfahren zum Bearbeiten von Werkstücken (3) in einer Maschine nach einem der Ansprüche 1 bis 46, bei dem die Werkstücke (3) in wenigstens einer Vorschubeinheit (15) gespannt und zusammen mit ihr durch die Maschine transportiert werden,
    dadurch gekennzeichnet, daß die Werkstücke (3) in der Vorschubeinheit (15) durch Saugspanner gehalten werden.
EP02017186A 2001-08-02 2002-07-31 Maschine und Verfahren zum Bearbeiten von Werkstücken aus Holz, Kunststoff oder dergleichen Expired - Lifetime EP1281491B1 (de)

Priority Applications (1)

Application Number Priority Date Filing Date Title
DE50209459.1T DE50209459C5 (de) 2001-08-02 2002-07-31 Maschine und Verfahren zum Bearbeiten von Werkstücken aus Holz, Kunststoff oder dergleichen

Applications Claiming Priority (2)

Application Number Priority Date Filing Date Title
DE10137839A DE10137839C5 (de) 2001-08-02 2001-08-02 Maschine zum Bearbeiten von Werkstücken aus Holz, Kunststoff und dergleichen
DE10137839 2001-08-02

Publications (3)

Publication Number Publication Date
EP1281491A2 true EP1281491A2 (de) 2003-02-05
EP1281491A3 EP1281491A3 (de) 2005-03-16
EP1281491B1 EP1281491B1 (de) 2007-02-14

Family

ID=7694094

Family Applications (1)

Application Number Title Priority Date Filing Date
EP02017186A Expired - Lifetime EP1281491B1 (de) 2001-08-02 2002-07-31 Maschine und Verfahren zum Bearbeiten von Werkstücken aus Holz, Kunststoff oder dergleichen

Country Status (6)

Country Link
US (1) US6974365B2 (de)
EP (1) EP1281491B1 (de)
JP (1) JP4221199B2 (de)
AT (1) ATE353744T1 (de)
DE (2) DE10137839C5 (de)
TW (1) TW564209B (de)

Cited By (25)

* Cited by examiner, † Cited by third party
Publication number Priority date Publication date Assignee Title
EP1810802A1 (de) * 2006-01-20 2007-07-25 SCM GROUP S.p.A. Werkzeugmaschine
EP1832402A1 (de) * 2006-03-10 2007-09-12 IMPRESA 2000 DI SACCHI PARIDE E C. s.a.s. Formmaschine zum Formen von Bestandteilen aus Holz oder dergleichen in Längsrichtung, insbesondere für Bestandteile von Tür- oder Fensterrahmen
WO2009015787A1 (de) * 2007-08-02 2009-02-05 Michael Weinig Ag Kehlmaschine und bohraggregat zur verwendung bei einer kehlmaschine
WO2009030348A1 (de) * 2007-08-28 2009-03-12 Michael Weinig Ag Vorrichtung zur bearbeitung von werkstücken aus holz, kunststoff und dergleichen sowie verfahren zum bearbeiten von solchen werkstücken
EP2153954A1 (de) * 2008-08-06 2010-02-17 Masterwood S.p.A. Automatische Arbeitsanlage für Rahmenteile
WO2010041285A1 (en) * 2008-10-10 2010-04-15 Working Process S.R.L. Working center
ITBG20090026A1 (it) * 2009-05-27 2010-11-28 Capoferri Serramenti S R L Macchina per la lavorazione di legno
ITBG20090025A1 (it) * 2009-05-27 2010-11-28 Capoferri Serramenti S R L Banco di bloccaggio per la lavorazione di un semilavorato in legno e macchina comprendente tale banco
WO2010150560A1 (en) * 2009-06-26 2010-12-29 Sintokogio, Ltd. A shot-blasting machine for shaped steel
ITBO20090640A1 (it) * 2009-10-02 2011-04-03 Biesse Spa Metodo e macchina per la lavorazione di componenti di legno o simili per infissi
ITPD20100318A1 (it) * 2010-10-21 2012-04-22 Working Process S R L Centro di lavoro con manipolatore perfezionato
WO2012113531A1 (de) * 2011-02-24 2012-08-30 Michael Weinig Ag Spanneinrichtung für werkstücke aus holz, kunststoff und dergleichen
EP1944143A3 (de) * 2007-01-11 2012-12-05 SCM Group S.p.A. Vorrichtung zum Bearbeiten von Holzwerkstücken oder dergleichen
ITBO20120218A1 (it) * 2012-04-19 2013-10-20 Biesse Spa Metodo per la lavorazione di componenti allungati di infissi in legno o simili
EP2998064A1 (de) * 2014-09-22 2016-03-23 Homag Holzbearbeitungssysteme GmbH Bearbeitungsvorrichtung
US20160121443A1 (en) * 2014-11-04 2016-05-05 Michael Weinig Ag Clamping device for an adjustable stop of a processing machine, particularly a moulding machine, and processing machine, particularly moulding machine, with a clamping device
EP3034258A1 (de) * 2014-12-17 2016-06-22 Homag Holzbearbeitungssysteme GmbH Vorrichtung und verfahren zur bearbeitung von werkstücken
CN108025451A (zh) * 2015-09-29 2018-05-11 豪迈公司 加工设备
IT201700083048A1 (it) * 2017-07-20 2019-01-20 Pade S A S Di De Moliner Vinicio & C Ora Pade S R L Assieme di carico pezzi di un centro di lavoro
CN110744638A (zh) * 2019-11-28 2020-02-04 安徽东平木业股份有限公司 一种可调节钻孔装置
CN110744639A (zh) * 2019-11-28 2020-02-04 安徽东平木业股份有限公司 一种钻孔装置
WO2021204417A1 (de) * 2020-04-09 2021-10-14 Michael Weinig Ag Spanneinrichtung für werkstücke
IT202000025111A1 (it) * 2020-10-23 2022-04-23 Working Process S R L Centro di lavoro, in particolare per la lavorazione di pezzi in legno di forma allungata, munito di manipolatori perfezionati e relativo metodo di lavoro
BE1029395B1 (nl) * 2021-05-11 2022-12-12 Vertongen Houtbewerkingsmachines Machine voor het bewerken van een houtenwerkstuk
EP4147836A1 (de) * 2021-09-09 2023-03-15 IMA Schelling Deutschland GmbH Holzbearbeitungsvorrichtung zum bearbeiten von plattenförmigen werkstücken aus holz oder holzersatzstoffen und verfahren zum betrieb einer solchen

Families Citing this family (27)

* Cited by examiner, † Cited by third party
Publication number Priority date Publication date Assignee Title
DE102004027888B4 (de) * 2004-05-27 2007-01-04 Michael Weinig Ag Vorschubeinheit für eine Maschine zum Bearbeiten von Werkstücken aus Holz, Kunststoff oder dergleichen sowie Verfahren zum Bearbeiten solcher Werkstücke
US20070267103A1 (en) * 2006-05-18 2007-11-22 Unique Machine And Tool Co. Woodworking machine
DE502006001771D1 (de) 2006-07-25 2008-11-20 Homag Holzbearbeitungssysteme Bearbeitungszentrum zur Bearbeitung lang gestreckter Werkstücke
IT1397634B1 (it) * 2010-01-22 2013-01-18 Scm Group Spa Macchina angolare.
IT1398755B1 (it) * 2010-03-02 2013-03-18 Scm Group Spa Apparato per la lavorazione di pezzi
DE102015212541A1 (de) 2014-09-22 2016-03-24 Homag Holzbearbeitungssysteme Gmbh Bearbeitungsvorrichtung
DE102014219098A1 (de) 2014-09-22 2016-03-24 Homag Holzbearbeitungssysteme Gmbh Werkstücktisch und Bearbeitungsvorrichtung mit einem Werkstücktisch
JP5841217B1 (ja) * 2014-10-28 2016-01-13 宮川工機株式会社 火打ち加工装置
DE102014222422A1 (de) 2014-11-03 2016-05-04 Homag Holzbearbeitungssysteme Gmbh Bearbeitungsvorrichtung für Werkstücke und Verfahren hierfür
DE102014222423A1 (de) 2014-11-03 2016-05-04 Homag Holzbearbeitungssysteme Gmbh Spannvorrichtung
CN106625983A (zh) * 2015-11-02 2017-05-10 东北林业大学 数控下回料两台封边机生产线
CN105818221B (zh) * 2016-05-24 2018-05-15 林孝久 一种用于木板的全自动侧孔钻
CN108356930B (zh) * 2018-04-28 2023-04-14 山东周广胜木雕有限公司 一种梳子梳背榫槽及梳齿榫头一体加工仿形机
IT201800005503A1 (it) * 2018-05-18 2019-11-18 Metodo e Apparato di Lavorazione
DE102018008199A1 (de) * 2018-10-15 2020-04-16 Michael Weinig Ag Verfahren zum Bearbeiten von länglichen Werkstücken aus Holz, Kunststoff und dergleichen sowie Maschine zur Durchführung des Verfahrens
CN109318302B (zh) * 2018-11-09 2024-12-24 国器智眸(重庆)科技有限公司 一种铰链机
CN109834767B (zh) * 2019-04-02 2020-02-11 廉江市信宇家居有限公司 用于木材加工的数控机床
DE102019003613A1 (de) * 2019-05-21 2020-11-26 Michael Weinig Ag Verfahren zur Bearbeitung von Werkstücken aus Holz, Kunststoff und dergleichen
IT201900009057A1 (it) * 2019-06-14 2020-12-14 Scm Group Spa Macchina per la lavorazione di pezzi in legno provvista di un organo di presa perfezionato, e metodo di funzionamento relativo.
CN110640848B (zh) * 2019-10-17 2024-08-02 浙江森亚板业有限公司 一种可减少毛刺的自动加工竹木制品铣床
CN110842671B (zh) * 2019-11-19 2020-12-04 郭沙 一种实木家具生产加工榫头连接处理方法
DE102020124242A1 (de) * 2020-09-17 2022-03-17 Multi-Cut Systems GmbH Verfahren und Werkzeugmaschine zur Bearbeitung einer Holzwerkstoffplatte
EP4067028B1 (de) * 2021-03-31 2024-12-04 Hans-Martin Junginger Zurichtstation und vorrichtung mit einer zurichtstation
CN113146753B (zh) * 2021-05-07 2022-08-12 福州福田工艺品有限公司 一种板材钻孔机板材传递装置及其工作方法
CN113442236A (zh) * 2021-07-12 2021-09-28 张先中 一种用于数控五面钻的压板机构
CN116871995A (zh) * 2023-06-09 2023-10-13 泰州市润辉机械制造有限公司 一种工业齿轮加工用机孔打磨设备
WO2025243267A1 (en) * 2024-05-23 2025-11-27 Wemel Wood Oü Electrical installations and methods of their manufacture

Family Cites Families (6)

* Cited by examiner, † Cited by third party
Publication number Priority date Publication date Assignee Title
DE3522278A1 (de) * 1984-12-08 1986-06-12 Erwin 7261 Gechingen Jenkner Verfahren zur herstellung von konstruktionsbohrungen aufweisenden plattenfoermigen werkstuecken, insbesondere aus holz oder holzaehnlichem material, sowie einrichtung zur durchfuehrung des verfahrens
KR100209920B1 (ko) * 1991-01-18 1999-07-15 홀버드 버지 공구조립체의 양쪽에서 개별 제어식 파지 이송 수단에 의해 파지된 공작물을 가공하기 위한 다중 스핀들 기계
DE4219155A1 (de) * 1992-06-11 1993-12-16 Melles Zdenko Zusammengestellte Spann- und Führungsvorrichtungen für verschiedene Bearbeitungen
DE4301217A1 (de) * 1993-01-19 1994-07-21 Baljer & Zembrod CNC-gesteuerte Holzbearbeitungsanlage, insbesondere für lange Werkstücke wie Balken
DE19752685A1 (de) * 1997-11-28 1999-07-01 Ima Maschinenfabriken Klessmann Gmbh Maschine zum Bearbeiten von Fensterrahmen-Holmen
DE19826627C2 (de) * 1998-06-17 2003-04-10 Sim Automation Gmbh & Co Kg Anlage für die Durchführung einer Folge aus mehreren Montage- und/oder Bearbeitungsvorgängen an Werkstücken, insbesondere Kleinteilen

Cited By (31)

* Cited by examiner, † Cited by third party
Publication number Priority date Publication date Assignee Title
EP1810802A1 (de) * 2006-01-20 2007-07-25 SCM GROUP S.p.A. Werkzeugmaschine
EP1832402A1 (de) * 2006-03-10 2007-09-12 IMPRESA 2000 DI SACCHI PARIDE E C. s.a.s. Formmaschine zum Formen von Bestandteilen aus Holz oder dergleichen in Längsrichtung, insbesondere für Bestandteile von Tür- oder Fensterrahmen
EP1944143A3 (de) * 2007-01-11 2012-12-05 SCM Group S.p.A. Vorrichtung zum Bearbeiten von Holzwerkstücken oder dergleichen
WO2009015787A1 (de) * 2007-08-02 2009-02-05 Michael Weinig Ag Kehlmaschine und bohraggregat zur verwendung bei einer kehlmaschine
WO2009030348A1 (de) * 2007-08-28 2009-03-12 Michael Weinig Ag Vorrichtung zur bearbeitung von werkstücken aus holz, kunststoff und dergleichen sowie verfahren zum bearbeiten von solchen werkstücken
EP2153954A1 (de) * 2008-08-06 2010-02-17 Masterwood S.p.A. Automatische Arbeitsanlage für Rahmenteile
WO2010041285A1 (en) * 2008-10-10 2010-04-15 Working Process S.R.L. Working center
ITBG20090025A1 (it) * 2009-05-27 2010-11-28 Capoferri Serramenti S R L Banco di bloccaggio per la lavorazione di un semilavorato in legno e macchina comprendente tale banco
WO2010136941A1 (en) * 2009-05-27 2010-12-02 Capoferri Serramenti S.R.L. Wood processing apparatus
ITBG20090026A1 (it) * 2009-05-27 2010-11-28 Capoferri Serramenti S R L Macchina per la lavorazione di legno
WO2010150560A1 (en) * 2009-06-26 2010-12-29 Sintokogio, Ltd. A shot-blasting machine for shaped steel
ITBO20090640A1 (it) * 2009-10-02 2011-04-03 Biesse Spa Metodo e macchina per la lavorazione di componenti di legno o simili per infissi
EP2305440A1 (de) * 2009-10-02 2011-04-06 BIESSE S.p.A. Verfahren und Vorrichtung zur Verarbeitung von Bauteilen aus Holz und dergleichen
ITPD20100318A1 (it) * 2010-10-21 2012-04-22 Working Process S R L Centro di lavoro con manipolatore perfezionato
WO2012113531A1 (de) * 2011-02-24 2012-08-30 Michael Weinig Ag Spanneinrichtung für werkstücke aus holz, kunststoff und dergleichen
EP2678133A1 (de) * 2011-02-24 2014-01-01 Michael Weinig Ag Spanneinrichtung für werkstücke aus holz, kunststoff und dergleichen
ITBO20120218A1 (it) * 2012-04-19 2013-10-20 Biesse Spa Metodo per la lavorazione di componenti allungati di infissi in legno o simili
EP2998064A1 (de) * 2014-09-22 2016-03-23 Homag Holzbearbeitungssysteme GmbH Bearbeitungsvorrichtung
US20160121443A1 (en) * 2014-11-04 2016-05-05 Michael Weinig Ag Clamping device for an adjustable stop of a processing machine, particularly a moulding machine, and processing machine, particularly moulding machine, with a clamping device
US10456947B2 (en) * 2014-11-04 2019-10-29 Michael Weinig Ag Clamping device for an adjustable stop of a processing machine, particularly a moulding machine, and processing machine, particularly moulding machine, with a clamping device
EP3034258A1 (de) * 2014-12-17 2016-06-22 Homag Holzbearbeitungssysteme GmbH Vorrichtung und verfahren zur bearbeitung von werkstücken
EP3505318A1 (de) * 2014-12-17 2019-07-03 HOMAG GmbH Vorrichtung und verfahren zur bearbeitung von werkstücken
CN108025451A (zh) * 2015-09-29 2018-05-11 豪迈公司 加工设备
US10940607B2 (en) 2015-09-29 2021-03-09 Homag Gmbh Machining device
IT201700083048A1 (it) * 2017-07-20 2019-01-20 Pade S A S Di De Moliner Vinicio & C Ora Pade S R L Assieme di carico pezzi di un centro di lavoro
CN110744638A (zh) * 2019-11-28 2020-02-04 安徽东平木业股份有限公司 一种可调节钻孔装置
CN110744639A (zh) * 2019-11-28 2020-02-04 安徽东平木业股份有限公司 一种钻孔装置
WO2021204417A1 (de) * 2020-04-09 2021-10-14 Michael Weinig Ag Spanneinrichtung für werkstücke
IT202000025111A1 (it) * 2020-10-23 2022-04-23 Working Process S R L Centro di lavoro, in particolare per la lavorazione di pezzi in legno di forma allungata, munito di manipolatori perfezionati e relativo metodo di lavoro
BE1029395B1 (nl) * 2021-05-11 2022-12-12 Vertongen Houtbewerkingsmachines Machine voor het bewerken van een houtenwerkstuk
EP4147836A1 (de) * 2021-09-09 2023-03-15 IMA Schelling Deutschland GmbH Holzbearbeitungsvorrichtung zum bearbeiten von plattenförmigen werkstücken aus holz oder holzersatzstoffen und verfahren zum betrieb einer solchen

Also Published As

Publication number Publication date
US20030024363A1 (en) 2003-02-06
JP2003080434A (ja) 2003-03-18
US6974365B2 (en) 2005-12-13
DE10137839C5 (de) 2012-06-21
ATE353744T1 (de) 2007-03-15
DE50209459C5 (de) 2014-01-16
DE50209459D1 (de) 2007-03-29
DE10137839B4 (de) 2006-09-28
TW564209B (en) 2003-12-01
EP1281491B1 (de) 2007-02-14
JP4221199B2 (ja) 2009-02-12
DE10137839A1 (de) 2003-02-27
EP1281491A3 (de) 2005-03-16

Similar Documents

Publication Publication Date Title
EP1281491B1 (de) Maschine und Verfahren zum Bearbeiten von Werkstücken aus Holz, Kunststoff oder dergleichen
EP0922547B1 (de) Maschine zum Bearbeiten von Fensterrahmen-Holmen
DE3511498C2 (de) Vorrichtung zur Bearbeitung von Pfosten oder Sprossen aus Kunststoff- oder Aluminium-Profilstäben für Fenster oder Türen
EP3639971B1 (de) Verfahren zum bearbeiten von länglichen werkstücken aus holz, kunststoff und dergleichen sowie maschine zur durchführung des verfahrens
DE4113629C2 (de) Reihenbohr- und Fräsmaschine
EP1600254B1 (de) Vorschubeinheit für eine Maschine zum Bearbeiten von Werkstücken sowie Verfahren zum Bearbeiten solcher Werkstücke
DE3632263C2 (de)
DE3307809A1 (de) Holzbearbeitungsmaschine
EP0292864B1 (de) Holzbearbeitungsmaschine
EP2185331B1 (de) Vorrichtung zur bearbeitung von werkstücken aus holz, kunststoff und dergleichen sowie verfahren zum bearbeiten von solchen werkstücken
EP1027952B1 (de) Holzbearbeitungsanlage in Portalbauweise
EP0813941B2 (de) Abbundanlage zur Bearbeitung von Strangmaterial
DE102016009430A1 (de) Anlage und Verfahren zum Bearbeiten von Werkstücken aus Holz, Kunststoff und dergleichen
DE2749546A1 (de) Fensterhoelzer-bearbeitungsmaschine
EP1236537B1 (de) Verfahren zum Einstellen von wenigstens einem Andruckelement einer Maschine zum Bearbeiten von Werkstücken aus Holz, Kunststoff und dergleichen, Einstellvorrichtung zur Durchführung eines solchen Verfahrens sowie Andruckelement für ein solches Verfahren
DE19831284C2 (de) Abbundanlage zur Bearbeitung von Strangmaterial
DE8528893U1 (de) Maschine zum Bearbeiten von Werkstücken aus Holz, Kunststoff und dergleichen, insbesondere von Fensterhölzern und ähnlichen Werkstücken
DE4406381A1 (de) Maschine zur Bearbeitung von stabförmigen Werkstücken
DE3717411C2 (de)
DE102014016629A1 (de) Anlage zur Herstellung und/oder Behandlung von Glasleisten sowie Verfahren unter Verwendung einer solchen Anlage
DE102006009421A1 (de) Kehlmaschine
DE19721521C2 (de) Numerisch gesteuerte Zapfenschneidmaschine
DE102011102793B3 (de) Verfahren zur Bearbeitung der Stirnseiten von Werkstücken aus Holz, Kunststoff und dergleichen
DE29500192U1 (de) Spannvorrichtung zum Fräsen von Zapfenlöchern und Zapfen für eine Fräsmaschine
WO2022049117A1 (de) Bearbeitungseinrichtung und verfahren zum längsprofilieren von werkstücken

Legal Events

Date Code Title Description
PUAI Public reference made under article 153(3) epc to a published international application that has entered the european phase

Free format text: ORIGINAL CODE: 0009012

AK Designated contracting states

Designated state(s): AT BE BG CH CY CZ DE DK EE ES FI FR GB GR IE IT LI LU MC NL PT SE SK TR

AX Request for extension of the european patent

Extension state: AL LT LV MK RO SI

PUAL Search report despatched

Free format text: ORIGINAL CODE: 0009013

AK Designated contracting states

Kind code of ref document: A3

Designated state(s): AT BE BG CH CY CZ DE DK EE ES FI FR GB GR IE IT LI LU MC NL PT SE SK TR

AX Request for extension of the european patent

Extension state: AL LT LV MK RO SI

RIC1 Information provided on ipc code assigned before grant

Ipc: 7B 27M 1/08 A

Ipc: 7B 27F 1/02 B

Ipc: 7B 27C 1/12 B

Ipc: 7B 23Q 7/04 B

17P Request for examination filed

Effective date: 20050824

AKX Designation fees paid

Designated state(s): AT BE BG CH CY CZ DE DK EE ES FI FR GB GR IE IT LI LU MC NL PT SE SK TR

GRAP Despatch of communication of intention to grant a patent

Free format text: ORIGINAL CODE: EPIDOSNIGR1

GRAS Grant fee paid

Free format text: ORIGINAL CODE: EPIDOSNIGR3

17Q First examination report despatched

Effective date: 20061016

GRAA (expected) grant

Free format text: ORIGINAL CODE: 0009210

AK Designated contracting states

Kind code of ref document: B1

Designated state(s): AT BE BG CH CY CZ DE DK EE ES FI FR GB GR IE IT LI LU MC NL PT SE SK TR

PG25 Lapsed in a contracting state [announced via postgrant information from national office to epo]

Ref country code: DK

Free format text: LAPSE BECAUSE OF FAILURE TO SUBMIT A TRANSLATION OF THE DESCRIPTION OR TO PAY THE FEE WITHIN THE PRESCRIBED TIME-LIMIT

Effective date: 20070214

Ref country code: IE

Free format text: LAPSE BECAUSE OF FAILURE TO SUBMIT A TRANSLATION OF THE DESCRIPTION OR TO PAY THE FEE WITHIN THE PRESCRIBED TIME-LIMIT

Effective date: 20070214

Ref country code: FI

Free format text: LAPSE BECAUSE OF FAILURE TO SUBMIT A TRANSLATION OF THE DESCRIPTION OR TO PAY THE FEE WITHIN THE PRESCRIBED TIME-LIMIT

Effective date: 20070214

Ref country code: NL

Free format text: LAPSE BECAUSE OF FAILURE TO SUBMIT A TRANSLATION OF THE DESCRIPTION OR TO PAY THE FEE WITHIN THE PRESCRIBED TIME-LIMIT

Effective date: 20070214

REG Reference to a national code

Ref country code: GB

Ref legal event code: FG4D

Free format text: NOT ENGLISH

REG Reference to a national code

Ref country code: CH

Ref legal event code: EP

REF Corresponds to:

Ref document number: 50209459

Country of ref document: DE

Date of ref document: 20070329

Kind code of ref document: P

REG Reference to a national code

Ref country code: IE

Ref legal event code: FG4D

Free format text: LANGUAGE OF EP DOCUMENT: GERMAN

PG25 Lapsed in a contracting state [announced via postgrant information from national office to epo]

Ref country code: BG

Free format text: LAPSE BECAUSE OF THE APPLICANT RENOUNCES

Effective date: 20070515

PG25 Lapsed in a contracting state [announced via postgrant information from national office to epo]

Ref country code: ES

Free format text: LAPSE BECAUSE OF FAILURE TO SUBMIT A TRANSLATION OF THE DESCRIPTION OR TO PAY THE FEE WITHIN THE PRESCRIBED TIME-LIMIT

Effective date: 20070525

REG Reference to a national code

Ref country code: SE

Ref legal event code: TRGR

GBT Gb: translation of ep patent filed (gb section 77(6)(a)/1977)

Effective date: 20070524

PG25 Lapsed in a contracting state [announced via postgrant information from national office to epo]

Ref country code: PT

Free format text: LAPSE BECAUSE OF FAILURE TO SUBMIT A TRANSLATION OF THE DESCRIPTION OR TO PAY THE FEE WITHIN THE PRESCRIBED TIME-LIMIT

Effective date: 20070716

NLV1 Nl: lapsed or annulled due to failure to fulfill the requirements of art. 29p and 29m of the patents act
ET Fr: translation filed
REG Reference to a national code

Ref country code: IE

Ref legal event code: FD4D

PG25 Lapsed in a contracting state [announced via postgrant information from national office to epo]

Ref country code: SK

Free format text: LAPSE BECAUSE OF FAILURE TO SUBMIT A TRANSLATION OF THE DESCRIPTION OR TO PAY THE FEE WITHIN THE PRESCRIBED TIME-LIMIT

Effective date: 20070214

PLBE No opposition filed within time limit

Free format text: ORIGINAL CODE: 0009261

STAA Information on the status of an ep patent application or granted ep patent

Free format text: STATUS: NO OPPOSITION FILED WITHIN TIME LIMIT

PG25 Lapsed in a contracting state [announced via postgrant information from national office to epo]

Ref country code: CZ

Free format text: LAPSE BECAUSE OF FAILURE TO SUBMIT A TRANSLATION OF THE DESCRIPTION OR TO PAY THE FEE WITHIN THE PRESCRIBED TIME-LIMIT

Effective date: 20070214

26N No opposition filed

Effective date: 20071115

BERE Be: lapsed

Owner name: MICHAEL WEINIG A.G.

Effective date: 20070731

REG Reference to a national code

Ref country code: CH

Ref legal event code: PL

PG25 Lapsed in a contracting state [announced via postgrant information from national office to epo]

Ref country code: MC

Free format text: LAPSE BECAUSE OF NON-PAYMENT OF DUE FEES

Effective date: 20070731

Ref country code: LI

Free format text: LAPSE BECAUSE OF NON-PAYMENT OF DUE FEES

Effective date: 20070731

Ref country code: CH

Free format text: LAPSE BECAUSE OF NON-PAYMENT OF DUE FEES

Effective date: 20070731

Ref country code: GR

Free format text: LAPSE BECAUSE OF FAILURE TO SUBMIT A TRANSLATION OF THE DESCRIPTION OR TO PAY THE FEE WITHIN THE PRESCRIBED TIME-LIMIT

Effective date: 20070515

PG25 Lapsed in a contracting state [announced via postgrant information from national office to epo]

Ref country code: BE

Free format text: LAPSE BECAUSE OF NON-PAYMENT OF DUE FEES

Effective date: 20070731

PG25 Lapsed in a contracting state [announced via postgrant information from national office to epo]

Ref country code: EE

Free format text: LAPSE BECAUSE OF FAILURE TO SUBMIT A TRANSLATION OF THE DESCRIPTION OR TO PAY THE FEE WITHIN THE PRESCRIBED TIME-LIMIT

Effective date: 20070214

PG25 Lapsed in a contracting state [announced via postgrant information from national office to epo]

Ref country code: CY

Free format text: LAPSE BECAUSE OF FAILURE TO SUBMIT A TRANSLATION OF THE DESCRIPTION OR TO PAY THE FEE WITHIN THE PRESCRIBED TIME-LIMIT

Effective date: 20070214

PG25 Lapsed in a contracting state [announced via postgrant information from national office to epo]

Ref country code: LU

Free format text: LAPSE BECAUSE OF NON-PAYMENT OF DUE FEES

Effective date: 20070731

PG25 Lapsed in a contracting state [announced via postgrant information from national office to epo]

Ref country code: IT

Free format text: LAPSE BECAUSE OF NON-PAYMENT OF DUE FEES

Effective date: 20090731

PGRI Patent reinstated in contracting state [announced from national office to epo]

Ref country code: IT

Effective date: 20110616

REG Reference to a national code

Ref country code: DE

Ref legal event code: R046

Ref document number: 50209459

Country of ref document: DE

Effective date: 20111026

REG Reference to a national code

Ref country code: DE

Ref legal event code: R206

Ref document number: 50209459

Country of ref document: DE

Effective date: 20140116

Ref country code: DE

Ref legal event code: R050

Ref document number: 50209459

Country of ref document: DE

Effective date: 20131128

REG Reference to a national code

Ref country code: FR

Ref legal event code: PLFP

Year of fee payment: 15

REG Reference to a national code

Ref country code: FR

Ref legal event code: PLFP

Year of fee payment: 16

REG Reference to a national code

Ref country code: FR

Ref legal event code: PLFP

Year of fee payment: 17

PGFP Annual fee paid to national office [announced via postgrant information from national office to epo]

Ref country code: FR

Payment date: 20200622

Year of fee payment: 19

PGFP Annual fee paid to national office [announced via postgrant information from national office to epo]

Ref country code: TR

Payment date: 20200714

Year of fee payment: 19

Ref country code: GB

Payment date: 20200722

Year of fee payment: 19

PGFP Annual fee paid to national office [announced via postgrant information from national office to epo]

Ref country code: AT

Payment date: 20200713

Year of fee payment: 19

Ref country code: SE

Payment date: 20200716

Year of fee payment: 19

PGFP Annual fee paid to national office [announced via postgrant information from national office to epo]

Ref country code: IT

Payment date: 20210719

Year of fee payment: 20

PGFP Annual fee paid to national office [announced via postgrant information from national office to epo]

Ref country code: DE

Payment date: 20210927

Year of fee payment: 20

REG Reference to a national code

Ref country code: AT

Ref legal event code: MM01

Ref document number: 353744

Country of ref document: AT

Kind code of ref document: T

Effective date: 20210731

GBPC Gb: european patent ceased through non-payment of renewal fee

Effective date: 20210731

REG Reference to a national code

Ref country code: SE

Ref legal event code: EUG

PG25 Lapsed in a contracting state [announced via postgrant information from national office to epo]

Ref country code: GB

Free format text: LAPSE BECAUSE OF NON-PAYMENT OF DUE FEES

Effective date: 20210731

Ref country code: AT

Free format text: LAPSE BECAUSE OF NON-PAYMENT OF DUE FEES

Effective date: 20210731

PG25 Lapsed in a contracting state [announced via postgrant information from national office to epo]

Ref country code: SE

Free format text: LAPSE BECAUSE OF NON-PAYMENT OF DUE FEES

Effective date: 20210801

Ref country code: FR

Free format text: LAPSE BECAUSE OF NON-PAYMENT OF DUE FEES

Effective date: 20210731

PG25 Lapsed in a contracting state [announced via postgrant information from national office to epo]

Ref country code: TR

Free format text: LAPSE BECAUSE OF NON-PAYMENT OF DUE FEES

Effective date: 20210731

REG Reference to a national code

Ref country code: DE

Ref legal event code: R071

Ref document number: 50209459

Country of ref document: DE