EP0872702A2 - Pyrotechnische Ladung in einem Rohr - Google Patents

Pyrotechnische Ladung in einem Rohr Download PDF

Info

Publication number
EP0872702A2
EP0872702A2 EP98106895A EP98106895A EP0872702A2 EP 0872702 A2 EP0872702 A2 EP 0872702A2 EP 98106895 A EP98106895 A EP 98106895A EP 98106895 A EP98106895 A EP 98106895A EP 0872702 A2 EP0872702 A2 EP 0872702A2
Authority
EP
European Patent Office
Prior art keywords
tube
pyrotechnic charge
ball
closure
silicone layer
Prior art date
Legal status (The legal status is an assumption and is not a legal conclusion. Google has not performed a legal analysis and makes no representation as to the accuracy of the status listed.)
Granted
Application number
EP98106895A
Other languages
English (en)
French (fr)
Other versions
EP0872702B1 (de
EP0872702A3 (de
Inventor
Günter Berg
Dieter Faust
Erwin Wrobel
Current Assignee (The listed assignees may be inaccurate. Google has not performed a legal analysis and makes no representation or warranty as to the accuracy of the list.)
Diehl Stiftung and Co KG
Original Assignee
Diehl Stiftung and Co KG
Priority date (The priority date is an assumption and is not a legal conclusion. Google has not performed a legal analysis and makes no representation as to the accuracy of the date listed.)
Filing date
Publication date
Application filed by Diehl Stiftung and Co KG filed Critical Diehl Stiftung and Co KG
Publication of EP0872702A2 publication Critical patent/EP0872702A2/de
Publication of EP0872702A3 publication Critical patent/EP0872702A3/de
Application granted granted Critical
Publication of EP0872702B1 publication Critical patent/EP0872702B1/de
Anticipated expiration legal-status Critical
Expired - Lifetime legal-status Critical Current

Links

Images

Classifications

    • FMECHANICAL ENGINEERING; LIGHTING; HEATING; WEAPONS; BLASTING
    • F42AMMUNITION; BLASTING
    • F42BEXPLOSIVE CHARGES, e.g. FOR BLASTING, FIREWORKS, AMMUNITION
    • F42B8/00Practice or training ammunition
    • F42B8/12Projectiles or missiles
    • F42B8/26Hand grenades
    • FMECHANICAL ENGINEERING; LIGHTING; HEATING; WEAPONS; BLASTING
    • F42AMMUNITION; BLASTING
    • F42BEXPLOSIVE CHARGES, e.g. FOR BLASTING, FIREWORKS, AMMUNITION
    • F42B4/00Fireworks, i.e. pyrotechnic devices for amusement, display, illumination or signal purposes

Definitions

  • the invention relates to a pyrotechnic charge in a pipe the preamble of claim 1.
  • DE 26 44 230 A1 discloses a practice hand grenade with an ignition delay, in which a pyrotechnic charge u. a. generated a bang. This is this charge is placed in a tube inside the grenade. The pipe closes with one, when the pyrotechnic charge is ignited by the building gas pressure tearing ground. It cannot be ruled out that large parts of the ground fly away with high kinetic energy, which according to the applicable regulations is not permitted.
  • the object of the invention is therefore a closure for a pyrotechnic charge to create, in which parts fly away but these have a very low mass have, so that the energy transmitted through these parts far below a permissible value remain.
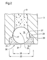
  • FIG. 1 shows a hand grenade in longitudinal section and FIG. 2 shows an enlarged one drawn section of a charge tube according to FIG. 1.
  • a practice hand grenade 1 shown in dash-dot lines has a central charge tube 3 with primer 5, a time-delayed set 7 and a bang charge 9 on.
  • the charge tube 3 closes with its free end face 11 approximately with the lower one Face 13 of the practice grenade 1.
  • a bore 15 takes the bang charge 9 on.
  • the charge tube 3 has a conical seat 17 for a ball 18 from a light, foamed styrene and a recess 19 for one disk-shaped or lid-shaped silicone layer 21 consisting of a vulcanizable Silicone rubber.
  • This is crater-shaped 27 and in relation to the ball 18 with respect to the conical seat 17 conical 28.
  • the ball 18 is seated in the conical seat 17 with a slight preload, with about 50% of the Ball surface is glued to the silicone layer 21.
  • the silicone layer 21 is in turn over the surface of the recess 19 and part of the conical seat 17 glued to the charge tube 3.
  • a very thin, membrane-shaped layer 31 of the silicone layer 21 enables the Ball 18 exits charge tube 3.
  • the diameter 23 of the recess 19 is larger than the diameter 25 of the Ball 18. Because of this and through the conical seat 17, 28 or the edge 29 there is a Large adhesive surface of the silicone layer 21 on the charge tube 3 and on the ball 18 before. In the event of hard impacts in the axial direction of the charge tube 3, this ensures that the bang charge 9 applied to the ball 18 by the ball 18 and the silicone layer 21 existing closure 30 an opening 33 of the charge tube 3 closes securely.
  • the time-delayed set 7 burns and ignites the bang charge 9.
  • the gas pressure of the bang charge 9 drives the ball 18 out of it Tapered seat 17.
  • the silicon layer 21 increases in the area of the layer 31 deformed until the ball 18, the increasingly thin silicon layer 21, 31st pierces.
  • the silicone layer 21, 31 therefore remains on the charge tube 3 while the ball 18 due to its very low mass and due to the large air resistance quickly falls to the ground. The given conditions for the kinetic Energy and flying distance of flying parts are not reached, so that the safety conditions are met.

Landscapes

  • Engineering & Computer Science (AREA)
  • General Engineering & Computer Science (AREA)
  • Air Bags (AREA)
  • Toys (AREA)
  • Materials For Medical Uses (AREA)

Abstract

Bei Übladungen (1) besteht die Bedingung, daß nach Zündung der pyrotechnischen Ladung (9) wegfliegende Verschlußteile eine bestimmte Flugweite nicht überschreiten und eine sehr kleine kinetische Energie aufweisen. Nach der Erfindung wird dies dadurch erreicht, daß die pyrotechnische Ladung (9) durch einen durch den Gasdruck der Ladung (9) zu öffnenden Verschluß (30) in einem Ladungsrohr (3) verschlossen ist. Der Verschluß (30) besteht aus einer Kugel (18) aus einem leichten, geschäumten Werkstoff und aus einer klebenden Verbindung aus einem vulkanisierbaren Silikonkautschuks in Form einer deckelförmigen Silikonschicht (21). <IMAGE>

Description

Die Erfindung bezieht sich auf eine pyrotechnische Ladung in einem Rohr nach dem Oberbegriff des Anspruchs 1.
Aus der DE 26 44 230 A1 ist eine Übungshandgranate mit Zündverzögerung bekannt, bei der eine pyrotechnische Ladung u. a. einem Knall erzeugt. Hierzu ist diese Ladung in einem Rohr innerhalb der Handgranate angeordnet. Das Rohr schließt mit einem, bei Anzündung der pyrotechnischen Ladung durch den sich aufbauenden Gasdruck zerreißenden Boden ab. Dabei ist nicht auszuschließen, daß große Teile des Bodens mit hoher kinetischer Energie wegfliegen, was nach den geltenden Bestimmungen nicht zulässig ist.
Aufgabe der Erfindung ist es daher, einen Verschluß für eine pyrotechnische Ladung zu schaffen, bei dem zwar Teile wegfliegen aber diese eine sehr geringe Masse aufweisen, so daß die durch diese Teile übertragene Energie weit unterhalb eines zulässigen Wertes bleiben.
Die Erfindung löst diese Aufgabe entsprechend den kennzeichnenden Merkmalen des Anspruches 1. Vorteilhafte Weiterbildungen der Erfindung sind den Unteransprüchen zu entnehmen.
Ein Ausführungsbeispiel der Erfindung ist in der Zeichnung dargestellt.
Es zeigt Fig. 1 eine Übungshandgranate im Längsschnitt und Fig. 2 einen vergrößert gezeichneten Abschnitt eines Ladungsrohres nach Fig. 1.
Eine strichpunktiert gezeichnete Übungshandgranate 1 weist ein zentrales Ladungsrohr 3 mit Zündkapsel 5, einen zeitverzögernden Satz 7 und eine Knalladung 9 auf.
Das Ladungsrohr 3 schließt mit seiner freien Stirnseite 11 etwa mit der unteren Stirnfläche 13 der Übungshandgranate 1 ab. Eine Bohrung 15 nimmt die Knalladung 9 auf. Endseitig weist das Ladungsrohr 3 einen Kegelsitz 17 für eine Kugel 18 aus einem leichten, geschäumten Styrol und eine Ausnehmung 19 für eine scheiben- oder deckelförmige Silikonschicht 21 bestehend aus einem vulkanisierbaren Silikonkautschuk auf. Diese ist in Bezug auf die Kugel 18 kraterförmig 27 und bezüglich des Kegelsitzes 17 keglig 28 ausgebildet. Dadurch liegt ein spitz zulaufender Rand 29 vor, der die Kugel 18 streifenförmig einhüllt.
Im Kegelsitz 17 sitzt die Kugel 18 mit leichter Vorspannung, wobei etwa 50 % der Kugeloberfläche mit der Silikonschicht 21 verklebt ist. Die Silikonschicht 21 ist ihrerseits über die Oberfläche der Ausnehmung 19 und eines Teils des Kegelsitzes 17 mit dem Ladungsrohr 3 verklebt.
Eine sehr dünne, membranförmige Schicht 31 der Silikonschicht 21 ermöglicht der Kugel 18 den Austritt aus dem Ladungsrohr 3.
Der Durchmesser 23 der Ausnehmung 19 ist größer als der Durchmesser 25 der Kugel 18. Dadurch und durch den Kegelsitz 17, 28 bzw. den Rand 29 liegt eine große Klebeoberfläche der Silikonschicht 21 am Ladungsrohr 3 und an der Kugel 18 vor. Bei harten Stößen in Achsrichtung des Ladungsrohres 3 ist damit gewährleistet, daß die an der Kugel 18 anliegende Knalladung 9 durch den, aus der Kugel 18 und der Silikonschicht 21 bestehenden Verschluß 30 eine Öffnung 33 des Ladungsrohres 3 sicher verschließt.
Nach Zündung der Zündkapsel 5 brennt der zeitverzögernde Satz 7 ab und zündet die Knalladung 9. Der Gasdruck der Knalladung 9 treibt die Kugel 18 aus ihrem Kegelsitz 17. Dabei wird die Silikonschicht 21 im Bereich der Schicht 31 zunehmend verformt, bis die Kugel 18 die immer dünner werdende Silikonschicht 21, 31 durchstößt. Die Silikonschicht 21, 31 verbleibt daher am Ladungsrohr 3, während die Kugel 18 aufgrund ihrer sehr geringen Masse und aufgrund des großen Luftwiderstandes rasch zu Boden fällt. Die vorgegebenen Bedingungen für die kinetische Energie und Flugdistanz von wegfliegenden Teilen werden nicht erreicht, so daß die Sicherheitsbedingungen erfüllt sind.

Claims (8)

  1. Pyrotechnische Ladung in einem Rohr für eine Übungsgranate oder Feuerwerksartikel, bei der das Rohr durch einen, durch den Gasdruck zu öffnenden Verschluß geschlossen ist,
    dadurch gekennzeichnet,
    daß der Verschluß (30) wenigstens zweiteilig ist, indem eine äußere Silikonschicht (21) im Bereich der Öffnung (33) des Rohres (3) einen sehr leichten Verschlußkörper (18) mit dem Rohr (3) verbindet.
  2. Pyrotechnische Ladung nach Anspruch 1,
    dadurch gekennzeichnet,
    daß der Verschlußkörper (18) aus einem geschäumten Werkstoff wie Styrol besteht.
  3. Pyrotechnische Ladung nach Anspruch 1,
    dadurch gekennzeichnet,
    daß der Verschlußkörper als Kugel (18) ausgebildet ist und das Rohr (3) für die Lagerung der Kugel (18) mit einem Kegelsitz (17) versehen ist.
  4. Pyrotechnische Ladung nach Anspruch 3,
    dadurch gekennzeichnet,
    daß das Rohr (3) eine Ausnehmung (19) zur Aufnahme der etwa scheibenförmigen Silikonschicht (21) aufweist und der Durchmesser (23) der Ausnehmung (19) größer ist als die Kugel (18).
  5. Pyrotechnische Ladung nach Anspruch 1,
    dadurch gekennzeichnet,
    daß die Silikonschicht (21) aus einem vulkanisierbarem Silikonkautschuk besteht.
  6. Pyrotechnische Ladung nach Anspruch 1,
    dadurch gekennzeichnet,
    daß die Silikonschicht (21) in der Hauptachse des Rohres (3) mit einer membranförmigen Schicht (31) an der Kugel (18) anliegt bzw. mit der Kugel (18) verklebt ist.
  7. Pyrotechnische Ladung nach Anspruch 1,
    dadurch gekennzeichnet,
    daß die pyrotechnische Ladung (9) an dem Verschlußkörper (18) anliegt.
  8. Pyrotechnische Ladung nach den Ansprüchen 1 und 3,
    dadurch gekennzeichnet,
    daß der Verschlußkörper (18) etwa zur Hälfte seiner Oberfläche mit der Silikonschicht (21) verklebt ist, wobei die Silikonschicht mit einem spitz zulaufenden Rand (29) den Verschlußkörper (18) zu einem Teil einhüllt.
EP98106895A 1997-04-19 1998-04-16 Pyrotechnische Ladung in einem Rohr Expired - Lifetime EP0872702B1 (de)

Applications Claiming Priority (2)

Application Number Priority Date Filing Date Title
DE19716511 1997-04-19
DE19716511A DE19716511A1 (de) 1997-04-19 1997-04-19 Pyrotechnische Ladung in einem Rohr

Publications (3)

Publication Number Publication Date
EP0872702A2 true EP0872702A2 (de) 1998-10-21
EP0872702A3 EP0872702A3 (de) 2000-01-26
EP0872702B1 EP0872702B1 (de) 2003-10-01

Family

ID=7827084

Family Applications (1)

Application Number Title Priority Date Filing Date
EP98106895A Expired - Lifetime EP0872702B1 (de) 1997-04-19 1998-04-16 Pyrotechnische Ladung in einem Rohr

Country Status (5)

Country Link
EP (1) EP0872702B1 (de)
AT (1) ATE251301T1 (de)
DE (2) DE19716511A1 (de)
DK (1) DK0872702T3 (de)
NO (1) NO317408B1 (de)

Families Citing this family (2)

* Cited by examiner, † Cited by third party
Publication number Priority date Publication date Assignee Title
US7621222B2 (en) 2001-08-23 2009-11-24 Raytheon Company Kinetic energy rod warhead with lower deployment angles
DE202004018014U1 (de) * 2004-11-20 2006-04-27 Diehl Bgt Defence Gmbh & Co. Kg Rohr mit einer pyrotechnischen Ladung für eine Übungsgranate oder einen Feuerwerksartikel

Citations (1)

* Cited by examiner, † Cited by third party
Publication number Priority date Publication date Assignee Title
DE2644230A1 (de) 1976-03-15 1977-09-29 Francesco Moneta Handgranate mit zuendverzoegerung

Family Cites Families (5)

* Cited by examiner, † Cited by third party
Publication number Priority date Publication date Assignee Title
FR844961A (fr) * 1937-10-20 1939-08-07 Anciens Ets Skoda Projectile à retardateur dynamique et relais
FR1439815A (fr) * 1961-03-13 1966-05-27 Zd Y Rijnove Revoluce Narodni Détonateur électrique à retardement et antidéflagrant
DE1969984U (de) * 1967-02-28 1967-10-05 Bock Geb Knallkorper mit kanonenschlag.
DE7235812U (de) * 1972-09-29 1973-02-08 Diehl Übungshandgranate
AT396304B (de) * 1991-03-26 1993-08-25 Oregon Ets Patentverwertung Uebungs-handgranatenzuender

Patent Citations (1)

* Cited by examiner, † Cited by third party
Publication number Priority date Publication date Assignee Title
DE2644230A1 (de) 1976-03-15 1977-09-29 Francesco Moneta Handgranate mit zuendverzoegerung

Also Published As

Publication number Publication date
DK0872702T3 (da) 2004-02-02
DE59809762D1 (de) 2003-11-06
ATE251301T1 (de) 2003-10-15
NO981703L (no) 1998-10-20
EP0872702B1 (de) 2003-10-01
DE19716511A1 (de) 1998-10-22
NO317408B1 (no) 2004-10-25
EP0872702A3 (de) 2000-01-26
NO981703D0 (no) 1998-04-16

Similar Documents

Publication Publication Date Title
EP0680857B1 (de) Gasgenerator für ein Fahrzeug-Rückhaltesystem
DE4401396C2 (de) Vorrichtung zum Zerschlagen einer Fahrzeugscheibe
DE2747313C2 (de) Unterkalibriges Pfeilgeschoß mit einem widerstandsstabilisierenden konischen Heckteil
DE2826497A1 (de) Treibspiegelgeschoss mit pyrotechnischem satz
DE1240760B (de) Panzerbrandgeschoss
DE4021469A1 (de) Rueckschlagventil
EP0872702A2 (de) Pyrotechnische Ladung in einem Rohr
CH662646A5 (de) Geschoss mit einem rohrfoermigen koerper.
DE1910779A1 (de) Verbesserungen in bezug auf die wirksamkeit von hohlladungen
DE2911595A1 (de) Anordnung an einer sprengkapsel einer niedrigenergiezuendschnur
DE3408476A1 (de) Vollkalibriges uebungsgeschoss
DE720097C (de) Aufschlagzuender
DE1603808C3 (de) Pulverkraftbetriebenes Bolzensetzgerät mit einem Bolzen und einem hülsenförmigen Teil
DE4220176C2 (de) Kernerzeugungsladung
EP0255570A1 (de) Treibspiegelgeschoss, insbesondere Pfeilgeschoss
DE2639719A1 (de) Durchschiessbarer muendungsdeckel
DE3819251A1 (de) Vielfachgeschoss
EP0238817A1 (de) Treibspiegelgeschoss mit einem Treibspiegelheck, an dem eine Befestigungshülse über eine Sollbrüchstelle befestigt ist
DE2446832C2 (de) Zündvorrichtung für Werferrohre zur Zündung der Antriebsladung eines Projektils
DE3803369C2 (de) Drallstabilisiertes Übungsgeschoß
DE1966993C3 (de) Geschoß
EP0455980A2 (de) Seemarkierer für Notanflugverfahren von Bordflugzeugen von Schiffen
AT229194B (de) Zünder für rotierende Geschosse
DE3007728C2 (de) Treibkäfig für ein unterkalibriges Treibkäfiggeschoß
DE3018221A1 (de) Bolzensetzgeraet

Legal Events

Date Code Title Description
PUAI Public reference made under article 153(3) epc to a published international application that has entered the european phase

Free format text: ORIGINAL CODE: 0009012

AK Designated contracting states

Kind code of ref document: A2

Designated state(s): AT BE DE DK FI FR GB GR IT NL SE

AX Request for extension of the european patent

Free format text: AL;LT;LV;MK;RO;SI

PUAL Search report despatched

Free format text: ORIGINAL CODE: 0009013

AK Designated contracting states

Kind code of ref document: A3

Designated state(s): AT BE CH CY DE DK ES FI FR GB GR IE IT LI LU MC NL PT SE

AX Request for extension of the european patent

Free format text: AL;LT;LV;MK;RO;SI

RIC1 Information provided on ipc code assigned before grant

Free format text: 7F 42B 8/26 A, 7F 42B 12/36 B, 7F 42B 4/00 B

17P Request for examination filed

Effective date: 20000121

AKX Designation fees paid

Free format text: AT BE DE DK FI FR GB GR IT NL SE

17Q First examination report despatched

Effective date: 20020218

GRAH Despatch of communication of intention to grant a patent

Free format text: ORIGINAL CODE: EPIDOS IGRA

GRAS Grant fee paid

Free format text: ORIGINAL CODE: EPIDOSNIGR3

GRAA (expected) grant

Free format text: ORIGINAL CODE: 0009210

AK Designated contracting states

Kind code of ref document: B1

Designated state(s): AT BE DE DK FI FR GB GR IT NL SE

REG Reference to a national code

Ref country code: GB

Ref legal event code: FG4D

Free format text: NOT ENGLISH

RAP2 Party data changed (patent owner data changed or rights of a patent transferred)

Owner name: DIEHL STIFTUNG & CO. KG

REF Corresponds to:

Ref document number: 59809762

Country of ref document: DE

Date of ref document: 20031106

Kind code of ref document: P

NLT2 Nl: modifications (of names), taken from the european patent patent bulletin

Owner name: DIEHL STIFTUNG & CO. KG

REG Reference to a national code

Ref country code: SE

Ref legal event code: TRGR

REG Reference to a national code

Ref country code: DK

Ref legal event code: T3

Ref country code: GR

Ref legal event code: EP

Ref document number: 20030405319

Country of ref document: GR

GBT Gb: translation of ep patent filed (gb section 77(6)(a)/1977)

Effective date: 20040119

PGFP Annual fee paid to national office [announced via postgrant information from national office to epo]

Ref country code: GB

Payment date: 20040309

Year of fee payment: 7

PGFP Annual fee paid to national office [announced via postgrant information from national office to epo]

Ref country code: GR

Payment date: 20040329

Year of fee payment: 7

Ref country code: FR

Payment date: 20040329

Year of fee payment: 7

PGFP Annual fee paid to national office [announced via postgrant information from national office to epo]

Ref country code: FI

Payment date: 20040401

Year of fee payment: 7

Ref country code: AT

Payment date: 20040401

Year of fee payment: 7

PGFP Annual fee paid to national office [announced via postgrant information from national office to epo]

Ref country code: BE

Payment date: 20040402

Year of fee payment: 7

PGFP Annual fee paid to national office [announced via postgrant information from national office to epo]

Ref country code: SE

Payment date: 20040428

Year of fee payment: 7

PGFP Annual fee paid to national office [announced via postgrant information from national office to epo]

Ref country code: NL

Payment date: 20040429

Year of fee payment: 7

ET Fr: translation filed
PLBE No opposition filed within time limit

Free format text: ORIGINAL CODE: 0009261

STAA Information on the status of an ep patent application or granted ep patent

Free format text: STATUS: NO OPPOSITION FILED WITHIN TIME LIMIT

26N No opposition filed

Effective date: 20040702

PG25 Lapsed in a contracting state [announced via postgrant information from national office to epo]

Ref country code: IT

Free format text: LAPSE BECAUSE OF NON-PAYMENT OF DUE FEES

Effective date: 20050416

Ref country code: GB

Free format text: LAPSE BECAUSE OF NON-PAYMENT OF DUE FEES

Effective date: 20050416

Ref country code: AT

Free format text: LAPSE BECAUSE OF NON-PAYMENT OF DUE FEES

Effective date: 20050416

PG25 Lapsed in a contracting state [announced via postgrant information from national office to epo]

Ref country code: SE

Free format text: LAPSE BECAUSE OF NON-PAYMENT OF DUE FEES

Effective date: 20050417

PGFP Annual fee paid to national office [announced via postgrant information from national office to epo]

Ref country code: DK

Payment date: 20050427

Year of fee payment: 8

PG25 Lapsed in a contracting state [announced via postgrant information from national office to epo]

Ref country code: BE

Free format text: LAPSE BECAUSE OF NON-PAYMENT OF DUE FEES

Effective date: 20050430

PGFP Annual fee paid to national office [announced via postgrant information from national office to epo]

Ref country code: DE

Payment date: 20050621

Year of fee payment: 8

BERE Be: lapsed

Owner name: *DIEHL STIFTUNG & CO. K.G.

Effective date: 20050430

PG25 Lapsed in a contracting state [announced via postgrant information from national office to epo]

Ref country code: NL

Free format text: LAPSE BECAUSE OF NON-PAYMENT OF DUE FEES

Effective date: 20051101

PG25 Lapsed in a contracting state [announced via postgrant information from national office to epo]

Ref country code: GR

Free format text: LAPSE BECAUSE OF NON-PAYMENT OF DUE FEES

Effective date: 20051103

EUG Se: european patent has lapsed
GBPC Gb: european patent ceased through non-payment of renewal fee

Effective date: 20050416

PG25 Lapsed in a contracting state [announced via postgrant information from national office to epo]

Ref country code: FR

Free format text: LAPSE BECAUSE OF NON-PAYMENT OF DUE FEES

Effective date: 20051230

NLV4 Nl: lapsed or anulled due to non-payment of the annual fee

Effective date: 20051101

REG Reference to a national code

Ref country code: FR

Ref legal event code: ST

Effective date: 20051230

PG25 Lapsed in a contracting state [announced via postgrant information from national office to epo]

Ref country code: DK

Free format text: LAPSE BECAUSE OF NON-PAYMENT OF DUE FEES

Effective date: 20060501

PG25 Lapsed in a contracting state [announced via postgrant information from national office to epo]

Ref country code: DE

Free format text: LAPSE BECAUSE OF NON-PAYMENT OF DUE FEES

Effective date: 20061101

REG Reference to a national code

Ref country code: DK

Ref legal event code: EBP

BERE Be: lapsed

Owner name: *DIEHL STIFTUNG & CO. K.G.

Effective date: 20050430