EP0578234B1 - Magnetic head and method of manufacturing the same - Google Patents
Magnetic head and method of manufacturing the same Download PDFInfo
- Publication number
- EP0578234B1 EP0578234B1 EP93110888A EP93110888A EP0578234B1 EP 0578234 B1 EP0578234 B1 EP 0578234B1 EP 93110888 A EP93110888 A EP 93110888A EP 93110888 A EP93110888 A EP 93110888A EP 0578234 B1 EP0578234 B1 EP 0578234B1
- Authority
- EP
- European Patent Office
- Prior art keywords
- magnetic
- substrate
- thin film
- magnetic head
- soft magnetic
- Prior art date
- Legal status (The legal status is an assumption and is not a legal conclusion. Google has not performed a legal analysis and makes no representation as to the accuracy of the status listed.)
- Expired - Lifetime
Links
- 238000004519 manufacturing process Methods 0.000 title claims description 21
- 239000010409 thin film Substances 0.000 claims description 122
- 239000000758 substrate Substances 0.000 claims description 46
- 230000008018 melting Effects 0.000 claims description 16
- 238000002844 melting Methods 0.000 claims description 16
- 239000011521 glass Substances 0.000 claims description 15
- 238000000034 method Methods 0.000 claims description 12
- 229910045601 alloy Inorganic materials 0.000 claims description 11
- 239000000956 alloy Substances 0.000 claims description 11
- 230000015572 biosynthetic process Effects 0.000 claims description 11
- 230000000694 effects Effects 0.000 claims description 11
- 239000002245 particle Substances 0.000 claims description 11
- 239000000463 material Substances 0.000 claims description 10
- 238000005530 etching Methods 0.000 claims description 9
- 238000000992 sputter etching Methods 0.000 claims description 9
- 238000005520 cutting process Methods 0.000 claims description 8
- VYPSYNLAJGMNEJ-UHFFFAOYSA-N Silicium dioxide Chemical compound O=[Si]=O VYPSYNLAJGMNEJ-UHFFFAOYSA-N 0.000 claims description 6
- 238000001020 plasma etching Methods 0.000 claims description 3
- 125000006850 spacer group Chemical group 0.000 claims description 3
- 238000004804 winding Methods 0.000 claims description 3
- 229910000859 α-Fe Inorganic materials 0.000 claims description 3
- 229910001030 Iron–nickel alloy Inorganic materials 0.000 claims description 2
- PNEYBMLMFCGWSK-UHFFFAOYSA-N aluminium oxide Inorganic materials [O-2].[O-2].[O-2].[Al+3].[Al+3] PNEYBMLMFCGWSK-UHFFFAOYSA-N 0.000 claims description 2
- 229910052681 coesite Inorganic materials 0.000 claims description 2
- 229910052593 corundum Inorganic materials 0.000 claims description 2
- 229910052906 cristobalite Inorganic materials 0.000 claims description 2
- UCNNJGDEJXIUCC-UHFFFAOYSA-L hydroxy(oxo)iron;iron Chemical compound [Fe].O[Fe]=O.O[Fe]=O UCNNJGDEJXIUCC-UHFFFAOYSA-L 0.000 claims description 2
- 239000011810 insulating material Substances 0.000 claims description 2
- 239000000377 silicon dioxide Substances 0.000 claims description 2
- 229910052682 stishovite Inorganic materials 0.000 claims description 2
- 229910052905 tridymite Inorganic materials 0.000 claims description 2
- 229910001845 yogo sapphire Inorganic materials 0.000 claims description 2
- 230000003247 decreasing effect Effects 0.000 description 10
- 239000010408 film Substances 0.000 description 6
- 239000010410 layer Substances 0.000 description 3
- 238000001312 dry etching Methods 0.000 description 2
- 238000007730 finishing process Methods 0.000 description 2
- 229910001004 magnetic alloy Inorganic materials 0.000 description 2
- 229910052814 silicon oxide Inorganic materials 0.000 description 2
- 239000000126 substance Substances 0.000 description 2
- 229910005347 FeSi Inorganic materials 0.000 description 1
- 238000005299 abrasion Methods 0.000 description 1
- 238000004026 adhesive bonding Methods 0.000 description 1
- 239000000919 ceramic Substances 0.000 description 1
- 238000005516 engineering process Methods 0.000 description 1
- 230000004907 flux Effects 0.000 description 1
- -1 for example Chemical compound 0.000 description 1
- 238000009413 insulation Methods 0.000 description 1
- 238000007733 ion plating Methods 0.000 description 1
- 239000000696 magnetic material Substances 0.000 description 1
- 239000002184 metal Substances 0.000 description 1
- 238000005498 polishing Methods 0.000 description 1
- 238000007493 shaping process Methods 0.000 description 1
- 239000002356 single layer Substances 0.000 description 1
- 238000004544 sputter deposition Methods 0.000 description 1
- 238000001771 vacuum deposition Methods 0.000 description 1
Images
Classifications
-
- G—PHYSICS
- G11—INFORMATION STORAGE
- G11B—INFORMATION STORAGE BASED ON RELATIVE MOVEMENT BETWEEN RECORD CARRIER AND TRANSDUCER
- G11B5/00—Recording by magnetisation or demagnetisation of a record carrier; Reproducing by magnetic means; Record carriers therefor
- G11B5/127—Structure or manufacture of heads, e.g. inductive
- G11B5/147—Structure or manufacture of heads, e.g. inductive with cores being composed of metal sheets, i.e. laminated cores with cores composed of isolated magnetic layers, e.g. sheets
- G11B5/1475—Assembling or shaping of elements
-
- G—PHYSICS
- G11—INFORMATION STORAGE
- G11B—INFORMATION STORAGE BASED ON RELATIVE MOVEMENT BETWEEN RECORD CARRIER AND TRANSDUCER
- G11B5/00—Recording by magnetisation or demagnetisation of a record carrier; Reproducing by magnetic means; Record carriers therefor
- G11B5/10—Structure or manufacture of housings or shields for heads
-
- G—PHYSICS
- G11—INFORMATION STORAGE
- G11B—INFORMATION STORAGE BASED ON RELATIVE MOVEMENT BETWEEN RECORD CARRIER AND TRANSDUCER
- G11B5/00—Recording by magnetisation or demagnetisation of a record carrier; Reproducing by magnetic means; Record carriers therefor
- G11B5/127—Structure or manufacture of heads, e.g. inductive
- G11B5/187—Structure or manufacture of the surface of the head in physical contact with, or immediately adjacent to the recording medium; Pole pieces; Gap features
- G11B5/21—Structure or manufacture of the surface of the head in physical contact with, or immediately adjacent to the recording medium; Pole pieces; Gap features the pole pieces being of ferrous sheet metal or other magnetic layers
-
- G—PHYSICS
- G11—INFORMATION STORAGE
- G11B—INFORMATION STORAGE BASED ON RELATIVE MOVEMENT BETWEEN RECORD CARRIER AND TRANSDUCER
- G11B5/00—Recording by magnetisation or demagnetisation of a record carrier; Reproducing by magnetic means; Record carriers therefor
- G11B5/127—Structure or manufacture of heads, e.g. inductive
- G11B5/31—Structure or manufacture of heads, e.g. inductive using thin films
- G11B5/3109—Details
-
- G—PHYSICS
- G11—INFORMATION STORAGE
- G11B—INFORMATION STORAGE BASED ON RELATIVE MOVEMENT BETWEEN RECORD CARRIER AND TRANSDUCER
- G11B5/00—Recording by magnetisation or demagnetisation of a record carrier; Reproducing by magnetic means; Record carriers therefor
- G11B5/127—Structure or manufacture of heads, e.g. inductive
- G11B5/31—Structure or manufacture of heads, e.g. inductive using thin films
- G11B5/3163—Fabrication methods or processes specially adapted for a particular head structure, e.g. using base layers for electroplating, using functional layers for masking, using energy or particle beams for shaping the structure or modifying the properties of the basic layers
Definitions
- the present invention relates to magnetic heads, and more particularly, to a rotary magnetic head for a VCR, an R-DAT, a digital VCR and the like and a method manufacturing the same.
- a magnetic medium with a high coercive force such as a metal-particulate tape has been used as a recording medium in recent years. Therefore, a thin film of a soft magnetic alloy having a high saturation magnetic flux density is used as a material of a core of a magnetic head.
- FIG. 12 is a perspective view of one example of the magnetic head disclosed therein.
- a magnetic core 9 included in a magnetic head 7 has a structure in which soft magnetic thin films and insulating films are stacked alternately. Magnetic core 9 is structured so as to be interposed between a non-magnetic substrate 13 and a low melting point glass 15. Although the thickness of a magnetic gap portion 11 serving as a track width in magnetic core 9 cannot be increased because it is determined by a standard, the thickness of the other portions can be increased.
- Fig. 13 is a perspective view of another example of the magnetic head disclosed in the above-described Japanese Patent Laying-Open No. 3-269809, in which an azimuth angle ⁇ of magnetic head 7 is changed.
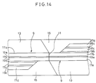
- Fig. 14 is a partial plan view of a magnetic gap portion of the magnetic head shown in Fig. 12.
- Magnetic core 9 has a structure in which a soft magnetic thin film 17a, an insulating thin film 19a, a soft magnetic thin film 17b, an insulating thin film 19b, a soft magnetic thin film 17c, an insulating thin film 19c, and a soft magnetic thin film 17d are stacked alternately.
- soft magnetic thin films 17c, 17d By further stacking soft magnetic thin films 17c, 17d in a portion excluding magnetic gap portion 11 of magnetic core 9, a cross section of magnetic core 9 is increased.
- This structure can be obtained by etching soft magnetic thin film 17d, insulating thin film 19c, soft magnetic thin film 17c, and insulating thin film 19b positioned in magnetic gap portion 11 with ion milling after stacking soft magnetic thin films and insulating thin films alternately.
- the thinner the thickness of the soft magnetic thin film the more difficult it is for the soft magnetic thin film to operate as a magnetic substance at a high frequency because of an eddy-current loss. Therefore, as shown in Fig. 14, by stacking soft magnetic thin films and insulating thin films alternately, the thickness of the soft magnetic thin film is reduced.
- Prior art document PATENT ABSTRACTS OF JAPAN, vol. 14, no. 321 (P-1074), 10/07/1990 % JP-A-02/105 309 discloses a magnetic head having a magnetic core which is made of a stack of layers of magnetic thin films separated by insulating thin films. Said magnetic core has a thickness in the area of the magnetic gap which is smaller than at the other portions wherein the first and the last one of the stacked magnetic thin films have their thickness smaller close to said gap.
- prior art document EP-A-0 448 033 discloses a similar magnetic head having a single magnetic thin film and a method for producing the same.
- This method includes the steps of forming a plurality of almost V-shaped parallel grooves in a surface of a substrate, forming a soft magnetic thin film larger in thickness as required for a track width in one wall of each of the grooves, processing the soft magnetic thin film at the top portion of the groove walls to a thickness required for the track width by ion milling utilizing a self-shadowing effect of the top portion of the groove walls, filling the grooves with nonmagnetic substance, and performing a finishing process required for completing a magnetic head including the steps of cutting, shaping, polishing, bonding, etc.
- prior art document EP-A-0 400 966 discloses the use of self-shadowing for manufacturing a magnetic core made of either one magnetic layer or a stacked structure of magnetic thin films and insulating films wherein said stacked structure is achieved by repeating the steps of producing a single layer of magnetic thin films.
- One object of the present invention is to provide a magnetic head having a magnetic core in which a magnetic reluctance can be further decreased.
- Another object of the present invention is to provide a method of manufacturing a magnetic head having a magnetic core in which a magnetic reluctance can be further decreased.
- the present invention provides a magnetic head as specified in claim 1 and a method for producing the same as defined in claim 7.
- a magnetic head has a magnetic core in which the thickness of the vicinity of a magnetic gap portion is smaller as compared to the thickness of the other portions.
- the magnetic head is characterized in that the magnetic core has a structure in which soft magnetic thin films and insulating thin films are stacked alternately, and that at least one layer of the soft magnetic thin films has the thickness smaller in the vicinity of the gap portion than in the other portions.
- the thickness of the soft magnetic thin films is made larger in the other portion than in the vicinity of the magnetic gap portion, so that the cross section area of the magnetic core is increased, and the magnetic reluctance thereof is decreased. Therefore, compared to a conventional example in which soft magnetic thin films constituting the magnetic gap portion and soft magnetic thin films for increasing the cross section area of the magnetic core are magnetically separated, the magnetic reluctance can be decreased since the insulating thin films are not interposed. Since the thickness of the soft magnetic thin films constituting the magnetic gap portion can be further decreased, it is possible to reduce the eddy-current loss.
- a method of manufacturing a magnetic head a first substrate and a second substrate each including a magnetic core including a soft magnetic thin film are got butted together, and bonded so that a magnetic gap is formed between the magnetic cores.
- the method includes the steps of: forming a plurality of V-shaped grooves on the surface of a substrate; forming a soft magnetic thin film on one wall face of each of the plurality of grooves by introducing particles which contribute to formation of a soft magnetic thin film serving as a magnetic core at a predetermined tilt angle with respect to the ungrooved substrate normal and by using self-shadowing effects of peak portions of the grooves; applying an anisotropic etching process only to the vicinity of the peaks of the soft magnetic thin films to reduce the same in thickness by introducing particles which contribute to etching into the substrate having the soft magnetic thin film formed thereon so that they are directed only to the vicinity of the peaks of the plurality of grooves; forming an insulating thin film on the surface of the soft magnetic thin film by using self-shadow
- the thickness of the upper portion of the soft magnetic thin film formed on one wall face is reduced to make a magnetic core by means of an anisotropic dry etching by using self-shadowing effects of the peak portion of the wall face of the groove.
- the upper portion of the soft magnetic thin film formed on one wall face serves as a magnetic gap portion. Therefore, it is possible to manufacture a magnetic head having the thickness of the soft magnetic thin film smaller in the magnetic gap portion than in the other portions.
- the step of forming the soft magnetic thin film and the step of reducing the thickness of the portion of the soft magnetic thin film formed on one wall face by means of an anisotropic etching are carried out simultaneously.
- a time required for formation of the soft magnetic thin film can be shortened.
- the step of applying an anisotropic etching process to reduce the portion of the soft magnetic thin film formed on one wall face ion milling or reactive ion etching is used.
- the step of forming the soft magnetic thin film on one wall face of each groove includes the step of introducing particles which contribute to formation of the soft magnetic thin film at a predetermined tilt angle with respect to the ungrooved substrate normal.
- the step of reducing the thickness of only the portion of the upper portion of the soft magnetic thin film formed on one wall face includes the step of introducing particles which contribute to ion milling at a tilt angle larger than the predetermined tilt angle with respect to the ungrooved substrate normal.
- Fig. 1 is a partial plan view of a first embodiment of a magnetic head according to the present invention.
- Fig. 2 is a perspective view of the first embodiment of the magnetic head according to the present invention.
- Figs. 3 to 9 are partial cross sectional views showing in order the steps of a method of manufacturing the magnetic head of the first embodiment according to the present invention.
- Fig. 10 is a perspective view of a second embodiment of the magnetic head according to the present invention.
- Fig. 11 is a perspective view of one example of a conventional magnetic head.
- Fig. 12 is a perspective view of one example of the magnetic head disclosed in Japanese Patent Laying-Open No. 3-269809.
- Fig. 13 is a perspective view of another example of the magnetic head disclosed in the above-described Japanese Patent Laying-Open No. 3-269809.
- Fig. 14 is a partial plan view of a magnetic gap portion of the magnetic head shown in Fig. 13.
- Fig. 1 is a partial plan view of the first embodiment of the present invention.
- a magnetic core 23 has a structure in which a soft magnetic thin film 31a, an insulating thin film 33a, a soft magnetic thin film 31b, an insulating thin film 33b, a soft magnetic thin film 31c, an insulating thin film 33c, and a soft magnetic thin film 31d are stacked alternately.
- a material of the soft magnetic thin film includes an FeAlSi system alloy , an NiFe system alloy, an FeSi system alloy, an FeSiCo system alloy, an FeSiGa system alloy and a CoNbZr system alloy.
- a material of the insulating thin film includes non-magnetic oxide, for example, SiO 2 , Al 2 O 3 , and a soft magnetic insulating material such as a ferrite thin film.
- a thickness W2 of a magnetic gap portion 25 of magnetic core 23 is made smaller compared to a thickness W1 of the other portions. More specifically, by making the thickness W1 of the other portions larger than the thickness W2 of magnetic gap portion 25, the cross section area of magnetic core 23 is increased, and the magnetic reluctance thereof is decreased.
- a thickness W4 in magnetic gap portion 25 of soft magnetic thin films 31a, 31b, 31c, 31d is made smaller compared to a thickness W3 in the other portions of the soft magnetic thin films 31a, 31b, 31c, 31d.
- the cross section area of magnetic core 23 is increased. Since there is no insulating thin film between the soft magnetic thin film in magnetic gap portion 25 and the soft magnetic thin film in the other portions, it is possible to further decrease the magnetic reluctance compared to a conventional example having the insulating thin film therebetween.
- the thickness W4 is made smaller than the thickness W3 in all of the soft magnetic thin films 31a, 31b, 31c, 31d in the first embodiment, the present invention is not limited thereto, but the thickness W4 may be smaller than the thickness W3 in one or more of the soft magnetic thin films 31a, 31b, 31c, 31d.
- the number of the soft magnetic thin film is determined by a standard on which the magnetic head operates, although four soft magneitc thin films are shown in Fig. 1 for drawing convenience.
- Magnetic core 23, formed on a non-magnetic substrate 27, is interposed between non-magnetic substrate 27 and a low melting point glass 29.
- a material of the non-magnetic substrate includes, for example, ceramics and crystallized glass.
- the material of non-magnetic substrate 27 is selected taking into consideration matching of thermal expansion with respect to a material of the soft magnetic thin film and abrasion characteristics.
- the thickness W2 corresponds to the track width of the magnetic head.
- FIG. 2 is a perspective view of the first embodiment of the magnetic head according to the present invention.
- a magnetic head 21 has a structure in which magnetic core 23 is interposed between non-magnetic substrate 27 and low melting point glass 29.
- a coil wire wounded around magnetic head 21 and a gap spacer are not shown for avoiding complexity.
- a plurality of V-shaped grooves 35 are formed on the surface of non-magnetic substrate 27 by using a rotating abrasive blade.
- Each of V-shaped grooves 35 has a wall face 39 and a peak portion 37.
- a pitch dimension A is determined by taking into consideration the final thickness of the magnetic head and a cutting margin.
- An angle ⁇ between wall face 39 and a normal of the initial surface of non-magnetic substrate 27 and the pitch dimension A are determined by the width and azimuth of the magnetic core finally required for the finished magnetic head.
- a soft magnetic thin film is formed on one wall face 39 by introducing particles which contribute to formation of the soft magnetic thin film from a B direction and by using self-shadowing effects of peak portion 37. Simultaneously, the thickness of the upper portion of the soft magnetic thin film of one wall face 39 was decreased by introducing particles which contribute to ion milling from a C direction and by using self-shadowing effects of peak portion 37. Although it is preferred that these steps are carried out simultaneously, ion milling may be carried out after formation of the soft magnetic thin film. Since the thickness of portions excluding the magnetic gap portion of the soft magnetic thin film is set by taking into consideration a frequency range in which the magnetic head operates, it is possible to further reduce the eddy-current loss in the soft magnetic thin films constituting the magnetic gap portion.
- An insulating thin film is formed on the soft magnetic thin film formed on one wall face 39 by introducing particles which contribute to formation of the insulating thin film from a B direction and by using self-shadowing effects of peak portion 37.
- the thickness of the insulating thin film on the upper portion of one wall face 39 may be decreased by ion milling. In order to obtain much higher recording density in the future, it will be required that the track width should be made smaller. As a result, to ensure the effective track width, the insulating thin film must be further made smaller in a range where insulation is kept.
- magnetic core 23 is formed, as shown in Fig. 5.
- the soft magnetic thin film is etched by ion milling in this embodiment, the other anisotropic dry etching, for example, reactive ion etching, may be used.
- a method of forming a thin film includes a vacuum evaporation method, an ion plating method and a sputtering method, in order to obtain self-shadowing effects, it is preferred that a film is formed in a relatively high vacuum, allowing the mean free path of the particles is sufficiently longer than the pitch dimension of the V-shaped grooves.
- a silicon oxide film (not shown) serving as a protection film is formed on the surface of magnetic core 23 of wall face 39.
- a metal for example, Cr
- low melting point glass 29 is filled in V-shaped groove 35, and planarized by removal of an excess of low melting point glass 29.
- Fig. 7 is a perspective view of the state shown in Fig. 6.
- a core block 47 is cut along a face 41 which is orthogonal to a direction in which V-shaped groove 35 extends to form a core piece 43.
- a space between faces 41 is a predetermined pitch.
- Fig. 7 shows the state where core block 47 is divided into four, it may be divided into more than four.
- gap opposing face 45 of one core piece 43 and gap opposing face 45 of the other core piece 43 are got butted together so that a magnetic gap portion is formed between magnetic core 23 of one core piece 43 and magnetic core 23 of the other core piece 43. Then, by melting low melting point glass 29, two core pieces 43, which are got butted together, are bonded with each other to form a magnetic head core block 49. Since magnetic head core block 49 is in the state where a multiple of magnetic head chips are integrated, it is divided into individual magnetic head chips in the next step.
- magnetic head core block 49 is sliced with a hatched portion in Fig. 9 used as a cutting margin.
- a shape and pitch A (cf. Fig. 3) of V-shaped groove 35 there is a case where the cutting face is not in parallel with magnetic core 23 as shown in the figure.
- Fig. 10 is a perspective view of the second embodiment of the magnetic head according to the present invention.
- the azimuth angle ⁇ of magnetic head 21 is changed.
- the same reference characters are given to the same components as those in Fig. 2.
Landscapes
- Engineering & Computer Science (AREA)
- Manufacturing & Machinery (AREA)
- Magnetic Heads (AREA)
Applications Claiming Priority (2)
| Application Number | Priority Date | Filing Date | Title |
|---|---|---|---|
| JP4180823A JP2895680B2 (ja) | 1992-07-08 | 1992-07-08 | 磁気ヘッドおよびその製造方法 |
| JP180823/92 | 1992-07-08 |
Publications (3)
| Publication Number | Publication Date |
|---|---|
| EP0578234A2 EP0578234A2 (en) | 1994-01-12 |
| EP0578234A3 EP0578234A3 (enExample) | 1994-02-16 |
| EP0578234B1 true EP0578234B1 (en) | 1998-09-16 |
Family
ID=16089983
Family Applications (1)
| Application Number | Title | Priority Date | Filing Date |
|---|---|---|---|
| EP93110888A Expired - Lifetime EP0578234B1 (en) | 1992-07-08 | 1993-07-07 | Magnetic head and method of manufacturing the same |
Country Status (4)
| Country | Link |
|---|---|
| US (1) | US5691866A (enExample) |
| EP (1) | EP0578234B1 (enExample) |
| JP (1) | JP2895680B2 (enExample) |
| DE (1) | DE69321044T2 (enExample) |
Families Citing this family (5)
| Publication number | Priority date | Publication date | Assignee | Title |
|---|---|---|---|---|
| JPH10302211A (ja) * | 1997-01-14 | 1998-11-13 | Sony Corp | 磁気ヘッド及びその製造方法 |
| JPH10302219A (ja) * | 1997-04-30 | 1998-11-13 | Fujitsu Ltd | 薄膜磁気ヘッドおよび製造方法 |
| US6288870B1 (en) * | 1998-01-13 | 2001-09-11 | Quantum Corporation | Self-aligned metal film core multi-channel recording head for tape drives |
| HRP20080359B1 (hr) * | 1998-11-10 | 2016-01-01 | Janssen Pharmaceutica N.V. | PIRIMIDINI KOJI INHIBIRAJU REPLIKACIJU HIV-a |
| US6700472B2 (en) * | 2001-12-11 | 2004-03-02 | Intersil Americas Inc. | Magnetic thin film inductors |
Family Cites Families (22)
| Publication number | Priority date | Publication date | Assignee | Title |
|---|---|---|---|---|
| JPS6139907A (ja) * | 1984-08-01 | 1986-02-26 | Hitachi Maxell Ltd | 磁気ヘツド |
| JP2554041B2 (ja) * | 1984-09-27 | 1996-11-13 | シャープ株式会社 | 磁気ヘッドコアの製造方法 |
| JPS61905A (ja) * | 1985-05-30 | 1986-01-06 | Hitachi Ltd | 磁気ヘツド |
| DE3689534T2 (de) * | 1985-10-14 | 1994-05-05 | Hitachi Ltd | Dünnschichtmagnetkopf. |
| JPS62114108A (ja) * | 1985-11-14 | 1987-05-25 | Mitsubishi Electric Corp | 電磁変換素子 |
| JPS62170007A (ja) * | 1986-01-22 | 1987-07-27 | Victor Co Of Japan Ltd | 磁気ヘツド |
| EP0246706B1 (en) * | 1986-05-21 | 1991-05-08 | Koninklijke Philips Electronics N.V. | Magnetic transducing head having clad core faces |
| JPS6374103A (ja) * | 1986-09-18 | 1988-04-04 | Victor Co Of Japan Ltd | 複合型磁気ヘッド及びその製造方法 |
| JPS6433709A (en) * | 1987-07-29 | 1989-02-03 | Sharp Kk | Magnetic head |
| CA1328506C (en) * | 1988-02-09 | 1994-04-12 | Kousou Ishihara | Magnetic head and method of manufacturing the same |
| US5170301A (en) * | 1988-08-03 | 1992-12-08 | Matsushita Electric Industrial Co., Ltd. | Magnetic head having core parts joined by low-melting point crystallized glass with composite gap |
| JPH02105309A (ja) * | 1988-10-13 | 1990-04-17 | Mitsubishi Electric Corp | 薄膜磁気ヘッド |
| JPH02220207A (ja) * | 1989-02-20 | 1990-09-03 | Nec Kansai Ltd | 磁気ヘッド |
| US5020212A (en) * | 1989-05-29 | 1991-06-04 | Sharp Corporation | Method of manufacturing a magnetic head |
| JPH03144904A (ja) * | 1989-10-31 | 1991-06-20 | Matsushita Electric Ind Co Ltd | 積層型磁気ヘッドの製造方法 |
| JPH03238605A (ja) * | 1990-02-16 | 1991-10-24 | Victor Co Of Japan Ltd | 磁気ヘッド |
| JPH0785289B2 (ja) * | 1990-03-19 | 1995-09-13 | シャープ株式会社 | 磁気ヘッドの製造方法 |
| JPH07112934B2 (ja) * | 1990-09-26 | 1995-12-06 | 株式会社日立製作所 | 磁気ヘツド並びにその接合ガラス及び磁気記録再生装置 |
| JPH04229407A (ja) * | 1990-12-27 | 1992-08-18 | Sanyo Electric Co Ltd | 磁気ヘッド |
| JPH04278205A (ja) * | 1991-03-06 | 1992-10-02 | Sony Corp | 磁気ヘッド |
| JP2633097B2 (ja) * | 1991-04-16 | 1997-07-23 | シャープ株式会社 | 磁気ヘッドの製造方法 |
| JP2648057B2 (ja) * | 1991-09-26 | 1997-08-27 | シャープ株式会社 | 磁気ヘッドの製造方法 |
-
1992
- 1992-07-08 JP JP4180823A patent/JP2895680B2/ja not_active Expired - Fee Related
-
1993
- 1993-07-07 DE DE69321044T patent/DE69321044T2/de not_active Expired - Fee Related
- 1993-07-07 EP EP93110888A patent/EP0578234B1/en not_active Expired - Lifetime
-
1996
- 1996-02-21 US US08/604,380 patent/US5691866A/en not_active Expired - Fee Related
Also Published As
| Publication number | Publication date |
|---|---|
| EP0578234A3 (enExample) | 1994-02-16 |
| JPH0628617A (ja) | 1994-02-04 |
| US5691866A (en) | 1997-11-25 |
| DE69321044D1 (de) | 1998-10-22 |
| DE69321044T2 (de) | 1999-05-12 |
| JP2895680B2 (ja) | 1999-05-24 |
| EP0578234A2 (en) | 1994-01-12 |
Similar Documents
| Publication | Publication Date | Title |
|---|---|---|
| EP0115842B1 (en) | Magnetic head and method of fabricating same | |
| KR910007872B1 (ko) | 복합형 자기헤드 및 그 제조방법 | |
| KR920006124B1 (ko) | 자기헤드 및 그 제조방법 | |
| KR100274098B1 (ko) | 자기 기록/판독 헤드 및 그 제조 방법 | |
| EP0578234B1 (en) | Magnetic head and method of manufacturing the same | |
| EP0448033B1 (en) | Method of manufacturing a magnetic head | |
| US4476509A (en) | Thin film magnetic head and method of manufacturing the same | |
| US5276959A (en) | Method of manufacturing a magnetic tape head | |
| EP0340781B1 (en) | Magnetic head of floating type and process for producing same | |
| EP0473092B1 (en) | Method of manufacturing floating type magnetic head | |
| JP2669965B2 (ja) | 磁気ヘッドの製造方法 | |
| JP2680750B2 (ja) | 磁気ヘッドの製造方法 | |
| JP2977112B2 (ja) | 磁気ヘッドの製造方法 | |
| JPH0585962B2 (enExample) | ||
| EP0572249B1 (en) | Laminated magnetic head and method for manufacturing thereof | |
| JP2889072B2 (ja) | 薄膜積層磁気ヘッドチップ及びその製法 | |
| JPH09219010A (ja) | 垂直薄膜磁気ヘッドの製造方法 | |
| JPH08508360A (ja) | 空隙中金属のそして薄膜のハイブリッド読出し/書込みヘッド | |
| JPS618710A (ja) | 磁気ヘツドの製造方法 | |
| JPH05290327A (ja) | 磁気ヘッド製造方法 | |
| JPH08203014A (ja) | 磁気ヘッド及びその製造方法 | |
| JPH0520622A (ja) | 磁気ヘツドの製造方法 | |
| JP2003203307A (ja) | 磁気ヘッドおよびその製造方法 | |
| JPH05314422A (ja) | 積層型磁気ヘッド | |
| JPH056508A (ja) | 磁気ヘツドの製造方法 |
Legal Events
| Date | Code | Title | Description |
|---|---|---|---|
| PUAI | Public reference made under article 153(3) epc to a published international application that has entered the european phase |
Free format text: ORIGINAL CODE: 0009012 |
|
| PUAL | Search report despatched |
Free format text: ORIGINAL CODE: 0009013 |
|
| AK | Designated contracting states |
Kind code of ref document: A2 Designated state(s): DE FR GB IT NL |
|
| AK | Designated contracting states |
Kind code of ref document: A3 Designated state(s): DE FR GB IT NL |
|
| 17P | Request for examination filed |
Effective date: 19940511 |
|
| 17Q | First examination report despatched |
Effective date: 19961210 |
|
| GRAG | Despatch of communication of intention to grant |
Free format text: ORIGINAL CODE: EPIDOS AGRA |
|
| GRAG | Despatch of communication of intention to grant |
Free format text: ORIGINAL CODE: EPIDOS AGRA |
|
| GRAH | Despatch of communication of intention to grant a patent |
Free format text: ORIGINAL CODE: EPIDOS IGRA |
|
| GRAH | Despatch of communication of intention to grant a patent |
Free format text: ORIGINAL CODE: EPIDOS IGRA |
|
| GRAA | (expected) grant |
Free format text: ORIGINAL CODE: 0009210 |
|
| AK | Designated contracting states |
Kind code of ref document: B1 Designated state(s): DE FR GB IT NL |
|
| PG25 | Lapsed in a contracting state [announced via postgrant information from national office to epo] |
Ref country code: NL Free format text: LAPSE BECAUSE OF FAILURE TO SUBMIT A TRANSLATION OF THE DESCRIPTION OR TO PAY THE FEE WITHIN THE PRESCRIBED TIME-LIMIT Effective date: 19980916 Ref country code: IT Free format text: LAPSE BECAUSE OF FAILURE TO SUBMIT A TRANSLATION OF THE DESCRIPTION OR TO PAY THE FEE WITHIN THE PRE;WARNING: LAPSES OF ITALIAN PATENTS WITH EFFECTIVE DATE BEFORE 2007 MAY HAVE OCCURRED AT ANY TIME BEFORE 2007. THE CORRECT EFFECTIVE DATE MAY BE DIFFERENT FROM THE ONE RECORDED.SCRIBED TIME-LIMIT Effective date: 19980916 |
|
| REF | Corresponds to: |
Ref document number: 69321044 Country of ref document: DE Date of ref document: 19981022 |
|
| ET | Fr: translation filed | ||
| NLV1 | Nl: lapsed or annulled due to failure to fulfill the requirements of art. 29p and 29m of the patents act | ||
| PLBE | No opposition filed within time limit |
Free format text: ORIGINAL CODE: 0009261 |
|
| STAA | Information on the status of an ep patent application or granted ep patent |
Free format text: STATUS: NO OPPOSITION FILED WITHIN TIME LIMIT |
|
| 26N | No opposition filed | ||
| REG | Reference to a national code |
Ref country code: GB Ref legal event code: IF02 |
|
| PGFP | Annual fee paid to national office [announced via postgrant information from national office to epo] |
Ref country code: GB Payment date: 20020703 Year of fee payment: 10 |
|
| PGFP | Annual fee paid to national office [announced via postgrant information from national office to epo] |
Ref country code: FR Payment date: 20020709 Year of fee payment: 10 |
|
| PGFP | Annual fee paid to national office [announced via postgrant information from national office to epo] |
Ref country code: DE Payment date: 20020710 Year of fee payment: 10 |
|
| PG25 | Lapsed in a contracting state [announced via postgrant information from national office to epo] |
Ref country code: GB Free format text: LAPSE BECAUSE OF NON-PAYMENT OF DUE FEES Effective date: 20030707 |
|
| PG25 | Lapsed in a contracting state [announced via postgrant information from national office to epo] |
Ref country code: DE Free format text: LAPSE BECAUSE OF NON-PAYMENT OF DUE FEES Effective date: 20040203 |
|
| GBPC | Gb: european patent ceased through non-payment of renewal fee |
Effective date: 20030707 |
|
| PG25 | Lapsed in a contracting state [announced via postgrant information from national office to epo] |
Ref country code: FR Free format text: LAPSE BECAUSE OF NON-PAYMENT OF DUE FEES Effective date: 20040331 |
|
| REG | Reference to a national code |
Ref country code: FR Ref legal event code: ST |