EP0476718B2 - Vorrichtung zum Drahtheften von mehrteiligen Druckereierzeugnissen - Google Patents

Vorrichtung zum Drahtheften von mehrteiligen Druckereierzeugnissen Download PDF

Info

Publication number
EP0476718B2
EP0476718B2 EP91119133A EP91119133A EP0476718B2 EP 0476718 B2 EP0476718 B2 EP 0476718B2 EP 91119133 A EP91119133 A EP 91119133A EP 91119133 A EP91119133 A EP 91119133A EP 0476718 B2 EP0476718 B2 EP 0476718B2
Authority
EP
European Patent Office
Prior art keywords
wire
heads
stapler
supports
stapling
Prior art date
Legal status (The legal status is an assumption and is not a legal conclusion. Google has not performed a legal analysis and makes no representation as to the accuracy of the status listed.)
Expired - Lifetime
Application number
EP91119133A
Other languages
English (en)
French (fr)
Other versions
EP0476718A1 (de
EP0476718B1 (de
Inventor
Egon Hänsch
Willy Leu
Current Assignee (The listed assignees may be inaccurate. Google has not performed a legal analysis and makes no representation or warranty as to the accuracy of the list.)
Ferag AG
Original Assignee
Ferag AG
Priority date (The priority date is an assumption and is not a legal conclusion. Google has not performed a legal analysis and makes no representation as to the accuracy of the date listed.)
Filing date
Publication date
Family has litigation
First worldwide family litigation filed litigation Critical https://patents.darts-ip.com/?family=4222731&utm_source=google_patent&utm_medium=platform_link&utm_campaign=public_patent_search&patent=EP0476718(B2) "Global patent litigation dataset” by Darts-ip is licensed under a Creative Commons Attribution 4.0 International License.
Application filed by Ferag AG filed Critical Ferag AG
Publication of EP0476718A1 publication Critical patent/EP0476718A1/de
Publication of EP0476718B1 publication Critical patent/EP0476718B1/de
Application granted granted Critical
Publication of EP0476718B2 publication Critical patent/EP0476718B2/de
Anticipated expiration legal-status Critical
Expired - Lifetime legal-status Critical Current

Links

Images

Classifications

    • BPERFORMING OPERATIONS; TRANSPORTING
    • B42BOOKBINDING; ALBUMS; FILES; SPECIAL PRINTED MATTER
    • B42BPERMANENTLY ATTACHING TOGETHER SHEETS, QUIRES OR SIGNATURES OR PERMANENTLY ATTACHING OBJECTS THERETO
    • B42B4/00Permanently attaching together sheets, quires or signatures by discontinuous stitching with filamentary material, e.g. wire
    • BPERFORMING OPERATIONS; TRANSPORTING
    • B42BOOKBINDING; ALBUMS; FILES; SPECIAL PRINTED MATTER
    • B42BPERMANENTLY ATTACHING TOGETHER SHEETS, QUIRES OR SIGNATURES OR PERMANENTLY ATTACHING OBJECTS THERETO
    • B42B4/00Permanently attaching together sheets, quires or signatures by discontinuous stitching with filamentary material, e.g. wire
    • B42B4/02Rotary type stitching machines
    • BPERFORMING OPERATIONS; TRANSPORTING
    • B42BOOKBINDING; ALBUMS; FILES; SPECIAL PRINTED MATTER
    • B42CBOOKBINDING
    • B42C1/00Collating or gathering sheets combined with processes for permanently attaching together sheets or signatures or for interposing inserts
    • B42C1/12Machines for both collating or gathering and permanently attaching together the sheets or signatures
    • BPERFORMING OPERATIONS; TRANSPORTING
    • B65CONVEYING; PACKING; STORING; HANDLING THIN OR FILAMENTARY MATERIAL
    • B65HHANDLING THIN OR FILAMENTARY MATERIAL, e.g. SHEETS, WEBS, CABLES
    • B65H5/00Feeding articles separated from piles; Feeding articles to machines
    • B65H5/32Saddle-like members over which partially-unfolded sheets or signatures are fed to signature-gathering, stitching, or like machines
    • BPERFORMING OPERATIONS; TRANSPORTING
    • B65CONVEYING; PACKING; STORING; HANDLING THIN OR FILAMENTARY MATERIAL
    • B65HHANDLING THIN OR FILAMENTARY MATERIAL, e.g. SHEETS, WEBS, CABLES
    • B65H2301/00Handling processes for sheets or webs
    • B65H2301/40Type of handling process
    • B65H2301/43Gathering; Associating; Assembling
    • B65H2301/436Gathering; Associating; Assembling on saddles
    • BPERFORMING OPERATIONS; TRANSPORTING
    • B65CONVEYING; PACKING; STORING; HANDLING THIN OR FILAMENTARY MATERIAL
    • B65HHANDLING THIN OR FILAMENTARY MATERIAL, e.g. SHEETS, WEBS, CABLES
    • B65H2301/00Handling processes for sheets or webs
    • B65H2301/40Type of handling process
    • B65H2301/43Gathering; Associating; Assembling
    • B65H2301/436Gathering; Associating; Assembling on saddles
    • B65H2301/4361Gathering; Associating; Assembling on saddles on a rotary carrier rotating around an axis parallel to the saddles
    • BPERFORMING OPERATIONS; TRANSPORTING
    • B65CONVEYING; PACKING; STORING; HANDLING THIN OR FILAMENTARY MATERIAL
    • B65HHANDLING THIN OR FILAMENTARY MATERIAL, e.g. SHEETS, WEBS, CABLES
    • B65H2301/00Handling processes for sheets or webs
    • B65H2301/40Type of handling process
    • B65H2301/44Moving, forwarding, guiding material
    • B65H2301/447Moving, forwarding, guiding material transferring material between transport devices
    • B65H2301/44795Saddle conveyor with saddle member extending transversally to transport direction

Definitions

  • the present invention relates to a device for Wire stitching of multi-part folded printed matter according to the preamble of claim 1.
  • Such a device is known from DE-A-36 16 566.
  • the latter are marked by these cushions with their fold line perpendicular to the direction of circulation of the supports conveyed through a stitching area.
  • a stapler arranged, which a number of stapling heads for Set the wire clips.
  • the stitching heads are in the Distance between the parallel runs on one bracket pivotable about the axis of rotation of the supports arranged.
  • the stirrup is swung around by means of a swivel drive moved here, the stitching heads each during the temporal short synchronization with the editions at the same time one Brackets in the resting on the pads Put printed products.
  • the structure of the stitching heads itself is in DE-A-36 16 566 on CH-A-549 443 referenced, which can be inferred from each stitching head one wire each is fed, of which by means of a Stapling head arranged separator each Wire section is separated.
  • This wire section will by means of a slide-mounted stamp around a die a clamp bent, which can also be pushed by means of a stored plunger pressed out of the stamp into the Printed products used and then through in the Requirements arranged bender is closed.
  • the swivel drive designed as a sliding crank gear for Has stapling heads especially at high processing speeds great acceleration and deceleration forces to apply.
  • the rotating pads and oscillating stitch heads meet in every work cycle - kinematically-only especially during a short movement path in synchronism, during which the brackets must be placed.
  • DE-A-32 03 376 describes a stapling device at of the products to be stapled between each interacting Clamp setting elements and clamp bending elements be passed through.
  • the clamp setting elements and the Bracket bending elements are each on an endless, all-round driven chain attached, one strand parallel to the Direction of movement of products and adjacent to Trajectory of the latter runs.
  • the clamp setting elements and the latter facing each other during the stapling process Clamp bending elements run synchronously with the stapling Products with.
  • This stapling device is relatively complex Construction, three round trips are necessary, namely one for the patrices feeding the straight pieces of wire, one for the cooperating with the latter to form the brackets Clamp setting elements and one for the clamp bending elements.
  • the brackets are used along an in Direction of movement of the products set.
  • US-A-4,792,077 is now a simplified version of the Device described above, in which only two more chain runs are provided.
  • the chains of the Round trips are guided over deflection wheels and lie with each other opposite a section lying between the deflection wheels.
  • the chain of a chain run runs on one Wire section dispenser over, with certain chain links straight wire sections are passed that are in Extend the direction of rotation of the chain.
  • the ones to be stapled Products are conveyed to the two by means of a feeder Chain runs fed and between the two themselves opposite sections of the two chain circuits introduced.
  • the products are then transported further by clamping between the limbs of the two Chain runs, with the products also folded become.
  • the chain circuits thus take over Multiple task of folding, setting wire clips and forward transport.
  • the present invention is based on the object of a device for wire-stitching multi-part To create printed products that are simple and reliable Allows stapling of the products.
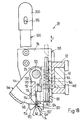
  • FIG. 1 shows a collecting drum 10 as described in detail in the subsequently published EP-A-0 341 425 is.
  • This collecting drum 10 is arranged around a common rotation axis 12 in Saddle-shaped supports 14 running in the direction of the rotational axis 12 and driven in the rotational direction U on.
  • one in the direction of the axis of rotation 12 is and movable carriage 16 with a controllable clamping arrangement 18 for astride the supports 14 stored folded printed sheet 20 provided.
  • a stapling station 22 has a stapling head arrangement 24 along a coaxial around the collecting drum 10 around running trajectory 26 stapling heads 28 arranged one behind the other.
  • Each edition 14th is assigned a stitching head 28, which is thus arranged essentially at the same mutual distance A. are like the editions 14.
  • a wire section dispenser designated 30, is provided, on which the trajectory 26 passes.
  • This wire section dispenser 30 has a cutting device 32 by means of which wire sections 38 are separated from a wire 36 drawn off from a supply roll 34 become.
  • the cutting device 32 is followed by a cutting device 32 with wire sections 38 fed magazine 40.
  • a conveyor wheel 42 driven in the direction of rotation V pulls along with it Circumferentially distributed holding members 44 each from the magazine 40 from a wire section 38 and promotes these to the stitching heads 28.
  • the device shown in FIG. 1 operates as follows: seen in the conveying direction of the carriage 16 Upstream of the stapling station 22 are feeding stations for printed sheets in a known manner. These feed stations place a folded printed sheet 20 on each passing in the circumferential direction U at the feed station Edition 14 astride. Before each edition 14 in the lower area of their circular movement path arrives, the relevant clamping arrangement 18 for holding the corresponding Carriage 16 reaching parts of the printed sheets 20 clamped. In the course of going through the lower Half of the path of movement of the supports 14 make the carriage 16 a working stroke in the longitudinal direction of the circumferential axis 12 to the next feed station or stapling station 22.
  • the stitching heads 28 are also driven in the direction of rotation U in synchronism with the supports 14.
  • a stapling head 28 on the feed wheel 42 takes over a wire section 38 from the feed wheel 42.
  • the wire section 38 now held by the stitching head 28 is formed into a clamp, as is shown below still to be described in detail.
  • the clip is seen from the radial side of the outside of the stitching heads 28 brought to the inner side facing the supports 14.
  • the relevant stitching heads 28 lowered onto the printed sheets 20 placed one above the other on the supports 14 and the clamps inserted in the printed sheets.
  • the distance A of the stitching heads 28 corresponds to the distance between the pads 14.
  • the collecting drum 10 shown in Figure 2 corresponds to that of Figure 1 and is therefore not described in more detail.
  • the path of movement 26 for the stitching heads 28 is kidney-shaped formed and runs in an area D along the orbit of the supports 14 of the collecting drum 10.
  • the collecting drum 10 is outside the path of movement 26 and that which is only indicated schematically Wire section dispenser 30 arranged within this.
  • the collecting drum 10 runs counterclockwise U um and the stitching heads 28 are in the opposite direction U 'at the same speed as that of Pads 14 driven.
  • the distance A of the stitching heads 28 again corresponds when the staples are set the distance between the pads 14, so that in area D for setting the brackets one with each pad corresponding stitching head 28 runs along.
  • the embodiment of the device for collecting folded printed sheets shown in FIG. 3 20 has a collecting conveyor 46, as described in the subsequently published EP-A-0 346 578 or the like Structure is described in EP-PS 0 095 603 and the corresponding US-PS 4,489,930.
  • This instructs by two spaced apart axes of rotation 48, indicated only with their essentially horizontal axes of rotation Deflection wheels around guided tension element 50, on which at certain intervals one behind the other, Pads 14 running parallel to one another and at right angles to the direction of rotation U are arranged.
  • the stapling station 22 has a stapling head arrangement 24 arranged above the collecting conveyor 46 with a elongated movement path 26 for the stitching heads 28.
  • the stitching heads 28 are on one, not shown Traction element with the same distances A as the pads 14 arranged in the area D.
  • the tension member is driven in the direction U 'at the same speed as the pulling element 50 in the direction U.
  • the stitching heads 28 thus run in the area D synchronously with the supports 14 and move in each case from the area D. removed wire section dispenser 30 past.
  • the Stapling station 22 along the upper run of the collecting conveyor 46 feeding stations for laying folded Printing sheet 20 upstream of the pads 14.
  • the stapling station 22 is a guide station downstream for the stapled printed sheets 20.
  • each stapling head 28 takes over each when passing the wire section dispenser 30 of this one wire section.
  • the movement path 26 is in the area between the Wire section dispenser 30 and the area D (clip setting area) from the wire section a clip bent and placed on the outside of the stitching heads 28 with respect to the movement path 26.
  • the stitching heads 28 come onto the relevant supports 14 or those placed thereon Press sheet 20 to the plant and put the clip in the sheet 20.
  • the in the Figure 4 and 5 shown stapling station 22 has two stapling head arrangements arranged on the same holding arrangement 52 24 on.
  • the holding arrangement 52 is annular and coaxially engages around the Revolving axis 12 in the revolving direction U driven collecting drum 10.
  • the holding arrangement 52 has two in Holding rings 54 spaced apart from one another in the direction of the circumferential axis 12 and cage-like via grid bars 56 are interconnected.
  • the retaining rings 54 are each arranged approximately on three on a frame 58 bearing rollers 60, each equally spaced apart, are freely rotatable.
  • Each pad 14 is assigned a stitching head 28 from each stitching head arrangement 24, which is on a common one Support profile 62 are attached spaced apart in the direction of the axis of rotation 12 ( Figure 5).
  • a C-shaped mounting part 64 is attached to the support profile 62 at both ends, which with its free end regions 64 'is each guided on a bearing shaft 66 in the radial direction E slidably.
  • the stock shaft is 66 arranged on a likewise C-shaped holding part 68 fastened to the respective holding ring 54, the in 5 the end portion 64 'of the mounting part 64 shown above is gripped by the holding part 68.
  • a compression spring 70 To the stock 66 around a compression spring 70 is guided, seen in the direction E on the inside of the holding part 68 and supported on the outside of the bearing part 64.
  • the compression springs 70 thus hold the stitching heads 28 in one, in the figure 5 rest position, not shown, in which the stitching heads 28 are lifted from the supports 14 and in which the bearing parts 64 are in contact with the holding parts 68.
  • the bearing parts 64 each have one in the radial direction over the relevant holding part 68 to the outside protruding arm 72, on each of which a follower roller 74 is freely rotatably mounted.
  • the collecting drum 10 is fastened to the frame 58 by a pair of lowering blocks 76 acting on these follow rollers 74.
  • each stitching head arrangement 24 is further assigned to the frame 58 Ram slide 78 attached, this in an area in which the stitching heads 28 in their 5 shown, act on plunger 80 of the stitching heads 28.
  • driver 82 in the radial direction on each of the holding parts 68 fastened to the holding ring 54 slidably mounted.
  • the driver 82 has an essentially at its end facing the support 14 V-shaped driver profile 84 and at its opposite end a freely rotatable follower roller 86 on.
  • Another compression spring 88 engages around the driver 82 and is supported in the radial direction seen on the inside on the holding part 68 and on the outside on a ring 90 fastened to the driver 82.
  • Means one arranged on the frame 58 and on the follower rollers 86 approximately over the upper half of the movement path 26 of the stapling heads 28 acting driver control link 92 is the respective driver profile 84 from a rest position, not shown in FIG. 5, in which the driver profile 84 on the holding part 68 is present, counter to the force of the further compression spring 88 in a driving position shown in Figure 5 lowerable, in which the V-shaped driver profile 84 engages around the saddle-shaped support 14.
  • the pad 14 is shown partially cut away. On the edition 14 are one above the other applied printed sheets 20, being cut open at those located under the stitching heads 28 illustrated printed sheets 20 which are shown in these brackets 104.
  • a coupling 106 is parallel to two pivotally mounted on the support 14 pivoting levers 108 running relative to one another in the manner of a parallel crank drive are pivotably mounted.
  • the in The swivel lever 108 shown on the left in FIG. 5 is coupled to a control lever 110 which, by means of a Control arrangement, not shown, can be moved back and forth in the longitudinal direction of the support 14. This Aufund Moving the control lever 110 has a back and forth movement of the coupling 106 in the radial direction E. result.
  • slots 112 are made in the coupling 106, which only fit one act schematically indicated bending ram 114 in the direction of arrow E.
  • the stapling heads 28 are first described in more detail below with reference to FIGS. 6 to 8.
  • a shaft 120 On the side Flanks 116 of a substantially U-shaped support part 118 is a shaft 120, the one indicated by dash-dotted lines Swivel axis 122 parallel to the longitudinal direction of the support profile 62 (see FIG. 5) and thus parallel to The axis of rotation 12 of the collecting drum 10 runs freely rotatably.
  • two spaced sleeves 124 which by means of pins 126 are connected in a rotationally fixed manner to the shaft 120 and on which stamp arms running parallel to one another 128 of a stamp 130 are attached.
  • the two punch arms 128 are by means of a lateral web 132 connected with each other. In the free end area, the two punch arms 128 have an opposing, slight thickening 134, in which grooves which run in the radial direction and are open to one another 136 are provided. These grooves 136 are also at the free end of the punch 130 in the radial direction open.
  • Each punch arm 128 has at its free end, adjacent to the groove 136, one in the radial direction protruding driver lug 138 and a permanent magnet 140 arranged in the punch arm 128.
  • FIGS. 6 and 7 show one of the driver lugs 138 and one of the permanent magnets 140 held wire section 38 shown. In Figures 6 and 7, the stamp 130 is in its rest position and 8 in the clamp setting position 130 '.
  • a spacer sleeve 142 sits on each sleeve 124 in the region of the pin 126 and is a pivot lever 144 between the spacer sleeve 142 and the relevant punch arm 128 freely rotatably mounted.
  • a pivot lever 144 At the free End regions of the pivot lever 144 is a substantially connecting the two pivot levers 144 to one another Clamp retaining member 146 formed in the form of an annular segment.
  • On the clip retaining link 146 are two grooves 148 spaced apart from one another, into which grooves when the stamp is pivoted 130 engage the free end areas of the punch arms 128.
  • One swivel lever 144 acts with one counterclockwise force a leaf spring assembly 150 attached to the support member 118 and presses the swivel lever 144 with the stops 152 formed on them against the supporting part 118 the pivot lever 144 protrudes counterclockwise, the clip holding member 146 has a clip guide tab 154 on.
  • This clip guide lug 154 is wedge-shaped and has a radial one Seen in the direction towards the wedge surface designated 154 '.
  • the plunger 80 is guided on the support part 118 so as to be displaceable in the arrow direction F.
  • This direction of displacement F runs parallel to the grooves 136 in the plunger arms 128 when in the clamp-setting position 130 ' Stamp 130.
  • the plunger 80 has a plunger head 158 at its lower end region, which in itself Clamp setting position 130 'located punch 130 engages between the two punch arms 128.
  • At the Ram head 158 are integrally formed laterally protruding guide wedges 160 which when the ram is moved 80 in the direction F from its rest position shown in FIG. 6 into the ejection position shown in FIG the punch 130 located in the clamp setting position 130 'enter the grooves 136.
  • the plunger head 158 has a pushing groove 162 for ejecting it with its lateral arms 104 'into the Grooves 136 performed on bracket 104.
  • the plunger 80 also has an open towards the support member 118 groove-shaped recess 164 in which a compression spring 166 is arranged, which is located on the top Tappet 80 and at the bottom on a fastened to the support member 118, which extends into the groove-shaped recess 164 Bolt 168 supports ( Figure 8).
  • the compression spring 166 keeps the plunger 80 in place in FIG solid lines and the rest position indicated by dash-dotted lines in FIG. 8.
  • the side flanks 116 face at the lower end opposite the one in the clamp setting position 130 ' Stamp 130 protruding pressing tabs 170 through a substantially V-shaped recess 170 'are separated from each other.
  • the stitching head 28 is lowered, it comes with the pressing noses 170 on the edition 14 or on the printed sheet 20 on the system.
  • the support part 118 is also in a bearing arrangement 172 fastened to the support profile 62 (cf. also FIG. 5) Slidably mounted in the direction of arrow F.
  • the support part 118 also has groove-shaped ends Recesses 174 on ( Figures 6 and 7), in each of which a bore 176 with a thread from below 176 'opens. Further bolts 178 are arranged on the bearing arrangement 172, which extend into the groove-shaped recesses 174 engage and on which another compression spring 180 is supported at the top. At the bottom, this compression spring 180 presses against a screw 182 inserted into the thread 176 ' the compression spring 180 thus becomes the supporting part 118 with respect to the bearing arrangement 172 in that shown in FIG.
  • a drive arrangement is located on one side flank 116 of the supporting part 118, which is shown at the bottom in FIG 184 attached for pivoting the shaft 120.
  • This has a guide member 185 on which the actuating shaft 100 is also mounted displaceably in the direction of arrow F.
  • a rack 186 At the lower end is formed on the actuating shaft 100, a rack 186, which with a seat on the shaft 120 rotatably Pinion 190 combs.
  • a downwardly open bore 192 in the actuating shaft 100 is another Compression spring 194 arranged on the top of the operating shaft 100 and below on one on the guide member 185 attached pin 196 supports.
  • the pin 196 penetrates a slot-shaped passage 198 in the operating shaft 100.
  • the upper end region of the operating shaft 100 is of a cap-shaped Sliding shoe 200 covers, which is displaceable in the longitudinal direction with respect to the actuating shaft 100 and by means of a further pin 196 'fastened to the actuating shaft 100, which pin 200 in one also penetrates slot-shaped passage 198 'is held.
  • a further compression spring 194' is used, which is on the sliding shoe 200 and supported on the operating shaft 100. If the operating shaft 100 is in its lower, shown in Figure 8 End position and the swivel link 102 approaches the support member 118, takes the Compression spring 194 'this approach.
  • the clamping lever 94 is pivotally mounted, which is from the operating shaft 100 is permeated.
  • the corresponding hole in the clamping lever 94 has only a slightly larger diameter than the thickness of the operating shaft 100.
  • the clamping lever 94 is by means of a compression spring 204 kept biased counterclockwise. Holds in the position of the clamping lever 94 shown in Figure 6 the actuator shaft 100 by tilting by applying a force in the direction of arrow G by means of the release link 96 (cf. FIG. 5) becomes this tilt by pivoting the clamping lever 94 clockwise released and the operating shaft 100 released, this is up by the compression spring 194 postponed.
  • FIGS. 9 to 14 show parts of the stitching head 28 during various phases of a work cycle.
  • the corresponding Parts of the stitching head 28 in these figures are numbered the same as in Figures 6 to 8 and are therefore no longer explained in more detail.
  • the bending ram 114 is in the support 14 (FIGS. 11 to 14) guided in the direction of arrow E up and down. Two are pivotally supported on the support 14 stored bender 206 (see also FIG. 5).
  • the stamp 130 is in its rest position, which is also shown in FIGS. 6 and 7.
  • the plunger 80 with its plunger head 158 is also in the rest position.
  • the stapling head 28 moves past the feed wheel 42 of the wire section dispenser 30 (see FIG. 1) and thereby takes over Carrying a wire section 38 by means of the driver lugs 138 from the holding member 44 of the feed wheel 42.
  • This wire section 38 is attached to the stamp arms by means of the permanent magnets 140, not shown in this figure 128 held.
  • the web connecting the two punch arms 128 to one another is shown at 132.
  • the stitching head 28 is located in the area of the die 98 (see FIG. 4), with the stamp 130 is still in its rest position.
  • the wire section 38 becomes U-shaped bent into a bracket 104, the side arms 104 'sliding into the grooves 136 of the punch arms 128.
  • the actuating shaft 100 brought into its lower end position shown in Figure 8, whereby the punch 130 in the in Figures 8 and 11 clamp setting position 130 'is pivoted.
  • the punch arms grip 128 in the area of their thickening 134 in the grooves 148 of the clip holding member 146, whereby the lateral arms 104 'are held in the grooves 136.
  • the pivot levers are designated, on which the staple guide member 146 is attached.
  • the plunger head 158 of the plunger 80 is in the Clamp setting position 130 'of the stamp 130 also between the two stamp arms 128, but in the area between the shaft 120 and the thickenings 134.
  • the tappet link 78 acts on the tappet 80 this is pushed against the support 14 in the direction of arrow F, as shown in FIG. there the guide wedges 160 formed laterally on the tappet head 158 slide into the grooves 136 in FIG Clamp setting position 130 'located punch arms 128.
  • the clamp 104 is made from the Stamp 130 ejected, the side arms 104 'at the same time by those placed on the support 14 Printed sheets 20 are pushed.
  • the plunger 80 is always through the plunger link 78 still held in the lower end position. After the plunger 80 has run out of the plunger link 78 moves 14 under the force of the compression spring 166 back into the upper rest position, as shown in FIG. 14 is shown. By lowering the bending plunger 114 in the direction of arrow E, the bending machine 206 in swung back to their original position. When the stitching head 28 runs past the release link 96 the actuating shaft 100 released by the clamping lever 94, which causes the stamp 130 to pivot back effected in the rest position.
  • FIGS. 15 and 16 are the two stapling head arrangements indicated by the arrow 30 in FIG 24 associated Drant section dispenser 30 shown enlarged.
  • Each of these wire section dispensers 30 is constructed in the same way as the wire section dispenser 30 shown in FIG. 1.
  • the cutting device 32 is driven by a circumferential toothed belt 208.
  • a pair of conveyor rollers 210 conveys the one sandwiched between them Wire 36 gradually in the direction of the arrow H.
  • a cutting knife movable up and down in the direction of arrow I.
  • the cutting knife 212 is followed by the magazine below the cutting device 32 40 arranged. It has an essentially gap-shaped, approximately in the vertical direction Stacking shaft 214 in which the falling wire sections 38 are substantially horizontal Are stackable one above the other in the direction of the longitudinal extension.
  • a pre-stacking device 216 with a tongue 218 is provided at the upper end of the stacking shaft 214, which can be moved into and out of the stacking shaft 214.
  • the tongue 218 is moved a number by means of the cutting device 32 wire sections 38 separated from the wire 36 are stacked.
  • By briefly withdrawing the Tongue 218 then drops these stacked wire sections 38 together into the stacking shaft 214. This prevents this an erection and tilting of the wire sections 38 during the free fall and guarantees a clean Stacking of the wire sections 38 in the stacking shaft 214.
  • the two conveyor wheels 42 arranged below the magazines 40 are seated in a rotationally fixed manner on a common, on a pair of support levers 222 rotatably mounted bearing shaft 224.
  • a drive belt 226 on the bearing shaft 224 acting drive device 228 are the two feed wheels 42 in the direction of arrow V. driven revolving.
  • Each feed wheel 42 has two spaced-apart parallel disks 230, between which in At certain intervals, the holding members 44 are arranged along the circumference.
  • the holding links are U-shaped formed and have at their radially outward free ends on the periphery of the disks 230 slightly protruding driver flanks 232.
  • a permanent magnet arrangement on the holding members 44 provided in order to pass the magazine 40 by means of the driver flanks 232 from the To hold stack shaft 214 detached wire sections 38.
  • the stitching heads 28 are spaced further apart than the holding members 44 Circumferential speed of the feed wheels 42 is lower than the rotational speed of the stitching heads 28, so that the next stitching head 28 meets the next holding member 44.
  • the stitching head 28 thus runs past the holding member 44 and pulls with the driver lugs 138 arranged on the punch arms 128 from Holding member 44 from the relevant wire section 38 and holds it by means of permanent magnets 140 Stamp 130 fixed.
  • the holding members 44 are displaceable in the radial direction in a generally known manner and spring-loaded, in order to be able to accept tolerances and to ensure that the To ensure wire sections 38 from the stacking shaft 214 and transfer to the stitching heads 28.
  • the initial region of the driver link 92 is shown in FIG.
  • the follower rollers 86 of the drivers 82 run on the driver link 92 , which has the consequence that the driver 82, which is guided on the holding part 68 so as to be displaceable in the radial direction the relevant pads 14 of the collecting drum 10 are lowered.
  • the V-shaped driver profiles grip around 84 the supports 14. This has the consequence that the arranged on the support profile 62 in FIG Stapling heads 28, not shown, with respect to the assigned support 14 or the printed sheets placed thereon 20 are precisely aligned.
  • the holding arrangement 52 is driven exclusively by entrainment by the catches 82 which are in engagement with the supports 14.
  • the catches 82 are only in the upper one Area of the orbit of the collecting drum 10 lowered to the pads 14, so in the lower area of the Orbit the printed sheets 20 stapled by the stapling station 22 in the direction of the axis of rotation 12 the supports 14 and driver profiles 84, which are now spaced apart, can be conveyed away, or that the printed sheets 20 to be stapled can be brought into the area of the stapling station 22.
  • a stitching head 28 is now in the course of one revolution of the holding arrangement 52 Starting wire segment dispenser 30, tracked.
  • the stitching heads 28 pass the wire section dispenser they are in their outer rest position, seen in the radial direction, in which they are from the supports 14 are spaced.
  • the stamp 130 are pivoted back into the rest position, so that the free ends of the punch arms 128 are directed towards the outside when viewed in the radial direction.
  • walking past of the stapling head 28 on the relevant holding member 44 of the feed wheel 42 becomes that of the holding member 44 supplied wire section 38 detached from the driver lugs 138 and taken away (Fig. 18).
  • the support member 118 comes with its pressing tabs 170 on the Pads 14 astride printed sheets 20 to the system. It should be noted that the pressing lugs 170 the printed sheets 20, seen in the direction of the support 14, in front of and behind the bracket 104 and on both Hold sides of this, which leads to a particularly clean stitch. It should also be noted that the support part 118 with respect to the bearing arrangement 172 fixed to the support profile 62 as a function of the thickness the printed sheet 20 is shifted. This ensures a clean stapling of sheets of different thickness 20 guaranteed without having to readjust the device (see FIG. 21).
  • the ram 80 slides beneath the effect of the compression spring 166 and the distance increasing in the end region of the slide link 78 back to the support member 118 in its radial position seen in the radial direction.
  • the stitching heads 28 are now ready again, from the wire section dispenser 30 to take on a new wire.
  • the stapled are now Printing sheet 20 in the direction of the axis of rotation 12 from the area of the stapling station 22 of an exit station, not shown promoted.
  • the wire section dispenser 30 can be in which the clamps 104 are placed in the printed sheets 20 are removed. As a consequence, that there is sufficient time for the preparation of the brackets 104 in the area between the wire section dispenser 30 and the bracket setting area is available.
  • the processing of the clamps 104 takes place in a different position from the clamp setting position 130 ', which means that the different functions of the stitching heads 28 are spatially separated from each other; this in turn has the consequence that the stitching heads 28 are simple in construction with small dimensions.
  • the die can be used to bend the wire section 38 into a bracket 104 on each Stapling head 28 itself may be provided. This has an eccentric shape to the shaft, so that in the In the course of the pivoting movement of the stamp 130 from its rest position into the clamp setting position 130 ', the clamp 104 is formed.
  • Such a die could in particular be used as an extension of the clip holding member 146 be formed clockwise on this.
  • the drivers it is of course also possible for the drivers to be arranged on the stitching heads. That's the way it is quite conceivable that the pressing lugs 170 serve as drivers. A separate drive for the stapling station 22 is no longer necessary and synchronization problems between the rotation of the collecting drum 10 and the stitching head assemblies 24 are eliminated.
  • the traction element or the holding arrangement 52 can be operated by means of its own drive motor be driven all round. It is also conceivable for the wire section dispenser to be an exchangeable magazine or that the wire sections are fed directly from the cutting device to the stitching heads.
  • the stamp 130 is in a position of rest for the wire transfer different wire transfer position can be.
  • the wire takeover position corresponds but not the clamp setting position 130 '.
  • the wire sections 38 run essentially parallel to Swivel axis 122.
  • the stapling stations 22 of the devices according to FIGS. 2 and 3 are constructed similarly, like the stapling station 22 described above in connection with the device according to FIG. 1.
  • Stapling heads which are particularly suitable for devices according to the invention for wire stitching of printed matter are described in EP-A-0 399 322.
  • a stapling head in which a stapling head is permanently assigned to each edition, allow also the mutual displacement of the stitching heads of a stitching head arrangement in the longitudinal direction of the supports. So for example, every second stitching head can be arranged with respect to the other stitching heads arranged in one plane be slightly offset. The two groups of stitching heads then advantageously each run on their own Wire section dispenser over. When stapling the stapled sheets, not all staples come on top of each other to lie.

Landscapes

  • Engineering & Computer Science (AREA)
  • Textile Engineering (AREA)
  • Mechanical Engineering (AREA)
  • Folding Of Thin Sheet-Like Materials, Special Discharging Devices, And Others (AREA)
  • Pile Receivers (AREA)
  • Sewing Machines And Sewing (AREA)
  • Collation Of Sheets And Webs (AREA)
  • Dovetailed Work, And Nailing Machines And Stapling Machines For Wood (AREA)
  • Insulated Conductors (AREA)

Description

Die vorliegende Erfindung betrifft eine Vorrichtung zum Drahtheften von mehrteiligen gefalteten Druckereierzeugnissen gemäss Oberbegriff des Anspruches 1.
Eine solche Vorrichtung ist aus der DE-A-36 16 566 bekannt. Diese weist parallel zu einer gemeinsamen Rotationsachse verlaufende, um diese rotierende sattelförmige Auflagen auf. Auf diesen Auflagen liegen die aus übereinanderliegenden Druckbogen gebildeten mehrteiligen Druckereierzeugnisse auf. Letztere werden durch diese Auflagen mit ihrer Falzlinie rechtwinklig zur Umlaufrichtung der Auflagen verlaufend durch einen Heftbereich hindurchgefördert. In diesem Heftbereich ist ein Heftapparat angeordnet, der eine Anzahl von Heftköpfen zum Setzen der Drahtklammern aufweist. Die Heftköpfe sind im Abstand der parallel zueinander verlaufenden Auflagen an einem um die Rotationsachse der Auflagen schwenkbaren Bügel angeordnet. Der Bügel wird mittels eines Schwenkantriebes hinund herbewegt, wobei die Heftköpfe jeweils während des zeitlich kurzen Gleichlaufs mit den Auflagen gleichzeitig je eine Klammer in die auf den Auflagen aufliegenden Druckereierzeugnisse setzen. Betreffend Aufbau der Heftköpfe selber wird in der DE-A-36 16 566 auf die CH-A-549 443 verwiesen, der entnommen werden kann, dass jedem Heftkopf jeweils ein Draht zugeführt wird, von welchem mittels einer am Heftkopf angeordneten Trenneinrichtung jeweils ein Drahtabschnitt abgetrennt wird. Dieser Drahtabschnitt wird mittels eines schiebbar gelagerten Stempels um eine Matrize zu einer Klammer gebogen, welche mittels eines ebenfalls schiebbar gelagerten Stössels aus dem Stempel herausgedrückt, in die Druckereierzeugnisse eingesetzt und anschliessend durch in den Auflagen angeordnete Umbieger geschlossen wird.
Der als Schubkurbelgetriebe ausgebildete Schwenkantrieb für die Heftköpfe hat insbesondere bei hohen Verarbeitungsgeschwindigkeiten grosse Beschleunigungs- und Verzögerungskräfte aufzubringen. Die rotierenden Auflagen und pendelnden Heftköpfe begegnen sich in jedem Arbeitszyklus - kinematisch bedingt-nur gerade während eines kurzen Bewegungsweges im Gleichlauf, während dem die Klammern gesetzt werden müssen.
Als weiterer Nachteil der Drahtheftvorrichtung gemäss DE-A-36 16 566 ergibt sich der Umstand, dass jeder Heftkopf eine eigene Drahtzuführung und Trenneinrichtung zum Abtrennen von Drahtabschnitten aufweist.
In der DE-A-32 03 376 ist eine Heftvorrichtung beschrieben, bei der die zu heftenden Erzeugnisse zwischen jeweils zusammenwirkenden Klammersetzelementen und Klammerbiegeelementen hindurchgeführt werden. Die Klammersetzelemente und die Klammerbiegeelemente sind jeweils an einer endlosen, umlaufend angetriebenen Kette befestigt, deren einer Trum parallel zur Bewegungsrichtung der Erzeugnisse und benachbart zur Bewegungsbahn der letzteren verläuft. Die Klammersetzelemente und die letzteren während des Heftvorgangs gegenüberliegenden Klammerbiegeelemente laufen bei der Heftung synchron mit den Erzeugnissen mit.
Zur Bildung der zu setzenden Klammern ist ein weiterer Rundlauf vorgesehen, der durch an einer endlosen, umlaufend angetriebenen Kette angebrachte Patrizen gebildet wird. An der Umlaufbahn dieser Patrizen ist ein Drahtabschnittspender angeordnet, der an die jeweils vorbeilaufende Patrize ein gerades Drahtstück abgibt. Letzteres wird beim Zusammentreffen einer Patrize mit einem als Matrize wirkenden Klammersetzelement zu einer U-förmigen Klammer gebogen, die vom Klammersetzelement zum Heftbereich transportiert und dort in ein Erzeugnis eingedrückt wird.
Diese Heftvorrichtung ist von verhältnismässig aufwendiger Konstruktion, sind doch drei Rundläufe nötig, nämlich einen für die die geraden Drahtstücke zuführenden Patrizen, einen für die mit letzteren zur Bildung der Klammern zusammenwirkenden Klammersetzelemente sowie einen für die Klammerbiegeelemente. Im weiteren werden die Klammern zur entlang einer in Bewegungsrichtung der Erzeugnisse verlaufenden Richtung gesetzt.
In der US-A-4,792,077 ist nun eine vereinfachte Ausführung der vorstehend erläuterten Vorrichtung beschrieben, bei der nur noch zwei Kettenrundläufe vorgesehen sind. Die Ketten der Rundläufe werden über Umlenkräder geführt und liegen sich mit einem zwischen den Umlenkrädern liegenden Abschnitt gegenüber. Die Kette eines Kettenrundlaufes läuft an einem Drahtabschnittspender vorbei, wobei gewissen Kettengliedern gerade Drahtabschnitte übergeben werden, die sich in Umlaufrichtung der Kette erstrecken. Die zu heftenden Erzeugnisse werden mittels eines Zuförderers den beiden Kettenrundläufen zugeführt und zwischen die beiden sich gegenüberliegenden Abschnitte der beiden Kettenrundläufe eingeführt. Der weitere Transport der Erzeugnisse erfolgt dann durch Festklemmen zwischen den Gliedern der beiden Kettenrundläufe, wobei die Erzeugnisse zudem noch gefaltet werden. Die Kettenrundläufe übernehmen damit die Mehrfachaufgabe des Faltens, des Setzens der Drahtklammern und des Vorwärtstransportes.
Da die zu heftenden Erzeugnisse mit ihrer Falzlinie in deren Förderrichtung verlaufend durch die Kettenrundläufe weitertransportiert werden, erfolgt das Setzen der Drahtklammern entlang dieser Falzlinien in Längsrichtung der Erzeugnisse. Wird ein Erzeugnis mit zwei Klammern versehen, so erfolgt somit das Setzen der Drahtklammern für ein Produkt jeweils zeitlich nacheinander.
Der vorliegenden Erfindung liegt nun die Aufgabe zugrunde, eine Vorrichtung zum Drahtheften von mehrteiligen Druckereierzeugnissen zu schaffen, die bei einfacher Konstruktion ein zuverlässiges und einwandfreies Heften der Erzeugnisse ermöglicht.
Diese Aufgabe wird erfindungsgemäss durch die Merkmale im kennzeichnenden Teil des Anspruches 1 gelöst. Bevorzugte Ausbildungsformen der Erfindung sind in den abhängigen Ansprüchen definiert.
Die Erfindung wird nun anhand der Zeichnung näher erläutert. Es zeigen rein schematisch:
Figur 1
eine Sammeltrommel mit einer Heftstation, deren Heftköpfe entlang einer um die Sammeltrommel herumführenden Bewegungsbahn umlaufen,
Figur 2
diesselbe Sammeltrommel wie in Fig. 1, wobei aber die Heftköpfe entlang einer nieren förmigen Bewegungsbahn umlaufen,
Figur 3
eine Sammeleinrichtung mit langgestreckter Umlaufbahn für die Auflagen und ebenfalls langgestreckter Bewegungsbahn für die Heftköpfe,
Figur 4
eine weitere Ausbildungsform der Einrichtung gemäss Fig. 1,
Figur 5
in vergrösserter Darstellung einen Schnitt entlang der Linie Vl-VI der Fig. 4,
Figuren 6 und 7
in Ansicht bzw. Draufsicht einen Heftkopf,
Figur 8
einen Schnitt entlang der Linie IX-IX der Fig. 7,
Figuren 9 bis 14
eine vereinfachte Darstellung des Heftkopfes bei verschiedenen Phasen eines Arbeitszyklus,
Figuren 15 und 16
in Ansicht bzw. Seitenansicht einen Drahtabschnittspender und
Figuren 17 bis 23
in vergrösserter Darstellung Teile der Einrichtung gemäss Fig. 4 in verschiedenen Phasen eines Umlaufs.
Figur 1 zeigt eine Sammeltrommel 10, wie sie in der nachveröffentlichten EP-A-0 341 425 ausführlich beschrieben ist. Diese Sammeltrommel 10 weist um eine gemeinsame Umlaufachse 12 herum angeordnete, in Richtung der Umlaufachse 12 verlaufende und in Umlaufrichtung U angetriebene, sattelförmige Auflagen 14 auf. Im Bereich zwischen jeweils zwei benachbarten Auflagen 14 ist ein in Richtung der Umlaufachse 12 hin- und herbewegbarer Wagen 16 mit einer steuerbaren Klemmanordnung 18 für die auf die Auflagen 14 rittlings abgelegten gefalteten Druckbogen 20 vorgesehen.
Eine Heftstation 22 weist eine Heftkopfanordnung 24 mit entlang einer koaxial um die Sammeltrommel 10 herumverlaufenden Bewegungsbahn 26 hintereinander angeordneten Heftköpfen 28 auf. Jeder Auflage 14 ist ein Heftkopf 28 zugeordnet, welche somit im wesentlichen mit gleichem gegenseitigen Abstand Aangeordnet sind wie die Auflagen 14.
Ausserhalb der Bewegungsbahn 26 ist ein mit 30 bezeichneter Drahtabschnittspender vorgesehen, an welchem die Bewegungsbahn 26 vorbeiführt. Dieser Drahtabschnittspender 30 weist eine Schneideinrichtung 32 auf, mittels welcher von einem von einer Vorratsrolle 34 abgezogenen Draht 36 Drahtabschnitte 38 abgetrennt werden. Der Schneideinrichtung 32 nachgeschaltet ist ein von der Schneideinrichtung 32 mit Drahtabschnitten 38 gespeistes Magazin 40. Ein in Drehrichtung V angetriebenes Förderrad 42 zieht mit seinen entlang dem Umfang verteilt angeordneten Haltegliedern 44 jeweils vom Magazin 40 einen Drahtabschnitt 38 ab und fördert diesen den Heftköpfen 28 zu.
Die in der Fig. 1 dargestellte Einrichtung arbeitet wie folgt: In Förderrichtung der Wagen 16 gesehen, sind der Heftstation 22 in bekannter Art und Weise Zuführstationen für Druckbogen vorgelagert. Diese Zuführstationen legen jeweils einen gefalteten Druckbogen 20 auf jede in Umlaufrichtung U bei der Zuführstation vorbeilaufende Auflage 14 rittlings ab. Bevor jeweils eine Auflage 14 in den unteren Bereich ihrer kreisrunden Bewegungsbahn einläuft, wird die betreffende Klemmanordnung 18 zum Festhalten der in den entsprechende Wagen 16 hineinreichenden Teile der Druckbogen 20 festgeklemmt. Im Zuge des Durchlaufens der unteren Hälfte der Bewegungsbahn der Auflagen 14 machen die Wagen 16 einen Arbeitshub in Längsrichtung der Umlaufachse 12 zur nächsten Zuführstation bzw. zur Heftstation 22. Beim Verlassen der unteren Hälfte der Bewegungsbahn der Auflagen 14 wird die betreffende Klemmanordnung 18 wieder gelöst, so dass die Druckbogen 20 im oberen Bereich der Umlaufbahn der Auflagen 14 in Richtung der Umlaufachse 12 keine Bewegung erfahren. In diesem Bereich der Bewegungsbahn machen die Wagen 16 mit geöffneter Klemmanordnung 18 einen Rückhub.
Die Heftköpfe 28 sind synchron zu den Auflagen 14 ebenfalls in Umlaufrichtung U angetrieben. Beim Vorbeilaufen eines Heftkopfes 28 am Förderrad 42 übernimmt dieser vom Förderrad 42 einen Drahtabschnitt 38. In einem mit B bezeichneten, in Umlaufrichtung U gesehen, dem Drahtabschnittspender 30 folgenden Bereich, wird der nun vom Heftkopf 28 gehaltene Drahtabschnitt 38 zu einer Klammer geformt, wie dies weiter unten noch ausführlich zu beschreiben sein wird. In einem nachfolgenden mit C bezeichneten Bereich der Bewegungsbahn 26 wird die Klammer von der in radialer Richtung gesehen aussen liegenden Seite der Heftköpfe 28 auf die innenliegende, den Auflagen 14 zugewandte Seite gebracht. In einem in der oberen Hälfte der Umlaufbahn der Auflagen 14 gelegenen Bereich D der Bewegungsbahn 26 der Heftköpfe 28, in welchem die Druckbogen 20 in Richtung der Umlaufachse 12 keine Bewegung ausführen, werden die betreffenden Heftköpfe 28 auf die auf die Auflagen 14 übereinander abgelegten Druckbogen 20 abgesenkt und die Klammern in die Druckbogen eingesetzt. Dabei entspricht der Abstand A der Heftköpfe 28 dem Abstand der Auflagen 14. Nach dem Setzen der Klammern werden die Heftköpfe 28 wieder angehoben, wonach nun die gesammelten und gehefteten Druckbogen 20 im Zuge der nächsten Umdrehung der Sammeltrommel 10 in Richtung der Umlaufachse 12 einer Wegführstation zugeführt werden.
Die in der Figur 2 gezeigte Sammeltrommel 10 entspricht derjenigen der Figur 1 und wird deshalb nicht mehr näher beschrieben. Gemäss Fig. 2 ist die Bewegungsbahn 26 für die Heftköpfe 28 nierenförmig ausgebildet und läuft in einem Bereich D entlang der Umlaufbahn der Auflagen 14 der Sammeltrommel 10. Die Sammeltrommel 10 ist ausserhalb der Bewegungsbahn 26 und der nur schematisch angedeutete Drahtabschnittspender 30 innerhalb dieser angeordnet. Die Sammeltrommel 10 läuft im Gegenuhrzeigersinn U um und die Heftköpfe 28 sind in entgegengesetzter Richtung U' mit gleicher Geschwindigkeit wie die der Auflagen 14 angetrieben. Der Abstand A der Heftköpfe 28 entspricht beim Setzen der Klammern wiederum dem Abstand der Auflagen 14, so dass im Bereich D zum Setzen der Klammern jeweils mit jeder Auflage ein entsprechender Heftkopf 28 mitläuft.
Die in der Figur 3 dargestellte Ausbildungsform der Einrichtung zum Sammeln von gefalteten Druckbogen 20 weist einen Sammelförderer 46 auf, wie er in der nachveröffentlichten EP-A-0 346 578 oder mit ähnlichem Aufbau in der EP-PS 0 095 603 bzw. der entsprechenden US-PS 4,489,930 beschrieben ist. Dieser weist ein um zwei voneinander beabstandete, nur mit ihren im wesentlichen horizontal verlaufenden Drehachsen 48 angedeutete Umlenkräder herumgeführtes Zugelement 50 auf, an welchem in bestimmten Abständen hintereinander, parallel zueinander und rechtwinklig zur Umlaufrichtung U verlaufende Auflagen 14 angeordnet sind. Die Heftstation 22 weist eine oberhalb des Sammelförderers 46 angeordnete Heftkopfanordnung 24 mit einer langgestreckten Bewegungsbahn 26 für die Heftköpfe 28 auf. Die Heftköpfe 28 sind an einem nicht dargestellten Zugorgan mit gleichen Abständen A wie die Auflagen 14 im Bereich D angeordnet. Das Zugorgan ist in Richtung U' mit gleicher Geschwindigkeit angetrieben, wie das Zugelement 50 in Richtung U. Die Heftköpfe 28 verlaufen somit im Bereich D synchron mit den Auflagen 14 und bewegen sich jeweils am vom Bereich D entfernten Drahtabschnittspender 30 vorbei. In bekannter Art und Weise sind, in Pfeilrichtung U gesehen, der Heftstation 22 entlang dem oberen Trum des Sammelförderers 46 Zuführstationen zum Auflegen von gefalzten Druckbogen 20 auf die Auflagen 14 vorgeschaltet. Selbstverständlich ist der Heftstation 22 eine Wegführstation für die gehefteten Druckbogen 20 nachgeschaltet.
Die in den Figuren 2 und 3 dargestellten Heftstationen 22 funktionieren wie folgt: Jeder Heftkopf 28 übernimmt jeweils beim Vorbeilaufen am Drahtabschnittspender 30 von diesem einen Drahtabschnitt. Im Zuge der Umlaufbewegung in Pfeilrichtung U' entlang der Bewegungsbahn 26 wird im Bereich zwischen dem Drahtabschnittspender 30 und dem Bereich D (Klammersetzbereich) aus dem Drahtabschnitt eine Klammer gebogen und diese auf die bezüglich der Bewegungsbahn 26 aussen liegende Seite der Heftköpfe 28 verbracht. Im Bereich D kommen die Heftköpfe 28 auf die betreffenden Auflagen 14 bzw. die darauf abgelegten Druckbogen 20 zur Anlage und setzen die Klammer in die Druckbogen 20.
Bei den Ausbildungsformen gemäss Fig. 2 und 3 ist es auch denkbar, den Drahtabschnittspender ausserhalb der Bewegungsbahn 26 anzuordnen. Selbstverständlich bleibt in diesem Fall der Drahtabschnitt bzw. die Klammer auf der bezüglich der Bewegungsbahn aussen liegenden Seite des Heftkopfes.
Im folgenden wird nun eine Ausbildungsform der Einrichtung gemäss Figur 1 näher erläutert. Die in den Figure 4 und 5 gezeigte Heftstation 22 weist zwei an derselben Halteanordnung 52 angeordnete Heftkopfanordnungen 24 auf. Die Halteanordnung 52 ist kreisringförmig ausgebildet und umgreift koaxial die um die Umlaufachse 12 in Umlaufrichtung U angetriebene Sammeltrommel 10. Die Halteanordnung 52 weist zwei in Richtung der Umlaufachse 12 voneinander beabstandete Halteringe 54 auf, die über Gitterstäbe 56 käfigartig miteinander verbunden sind. Die Halteringe 54 sind je an drei an einem Gestell 58 angeordneten, ungefähr jeweils gleichweit voneinander beabstandeten Lagerrollen 60 frei drehbar gelagert.
Jeder Auflage 14 ist von jeder Heftkopfanordnung 24 ein Heftkopf 28 zugeordnet, welche an einem gemeinsamen Tragprofil 62 in Richtung der Umlaufachse 12 voneinander beabstandet befestigt sind (Figur 5). Am Tragprofil 62 ist beiderends ein C-förmiger Lagerungsteil 64 befestigt, welcher mit seinen freien Endbereichen 64' je an einem Lagerschaft 66 in radialer Richtung E verschiebbar geführt ist. Der Lagerschaft 66 ist an einem ebenfalls C-förmigen, am jeweiligen Haltering 54 befestigten Halteteil 68 angeordnet, wobei der in der Figur 5 oben gezeigte Endbereich 64' des Lagerungsteils 64 vom Halteteil 68 umgriffen ist. Um den Lagerschaft 66 herum ist eine Druckfeder 70 geführt, die sich in Richtung E gesehen innen am Halteteil 68 und aussen am Lagerungsteil 64 abstützt. Die Druckfedern 70 halten somit die Heftköpfe 28 in einer, in der Figur 5 nicht dargestellten Ruhelage, in welcher die Heftköpfe 28 von den Auflagen 14 abgehoben sind und in welcher die Lagerungsteile 64 an den Halteteilen 68 anstehen.
Die Lagerungsteile 64 weisen je einen in radialer Richtung über den betreffenden Halteteil 68 gegen aussen vorstehenden Arm 72 auf, an welchem jeweils eine Folgerolle 74 frei drehbar gelagert ist. Oberhalb der Sammeltrommel 10 ist am Gestell 58 ein auf diese Folgerollen 74 einwirkendes Absenkkulissenpaar 76 befestigt.
Im Bereich des Absenkkulissenpaares 76 ist weiter am Gestell 58 je eine jeder Heftkopfanordnung 24 zugeordnete Stösselkulisse 78 befestigt, wobei diese in einem Bereich, in welchem sich die Heftköpfe 28 in ihrer in der Figur 5 gezeigten Auflagestellung befinden, auf Stössel 80 der Heftköpfe 28 einwirken.
An den am einen Haltering 54 befestigten Halteteilen 68 ist jeweils ein Mitnehmer 82 in radialer Richtung verschiebbar gelagert. Der Mitnehmer 82 weist an seinem der Auflage 14 zugewandten Ende ein im wesentlichen V-förmiges Mitnehmerprofil 84 und an seinem entgegengesetzten Ende eine frei drehbar gelagerte Folgewalze 86 auf. Eine weitere Druckfeder 88 umgreift den Mitnehmer 82 und stützt sich in radialer Richtung gesehen innernends am Halteteil 68 und äussernends an einem am Mitnehmer 82 befestigten Ring 90 ab. Mittels einer am Gestell 58 angeordneten und auf die Folgewalzen 86 ungefähr über die obere Hälfte der Bewegungsbahn 26 der Heftköpfe 28 einwirkenden Mitnehmersteuerkulisse 92 ist das jeweilige Mitnehmerprofil 84 von einer in der Figur 5 nicht dargestellten Ruhestellung, in welcher das Mitnehmerprofil 84 am Halteteil 68 ansteht, entgegen der Kraft der weiteren Druckfeder 88 in eine in der Figur 5 dargestellte Mitnahmestellung absenkbar, in welcher das V-förmige Mitnehmerprofil 84 die sattelförmige Auflage 14 umgreift.
In Umlaufrichtung U gesehen ist dem Ende des Absenkkulissenpaares 76 folgend am Gestell 58 eine (in Figur 5 strichpunktiert angedeutete) auf den Klemmhebel 94 der Heftköpfe 28 einwirkende Lösekulisse 96 angeordnet. Dem mit einem Pfeil angedeuteten Drantabschnittspender 30 folgend sind weiter am Gestell 58 eine auf die Drahtabschnitte 38 einwirkende, kulissenförmige Matrize 98 und eine auf einen Betätigungsschaft 100 der Heftköpfe 28 einwirkende Schwenkkulisse 102 angeordnet (siehe Fig. 4).
In der Figur 3 ist die Auflage 14 teilweise aufgeschnitten dargestellt. Auf der Auflage 14 befinden sich übereinander angelegte Druckbogen 20, wobei bei den sich unter den Heftköpfen 28 befindenden, aufgeschnitten dargestellten Druckbogen 20 die in diese eingesetzten Klammern 104 gezeigt sind.
Im Innern der Auflage 14 ist eine Koppel 106 an zwei an der Auflage 14 schwenkbar gelagerten parallel zueinander verlaufenden Schwenkhebeln 108 in Art eines Parallelkurbeltriebes schwenkbar gelagert. Der in der Figur 5 links dargestellte Schwenkhebel 108 ist mit einem Steuerhebel 110 gekuppelt, welcher mittels einer nicht dargestellten Steueranordnung in Längsrichtung der Auflage 14 hin- und herbewegbar ist. Dieses Aufund Abbewegen des Steuerhebels 110 hat eine Hin- und Herbewegung der Koppel 106 in radialer Richtung E zur Folge. Im Bereich der Heftköpfe 28 sind in der Koppel 106 Schlitze 112 angebracht, welche auf einen nur schematisch angedeuteten Umbiegerstössel 114 in Pfeilrichtung E einwirken.
Zum besseren Verständnis der Funktionsweise der in den Figuren 4 und 5 gezeigten Einrichtung werden nun im folgenden zuerst die Heftköpfe 28 anhand der Figuren 6 bis 8 näher beschrieben. An den seitlichen Flanken 116 eines im wesentlichen U-förmigen Tragteils 118 ist eine Welle 120, deren strichpunktiert angedeutete Schwenkachse 122 parallel zur Längsrichtung des Tragprofils 62 (vgl. Fig. 5) und somit parallel zur Umlaufachse 12 der Sammeltrommel 10 verläuft, frei drehbar gelagert. Im Bereich zwischen den beiden seitlichen Flanken 116 sitzen auf der Welle 120 zwei voneinander beabstandete Hülsen 124, welche mittels Stiften 126 mit der Welle 120 drehfest verbunden sind und an welchen parallel zueinander verlaufende Stempelarme 128 eines Stempels 130 befestigt sind. Die beiden Stempelarme 128 sind mittels eines seitlichen Steges 132 miteinander verbunden. Im freien Endbereich weisen die beiden Stempelarme 128 eine gegeneinander gerichtete, geringfügige Verdickung 134 auf, in welcher in radialer Richtung verlaufende, gegeneinander offene Nuten 136 vorgesehen sind. Diese Nuten 136 sind auch am freien Ende des Stempels 130 in radialer Richtung offen. Jeder Stempelarm 128 weist an seinem freien Ende, benachbart zur Nut 136, eine in radialer Richtung vorstehende Mitnehmernase 138 sowie einen im Stempelarm 128 angeordneten Permantmagneten 140 auf. In den Figuren 6 und 7 ist ein von den Mitnehmernasen 138 erfasster und von den Permanentmagneten 140 gehaltener Drahtabschnitt 38 gezeigt. In den Figuren 6 und 7 ist der Stempel 130 in seiner Ruhestellung und in Fig. 8 in der Klammersetzstellung 130' gezeigt.
Auf jeder Hülse 124 sitzt im Bereich des Stiftes 126 eine Distanzhülse 142 und ist ein Schwenkhebel 144 zwischen der Distanzhülse 142 und dem betreffenden Stempelarm 128 frei drehbar gelagert. An den freien Endbereichen der Schwenkhebel 144 ist ein die beiden Schwenkhebel 144 miteinander verbindendes, im wesentlichen kreisringsegmentförmig ausgebildetes Klammerhalteglied 146 angeordnet. Am Klammerhalteglied 146 sind zwei voneinander beabstandete Nuten 148 eingelassen, in welche beim Verschwenken des Stempels 130 die freien Endbereiche der Stempelarme 128 eingreifen. Auf den einen Schwenkhebel 144 wirkt mit einer im Gegenuhrzeigersinn gerichteten Kraft eine am Tragteil 118 befestigte Blattfederanordnung 150 ein und drückt die Schwenkhebel 144 mit den an ihnen angeformten Anschlägen 152 gegen das Tragteil 118. Ueber die Schwenkhebel 144 im Gegenuhrzeigersinn vorstehend, weist das Klammerhalteglied 146 eine Klammerführungsnase 154 auf. Diese Klammerführungsnase 154 ist keilförmig ausgebildet und weist eine in radialer Richtung gesehen gegen innen gerichtete mit 154' bezeichnete Keilfläche auf.
Am Tragteil 118 ist der Stössel 80 in Pfeilrichtung F verschiebbar geführt. Diese Verschieberichtung F verläuft parallel zu den Nuten 136 in den Stempelarmen 128 bei sich in Klammersetzstellung 130' befindendem Stempel 130. Der Stössel 80 weist an seinem unteren Endbereich einen Stösselkopf 158 auf, der bei sich in Klammersetzstellung 130' befindendem Stempel 130 zwischen die beiden Stempelarme 128 hineingreift. Am Stösselkopf 158 sind seitlich vorstehende Führungskeile 160 angeformt, die beim Verschieben des Stössels 80 in Richtung F aus seiner in der Figur 6 gezeigten Ruhelage in die in der Figur 8 gezeigte Ausstosslage bei sich in Klammersetzstellung 130' befindendem Stempel 130 in die Nuten 136 einlaufen. An seinem unteren Ende weist der Stösselkopf 158 eine Stossnut 162 zum Ausstossen der mit ihren seitlichen Armen 104' in den Nuten 136 geführten Klammer 104 auf. Der Stössel 80 weist weiter eine gegen den Tragteil 118 hin offene nutenförmige Ausnehmung 164 auf, in welcher eine Druckfeder 166 angeordnet ist, die sich obernends am Stössel 80 und unternends an einem am Tragteil 118 befestigten, in die nutenförmige Ausnehmung 164 hineinreichenden Bolzen 168 abstützt (Figur 8). Die Druckfeder 166 hält den Stössel 80 in der in der Figur 6 mit ausgezogenen Linien und in der Figur 8 strichpunktiert angedeuteten Ruhelage.
Die seitlichen Flanken 116 weisen am unteren Ende gegenüber dem sich in Klammersetzstellung 130' befindenden Stempel 130 vorstehende Andrücknasen 170 auf, die durch eine im wesentlichen V-förmige Ausnehmung 170' voneinander getrennt sind. Beim Absenken des Heftkopfes 28 kommt er mit den Andrücknasen 170 auf der Auflage 14 bzw. auf den darauf abgelegten Druckbogen 20 zur Anlage.
Der Tragteil 118 ist in einer am Tragprofil 62 (vgl. auch Figur 5) befestigten Lageranordnung 172 ebenfalls in Pfeilrichtung F verschiebbar gelagert. An den seitlichen Enden weist der Tragteil 118 ebenfalls nutenförmige Ausnehmungen 174 auf (Figur 6 und 7), in welche von unten her je eine Bohrung 176 mit einem Gewinde 176' mündet. An der Lageranordnung 172 sind weitere Bolzen 178 angeordnet, die in die nutenförmigen Ausnehmungen 174 eingreifen und an welchen sich obernends je eine weitere Druckfeder 180 abstützt. Unternends drückt diese Druckfeder 180 gegen eine in das Gewinde 176' eingesetzte Schraube 182. Durch die Druckfeder 180 wird somit der Tragteil 118 bezüglich der Lageranordnung 172 in der in der Figur 6 gezeigten unteren Ruhelage gehalten, an welcher der Tragteil 118 sich am Bolzen 178 abstützt. Beim Absenken des Tragprofils 162 (vgl. Figur 5) durch Einwirken des Absenkkulissenpaares 76 auf die Folgerollen 74 kommt der Tragteil 118 mit den Andrücknasen 170 auf der Auflage 14 bzw. auf den darauf abgelegten Druckbogen 20 zur Anlage. Die durch verschieden dicke Druckbogen 20 bedingte unterschiedliche Lage des abgesenkten Heftkopfes 28 bezüglich der Auflage 14 wird nun durch ein Verschieben des Tragteils 118 bezüglich des immer auf dasselbe Mass abgesenkten Tragprofils 62 (und Lageranordnung 172) aufgenommen.
An der einen, in der Figur 7 unten dargestellten, seitlichen Flanke 116 des Tragteils 118 ist eine Antriebsanordnung 184 für das Verschwenken der Welle 120 befestigt. Diese weist ein Führungsglied 185 auf, an welchem der Betätigungsschaft 100 ebenfalls in Pfeilrichtung F verschiebbar gelagert ist. Am unteren Endbereich ist am Betätigungsschaft 100 eine Zahnstange 186 angeformt, die mit einem auf der Welle 120 drehfest sitzenden Ritzel 190 kämmt. In einer nach unten offenen Bohrung 192 im Betätigungsschaft 100 ist eine weitere Druckfeder 194 angeordnet, die sich obernends am Betätigungsschaft 100 und unternends an einem am Führungsglied 185 befestigten Stift 196 abstützt. Der Stift 196 durchdringt einen langlochförmigen Durchlass 198 im Betätigungsschaft 100. Der obere Endbereich des Betätigungsschaftes 100 ist von einem kappenförmigen Gleitschuh 200 überdeckt, welcher bezüglich des Betätigungsschaftes 100 in Längsrichtung verschiebbar und mittels eines weiteren am Betätigungsschaft 100 befestigten Stiftes 196', welcher den Gleitschuh 200 in einem ebenfalls langlochförmigen Durchlass 198' durchdringt, gehalten ist. In eine gegen oben hin offene Bohrung 192' im Betätigungsschaft 100 ist eine weitere Druckfeder 194' eingesetzt, die sich am Gleitschuh 200 und am Betätigungsschaft 100 abstützt. Falls sich der Betätigungsschaft 100 in seiner unteren, in der Figur 8 gezeigten Endlage befindet und die Schwenkkulisse 102 sich noch weiter dem Tragteil 118 nähert, nimmt die Druckfeder 194' diese Annäherung auf.
Am Führungsglied 185 ist der Klemmhebel 94 schwenkbar gelagert, welcher vom Betätigungsschaft 100 durchdrungen ist. Das entsprechende Loch im Klemmhebel 94 weist einen nur geringfügig grösseren Durchmesser als die Dicke des Betätigungsschaftes 100 auf. Der Klemmhebel 94 ist mittels einer Druckfeder 204 im Gegenuhrzeigersinn vorgespannt gehalten. In der in der Figur 6 gezeigten Lage des Klemmhebels 94 hält dieser den Betätigungsschaft 100 durch Verkanten fest Durch Aufbringen einer Kraft in Pfeilrichtung G mittels der Lösekulisse 96 (vgl. Figur 5) wird durch Verschwenken des Klemmhebels 94 im Uhrzeigersinn diese Verkantung gelöst und der Betätigungsschaft 100 freigegeben, dieser wird durch die Druckfeder 194 nach oben verschoben.
Im Zusammenhang mit den Figuren 9 bis 14 wird nun die Funktionsweise des Heftkopfes 28 beschrieben. Diese Figuren zeigen Teile des Heftkopfes 28 während verschiedener Phasen eines Arbeitszyklus. Die entsprechenden Teile des Heftkopfes 28 sind in diesen Figuren gleich numeriert wie in den Figuren 6 bis 8 und werden deshalb nicht mehr näher erläutert. In der Auflage 14 (Figuren 11 bis 14) ist der Umbiegerstössel 114 in Pfeilrichtung E auf und ab verschiebbar geführt. An ihm stützen sich zwei an der Auflage 14 schwenkbar gelagerte Umbieger 206 ab (vgl. dazu auch Figur 5).
In der Figur 9 befindet sich der Stempel 130 in seiner ebenfalls in den Figuren 6 und 7 gezeigten Ruhestellung. Der Stössel 80 befindet sich mit seinem Stösselkopf 158 ebenfalls in der Ruhelage. Der Heftkopf 28 bewegt sich am Förderrad 42 des Drahtabschnittspenders 30 (vgl. Fig. 1) vorbei und übernimmt dabei durch Mitnahme mittels der Mitnehmernasen 138 vom Halteglied 44 des Förderrades 42 einen Drahtabschnitt 38. Dieser Drahtabschnitt 38 wird mittels der in dieser Figur nicht gezeigten Permanentmagnete 140 an den Stempelarmen 128 gehalten. Mit 132 ist der die beiden Stempelarme 128 miteinander verbindende Steg gezeigt. In der Figur 10 befindet sich der Heftkopf 28 im Bereich der Matrize 98 (siehe Fig. 4), wobei sich der Stempel 130 immer noch in seiner Ruhestellung befindet.
Im Zuge des Entlanggleitens des Heftkopfes 28 an der Matrize 98 wird der Drahtabschnitt 38 U-förmig zu einer Klammer 104 gebogen, wobei die seitlichen Arme 104' in die Nuten 136 der Stempelarme 128 hineingleiten. Durch Einwirken der Schwenkkulisse 102 auf den Gleitschuh 200 wird der Betätigungsschaft 100 in seine in der Figur 8 gezeigte untere Endlage gebracht, wodurch der Stempel 130 in die in den Figuren 8 und 11 gezeigte Klammersetzstellung 130' verschwenkt wird. Im Zuge dieser Schwenkbewegung greifen die Stempelarme 128 im Bereich ihrer Verdickung 134 in die Nuten 148 des Klammerhaltegliedes 146 ein, wodurch die seitlichen Arme 104' in den Nuten 136 gehalten sind. Mit 144 sind die Schwenkhebel bezeichnet, an welchen das Klammerführungsglied 146 befestigt ist. Der Stösselkopf 158 des Stössels 80 befindet sich in der Klammersetzstellung 130' des Stempels 130 ebenfalls zwischen den beiden Stempelarmen 128, aber im Bereich zwischen der Welle 120 und den Verdickungen 134. Beim Einwirken der Stösselkulisse 78 auf den Stössel 80 wird dieser in Pfeilrichtung F gegen die Auflage 14 gestossen, wie dies in der Figur 12 gezeigt ist. Dabei gleiten die am Stösselkopf 158 seitlich angeformten Führungskeile 160 in die Nuten 136 der sich in Klammersetzstellung 130' befindenden Stempelarme 128. Mit der Stossnut 162 wird die Klammer 104 aus dem Stempel 130 ausgestossen, wobei die seitlichen Arme 104' gleichzeitig durch die auf die Auflage 14 abgelegten Druckbogen 20 gestossen werden. Beim Absenken des Stössels 80 gleitet er auf der Keilfläche 154' der Klammerführungsnase 154, wodurch das an den Schwenkhebeln 144 befestigte Klammerhalteglied 146 im Uhrzeigersinn verschwenkt wird (vgl. Figur 8). Dabei hält die Klammerführungsnase 154 die seitlichen Arme 104' der Klammer 104 in den Nuten 136, bis die Klammer 104 in die Druckbogen 20 eingesetzt und die Klammerführungsnase 154 aus dem Bereich der Nuten 136, verschwenkt ist Durch das anschliessende Anheben des Umbiegerstössels 114 in Pfeilrichtung E werden die Umbieger 206 in Richtung nach oben verschwenkt, was zur Folge hat, dass die in den Bereich der Umbieger 206 vorstehenden Abschnitte der seitlichen Arme 104' gegeneinander umgebogen werden (Fig. 13). Dabei wird der Stössel 80 durch die Stösselkulisse 78 immer noch in der unteren Endlage gehalten. Nach dem Ablaufen des Stössels 80 von der Stösselkulisse 78 bewegt sich dieser unter der Kraft der Druckfeder 166 wieder in die obere Ruhelage zurück, wie dies in der Figur 14 gezeigt ist. Durch Absenken des Umbiegerstössels 114 in Pfeilrichtung E werden auch die Umbieger 206 in ihre ursprüngliche Lage zurückverschwenkt. Beim Vorbeilaufen des Heftkopfes 28 an der Lösekulisse 96 wird der Betätigungsschaft 100 vom Klemmhebel 94 freigegeben, was ein Verschwenken des Stempels 130 zurück in die Ruhestellung bewirkt.
In den Figuren 15 und 16 sind die in der Figur 4 mit dem Pfeil 30 angedeuteten, den beiden Heftkopfanordnungen 24 zugeordneten Drantabschnittspender 30 vergrössert gezeigt. Jeder dieser Drahtabschnittspender 30 ist gleich aufgebaut wie der in der Figur 1 gezeigte Drahtabschnittspender 30. Die Schneideeinrichtung 32 wird über einen umlaufenden Zahnriemen 208 angetrieben. Ein Förderrollenpaar 210 fördert den dazwischen eingeklemmten Draht 36 schrittweise in Pfeilrichtung H. Ein in Pfeilrichtung I auf und ab bewegbares Schneidmesser 212 trennt nach jeder Förderbewegung des Drahtes 36 durch Absenken einen Drahtabschnitt 38 vom Draht 36 ab. Dem Schneidmesser 212 nachgeschaltet ist unterhalb der Schneideinrichtung 32 das Magazin 40 angeordnet. Es weist einen im wesentlichen spaltförmigen, ungefähr in vertikaler Richtung verlaufenden Stapelschacht 214 auf, in welchem die hineinfallenden Drahtabschnitte 38 mit im wesentlichen in horizontaler Richtung verlaufender Längserstreckung übereinander stapelbar sind.
Am oberen Ende des Stapelschachtes 214 ist eine Vorstapeleinrichtung 216 mit einer Zunge 218 vorgesehen, die in den Bereich des Stapelschachtes 214 einfahrbar und aus diesem wieder zurückziehbar ist. Bei in den Bereich des Stapelschachtes 214 eingefahrener Zunge 218 werden eine Anzahl mittels der Schneideeinrichtung 32 vom Draht 36 abgetrennte Drahtabschnitte 38 gestapelt. Durch kurzzeitiges Zurückziehen der Zunge 218 fallen dann diese gestapelten Drahtabschnitte 38 gemeinsam in den Stapelschacht 214. Dies verhindert ein Aufstellen und Verkanten der Drahtabschnitte 38 während des freien Falls und garantiert eine saubere Stapelung der Drahtabschnitte 38 im Stapelschacht 214.
Die beiden unterhalb der Magazine 40 angeordneten Förderräder 42 sitzen drehfest auf einer gemeinsamen, an einem Traghebelpaar 222 drehbar gelagerten Lagerwelle 224. Durch eine über ein Antriebsband 226 auf die Lagerwelle 224 einwirkende Antriebseinrichtung 228 sind die beiden Förderräder 42 in Pfeilrichtung V umdrehend angetrieben.
Jedes Förderrad 42 weist zwei voneinander beabstandete parallele Scheiben 230 auf, zwischen denen in bestimmten Abständen die Halteglieder 44 entlang dem Umfang angeordnet sind. Die Halteglieder sind U-förmig ausgebildet und weisen an ihren in radialer Richtung nach aussen gerichteten freien Enden über die Peripherie der Scheiben 230 leicht vorstehende Mitnehmerflanken 232 auf. In ähnlicher Art und Weise, wie dies im Zusammenhang mit dem Heftkopf 28 beschrieben ist, ist an den Haltegliedern 44 eine Permanentmagnetanordnung vorgesehen, um die beim Vorbeilaufen am Magazin 40 mittels den Mitnehmerflanken 232 aus dem Stapelschacht 214 herausgelösten Drahtabschnitte 38 festzuhalten.
Die Heftköpfe 28 sind weiter voneinander beabstandet als die Halteglieder 44. Dementsprechend ist die Umfangsgeschwindigkeit der Förderräder 42 geringer als die Umlaufgeschwindigkeit der Heftköpfe 28, so dass jeweils der nächste Heftkopf 28 mit dem nächsten Halteglied 44 zusammentrifft. Der Heftkopf 28 läuft somit am Halteglied 44 vorbei und zieht mit den an den Stempelarmen 128 angeordneten Mitnehmernasen 138 vom Halteglied 44 den betreffenden Drahtabschnitt 38 ab und hält diesen mittels der Permanentmagnete 140 am Stempel 130 fest. Die Halteglieder 44 sind in allgemein bekannter Art und Weise in radialer Richtung verschiebbar und gefedert angeordnet, um Toleranzen aufnehmen zu können und eine gesicherte Uebernahme der Drahtabschnitte 38 vom Stapelschacht 214 und Uebergabe an die Heftköpfe 28 zu gewährleisten.
Mit Hilfe der Figuren 17 bis 23 wird nun die Funktionsweise der in den Figuren 4 und 5 dargestellten Heftstation 22 erläutert.
In der Figur 17 ist in Umlaufrichtung U gesehen der Anfangsbereich der Mitnehmerkulisse 92 dargestellt. Beim Umlaufen in Pfeilrichtung U laufen die Folgewalzen 86 der Mitnehmer 82 auf die Mitnehmerkulisse 92 auf, was zur Folge hat, dass die am Halteteil 68 in radialer Richtung verschiebbar geführten Mitnehmer 82 auf die betreffenden Auflagen 14 der Sammeltrommel 10 abgesenkt werden. Dabei umgreifen die V-förmigen Mitnehmerprofile 84 die Auflagen 14. Dies hat zur Folge, dass die am Tragprofil 62 angeordneten in der Figur 17 nicht gezeigten Heftköpfe 28 bezüglich der zugeordneten Auflage 14 bzw. der darauf abgelegten Druckbogen 20 genau ausgerichtet sind. Desweitern erfolgt der Antrieb der Halteanordnung 52 ausschliesslich durch Mitnahme durch die mit den Auflagen 14 in Eingriff stehenden Mitnehmer 82. Die Mitnehmer 82 sind nur im oberen Bereich der Umlaufbahn der Sammeltrommel 10 auf die Auflagen 14 abgesenkt, damit im unteren Bereich der Umlaufbahn die mittels der Heftstation 22 gehefteten Druckbogen 20 in Richtung der Umlaufachse 12 durch die nun voneinander beabstandeten Auflagen 14 und Mitnehmerprofile 84 hindurch weggefördert werden können, bzw. dass die zu heftenden Druckbogen 20 in den Bereich der Heftstation 22 gebracht werden können.
Im folgenden wird nun ein Heftkopf 28 im Zuge einer Umdrehung der Halteanordnung 52, beim Drahtabschnittspender 30 beginnend, verfolgt. Beim Vorbeilaufen der Heftköpfe 28 am Drahtabschnittspender befinden sich diese in ihrer in radialer Richtung gesehen äusseren Ruhestellung, in welcher sie von den Auflagen 14 beabstandet sind. Desweitern sind die Stempel 130 in die Ruhestellung zurückgeschwenkt, sodass die freien Enden der Stempelarme 128 in radialer Richtung gesehen gegen aussen gerichtet sind. Beim Vorbeilaufen des Heftkopfes 28 am betreffenden Halteglied 44 des Förderrades 42 wird der vom Halteglied 44 zugeführte Drahtabschnitt 38 durch die Mitnehmernasen 138 von diesem abgelöst und mitgenommen (Fig. 18).
Im Zuge der Weiterdrehung in Pfeilrichtung U gelangen die Heftköpfe 28 in den Bereich der Matrize 98, wie dies in der Figur 19 gezeigt ist. In Pfeilrichtung U gesehen, verringert sich der Abstand zwischen der kulissenförmigen Matrize 98 und der Welle 120, so dass bei sich in Ruhestellung befindendem Stempel 130 der betreffende Drahtabschnitt 38 zu einer Klammer 104 gebogen und in die Nuten 136 der Stempelarme 128 hineingeschoben wird (Fig. 19). Beim Erreichen der Schwenkkulisse 102 läuft der Gleitschuh 200 auf diese auf, was zur Folge hat, dass der Betätigungsschaft 100 in Pfeilrichtung F in radialer Richtung gegen innen gedrückt wird. Diese translatorische Bewegung des Betätigungsschaftes 100 wird über das Ritzel 190 in eine Schwenkbewegung der Welle 120 umgesetzt. Dies hat zur Folge, dass der Stempel 130 von seiner Ruhestellung im Gegenuhrzeigersinn um 180° in die Klammersetzstellung 130' verschwenkt wird, wonach nun die freien Enden der Stempelarme 128 in radialer Richtung gegen innen den Auflagen 14 zugewandt sind. Durch den Klemmhebel 202 wird der Betätigungsschaft 100 entgegen der Kraft der Druckfeder 194 (vgl. Figur 6) in seiner unteren Endlage gehalten (Fig. 20). Im Zuge der Weiterdrehung in Pfeilrichtung U werden beim Erreichen der Mitnehmerkulisse 92 die Mitnehmer 82 auf die Auflagen 14 abgesenkt, wie dies weiter oben beschrieben ist. Anschliessend gelangen die Folgerollen 74 (siehe Figuren 4 und 5) in den Bereich des Absenkkulissenpaares 76, wodurch das Tragprofil 62 mit den daran angeordneten Heftköpfen 28 in Richtung gegen die Auflagen 14 um ein bestimmtes Mass abgesenkt wird. Dabei kommt der Tragteil 118 mit seinen Andrücknasen 170 auf die auf die Auflagen 14 rittlings aufgelegten Druckbogen 20 zur Anlage. Es ist zu beachten, dass die Andrücknasen 170 die Druckbogen 20, in Richtung der Auflage 14 gesehen, vor und hinter der Klammer 104 sowie auf beiden Seiten von dieser festhalten, was zu einer besonders sauberen Heftung führt. Es ist auch zu beachten, dass der Tragteil 118 bezüglich der am Tragprofil 62 fixierten Lageranordnung 172 in Abhängigkeit von der Dicke der Druckbogen 20 verschoben wird. Dadurch wird eine saubere Heftung von verschieden dicken Druckbogen 20 gewährleistet, ohne dass die Einrichtung neu eingestellt werden muss (vgl. Figur 21).
Bei auf den Druckbogen 20 anliegenden Heftköpfen 28 werden diese gegen die Stösselkulisse 78 gefördert. In einem in Pfeilrichtung U gesehen ersten Abschnitt 78' verläuft die Stösselkulisse 78 mit einem sich verringernden Abstand zur Umlaufbahn der Auflagen 14 (Fig. 22). In diesem Bereich wird der Stössel 80 in Richtung gegen die Druckbogen 20 abgesenkt, wodurch die Klammer 104 aus dem Stempel 130 ausgestossen und in die Druckbogen 20 gesetzt wird. In einem dem Abschnitt 78' anschliessenden Abschnitt 78" verläuft die Stösselkulisse 78 mit konstantem Abstand bezüglich der Auflagen 14. In diesem Abschnitt drückt der Stösselkopf158 die Klammer 104 satt an die Druckbogen 20 an. Dies verhindert ein Zurückweichen der Klammer 104 beim Umbiegen der seitliche Arme 104' infolge Anhebens des Umbiegerstössels 114 in Pfeilrichtung E und das damit verbundene Verschwenken der Umbieger 206 (vgl. auch Figuren 11 bis 14).
Nach dem Setzen der Klammer 104 und Umbiegen der seitlichen Arme 104' gleitet der Stössel 80 unter der Wirkung der Druckfeder 166 und des sich im Endbereich der Stösselkulisse 78 vergrössernden Abstandes zum Tragteil 118 in seine in radialer Richtung gesehen äussere Ruhelage zurück.
Der Stösselkulisse 78 nachfolgend, vergrössert sich der Abstand des Absenkkulissenpaares 76 bezüglich der Halteanordnung 52, was zur Folge hat, dass die Heftköpfe 28 von den Auflagen 14 bzw. den gehefteten darauf abgelegten Druckbogen 20 abgehoben werden. Dies ist in der Figur 23 gezeigt. Im Zuge der Weiterdrehung kommen die Heftköpfe in den Bereich der Lösekulisse 96, welche den Klemmhebel 94 im Uhrzeigersinn verschwenkt. Dadurch wird der Betätigungsschaft 100 freigegeben, so dass dieser unter der Kraft der Druckfeder 194 (vgl. Figur 6) in Pfeilrichtung F in radialer Richtung gegen aussen gestossen wird. Dies hat nun wiederum ein Zurückverschwenken des Stempels 130 aus seiner Klammersetzstellung 130' in die Ruhestellung im Uhrzeigersinn zur Folge. Die Heftköpfe 28 sind nun wieder bereit, vom Drahtabschnittspender 30 einen neuen Draht zu übernehmen. Bei der Weiterdrehung der Sammeltrommel 10 werden nun die gehefteten Druckbogen 20 in Richtung der Umlaufachse 12 aus dem Bereich der Heftstation 22 einer nicht gezeigten Wegführstation zugefördert.
Durch das Trennen der Drahtabschnittaufbereitung von den Heftköpfen 28 können diese sehr einfach aufgebaut sein. Ueberdies ist pro Heftkopfanordnung 24 nur ein einziger Drahtabschnittspender 30 notwendig, was die Aufwendungen auf ein Minimum herabsetzt. Ueberdies kann der Drahtabschnittspender 30 vom Bereich, in welchem die Klammern 104 in die Druckbogen 20 gesetzt werden, entfernt sein. Dies hat zur Folge, dass genügend Zeit für das Aufbereiten der Klammern 104 im Bereich zwischen dem Drahtabschnittspender 30 und dem Klammersetzbereich zur Verfügung steht. Bei Heftköpfen mit schwenkbaren Stempeln 130 kann das Aufbereiten der Klammern 104 in einer von der Klammersetzstellung 130' unterschiedlichen Lage erfolgen, was bedeutet, dass die verschiedenen Funktionen der Heftköpfe 28 räumlich voneinander getrennt sind; dies hat wiederum zur Folge, dass die Heftköpfe 28 bei geringen Abmessungen einfach aufgebaut sind.
Selbstverständlich kann die Matrize zum Biegen des Drahtabschnittes 38 zu einer Klammer 104 an jedem Heftkopf 28 selber vorgesehen sein. Diese weist einen zur Welle exzenterförmigen Verlauf auf, so dass im Zuge der Schwenkbewegung des Stempels 130 von seiner Ruhe- in die Klammersetzstellung 130' die Klammer 104 geformt wird. Eine solche Matrize könnte insbesondere als Verlängerung des Klammerhaltegliedes 146 im Uhrzeigersinn an diesem angeformt sein.
Es ist selbstverständlich auch möglich, dass die Mitnehmer an den Heftköpfen angeordnet sind. So ist es durchaus denkbar, dass die Andrücknasen 170 als Mitnehmer dienen. Ein separater Antrieb für die Heftstation 22 ist nicht mehr notwendig und Synchronisationsprobleme zwischen dem Umlaufen der Sammeltrommel 10 und den Heftkopfanordnungen 24 sind beseitigt.
Selbstverständlich kann das Zugorgan bzw. die Halteanordnung 52 mittels eines eigenen Antriebsmotores umlaufend angetrieben sein. Weiter ist es denkbar, dass der Drahtabschnittspender ein auswechselbares Magazin aufweist, oder dass die Drahtabschnitte von der Schneideinrichtung direkt den Heftköpfen zugeführt werden.
Schlussendlich sei noch erwähnt, dass für die Drahtübernahme die Stempel 130 sich in einer zur Ruhestellung unterschiedlichen Drahtübernahmestellung befinden können. Die Drahtübernahmestellung entspricht aber nicht der Klammersetzstellung 130'. Die Drahtabschnitte 38 verlaufen im wesentlichen parallel zur Schwenkachse 122.
Es versteht sich, dass die Heftstationen 22 der Einrichtungen gemäss den Fig. 2 und 3 ähnlich aufgebaut sind, wie die vorstehend im Zusammenhang mit der Einrichtung gemäss Fig. 1 beschriebene Heftstation 22.
Heftköpfe, die sich insbesondere für erfindungsgemässe Vorrichtungen zum Drahtheften von Druckereierzeugnissen eignen, sind in der EP-A-0 399 322 beschrieben.
Einrichtungen der beschriebenen Art, bei denen jeder Auflage ein Heftkopf fest zugeordnet ist, erlauben auch das gegenseitige Versetzen der Heftköpfe einer Heftkopfanordnung in Längsrichtung der Auflagen. So kann beispielsweise jeder zweite Heftkopf bezüglich der anderen in einer Ebene angeordneten Heftköpfe leicht versetzt sein. Die beiden Gruppen von Heftköpfen laufen dann vorteilhafterweise an je einem eigenen Drahtabschnittspender vorbei. Beim Stapeln der gehefteten Bogen kommen dann nicht alle Klammern übereinander zu liegen.

Claims (10)

  1. Vorrichtung zum Drahtheften von mehrteiligen, gefalteten Druckereierzeugnissen (20), mit einer Förderanordnung (10, 14) zum Fördern der zu heftenden, gefalteten Erzeugnisse (20) mit im wesentlichen rechtwinklig zur Förderrichtung (U) verlaufender Falzlinie entlang einer Bewegungsbahn durch einen Heftbereich (D) hindurch, die durch entlang einer geschlossenen Umlaufbahn umlaufende, sattelförmige Auflagen (14), auf die die Druckereierzeugnisse (20) rittlings ablegbar sind und die parallel zueinander verlaufen und sich im wesentlichen rechtwinklig zu ihrer Umlaufrichtung (U) erstrecken, gebildet ist, wenigstens einer Heftkopfanordnung (24), bestehend aus einer Anzahl von Heftköpfen (28) zum Setzen von Drahtklammern (104) entlang der Falzlinien, die während des Setzens der Drahtklammern (104) sich im wesentlichen mit der Bewegungsgeschwindigkeit der Erzeugnisse (20) mit letzteren mitbewegen und in Bewegungsrichtung (U') in einem Abstand (A) hintereinander angeordnet sind, wobei die Bewegungsbahn (26) der Heftköpfe (28) im Heftbereich (D) entlang eines Abschnittes im wesentlichen parallel zur Bewegungsbahn der Erzeugnisse (20) verläuft, Mitteln zum Formen der Drahtklammern (104) aus im wesentlichen geraden, von den Heftköpfen (28) gehaltenen Drahtabschnitten (38), wenigstens einer Klammerschliessanordnung (114, 206), bestehend aus einer Anzahl von im Heftbereich (D) mit den Heftköpfen (28) zusammenzuwirken bestimmten und in den Auflagen (14) angeordneten Umbiegern (206) zum Schliessen der gesetzten Drahtklammern (104), die mit der Bewegungsgeschwindigkeit der auf den Auflagen (14) aufliegenden Erzeugnisse (20) entlang der geschlossenen Umlaufbahn der Auflagen (14) umlaufen, die im Heftbereich (D) entlang eines Abschnittes im wesentlichen parallel zur Bewegungsbahn (26) der Heftköpfe (28) und zur Bewegungsbahn der Erzeugnisse (20) verläuft, dadurch gekennzeichnet, dass die Heftköpfe (28) ebenfalls mit der Bewegungsgeschwindigkeit der Erzeugnisse (20) entlang einer geschlossenen Bewegungsbahn (26) in einer Umlaufrichtung (U) umlaufen und sich im Heftbereich (D) entlang eines langgestreckten Abschnittes ihrer Bewegungsbahn (26) mit den Erzeugnissen (20) mitbewegen und dass an der Bewegungsbahn (26) der Heftköpfe (28) eine stationäre Drahtabschnittspendeeinheit (30) angeordnet ist, die an die an ihr vorbeilaufenden Heftköpfe (28) jeweils einen Drahtabschnitt (38) abgibt, der sich im wesentlichen rechtwinklig zur Umlaufrichtung (U') der Heftköpfe (28) erstreckt.
  2. Vorrichtung nach Anspruch 1, dadurch gekennzeichnet, dass die Drahtabschnittspendeeinheit (30) ausserhalb des Heftbereiches (D) angeordnet ist.
  3. Vorrichtung nach Anspruch 1, dadurch gekennzeichnet, dass die Heftkopfanordnung (24) von der Förderanordnung (10, 14) getrennt ist.
  4. Vorrichtung nach Anspruch 1, dadurch gekennzeichnet, dass die Auflagen (14) um eine gemeinsame, im wesentlichen in horizontaler Richtung verlaufende Umlaufachse (12) umlaufen.
  5. Vorrichtung nach Anspruch 4, dadurch gekennzeichnet, dass die Bewegungsbahn (26) der Heftköpfe (28) um die Umlaufbahn der Auflagen (14) herum verläuft.
  6. Vorrichtung nach Anspruch 1, dadurch gekennzeichnet, dass im Heftbereich (D) die Bewegungsbahn (26) der Heftköpfe (28) und die Bewegungsbahn der Auflagen (14) im wesentlichen geradlinig verläuft.
  7. Vorrichtung nach Anspruch 6, dadurch gekennzeichnet, dass die Drahtabschnittspendeeinheit (30) auf der Innenseite der geschlossenen Bewegungsbahn (26) der Heftköpfe (28) angeordnet ist.
  8. Vorrichtung nach Anspruch 1, gekennzeichnet durch eine zweite Heftkopfanordnung (24) mit zugeordneter zweiter Klammerschliessanordnung (114, 206), wobei die Heftköpfe (28) der beiden Heftkopfanordnungen (24) sich entlang zueinander parallel verlaufender Bewegungsbahnen (26) bewegen.
  9. Vorrichtung nach Anspruch 8, dadurch gekennzeichnet, dass jeder Heftkopfanordnung (24) eine eigene Drahtabschnittspendeeinheit (30) zugeordnet ist.
  10. Vorrichtung nach Anspruch 1, dadurch gekennzeichnet, dass die Drahtabschnittspendeeinheit (30) gerade Drahtabschnitte (38) an die Heftköpfe (28) abgibt, und dass diese geraden Drahtabschnitte (38) während ihres Transportes zum Heftbereich (D) U-förmig gebogen werden.
EP91119133A 1989-05-25 1990-05-12 Vorrichtung zum Drahtheften von mehrteiligen Druckereierzeugnissen Expired - Lifetime EP0476718B2 (de)

Applications Claiming Priority (4)

Application Number Priority Date Filing Date Title
CH1964/89 1989-05-25
CH196489 1989-05-25
CH196489 1989-05-25
EP90108961A EP0399317B1 (de) 1989-05-25 1990-05-12 Einrichtung zum Sammeln und Heften von gefalteten Druckbogen

Related Parent Applications (3)

Application Number Title Priority Date Filing Date
EP90108961A Division EP0399317B1 (de) 1989-05-25 1990-05-12 Einrichtung zum Sammeln und Heften von gefalteten Druckbogen
EP90108961A Division-Into EP0399317B1 (de) 1989-05-25 1990-05-12 Einrichtung zum Sammeln und Heften von gefalteten Druckbogen
EP90108961.5 Division 1990-05-12

Publications (3)

Publication Number Publication Date
EP0476718A1 EP0476718A1 (de) 1992-03-25
EP0476718B1 EP0476718B1 (de) 1994-01-05
EP0476718B2 true EP0476718B2 (de) 2001-05-09

Family

ID=4222731

Family Applications (3)

Application Number Title Priority Date Filing Date
EP93107489A Expired - Lifetime EP0569887B1 (de) 1989-05-25 1990-05-12 Einrichtung zum Sammeln und Heften von gefalteten Druckereiprodukten
EP91119133A Expired - Lifetime EP0476718B2 (de) 1989-05-25 1990-05-12 Vorrichtung zum Drahtheften von mehrteiligen Druckereierzeugnissen
EP90108961A Expired - Lifetime EP0399317B1 (de) 1989-05-25 1990-05-12 Einrichtung zum Sammeln und Heften von gefalteten Druckbogen

Family Applications Before (1)

Application Number Title Priority Date Filing Date
EP93107489A Expired - Lifetime EP0569887B1 (de) 1989-05-25 1990-05-12 Einrichtung zum Sammeln und Heften von gefalteten Druckereiprodukten

Family Applications After (1)

Application Number Title Priority Date Filing Date
EP90108961A Expired - Lifetime EP0399317B1 (de) 1989-05-25 1990-05-12 Einrichtung zum Sammeln und Heften von gefalteten Druckbogen

Country Status (10)

Country Link
EP (3) EP0569887B1 (de)
JP (2) JP2652077B2 (de)
AT (1) ATE126130T1 (de)
AU (1) AU622556B2 (de)
CA (1) CA2017443C (de)
DD (1) DD294677A5 (de)
DE (3) DE59004157D1 (de)
ES (2) ES2047193T3 (de)
FI (1) FI98352C (de)
RU (2) RU2057029C1 (de)

Families Citing this family (22)

* Cited by examiner, † Cited by third party
Publication number Priority date Publication date Assignee Title
ES2042139T3 (es) * 1989-05-25 1993-12-01 Ferag Ag Aparato encuadernador.
EP0473902B1 (de) * 1990-08-06 1995-10-11 Ferag AG Vorrichtung zum Drahtheften von mehrteiligen Druckereierzeugnissen
EP0546326B1 (de) * 1991-12-13 1995-09-20 Ferag AG Vorrichtung zum Drahtheften von mehrteiligen Druckereierzeugnissen
JP3415645B2 (ja) * 1992-04-14 2003-06-09 グラプハ−ホルディング・アクチエンゲゼルシヤフト 折り目をつけられたシート状印刷物を集めて綴じるための装置
CH686078A5 (de) * 1992-11-30 1995-12-29 Grapha Holding Ag Vorrichtung zum Heften von auf sich folgenden Auflagen einer umlaufenden Fordereinrichtung rittlings ubereinander abgelegten, bogenartigen Druckprodukten.
DE59305872D1 (de) * 1993-01-11 1997-04-24 Ferag Ag Sammelhefter für aus gefalteten Druckbogen bestehende Druckprodukte
SE506107C2 (sv) * 1993-02-18 1997-11-10 Tolerans Ingol Sweden Ab Rotationshäftmaskin
US5570832A (en) * 1993-06-21 1996-11-05 Grafa-Holding Ag Apparatus for stapling sequential printed sheets positioned straddled one above the other
DE59405899D1 (de) * 1993-12-21 1998-06-10 Grapha Holding Ag Verfahren zur Beschickung von zu Druckprodukten gesammelten, mehrblättrigen Druckbogen mit Beilagen
DE59403252D1 (de) * 1994-01-10 1997-08-07 Ferag Ag Vorrichtung zum Klebheften von Druckereierzeugnissen
ES2115991T3 (es) * 1994-03-25 1998-07-01 Ferag Ag Instalacion para la union por encolado de productos de imprenta.
ES2105813T3 (es) 1994-07-06 1997-10-16 Ferag Ag Dispositivo para coser con grapas productos impresos.
WO1996036492A1 (de) * 1995-05-20 1996-11-21 Koenig & Bauer-Albert Ag Heftvorrichtung
RU2185290C2 (ru) * 1997-05-07 2002-07-20 Фераг Аг Устройство для сшивания в продольном направлении состоящих из многих частей типографских изделий
DE50113969D1 (de) * 2001-03-29 2008-06-26 Grapha Holding Ag Einrichtung zum Heften des Rückens mit Klammern, von aus gefalzten Druckbogen gebildeten Druckerzeugnissen
ATE335697T1 (de) * 2001-06-28 2006-09-15 Grapha Holding Ag Verfahren zur herstellung eines aus mehreren druckprodukten bestehendes geheftetes druckerzeugnis und vorrichtung zur durchführung des verfahrens.
US6969342B2 (en) * 2002-02-28 2005-11-29 Hewlett-Packard Development Company, L.P. System for handling folded sheet material
US7033123B2 (en) * 2002-02-28 2006-04-25 Hewlett-Packard Development Company, L.P. Booklet maker
US6981830B2 (en) * 2002-02-28 2006-01-03 Hewlett-Packard Development Company, L.P. Pivotable collecting device
US7581724B2 (en) 2002-11-09 2009-09-01 Ferag Ag Device for collecting and processing folded printed products
CA2573175A1 (en) 2006-01-13 2007-07-13 Ferag Ag Method and installation for processing printed products during conveyance
CN113442435B (zh) * 2021-06-28 2023-05-30 上海轮廓科技有限公司 材料馈送机构、多料单元及3d打印系统

Family Cites Families (13)

* Cited by examiner, † Cited by third party
Publication number Priority date Publication date Assignee Title
GB740079A (en) * 1952-01-08 1955-11-09 Crabtree & Sons Ltd R Improvements in stapling mechanism
US2966681A (en) * 1957-10-09 1961-01-03 Lee R Campbell Feeding mechanism for fastener driving devices
CH459145A (de) * 1968-01-23 1968-07-15 Leipziger Buchbindereimaschine Sammeldrahtheftmaschine
JPS565680B2 (de) * 1972-05-04 1981-02-06
DD138525A1 (de) * 1978-09-04 1979-11-07 Winfried Boettcher Einrichtung zum einstechen von fadenklammern in falzbogen
US4315588A (en) * 1980-01-21 1982-02-16 Faltin Hans G High speed on-line stitcher for signatures and webs
EP0095603B1 (de) * 1982-06-01 1986-03-12 Ferag AG Einrichtung zum Sammeln von gefalteten Druckbogen
US4478398A (en) * 1982-07-16 1984-10-23 Stobb, Inc. System for routing a signature for stitching using a lift finger
JPS60240497A (ja) * 1984-05-16 1985-11-29 凸版印刷株式会社 製本針金綴不良検査装置
CH667621A5 (de) * 1985-06-04 1988-10-31 Grapha Holding Ag Sammelhefter.
IT1185103B (it) * 1985-06-14 1987-11-04 Cerutti Spa Off Mec Cucitrice perfezionata per seganture
US4792077A (en) * 1987-04-27 1988-12-20 Custom-Bilt Machinery, Inc. Apparatus for stapling and creasing paper articles in transit
ES2042139T3 (es) * 1989-05-25 1993-12-01 Ferag Ag Aparato encuadernador.

Also Published As

Publication number Publication date
EP0476718A1 (de) 1992-03-25
EP0476718B1 (de) 1994-01-05
FI98352B (fi) 1997-02-28
CA2017443A1 (en) 1990-11-25
DD294677A5 (de) 1991-10-10
FI98352C (fi) 1997-06-10
RU2071919C1 (ru) 1997-01-20
AU5590790A (en) 1990-11-29
DE59004157D1 (de) 1994-02-17
CA2017443C (en) 2000-08-22
EP0569887A1 (de) 1993-11-18
ES2076816T3 (es) 1995-11-01
FI902605A0 (fi) 1990-05-24
EP0569887B1 (de) 1995-08-09
JPH0752578A (ja) 1995-02-28
DE59003842D1 (de) 1994-01-27
JP2646191B2 (ja) 1997-08-25
DE59009519D1 (de) 1995-09-14
AU622556B2 (en) 1992-04-09
RU2057029C1 (ru) 1996-03-27
EP0399317A1 (de) 1990-11-28
ES2047193T3 (es) 1994-02-16
JPH0321497A (ja) 1991-01-30
ATE126130T1 (de) 1995-08-15
JP2652077B2 (ja) 1997-09-10
EP0399317B1 (de) 1993-12-15

Similar Documents

Publication Publication Date Title
EP0476718B2 (de) Vorrichtung zum Drahtheften von mehrteiligen Druckereierzeugnissen
EP0341425B1 (de) Einrichtung zum Sammeln von gefalzten Druckbogen
EP0399322B1 (de) Heftapparat
EP0675005B1 (de) Einrichtung zum Klebebinden von Druckereiprodukten
EP0623542A1 (de) Einrichtung zur Bildung eines sich senkrecht zu den stehend aneinandergereihten Druckbogen erstreckenden Stapels
EP0473902B1 (de) Vorrichtung zum Drahtheften von mehrteiligen Druckereierzeugnissen
EP0366038B1 (de) Einrichtung zum zickzackförmigen Falten und Stapeln einer Materialbahn
EP0510525B1 (de) Verfahren und Einrichtung zum Verarbeiten von Druckereiprodukten
EP0336062B1 (de) Einsteckmaschine
EP0712736B1 (de) Verfahren zur Herstellung von klebegebundenen Büchern, Broschuren oder dgl. Produkten
EP0418529A2 (de) Vorrichtung für den dreiseitigen Beschnitt von Druckexemplaren
EP0872443B1 (de) Vorrichtung zur Bildung eines sich senkrecht zu den stehend aneinandergereihten Druckbogen erstreckenden Teilstapels
EP1943173B1 (de) Verfahren und vorrichtung zum umlagern von flächigen erzeugnissen von einem erzeugnisstapel auf ein förderband
DE1561141B2 (de) Vorrichtung zum einfuehren von beilagen in gefaltete druckerzeugnisse
DE2434360A1 (de) Vorrichtung zum stapeln loser papierboegen
EP0699611B1 (de) Fördereinrichtung zum Zubringen von flächigen Druckereiprodukten zu einer Verarbeitungsmaschine
DE3205463A1 (de) Einrichtung und verfahren zur durchlaufhandhabung von blattfoermigen gegenstaenden
EP1274639B1 (de) Vorrichtung zum transportieren von flächigen gegenständen
EP0662440A1 (de) Vorrichtung zum Klebheften von Druckereierzeugnissen
EP1957287B1 (de) Sammelhefter
EP1348571B1 (de) Vorrichtung zum Binden von aufeinander gestapelten Flachteilen
EP0301244A1 (de) Vorrichtung zum Einbringen wenigstens einer Einlage in Druckprodukte
EP0810174A2 (de) Vorrichtung zum vertikalen Stapeln von Druckprodukten
DE1561141C3 (de) Vorrichtung zum Einführen von Beilagen in gefaltete Druckerzeugnisse
DE19725607A1 (de) Vorrichtung zur Herstellung von heftartigen Produkten

Legal Events

Date Code Title Description
PUAI Public reference made under article 153(3) epc to a published international application that has entered the european phase

Free format text: ORIGINAL CODE: 0009012

AC Divisional application: reference to earlier application

Ref document number: 399317

Country of ref document: EP

AK Designated contracting states

Kind code of ref document: A1

Designated state(s): CH DE GB IT LI SE

17P Request for examination filed

Effective date: 19920206

17Q First examination report despatched

Effective date: 19920824

GRAA (expected) grant

Free format text: ORIGINAL CODE: 0009210

AC Divisional application: reference to earlier application

Ref document number: 399317

Country of ref document: EP

AK Designated contracting states

Kind code of ref document: B1

Designated state(s): CH DE GB IT LI SE

GBT Gb: translation of ep patent filed (gb section 77(6)(a)/1977)

Effective date: 19940119

REF Corresponds to:

Ref document number: 59004157

Country of ref document: DE

Date of ref document: 19940217

PLBI Opposition filed

Free format text: ORIGINAL CODE: 0009260

ITF It: translation for a ep patent filed
26 Opposition filed

Opponent name: GRAPHA-HOLDING AG

Effective date: 19940321

EAL Se: european patent in force in sweden

Ref document number: 91119133.6

PLAW Interlocutory decision in opposition

Free format text: ORIGINAL CODE: EPIDOS IDOP

APAE Appeal reference modified

Free format text: ORIGINAL CODE: EPIDOS REFNO

APAC Appeal dossier modified

Free format text: ORIGINAL CODE: EPIDOS NOAPO

APAC Appeal dossier modified

Free format text: ORIGINAL CODE: EPIDOS NOAPO

APAC Appeal dossier modified

Free format text: ORIGINAL CODE: EPIDOS NOAPO

PLAW Interlocutory decision in opposition

Free format text: ORIGINAL CODE: EPIDOS IDOP

PUAH Patent maintained in amended form

Free format text: ORIGINAL CODE: 0009272

STAA Information on the status of an ep patent application or granted ep patent

Free format text: STATUS: PATENT MAINTAINED AS AMENDED

27A Patent maintained in amended form

Effective date: 20010509

AK Designated contracting states

Kind code of ref document: B2

Designated state(s): CH DE GB IT LI SE

ITF It: translation for a ep patent filed
REG Reference to a national code

Ref country code: CH

Ref legal event code: AEN

Free format text: AUFRECHTERHALTUNG DES PATENTES IN GEAENDERTER FORM

GBTA Gb: translation of amended ep patent filed (gb section 77(6)(b)/1977)
EN Fr: translation not filed
REG Reference to a national code

Ref country code: GB

Ref legal event code: IF02

REG Reference to a national code

Ref country code: CH

Ref legal event code: PFA

Owner name: FERAG AG

Free format text: FERAG AG#ZUERICHSTRASSE 74#8340 HINWIL (CH) -TRANSFER TO- FERAG AG#PATENTABTEILUNG Z. H. MARKUS FELIX ZUERICHSTRASSE 74#8340 HINWIL (CH)

APAH Appeal reference modified

Free format text: ORIGINAL CODE: EPIDOSCREFNO

PGFP Annual fee paid to national office [announced via postgrant information from national office to epo]

Ref country code: CH

Payment date: 20080521

Year of fee payment: 19

Ref country code: DE

Payment date: 20080523

Year of fee payment: 19

PGFP Annual fee paid to national office [announced via postgrant information from national office to epo]

Ref country code: SE

Payment date: 20080513

Year of fee payment: 19

PGFP Annual fee paid to national office [announced via postgrant information from national office to epo]

Ref country code: IT

Payment date: 20080527

Year of fee payment: 19

PGFP Annual fee paid to national office [announced via postgrant information from national office to epo]

Ref country code: GB

Payment date: 20080522

Year of fee payment: 19

REG Reference to a national code

Ref country code: CH

Ref legal event code: PL

GBPC Gb: european patent ceased through non-payment of renewal fee

Effective date: 20090512

PG25 Lapsed in a contracting state [announced via postgrant information from national office to epo]

Ref country code: CH

Free format text: LAPSE BECAUSE OF NON-PAYMENT OF DUE FEES

Effective date: 20090531

Ref country code: LI

Free format text: LAPSE BECAUSE OF NON-PAYMENT OF DUE FEES

Effective date: 20090531

PG25 Lapsed in a contracting state [announced via postgrant information from national office to epo]

Ref country code: GB

Free format text: LAPSE BECAUSE OF NON-PAYMENT OF DUE FEES

Effective date: 20090512

PG25 Lapsed in a contracting state [announced via postgrant information from national office to epo]

Ref country code: DE

Free format text: LAPSE BECAUSE OF NON-PAYMENT OF DUE FEES

Effective date: 20091201

PG25 Lapsed in a contracting state [announced via postgrant information from national office to epo]

Ref country code: IT

Free format text: LAPSE BECAUSE OF NON-PAYMENT OF DUE FEES

Effective date: 20090512

PG25 Lapsed in a contracting state [announced via postgrant information from national office to epo]

Ref country code: SE

Free format text: LAPSE BECAUSE OF NON-PAYMENT OF DUE FEES

Effective date: 20090513