EP0330067A2 - Adressiervorrichtung für Produkte, insbesondere für Falzprodukte - Google Patents

Adressiervorrichtung für Produkte, insbesondere für Falzprodukte Download PDF

Info

Publication number
EP0330067A2
EP0330067A2 EP89102621A EP89102621A EP0330067A2 EP 0330067 A2 EP0330067 A2 EP 0330067A2 EP 89102621 A EP89102621 A EP 89102621A EP 89102621 A EP89102621 A EP 89102621A EP 0330067 A2 EP0330067 A2 EP 0330067A2
Authority
EP
European Patent Office
Prior art keywords
address
products
addressing device
memory
carrier
Prior art date
Legal status (The legal status is an assumption and is not a legal conclusion. Google has not performed a legal analysis and makes no representation as to the accuracy of the status listed.)
Granted
Application number
EP89102621A
Other languages
English (en)
French (fr)
Other versions
EP0330067B1 (de
EP0330067A3 (en
Inventor
Godber Petersen
Current Assignee (The listed assignees may be inaccurate. Google has not performed a legal analysis and makes no representation or warranty as to the accuracy of the list.)
Manroland AG
Original Assignee
MAN Roland Druckmaschinen AG
Priority date (The priority date is an assumption and is not a legal conclusion. Google has not performed a legal analysis and makes no representation as to the accuracy of the date listed.)
Filing date
Publication date
Application filed by MAN Roland Druckmaschinen AG filed Critical MAN Roland Druckmaschinen AG
Publication of EP0330067A2 publication Critical patent/EP0330067A2/de
Publication of EP0330067A3 publication Critical patent/EP0330067A3/de
Application granted granted Critical
Publication of EP0330067B1 publication Critical patent/EP0330067B1/de
Anticipated expiration legal-status Critical
Expired - Lifetime legal-status Critical Current

Links

Images

Classifications

    • BPERFORMING OPERATIONS; TRANSPORTING
    • B65CONVEYING; PACKING; STORING; HANDLING THIN OR FILAMENTARY MATERIAL
    • B65HHANDLING THIN OR FILAMENTARY MATERIAL, e.g. SHEETS, WEBS, CABLES
    • B65H43/00Use of control, checking, or safety devices, e.g. automatic devices comprising an element for sensing a variable
    • BPERFORMING OPERATIONS; TRANSPORTING
    • B65CONVEYING; PACKING; STORING; HANDLING THIN OR FILAMENTARY MATERIAL
    • B65HHANDLING THIN OR FILAMENTARY MATERIAL, e.g. SHEETS, WEBS, CABLES
    • B65H39/00Associating, collating, or gathering articles or webs
    • B65H39/02Associating,collating or gathering articles from several sources

Definitions

  • the invention relates to an addressing device for products, in particular for sheet-shaped folded products.
  • Folded products for example newspapers produced in rotary printing machines and optionally provided with inserts, are fed in a conventional manner to a clock-shaped addressing device and, for example, with selective printers, e.g. B. addressed dot matrix printers.
  • selective printers e.g. B. addressed dot matrix printers.
  • the object of the invention is to provide a freely selectable product quantity, in particular folded or printed products, with the individual addresses assigned to the individual products in the shortest possible time, without a reading and / or printing process having to take place in the addressing device.
  • This object is achieved by applying the features of the characterizing part of claim 1. Further developments of the invention result from the subclaims and from the description in conjunction with the drawings.
  • the addressing device With the addressing device according to the invention, it is possible, for example with the help of a computer, to produce address carriers independently and at any time, it being possible for the addresses and the address sequence to be checked and corrected without any problems, since the address production is independent of the production of the products to be addressed is feasible. Furthermore, the addressing device according to the invention also enables storage of print products to be addressed, to which various inserts can previously be fed in a selectable order. By assigning or selecting a specific product quantity to a specific address carrier, according to the invention, individual addresses can be applied to specific locations of the printed products, such as newspapers, in the shortest possible time. The production of an "individual newspaper" is thus advantageously possible.
  • an address path 1 is shown, the z. B. can be printed with the aid of a conventional computer system, the individual addresses, for example the addresses of newspaper subscribers, being placed in address fields 2.
  • the individual addresses for example the addresses of newspaper subscribers
  • a plurality of address carriers in the form of address strips 6 can be generated, on which the individual addresses are then successively in a manner, for example, by distribution conditions given order are placed.
  • the address strips 6 are cut, the web 1 is transported in the direction of the arrow 7.
  • the cut address strips 6 reach a roll 10 via a ribbon line 8, which is guided around ribbon rolls 9.
  • the addresses are on the underside of the print carrier 6, as indicated by A in FIG.
  • the roller 10 is rotatably mounted on a pin 12 fixedly connected to a support disk 11.
  • a receiving tongue 13 is provided on the circumference of the roller 10.
  • FIGS. 2 and 3 show the receiving position of the roller 10, FIG. 3 showing a view in the direction of the arrow B in FIG. 2.
  • the still empty roller 10 is locked by a leaf spring 15 which engages in a groove 16, as shown in the receiving position shown in FIG.
  • the resilient tongue 13 resting against the roller 10 is raised by an electromagnet 17 for inserting a beginning of the address strip 6, with guide tongues 18 which can be swiveled in laterally taking over the guidance of the address strip 6. If the beginning of the address strip 6 is under the tongue 13, the Feed of the address strip 6 stopped and the electromagnet 17 drops off, so that the tongue 13 clamps the beginning of the address strip.
  • a drive motor 21 arranged on a rocker arm 20 with a drive wheel 22 arranged on a stub shaft 14 can now drive the roller body 10, since the drive wheel 22 can be pressed against the roller 10 by means of a spring 23. If the drive motor 21 rotates in the direction of the arrow 24 and at the same time the address web 1 and the address strip 6 are advanced, address strips 6 can be wound on the reel 10 when the ribbon cable 8 is driven. If a certain marking present on the address strip 6 is detected by a scanning head 25, the winding-up process is terminated, and glue can preferably be sprayed on from below from a nozzle 26 on the last piece of the address strip 6.
  • a coding carrier 27 is removed from a memory, also not shown, and brought from the side under the address strip 6, as can be seen from FIG.
  • the address strip 6 is separated on a cutting bar 29 and with slow feed in the direction of arrow 7, by means of the motor 21, the coding strip 27 is placed under the end of the strip and the end of the strip with the aid of a spring-loaded soft rubber roller 30 to the address roller 31, which is now fully wound glued on.
  • the roller 10 is then locked by the leaf spring 15 so that the coding carrier 27 points exactly to the outside.
  • FIG. 6 shows the fully wound and secured address roll with a coding carrier 27, which can be identified in a known manner via a coding head 33.
  • Fig. 7 shows an overview of the rewinder.
  • the address web 1 is preferably unwound from a winding roll 34, the address fields 2 having to be on the underside of the web marked A, so that they are also on the inside when being wound onto the roll 10.
  • the support disk 11 receives a large number of address rollers 31 on its circumference. After each winding process, it continues to move in the direction of arrow 35.
  • a multiple arrangement of support disks 11 can, as shown in FIG. 7, simultaneously wind up a larger number of address strips 6 cut in parallel. The completely filled support disks 11 can now be brought into the addressing system if required.
  • FIG. 8 to 12 show the unwinding process in the addressing system.
  • the coding carriers 27 are guided past the coding reader 37.
  • the support plate 11 is locked.
  • a pick-up gripper 38 which is fastened to a piston rod of a pneumatic piston 39, moves to take up the coding carrier 27 into the position 38 '.
  • the coding carrier 27 is wider for this purpose than the address strip 6, as can be seen from FIG. 12.
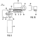
  • FIGS. 9 and 10 show the pick-up gripper 38 in an enlarged view, with FIG. 10 showing a side view in the direction of arrow D in FIG. 9.
  • the glued end of the address strip 6 is cut off directly on the coding carrier 27 by a rapid upward movement of the knife 41.
  • a transport gripper 42 which is fastened to a transport chain 43, is moved into the position shown in FIG. 8.
  • the electromagnet 44 opens the transport gripper 42, as shown in FIG. 9 in detail, by pressing a pin 45 upwards against a spring 46.
  • the transport chain 43 is supported in a chain guide 47.
  • As shown in Fig. 12 unlocks an electromagnet 48 now the roller 10 by pulling the leaf spring 15 from the groove 16 into the position 15 '.
  • the pneumatic piston 39 moves the gripper 38 attached to it into the position 38 ⁇ shown in FIG. 8, taking the coding carrier 27 and thus the address strip 6 glued to it.
  • the pick-up gripper 38 moves through the opened transport gripper 42, as can be seen in FIG. 9.
  • the address strip 6 is kept taut by a brake tongue 50, which is mounted on a holder 49 in a stationary manner, pressing against a roller 10.
  • the transport gripper 42 closes and thereby clamps the address strip 6.
  • a knife 51 separates the protruding strip from a base 52 on the coding carrier side, the pneumatic cylinder 39 and thus the pick-up gripper 38 pivot into the position 38 'or 38' shown in FIG. 8.
  • the chain can now pull the address strip 6 into the actual addressing device in a rapid feed movement.
  • FIGS. 13 and 14 enable the further operation of the addressing device, with FIG. 14 representing a view in the direction of arrow E in FIG. 13.
  • the multiple addressing process is most sensibly carried out subsequently in a plug-in process, as described in the prior art mentioned at the beginning.
  • support structures 54, 55 are described which can be pulled out of storage cassettes 56, 57 and contain sheet-shaped products 58, 59, in particular folded products, lying one above the other.
  • the upper products of the upper support structures 54 are removed in a plug-in operation and inserted into the products 59 which are open in the lower support structure 55.
  • These products 59 which are located at a uniform distance from one another in the lower carrier structure 55, are all addressed simultaneously in the manner described below.
  • a brake tongue 50 keeps the address strip 6 taut, while glue is preferably wound onto the adhesive side of the address strip 6 from a glue nozzle 67. After unwinding, the entire length of the address strip 6 lies taut under the support structures 55, as indicated in FIGS. 13 and 15.
  • a vacuum is generated in ducts 62 of the toothed belt carrier 63 via pipes 60 and hoses 61. 16, a toothed belt 64 contains small bores 65 in partial areas, via which the vacuum sucks the address strip 6 and pulls it onto a cutting plate 66.
  • Fig. 15 shows the addressing device in an enlarged detail of Fig. 14.
  • the cutting knife 68 mounted on a spindle 40 pivot down from position 68 'and use the cutting plate 66 to split the address strip 6 into individual address stickers 69.
  • FIG. 19 shows a top view of the embodiment according to FIG. 15, according to which the attachment of the knives 68 to levers 70 on the spindle 40 and the attachment of the cutting plates 66 to supports 71 is shown.
  • the very thin knives 68 are made of hardened steel strip and are warped and pressed under axial pressure against the cutting plates 66 in order to obtain a perfect scissor-shaped cut for severing the address strips 6.
  • the remaining strip, from the unwound roll 10 to the first cut, is fed to the waste by a gripper mechanism, not shown here, after the receiving tongue 13 on the roll 10 has released the strip by lifting it with the aid of the electromagnet 102.
  • the leaf spring 15 engages the roller 10 again in the starting position (FIG. 12).
  • the vacuum now pulls the front ends of the address labels 69 at the interfaces onto the toothed belt 64 and holds them there.
  • the copies 59 to be addressed are in the position shown in FIG. 16 and are held by grippers 72 and 73 on a gripper bar 74, which in turn is fastened on arms 75.
  • FIG. 17 shows how the address labels 69, which are held by the vacuum on the toothed belt surfaces, are pulled into the starting position shown for the gluing.
  • the toothed belt 64 is driven by a toothed belt wheel 76 which is vertically movably mounted on a guide 77 which is guided in a housing 78.
  • the compression springs 79 which are supported on the plate 80 which is also mounted in the housing 78, keep the toothed belts 64 under tension.
  • the pressure rollers 81 are each pivotally mounted on a drive shaft 83 of the toothed belt wheel 76 via a lever 82. They are held together by a stop bar 84 (FIGS. 16 and 17) in the positions shown.
  • the toothed belt wheel 76 is driven via a drive shaft 83, elastic couplings 85 and 86 and an adjusting coupling 87 as well as shaft pieces 88 and 89 from a chain wheel 90 (FIG. 15), which in turn is driven centrally by a chain 91 for all labeling stations.
  • Figure 20 shows schematically the drive for sprockets 90, the chain 91 being guided by guides 92 around sprockets 90. The returning run of the chain 91 is received by a guide 93 (FIG. 15).
  • the grippers 72 and 73 use a drive 94 to pull each of the specimens 59 past the pressure rollers 81, which are kept apart by means of the stop bar 84, into the position 59 ', while the address label 69 is initially in the position position shown in Figure 17 remain.
  • the address label 69 and the copies 59 it is possible to exactly adhere to the adhesive location on the copies 59 or to choose freely.
  • FIG. 18 it is here the end of the copy 59 on which an address label 69 is to be applied.
  • the stop bar 84 releases the pressure rollers 81 by movement in the direction of the arrow 95, which thus presses the specimen 59 onto the toothed belt surface under the toothed belt tension generated by the spring 79.
  • the pressure rollers 81 thus act as counter bearings.
  • the grippers 72 and 73 now release the copy 59 and move to the positions 72 ⁇ and 73 ⁇ with the help of the drive 96.
  • the rails 97, 98 take over the support of the specimens 14. While these rails 97 and 99 now guide the specimens 59 by means of a uniform downward movement with the aid of the chains 99 and 100, the toothed belt, which is driven at the same speed, uses the pressure rollers 81 to glue the Address label 69 by, as shown in Fig. 18.
  • the parallel operation of the adhesive mechanisms means that any number of copies can be provided with addresses at the same time in one operation, which can save a great deal of time in connection with a previous insertion operation and with a subsequent packaging operation.
  • toothed belts or vacuum belts were described as holding devices. It goes without saying that other holding or clamping mechanisms can also be used in the context of the invention, for example mechanically or magnetically operating devices.
  • a magnetic address carrier can be used instead of the address strip 6 on which the addresses are printed.
  • the address strips are preferably only subdivided when they are held in sections by the individual holding and detection devices. In the context of the invention, however, it is also possible to detect selected, thus divided address carriers, for example by means of suction devices, and to position them on the products to be addressed, so that the predetermined order of the products to be addressed matches the order of addresses.
  • FIG. 21 shows schematically how a control device 103 selects an address strip 6 on which two addresses are present in a predetermined order in address fields, corresponding to the products 59 to be addressed that are present in a specific memory cassette 57 and which are in the same order in FIG of the memory cassette 57 are positioned, like the addresses on the address strip 6.
  • the address strip 6 is fed in via the transport chain 43.
  • the address fields 2 are applied according to the previous division the products 59 to be addressed, after which the products 59 are guided into a take-off point 104 by means of tongues 101.
  • the control unit 103 thus creates an association between certain address carriers 6 and certain groups of products 59 to be addressed.

Landscapes

  • Collation Of Sheets And Webs (AREA)
  • Labeling Devices (AREA)

Abstract

Durch eine Steuereinheit 103 werden Adressenträger 6 in Form von zu einer Adressenrolle 31 aufgewickelten Streifen ausgewählt und über einen Transportweg 43 für die Adressierung zur Verfügung gestellt. Die dem ausgewählten Adressenträger 6 zugeordneten in einen Speicher 57 befindlichen Produkte 59, vorzugsweise Falzprodukte, werden ebenfalls ausgewählt und der Adressierungsstation zugeleitet. In dieser werden die Adressen nach Erfassen durch Haltevorrichtungen 64 gleichzeitig aufgebracht, wonach die adressierten Produkte 59 über Zungen 101 einer Abnahmestelle 104 zuführbar sind.

Description

  • Die Erfindung betrifft eine Adressiervorrichtung für Produkte, insbesondere für bogenförmige Falzprodukte. Falzprodukte, beispielsweise in Rotationsdruckmaschinen hergestellte und gegebenenfalls mit Beilagen versehene Zeitungen, werden in herkömmlicher Weise einer taktförmigen Adressiervorrichtung zugeführt und beispielsweise mit selektiven Druckern, z. B. Nadeldruckern adressiert. Es versteht sich, daß zum einen hierfür viel Zeit benötigt wird und zum anderen Probleme auftreten, wenn beim angelieferten Produktstrom Fehler auftreten, beispielsweise in der Reihenfolge vertauschte Produkte, beschädigte oder fehlende Produkte. Das gleiche gilt, wenn die Adresse fehlerbehaftet ist oder wenn beim Aufdrucken Fehler entstehen. Unter Umständen wird dadurch eine größere Menge von Produkten unbrauchbar und es entstehen erhebliche Verzögerungen in der Produktion.
  • Aufgabe der Erfindung ist es, eine frei wählbare Produktmenge, insbesondere Falz- bzw. Druckprodukte, in kürzester Zeit mit den einzelnen Produkten zugeordneten individuellen Adressen zu versehen, ohne daß in der Adressiervorrichtung ein Lese- und/oder Druckvorgang erfolgen muß. Diese Aufgabe wird durch die Anwendung der Merkmale des kennzeichnenden Teil des Anspruch 1 gelöst. Weiterbildungen der Erfindung ergeben sich aus den Unteransprüchen und aus der Beschreibung in Verbindung mit den Zeichnungen.
  • Mit der erfindungsgemäßen Adressiervorrichtung ist es möglich, beispielsweise mit Hilfe eines Computers unabhängig und zu einem beliebigen Zeitpunkt Adressenträger herzustellen, wobei eine Prüfung und Korrektur der Adressen und der Adressenfolge ohne weiteres erfolgen kann, da die Adressenherstellung unabhängig von der Produktion der zu adressierenden Produkte durchführbar ist. Des weiteren ermöglicht die erfindungsgemäße Adressiervorrichtung auch eine Abspeicherung von zu adressierenden Druckprodukten, denen zuvor verschiedene Beilagen in wählbarer Reihenfolge zuführbar sind. Durch Zuordnung beziehungsweise Auswahl einer bestimmten Produktmenge zu einem bestimmten Adressenträger können gemäß der Erfindung in kürzester Zeit auf bestimmten Stellen der Druckprodukte, wie beispielsweise Zeitungen, individuelle Adressen aufgebracht werden. Somit ist die Herstellung einer "individuellen Zeitung" in vorteilhafter Weise möglich. Sind beispielsweise in einer Kassette in Speicherstrukturen, wie sie aus den DE-Patenten 36 21 832, 3 621 834 und 36 44 423 bekannt sind, nebeneinander Zeitungen mit verschiedenen Einlagen positioniert, die bestimmten Zeitungsabonnenten zugesendet werden müssen, so kann gemäß der Erfindung ein derartiger Speicher gleichzeitig nach Auswahl und Bereitstellung des zugeordneten Adressenträgers adressiert werden. Da auch bei der Adressierung eine Oberprüfung der in den Speichern befindlichen Produkte hinsichtlich Vollständigkeit und richtiger Reihenfolge möglich ist, ergeben sich unter Anwendung der erfindungsgemäßen Merkmale eine quasi fehlerfreie Adressierung.
  • Im folgenden wird die Erfindung anhand eines Ausführungsbeispieles im einzelnen beschrieben, wobei Bezug auf die beiliegenden Zeichnungen genommen wird:
    • Fig. 1 eine Draufsicht auf eine Adressenbahn,
    • Fig. 2 bis 7 eine Vorrichtung zum Aufwickeln von Adressenstreifen in verschiedenen Ansichten,
    • Fig. 8 bis 12 eine Vorrichtung zum Abwickeln von Adressenstreifen in verschiedenen Ansichten,
    • Fig. 13 und 14 Ansichten auf die gesamte Adressiervorrichtung und
    • Fig. 15 bis 20 vergrößerte Ausschnitte der Fig. 13 und 14.
    • Fig. 21 Funktionsschema
  • In Fig. 1 ist eine Adressenbahn 1 dargestellt, die z. B. mit Hilfe einer herkömmlichen EDV-Anlage bedruckbar ist, wobei die einzelnen Adressen, beispielsweise die Anschriften von Zeitungsabonnenten in Adressenfeldern 2 plaziert werden. Wie in Fig. 2 angedeutet ist, können mit Hilfe von Schneidmessern 3, 4 durch Längsschneiden entlang einer Trennlinie 5 aus der Adressenbahn 1 eine Vielzahl von Adressenträgern in Form von Adressenstreifen 6 erzeugt werden, auf denen dann hintereinander die einzelnen Adressen in einer durch beispielsweise Verteilerbedingungen vorgegebenen Reihenfolge plaziert sind. Bei der Zuschneidung der Adressenstreifen 6 wird die Bahn 1 in Richtung des Pfeiles 7 transportiert. Die zugeschnittenen Adressenstreifen 6 gelangen über eine Bandleitung 8, die um Bandrollen 9 geführt ist, zu einer Rolle 10. Dabei liegen die Adressen an der Unterseite der Druckträger 6, wie durch A in Figur 4 angedeutet ist.
  • Die Rolle 10 ist drehbar auf einem fest mit einer Tragscheibe 11 verbundenen Zapfen 12 gelagert. Am Umfang der Rolle 10 ist eine Aufnahmezunge 13 vorgesehen. In den Figuren 2 und 3 ist die Aufnahmeposition der Rolle 10 dargestellt, wobei Figur 3 eine Ansicht in Richtung des Pfeiles B der Figur 2 darstellt.
  • Die noch leere Rolle 10 wird durch eine die in eine Nut 16 eingreifende Blattfeder 15 arretiert, wie in der in Figur 2 gezeigten Aufnahmeposition dargestellt ist. Die federnd an der Rolle 10 anliegende Aufnahmezunge 13 wird zum Einführen eines Streifenanfangs des Adressenstreifens 6 von einem Elektromagneten 17 angehoben, wobei seitlich einschwenkbare Führungszungen 18 die Führung des Adressenstreifens 6 übernehmen. Wenn sich der Anfang des Adressenstreifens 6 unter der Zunge 13 befindet, wird der Vorschub des Adressenstreifens 6 gestoppt und der Elektromagnet 17 fällt ab, so daß die Zunge 13 den Anfang des Adressenstreifens festklemmt.
  • Anschließend wird die Blattfeder 15 durch Aktivierung eines Magneten 19 in die Position 15′ gebracht, wodurch die Nut 16 freigegeben wird. Nun kann ein auf einer Schwinge 20 angeordneter Antriebsmotor 21 mit einem auf einem Wellenstummel 14 angeordneten Antriebsrad 22 den Rollenkörper 10 antreiben, da mittels einer Feder 23 das Antriebsrad 22 gegen die Rolle 10 drückbar ist. Wenn sich der Antriebsmotor 21 in Richtung des Pfeiles 24 dreht und gleichzeitig ein Vorschub der Adressenbahn 1 und der Adressenstreifen 6 erfolgt, können Adressenstreifen 6 auf der Rolle 10 bei angetriebener Bandleitung 8 aufgespult werden. Wird durch einen Abtastkopf 25 eine bestimmte auf dem Adressenstreifen 6 vorhandene Markierung erfaßt, so wird der Aufwickelvorgang beendet, wobei auf dem letzten Stück des Adressenstreifens 6 von unten her aus einer Düse 26 bevorzugt Leim aufgesprüht werden kann. Mittels eines nicht dargestellten Greifers wird ein Codierungsträger 27 aus einem ebenfalls nicht dargestellten Speicher entnommen und von der Seite her unter den Adressenstreifen 6 gebracht, wie aus Figur 4 hervorgeht. Mit Messer 28 wird der Adressenstreifen 6 an einer Schneidleiste 29 getrennt und unter langsamem Vorschub in Richtung des Pfeiles 7, mittels des Motors 21 wird der Codierungsstreifen 27 unter das Streifenende und das Streifenende mit Hilfe einer federnd angedrückten Weichgummirolle 30 an die nun fertig aufgespulte Adressenrolle 31 angeklebt. Durch Abfallen des Magnetes 19 wird die Rolle 10 anschließend durch die Blattfeder 15 so arretiert, daß der Codierungsträger 27 genau nach außen zeigt. In Figur 5 ist dieser Vorgang in einer Ansicht in Richtung des Pfeiles C der Figur 4 dargestellt. Figur 6 zeigt die fertig aufgespulte und gesicherte Adressenrolle mit einem Codierungsträger 27, der über einen Codierkopf 33 in bekannter Weise gekennzeichnet werden kann.
  • Fig. 7 zeigt einen Überblick über die Aufwickelanlage. Die Adressenbahn 1 wird vor dem Längsschnitt vorzugsweise von einer Wickelrolle 34 abgespult, wobei sich die Adressenfelder 2 auf der mit A gekennzeichneten Bahnunterseite befinden müssen, sodaß sie beim Aufspulen auf die Rolle 10 ebenfalls innen liegen. Wie Fig. 7 des weiteren zeigt, nimmt die Tragscheibe 11 an ihrem Umfang eine große Anzahl von Adressenrollen 31 auf. Sie bewegt sich nach jedem Aufspulvorgang taktmäßig in Richtung des Pfeiles 35 weiter. Durch eine Mehrfachanordnung von Tragscheiben 11 kann, wie in Fig. 7 dargestellt, gleichzeitig eine größere Anzahl parallel geschnittener Adressenstreifen 6 aufgewickelt werden. Die vollständig gefüllten Tragscheiben 11 können nun bei Bedarf in die Adressieranlage gebracht werden.
  • Den Abwickelvorgang in der Adressieranlage zeigen die Fig. 8 - 12. Gemäß Fig. 8 wird durch Vor- und Zurückdrehen der Tragscheiben 11 im Sinne des Pfeiles 36 erreicht, daß die Codierungsträger 27 an dem Codierungsleser 37 vorbeigeführt werden. Nach Auswahl der passenden Adressenrollen 31 wird die Tragscheibe 11 arretiert. Ein Aufnahmegreifer 38, der an einer Kolbenstange eines Pneumatikkolbens 39 befestigt ist, fährt zur Aufnahme des Codierungsträgers 27 in die Position 38′. Der Codierungsträger 27 ist für diesen Zweck breiter als der Adreßstreifen 6, wie aus Fig. 12 hervorgeht.
  • Die Fig. 9 und 10 zeigen den Aufnahmegreifer 38 in vergrößerter Darstellung, wobei Fig. 10 eine seitliche Ansicht in Richtung des Pfeiles D der Fig. 9 widergibt. Durch eine schnelle Aufwärtsbewegung des Messers 41 wird das angeklebte Ende des Adressenstreifens 6 direkt am Codierungsträger 27 abgretrennt. Ein Transportgreifer 42, der an einer Transportkette 43 befestigt ist, wird in die in Fig. 8 gezeigte Stellung gefahren. Der Elektromagnet 44 öffnet in dieser Position den Transportgreifer 42, wie Fig. 9 im einzelnen zeigt, indem er einen Stift 45 gegen eine Feder 46 nach oben drückt. Die Transportkette 43 stützt sich dabei in einer Kettenführung 47 ab. Wie in Fig. 12 gezeigt, entriegelt ein Elektromagnet 48 nun die Rolle 10, indem er die Blattfeder 15 aus der Nut 16 in die Position 15′ zieht. Der Pneumatikkolben 39 fährt den auf ihm befestigten Greifer 38 in die in Fig. 8 gezeigte Position 38˝, wobei er den Codierungsträger 27 und damit den an ihm angeklebten Adressenstreifen 6 mitnimmt. Dabei fährt der Aufnahmegreifer 38 durch den geöffneten Transportgreifer 42 hindurch, wie aus Fig. 9 hervorgeht. Der Adressenstreifen 6 wird straff gehalten, indem eine auf einem Halter 49 ortsfest montierte Bremszunge 50 gegen eine Rolle 10 drückt. Durch Abfallen des Elektromagneten 10 schließt der Transportgreifer 42 und klemmt dabei den Adressenstreifen 6 ein. Ein Messer 51 trennt den überstehenden Streifen an einer Unterlage 52 auf der Codierungsträgerseite ab, der Pneumatikzylinder 39 und damit der Aufnahmegreifer 38 schwenken in die in Fig. 8 gezeigte Position 38′ bzw. 38‴. Nun kann die Kette den Adressenstreifen 6 in einer schnellen Vorschubbewegung in die eigentliche Adressiervorrichtung ziehen.
  • Die Fig. 13 und 14 ermöglichen die weitere Wirkungsweise der Adressiervorrichtung, wobei die Fig. 14 eine Ansicht in Richtung des Pfeiles E der Fig. 13 darstellt. Der Vielfach-­Adressiervorgang wird am sinnvollsten im Anschluß in einen Einsteckvorgang vorgenommen, wie er in dem eingangs erwähnten Stand der Technik beschrieben ist. In diesem sind, wie in den Fig. 13 und 14 dargestellt, Trägerstrukturen 54, 55 beschrieben, die aus Speicherkassetten 56, 57 herausziehbar sind und übereinanderliegend blattförmige Produkte 58, 59, insbesondere Falzprodukte enthalten. Wie in diesem Stand der Technik des weiteren beschrieben wurde, werden in einem Einsteckvorgang die oberen Produkte der oberen Trägerstrukturen 54 entnommen und in das in der unteren Trägerstruktur 55 geöffnet liegende Produkte 59 angesteckt. Diese in einem gleichmäßigem Abstand von einander sich in der unteren Trägerstruktur 55 befindlichen Produkte 59 werden so alle gleichzeitig in der nachfolgend beschriebenen Weise adressiert.
  • Die vorangehend beschriebenen schnellen Vorschubbewegungen der Transportkette 43 und damit das Abspulen des Adressenstreifens 6 erfolgen am sinnvollsten während der Auseinanderziehbewegung der Trägerstrukturen 54 bzw. 55 aus den Speicherkassetten 56 bzw. 57 heraus. Eine Bremszunge 50 hält dabei den Adressenstreifen 6 straff, während vorzugsweise aus einer Leimdüse 67 Leim oben auf die Klebeseite des Adressenstreifens 6 gespult wird. Nach dem Abspulen liegt der Adressenstreifen 6 in der ganzen Länge straff unter den Trägerstrukturen 55, wie in den Fig. 13 und 15 angedeutet. Über Rohrleitungen 60 und Schläuche 61 wird in Kanälen 62 des Zahnriementrägers 63 ein Vakuum erzeugt. Gemäß Fig. 16 enthält ein Zahnriemen 64 in Teilbereichen kleine Bohrungen 65, über die das Vakuum den Adressenstreifen 6 ansaugt und auf eine Schneidplatte 66 zieht.
  • Fig. 15 zeigt die Adressiervorrichtung in einem vergrößerten Ausschnitt der Fig. 14. Die auf einer Spindel 40 befestigten Schneidmesser 68 schwenken aus der Position 68′ nach unten und zerteilen mit Hilfe der Schneidplatte 66 den Adressenstreifen 6 in einzelne Adressenaufkleber 69.
  • Fig. 19 zeigt eine Draufsicht auf die Ausführung gemäß Fig. 15, wonach die Befestigung der Messer 68 an Hebeln 70 auf der Spindel 40 und die Befestigung der Schneidplatten 66 an Trägern 71 dargestellt ist. Die sehr dünnen Messer 68 bestehen aus gehärtetem Bandstahl und werden verwölbt und unter axialem Druck gegen die Schneidplatten 66 gepreßt, um einen einwandfreien scherenförmigen Schnitt für die Durchtrennung der Adressenstreifen 6 zu erhalten.
  • Der Reststreifen, von der abgespulten Rolle 10 bis zum ersten Schnitt wird von einem hier nicht gezeigten Greifermechanismus dem Abfall zugeführt, nachdem die Aufnahmezunge 13 an der Rolle 10 durch Anheben mit Hilfe des Elektromagneten 102 den Streifen freigegeben hat. Durch Abfallen des Magneten 48 rastet die Blattfeder 15 die Rolle 10 wieder in der Ausgangsposition ein (Fig. 12).
  • Wie Fig. 16 zeigt, werden nun durch das Vakuum die vorderen Ende der Adressenaufkleber 69 an den Schnittstellen auf den Zahnriemen 64 gezogen und hier festgehalten.
  • Die zu adressierenden Exemplare 59 befinden sich in der in Figur 16 gezeigten Position und werden von Greifern 72 und 73 auf einer Greiferleiste 74 gehalten, die wiederum auf Armen 75 befestigt ist.
  • Figur 17 zeigt, wie die Adressenaufkleber 69, die durch das Vakuum auf den Zahnriemenoberflächen gehalten werden, in die gezeigte Ausgangsposition für das Kleben gezogen werden. Der Zahnriemen 64 wird dabei von einem Zahnriemenrad 76 angetrieben, das vertikal beweglich an einer Führung 77 gelagert ist, die in einem Gehäuse 78 geführt ist. Die Druckfedern 79, die sich an der ebenfalls im Gehäuse 78 gelagerten Platte 80 abstützen, halten dabei die Zahnriemen 64 auf Spannung. Die Andruckrollen 81 sind jeweils über einen Hebel 82 verschwenkbar auf einer Antriebswelle 83 des Zahnriemenrades 76 gelagert. Sie werden gemeinsam von einer Anschlagleiste 84 (Fig. 16 und 17) in den gezeigten Lagen gehalten. Der Antrieb des Zahnriemenrades 76 erfolgt über eine Antriebswelle 83, elastische Kupplungen 85 und 86 und eine Einstellkupplung 87 sowie Wellenstücken 88 und 89 von einem Kettenrad 90 her (Fig. 15), das wiederum zentral für alle Etikettierstationen von einer Kette 91 angetrieben wird. Figur 20 zeigt schematisch den Antrieb für Kettenräder 90, wobei die Kette 91 durch Führungen 92 um Kettenräder 90 geführt wird. Das rücklaufende Trum der Kette 91 wird von einer Führung 93 aufgenommen (Fig. 15).
  • Wie aus den Figuren 14 und 17 hervorgeht, ziehen die Greifer 72 und 73 mit Hilfe eines Antriebes 94 jeweils die Exemplare 59 an der mit Hilfe der Anschlagleiste 84 auf Abstand gehaltenen Andruckrollen 81 vorbei in die Position 59′, während die Adressenaufkleber 69 zunächst in der in Figur 17 gezeigten Position verbleiben. Durch die voneinander unabhängigen, einzeln steuerbaren Bewegungen der Adressenaufkleber 69 und der Exemplare 59 ist es möglich, den Aufklebeort auf den Exemplaren 59 genau einzuhalten bzw. frei zu wählen. Wie in Fig. 18 dargestellt ist, ist es hier das Ende des Exemplars 59, an dem ein Adessenaufkleber 69 aufzubringen ist. Die Anschlagleiste 84 gibt durch Bewegung in Richtung des Pfeiles 95 die Andruckrollen 81 frei, die damit unter der durch die Feder 79 erzeugten Zahnriemenspannung das Exemplar 59 auf die Zahnriemenoberfläche drückt. Somit wirken die Andruckrollen 81 als Gegenlager. Die Greifer 72 und 73 geben das Exemplar 59 nun frei und fahren mit Hilfe des Antriebs 96 in die Positionen 72˝ und 73˝. Die Schienen 97, 98 übernehmen die Abstützung der Exemplare 14. Während diese Schienen 97 und 99 nun durch eine gleichmäßige Abwärtsbewegung mit Hilfe der Ketten 99 und 100 die Exemplare 59 führen, führt der mit gleicher Geschwindigkeit angetriebene Zahnriemen mit Hilfe der Andruckrollen 81 das Aufkleben der Adressenaufkleber 69 durch, wie aus Fig. 18 hervorgeht.
  • Durch Führung der Exemplare 59 durch die Zungen 101 (Fig. 13) werden diese durch fortwährendes Absenken der Schienen 97, 98 unmittelbar einer Abnahmestelle 104 (Fig. 21) zugeführt, wo die Verpackung erfolgen kann.
  • Wie gezeigt, können durch die parallele Arbeitsweise der Aufklebemechanismen beliebig viele Exemplare gleichzeitig in einem Arbeitsgang mit Adressen versehen werden, wodurch in Verbindung mit einem vorausgegangenen Einsteckvorgang und mit einem nachgeordneten Verpackungsvorgang eine große Zeiteinsparung erreicht werden kann.
  • In den vorangehend geschilderten Ausführungsbeispiel wurden als Haltevorrichtungen Zahnriemen bzw. Vakuumbänder beschrieben. Es versteht sich, daß auch andere Halte- bzw. Klemmmechanismen im Rahmen der Erfindng einsetzbar sind, beispielsweise mechanisch oder magnetisch arbeitende Vorrichtungen. Ebenso kann anstelle des Adressenstreifens 6, auf den die Adressen aufgedruckt sind, auch z. B. ein magnetischer Adressenträger verwendet werden. Vorzugsweise werden die Adressenstreifen erst dann unterteilt, wenn sie durch die einzelnen Halte- und Erfassungsvorrichtungen abschnittsweise festgehalten werden. Im Rahmen der Erfindung ist es jedoch auch möglich, ausgewählte also aufgeteilte Adressenträger zu erfassen, beispielsweise mittels Saugeinrichtungen und diese an den zu adressierenden Produkten zu positionieren, so daß die vorgegebene Reihenfolge der zu adressierenden Produkte mit der Adressenreihenfolge übereinstimmt.
  • Die vorangehenden Darlegungen zeigen, daß im Rahmen des erfindungsgemäßen Konzepts eine Vielzahl von Ausführungsvarianten möglich sind, so daß sich die Erfindung nicht in dem dargestellten Ausführungsbeispiel erschöpft.
  • In Figur 21 ist schematisch dargestellt, wie durch eine Steuereinrichtung 103 ein Adressenstreifen 6, auf dem in vorgegebener Reihenfolge in Adressenfeldern 2 Adressen vorhanden sind, ausgewählt wird, entsprechend den in einer bestimmten Speicherkassette 57 vorhandenen zu adressierenden Produkten 59, die in der gleichen Reihenfolge in der Speicherkassette 57 positioniert sind, wie die Adressen auf dem Adressenstreifen 6. Die Zuführung des Adressenstreifens 6 erfolgt über die Transportkette 43. Nach dem Erfassen der einzelnen Adressenfelder 2 durch Haltevorrichtungen in Form von Zahnriemen 64, erfolgt die Aufbringung der Adressenfelder 2 nach vorausgegangener Aufteilung auf die zu adressierenden Produkte 59, wonach mittels Zungen 101 die Produkte 59 in eine Abnahmestelle 104 geführt werden. Die quasi als Adressenstreifenspeicher dienenden Tragscheibenanordnung 11 trägt die jeweils einen Adressenstreifen 6 enthaltenden Adressenrollen 31.Durch die Steuereinheit 103 wird also eine Zuordnung hergestellt zwischen bestimmten Adressenträgern 6 und bestimmten zu adressierenden Gruppen aus Produkten 59.

Claims (16)

1. Adressiervorrichtung für Produkte, insbesondere für bogenförmige Falzprodukte, dadurch gekennzeichnet, daß ein in einer vorgegebenen Reihenfolge Adressenfelder (2) aufweisender Adressenträger (6) einem Speicher (55) zuführbar ist, der an definierten Stellen entsprechend der vorgegebenen Reihenfolge zu adressierende Produkte (59) enthält, daß zwecks Auswahl und/oder Zuordnung bestimmter Adressenträger (6) zu bestimmten Speichern (55), oder umgekehrt, eine Steuereinheit (103) vorgesehen ist, und daß nach dem Bereitstellen eines Adressenträgers (6) für einen diesem zugeordneten Speicher (55) die Adressenfelder (2) einzeln durch Haltevorrichtungen (64, 65) erfaßbar sind, über die jeweils die Adressenaufbringung an vorbestimmbaren Stellen der Produkte (59) erfolgt, nachdem durch Trennvorrichtungen (68, 66) der Adressenträger (6) aufgeteilt wurde.
2. Adressiervorrichtung nach Anspruch 1, dadurch gekennzeichnet, daß über die Steuereinheit (103) eine von mehreren die Adressenträger (6) jeweils in Form eines Streifens aufnehmende Adressenrolle (31) auswählbar ist und daß der Adressenträger (6) der ausgewählten Adressenrollen (31) mittels einer Übergabevorrichtung (Fig. 8, 9, 10) einem Speicher (55) zuführbar ist.
3. Adressiervorrichtung nach Anspruch 2, dadurch gekennzeichnet, daß der Speicher (55) aus zick- bzw. zieharmonikaartigen auseinander- und zusammenschiebbaren Strukturen besteht, in dessen einzelnen Taschen die zu adressierenden Falzprodukte (59) positioniert sind.
4. Adressiervorrichtung nach einem der vorangehenden Ansprüche 2 und 3, dadurch gekennzeichnet, daß die Zuführung des streifenförmigen Adressenträgers (6) zu dem Speicher (55) während der Auszugsbewegung des Speichers (55) bei der Herausnahme aus einer Speicherkassette (57) erfolgt.
5. Adressiervorrichtung nach einem der vorangehenden Ansprüche, dadurch gekennzeichnet, daß der unterhalb des Speichers (55) positionierte streifenförmige Adressenträger (6) durch Saugbänder (64, 65) erfaßbar ist und daß nach dem Erfassen der einzelnen Adressenfelder (2) durch die Saugbänder (64, 65) mittels Schneidvorrichtungen (68, 66) eine Mehrfachtrennung des Adressenträgers (6) erfolgt, so daß Adressenaufkleber (69) entstehen.
6. Adressiervorrichtung nach Anspruch 5, dadurch gekennzeichnet, daß der mittels einer Transportkette (43) unter die den Speicher (55) bildende Trägerstruktur ziehbare Adressenträger (6) durch eine Leimdüse (67) beschichtbar ist.
7. Adressiervorrichtung nach Anspruch 5 oder 6, dadurch gekennzeichnet, daß nach der Erzeugung der Adressenaufkleber (69) die Produkte (59) mittels Greifer (72, 73) erfaßbar und nach Freigabe aus dem Speicher (55) durch Absenken der Greifer (72, 73) zwischen als Saugbänder wirkende Zahnriemen (64) führbar sind.
8. Adressiervorrichtung nach Anspruch 7, dadurch gekennzeichnet, daß vor dem Absenken der Produkte (59) jeweils eine Seite der Endlos-Zahnriemen (64) mittels einer Andruckrolle (81), die durch eine gemeinsame verschiebbare Anschlagleiste (84) verschwenkbar sind, ausgelenkt wird, wobei der Zahnriemen (64) jeweils über ein federnd vorgespanntes Zahnriemenrad (76) gestrafft ist.
9. Adressiervorrichtung nach Anspruch 7 oder 8, dadurch gekennzeichnet, daß während des Absenkens der Produkte (59) die Adressenaufkleber (69) durch die Zahnriemen (64) auf jeweils ein zu adressierendes Produkt (59, Fig. 18) unter Antrieb der Zahnriemen (64) aufgebracht wird, wobei die Andruckrollen (81) jeweils ein Gegenlager auf der anderen Seite der Produkte (59) bilden.
10. Adressiervorrichtung nach einem der vorangehenden Ansprüche 7 bis 9, dadurch gekennzeichnet, daß nach dem Absenken der Produkte (59) mittels der Greifer (72, 73, Fig. 17) die Produkte (59) auf eine Leiste (97, 98) aufsetzbar sind, wonach die Greifer (72, 73) die Produkte (59) an einer hinteren Position (72˝, 73˝, Fig. 18) freigeben, so daß die Produkte (59, Fig. 18) unter weiterer Absenkung auf Schienen (97, 98) absetzbar sind.
11. Adressiervorrichtung nach Anspruch 10, dadurch gekennzeichnet, daß die an Ketten (99, 100) geführten Schienen (97, 98) zwecks Abgabe der adressierten Produkte (59) an eine Abnahmestelle (104) absenkbar sind.
12. Adressiervorrichtung nach einem der vorangehenden Ansprüche 5 bis 11, dadurch gekennzeichnet, daß den mit Bohrungen (65) versehenen Zahnriemen (64) Kanälen (62) zugeordnet sind, die über Schläuche (61) mit einer vakuumbeaufschlagten Rohrleitung (60) verbunden sind.
13. Adressiervorrichtung nach einem der vorangehenden Ansprüche 2 bis 12, dadurch gekennzeichnet, daß die Adressenrollen (31) an drehbaren Tragscheiben (11) drehbar positioniert sind und mittels eines Elektromagneten (19) und einer in eine Nut (16) eingreifenden Blattfeder (15) jeweils auf einem Zapfen (12) blockierbar sind und daß nach Aufhebung der Blockierung die jeweils ausgewählte Adressenrolle (31, Fig. 5) durch einen mit einem Antriebsrad (22) ausgestatteten Antriebsmotor (21) antreibbar ist.
14. Adressiervorrichtung nach einem der vorangehenden Ansprüche 2 bis 13, dadurch gekennzeichnet, daß die Übergabevorrichtung (Fig. 8, 9, 13) einen mit einem Aufnahmegreifer (38) versehenen Pneumatikkolben (39) auf bar ist, durch den ein Ende des Adressenstreifens (6) erfaßbar ist und daß über den Aufnahmegreifer (38) der Adressenstreifen (6) einem Transportgreifer (42, Fig. 9) zuführbar ist, der an der Transportkette (43) befestigt ist.
15. Adressiervorrichtung nach einem der vorangehenden Ansprüche 2 bis 14, dadurch gekennzeichnet, daß der Antrieb aller Zahnriemen (64) zwecks Aufbringung der Adressenaufkleber (69) jeweils über mit Antriebsrädern (76) versehene durch Kupplungen (86, 87, 85) getrennte Wellenstücke (88, 89) erfolgt, die gemeinsam mit einer Antriebskette (91, Fig. 15, Fig. 20) verbunden sind.
16. Adressiervorrichtung nach einem der vorangehenden Ansprüche, dadurch gekennzeichnet, daß die Steuereinheit (103) einen Rechner umfaßt.
EP89102621A 1988-02-25 1989-02-16 Adressiervorrichtung für Produkte, insbesondere für Falzprodukte Expired - Lifetime EP0330067B1 (de)

Applications Claiming Priority (2)

Application Number Priority Date Filing Date Title
DE3805877 1988-02-25
DE3805877A DE3805877A1 (de) 1988-02-25 1988-02-25 Adressiervorrichtung fuer produkte, insbesondere fuer falzprodukte

Publications (3)

Publication Number Publication Date
EP0330067A2 true EP0330067A2 (de) 1989-08-30
EP0330067A3 EP0330067A3 (en) 1990-07-18
EP0330067B1 EP0330067B1 (de) 1993-07-28

Family

ID=6348124

Family Applications (1)

Application Number Title Priority Date Filing Date
EP89102621A Expired - Lifetime EP0330067B1 (de) 1988-02-25 1989-02-16 Adressiervorrichtung für Produkte, insbesondere für Falzprodukte

Country Status (4)

Country Link
US (1) US4949948A (de)
EP (1) EP0330067B1 (de)
JP (1) JPH01267145A (de)
DE (2) DE3805877A1 (de)

Families Citing this family (6)

* Cited by examiner, † Cited by third party
Publication number Priority date Publication date Assignee Title
DE4223524A1 (de) * 1992-07-17 1994-01-20 Roland Man Druckmasch Falzapparat
US5921538A (en) * 1997-10-07 1999-07-13 Heidelberger Druckmaschinen Ag Apparatus and method for combined gathering and binding of sheet like articles
DE69815467T2 (de) * 1997-11-10 2004-05-13 Gunther, William H., Mystic Verfahren zum Sortieren und Zuführen von gedruckten Dokumenten nach einer Endbearbeitungsmaschine
US8443963B2 (en) * 2008-05-20 2013-05-21 Goss International Americas, Inc. Multiplexed gathering device and method
CN102036894A (zh) 2008-05-20 2011-04-27 高斯国际美洲公司 多重收集装置和方法
DE102012201722A1 (de) * 2012-02-06 2013-08-08 Krones Ag Vorrichtung und Verfahren zum Etikettieren von Gegenständen

Family Cites Families (15)

* Cited by examiner, † Cited by third party
Publication number Priority date Publication date Assignee Title
DE1277130B (de) * 1962-06-05 1968-09-05 Boewe Boehler & Weber K G Masc Vorrichtung zum Zusammentragen von Gegenstaenden
CH460058A (de) * 1965-11-01 1968-07-31 Cheshire Inc Adressiermaschine
US3608888A (en) * 1969-10-16 1971-09-28 Mccain Mfg Co Signature gathering
US3816197A (en) * 1969-10-17 1974-06-11 Energy Conversion Devices Inc Film deposited semiconductor devices
CH549478A (de) * 1973-03-09 1974-05-31 Grapha Holding Ag Tast- und markiervorrichtung an einer adressiermaschine.
CH556747A (de) * 1973-04-19 1974-12-13 Grapha Holding Ag Verfahren zur herstellung von adressierten, aus zeitschriften gebildeten postroutenpaketen.
US4022455A (en) * 1975-12-31 1977-05-10 World Color Press, Inc. Demographic assembling and addressing machine for magazines and the like
US4046613A (en) * 1976-03-08 1977-09-06 Label-Aire Inc. Matrix label applicator
DK272077A (da) * 1976-06-24 1977-12-25 Label Aire Inc Fremgangsmade og apparat til overforing af elementer til genstande
JPS55108328A (en) * 1979-02-15 1980-08-20 Matsushita Electric Industrial Co Ltd Juicer
JPS57183941A (en) * 1981-04-30 1982-11-12 Sato Co Ltd Portable labeller
JPS5810296A (ja) * 1981-07-11 1983-01-20 小平 均 異常検知装置
US4484733A (en) * 1982-04-05 1984-11-27 Hall Systems, Inc. Programmable packaging grid including gripper conveyor monitoring system
JPS60251024A (ja) * 1984-05-22 1985-12-11 光洋自動機株式会社 ラベリングマシン
DD233545A1 (de) * 1984-12-29 1986-03-05 Polygraph Leipzig Vorrichtung zum sammeln und stapeln von flachen gegenstaenden

Also Published As

Publication number Publication date
JPH01267145A (ja) 1989-10-25
US4949948A (en) 1990-08-21
EP0330067B1 (de) 1993-07-28
DE3805877A1 (de) 1989-08-31
DE3805877C2 (de) 1992-10-22
EP0330067A3 (en) 1990-07-18
DE58904993D1 (de) 1993-09-02

Similar Documents

Publication Publication Date Title
DE68904826T2 (de) Verfahren und vorrichtung zum ersetzen von bahnfoermigem material in einer zufuehrvorrichtung fuer bahnfoermiges material.
DE2427324C2 (de) Maschine zum wahlweisen Verarbeiten von Artikelkarten
CH651517A5 (de) Etikettiermaschine.
DE3137667A1 (de) Verfahren und vorrichtung zur verarbeitung von banderolierten papierblattbuendeln
DE4243929A1 (de)
CH642594A5 (de) Verfahren und vorrichtung zum automatischen aufbringen von aufklebern auf eine endlosbahn.
EP0003991B1 (de) Verfahren und Vorrichtung zum Wickeln und Kassettieren eines Filmbandes
DE2531072B2 (de) Verfahren und Einrichtung zum Transport und zur Verarbeitung von Bogen in einer Stanztiegelpresse o.dgl
DE19959098A1 (de) Vorrichtung und Verfahren zur Zufuhr von Signaturen
DE102022105161A1 (de) Materialstreifen-Verarbeitungssystem
EP0006505B1 (de) Vorrichtung zum Etikettieren von flachen Gegenständen, wie Kompaktkassetten, Videokassetten oder dergleichen
EP0330067B1 (de) Adressiervorrichtung für Produkte, insbesondere für Falzprodukte
DE1296148B (de) Zufuehreinrichtung fuer eine mehrlagige Endlosbeschriftungsbahn fuer Druckwerke
DE2900123A1 (de) Etikettiermaschine
DE2403154B2 (de) Vorrichtung zum Abschneiden und gleichzeitigen Ausrichten von kammförmigen Bindeelementen
EP0114367B1 (de) Vorrichtung zum Speichern von Blattgut
DE3336971C2 (de) Einrichtung zum Stempeln von flachen Gegenständen
DE1436633C3 (de) Vorrichtung zum Herstellen von be druckten Etiketten
EP0169489A1 (de) Vorrichtung zum Falzen und Weiterverarbeiten von Druckexemplaren
DD207178A5 (de) Vorrichtung zur foerderung von etiketten
DE2518310A1 (de) Vorrichtung zum vereinzeln von belegen
EP0001605A1 (de) Vorrichtung zum Wickeln eines Filmwickels
EP0516634B1 (de) Vorrichtung zum codieren, beschriften und zum lagefixierten, lösbaren aufbringen von datenträgerkarten auf trägerblätter
DE102024122385A1 (de) Etikettiervorrichtung zum Etikettieren von Mantelflächen von Objekten, insbesondere von zylindrischen Objekten
DE1774998C3 (de) Vorrichtung zur Inbetriebnahme einer zweiten Vorratsrolle in einer Fahrkartendruckmaschine

Legal Events

Date Code Title Description
PUAI Public reference made under article 153(3) epc to a published international application that has entered the european phase

Free format text: ORIGINAL CODE: 0009012

AK Designated contracting states

Kind code of ref document: A2

Designated state(s): CH DE FR GB IT LI SE

PUAL Search report despatched

Free format text: ORIGINAL CODE: 0009013

AK Designated contracting states

Kind code of ref document: A3

Designated state(s): CH DE FR GB IT LI SE

RHK1 Main classification (correction)

Ipc: B65C 1/02

17P Request for examination filed

Effective date: 19900613

17Q First examination report despatched

Effective date: 19920331

ITF It: translation for a ep patent filed
GRAA (expected) grant

Free format text: ORIGINAL CODE: 0009210

AK Designated contracting states

Kind code of ref document: B1

Designated state(s): CH DE FR GB IT LI SE

GBT Gb: translation of ep patent filed (gb section 77(6)(a)/1977)

Effective date: 19930727

REF Corresponds to:

Ref document number: 58904993

Country of ref document: DE

Date of ref document: 19930902

ET Fr: translation filed
PLBE No opposition filed within time limit

Free format text: ORIGINAL CODE: 0009261

STAA Information on the status of an ep patent application or granted ep patent

Free format text: STATUS: NO OPPOSITION FILED WITHIN TIME LIMIT

26N No opposition filed
EAL Se: european patent in force in sweden

Ref document number: 89102621.3

PGFP Annual fee paid to national office [announced via postgrant information from national office to epo]

Ref country code: GB

Payment date: 19970113

Year of fee payment: 9

PGFP Annual fee paid to national office [announced via postgrant information from national office to epo]

Ref country code: FR

Payment date: 19970114

Year of fee payment: 9

PGFP Annual fee paid to national office [announced via postgrant information from national office to epo]

Ref country code: SE

Payment date: 19970123

Year of fee payment: 9

PGFP Annual fee paid to national office [announced via postgrant information from national office to epo]

Ref country code: DE

Payment date: 19970124

Year of fee payment: 9

PGFP Annual fee paid to national office [announced via postgrant information from national office to epo]

Ref country code: CH

Payment date: 19970131

Year of fee payment: 9

PG25 Lapsed in a contracting state [announced via postgrant information from national office to epo]

Ref country code: GB

Free format text: LAPSE BECAUSE OF NON-PAYMENT OF DUE FEES

Effective date: 19980216

PG25 Lapsed in a contracting state [announced via postgrant information from national office to epo]

Ref country code: SE

Free format text: LAPSE BECAUSE OF NON-PAYMENT OF DUE FEES

Effective date: 19980217

PG25 Lapsed in a contracting state [announced via postgrant information from national office to epo]

Ref country code: LI

Free format text: LAPSE BECAUSE OF NON-PAYMENT OF DUE FEES

Effective date: 19980228

Ref country code: FR

Free format text: THE PATENT HAS BEEN ANNULLED BY A DECISION OF A NATIONAL AUTHORITY

Effective date: 19980228

Ref country code: CH

Free format text: LAPSE BECAUSE OF NON-PAYMENT OF DUE FEES

Effective date: 19980228

GBPC Gb: european patent ceased through non-payment of renewal fee

Effective date: 19980216

REG Reference to a national code

Ref country code: CH

Ref legal event code: PL

EUG Se: european patent has lapsed

Ref document number: 89102621.3

PG25 Lapsed in a contracting state [announced via postgrant information from national office to epo]

Ref country code: DE

Free format text: LAPSE BECAUSE OF NON-PAYMENT OF DUE FEES

Effective date: 19981103

REG Reference to a national code

Ref country code: FR

Ref legal event code: ST

PG25 Lapsed in a contracting state [announced via postgrant information from national office to epo]

Ref country code: IT

Free format text: LAPSE BECAUSE OF NON-PAYMENT OF DUE FEES

Effective date: 20050216