EP0299226B1 - Schalung zum Herstellen von Betonbauteilen - Google Patents
Schalung zum Herstellen von Betonbauteilen Download PDFInfo
- Publication number
- EP0299226B1 EP0299226B1 EP88109695A EP88109695A EP0299226B1 EP 0299226 B1 EP0299226 B1 EP 0299226B1 EP 88109695 A EP88109695 A EP 88109695A EP 88109695 A EP88109695 A EP 88109695A EP 0299226 B1 EP0299226 B1 EP 0299226B1
- Authority
- EP
- European Patent Office
- Prior art keywords
- formwork
- stiffening
- stiffening element
- elements
- another
- Prior art date
- Legal status (The legal status is an assumption and is not a legal conclusion. Google has not performed a legal analysis and makes no representation as to the accuracy of the status listed.)
- Expired - Lifetime
Links
- 238000009416 shuttering Methods 0.000 title abstract 6
- 239000002131 composite material Substances 0.000 claims abstract description 16
- 125000006850 spacer group Chemical group 0.000 claims abstract description 16
- 229910000746 Structural steel Inorganic materials 0.000 claims abstract description 11
- 239000002184 metal Substances 0.000 claims abstract 2
- 238000009415 formwork Methods 0.000 claims description 103
- 238000005452 bending Methods 0.000 claims description 7
- 229910000831 Steel Inorganic materials 0.000 abstract description 17
- 239000010959 steel Substances 0.000 abstract description 17
- 239000011888 foil Substances 0.000 abstract description 2
- 238000004519 manufacturing process Methods 0.000 description 9
- 239000000463 material Substances 0.000 description 8
- 229920006300 shrink film Polymers 0.000 description 3
- XEEYBQQBJWHFJM-UHFFFAOYSA-N Iron Chemical compound [Fe] XEEYBQQBJWHFJM-UHFFFAOYSA-N 0.000 description 2
- 238000010276 construction Methods 0.000 description 1
- 230000001419 dependent effect Effects 0.000 description 1
- 238000011161 development Methods 0.000 description 1
- 230000018109 developmental process Effects 0.000 description 1
- 229910052742 iron Inorganic materials 0.000 description 1
- 239000004033 plastic Substances 0.000 description 1
- 239000002985 plastic film Substances 0.000 description 1
- 229920006255 plastic film Polymers 0.000 description 1
- 230000003014 reinforcing effect Effects 0.000 description 1
Images
Classifications
-
- E—FIXED CONSTRUCTIONS
- E04—BUILDING
- E04G—SCAFFOLDING; FORMS; SHUTTERING; BUILDING IMPLEMENTS OR AIDS, OR THEIR USE; HANDLING BUILDING MATERIALS ON THE SITE; REPAIRING, BREAKING-UP OR OTHER WORK ON EXISTING BUILDINGS
- E04G9/00—Forming or shuttering elements for general use
- E04G9/02—Forming boards or similar elements
- E04G9/05—Forming boards or similar elements the form surface being of plastics
-
- E—FIXED CONSTRUCTIONS
- E04—BUILDING
- E04G—SCAFFOLDING; FORMS; SHUTTERING; BUILDING IMPLEMENTS OR AIDS, OR THEIR USE; HANDLING BUILDING MATERIALS ON THE SITE; REPAIRING, BREAKING-UP OR OTHER WORK ON EXISTING BUILDINGS
- E04G13/00—Falsework, forms, or shutterings for particular parts of buildings, e.g. stairs, steps, cornices, balconies foundations, sills
-
- E—FIXED CONSTRUCTIONS
- E04—BUILDING
- E04G—SCAFFOLDING; FORMS; SHUTTERING; BUILDING IMPLEMENTS OR AIDS, OR THEIR USE; HANDLING BUILDING MATERIALS ON THE SITE; REPAIRING, BREAKING-UP OR OTHER WORK ON EXISTING BUILDINGS
- E04G17/00—Connecting or other auxiliary members for forms, falsework structures, or shutterings
- E04G17/14—Bracing or strutting arrangements for formwalls; Devices for aligning forms
Definitions
- the invention relates to a formwork for producing concrete components according to the preamble of claim 1.
- formwork which uses as formwork elements (formlining), for example, a composite material known from DE-OS 3 142 148, which consists of a grid material (structural steel mat) as a support and at least a plastic film (shrink film) applied to this mesh material.
- formwork elements for example, a composite material known from DE-OS 3 142 148, which consists of a grid material (structural steel mat) as a support and at least a plastic film (shrink film) applied to this mesh material.
- a formwork element is used as the lost formwork, which is made from this composite material by bending such that it has a U-shaped cross section in the longitudinal direction of the formwork, which consists of two parallel and spaced side surfaces and a lower yoke surface connecting these side surfaces is formed, the side surfaces of previously used formwork being connected to one another by a plurality of spacers.
- formwork for concrete components in particular also lost formwork with a wide variety of shapes adapted to the respective intended use, can be produced inexpensively, with a low basis weight and thus easy handling of the formwork element; a however, there is a certain disadvantage in that the composite material has only a relatively low bending stiffness in relation to forces acting perpendicular to the surfaces of this composite material, so that, for example, a relatively large number of spacers is required for the manufacture of foundations or beams in the case of the U-shaped formwork element mentioned above , which must then be arranged with a relatively small mutual distance in the longitudinal direction of the formwork and in a direction perpendicular thereto (in the vertical direction) in order to avoid bulging of the formwork due to the weight of the concrete introduced into the formwork.
- the object of the invention is to form a formwork of the type described in such a way that it has an improved rigidity with respect to the composite material used as formwork skin while maintaining the lowest possible weight and thus simple handling.
- space-lattice-like or lattice girder type is to be understood as an embodiment in which the at least three longitudinal bars in the cross-section of the stiffening element are offset from one another in such a way that they form the corner points of a triangle or polygon.
- the stiffness of the at least one formwork element is significantly improved by the stiffening element designed like a space lattice, wherein in particular, the stiffening element can also be manufactured inexpensively and has only a low weight, so that the formwork as a whole can also be manufactured inexpensively and with a low weight that facilitates handling.
- stiffening element it is also possible, particularly in the case of U-shaped formwork elements used for the manufacture of beams or foundations, to reduce the number of spacers or to increase the mutual spacing of such spacers, so that this considerably simplifies the formwork with the same rigidity Manufacturing and cost reduction result.
- Lattice girder-like elements for a wide variety of purposes in construction are already known; however, they were not used as a stiffening element for formwork made from the material used according to the invention.
- FR-A-2 247 596 shows a lattice girder-like element which is used as a collet to bridge the distance between two panels, the panels being supported at their edges if necessary; protection against deflection is therefore not possible with the known stiffening element.
- At least one stiffening element is fastened on at least one surface of the formwork formed by the formwork element in such a way that it extends adjacent to this surface in the longitudinal direction of the formwork.
- At least one stiffening element is provided, which is arranged with its longitudinal extension perpendicular or transverse to these surfaces between the two formwork elements.
- at least one further stiffening element is provided on each surface, which rests against this surface and extends in the longitudinal direction of the relevant formwork element.
- 1 is a formwork element which is produced by bending from a composite material.
- This composite material consists of a latticework or material as a carrier, which is formed by a conventional structural steel mat with reinforcing bars or structural steels 2 and 3 which cross and are connected to one another at the crossing points, and from two plastic foils 4 shrunk on both sides of the lattice material, which cover the mesh material on both sides and thus also close the mesh openings of this material and are welded to one another in the region of the mesh openings.
- the formwork element 1 which is used for example for the production of beams or foundations made of concrete, is from the Composite material bent so that it has a U-shaped cross-section, ie two vertical, spaced side surfaces 5 and 6 and a lower floor or yoke surface 7 connecting these side surfaces, the bending edge between the side surfaces 5 and 6 and the bottom surface 7 runs parallel to the structural steels 2 and perpendicular to the structural steels 3 angled at these bending edges.
- a plurality of spacers 8 are provided which run perpendicular to the side surfaces and connect the latter to one another in a pressure-resistant and tensile manner also in the longitudinal direction of the formwork element 1, ie are arranged one behind the other perpendicular to the plane of the drawing in FIG. 1.
- Each spacer consists of a rod-shaped element 9 made of iron or steel, which is formed at each end with a fork-shaped section 10 with two legs 11 each.
- the legs 11 of each section 10 are arranged parallel and at a distance from one another and extend in the longitudinal direction of the element 9.
- the length of each leg 11 is equal to a multiple of the diameter of the structural steels 2 and 3, ie greater than three times the diameter of the latter in the illustrated embodiment Structural steels.
- the fork-shaped sections 10 are produced, for example, from flat steel by bending and in the region of the yoke section 12 connecting the legs 11 to the each end of the element 9 connected or welded.
- each leg 11 a row of holes formed by bores 13, 13 'and 13 "and arranged in the longitudinal direction of the leg is provided, each bore 13, 13' and 13" on one leg 11 being congruent with a corresponding bore on the other leg 11.
- the sections 10 penetrate the two shrink films 4, so that the legs 11 each protrude beyond the outer surface of the formwork element 1.
- the legs 11 of each section 19 each comprise a structural steel 2.
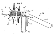
- Each stiffening element 14 consists of three longitudinal rods or structural steels 15-17 extending in the longitudinal direction of the stiffening element 14, which in the illustrated embodiment have the same diameter as the structural steels 2 and 3 and are arranged parallel to one another and at a distance from one another such that they are in the Cross section of the stiffening element 14 form the corner points of an equilateral triangle, the shorter base between the structural steels 15 and 16 and the larger leg between the structural steels 15 and 17 or 16 and 17 are formed.
- the structural steels 15-17 are connected to one another by a plurality of elements 18, each of which is bent in a V-shape and also made of structural steel, for the lattice girder-like stiffening element 14.
- Each stiffening element 14 is arranged on the outer surface of the respective side surface 5 or 6 so that it rests with its structural steels 15 and 16 on the outer surface or is immediately adjacent, the structural steel 15 being above the structural steel 16 in the embodiment shown.
- Each stiffening element 14 is held on the relevant side surface 5 or 6 in that the structural steel 15 is also received between the two legs 11 of the spacers 8.
- the bolt 15 or the stiffening element 14 are secured against slipping out or down on the sections 10 of the spacers 8 by means of a bolt or nail 19 which, for example, passes through the overlapping bores 13 'of the relevant section 10.
- stiffening elements 14 which have a particularly high moment of inertia in the loading direction (perpendicular to these side surfaces) due to their configuration and arrangement described above on the side surfaces 5 and 6, it is also possible to determine the distance that the spacers 8 have in the longitudinal direction of the Formwork element 1 (perpendicular to the drawing plane of FIG. 1) from each other to choose larger than would be possible without the use of the stiffening elements 14.
- FIGS. 6 and 7. A further embodiment is shown in FIGS. 6 and 7.
- the formwork consists of at least two at a greater distance Formwork elements 1 'arranged from each other, which in turn are made of the same composite material as the formwork element 1.
- the formwork element 1 ' is shown in FIGS. 6 and 7.
- This is part of a concrete formwork for producing a concrete foundation, wherein in the embodiment shown, the formwork element 1 'also has a U-shaped cross section, so that with two such formwork elements 1' two parallel and spaced-apart beam foundations or sections thereof can be produced.
- the space between the two formwork elements 1 ' is bridged by a plurality of stiffening elements 14 arranged one behind the other in the longitudinal direction of these formwork elements, that is to say in the direction perpendicular to the plane of the drawing in FIG. 6, each with its longitudinal extension perpendicular to the mutually facing side surfaces 6 of the two formwork elements 1 'lie and extend with their two ends into the mold space 24 of the two formwork elements 1 which serves to hold the concrete, through the side face 6, in the embodiment shown directly in the region of the upper longitudinal edge of the formwork elements 1'.
- the stiffening elements 14 are held in a suitable manner (for example by connecting) to the structural steels 2 and / or 3 of the side surfaces 6 of the two formwork elements 1 '.
- the stiffening elements 14 each penetrate the shrink films 4 'in the area of a lattice opening or in the area of an enlarged opening, which was created by cutting out a partial length of at least one of the structural steels 2 or 3 in the area of the passage point for the stiffening element 14.
- stiffening elements 14 Mutual support of the two formwork elements 1 'arranged at a distance from one another is achieved, all stiffening elements 14 being embedded in this concrete after the concrete has been introduced into the mold spaces 24 of the formwork element 1', so that it is then after the two beam foundations or whose sections are possible to place a flat material 25, namely the composite material already described, on the stiffening elements 14, which then forms the lower, horizontal formwork wall or formwork skin for a concrete slab to be subsequently created.
- the formwork according to FIGS. 6 and 7 can thus be used in particular as lost formwork for the production of concrete walls or foundations with a concrete ceiling above it.
- stiffening elements 14 bridging the space between the formwork elements 1 ' it is also expedient to also provide those which, according to FIGS. 1 to 5, bear against the side surfaces 5 and 6 of the formwork elements 1'.
- the spacers 8 or their sections 10 can also be used to two in the longitudinal direction of the formwork, i.e. 1 formwork elements 1 and 1 ', which adjoin one another perpendicularly to the drawing plane of FIG. 1 and which in the connection area on the side surfaces 5 and 6 and on the yoke surface 7 overlap to a partial length.
- two adjacent structural steels 2 of the two formwork elements in the connection or in the overlap area and also the structural steel 15 of the stiffening element 14 are then received between the legs 11 of the corresponding spacers 8, the nail 19 serving to secure them through the bore 13 "of the two Leg 11 is inserted.
Landscapes
- Engineering & Computer Science (AREA)
- Architecture (AREA)
- Mechanical Engineering (AREA)
- Civil Engineering (AREA)
- Structural Engineering (AREA)
- Moulds, Cores, Or Mandrels (AREA)
- Forms Removed On Construction Sites Or Auxiliary Members Thereof (AREA)
- Panels For Use In Building Construction (AREA)
- Bridges Or Land Bridges (AREA)
- Rod-Shaped Construction Members (AREA)
- Polyesters Or Polycarbonates (AREA)
- Moulds For Moulding Plastics Or The Like (AREA)
- Heat Treatment Of Steel (AREA)
- Pressure Welding/Diffusion-Bonding (AREA)
- Manufacturing Of Tubular Articles Or Embedded Moulded Articles (AREA)
Priority Applications (1)
| Application Number | Priority Date | Filing Date | Title |
|---|---|---|---|
| AT88109695T ATE80196T1 (de) | 1987-07-17 | 1988-06-16 | Schalung zum herstellen von betonbauteilen. |
Applications Claiming Priority (2)
| Application Number | Priority Date | Filing Date | Title |
|---|---|---|---|
| DE3723676 | 1987-07-17 | ||
| DE3723676A DE3723676C1 (de) | 1987-07-17 | 1987-07-17 | Schalung zum Herstellen von Betonbauteilen |
Publications (3)
| Publication Number | Publication Date |
|---|---|
| EP0299226A2 EP0299226A2 (de) | 1989-01-18 |
| EP0299226A3 EP0299226A3 (en) | 1989-03-29 |
| EP0299226B1 true EP0299226B1 (de) | 1992-09-02 |
Family
ID=6331786
Family Applications (1)
| Application Number | Title | Priority Date | Filing Date |
|---|---|---|---|
| EP88109695A Expired - Lifetime EP0299226B1 (de) | 1987-07-17 | 1988-06-16 | Schalung zum Herstellen von Betonbauteilen |
Country Status (10)
| Country | Link |
|---|---|
| US (1) | US4974388A (enExample) |
| EP (1) | EP0299226B1 (enExample) |
| CN (1) | CN1015191B (enExample) |
| AT (1) | ATE80196T1 (enExample) |
| CA (1) | CA1295843C (enExample) |
| DE (2) | DE3723676C1 (enExample) |
| ES (1) | ES2035162T3 (enExample) |
| FI (1) | FI86456C (enExample) |
| GR (1) | GR3005596T3 (enExample) |
| TR (1) | TR23563A (enExample) |
Families Citing this family (9)
| Publication number | Priority date | Publication date | Assignee | Title |
|---|---|---|---|---|
| IT1267079B1 (it) * | 1993-10-29 | 1997-01-24 | Srl Costruzioni | Procedimento per la realizzazione di manufatti prefabbricati in c.a. e relativo manufatto ottenuto |
| US6362235B1 (en) * | 1999-05-10 | 2002-03-26 | Biosensory, Inc. | Method, apparatus and compositions for inhibiting the human scent tracking ability of mosquitoes in environmentally defined three dimensional spaces |
| US7861479B2 (en) | 2005-01-14 | 2011-01-04 | Airlite Plastics, Co. | Insulated foam panel forms |
| US8919067B2 (en) | 2011-10-31 | 2014-12-30 | Airlite Plastics Co. | Apparatus and method for construction of structures utilizing insulated concrete forms |
| US8887465B2 (en) | 2012-01-13 | 2014-11-18 | Airlite Plastics Co. | Apparatus and method for construction of structures utilizing insulated concrete forms |
| USD713975S1 (en) | 2012-07-30 | 2014-09-23 | Airlite Plastics Co. | Insulative insert for insulated concrete form |
| DE102013220854A1 (de) * | 2013-10-15 | 2015-04-16 | Fwr Solutions Gmbh | Schalung für den Betonbau |
| US10787827B2 (en) | 2016-11-14 | 2020-09-29 | Airlite Plastics Co. | Concrete form with removable sidewall |
| CA3061942A1 (en) | 2018-11-19 | 2020-05-19 | Bradley J. Crosby | Concrete form with removable sidewall |
Family Cites Families (14)
| Publication number | Priority date | Publication date | Assignee | Title |
|---|---|---|---|---|
| US646502A (en) * | 1899-05-12 | 1900-04-03 | Timothy O'shea | Building construction for floors and ceilings. |
| US1671946A (en) * | 1925-03-03 | 1928-05-29 | Insulex Corp | Building construction |
| US1791278A (en) * | 1928-02-02 | 1931-02-03 | Ingalls Steel Products Company | Bar joist |
| US1794628A (en) * | 1929-01-12 | 1931-03-03 | Gen Railway Signal Co | Train-dispatching system for railroads |
| US1986171A (en) * | 1931-06-16 | 1935-01-01 | Frederick R Wilson | Steel and concrete construction |
| FR1089334A (fr) * | 1953-05-19 | 1955-03-16 | élément de coffrage pour réalisation de maconnerie en béton de remplissage, et procédé de réalisation de maconnerie de remplissage avec l'élément de coffrage | |
| US3479780A (en) * | 1967-07-25 | 1969-11-25 | Hendon Construction Co | Camber truss upper frame supporting means for sidewalls of an above ground swimming pool |
| US3555751A (en) * | 1968-08-16 | 1971-01-19 | Robert M Thorgusen | Expansible construction form and method of forming structures |
| DE2353932A1 (de) * | 1972-10-30 | 1974-05-22 | Franz Moessler | Stuetzvorrichtung fuer schalungsplatten |
| GB1479448A (en) * | 1973-10-12 | 1977-07-13 | Evans & Sons Ltd C | Decking beam assembly |
| IT7967643A0 (it) * | 1979-03-28 | 1979-03-28 | Barale Giuseppe | Sistema integrapido flessibile per armature verticali |
| US4366657A (en) * | 1980-03-05 | 1983-01-04 | Fred Hopman | Method and form for mechanically pouring adobe structures |
| DE3142148A1 (de) * | 1981-10-23 | 1983-05-05 | Heinz Ing.(grad.) 8644 Pressig Carl | "verbundwerkstoff" |
| US4667923A (en) * | 1986-02-28 | 1987-05-26 | Lee Yuan H | Molding device for modular concrete unit |
-
1987
- 1987-07-17 DE DE3723676A patent/DE3723676C1/de not_active Expired
-
1988
- 1988-06-16 EP EP88109695A patent/EP0299226B1/de not_active Expired - Lifetime
- 1988-06-16 ES ES198888109695T patent/ES2035162T3/es not_active Expired - Lifetime
- 1988-06-16 AT AT88109695T patent/ATE80196T1/de not_active IP Right Cessation
- 1988-06-16 DE DE8888109695T patent/DE3874247D1/de not_active Expired - Lifetime
- 1988-07-05 US US07/215,158 patent/US4974388A/en not_active Expired - Fee Related
- 1988-07-06 TR TR482/88A patent/TR23563A/xx unknown
- 1988-07-12 FI FI883319A patent/FI86456C/fi not_active IP Right Cessation
- 1988-07-14 CA CA000572060A patent/CA1295843C/en not_active Expired - Fee Related
- 1988-07-16 CN CN88104454.7A patent/CN1015191B/zh not_active Expired
-
1992
- 1992-09-03 GR GR920401921T patent/GR3005596T3/el unknown
Also Published As
| Publication number | Publication date |
|---|---|
| TR23563A (tr) | 1990-04-02 |
| CN1030957A (zh) | 1989-02-08 |
| ES2035162T3 (es) | 1993-04-16 |
| EP0299226A2 (de) | 1989-01-18 |
| FI86456B (fi) | 1992-05-15 |
| FI883319L (fi) | 1989-01-18 |
| EP0299226A3 (en) | 1989-03-29 |
| ATE80196T1 (de) | 1992-09-15 |
| FI883319A0 (fi) | 1988-07-12 |
| GR3005596T3 (enExample) | 1993-06-07 |
| DE3723676C1 (de) | 1988-09-15 |
| CN1015191B (zh) | 1991-12-25 |
| FI86456C (fi) | 1992-08-25 |
| US4974388A (en) | 1990-12-04 |
| CA1295843C (en) | 1992-02-18 |
| DE3874247D1 (de) | 1992-10-08 |
Similar Documents
| Publication | Publication Date | Title |
|---|---|---|
| DE69410077T2 (de) | Vorgefertigter stahlbetonverbundträger | |
| DE1659189A1 (de) | Gestaffelte Bewehrung fuer den Stahlbetonbau | |
| DE1659191A1 (de) | Bewehrungsmatte fuer den Stahlbetonbau | |
| EP0341507B1 (de) | Schalung | |
| DE3436690A1 (de) | Schalung fuer fundamentteile | |
| EP0299226B1 (de) | Schalung zum Herstellen von Betonbauteilen | |
| DE2206973C3 (de) | Räumliches Bauelement zur Bildung von Trag- und Stützwerken | |
| EP0023042B1 (de) | Vorgefertigtes Deckenelement für Gebäudedecken | |
| DE2114494C3 (de) | Vorgefertigte Stahlbeton-Doppelschale zur Herstellung von Stahlbetonwänden | |
| CH651095A5 (de) | Bewehrungselement zur uebertragung von querkraeften in plattenartigen traggliedern, z.b. flachdecken. | |
| DE9404142U1 (de) | Fachwerksträger zur Bewehrung von aus Gußmassen bestehenden Wänden oder Decken | |
| EP0715039B1 (de) | Schalungselement | |
| EP0353560A1 (de) | Abstandshalter für Betonarmierungen | |
| EP0796961B1 (de) | Porenbeton-Bauteil mit einer Bewehrungsanordnung | |
| DE8027569U1 (de) | Platte, insbesondere deckenplatte aus beton | |
| EP2175079B1 (de) | Verfahren zum Bilden einer biegesteifen Eckbewehrung für den Stahlbetonbau, Bewehrungselement sowie biegesteife Eckbewehrung | |
| DE3815858C1 (enExample) | ||
| DE8709851U1 (de) | Schalung zum Herstellen von Betonbauteilen | |
| DE60007824T2 (de) | Gitterträger | |
| DE2329943A1 (de) | Gittertraeger | |
| DE2422771C3 (de) | Raumfachwerk | |
| DE2354694A1 (de) | Quertraeger mit offenem gitter | |
| DE3444645C2 (enExample) | ||
| DE2113756A1 (de) | Verfahren zur Herstellung eines fachwerkaehnlichen Traegers | |
| DE1559530A1 (de) | Wandkonstruktion,insbesondere Bewehrungseinheit |
Legal Events
| Date | Code | Title | Description |
|---|---|---|---|
| PUAI | Public reference made under article 153(3) epc to a published international application that has entered the european phase |
Free format text: ORIGINAL CODE: 0009012 |
|
| AK | Designated contracting states |
Kind code of ref document: A2 Designated state(s): AT BE CH DE ES FR GB GR IT LI LU NL SE |
|
| PUAL | Search report despatched |
Free format text: ORIGINAL CODE: 0009013 |
|
| AK | Designated contracting states |
Kind code of ref document: A3 Designated state(s): AT BE CH DE ES FR GB GR IT LI LU NL SE |
|
| 17P | Request for examination filed |
Effective date: 19890929 |
|
| 17Q | First examination report despatched |
Effective date: 19910408 |
|
| GRAA | (expected) grant |
Free format text: ORIGINAL CODE: 0009210 |
|
| AK | Designated contracting states |
Kind code of ref document: B1 Designated state(s): AT BE CH DE ES FR GB GR IT LI LU NL SE |
|
| PG25 | Lapsed in a contracting state [announced via postgrant information from national office to epo] |
Ref country code: GR Free format text: LAPSE BECAUSE OF FAILURE TO SUBMIT A TRANSLATION OF THE DESCRIPTION OR TO PAY THE FEE WITHIN THE PRESCRIBED TIME-LIMIT Effective date: 19920902 |
|
| REF | Corresponds to: |
Ref document number: 80196 Country of ref document: AT Date of ref document: 19920915 Kind code of ref document: T |
|
| REF | Corresponds to: |
Ref document number: 3874247 Country of ref document: DE Date of ref document: 19921008 |
|
| ET | Fr: translation filed | ||
| GBT | Gb: translation of ep patent filed (gb section 77(6)(a)/1977) | ||
| ITF | It: translation for a ep patent filed | ||
| REG | Reference to a national code |
Ref country code: GR Ref legal event code: FG4A Free format text: 3005596 |
|
| REG | Reference to a national code |
Ref country code: ES Ref legal event code: FG2A Ref document number: 2035162 Country of ref document: ES Kind code of ref document: T3 |
|
| PLBE | No opposition filed within time limit |
Free format text: ORIGINAL CODE: 0009261 |
|
| STAA | Information on the status of an ep patent application or granted ep patent |
Free format text: STATUS: NO OPPOSITION FILED WITHIN TIME LIMIT |
|
| 26N | No opposition filed | ||
| EPTA | Lu: last paid annual fee | ||
| REG | Reference to a national code |
Ref country code: GR Ref legal event code: MM2A Free format text: 3005596 |
|
| EAL | Se: european patent in force in sweden |
Ref document number: 88109695.2 |
|
| REG | Reference to a national code |
Ref country code: GB Ref legal event code: IF02 |
|
| PGFP | Annual fee paid to national office [announced via postgrant information from national office to epo] |
Ref country code: SE Payment date: 20070614 Year of fee payment: 20 |
|
| PGFP | Annual fee paid to national office [announced via postgrant information from national office to epo] |
Ref country code: CH Payment date: 20070615 Year of fee payment: 20 Ref country code: NL Payment date: 20070615 Year of fee payment: 20 |
|
| PGFP | Annual fee paid to national office [announced via postgrant information from national office to epo] |
Ref country code: AT Payment date: 20070618 Year of fee payment: 20 |
|
| PGFP | Annual fee paid to national office [announced via postgrant information from national office to epo] |
Ref country code: LU Payment date: 20070621 Year of fee payment: 20 |
|
| PGFP | Annual fee paid to national office [announced via postgrant information from national office to epo] |
Ref country code: DE Payment date: 20070622 Year of fee payment: 20 |
|
| PGFP | Annual fee paid to national office [announced via postgrant information from national office to epo] |
Ref country code: ES Payment date: 20070628 Year of fee payment: 20 |
|
| PGFP | Annual fee paid to national office [announced via postgrant information from national office to epo] |
Ref country code: GB Payment date: 20070621 Year of fee payment: 20 |
|
| PGFP | Annual fee paid to national office [announced via postgrant information from national office to epo] |
Ref country code: IT Payment date: 20070613 Year of fee payment: 20 |
|
| PGFP | Annual fee paid to national office [announced via postgrant information from national office to epo] |
Ref country code: BE Payment date: 20070711 Year of fee payment: 20 |
|
| PGFP | Annual fee paid to national office [announced via postgrant information from national office to epo] |
Ref country code: FR Payment date: 20070615 Year of fee payment: 20 |
|
| BE20 | Be: patent expired |
Owner name: *PECA-VERBUNDTECHNIK G.M.B.H. Effective date: 20080616 |
|
| REG | Reference to a national code |
Ref country code: GB Ref legal event code: PE20 Expiry date: 20080615 |
|
| REG | Reference to a national code |
Ref country code: CH Ref legal event code: PL |
|
| NLV7 | Nl: ceased due to reaching the maximum lifetime of a patent |
Effective date: 20080616 |
|
| EUG | Se: european patent has lapsed | ||
| REG | Reference to a national code |
Ref country code: ES Ref legal event code: FD2A Effective date: 20080617 |
|
| PG25 | Lapsed in a contracting state [announced via postgrant information from national office to epo] |
Ref country code: NL Free format text: LAPSE BECAUSE OF EXPIRATION OF PROTECTION Effective date: 20080616 Ref country code: ES Free format text: LAPSE BECAUSE OF EXPIRATION OF PROTECTION Effective date: 20080617 |
|
| PG25 | Lapsed in a contracting state [announced via postgrant information from national office to epo] |
Ref country code: GB Free format text: LAPSE BECAUSE OF EXPIRATION OF PROTECTION Effective date: 20080615 |