EP0212366A2 - Federnder Greifer für Bogenrotationsdruckmaschinen - Google Patents

Federnder Greifer für Bogenrotationsdruckmaschinen Download PDF

Info

Publication number
EP0212366A2
EP0212366A2 EP86110488A EP86110488A EP0212366A2 EP 0212366 A2 EP0212366 A2 EP 0212366A2 EP 86110488 A EP86110488 A EP 86110488A EP 86110488 A EP86110488 A EP 86110488A EP 0212366 A2 EP0212366 A2 EP 0212366A2
Authority
EP
European Patent Office
Prior art keywords
gripper
clamping piece
sheet
finger
movement
Prior art date
Legal status (The legal status is an assumption and is not a legal conclusion. Google has not performed a legal analysis and makes no representation as to the accuracy of the status listed.)
Granted
Application number
EP86110488A
Other languages
English (en)
French (fr)
Other versions
EP0212366A3 (en
EP0212366B1 (de
Inventor
Manfred Rüger
Valentin Gensheimer
Hans-Otto Haas
Current Assignee (The listed assignees may be inaccurate. Google has not performed a legal analysis and makes no representation or warranty as to the accuracy of the list.)
Manroland AG
Original Assignee
MAN Roland Druckmaschinen AG
Priority date (The priority date is an assumption and is not a legal conclusion. Google has not performed a legal analysis and makes no representation as to the accuracy of the date listed.)
Filing date
Publication date
Application filed by MAN Roland Druckmaschinen AG filed Critical MAN Roland Druckmaschinen AG
Priority to AT86110488T priority Critical patent/ATE46859T1/de
Publication of EP0212366A2 publication Critical patent/EP0212366A2/de
Publication of EP0212366A3 publication Critical patent/EP0212366A3/de
Application granted granted Critical
Publication of EP0212366B1 publication Critical patent/EP0212366B1/de
Expired legal-status Critical Current

Links

Images

Classifications

    • BPERFORMING OPERATIONS; TRANSPORTING
    • B41PRINTING; LINING MACHINES; TYPEWRITERS; STAMPS
    • B41FPRINTING MACHINES OR PRESSES
    • B41F21/00Devices for conveying sheets through printing apparatus or machines
    • B41F21/10Combinations of transfer drums and grippers
    • B41F21/104Gripper details

Definitions

  • the invention relates to a resilient gripper for sheet-fed rotary printing machines according to the preamble of the first claim.
  • resilient grippers are designed in such a way that they can evenly absorb the tension that is exerted on the grippers by the paper. Since a slight pulling out of the paper from the gripper causes doubling or registration problems, one always tries to design the gripper with the maximum holding force. This means that the gripper springs have a very steep characteristic. The bearing clearances of all grippers must also be kept very tight, since the slightest air automatically affects fitting or doubling when closing. This small bearing play inevitably leads to high friction of the grippers at the bearing point, i.e. that part of the closing spring force is consumed in the camp itself. It also follows from this that the bearings of the gripper shaft must be kept very stable in order to absorb a deformation when the grippers close impulsively. A disadvantage of this is the creation of very high mass forces.
  • DD-PS 66 634 From DD-PS 66 634 it is known to support a one-piece gripper lever on a gripper shaft and to adjust its pretensioning force by means of two compression springs.
  • the disadvantage is that the gripper lever determined its statically The position loses if the fullest possible compensation of the bearing force is to be achieved. With very high machine speeds and increased preload forces, adequate centering is no longer possible, for example as a result of spurious vibrations that are introduced into the machine.
  • Another disadvantage is the relatively large radius of inertia and the mass of the vibrating parts for initiating the holding process.
  • a gripper is known in which the axis of the gripper finger joint is pivotally mounted in a swivel joint parallel to the gripper shaft, the axis of the gripper finger joint being located approximately on the straight line extending away from the gripper tip, which is the supporting surface for the hook tip connects to the axis of the hook shaft.
  • the geometry shown in FIG. 1 shows that the force exerted by the gripper tip on the gripper support continues to have a component in the direction of sheet travel. As a result, there is still a risk of the sheet moving, and there is also a possible torsion of the gripper shaft with high pretensioning forces, although an improvement over conventional grippers with a circular movement about the gripper shaft axis can be achieved.
  • DD-PS 67 992 From DD-PS 67 992 it is known to mount a gripper by means of a clamping piece on a pivotable gripper shaft having a fixed axis and a gripper tongue in a first movement phase a circular movement around the gripper shaft axis and in a second movement phase an approximately perpendicular with respect to the gripper support To give movement.
  • This gripper arrangement also works a non-positively working parallel leaf spring arrangement and a gripper tongue that can not withstand large closing forces without bulging. The gripper is therefore completely unsuitable for the highest possible closing forces.
  • a vertically closing gripper with a controlled gripper shaft is known from DE-PS 2 030 040.
  • a disadvantage is the frictional control of the gripper shaft relative to the fulcrum of a control lever by means of a guide on a control cam.
  • the additional control effort leads to an increase in the inertial forces of the system vibrating with a large radius of inertia and thus to a reduction in the performance of the printing press.
  • the control cam is heavily soiled, it is no longer possible to guide the second vertical movement phase exactly.
  • the invention has for its object a resilient gripper of the type mentioned with regard to the mass and the carrier optimize the radii of the components and to give the gripper finger a movement perpendicular to the gripper support or a slight pulling movement in a second movement phase.
  • the advantages of the solution according to the invention are that irrespective of a soft gripper support without bulging the gripper tip in an extended speed range with high pretensioning forces and overpressures in the direction of sheet travel, neither disturbing forces nor vibrations can have an effect.
  • the holding effect is improved by an increased forced running of a vertical closing process or a closing process that takes place with little pulling movement.
  • the gripper finger maintains its statically determined position and does not react so slowly. There are also minimal gripper masses and minimal acceleration forces.
  • the gripper finger 2 cooperating with the gripper support 1 can be formed in one piece as a sheet metal part by means of links 11, 12 preloaded via stop screw 8 and stop 13, which are elastically deformable.
  • the handlebars 11, 12 are with a clamp piece firmly connected, which consists of preformed intertwined sheet metal strips 14, 15 which can be clamped on the gripper shaft 7 by means of a screw.
  • the links 11, 12 must also control a vertical movement or slight pulling movement of the gripper finger 2 in a second movement phase, which is similar to the movement that is generated by resilient guide elements in the form of leaf springs.
  • corresponding connecting lines of the links 11, 12 are provided, which likewise run through the fixed axis of the gripper shaft 7.

Landscapes

  • Supply, Installation And Extraction Of Printed Sheets Or Plates (AREA)
  • Feeding Of Articles By Means Other Than Belts Or Rollers (AREA)
  • Discharge By Other Means (AREA)

Abstract

Die Erfindung betrifft einen federnden Greifer für Bogenrotationsdruckmaschinen, der aus einem eine Schwenkbewegung ausführenden Klemmstück besteht und einen zum Klemmstück federnd angeordneten Greiferfinger aufweist, dessen Vorspannkraft einstellbar ist. Aufgabe der Erfindung ist es, den federnden Greifer hinsichtlich der Masse und der Trägheitsradien der Bauteile zu optimieren und den Greiferfinger in einer zweiten Bewegungsphase eine Bewegung senkrecht zur Greiferauflage oder eine geringe Zugbewegung zu erteilen. Erfindungsgemäß ist hierzu der Greiferfinger (2) mit dem Klemmstück (3) über vorgespannte Blattfedern (4, 5) verbunden und die Anlenkpunkte jeder Blattfeder (4 bzw. 5) liegen auf einer Verbindungslinie, die durch die ortsfeste Achse der Greiferwelle (7) vertäuft.

Description

  • Die Erfindung betrifft einen federnden Greifer für Bogenrotationsdruckmaschinen nach dem Oberbegriff des ersten Patentanspruchs.
  • Bekanntlich sind federnde Greifer so gestaltet, daß sie den Zug, der vom Papier auf die Greifer ausgeübt wird, über Kraftschluß gleichmäßig aufnehmen können. Da ein geringfügiges Herausziehen des Papiers aus dem Greifer Doublier- bzw. Passerprobleme hervorruft, ist man immer bestrebt, den Greifer mit der maximalen Haltekraft auszulegen. Dies führt dazu, daß die Greiferfedern eine sehr steile Kennlinie haben. Die Lagerspiele aller Greifer müssen ebenfalls sehr eng gehalten werden, da sich die geringste Luft beim Schließen automatisch auf das Passen bzw. Doublieren auswirkt. Mit diesem geringen Lagerspiel ist zwangsläufig eine hohe Reibung der Greifer an der Lagerstelle verbunden, d.h. daß ein Teil der Schließfederkraft im Lager selbst aufgezehrt wird. Ferner ergibt sich hieraus, daß die Lager der Greiferwelle sehr stabil gehalten werden müssen, um eine Verformung beim impulsartigen Schließen der Greifer aufzufangen. Ein Nachteil hieraus ist das Entstehen sehr hoher Massenkräfte.
  • Insgesamt kann man sagen, daß bekannte Greifersysteme zum Steuern sehr hohe Kräfte benötigen, die nur z.T. zur Haltekraft des Bogens genutzt werden können und/oder das durch diese hohen Kräfte, schlagartig auftretend, Störschwingungen in die Maschine eingebracht werden.
  • Aus der DD-PS 66 634 ist es bekannt, einen einteiligen Greiferhebel auf einer Greiferwelle abzustützen und dessen Vorspannkraft durch zwei Druckfedern einzustellen. Von Nachteil ist, daß der Greiferhebel seine statisch bestimmte Lage verliert, wenn eine möglichst vollständige Kompensation der Lagerkraft erreicht werden soll. Bei sehr hohen Maschinengeschwindigkeiten und erhöhten Vorspannkräften ist keine ausreichende Zentrierung, z.B. infolge Störschwingungen, die in die Maschine eingebracht werden, mehr möglich. Von Nachteil sind ferner der verhältnismäßig große Trägheitsradius und die Masse der schwingenden Teile für das Einleiten des Haltevorganges.
  • Aus der DE-OS 1 908 181 ist ein Greifer bekannt, bei dem die Achse des Greiferfingergelenkes in einem zur Greiferwelle parallelen Drehgelenk schwenkbar gelagert ist, wobei die Achse des Greiferfingergelenks annähernd auf der von der Greiferspitze wegweisenden Verlängerung einer Geraden gelegen ist, welche die Abstützfläche für die Greiferspitze mit der Achse der Greiferwelle verbindet. Aus der in Fig. 1 gezeigten Geometrie geht hervor, daß die von der Greiferspitze auf die Greiferauflage ausgeübte Kraft weiterhin eine Komponente in Bogenlaufrichtung aufweist. Die Gefahr des Verschiebens des Bogens besteht dadurch, sowie durch eine möglich Torsion der Greiferwelle bei hohen Vorspannkräften auch weiterhin, wenn auch eine Verbesserung gegenüber üblichen Greifern mit kreisförmiger Bewegung um die Greiferwellenachse erreichbar ist.
  • Aus der DD-PS 67 992 ist es bekannt, einen Greifer mittels Klemmstück an einer eine ortsfeste Achse aufweisenden schwenkbaren Greiferwelle zu lagern und einer Greiferzunge in einer ersten Bewegungsphase eine Kreisbewegung um die Greiferwellenachse und in einer zweiten Bewegungsphase eine in Bezug auf die Greiferauflage annähernd senkrechte Bewegung zu erteilen. Diese Greiferanordnung wirkt aber mit einer kraftschlüssig arbeitenden parallelen Blattfederanordnung und einer Greiferzunge zusammen, die keine großen Schließkräfte erträgt, ohne zu beulen. Der Greifer ist demnach für möglichst hohe Schließkräfte völlig ungeeignet.
  • Ein senkrecht schließender Greifer mit einer gesteuerten Greiferwelle ist aus der DE-PS 2 030 040 bekannt. Von Nachteil ist die kraftschlüssige Steuerung der Greiferwelle relativ zum Drehpunkt eines Steuerhebels mittels einer Führung auf einer Steuerkurve. Der zusätzliche Steuerungsaufwand führt zu einer Erhöhung der Massenkräfte des mit großem Trägheitsradius schwingenden Systems und damit zu einer Verminderung des Leistungsvermögens der Druckmaschine. Außerdem ist bei größeren Verschmutzungen der Steuerkurve keine exakte Führung der zweiten senkrechten Bewegungsphase mehr möglich.
  • Ferner ist es aus der DE-OS 3 130 689 bekannt, in Verbindung mit einer weichen Greiferauflage einen eine flache Greiferflugbahn ausführenden und in der letzten Bewegungsphase senkrecht schließenden Greiferfinger mit einer in dem Greiferfinger angeordneten und gegen den Bogengreiferaufschlag wirkenden federnden Anschlagschraube zu versehen. Eine weitere Stellschraube ist erforderlich, um federnd miteinander gekoppelte Halter einzustellen, mittels denen der Greiferfinger der Greiferwelle zugeordnet ist. Von Nachteil ist, daß der Greiferfinger einer weichen Greiferauflage zugeordnet werden muß und an zwei Stellschrauben umständliche Einstellungen erforderlich sind, um eine lagegenaue Obergabe zu erreichen. Bei höheren Maschinengeschwindigkeiten wird der Schließvorgang unsauber eingeleitet.
  • Der Erfindung liegt die Aufgabe zugrunde, einen federnden Greifer genannter Art hinsichtlich der Masse und der Trägheitsradien der Bauteile zu optimieren und dem Greiferfinger in einer zweiten Bewegungsphase eine Bewegung senkrecht zur Greiferauflage oder eine geringe Zugbewegung zu erteilen.
  • Die Aufgabe wird durch die kennzeichnenden Merkmale des ersten Patentanspruchs gelöst. Weiterbildungen der Erfindung ergeben sich aus dem Unteranspruch, der Zeichnung und der Beschreibung.
  • Die Vorteile der erfindungsgemäßen Lösung bestehen darin, daß unabhängig von einer weichen Greiferauflage ohne Ausbeulen der Greiferspitze in einem erweiterten Geschwindigkeitsbereich bei hohen Vorspannkräften und Überdrückungen in Bogenlaufrichtung sich weder störende Kräfte noch Schwingungen auswirken können. Der Halteeffekt wird durch einen erhöhten Zwangslauf eines senkrechten oder mit geringer Zugbewegung erfolgenden Schließvorganges verbessert. Der Greiferfinger behält seine statisch bestimmte Lage und reagiert nicht so träge. Es ergeben sich ferner minimale Greifermassen und minimale Beschleunigungskräfte.
  • Ein Ausführungsbeispiel der Erfindung wird nachfolgend anhand einer Zeichnung näher beschrieben.
  • Hierzu zeigt:
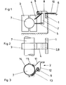
    • Fig. 1 eine Seitenansicht eines Greifers,
    • Fig. 2 eine Draufsicht auf Fig. 1,
    • Fig. 3 eine Seitenansicht eines weiteren Greifers.
    Gemäß Fig. 1 ist ein mit einer Greiferauflage 1 zusammenarbeitender Greiferfinger 2 mit einem Klemmstück 3 über vorgespannte Blattfedern 4, 5 elastisch verbunden. Das Klemmstück 3 ist auf einer Greiferwelle 7 befestigt, welche mit ortsfester Achse innerhalb eines Zylinders 6 möglichst tief angeordnet werden kann. Die am Greiferfinger 2 befestigten Blattfedern 4, 5 weisen Anlenkpunkte auf, die auf einer Verbindungslinie liegen, welche durch die ortsfeste Achse der Greiferwelle 7 verläuft und drücken den Greiferfinger 2 nachgiebig gegen den zwischen Greiferauflage 1 und einer Greiferspitze 8 liegenden Bogen 10. Im geöffneten Zustand steht der Greiferfinger 2 unter einer mit einer Anschlagschraube 9 regulierbaren Vorspannung. Bereits durch geringe Veränderung der Anlenkpunkte wird die Bewegung der Greiferspitze 8 verändert. Beim Schließen des Greifers erfolgt eine leicht S-förmige Verformung der Blattfeder 4 während die Blattfeder 5 nicht nennenswert verformt werden kann. Eine derart elastisch gesteuerte Senkrechtbewegung oder geringe Zugbewegung des Greiferfingers 2 vermeidet jede Schiebebewegung zwischen Greiferspitze 8 und Greiferauflage 1, ohne daß bei großen Querkräften das elastische System undefiniert ausbeulen kann und bewirkt zugleich ein verbessertes dynamisches Verhalten des schwingenden Systems wegen der geringen Masse und kleineren Trägheitsradien der Bauteile.
  • Gemäß einer anderen in der Zeichnung in Fig. 3 dargestellten Ausführung der Erfindung kann der mit der Greiferauflage 1 zusammenarbeitende Greiferfinger 2 einstückig als Blechformteil durch über Anschlagschraube 8 und Anschlag 13 vorgespannte Lenker 11, 12 gebildet sein, die elastisch verformbar sind. Die Lenker 11, 12 sind mit einem Klemmstück fest verbunden, welches aus vorgeformten ineinander gehängten Blechstreifen 14, 15 besteht, die mittels einer Schraube auf der Greiferwelle 7 klemmbar sind.
  • Die Lenker 11, 12 müssen ebenfalls eine Senkrechtbewegung oder geringe Zugbewegung des Greiferfingers 2 in einer zweiten Bewegungsphase steuern, die ähnlich der Bewegung ist, wie sie durch federnde Führungselemente in Form von Blattfedern erzeugt wird. Hierzu sind entsprechende Verbindungslinien der Lenker 11, 12 vorgesehen, welche ebenfalls durch die ortsfeste Achse der Greiferwelle 7 verlaufen.
  • Bezugszeichenliste
    • 1 Greiferauflage
    • 2 Greiferfinger
    • 3 Klemmstück
    • 4 Blattfeder
    • 5 "
    • 6 Zylinder
    • 7 Greiferwelle
    • 8 Greiferspitze
    • 9 Anschlagschraube
    • 10 Bogen
    • 11 Lenker
    • 12 Lenker
    • 13 Anschlag
    • 14 Blechstreifen
    • 15 Blechstreifen

Claims (2)

1.) Federnder Greifer für Bogenrotationsdruckmaschinen, der aus einem eine Schwenkbewegung ausführenden Klemmstück besteht, das auf einer mit ortsfester Achse innerhalb eines Zylinders oder einer Trommel möglichst tief gelagerten Greiferwelle befestigt ist und einen zum Klemmstück federnd angeordneten Greiferfinger aufweist, dessen Vorspannkraft einstellbar ist, dadurch gekennzeichnet, daß der Greiferfinger (2) mit dem Klemmstück (3) über vorgespannte Blattfedern (4, 5) verbunden ist und daß die Anlenkpunkte jeder Blattfeder (4 bzw. 5) auf einer Verbindungslinie liegen, die durch die ortsfeste Achse der Greiferwelle (7) verläuft.
2.) Federnder Greifer nach Anspruch 1, dadurch gekennzeichnet, daß der Greiferfinger (2) mit vorgespannten Lenkern (11, 12) als ein Blechformteil ausgebildet mit dem Klemmstück (3) verbunden ist.
EP86110488A 1985-08-19 1986-07-30 Federnder Greifer für Bogenrotationsdruckmaschinen Expired EP0212366B1 (de)

Priority Applications (1)

Application Number Priority Date Filing Date Title
AT86110488T ATE46859T1 (de) 1985-08-19 1986-07-30 Federnder greifer fuer bogenrotationsdruckmaschinen.

Applications Claiming Priority (2)

Application Number Priority Date Filing Date Title
DE19853529612 DE3529612A1 (de) 1985-08-19 1985-08-19 Federnder greifer fuer bogenrotationsdruckmaschinen
DE3529612 1985-08-19

Publications (3)

Publication Number Publication Date
EP0212366A2 true EP0212366A2 (de) 1987-03-04
EP0212366A3 EP0212366A3 (en) 1987-11-04
EP0212366B1 EP0212366B1 (de) 1989-10-04

Family

ID=6278821

Family Applications (1)

Application Number Title Priority Date Filing Date
EP86110488A Expired EP0212366B1 (de) 1985-08-19 1986-07-30 Federnder Greifer für Bogenrotationsdruckmaschinen

Country Status (5)

Country Link
US (1) US4719854A (de)
EP (1) EP0212366B1 (de)
JP (1) JPS6251448A (de)
AT (1) ATE46859T1 (de)
DE (1) DE3529612A1 (de)

Families Citing this family (8)

* Cited by examiner, † Cited by third party
Publication number Priority date Publication date Assignee Title
DE3806526A1 (de) * 1988-03-01 1989-09-14 Heidelberger Druckmasch Ag Vorrichtung zum spannen von biegsamen druckplatten am plattenzylinder von rotationsdruckmaschinen
DE4101987A1 (de) * 1991-01-24 1992-07-30 Roland Man Druckmasch Bogengreifereinrichtung an bogen-rotationsdruckmaschinen
DE4127713C2 (de) * 1991-08-22 1996-03-21 Koenig & Bauer Albert Ag Greifer für Bogenrotationsdruckmaschinen
GB2268928B (en) * 1992-07-22 1995-10-18 Heidelberger Druckmasch Ag Sheet gripper for a paper-carrying cylinder of a sheet-fed printing press
DE19816512B4 (de) * 1997-08-18 2008-08-28 Heidelberger Druckmaschinen Ag Bogengreifer in einer Bogenrotationsdruckmaschine
CN101024328B (zh) 2006-02-20 2010-12-15 海德堡印刷机械股份公司 用于传送纸张的装置
DE102007005958B4 (de) * 2006-02-20 2015-07-16 Heidelberger Druckmaschinen Ag Vorrichtung zum Bogentransport
DE102009027508A1 (de) * 2009-07-07 2011-01-20 Manroland Ag Greifer einer bogenhandhabenden Maschine

Family Cites Families (18)

* Cited by examiner, † Cited by third party
Publication number Priority date Publication date Assignee Title
DE371756C (de) * 1923-03-21 Schnellpressenfabrik Act Ges H Auf der Greiferstange drehbar angeordneter Greifer fuer An- und Ablegevorrichtungen sowie fuer Druckzylinder an Druckmaschinen
DD67992A (de) *
DD66634A (de) *
DE356241C (de) * 1920-02-22 1922-07-18 Maschf Augsburg Nuernberg Ag Greifer fuer die Druckzylinder von Druckmaschinen
DE670298C (de) * 1937-02-28 1939-01-16 Albert Schnellpressen Auf einer verschwenkbaren Spindel lose angeordneter Bogengreifer fuer Druckmaschinen
US2378478A (en) * 1943-02-18 1945-06-19 Goss Printing Press Co Ltd Printing press gripper mechanism
SU67992A1 (ru) 1945-10-16 1946-11-30 И.Н. Новиков Устройство дл подрессоривани повозок
US2906204A (en) * 1957-06-24 1959-09-29 Cottrell Company Gripper assemblies
US2935937A (en) * 1957-10-29 1960-05-10 Davidson Corp Plate clamp for printing machine
US3044771A (en) * 1960-04-18 1962-07-17 Harris Intertype Corp Sheet handling cylinder
AT298522B (de) * 1968-02-21 1972-04-15 Polygraph Leipzig Vorrichtung zum klemmen von materialbogen
US3536321A (en) * 1968-06-13 1970-10-27 Planeta Veb Druckmasch Werke Device for clamping sheet material
DE1908181A1 (de) * 1969-02-19 1970-11-05 Roland Offsetmaschf Klemmgreifer fuer Bogenrotationsdruckmaschinen
US3606308A (en) * 1969-06-20 1971-09-20 Miller Printing Machinery Co Sheet gripping device
ES230780Y (es) * 1977-08-26 1978-07-01 Conjunto de pinza y abrazadera para el transporte de laminasen maquinas litograficas.
DD154083A1 (de) * 1980-11-17 1982-02-24 Arndt Jentzsch Bogengreifereinrichtung
EP0073955B1 (de) * 1981-09-04 1985-11-13 Motter Printing Press Co. Greifer für bogenverarbeitende Maschinen
US4647031A (en) * 1985-07-22 1987-03-03 The Dow Chemical Company Gripper finger device

Also Published As

Publication number Publication date
EP0212366A3 (en) 1987-11-04
US4719854A (en) 1988-01-19
DE3529612C2 (de) 1990-01-18
DE3529612A1 (de) 1987-02-26
JPH0530383B2 (de) 1993-05-07
ATE46859T1 (de) 1989-10-15
EP0212366B1 (de) 1989-10-04
JPS6251448A (ja) 1987-03-06

Similar Documents

Publication Publication Date Title
EP0213397B1 (de) Federnder Greifer für Bogenrotationsdruckmaschinen
DD154083A1 (de) Bogengreifereinrichtung
EP0212368B1 (de) Federnder Greifer für Bogenrotationsdruckmaschinen
EP0261412B1 (de) Klemmgreifer für Bogenrotationsdruckmaschinen
EP0212366A2 (de) Federnder Greifer für Bogenrotationsdruckmaschinen
DE3001271C2 (de) Zuführungseinrichtung vom Walzentyp zum Zuführen von flächigem Material
DE3830946C2 (de)
DE4230218C2 (de) Vorgreifer einer Bogendruckmaschine
EP0213398B1 (de) Federnder Greifer für Bogenrotationsdruckmaschinen
EP0933203A1 (de) Sauggreifer zur Übergabe der Hinterkante eines Bogens in einer Wendeeinrichtung einer Bogenrotationsdruckmachine
DD258211A1 (de) Einrichtung zum steuern der greifer eines vorgreifers in bogenverarbeitenden maschinen
DE3632768C1 (de) Klemmgreifer fuer Bogenrotationsdruckmaschinen
EP0212367A2 (de) Federnder Greifer für Bogenrotationsdruckmaschinen
EP0250963A2 (de) Vorrichtung zum Antrieb eines schwingenden Vorgreifers einer Druckmaschine
DE19611124B4 (de) Bogenübertragungseinrichtung einer Bogenrotationsdruckmaschine
EP0803457B1 (de) Vorrichtung zum Trennen und Anheben des obersten Bogens von einem Bogenstapel
DE102004060646A1 (de) Bogenpositioniervorrichtung einer Bogenzuführeinrichtung von einer Druckerpresse
DE3011365C2 (de)
EP0402615B1 (de) Bogengreifer für bogenverarbeitende Maschinen
EP0560102B1 (de) Vorrichtung für den umfangsseitigen Antrieb einer Wickelrolle aus bahnförmigem Gut
AT240322B (de) Vorrichtung zum selbsttätigen Geradeführen von Gewebebahnen in Textilmaschinen
DE8523759U1 (de) Federnder Greifer für Bogenrotationsdruckmaschinen
DE202023105035U1 (de) Vorrichtung zur Lagerung eines Druckzylinders
DE2360241C3 (de) Einrichtung zum schrittweisen Vorschieben von Band- oder Streifenmaterial, an Pressen, Stanzen oder ähnlichen Arbeitsmaschinen
DE19710630A1 (de) Vorrichtung zum Ausrichten von in fortlaufender Reihe transportierten flachen Gegenständen

Legal Events

Date Code Title Description
PUAI Public reference made under article 153(3) epc to a published international application that has entered the european phase

Free format text: ORIGINAL CODE: 0009012

AK Designated contracting states

Kind code of ref document: A2

Designated state(s): AT CH FR GB IT LI NL SE

PUAL Search report despatched

Free format text: ORIGINAL CODE: 0009013

AK Designated contracting states

Kind code of ref document: A3

Designated state(s): AT CH FR GB IT LI NL SE

17P Request for examination filed

Effective date: 19870930

17Q First examination report despatched

Effective date: 19880526

ITF It: translation for a ep patent filed
GRAA (expected) grant

Free format text: ORIGINAL CODE: 0009210

AK Designated contracting states

Kind code of ref document: B1

Designated state(s): AT CH FR GB IT LI NL SE

REF Corresponds to:

Ref document number: 46859

Country of ref document: AT

Date of ref document: 19891015

Kind code of ref document: T

ET Fr: translation filed
GBT Gb: translation of ep patent filed (gb section 77(6)(a)/1977)
PLBE No opposition filed within time limit

Free format text: ORIGINAL CODE: 0009261

STAA Information on the status of an ep patent application or granted ep patent

Free format text: STATUS: NO OPPOSITION FILED WITHIN TIME LIMIT

26N No opposition filed
ITTA It: last paid annual fee
EAL Se: european patent in force in sweden

Ref document number: 86110488.3

PGFP Annual fee paid to national office [announced via postgrant information from national office to epo]

Ref country code: CH

Payment date: 19950614

Year of fee payment: 10

PGFP Annual fee paid to national office [announced via postgrant information from national office to epo]

Ref country code: AT

Payment date: 19950620

Year of fee payment: 10

PGFP Annual fee paid to national office [announced via postgrant information from national office to epo]

Ref country code: NL

Payment date: 19950629

Year of fee payment: 10

PGFP Annual fee paid to national office [announced via postgrant information from national office to epo]

Ref country code: GB

Payment date: 19960613

Year of fee payment: 11

PGFP Annual fee paid to national office [announced via postgrant information from national office to epo]

Ref country code: FR

Payment date: 19960617

Year of fee payment: 11

PGFP Annual fee paid to national office [announced via postgrant information from national office to epo]

Ref country code: SE

Payment date: 19960619

Year of fee payment: 11

PG25 Lapsed in a contracting state [announced via postgrant information from national office to epo]

Ref country code: AT

Effective date: 19960730

PG25 Lapsed in a contracting state [announced via postgrant information from national office to epo]

Ref country code: LI

Effective date: 19960731

Ref country code: CH

Effective date: 19960731

PG25 Lapsed in a contracting state [announced via postgrant information from national office to epo]

Ref country code: NL

Effective date: 19970201

REG Reference to a national code

Ref country code: CH

Ref legal event code: PL

PG25 Lapsed in a contracting state [announced via postgrant information from national office to epo]

Ref country code: FR

Effective date: 19970328

NLV4 Nl: lapsed or anulled due to non-payment of the annual fee

Effective date: 19970201

REG Reference to a national code

Ref country code: FR

Ref legal event code: ST

PG25 Lapsed in a contracting state [announced via postgrant information from national office to epo]

Ref country code: GB

Free format text: LAPSE BECAUSE OF NON-PAYMENT OF DUE FEES

Effective date: 19970730

PG25 Lapsed in a contracting state [announced via postgrant information from national office to epo]

Ref country code: SE

Effective date: 19970731

GBPC Gb: european patent ceased through non-payment of renewal fee

Effective date: 19970730

EUG Se: european patent has lapsed

Ref document number: 86110488.3

PG25 Lapsed in a contracting state [announced via postgrant information from national office to epo]

Ref country code: IT

Free format text: LAPSE BECAUSE OF NON-PAYMENT OF DUE FEES;WARNING: LAPSES OF ITALIAN PATENTS WITH EFFECTIVE DATE BEFORE 2007 MAY HAVE OCCURRED AT ANY TIME BEFORE 2007. THE CORRECT EFFECTIVE DATE MAY BE DIFFERENT FROM THE ONE RECORDED.

Effective date: 20050730