EP0099352A2 - Bremsvorrichtung für Aufzüge - Google Patents

Bremsvorrichtung für Aufzüge Download PDF

Info

Publication number
EP0099352A2
EP0099352A2 EP83890114A EP83890114A EP0099352A2 EP 0099352 A2 EP0099352 A2 EP 0099352A2 EP 83890114 A EP83890114 A EP 83890114A EP 83890114 A EP83890114 A EP 83890114A EP 0099352 A2 EP0099352 A2 EP 0099352A2
Authority
EP
European Patent Office
Prior art keywords
rail
housing frame
braking device
roller
leaf spring
Prior art date
Legal status (The legal status is an assumption and is not a legal conclusion. Google has not performed a legal analysis and makes no representation as to the accuracy of the status listed.)
Granted
Application number
EP83890114A
Other languages
English (en)
French (fr)
Other versions
EP0099352A3 (en
EP0099352B1 (de
Inventor
Werner Koppensteiner
Current Assignee (The listed assignees may be inaccurate. Google has not performed a legal analysis and makes no representation or warranty as to the accuracy of the list.)
Otis Elevator Co
Original Assignee
Otis Elevator Co
Priority date (The priority date is an assumption and is not a legal conclusion. Google has not performed a legal analysis and makes no representation as to the accuracy of the date listed.)
Filing date
Publication date
Application filed by Otis Elevator Co filed Critical Otis Elevator Co
Publication of EP0099352A2 publication Critical patent/EP0099352A2/de
Publication of EP0099352A3 publication Critical patent/EP0099352A3/de
Application granted granted Critical
Publication of EP0099352B1 publication Critical patent/EP0099352B1/de
Expired legal-status Critical Current

Links

Images

Classifications

    • BPERFORMING OPERATIONS; TRANSPORTING
    • B66HOISTING; LIFTING; HAULING
    • B66BELEVATORS; ESCALATORS OR MOVING WALKWAYS
    • B66B5/00Applications of checking, fault-correcting, or safety devices in elevators
    • B66B5/28Buffer-stops for cars, cages, or skips
    • BPERFORMING OPERATIONS; TRANSPORTING
    • B66HOISTING; LIFTING; HAULING
    • B66BELEVATORS; ESCALATORS OR MOVING WALKWAYS
    • B66B5/00Applications of checking, fault-correcting, or safety devices in elevators
    • B66B5/02Applications of checking, fault-correcting, or safety devices in elevators responsive to abnormal operating conditions
    • B66B5/16Braking or catch devices operating between cars, cages, or skips and fixed guide elements or surfaces in hoistway or well
    • B66B5/18Braking or catch devices operating between cars, cages, or skips and fixed guide elements or surfaces in hoistway or well and applying frictional retarding forces
    • B66B5/22Braking or catch devices operating between cars, cages, or skips and fixed guide elements or surfaces in hoistway or well and applying frictional retarding forces by means of linearly-movable wedges

Definitions

  • the invention relates to a braking device for lifts, having a housing frame which is designed to receive a rail which preferably has two opposing and flat surfaces, one surface of the rail being connected to the housing frame, preferably with a brake lining, e.g. made of brass, brake shoe is assigned and a catch roller is provided on the other, opposite the brake shoe surface of the rail and a spring-loaded, with a surface of the rail forming a tapered wedge gap pressure piece is provided for the catch roller.
  • a brake lining e.g. made of brass, brake shoe
  • a catch roller is provided on the other, opposite the brake shoe surface of the rail and a spring-loaded, with a surface of the rail forming a tapered wedge gap pressure piece is provided for the catch roller.
  • Such buffers are known in hydraulic design, a piston connected to the collecting plate pressing hydraulic fluid through drainage channels of a defined diameter and the kinetic energy being destroyed by internal friction.
  • a brake device of the type mentioned at the outset has also become known (DE-OS 2 604 157), which is designed as a brake safety device attached to the elevator car.
  • a pivotably mounted wedge is pressed against the catching roller by means of a plate spring assembly as soon as it has been pulled into the upwardly tapered gap between the wedge and the rail, triggered by an elevator regulator.
  • a special brake wedge also ensures that the roller stands still during the actual braking process.
  • the aim of the invention is to provide a braking device that can be used as a buffer for a car or a counterweight, the braking process being progressive and with as few individual parts as possible a reliable and maintenance-free function even after several braking processes (mostly brake tests).
  • the rail / housing frame which is displaceable with respect to the stationary housing frame is provided with a receiving plate for a car or a counterweight, the pressure element as a leaf spring mounted in the housing frame is trained and the roller lies between a surface of the rail and the leaf spring in the gap tapering downwards.
  • the construction according to the invention has a reliable function despite a very simple, purely mechanical construction.
  • the leaf spring is composed of at least two individual springs.
  • the free roll In order to better guide the free roll, to form a defined contact surface of the roll on the profile and in order to ensure that the roll rolls off the profile, it is recommended that the free roll, in a manner known per se, have at least one protruding from the other roll surface with a knurling or the like.
  • Provided collar which is assigned a groove running in the leaf spring from top to bottom.
  • a lower stop is provided in the housing frame for the free roll, the material from which the contact piece is made being softer than the roll material. It is useful if the free roller consists of steel hardened at least on the surface and the stop made of brass. The lower stop for the free roller can also advantageously have a recess which frees its collar.
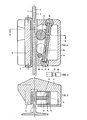
  • FIG. 1 shows a schematic Side view of a braking device according to the invention
  • Fig. 2 shows a further side view in the direction of arrow A of Fig. 1, with a wall of the housing frame and the braking devices removed
  • Fig. 3 is a schematic plan view with the collecting plate removed
  • Fig. 4 shows a part of the section the line IV-IV of Fig. 3 on an enlarged scale
  • Fig. 5 shows a section along the line VV of Fig. 4 and Fig. 6 the stop of the roller before its assembly.
  • the braking device has a rail 2 provided at its upper end with a collecting plate 1, which is displaceable in its longitudinal direction with respect to a housing frame 3 and is made of steel.
  • the rail 2 is designed as a double rail and is created by connecting two T-rails.
  • the foot part of each T-rail each forms a profile part 5,5 ', the two opposite surfaces 6,7 of which are surrounded by a braking device 8 or 8' in a manner described in more detail below.
  • the braking device 8 which is connected to the housing frame 3, ie is stationary, can be seen in more detail in FIG. 4.
  • the brake pad 11 can interact with the surface 7 of the profile part 5 .
  • a free roller 12 is provided on the other surface 6, which carries a slightly protruding collar 13 with a knurled surface in the middle and between the surface 6 of the rail 2 on the one hand and a leaf spring 14 on the other hand.
  • the leaf spring 14 is composed of two individual springs 15, 16 and is held at its upper or lower end in holders 17, 18 rotatable with respect to the frame part 9 in such a way that the spring 14 can be displaced in its longitudinal direction with respect to the holders 17, 18.
  • the upper bracket 18 of the spring 14 is further away from the profile part 5 of the rail 2 than the lower bracket 17, so that the leaf spring 14 extends obliquely upwards and a wedge-shaped space between the spring 14 and profile part 5 of the rail 2 arises.
  • the free roller 12 lies in the upper part of this space, the knurled collar 13 being free in a groove 19 of the single spring 15 running from top to bottom.
  • a stop 20, the function of which will be explained below, is designed as a brass bolt with a circumferential recess 21, which is firmly fitted into the frame part at the lower end of the wedge-shaped space.
  • the function of the braking device according to the invention will be explained with reference to FIGS. 4 and 5. If the elevator or the counterweight moves downwards by moving onto the receiving plate 1 (FIGS. 1 and 2), the rail 2 and thus also its profile part 5, the roller 12 is carried along by the profile surface 6, ie in the wedge-shaped space g already mentioned e-drew, the leaf spring 14 bends in the manner indicated by dashed lines. The roller 12 finally reaches the stop 20. During the further downward movement of the rail 2, the roller 12 rotates, since the knurling of the federal government engages in the surface 6 of the profile part 5, but with respect to the spring 14 and the stop 20 according to Groove 19 or the Recess 21 is optional.
  • the profile part 5 is thus pressed against the brake shoe 10 or its brake pad 11 because of the force N exerted by the roller 12.
  • the car or the counterweight are therefore braked until the rail 2 finally comes to a standstill.
  • the rail 2, the roller 12 and the spring 14 are made of steel, the roller 12 being hardened at least on the surface, so that it reliably engages in the profiled surface 6 with the knurling of the collar 13.
  • material wear occurs, primarily on the brake lining, on the individual spring 15 and on the profile surface 6.
  • the brass stop 20 is provided to compensate for this wear. Since the roller rolls on the stop, abrasion also occurs on the stop, so that over time the roller 12 reaches a lower position, in which the spring force is higher and counteracts the wear of the brake pad.
  • the brake pad can also be made of a material other than brass; the same applies analogously to the other materials used, as long as the material is selected to be functional.
  • Fig. 1 which shows the braking device in the starting position, also shows a safety switch 22 which can be depressed by the rail 2 and blocks the elevator control as long as the device is not in the starting position.
  • two profile parts 5, 5 'of the rail 2 are each assigned a braking device 8, 8' of the embodiment described in more detail above in a realized embodiment.

Landscapes

  • Engineering & Computer Science (AREA)
  • Mechanical Engineering (AREA)
  • Braking Arrangements (AREA)
  • Maintenance And Inspection Apparatuses For Elevators (AREA)
  • Cage And Drive Apparatuses For Elevators (AREA)

Abstract

@ Diese Bremsvorrichtung weist einem Gehäuserahmen (3) auf, der zur Aufnahme einer vorzugsweise zwei einander gegenüberliegende und ebene Flächen aufweisende Schiene (2) eingerichtet ist, wobei einer Fläche der Schiene, eine mit dem Gehäuserahmen verbundene, vorzugsweise mit einem Bremsbelag, z.B. aus Messing, versehene Bremsbacke (10) zugeordnet ist und an der anderen, der Bremsbacke gegenüberliegenden Fläche der Schiene eine Fangrolle (12) vorgesehen ist und ein federbelastetes, mit einer Fläche der Schiene einen verjüngten Keilspalt bildendes Andruckstück für die Fangrolle vorgesehen ist. Um bei Verwendung der Vorrichtung als Puffer eine verläßliche und wartungsfreie Funktion bei möglichst wenig Einzelteilen zu erhalten, ist die bezüglich des ortsfest angeordneten Gehäuserahmens (3) verschiebbare Schiene (2) oberhalb des Gehäuserahmens mit einer Auffangplatte (1) für einen Fahrkorb bzw. ein Gegengewicht versehen, ist das Andruckstück als in dem Gehäuserahmen (3) gelagerte Blattfeder (14) ausgebildet und liegt die Rolle (12) zwischen einer Fläche (6) und der Schiene (2) und der Blattfeder (14) in dem nach unten verjüngten Spalt.

Description

  • Die Erfindung bezieht sich auf eine Bremsvorrichtung für Aufzüge, mit einem Gehäuserahmen, der zur Aufnahme einer vorzugsweise zwei einander gegenüberliegende und ebene Flächen aufweisende Schiene eingerichtet ist, wobei einer Fläche der Schiene, eine mit dem Gehäuserahmen verbundene, vorzugsweise mit einem Bremsbelag, z.B. aus Messing, versehene Bremsbacke zugeordnet ist und an der anderen, der Bremsbacke gegenüberliegenden Fläche der Schiene eine Fangrolle vorgesehen ist und ein federbelastetes, mit einer Fläche der Schiene einen verjüngten Keilspalt bildendes Andruckstück für die Fangrolle vorgesehen ist.
  • Die meisten den Bau von Aufzügen betreffende Vorschriften schreiben ab einer bestimmten Betriebsgeschwindigkeit, z.B. ab 1,25 m/s, energieverzehrende Puffer in der Schachtgrube unter dem Fahrkorb bzw. unter dem Gegengewicht vor. Die Puffer müssen so bemessen sein, daß der mit der zulässigen Nutzlast beladene Fahrkorb oder das Gegengewicht beim Auffahren auf den Puffer mit Betriebsgeschwindigkeit mit einer mittleren Verzögerung zum Stillstand kommt, die einen bestimmten Wert, z.B. 10 m/s2, nicht überschreitet. Verzögerungsspitzen sind zulässig, doch dürfen sie nur während kurzer Zeit, z.B. 40 ms, auftreten und gleichfalls einen Maximalwert, z.B. 25 m/s2, nicht überschreiten.
  • Solche Puffer sind in hydraulischer Ausführung bekannt, wobei ein mit der Auffangplatte verbundener Kolben Hydraulikflüssigkeit durch Abflußkanäle definierten Durchmessers preßt und hiebei die kinetische Energie durch innere Reibung vernichtet wird.
  • Nachteile der bekannten hydraulischen Puffer sind die Temperaturabhängigkeit der Wirkung, da sich die Viskosität der Hydraulikflüssigkeit mit der Temperatur ändert. Weiters ist die Konstruktion verhältnismäßig aufwendig und daher teuer und bedarf oftmaliger Wartung, wobei insbesondere der Stand der Hydraulikflüssigkeit beobachtet werden muß.
  • Es ist weiters eine Bremsvorrichtung der eingangs genannten Art bekannt geworden (DE-OS 2 604 157), die als an der Aufzugkabine befestigte Bremsfangvorrichtung ausgebildet ist. Bei dieser bekannten Vorrichtung wird ein schwenkbar gelagerter Keil mittels eines Tellerfederpaketes gegen die Fangrolle gepreßt, sobald diese - ausgelöst von einem Aufzugregler - in den nach oben verjüngten Spalt zwischen Keil und Schiene gezogen wurde. Ein besonderer Bremskeil sorgt außerdem dafür, daß die Rolle während des eigentlichen Bremsvorganges stillsteht.
  • Aus der DE-PS 498 917 ist die Verwendung von Stahlrollen mit einem Zahnkranz im Zusammenhang mit Fangvorrichtungen für Aufzüge bekannt geworden.
  • Ziel der Erfindung ist die Schaffung einer Bremsvorrichtung, die als Puffer für einen Fahrkorb oder ein Gegengewicht verwendet werden kann, wobei der Bremsvorgang progressiv erfolgt und bei möglichst wenig Einzelteilen eine verläßliche und wartungsfreie Funktion auch nach mehreren Bremsvorgängen (:meist Bremsproben) gegeben ist.
  • Dieses Ziel läßt sich mit einer Bremsvorrichtung der oben genannten Art erreichen, bei welcher erfindungsgemäß die bezüglich des ortsfest angeordneten Gehäuse- rahmens verschiebbare Schiene/des Gehäuserahmens mit einer Auffangplatte für einen Fahrkorb bzw. ein Gegengewicht versehen ist, das Andruckstück als in dem Gehäuserahmen gelagerte Blattfeder ausgebildet ist und die Rolle zwischen einer Fläche der Schiene und der Blattfeder in dem nach unten verjüngter Spalt liegt.
  • Die Konstruktion nach der Erfindung weist trotz sehr einfachen, rein mechanischen Aufbaues eine verläßliche Funktion auf.
  • Eine vorteilhafte Weiterbildung des Erfindungsgegenstandes zeichnet sich dadurch aus, daß die Blattfeder an ihrem unteren bzw. oberen Ende in bezüglich des Gehäuserahmens drehbaren Halterungen gehalten ist.
  • Weiters kann es zweckmäßig sein, wenn die Blattfeder aus zumindest zwei Einzelfedern zusammengesetzt ist.
  • Zur besseren Führung der freien Rolle, zur Bildung einer definierten Angriffsfläche der Rolle an dem Profil und um mit Sicherheit ein Abrollen der Rolle an dem Profil zu gewährleisten empfiehlt es sich, wenn die freie Rolle in an sich bekannter Weise zumindest einen von der übrigen Rollenfläche vorstehenden mit einer Rändelung od. dgl. versehenen Bund aufweist, dem eine in der Blattfeder von oben nach unten verlaufende Nut zugeordnet ist.
  • Eine selbsttätige Kompensation der Abnützung der Rolle ergibt sich, wenn im Gehäuserahmen ein unterer Anschlag für die freie Rolle vorgesehen ist, wobei das Material, aus dem der Ansch.ag besteht, weicher ist als das Rollenmaterial. Dabei ist es zweckmäßig, wenn die freie Rolle aus zumindest an der Oberfläche gehärtetem Stahl und der Anschlag aus Messing besteht. Auch kann mit Vorteil der untere Anschlag für die freie Rolle eine deren Bund freistellende Ausnehmung aufweisen.
  • Die Erfindung samt ihren weiteren Vorteilen und Merkmalen ist im folgenden an Hand einer beispielsweisen Ausführungsform erläutert, die in der Zeichnung veranschaulicht ist. Es zeiaen Fia- 1 eine schematische Seitenansicht einer erfindungsgemäßen Bremsvorrichtung, Fig. 2 eine weitere Seitenansicht in Richtung des Pfeiles A der Fig. 1, wobei eine Wand des Gehäuserahmens sowie die Bremseinrichtungen entfernt sind, Fig. 3 eine schematische Draufsicht bei entfernter Auffangplatte, Fig. 4 einen Teil des Schnittes nach der Linie IV-IV der Fig. 3 in vergrößertem Maßstab, Fig. 5 einen Schnitt nach der Linie V-V der Fig. 4 und Fig. 6 den Anschlag der Rolle vor seiner Montage.
  • Gemäß Fig. 1 und 2 weist die erfindungsgemäße Bremsvorrichtung eine an ihrem oberen Ende mit einer Auffangplatte 1 versehene Schiene 2 auf, die bezüglich eines Gehäuserahmens 3 in ihrer Längsrichtung verschiebbar ist und aus Stahl besteht. Die Auffangplatte 1, die unterhalb des Fahrkorbes oder des Gegengewichtes eines Aufzuges angeordnet ist, kann noch mit einem Gummikissen 4 od. dgl. versehen sein. Wie Fig. 3 erkennen läßt, ist die Schiene 2 als Doppelschiene ausgebildet und durch Verbinden zweier T-Schienen entstanden. Der Fußteil jeder T-Schiene bildet je einen Profilteil 5,5', dessen beide einander gegenüberliegende Flächen 6,7 in weiter unten näher beschriebener Weise von einer Bremseinrichtung 8 bzw. 8' umgeben sind.
  • Die Bremseinrichtung 8, die mit dem Gehäuserahmen 3 verbunden, d.h. ortsfest ist, kann näher der Fig. 4 entnommen werden. Ein Rahmenteil 9, der den Profilteil 5 der Schiene 2 zangenartig umgibt (Fig. 5), weist eine feste Bremsbacke 10 auf, die mit einem Bremsbelag 11, z.B. mit einem Messingbelag, versehen ist. Der Bremsbelag 11 kann mit der Fläche 7 des Profilteiles 5 zusammenwirken. An der anderen Fläche 6 ist eine freie Rolle 12 vorgesehen, die in ihrer Mitte einen leicht vorstehenden Bund 13 mit gerändelter Oberfläche trägt und zwischen der Fläche 6 der Schiene 2 einerseits und einer Blattfeder 14 andererseits liegt. Die Blattfeder 14 ist aus zwei Einzelfedern 15, 16 zusammengesetzt und an ihrem oberen bzw. unteren Ende in bezüglich des Rahmenteils 9 drehbaren Halterungen 17, 18 so gehalten, daß ein Verschieben der Feder 14 in ihrer Längsrichtung bezüglich der Halterungen 17, 18 möglich ist.
  • Wie Fig. 4 deutlich zeigt, ist die obere Halterung 18 der Feder 14 weiter von dem Profilteil 5 der Schiene 2 entfernt als die untere Halterung 17, sodaß die Blattfeder 14 schräg nach oben verläuft und ein keilförmiger Raum zwischen Feder 14 und Profilteil 5 der Schiene 2 entsteht. Im Ruhezustand der Bremsvorrichtung liegt die freie Rolle 12 im oberen Teil dieses Raumes, wobei der gerändelte Bund 13 in einer von oben nach unten verlaufenden Nut 19 der Einzelfeder 15 freigestellt ist. Ein Anschlag 20, dessen Funktion weiter unten erläutert wird, ist als am unteren Ende des keilförmigen Raums in den Rahmenteil fest eingepaßter Messingbolzen mit einer umfänglichen Ausnehmung 21 ausgebildet.
  • An Hand der Fig. 4 und 5 soll die Funktion der erfindungsgemäßen Bremsvorrichtung erläutert werden. Wenn der Aufzug oder das Gegengewicht durch Auffahren auf die Auffangplatte 1 (Fig. 1 und 2) die Schiene 2 und damit auch deren Profilteil 5 nach unten bewegt, wird die Rolle 12 von der Profilfläche 6 mitgenommen, d.h. in den bereits erwähnten keilförmigen Raum ge-zogen, wobei sich die Blattfeder 14 in der gestrichelt angedeuteten Weise ausbiegt. Die Rolle 12 gelangt schließlich bis zu dem Anschlag 20. Während der weiteren Abwärtsbewegung der Schiene 2 rotiert die Rolle 12, da die Rändelung des Bundes in die Fläche 6 des Profil teil es 5 greift, bezüglich der Feder 14 und des Anschlages 20 jedoch zufolge der Nut 19 bzw. der Ausnehmung 21 freigestellt ist.
  • Der Profilteil 5 wird somit wegen der von der Rolle 12 ausgeübten Kraft N gegen die Bremsbacke 10 bzw. deren Bremsbelag 11 gepreßt. Der Fahrkorb oder das Gegengewicht werden demnach abgebremst, bis schließlich die Schiene 2 zum Stillstand kommt.
  • Die Schiene 2, die Rolle 12 und die Feder 14 bestehen aus Stahl, wobei die Rolle 12 zumindest an der Oberfläche gehärtet ist, damit sie mit der Rändelung des Bundes 13 verläßlich in die Profilfläche 6 greift. Bei jeder Betätigung der Bremsvorrichtung tritt ein Materialverschleiß auf und zwar in erster Linie am Bremsbelag, an der Einzelfeder 15 und an der Profilfläche 6. Zum Ausgleich dieses Verschleißes ist der Messinganschlag 20 vorgesehen. Da die Rolle an dem Anschlag abrollt, tritt auch an diesem ein Abrieb auf, sodaß die Rolle 12 im Laufe der Zeit in eine tiefere La_e gelangt, in der die Federkraft höher ist und der Abnützung des Bremsbelages entgegenwirkt.
  • Es versteht sich, daß der Bremsbelag auch aus anderem Material als aus Messing bestehen kann; gleiches gilt sinngemäß für die anderen verwendeten Werkstoffe, solange das Material funktionsgerecht gewählt ist.
  • Fig. 1, welche die Bremsvorrichtung in der Ausgangslage darstellt, zeigt noch einen Sicherheitsschalter 22, der von der Schiene 2 niedergedrückt werden kann und die Aufzugsteuerung blockiert, solange sich die Vorrichtung nicht in der Ausgangslage befindet.
  • Wie der Fig. 3 entnehmbar, sind bei einer realisierten Ausführungsform zwei Profilteile 5, 5' der Schiene 2 je eine Bremseinrichtung 8, 8' der oben genauer beschriebenen Ausführungsform zugeordnet.
  • Um nach Betätigung der Bremsvorrichtung die Schiene 2, deren Profilteil 5 in der Bremseinrichtung 8 verhältnismäßig fest eingeklemmt ist, bequem lösen zu können, sind in der Schiene 2 Schlitze 23 ausgebildet, in die ein Bolzen 24 eines Lösewerkzeugs 25 eingreifen kann. Beim Lösen der Schiene mittels des Werkzeuges 25 kann dieses durch nicht näher gezeigte Öffnungen des Gehäuserahmens eingeführt und an Leisten 26 des Gehäuserahmens abgestützt werden.

Claims (7)

1. Bremsvorrichtung für Aufzüge, mit einem Gehäuserahmen, der zur Aufnahme einer vorzugsweise zwei einander gegenüberliegende und ebene Flächen aufweisende Schiene eingerichtet ist, wobei einer Fläche der Schiene, eine mit dem Gehäuserahmen verbundene, vorzugsweise mit einem Bremsbelag, z.B. aus Messing, versehene Bremsbacke zugeordnet ist und an der anderen, der Bremsbacke gegenüberliegenden Fläche der Schiene eine Fangrolle vorgesehen ist und ein federbelastetes, mit einer Fläche der Schiene einen verjüngten Keilspalt bildendes Andruckstück für die Fangrolle vorgesehen ist, dadurch gekennzeichnet, daß die bezüglich des ortsfest angeordneten Gehäuserahmens (3) verschiebbare Schiene (2) oberhalb des Gehäuserahmens mit einer Auffangplatte (1) für einen Fahrkorb bzw. ein Gegengewicht versehen ist, das Andruckstück als in dem Gehäuserahmen (3) gelagerte Blattfeder (14) ausgebildet ist und die Rolle (12) zwischen einer Fläche (6) und der Schiene (2) und der Blattfeder (14) in dem nach unten verjüngten Spalt liegt.
2. Bremsvorrichtung nach Anspruch 1, dadurch gekennzeichnet, daß die Blattfeder (14) an ihrem unteren bzw. oberen Ende in bezüglich des Gehäuserahmens (3) drehbaren Halterungen (17 bzw. 18) gehalten ist.
3. Bremsvorrichtung nach Anspruch 1 oder 2, dadurch gekennzeichnet, daß die Blattfeder (14) aus zumindest zwei Einzelfedern (15, 16) zusammengesetzt ist.
4. Bremsvorrichtung nach einem der Ansprüche 1 bis 3, dadurch gekennzeichnet, daß die freie Rolle (12) in an sich bekannter Weise zumindest einen von der übrigen Rollenfläche vorstehenden mit einer Rändelung od. dgl. versehenen Bund (13) aufweist, dem eine in der Blattfeder (14) von oben nach unten verlaufende Nut (19) zugeordnet ist.
5. Bremsvorrichtung nach einem der Ansprüche 1 bis 4, dadurch gekennzeichnet, daß im Gehäuserahmen (3) ein unterer Anschlag (20) für die freie Rolle (12) vorgesehen ist, wobei das Material, aus dem der Anschlag besteht, weicher ist als das Rollenmaterial.
6. Bremsvorrichtung nach Anspruch 5, dadurch gekennzeichnet, daß die freie Rolle (12) aus zumindest an der Oberfläche gehärtetem Stahl und der Anschlag aus Messing besteht.
7. Bremsvorrichtung nach Anspruch 4 und 5 oder 6, dadurch gekennzeichnet, daß der untere Anschlag (20) für die freie Rolle (12) eine deren Bund (13) freistellende Ausnehmung (21) aufweist.
EP83890114A 1982-07-06 1983-07-06 Bremsvorrichtung für Aufzüge Expired EP0099352B1 (de)

Applications Claiming Priority (2)

Application Number Priority Date Filing Date Title
AT2614/82 1982-07-06
AT0261482A AT374767B (de) 1982-07-06 1982-07-06 Bremsvorrichtung fuer aufzuege

Publications (3)

Publication Number Publication Date
EP0099352A2 true EP0099352A2 (de) 1984-01-25
EP0099352A3 EP0099352A3 (en) 1985-05-15
EP0099352B1 EP0099352B1 (de) 1987-09-09

Family

ID=3537404

Family Applications (1)

Application Number Title Priority Date Filing Date
EP83890114A Expired EP0099352B1 (de) 1982-07-06 1983-07-06 Bremsvorrichtung für Aufzüge

Country Status (13)

Country Link
US (1) US4512444A (de)
EP (1) EP0099352B1 (de)
JP (1) JPS5936081A (de)
AT (1) AT374767B (de)
AU (1) AU553011B2 (de)
BR (1) BR8303596A (de)
CA (1) CA1197793A (de)
DE (1) DE3373458D1 (de)
ES (1) ES8407453A1 (de)
FI (1) FI73652C (de)
GB (1) GB2124175B (de)
IN (1) IN159861B (de)
ZA (1) ZA834850B (de)

Cited By (2)

* Cited by examiner, † Cited by third party
Publication number Priority date Publication date Assignee Title
EP0562931A1 (de) * 1992-03-26 1993-09-29 Dominique Prudhomme Notbremsvorrichtung oder Fangvorrichtung für eine Aufzugskabine mit integrierten Dämpfungsmitteln
WO1999025634A1 (en) * 1997-11-17 1999-05-27 Shapovalov Vladimir Vladimirov Wedge-shaped converter of force

Families Citing this family (10)

* Cited by examiner, † Cited by third party
Publication number Priority date Publication date Assignee Title
JP4301837B2 (ja) * 2002-05-21 2009-07-22 三菱電機株式会社 エレベータの緩衝装置
ES2286454T3 (es) * 2003-10-02 2007-12-01 Otis Elevator Company Dispositivo de seguridad para personal de mantenimiento en el techo de una cabina.
FI119808B (fi) * 2007-12-17 2009-03-31 Kone Corp Hissin puskurijärjestely
FI20080444A7 (fi) * 2008-07-24 2010-01-25 Kone Corp Hissijärjestely, menetelmä ja turvarakenne
USD670747S1 (en) * 2010-04-21 2012-11-13 T A Savery And Co Ltd Elevator buffer
ES2489968B1 (es) * 2013-02-26 2015-11-12 Orona, S. Coop. Dispositivo de seguridad para ascensores y ascensor que comprende dicho dispositivo
US10421640B2 (en) * 2017-02-17 2019-09-24 Otis Elevator Company Elevator braking device including buckling beams
ES3055046T3 (en) * 2020-02-14 2026-02-09 Wittur Holding Gmbh Triggering unit for actuating an elevator braking device
CN113800354A (zh) * 2021-09-01 2021-12-17 江苏中宝龙工程机械有限公司 光电式施工升降机障碍物拦截装置
EP4574731A1 (de) * 2023-12-21 2025-06-25 Otis Elevator Company Aufzugssicherheitsvorrichtung

Family Cites Families (12)

* Cited by examiner, † Cited by third party
Publication number Priority date Publication date Assignee Title
DE195584C (de) *
US1581458A (en) * 1924-07-11 1926-04-20 Otis Elevator Co Elevator safety appliance
DE498917C (de) * 1928-09-20 1930-05-30 Adolf Zaiser Maschf Gleitfangvorrichtung fuer Aufzuege
US1803762A (en) * 1929-07-05 1931-05-05 Otis Elevator Co Elevator safety apparatus
SU197708A1 (ru) * 1966-03-23 1973-01-08 ВСЕСОЮЗНАЯ IШ.-уул -•'УУк''ГГ<(.?>&'?3! tHihl^it-Abfr:'.- EUi.'tiБ^'-|€:ЛИО^ТКА (ТЕРЛ10
CH447527A (de) * 1967-03-16 1967-11-30 Aufzuege Ag Schaffhausen Gleitfangvorrichtung an Aufzügen
AT292963B (de) * 1968-11-08 1971-09-27 Stefan Sowitsch & Co Ing Gleitfangvorrichtung für Fahrstühle
DE2440094C3 (de) * 1974-08-21 1980-08-28 Thyssen Aufzuege Gmbh, 7000 Stuttgart Aufzugpuffer
DE2604157A1 (de) * 1976-02-04 1977-08-11 Aufzugswerk Gall & Heckelmann Bremsfangvorrichtung
US4069897A (en) * 1976-08-26 1978-01-24 Westinghouse Electric Corporation Elevator system
JPS548524U (de) * 1977-06-16 1979-01-20
DE2814114A1 (de) * 1978-04-01 1979-10-04 Guenter Grigoleit Einrichtung zum abbremsen der aufzugsfahrkoerbe o.dgl. zur vermeidung des harten aufsetzens auf die unteren fahrbegrenzungen

Cited By (3)

* Cited by examiner, † Cited by third party
Publication number Priority date Publication date Assignee Title
EP0562931A1 (de) * 1992-03-26 1993-09-29 Dominique Prudhomme Notbremsvorrichtung oder Fangvorrichtung für eine Aufzugskabine mit integrierten Dämpfungsmitteln
FR2689113A1 (fr) * 1992-03-26 1993-10-01 Prudhomme Dominique Dispositif d'arrêt d'urgence ou parachute d'une cabine d'ascenseur comportant des moyens d'amortissement intégrés.
WO1999025634A1 (en) * 1997-11-17 1999-05-27 Shapovalov Vladimir Vladimirov Wedge-shaped converter of force

Also Published As

Publication number Publication date
ES8407453A1 (es) 1984-06-16
AU1652483A (en) 1984-01-12
US4512444A (en) 1985-04-23
AT374767B (de) 1984-05-25
EP0099352A3 (en) 1985-05-15
GB8318178D0 (en) 1983-08-03
JPH0338189B2 (de) 1991-06-07
GB2124175A (en) 1984-02-15
GB2124175B (en) 1985-07-24
FI832470L (fi) 1984-01-07
EP0099352B1 (de) 1987-09-09
DE3373458D1 (en) 1987-10-15
AU553011B2 (en) 1986-06-26
ZA834850B (en) 1984-04-25
CA1197793A (en) 1985-12-10
BR8303596A (pt) 1984-02-14
FI73652C (fi) 1987-11-09
ATA261482A (de) 1983-10-15
FI73652B (fi) 1987-07-31
IN159861B (de) 1987-06-13
FI832470A0 (fi) 1983-07-05
JPS5936081A (ja) 1984-02-28

Similar Documents

Publication Publication Date Title
CH662802A5 (de) Bremsvorrichtung zum abbremsen einer aufzugkabine oder eines gegengewichtes.
DE3715098C2 (de)
EP0099352B1 (de) Bremsvorrichtung für Aufzüge
DE3742965A1 (de) Lineare fuehrungsvorrichtung
EP0883567B1 (de) Bremsfangvorrichtung und bremsbacke, insbesondere für aufzugskabinen
DE3431773A1 (de) Mechanisch betaetigte gleitsattelscheibenbremse
DE69715773T2 (de) Verschiebbare Sicherheitsvorrichtung
DE3209519C2 (de)
EP0135041B1 (de) Kolbenstangenloser Arbeitszylinder
EP0760061B1 (de) Zuspannvorrichtung für eine scheibenbremse
DE20007499U1 (de) Brems- und/oder Klemmvorrichtung für Führungen
DE2937293A1 (de) Seilandruckvorrichtung fuer seilscheiben
DE2632244A1 (de) Notbremse fuer ein schienenfahrzeug
DE1896329U (de) Teilbelagscheibenbremse.
DE3545235A1 (de) Fahrzeugtrommelbremse
EP3290370A1 (de) Drahtlaufvorrichtung
DE29614516U1 (de) Fangvorrichtung
DE3336983A1 (de) Klotzbremse fuer schienenfahrzeuge
CH624313A5 (de)
DE2606080C3 (de) Vorrichtung zum Abziehen der Lauffläche des Rades eines Schienenfahrzeugs
DE4431419C2 (de) Verfahren und Vorrichtung zum Beschleunigen des Meßrades eines Längenmeßsystems für in Längsrichtung geförderte Schnitthölzer
DE1406188C3 (de) Bremsfangvorrichtung fur Aufzuge
DE2133202A1 (de) Nachstellvorrichtung fuer das lueftspiel einer durch federkraft einrueckbaren und elektromagnetisch geluefteten bremse
EP1533537A2 (de) Rillierter Scheibenbremsdichtring
EP4222096B1 (de) Schienenstabilisierende fangbremse

Legal Events

Date Code Title Description
PUAI Public reference made under article 153(3) epc to a published international application that has entered the european phase

Free format text: ORIGINAL CODE: 0009012

AK Designated contracting states

Designated state(s): BE CH DE FR IT LI NL

PUAL Search report despatched

Free format text: ORIGINAL CODE: 0009013

AK Designated contracting states

Designated state(s): BE CH DE FR IT LI NL

17P Request for examination filed

Effective date: 19851018

17Q First examination report despatched

Effective date: 19861001

GRAA (expected) grant

Free format text: ORIGINAL CODE: 0009210

AK Designated contracting states

Kind code of ref document: B1

Designated state(s): BE CH DE FR IT LI NL

PG25 Lapsed in a contracting state [announced via postgrant information from national office to epo]

Ref country code: NL

Effective date: 19870909

Ref country code: IT

Free format text: LAPSE BECAUSE OF FAILURE TO SUBMIT A TRANSLATION OF THE DESCRIPTION OR TO PAY THE FEE WITHIN THE PRESCRIBED TIME-LIMIT;WARNING: LAPSES OF ITALIAN PATENTS WITH EFFECTIVE DATE BEFORE 2007 MAY HAVE OCCURRED AT ANY TIME BEFORE 2007. THE CORRECT EFFECTIVE DATE MAY BE DIFFERENT FROM THE ONE RECORDED.

Effective date: 19870909

Ref country code: BE

Effective date: 19870909

REF Corresponds to:

Ref document number: 3373458

Country of ref document: DE

Date of ref document: 19871015

ET Fr: translation filed
NLV1 Nl: lapsed or annulled due to failure to fulfill the requirements of art. 29p and 29m of the patents act
PLBE No opposition filed within time limit

Free format text: ORIGINAL CODE: 0009261

STAA Information on the status of an ep patent application or granted ep patent

Free format text: STATUS: NO OPPOSITION FILED WITHIN TIME LIMIT

26N No opposition filed
PGFP Annual fee paid to national office [announced via postgrant information from national office to epo]

Ref country code: FR

Payment date: 19900611

Year of fee payment: 8

PGFP Annual fee paid to national office [announced via postgrant information from national office to epo]

Ref country code: CH

Payment date: 19900619

Year of fee payment: 8

PGFP Annual fee paid to national office [announced via postgrant information from national office to epo]

Ref country code: DE

Payment date: 19900629

Year of fee payment: 8

ITTA It: last paid annual fee
PG25 Lapsed in a contracting state [announced via postgrant information from national office to epo]

Ref country code: LI

Effective date: 19910731

Ref country code: CH

Effective date: 19910731

PG25 Lapsed in a contracting state [announced via postgrant information from national office to epo]

Ref country code: FR

Effective date: 19920331

REG Reference to a national code

Ref country code: CH

Ref legal event code: PL

PG25 Lapsed in a contracting state [announced via postgrant information from national office to epo]

Ref country code: DE

Effective date: 19920401

REG Reference to a national code

Ref country code: FR

Ref legal event code: ST