WO2020152935A1 - 物体検知装置および物体検知方法 - Google Patents

物体検知装置および物体検知方法 Download PDF

Info

Publication number
WO2020152935A1
WO2020152935A1 PCT/JP2019/043143 JP2019043143W WO2020152935A1 WO 2020152935 A1 WO2020152935 A1 WO 2020152935A1 JP 2019043143 W JP2019043143 W JP 2019043143W WO 2020152935 A1 WO2020152935 A1 WO 2020152935A1
Authority
WO
WIPO (PCT)
Prior art keywords
wave
detection
index value
reliability
indirect
Prior art date
Legal status (The legal status is an assumption and is not a legal conclusion. Google has not performed a legal analysis and makes no representation as to the accuracy of the status listed.)
Ceased
Application number
PCT/JP2019/043143
Other languages
English (en)
French (fr)
Japanese (ja)
Inventor
力貴 江上
慎二 久富
雄樹 水瀬
大林 幹生
真澄 福万
Current Assignee (The listed assignees may be inaccurate. Google has not performed a legal analysis and makes no representation or warranty as to the accuracy of the list.)
Denso Corp
Toyota Motor Corp
Original Assignee
Denso Corp
Toyota Motor Corp
Priority date (The priority date is an assumption and is not a legal conclusion. Google has not performed a legal analysis and makes no representation as to the accuracy of the date listed.)
Filing date
Publication date
Application filed by Denso Corp, Toyota Motor Corp filed Critical Denso Corp
Publication of WO2020152935A1 publication Critical patent/WO2020152935A1/ja
Anticipated expiration legal-status Critical
Ceased legal-status Critical Current

Links

Images

Classifications

    • GPHYSICS
    • G01MEASURING; TESTING
    • G01SRADIO DIRECTION-FINDING; RADIO NAVIGATION; DETERMINING DISTANCE OR VELOCITY BY USE OF RADIO WAVES; LOCATING OR PRESENCE-DETECTING BY USE OF THE REFLECTION OR RERADIATION OF RADIO WAVES; ANALOGOUS ARRANGEMENTS USING OTHER WAVES
    • G01S15/00Systems using the reflection or reradiation of acoustic waves, e.g. sonar systems
    • G01S15/87Combinations of sonar systems
    • GPHYSICS
    • G01MEASURING; TESTING
    • G01SRADIO DIRECTION-FINDING; RADIO NAVIGATION; DETERMINING DISTANCE OR VELOCITY BY USE OF RADIO WAVES; LOCATING OR PRESENCE-DETECTING BY USE OF THE REFLECTION OR RERADIATION OF RADIO WAVES; ANALOGOUS ARRANGEMENTS USING OTHER WAVES
    • G01S15/00Systems using the reflection or reradiation of acoustic waves, e.g. sonar systems
    • G01S15/88Sonar systems specially adapted for specific applications
    • G01S15/93Sonar systems specially adapted for specific applications for anti-collision purposes

Definitions

  • the present disclosure relates to an object detection device configured to detect an object existing outside a moving body. Further, the present disclosure relates to an object detection method for detecting an object existing outside a moving body.
  • An object detection device which is applied to a moving object having a plurality of object detecting sensors and detects an object existing around the moving object.
  • This object detection device detects an object existing around a moving body by receiving detection information of the object from an object detection sensor such as a distance measuring sensor.
  • the object detection device described in Patent Document 1 includes a first detection unit, a second detection unit, a position calculation unit, and a counter updating unit.
  • the first detection means detects an object by a direct wave.
  • the direct wave is a reflected wave received by the same object detection sensor as the object detection sensor that transmitted the exploration wave.
  • the second detection means detects the object by the indirect wave.
  • the indirect wave is a reflected wave received by an object detection sensor different from the object detection sensor that transmitted the exploration wave.
  • the position calculation means calculates the position information of the object based on the triangulation principle based on the detection results of the first detection means and the second detection means.
  • the counter updating means updates the value of the confidence level determination counter based on the number of times the object is detected based on the detection results of the first detecting means and the second detecting means.
  • the reliability level determination counter is an index indicating the reliability of the position information calculated by the position calculating means.
  • the value of the confidence level determination counter is updated to the side having higher reliability.
  • the value of the confidence level determination counter is updated on the side of decreasing the confidence level.
  • this kind of object detection device it is desired to further improve the object detection performance. Specifically, for example, it is desired to determine whether or not the detected object is an avoidance target or the like earlier or more reliably.
  • the present disclosure has been made in view of the above-exemplified circumstances and the like. That is, the present disclosure provides, for example, an object detection device and an object detection method in which the object detection performance is further improved as compared with the related art.
  • the object detection device is configured to detect an object existing outside a moving body equipped with a plurality of distance measuring sensors.
  • the distance measurement sensor is provided to output distance measurement information by transmitting a search wave toward the outside of the moving body and detecting a received wave including a reflected wave of the search wave by the object. ing.
  • the distance measurement information is information corresponding to the distance to the object around the moving body.
  • an object detection device includes: A direct wave resulting from the reflected wave of the search wave that is the received wave in the first distance measuring sensor that is one of the plurality of distance measuring sensors, and Of the indirect wave caused by the reflected wave of the exploration wave transmitted from the first distance measuring sensor, which is the received wave in the second distance measuring sensor which is another one of the plurality of distance measuring sensors , A detection state acquisition unit that acquires the detection state, A reliability calculation unit that calculates an index value corresponding to the detection reliability of the object based on the detection state acquired by the detection state acquisition unit; An object determination unit that determines the detection of the target object that is the object to be considered in the driving assistance control of the moving body, with the determination condition that the index value has reached the determination threshold corresponding to the high reliability. And, The reliability calculation unit updates the index value to the side of increasing the reliability when detection of only one of the direct wave and the indirect wave is continuous for the same object.
  • the object detection method detects an object existing outside a moving body equipped with a plurality of distance measuring sensors.
  • the distance measurement sensor is provided to output distance measurement information by transmitting a search wave toward the outside of the moving body and detecting a received wave including a reflected wave of the search wave by the object. ing.
  • the distance measurement information is information corresponding to the distance to the object around the moving body.
  • an object detection method includes the following steps.
  • the detection states of the direct wave and the indirect wave are acquired. Further, the index value corresponding to the reliability of the detection of the object is calculated based on the acquired detection state. Then, the detection of the target object is determined using the determination condition that the index value reaches the determination threshold corresponding to the high reliability.
  • Detecting only one of the direct and indirect waves may be continuous for the same object. In such a case, such an object is likely to be subsequently detected as the target object. Therefore, in the above configuration and method, in the calculation of the index value, the index value is updated on the side of increasing the reliability. As a result, the object detection performance can be improved further than ever before. Specifically, for example, the detection of the target object can be determined earlier.
  • FIG. 1 is a plan view showing a schematic configuration of a vehicle equipped with an object detection device according to an embodiment.
  • FIG. 2 is a block diagram showing a schematic functional configuration of the object detection device shown in FIG. 1.
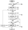
  • 3 is a flowchart showing a first operation example of the object detection device shown in FIG. 2.
  • 3 is a flowchart showing a first operation example of the object detection device shown in FIG. 2.
  • 6 is a flowchart showing a second operation example of the object detection device shown in FIG. 2.
  • 6 is a flowchart showing a second operation example of the object detection device shown in FIG. 2.
  • 6 is a flowchart showing a second operation example of the object detection device shown in FIG. 2.
  • 7 is a flowchart showing a third operation example of the object detection device shown in FIG. 2.
  • 7 is a flowchart showing a third operation example of the object detection device shown in FIG. 2.
  • a vehicle 10 as a moving body is a so-called four-wheeled vehicle and includes a vehicle body 11 having a substantially rectangular shape in a plan view.
  • a virtual straight line that passes through the center of the vehicle 10 in the vehicle width direction and is parallel to the vehicle overall length direction of the vehicle 10 in a plan view is referred to as a vehicle center line LC.
  • the vehicle full length direction is a direction orthogonal to the vehicle width direction and orthogonal to the vehicle height direction.
  • the vehicle height direction is a direction that defines the vehicle height of the vehicle 10, and is a direction parallel to the gravity acting direction when the vehicle 10 is placed on a horizontal plane.
  • the vehicle full-length direction is the vertical direction in the figure
  • the vehicle width direction is the horizontal direction in the figure.
  • each part in “plan view” refers to the shape of each part as viewed from above the vehicle 10 with a line of sight parallel to the vehicle height direction.
  • a front bumper 12 is attached to the front end of the vehicle body 11.
  • a rear bumper 13 is attached to the rear end of the vehicle body 11.
  • a door panel 14 is attached to a side surface portion of the vehicle body 11. In the specific example shown in FIG. 1, two door panels 14 are provided on each of the left and right sides, for a total of four door panels 14.
  • a door mirror 15 is attached to each of the pair of left and right front door panels 14.
  • An object detection device 20 is mounted on the vehicle 10.
  • the vehicle 10 equipped with the object detection device 20 according to the present embodiment may be hereinafter referred to as “own vehicle”.
  • the object detection device 20 is configured to detect the object B existing outside the own vehicle by being mounted on the own vehicle.
  • the object detection device 20 includes a distance measurement sensor 21, a vehicle speed sensor 22, a shift position sensor 23, a steering angle sensor 24, a yaw rate sensor 25, a display unit 26, and an alarm sound generation unit 27. , And electronic control unit 30. Note that, for simplification of the drawing, the electrical connection relationship between the respective parts constituting the object detection device 20 is appropriately omitted in FIG. 1.
  • the distance-measuring sensor 21 is provided so as to output the distance-measuring information by transmitting the exploration wave toward the outside of the own vehicle and detecting the reception wave including the reflection wave of the exploration wave by the object B. There is.
  • the distance measurement information is information included in the output signal of the distance measurement sensor 21, and is information corresponding to the distance to the object B around the vehicle.
  • the distance measuring sensor 21 is a so-called ultrasonic sensor, and is configured to emit a search wave that is an ultrasonic wave and receive a received wave including an ultrasonic wave.
  • the “detection” of the received wave means to receive the received wave to the extent that the distance measurement information can be effectively acquired. For this reason, reception with weak reception intensity to the extent that distance measurement information cannot be effectively acquired is not treated as “detection” here. Therefore, the “detection” here can be restated as “reception at a threshold reception intensity or more”, “effective reception”, “good reception”, or simply “reception”.
  • a plurality of distance measuring sensors 21 are mounted on the vehicle. Each of the plurality of distance measuring sensors 21 is provided at a mutually different position in a plan view. Further, in the present embodiment, each of the plurality of distance measuring sensors 21 is arranged so as to be shifted from the vehicle center line LC to one side in the vehicle width direction.
  • the front bumper 12 is equipped with the first front sonar 211A, the second front sonar 211B, the third front sonar 211C, and the fourth front sonar 211D as the distance measuring sensor 21.
  • the rear bumper 13 is equipped with the first rear sonar 212A, the second rear sonar 212B, the third rear sonar 212C, and the fourth rear sonar 212D as the distance measuring sensor 21.
  • a first side sonar 213A, a second side sonar 213B, a third side sonar 213C, and a fourth side sonar 213D are mounted on the side surface portion of the vehicle body 11.
  • the expression "distance measuring sensor 21" is used.
  • Direct wave and “indirect wave” are defined as follows.
  • One of the plurality of distance measuring sensors 21 is referred to as a "first distance measuring sensor”, and the other one is referred to as a “second distance measuring sensor”.
  • the received wave which is the received wave at the first distance measuring sensor and which is caused by the reflected wave of the exploration wave transmitted from the first distance measuring sensor by the object B is referred to as "direct wave”.
  • the direct wave is typically the received wave when the first ranging sensor detects a reflected wave of the object B of the exploration wave transmitted from the first ranging sensor as a received wave. That is, the direct wave is the reception wave when the distance measurement sensor 21 that transmits the exploration wave and the distance measurement sensor 21 that detects the reflection wave of the exploration wave by the object B as the reception wave are the same. ..
  • the received wave at the second distance measuring sensor which is caused by the reflected wave by the object B of the exploration wave transmitted from the first distance measuring sensor, is called "indirect wave".
  • the indirect wave is typically the received wave when the second distance sensor detects the reflected wave of the object B of the exploration wave transmitted from the first distance sensor as the received wave. That is, the indirect wave is the received wave when the distance measurement sensor 21 that transmits the exploration wave and the distance measurement sensor 21 that detects the reflected wave of the exploration wave by the object B as the reception wave are different.
  • FIG. 1 shows the direct wave region RD and the indirect wave region RI of the two distance measuring sensors 21, taking the third front sonar 211C and the fourth front sonar 211D as examples.
  • the direct wave region RD is a region where the direct wave caused by the object B can be detected when the object B exists.
  • the indirect wave region RI is a region where an indirect wave caused by the object B can be detected when the object B is present. Specifically, the indirect wave region RI does not completely coincide with the region where the direct wave regions RD of the two distance measuring sensors 21 overlap each other, but most of them overlap.
  • the indirect wave region RI is treated as a region in which the direct wave regions RD of the two distance measuring sensors 21 substantially coincide with each other.
  • the first front sonar 211A is provided at the left end of the front surface of the front bumper 12 so as to transmit an exploration wave to the front left of the host vehicle.
  • the second front sonar 211B is provided on the right end portion of the front surface of the front bumper 12 so as to transmit an exploration wave to the front right of the host vehicle.
  • the first front sonar 211A and the second front sonar 211B are arranged symmetrically with respect to the vehicle center line LC.
  • the third front sonar 211C and the fourth front sonar 211D are arranged in the vehicle width direction at a position closer to the center on the front surface of the front bumper 12.
  • the third front sonar 211C is arranged between the first front sonar 211A and the vehicle center line LC in the vehicle width direction so as to transmit an exploration wave substantially in front of the host vehicle.
  • the fourth front sonar 211D is arranged between the second front sonar 211B and the vehicle center line LC in the vehicle width direction so as to transmit an exploration wave substantially in front of the host vehicle.
  • the third front sonar 211C and the fourth front sonar 211D are arranged symmetrically with respect to the vehicle center line LC.
  • the first front sonar 211A and the third front sonar 211C are arranged at different positions in a plan view. Further, the first front sonar 211A and the third front sonar 211C that are adjacent to each other in the vehicle width direction have a positional relationship such that the reflected wave of the exploration wave transmitted by one of the objects B can be detected as the received wave of the other. It is provided.
  • the first front sonar 211A is arranged so as to be able to detect both a direct wave corresponding to the exploration wave transmitted by itself and an indirect wave corresponding to the exploration wave transmitted by the third front sonar 211C.
  • the third front sonar 211C is arranged so as to be able to detect both a direct wave corresponding to the search wave transmitted by itself and an indirect wave corresponding to the search wave transmitted by the first front sonar 211A.
  • the third front sonar 211C and the fourth front sonar 211D are arranged at different positions in a plan view. Further, the third front sonar 211C and the fourth front sonar 211D which are adjacent to each other in the vehicle width direction are in a positional relationship such that the reflected wave of the exploration wave transmitted by one of the objects B is detectable as the received wave of the other. It is provided.
  • the second front sonar 211B and the fourth front sonar 211D are arranged at different positions in a plan view. Further, the second front sonar 211B and the fourth front sonar 211D that are adjacent to each other in the vehicle width direction are in a positional relationship such that the reflected wave of the exploration wave transmitted by one side from the object B can be detected as the received wave in the other side. It is provided.
  • the first rear sonar 212A is provided at the left end of the rear surface of the rear bumper 13 so as to transmit an exploration wave to the left rear of the host vehicle.
  • the second rear sonar 212B is provided at the right end portion on the rear surface of the rear bumper 13 so as to transmit an exploration wave to the right rear of the host vehicle.
  • the first rear sonar 212A and the second rear sonar 212B are symmetrically arranged with the vehicle center line LC interposed therebetween.
  • the third rear sonar 212C and the fourth rear sonar 212D are arranged in the vehicle width direction at a position closer to the center on the rear surface of the rear bumper 13.
  • the third rear sonar 212C is arranged between the first rear sonar 212A and the vehicle center line LC in the vehicle width direction so as to transmit a search wave substantially rearward of the host vehicle.
  • the fourth rear sonar 212D is arranged between the second rear sonar 212B and the vehicle center line LC in the vehicle width direction so as to transmit an exploration wave substantially rearward of the host vehicle.
  • the third rear sonar 212C and the fourth rear sonar 212D are arranged symmetrically with respect to the vehicle center line LC.
  • the first rear sonar 212A and the third rear sonar 212C are arranged at different positions in a plan view. Further, the first rear sonar 212A and the third rear sonar 212C which are adjacent to each other in the vehicle width direction are provided in such a positional relationship that a reflected wave of the exploration wave transmitted by one side from the object B can be detected as a received wave in the other side. ing.
  • the first rear sonar 212A is arranged to be able to detect both a direct wave corresponding to the exploration wave transmitted by itself and an indirect wave corresponding to the exploration wave transmitted by the third rear sonar 212C.
  • the third rear sonar 212C is arranged so as to be able to detect both a direct wave corresponding to the search wave transmitted by itself and an indirect wave corresponding to the search wave transmitted by the first rear sonar 212A.
  • the third rear sonar 212C and the fourth rear sonar 212D are arranged at different positions in a plan view. Further, the third rear sonar 212C and the fourth rear sonar 212D which are adjacent to each other in the vehicle width direction are provided in such a positional relationship that a reflected wave of the exploration wave transmitted by one side from the object B can be detected as a received wave in the other side. ing.
  • the second rear sonar 212B and the fourth rear sonar 212D are arranged at different positions in a plan view. Further, the second rear sonar 212B and the fourth rear sonar 212D which are adjacent to each other in the vehicle width direction are provided in such a positional relationship that a reflected wave of the exploration wave transmitted by one side from the object B can be detected as a received wave in the other side. ing.
  • the first side sonar 213A, the second side sonar 213B, the third side sonar 213C, and the fourth side sonar 213D are provided so as to transmit a search wave from the side surface of the vehicle body 11 to the side of the vehicle.
  • the first side sonar 213A and the second side sonar 213B are mounted on the front side portion of the vehicle body 11.
  • the first side sonar 213A and the second side sonar 213B are arranged symmetrically with respect to the vehicle center line LC.
  • the third side sonar 213C and the fourth side sonar 213D are mounted on the rear side portion of the vehicle body 11.
  • the third side sonar 213C and the fourth side sonar 213D are arranged symmetrically with respect to the vehicle center line LC.
  • the first side sonar 213A is arranged between the first front sonar 211A and the left side door mirror 15 in the front-rear direction so as to transmit an exploration wave to the left of the host vehicle.
  • the first side sonar 213A and the first front sonar 211A are provided in such a positional relationship that a reflected wave of the exploration wave transmitted by one side and reflected by the object B can be detected as a received wave in the other side.
  • the second side sonar 213B is arranged between the second front sonar 211B and the right side door mirror 15 in the front-rear direction so as to transmit an exploration wave to the right of the host vehicle.
  • the second side sonar 213B is provided in a positional relationship with the second front sonar 211B such that a reflected wave of the exploration wave transmitted by one side from the object B can be detected as a received wave in the other side.
  • the third side sonar 213C is arranged between the first rear sonar 212A and the left rear door panel 14 in the front-rear direction so as to transmit an exploration wave to the left of the host vehicle.
  • the third side sonar 213C is provided in a positional relationship with the first rear sonar 212A such that a reflected wave of the exploration wave transmitted by one side from the object B can be detected as a received wave in the other side.
  • the fourth side sonar 213D is arranged between the second rear sonar 212B and the right rear door panel 14 in the front-rear direction so as to transmit an exploration wave to the right of the host vehicle.
  • the fourth side sonar 213D is provided in a positional relationship with the second rear sonar 212B such that a reflected wave of the exploration wave transmitted by one side from the object B can be detected as a received wave in the other side.
  • Each of the plurality of distance measuring sensors 21 is electrically connected to the electronic control unit 30. That is, each of the plurality of distance measuring sensors 21 is provided so as to transmit and receive ultrasonic waves under the control of the electronic control device 30. Further, each of the plurality of distance measuring sensors 21 generates an output signal corresponding to the detection result of the received wave and transmits it to the electronic control unit 30.
  • the vehicle speed sensor 22, the shift position sensor 23, the steering angle sensor 24, and the yaw rate sensor 25 are electrically connected to the electronic control unit 30.
  • the vehicle speed sensor 22 is provided so as to generate a signal corresponding to the traveling speed of the host vehicle and transmit the signal to the electronic control unit 30.
  • vehicle speed the traveling speed of the host vehicle will be simply referred to as "vehicle speed”.
  • the shift position sensor 23 is provided so as to generate a signal corresponding to the shift position of the host vehicle and transmit the signal to the electronic control unit 30.
  • the steering angle sensor 24 is provided so as to generate a signal corresponding to the steering angle of the host vehicle and transmit it to the electronic control unit 30.
  • the yaw rate sensor 25 is provided so as to generate a signal corresponding to the yaw rate acting on the host vehicle and transmit the signal to the electronic control unit 30.
  • the display unit 26 and the alarm sound generating unit 27 are arranged inside the vehicle compartment of the own vehicle.
  • the display unit 26 is electrically connected to the electronic control unit 30 so as to perform a display accompanying the object detection operation under the control of the electronic control unit 30.
  • the alarm sound generator 27 is electrically connected to the electronic control device 30 so as to generate an alarm sound associated with the object detection operation under the control of the electronic control device 30.
  • the electronic control unit 30 is arranged inside the vehicle body 11.
  • the electronic control unit 30 executes a predetermined operation based on signals and information received from each of the plurality of distance measuring sensors 21, the vehicle speed sensor 22, the shift position sensor 23, the steering angle sensor 24, the yaw rate sensor 25, and the like.
  • the “predetermined operation” includes an object detection operation and a driving support operation of the own vehicle based on the object detection result.
  • the “driving support operation” includes, for example, a collision avoidance operation, a parking support operation, an automatic driving operation, and the like.
  • the electronic control unit 30 is a so-called in-vehicle microcomputer, which includes a CPU, a ROM, a RAM, a non-volatile RAM, and the like (not shown).
  • the non-volatile RAM is, for example, a flash ROM or the like.
  • the CPU, ROM, RAM and non-volatile RAM of the electronic control unit 30 will be simply referred to as “CPU”, “ROM”, “RAM” and “non-volatile RAM” below.
  • the electronic control unit 30 is configured such that various control operations can be realized by the CPU reading a program from the ROM or the non-volatile RAM and executing the program.
  • This program includes a program corresponding to a routine described later.
  • the ROM or the non-volatile RAM stores various data used in executing the program in advance.
  • Various types of data include, for example, initial values, lookup tables, maps, and the like.
  • the electronic control device 30 has a functional configuration including a distance measurement information acquisition unit 301, a position calculation unit 302, a reliability calculation unit 303, an object determination unit 304, and a driving condition.
  • the support control unit 305 is provided.
  • the functional configuration of the electronic control unit 30 shown in FIG. 2 will be described.
  • the distance measurement information acquisition unit 301 is provided so as to acquire the distance measurement information output from each of the plurality of distance measurement sensors 21. That is, the distance measurement information acquisition unit 301 is configured to temporarily store the distance measurement information received from each of the plurality of distance measurement sensors 21 in the RAM or the non-volatile RAM in time series for a predetermined period. Further, the distance measurement information acquisition unit 301 acquires or determines the detection state of the direct wave and the indirect wave in each of the plurality of distance measurement sensors 21 based on the acquired distance measurement information.
  • the position calculation unit 302 is provided so as to calculate the relative position of the object B with respect to the own vehicle.
  • object position P the relative position of the object B with respect to the host vehicle.
  • Triangulation may be possible when both direct and indirect waves are detected.
  • the position calculation unit 302 is configured to calculate the object position P based on the principle of triangulation using distance measurement information based on direct waves and distance measurement information based on indirect waves. That is, the position calculation unit 302 is configured to calculate the survey value of the object position P when the triangulation is established by detecting both the direct wave and the indirect wave for the same object.
  • the position calculation unit 302 is configured to calculate the estimated value of the object position P when both of the following conditions 1 and 2 are satisfied even if the triangulation is not satisfied.
  • Condition 1 Either one of a direct wave and an indirect wave is detected as a received wave.
  • Condition 2 The received wave is a reflected wave of the known object B, that is, the object B whose object position P has been calculated and stored.
  • the reliability calculation unit 303 is provided to calculate the index value N based on the detection states of the direct wave and the indirect wave acquired by the distance measurement information acquisition unit 301 as the detection state acquisition unit.
  • the index value N is a real number and is a value corresponding to the object detection reliability.
  • the index value N is, for example, an integer counter whose object detection reliability increases as the value increases.
  • the index value N corresponds to the “trust level determination counter” in Patent Document 1.
  • the index value N is set for each distance measuring sensor 21 as the first distance measuring sensor and for each object B.
  • the object detection reliability is the reliability of detection of the object B using the distance measuring sensor 21. That is, the object detection reliability is the detection reliability of the object B by the object detection device 20.
  • the object detection reliability can also correspond to the reliability or calculation accuracy of the calculated value of the object position P by the position calculation unit 302.
  • the object detection reliability can also correspond to the certainty that the target object exists around the own vehicle.
  • the “target object” is the object B to be considered in the driving support control of the own vehicle. Specifically, for example, the target object is an object whose collision should be avoided in the collision avoidance control or the automatic driving control. Alternatively, for example, the target object is an object around the target parking space in the parking assist control and is an object used to define the same space. Therefore, the “target object” may also be referred to as an “obstacle”.
  • the reliability calculation unit 303 is configured to calculate the index value N based on the number of times the distance measuring sensor 21 detects the same object B. Specifically, the reliability calculation unit 303 determines the update value V of the index value N according to the detection states of the direct wave and the indirect wave. Moreover, the reliability calculation unit 303 determines the update value V of the index value N according to the calculated object position P. Details of the specific operation of the reliability calculation unit 303 will be described later.
  • the object determination unit 304 is provided to determine the detection of the target object on the condition that the index value N has reached the determination threshold Nth.
  • the determination threshold Nth is a value corresponding to the object detection reliability being high to a predetermined degree.
  • the driving support control unit 305 is provided to execute the driving support operation control based on the calculation result by the position calculation unit 302 and the determination result by the object determination unit 304. Further, the driving support control unit 305 is adapted to appropriately operate the display unit 26 and/or the alarm sound generating unit 27 in response to the driving support operation.
  • the electronic control unit 30 acquires the vehicle movement state based on the outputs of the vehicle speed sensor 22, the shift position sensor 23, the steering angle sensor 24, the yaw rate sensor 25, and the like.
  • the vehicle moving state is the moving state of the host vehicle acquired by the vehicle speed sensor 22, the shift position sensor 23, the steering angle sensor 24, and the yaw rate sensor 25.
  • the vehicle moving state may also be referred to as a “running state”.
  • the vehicle moving state also includes a stopped state, that is, a state where the vehicle speed is 0 km/h.
  • the moving state of the vehicle includes the traveling direction of the host vehicle and the vehicle speed.
  • the traveling direction of the host vehicle is hereinafter referred to as "vehicle traveling direction".
  • the vehicle moving state corresponds to the moving state of each of the plurality of distance measuring sensors 21.
  • the electronic control device 30 determines the arrival of the object detection timing in a predetermined sensor combination at predetermined time intervals from the time when the operation condition of the object detection device 20 is established.
  • the "operating condition" includes, for example, that the vehicle speed is within a predetermined range, that the shift position is at a predetermined position, and the like.
  • the “predetermined sensor combination” is, when one of the plurality of distance measuring sensors 21 is selected as the first distance measuring sensor, the first distance measuring sensor and at least one other that can be the second distance measuring sensor. This is a combination with one distance measuring sensor 21. Specifically, for example, it is assumed that the third front sonar 211C is selected as the first distance measuring sensor. In this case, the "predetermined sensor combination” includes the third front sonar 211C as the first distance measuring sensor and the plurality of other distance measuring sensors 21 that can be the second distance measuring sensor. The "other plurality of distance measuring sensors 21" in this case are the first front sonar 211A, the second side sonar 213B, and the fourth front sonar 211D. The “predetermined sensor combination” may also be referred to as “selection of a predetermined first distance measuring sensor”.
  • Object detection timing is a specific point in time when the object position P is calculated using a predetermined sensor combination. That is, the object detection timing is the starting point of a routine for detecting the object B, which will be described later.
  • the object detection timing comes at intervals of a predetermined time T (for example, 200 msec) after the operation condition of the object detection device 20 is satisfied for each of the predetermined sensor combinations. That is, the electronic control unit 30 sequentially selects the first distance measuring sensor from the plurality of distance measuring sensors 21 in a predetermined time period T, and transmits the exploration wave by the selected first distance measuring sensor and the direct wave. And detection of indirect waves. Therefore, in the predetermined sensor combination, the object detection timing comes every predetermined time T.
  • the predetermined time T is also referred to as “calculation cycle”. Further, assuming that the number of distance measuring sensors 21 that can be the first distance measuring sensor is C, the object detection timing in the object detection device 20 comes every T/C.
  • the electronic control unit 30 executes an object detection operation. Specifically, the electronic control device 30 selects a predetermined one of the plurality of distance measuring sensors 21 as the first distance measuring sensor, and causes the selected first distance measuring sensor to transmit a search wave. Further, the electronic control unit 30 controls the operation of each of the plurality of distance measuring sensors 21 and receives the output signal including the distance measuring information from each of the plurality of distance measuring sensors 21. Then, the distance measurement information acquisition unit 301 acquires the distance measurement information output from each of the plurality of distance measurement sensors 21. That is, the distance measurement information acquisition unit 301 temporarily stores the distance measurement information received from each of the plurality of distance measurement sensors 21 in the RAM or the non-volatile RAM in time series for a predetermined period.
  • the position calculation unit 302 calculates the object position P based on the acquisition result of the distance measurement information by the distance measurement information acquisition unit 301. For example, both the direct wave and the indirect wave may be detected during the object detection operation using the first distance measuring sensor and the second distance measuring sensor. In this case, the position calculation unit 302 calculates the object position P based on the principle of triangulation using the distance measurement information based on the direct wave and the distance measurement information based on the indirect wave.
  • triangulation may fail while the object detection operation is being executed.
  • the object position P cannot be calculated based on the principle of triangulation.
  • only one of the direct wave and the indirect wave may be detected.
  • direct waves may be detected while indirect waves are not detected.
  • direct waves may not be detected while indirect waves may be detected.
  • the position calculation unit 302 calculates the estimated value of the object position P even if the triangulation is not established.
  • the distance measurement information acquisition unit 301 acquires the detection states of direct waves and indirect waves. That is, the ranging information acquisition unit 301 determines whether or not the direct wave is detected this time and whether or not the indirect wave is detected this time based on the acquisition result of the ranging information.
  • the reliability calculation unit 303 calculates the index value N based on the detection states of the direct wave and the indirect wave acquired by the distance measurement information acquisition unit 301. Specifically, the reliability calculation unit 303 calculates the index value N such that the index value N becomes larger as the number of times the same object is detected increases. Typically, the reliability calculation unit 303 updates the index value N to the side that increases the object detection reliability by detecting both the direct wave and the indirect wave of the same object.
  • the reliability of detection of the object B may vary depending on the object position P.
  • the object position P may be in the indirect wave region RI. In this case, it is highly likely that the object B is located at the object position P.
  • the object position P may be outside the indirect wave region RI and within the direct wave region RD of only one of the first distance measuring sensor and the second distance measuring sensor. In this case, the probability that the object B is located at the object position P is relatively low even when triangulation is in progress.
  • the reliability calculation unit 303 determines the update value V at the same timing according to the object detection timing in the predetermined sensor combination, that is, the object position P at the calculation timing of the index value N this time. Specifically, the reliability calculation unit 303 determines the update value V according to the positional relationship between the direct wave region RD and the indirect wave region RI and the object position P.
  • both the direct wave and the indirect wave may be detected, and the object position P calculated by these may be within the indirect wave region RI.
  • the reliability calculation unit 303 sets the update value V to a predetermined positive number ⁇ 1.
  • both the direct wave and the indirect wave may be detected, and the object position P calculated by these may be outside the indirect wave region RI and within the direct wave region RD.
  • the reliability calculation unit 303 sets the update value V to a predetermined positive number ⁇ 2. ⁇ 2 ⁇ 1.
  • the reliability calculation unit 303 updates the index value N calculated at the previous calculation timing with the update value V determined at this calculation timing. As a result, the index value N at the current calculation timing is calculated. Specifically, the reliability calculation unit 303 adds the update value V to the previous value of the index value N.
  • the object determination unit 304 determines the detection of the target object on the condition that the index value N has reached the determination threshold Nth.
  • the index value N does not increase even if only one of the direct wave and the indirect wave is continuously detected for the same object.
  • the index value N rises only during the establishment of triangulation, that is, during the detection of both the direct wave and the indirect wave.
  • Detecting only one of the direct and indirect waves may continue for the same object. Specifically, for example, while the object B is approaching the host vehicle, the following process may be followed. First, as shown in FIG. 1, the object B enters from the outside of the direct wave region RD and the indirect wave region RI into the outside edge of the direct wave region RD outside the indirect wave region RI. , Only direct waves are detected. Then, the state where only the direct wave is detected but the indirect wave is not detected continues for a predetermined period. Then, when the object B enters the indirect wave region RI, both the direct wave and the indirect wave are detected. As described above, the object B in which only one of the direct wave and the indirect wave is continuously detected is highly likely to be detected as the target object thereafter. Therefore, if the index value N is increased by a predetermined amount during the period in which only one of the direct wave and the indirect wave is continuously detected, the detection determination that the object B is the target object is established earlier. obtain. Thereby, more appropriate driving support can be realized.
  • the reliability calculation unit 303 increases the object detection reliability when the index value N is calculated and only one of the direct wave and the indirect wave is continuously detected for the same object.
  • the index value N is updated to the side that does.
  • the reliability calculation unit 303 updates the index value N to the side that increases the object detection reliability when the detection of only the direct wave or the detection of the indirect wave continues for the same object. Therefore, according to the object detection device 20 having such a configuration and the object detection method executed thereby, the detection of the target object can be judged earlier. That is, according to the above configuration and method, it is possible to determine earlier whether or not the detected object B is an object to be avoided. As described above, according to the above configuration and method, it is possible to further improve the object detection performance as compared with the related art.
  • the reliability calculation unit 303 resets the index value N to the reset value on the low reliability side when the non-detection of both the direct wave and the indirect wave continues for a predetermined amount. Specifically, the reliability calculation unit 303 resets the index value N when a state in which neither a direct wave nor an indirect wave is detected continues for a predetermined number of resets.
  • the reset value of the index value N is 0, for example.
  • the driving support operation performed by the driving support control unit 305 is assumed to be a collision avoidance operation when the vehicle is moving forward.
  • the object detection routine shown in FIG. 3A is activated for the first time when the operating condition of the object detecting device 20 is switched from unsatisfied to established, and thereafter, the object detecting timing is kept until the operating condition of the object detecting device 20 is not satisfied. It is repeatedly activated each time it arrives.
  • the CPU selects the first front sonar 211A as the first distance measurement sensor, and activates and executes the object detection routine shown in FIG. 3A.
  • the CPU selects the second front sonar 211B as the first distance measuring sensor and activates and executes the object detection routine shown in FIG. 3A.
  • the CPU selects the third front sonar 211C as the first distance measuring sensor and activates and executes the object detection routine shown in FIG. 3A.
  • the C distance measuring sensors 21 that can be selected as the first distance measuring sensor are selected once within the predetermined time T (for example, 200 msec).
  • the object detection timing using the first front sonar 211A as the first distance measuring sensor arrives again when the predetermined time T elapses from the arrival of the first object detection timing. Then, the CPU selects the first front sonar 211A again as the first distance measuring sensor, and activates and executes the object detection routine shown in FIG. 3A. When the next object detection timing arrives, the CPU again selects the second front sonar 211B as the first distance measuring sensor and activates and executes the object detection routine shown in FIG. 3A. Similarly, the CPU repeatedly activates and executes the object detection routine shown in FIG. 3A while sequentially changing the first distance measuring sensor until the operation condition of the object detection device 20 is not satisfied.
  • the CPU calculates the object position P for the object B detected this time based on the principle of triangulation using the direct wave distance and the indirect wave distance.
  • the direct wave distance corresponds to distance measurement information based on the direct wave detected this time.
  • the indirect wave distance corresponds to distance measurement information based on the indirect wave detected this time.
  • step 330 the CPU determines whether the object B detected this time is the same object as the previous time.
  • the “previous time” means a predetermined time T before, that is, one calculation cycle before by the same sensor combination as the current predetermined sensor combination.
  • the object position P(i) calculated this time and the object position P(i-1) calculated last time are used to determine whether or not they are the same object.
  • the CPU calculates ⁇ Px and ⁇ Py.
  • ⁇ Px is the difference in X coordinate between the object position P(i) and the object position P(i-1).
  • the X coordinate corresponds to the position in the vehicle width direction.
  • ⁇ Py is the difference in Y coordinate between the object position P(i) and the object position P(i-1).
  • the Y coordinate corresponds to the position in the vehicle length direction.
  • the CPU determines that they are the same object when ⁇ Px is smaller than the predetermined threshold ⁇ x and ⁇ Py is smaller than the predetermined threshold ⁇ y.
  • the CPU determines the update value V based on the object position P calculated this time.
  • the CPU updates the index value N using the update value V determined in step 332. Specifically, the CPU calculates the current value of the index value N by adding the update value V to the previous value of the index value N.
  • the CPU determines whether or not the latest index value N updated at step 333 has reached the determination threshold Nth.
  • the index value N has reached the determination threshold Nth does not only mean that the index value N has changed from a value smaller than the determination threshold Nth to the same value as the determination threshold Nth. That is, “the index value N has reached the determination threshold Nth” also includes that the index value N has changed from a value smaller than the determination threshold Nth to a value larger than the determination threshold Nth. Therefore, "the index value N has reached the determination threshold Nth" can be rephrased as "the index value N has reached the determination threshold Nth or more".
  • step 334 YES
  • the CPU advances the process to step 335.
  • the CPU skips the process of step 335 and once ends this routine.
  • step 335 the CPU determines whether or not the object B detected this time exists in the route of the vehicle.
  • the CPU executes the process of step 336, and then temporarily ends this routine.
  • the CPU skips the process of step 336 and ends the present routine tentatively.
  • the CPU determines that the object B detected this time is the target object. That is, the CPU detects the object B detected this time as the target object. In this case, the CPU executes the collision avoidance control of the own vehicle. Thereby, for example, steering angle control, deceleration control, notification to the driver using the display unit 26 and/or the alarm sound generation unit 27, and the like are executed.
  • step 310 NO
  • the triangulation is unsuccessful. Therefore, in this case, the CPU advances the process to step 340 shown in FIG. 3B.
  • the CPU determines whether the detection state of the received wave is the same as the previous state. Specifically, if only the direct wave is detected this time, the CPU determines whether the detection of the direct wave is continuous for the same object. On the other hand, if only the indirect wave is detected this time, the CPU determines whether the detection of only the indirect wave is continuous for the same object. The determination as to whether they are the same object is the same as above.
  • step 342 the CPU sets the update value V to the positive value +Vp.
  • Vp is 1, for example.
  • the calculated value of the index value N this time is a value obtained by adding +Vp to the previous value.
  • the processing after step 333 is similar to the above.
  • step 341 NO
  • the CPU executes the process of step 343 and then advances the process to step 333.
  • step 343 the CPU sets the update value V to 0.
  • the calculated value of the index value N this time becomes the same as the previous value.
  • the processing after step 333 is similar to the above.
  • step 344 the CPU determines whether the non-detection of both the direct wave and the indirect wave has continued for a predetermined number of resets.
  • step 345 the CPU sets the update value V to a negative value ⁇ Vn.
  • Vn is 1, for example.
  • the calculated value of the index value N this time is a value obtained by subtracting Vn from the previous value.
  • the processing after step 333 is similar to the above.
  • the relative position between the host vehicle and the object B may change from moment to moment.
  • the host vehicle is traveling in the steering state, that is, when the steering angle of the host vehicle is a non-zero predetermined amount, the horizontal orientation of the object B may change significantly.
  • the triangulation is not established.
  • object detection reliability is lower than when triangulation is established. Further, as described above, when the object position P is outside the indirect wave region RI, the reliability of detecting the object B is relatively low. Furthermore, when the triangulation changes from established to unestablished, the object B may have been lost. Therefore, in such a case, if the detection determination of the target object is performed by continuously detecting only one of the direct wave and the indirect wave, an erroneous determination may occur.
  • the object determination unit 304 determines the detection of the target object on the condition that the index value N reaches the determination threshold Nth1 during the detection of both the direct wave and the indirect wave. Has become. Specifically, the reliability calculation unit 303 guards the index value N so that the determination threshold value Nth1 is not reached while only one of the direct wave and the indirect wave is being detected. This improves the certainty of the determination. That is, it is possible to more reliably determine whether or not the detected object B is an object to be avoided.
  • the meaning of “the index value N has reached the determination threshold Nth” is the same as the above-mentioned “the index value N has reached the determination threshold Nth”.
  • FIGS. 3A and 3B are flowcharts corresponding to this operation example.
  • the start timing of the object detection routine shown in FIG. 4A is the same as that of the object detection routine shown in FIG. 3A. 4A to 4C, the same processing contents as the steps in FIGS. 3A and 3B can be referred to the description in the above operation example. Therefore, the description of these steps will be simplified as appropriate.
  • step 410 the CPU determines whether both the direct wave and the indirect wave have been detected.
  • the processing content of step 410 is similar to the processing content of step 310 in the object detection routine shown in FIG. 3A.
  • the CPU resets the non-detection counter M.
  • the non-detection counter M is an integer type counter for counting the number of times non-detection of both the direct wave and the indirect wave has continued.
  • the reset value of the non-detection counter M is 0.
  • the CPU calculates the object position P for the object B detected this time based on the principle of triangulation using the direct wave distance and the indirect wave distance.
  • the processing content of step 421 is the same as the processing content of step 320 in the object detection routine shown in FIG. 3A.
  • the triangulation flag F is a flag which is set when the triangulation is established and is reset when the triangulation is not established.
  • step 430 the CPU determines whether the object B detected this time is the same object as the previous time.
  • the processing content of step 430 is the same as the processing content of step 330 in the object detection routine shown in FIG. 3A.
  • the processing content of step 431 is the same as the processing content of step 331 in the object detection routine shown in FIG. 3A.
  • step 430 the CPU sequentially executes the processes of steps 432 to 434.
  • step 432 the CPU determines the update value V based on the object position P calculated this time.
  • step 433 the CPU updates the index value N using the update value V determined in step 432.
  • the processing contents of steps 432 and 433 are similar to the processing contents of steps 332 and 333 in the object detection routine shown in FIG. 3A.
  • the CPU determines whether or not the latest index value N updated at step 433 has reached the determination threshold Nth1.
  • the processing content of step 434 is the same as the processing content of step 334 in the object detection routine shown in FIG. 3A. That is, the determination threshold Nth1 in step 434 is the same as the determination threshold Nth in step 334.
  • step 434 YES
  • step 435 the CPU determines whether or not the object B detected this time exists in the course of the host vehicle.
  • step 436 the CPU determines that the object B detected this time is the target object.
  • the processing contents of steps 435 and 436 are similar to the processing contents of steps 335 and 336 in the object detection routine shown in FIG. 3A.
  • step 410 NO
  • the triangulation is unsuccessful. Therefore, in this case, the CPU advances the process to step 440 shown in FIG. 4B.
  • step 440 the CPU determines whether the direct wave is detected this time.
  • the CPU sequentially executes the processes of steps 451 to 453.
  • the CPU resets the non-detection counter M.
  • the CPU resets the indirect wave detection counter K.
  • the indirect wave detection counter K is an integer type counter for counting the number of continuous detections of only indirect waves.
  • the reset value of the indirect wave detection counter K is 0.
  • the CPU increments the direct wave detection counter D. That is, the CPU adds 1 to the value of the direct wave detection counter D.
  • the direct wave detection counter D is an integer type counter for counting the number of continuous detections of only direct waves. The reset value of the direct wave detection counter D is 0.
  • step 453 the CPU advances the processing to step 454.
  • step 454 the CPU determines whether the direct wave detection counter D exceeds 1. That is, the CPU determines whether the detection of only the direct wave is continuous two or more times.
  • step 454 NO
  • the CPU executes the process of step 459 and then advances the process to step 433.
  • step 459 the CPU sets the update value V to 0.
  • the calculated value of the index value N this time becomes the same as the previous value.
  • step 454 YES
  • the CPU advances the process to step 455.
  • step 455 the CPU determines whether the triangulation flag F has been reset.
  • the index value N is increased by continuous detection of only the direct wave, the value of the index value N reaches the determination threshold Nth1 while the triangulation is not established, and the target object detection is determined.
  • step 459 the CPU sets the update value V to 0.
  • step 433 the calculated value of the index value N this time becomes the same as the previous value.
  • step 455 YES
  • the CPU advances the process to step 456.
  • step 456 the CPU determines whether the object B detected by the direct wave this time is the same object as the previous time.
  • the contents of “previous” and “same object” in the process of step 456 are the same as the contents of step 330 in the object detection routine shown in FIG. 3A.
  • step 457 the CPU determines whether or not the value of the current index value N, that is, the calculated value of the previous index value N is smaller than the guard value Nth2.
  • the guard value Nth2 is a value near the determination threshold Nth1 and smaller than the determination threshold Nth1.
  • Vp1 and Vp2 have different values
  • ⁇ Nth is ⁇ times the larger absolute value of Vp1 and Vp2.
  • the CPU executes the process of step 459, and then advances the process to step 433.
  • the CPU sets the update value V to 0.
  • the calculated value of the index value N this time becomes the same as the previous value.
  • the index value N is guarded so as not to reach the determination threshold Nth1 during the detection of only the direct wave.
  • step 457 YES
  • the CPU executes the process of step 458 and then advances the process to step 433.
  • the CPU sets the update value V to the positive value +Vp1.
  • Vp1 is 1, for example.
  • the calculated value of the index value N this time is a value obtained by adding +Vp1 to the previous value.
  • step 410 NO
  • step 460 the CPU determines whether the indirect wave is detected this time.
  • the CPU sequentially executes the processes of steps 471 to 473.
  • the CPU resets the non-detection counter M.
  • the CPU resets the direct wave detection counter D.
  • the CPU increments the indirect wave detection counter K. That is, the CPU adds 1 to the value of the indirect wave detection counter K.
  • step 474 the CPU determines whether or not the indirect wave detection counter K exceeds 1. That is, the CPU determines whether or not the reception of only the indirect wave is continuous twice or more.
  • step 474 NO
  • the CPU executes the process of step 479 and then advances the process to step 433.
  • step 479 the CPU sets the update value V to 0.
  • the calculated value of the index value N this time becomes the same as the previous value.
  • step 474 YES
  • the CPU advances the process to step 475.
  • step 475 the CPU determines whether the triangulation flag F has been reset.
  • step 479 the CPU sets the update value V to 0. In this case, in step 433, the calculated value of the index value N this time becomes the same as the previous value.
  • step 475 the CPU advances the process to step 476.
  • step 476 the CPU determines whether the object B detected by the indirect wave this time is the same object as the previous time.
  • step 476 the CPU advances the process to step 477.
  • step 477 the CPU determines whether or not the value of the current index value N, that is, the calculated value of the previous index value N is smaller than the guard value Nth2.
  • step 479 the CPU sets the update value V to 0.
  • the calculated value of the index value N this time becomes the same as the previous value.
  • the index value N is guarded so as not to reach the determination threshold Nth1 during the detection of only the indirect wave.
  • step 477 YES
  • the CPU executes the process of step 478 and then advances the process to step 433.
  • step 478 the CPU sets the update value V to the positive value +Vp2.
  • Vp2 is 1, for example.
  • the calculated value of the index value N this time is a value obtained by adding +Vp2 to the previous value.
  • step 481 the CPU increments the non-detection counter M. That is, the CPU adds 1 to the value of the non-detection counter M.
  • step 482 the CPU determines whether the value of the non-detection counter M has exceeded the reset threshold Mth.
  • the CPU sets the update value V to a negative value ⁇ Vn.
  • Vn is 2, for example.
  • the calculated value of the index value N this time is a value obtained by subtracting Vn from the previous value.
  • step 482 YES
  • the CPU once ends the present routine after executing the processes of steps 484 and 485.
  • the CPU resets the index value N.
  • the reliability calculation unit 303 guards the index value N so that the determination threshold Nth1 is not reached while only one of the direct wave and the indirect wave is being detected.
  • another method replacing the guard of the index value N is adopted.
  • the reliability calculation unit 303 sets an upper limit on the number of times the index value N is updated when only one of the direct wave and the indirect wave is continuously detected for the same object. It was
  • FIGS. 4A, 5A, and 5B are flowcharts corresponding to this operation example.
  • FIG. 5A is a modification of FIG. 4B.
  • FIG. 5B is a modification of FIG. 4C. That is, this operation example is configured by FIGS. 4A, 5A, and 5B.
  • steps 540 to 556, 558, and 559 in FIG. 5A are the same as the processing contents of steps 440 to 456, 458, and 459 in FIG. 4B.
  • the processing contents of steps 560 to 576, 578 and 579 to 585 in FIG. 5B are the same as the processing contents of steps 460 to 476, 478 and 479 to 485 in FIG. 4C. The changes will be mainly described below.
  • step 556 the CPU determines whether the object B detected by the direct wave this time is the same object as the previous time.
  • the CPU advances the process to step 557.
  • step 557 the CPU determines whether the direct wave detection counter D is smaller than the limit value Dth.
  • step 558 the CPU sets the update value V to the positive value +Vp1.
  • the calculated value of the index value N this time is a value obtained by adding +Vp1 to the previous value.
  • step 559 the CPU executes the process of step 559 and then advances the process to step 433 shown in FIG. 4A. ..
  • step 559 the CPU sets the update value V to 0.
  • step 433 the calculated value of the index value N this time becomes the same as the previous value.
  • the number of times +Vp1 is added when the direct wave alone is continuously detected is limited to the predetermined upper limit number “Dth ⁇ 1”.
  • step 577 YES
  • the CPU executes the process of step 578 and then advances the process to step 433 shown in FIG. 4A.
  • step 578 the CPU sets the update value V to the positive value +Vp2.
  • the calculated value of the index value N this time is a value obtained by adding +Vp2 to the previous value.
  • step 579 the CPU sets the update value V to 0.
  • step 433 the calculated value of the index value N this time becomes the same as the previous value.
  • the number of times +Vp2 is added when the indirect wave alone is continuously detected is limited to the predetermined upper limit number “Kth ⁇ 1”.
  • the vehicle 10 is not limited to a four-wheeled vehicle.
  • the vehicle 10 may be a three-wheeled vehicle or a six-wheeled or eight-wheeled vehicle such as a cargo truck.
  • the “object” may be referred to as an “obstacle”. That is, the “object detection device” may also be referred to as an “obstacle detection device”.
  • the arrangement and number of the distance measuring sensors 21 are not limited to the above specific example. That is, for example, referring to FIG. 1, when the third front sonar 211C is arranged at the center position in the vehicle width direction, the fourth front sonar 211D is omitted. Similarly, when the third rear sonar 212C is arranged at the center position in the vehicle width direction, the fourth rear sonar 212D is omitted.
  • the distance measuring sensor 21 is not limited to the ultrasonic sensor. That is, for example, the distance measuring sensor 21 may be a laser radar sensor or a millimeter wave radar sensor. Acquisition of the vehicle moving state, that is, the running state is not limited to the mode using the vehicle speed sensor 22, the shift position sensor 23, the steering angle sensor 24, and the yaw rate sensor 25. That is, for example, the yaw rate sensor 25 may be omitted. Alternatively, for example, a sensor other than the above may be used when acquiring the vehicle movement state.
  • the electronic control unit 30 has a configuration in which the CPU reads the program from the ROM or the like and starts it.
  • the present disclosure is not limited to such a configuration. That is, for example, the electronic control device 30 may be a digital circuit configured to enable the above-described operation, for example, an ASIC such as a gate array.
  • ASIC is an abbreviation for APPLICATION SPECIFIC INTEGRATED CIRCUIT.
  • the electronic control unit 30 can be electrically connected to the vehicle speed sensor 22 and the like via an in-vehicle communication network.
  • the vehicle-mounted communication network is configured in compliance with vehicle-mounted LAN standards such as CAN (International registered trademark) and FlexRay (International registered trademark).
  • CAN International Registered Trademark
  • CAN International Registered Trademark
  • LAN is an abbreviation for Local Area Network.
  • Each of the first side sonar 213A, the second side sonar 213B, the third side sonar 213C, and the fourth side sonar 213D may be provided so that only direct waves can be detected.
  • the first side sonar 213A, the second side sonar 213B, the third side sonar 213C, and the fourth side sonar 213D may be omitted.
  • the present disclosure is not limited to the specific operation example and processing mode shown in the above embodiment.
  • the above-described operation outline and operation example correspond to the collision avoidance operation when the vehicle is moving forward.
  • the present disclosure is not limited to such an aspect. That is, the present disclosure can be similarly applied when the host vehicle moves backward.
  • the driving support operation is not limited to the collision avoidance operation, and may be a parking support operation or an automatic driving operation of level 1 or higher.
  • the first distance measuring sensor and the second distance measuring sensor are typically two distance measuring sensors 21 adjacent to each other.
  • the present disclosure is not limited to such an aspect. That is, for example, referring to FIG. 1, triangulation can be established by the second front sonar 211B and the third front sonar 211C. Therefore, the second front sonar 211B may be the first distance measuring sensor and the third front sonar 211C may be the second distance measuring sensor.
  • the functional block configuration shown in FIG. 2 is merely an example shown for convenience in order to briefly describe an embodiment of the present disclosure. Therefore, the present disclosure is not limited to such a functional block configuration. That is, the functional layout can be appropriately changed from the specific example shown in FIG.
  • the object B is described as a stationary object, but the present disclosure is not limited to such an aspect. That is, for example, when the object B is a moving object, it goes without saying that the mode of relative movement between the host vehicle and the object B is taken into consideration in each of the above processes.
  • an image sensor such as a CMOS sensor or a CCD sensor may be used as the sensor for acquiring the vehicle moving state.
  • CMOS is an abbreviation for Complementary MOS.
  • CCD is an abbreviation for Charge Coupled Device.
  • the reliability calculation unit 303 updates the index value N to the side that increases the object detection reliability when the detection of only the direct wave or the detection of the indirect wave continues for the same object. It was However, the present disclosure is not limited to such an aspect. That is, the reliability calculation unit 303 only needs to update the index value N to the side that increases the object detection reliability when the detection of only one of the direct wave and the indirect wave continues for the same object. ..
  • the method of determining whether or not they are the same object is not limited to the one based on the difference in coordinates as in the above specific example. That is, in the determination, other information such as a distance difference, reception intensity, frequency modulation state, etc. may be used instead of or in addition to the coordinate difference.
  • “Continuous” may be judged not by the number of times but by time. That is, the reliability calculation unit 303 updates the index value N to the side that increases the object detection reliability when the detection of only one of the direct wave and the indirect wave continues for the same object for a predetermined time. May be. Specifically, a timer may be used instead of the counter.
  • step 341 immediately before step 341, the same “object position P calculation” step as step 320 can be inserted.
  • the object position P is calculated as an estimated value.
  • step 454 the CPU may determine whether or not the detection of only the direct wave is continuous G times or more.
  • G is an integer of 2 or more, and is typically 2.
  • step 474 the CPU may determine whether or not the detection of only the indirect wave has continued H times or more.
  • H is an integer of 2 or more, and is typically 2. The same applies to step 574.
  • guard values may be set in step 457 and step 477.
  • different guard values may be set in step 557 and step 577.
  • step 455 and step 457 can be omitted.
  • steps 475 and 477 may be omitted.
  • steps 555 and 557 may be omitted.
  • steps 575 and 577 may be omitted.
  • the triangulation flag F is set when the triangulation is established for a certain object B. Then, until the flag is reset, detection of only one of the direct wave and the indirect wave may continue for another object. In this case, the reliability calculation unit 303 may reset the index value N on condition that the detection of the different object has continued a predetermined number of times.
  • the CPU determines whether or not the NO determination has continued a predetermined number of times. Then, when the NO determination continues for a predetermined number of times, the CPU resets the index value N and once ends the routine. At this time, the CPU may reset the triangulation flag F. On the other hand, when the number of consecutive NO determinations has not reached the predetermined number, the CPU advances the process to step 459. The same applies to the third operation example (that is, the determination in step 556).
  • step 476 determines whether or not the NO determination has continued a predetermined number of times. Then, when the NO determination continues for a predetermined number of times, the CPU resets the index value N and once ends the routine. At this time, the CPU may reset the triangulation flag F. On the other hand, when the number of consecutive NO determinations has not reached the predetermined number, the CPU advances the process to step 459. The same applies to the third operation example (that is, the determination in step 576).
  • Modifications are not limited to the above examples. Also, a plurality of modified examples can be combined with each other. Furthermore, all or part of the above-described embodiments and all or part of the modified examples may be combined with each other.
  • Each functional configuration and method described above may be realized by a dedicated computer provided by configuring a processor and a memory programmed to execute one or more functions embodied by a computer program. ..
  • each of the functional configurations and methods described above may be implemented by a dedicated computer provided by configuring a processor with one or more dedicated hardware logic circuits.
  • each of the functional configurations and methods described above is configured by a combination of a processor and a memory programmed to execute one or more functions and a processor configured by one or more hardware logic circuits. It may be realized by one or more dedicated computers.
  • the computer program may be stored in a computer-readable non-transition tangible recording medium as an instruction executed by the computer.

Landscapes

  • Engineering & Computer Science (AREA)
  • Radar, Positioning & Navigation (AREA)
  • Remote Sensing (AREA)
  • Physics & Mathematics (AREA)
  • Computer Networks & Wireless Communication (AREA)
  • General Physics & Mathematics (AREA)
  • Acoustics & Sound (AREA)
  • Measurement Of Velocity Or Position Using Acoustic Or Ultrasonic Waves (AREA)
PCT/JP2019/043143 2019-01-25 2019-11-01 物体検知装置および物体検知方法 Ceased WO2020152935A1 (ja)

Applications Claiming Priority (2)

Application Number Priority Date Filing Date Title
JP2019011590A JP7132861B2 (ja) 2019-01-25 2019-01-25 物体検知装置および物体検知方法
JP2019-011590 2019-05-28

Publications (1)

Publication Number Publication Date
WO2020152935A1 true WO2020152935A1 (ja) 2020-07-30

Family

ID=71735442

Family Applications (1)

Application Number Title Priority Date Filing Date
PCT/JP2019/043143 Ceased WO2020152935A1 (ja) 2019-01-25 2019-11-01 物体検知装置および物体検知方法

Country Status (2)

Country Link
JP (1) JP7132861B2 (enExample)
WO (1) WO2020152935A1 (enExample)

Cited By (1)

* Cited by examiner, † Cited by third party
Publication number Priority date Publication date Assignee Title
WO2025164629A1 (ja) * 2024-02-02 2025-08-07 株式会社アイシン 物体検出装置

Families Citing this family (2)

* Cited by examiner, † Cited by third party
Publication number Priority date Publication date Assignee Title
EP3077028A4 (en) * 2013-12-04 2017-08-16 Becton, Dickinson and Company Systems, apparatuses and methods to encourage injection site rotation and prevent lipodystrophy from repeated injections to a body area
JP2025144803A (ja) * 2024-03-21 2025-10-03 株式会社アイシン 運転支援装置

Citations (5)

* Cited by examiner, † Cited by third party
Publication number Priority date Publication date Assignee Title
US6289282B1 (en) * 1998-09-15 2001-09-11 Mannesmann Vdo Ag Method of determining the distance between and object and a device of varying location
US20150097704A1 (en) * 2013-10-08 2015-04-09 Mando Corporation Method and apparatus of determining position of obstacle, and parking assist method and system
JP2016080643A (ja) * 2014-10-22 2016-05-16 株式会社デンソー 物体検知装置
JP2016081449A (ja) * 2014-10-22 2016-05-16 株式会社デンソー 物体検知装置
JP2019095302A (ja) * 2017-11-22 2019-06-20 アイシン精機株式会社 物体検出装置

Family Cites Families (2)

* Cited by examiner, † Cited by third party
Publication number Priority date Publication date Assignee Title
JP6484000B2 (ja) * 2014-10-22 2019-03-13 株式会社デンソー 物体検知装置
JP6798424B2 (ja) * 2017-05-30 2020-12-09 株式会社デンソー 電子制御装置

Patent Citations (5)

* Cited by examiner, † Cited by third party
Publication number Priority date Publication date Assignee Title
US6289282B1 (en) * 1998-09-15 2001-09-11 Mannesmann Vdo Ag Method of determining the distance between and object and a device of varying location
US20150097704A1 (en) * 2013-10-08 2015-04-09 Mando Corporation Method and apparatus of determining position of obstacle, and parking assist method and system
JP2016080643A (ja) * 2014-10-22 2016-05-16 株式会社デンソー 物体検知装置
JP2016081449A (ja) * 2014-10-22 2016-05-16 株式会社デンソー 物体検知装置
JP2019095302A (ja) * 2017-11-22 2019-06-20 アイシン精機株式会社 物体検出装置

Cited By (1)

* Cited by examiner, † Cited by third party
Publication number Priority date Publication date Assignee Title
WO2025164629A1 (ja) * 2024-02-02 2025-08-07 株式会社アイシン 物体検出装置

Also Published As

Publication number Publication date
JP7132861B2 (ja) 2022-09-07
JP2020118618A (ja) 2020-08-06

Similar Documents

Publication Publication Date Title
JP7167675B2 (ja) 物体検知装置および物体検知方法
JP6484000B2 (ja) 物体検知装置
US10451722B2 (en) In-vehicle object determining apparatus
JP6303975B2 (ja) 障害物警報装置
US11052907B2 (en) Parking control device and parking control method
CN108140323B (zh) 用于机动车中的环境检测时改进的数据融合的方法和设备
WO2018198574A1 (ja) 障害物検知装置
JP7147648B2 (ja) 運転支援装置
CN105549017A (zh) 物体检测装置
JP2016080641A (ja) 物体検知装置
JP6442225B2 (ja) 物体検知装置
WO2020152935A1 (ja) 物体検知装置および物体検知方法
JP5075656B2 (ja) 物体検知装置
CN113581174B (zh) 一种车辆的障碍物定位方法及障碍物定位装置
JP2010091317A (ja) レーダ装置
CN116134500B (zh) 车辆和障碍物探测装置
JP4082286B2 (ja) 前方物体位置検出装置
US20240310518A1 (en) Obstacle detection device, obstacle detection method, and computer-readable medium
JP2021043164A (ja) 物体検知装置および物体検知方法
JP2012014520A (ja) 障害物検出装置
KR20180007211A (ko) 차량의 후방 추돌경보시스템
WO2016063533A1 (ja) 車載用物体判別装置
JP6820132B2 (ja) 運転支援装置
JP2001215274A (ja) 車両周辺監視装置
WO2020013057A1 (ja) 交差道路推定装置

Legal Events

Date Code Title Description
121 Ep: the epo has been informed by wipo that ep was designated in this application

Ref document number: 19911569

Country of ref document: EP

Kind code of ref document: A1

NENP Non-entry into the national phase

Ref country code: DE

122 Ep: pct application non-entry in european phase

Ref document number: 19911569

Country of ref document: EP

Kind code of ref document: A1