WO2019142422A1 - コネクタ - Google Patents

コネクタ Download PDF

Info

Publication number
WO2019142422A1
WO2019142422A1 PCT/JP2018/039127 JP2018039127W WO2019142422A1 WO 2019142422 A1 WO2019142422 A1 WO 2019142422A1 JP 2018039127 W JP2018039127 W JP 2018039127W WO 2019142422 A1 WO2019142422 A1 WO 2019142422A1
Authority
WO
WIPO (PCT)
Prior art keywords
housing main
main body
sheet
wire support
terminal
Prior art date
Legal status (The legal status is an assumption and is not a legal conclusion. Google has not performed a legal analysis and makes no representation as to the accuracy of the status listed.)
Ceased
Application number
PCT/JP2018/039127
Other languages
English (en)
French (fr)
Japanese (ja)
Inventor
大輔 江端
基宏 横井
茂樹 池田
龍太 ▲高▼倉
西村 哲也
悠 中野
健太 荒井
康雄 大森
Current Assignee (The listed assignees may be inaccurate. Google has not performed a legal analysis and makes no representation or warranty as to the accuracy of the list.)
Sumitomo Wiring Systems Ltd
AutoNetworks Technologies Ltd
Sumitomo Electric Industries Ltd
Original Assignee
Sumitomo Wiring Systems Ltd
AutoNetworks Technologies Ltd
Sumitomo Electric Industries Ltd
Priority date (The priority date is an assumption and is not a legal conclusion. Google has not performed a legal analysis and makes no representation as to the accuracy of the date listed.)
Filing date
Publication date
Application filed by Sumitomo Wiring Systems Ltd, AutoNetworks Technologies Ltd, Sumitomo Electric Industries Ltd filed Critical Sumitomo Wiring Systems Ltd
Priority to CN201880087227.0A priority Critical patent/CN111656620B/zh
Priority to DE112018006913.3T priority patent/DE112018006913T5/de
Priority to US16/960,429 priority patent/US11245220B2/en
Publication of WO2019142422A1 publication Critical patent/WO2019142422A1/ja
Anticipated expiration legal-status Critical
Ceased legal-status Critical Current

Links

Images

Classifications

    • HELECTRICITY
    • H01ELECTRIC ELEMENTS
    • H01RELECTRICALLY-CONDUCTIVE CONNECTIONS; STRUCTURAL ASSOCIATIONS OF A PLURALITY OF MUTUALLY-INSULATED ELECTRICAL CONNECTING ELEMENTS; COUPLING DEVICES; CURRENT COLLECTORS
    • H01R13/00Details of coupling devices of the kinds covered by groups H01R12/70 or H01R24/00 - H01R33/00
    • H01R13/46Bases; Cases
    • H01R13/502Bases; Cases composed of different pieces
    • H01R13/506Bases; Cases composed of different pieces assembled by snap action of the parts
    • HELECTRICITY
    • H01ELECTRIC ELEMENTS
    • H01RELECTRICALLY-CONDUCTIVE CONNECTIONS; STRUCTURAL ASSOCIATIONS OF A PLURALITY OF MUTUALLY-INSULATED ELECTRICAL CONNECTING ELEMENTS; COUPLING DEVICES; CURRENT COLLECTORS
    • H01R13/00Details of coupling devices of the kinds covered by groups H01R12/70 or H01R24/00 - H01R33/00
    • H01R13/46Bases; Cases
    • H01R13/514Bases; Cases composed as a modular blocks or assembly, i.e. composed of co-operating parts provided with contact members or holding contact members between them
    • HELECTRICITY
    • H01ELECTRIC ELEMENTS
    • H01RELECTRICALLY-CONDUCTIVE CONNECTIONS; STRUCTURAL ASSOCIATIONS OF A PLURALITY OF MUTUALLY-INSULATED ELECTRICAL CONNECTING ELEMENTS; COUPLING DEVICES; CURRENT COLLECTORS
    • H01R13/00Details of coupling devices of the kinds covered by groups H01R12/70 or H01R24/00 - H01R33/00
    • H01R13/56Means for preventing chafing or fracture of flexible leads at outlet from coupling part
    • HELECTRICITY
    • H01ELECTRIC ELEMENTS
    • H01RELECTRICALLY-CONDUCTIVE CONNECTIONS; STRUCTURAL ASSOCIATIONS OF A PLURALITY OF MUTUALLY-INSULATED ELECTRICAL CONNECTING ELEMENTS; COUPLING DEVICES; CURRENT COLLECTORS
    • H01R13/00Details of coupling devices of the kinds covered by groups H01R12/70 or H01R24/00 - H01R33/00
    • H01R13/58Means for relieving strain on wire connection, e.g. cord grip, for avoiding loosening of connections between wires and terminals within a coupling device terminating a cable
    • H01R13/582Means for relieving strain on wire connection, e.g. cord grip, for avoiding loosening of connections between wires and terminals within a coupling device terminating a cable the cable being clamped between assembled parts of the housing
    • HELECTRICITY
    • H01ELECTRIC ELEMENTS
    • H01RELECTRICALLY-CONDUCTIVE CONNECTIONS; STRUCTURAL ASSOCIATIONS OF A PLURALITY OF MUTUALLY-INSULATED ELECTRICAL CONNECTING ELEMENTS; COUPLING DEVICES; CURRENT COLLECTORS
    • H01R12/00Structural associations of a plurality of mutually-insulated electrical connecting elements, specially adapted for printed circuits, e.g. printed circuit boards [PCB], flat or ribbon cables, or like generally planar structures, e.g. terminal strips, terminal blocks; Coupling devices specially adapted for printed circuits, flat or ribbon cables, or like generally planar structures; Terminals specially adapted for contact with, or insertion into, printed circuits, flat or ribbon cables, or like generally planar structures
    • H01R12/50Fixed connections
    • H01R12/59Fixed connections for flexible printed circuits, flat or ribbon cables or like structures
    • H01R12/65Fixed connections for flexible printed circuits, flat or ribbon cables or like structures characterised by the terminal
    • HELECTRICITY
    • H01ELECTRIC ELEMENTS
    • H01RELECTRICALLY-CONDUCTIVE CONNECTIONS; STRUCTURAL ASSOCIATIONS OF A PLURALITY OF MUTUALLY-INSULATED ELECTRICAL CONNECTING ELEMENTS; COUPLING DEVICES; CURRENT COLLECTORS
    • H01R12/00Structural associations of a plurality of mutually-insulated electrical connecting elements, specially adapted for printed circuits, e.g. printed circuit boards [PCB], flat or ribbon cables, or like generally planar structures, e.g. terminal strips, terminal blocks; Coupling devices specially adapted for printed circuits, flat or ribbon cables, or like generally planar structures; Terminals specially adapted for contact with, or insertion into, printed circuits, flat or ribbon cables, or like generally planar structures
    • H01R12/70Coupling devices
    • H01R12/7005Guiding, mounting, polarizing or locking means; Extractors
    • H01R12/7011Locking or fixing a connector to a PCB
    • H01R12/7052Locking or fixing a connector to a PCB characterised by the locating members

Definitions

  • the present invention relates to a connector used for a wire harness wired in a car or the like.
  • a connector attached to a terminal of a wire harness has a plurality of connection terminals respectively provided to a plurality of wire terminals constituting the wire harness, and a plurality of terminal accommodation chambers for respectively accommodating and holding the plurality of connection terminals. It has a connector housing.
  • the terminal accommodating chamber of the connector housing is formed in a cylindrical shape in which four sides are surrounded by the peripheral wall portion, a plurality of connection terminals provided on the wire end are inserted one by one into the terminal accommodating chamber when manufacturing the connector. Work is required, which causes the deterioration of workability.
  • Patent Document 1 a plate-like housing in which a plurality of groove-like terminal storage chambers are juxtaposed is adopted, and A structure is proposed in which the workability is improved by inserting a plurality of connection terminals from the upper side into a plurality of grooved terminal storage chambers that are opened.
  • the upper surface of the terminal storage chamber is open, so that it extends from the rear end opening of the terminal storage chamber during assembly work and use. If stress easily concentrates on the wire and the strength itself of the wire is weak like an extremely thin wire etc., it may be difficult to secure the strength of the wire, and it may be difficult to adopt the grooved terminal storage chamber itself. there were.
  • the present invention has been made against the background described above, and the problem to be solved is that the strength of the wire extending from the terminal accommodating chamber is stabilized even when the grooved terminal accommodating chamber opened upward is adopted. To provide a new structure of connector that can be secured.
  • a plate-like housing main body and a groove-like terminal housing provided on the front end side in the lengthwise direction of the housing main body and opening in the upper surface of the housing main body Chamber, and a plurality of connection terminals provided at the ends of a plurality of electric wires and accommodated respectively in the terminal accommodation chamber, and provided on the rear end side in the longitudinal direction of the housing main body, after the terminal accommodation chamber
  • It is a connector provided with the cover part which is put together on the above-mentioned upper surface of a housing body, covers the terminal accommodation room, and sandwiches the sheet-like reinforcing member between the wire support part.
  • the present invention it is possible to provide a connector capable of stably securing the strength of the wire extending from the terminal accommodating chamber even when the grooved terminal accommodating chamber opened upward is adopted.
  • FIG. 10 is an exploded perspective view of the connector shown in FIG. 9;
  • a plate-like housing main body and a groove-like terminal housing provided on the front end side in the lengthwise direction of the housing main body and opening in the upper surface of the housing main body Chamber, and a plurality of connection terminals provided at the ends of a plurality of electric wires and accommodated respectively in the terminal accommodation chamber, and provided on the rear end side in the longitudinal direction of the housing main body, after the terminal accommodation chamber
  • It is a connector provided with the cover part which is put together on the above-mentioned upper surface of a housing body, covers the terminal accommodation room, and sandwiches the sheet-like reinforcing member between the wire support part.
  • the terminal accommodating chamber provided in the housing main body has a groove shape opening upward
  • the step of accommodating the connection terminal provided at the end of the wire is performed to the plurality of terminal accommodating chambers.
  • a plurality of connection terminals can be collectively fitted from above, as compared with the conventional case where one connection terminal is accommodated in a cylindrical terminal accommodation chamber surrounded by four peripheral walls. This can dramatically improve the workability.
  • the concentration of stress on the wire extending from the terminal storage chamber which is a concern when adopting a terminal storage chamber having a groove shape, is also achieved by the plurality of wires by the wire support portion extending from the rear end side opening of the terminal storage chamber. Is reduced by being supported.
  • a plurality of electric wires extending from the rear end side opening of the terminal accommodating chamber are fixed in parallel to the sheet-like reinforcing member and mounted on the upper surface of the electric wire support portion and overlapped on the upper surface of the housing main body
  • the sandwiching between the combined cover portion and the upper surface of the housing main body reliably avoids or reduces the application of external force to the plurality of wires, and reliably realizes strength assurance of the wires of such a portion. be able to. Therefore, it is possible to adopt a groove-shaped terminal accommodating chamber even when employing an extremely thin wire as the electric wire.
  • the upper surface of the wire support portion is connected to the rear end side opening of the terminal storage chamber to connect the housing main body
  • a plurality of grooved electric wire receiving grooves open at the rear end are arranged in parallel with each other and open at the upper surface of the electric wire support portion.
  • the wire receiving grooves are opened in the upper surface of the wire support portion in a plurality connected in parallel to the rear end side opening of the terminal receiving chamber, the plurality fixed to the sheet-like reinforcing member It becomes possible to insert the electric wires of the above into the electric wire receiving grooves and to store and hold them.
  • the sheet-like reinforcing member can be held without a gap between the wire support portion and the cover portion, and the positional deviation of the sheet-like reinforcing member can be reliably prevented, and the transmission of external force to the wire can be further advantageously achieved. Can be realized and the strength can be secured.
  • a positioning protrusion is provided on the upper surface of the wire support portion while the positioning protrusion is provided on the sheet-like reinforcing member. And a first positioning recess in which the positioning projection is fitted into the lower surface of the cover portion.
  • the positioning between the wire support portion and the cover portion of the sheet-like reinforcing member is performed by cooperation of the positioning protrusion and the positioning hole of the sheet-like reinforcing member into which they are fitted and the first positioning recess of the cover portion. , Can be done reliably. As a result, the sheet-like reinforcing member is stably held at the predetermined position between the wire support portion and the cover portion, and the strength of the wire can be secured more reliably.
  • the sheet-like reinforcing member since the positioning hole of the sheet-like reinforcing member can be fitted into and locked in the positioning protrusion protruding on the upper surface of the wire support portion, the sheet-like reinforcing member is The wire support portion can be stably held, and the workability can be improved.
  • a plurality of the housing bodies are stacked in a plurality of upper and lower stages, and are stacked on the lower housing body.
  • the lower surface of the upper housing main body is engaged with the upper surface of the lower housing main body to cover the terminal accommodating chamber and hold the sheet-like reinforcing member between the electric wire supporting portion
  • the intermediate cover portion is provided with a second positioning recess in which the positioning protrusion protruding from the wire support portion of the lower housing main body is fitted.
  • the intermediate cover portion is constituted by the lower surface of the housing main body and the sheet-like reinforcing member can be held between the cover of the terminal storage chamber and the wire support portion, the number of parts can be reduced and the structure can be simplified.
  • the cover portion and the housing body are interlocked with each other by a locking mechanism provided on a side wall. It is
  • the cover portion and the housing main body are mutually locked by the lock mechanism provided on the side wall, the overlapping state of the cover portion and the housing main body can be stably held. It becomes possible to hold the sheet-like reinforcing member more stably between the wire support portion and the cover portion.
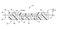
  • FIGS. 1-8 A connector 10 according to a first embodiment of the invention is shown in FIGS. 1-8.
  • the connector 10 is configured to include a plurality (five in the present embodiment) of electric wires 12 and a connector housing 14 provided at the end of the plurality of electric wires 12 as shown in FIGS. 1 to 3. . And it connects with the other party connector provided in the various electrical components which are not shown in figure from the front side (right side in FIG. 3) of the connector 10.
  • the upper side means the upper side in FIGS. 1 and 2 and the lower side means the lower side in FIGS. 1 and 2 and the front means the right side and the rear side in FIG.
  • the term “left” in FIG. 3 means “the left side in FIG. 3”
  • “longitudinal direction” means the lateral direction in FIG. 3
  • width direction means the vertical direction in FIG.
  • the connector housing 14 is configured to include the housing main body 16 and the cover portion 18, and each of them is made of, for example, a synthetic resin such as polypropylene (PP) or polyamide (PA) by injection molding or the like. It is integrally formed.
  • the housing body 16 is generally plate-shaped.
  • a terminal housing portion 20 having a substantially horizontally elongated rectangular shape in plan view is provided on the front end side (right end side in FIG. 6) of the housing main body 16 in the longitudinal direction.
  • a wire support portion 22 having a substantially vertically elongated rectangular shape in plan view is provided.
  • the terminal accommodating portion 20 is opened in the length direction outward and the upper surface 24 of the housing main body 16 and extends in the longitudinal direction in a substantially rectangular cross-sectional shape and in the width direction (in FIG.
  • a plurality of substantially groove-shaped terminal accommodating chambers 26 arranged in parallel with each other in the vertical direction) are provided.
  • the central portion in the width direction of the substantially central portion in the longitudinal direction of the bottom surface 28 of the terminal accommodating chamber 26 is mutually separated in the longitudinal direction (lateral direction in FIG. 6) of the terminal accommodating chamber 26 and directed upward.
  • a pair of substantially square columnar engaging projections 30, 30 are provided to project. Of the pair of engagement projections 30, 30 at the projecting end of the engagement projection 30 located on the front side (right side in FIG. 6), as shown in FIG.
  • An engagement claw 32 projecting in a substantially triangular sectional shape is protruded toward the right).
  • the elastic lock claw 34 is configured to include the engagement projection 30 and the engagement claw 32, and the taper is inclined downward as the upper surface 36 of the engagement claw 32 goes outward (right side in FIG. 8). It is considered to be a face.
  • the protrusion height dimension of a pair of engagement protrusion 30 and 30 is formed lower on the front side than on the rear side, this will be described later, the core wire caulking portion 76 and the electric wire engaged with each other It is only formed corresponding to the height dimension from the bottom surface 28 of the terminal accommodating chamber 26 of the caulking portion 78.
  • the width direction (in FIG. 6) is on the front side (right side in FIGS. 6 and 8) of the elastic lock claw 34 on the bottom surface 28 of the terminal accommodating chamber 26.
  • an engagement projection 38 is formed which protrudes in a substantially rectangular shape in plan view.
  • an engagement recess 40 opened to the bottom surface 28 of the terminal accommodating chamber 26 is formed (see FIGS. 6 and 8).
  • FIGS. 2 and 5 to 6 the front end and the rear end of the side walls 42 and 42 in the width direction (vertical direction in FIG.
  • a fitting protrusion 44 is provided which protrudes outward in a substantially rectangular cross-sectional shape and extends upward. Further, between the fitting projections 44 provided on the side walls 42, lock portions 46 which protrude outward and extend in a substantially trapezoidal cross-sectional shape in the longitudinal direction are formed.
  • the upper surface 48 of the wire support 22 is connected to the rear end side opening 50 of the terminal accommodating chamber 26 and at the rear end 52 of the housing main body 16.
  • a substantially groove-shaped wire housing groove 54 which opens and extends in a substantially rectangular cross-sectional shape in the length direction is opened on the upper surface 48 of the wire support portion 22 and arranged in parallel in the width direction (vertical direction in FIG. 6) It is done.
  • positioning projections 56 are provided in a substantially cylindrical shape.
  • the protruding tip of the positioning projection 56 is slightly tapered.
  • a second positioning recess 100 described later is provided on the bottom surface of the wire support 22 at a position corresponding to the positioning protrusion 56.
  • the cover portion 18 has a substantially block shape, and the upper portion of the cover portion 18 is used to release the engagement between the connector 10 and a mating connector (not shown).
  • An engagement release portion 58 is provided.
  • An engagement frame 62 is provided.
  • fitting recesses 64 opened downward and on both sides in the width direction are provided.
  • a sandwiching member which protrudes in a substantially rectangular flat shape toward the rear side (left side in FIG. 3) and extends toward both sides in the width direction (vertical direction in FIG. 3)
  • the part 66 is provided on the rear end side of the cover portion 18.
  • Through holes 68 penetrating in a substantially circular cross-sectional shape in the vertical direction are formed on both sides in the width direction of the rear end side of the sandwiching portion 66.
  • connection terminals 70 are connected to the ends of the wires 12 respectively. More specifically, the insulation coating 72 on the tip end side (right side in FIG. 8) of the electric wire 12 is peeled off to expose the core wire 74, the core wire 74 is exposed to the core wire caulking portion 76 of the connection terminal 70, and the core wire 74 is exposed.
  • the electric wire 12 is fixed and connected to the connection terminal 70 by caulking the tip end portion of the electric wire 12 in the electric wire caulking portion 78 of the connection terminal 70. Further, at the tip end portion (right side in FIG. 8) of the connection terminal 70, a cylindrical connection portion 80 opened in the length direction (left and right direction in FIG. 8) is formed. Then, as shown in FIG.
  • connection terminal 70 in the connection terminal 70, a recess 82 opened in a surface opposite to the bottom surface 28 of the terminal accommodation chamber 26 between the core caulking portion 76 and the connection portion 80.
  • an engaging portion 83 extending along the outer surface is formed at the lower rear end (the left end in FIG. 8) in FIG.
  • an engaging portion 84 extending obliquely outward is formed.
  • an elastic contact piece 86 which extends along the inner surface from the rear end portion (left end portion in FIG. 8) at the upper portion in FIG. There is.
  • an embossed portion 88 is formed on the inner surface of the connection portion 80 by the inward end of the lower front end side (the right end side in FIG. 8) in FIG.
  • the mating connector 89 is connected to the mating connector.
  • the mating terminal 89 is described by a virtual line.
  • the plurality of electric wires 12 extending from the connection terminal 70 are fixed to the sheet-like reinforcing member 90 in a state of being arranged in parallel.
  • a positioning hole 92 having a substantially circular cross-sectional shape is penetrated on both sides in the width direction across the plurality of electric wires 12 on the front end side (right end side in FIG. 7) of the sheet-like reinforcing member 90.
  • the electric wire 12 has a structure in which a core wire 74 obtained by bundling a plurality of copper, aluminum and other metal wires as conductors is covered with an insulating coating 72 having electrical insulation such as ethylene resin or styrene resin.
  • the connection terminal 70 is integrally formed using various metal materials having conductivity and capable of being pressed or punched, such as brass, copper, copper alloy, aluminum, aluminum alloy, etc. .
  • the sheet reinforcing member 90 for example, a glass fiber non-woven fabric, an aramid fiber non-woven fabric or the like impregnated with an epoxy resin or a phenol resin is used to press the sheet reinforcing member 90 against the electric wire 12 by heat press or the like. It is possible to fix by.
  • the connector 10 thus configured is assembled as follows. First, the wire bundle with sheet-like reinforcing member 94 fixed to the sheet-like reinforcing member 90 is prepared in a state in which the plurality of electric wires 12 to which the connection terminals 70 are connected are connected in parallel. Then, the plurality of connection terminals 70 provided at the ends of the plurality of electric wires 12 in the sheet-like reinforcing member-attached wire bundle 94 are accommodated and arranged in the terminal accommodation chambers 26 provided in the housing main body 16, and A positioning hole 92 formed in the member 90 is fitted into the positioning projection 56 of the housing main body 16.
  • the plurality of electric wires 12 extending from the rear end side opening 50 of the terminal accommodation chamber 26 is accommodated and held in the electric wire accommodation groove 54 provided in the electric wire support 22 and the front end of the sheet-like reinforcing member 90
  • the side (right end side in FIG. 7) is placed on the upper surface 24 of the housing main body 16. More specifically, the connection terminal 70 is inserted from above into the terminal accommodating chamber 26 so that the pair of engagement projections 30, 30 are disposed in the recess 82.
  • the elastic lock claw 34 formed of the engagement protrusion 30 having the engagement claw 32 positioned on the front side (right side in FIG. 8) is elastically deformed rearward to insert the connection terminal 70 into the terminal storage chamber 26.
  • connection terminal 70 when the connection terminal 70 is placed in the terminal storage chamber 26, the elastic lock claw 34 elastically returns, and the engagement claw 32 of the elastic lock claw 34 enters the inner surface of the connection portion 80 of the connection terminal 70.
  • the connection terminal 70 is advantageously prevented from coming out of the terminal accommodating chamber 26 (see FIG. 8).
  • the pair of engagement projections 30, 30 are inserted into the recess 82 of the connection terminal 70, and the pair of engagement projections 30, 30 and the recess 82 are formed on both sides in the longitudinal direction (left and right direction in FIG. 8).
  • connection terminals 70 are positioned and held on both sides in the longitudinal direction.
  • the cylindrical connection portion 80 of the connection terminal 70 into which the mating terminal 89 is inserted is disposed on the tip end side (right side in FIG. 8) of the terminal accommodation chamber 26 in the longitudinal direction.
  • the elastic lock claw 34 is elastically returned and the engagement claw 32 of the elastic lock claw 34 is engaged with the inner surface of the connection portion 80 of the connection terminal 70, the elastic lock claw 34 is engaged.
  • the amount of penetration of the connecting portion 80 into the inner surface of the connecting portion 80 is set in a range that does not interfere with the mating terminal 89.
  • the cover portion 18 is superimposed on the upper surface 24 of the housing main body 16 from above, and the positioning projection 56 provided on the housing main body 16 is press-fit into the through hole 68 of the cover portion 18.
  • the terminal accommodating chamber 26 of the housing main body 16 is covered by the cover portion 18, and the front end portion of the sheet-like reinforcing member 90 of the sheet-like reinforcing member attached wire bundle 94 covers the wire support portion 22 of the housing main body 16 and the cover It is held between the holding portions 66 of the portion 18.
  • a first positioning recess in which the positioning protrusion 56 of the housing main body 16 is fitted is formed in the lower surface of the cover portion 18 by the through hole 68 of the cover portion 18.
  • the lock portion 46 constituting the lock mechanism provided in the side wall 42 of the housing main body 16 engages with the through hole 61 of the engagement frame 62 constituting the lock mechanism provided in the side wall 60 of the cover portion 18 It is united. That is, the cover portion 18 and the housing main body 16 are interlocked with each other by the lock mechanisms 62 and 46 provided on the side walls 60 and 42, respectively.
  • the fitting protrusion 44 provided on the side wall 42 of the housing main body 16 is fitted into the fitting recess 64 of the engagement frame 62 provided on the side wall 60 of the cover portion 18.
  • the overlapping state of the cover portion 18 and the housing main body 16 can be stably held, and the sheet-like reinforcing member 90 can be held by the wire supporting portion 22 of the housing main body 16 and the holding portion 66 of the cover portion 18 It is possible to hold it more stably.
  • the connector 10 having such a structure, since the terminal accommodation chamber 26 is formed in a groove shape opening on the upper surface 24 of the housing main body 16, the plurality of electric wires 12 of the sheet-like reinforcing member-attached electric wire bundle 94
  • the connection terminals 70 provided at the terminals can be collectively fitted into the plurality of terminal accommodation chambers 26 from above. Therefore, as compared with the conventional case where the connection terminals are accommodated one by one in the cylindrical terminal accommodation chamber surrounded by the circumferential wall in four sides, the workability can be dramatically improved.
  • concentration of stress on the electric wire 12 extending from the terminal accommodating chamber 26 of the terminal accommodating portion 20 of the housing main body 16 is also achieved by the grooved electric wire accommodating groove 54 connected to the rear end side opening 50 of the terminal accommodating chamber 26. Is reduced by being housed and held.
  • the plurality of electric wires 12 extending from the connection terminal 70 are fixed to the sheet-like reinforcing member 90 in a state of being arranged in parallel, and the front end of the sheet-like reinforcing member 90 And the wire support portion 22 of the housing main body 16.
  • the application of external force to the plurality of electric wires 12 is reliably avoided or reduced, and strength assurance of the electric wires 12 at such a portion can be reliably realized. Therefore, even in the case where, for example, an extremely thin wire is adopted as the electric wire 12, it is possible to adopt the groove-shaped terminal accommodating chamber 26.
  • the positioning between the housing main body 16, the sheet-like reinforcing member 90 and the cover portion 18 is performed by cooperation of the positioning projection 56 of the housing main body 16, the positioning hole 92 of the sheet-like reinforcing member 90 and the through hole 68 of the cover portion 18. Can be done reliably. Therefore, the sheet-like reinforcing member 90 is stably held at the predetermined position between the housing main body 16 and the cover portion 18, and the strength of the electric wire 12 can be secured more reliably.
  • the positioning holes 92 of the sheet-like reinforcing member 90 can be engaged and locked in the positioning protrusions 56 provided on the upper surface 48 of the wire support portion 22, the sheet-like reinforcing member 90 is mounted before mounting the cover portion 18. The wire support portion 22 of the housing main body 16 can be stably held, and the workability can be improved.
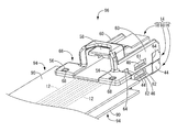
  • the housing main body 16 is only one stage, but the housing main bodies 98 and 16 are the same as the connector 96 according to the second embodiment of the present invention shown in FIGS. It may be laminated and constituted up and down. More specifically, as shown in FIGS. 9 to 10, the lower surface of the upper housing main body 98 in which the housing main bodies 98 and 16 are stacked in two upper and lower stages and is superimposed on the lower housing main body 16 Is superimposed on the upper surface 24 of the lower housing body 16 to cover the terminal accommodating chamber 26 of the housing body 16.
  • an intermediate cover portion for sandwiching the sheet-like reinforcing member 90 with the wire support portion 22 of the housing main body 16 is constituted by the housing main body 98
  • the lower housing main body 16 is provided in the intermediate cover portion.
  • a second positioning recess 100 is provided in which the positioning protrusion 56 provided to project from the wire support 22 in the second embodiment is fitted (see FIG. 10). Then, by press-fitting the positioning projection 56 into the second positioning recess 100, the housing main bodies 98 and 16 stacked one on top of the other are positioned and fixed.
  • the housing main body 98 disposed between the cover portion 18 and the lowermost housing main body 16 has an engagement frame 62 constituting a lock mechanism in comparison with the lowermost housing main body 16.
  • the housing body 16,98 are the same shape. Therefore, it is possible to reduce the mold cost and manufacture the housing body 16,98. Further, when the lock mechanism is not provided, only the housing main body 16 can be used, so that the configuration can be further simplified and the parts management can be facilitated.
  • the housing bodies 98 and 16 are stacked in two upper and lower stages, but the number of stages to be stacked can be easily increased by increasing the number of stacked housing bodies 98. be able to.
  • the fitting of the positioning protrusion 56 to the through hole 68 and the second positioning recess 100 that constitute the first positioning recess is performed by pressing, but may be inserted, and the sheet in that case
  • the sandwiching of the reinforcing member 90 may be constituted by a lock mechanism such as the lock mechanisms 46 and 62, for example.
  • the first positioning recess may be the through hole 68 as in the first embodiment, or may be a recess such as the second positioning recess 100.
  • the combination of the positioning protrusion 56 and the through hole 68 constituting the first positioning recess and the protrusion and the recess in the second positioning recess 100 may be a combination of the recess and the protrusion. That is, the positioning projection 56 may be provided on the side of the cover body 18 or the housing main body 98 which is an intermediate cover part, and a recess may be formed on the upper surface 24 of the housing main bodies 16 and 98.
  • the sheet-like reinforcing member 90 is not limited to the illustrated one, and an adhesive layer is provided on a resin-made sheet material so that the electric wire 12 is fixed, or a wire 12 for a cloth-made sheet material. Any material can be adopted as long as it can fix and hold the electric wire 12 in a sheet shape, such as a material fixed by sawing.

Landscapes

  • Connector Housings Or Holding Contact Members (AREA)
  • Details Of Connecting Devices For Male And Female Coupling (AREA)
PCT/JP2018/039127 2018-01-22 2018-10-22 コネクタ Ceased WO2019142422A1 (ja)

Priority Applications (3)

Application Number Priority Date Filing Date Title
CN201880087227.0A CN111656620B (zh) 2018-01-22 2018-10-22 连接器
DE112018006913.3T DE112018006913T5 (de) 2018-01-22 2018-10-22 Verbinder
US16/960,429 US11245220B2 (en) 2018-01-22 2018-10-22 Connector including sandwiched configuration

Applications Claiming Priority (2)

Application Number Priority Date Filing Date Title
JP2018-007953 2018-01-22
JP2018007953A JP6669996B2 (ja) 2018-01-22 2018-01-22 コネクタ

Publications (1)

Publication Number Publication Date
WO2019142422A1 true WO2019142422A1 (ja) 2019-07-25

Family

ID=67302069

Family Applications (1)

Application Number Title Priority Date Filing Date
PCT/JP2018/039127 Ceased WO2019142422A1 (ja) 2018-01-22 2018-10-22 コネクタ

Country Status (5)

Country Link
US (1) US11245220B2 (enExample)
JP (1) JP6669996B2 (enExample)
CN (1) CN111656620B (enExample)
DE (1) DE112018006913T5 (enExample)
WO (1) WO2019142422A1 (enExample)

Cited By (2)

* Cited by examiner, † Cited by third party
Publication number Priority date Publication date Assignee Title
WO2021079587A1 (ja) * 2019-10-24 2021-04-29 株式会社オートネットワーク技術研究所 ジョイントコネクタ
WO2022075045A1 (ja) * 2020-10-07 2022-04-14 住友電装株式会社 配線部材

Families Citing this family (3)

* Cited by examiner, † Cited by third party
Publication number Priority date Publication date Assignee Title
JP6601537B1 (ja) * 2018-06-27 2019-11-06 株式会社オートネットワーク技術研究所 配線部材の固定構造
JP7567828B2 (ja) * 2022-02-17 2024-10-16 トヨタ自動車株式会社 コネクタ
JP2025161603A (ja) * 2024-04-12 2025-10-24 アイミット株式会社 爪とぎ器具

Citations (7)

* Cited by examiner, † Cited by third party
Publication number Priority date Publication date Assignee Title
JPH04329270A (ja) * 1991-04-30 1992-11-18 Fujitsu Ltd ケーブル接続用コネクタの組立方法
JPH05266935A (ja) * 1991-04-19 1993-10-15 Fujitsu Ltd ケーブル接続用コネクタ
JPH09129307A (ja) * 1995-11-01 1997-05-16 Harness Sogo Gijutsu Kenkyusho:Kk コネクタへのケーブル接続方法及び接続構造並びに接続用補強部材
JP2001060477A (ja) * 1999-08-23 2001-03-06 Sumitomo Wiring Syst Ltd 電線のコネクタ接続構造
JP2001230038A (ja) * 2000-02-15 2001-08-24 Yazaki Corp 積層プレートコネクタの製造方法
JP2002158061A (ja) * 2000-11-16 2002-05-31 Sumitomo Wiring Syst Ltd ワイヤーハーネスの保護構造
JP2005190717A (ja) * 2003-12-24 2005-07-14 Fujikura Ltd フラットハーネス用コネクタ

Family Cites Families (10)

* Cited by examiner, † Cited by third party
Publication number Priority date Publication date Assignee Title
GB2261558B (en) * 1991-10-31 1996-07-10 Sumitomo Wiring Systems A connector assembly
JP3775557B2 (ja) * 1999-11-04 2006-05-17 住友電装株式会社 コネクタ
JP2002110295A (ja) 2000-10-02 2002-04-12 Tyco Electronics Amp Kk 電気コネクタ組立体およびこれに用いられる雄コネクタ
US6926562B1 (en) 2004-02-09 2005-08-09 Hon Hai Precision Ind. Co., Ltd. Cable end connector assembly with improved spacer
JP2006294386A (ja) * 2005-04-08 2006-10-26 Tyco Electronics Amp Kk 電気コネクタ、ワイヤハーネス及びワイヤハーネスの配置方法
EP2023445B1 (en) * 2007-08-10 2012-07-25 Sumitomo Wiring Systems, Ltd. A joint connector and an assembling method therefor
US7798821B2 (en) * 2008-02-01 2010-09-21 Hon Hai Precision Ind. Co., Ltd Cable assembly with an organizer for adjusting the cable outlet
JP6669997B2 (ja) * 2018-01-22 2020-03-18 株式会社オートネットワーク技術研究所 コネクタ
JP6832313B2 (ja) * 2018-07-23 2021-02-24 矢崎総業株式会社 フレキシブルプリント配線板のコネクタ取付構造
JP6820297B2 (ja) * 2018-07-31 2021-01-27 矢崎総業株式会社 コネクタ付き回路体、及び、バスバモジュール

Patent Citations (7)

* Cited by examiner, † Cited by third party
Publication number Priority date Publication date Assignee Title
JPH05266935A (ja) * 1991-04-19 1993-10-15 Fujitsu Ltd ケーブル接続用コネクタ
JPH04329270A (ja) * 1991-04-30 1992-11-18 Fujitsu Ltd ケーブル接続用コネクタの組立方法
JPH09129307A (ja) * 1995-11-01 1997-05-16 Harness Sogo Gijutsu Kenkyusho:Kk コネクタへのケーブル接続方法及び接続構造並びに接続用補強部材
JP2001060477A (ja) * 1999-08-23 2001-03-06 Sumitomo Wiring Syst Ltd 電線のコネクタ接続構造
JP2001230038A (ja) * 2000-02-15 2001-08-24 Yazaki Corp 積層プレートコネクタの製造方法
JP2002158061A (ja) * 2000-11-16 2002-05-31 Sumitomo Wiring Syst Ltd ワイヤーハーネスの保護構造
JP2005190717A (ja) * 2003-12-24 2005-07-14 Fujikura Ltd フラットハーネス用コネクタ

Cited By (10)

* Cited by examiner, † Cited by third party
Publication number Priority date Publication date Assignee Title
WO2021079587A1 (ja) * 2019-10-24 2021-04-29 株式会社オートネットワーク技術研究所 ジョイントコネクタ
JPWO2021079587A1 (enExample) * 2019-10-24 2021-04-29
CN114503373A (zh) * 2019-10-24 2022-05-13 株式会社自动网络技术研究所 接头连接器
JP7177995B2 (ja) 2019-10-24 2022-11-25 株式会社オートネットワーク技術研究所 ジョイントコネクタ
WO2022075045A1 (ja) * 2020-10-07 2022-04-14 住友電装株式会社 配線部材
JP2022061687A (ja) * 2020-10-07 2022-04-19 住友電装株式会社 配線部材
JP2024098111A (ja) * 2020-10-07 2024-07-19 住友電装株式会社 配線部材
JP7533098B2 (ja) 2020-10-07 2024-08-14 住友電装株式会社 配線部材
JP7761085B2 (ja) 2020-10-07 2025-10-28 住友電装株式会社 配線部材
US12463375B2 (en) 2020-10-07 2025-11-04 Sumitomo Wiring Systems, Ltd. Wiring member including a connector housing containing a filling member

Also Published As

Publication number Publication date
US20200373702A1 (en) 2020-11-26
CN111656620A (zh) 2020-09-11
US11245220B2 (en) 2022-02-08
JP6669996B2 (ja) 2020-03-18
JP2019128996A (ja) 2019-08-01
DE112018006913T5 (de) 2020-10-01
CN111656620B (zh) 2021-08-10

Similar Documents

Publication Publication Date Title
WO2019142422A1 (ja) コネクタ
WO2019142442A1 (ja) コネクタ
JP2019128996A5 (enExample)
WO2009090942A1 (ja) ワイヤハーネス及びワイヤハーネス組立方法
JP2019128997A5 (enExample)
JPH0718128Y2 (ja) 多極コネクタ
CN112186660B (zh) 布线材料固定体
JPH04136870U (ja) 圧接コネクタ
JP6955228B2 (ja) コネクタ
JP2019122114A (ja) 電線用外装体及び外装体付きワイヤーハーネス
JP6914529B2 (ja) 電気コネクタ
JP2013093226A (ja) ジョイントコネクタ
JP6974805B2 (ja) コネクタ
JP2008283760A (ja) 電気接続箱
JP2007294200A (ja) コネクタ
JP7042580B2 (ja) コネクタ、ハウジング、カバー体、及びコネクタ付ワイヤーハーネス
JP2023171116A (ja) フラットケーブル用コネクタ
JP5851869B2 (ja) 電気接続箱
JP5563275B2 (ja) コンセント
JP2024044829A (ja) 接続金具保持部材、接続金具付電線及び電池モジュール
CN103515766B (zh) 压接电连接器
JP4576167B2 (ja) 配線接続器
TW200527766A (en) Socket connector
JP2009021118A (ja) 屋内配線用ユニットケーブル
WO2022202183A1 (ja) ジョイントコネクタ、コネクタ付電線及びコネクタケース

Legal Events

Date Code Title Description
121 Ep: the epo has been informed by wipo that ep was designated in this application

Ref document number: 18901374

Country of ref document: EP

Kind code of ref document: A1

122 Ep: pct application non-entry in european phase

Ref document number: 18901374

Country of ref document: EP

Kind code of ref document: A1