WO2019130617A1 - 積層体の製造方法 - Google Patents

積層体の製造方法 Download PDF

Info

Publication number
WO2019130617A1
WO2019130617A1 PCT/JP2018/016943 JP2018016943W WO2019130617A1 WO 2019130617 A1 WO2019130617 A1 WO 2019130617A1 JP 2018016943 W JP2018016943 W JP 2018016943W WO 2019130617 A1 WO2019130617 A1 WO 2019130617A1
Authority
WO
WIPO (PCT)
Prior art keywords
pressure
sensitive adhesive
adherend
adhesive sheet
polymer
Prior art date
Legal status (The legal status is an assumption and is not a legal conclusion. Google has not performed a legal analysis and makes no representation as to the accuracy of the status listed.)
Ceased
Application number
PCT/JP2018/016943
Other languages
English (en)
French (fr)
Japanese (ja)
Inventor
浩司 設樂
弘司 野呂
武史 仲野
林 圭治
Current Assignee (The listed assignees may be inaccurate. Google has not performed a legal analysis and makes no representation or warranty as to the accuracy of the list.)
Nitto Denko Corp
Original Assignee
Nitto Denko Corp
Priority date (The priority date is an assumption and is not a legal conclusion. Google has not performed a legal analysis and makes no representation as to the accuracy of the date listed.)
Filing date
Publication date
Application filed by Nitto Denko Corp filed Critical Nitto Denko Corp
Priority to CN201910712127.9A priority Critical patent/CN110509623B/zh
Priority to CN201880005298.1A priority patent/CN110214084B/zh
Priority to KR1020197017926A priority patent/KR20200094083A/ko
Priority to KR1020197009198A priority patent/KR102075323B1/ko
Publication of WO2019130617A1 publication Critical patent/WO2019130617A1/ja
Anticipated expiration legal-status Critical
Ceased legal-status Critical Current

Links

Images

Classifications

    • BPERFORMING OPERATIONS; TRANSPORTING
    • B32LAYERED PRODUCTS
    • B32BLAYERED PRODUCTS, i.e. PRODUCTS BUILT-UP OF STRATA OF FLAT OR NON-FLAT, e.g. CELLULAR OR HONEYCOMB, FORM
    • B32B37/00Methods or apparatus for laminating, e.g. by curing or by ultrasonic bonding
    • B32B37/12Methods or apparatus for laminating, e.g. by curing or by ultrasonic bonding characterised by using adhesives
    • BPERFORMING OPERATIONS; TRANSPORTING
    • B32LAYERED PRODUCTS
    • B32BLAYERED PRODUCTS, i.e. PRODUCTS BUILT-UP OF STRATA OF FLAT OR NON-FLAT, e.g. CELLULAR OR HONEYCOMB, FORM
    • B32B27/00Layered products comprising a layer of synthetic resin
    • BPERFORMING OPERATIONS; TRANSPORTING
    • B32LAYERED PRODUCTS
    • B32BLAYERED PRODUCTS, i.e. PRODUCTS BUILT-UP OF STRATA OF FLAT OR NON-FLAT, e.g. CELLULAR OR HONEYCOMB, FORM
    • B32B27/00Layered products comprising a layer of synthetic resin
    • B32B27/28Layered products comprising a layer of synthetic resin comprising synthetic resins not wholly covered by any one of the sub-groups B32B27/30 - B32B27/42
    • B32B27/281Layered products comprising a layer of synthetic resin comprising synthetic resins not wholly covered by any one of the sub-groups B32B27/30 - B32B27/42 comprising polyimides
    • BPERFORMING OPERATIONS; TRANSPORTING
    • B32LAYERED PRODUCTS
    • B32BLAYERED PRODUCTS, i.e. PRODUCTS BUILT-UP OF STRATA OF FLAT OR NON-FLAT, e.g. CELLULAR OR HONEYCOMB, FORM
    • B32B27/00Layered products comprising a layer of synthetic resin
    • B32B27/30Layered products comprising a layer of synthetic resin comprising vinyl (co)polymers; comprising acrylic (co)polymers
    • BPERFORMING OPERATIONS; TRANSPORTING
    • B32LAYERED PRODUCTS
    • B32BLAYERED PRODUCTS, i.e. PRODUCTS BUILT-UP OF STRATA OF FLAT OR NON-FLAT, e.g. CELLULAR OR HONEYCOMB, FORM
    • B32B27/00Layered products comprising a layer of synthetic resin
    • B32B27/36Layered products comprising a layer of synthetic resin comprising polyesters
    • BPERFORMING OPERATIONS; TRANSPORTING
    • B32LAYERED PRODUCTS
    • B32BLAYERED PRODUCTS, i.e. PRODUCTS BUILT-UP OF STRATA OF FLAT OR NON-FLAT, e.g. CELLULAR OR HONEYCOMB, FORM
    • B32B3/00Layered products comprising a layer with external or internal discontinuities or unevennesses, or a layer of non-planar shape; Layered products comprising a layer having particular features of form
    • B32B3/10Layered products comprising a layer with external or internal discontinuities or unevennesses, or a layer of non-planar shape; Layered products comprising a layer having particular features of form characterised by a discontinuous layer, i.e. formed of separate pieces of material
    • B32B3/14Layered products comprising a layer with external or internal discontinuities or unevennesses, or a layer of non-planar shape; Layered products comprising a layer having particular features of form characterised by a discontinuous layer, i.e. formed of separate pieces of material characterised by a face layer formed of separate pieces of material which are juxtaposed side-by-side
    • BPERFORMING OPERATIONS; TRANSPORTING
    • B32LAYERED PRODUCTS
    • B32BLAYERED PRODUCTS, i.e. PRODUCTS BUILT-UP OF STRATA OF FLAT OR NON-FLAT, e.g. CELLULAR OR HONEYCOMB, FORM
    • B32B37/00Methods or apparatus for laminating, e.g. by curing or by ultrasonic bonding
    • B32B37/12Methods or apparatus for laminating, e.g. by curing or by ultrasonic bonding characterised by using adhesives
    • B32B37/1284Application of adhesive
    • BPERFORMING OPERATIONS; TRANSPORTING
    • B32LAYERED PRODUCTS
    • B32BLAYERED PRODUCTS, i.e. PRODUCTS BUILT-UP OF STRATA OF FLAT OR NON-FLAT, e.g. CELLULAR OR HONEYCOMB, FORM
    • B32B37/00Methods or apparatus for laminating, e.g. by curing or by ultrasonic bonding
    • B32B37/14Methods or apparatus for laminating, e.g. by curing or by ultrasonic bonding characterised by the properties of the layers
    • B32B37/16Methods or apparatus for laminating, e.g. by curing or by ultrasonic bonding characterised by the properties of the layers with all layers existing as coherent layers before laminating
    • B32B37/18Methods or apparatus for laminating, e.g. by curing or by ultrasonic bonding characterised by the properties of the layers with all layers existing as coherent layers before laminating involving the assembly of discrete sheets or panels only
    • BPERFORMING OPERATIONS; TRANSPORTING
    • B32LAYERED PRODUCTS
    • B32BLAYERED PRODUCTS, i.e. PRODUCTS BUILT-UP OF STRATA OF FLAT OR NON-FLAT, e.g. CELLULAR OR HONEYCOMB, FORM
    • B32B37/00Methods or apparatus for laminating, e.g. by curing or by ultrasonic bonding
    • B32B37/14Methods or apparatus for laminating, e.g. by curing or by ultrasonic bonding characterised by the properties of the layers
    • B32B37/26Methods or apparatus for laminating, e.g. by curing or by ultrasonic bonding characterised by the properties of the layers with at least one layer which influences the bonding during the lamination process, e.g. release layers or pressure equalising layers
    • BPERFORMING OPERATIONS; TRANSPORTING
    • B32LAYERED PRODUCTS
    • B32BLAYERED PRODUCTS, i.e. PRODUCTS BUILT-UP OF STRATA OF FLAT OR NON-FLAT, e.g. CELLULAR OR HONEYCOMB, FORM
    • B32B38/00Ancillary operations in connection with laminating processes
    • B32B38/0004Cutting, tearing or severing, e.g. bursting; Cutter details
    • BPERFORMING OPERATIONS; TRANSPORTING
    • B32LAYERED PRODUCTS
    • B32BLAYERED PRODUCTS, i.e. PRODUCTS BUILT-UP OF STRATA OF FLAT OR NON-FLAT, e.g. CELLULAR OR HONEYCOMB, FORM
    • B32B38/00Ancillary operations in connection with laminating processes
    • B32B38/0008Electrical discharge treatment, e.g. corona, plasma treatment; wave energy or particle radiation
    • BPERFORMING OPERATIONS; TRANSPORTING
    • B32LAYERED PRODUCTS
    • B32BLAYERED PRODUCTS, i.e. PRODUCTS BUILT-UP OF STRATA OF FLAT OR NON-FLAT, e.g. CELLULAR OR HONEYCOMB, FORM
    • B32B38/00Ancillary operations in connection with laminating processes
    • B32B38/10Removing layers, or parts of layers, mechanically or chemically
    • BPERFORMING OPERATIONS; TRANSPORTING
    • B32LAYERED PRODUCTS
    • B32BLAYERED PRODUCTS, i.e. PRODUCTS BUILT-UP OF STRATA OF FLAT OR NON-FLAT, e.g. CELLULAR OR HONEYCOMB, FORM
    • B32B38/00Ancillary operations in connection with laminating processes
    • B32B38/18Handling of layers or the laminate
    • BPERFORMING OPERATIONS; TRANSPORTING
    • B32LAYERED PRODUCTS
    • B32BLAYERED PRODUCTS, i.e. PRODUCTS BUILT-UP OF STRATA OF FLAT OR NON-FLAT, e.g. CELLULAR OR HONEYCOMB, FORM
    • B32B38/00Ancillary operations in connection with laminating processes
    • B32B38/18Handling of layers or the laminate
    • B32B38/1808Handling of layers or the laminate characterised by the laying up of the layers
    • BPERFORMING OPERATIONS; TRANSPORTING
    • B32LAYERED PRODUCTS
    • B32BLAYERED PRODUCTS, i.e. PRODUCTS BUILT-UP OF STRATA OF FLAT OR NON-FLAT, e.g. CELLULAR OR HONEYCOMB, FORM
    • B32B43/00Operations specially adapted for layered products and not otherwise provided for, e.g. repairing; Apparatus therefor
    • B32B43/006Delaminating
    • BPERFORMING OPERATIONS; TRANSPORTING
    • B32LAYERED PRODUCTS
    • B32BLAYERED PRODUCTS, i.e. PRODUCTS BUILT-UP OF STRATA OF FLAT OR NON-FLAT, e.g. CELLULAR OR HONEYCOMB, FORM
    • B32B7/00Layered products characterised by the relation between layers; Layered products characterised by the relative orientation of features between layers, or by the relative values of a measurable parameter between layers, i.e. products comprising layers having different physical, chemical or physicochemical properties; Layered products characterised by the interconnection of layers
    • B32B7/04Interconnection of layers
    • B32B7/06Interconnection of layers permitting easy separation
    • BPERFORMING OPERATIONS; TRANSPORTING
    • B32LAYERED PRODUCTS
    • B32BLAYERED PRODUCTS, i.e. PRODUCTS BUILT-UP OF STRATA OF FLAT OR NON-FLAT, e.g. CELLULAR OR HONEYCOMB, FORM
    • B32B7/00Layered products characterised by the relation between layers; Layered products characterised by the relative orientation of features between layers, or by the relative values of a measurable parameter between layers, i.e. products comprising layers having different physical, chemical or physicochemical properties; Layered products characterised by the interconnection of layers
    • B32B7/04Interconnection of layers
    • B32B7/12Interconnection of layers using interposed adhesives or interposed materials with bonding properties
    • BPERFORMING OPERATIONS; TRANSPORTING
    • B65CONVEYING; PACKING; STORING; HANDLING THIN OR FILAMENTARY MATERIAL
    • B65HHANDLING THIN OR FILAMENTARY MATERIAL, e.g. SHEETS, WEBS, CABLES
    • B65H37/00Article or web delivery apparatus incorporating devices for performing specified auxiliary operations
    • B65H37/04Article or web delivery apparatus incorporating devices for performing specified auxiliary operations for securing together articles or webs, e.g. by adhesive, stitching or stapling
    • BPERFORMING OPERATIONS; TRANSPORTING
    • B65CONVEYING; PACKING; STORING; HANDLING THIN OR FILAMENTARY MATERIAL
    • B65HHANDLING THIN OR FILAMENTARY MATERIAL, e.g. SHEETS, WEBS, CABLES
    • B65H41/00Machines for separating superposed webs
    • CCHEMISTRY; METALLURGY
    • C09DYES; PAINTS; POLISHES; NATURAL RESINS; ADHESIVES; COMPOSITIONS NOT OTHERWISE PROVIDED FOR; APPLICATIONS OF MATERIALS NOT OTHERWISE PROVIDED FOR
    • C09JADHESIVES; NON-MECHANICAL ASPECTS OF ADHESIVE PROCESSES IN GENERAL; ADHESIVE PROCESSES NOT PROVIDED FOR ELSEWHERE; USE OF MATERIALS AS ADHESIVES
    • C09J133/00Adhesives based on homopolymers or copolymers of compounds having one or more unsaturated aliphatic radicals, each having only one carbon-to-carbon double bond, and at least one being terminated by only one carboxyl radical, or of salts, anhydrides, esters, amides, imides, or nitriles thereof; Adhesives based on derivatives of such polymers
    • CCHEMISTRY; METALLURGY
    • C09DYES; PAINTS; POLISHES; NATURAL RESINS; ADHESIVES; COMPOSITIONS NOT OTHERWISE PROVIDED FOR; APPLICATIONS OF MATERIALS NOT OTHERWISE PROVIDED FOR
    • C09JADHESIVES; NON-MECHANICAL ASPECTS OF ADHESIVE PROCESSES IN GENERAL; ADHESIVE PROCESSES NOT PROVIDED FOR ELSEWHERE; USE OF MATERIALS AS ADHESIVES
    • C09J133/00Adhesives based on homopolymers or copolymers of compounds having one or more unsaturated aliphatic radicals, each having only one carbon-to-carbon double bond, and at least one being terminated by only one carboxyl radical, or of salts, anhydrides, esters, amides, imides, or nitriles thereof; Adhesives based on derivatives of such polymers
    • C09J133/04Homopolymers or copolymers of esters
    • C09J133/06Homopolymers or copolymers of esters of esters containing only carbon, hydrogen and oxygen, the oxygen atom being present only as part of the carboxyl radical
    • C09J133/062Copolymers with monomers not covered by C09J133/06
    • C09J133/066Copolymers with monomers not covered by C09J133/06 containing -OH groups
    • CCHEMISTRY; METALLURGY
    • C09DYES; PAINTS; POLISHES; NATURAL RESINS; ADHESIVES; COMPOSITIONS NOT OTHERWISE PROVIDED FOR; APPLICATIONS OF MATERIALS NOT OTHERWISE PROVIDED FOR
    • C09JADHESIVES; NON-MECHANICAL ASPECTS OF ADHESIVE PROCESSES IN GENERAL; ADHESIVE PROCESSES NOT PROVIDED FOR ELSEWHERE; USE OF MATERIALS AS ADHESIVES
    • C09J139/00Adhesives based on homopolymers or copolymers of compounds having one or more unsaturated aliphatic radicals, each having only one carbon-to-carbon double bond, and at least one being terminated by a single or double bond to nitrogen or by a heterocyclic ring containing nitrogen; Adhesives based on derivatives of such polymers
    • C09J139/04Homopolymers or copolymers of monomers containing heterocyclic rings having nitrogen as ring member
    • CCHEMISTRY; METALLURGY
    • C09DYES; PAINTS; POLISHES; NATURAL RESINS; ADHESIVES; COMPOSITIONS NOT OTHERWISE PROVIDED FOR; APPLICATIONS OF MATERIALS NOT OTHERWISE PROVIDED FOR
    • C09JADHESIVES; NON-MECHANICAL ASPECTS OF ADHESIVE PROCESSES IN GENERAL; ADHESIVE PROCESSES NOT PROVIDED FOR ELSEWHERE; USE OF MATERIALS AS ADHESIVES
    • C09J139/00Adhesives based on homopolymers or copolymers of compounds having one or more unsaturated aliphatic radicals, each having only one carbon-to-carbon double bond, and at least one being terminated by a single or double bond to nitrogen or by a heterocyclic ring containing nitrogen; Adhesives based on derivatives of such polymers
    • C09J139/04Homopolymers or copolymers of monomers containing heterocyclic rings having nitrogen as ring member
    • C09J139/06Homopolymers or copolymers of N-vinyl-pyrrolidones
    • CCHEMISTRY; METALLURGY
    • C09DYES; PAINTS; POLISHES; NATURAL RESINS; ADHESIVES; COMPOSITIONS NOT OTHERWISE PROVIDED FOR; APPLICATIONS OF MATERIALS NOT OTHERWISE PROVIDED FOR
    • C09JADHESIVES; NON-MECHANICAL ASPECTS OF ADHESIVE PROCESSES IN GENERAL; ADHESIVE PROCESSES NOT PROVIDED FOR ELSEWHERE; USE OF MATERIALS AS ADHESIVES
    • C09J181/00Adhesives based on macromolecular compounds obtained by reactions forming in the main chain of the macromolecule a linkage containing sulfur, with or without nitrogen, oxygen, or carbon only; Adhesives based on polysulfones; Adhesives based on derivatives of such polymers
    • C09J181/04Polysulfides
    • CCHEMISTRY; METALLURGY
    • C09DYES; PAINTS; POLISHES; NATURAL RESINS; ADHESIVES; COMPOSITIONS NOT OTHERWISE PROVIDED FOR; APPLICATIONS OF MATERIALS NOT OTHERWISE PROVIDED FOR
    • C09JADHESIVES; NON-MECHANICAL ASPECTS OF ADHESIVE PROCESSES IN GENERAL; ADHESIVE PROCESSES NOT PROVIDED FOR ELSEWHERE; USE OF MATERIALS AS ADHESIVES
    • C09J201/00Adhesives based on unspecified macromolecular compounds
    • CCHEMISTRY; METALLURGY
    • C09DYES; PAINTS; POLISHES; NATURAL RESINS; ADHESIVES; COMPOSITIONS NOT OTHERWISE PROVIDED FOR; APPLICATIONS OF MATERIALS NOT OTHERWISE PROVIDED FOR
    • C09JADHESIVES; NON-MECHANICAL ASPECTS OF ADHESIVE PROCESSES IN GENERAL; ADHESIVE PROCESSES NOT PROVIDED FOR ELSEWHERE; USE OF MATERIALS AS ADHESIVES
    • C09J4/00Adhesives based on organic non-macromolecular compounds having at least one polymerisable carbon-to-carbon unsaturated bond ; adhesives, based on monomers of macromolecular compounds of groups C09J183/00 - C09J183/16
    • C09J4/06Organic non-macromolecular compounds having at least one polymerisable carbon-to-carbon unsaturated bond in combination with a macromolecular compound other than an unsaturated polymer of groups C09J159/00 - C09J187/00
    • CCHEMISTRY; METALLURGY
    • C09DYES; PAINTS; POLISHES; NATURAL RESINS; ADHESIVES; COMPOSITIONS NOT OTHERWISE PROVIDED FOR; APPLICATIONS OF MATERIALS NOT OTHERWISE PROVIDED FOR
    • C09JADHESIVES; NON-MECHANICAL ASPECTS OF ADHESIVE PROCESSES IN GENERAL; ADHESIVE PROCESSES NOT PROVIDED FOR ELSEWHERE; USE OF MATERIALS AS ADHESIVES
    • C09J5/00Adhesive processes in general; Adhesive processes not provided for elsewhere, e.g. relating to primers
    • C09J5/06Adhesive processes in general; Adhesive processes not provided for elsewhere, e.g. relating to primers involving heating of the applied adhesive
    • CCHEMISTRY; METALLURGY
    • C09DYES; PAINTS; POLISHES; NATURAL RESINS; ADHESIVES; COMPOSITIONS NOT OTHERWISE PROVIDED FOR; APPLICATIONS OF MATERIALS NOT OTHERWISE PROVIDED FOR
    • C09JADHESIVES; NON-MECHANICAL ASPECTS OF ADHESIVE PROCESSES IN GENERAL; ADHESIVE PROCESSES NOT PROVIDED FOR ELSEWHERE; USE OF MATERIALS AS ADHESIVES
    • C09J7/00Adhesives in the form of films or foils
    • C09J7/20Adhesives in the form of films or foils characterised by their carriers
    • CCHEMISTRY; METALLURGY
    • C09DYES; PAINTS; POLISHES; NATURAL RESINS; ADHESIVES; COMPOSITIONS NOT OTHERWISE PROVIDED FOR; APPLICATIONS OF MATERIALS NOT OTHERWISE PROVIDED FOR
    • C09JADHESIVES; NON-MECHANICAL ASPECTS OF ADHESIVE PROCESSES IN GENERAL; ADHESIVE PROCESSES NOT PROVIDED FOR ELSEWHERE; USE OF MATERIALS AS ADHESIVES
    • C09J7/00Adhesives in the form of films or foils
    • C09J7/30Adhesives in the form of films or foils characterised by the adhesive composition
    • CCHEMISTRY; METALLURGY
    • C09DYES; PAINTS; POLISHES; NATURAL RESINS; ADHESIVES; COMPOSITIONS NOT OTHERWISE PROVIDED FOR; APPLICATIONS OF MATERIALS NOT OTHERWISE PROVIDED FOR
    • C09JADHESIVES; NON-MECHANICAL ASPECTS OF ADHESIVE PROCESSES IN GENERAL; ADHESIVE PROCESSES NOT PROVIDED FOR ELSEWHERE; USE OF MATERIALS AS ADHESIVES
    • C09J7/00Adhesives in the form of films or foils
    • C09J7/30Adhesives in the form of films or foils characterised by the adhesive composition
    • C09J7/35Heat-activated
    • CCHEMISTRY; METALLURGY
    • C09DYES; PAINTS; POLISHES; NATURAL RESINS; ADHESIVES; COMPOSITIONS NOT OTHERWISE PROVIDED FOR; APPLICATIONS OF MATERIALS NOT OTHERWISE PROVIDED FOR
    • C09JADHESIVES; NON-MECHANICAL ASPECTS OF ADHESIVE PROCESSES IN GENERAL; ADHESIVE PROCESSES NOT PROVIDED FOR ELSEWHERE; USE OF MATERIALS AS ADHESIVES
    • C09J7/00Adhesives in the form of films or foils
    • C09J7/30Adhesives in the form of films or foils characterised by the adhesive composition
    • C09J7/38Pressure-sensitive adhesives [PSA]
    • BPERFORMING OPERATIONS; TRANSPORTING
    • B32LAYERED PRODUCTS
    • B32BLAYERED PRODUCTS, i.e. PRODUCTS BUILT-UP OF STRATA OF FLAT OR NON-FLAT, e.g. CELLULAR OR HONEYCOMB, FORM
    • B32B37/00Methods or apparatus for laminating, e.g. by curing or by ultrasonic bonding
    • B32B37/14Methods or apparatus for laminating, e.g. by curing or by ultrasonic bonding characterised by the properties of the layers
    • B32B37/26Methods or apparatus for laminating, e.g. by curing or by ultrasonic bonding characterised by the properties of the layers with at least one layer which influences the bonding during the lamination process, e.g. release layers or pressure equalising layers
    • B32B2037/268Release layers
    • BPERFORMING OPERATIONS; TRANSPORTING
    • B32LAYERED PRODUCTS
    • B32BLAYERED PRODUCTS, i.e. PRODUCTS BUILT-UP OF STRATA OF FLAT OR NON-FLAT, e.g. CELLULAR OR HONEYCOMB, FORM
    • B32B2457/00Electrical equipment
    • B32B2457/08PCBs, i.e. printed circuit boards

Definitions

  • the present invention relates to a method of manufacturing a laminate.
  • This application claims priority based on Japanese Patent Application No. 2017-253311 filed on Dec. 28, 2017, the entire contents of that application being incorporated herein by reference.
  • a laminate in which the adherend is partially covered with the adhesive piece by sticking one or more adhesive pieces to the adherend various patterns may be formed depending on the shape and arrangement of the adhesive. Can be expressed.
  • the adhesive sheet is formed into a desired adhesive piece shape, such as coverlay film bonding of a circuit board.
  • a method of cutting in advance and aligning and sticking the adhesive piece to an adherend is generally used.
  • Patent document 1 is mentioned as a technical literature regarding this kind of technology.
  • an object of the present invention is to provide a method for efficiently producing a laminate in which a pattern of adhesive pieces is precisely formed on an adherend and the adhesive pieces are firmly bonded to the adherend.
  • Another related invention is to provide an apparatus suitable for carrying out such a manufacturing method.
  • the laminate manufacturing method comprises: attaching a pressure-sensitive adhesive sheet including a base material layer and a pressure-sensitive adhesive layer laminated on at least the adherend-side surface of the base material layer to the adherend; A cutting step of performing cutting processing on the boundary between the first region constituting the adhesive piece and the second region not constituting the adhesive piece, and the second region while leaving the first region on the adherend And a partial removal step of peeling away from the adherend in the stated order.
  • the partial removal step is performed before the adhesive strength of the pressure-sensitive adhesive sheet to the adherend exceeds 2 N / 25 mm.
  • the first area is efficiently arranged on the adherend with high accuracy in shape and position by performing the attaching process, the cutting process and the partial removing process in this order. You can get it.
  • the partial removal step is performed before the adhesive force of the pressure-sensitive adhesive sheet to the adherend exceeds 2 N / 25 mm, the second region can be easily peeled off from the adherend, and deformation of the adherend or deformation of the adherend Damage is also less likely to occur.
  • the above-mentioned pressure-sensitive adhesive sheet one having an adhesion of 2 N / 25 mm or less after 24 hours at 23 ° C. after bonding to polyimide can be preferably used. According to such a pressure-sensitive adhesive sheet, it is possible to flexibly cope with the lead time of the manufacturing process of the laminate.
  • heat treatment is performed after the partial removal step to make the adhesion of the first region to the adherend 5 N / 25 mm or more.
  • This embodiment includes, for example, a pressure-sensitive adhesive layer including a polymer A having a glass transition temperature of less than 0 ° C., and a polymer B which is a copolymer of a monomer having a polyorganosiloxane skeleton and a (meth) acrylic monomer.
  • a pressure-sensitive adhesive layer including a polymer A having a glass transition temperature of less than 0 ° C.
  • a polymer B which is a copolymer of a monomer having a polyorganosiloxane skeleton and a (meth) acrylic monomer.
  • ultraviolet irradiation treatment is performed after the partial removal step to make the adhesion of the first region to the adherend 5 N / 25 mm or more.
  • This embodiment is made of, for example, a photocurable composition containing a base polymer and a photocuring agent, the photocuring agent is a polyfunctional (meth) acrylate, and the content of the photocuring agent is 100% by weight of the base polymer.
  • the adhesive sheet provided with the adhesive layer which is 1 weight part or more and 50 weight parts or less with respect to a part, it is not limited to this.
  • the laminate manufacturing method disclosed herein is carried out in an aspect of storing at normal temperature until the adhesion of the first region to the adherend becomes 5 N / 25 mm or more. It is also good.
  • normal temperature means a temperature of about 0 ° C. to 35 ° C., typically 10 ° C. to 35 ° C., unless otherwise specified.
  • a sheet having a thickness of 30 ⁇ m or more and a thickness Ts of the base layer of 2 or more times the thickness Ta of the pressure-sensitive adhesive layer may be preferably used.
  • the second region is preferably set such that at least one end thereof reaches the end of the pressure-sensitive adhesive sheet. This has the advantage that it is easier to pick up the second region when performing the partial removal step.
  • the second region may have a shape in which one end reaching the end of the pressure-sensitive adhesive sheet becomes wider toward the end of the pressure-sensitive adhesive sheet from the viewpoint of improving the pickup performance.
  • the manufacturing method disclosed here can be preferably implemented in the aspect which uses the adhesive sheet which is 2500 cm ⁇ 2 > or more in area, and whose length of a short side is 50 cm or more to the said sticking process.
  • the advantages of adopting the manufacturing method disclosed herein can be exhibited more effectively.
  • the manufacturing method disclosed herein uses, as the pressure-sensitive adhesive sheet and the adherend used in the sticking step, one including a plurality of units corresponding to the laminate, and as a step performed after the sticking step, You may further include the division process which divides the said adhesive sheet and the said to-be-adhered body into the said unit.
  • a plurality of laminates can be efficiently manufactured by dividing the pressure-sensitive adhesive sheet including a plurality of units as described above after attaching it to an adherend.
  • the configuration of the plurality of units may be identical or different.
  • an apparatus for producing a laminate including an adherend and an adhesive strip partially laminated to the adherend.
  • the apparatus includes a sticking mechanism for sticking a pressure-sensitive adhesive sheet.
  • the device may include a cutting mechanism for cutting the pressure-sensitive adhesive sheet.
  • the device may include a peeling mechanism that peels the second region. Any of the laminate manufacturing methods disclosed herein can be suitably implemented using a manufacturing apparatus having such a configuration.
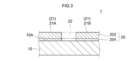
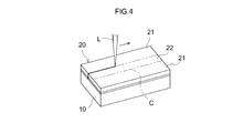
  • FIG. 3 is a cross-sectional view taken along line III-III of FIG. It is a perspective view explaining the cutting process of the laminated body manufacturing method which concerns on one Embodiment.
  • FIG. 3 is a cross-sectional view taken along line III-III of FIG. It is a perspective view explaining the cutting process of the laminated body manufacturing method which concerns on one Embodiment.
  • It is an explanatory view showing a schematic structure of a layered product manufacturing device used for a layered product manufacturing method concerning one embodiment. It is explanatory drawing which shows the implementation method of a durability test.
  • FIG. 1 is a flowchart showing a method of manufacturing a laminate according to an embodiment
  • FIG. 2 is a perspective view showing a laminate manufactured by the method
  • FIG. 3 is a cross-sectional view along line III-III. It is.
  • the laminate 1 manufactured according to this embodiment includes an adherend 10 and adhesive pieces 21A and 21B partially covering the surface 10A of the adherend 10. After sticking the adhesive sheet 20 to the adherend 10, the adhesive pieces 21A and 21B leave the first region 21 of the adhesive sheet 20 on the adherend 10 and leave the second region 22 from the adherend 10 By peeling and removing, it is formed from the first region 21 left on the adherend 10.
  • the pressure-sensitive adhesive sheet 20 has a configuration in which the pressure-sensitive adhesive layer 204 is laminated on one side of the base material layer 202.
  • the laminate manufacturing method includes, as shown in FIG. 1, a sticking step S10, a cutting step S20, and a partial removing step S30 in this order.
  • the sticking step S10 the pressure-sensitive adhesive sheet 20 is attached to the adherend 10.
  • the pressure-sensitive adhesive sheet 20 used in this step does not constitute the first region 21 which is a region included in the components of the laminate 1 as the adhesive pieces 21A and 21B, and does not constitute the components of the laminate 1.
  • region 22 are physically connected, and these area
  • the boundary between the first area 21 and the second area 22 of the pressure-sensitive adhesive sheet 20 attached to the adherend 10 is cut.
  • laser cutting is performed by irradiating the laser light L along a planned cutting line C that forms the boundary between the first area 21 and the second area 22.
  • FIG. 4 shows an example of laser cutting
  • the means for cutting is not particularly limited, and can be appropriately selected from various known cutting means according to the purpose and application. Examples of such cutting means include laser cutting using laser light such as a CO 2 laser or YAG laser; cutting with a blade such as a Thomson blade, pinnacle blade, rotary blade or knife; blade cutting; It is not limited to these.
  • the cutting means can be used singly or in combination of two or more.
  • the second region 22 is peeled and removed from the adherend 10 while leaving the first region 21 on the adherend 10.
  • the second region 22 is peeled off from one end in the longitudinal direction of the adhesive sheet 20 to the other end.
  • the adhesive pieces 21A and 21B formed from the first region 21 are disposed on the adherend 10 separately from each other, and the adhesive pieces 21A and 21B are adhered to each other. A structure in which the adherend 10 is exposed is formed.
  • the laminate manufacturing method After the pressure-sensitive adhesive sheet 20 is attached to the adherend 10, a part of the pressure-sensitive adhesive sheet 20, that is, the second region 22 is peeled off from the adherend 10. A covering pattern consisting of two adhesive pieces 21A and 21B disposed apart from each other is formed on the adherend 10. According to this method, the first region 21 constituting the two adhesive pieces 21A and 21B separated from each other in the laminate 1 can be attached to the adherend 10 in the form of one adhesive sheet 20, and the adhesive Since the adjustment of the relative positional relationship between the adhesive pieces 21A and the adhesive pieces 21B becomes unnecessary when the sheet 20 is attached, the manufacturing efficiency of the laminate 1 is improved.
  • the shape accuracy of the first region 21 and the adherend It is easy to improve the position accuracy with respect to 10.
  • the adhesive sheet 20 is slightly misaligned in the affixing position of the adhesive sheet 20 to the adherend 10 in the adhering step S10, or when the adhesive sheet 20 is slightly expanded or deformed due to temperature change or release of internal stress
  • the influence thereof can be eliminated or reduced.
  • the laminate 1 in which the adhesive strength of the adhesive pieces 21A and 21B to the adherend is 5 N / 25 mm or more is manufactured.
  • the fact that the adhesive pieces 21A and 21B are firmly joined to the adherend 10 means that an external force such as contact of human hands, deformation of the adherend, or a laminate occurs when the laminate 1 is used. Is preferable from the viewpoint of suppressing an event in which the adhesive pieces 21A and 21B peel off or float from the adherend 10 due to environmental factors such as being exposed to wind and rain or temperature change.
  • the adhesive strip 21A is implemented by performing the partial removal step S30 before the adhesive force of the pressure-sensitive adhesive sheet attached to the adherend in the attachment step S10 to the adherend exceeds 2N / 25 mm. , 21B can be manufactured firmly to the adherend 10, and the above-mentioned problems can be avoided or reduced in the partial removal step S20.
  • the adhesive force A P to the adherend of the adhesive sheet at the time of partial removal step, from the viewpoint of peeling easiness of the second region may be less than 2N / 25 mm, 1.5 N / It may be less than 25 mm, may be 1.3 N / 25 mm or less, may be 1 N / 25 mm or less, and may be 0.8 N / 25 mm or less.
  • the lower limit of the adhesive strength A P is not particularly limited, from the viewpoint of suppressing the positional deviation and the floating of the first region in the cutting process and some removal step, for example. It may be 0.005 N / 25 mm or more, 0.01 N / 25 mm or more, 0.05 N / 25 mm or more, 0.1 N / 25 mm or more, 0.2 N / 25 mm or more.
  • the manufacturing method disclosed herein uses a pressure-sensitive adhesive sheet having an adhesive strength (hereinafter also referred to as an adhesive strength after room temperature 24 hours) after 24 hours at 23 ° C. after bonding to a polyimide is 2N / 25 mm or less Can be implemented preferably. According to such a pressure-sensitive adhesive sheet, it is possible to flexibly cope with the lead time of the manufacturing process of the laminate.
  • the upper limit of the room temperature 24 hours after adhesion can be, for example, comparable to the one of the upper limit of the adhesive strength A P exemplified above.
  • the lower limit of the room temperature 24 hours after adhesion can be, for example, comparable to the one of the lower limit of the adhesive strength A P exemplified above.
  • an adhesive strength increase step S40 may be further performed to enhance the adhesive strength of the adhesive pieces 21A and 21B to the adherend 10, if necessary.
  • the manufacturing method including the adhesive strength raising step it is possible to shorten the time until obtaining the desired laminate (that is, the laminate having the adhesive strength of the adhesive piece to the adherend of 5 N / 25 mm or more). This can improve the productivity of the laminate. Moreover, it is in the tendency for a layered product with higher adhesive power to the adherend of an adhesive piece to be manufactured by performing the above-mentioned adhesive power increase process.
  • Adhesion strength increase process S40 may be a process of giving stimulation which promotes the rise of adhesion power of adhesion pieces 21A and 21B.
  • the content of the above-mentioned stimulation can be suitably selected according to the type etc. of an adhesive sheet to be used.
  • Examples of the stimulation may include heating, irradiation with actinic radiation, pressing (pressurization) and the like. These stimuli can be applied singly or in combination of two or more.
  • the adhesive strength increasing step is not an essential step, but the type of adhesive sheet to be used, the productivity and performance of the desired laminate, and the equipment and cost for manufacturing the laminate. It is an optional process that can be adopted appropriately in consideration of For example, by appropriately selecting the pressure-sensitive adhesive sheet used for producing the laminate, the pressure-sensitive adhesive sheet to the adherend has an adhesive strength of more than 2 N / 25 mm even in an embodiment where the special pressure-sensitive adhesive increase step is not performed after the partial removal step. Partially removing the adhesive sheet, and a laminate having an adhesive strength of 5 N / 25 mm or more to the adherend of the pressure-sensitive adhesive sheet can be produced.
  • the adhesive strip contained in the laminate produced by the method disclosed herein includes a base material layer and an adhesive layer, and is bonded to the adherend via the adhesive layer.
  • the adhesive piece and the adherend are joined by the adhesive, that is, the adhesive maintains the desired viscoelasticity by the method disclosed herein. It is preferable from the viewpoints of flexibility, impact resistance, stress relaxation property, low temperature characteristics, adhesion between an adherend and an adhesive piece of a laminate to be produced, and the like.
  • the adhesive sheet 20 having substantially the same size as the adherend 10 is attached so as to cover the entire surface (entire area) of one side of the adherend 10.
  • the sticking aspect of an adhesive sheet is not limited to this.
  • the pressure-sensitive adhesive sheet may be attached so as to cover only a partial region on one side of the adherend, or a part of the pressure-sensitive adhesive sheet may be attached so as to protrude from the adherend.
  • the first region and the second region may be connected to such an extent that they can be handled as a continuous sheet.
  • a cutting aid structure such as a cut (a perforation or the like) or a half cut is provided at the boundary between the two areas.
  • the half cut means a cut whose depth does not penetrate the adhesive sheet in the thickness direction, and is typically formed as a cut whose depth does not penetrate the base material layer in the thickness direction.
  • Such a cut can be formed, for example, by advancing the processing blade from the back surface of the base layer (the side opposite to the side on which the pressure-sensitive adhesive layer is laminated) to a depth not penetrating the base layer.
  • a pressure-sensitive adhesive sheet in which a cutting assistance structure is not provided at the boundary between the first region and the second region can be preferably used from the viewpoint of improving the handleability of the pressure-sensitive adhesive sheet and reducing the manufacturing cost.
  • the adhesive sheet used at sticking process S10 may be provided with the mark which helps the position alignment with this adhesive sheet and a to-be-adhered body.
  • the mark may be a structural mark such as a through hole, a notch, a recess or the like, or may be a visual mark by an optically detectable marking (eg, printing or coloring) , Arrangement of different members (for example, application of an identification label, fixation of an element enabling transmission or reflection of a signal).
  • Such a mark may be provided in one or both of the first area and the second area, and may be provided at the boundary between the first area and the second area.
  • the cutting step S20 continuous linear cutting is performed at a depth which penetrates the pressure-sensitive adhesive sheet and reaches the adherend surface, but the aspect of the cutting is limited to this. I will not.
  • the first region and the second region after the cutting step S20 may be partially connected to the extent that the partial removal step S30 can be appropriately performed.
  • Examples of such cutting processing include discontinuous cutting processing such as perforations, half cutting, processing combining perforations and half cutting (for example, cuts passing through the substrate layer, and the substrate layer Cutting with an aspect in which incisions of a depth not to be penetrated alternately repeat, and the like.
  • the cutting process may be performed at a depth that penetrates the pressure-sensitive adhesive sheet to the surface of the adherend, and passes through the pressure-sensitive adhesive sheet so that the depth further partially extends from the surface of the adherend. It may be performed at a depth which does not penetrate the pressure-sensitive adhesive sheet (i.e., half cut).
  • the first region since the adhesion of the pressure-sensitive adhesive sheet to the adherend is suppressed to a low level when performing the partial removal step S30, the first region at least deep enough to penetrate the base material layer It is preferable to perform cutting so that the second region and the second region are completely separated. This can be advantageous from the viewpoint of improving the pickup performance of the second region in the partial removal step S30, preventing floating or shifting of the first region, improving the outer shape accuracy of the first region, and the like.
  • one end and the other end of the linearly extending second region reach the end of the pressure-sensitive adhesive sheet.
  • Setting the second area so that at least one end of the second area reaches the end of the pressure-sensitive adhesive sheet in this manner is preferable from the viewpoint of the pickup property of the second area in the partial removal step S30.
  • the second area is picked up by sticking and pulling up a strong adhesive tape on the back of the second area at one end of the second area.
  • Such a pickup method can also be adopted in a mode in which at least one end of the second region reaches the end of the adhesive sheet.
  • the adhesive force of the adhesive sheet to the adherend at the time of the partial removal step is 2N / 25 mm or less by the method of sticking and pulling up the adhesive tape as described above. It is advantageous from the viewpoint of the pickup performance improvement of the second region.
  • the width of the second region to the end of the pressure-sensitive adhesive sheet is preferably 0.2 mm or more from the viewpoint of pick up property It may be 0.5 mm or more, or 1 mm or more. In order to enhance the pick-up property, the width of the second area may be increased near the end of the adhesive sheet. Further, from the viewpoint of miniaturizing a product (such as an electronic device) including the laminate obtained by the manufacturing method disclosed herein, the width of the second region to the end of the pressure-sensitive adhesive sheet may be 10 mm or less Preferably, it is more preferably 8 mm or less.
  • the laminate manufacturing method disclosed herein includes the step of increasing the adhesion
  • the degree to which the adhesion is increased in the step is not particularly limited, and the adhesion after the step or the adhesion after the step is higher than the adhesion before the step.
  • the adhesion of the laminate obtained through the process may be relatively high.
  • the step of increasing the adhesive strength comprises the adhesive strength A 0 [N / 25 mm] to the adherend before the process and the adhesive power A 1 [N / 25 mm] to the adherend after the process It is preferable to carry out the relationship with to satisfy the ratio (A 1 / A 0 ) ⁇ 2.
  • the ratio (A 1 / A 0 ) may be, for example, 3 or more, 5 or more, or 10 or more.
  • the upper limit of the above ratio (A 1 / A 0 ) is not particularly limited, it is usually 10000 or less, 5000 or less or 2000 or less from the viewpoint of suppressing positional deviation or floating of the first region before the adhesive strength increasing step. Is preferred.
  • Each of the adhesive strengths A 0 and A 1 is an adherend of a pressure-sensitive adhesive sheet at a peeling angle of 180 degrees and a tensile speed of 300 mm / min in an environment of 23 ° C. and 50% RH according to JIS Z0237. It can grasp by measuring the exfoliation strength from.
  • Adhesion A 0 to adherends of the adhesive sheet before adhesion increasing step may be, for example, approximately the same extent as the adhesive force A P at the portion removing step. Therefore, the upper limit value and the lower limit value of the adhesive force A P illustrated above are each independently, it may also be applied to each of the upper and lower limit values which can be taken of the adhesion A 0. Each upper and lower limits of adhesion A P illustrated above is independently, can be applied to each of the upper and lower limit values which can be taken in the initial adhesive strength B 0 to be described later.
  • the adhesive force AF of the adhesive piece to the adherend may be, for example, more than 5 N / 25 mm, may be 7 N / 25 mm or more, or 10 N / 25 mm or more. , 12 N / 25 mm or more may be sufficient. It is preferable from the viewpoint of suppressing peeling and floating of the adhesive piece from the adherend during use of the laminate that the adhesive strength AF is high.
  • the upper limit of the adhesive force AF is not particularly limited. From the viewpoint of facilitating compatibility with the peelability of the second region in the partial removal step, in some embodiments, the adhesive force AF may be, for example, 50 N / 25 mm or less, or 40 N / 25 mm or less. , 35 N / 25 mm or less, or 30 N / 25 mm or less.
  • the adhesion A 1 [N / 25 mm] of the adhesive sheet to the adherend after the adhesion raising step is, for example, the adherend of the adhesive piece in the manufactured laminate.
  • the upper limit value and the lower limit value of the adhesive force A F illustrated above are each independently, it may also be applied to each of the upper and lower limit values which can be taken of the adhesion A 1.
  • Each upper and lower limits of adhesion A F illustrated above are each independently, it may also be applied to each of the possible upper limit value and the lower limit value of the stimulation after adhesion B 1 to be described later.
  • the content of the stimulus given to the adhesive sheet in the adhesion raising step is, for example, an adhesion increase ratio (B 1 / B) defined as a ratio of initial adhesion B 0 to adhesion to polyimide of adhesive sheet used and adhesion B 1 after stimulation. 0 ) can be set to satisfy a predetermined target value.
  • Initial adhesion B 0 and after stimulation adhesion B 1 represents, is measured by the method described in the examples below.
  • the adhesion increasing step is preferably performed such that the adhesion increase ratio (B 1 / B 0 ) is, for example, 2 or more, and the adhesion increase is It is more preferable to carry out such that the ratio (B 1 / B 0 ) is 3 or more, 5 or more, 10 or more, or 15 or more. Also. From the viewpoint of reducing the load on the adhesive sheet and the adherend and improving the productivity of the laminate, the adhesive strength increasing step has an adhesive strength increase ratio (B 1 / B 0 ) of about 10000 or less, 5000 or less or 2000 or less To be implemented. In some embodiments, the adhesion increase ratio (B 1 / B 0 ) may be, for example, 1000 or less, 500 or less, 200 or less, or 100 or less.
  • a polyimide film is often used as a substrate material.
  • a pressure-sensitive adhesive sheet exhibiting the above-mentioned tackiness B 0 , B 1 or tackiness increase ratio (B 1 / B 0 ) with respect to polyimide is used in the production of a laminate in a mode in which polyimide is used as an adherend.
  • the peeling workability of the second region is good, and when using the obtained laminate, it is possible to exert the property of being excellent in the adhesion reliability with the adherend.
  • the film cover lay of the FPC can be formed accurately and efficiently.
  • the methods disclosed herein can be preferably applied, for example, to the manufacture of FPCs with film cover lays.
  • the heating temperature in the case of heating as a stimulus given to the adhesive sheet in the adhesive strength raising step is not particularly limited, and the workability, economy, heat resistance of the substrate layer and adherend that may be included in the adhesive sheet, etc. Can be set.
  • the heating temperature may be, for example, less than 150 ° C., 120 ° C. or less, 100 ° C. or less, 80 ° C. or less, or 70 ° C. or less.
  • the heating temperature may be, for example, 40 ° C. or more, 50 ° C. or more, or 60 ° C. or more, may be 80 ° C. or more, or 100 ° C. or more. With higher heating temperatures, the tack can be increased by a shorter treatment.
  • the heating time is not particularly limited, and may be, for example, 1 hour or less, 30 minutes or less, 10 minutes or less, or 5 minutes or less.
  • the heat treatment may be performed for a longer period of time (for example, 2 hours or more, 5 hours or more, or the like) as long as significant heat deterioration does not occur in the adhesive sheet or the adherend. Note that the heat treatment may be performed at one time or may be performed plural times.
  • the pressure-sensitive adhesive sheet used in the sticking step may include only one region (first region) to be a pressure-sensitive adhesive piece constituting the laminate in a single pressure-sensitive adhesive sheet, for example, as shown in FIG. It may include two first regions separated from each other, and may include three or more first regions. When the adhesive sheet includes a plurality of first regions, the shape of the first regions may be the same or different.
  • the pressure-sensitive adhesive sheet used in the sticking step may include only one second region to be peeled and removed in the partial removal step, for example, as shown in FIG. 4 in a single pressure-sensitive adhesive sheet. And may contain two or more or three or more. When one adhesive sheet includes a plurality of second regions, the shapes of the second regions may be the same or different.
  • the pressure-sensitive adhesive sheet and the adherend used in the sticking step those including a plurality of units corresponding to the laminate manufactured by the method can be used.
  • the aspect may further include a dividing step of dividing the pressure-sensitive adhesive sheet and the adherend into the units as a step performed after the attaching step.
  • the dividing step can be performed at any time after the sticking step. For example, by performing the dividing step after at least the cutting step, the cutting step can be performed collectively on a plurality of units.
  • the manufacturing method disclosed herein can be carried out, for example, in a mode including the above-mentioned dividing step between (a) cutting step and partial removing step.
  • the aspect including the division step for example, between (b) the partial removal step and the adhesion raising step or after (c) the adhesion raising step It may be implemented in One or more of the embodiments (a) to (c) may be combined.
  • the said aspect (a) may be preferably implemented, for example using the adhesive sheet provided with the adhesive layer (2) mentioned later.
  • the said aspect (b) and said aspect (c) may be preferably implemented, for example using the adhesive sheet provided with the adhesive layer (1) or adhesive layer (2) mentioned later.
  • the laminated body manufacturing method disclosed herein includes a sticking mechanism 51 that sticks the pressure-sensitive adhesive sheet 20 to the adherend 10, and the first area 21 and the second area 22 of the pressure-sensitive adhesive sheet 20.
  • a laminate manufacturing apparatus 50 comprising: a cutting mechanism 52 for performing cutting processing at the boundary; and a peeling mechanism 53 for peeling and removing the second region 22 from the adherend 10 while leaving the first region 21 on the adherend 10 can be implemented using
  • the sticking mechanism 51 is configured to be able to carry out the sticking step in any of the manufacturing methods disclosed herein, and includes, for example, an adherend supply means, an adhesive sheet supply means, and a pressure bonding means to the adherend of the adhesive sheet. , Etc. may include one or more.
  • the cutting mechanism 52 is configured to perform the cutting step in any of the manufacturing methods disclosed herein, and may include one or more of the cutting means as exemplified above.
  • the peeling mechanism 53 is configured to be able to carry out the partial removal step in any of the methods disclosed herein, and, for example, one or more of pickup means, holding means, peeling means, etc. of the second region. May be included.
  • the laminated body manufacturing apparatus which may be used for implementation of the laminated body manufacturing method of the aspect containing an adhesive force raise process raises the adhesive force which is not shown in figure as a mechanism which gives the stimulus which raises the adhesive force with respect to 1st area
  • the adhesion raising mechanism is configured to perform an adhesion raising step in any of the methods disclosed herein by providing a stimulus that can increase the adhesion of the adhesive sheet to the adhesive sheet. ing.
  • the adhesion raising mechanism includes, for example, one or more of UV irradiation means (UV irradiation lamp, mirror for light path adjustment, etc.), heating means (warm air heater, infrared heater, electric heater etc.), pressing means, etc. obtain.
  • segmentation process may further include the division mechanism which is not shown in figure.
  • the dividing mechanism may be configured to carry out the dividing step using known dividing means such as cutting with a Thomson blade, pinnacle blade, rotary blade, knife or the like, or laser cutting, water jet cutting, blade cutting, etc. it can.
  • Adhesive sheet >> The following will describe some examples of pressure-sensitive adhesive sheets that can be preferably adopted to carry out the laminate manufacturing method disclosed herein, but are not intended to limit the scope of the present invention.
  • the laminate production method disclosed herein can be preferably practiced using a pressure-sensitive adhesive sheet having a configuration including a base material layer and a pressure-sensitive adhesive layer laminated on at least the adherend side of the base material layer.
  • a pressure-sensitive adhesive sheet having a configuration in which the pressure-sensitive adhesive layer is laminated on the base material layer the pressure-sensitive adhesive layer can be reinforced by the base material layer, so the second region is easily peeled off from the adherend in the partial removal step.
  • the film substrate may be a porous substrate such as a foam film or a non-woven sheet, or may be a non-porous substrate, and a base having a structure in which a porous layer and a non-porous layer are laminated. It may be a material.
  • resin film means a non-porous structure and a resin film which is substantially free of bubbles (voidless). Therefore, the said resin film is the concept distinguished from a foam film and a nonwoven fabric.
  • the resin film may have a single layer structure or a multilayer structure of two or more layers (for example, a three-layer structure).
  • the resin material constituting the resin film examples include polyester, polyolefin, nylon 6, nylon 66, polyamide (PA) such as partially aromatic polyamide, polyimide (PI), polyamide imide (PAI), polyetheretherketone (PEEK) ), Fluororesins such as polyether sulfone (PES), polyphenylene sulfide (PPS), polycarbonate (PC), polyurethane (PU), ethylene-vinyl acetate copolymer (EVA), polytetrafluoroethylene (PTFE), acrylic resin And resins such as polyacrylate, polystyrene, polyvinyl chloride and polyvinylidene chloride can be used.
  • PA polyamide
  • PA polyamide
  • PI polyimide
  • PAI polyamide imide
  • PEEK polyetheretherketone
  • Fluororesins such as polyether sulfone (PES), polyphenylene sulfide (PPS), polycarbonate (PC), polyurethane (PU),
  • the resin film may be formed of a resin material containing one kind of such a resin alone, or may be formed of a resin material in which two or more kinds are blended. Good.
  • the resin film may be unstretched or may be stretched (for example, uniaxially stretched or biaxially stretched).
  • PET polyethylene terephthalate
  • PEN polyethylene naphthalate
  • CPP non-oriented polypropylene
  • OPP biaxially oriented polypropylene
  • LDPE low density polyethylene
  • LLDPE linear low density polyethylene
  • resin films such as PP / PE blend films can be preferably used.
  • PET film, PEN film, PPS film and PEEK film are mentioned as an example of a preferable resin film from the viewpoint of strength and dimensional stability. PET films and PPS films are particularly preferable from the viewpoint of availability and the like, and PET films are particularly preferable.
  • resin films known as light stabilizers, antioxidants, antistatic agents, colorants (dyes, pigments, etc.), fillers, slip agents, antiblocking agents, etc. to the extent that the effects of the present invention are not significantly impaired.
  • the additives of the above can be blended as needed.
  • the method for producing the resin film is not particularly limited.
  • conventionally known general resin film molding methods such as extrusion molding, inflation molding, T-die cast molding, calendar roll molding and the like can be appropriately adopted.
  • the base layer may be substantially composed of such a base film.
  • the base layer may include an auxiliary layer in addition to the base film.
  • the auxiliary layer include an optical property adjusting layer (for example, a colored layer, an antireflection layer), a print layer or a laminate layer for giving a desired appearance to the base material layer, an antistatic layer, an undercoat layer, peeling. Surface treatment layers, such as a layer, are mentioned.
  • an undercoat layer by corona discharge treatment, plasma treatment, ultraviolet irradiation treatment, acid treatment, alkali treatment, application of an undercoating agent (primer), as necessary.
  • a conventionally known surface treatment such as the formation of the above may be applied. Such surface treatment may be treatment to improve the anchorability of the pressure-sensitive adhesive layer to the base material layer.
  • the composition of the primer used to form the undercoat layer is not particularly limited, and can be appropriately selected from known ones.
  • the thickness of the undercoat layer is not particularly limited, but is usually about 0.01 ⁇ m to 1 ⁇ m, preferably about 0.1 ⁇ m to 1 ⁇ m. Examples of other treatments that may be applied to the base material layer as required include antistatic layer formation treatment, colored layer formation treatment, and printing treatment. These treatments can be applied alone or in combination.
  • the composition of the pressure-sensitive adhesive constituting the pressure-sensitive adhesive layer is not particularly limited.
  • the pressure-sensitive adhesive is an acrylic polymer, rubber-based polymer, polyester-based polymer, urethane-based polymer, polyether-based polymer, silicone-based polymer, polyamide-based polymer, fluorine-based polymer, etc.
  • One or two or more of various polymers exhibiting elasticity may be contained as a base polymer (the main component in the polymer component, that is, the component that occupies more than 50% by weight).
  • acrylic pressure-sensitive adhesives and rubber pressure-sensitive adhesives are exemplified as preferable pressure-sensitive adhesives.
  • the acrylic pressure-sensitive adhesive refers to a pressure-sensitive adhesive containing an acrylic polymer as a base polymer.
  • the above-mentioned acrylic polymer refers to a polymer in which 50% by weight or more of the total amount of monomer components constituting the acrylic polymer is an acrylic monomer.
  • an acrylic monomer refers to a monomer having at least one (meth) acryloyl group in one molecule.
  • the (meth) acryloyl group is a meaning that comprehensively indicates an acryloyl group and a methacryloyl group.
  • the pressure-sensitive adhesive layer that can be preferably used in the manufacturing method disclosed herein include (1) a pressure-sensitive adhesive layer containing a base polymer and a siloxane structure-containing polymer (hereinafter also referred to as "pressure-sensitive adhesive layer (1)” And (2) a pressure-sensitive adhesive layer (hereinafter, also referred to as "pressure-sensitive adhesive layer (2)”) formed of a photocurable composition containing a base polymer and a photo-curing agent.
  • a pressure-sensitive adhesive layer (1) and an adhesive layer (2) are demonstrated in detail, the adhesive sheet used for the manufacturing method disclosed here is not limited to what has these adhesive layers.
  • the pressure-sensitive adhesive layer (1) contains a base polymer A and a siloxane structure-containing polymer B, and after being bonded to an adherend, adhesion is kept low for a while in a room temperature region (for example, 20 ° C. to 30 ° C.) Aging (which may be heating, aging, a combination thereof, and the like) may exhibit a property that adhesion is greatly increased. Therefore, it can be preferably used for the laminate manufacturing method disclosed herein.
  • the pressure-sensitive adhesive layer (1) can be formed from a pressure-sensitive adhesive composition containing a base polymer A or a precursor thereof and a siloxane structure-containing polymer B.
  • the form of the pressure-sensitive adhesive composition is not particularly limited, and may be various forms such as, for example, water dispersion type, solvent type, hot melt type, actinic ray curable type (for example, UV curable type).
  • Base polymer A An acrylic polymer can be preferably used as the base polymer A (hereinafter sometimes abbreviated as "polymer A") of the pressure-sensitive adhesive layer (1).
  • polymer A an acrylic polymer
  • good compatibility with the polymer B tends to be easily obtained.
  • the good compatibility between the polymer A and the polymer B is due to the improvement of the mobility of the polymer B in the pressure-sensitive adhesive layer, the low tackiness in the partial removal step and the strong tackiness after the tackiness increase treatment (for example, heat treatment) It is preferable because it can contribute to the realization of the pressure-sensitive adhesive layer (1) having a combination of Preferably, 50% by weight or more of the pressure-sensitive adhesive layer (1) is an acrylic polymer.
  • the acrylic polymer for example, one in which 40% by weight or more of the total amount of monomer components constituting the acrylic polymer is (meth) acrylic acid alkyl ester can be preferably used.
  • the (meth) acrylic acid alkyl ester one having a linear or branched alkyl group having 1 to 20 carbon atoms (that is, C 1-20 ) at the ester end can be preferably used.
  • the proportion of (meth) acrylic acid C 1-20 alkyl ester in the total constituent monomer components of the acrylic polymer may be, for example, 50% by weight or more, or 55% by weight or more because of easy balance of properties. And 60% by weight or more.
  • the proportion of (meth) acrylic acid C 1-20 alkyl ester in the total amount of constituent monomer components may be, for example, 99.9% by weight or less, 98% by weight or less, or 95% by weight or less Good.
  • the proportion of (meth) acrylic acid C 1-20 alkyl ester in the total amount of monomer components may be, for example, 90% by weight or less, 85% by weight or less, or 80% by weight or less.
  • Non-limiting specific examples of (meth) acrylic acid C 1-20 alkyl ester include methyl (meth) acrylate, ethyl (meth) acrylate, propyl (meth) acrylate, isopropyl (meth) acrylate, ( M) n-butyl acrylate, isobutyl (meth) acrylate, s-butyl (meth) acrylate, t-butyl (meth) acrylate, pentyl (meth) acrylate, isopentyl (meth) acrylate, (meth) Neopentyl acrylate, hexyl (meth) acrylate, heptyl (meth) acrylate, octyl (meth) acrylate, 2-ethylhexyl (meth) acrylate, isooctyl (meth) acrylate, nonyl (meth) acrylate, (meth) ) Isononyl
  • the constituent monomer component of the acrylic polymer is selected from (meth) acrylic acid C 4-12 alkyl ester (preferably acrylic acid C 4-10 alkyl ester, such as acrylic acid C 6-10 alkyl ester)
  • (meth) acrylic acid C 4-12 alkyl ester preferably acrylic acid C 4-10 alkyl ester, such as acrylic acid C 6-10 alkyl ester
  • acrylic polymers comprising one or both of n-butyl acrylate (BA) and 2-ethylhexyl acrylate (2EHA) are preferred, and acrylic polymers comprising at least 2EHA are particularly preferred.
  • Examples of other (meth) acrylic acid C 1-18 alkyl esters that can be preferably used include methyl acrylate, methyl methacrylate (MMA), n-butyl methacrylate (BMA), 2-ethylhexyl methacrylate (2EHMA) And isostearyl acrylate (ISTA).
  • MMA methyl methacrylate
  • BMA n-butyl methacrylate
  • EHMA 2-ethylhexyl methacrylate
  • ISA isostearyl acrylate
  • the constituent monomer component of the acrylic polymer contains, along with the (meth) acrylic acid alkyl ester as the main component, if necessary, another monomer (copolymerizable monomer) copolymerizable with the (meth) acrylic acid alkyl ester It may be.
  • a monomer having a polar group eg, a carboxy group, a hydroxy group, etc.
  • a monomer having a polar group can serve to introduce a crosslinking point into the acrylic polymer or to enhance the cohesion of the acrylic polymer.
  • the copolymerizable monomers can be used alone or in combination of two or more.
  • Carboxy group-containing monomers for example, acrylic acid, methacrylic acid, carboxyethyl acrylate, carboxypentyl acrylate, itaconic acid, maleic acid, fumaric acid, crotonic acid, isocrotonic acid and the like.
  • Hydroxy group-containing monomers for example, 2-hydroxyethyl (meth) acrylate, 2-hydroxypropyl (meth) acrylate, 3-hydroxypropyl (meth) acrylate, 4-hydroxybutyl (meth) acrylate, (meth) Acrylic acid 6-hydroxyhexyl, (meth) acrylic acid 8-hydroxyoctyl, (meth) acrylic acid 10-hydroxydecyl, (meth) acrylic acid 12-hydroxy lauryl, (4-hydroxymethylcyclohexyl) methyl (meth) Hydroxyalkyl (meth) acrylates such as acrylates; monomers having a hydroxy group and an amide group such as N- (2-hydroxyethyl) acrylamide (HEAA).
  • HEAA N- (2-hydroxyethyl) acrylamide
  • Nitrogen-containing monomers for example, N-vinylpyrrolidone, methylvinylpyrrolidone, vinylpyridine, vinylpiperidone, vinylpyrimidine, vinylpiperazine, vinylpyrazine, vinylpyrrole, vinylimidazole, vinyloxazole, vinylmorpholine, N-vinyl-3-morpholinone, N -Vinyl-2-caprolactam, N-vinyl-1,3-oxazin-2-one, N-vinyl-3,5-morpholindione, N-acryloyl morpholine, N-vinyl carboxylic acid amides and the like.
  • cyano group-containing monomers vinyl ester monomers, aromatic vinyl monomers, epoxy group-containing monomers, vinyl ether monomers, sulfo group-containing monomers, phosphoric acid group-containing monomers, acid anhydride group-containing monomers, etc.
  • the amount thereof to be used is not particularly limited, but usually, it is suitable to be 0.01% by weight or more of the total amount of monomer components.
  • the amount of the copolymerizable monomer used may be 0.1% by weight or more, or 1% by weight or more of the total amount of the monomer components, from the viewpoint of exhibiting the effects of the use of the copolymerizable monomer better.
  • the amount of the copolymerizable monomer used can be 50% by weight or less of the total amount of the monomer components, and is preferably 40% by weight or less. Thereby, the cohesive force of the pressure-sensitive adhesive can be prevented from becoming too high, and the tackiness at normal temperature (25 ° C.) can be improved.
  • the acrylic polymer preferably contains, as its constituent monomer component, at least one monomer selected from the group consisting of N-vinyl cyclic amides and hydroxyl group-containing monomers.
  • N-vinyl cyclic amide By using N-vinyl cyclic amide, the cohesion and polarity of the pressure-sensitive adhesive are adjusted, and the adhesion after heating as a stimulus to increase the adhesion is improved (hereinafter also referred to as "adhesion after heating"). It can be done.
  • Specific examples of the N-vinyl cyclic amide include those having the corresponding structure among the above-mentioned nitrogen-containing monomers. Particularly preferred are N-vinyl-2-pyrrolidone and N-vinyl-2-caprolactam.
  • the amount of N-vinyl cyclic amide used is not particularly limited, but usually 0.01% by weight or more (preferably 0.1% by weight or more, for example 0.5% by weight or more) of the total amount of constituent monomer components of the acrylic polymer It is appropriate to In some embodiments, the amount of N-vinyl cyclic amide used may be 1% by weight or more, 5% by weight or more, or 10% by weight or more of the total amount of the above monomer components. In addition, from the viewpoint of improving tackiness at normal temperature (25 ° C.) and flexibility at low temperature, the amount of N-vinyl cyclic amide used is usually 40% by weight or less of the total amount of the above monomer components. , 30 wt% or less, or 20 wt% or less.
  • the cohesion and polarity of the pressure-sensitive adhesive can be adjusted to improve the adhesion after heating.
  • the hydroxyl group-containing monomer can provide a reaction point with a crosslinking agent (for example, an isocyanate-based crosslinking agent) described later, and can enhance the cohesion of the adhesive by the crosslinking reaction.
  • a crosslinking agent for example, an isocyanate-based crosslinking agent
  • Preferred examples of the hydroxyl group-containing monomer include 2-hydroxyethyl acrylate (HEA), 4-hydroxybutyl acrylate (4HBA), and N- (2-hydroxyethyl) acrylamide (HEAA).
  • the amount of the hydroxyl group-containing monomer to be used is not particularly limited, but usually 0.01% by weight or more (preferably 0.1% by weight or more, for example 0.5% by weight or more) of the total constituent monomer components of the acrylic polymer Is appropriate.
  • the amount of the hydroxyl group-containing monomer used may be 1% by weight or more, 5% by weight or more, or 10% by weight or more of the total amount of the monomer components.
  • the amount of the hydroxyl group-containing monomer used is usually 40% by weight or less of the total amount of the above monomer components.
  • the content may be less than or equal to 20% by weight, or less than or equal to 10% by weight, or less than or equal to 5% by weight.
  • an N-vinyl cyclic amide and a hydroxyl group-containing monomer can be used in combination as a copolymerizable monomer.
  • the total amount of the N-vinyl cyclic amide and the hydroxyl group-containing monomer may be, for example, 0.1% by weight or more, 1% by weight or more, or 5% by weight of the total constituent monomer components of the acrylic polymer.
  • the content may be 10% by weight, 15% by weight, 20% by weight or 25% by weight.
  • the total amount of the N-vinyl cyclic amide and the hydroxyl group-containing monomer can be, for example, 50% by weight or less of the total amount of the above-mentioned monomer components, and preferably 40% by weight or less.
  • the Tg of polymer A is typically less than 0 ° C., preferably less than ⁇ 10 ° C., more preferably less than ⁇ 20 ° C.
  • a pressure-sensitive adhesive containing a polymer A having a Tg of less than 0 ° C. exhibits adequate fluidity (for example, the mobility of polymer chains contained in the pressure-sensitive adhesive), and therefore, the adhesive strength can be obtained by heat treatment at any timing. It is easy to raise
  • the Tg of polymer A may be, for example, less than ⁇ 30 ° C., less than ⁇ 40 ° C., less than ⁇ 50 ° C., or less than ⁇ 60 ° C.
  • the lower limit of the Tg of the polymer A is not particularly limited. From the viewpoint of the availability of the material and the improvement of the cohesion of the pressure-sensitive adhesive layer, a polymer A having a Tg of ⁇ 80 ° C. or higher can usually be suitably employed.
  • the Tg of a polymer refers to a nominal value described in the literature, a catalog or the like, or a Tg determined by the Fox equation based on the composition of monomer components used for preparation of the polymer.
  • the Fox equation is, as shown below, a relationship between the Tg of the copolymer and the glass transition temperature Tgi of a homopolymer obtained by homopolymerizing each of the monomers constituting the copolymer.
  • Tg is the glass transition temperature of the copolymer (unit: K)
  • Wi is the weight fraction of monomer i in the copolymer (copolymerization ratio by weight)
  • Tgi is a homopolymer of monomer i Represents the glass transition temperature (unit: K) of When the target polymer of the Tg specification is a homopolymer, the Tg of the homopolymer matches the Tg of the target polymer.
  • the value as described in a well-known data shall be used. Specifically, numerical values are given in “Polymer Handbook” (Third Edition, John Wiley & Sons, Inc., 1989). The highest value is adopted about the monomer in which a plurality of types of values are described in the above-mentioned Polymer Handbook.
  • the weight-average molecular weight (Mw) of the polymer A is usually suitably about 50,000 or more, and from the viewpoint of obtaining a pressure-sensitive adhesive exhibiting better cohesion, for example, 100,000 It may be more than, 200,000 or more, or 300,000 or more. Also, it is appropriate that the Mw of the polymer A is usually about 5,000,000 or less.
  • the polymer A of such Mw is suitable for realizing a pressure-sensitive adhesive sheet having a high adhesion increase ratio, since it is easy to form a pressure-sensitive adhesive that exhibits appropriate fluidity (motility of polymer chains).
  • the Mw of the polymer can be determined by gel permeation chromatography (GPC) in terms of polystyrene. More specifically, Mw can be measured according to the method and conditions described in the examples described later.
  • GPC gel permeation chromatography
  • the method for obtaining an acrylic polymer is not particularly limited, and various polymerization methods known as synthetic methods for acrylic polymers, such as solution polymerization, emulsion polymerization, bulk polymerization, suspension polymerization, photopolymerization, etc. Can be adopted as appropriate.
  • the initiator used for the polymerization can be appropriately selected from conventionally known thermal initiators, photoinitiators and the like according to the polymerization method.
  • thermal initiators include azo initiators such as 2,2'-azobisisobutyronitrile (AIBN), persulfates such as potassium persulfate, peroxide initiators, redox agents Examples include initiators and the like.
  • Non-limiting examples of photoinitiators include benzoin ether photoinitiators, acetophenone photoinitiators, ⁇ -ketol photoinitiators, aromatic sulfonyl chloride photoinitiators, photoactive oxime photoinitiators, Benzoin photoinitiators, benzyl photoinitiators, benzophenone photoinitiators, ketal photoinitiators, thioxanthone photoinitiators, acyl phosphine oxide photoinitiators, etc. may be mentioned.
  • the initiators can be used alone or in combination of two or more.
  • solution polymerization may be preferably employed as a method of obtaining an acrylic polymer.
  • Ethyl acetate, toluene or the like is used as a solvent for solution polymerization.
  • the solution concentration is usually about 20 to 80% by weight.
  • As the initiator various known ones such as azo type and peroxide type can be used. Chain transfer agents may be used to control molecular weight.
  • the reaction temperature may be usually about 50 to 80 ° C., and the reaction time may be usually about 1 to 8 hours.
  • the acrylic polymer is a partially polymerized product in which a portion of the monomer component is polymerized by irradiating ultraviolet light (UV) to a mixture in which the initiator is blended with the monomer component as described above (acrylic polymer In the form of syrup, it can be included in the pressure-sensitive adhesive composition for forming a pressure-sensitive adhesive layer.
  • a pressure-sensitive adhesive composition containing such an acrylic polymer syrup can be applied to a predetermined object, and UV irradiation can be performed to complete the polymerization. That is, the said acrylic polymer syrup can be grasped
  • the pressure-sensitive adhesive layer (1) can be formed, for example, using a pressure-sensitive adhesive composition containing such an acrylic polymer syrup and the polymer B.
  • siloxane structure-containing polymer B The siloxane structure-containing polymer B (hereinafter sometimes abbreviated as “polymer B”) is a copolymer of a monomer having a polyorganosiloxane skeleton (hereinafter also referred to as “monomer S1”) and a (meth) acrylic monomer. It is a polymer.
  • the polymer B can function as a tackiness increase retarder that contributes to the suppression of the initial tackiness and the improvement of the tackiness increase ratio due to the low polarity and motility of the polyorganosiloxane structure derived from the monomer S1.
  • the monomer S1 is not particularly limited, and any monomer containing a polyorganosiloxane skeleton can be used. Monomer S1 promotes uneven distribution of polymer B on the surface of the pressure-sensitive adhesive layer in the pressure-sensitive adhesive sheet before use (before bonding to the adherend) due to the low polarity derived from its structure, and light peeling at the initial stage of bonding Develop sex (low tackiness).
  • the monomer S1 one having a structure having a polymerizable reactive group at one end can be preferably used.
  • a polymer B having a polyorganosiloxane skeleton in the side chain is formed.
  • the polymer B having such a structure tends to have low initial tack and high tack increase ratio due to the mobility and mobility of the side chain.
  • the monomer S1 for example, a compound represented by the following general formula (1) or (2) can be used. More specifically, examples of the single-end reactive silicone oil manufactured by Shin-Etsu Chemical Co., Ltd. include X-22-174 ASX, X-22-2426, X-22-2475, KF-2012 and the like.
  • the monomers S1 can be used alone or in combination of two or more.
  • R 3 in the above general formulas (1) and (2) is hydrogen or methyl
  • R 4 is a methyl group or a monovalent organic group
  • m and n are integers of 0 or more.
  • the functional group equivalent of the monomer S1 is, for example, preferably 700 g / mol or more and less than 15000 g / mol, more preferably 800 g / mol or more and less than 10000 g / mol, and preferably 850 g / mol or more and less than 6000 g / mol. Is more preferable, and particularly preferably 1500 g / mol or more and less than 5000 g / mol.
  • the functional group equivalent of monomer S1 is less than 700 g / mol, the initial tack may not be sufficiently suppressed.
  • the functional group equivalent of the monomer S1 is 15000 g / mol or more, the increase in adhesion may be insufficient.
  • the compatibility for example, compatibility with polymer A
  • mobility in the pressure-sensitive adhesive layer can be easily adjusted to an appropriate range, and the initial low tackiness and lamination It becomes easy to implement
  • “functional group equivalent” means the weight of the main skeleton (for example, polydimethylsiloxane) bonded to one functional group.
  • the title unit g / mol is converted to 1 mol of functional group.
  • the functional group equivalent of monomer S1 can be calculated, for example, from the spectral intensity of 1 H-NMR (proton NMR) based on nuclear magnetic resonance (NMR).
  • the calculation of the functional group equivalent (g / mol) of the monomer S1 based on the 1 H-NMR spectral intensity is based on the general structural analysis method according to 1 H-NMR spectral analysis, if necessary, It can carry out with reference to the description of the 5951153 gazette.
  • the functional group equivalent of monomer S1 consisting of n types of monomers (monomer S1 1 , monomer S1 2 ... Monomer S1 n ) having different functional group equivalents can be calculated by the following formula.
  • Functional group equivalent of the monomer S1 (g / mol) (monomer S1 1 functional group equivalent ⁇ monomer S1 1 of the amount + monomer S1 2 functional group equivalent ⁇ monomer S1 2 of the amount + ... + monomer S1 n of the amount of the functional group equivalent ⁇ monomer S1 n) / (monomer S1 1 of the amount + monomer S1 2 of the amount + ... + amount of monomer S1 n)
  • the content of the monomer S1 may be, for example, 5% by weight or more with respect to all the monomer components for preparing the polymer B, and 10% by weight or more from the viewpoint of exhibiting the effect as an adhesive force increase retarder better It is preferable to set it as 15 weight% or more, and it is good also as 20 weight% or more.
  • the content of the monomer S1 is suitably 60% by weight or less with respect to all the monomer components for preparing the polymer B from the viewpoint of polymerization reactivity and compatibility, and 50% by weight or less It may be 40% by weight or less, or 30% by weight or less. If the content of the monomer S1 is less than 5% by weight, the initial tack may not be sufficiently suppressed. When the content of the monomer S1 is more than 60% by weight, the increase in adhesion may be insufficient.
  • the monomer component used for the preparation of the polymer B contains, in addition to the monomer S1, (meth) acrylic monomers copolymerizable with the monomer S1.
  • the mobility of the polymer B in the pressure-sensitive adhesive layer can be suitably controlled by copolymerizing one or more kinds of (meth) acrylic monomers with the monomer S1.
  • Copolymerizing the monomer S1 and the (meth) acrylic monomer may also help to improve the compatibility of the polymer B with the polymer A (for example, an acrylic polymer).
  • the (meth) acrylic-acid alkylester is mentioned, for example.
  • one or more of the monomers exemplified above as (meth) acrylic acid alkyl esters that can be used when the polymer A is an acrylic polymer can be used as a copolymerization component of the polymer B.
  • polymer B is a (meth) acrylic acid C 4-12 alkyl ester (preferably a (meth) acrylic acid C 4-10 alkyl ester, such as a (meth) acrylic acid C 6-10 alkyl ester) At least one may be contained as a monomer unit.
  • polymer B contains at least one of methacrylic acid C 1-18 alkyl ester (preferably, methacrylic acid C 1-14 alkyl ester, for example, methacrylic acid C 1-10 alkyl ester) as a monomer unit It can.
  • the monomer units constituting the polymer B may include, for example, one or more selected from MMA, BMA and 2EHMA.
  • the (meth) acrylic monomer is a (meth) acrylic acid ester having an alicyclic hydrocarbon group.
  • cyclopentyl (meth) acrylate, cyclohexyl (meth) acrylate, isobornyl (meth) acrylate, dicyclopentanyl (meth) acrylate, 1-adamantyl (meth) acrylate and the like can be used.
  • the polymer B may contain at least one selected from dicyclopentanyl methacrylate, isobornyl methacrylate and cyclohexyl methacrylate as monomer units.
  • the amount of the (meth) acrylic acid alkyl ester and the alicyclic hydrocarbon group-containing (meth) acrylic acid ester used is, for example, 10% by weight or more and 95% by weight with respect to all the monomer components for preparing the polymer B % May be 20% to 95% by weight, may be 30% to 90% by weight, 40% to 90% by weight, or 50% to 85% by weight.
  • the mobility of the polymer B in the pressure-sensitive adhesive layer can be improved, and the adhesion increase ratio can be improved.
  • the common monomer unit is a component that occupies 5% by weight or more of the total monomer units constituting the polymer B, 10% by weight or more (more preferably 20% by weight or more, for example 30% by weight or more) It is preferable that it is an ingredient which occupies.
  • the ratio of the common monomer unit to the total monomer units constituting the polymer A may be, for example, 1% by weight or more, preferably 3% by weight or more, more preferably 5% by weight or more, and 7% by weight or more It may be When the ratio of the common monomer units to the total monomer units constituting the polymer A is high, the effect of improving the compatibility tends to be exhibited better. Also, in consideration of the balance with other properties, the ratio of the common monomer unit to the total monomer units constituting the polymer A may be 50% by weight or less, 30% by weight or less, or 15% by weight or less Good.
  • Non-limiting examples of monomers that can be preferably employed as common monomer units MMA, BMA, 2EHMA, methyl acrylate (MA), BA, 2 EHA, cyclohexyl (meth) acrylate, isobornyl (meth) acrylate, dicyclopentanyl Examples include (meth) acrylates and the like.
  • the Mw of the polymer B is not particularly limited.
  • the Mw of the polymer B may be, for example, 1,000 or more, or 5,000 or more. From the viewpoint of enhancing the adhesion increase by heating, in some embodiments, the Mw of the polymer B may be, for example, 10000 or more, 12000 or more, 15000 or more, 17000 or more, 20000 or more . Also, from the viewpoint of facilitating peeling of the second region from the adherend in the partial removal step, the Mw of the polymer B may be, for example, 100,000 or less, may be 70000 or less, 50,000 or less, or less than 50,000. , Less than 40000, less than 35000, less than 30000, less than 28000 or less than 25000.
  • the compatibility and mobility in the pressure-sensitive adhesive layer can be easily adjusted to an appropriate range, and the low tackiness in the partial removal step It becomes easy to be compatible in the high level with the strong adhesiveness at the time of laminated body use.
  • the polymer B can be produced, for example, by polymerizing the above-described monomer by a known method such as solution polymerization, emulsion polymerization, bulk polymerization, suspension polymerization, photopolymerization and the like.
  • a chain transfer agent can be used to adjust the molecular weight of polymer B.
  • chain transfer agents to be used include compounds having a mercapto group such as octyl mercaptan, lauryl mercaptan, t-nonyl mercaptan, t-dodecyl mercaptan, mercaptoethanol, ⁇ -thioglycerol, etc .; thioglycolic acid; methyl thioglycollate Ethyl thioglycollate, propyl thioglycollate, butyl thioglycollate, t-butyl thioglycolate, 2-ethylhexyl thioglycolate, octyl thioglycolate, isooctyl thioglycolate, decyl thioglycollate, dodecyl thioglycolate, Thioglycolic acid esters
  • the amount of the chain transfer agent to be used is not particularly limited, but generally 0.05 to 20 parts by weight, preferably 0.1 to 15 parts by weight, and more preferably 0 to 100 parts by weight of the monomer. .2 parts by weight to 10 parts by weight is appropriate. By adjusting the amount of chain transfer agent used in this manner, polymer B having a suitable molecular weight can be obtained.
  • the chain transfer agent can be used alone or in combination of two or more.
  • the use amount of the polymer B can be, for example, 0.1 parts by weight or more with respect to 100 parts by weight of the polymer A, and from the viewpoint of obtaining higher effects, 0.3 It may be at least one part by weight, may be at least 0.4 parts by weight, may be at least 0.5 parts by weight, and may be at least 1 part by weight or at least 2 parts by weight.
  • the amount of polymer B used may be, for example, 75 parts by weight or less, 50 parts by weight or less, or 20 parts by weight or less, from the viewpoint of avoiding an excessive decrease in cohesive force. It may be at most 8 parts by weight, or at most 5 parts by weight.
  • the pressure-sensitive adhesive layer may optionally contain a polymer (optional polymer) other than the polymer A and the polymer B, as long as the effects obtained by the technology disclosed herein are not significantly impaired.
  • An appropriate amount of such an optional polymer is usually 20% by weight or less of the entire polymer component contained in the pressure-sensitive adhesive layer. In some embodiments, the amount of the optional polymer used may be 5% by weight or less, or 1% by weight or less of the entire polymer component.
  • the pressure-sensitive adhesive layer may contain substantially no polymer other than the polymer A and the polymer B.
  • a crosslinking agent may be used as needed for the purpose of adjusting the cohesion force and the like.
  • the crosslinking agent crosslinking agents known in the field of pressure-sensitive adhesives can be used.
  • the crosslinking agent etc. can be mentioned.
  • isocyanate crosslinking agents, epoxy crosslinking agents, and metal chelate crosslinking agents are preferable.
  • the crosslinking agents can be used singly or in combination of two or more.
  • the art disclosed herein can be preferably practiced in the aspect of using at least an isocyanate-based crosslinking agent as the crosslinking agent.
  • isocyanate crosslinking agents include lower aliphatic polyisocyanates such as butylene diisocyanate and hexamethylene diisocyanate; alicyclic isocyanates such as cyclopentylene diisocyanate, cyclohexylene diisocyanate and isophorone diisocyanate; 2,4-tolylene diisocyanate Isocyanate, aromatic isocyanates such as 4,4'-diphenylmethane diisocyanate, xylylene diisocyanate; trimethylolpropane / tolylene diisocyanate trimer adduct (eg, "Coronate L” manufactured by Tosoh Corporation), trimethylolpropane / hexamethylene Diisocyanate trimer adduct (for example, “Coronate HL” manufactured by Tosoh Corp.), trimethylolpropane adduct of xylylene diisocyanate (for example, Mitsu
  • epoxy crosslinking agents include bisphenol A, epoxy resins of epichlorohydrin type, ethylene glycidyl ether, polyethylene glycol diglycidyl ether, glycerin diglycidyl ether, glycerin triglycidyl ether, 1,6-hexanediol glycidyl ether, trimethylolpropane tritriol.
  • Examples include glycidyl ether, diglycidyl aniline, diamine glycidyl amine, N, N, N ', N'-tetraglycidyl-m-xylylenediamine, 1,3-bis (N, N-diglycidylaminomethyl) cyclohexane and the like. Can.
  • the amount used in the case of using the crosslinking agent is not particularly limited, and can be, for example, an amount exceeding 0 parts by weight with respect to 100 parts by weight of the polymer A.
  • the use amount of the crosslinking agent relative to 100 parts by weight of the polymer A may be, for example, 0.01 parts by weight or more, may be 0.05 parts by weight or more, 0.1 parts by weight or more, 0.5 parts by weight It may be 1 part by weight or more, 1.5 parts by weight or more, or 2 parts by weight or more.
  • the amount of the crosslinking agent used per 100 parts by weight of the polymer A is usually 15 parts by weight or less, and may be 10 parts by weight or less. It may be 5 parts by weight or less. If the amount of the crosslinking agent used is not too large, it may be advantageous from the viewpoint of making the use effect of the polymer B better by utilizing the fluidity of the pressure-sensitive adhesive.
  • a crosslinking catalyst may be used to promote the crosslinking reaction more effectively.
  • the crosslinking catalyst include metal-based crosslinking catalysts such as tetra-n-butyl titanate, tetraisopropyl titanate, ferric nasem, butyl tin oxide and dioctyl tin dilaurate. Among them, tin-based crosslinking catalysts such as dioctyltin dilaurate are preferable.
  • the use amount of the crosslinking catalyst is not particularly limited, and can be, for example, about 0.0001 parts by weight to 1 part by weight (typically 0.05 parts by weight or less) with respect to 100 parts by weight of the polymer A.
  • a polyfunctional monomer can be used for the adhesive layer as needed.
  • Multifunctional monomers can serve for purposes such as adjustment of cohesion by being used in place of or in combination with the above-mentioned crosslinking agents.
  • a polyfunctional monomer in the pressure-sensitive adhesive layer formed from a photocurable pressure-sensitive adhesive composition, a polyfunctional monomer can be preferably used.
  • multifunctional monomers include ethylene glycol di (meth) acrylate, propylene glycol di (meth) acrylate, polyethylene glycol di (meth) acrylate, polypropylene glycol di (meth) acrylate, neopentyl glycol di (meth) acrylate, Pentaerythritol di (meth) acrylate, pentaerythritol tri (meth) acrylate, dipentaerythritol hexa (meth) acrylate, ethylene glycol di (meth) acrylate, 1,6-hexanediol di (meth) acrylate, 1,12-dodecane Diol di (meth) acrylate, trimethylol propane tri (meth) acrylate, tetramethylol methane tri (meth) acrylate, allyl (meth) acrylate, bi Le (meth) acrylate, divinylbenzene, epoxy acrylate
  • trimethylolpropane tri (meth) acrylate, 1,6-hexanediol di (meth) acrylate, and dipentaerythritol hexa (meth) acrylate can be suitably used.
  • the polyfunctional monomers can be used alone or in combination of two or more.
  • the amount of the polyfunctional monomer used varies depending on the molecular weight, the number of functional groups, etc., but usually, it is suitable to be in the range of about 0.01 part by weight to 3.0 parts by weight with respect to 100 parts by weight of the polymer A .
  • the amount of multifunctional monomer used may be, for example, 0.02 parts by weight or more, or 0.03 parts by weight or more, with respect to 100 parts by weight of the polymer A.
  • the amount of the polyfunctional monomer used may be 2.0 parts by weight or less, and even 1.0 part by weight or less with respect to 100 parts by weight of the polymer A, from the viewpoint of avoiding a decrease in tack due to excessive cohesion. It may well be 0.5 parts by weight or less. Not using too much amount of the polyfunctional monomer may be advantageous also from the viewpoint of making the use effect of the polymer B better by utilizing the fluidity of the adhesive.
  • the pressure-sensitive adhesive layer can optionally contain a tackifying resin.
  • the tackifier resin is not particularly limited, and, for example, rosin-based tackifier resin, terpene-based tackifier resin, phenol-based tackifier resin, hydrocarbon-based tackifier resin, ketone-based tackifier resin, polyamide-based tackifier resin, Epoxy tackifying resins, elastomeric tackifying resins and the like can be mentioned.
  • the tackifying resin can be used singly or in combination of two or more.
  • the content of the tackifier resin is not particularly limited, and can be set so as to exhibit appropriate adhesion performance depending on the purpose and application.
  • the content of the tackifying resin (the total amount of two or more tackifying resins, if any, of the two or more tackifying resins) can be, for example, about 5 to 500 parts by weight with respect to 100 parts by weight of the polymer A.
  • the tackifying resin those having a softening point (softening temperature) of about 80 ° C. or more (preferably, about 100 ° C. or more, for example, about 120 ° C. or more) can be preferably used.
  • a tackifying resin having a softening point above the lower limit value described above the initial low tackiness and the strong tackiness when using a laminate tend to be effectively improved.
  • the upper limit of the softening point is not particularly limited, and may be, for example, about 200 ° C. or less (typically, 180 ° C. or less).
  • the softening point of the tackifying resin can be measured based on the softening point test method (ring and ball method) defined in JIS K2207.
  • the pressure-sensitive adhesive layer (1) may be a cured layer of a pressure-sensitive adhesive composition. That is, the pressure-sensitive adhesive layer (1) can be formed by appropriately applying a water-dispersed, solvent-type, light-curable, or hot-melt type pressure-sensitive adhesive composition to a suitable surface and then curing treatment. . When two or more curing treatments (drying, crosslinking, polymerization, cooling, etc.) are carried out, these can be carried out simultaneously or in multiple stages. In a pressure-sensitive adhesive composition using a partially polymerized product of monomer components (acrylic polymer syrup), a final copolymerization reaction is typically performed as the above-mentioned curing treatment.
  • the partially polymerized product is subjected to a further copolymerization reaction to form a completely polymerized product.
  • a further copolymerization reaction for example, if it is a photocurable pressure-sensitive adhesive composition, light irradiation is carried out.
  • curing treatment such as crosslinking or drying may be performed.
  • light curing may be performed after drying.
  • a treatment such as drying (heat drying) or crosslinking is carried out as the curing treatment as necessary.
  • the application of the pressure-sensitive adhesive composition can be carried out using, for example, a conventional coater such as a gravure roll coater, a reverse roll coater, a kiss roll coater, a dip roll coater, a bar coater, a knife coater, or a spray coater.
  • a conventional coater such as a gravure roll coater, a reverse roll coater, a kiss roll coater, a dip roll coater, a bar coater, a knife coater, or a spray coater.
  • the application of the pressure-sensitive adhesive composition and the other pressure-sensitive adhesive composition used to form the pressure-sensitive adhesive layer (2) described later can be carried out in the same manner.
  • the pressure-sensitive adhesive layer (2) contains a base polymer P and a light curing agent, and shows a property of being cured by irradiation with an actinic ray (eg, UV) to improve adhesion.
  • an actinic ray eg, UV
  • the adhesive force before photo-curing is configured to be 2 N / 25 mm or less
  • the sticking step, the cutting step and the partial removing step are carried out before the photo curing
  • raising the force typically, raising it to 5 N / 25 mm or more
  • it can be suitably used to practice the laminate manufacturing method disclosed herein.
  • the adhesive composition which comprises an adhesive layer (2) contains a photoinitiator from a viewpoint of raising the efficiency of hardening by actinic radiation irradiation. From the viewpoint of suppressing the phenomenon that the adhesive remains on the adherend when the adhesive sheet in the second region is peeled and removed in the partial removal step by hardening the adhesive layer before light curing, that is, the adhesive residue phenomenon, a cross-linked structure is introduced to the base polymer P.
  • Base polymer P An acrylic polymer can be preferably used as the base polymer P (hereinafter sometimes abbreviated as “polymer P”) of the pressure-sensitive adhesive layer (2) from the viewpoint of optical transparency and the like.
  • polymer P 50% by weight or more of the pressure-sensitive adhesive layer (2) is an acrylic polymer.
  • acrylic polymer one in which 40% by weight or more of the total amount of constituent monomer components is the same (meth) acrylic acid alkyl ester as the above-mentioned polymer A can be preferably used.
  • the acrylic polymer preferably contains, as a copolymerization component, a monomer component having a crosslinkable functional group.
  • the monomer having a crosslinkable functional group include a hydroxy group-containing monomer and a carboxy group-containing monomer.
  • a hydroxy-group containing monomer and a carboxy-group containing monomer the thing similar to the monomer illustrated as a constituent monomer component of the polymer A contained in an adhesive layer (1) is mentioned. Among them, it is preferable to contain a hydroxy group-containing monomer.
  • the hydroxy group and the carboxy group of the polymer P become reaction points with the crosslinking agent described later.
  • the total content of the hydroxy group-containing monomer and the carboxy group-containing monomer is preferably 1 to 30% by weight, more preferably 3 to 25% by weight, and more preferably 5 to 20, based on the total amount of constituent monomer components. More preferably, it is in weight percent.
  • the content of the (meth) acrylic acid ester containing a hydroxy group is preferably in the above range.
  • the acrylic polymer preferably contains a nitrogen-containing monomer as a constituent monomer component.
  • a nitrogen-containing monomer the thing similar to the monomer illustrated as a constituent monomer component of the polymer A contained in an adhesive layer (1) is mentioned.
  • the content of the nitrogen-containing monomer relative to the total amount of constituent monomer components is preferably 1 to 30% by weight, more preferably 3 to 25% by weight, and still more preferably 5 to 20% by weight.
  • the acrylic polymer preferably contains N-vinylpyrrolidone in the above range as the nitrogen-containing monomer.
  • the acrylic polymer contains both a hydroxy group-containing monomer and a nitrogen-containing monomer as monomer components, the cohesion and transparency of the pressure-sensitive adhesive tend to be enhanced.
  • the total content of the hydroxy group-containing monomer and the nitrogen-containing monomer is preferably 5 to 50% by weight, more preferably 10 to 40% by weight, and still more preferably 15 to 35% by weight based on the total amount of constituent monomer components. It is further preferred that
  • Acrylic polymers include monomer components other than those described above, such as cyano group-containing monomers, vinyl ester monomers, aromatic vinyl monomers, epoxy group-containing monomers, vinyl ether monomers, sulfo group-containing monomers, phosphoric acid group-containing monomers, acid anhydride groups You may contain the containing monomer etc.
  • the content of a monomer having a homopolymer Tg of 40 ° C. or more is preferably 5 to 50% by weight, more preferably 10 to 40% by weight based on the total amount of constituent monomer components of the acrylic polymer. Is more preferred.
  • the constituent monomer component of the polymer P preferably contains a monomer component having a homopolymer Tg of 80 ° C. or more, and a homopolymer monomer having a Tg of 100 ° C. or more It is more preferable to include.
  • the preferred range of the Tg of the acrylic polymer used as the polymer P may be the same as the preferred Tg of the polymer A described above.
  • the acrylic polymer can be obtained by various known polymerization methods as the polymer A contained in the pressure-sensitive adhesive layer (1).
  • solution polymerization may be preferably employed.
  • the adhesion of the pressure-sensitive adhesive layer before light curing tends to depend on the constituent components and the molecular weight of the polymer P.
  • the weight average molecular weight of the acrylic polymer is preferably 100,000 to 5,000,000, more preferably 300,000 to 3,000,000, and even more preferably 500,000, from the viewpoint of achieving both adequate adhesiveness and suppression of adhesive residue in the partial removal step. -2,000,000 is more preferable.
  • the molecular weight of the polymer P points out the molecular weight before crosslinked structure introduction.
  • a crosslinked structure is introduced to the polymer P.
  • a crosslinking agent is added to the solution after polymerizing the polymer P, and if necessary, heating is performed to introduce a crosslinked structure.
  • a crosslinking agent an isocyanate type crosslinking agent, an epoxy type crosslinking agent, an oxazoline type crosslinking agent, an aziridine type crosslinking agent, a carbodiimide type crosslinking agent, a metal chelate type crosslinking agent etc. are mentioned.
  • These crosslinking agents react with functional groups such as hydroxy groups introduced into the polymer P to form a crosslinked structure.
  • an isocyanate type crosslinking agent the thing similar to an adhesive layer (1) can be used.
  • the amount of the crosslinking agent used may be appropriately adjusted according to the composition, molecular weight and the like of the polymer P.
  • the amount of the crosslinking agent used may be, for example, about 0.1 to 10 parts by weight, preferably 0.3 to 7 parts by weight, more preferably 0.5 to 5 parts by weight, per 100 parts by weight of the polymer P. More preferably, it is 1 to 4 parts by weight.
  • a crosslinking catalyst may be used in the same manner as in the pressure-sensitive adhesive layer (1) in order to accelerate the formation of a crosslinked structure.
  • the pressure-sensitive adhesive composition constituting the pressure-sensitive adhesive layer (2) is configured to exhibit photocurability by containing a light curing agent in addition to the polymer P.
  • the pressure-sensitive adhesive layer (2) exhibits the property of being cured by light and improving the adhesion by irradiation with an actinic ray as a stimulus for increasing the adhesion after bonding to the adherend.
  • a photocuring agent a photocurable monomer or a photocurable oligomer is used.
  • a light curing agent a compound having two or more ethylenic unsaturated bonds in one molecule is preferable.
  • the photo-curing agent is preferably a compound showing compatibility with the polymer P.
  • the photo-curing agent is preferably one that is liquid at normal temperature, since it exhibits appropriate compatibility with the polymer P.
  • the compatibility of the polymer P with the light curing agent is mainly influenced by the structure of the compound.
  • the structure and compatibility of the compound can be evaluated, for example, by the Hansen solubility parameter, and the smaller the difference between the solubility parameters of the polymer P and the light curing agent, the higher the compatibility tends to be.
  • polyfunctional (meth) acrylate it is preferable to use a polyfunctional (meth) acrylate as the light curing agent because of high compatibility with the acrylic polymer.
  • polyfunctional (meth) acrylates polyethylene glycol di (meth) acrylate, polypropylene glycol di (meth) acrylate, polytetramethylene glycol di (meth) acrylate, bisphenol A ethylene oxide modified di (meth) acrylate, bisphenol A propylene oxide Modified di (meth) acrylate, alkanediol di (meth) acrylate, tricyclodecane dimethanol di (meth) acrylate, ethoxylated isocyanurate tri (meth) acrylate, pentaerythritol tri (meth) acrylate, pentaerythritol di ( Meta) acrylate, trimethylolpropane tri (meth) acrylate, ditrimethylolpropane tetra (meth)
  • the compatibility of the polymer P with the light curing agent also depends on the molecular weight of the compound.
  • the molecular weight of the light curing agent is preferably 1,500 or less, and more preferably 1,000 or less.
  • the type and content of the light curing agent mainly affect the adhesion after light curing.
  • the functional group equivalent is smaller (that is, the number of functional groups per unit molecular weight is larger) and the content of the photo-curing agent is larger, the adhesion after photo-curing tends to be larger.
  • the functional group equivalent of the photo-curing agent is preferably 100 or more, more preferably 130 or more, still more preferably 150 or more, and particularly preferably 180 or more.
  • the functional group equivalent of the photo-curing agent is within the above range also from the viewpoint of suppressing the adhesion before photocuring to an appropriate range and enhancing the removability of the second region in the partial removal step. Is preferred.
  • the content of the photo-curing agent in the pressure-sensitive adhesive composition is preferably 1 to 50 parts by weight, more preferably 5 to 40 parts by weight, and still more preferably 10 to 35 parts by weight with respect to 100 parts by weight of the polymer P.
  • a photocurable pressure-sensitive adhesive layer is obtained by containing the photocurable compound as an uncured (unreacted) monomer or oligomer in the pressure-sensitive adhesive composition.
  • the photo-curing agent tends to bleed out on the surface of the pressure-sensitive adhesive layer.
  • the photocuring agent bleeds out in a large amount, the photocuring agent tends to remain on the adherend after removing the second region.
  • the adhesive force of the pressure-sensitive adhesive layer to the adherend is suppressed by bleeding out a small amount of the photo-curing agent to the surface, and the low adhesiveness before photo curing and the strong adhesiveness after photo curing are both suitably achieved. It is possible to
  • the pressure-sensitive adhesive layer (2) preferably contains a photoinitiator.
  • the photoinitiator generates an active species upon irradiation with actinic radiation to accelerate the curing reaction of the photocuring agent.
  • a photoinitiator a photo cation initiator (photo acid generator), a photo radical initiator, a photo anion initiator (photo base generator) etc. are used according to the kind etc. of a photo-curing agent.
  • a photo radical initiator When a polyfunctional acrylate is used as the light curing agent, it is preferable to use a photo radical initiator.
  • photo radical initiators examples include hydroxy ketones, benzyl dimethyl ketals, amino ketones, acyl phosphine oxides, benzophenones, trichloromethyl group-containing triazine derivatives, and the like.
  • the photoradical generators may be used alone or in combination of two or more.
  • the content of the photoinitiator in the pressure-sensitive adhesive layer is preferably 0.001 to 10 parts by weight, and more preferably 0.01 to 5 parts by weight with respect to 100 parts by weight of the total amount of the pressure-sensitive adhesive layer.
  • the pressure-sensitive adhesive layer may be a silane coupling agent, a tackifier, a plasticizer, a softener, an antidegradant, a filler, a colorant, an ultraviolet absorber, an antioxidant, and a surfactant.
  • An additive such as an antistatic agent may be contained within a range that does not significantly impair the effects obtained by the technology disclosed herein.
  • the pressure-sensitive adhesive layer (2) is, for example, applied to a suitable surface of a pressure-sensitive adhesive composition containing polymer P, a photo-curing agent and other components which are optionally used, and then the solvent is optionally removed by drying. It can be formed by As a drying method, a suitable method may be adopted suitably.
  • the heating and drying temperature is preferably 40 ° C. to 200 ° C., more preferably 50 ° C. to 180 ° C., still more preferably 70 ° C. to 170 ° C.
  • the drying time is preferably 5 seconds to 20 minutes, more preferably 5 seconds to 15 minutes, still more preferably 10 seconds to 10 minutes.
  • the pressure-sensitive adhesive composition contains a crosslinking agent
  • the heating temperature and the heating time are appropriately set according to the type of the crosslinking agent used, and usually, crosslinking is performed by heating in a range of 20 ° C. to 160 ° C. for about 1 minute to about 7 days.
  • the heating for drying and removing the solvent may be combined with the heating for crosslinking.
  • the photocuring agent remains unreacted even after the crosslinking structure is introduced into the polymer by the crosslinking agent. Therefore, the photocurable pressure-sensitive adhesive layer (2) is formed, which contains the polymer P in which the crosslinked structure is introduced and the unreacted light curing agent.
  • the pressure-sensitive adhesive layer (2) before light curing is a friction force at a frequency of 5 Hz measured by the tapping mode of the friction force microscope (FFM) from the viewpoint of facilitating suppression of the adhesive force. It is preferably 2 to 5 times the force.
  • FFM friction force microscope
  • the ratio of the friction force at a frequency of 0.1 Hz to 5 Hz of the pressure-sensitive adhesive layer (2) is in the above range, the adhesion after photocuring tends to be greatly increased compared to before photocuring.
  • the force acting between the probe of the scanning probe microscope (SPM) and the sample surface is converted to the displacement (torque amount) of the plate spring of the cantilever, and this displacement is detected electrically.
  • the amount of displacement is proportional to the differential voltage
  • the frictional force is proportional to the spring constant and the amount of displacement of the cantilever.
  • the frictional force is proportional to the FFM differential voltage.
  • the ratio of the friction force at a frequency of 5 Hz to the friction force at a frequency of 0.1 Hz is equal to the ratio of the two FFM difference signals.
  • the frictional force by nanotribology tends to reflect the adhesion of the surface of the pressure-sensitive adhesive layer to the adherend, and the small frictional force means that the surface of the pressure-sensitive adhesive is close to liquid and the viscosity is small. .
  • the frictional force measured by the FFM has frequency dependency.
  • the frictional force measured at a specific frequency tends to reflect the individual physical properties of the components of the pressure-sensitive adhesive composition, whereas the frequency dependence tends to more accurately reflect the surface properties. The smaller the frequency dependency of the frictional force, the smaller the viscosity and the stronger the liquid property.
  • the liquid photo-curing agent bleeds out to the surface to form an adhesion-inhibiting layer (Weak Boundary Layer) on the adhesive interface with the adherend. WBL) is formed, and the liquid property is enhanced, so that the frequency dependence of the friction force and the friction force tends to be reduced.
  • a small amount of the photo-curing agent may bleed out on the surface of the pressure-sensitive adhesive layer to form WBL.
  • WBL the characteristics of the surface (adhesion interface) change, and the frequency dependence of the frictional force and the frictional force decreases.
  • the adhesion before photocuring can be easily suppressed, and the peeling of the second region in the case of performing the partial removal step before the photocuring becomes easy.
  • the friction force at a frequency of 5 Hz of the pressure-sensitive adhesive layer is preferably twice or more, more preferably three times or more, and 3.5 times or more from the viewpoint of avoiding bleeding out of the light curing agent. Is more preferred.
  • the FFM differential signal at a frequency of 5 Hz of the pressure-sensitive adhesive layer before photocuring measured using a cantilever with a spring constant of 40 N / m is 0.01 It is preferably 1 to 1 V, more preferably 0.05 to 0.9 V, still more preferably 0.1 to 0.8 V, and particularly preferably 0.2 to 0.7 V.
  • the pressure-sensitive adhesive layer after photocuring preferably has a frictional force at a frequency of 5 Hz measured by FFM at least 5 times the frictional force at a frequency of 0.1 Hz And 5.5 times or more is more preferable.
  • 0.1 V or more is preferable, 0.2 V or more is more preferable, and 0.3 V or more of the FFM differential signal at a frequency of 5 Hz of the pressure-sensitive adhesive layer after photocuring measured using a cantilever with a spring constant of 40 N / m preferable.
  • adhesive strength improvement the larger the frictional force of the pressure-sensitive adhesive layer after photocuring, the better.
  • the FFM differential signal at 5 Hz measured using a cantilever with a spring constant of 40 N / m is generally 10 V or less, and 5 V or less in consideration of the balance of the adhesive characteristics. Is preferred.
  • the friction force at a frequency of 5 Hz of the pressure-sensitive adhesive layer after light curing is preferably 1.5 times or more of the friction force at a frequency of 5 Hz of the pressure-sensitive adhesive layer before light curing, and more preferably twice or more.
  • the above is more preferable, and 3 times or more is particularly preferable.
  • the frictional force after photocuring is generally 20 times or less, preferably 10 times or less, of the frictional force before photocuring.
  • the friction force at a frequency of 0.1 Hz and 5 Hz of the pressure-sensitive adhesive layer before and after photocuring is the FFM mode of a scanning probe microscope ("AFM5300E" manufactured by Hitachi High-Tech Science) under the following conditions. Measurement is performed by performing a fractional measurement with a scan width of 5 ⁇ m in the direction (10 ⁇ m scan in a reciprocating manner) and reading a differential voltage at a position 3 ⁇ m from the left side of the measurement range.
  • an ultraviolet-ray (UV) As an example of the actinic light which can be utilized for the photocuring of an adhesive layer (2), an ultraviolet-ray (UV), visible light, infrared rays, an X ray, an alpha ray, a beta ray, a gamma ray, etc. are mentioned.
  • UV is preferable as the actinic ray, since curing of the pressure-sensitive adhesive layer in the storage state is easily suppressed and curing is easy.
  • the irradiation intensity and irradiation time of the actinic ray may be appropriately set according to the composition, thickness and the like of the pressure-sensitive adhesive layer.
  • the pressure-sensitive adhesive layer (2) is photocurable, and the timing at which the adhesive strength is raised by curing can be arbitrarily set. Therefore, after the adhesive sheet is attached to the adherend, the partial removal process can be performed at an arbitrary timing between the photocuring of the adhesive, so that the lead time of the device manufacturing process can be flexibly coped with. It is.
  • the thickness of the pressure-sensitive adhesive sheet used in the manufacturing method disclosed herein is not particularly limited, and may be, for example, about 3 ⁇ m to 11 mm. From the viewpoint of handleability and the like of the pressure-sensitive adhesive sheet, the thickness of the pressure-sensitive adhesive sheet is usually 5 ⁇ m or more, preferably 10 ⁇ m or more, and may be 30 ⁇ m or more. From the viewpoint of peeling workability of the second region in the partial removal step, in some embodiments, a pressure-sensitive adhesive sheet having a thickness of 50 ⁇ m or more, 70 ⁇ m or more, or 90 ⁇ m or more may be preferably used.
  • the adhesive sheet may have a thickness of, for example, 1000 ⁇ m or less, 600 ⁇ m or less, or 350 ⁇ m, from the viewpoint of cutting processability in the cutting step and peeling workability of the second region in the partial removing step.
  • the following may be sufficient, 200 micrometers or less may be sufficient, and 150 micrometers or less may be sufficient.
  • the thickness of the pressure-sensitive adhesive layer is not particularly limited, and can be, for example, in the range of about 1 ⁇ m to 1000 ⁇ m. In some embodiments, the thickness of the pressure-sensitive adhesive layer may be, for example, 3 ⁇ m or more, 5 ⁇ m or more, 8 ⁇ m or more, 10 ⁇ m or more, 13 ⁇ m or more, 20 ⁇ m or more, or 20 ⁇ m or more.
  • the thickness of the pressure-sensitive adhesive layer may be, for example, 300 ⁇ m or less, 200 ⁇ m or less, 150 ⁇ m or less, 100 ⁇ m or less, 70 ⁇ m or less, 50 ⁇ m or less, or 40 ⁇ m or less, It may be 30 ⁇ m or less.
  • the thickness of the base material layer is not particularly limited, and may be, for example, about 2 ⁇ m to 10 mm.
  • the thickness of the substrate layer may be, for example, 5 ⁇ m or more, 10 ⁇ m or more, or 25 ⁇ m, in some embodiments, from the viewpoint of handling of the adhesive sheet and prevention of breakage of the second region in the partial removal step. More than, 35 micrometers or more may be sufficient, 50 micrometers or more may be sufficient, 60 micrometers or more may be sufficient.
  • the thickness of the base material layer may be, for example, 1000 ⁇ m or less, 500 ⁇ m or less, 300 ⁇ m or less, or 200 ⁇ m or less in some embodiments from the viewpoint of cutting processability in the cutting step, etc. It may be 150 ⁇ m or less, 100 ⁇ m or less, or 90 ⁇ m or less.
  • the pressure-sensitive adhesive sheet used in the manufacturing method disclosed herein can be suitably practiced in a mode in which the thickness Ts of the substrate layer is larger than the thickness Ta of the pressure-sensitive adhesive layer. That is, it is preferable that Ts / Ta be greater than one.
  • Ts / Ta may be, for example, 1.1 or more, 1.2 or more, 1.5 or more, 2 or more, or 2.5 or more. Further, Ts / Ta may be, for example, 50 or less, 20 or less, 10 or less, or 7 or less.
  • the pressure-sensitive adhesive sheet used in the attaching step may have, for example, an area of 2500 cm 2 or more and a short side of 50 cm or more.
  • a large-sized adhesive sheet it is particularly significant to adopt the manufacturing method disclosed herein.
  • the partial removal step of peeling and removing the second region of the pressure-sensitive adhesive sheet is performed before the adhesion of the pressure-sensitive adhesive sheet to the adherend exceeds 2 N / 25 mm.
  • the area of the pressure-sensitive adhesive sheet is 3600 cm 2 or more, more preferably 4900 cm 2 or more, or the embodiment in which the short side length is 60 cm or more, more preferably 70 cm or more, higher effects can be exhibited.
  • the method disclosed herein it is possible to efficiently manufacture a laminate in which the pattern of the adhesive pieces is precisely formed on the adherend and the durability of the pattern is excellent.
  • the methods disclosed herein include exterior materials and interior materials of vehicles, building materials such as exterior materials and interior materials of buildings, window glass, signs, signs, home appliances, optical products, electronic products, etc.
  • the product or a component thereof may be used as an adherend, and such an adherend may be preferably applied to the production of a laminate partially covered by the pattern of the adhesive strip.
  • the laminate may be the various products described above or their constituent members.
  • the adhesive piece is included in various products as a component of the laminate, whereby the adherend included in the laminate, or the product including the laminate or the member thereof, is decorated, displayed, protected, reinforced, It can serve to provide functions such as shock relaxation, stress concentration relaxation, shape maintenance, shape recovery, and the like.
  • the methods disclosed herein can be preferably applied, for example, to the manufacture of FPCs with film cover lays.
  • optical members used for optical products and electronic members used for electronic products advanced integration, downsizing and weight reduction, and thinning progress has progressed, and a plurality of thin optical members having different coefficients of linear expansion and thickness / Electronic members may be stacked.
  • a member as an adherend
  • the optical / electronic member has appropriate rigidity. Can be granted.
  • the member (adherend) is partially covered with the adhesive piece.
  • the adhesive piece is utilized as a reinforcing member, and local stress concentration on the optical member / electronic member accompanying the processing of the laminated body is alleviated, and cracks, cracks, laminated members The risk of peeling off can be reduced.
  • Attaching and handling the reinforcing member on the optical member / electronic member also alleviates local stress concentration during transport, lamination, rotation, etc. of the member, and also suppresses bending or bending of the member due to its own weight, etc. It can be useful.
  • a device such as an optical product or an electronic product including a laminate in which the adherend is partially covered with the pattern of the adhesive piece is dropped when the device is used by consumers in the market
  • the adhesive strip included in the device functions as a reinforcing member even when being unintentionally stressed when placed under a heavy object, such as when an alien object collides, etc. Such stress can be relieved and durability can be improved.
  • the method disclosed herein is preferably used, for example, to manufacture a laminate in which components of various types of portable devices (portable devices) are adherends, and the members are partially covered with a pattern of adhesive pieces. obtain.
  • portable devices portable devices
  • “portable” is not enough to be only portable, but means that an individual (a standard adult) has a portability that is relatively easy to carry. Do.
  • examples of mobile devices here include mobile phones, smartphones, tablet computers, laptop computers, various wearable devices, digital cameras, digital video cameras, audio devices (portable music players, IC recorders, etc.), calculators (computers) Calculators, etc.), portable game devices, electronic dictionaries, electronic notebooks, electronic books, in-vehicle information devices, portable radios, portable TVs, portable printers, portable scanners, portable scanners, portable modems, etc. Clocks, flashlights, hand mirrors etc. may be included.
  • Examples of members constituting the portable electronic device may include an optical film, a display panel and the like used in an image display device such as a thin layer display such as a liquid crystal display and a film type display. The method disclosed herein can be preferably applied also to applications in which various members in automobiles, home appliances and the like are used as adherends, and the members are partially covered with a pattern of adhesive pieces.
  • the weight average molecular weight of each of the polymers described above was measured using the GPC apparatus (HLC-8220GPC, manufactured by Tosoh Corporation) under the following conditions, and was determined by polystyrene conversion.
  • Sample concentration 0.2 wt% (tetrahydrofuran (THF) solution)
  • Sample injection volume 10 ⁇ l -Eluent: THF-Flow rate: 0.6 ml / min ⁇
  • Adhesive sheet D1 In the solution of the polymer A1, 2.5 parts of the polymer B1 based on solid content per 100 parts of the polymer A1 contained in the solution, an isocyanate crosslinking agent (trade name: Takenate D110N, trimethylolpropane xylylene diisocyanate, 2.5 parts of Mitsui Chemicals, Inc. were added and uniformly mixed to prepare a pressure-sensitive adhesive composition C1.
  • the adhesive composition C1 is directly applied to one surface of a 75 ⁇ m-thick PET film (“Lumirror S10” manufactured by Toray Industries, Inc.) which has not been surface-treated, and heated at 110 ° C. for 2 minutes to be dried.
  • a pressure-sensitive adhesive layer is formed, and on the surface (adhesive surface) of the pressure-sensitive adhesive layer, a release-treated surface of a release liner (MRQ50T100 manufactured by Mitsubishi Chemical Corporation, a polyester film treated on one side with a silicone release agent, thickness 50 ⁇ m) It stuck and protected.
  • a pressure-sensitive adhesive sheet D1 having a pressure-sensitive adhesive layer on one side of a substrate layer made of a PET film having a thickness of 75 ⁇ m and having the surface (pressure-sensitive adhesive surface) of the pressure-sensitive adhesive layer protected by a release liner is obtained.
  • Adhesive sheet D2 An isocyanate-based crosslinking agent (trade name: Takenate D110N, trimethylolpropane xylylene diisocyanate, manufactured by Mitsui Chemicals, Inc.) was added to the solution of the polymer A1 based on solid content per 100 parts of the polymer A1 contained in the solution. 5 parts, 30 parts of a photo-curing agent (trade name: A-200, polyethylene glycol # 200 diacrylate, functional group equivalent 154 g / eq, Shin-Nakamura Chemical Co., Ltd.), and 0.1 parts of a photoinitiator are added, By uniformly mixing, a pressure-sensitive adhesive composition C2 was prepared.
  • a photo-curing agent trade name: A-200, polyethylene glycol # 200 diacrylate, functional group equivalent 154 g / eq, Shin-Nakamura Chemical Co., Ltd.
  • 1-hydroxycyclohexyl phenyl ketone (IRGACURE 184" manufactured by BASF) was used.
  • IRGACURE 184" 1-hydroxycyclohexyl phenyl ketone
  • Using a fountain roll directly apply the adhesive composition C2 to one side of a 75 ⁇ m-thick PET film (“Lumirror S10” manufactured by Toray Industries, Inc.) that has not been surface-treated, and dry by heating at 130 ° C. for 1 minute As a result, a 25 ⁇ m thick adhesive layer was formed.
  • this pressure-sensitive adhesive layer is adhered to a release-treated surface of a release liner (a PET film whose surface is treated with a silicone release agent, 25 ⁇ m thick) for protection, and aging for 4 days in an atmosphere of 25 ° C. A treatment was carried out to allow the crosslinking to proceed.
  • a pressure-sensitive adhesive sheet D2 in a form in which the pressure-sensitive adhesive surface was protected by a release liner was obtained.
  • Adhesive sheet D3 In the solution of the polymer A2, an isocyanate-based crosslinking agent (trade name: Takenate D110N, trimethylolpropane xylylene diisocyanate, manufactured by Mitsui Chemical Co., Ltd.) per 100 parts of the polymer A2 contained in the solution is 2.5 on a solids basis. A part was added and uniformly mixed to prepare a pressure-sensitive adhesive composition C3.
  • an isocyanate-based crosslinking agent trade name: Takenate D110N, trimethylolpropane xylylene diisocyanate, manufactured by Mitsui Chemical Co., Ltd.
  • a pressure-sensitive adhesive sheet D3 was obtained in the same manner as in the preparation of the pressure-sensitive adhesive sheet D1, except that the pressure-sensitive adhesive composition C3 was used instead of the pressure-sensitive adhesive composition C1, to obtain a pressure-sensitive adhesive sheet D3 in a form in which the pressure-sensitive adhesive surface was protected by a release liner.
  • a pressure-sensitive adhesive composition C4 was prepared in the same manner as in the preparation of the pressure-sensitive adhesive composition C1 except that the polymer B1 was not used.
  • a pressure-sensitive adhesive sheet D4 was obtained in the same manner as in the preparation of the pressure-sensitive adhesive sheet D1 except that the pressure-sensitive adhesive composition C4 was used instead of the pressure-sensitive adhesive composition C1, to obtain a pressure-sensitive adhesive sheet D4 in a form in which the adhesive surface was protected by a release liner.
  • the measurement sample is crimped to the test piece in the same manner as in the measurement of the initial tackiness B 0 and held for about 4 weeks under a fluorescent lamp at normal temperature (about 25 ° C. here), and then the measurement of the initial tackiness B 0
  • the peel strength (adhesive strength after 4 weeks) [N / 25 mm] was measured in the same manner as in.
  • the measurement sample prepared from the adhesive sheet D1 in the same manner as in the measurement of the initial adhesion B 0 crimped to the test piece was allowed to stand 30 minutes under the standard environment, and heated at 80 ° C. 5 min. Further, after left to stand under the above standard environment for 30 minutes, the peel strength (adhesive strength after heating) [N / 25 mm] was similarly measured at a peel angle of 180 degrees and a tensile speed of 300 mm / min. Met. Further, a measurement sample prepared from the adhesive sheet D2 is crimped to a test piece in the same manner as the measurement of the initial adhesive strength B 0 , and left for 30 minutes under the above standard environment, and then using Ushio UniField.
  • Ultraviolet light having a dominant wavelength of about 365 nm was irradiated to have a light quantity of 2000 mJ / cm 2 . Furthermore, after left to stand under the above standard environment for 30 minutes, the peel strength (adhesive force after UV irradiation) [N / 25 mm] was similarly measured at a peel angle of 180 degrees and a tensile speed of 300 mm / min. It was 25 mm.
  • the pressure-sensitive adhesive sheet D1 was cut into a size of 25 mm wide and 100 mm long to prepare a pressure-sensitive adhesive sheet for producing a laminate.
  • a polyimide film having a thickness of 12.5 ⁇ m, a width of 30 mm, and a length of 120 mm (“Kapton 50 EN” manufactured by Toray Dupont Co., Ltd.) was prepared.
  • the center of the adherend was aligned with the center of the pressure-sensitive adhesive sheet, and the pressure-sensitive adhesive sheet was attached to the adherend by a hand roller (sticking step).
  • the cutting step was performed after the adhesive sheet was attached to the adherend and before the following partial removal step.
  • a second region of 2 mm in width and 100 mm in length extending linearly from one end of the adhesive sheet in the longitudinal direction to the other end is set at the width center of the adhesive sheet in the obtained adhesive sheet / adherend laminate.
  • one end of the second region is peeled off from the adherend, gripped by the chuck of a tensile tester, and pulled in the longitudinal direction of the adhesive sheet at a peeling angle of 180 degrees and a tensile speed of 300 mm / min.
  • the slit-like second region was peeled off from the adherend.
  • the target laminate, ie, the adherend described above is covered with the above-mentioned adhesive sheet subjected to the pattern processing
  • Table 1 shows the adhesion value of adhesive sheet D1 after room temperature for 12 hours as the adhesive strength in the partial removal step of Production Example 1, and the adhesion value of adhesive sheet D1 after heating as the adhesive strength of the laminate. doing.
  • Production Example 2 Except using the pressure-sensitive adhesive sheet D2 instead of the pressure-sensitive adhesive sheet D1 and changing the stimulation applied in the adhesion raising step from heating to the above-mentioned UV irradiation (main wavelength about 365 nm, light quantity 2000 mJ / cm 2 ), A laminate was produced in the same manner as in Production Example 1.
  • Table 1 shows the adhesion value of the adhesive sheet D2 after room temperature for 12 hours as the adhesion in the partial removal step of Production Example 2, and the adhesion value of the adhesive sheet D2 after UV irradiation as the adhesion of the laminate. Described.
  • Production Example 5 In Production Example 1, about 11 hours after the adhesive sheet D1 is attached to the adherend, the above-mentioned heating (80 ° C., 5 minutes) is performed, and then the elapsed time after the adhesive sheet D1 is attached to the adherend A partial removal step was performed after keeping at room temperature until about 12 hours. A laminate was manufactured in the same manner as in Production Example 1 with respect to the other points. In Table 1, the value of the adhesion after heating of the pressure-sensitive adhesive sheet D2 is described as the adhesion in the partial removal step of Production Example 5.

Landscapes

  • Chemical & Material Sciences (AREA)
  • Organic Chemistry (AREA)
  • Engineering & Computer Science (AREA)
  • Mechanical Engineering (AREA)
  • Textile Engineering (AREA)
  • Chemical Kinetics & Catalysis (AREA)
  • Thermal Sciences (AREA)
  • Physics & Mathematics (AREA)
  • Plasma & Fusion (AREA)
  • Adhesive Tapes (AREA)
  • Laminated Bodies (AREA)
  • Adhesives Or Adhesive Processes (AREA)
  • Manufacturing & Machinery (AREA)
  • Materials Engineering (AREA)
  • Health & Medical Sciences (AREA)
  • Medicinal Chemistry (AREA)
  • Polymers & Plastics (AREA)
  • Folding Of Thin Sheet-Like Materials, Special Discharging Devices, And Others (AREA)
PCT/JP2018/016943 2017-12-28 2018-04-26 積層体の製造方法 Ceased WO2019130617A1 (ja)

Priority Applications (4)

Application Number Priority Date Filing Date Title
CN201910712127.9A CN110509623B (zh) 2017-12-28 2018-04-26 层叠体的制造方法
CN201880005298.1A CN110214084B (zh) 2017-12-28 2018-04-26 层叠体的制造方法
KR1020197017926A KR20200094083A (ko) 2017-12-28 2018-04-26 적층체의 제조 방법
KR1020197009198A KR102075323B1 (ko) 2017-12-28 2018-04-26 적층체의 제조 방법

Applications Claiming Priority (2)

Application Number Priority Date Filing Date Title
JP2017-253311 2017-12-28
JP2017253311 2017-12-28

Publications (1)

Publication Number Publication Date
WO2019130617A1 true WO2019130617A1 (ja) 2019-07-04

Family

ID=67063391

Family Applications (1)

Application Number Title Priority Date Filing Date
PCT/JP2018/016943 Ceased WO2019130617A1 (ja) 2017-12-28 2018-04-26 積層体の製造方法

Country Status (5)

Country Link
JP (2) JP6541864B1 (enExample)
KR (3) KR102075323B1 (enExample)
CN (3) CN110214084B (enExample)
TW (2) TWI698333B (enExample)
WO (1) WO2019130617A1 (enExample)

Families Citing this family (3)

* Cited by examiner, † Cited by third party
Publication number Priority date Publication date Assignee Title
KR102075323B1 (ko) * 2017-12-28 2020-02-07 닛토덴코 가부시키가이샤 적층체의 제조 방법
JP2021138821A (ja) * 2020-03-04 2021-09-16 Dic株式会社 粘着剤組成物及び粘着フィルム
JP7675531B2 (ja) * 2021-02-26 2025-05-13 株式会社ニトムズ 粘着テープ

Citations (12)

* Cited by examiner, † Cited by third party
Publication number Priority date Publication date Assignee Title
JPH01221225A (ja) * 1988-03-01 1989-09-04 Max Co Ltd 粘着シートの貼着方法
JPH02210386A (ja) * 1989-02-09 1990-08-21 Sekisui Chem Co Ltd シート状物の部分剥離方法
JPH07237569A (ja) * 1994-02-28 1995-09-12 Honda Motor Co Ltd 車体上面への保護フィルム貼付方法
JPH10278183A (ja) * 1997-02-05 1998-10-20 Kayou Giken Kogyo Kk 透明貼着体、その製造方法及び貼着物
JP2006001253A (ja) * 2004-06-21 2006-01-05 Lintec Corp 積層シートおよびその製造方法
JP2011111530A (ja) * 2009-11-26 2011-06-09 Hitachi Chem Co Ltd 接着シート及びその製造方法、並びに、半導体装置の製造方法及び半導体装置
WO2014156127A1 (ja) * 2013-03-26 2014-10-02 三井化学東セロ株式会社 積層フィルムの製造方法、積層フィルムおよびそれを用いた半導体装置の製造方法
JP2015174903A (ja) * 2014-03-14 2015-10-05 旭硝子株式会社 両面粘着フィルム、粘着層付き透明面材
WO2015190441A1 (ja) * 2014-06-11 2015-12-17 日東電工株式会社 粘着シート
JP2016208033A (ja) * 2015-04-24 2016-12-08 日東電工株式会社 封止半導体素子および半導体装置の製造方法
JP2017062430A (ja) * 2015-09-25 2017-03-30 凸版印刷株式会社 粘着積層体とその製造方法
JP2017183640A (ja) * 2016-03-31 2017-10-05 古河電気工業株式会社 電子デバイスパッケージ用テープ

Family Cites Families (9)

* Cited by examiner, † Cited by third party
Publication number Priority date Publication date Assignee Title
JP2002011452A (ja) 2000-04-28 2002-01-15 Kansai Paint Co Ltd マーキング用粘着シートの剥離方法及び剥離装置
JP2007138014A (ja) * 2005-11-18 2007-06-07 Toyo Ink Mfg Co Ltd 粘着シート及びそれを用いた装飾方法
JP2009256458A (ja) * 2008-04-16 2009-11-05 Hitachi Chem Co Ltd 粘接着シート及び半導体装置の製造方法
JP2011018805A (ja) * 2009-07-09 2011-01-27 Sumitomo Bakelite Co Ltd 半導体用フィルムおよび半導体装置の製造方法
JP2012180494A (ja) * 2011-02-10 2012-09-20 Nitto Denko Corp 自発巻回性粘着シート及び切断体の製造方法
KR101092987B1 (ko) 2011-08-03 2011-12-12 주식회사 플렉스컴 절곡부를 갖는 연성회로기판 및 그의 제조방법
JP2015000908A (ja) * 2013-06-14 2015-01-05 日東電工株式会社 両面粘着シートの製造方法
JP6548006B2 (ja) * 2015-02-10 2019-07-24 Agc株式会社 積層体の剥離装置、及び剥離方法並びに電子デバイスの製造方法
KR102075323B1 (ko) * 2017-12-28 2020-02-07 닛토덴코 가부시키가이샤 적층체의 제조 방법

Patent Citations (12)

* Cited by examiner, † Cited by third party
Publication number Priority date Publication date Assignee Title
JPH01221225A (ja) * 1988-03-01 1989-09-04 Max Co Ltd 粘着シートの貼着方法
JPH02210386A (ja) * 1989-02-09 1990-08-21 Sekisui Chem Co Ltd シート状物の部分剥離方法
JPH07237569A (ja) * 1994-02-28 1995-09-12 Honda Motor Co Ltd 車体上面への保護フィルム貼付方法
JPH10278183A (ja) * 1997-02-05 1998-10-20 Kayou Giken Kogyo Kk 透明貼着体、その製造方法及び貼着物
JP2006001253A (ja) * 2004-06-21 2006-01-05 Lintec Corp 積層シートおよびその製造方法
JP2011111530A (ja) * 2009-11-26 2011-06-09 Hitachi Chem Co Ltd 接着シート及びその製造方法、並びに、半導体装置の製造方法及び半導体装置
WO2014156127A1 (ja) * 2013-03-26 2014-10-02 三井化学東セロ株式会社 積層フィルムの製造方法、積層フィルムおよびそれを用いた半導体装置の製造方法
JP2015174903A (ja) * 2014-03-14 2015-10-05 旭硝子株式会社 両面粘着フィルム、粘着層付き透明面材
WO2015190441A1 (ja) * 2014-06-11 2015-12-17 日東電工株式会社 粘着シート
JP2016208033A (ja) * 2015-04-24 2016-12-08 日東電工株式会社 封止半導体素子および半導体装置の製造方法
JP2017062430A (ja) * 2015-09-25 2017-03-30 凸版印刷株式会社 粘着積層体とその製造方法
JP2017183640A (ja) * 2016-03-31 2017-10-05 古河電気工業株式会社 電子デバイスパッケージ用テープ

Also Published As

Publication number Publication date
CN110214084B (zh) 2020-06-23
CN110214084A (zh) 2019-09-06
KR20190132531A (ko) 2019-11-27
CN110509623B (zh) 2024-09-13
CN110997324A (zh) 2020-04-10
JP2019119200A (ja) 2019-07-22
JP6541864B1 (ja) 2019-07-10
TWI698333B (zh) 2020-07-11
KR102075323B1 (ko) 2020-02-07
TWI698332B (zh) 2020-07-11
KR20190111891A (ko) 2019-10-02
TW201932302A (zh) 2019-08-16
CN110997324B (zh) 2020-07-17
KR20200094083A (ko) 2020-08-06
TW201940333A (zh) 2019-10-16
JP2019119208A (ja) 2019-07-22
JP6595083B2 (ja) 2019-10-23
KR102165668B1 (ko) 2020-10-14
CN110509623A (zh) 2019-11-29

Similar Documents

Publication Publication Date Title
JP6513279B1 (ja) 積層体の製造方法
CN108541269B (zh) 粘合片
KR20210011045A (ko) 보강 필름
KR20180087232A (ko) 점착 시트
CN113286702B (zh) 粘合片
JP6541864B1 (ja) 積層体の製造方法
WO2019131556A1 (ja) 積層体の製造方法

Legal Events

Date Code Title Description
ENP Entry into the national phase

Ref document number: 20197009198

Country of ref document: KR

Kind code of ref document: A

121 Ep: the epo has been informed by wipo that ep was designated in this application

Ref document number: 18894204

Country of ref document: EP

Kind code of ref document: A1

NENP Non-entry into the national phase

Ref country code: DE

122 Ep: pct application non-entry in european phase

Ref document number: 18894204

Country of ref document: EP

Kind code of ref document: A1