WO2017104428A1 - 運動案内装置 - Google Patents

運動案内装置 Download PDF

Info

Publication number
WO2017104428A1
WO2017104428A1 PCT/JP2016/085731 JP2016085731W WO2017104428A1 WO 2017104428 A1 WO2017104428 A1 WO 2017104428A1 JP 2016085731 W JP2016085731 W JP 2016085731W WO 2017104428 A1 WO2017104428 A1 WO 2017104428A1
Authority
WO
WIPO (PCT)
Prior art keywords
circulation path
holding belt
track rail
rolling
endless circulation
Prior art date
Legal status (The legal status is an assumption and is not a legal conclusion. Google has not performed a legal analysis and makes no representation as to the accuracy of the status listed.)
Ceased
Application number
PCT/JP2016/085731
Other languages
English (en)
French (fr)
Japanese (ja)
Inventor
慎史 青木
弘基 入川
Current Assignee (The listed assignees may be inaccurate. Google has not performed a legal analysis and makes no representation or warranty as to the accuracy of the list.)
THK Co Ltd
Original Assignee
THK Co Ltd
Priority date (The priority date is an assumption and is not a legal conclusion. Google has not performed a legal analysis and makes no representation as to the accuracy of the date listed.)
Filing date
Publication date
Application filed by THK Co Ltd filed Critical THK Co Ltd
Priority to CN201680066512.5A priority Critical patent/CN108350937B/zh
Priority to US15/781,964 priority patent/US10436248B2/en
Priority to DE112016005728.8T priority patent/DE112016005728T5/de
Publication of WO2017104428A1 publication Critical patent/WO2017104428A1/ja
Anticipated expiration legal-status Critical
Ceased legal-status Critical Current

Links

Images

Classifications

    • FMECHANICAL ENGINEERING; LIGHTING; HEATING; WEAPONS; BLASTING
    • F16ENGINEERING ELEMENTS AND UNITS; GENERAL MEASURES FOR PRODUCING AND MAINTAINING EFFECTIVE FUNCTIONING OF MACHINES OR INSTALLATIONS; THERMAL INSULATION IN GENERAL
    • F16CSHAFTS; FLEXIBLE SHAFTS; ELEMENTS OR CRANKSHAFT MECHANISMS; ROTARY BODIES OTHER THAN GEARING ELEMENTS; BEARINGS
    • F16C29/00Bearings for parts moving only linearly
    • F16C29/04Ball or roller bearings
    • F16C29/06Ball or roller bearings in which the rolling bodies circulate partly without carrying load
    • FMECHANICAL ENGINEERING; LIGHTING; HEATING; WEAPONS; BLASTING
    • F16ENGINEERING ELEMENTS AND UNITS; GENERAL MEASURES FOR PRODUCING AND MAINTAINING EFFECTIVE FUNCTIONING OF MACHINES OR INSTALLATIONS; THERMAL INSULATION IN GENERAL
    • F16CSHAFTS; FLEXIBLE SHAFTS; ELEMENTS OR CRANKSHAFT MECHANISMS; ROTARY BODIES OTHER THAN GEARING ELEMENTS; BEARINGS
    • F16C29/00Bearings for parts moving only linearly
    • F16C29/04Ball or roller bearings
    • F16C29/06Ball or roller bearings in which the rolling bodies circulate partly without carrying load
    • F16C29/0633Ball or roller bearings in which the rolling bodies circulate partly without carrying load with a bearing body defining a U-shaped carriage, i.e. surrounding a guide rail or track on three sides
    • F16C29/0635Ball or roller bearings in which the rolling bodies circulate partly without carrying load with a bearing body defining a U-shaped carriage, i.e. surrounding a guide rail or track on three sides whereby the return paths are provided as bores in a main body of the U-shaped carriage, e.g. the main body of the U-shaped carriage is a single part with end caps provided at each end
    • F16C29/0638Ball or roller bearings in which the rolling bodies circulate partly without carrying load with a bearing body defining a U-shaped carriage, i.e. surrounding a guide rail or track on three sides whereby the return paths are provided as bores in a main body of the U-shaped carriage, e.g. the main body of the U-shaped carriage is a single part with end caps provided at each end with balls
    • F16C29/0642Ball or roller bearings in which the rolling bodies circulate partly without carrying load with a bearing body defining a U-shaped carriage, i.e. surrounding a guide rail or track on three sides whereby the return paths are provided as bores in a main body of the U-shaped carriage, e.g. the main body of the U-shaped carriage is a single part with end caps provided at each end with balls with four rows of balls
    • F16C29/0647Ball or roller bearings in which the rolling bodies circulate partly without carrying load with a bearing body defining a U-shaped carriage, i.e. surrounding a guide rail or track on three sides whereby the return paths are provided as bores in a main body of the U-shaped carriage, e.g. the main body of the U-shaped carriage is a single part with end caps provided at each end with balls with four rows of balls with load directions in X-arrangement
    • FMECHANICAL ENGINEERING; LIGHTING; HEATING; WEAPONS; BLASTING
    • F16ENGINEERING ELEMENTS AND UNITS; GENERAL MEASURES FOR PRODUCING AND MAINTAINING EFFECTIVE FUNCTIONING OF MACHINES OR INSTALLATIONS; THERMAL INSULATION IN GENERAL
    • F16CSHAFTS; FLEXIBLE SHAFTS; ELEMENTS OR CRANKSHAFT MECHANISMS; ROTARY BODIES OTHER THAN GEARING ELEMENTS; BEARINGS
    • F16C29/00Bearings for parts moving only linearly
    • F16C29/04Ball or roller bearings
    • F16C29/06Ball or roller bearings in which the rolling bodies circulate partly without carrying load
    • F16C29/0614Ball or roller bearings in which the rolling bodies circulate partly without carrying load with a shoe type bearing body, e.g. a body facing one side of the guide rail or track only
    • F16C29/0621Ball or roller bearings in which the rolling bodies circulate partly without carrying load with a shoe type bearing body, e.g. a body facing one side of the guide rail or track only for supporting load in essentially two directions, e.g. by multiple points of contact or two rows of rolling elements
    • F16C29/0623Ball or roller bearings in which the rolling bodies circulate partly without carrying load with a shoe type bearing body, e.g. a body facing one side of the guide rail or track only for supporting load in essentially two directions, e.g. by multiple points of contact or two rows of rolling elements with balls
    • FMECHANICAL ENGINEERING; LIGHTING; HEATING; WEAPONS; BLASTING
    • F16ENGINEERING ELEMENTS AND UNITS; GENERAL MEASURES FOR PRODUCING AND MAINTAINING EFFECTIVE FUNCTIONING OF MACHINES OR INSTALLATIONS; THERMAL INSULATION IN GENERAL
    • F16CSHAFTS; FLEXIBLE SHAFTS; ELEMENTS OR CRANKSHAFT MECHANISMS; ROTARY BODIES OTHER THAN GEARING ELEMENTS; BEARINGS
    • F16C29/00Bearings for parts moving only linearly
    • F16C29/04Ball or roller bearings
    • F16C29/06Ball or roller bearings in which the rolling bodies circulate partly without carrying load
    • F16C29/0633Ball or roller bearings in which the rolling bodies circulate partly without carrying load with a bearing body defining a U-shaped carriage, i.e. surrounding a guide rail or track on three sides
    • F16C29/0635Ball or roller bearings in which the rolling bodies circulate partly without carrying load with a bearing body defining a U-shaped carriage, i.e. surrounding a guide rail or track on three sides whereby the return paths are provided as bores in a main body of the U-shaped carriage, e.g. the main body of the U-shaped carriage is a single part with end caps provided at each end
    • F16C29/0638Ball or roller bearings in which the rolling bodies circulate partly without carrying load with a bearing body defining a U-shaped carriage, i.e. surrounding a guide rail or track on three sides whereby the return paths are provided as bores in a main body of the U-shaped carriage, e.g. the main body of the U-shaped carriage is a single part with end caps provided at each end with balls
    • F16C29/0642Ball or roller bearings in which the rolling bodies circulate partly without carrying load with a bearing body defining a U-shaped carriage, i.e. surrounding a guide rail or track on three sides whereby the return paths are provided as bores in a main body of the U-shaped carriage, e.g. the main body of the U-shaped carriage is a single part with end caps provided at each end with balls with four rows of balls
    • F16C29/0645Ball or roller bearings in which the rolling bodies circulate partly without carrying load with a bearing body defining a U-shaped carriage, i.e. surrounding a guide rail or track on three sides whereby the return paths are provided as bores in a main body of the U-shaped carriage, e.g. the main body of the U-shaped carriage is a single part with end caps provided at each end with balls with four rows of balls with load directions in O-arrangement
    • FMECHANICAL ENGINEERING; LIGHTING; HEATING; WEAPONS; BLASTING
    • F16ENGINEERING ELEMENTS AND UNITS; GENERAL MEASURES FOR PRODUCING AND MAINTAINING EFFECTIVE FUNCTIONING OF MACHINES OR INSTALLATIONS; THERMAL INSULATION IN GENERAL
    • F16CSHAFTS; FLEXIBLE SHAFTS; ELEMENTS OR CRANKSHAFT MECHANISMS; ROTARY BODIES OTHER THAN GEARING ELEMENTS; BEARINGS
    • F16C29/00Bearings for parts moving only linearly
    • F16C29/04Ball or roller bearings
    • F16C29/06Ball or roller bearings in which the rolling bodies circulate partly without carrying load
    • F16C29/0633Ball or roller bearings in which the rolling bodies circulate partly without carrying load with a bearing body defining a U-shaped carriage, i.e. surrounding a guide rail or track on three sides
    • F16C29/0652Ball or roller bearings in which the rolling bodies circulate partly without carrying load with a bearing body defining a U-shaped carriage, i.e. surrounding a guide rail or track on three sides whereby the return paths are at least partly defined by separate parts, e.g. covers attached to the legs of the main body of the U-shaped carriage
    • F16C29/0666Ball or roller bearings in which the rolling bodies circulate partly without carrying load with a bearing body defining a U-shaped carriage, i.e. surrounding a guide rail or track on three sides whereby the return paths are at least partly defined by separate parts, e.g. covers attached to the legs of the main body of the U-shaped carriage with rollers
    • FMECHANICAL ENGINEERING; LIGHTING; HEATING; WEAPONS; BLASTING
    • F16ENGINEERING ELEMENTS AND UNITS; GENERAL MEASURES FOR PRODUCING AND MAINTAINING EFFECTIVE FUNCTIONING OF MACHINES OR INSTALLATIONS; THERMAL INSULATION IN GENERAL
    • F16CSHAFTS; FLEXIBLE SHAFTS; ELEMENTS OR CRANKSHAFT MECHANISMS; ROTARY BODIES OTHER THAN GEARING ELEMENTS; BEARINGS
    • F16C33/00Parts of bearings; Special methods for making bearings or parts thereof
    • F16C33/30Parts of ball or roller bearings
    • F16C33/38Ball cages
    • FMECHANICAL ENGINEERING; LIGHTING; HEATING; WEAPONS; BLASTING
    • F16ENGINEERING ELEMENTS AND UNITS; GENERAL MEASURES FOR PRODUCING AND MAINTAINING EFFECTIVE FUNCTIONING OF MACHINES OR INSTALLATIONS; THERMAL INSULATION IN GENERAL
    • F16CSHAFTS; FLEXIBLE SHAFTS; ELEMENTS OR CRANKSHAFT MECHANISMS; ROTARY BODIES OTHER THAN GEARING ELEMENTS; BEARINGS
    • F16C33/00Parts of bearings; Special methods for making bearings or parts thereof
    • F16C33/30Parts of ball or roller bearings
    • F16C33/38Ball cages
    • F16C33/3825Ball cages formed as a flexible belt, e.g. spacers connected by a thin film
    • FMECHANICAL ENGINEERING; LIGHTING; HEATING; WEAPONS; BLASTING
    • F16ENGINEERING ELEMENTS AND UNITS; GENERAL MEASURES FOR PRODUCING AND MAINTAINING EFFECTIVE FUNCTIONING OF MACHINES OR INSTALLATIONS; THERMAL INSULATION IN GENERAL
    • F16CSHAFTS; FLEXIBLE SHAFTS; ELEMENTS OR CRANKSHAFT MECHANISMS; ROTARY BODIES OTHER THAN GEARING ELEMENTS; BEARINGS
    • F16C33/00Parts of bearings; Special methods for making bearings or parts thereof
    • F16C33/30Parts of ball or roller bearings
    • F16C33/38Ball cages
    • F16C33/3887Details of individual pockets, e.g. shape or ball retaining means
    • FMECHANICAL ENGINEERING; LIGHTING; HEATING; WEAPONS; BLASTING
    • F16ENGINEERING ELEMENTS AND UNITS; GENERAL MEASURES FOR PRODUCING AND MAINTAINING EFFECTIVE FUNCTIONING OF MACHINES OR INSTALLATIONS; THERMAL INSULATION IN GENERAL
    • F16CSHAFTS; FLEXIBLE SHAFTS; ELEMENTS OR CRANKSHAFT MECHANISMS; ROTARY BODIES OTHER THAN GEARING ELEMENTS; BEARINGS
    • F16C33/00Parts of bearings; Special methods for making bearings or parts thereof
    • F16C33/30Parts of ball or roller bearings
    • F16C33/46Cages for rollers or needles
    • F16C33/50Cages for rollers or needles formed of interconnected members, e.g. chains
    • F16C33/506Cages for rollers or needles formed of interconnected members, e.g. chains formed as a flexible belt
    • FMECHANICAL ENGINEERING; LIGHTING; HEATING; WEAPONS; BLASTING
    • F16ENGINEERING ELEMENTS AND UNITS; GENERAL MEASURES FOR PRODUCING AND MAINTAINING EFFECTIVE FUNCTIONING OF MACHINES OR INSTALLATIONS; THERMAL INSULATION IN GENERAL
    • F16CSHAFTS; FLEXIBLE SHAFTS; ELEMENTS OR CRANKSHAFT MECHANISMS; ROTARY BODIES OTHER THAN GEARING ELEMENTS; BEARINGS
    • F16C2240/00Specified values or numerical ranges of parameters; Relations between them
    • F16C2240/40Linear dimensions, e.g. length, radius, thickness, gap
    • FMECHANICAL ENGINEERING; LIGHTING; HEATING; WEAPONS; BLASTING
    • F16ENGINEERING ELEMENTS AND UNITS; GENERAL MEASURES FOR PRODUCING AND MAINTAINING EFFECTIVE FUNCTIONING OF MACHINES OR INSTALLATIONS; THERMAL INSULATION IN GENERAL
    • F16CSHAFTS; FLEXIBLE SHAFTS; ELEMENTS OR CRANKSHAFT MECHANISMS; ROTARY BODIES OTHER THAN GEARING ELEMENTS; BEARINGS
    • F16C2240/00Specified values or numerical ranges of parameters; Relations between them
    • F16C2240/40Linear dimensions, e.g. length, radius, thickness, gap
    • F16C2240/44Hole or pocket sizes
    • FMECHANICAL ENGINEERING; LIGHTING; HEATING; WEAPONS; BLASTING
    • F16ENGINEERING ELEMENTS AND UNITS; GENERAL MEASURES FOR PRODUCING AND MAINTAINING EFFECTIVE FUNCTIONING OF MACHINES OR INSTALLATIONS; THERMAL INSULATION IN GENERAL
    • F16CSHAFTS; FLEXIBLE SHAFTS; ELEMENTS OR CRANKSHAFT MECHANISMS; ROTARY BODIES OTHER THAN GEARING ELEMENTS; BEARINGS
    • F16C2240/00Specified values or numerical ranges of parameters; Relations between them
    • F16C2240/40Linear dimensions, e.g. length, radius, thickness, gap
    • F16C2240/70Diameters; Radii

Definitions

  • the present invention relates to a motion guide device that freely guides a work table of a machine tool and a table of various conveying devices along a track rail.
  • a holding belt for keeping a constant interval between the rolling elements is incorporated in the endless circulation path together with the rolling elements.
  • the holding belt is formed of a flexible material such as synthetic resin, and pockets for accommodating rolling elements are arranged at regular intervals on the holding belt.
  • the holding belt is set to have an overall length shorter than the path length of the infinite circuit, and when incorporated into the infinite circuit, both end portions face each other with an interval in the endless circuit.
  • the rolling element rolls on the rolling surface of the track rail and the rolling surface of the moving block while rotating in the pocket of the holding belt, and as the ball circulates in the endless circuit, the holding belt also It circulates in the infinite circuit.
  • the rolling element infinite circulation path of the moving block includes a load path, a return path provided in parallel with the load path, and a pair of direction change paths connecting the ends of the load path and the return path. It is configured.
  • the load passage is a region where the rolling surface of the track rail and the rolling surface of the moving block face each other, and the rolling element rolls the load passage while applying a load between the track rail and the moving block. Run.
  • the return passage and the pair of direction change passages are no-load passages for returning the rolling elements from the end of the load passage to the starting end, and the rolling members do not apply any load in the passages.
  • the rolling elements in the load passage are forcibly rolled and travel in the passage.
  • the rolling elements in the passage and the pair of direction change paths do not roll by themselves, but are pulled or pushed by the rolling elements in the load passage via the holding belt to advance the return path and the pair of direction change paths. Will do.
  • the holding belt since the holding belt is incorporated in the endless circulation path so that both ends thereof face each other, due to the movement of the rolling elements in the endless circulation path, the holding belt includes When the end portion enters and exits the load passage, a tensile force along the circulation direction repeatedly acts. Along with this, there is a concern that the holding belt is partially rubbed against the belt guide groove provided in the direction change path and the uneven wear is promoted.
  • the motion guide device of the present invention includes a track rail, a large number of rolling elements that roll on the track rail, a moving block that has an infinite circulation path of the rolling members and is movable along the track rail, A pocket for accommodating the rolling elements at a predetermined interval, and a holding belt that is incorporated in the endless circulation path and moves in the endless circulation path together with the rolling elements.
  • both end portions of the holding belt are always pressed against each other via a free rolling element, and the holding belt As the belt circulates, the pulling force acting on the holding belt is reduced, and uneven wear of the holding belt can be prevented.
  • FIG. 1 It is a perspective view showing an example of an embodiment of a motion guidance device to which the present invention is applied. It is a side view which shows an example of the holding belt which can be used for the exercise
  • FIG. 1 is a perspective view showing an example of a motion guide device to which the present invention can be applied.
  • This motion guide device is composed of a track rail 1 extending linearly and a moving block 2 assembled to the track rail 1 through a large number of balls 3 as rolling elements, and the track is mounted on a fixed portion. By laying the rail 1 and mounting various movable bodies on the moving block 2, the movable body can be guided along the track rail 1 so as to be reciprocally movable.
  • the track rail 1 is formed in a long body having a substantially cross-sectional square shape.
  • the track rail 1 is formed with a plurality of bolt mounting holes 12 penetrating from the top surface to the bottom surface at a predetermined interval in the longitudinal direction.
  • the fixing rails inserted into the bolt mounting holes 12 are used to mount the track rail 1. It can be firmly fixed to fixing parts such as a bed and a column.
  • the left and right side surfaces of the track rail 1 are respectively provided with protrusions along the longitudinal direction, and one rolling surface 11 of the ball is provided above and below these protrusions.
  • the rolling surface 11 is provided.
  • the number of rolling surfaces 11 provided on the track rail 1 is not limited to this.
  • the moving block 2 is roughly composed of a metal block main body 21 and a pair of synthetic resin end plates 22 attached to both ends of the block main body 21 in the moving direction.
  • the moving block 2 includes a plurality of infinite circulation paths for the balls 3 corresponding to the rolling surfaces 11 of the track rail, and the endless circulation paths fix the pair of end plates to both ends of the moving block 2. It is completed by.
  • a flexible holding belt 30 is incorporated in each infinite circulation path, and a large number of balls 3 are arranged in a row on the holding belt 30. Accordingly, when the moving block 2 is moved in the longitudinal direction of the track rail 1 and the ball 3 rolls on the rolling surface of the track rail 1, the holding belt 30 circulates along the endless circuit with the ball 3. To do.
  • FIG. 1 is drawn with a quarter of the entire moving block 2 cut out so that the presence of the ball 3 and the holding belt 30 in the endless circulation path can be grasped.
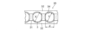
  • the holding belt 30 includes a plurality of spacer portions 31 arranged in a line at regular intervals, and a pair of coupling belt portions 32 that connect the spacer portions 31, and the spacer portions and the coupling belt portions are made of synthetic resin. It is manufactured by injection molding.
  • the holding belt 30 has flexibility as described above, and repeats stretching and bending when circulating in the endless circulation path together with the balls 3. At this time, it is only the coupling belt portion 32 that exhibits flexibility, and the coupling belt portion 32 can be flexed more freely than the spacer portion 31.
  • Each spacer portion 31 is provided with a concave seat 33 having a curvature similar to the spherical surface of the ball 3, and a space between adjacent spacer portions is a pocket 34 for accommodating the ball. Further, the end spacer portion 31a located at the end of the holding belt 30 is also formed in the same shape as the other spacer portions 31, and a free ball 3a described later is provided in the end spacer portion 31a in the endless circulation path. It comes into sliding contact with the concave seat 33a.
  • the diameter X of the accommodation pocket 34 of the ball 3 provided on the holding belt 30 is set slightly larger than the diameter Y of the ball 3.
  • the distance d between the spacer portions 31 adjacent to each other is set to be smaller than the diameter Y of the ball 3, and the ball 3 accommodated in the pocket 34 may fall out between the spacer portions 31 located on both sides. Absent.
  • the rolling element may be a roller.
  • the concave seat 33 formed in the spacer portion 31 is a concave seat having a curvature approximate to the outer peripheral surface of the roller.
  • the concave seat 33 formed in the spacer portion 31 is not essential, and from the viewpoint of avoiding direct contact between the rolling elements, the spacer portion 31 may be a simple flat plate. There is no problem.
  • the holding belt containing the ball 3 in the pocket 34 is incorporated in the endless circulation path 6. Both end portions of the holding belt 30 face each other inside the infinite circulation path 6, and a ball (hereinafter referred to as “free ball”) 3 a not accommodated in the pocket 34 is disposed therebetween.
  • the free balls 3 a are the same as the balls 3 arranged in the pockets 34 of the holding belt 30, and a load is applied between the track rail 1 and the block main body like the other balls 3. .
  • the spherical surface of the free ball 3a is in contact with the concave seat 33 of the end spacer portion 31a of the holding belt. Accordingly, a large number of balls 3 are arranged in the infinite circulation path 6 at a constant interval corresponding to the thickness of the spacer portion 31.
  • the path length A of the endless circulation path 6 is set smaller than the sum of the total length B of the holding belt 30 and the diameter C of the free ball 3a. Has been. That is, (B + C)> A It is.
  • the path length of the endless circulation path 6 is the length of one round of the locus drawn by the center of the ball 3 in the endless circulation path.
  • the total length B of the holding belt 30 is different from the deepest portion of the concave seat 33a of the holding belt when the end spacer 31a is formed with the concave seat 33a in contact with the free ball 3a. This is the distance to the deepest part of the end concave seat 33a.
  • the holding belt 30 is incorporated in the endless circulation path 6 in a state of being compressed in the longitudinal direction, and the pair of end spacer portions 31a positioned at both ends of the holding belt 30 are always provided with the free balls. It will come into contact with 3a.
  • the diameter X of each pocket 34 of the holding belt 30 is set to be larger than the diameter Y of the ball 3 accommodated therein, and the distance between the ball 3 accommodated in the pocket 34 and the spacer portion 31 is set. There is a gap (XY) between them. Therefore, by eliminating this gap, the holding belt 30 can be compressed without difficulty, and at this time, the individual coupling belt portions 32 are slightly compressed and bent.
  • the infinite circulation path 6 has a path length A, a total length B of the holding belt 30, a diameter C of the free ball 3 a, a diameter X of the pocket 34 of the holding belt 30, a diameter Y of the ball 3, and is arranged on the holding belt 30. If the total number Z of balls 3 to be played is set, the end spacer portion 31a of the holding belt 30 is inserted into the endless spacer 3 while holding one free ball 3a between both ends of the holding belt 30 incorporated in the endless circulation path 6. It is possible to always press the free ball 3a.
  • the holding belt 30 and the free ball 3a are incorporated in the endless circulation path 6 so as to satisfy the above-described conditions, the circulation direction of the holding belt 30 in the endless circulation path 6 can be reduced. Since the front end always presses the rear end, fluctuations in the pulling force acting on the holding belt 30 can be reduced, and uneven wear of the holding belt 30 in the endless circulation path 6 can be prevented. It becomes.

Landscapes

  • Engineering & Computer Science (AREA)
  • General Engineering & Computer Science (AREA)
  • Mechanical Engineering (AREA)
  • Bearings For Parts Moving Linearly (AREA)
  • Rolling Contact Bearings (AREA)
PCT/JP2016/085731 2015-12-15 2016-12-01 運動案内装置 Ceased WO2017104428A1 (ja)

Priority Applications (3)

Application Number Priority Date Filing Date Title
CN201680066512.5A CN108350937B (zh) 2015-12-15 2016-12-01 运动引导装置
US15/781,964 US10436248B2 (en) 2015-12-15 2016-12-01 Motion guide device
DE112016005728.8T DE112016005728T5 (de) 2015-12-15 2016-12-01 Bewegunsführungsvorrichtung

Applications Claiming Priority (2)

Application Number Priority Date Filing Date Title
JP2015-244324 2015-12-15
JP2015244324A JP6373246B2 (ja) 2015-12-15 2015-12-15 運動案内装置

Publications (1)

Publication Number Publication Date
WO2017104428A1 true WO2017104428A1 (ja) 2017-06-22

Family

ID=59056345

Family Applications (1)

Application Number Title Priority Date Filing Date
PCT/JP2016/085731 Ceased WO2017104428A1 (ja) 2015-12-15 2016-12-01 運動案内装置

Country Status (6)

Country Link
US (1) US10436248B2 (enExample)
JP (1) JP6373246B2 (enExample)
CN (1) CN108350937B (enExample)
DE (1) DE112016005728T5 (enExample)
TW (1) TWI700440B (enExample)
WO (1) WO2017104428A1 (enExample)

Families Citing this family (6)

* Cited by examiner, † Cited by third party
Publication number Priority date Publication date Assignee Title
JP6385384B2 (ja) * 2016-04-11 2018-09-05 Thk株式会社 転がり案内装置
JP1586244S (enExample) * 2017-05-09 2020-09-14
USD875150S1 (en) * 2017-05-31 2020-02-11 Thk Co., Ltd. End plate for motion guide device
JP6834789B2 (ja) 2017-06-05 2021-02-24 コベルコ建機株式会社 ストラットの引き起こし方法、およびクレーン
TWI708019B (zh) * 2019-03-11 2020-10-21 精浚科技股份有限公司 線性滑軌的滾動模組及鏈帶
CN111720445B (zh) * 2019-03-20 2022-02-01 精浚科技股份有限公司 线性滑轨的滚动模块及链带

Citations (5)

* Cited by examiner, † Cited by third party
Publication number Priority date Publication date Assignee Title
JPH0552217A (ja) * 1991-08-22 1993-03-02 T H K Kk ボールチエイン
JPH112241A (ja) * 1997-06-13 1999-01-06 Thk Kk 転動体付ベルト
JP2007154905A (ja) * 2005-11-30 2007-06-21 Nsk Ltd 直動案内装置用転動体収容ベルトおよび直動案内装置、並びに転動体収容ベルト製造用金型
JP2008185045A (ja) * 2007-01-26 2008-08-14 Nsk Ltd 直動案内装置
WO2010074155A1 (ja) * 2008-12-26 2010-07-01 Thk株式会社 転動体リテーナ及びこれを用いた無限循環式直線運動装置

Family Cites Families (7)

* Cited by examiner, † Cited by third party
Publication number Priority date Publication date Assignee Title
JP3243415B2 (ja) 1996-06-27 2002-01-07 テイエチケー株式会社 摺動案内装置及びその有端転動体チェーン
JPH112243A (ja) * 1997-06-10 1999-01-06 Nippon Seiko Kk 潤滑剤供給体
JP2000046052A (ja) * 1998-07-28 2000-02-15 Nippon Seiko Kk 直動案内装置
JP2000120674A (ja) * 1998-10-12 2000-04-25 Nsk Ltd 直線運動案内装置
DE102006059161B4 (de) * 2005-12-15 2023-01-12 Nsk Ltd. Lineare Führungsvorrichtung
US20080085067A1 (en) * 2006-10-05 2008-04-10 Hsin-Tsun Hsu Linear Guideway with Synchronously Operating Spacers
US8408796B1 (en) * 2011-11-21 2013-04-02 Chieftech Precision Co., Ltd. Rolling element retainer belt and linear motion guide apparatus

Patent Citations (5)

* Cited by examiner, † Cited by third party
Publication number Priority date Publication date Assignee Title
JPH0552217A (ja) * 1991-08-22 1993-03-02 T H K Kk ボールチエイン
JPH112241A (ja) * 1997-06-13 1999-01-06 Thk Kk 転動体付ベルト
JP2007154905A (ja) * 2005-11-30 2007-06-21 Nsk Ltd 直動案内装置用転動体収容ベルトおよび直動案内装置、並びに転動体収容ベルト製造用金型
JP2008185045A (ja) * 2007-01-26 2008-08-14 Nsk Ltd 直動案内装置
WO2010074155A1 (ja) * 2008-12-26 2010-07-01 Thk株式会社 転動体リテーナ及びこれを用いた無限循環式直線運動装置

Also Published As

Publication number Publication date
US20180355915A1 (en) 2018-12-13
TWI700440B (zh) 2020-08-01
DE112016005728T5 (de) 2018-09-06
CN108350937A (zh) 2018-07-31
JP6373246B2 (ja) 2018-08-15
US10436248B2 (en) 2019-10-08
TW201732170A (zh) 2017-09-16
CN108350937B (zh) 2019-12-20
JP2017110704A (ja) 2017-06-22

Similar Documents

Publication Publication Date Title
JP6373246B2 (ja) 運動案内装置
JP6173217B2 (ja) 運動案内装置
JP3263005B2 (ja) 転がり案内装置
CN107614904B (zh) 滚动引导装置
CN108779797B (zh) 滚动导向装置
JPH10110728A (ja) ローラチェイン
US7585112B2 (en) Linear motion guide apparatus
CN107448473B (zh) 滚动引导装置
WO2013136929A1 (ja) 転がり案内装置
JP2013217449A (ja) 転がり案内装置
JP2008175324A (ja) ボール連結体
JP2012026534A (ja) 転動体保持スペーサ及びこれを用いた運動案内装置
CN113661332A (zh) 运动引导装置
JP6338853B2 (ja) ローラ連結体及びこれを用いた転がり案内装置
JP6364157B2 (ja) 運動案内装置
JP3436708B2 (ja) 直線運動案内装置
JP2012002361A (ja) 案内装置用ローラーリテーナ及びこれを用いた案内装置
JP4501862B2 (ja) 転動体収容ベルトおよび直動案内装置
JP2008240882A (ja) リニアガイド装置
JP2002339969A (ja) ローラチェイン
JP4600340B2 (ja) 転動体収容ベルトおよび直動案内装置
JP2006242388A (ja) ボールチェーン
KR20060060798A (ko) 가이드 벨트
TWM521126U (zh) 移動導引裝置用的鏈帶保持器
JP2009127799A (ja) 有端状の転動体収容ベルトおよびこれを備えた直動案内装置

Legal Events

Date Code Title Description
121 Ep: the epo has been informed by wipo that ep was designated in this application

Ref document number: 16875411

Country of ref document: EP

Kind code of ref document: A1

WWE Wipo information: entry into national phase

Ref document number: 112016005728

Country of ref document: DE

122 Ep: pct application non-entry in european phase

Ref document number: 16875411

Country of ref document: EP

Kind code of ref document: A1