WO2017026431A1 - 薬剤払出し装置 - Google Patents

薬剤払出し装置 Download PDF

Info

Publication number
WO2017026431A1
WO2017026431A1 PCT/JP2016/073247 JP2016073247W WO2017026431A1 WO 2017026431 A1 WO2017026431 A1 WO 2017026431A1 JP 2016073247 W JP2016073247 W JP 2016073247W WO 2017026431 A1 WO2017026431 A1 WO 2017026431A1
Authority
WO
WIPO (PCT)
Prior art keywords
container
medicine
powder
drug
moving means
Prior art date
Legal status (The legal status is an assumption and is not a legal conclusion. Google has not performed a legal analysis and makes no representation as to the accuracy of the status listed.)
Ceased
Application number
PCT/JP2016/073247
Other languages
English (en)
French (fr)
Japanese (ja)
Inventor
安田 真也
Current Assignee (The listed assignees may be inaccurate. Google has not performed a legal analysis and makes no representation or warranty as to the accuracy of the list.)
Yuyama Manufacturing Co Ltd
Original Assignee
Yuyama Manufacturing Co Ltd
Priority date (The priority date is an assumption and is not a legal conclusion. Google has not performed a legal analysis and makes no representation as to the accuracy of the date listed.)
Filing date
Publication date
Family has litigation
First worldwide family litigation filed litigation Critical https://patents.darts-ip.com/?family=57984223&utm_source=google_patent&utm_medium=platform_link&utm_campaign=public_patent_search&patent=WO2017026431(A1) "Global patent litigation dataset” by Darts-ip is licensed under a Creative Commons Attribution 4.0 International License.
Application filed by Yuyama Manufacturing Co Ltd filed Critical Yuyama Manufacturing Co Ltd
Priority to CN201680045611.5A priority Critical patent/CN107847397A/zh
Priority to JP2016557671A priority patent/JP6094952B1/ja
Priority to KR1020187003215A priority patent/KR102531220B1/ko
Publication of WO2017026431A1 publication Critical patent/WO2017026431A1/ja
Anticipated expiration legal-status Critical
Ceased legal-status Critical Current

Links

Images

Classifications

    • BPERFORMING OPERATIONS; TRANSPORTING
    • B65CONVEYING; PACKING; STORING; HANDLING THIN OR FILAMENTARY MATERIAL
    • B65BMACHINES, APPARATUS OR DEVICES FOR, OR METHODS OF, PACKAGING ARTICLES OR MATERIALS; UNPACKING
    • B65B1/00Packaging fluent solid material, e.g. powders, granular or loose fibrous material, loose masses of small articles, in individual containers or receptacles, e.g. bags, sacks, boxes, cartons, cans, or jars
    • B65B1/30Devices or methods for controlling or determining the quantity or quality or the material fed or filled
    • AHUMAN NECESSITIES
    • A61MEDICAL OR VETERINARY SCIENCE; HYGIENE
    • A61JCONTAINERS SPECIALLY ADAPTED FOR MEDICAL OR PHARMACEUTICAL PURPOSES; DEVICES OR METHODS SPECIALLY ADAPTED FOR BRINGING PHARMACEUTICAL PRODUCTS INTO PARTICULAR PHYSICAL OR ADMINISTERING FORMS; DEVICES FOR ADMINISTERING FOOD OR MEDICINES ORALLY; BABY COMFORTERS; DEVICES FOR RECEIVING SPITTLE
    • A61J3/00Devices or methods specially adapted for bringing pharmaceutical products into particular physical or administering forms
    • BPERFORMING OPERATIONS; TRANSPORTING
    • B65CONVEYING; PACKING; STORING; HANDLING THIN OR FILAMENTARY MATERIAL
    • B65BMACHINES, APPARATUS OR DEVICES FOR, OR METHODS OF, PACKAGING ARTICLES OR MATERIALS; UNPACKING
    • B65B1/00Packaging fluent solid material, e.g. powders, granular or loose fibrous material, loose masses of small articles, in individual containers or receptacles, e.g. bags, sacks, boxes, cartons, cans, or jars
    • B65B1/04Methods of, or means for, filling the material into the containers or receptacles
    • BPERFORMING OPERATIONS; TRANSPORTING
    • B65CONVEYING; PACKING; STORING; HANDLING THIN OR FILAMENTARY MATERIAL
    • B65BMACHINES, APPARATUS OR DEVICES FOR, OR METHODS OF, PACKAGING ARTICLES OR MATERIALS; UNPACKING
    • B65B35/00Supplying, feeding, arranging or orientating articles to be packaged
    • B65B35/30Arranging and feeding articles in groups
    • B65B35/34Arranging and feeding articles in groups by agitators or vibrators

Definitions

  • the present invention relates to a medicine dispensing apparatus, and more particularly to a medicine dispensing apparatus that wraps and dispenses powdered medicine for each dose.
  • the powder medicine packaging device is an apparatus for individually packaging powder medicines for each dose based on prescription information. If you use a powder packaging device, you can automate most of the work of packing powder for each dose.
  • the conventional medicine dispensing device is composed of, for example, a powder distribution unit that distributes a powder for each dose and a packaging device that individually packages the distributed powder as disclosed in Patent Document 1.
  • the powder distribution part has a powder feeder, a distribution tray, and a scraping device.
  • the pharmacist confirms the doctor's prescription and takes out the medicine bottle containing the prescribed powder from the medicine shelf.
  • the total weight of the specific powder prescribed using a balance such as a balance is measured.
  • the weighed powder is put into the hopper of the powder feeder, and the trough of the powder feeder is vibrated to drop the powder onto the distribution tray.
  • the distribution tray is continuously rotated at a constant rotational speed to be evenly distributed in the grooves of the distribution tray.
  • the scraping plate of the scraping device is dropped into the groove of the distribution tray, the distribution tray is rotated by an angle corresponding to the number of distributions, and a single dose of powder is collected on the front side of the scraping plate. Then, the scraping plate is rotated, and the powder is scraped out of the distribution tray by the scraping plate, sent to the packaging device side, and packaged by the packaging device one by one.
  • Patent Document 2 An automated medicine dispensing device
  • the medicine dispensing device developed by the present applicant and disclosed in Patent Document 2 has a vibrating table arranged around a distribution tray.
  • a load cell is provided as a weighing unit on the vibration table.
  • the medicine dispensing device disclosed in Patent Document 2 has a container shelf for storing a large number of medicine containers, and a robot for taking out the medicine containers from the shelf and placing them on a vibration table.
  • a medicine container is taken out from a container shelf by a robot and moved to a vibrating table, and the medicine container is vibrated to drop the powder directly from the medicine container onto a distribution tray.
  • the weight of the medicine container is monitored by a load cell attached to the shaking table to detect the amount of the powder falling.
  • the subsequent steps are the same as in the past, and the dispensing tray is continuously rotated at a constant rotational speed to evenly distribute (distribute) the powder in the grooves of the dispensing tray.
  • the scraping plate of the scraping device is dropped into the groove of the distribution tray, the distribution tray is rotated by an angle corresponding to the number of distributions, and the powder for one dose is collected on the front side of the scraping plate, and the powder is scattered by the scraping plate. Is scraped out of the distribution tray, sent to the packaging device, and packaged by the packaging device.
  • the work of the pharmacist is greatly reduced and the medicine can be accurately packaged in a short time.
  • further improvements are required in the market.
  • the development of a medicine dispensing apparatus that can package medicine more quickly and more accurately and can reduce the size of the entire apparatus without reducing the number of medicine containers that can be accommodated. Is required in the market.
  • the drug dispensing device of the prior art uses a dispensing tray, but the drug dispensing device using the dispensing tray is unsuitable for dispensing a small amount of a prescription powder for a child. That is, the size (diameter) of the distribution tray corresponds to the maximum capacity that can be packed at one time. Specifically, the size (diameter) of the distribution dish is designed so as to be able to cope with a large amount of powder contained in one package and a large number of doses.
  • the present invention has been developed to meet the market demands described above, and it is an object of the present invention to develop a medicine dispensing device that can achieve any of the above-described objects.
  • the aspect of the medicine dispensing apparatus includes a medicine container that stores powder medicine, a medicine container housing section that stores a plurality of medicine containers, a container moving means, and a packaging device, and the medicine container in the medicine container housing section is container moving means.
  • the container moving means includes a container holding means for holding the medicine container and a transport for moving the container holding means. And a discharge mechanism for discharging the powder from the drug container, the drug container stored in the drug container storage unit is taken out by the container moving means, the drug container is held by the holding means of the container moving means, and the transport means is used.
  • a medicine dispensing device wherein the medicine container is moved to a predetermined position, and the medicine is discharged from the medicine container by the discharge mechanism in a state where the medicine container is held by the container holding means of the container moving means.
  • the container moving means has a discharge mechanism, and the powder medicine can be discharged from the medicine container by the discharge mechanism in a state where the medicine container is held by the container holding means of the container moving means. Therefore, it is possible to eliminate a separate shaking table, and the apparatus can be reduced in size.
  • the container moving means has a metering means, and it is possible to quantitatively discharge the powder medicine from the medicine container for each dose unit by the discharge mechanism.
  • the distribution tray can be eliminated, and the apparatus can be downsized.
  • the structure which can transfer a powder medicine to a packaging apparatus may be sufficient.
  • the distribution tray can be eliminated, and the apparatus can be downsized. Further, by providing the container moving means with the measuring means and further providing the temporary container with the measuring means, the amount of the medicine can be measured more accurately.
  • a drug container for storing powder a drug container storage unit for storing a plurality of drug containers, and a container moving unit, and the drug container in the drug container storage unit is moved by the container moving unit
  • the container moving means measures the container holding means for holding the medicine container, the transport means for moving the container holding means, and the medicine container held by the container holding means. Take out the medicine container stored in the medicine container storage part with the container moving means, hold the medicine container with the holding means of the container moving means, and move the medicine container to the predetermined position with the transport means
  • the medicine dispensing device is characterized in that the weight of the medicine container is measured by the weighing means at any stage.
  • the distribution tray can be eliminated, and the apparatus can be downsized.
  • the present invention can be applied to a medicine dispensing device having a distribution tray. In that case, a separate weighing means can be omitted.
  • the amount of the medicine can be detected more accurately by measuring the amount of the medicine in a double manner by another measuring means provided in the separate weighing means and the container moving means.
  • a container installation table the container installation table includes a discharge mechanism for discharging the powder from the drug container, the drug container is moved to the container installation table by the container moving means, and the powder drug is discharged from the drug container by the discharge mechanism; You may combine each above-mentioned structure.
  • the container installation table has a container installation table, and the container installation table is equipped with a discharge mechanism for discharging the powder from the drug container, the drug container is moved to the container installation table by the container moving means, and the powder drug is discharged from the drug container by the discharge mechanism.
  • the container mounting table has a measuring means, and the weight of the drug container before the drug container is set on the container setting table is measured by the measuring means of the container moving means, and the powder is discharged from the drug container by the discharging mechanism.
  • the container installation table has a container installation table, and the container installation table is equipped with a discharge mechanism for discharging the powder from the drug container, the drug container is moved to the container installation table by the container moving means, and the powder drug is discharged from the drug container by the discharge mechanism.
  • the container mounting table has a measuring means, and the weight of the drug container before the drug container is set on the container setting table is measured by the measuring means of the container moving means, and the powder is discharged from the drug container by the discharging mechanism.
  • the container moving means may include a discharge mechanism for discharging the powder from the drug container, and the powder moving mechanism may be capable of discharging the powder from the drug container while the drug container is held by the container holding means of the container moving means.
  • a medicine container for storing powder for storing powder
  • a discharging device for discharging powder from the medicine container and a medicine dispensing apparatus having a packaging device
  • the discharging device is provided with discharge-side metering means and discharged from the medicine container.
  • a temporary storage container for temporarily storing the powdered powder, and the temporary storage container has a receiving-side measuring means.
  • the discharge device discharges the drug from the drug container and temporarily stores it in the temporary storage container.
  • the medicine dispensing device is characterized in that when a dose of powder is collected, the powder in the temporary container is transferred to a packaging device.
  • the distribution tray can be eliminated, and the apparatus can be downsized.
  • the drug dispensing device of the present invention has an effect that it is possible to improve at least one of speediness, accuracy, and miniaturization as compared with the conventional one.
  • FIG. 1 It is a conceptual diagram of the chemical
  • FIG. 1 It is a conceptual diagram of the principal part of the chemical
  • the medicine dispensing device 1 of the present embodiment is surrounded by a housing 2 and includes a medicine container housing portion 3 for storing a plurality of medicine containers 30 therein, a container moving means 5, and a packaging device 6. Yes.
  • the drug containers 30 stored in the drug container storage unit 3 store desired powders, respectively.
  • the housing 2 is roughly divided into two upper and lower stages, the drug container housing 3 and the container moving means 5 are on the upper side, and the packaging device 6 is on the lower side.
  • the drug container housing part 3 includes a vertical drum member 7 that rotates in a substantially horizontal direction, and a plurality of container installation parts 13 are provided on the outer peripheral surface of the drum member 7.
  • a desired drug container 30 is mounted on the container setting portion 13 of the drum member 7. Then, the robot 10 of the container moving means 5 described later is brought close to the medicine container 30, and the medicine container 30 is attached and detached by the robot 10.
  • the container moving means 5 is comprised by the raising / lowering mechanism 8 and the robot 10 like FIG.
  • the elevating mechanism 8 and the robot 10 constitute a conveying means
  • the hand portion 18 of the robot 10 constitutes a container holding means.
  • the elevating mechanism 8 is a linear guide provided in the vertical direction, and includes a linear rail 11 and an elevating platform 12.
  • a rack (not shown) is formed on the straight rail 11, and a motor and pinion gear (not shown) are provided on the lifting platform 12.
  • the elevator 12 moves up and down by operating a motor (not shown).
  • the robot 10 includes two arm members 15 and 16 and a hand unit 18. That is, the first arm member 15 is attached to the lifting platform 12 via a vertical shaft (not shown), and rotates in the horizontal direction around the lifting platform 12 by driving a motor attached to the lifting platform 12. .
  • the second arm member 16 is attached to the tip of the first arm member 15 via a vertical shaft (not shown), and by driving a motor attached to the tip of the first arm member 15, the first arm member 15 is driven. It rotates in the horizontal direction around the tip.
  • the hand unit 18 holds the drug container 30 and changes its posture, a vibration function (discharge mechanism) that holds and vibrates the drug container, and a weight measurement function that measures the weight of the drug container. (Measuring means).
  • the hand portion 18 has a container holding palm portion 21 as shown in FIG.
  • An electromagnet 24 is attached to the container holding palm 21.
  • the hand portion 18 is attached to the tip of the second arm member 16 via a vertical shaft (not shown), and rotates in the horizontal direction around the tip of the second arm member 16 by driving the motor. Accordingly, the container holding palm portion 21 can take a parallel posture or a vertical posture. Further, the medicine container 30 can be held by the electromagnet 22.
  • vibration means 22 a and 22 b and first weight measuring means (metering means) 25 are arranged between the container holding palm portion 21 and the main body portion 23 of the hand portion 18.
  • the vibration means 22a and 22b are piezoelectric elements.
  • the weight measuring means 25 is a weighing means, specifically a load cell.
  • An anti-vibration member 38 is disposed between the vibration means 22 a and 22 b and the weight measurement means 25, and vibrations of the vibration means 22 a and 22 b are not directly transmitted to the weight measurement means 25.
  • the medicine in the medicine container 30 is discharged by vibrating the medicine container 30 with the vibration means 22a and 22b.
  • a discharging mechanism is configured by the vibration means 22a and 22b, and the container moving means 5 has a discharging function.
  • the first weight measuring means 25 constitutes a weighing means
  • the container moving means 5 includes a weighing means.
  • the packaging device 6 is a machine for packaging a medicine for each dose, similarly to the known device, and is constituted by a packaging paper supply device 32 and a bag making device 33 as is well known. Moreover, the powder injection
  • the powder charging hopper 31 includes a main hopper 26 and an auxiliary hopper 27.
  • the packaging paper supply device 32 is a part that supplies the sheet-shaped packaging paper 28 to the packaging unit.
  • the bag making apparatus 33 is a part that bends the sheet-like wrapping paper 28 and introduces powder into it, and then fuses the sides of the sheet to form a bag.
  • the wrapping paper supply device 32 and the bag making device 33 employed in the present embodiment are both known ones and will not be described in detail.
  • the main hopper 26 of the powder charging hopper 31 is a device that receives the powder dropped from the drug container 30.
  • the main hopper 26 functions as a temporary container.
  • the auxiliary hopper 27 connects the main hopper 26 and the packaging device 6 and introduces powder to the packaging device 6 side.
  • the main hopper 26 has a funnel shape. That is, the main hopper 26 has an introduction side opening with a large opening area and a discharge side opening with a small opening area.
  • the discharge-side opening is at the lower end of the main hopper 26 and is provided with an opening / closing plate 35.
  • the open / close plate 35 can be opened and closed by power, and can open and close the discharge side opening.
  • the main hopper 26 is provided with the second weight measuring means 36.
  • the second weight measuring means 36 is a weighing means, specifically a load cell.
  • the auxiliary hopper 27 is a simple funnel-shaped member, the upper part is in the vicinity of the discharge side opening of the main hopper 26, and the lower part reaches the packaging device 6, and powder is introduced into the folded sheet-shaped wrapping paper 28. To do.
  • the medicine container 30 is a sealed container, and includes a container body 40 and a lid member 43.
  • the container body 40 is a vertically long container made of resin.
  • the container body 40 is provided with a transporting iron plate portion 41.
  • the transporting iron plate portion 41 is divided into two small transporting iron plate portions 41a and 41b.
  • the transporting iron plate portion 41 is made of a steel plate containing a magnetic component such as ferrite.
  • the lid member 43 has a lid main body 45 and a movable lid 48.
  • the movable lid portion 48 has a knob portion 50, and the movable lid portion 48 is opened by pressing the knob portion 50. And the movable cover part 48 is maintained in the opened state.
  • the lid member 43 is attached to the container body 40 as shown in FIG.
  • the medicine dispensing apparatus 1 of the present embodiment discharges medicine from a medicine container 30 for each dose, sends it to the downstream packaging device 6, and wraps the medicine for each dose.
  • a desired powder is stored in advance in the medicine container 30 stored in the medicine container housing 3.
  • the medicine dispensing apparatus 1 according to the present embodiment can automatically perform an operation of selecting a medicine according to a prescription, an operation of taking out a medicine for each dose from the medicine container 30, and an operation of packaging the medicine by the packaging device 6. it can.
  • the medicine dispensing device 1 of the present embodiment automatically selects the medicine container 30 according to the prescription. Specifically, the drum member 7 of the medicine container housing 3 is rotated to bring the desired medicine container 30 closer to the container moving means 5.
  • the hand container 18 of the container moving means 5 holds the drug container 30 and moves the drug container 30 directly above the powder injection hopper 31 by operating an arm or the like. Further, the posture of the medicine container 30 is kept horizontal. Further, the knob 50 of the movable lid 48 is pressed by a device (not shown) to open the movable lid 48.
  • the vibrating units 22 a and 22 b are activated to vibrate the container holding palm unit 21.
  • the powder in the medicine container 30 moves slowly, is discharged from the medicine container 30 and falls to the main hopper 26 of the powder injection hopper 31.
  • the open / close plate 35 of the main hopper 26 is closed, and the dropped medicine accumulates in the main hopper 26.
  • the weight of the medicine container 30 is measured by the first weight measuring means 25 of the container moving means 5. Meanwhile, the weight of the medicine container 30 is monitored, and the vibration of the container holding palm portion 21 is stopped when the total amount of powder drops reaches a desired weight.
  • the first weight measuring means 25 measures the original weight G which is the weight of the medicine container 30 before the medicine is discharged, and when the powder medicine is discharged from the medicine container 30 little by little, the first weight measuring means 25 makes the medicine container Monitor the weight of 30.
  • the current weight g which is the current weight of the drug container 30
  • the discharge of powder from the drug container 30 is stopped.
  • the vibration of the container holding palm 21 is stopped when the total fall amount is equal to the dose.
  • the main hopper 26 is also provided with weight measuring means (second weight measuring means 36).
  • the discharge amount of the medicine is monitored by the second weight measuring means 36.
  • the discharge amount of the drug is confirmed by the second weight measuring means 36, and it is confirmed that the discharge amount of the drug corresponds to one dose of the patient.
  • the medicine is introduced to the packaging device 6 side through the auxiliary hopper 27. Then, the medicine is packaged by the packaging device 6.
  • the vibration of the vibrating means 22a and 22b is restarted, the container holding palm portion 21 is vibrated again, the above-described series of steps are repeated, and a single dose of powder is put into the main hopper 26 from the drug container 30.
  • the opening / closing plate 35 is opened and introduced into the packaging device 6, and the medicine for one dose is packaged by the packaging device 6.
  • the powder medicine is quantitatively discharged from the medicine container 30 for each dosage unit by the ejection mechanism provided in the container moving means 5, and the medicine for each dosage is packaged by the packaging device 6.
  • the knob 50 of the movable lid 48 is returned by an unillustrated device, and the movable lid 48 is closed. Then, the container moving means 5 is operated to return the medicine container 30 to the drum member 7 of the medicine container housing 3.
  • the medicine dispensing apparatus 1 includes a first weight measuring means 25 as a discharge-side measuring means in the discharge device of the container moving means 5, and a temporary storage container for temporarily storing the powder discharged from the drug container 30.
  • a main hopper 26 functioning as a temporary container has a second weight measuring means 36 as a receiving side measuring means. Then, the medicine is discharged from the medicine container 30 by the discharging device and temporarily placed in the temporary container, and when the powder for one dose accumulates in the main hopper 26 as the temporary container, the powder in the main hopper 26 is transferred to the packaging device 6. It is.
  • the medicine dispensing apparatus 1 of the present embodiment since the medicine is weighed twice, the amount of powder contained in the package is accurate.
  • the medicine dispensing device 1 of the present embodiment when one of the first weight measuring means 25 or the second weight measuring means 26 fails for some reason, it is possible to detect the fact. That is, since the detected weights of the first weight measuring means 25 and the second weight measuring means 26 should be the same, when the detected weights of the two are different, either the first weight measuring means 25 or the second weight measuring means 26 is used. Seems to have failed. Further, since the medicine dispensing device 1 of the present embodiment does not require a distribution tray, the device can be downsized.
  • the powder injection hopper 31 is divided into the main hopper 26 and the auxiliary hopper 27.
  • the medicine discharged from the medicine container 30 is temporarily stored.
  • a temporary storage container 52 may be provided, and the temporary storage container 52 may be provided with weight measurement means (second weight measurement means 37).
  • the temporary storage container 52 used in the medicine dispensing device 51 shown in FIG. 5 is cup-shaped and has a bottom.
  • the medicine discharged from the medicine container 30 is received with the opening of the temporary storage container 52 to be stored up.
  • the temporary storage container 52 to be stored is tilted or inverted, and the posture is changed to the upside down direction, and the powder is put into the powder injection hopper 55.
  • Other configurations are the same as those of the previous embodiment.
  • the medicine dispensing apparatus 51 of the present embodiment since the medicine is weighed twice, the weighing is accurate. In addition, since the medicine dispensing device 51 of the present embodiment does not require a tray, the device can be downsized.
  • a medicine dispensing device 56 having a structure shown in FIG. 6 can be considered.
  • the medicine dispensing device 56 shown in FIG. 6 does not have the second weight measuring means.
  • the powder is charged directly from the drug container 30 into the powder charging hopper 55. That is, the vibration means 22a and 22b are activated while the medicine container 30 is held by the hand portion 18 of the container moving means 5, and the container holding palm portion 21 is vibrated to directly apply the powder to the powder injection hopper 55. Drop it.
  • the weight of the medicine container 30 is monitored by the first weight measuring means 25, and the vibration of the container holding palm portion 21 is stopped when the total amount of the powder drops reaches a desired weight.
  • Other configurations are the same as those of the previous embodiment.
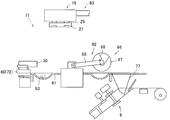
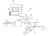
  • the powder medicine may be put into the distribution tray 61 from the medicine container 30 by the discharging function of the container moving means 5.
  • the medicine dispensing device 60 has a distribution tray 61 and a scraping device 62 as in the prior art.
  • the distribution tray 61 is the same as a well-known thing, and is a dish-shaped member.
  • the distribution tray 61 is provided with a medicine insertion groove 63 on the upper surface side.
  • the medicine insertion groove 63 is also referred to as an “R groove”, and has a circular cross section.
  • the scraping device 62 includes a scraping arm 65 and a scraping mechanism 66.
  • the scraping arm 65 can be moved up and down by moving the scraping arm 65 up and down.
  • the hand portion 18 of the container moving means 5 holds the medicine container 30 and moves the medicine container 30 directly above the medicine input groove 63 of the distribution tray 61 by operating an arm or the like.
  • the vibration means 22 a and 22 b of the container moving means 5 are activated to vibrate the container holding palm portion 21, thereby dispensing the medicine. It falls into the medicine charging groove 63. Further, the distribution tray 61 is rotated before and after the start of vibration. Then, before and after the start of vibration, the weight of the medicine container 30 is measured. Meanwhile, the weight of the medicine container 30 is monitored by the first weight measuring means 25, and the vibration of the container holding palm portion 21 is stopped when the total amount of powder drops reaches a desired weight.
  • the total fall amount is the total amount for a plurality of doses.
  • the rotation of the distribution tray 61 is stopped.
  • the scraping arm 65 is swung, the tip end side is lowered to lower the scraping mechanism 66, and the scraping mechanism 66 is placed in the medicine feeding groove 63 of the distribution tray 61.
  • the distribution tray 61 is rotated by an angle corresponding to the number of distribution, and scraped to the scraping plate 67.
  • the scraping plate 67 is rotated, the drug is scooped up by the scraping plate 68, the drug is discharged from the distribution tray 61, and charged into the powder charge hopper 77.
  • the medicine falls on the powder injection hopper 77 and is carried to the packaging device 6, and is packaged by the packaging device 6. This operation is sequentially repeated to discharge all the medicine in the distribution tray 61 and each medicine is packaged by the packaging device 6.
  • the container moving means 5 is provided with the weight measuring means (first weight measuring means 25), but the vibration means 22a and 22b are provided based on the detection values of the weight measuring means at other positions. It may be operated.
  • a medicine dispensing device 70 shown in FIG. 8 is a modification of the medicine dispensing device 1 shown in FIG. 4, and the container moving means 5 has no weight measuring means (first weight measuring means 25).
  • the other configuration is the same as that of the medicine dispensing apparatus 1 shown in FIG.
  • the medicine container 30 is held by the hand portion 18 of the container moving means 5, and an arm or the like is operated to move the medicine container 30 directly above the powder injection hopper 31.
  • the vibration means 22 a and 22 b are activated, the container holding palm portion 21 is vibrated, and the drug is fed from the drug container 30 to the powder injection hopper 31.
  • the main hopper 26 falls.
  • the weight of the medicine container 30 is measured by the second weight measuring means 36 on the main hopper 26 side. That is, the weight of the medicine accumulated in the main hopper 26 is measured by the second weight measuring means 36 on the main hopper 26 side. Then, when the weight of the medicine accumulated in the main hopper 26 coincides with or substantially coincides with the value obtained by subtracting the target discharge amount from the original weight G, the discharge of the powder from the medicine container 30 is stopped. More specifically, the vibration means 22a and 22b are stopped when the dose of the patient is reached, and the discharge of powder from the drug container 30 is stopped.
  • the medicine dispensing device 71 shown in FIG. 9 is a modification of the medicine dispensing device 51 shown in FIG. 5, and the container moving means 5 does not have a weight measuring means (first weight measuring means 25).
  • the other configuration is the same as that of the medicine dispensing device 51.
  • a container mounting device (container mounting table) 80 may be disposed around the distribution tray 61 as in the medicine dispensing device 75 shown in FIG.
  • the container mounting device 80 includes a vibration table 72.
  • the container mounting device 80 functions as a container mounting table on which the medicine container 30 is installed.
  • the container mounting device 80 includes a vibration table 72 and includes a discharge mechanism that discharges the powder from the drug container 30.
  • the container mounting device 80 includes a vibration table 72 and weight measuring means 76 that directly or indirectly measures the weight of the medicine container 30.
  • a drop confirmation sensor (not shown) is also provided.
  • the vibration table 72 is provided with container holding means for temporarily fixing the drug container 30 to the vibration table 72.
  • the container holding means is specifically magnets 76a and 76b.
  • Excitation means 78 are attached to both ends of the vibration table 72 in an inclined posture.
  • the vibration means 78 is a piezoelectric element.
  • the fall confirmation sensor is, for example, a photoelectric sensor, and is a sensor for confirming whether or not the medicine is discharged from the medicine container 30.
  • the medicine container 30 is placed on the container placing device 80, and the medicine can be discharged from the medicine container 30 by vibrating the vibration table 72. Further, the weight change of the drug container 30 at that time is detected by the weight measuring means 76.
  • the container moving means 83 employed in the medicine dispensing device 71 has a first weight measuring means 25 as shown in FIG. Note that the container moving means 83 employed in the medicine dispensing device 71 has no vibration means as shown in FIG. 10, and has the container holding palm portion 21 and the first weight measuring means 25.
  • the medicine dispensing device 71 of this embodiment also automatically selects the medicine container 30 according to the prescription.
  • the hand container 18 of the container moving means 83 holds the drug container 30 and operates the arm or the like to place the drug container 30 on the container mounting device 80. Further, while the medicine container 30 is being transported by the container moving means 83, the weight of the medicine container 30 is measured by the first weight measuring means 25 of the container moving means 83, and is held by the hand unit again after the distribution operation is completed. By comparing the difference between the weight of the drug container 30 and the total discharge amount measured by the weight measuring means 76 and performing a double check, the reliability of the weighing value can be ensured. It is possible to detect misalignment and failure.
  • the vibration table 72 built in the container placement device 80 is vibrated with the medicine container 30 placed on the container placement device 80.
  • the powder in the medicine container 30 moves slowly, is discharged from the medicine container 30 and falls to the distribution tray 61. Further, the distribution tray 61 is rotated before and after the start of vibration.
  • the weight of the medicine container 30 is measured by the weight measuring means 76 of the container mounting device 80. Meanwhile, the weight of the medicine container 30 is monitored, and when the total discharge amount of the powder reaches a desired weight, the vibration of the shaking table 72 is stopped.
  • the rotation of the distribution tray 61 is stopped, the scraping mechanism 66 is placed in the medicine feeding groove 63, and the distribution tray 61 is rotated by an angle corresponding to the number of distributions. Scoop up to the board 67. Thereafter, the scraping plate 67 is rotated, the drug is scooped up by the scraping plate 68, the drug is discharged from the distribution tray 61, and charged into the powder charge hopper 77.
  • the medicine falls on the powder injection hopper 77 and is carried to the packaging device 6, and is packaged by the packaging device 6. This operation is sequentially repeated, and all the medicines in the distribution tray 61 are discharged, and each is packed by the packaging device 6.
  • a configuration like a medicine dispensing device 81 shown in FIG. 14 is also conceivable.
  • the medicine dispensing device 81 does not have a distribution tray, and directly puts the medicine into the packaging device 6 from the medicine container 30 placed on the container placement device (container mounting table) 80.
  • the container mounting device 80 is the same as that described above, and includes a vibration table 72.
  • the container mounting device 80 includes weight measuring means 76 that directly or indirectly measures the weight of the medicine container 30.
  • the container moving means 83 employed in the medicine dispensing device 81 has a first weight measuring means 25 as shown in FIG. That is, the container moving means 83 employed in the medicine dispensing device 81 includes the container holding palm portion 21 and the first weight measuring means (metering means) 25.
  • the container moving means 83 has no vibration means. Also for the medicine dispensing apparatus 81 of this embodiment, the medicine container 30 is automatically selected according to the prescription as shown in FIG.
  • the hand container 18 of the container moving means 83 holds the drug container 30 and operates the arm or the like to place the drug container 30 on the container mounting device 80.
  • the weight of the medicine container 30 is measured by the first weight measuring means 25 of the container moving means 83.
  • the vibration table 72 built in the container placement device 80 is vibrated with the medicine container 30 placed on the container placement device 80.
  • the powder in the medicine container 30 moves slowly, is discharged from the medicine container 30, and falls to the powder input hopper 77 of the packaging device 6 (FIG. 14b).
  • the weight of the medicine container 30 is monitored by the weight measuring means 76 of the container mounting device 80, and the vibration of the vibration table 72 is stopped when the discharge amount of the powder becomes a single dose.
  • the single dose of powder already charged in the powder supply hopper 77 of the packaging device 6 is packaged by the packaging device 6.
  • the drug container 30 is held by the container moving means 83, and the container moving means 83 is driven so that the drug container 30 is once removed from the container mounting device (container mounting table) 80 as shown in FIG. remove.
  • the weight of the medicine container 30 is measured again by the first weight measuring means 25 of the container moving means 83.
  • the weight of the drug container 30 at the time of re-measurement should be smaller than the previous measured value by one dose, but if the difference between the two is more than a certain amount compared to the weight of the powder for one dose, it is predetermined. Error display. You may compare the weight of the chemical
  • the container moving means 83 is driven to place the medicine container 30 on the container placing device 80 again. Then, a series of operations described above are repeated, and a predetermined number of medicine packages in which powder for one dose is packaged are discharged.
  • the drug is discharged from the drug container 30 by vibration, but a configuration in which the drug is discharged from the drug container by a screw, a blade, or the like may be employed.
  • a screw or the like is built in the drug container, and power is transmitted from the container moving means 5, 83 side to the screw or the like in the drug container.
  • the container moving means 5 is a robot.
  • the present invention is not limited to this configuration, and an object such as an XY table or an XYZ table is moved in a plane. Or three-dimensionally moved.
  • the container moving means may be an application of a conveyor or the like.

Landscapes

  • Engineering & Computer Science (AREA)
  • Mechanical Engineering (AREA)
  • Health & Medical Sciences (AREA)
  • Chemical & Material Sciences (AREA)
  • Medicinal Chemistry (AREA)
  • Pharmacology & Pharmacy (AREA)
  • Life Sciences & Earth Sciences (AREA)
  • Animal Behavior & Ethology (AREA)
  • General Health & Medical Sciences (AREA)
  • Public Health (AREA)
  • Veterinary Medicine (AREA)
  • Quality & Reliability (AREA)
  • Medical Preparation Storing Or Oral Administration Devices (AREA)
  • Basic Packing Technique (AREA)
  • Supply Of Fluid Materials To The Packaging Location (AREA)
PCT/JP2016/073247 2015-08-11 2016-08-08 薬剤払出し装置 Ceased WO2017026431A1 (ja)

Priority Applications (3)

Application Number Priority Date Filing Date Title
CN201680045611.5A CN107847397A (zh) 2015-08-11 2016-08-08 药剂配发装置
JP2016557671A JP6094952B1 (ja) 2015-08-11 2016-08-08 薬剤払出し装置
KR1020187003215A KR102531220B1 (ko) 2015-08-11 2016-08-08 약제 조제 장치

Applications Claiming Priority (2)

Application Number Priority Date Filing Date Title
JP2015-159021 2015-08-11
JP2015159021 2015-08-11

Publications (1)

Publication Number Publication Date
WO2017026431A1 true WO2017026431A1 (ja) 2017-02-16

Family

ID=57984223

Family Applications (1)

Application Number Title Priority Date Filing Date
PCT/JP2016/073247 Ceased WO2017026431A1 (ja) 2015-08-11 2016-08-08 薬剤払出し装置

Country Status (5)

Country Link
JP (5) JP6094952B1 (enExample)
KR (1) KR102531220B1 (enExample)
CN (1) CN107847397A (enExample)
TW (1) TWI730974B (enExample)
WO (1) WO2017026431A1 (enExample)

Cited By (8)

* Cited by examiner, † Cited by third party
Publication number Priority date Publication date Assignee Title
JP2020039829A (ja) * 2018-09-13 2020-03-19 株式会社トーショー 散薬分包システム
CN111731521A (zh) * 2020-07-23 2020-10-02 苏州波菲特新材料科技有限公司 一种用于检验的粉末称重机构
JP2021118894A (ja) * 2015-08-11 2021-08-12 株式会社湯山製作所 薬剤払出し装置
JP2021132858A (ja) * 2020-02-27 2021-09-13 株式会社トーショー 散薬分包装置
JP2021183290A (ja) * 2018-09-14 2021-12-02 株式会社トーショー 散薬収容容器、散薬放出装置、及び散薬分包機
JP2022017376A (ja) * 2017-11-22 2022-01-25 株式会社タカゾノ 散剤払出装置、散剤払出装置と分包装置との組み合わせ
JP2022029126A (ja) * 2020-08-04 2022-02-17 株式会社タカゾノ 薬剤供給装置
JP2022063899A (ja) * 2020-10-13 2022-04-25 株式会社タカゾノ 薬剤分配装置

Families Citing this family (16)

* Cited by examiner, † Cited by third party
Publication number Priority date Publication date Assignee Title
WO2019026027A1 (en) * 2017-08-04 2019-02-07 9958304 Canada Inc. (Ypc Technologies) AUTOMATIC MEAL PREPARATION SYSTEM ACCORDING TO SELECTED RECIPE AND METHOD OF OPERATING SAME
JP6422606B1 (ja) * 2018-03-13 2018-11-14 株式会社トーショー 散薬収容容器、散薬放出装置、及び散薬分包機
JP6945239B2 (ja) * 2018-03-13 2021-10-06 株式会社トーショー 散薬収容容器、散薬放出装置、及び散薬分包機
JP6418707B1 (ja) * 2018-03-27 2018-11-07 株式会社トーショー 散薬分包機、散薬分包機の散薬収容容器保管棚、散薬分包機の散薬収容容器
JP6945237B2 (ja) * 2018-05-25 2021-10-06 株式会社トーショー 粉体振動輸送装置、粉体振動輸送装置を含む散薬分包機
JP6406785B1 (ja) * 2018-07-03 2018-10-17 株式会社トーショー 散薬分包機
JP6913951B2 (ja) * 2018-07-03 2021-08-04 株式会社トーショー 散薬分包機
JP2019171004A (ja) * 2018-09-14 2019-10-10 株式会社トーショー 散薬分包機、散薬分包機の散薬収容容器保管棚、散薬分包機の散薬収容容器
JP2020089681A (ja) * 2018-12-07 2020-06-11 株式会社タカゾノ 薬剤供給装置及び薬剤分包装置
JP7384384B2 (ja) * 2019-10-11 2023-11-21 株式会社タカゾノ 薬剤分包装置
JP2021108786A (ja) * 2020-01-07 2021-08-02 株式会社トーショー 散薬計量装置
JP7412766B2 (ja) * 2020-07-15 2024-01-15 株式会社タカゾノ 薬剤分包装置
JP7575779B2 (ja) * 2021-02-24 2024-10-30 株式会社ヨシヤ 分包装置
JP7648152B2 (ja) * 2021-12-01 2025-03-18 株式会社タカゾノ 薬剤分配装置及び薬剤分配方法
JP7648154B2 (ja) * 2021-12-10 2025-03-18 株式会社タカゾノ 薬剤分配装置
JP2023184142A (ja) * 2022-06-17 2023-12-28 株式会社タカゾノ 薬剤包装装置

Citations (5)

* Cited by examiner, † Cited by third party
Publication number Priority date Publication date Assignee Title
JPH05285198A (ja) * 1992-04-03 1993-11-02 Tokyo Shokai:Kk 散薬供給装置
JP2013129451A (ja) * 2011-12-22 2013-07-04 Hitachi Aloka Medical Ltd 散薬分注装置
WO2014046148A1 (ja) * 2012-09-19 2014-03-27 株式会社湯山製作所 薬剤フィーダ及び薬剤払出し装置
JP2015000194A (ja) * 2013-06-17 2015-01-05 システムエルエスアイ株式会社 薬剤分包装置
WO2015076267A1 (ja) * 2013-11-22 2015-05-28 株式会社湯山製作所 薬剤払出し装置

Family Cites Families (12)

* Cited by examiner, † Cited by third party
Publication number Priority date Publication date Assignee Title
JP2770028B2 (ja) * 1988-08-23 1998-06-25 株式会社東京商会 散剤分割装置
JP2802964B2 (ja) * 1990-11-22 1998-09-24 株式会社 東京商会 薬剤分包機
JPH0653145B2 (ja) * 1991-08-27 1994-07-20 株式会社東京商会 散薬供給装置
JPH0780043A (ja) 1993-09-11 1995-03-28 Tokyo Shokai:Kk 散薬供給装置
JPH11114021A (ja) * 1997-10-17 1999-04-27 Tosho:Kk 散薬供給装置
JP2002096802A (ja) * 2000-09-21 2002-04-02 Ueda Avancer Corp 秤量式全自動散薬分割方法、秤量式全自動散薬分割装置及び秤量式全自動散薬分割分包装置
JP5978493B2 (ja) * 2011-08-03 2016-08-24 システムエルエスアイ株式会社 薬剤分包装置
WO2013069783A1 (ja) 2011-11-11 2013-05-16 株式会社湯山製作所 薬剤払出装置および薬剤残量算出方法
JP5620451B2 (ja) * 2012-10-11 2014-11-05 スペクトリス株式会社 粉体定量分割装置並びに粉体定量分割方法
TWI673207B (zh) * 2013-07-12 2019-10-01 日商湯山製作所有限公司 藥劑加料器和藥劑配發裝置
JP5716879B1 (ja) 2013-09-19 2015-05-13 株式会社湯山製作所 混注装置、混注方法
TWI730974B (zh) * 2015-08-11 2021-06-21 日商湯山製作所有限公司 藥劑配發裝置

Patent Citations (5)

* Cited by examiner, † Cited by third party
Publication number Priority date Publication date Assignee Title
JPH05285198A (ja) * 1992-04-03 1993-11-02 Tokyo Shokai:Kk 散薬供給装置
JP2013129451A (ja) * 2011-12-22 2013-07-04 Hitachi Aloka Medical Ltd 散薬分注装置
WO2014046148A1 (ja) * 2012-09-19 2014-03-27 株式会社湯山製作所 薬剤フィーダ及び薬剤払出し装置
JP2015000194A (ja) * 2013-06-17 2015-01-05 システムエルエスアイ株式会社 薬剤分包装置
WO2015076267A1 (ja) * 2013-11-22 2015-05-28 株式会社湯山製作所 薬剤払出し装置

Cited By (10)

* Cited by examiner, † Cited by third party
Publication number Priority date Publication date Assignee Title
JP2021118894A (ja) * 2015-08-11 2021-08-12 株式会社湯山製作所 薬剤払出し装置
JP2022017376A (ja) * 2017-11-22 2022-01-25 株式会社タカゾノ 散剤払出装置、散剤払出装置と分包装置との組み合わせ
JP7274236B2 (ja) 2017-11-22 2023-05-16 株式会社タカゾノ 散剤払出装置、散剤払出装置と分包装置との組み合わせ
JP2020039829A (ja) * 2018-09-13 2020-03-19 株式会社トーショー 散薬分包システム
JP2021183290A (ja) * 2018-09-14 2021-12-02 株式会社トーショー 散薬収容容器、散薬放出装置、及び散薬分包機
JP2021132858A (ja) * 2020-02-27 2021-09-13 株式会社トーショー 散薬分包装置
CN111731521A (zh) * 2020-07-23 2020-10-02 苏州波菲特新材料科技有限公司 一种用于检验的粉末称重机构
JP2022029126A (ja) * 2020-08-04 2022-02-17 株式会社タカゾノ 薬剤供給装置
JP7466901B2 (ja) 2020-08-04 2024-04-15 株式会社タカゾノ 薬剤供給装置
JP2022063899A (ja) * 2020-10-13 2022-04-25 株式会社タカゾノ 薬剤分配装置

Also Published As

Publication number Publication date
JP6924360B2 (ja) 2021-08-25
JP2021118894A (ja) 2021-08-12
JP2024019250A (ja) 2024-02-08
JP2021112579A (ja) 2021-08-05
TWI730974B (zh) 2021-06-21
CN107847397A (zh) 2018-03-27
KR102531220B1 (ko) 2023-05-10
JP7397497B2 (ja) 2023-12-13
JP7691728B2 (ja) 2025-06-12
TW201707804A (zh) 2017-03-01
JP6094952B1 (ja) 2017-03-15
JPWO2017026431A1 (ja) 2017-08-10
KR20180039056A (ko) 2018-04-17
JP2017056221A (ja) 2017-03-23

Similar Documents

Publication Publication Date Title
JP6094952B1 (ja) 薬剤払出し装置
TWI613132B (zh) 藥劑送料器及分藥裝置
JP6610947B2 (ja) 薬剤フィーダ及び薬剤払出し装置
JP7113413B2 (ja) 薬剤払出し装置、散薬秤量装置及び薬剤分包システム
JP7194893B2 (ja) 散薬秤量装置
JP5620451B2 (ja) 粉体定量分割装置並びに粉体定量分割方法
KR20240028432A (ko) 별개의 약제들을 디스펜싱하는 방법, 피더 유닛 및 디스펜싱 시스템
JP2011168287A (ja) 製袋充填装置
CN113993786A (zh) 散药容纳容器、散药计量装置及散药自动分包机
JP7315207B2 (ja) 薬剤供給装置
JP2019154818A (ja) 散薬収容容器、散薬放出装置、及び散薬分包機
CN113939454A (zh) 散药分包装置
JP2022060860A (ja) 薬剤供給装置
JPS6398523A (ja) 粉粒体秤量供給装置

Legal Events

Date Code Title Description
ENP Entry into the national phase

Ref document number: 2016557671

Country of ref document: JP

Kind code of ref document: A

121 Ep: the epo has been informed by wipo that ep was designated in this application

Ref document number: 16835128

Country of ref document: EP

Kind code of ref document: A1

ENP Entry into the national phase

Ref document number: 20187003215

Country of ref document: KR

Kind code of ref document: A

NENP Non-entry into the national phase

Ref country code: DE

122 Ep: pct application non-entry in european phase

Ref document number: 16835128

Country of ref document: EP

Kind code of ref document: A1