WO2016199450A1 - 磁気センサ装置 - Google Patents

磁気センサ装置 Download PDF

Info

Publication number
WO2016199450A1
WO2016199450A1 PCT/JP2016/054099 JP2016054099W WO2016199450A1 WO 2016199450 A1 WO2016199450 A1 WO 2016199450A1 JP 2016054099 W JP2016054099 W JP 2016054099W WO 2016199450 A1 WO2016199450 A1 WO 2016199450A1
Authority
WO
WIPO (PCT)
Prior art keywords
magnetic field
output
unit
magnetic
sensor device
Prior art date
Legal status (The legal status is an assumption and is not a legal conclusion. Google has not performed a legal analysis and makes no representation as to the accuracy of the status listed.)
Ceased
Application number
PCT/JP2016/054099
Other languages
English (en)
French (fr)
Japanese (ja)
Inventor
麥 健忠
慎介 日口
Current Assignee (The listed assignees may be inaccurate. Google has not performed a legal analysis and makes no representation or warranty as to the accuracy of the list.)
Vienex Corp
Original Assignee
Vienex Corp
Priority date (The priority date is an assumption and is not a legal conclusion. Google has not performed a legal analysis and makes no representation as to the accuracy of the date listed.)
Filing date
Publication date
Application filed by Vienex Corp filed Critical Vienex Corp
Priority to KR1020177034386A priority Critical patent/KR101921440B1/ko
Priority to CN201680030918.8A priority patent/CN108271414B/zh
Priority to EP16807157.9A priority patent/EP3309570B1/en
Publication of WO2016199450A1 publication Critical patent/WO2016199450A1/ja
Anticipated expiration legal-status Critical
Ceased legal-status Critical Current

Links

Images

Classifications

    • GPHYSICS
    • G07CHECKING-DEVICES
    • G07DHANDLING OF COINS OR VALUABLE PAPERS, e.g. TESTING, SORTING BY DENOMINATIONS, COUNTING, DISPENSING, CHANGING OR DEPOSITING
    • G07D7/00Testing specially adapted to determine the identity or genuineness of valuable papers or for segregating those which are unacceptable, e.g. banknotes that are alien to a currency
    • G07D7/04Testing magnetic properties of the materials thereof, e.g. by detection of magnetic imprint
    • GPHYSICS
    • G01MEASURING; TESTING
    • G01RMEASURING ELECTRIC VARIABLES; MEASURING MAGNETIC VARIABLES
    • G01R33/00Arrangements or instruments for measuring magnetic variables
    • G01R33/0023Electronic aspects, e.g. circuits for stimulation, evaluation, control; Treating the measured signals; calibration
    • G01R33/0029Treating the measured signals, e.g. removing offset or noise
    • GPHYSICS
    • G01MEASURING; TESTING
    • G01RMEASURING ELECTRIC VARIABLES; MEASURING MAGNETIC VARIABLES
    • G01R33/00Arrangements or instruments for measuring magnetic variables
    • G01R33/02Measuring direction or magnitude of magnetic fields or magnetic flux
    • GPHYSICS
    • G01MEASURING; TESTING
    • G01RMEASURING ELECTRIC VARIABLES; MEASURING MAGNETIC VARIABLES
    • G01R33/00Arrangements or instruments for measuring magnetic variables
    • G01R33/02Measuring direction or magnitude of magnetic fields or magnetic flux
    • G01R33/06Measuring direction or magnitude of magnetic fields or magnetic flux using galvano-magnetic devices
    • G01R33/07Hall effect devices
    • GPHYSICS
    • G01MEASURING; TESTING
    • G01RMEASURING ELECTRIC VARIABLES; MEASURING MAGNETIC VARIABLES
    • G01R35/00Testing or calibrating of apparatus covered by the other groups of this subclass
    • GPHYSICS
    • G07CHECKING-DEVICES
    • G07DHANDLING OF COINS OR VALUABLE PAPERS, e.g. TESTING, SORTING BY DENOMINATIONS, COUNTING, DISPENSING, CHANGING OR DEPOSITING
    • G07D7/00Testing specially adapted to determine the identity or genuineness of valuable papers or for segregating those which are unacceptable, e.g. banknotes that are alien to a currency
    • G07D7/20Testing patterns thereon
    • GPHYSICS
    • G07CHECKING-DEVICES
    • G07DHANDLING OF COINS OR VALUABLE PAPERS, e.g. TESTING, SORTING BY DENOMINATIONS, COUNTING, DISPENSING, CHANGING OR DEPOSITING
    • G07D7/00Testing specially adapted to determine the identity or genuineness of valuable papers or for segregating those which are unacceptable, e.g. banknotes that are alien to a currency
    • G07D7/20Testing patterns thereon
    • G07D7/202Testing patterns thereon using pattern matching

Definitions

  • the present invention relates to a magnetic sensor device for detecting a magnetic material contained in paper sheets such as banknotes and securities.
  • a magnetic material having a fine print pattern is arranged on a paper sheet, or a plurality of magnetic materials having different magnetic characteristics are arranged.
  • a conventional magnetic sensor device includes, as main components, a magnetic field generation unit for magnetizing a magnetic body included in a paper sheet, a magnetoelectric conversion element that converts the magnetic field strength of the magnetized magnetic body into a voltage, and the like.
  • a detection unit that detects an output from the magnetoelectric conversion element, and the detection unit detects a magnetic substance contained in the paper sheet.
  • Many conventional magnetic sensor devices have only the ability to recognize the presence or absence of magnetic substances contained in paper sheets, and can sufficiently detect security measures using the above-described magnetic substances contained in paper sheets. Can not. Therefore, an apparatus for detecting the differential output of two magnetoelectric transducers in pairs has been developed so that the magnetic quantity of the magnetic substance contained in the paper sheet or the quantity of the magnetic substance can be detected. However, as will be described later, the problem when two magnetoelectric transducers are paired has not been solved.
  • a magnetic field (referred to as a bias magnetic field) is generated on the paper sheet conveyance path, usually by a permanent magnet or an electromagnetic coil.
  • a magnetoelectric conversion element a magnetoresistive element, a magnetic head, a Hall element, or the like is used.
  • the magnetoelectric conversion element is installed in the bias magnetic field, and when the paper sheet passes through the vicinity thereof, the magnetic field contained in the paper sheet changes the bias magnetic field, so that its output changes.
  • the magnetic material is detected by detecting this output signal.
  • the bias magnetic field itself is overwhelmingly large with respect to the change of the bias magnetic field due to the magnetic material contained in the paper sheet. Therefore, in the detection unit, the output from the magnetoelectric conversion element is saturated, and the change in the bias magnetic field cannot be detected. Therefore, in order to detect a change in the bias magnetic field, it is necessary to extract an output obtained by removing the original bias magnetic field from the magnetoelectric transducer.
  • a conventional magnetic sensor device basically, two magnetoelectric transducers are paired and arranged in a common bias magnetic field, and these are electrically connected in series to obtain a differential voltage. Alternatively, a differential current is used as an output signal.
  • Patent Document 1 a magnetoresistive element and a permanent magnet that applies a bias magnetic field to the magnetoresistive element are set, and two magnetoresistive elements used in these sets are electrically connected in series, and these sets are set.
  • the differential voltage is output.
  • a magnetoresistive element is connected in series between a voltage input terminal and a ground terminal, and the plurality of magnetic elements are connected from voltage output terminals connected to the plurality of magnetoresistive element connection portions connected in series.
  • the present invention relates to a magnetic sensor device including a magnetic detection unit that outputs a voltage divided by a resistance element as an output signal.
  • the plurality of magnetoresistive elements constituting the magnetic detection unit in the magnetic sensor device at least one magnetosensitive part constituting one magnetoresistive element is replaced with another plurality of magnetosensitive parts constituting the one magnetoresistive element.
  • the magnetic sensitive parts are arranged so as not to be arranged on both sides.
  • Patent Document 3 two Hall elements are arranged at both ends of a permanent magnet so as to receive a common bias magnetic field.
  • the bias magnetic field changes due to the magnetic substance contained in the paper, so the output also changes, but the other Hall element is not affected by the passage of the paper. Therefore, the output does not change. Therefore, the differential output of these Hall elements is proportional to the amount of the bias magnetic field changed by the magnetic material contained in the paper sheet.
  • the magnetic flux density of the magnetic material contained in the paper sheet (this document) In the expression, a signal proportional to the amount of the magnetic substance) is shown.
  • the magnetoelectric transducers may be changed depending on the characteristics of the magnetoelectric transducers, individual differences in the magnetic field generation unit, and individual differences due to environmental changes such as temperature. It is difficult to receive a common bias magnetic field, and fluctuations in differential outputs of a plurality of magnetoelectric transducers are inevitable.
  • the present invention has been made to solve the above-described problems in the conventional magnetic sensor device, and is less affected by individual differences and environmental changes of each member such as a magnetic field generation unit and a magnetoelectric conversion element. Output is stable, and not only the presence or absence of magnetic substance contained in paper sheets, but also the magnetic quantity or magnetic substance of multiple magnetic substances with different magnetic properties used as advanced anti-counterfeiting / authentication discrimination measures It is an object of the present invention to provide a magnetic sensor device capable of stably detecting even the amount of.
  • the magnetic sensor device of the present invention for detecting a magnetic substance contained in a paper sheet transported through a transport path is an arbitrary plane out of planes perpendicular to the transport direction of the paper sheet in the transport path.
  • a magnetic field generation unit that generates a bias magnetic field in a direction, and a magnetoelectric conversion that is provided in the bias magnetic field and that is provided between the transport path and the magnetic field generation unit and detects a magnetic field strength in the same direction as the bias magnetic field.
  • the magnetoelectric conversion element In order to represent the output value of the element, the magnetoelectric conversion element by an offset, a correction unit for providing a reference point thereof, an output signal of the magnetoelectric conversion element and an output signal of the correction unit are input, and a difference between them is input.
  • An amplifying unit that amplifies the dynamic output; and a determination unit that determines a magnetic material contained in the paper sheet based on an output signal of the amplifying unit, wherein the magnetoelectric transducer is linear with respect to the magnetic field strength To change.
  • a correction unit is provided, and the fluctuation due to the magnetic substance contained in the paper sheet is detected by an offset, so that the fluctuation due to the bias magnetic field is subtracted from the output of the magnetoelectric conversion element. Minutes can be detected. Further, by using an element that changes linearly with respect to the magnetic field strength, the magnetoelectric conversion element avoids the influence on individual differences of each component such as a magnetic field generation unit, and the magnetic flux generated by the magnetic material contained in the paper sheet. The density fluctuation can be detected with high accuracy as the magnetic quantity.
  • the Hall element since the Hall element always changes linearly with respect to the magnetic field strength, by using the Hall element as the magnetoelectric conversion element, even if the individual difference of each component is large, the magnetic quantity is avoided by avoiding the influence of the individual difference. It can be detected with high accuracy.
  • the magnetic field generator is arranged so as to generate a magnetic field perpendicular to the transport direction of the paper sheet, the magnetoelectric transducer is provided between the transport path and the magnetic field generator, and the detection direction of the magnetoelectric transducer is the magnetic field.
  • the magnetoelectric transducer may be detected in the D3 direction by generating a magnetic field in the D3 direction in the configuration of FIG. 2, but the magnetic field is generated in the D2 direction.
  • the magnetoelectric conversion element may be detected in the D2 direction.
  • the magnetic field generator generates a magnetic field strength of 10 3 Oe or more so that all the magnetic materials contained in the paper sheet are saturated and magnetized.
  • An arbitrary output current can be given to the correction unit by, for example, a DA converter. In the present invention, it is sufficient that an arbitrary output current can be provided.
  • a DA converter that can set an arbitrary voltage may be converted into an arbitrary current by a fixed resistor, and a constant voltage may be converted into a variable resistor. May be converted into an arbitrary current.
  • the standard characteristics of the magnetic field generation unit and the magnetoelectric conversion element are determined, and the output of the correction unit when the output value of the magnetoelectric conversion element in the magnetic sensor device of this standard characteristic is given to the reference point of the bias magnetic field is the ideal offset value. Specify as. And the output of the magnetic sensor device whose magnetic field generator or magnetoelectric transducer differs from the standard characteristics is the correction unit when the specified ideal offset value and the reference point of the bias magnetic field when the paper sheet is not conveyed Can be converted into a standard output.
  • a specific paper sheet or the like is designated as a standard medium.
  • An output value when a standard medium is conveyed to a magnetic sensor device having standard characteristics is designated as an ideal output reference value.
  • the output value when the standard medium is conveyed to the magnetic sensor device is stored in the nonvolatile memory as a reference value.
  • the output of the magnetic sensor device in which the magnetic field generation unit and the magnetoelectric conversion element are different from the standard characteristics can be converted into the standard output using the designated ideal output reference value and the stored reference value.
  • a feedback control unit that feeds back the output value from the amplification unit to the input of the amplification unit, so that the output value from the amplification unit becomes a reference point for representing the output value of the magnetoelectric conversion element by an offset
  • a switching unit that switches the feedback control unit and the correction unit to input to the amplification unit, and the feedback time for the output value from the amplification unit to return to the reference point by the feedback control unit is the entire paper sheet Is provided so as to have a delay time longer than the time of passing through the magnetic sensor device.
  • the feedback control unit makes the output value from the amplifying unit return to the reference point longer than the time for transporting the paper sheet, thereby subtracting the environment change part and changing the magnetic field when passing through the paper sheet. Minutes can be detected.
  • the magnetic field change of the entire surface of the paper sheet when passing through the paper sheet is caused. It can be detected as a magnetic quantity.
  • the storage unit has a capacity for storing a reference value of each magnetoelectric conversion element, and is configured to store a plurality of reference values.
  • the present invention appropriately removes individual differences between the magnetic field generation unit and the magnetoelectric conversion element, and the individual differences with respect to the influence of environmental changes, and accurately determines only the part of the paper sheet from the magnetic material from the output of the magnetoelectric conversion element. It is possible to stably detect all the magnetic substances contained in the paper sheets taken out. Furthermore, these changes with time can be appropriately corrected to correct the output of the magnetic sensor device defined as a standard.
  • FIG. 3 is a schematic diagram illustrating an example of a paper sheet S.
  • FIG. 3 is a diagram showing a magnetization curve of a magnetic body A.
  • FIG. 3 is a diagram showing a magnetization curve of a magnetic body B.
  • FIG. 3 is a diagram illustrating a magnetization curve of a magnetic body C.
  • FIG. Explanatory drawing explaining the signal processing circuit of the magnetoelectric conversion element and detection part of 2nd Embodiment. Explanatory drawing explaining the signal processing circuit of the magnetoelectric conversion element and detection part of 3rd Embodiment. Explanatory drawing explaining the signal processing circuit of the magnetoelectric conversion element and detection part of 4th Embodiment. It is a figure for demonstrating the aspect of the feedback control by a feedback control part, and an example of the relationship between the output before feedback control and time is shown. It is a figure for demonstrating the aspect of the feedback control by a feedback control part, and an example of the relationship between an output and time when a delay time is not provided in the feedback control part is shown.
  • FIG. 1 is a schematic cross-sectional view of a magnetic sensor device 1 according to a first embodiment of the present invention.
  • a magnetic pattern M is printed on the paper sheet S using, for example, magnetic ink, a magnetic thread, etc., and the magnetic sensor device 1 detects the magnetic quantity of the magnetic pattern M included in the paper sheet S. Is.
  • the conveyance path 2 is formed with a gap G and a width slightly larger than the width of the paper sheet S toward the conveyance direction D1.
  • the paper sheet S is fed into the transport path 2 by the upstream transport roller 21 and further transported toward the downstream transport roller 22 by the sensor facing roller 23 facing the magnetic sensor device 1.
  • the sensor facing roller 23 also has a function of pushing down toward the direction D3 so that the paper sheet S approaches the magnetic sensor device 1. In this way, the magnetic material of the paper sheet S is detected while the paper sheet S passes over the magnetic sensor device 1. Next, the paper sheet S is discharged from the conveyance path by the downstream conveyance roller 22.
  • FIG. 2 is a cross-sectional view schematically showing the configuration of the magnetic sensor device 1 and the state of the magnetic field generated therein.
  • the magnetic field generation unit 3 is usually composed of a permanent magnet and forms a bias magnetic field.
  • the magnetic field intensity near the magnetoelectric conversion element 4 is set to 10 3 Oe or more.
  • the magnetic field generator 3 is provided under the magnetoelectric transducer 4 so that the N pole is on the upper side and the S pole is on the lower side.
  • a loop-shaped magnetic flux as shown in FIG. 2 is formed around the magnetic field generation unit 3, and in particular, in the vicinity of the magnetoelectric conversion element 4, it is perpendicular to the transport direction of the paper sheet S (see FIG. 1).
  • a bias magnetic field is formed.
  • the magnetoelectric conversion element 4 is in this bias magnetic field, and its output is proportional to the magnetic flux density of this bias magnetic field.
  • the bias magnetic field is changed by the magnetic material included in the paper sheet S.
  • the magnetoelectric conversion element 4 detects the changed bias magnetic field.
  • the protective cover 5 is a cover that protects the magnetoelectric conversion element 4 from the paper sheet S or the like, and is made of a non-magnetic material (for example, phosphor bronze).
  • the case 6 is a housing that houses the magnetic field generator 3 and the magnetoelectric transducer 4. The magnetic field generation unit 3 and the magnetoelectric conversion element 4 are fixed so that the mutual positional relationship does not move in a substantially sealed state.
  • the detecting unit 7 extracts only the change in the bias magnetic field due to the magnetic material contained in the paper sheet S from the output of the magnetoelectric conversion element 4, and detects the magnetic material of the paper sheet S with high accuracy.
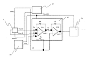
  • FIG. 3 shows a signal processing circuit of the magnetoelectric conversion element 4 and the detection unit 7 in the first embodiment.
  • the detection unit 7 includes a power supply unit 31, an amplification unit 32, a correction unit 33, and a determination unit 34.
  • the magnetoelectric conversion element 4 includes a voltage input terminal for MVCC, a ground terminal for MGND, and two voltage output terminals for Vout-A and Vout-B.
  • a constant voltage is always maintained between MVCC and MGND connected to the power supply unit 31.
  • the voltage difference between the two voltage output terminals Vout-A and Vout-B (hereinafter referred to as the output of the magnetoelectric conversion element) is proportional to the magnetic flux density passing through the magnetoelectric conversion element 4.
  • a constant voltage is used between MVCC and MGND, but a constant current may be used.
  • the power supply unit 31 further generates a constant voltage source VCC for driving the amplification unit 32, the correction unit 33, and the determination unit 34, and a reference voltage source VO (described later). These have a common ground GND.
  • the amplifying unit 32 includes two-stage operational amplifiers OP1 and OP2.
  • the output voltages Vout-A and Vout-B from the magnetoelectric conversion element and the output voltage Voff from the correcting unit 33 are connected to the input terminals of the previous operational amplifier OP1. Is done. More specifically, the operational amplifier OP1 is connected to Vout-A via a resistor Ra, and the non-inverting input terminal is connected to Vout-B via a resistor Rb.
  • the non-inverting input terminal of the operational amplifier OP1 is connected to the reference voltage V0 via the resistor Rc together with the output from the correction unit 33, and the output terminal Vout-C is connected to the inverting input terminal via the resistor Rd. ing.
  • the resistance values of the resistors Ra and Rb are the same, and the resistance values of the resistors Rc and Rd are the same.
  • the resistance values of the resistors Rc and Rd are set to a predetermined value (for example, about 10 times) of the resistors Ra and Rb.
  • the output of the previous operational amplifier OP1 is connected to the inverting input terminal via the resistor Re at the input of the rear operational amplifier OP2, and the reference power supply V0 is connected to the other non-inverting input terminal.
  • the output terminal Vout-D of the operational amplifier OP2 is connected to the inverting input terminal via the resistor Rf.
  • the resistance value of the resistor Rf is set to a predetermined value (for example, about 100 times) of the resistor Re.
  • the correction unit 33 is configured by a DA converter, for example, and can output an arbitrary current. By doing so, it is possible to extract only the change due to the magnetic material of the paper sheet S from the output of the magnetoelectric conversion element 4 excluding the portion due to the bias magnetic field. In other words, in the output of the magnetoelectric conversion element 4, a portion due to the bias magnetic field is used as a reference point, and a change due to the magnetic material of the sheet S is obtained as an offset.
  • the determination unit 34 reads the output Vout-D of the output operational amplifier OP2 of the amplification unit 32, detects the magnetic material of the paper sheet S conveyed on the conveyance path 2, and identifies the paper sheet S.
  • FIGS. 4A and 4B are explanatory diagrams illustrating the principle of offset adjustment by the correction unit 33 in FIG.
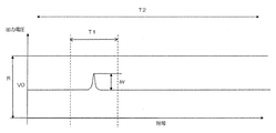
  • a solid line portion of the straight line A1 in FIG. 4A indicates an output voltage (output voltage Vout-D of the operational amplifier OP2) obtained by amplifying the output of the magnetoelectric conversion element 4 configured by the Hall element by the amplification unit 32 when the bias magnetic field is changed. The relationship is shown.
  • R is an actual output range of the amplifying unit 32.
  • the alternate long and short dash line portion indicates a virtual relationship between the bias magnetic field and Vout-D when it is assumed that the output range of the amplifying unit 32 is wider than actual.
  • the virtual output voltage Vbias of the amplifying unit 32 corresponding to the bias magnetic field actually generated by the magnetic field generating unit 3 becomes the output voltage ⁇ V1 of the amplifying unit 32 corresponding to the fluctuation of the bias magnetic field due to the magnetic material of the paper sheet S. It is overwhelmingly large. Therefore, ⁇ V1 is buried in the saturation output of the amplification unit 32 and cannot be detected.
  • the determining unit 34 reads the output of the amplifying unit 32, detects the magnetic material of the paper sheet S transported in the transport path 2, and identifies the paper sheet S.
  • FIG. 5 is a conceptual diagram showing an example of the paper sheet S.
  • three types of magnetic bodies a, b, and c having different saturation magnetic flux densities are used for the paper sheet S.
  • the amount of magnetic force sensed by the magnetoelectric transducer 4 with respect to the magnetic flux intensity of the magnetic bodies a, b, and c is reduced. Stable output can be obtained.
  • the magnetic material pattern M printed on the paper sheet S is not limited to the above pattern.
  • the magnetic materials a, b, and c used are not limited to three types, and may be two types or less, for example, or four or more types.
  • FIGS. 6A, 6B, and 6C show BH curves when the magnetic bodies a, b, and c are placed in a magnetic field, respectively.
  • the magnetic body a reaches the saturation magnetic flux density Ba when the magnetic field intensity is Ha. Therefore, even if the magnetic field strength is higher than Ha, the magnetic flux density hardly increases from Ba. The same applies to the magnetic bodies b and c (see FIGS. 6B and 6C).
  • Each of the magnetic bodies a, b, and c is detected by a plurality of magnetoelectric conversion elements 4 (see FIG. 10), and all of these magnetoelectric conversion elements 4 have a magnetic field strength H greater than any of Ha, Hb, and Hc. Are installed in a common bias magnetic field. This magnetic field strength H is 10 3 Oe or more for most magnetic materials.
  • FIGS. 6A, 6B, and 6C show. Is in an unstable state.
  • a bias magnetic field having a magnetic field strength H is used as in the present embodiment, all the magnetic bodies reach the saturation magnetic flux density, and the output of the magnetic quantity for sensing the magnetoelectric transducer 4 is stabilized.
  • FIG. 7 shows a second embodiment of the present invention.
  • a storage unit 35 using a nonvolatile storage medium is added to the determination unit 34 of FIG. 3 showing the first embodiment.
  • symbol is attached
  • the standard magnetic sensor device uses a standard magnetoelectric conversion element in which the intensity H1 of the bias magnetic field defined in the standard is defined in advance, and the output has a standard value, for example, an average value of the product.
  • the output of the amplifying unit 32 when the standard medium is conveyed to the standard magnetic sensor device is stored as a standard output (reference value) in the storage unit 35 via the determination unit 34.
  • Flash Memory is used as the recording medium in the storage unit 35.
  • a second magnetic sensor device in which the magnetic field generation unit 3 and the magnetoelectric conversion element 4 are different from the standard magnetoelectric conversion element is prepared.
  • the output when the standard medium is conveyed to this apparatus is defined as a medium output (ideal output reference value). If the output when the paper sheet S is conveyed to the magnetic sensor device is the paper sheet output, the paper sheet correction output calculated by the following equation when the same paper sheet S is conveyed to the standard magnetic sensor device Is obtained.
  • Paper sheet correction output Paper sheet output x (Standard output / Media output) That is, the output of an arbitrary magnetic sensor device can be converted into the output of a standard magnetic sensor device.
  • the influence of individual differences of the magnetic field generation unit 3 and the magnetoelectric conversion element 4 is removed, and the magnetic material included in the paper sheet S can be corrected to the output of the standard magnetic sensor device.
  • the bias output is measured for each magnetoelectric conversion element 4 and the correction output of the paper sheet S of the above formula is determined.
  • FIG. 8 shows a third embodiment of the present invention.
  • the determination unit 34 can read the Voff output of the correction unit 33 of FIG. 7 showing the second embodiment.
  • symbol is attached
  • the standard magnetic sensor device uses a standard magnetoelectric transducer having a standard value of the bias magnetic field H1 determined in advance and a standard output value, for example, an average value of the product. .
  • a standard output value for example, an average value of the product.
  • a second magnetic sensor device in which the magnetic field generation unit 3 and the magnetoelectric conversion element 4 are different from the standard magnetoelectric conversion element is prepared.
  • the Voff output of the correction unit 33 when the portion of the bias magnetic field intensity H2 by the magnetic field generation unit 3 is offset to the reference point is defined as a bias output. If the output when the paper sheet S is conveyed to the magnetic sensor device is the paper sheet output, the paper sheet correction output calculated by the following equation when the same paper sheet S is conveyed to the standard magnetic sensor device Is obtained.
  • Paper sheet correction output Paper sheet output x (Standard bias output / Bias output) That is, the output of an arbitrary magnetic sensor device can be converted into the output of a standard magnetic sensor device.
  • the influence of individual differences of the magnetic field generation unit 3 and the magnetoelectric conversion element 4 is removed, and the magnetic material included in the paper sheet S can be corrected to the output of the standard magnetic sensor device.
  • the bias output is measured for each magnetoelectric conversion element 4 and the correction output of the paper sheet S of the above formula is determined.
  • FIG. 9 showing the fourth embodiment of the present invention
  • a feedback control unit 36 is added to FIG. 8 showing the third embodiment.
  • FIG. 10A shows an example of the relationship between the output signal Vout-D from the amplifying unit 32 of the third embodiment and time.
  • the magnetic sensor device 1 since the magnetic sensor device 1 always transports the paper sheet S except at the time of start-up, it is not possible to know the state in which the paper sheet S does not exist in the magnetic sensor device 1. Therefore, there is no time for the correction unit 33 to remove the portion due to the bias magnetic field from the output of the magnetoelectric conversion element 4.
  • FIG. 10A shows an example of the relationship between the output signal Vout-D from the amplifier 32 before feedback control and time.
  • the output voltage Vout-D from the amplifying unit 32 when the paper sheet S is transported on the transport path 2 is The output ⁇ V changes only when it passes through a place where the magnetic material is present.
  • Vout-D is saturated due to the environmental change factor, for example, as indicated by a solid line in FIG. 10A, the output when the magnetic sensor device 1 passes through a place where the magnetic material is present does not change. According to the present embodiment, these effects are removed, and the detection capability of the magnetic material is stably maintained.
  • the feedback control unit 36 includes an operational amplifier OP3, resistors Rg, Rh, Ri, and a capacitor Ci.
  • the output Vout-D from the amplifier 32 is connected to the inverting input terminal of the operational amplifier OP3 via the resistor Rg.
  • a reference voltage V0 is connected to the non-inverting input terminal.
  • the output terminal of the operational amplifier OP3 is connected to the inverting input terminal via the resistor Rh.
  • the resistance value of the resistor Rh is set to a predetermined value (for example, 1 time) of the resistor Rg.
  • Vout-E is output to the output terminal of OP3 via a delay circuit 37 formed by a resistor Ri and a capacitor Ci.
  • the delay time of the delay circuit 37 is a constant set as a time T that is much longer than the time during which the entire sheet S passes through the magnetic sensor device 1 on the transport path 2. That is, Vout-E is amplified with a delay time T by a differential output of a predetermined multiple of Vout-D and VO.
  • SW switching means is a switch for switching the output Vout-E from the feedback control unit 36 and the reference voltage V0.
  • the magnetic sensor device 1 is divided into two statuses at the time of start-up and normal time.
  • the reference voltage V0 is switched to be connected to the reference voltage V0, whereby the reference voltage V0 is input to the non-inverting input of the operational amplifier OP2 of the amplifier 32.
  • the SW is switched to connect to the output Vout-E of the feedback unit, thereby connecting the output Vout-E from the feedback control unit 36 to the non-inverting input terminal of the operational amplifier OP2 of the amplification unit 32.
  • Vout-D of the operational amplifier OP2 is adjusted for offset by changing the reference voltage V0 by the correction unit 33.
  • Vout-D is always set to VO after the delay time T. Try to fix.
  • FIG. 10B is a diagram for describing a mode of feedback control by the feedback control unit 36 being identified. As shown by the solid line in FIG. 10B, for example, even if the feedback unit 36 is provided, if the delay time T is not provided in the feedback unit 36, the output voltage Vout-D from the amplifying unit 32 is fixed to VO and the sheet S Does not change the output voltage Vout-D of the amplifying unit 32.
  • FIG. 10C is a diagram for describing a mode of feedback control by the feedback control unit 36 during identification.
  • a predetermined time T2 for example, the paper sheet S is magnetic
  • the output voltage Vout-D from the amplifying unit 32 is fixed to VO at a predetermined time T2 or more at which a change with time occurs.
  • the output signal Vout-D of the amplifying unit 32 is not fixed to VO, and the fluctuation output from the magnetoelectric transducer 4 can be detected.
  • the status is divided into two statuses at the time of start-up and normal time.
  • the present invention is not limited to this mode.
  • a magnetic sensor such as a status where there is no paper sheet S and a status where paper S is being detected is detected. It is only necessary to know the state in which the sheet S does not exist in the apparatus 1.
  • FIG. 11 is a diagram schematically showing the configuration of the magnetic sensor device 1 according to the fifth embodiment when viewed from above the conveyance path 2.
  • symbol is attached
  • a plurality of magnetoelectric transducers 41, 42, 43,... are arranged in a direction orthogonal to the transport direction of the paper sheet S, and distributed in the width direction of the paper sheet. Are simultaneously detected.
  • the magnetic field generator 3 made of a permanent magnet uniformly applies a magnetic field strength of 10 3 Oe or more to all the magnetoelectric conversion elements.
  • the signal processing circuits shown in FIG. 3, FIG. 7, FIG. 8, or FIG. 9 are provided for all the magnetoelectric conversion elements.
  • a plurality of Hall elements 41, 42, 43,... are arranged in a line in the long side direction of the magnetic field generator 3, but the present invention is not limited to this. You may arrange
  • a single magnetoelectric conversion element is used instead of a conventional pair of magnetoelectric conversion elements, and a magnetic field generation unit or a magnetoelectric conversion element is used.

Landscapes

  • Physics & Mathematics (AREA)
  • General Physics & Mathematics (AREA)
  • Condensed Matter Physics & Semiconductors (AREA)
  • Engineering & Computer Science (AREA)
  • Computer Vision & Pattern Recognition (AREA)
  • Inspection Of Paper Currency And Valuable Securities (AREA)
  • Measuring Magnetic Variables (AREA)
PCT/JP2016/054099 2015-06-09 2016-02-12 磁気センサ装置 Ceased WO2016199450A1 (ja)

Priority Applications (3)

Application Number Priority Date Filing Date Title
KR1020177034386A KR101921440B1 (ko) 2015-06-09 2016-02-12 자기 센서 장치
CN201680030918.8A CN108271414B (zh) 2015-06-09 2016-02-12 磁传感器装置
EP16807157.9A EP3309570B1 (en) 2015-06-09 2016-02-12 Magnetic sensor device

Applications Claiming Priority (2)

Application Number Priority Date Filing Date Title
JP2015-116841 2015-06-09
JP2015116841A JP6454228B2 (ja) 2015-06-09 2015-06-09 磁気センサ装置

Publications (1)

Publication Number Publication Date
WO2016199450A1 true WO2016199450A1 (ja) 2016-12-15

Family

ID=57503338

Family Applications (1)

Application Number Title Priority Date Filing Date
PCT/JP2016/054099 Ceased WO2016199450A1 (ja) 2015-06-09 2016-02-12 磁気センサ装置

Country Status (5)

Country Link
EP (1) EP3309570B1 (enExample)
JP (1) JP6454228B2 (enExample)
KR (1) KR101921440B1 (enExample)
CN (1) CN108271414B (enExample)
WO (1) WO2016199450A1 (enExample)

Families Citing this family (4)

* Cited by examiner, † Cited by third party
Publication number Priority date Publication date Assignee Title
US11353525B2 (en) 2018-07-08 2022-06-07 Matrix Cell Research Institute Inc. Magnetic body detecting device
CN109559423B (zh) * 2018-11-23 2020-11-06 威海华菱光电股份有限公司 检测方法、检测装置、存储介质和处理器
WO2020170771A1 (ja) * 2019-02-18 2020-08-27 XELA・Robotics株式会社 磁気センシングシステム、検出装置、及び磁気干渉のオフセット方法
JP7295516B2 (ja) * 2020-12-23 2023-06-21 国立研究開発法人産業技術総合研究所 磁気センサ及び生体磁気計測装置

Citations (6)

* Cited by examiner, † Cited by third party
Publication number Priority date Publication date Assignee Title
JPS5273793A (en) * 1975-12-16 1977-06-21 Sanyo Electric Co Ltd Magnetic detection circuit for bank notes, etc.
JPH08139386A (ja) * 1994-11-11 1996-05-31 Mitsubishi Electric Corp 波形整形回路
JPH08194040A (ja) * 1995-01-18 1996-07-30 Mitsubishi Electric Corp 磁電変換装置
JP2000088867A (ja) * 1998-09-08 2000-03-31 Hitachi Ltd 信号検出回路および回転検出システム
JP2005037337A (ja) * 2003-06-27 2005-02-10 Asahi Kasei Corp 磁気パターン検出装置
JP2006126144A (ja) * 2004-11-01 2006-05-18 Murata Mfg Co Ltd 測定誤差の補正方法及び電子部品特性測定装置

Family Cites Families (8)

* Cited by examiner, † Cited by third party
Publication number Priority date Publication date Assignee Title
JP4092018B2 (ja) * 1998-09-14 2008-05-28 第一化学薬品株式会社 水性試薬および水性検体用空気遮断剤
JP4208428B2 (ja) * 2001-03-30 2009-01-14 芝浦メカトロニクス株式会社 センサの信号処理方法および装置
JP2008032431A (ja) * 2006-07-26 2008-02-14 Rohm Co Ltd 磁気センサ回路、半導体装置、磁気センサ装置
JP5942552B2 (ja) * 2011-06-17 2016-06-29 三菱電機株式会社 信号処理装置
KR101614102B1 (ko) * 2012-04-04 2016-04-20 가부시키가이샤 무라타 세이사쿠쇼 자기 검출 장치 및 지폐 식별 장치
CN104813371B (zh) * 2012-11-14 2017-05-17 三菱电机株式会社 信号处理装置、信号处理方法及信息读取装置
JP6049864B2 (ja) * 2013-04-09 2016-12-21 グローリー株式会社 磁気質判別装置及び磁気質判別方法
JP6166124B2 (ja) * 2013-08-15 2017-07-19 旭化成エレクトロニクス株式会社 信号処理回路

Patent Citations (6)

* Cited by examiner, † Cited by third party
Publication number Priority date Publication date Assignee Title
JPS5273793A (en) * 1975-12-16 1977-06-21 Sanyo Electric Co Ltd Magnetic detection circuit for bank notes, etc.
JPH08139386A (ja) * 1994-11-11 1996-05-31 Mitsubishi Electric Corp 波形整形回路
JPH08194040A (ja) * 1995-01-18 1996-07-30 Mitsubishi Electric Corp 磁電変換装置
JP2000088867A (ja) * 1998-09-08 2000-03-31 Hitachi Ltd 信号検出回路および回転検出システム
JP2005037337A (ja) * 2003-06-27 2005-02-10 Asahi Kasei Corp 磁気パターン検出装置
JP2006126144A (ja) * 2004-11-01 2006-05-18 Murata Mfg Co Ltd 測定誤差の補正方法及び電子部品特性測定装置

Non-Patent Citations (1)

* Cited by examiner, † Cited by third party
Title
See also references of EP3309570A4 *

Also Published As

Publication number Publication date
EP3309570B1 (en) 2021-10-27
CN108271414B (zh) 2020-05-22
KR101921440B1 (ko) 2018-11-22
CN108271414A (zh) 2018-07-10
JP2017003394A (ja) 2017-01-05
JP6454228B2 (ja) 2019-01-16
KR20170139159A (ko) 2017-12-18
EP3309570A1 (en) 2018-04-18
EP3309570A4 (en) 2018-08-01

Similar Documents

Publication Publication Date Title
JP5127440B2 (ja) 磁気パターン検出装置
JP6548868B2 (ja) 磁気検査装置、および紙葉類処理装置
JP6454228B2 (ja) 磁気センサ装置
WO2018190261A1 (ja) 磁気センサ
JPWO2017175308A1 (ja) 磁気ラインセンサおよびこれを用いた鑑別装置
JP6619992B2 (ja) 磁気検出装置
JP5881395B2 (ja) 磁気センサ装置
WO2016170885A1 (ja) 磁気センサ装置
JP5799882B2 (ja) 磁気センサ装置
CN1839322B (zh) 磁传感器
JP2008145379A (ja) 磁気センサ
JP2010060340A (ja) 磁気センサ装置
WO2016170887A1 (ja) 磁気センサ装置
JP2020041869A (ja) 磁気センサ
JP6263664B1 (ja) 磁気インク検出装置
JP2004038611A (ja) 磁性体検出装置
JP2004108955A (ja) 磁気読取装置
JP2016095138A (ja) 磁気センサ
JP6980166B1 (ja) 磁気センサ装置
JP5534842B2 (ja) 磁気パターン検出装置
JP4771738B2 (ja) 紙葉類識別装置および紙葉類識別用磁気センサ
JP6288894B1 (ja) 磁気インク検出装置
JP2010256199A (ja) 磁気センサ
JP2008145302A (ja) 磁気センサ
JP4403969B2 (ja) 紙葉類鑑別装置及び紙葉類鑑別方法

Legal Events

Date Code Title Description
121 Ep: the epo has been informed by wipo that ep was designated in this application

Ref document number: 16807157

Country of ref document: EP

Kind code of ref document: A1

ENP Entry into the national phase

Ref document number: 20177034386

Country of ref document: KR

Kind code of ref document: A

NENP Non-entry into the national phase

Ref country code: DE

WWE Wipo information: entry into national phase

Ref document number: 2016807157

Country of ref document: EP