WO2016114160A1 - 異方性導電フィルム、その製造方法及び接続構造体 - Google Patents

異方性導電フィルム、その製造方法及び接続構造体 Download PDF

Info

Publication number
WO2016114160A1
WO2016114160A1 PCT/JP2016/050065 JP2016050065W WO2016114160A1 WO 2016114160 A1 WO2016114160 A1 WO 2016114160A1 JP 2016050065 W JP2016050065 W JP 2016050065W WO 2016114160 A1 WO2016114160 A1 WO 2016114160A1
Authority
WO
WIPO (PCT)
Prior art keywords
anisotropic conductive
conductive film
metal particles
flux
insulating film
Prior art date
Legal status (The legal status is an assumption and is not a legal conclusion. Google has not performed a legal analysis and makes no representation as to the accuracy of the status listed.)
Ceased
Application number
PCT/JP2016/050065
Other languages
English (en)
French (fr)
Japanese (ja)
Inventor
芳賀 賢一
朋之 石松
恭志 阿久津
Current Assignee (The listed assignees may be inaccurate. Google has not performed a legal analysis and makes no representation or warranty as to the accuracy of the list.)
Dexerials Corp
Original Assignee
Dexerials Corp
Priority date (The priority date is an assumption and is not a legal conclusion. Google has not performed a legal analysis and makes no representation as to the accuracy of the date listed.)
Filing date
Publication date
Application filed by Dexerials Corp filed Critical Dexerials Corp
Priority to US15/541,621 priority Critical patent/US10575410B2/en
Priority to CN201680004593.6A priority patent/CN107112657B/zh
Priority to KR1020177010334A priority patent/KR102028900B1/ko
Publication of WO2016114160A1 publication Critical patent/WO2016114160A1/ja
Anticipated expiration legal-status Critical
Ceased legal-status Critical Current

Links

Images

Classifications

    • HELECTRICITY
    • H05ELECTRIC TECHNIQUES NOT OTHERWISE PROVIDED FOR
    • H05KPRINTED CIRCUITS; CASINGS OR CONSTRUCTIONAL DETAILS OF ELECTRIC APPARATUS; MANUFACTURE OF ASSEMBLAGES OF ELECTRICAL COMPONENTS
    • H05K3/00Apparatus or processes for manufacturing printed circuits
    • H05K3/30Assembling printed circuits with electric components, e.g. with resistor
    • H05K3/32Assembling printed circuits with electric components, e.g. with resistor electrically connecting electric components or wires to printed circuits
    • H05K3/321Assembling printed circuits with electric components, e.g. with resistor electrically connecting electric components or wires to printed circuits by conductive adhesives
    • H05K3/323Assembling printed circuits with electric components, e.g. with resistor electrically connecting electric components or wires to printed circuits by conductive adhesives by applying an anisotropic conductive adhesive layer over an array of pads
    • CCHEMISTRY; METALLURGY
    • C09DYES; PAINTS; POLISHES; NATURAL RESINS; ADHESIVES; COMPOSITIONS NOT OTHERWISE PROVIDED FOR; APPLICATIONS OF MATERIALS NOT OTHERWISE PROVIDED FOR
    • C09JADHESIVES; NON-MECHANICAL ASPECTS OF ADHESIVE PROCESSES IN GENERAL; ADHESIVE PROCESSES NOT PROVIDED FOR ELSEWHERE; USE OF MATERIALS AS ADHESIVES
    • C09J5/00Adhesive processes in general; Adhesive processes not provided for elsewhere, e.g. relating to primers
    • C09J5/06Adhesive processes in general; Adhesive processes not provided for elsewhere, e.g. relating to primers involving heating of the applied adhesive
    • CCHEMISTRY; METALLURGY
    • C09DYES; PAINTS; POLISHES; NATURAL RESINS; ADHESIVES; COMPOSITIONS NOT OTHERWISE PROVIDED FOR; APPLICATIONS OF MATERIALS NOT OTHERWISE PROVIDED FOR
    • C09JADHESIVES; NON-MECHANICAL ASPECTS OF ADHESIVE PROCESSES IN GENERAL; ADHESIVE PROCESSES NOT PROVIDED FOR ELSEWHERE; USE OF MATERIALS AS ADHESIVES
    • C09J7/00Adhesives in the form of films or foils
    • C09J7/30Adhesives in the form of films or foils characterised by the adhesive composition
    • C09J7/35Heat-activated
    • CCHEMISTRY; METALLURGY
    • C09DYES; PAINTS; POLISHES; NATURAL RESINS; ADHESIVES; COMPOSITIONS NOT OTHERWISE PROVIDED FOR; APPLICATIONS OF MATERIALS NOT OTHERWISE PROVIDED FOR
    • C09JADHESIVES; NON-MECHANICAL ASPECTS OF ADHESIVE PROCESSES IN GENERAL; ADHESIVE PROCESSES NOT PROVIDED FOR ELSEWHERE; USE OF MATERIALS AS ADHESIVES
    • C09J9/00Adhesives characterised by their physical nature or the effects produced, e.g. glue sticks
    • C09J9/02Electrically-conducting adhesives
    • HELECTRICITY
    • H01ELECTRIC ELEMENTS
    • H01BCABLES; CONDUCTORS; INSULATORS; SELECTION OF MATERIALS FOR THEIR CONDUCTIVE, INSULATING OR DIELECTRIC PROPERTIES
    • H01B1/00Conductors or conductive bodies characterised by the conductive materials; Selection of materials as conductors
    • H01B1/20Conductive material dispersed in non-conductive organic material
    • H01B1/22Conductive material dispersed in non-conductive organic material the conductive material comprising metals or alloys
    • HELECTRICITY
    • H01ELECTRIC ELEMENTS
    • H01BCABLES; CONDUCTORS; INSULATORS; SELECTION OF MATERIALS FOR THEIR CONDUCTIVE, INSULATING OR DIELECTRIC PROPERTIES
    • H01B13/00Apparatus or processes specially adapted for manufacturing conductors or cables
    • H01B13/0016Apparatus or processes specially adapted for manufacturing conductors or cables for heat treatment
    • HELECTRICITY
    • H01ELECTRIC ELEMENTS
    • H01BCABLES; CONDUCTORS; INSULATORS; SELECTION OF MATERIALS FOR THEIR CONDUCTIVE, INSULATING OR DIELECTRIC PROPERTIES
    • H01B13/00Apparatus or processes specially adapted for manufacturing conductors or cables
    • H01B13/0026Apparatus for manufacturing conducting or semi-conducting layers, e.g. deposition of metal
    • HELECTRICITY
    • H01ELECTRIC ELEMENTS
    • H01BCABLES; CONDUCTORS; INSULATORS; SELECTION OF MATERIALS FOR THEIR CONDUCTIVE, INSULATING OR DIELECTRIC PROPERTIES
    • H01B5/00Non-insulated conductors or conductive bodies characterised by their form
    • H01B5/16Non-insulated conductors or conductive bodies characterised by their form comprising conductive material in insulating or poorly conductive material, e.g. conductive rubber
    • HELECTRICITY
    • H01ELECTRIC ELEMENTS
    • H01LSEMICONDUCTOR DEVICES NOT COVERED BY CLASS H10
    • H01L24/00Arrangements for connecting or disconnecting semiconductor or solid-state bodies; Methods or apparatus related thereto
    • H01L24/01Means for bonding being attached to, or being formed on, the surface to be connected, e.g. chip-to-package, die-attach, "first-level" interconnects; Manufacturing methods related thereto
    • H01L24/26Layer connectors, e.g. plate connectors, solder or adhesive layers; Manufacturing methods related thereto
    • H01L24/27Manufacturing methods
    • HELECTRICITY
    • H01ELECTRIC ELEMENTS
    • H01LSEMICONDUCTOR DEVICES NOT COVERED BY CLASS H10
    • H01L24/00Arrangements for connecting or disconnecting semiconductor or solid-state bodies; Methods or apparatus related thereto
    • H01L24/01Means for bonding being attached to, or being formed on, the surface to be connected, e.g. chip-to-package, die-attach, "first-level" interconnects; Manufacturing methods related thereto
    • H01L24/26Layer connectors, e.g. plate connectors, solder or adhesive layers; Manufacturing methods related thereto
    • H01L24/28Structure, shape, material or disposition of the layer connectors prior to the connecting process
    • H01L24/29Structure, shape, material or disposition of the layer connectors prior to the connecting process of an individual layer connector
    • HELECTRICITY
    • H01ELECTRIC ELEMENTS
    • H01LSEMICONDUCTOR DEVICES NOT COVERED BY CLASS H10
    • H01L24/00Arrangements for connecting or disconnecting semiconductor or solid-state bodies; Methods or apparatus related thereto
    • H01L24/80Methods for connecting semiconductor or other solid state bodies using means for bonding being attached to, or being formed on, the surface to be connected
    • H01L24/81Methods for connecting semiconductor or other solid state bodies using means for bonding being attached to, or being formed on, the surface to be connected using a bump connector
    • HELECTRICITY
    • H01ELECTRIC ELEMENTS
    • H01LSEMICONDUCTOR DEVICES NOT COVERED BY CLASS H10
    • H01L24/00Arrangements for connecting or disconnecting semiconductor or solid-state bodies; Methods or apparatus related thereto
    • H01L24/80Methods for connecting semiconductor or other solid state bodies using means for bonding being attached to, or being formed on, the surface to be connected
    • H01L24/83Methods for connecting semiconductor or other solid state bodies using means for bonding being attached to, or being formed on, the surface to be connected using a layer connector
    • HELECTRICITY
    • H01ELECTRIC ELEMENTS
    • H01LSEMICONDUCTOR DEVICES NOT COVERED BY CLASS H10
    • H01L24/00Arrangements for connecting or disconnecting semiconductor or solid-state bodies; Methods or apparatus related thereto
    • H01L24/91Methods for connecting semiconductor or solid state bodies including different methods provided for in two or more of groups H01L24/80 - H01L24/90
    • H01L24/92Specific sequence of method steps
    • HELECTRICITY
    • H01ELECTRIC ELEMENTS
    • H01RELECTRICALLY-CONDUCTIVE CONNECTIONS; STRUCTURAL ASSOCIATIONS OF A PLURALITY OF MUTUALLY-INSULATED ELECTRICAL CONNECTING ELEMENTS; COUPLING DEVICES; CURRENT COLLECTORS
    • H01R11/00Individual connecting elements providing two or more spaced connecting locations for conductive members which are, or may be, thereby interconnected, e.g. end pieces for wires or cables supported by the wire or cable and having means for facilitating electrical connection to some other wire, terminal, or conductive member, blocks of binding posts
    • H01R11/01Individual connecting elements providing two or more spaced connecting locations for conductive members which are, or may be, thereby interconnected, e.g. end pieces for wires or cables supported by the wire or cable and having means for facilitating electrical connection to some other wire, terminal, or conductive member, blocks of binding posts characterised by the form or arrangement of the conductive interconnection between the connecting locations
    • HELECTRICITY
    • H01ELECTRIC ELEMENTS
    • H01RELECTRICALLY-CONDUCTIVE CONNECTIONS; STRUCTURAL ASSOCIATIONS OF A PLURALITY OF MUTUALLY-INSULATED ELECTRICAL CONNECTING ELEMENTS; COUPLING DEVICES; CURRENT COLLECTORS
    • H01R4/00Electrically-conductive connections between two or more conductive members in direct contact, i.e. touching one another; Means for effecting or maintaining such contact; Electrically-conductive connections having two or more spaced connecting locations for conductors and using contact members penetrating insulation
    • H01R4/04Electrically-conductive connections between two or more conductive members in direct contact, i.e. touching one another; Means for effecting or maintaining such contact; Electrically-conductive connections having two or more spaced connecting locations for conductors and using contact members penetrating insulation using electrically conductive adhesives
    • HELECTRICITY
    • H01ELECTRIC ELEMENTS
    • H01RELECTRICALLY-CONDUCTIVE CONNECTIONS; STRUCTURAL ASSOCIATIONS OF A PLURALITY OF MUTUALLY-INSULATED ELECTRICAL CONNECTING ELEMENTS; COUPLING DEVICES; CURRENT COLLECTORS
    • H01R43/00Apparatus or processes specially adapted for manufacturing, assembling, maintaining, or repairing of line connectors or current collectors or for joining electric conductors
    • HELECTRICITY
    • H05ELECTRIC TECHNIQUES NOT OTHERWISE PROVIDED FOR
    • H05KPRINTED CIRCUITS; CASINGS OR CONSTRUCTIONAL DETAILS OF ELECTRIC APPARATUS; MANUFACTURE OF ASSEMBLAGES OF ELECTRICAL COMPONENTS
    • H05K3/00Apparatus or processes for manufacturing printed circuits
    • H05K3/30Assembling printed circuits with electric components, e.g. with resistor
    • H05K3/32Assembling printed circuits with electric components, e.g. with resistor electrically connecting electric components or wires to printed circuits
    • H05K3/34Assembling printed circuits with electric components, e.g. with resistor electrically connecting electric components or wires to printed circuits by soldering
    • HELECTRICITY
    • H05ELECTRIC TECHNIQUES NOT OTHERWISE PROVIDED FOR
    • H05KPRINTED CIRCUITS; CASINGS OR CONSTRUCTIONAL DETAILS OF ELECTRIC APPARATUS; MANUFACTURE OF ASSEMBLAGES OF ELECTRICAL COMPONENTS
    • H05K3/00Apparatus or processes for manufacturing printed circuits
    • H05K3/30Assembling printed circuits with electric components, e.g. with resistor
    • H05K3/32Assembling printed circuits with electric components, e.g. with resistor electrically connecting electric components or wires to printed circuits
    • H05K3/34Assembling printed circuits with electric components, e.g. with resistor electrically connecting electric components or wires to printed circuits by soldering
    • H05K3/3457Solder materials or compositions; Methods of application thereof
    • H05K3/3485Applying solder paste, slurry or powder
    • CCHEMISTRY; METALLURGY
    • C08ORGANIC MACROMOLECULAR COMPOUNDS; THEIR PREPARATION OR CHEMICAL WORKING-UP; COMPOSITIONS BASED THEREON
    • C08KUse of inorganic or non-macromolecular organic substances as compounding ingredients
    • C08K3/00Use of inorganic substances as compounding ingredients
    • C08K3/02Elements
    • C08K3/08Metals
    • CCHEMISTRY; METALLURGY
    • C09DYES; PAINTS; POLISHES; NATURAL RESINS; ADHESIVES; COMPOSITIONS NOT OTHERWISE PROVIDED FOR; APPLICATIONS OF MATERIALS NOT OTHERWISE PROVIDED FOR
    • C09JADHESIVES; NON-MECHANICAL ASPECTS OF ADHESIVE PROCESSES IN GENERAL; ADHESIVE PROCESSES NOT PROVIDED FOR ELSEWHERE; USE OF MATERIALS AS ADHESIVES
    • C09J2301/00Additional features of adhesives in the form of films or foils
    • C09J2301/30Additional features of adhesives in the form of films or foils characterized by the chemical, physicochemical or physical properties of the adhesive or the carrier
    • C09J2301/304Additional features of adhesives in the form of films or foils characterized by the chemical, physicochemical or physical properties of the adhesive or the carrier the adhesive being heat-activatable, i.e. not tacky at temperatures inferior to 30°C
    • CCHEMISTRY; METALLURGY
    • C09DYES; PAINTS; POLISHES; NATURAL RESINS; ADHESIVES; COMPOSITIONS NOT OTHERWISE PROVIDED FOR; APPLICATIONS OF MATERIALS NOT OTHERWISE PROVIDED FOR
    • C09JADHESIVES; NON-MECHANICAL ASPECTS OF ADHESIVE PROCESSES IN GENERAL; ADHESIVE PROCESSES NOT PROVIDED FOR ELSEWHERE; USE OF MATERIALS AS ADHESIVES
    • C09J2301/00Additional features of adhesives in the form of films or foils
    • C09J2301/30Additional features of adhesives in the form of films or foils characterized by the chemical, physicochemical or physical properties of the adhesive or the carrier
    • C09J2301/314Additional features of adhesives in the form of films or foils characterized by the chemical, physicochemical or physical properties of the adhesive or the carrier the adhesive layer and/or the carrier being conductive
    • CCHEMISTRY; METALLURGY
    • C09DYES; PAINTS; POLISHES; NATURAL RESINS; ADHESIVES; COMPOSITIONS NOT OTHERWISE PROVIDED FOR; APPLICATIONS OF MATERIALS NOT OTHERWISE PROVIDED FOR
    • C09JADHESIVES; NON-MECHANICAL ASPECTS OF ADHESIVE PROCESSES IN GENERAL; ADHESIVE PROCESSES NOT PROVIDED FOR ELSEWHERE; USE OF MATERIALS AS ADHESIVES
    • C09J2301/00Additional features of adhesives in the form of films or foils
    • C09J2301/40Additional features of adhesives in the form of films or foils characterized by the presence of essential components
    • C09J2301/408Additional features of adhesives in the form of films or foils characterized by the presence of essential components additives as essential feature of the adhesive layer
    • HELECTRICITY
    • H01ELECTRIC ELEMENTS
    • H01LSEMICONDUCTOR DEVICES NOT COVERED BY CLASS H10
    • H01L2224/00Indexing scheme for arrangements for connecting or disconnecting semiconductor or solid-state bodies and methods related thereto as covered by H01L24/00
    • H01L2224/01Means for bonding being attached to, or being formed on, the surface to be connected, e.g. chip-to-package, die-attach, "first-level" interconnects; Manufacturing methods related thereto
    • H01L2224/10Bump connectors; Manufacturing methods related thereto
    • H01L2224/12Structure, shape, material or disposition of the bump connectors prior to the connecting process
    • H01L2224/13Structure, shape, material or disposition of the bump connectors prior to the connecting process of an individual bump connector
    • H01L2224/13001Core members of the bump connector
    • H01L2224/13099Material
    • H01L2224/131Material with a principal constituent of the material being a metal or a metalloid, e.g. boron [B], silicon [Si], germanium [Ge], arsenic [As], antimony [Sb], tellurium [Te] and polonium [Po], and alloys thereof
    • H01L2224/13138Material with a principal constituent of the material being a metal or a metalloid, e.g. boron [B], silicon [Si], germanium [Ge], arsenic [As], antimony [Sb], tellurium [Te] and polonium [Po], and alloys thereof the principal constituent melting at a temperature of greater than or equal to 950°C and less than 1550°C
    • H01L2224/13144Gold [Au] as principal constituent
    • HELECTRICITY
    • H01ELECTRIC ELEMENTS
    • H01LSEMICONDUCTOR DEVICES NOT COVERED BY CLASS H10
    • H01L2224/00Indexing scheme for arrangements for connecting or disconnecting semiconductor or solid-state bodies and methods related thereto as covered by H01L24/00
    • H01L2224/01Means for bonding being attached to, or being formed on, the surface to be connected, e.g. chip-to-package, die-attach, "first-level" interconnects; Manufacturing methods related thereto
    • H01L2224/26Layer connectors, e.g. plate connectors, solder or adhesive layers; Manufacturing methods related thereto
    • H01L2224/27Manufacturing methods
    • H01L2224/271Manufacture and pre-treatment of the layer connector preform
    • HELECTRICITY
    • H01ELECTRIC ELEMENTS
    • H01LSEMICONDUCTOR DEVICES NOT COVERED BY CLASS H10
    • H01L2224/00Indexing scheme for arrangements for connecting or disconnecting semiconductor or solid-state bodies and methods related thereto as covered by H01L24/00
    • H01L2224/01Means for bonding being attached to, or being formed on, the surface to be connected, e.g. chip-to-package, die-attach, "first-level" interconnects; Manufacturing methods related thereto
    • H01L2224/26Layer connectors, e.g. plate connectors, solder or adhesive layers; Manufacturing methods related thereto
    • H01L2224/28Structure, shape, material or disposition of the layer connectors prior to the connecting process
    • H01L2224/29Structure, shape, material or disposition of the layer connectors prior to the connecting process of an individual layer connector
    • H01L2224/29001Core members of the layer connector
    • H01L2224/29075Plural core members
    • H01L2224/2908Plural core members being stacked
    • H01L2224/29082Two-layer arrangements
    • HELECTRICITY
    • H01ELECTRIC ELEMENTS
    • H01LSEMICONDUCTOR DEVICES NOT COVERED BY CLASS H10
    • H01L2224/00Indexing scheme for arrangements for connecting or disconnecting semiconductor or solid-state bodies and methods related thereto as covered by H01L24/00
    • H01L2224/01Means for bonding being attached to, or being formed on, the surface to be connected, e.g. chip-to-package, die-attach, "first-level" interconnects; Manufacturing methods related thereto
    • H01L2224/26Layer connectors, e.g. plate connectors, solder or adhesive layers; Manufacturing methods related thereto
    • H01L2224/28Structure, shape, material or disposition of the layer connectors prior to the connecting process
    • H01L2224/29Structure, shape, material or disposition of the layer connectors prior to the connecting process of an individual layer connector
    • H01L2224/29001Core members of the layer connector
    • H01L2224/29099Material
    • H01L2224/29198Material with a principal constituent of the material being a combination of two or more materials in the form of a matrix with a filler, i.e. being a hybrid material, e.g. segmented structures, foams
    • H01L2224/29199Material of the matrix
    • H01L2224/2929Material of the matrix with a principal constituent of the material being a polymer, e.g. polyester, phenolic based polymer, epoxy
    • HELECTRICITY
    • H01ELECTRIC ELEMENTS
    • H01LSEMICONDUCTOR DEVICES NOT COVERED BY CLASS H10
    • H01L2224/00Indexing scheme for arrangements for connecting or disconnecting semiconductor or solid-state bodies and methods related thereto as covered by H01L24/00
    • H01L2224/01Means for bonding being attached to, or being formed on, the surface to be connected, e.g. chip-to-package, die-attach, "first-level" interconnects; Manufacturing methods related thereto
    • H01L2224/26Layer connectors, e.g. plate connectors, solder or adhesive layers; Manufacturing methods related thereto
    • H01L2224/28Structure, shape, material or disposition of the layer connectors prior to the connecting process
    • H01L2224/29Structure, shape, material or disposition of the layer connectors prior to the connecting process of an individual layer connector
    • H01L2224/29001Core members of the layer connector
    • H01L2224/29099Material
    • H01L2224/29198Material with a principal constituent of the material being a combination of two or more materials in the form of a matrix with a filler, i.e. being a hybrid material, e.g. segmented structures, foams
    • H01L2224/29298Fillers
    • H01L2224/29299Base material
    • H01L2224/293Base material with a principal constituent of the material being a metal or a metalloid, e.g. boron [B], silicon [Si], germanium [Ge], arsenic [As], antimony [Sb], tellurium [Te] and polonium [Po], and alloys thereof
    • HELECTRICITY
    • H01ELECTRIC ELEMENTS
    • H01LSEMICONDUCTOR DEVICES NOT COVERED BY CLASS H10
    • H01L2224/00Indexing scheme for arrangements for connecting or disconnecting semiconductor or solid-state bodies and methods related thereto as covered by H01L24/00
    • H01L2224/01Means for bonding being attached to, or being formed on, the surface to be connected, e.g. chip-to-package, die-attach, "first-level" interconnects; Manufacturing methods related thereto
    • H01L2224/26Layer connectors, e.g. plate connectors, solder or adhesive layers; Manufacturing methods related thereto
    • H01L2224/28Structure, shape, material or disposition of the layer connectors prior to the connecting process
    • H01L2224/29Structure, shape, material or disposition of the layer connectors prior to the connecting process of an individual layer connector
    • H01L2224/29001Core members of the layer connector
    • H01L2224/29099Material
    • H01L2224/29198Material with a principal constituent of the material being a combination of two or more materials in the form of a matrix with a filler, i.e. being a hybrid material, e.g. segmented structures, foams
    • H01L2224/29298Fillers
    • H01L2224/29299Base material
    • H01L2224/29386Base material with a principal constituent of the material being a non metallic, non metalloid inorganic material
    • HELECTRICITY
    • H01ELECTRIC ELEMENTS
    • H01LSEMICONDUCTOR DEVICES NOT COVERED BY CLASS H10
    • H01L2224/00Indexing scheme for arrangements for connecting or disconnecting semiconductor or solid-state bodies and methods related thereto as covered by H01L24/00
    • H01L2224/01Means for bonding being attached to, or being formed on, the surface to be connected, e.g. chip-to-package, die-attach, "first-level" interconnects; Manufacturing methods related thereto
    • H01L2224/26Layer connectors, e.g. plate connectors, solder or adhesive layers; Manufacturing methods related thereto
    • H01L2224/28Structure, shape, material or disposition of the layer connectors prior to the connecting process
    • H01L2224/29Structure, shape, material or disposition of the layer connectors prior to the connecting process of an individual layer connector
    • H01L2224/29001Core members of the layer connector
    • H01L2224/29099Material
    • H01L2224/29198Material with a principal constituent of the material being a combination of two or more materials in the form of a matrix with a filler, i.e. being a hybrid material, e.g. segmented structures, foams
    • H01L2224/29298Fillers
    • H01L2224/29299Base material
    • H01L2224/29386Base material with a principal constituent of the material being a non metallic, non metalloid inorganic material
    • H01L2224/29387Ceramics, e.g. crystalline carbides, nitrides or oxides
    • HELECTRICITY
    • H01ELECTRIC ELEMENTS
    • H01LSEMICONDUCTOR DEVICES NOT COVERED BY CLASS H10
    • H01L2224/00Indexing scheme for arrangements for connecting or disconnecting semiconductor or solid-state bodies and methods related thereto as covered by H01L24/00
    • H01L2224/01Means for bonding being attached to, or being formed on, the surface to be connected, e.g. chip-to-package, die-attach, "first-level" interconnects; Manufacturing methods related thereto
    • H01L2224/26Layer connectors, e.g. plate connectors, solder or adhesive layers; Manufacturing methods related thereto
    • H01L2224/28Structure, shape, material or disposition of the layer connectors prior to the connecting process
    • H01L2224/29Structure, shape, material or disposition of the layer connectors prior to the connecting process of an individual layer connector
    • H01L2224/29001Core members of the layer connector
    • H01L2224/29099Material
    • H01L2224/29198Material with a principal constituent of the material being a combination of two or more materials in the form of a matrix with a filler, i.e. being a hybrid material, e.g. segmented structures, foams
    • H01L2224/29298Fillers
    • H01L2224/29399Coating material
    • HELECTRICITY
    • H01ELECTRIC ELEMENTS
    • H01LSEMICONDUCTOR DEVICES NOT COVERED BY CLASS H10
    • H01L2224/00Indexing scheme for arrangements for connecting or disconnecting semiconductor or solid-state bodies and methods related thereto as covered by H01L24/00
    • H01L2224/01Means for bonding being attached to, or being formed on, the surface to be connected, e.g. chip-to-package, die-attach, "first-level" interconnects; Manufacturing methods related thereto
    • H01L2224/26Layer connectors, e.g. plate connectors, solder or adhesive layers; Manufacturing methods related thereto
    • H01L2224/28Structure, shape, material or disposition of the layer connectors prior to the connecting process
    • H01L2224/29Structure, shape, material or disposition of the layer connectors prior to the connecting process of an individual layer connector
    • H01L2224/29001Core members of the layer connector
    • H01L2224/29099Material
    • H01L2224/29198Material with a principal constituent of the material being a combination of two or more materials in the form of a matrix with a filler, i.e. being a hybrid material, e.g. segmented structures, foams
    • H01L2224/29298Fillers
    • H01L2224/29399Coating material
    • H01L2224/29486Coating material with a principal constituent of the material being a non metallic, non metalloid inorganic material
    • H01L2224/29487Ceramics, e.g. crystalline carbides, nitrides or oxides
    • HELECTRICITY
    • H01ELECTRIC ELEMENTS
    • H01LSEMICONDUCTOR DEVICES NOT COVERED BY CLASS H10
    • H01L2224/00Indexing scheme for arrangements for connecting or disconnecting semiconductor or solid-state bodies and methods related thereto as covered by H01L24/00
    • H01L2224/01Means for bonding being attached to, or being formed on, the surface to be connected, e.g. chip-to-package, die-attach, "first-level" interconnects; Manufacturing methods related thereto
    • H01L2224/26Layer connectors, e.g. plate connectors, solder or adhesive layers; Manufacturing methods related thereto
    • H01L2224/28Structure, shape, material or disposition of the layer connectors prior to the connecting process
    • H01L2224/29Structure, shape, material or disposition of the layer connectors prior to the connecting process of an individual layer connector
    • H01L2224/29001Core members of the layer connector
    • H01L2224/29099Material
    • H01L2224/29198Material with a principal constituent of the material being a combination of two or more materials in the form of a matrix with a filler, i.e. being a hybrid material, e.g. segmented structures, foams
    • H01L2224/29298Fillers
    • H01L2224/29399Coating material
    • H01L2224/2949Coating material with a principal constituent of the material being a polymer, e.g. polyester, phenolic based polymer, epoxy
    • HELECTRICITY
    • H01ELECTRIC ELEMENTS
    • H01LSEMICONDUCTOR DEVICES NOT COVERED BY CLASS H10
    • H01L2224/00Indexing scheme for arrangements for connecting or disconnecting semiconductor or solid-state bodies and methods related thereto as covered by H01L24/00
    • H01L2224/01Means for bonding being attached to, or being formed on, the surface to be connected, e.g. chip-to-package, die-attach, "first-level" interconnects; Manufacturing methods related thereto
    • H01L2224/26Layer connectors, e.g. plate connectors, solder or adhesive layers; Manufacturing methods related thereto
    • H01L2224/31Structure, shape, material or disposition of the layer connectors after the connecting process
    • H01L2224/32Structure, shape, material or disposition of the layer connectors after the connecting process of an individual layer connector
    • H01L2224/321Disposition
    • H01L2224/32135Disposition the layer connector connecting between different semiconductor or solid-state bodies, i.e. chip-to-chip
    • H01L2224/32145Disposition the layer connector connecting between different semiconductor or solid-state bodies, i.e. chip-to-chip the bodies being stacked
    • HELECTRICITY
    • H01ELECTRIC ELEMENTS
    • H01LSEMICONDUCTOR DEVICES NOT COVERED BY CLASS H10
    • H01L2224/00Indexing scheme for arrangements for connecting or disconnecting semiconductor or solid-state bodies and methods related thereto as covered by H01L24/00
    • H01L2224/01Means for bonding being attached to, or being formed on, the surface to be connected, e.g. chip-to-package, die-attach, "first-level" interconnects; Manufacturing methods related thereto
    • H01L2224/26Layer connectors, e.g. plate connectors, solder or adhesive layers; Manufacturing methods related thereto
    • H01L2224/31Structure, shape, material or disposition of the layer connectors after the connecting process
    • H01L2224/32Structure, shape, material or disposition of the layer connectors after the connecting process of an individual layer connector
    • H01L2224/321Disposition
    • H01L2224/32151Disposition the layer connector connecting between a semiconductor or solid-state body and an item not being a semiconductor or solid-state body, e.g. chip-to-substrate, chip-to-passive
    • H01L2224/32221Disposition the layer connector connecting between a semiconductor or solid-state body and an item not being a semiconductor or solid-state body, e.g. chip-to-substrate, chip-to-passive the body and the item being stacked
    • H01L2224/32225Disposition the layer connector connecting between a semiconductor or solid-state body and an item not being a semiconductor or solid-state body, e.g. chip-to-substrate, chip-to-passive the body and the item being stacked the item being non-metallic, e.g. insulating substrate with or without metallisation
    • H01L2224/32227Disposition the layer connector connecting between a semiconductor or solid-state body and an item not being a semiconductor or solid-state body, e.g. chip-to-substrate, chip-to-passive the body and the item being stacked the item being non-metallic, e.g. insulating substrate with or without metallisation the layer connector connecting to a bond pad of the item
    • HELECTRICITY
    • H01ELECTRIC ELEMENTS
    • H01LSEMICONDUCTOR DEVICES NOT COVERED BY CLASS H10
    • H01L2224/00Indexing scheme for arrangements for connecting or disconnecting semiconductor or solid-state bodies and methods related thereto as covered by H01L24/00
    • H01L2224/80Methods for connecting semiconductor or other solid state bodies using means for bonding being attached to, or being formed on, the surface to be connected
    • H01L2224/81Methods for connecting semiconductor or other solid state bodies using means for bonding being attached to, or being formed on, the surface to be connected using a bump connector
    • H01L2224/8119Arrangement of the bump connectors prior to mounting
    • H01L2224/81191Arrangement of the bump connectors prior to mounting wherein the bump connectors are disposed only on the semiconductor or solid-state body
    • HELECTRICITY
    • H01ELECTRIC ELEMENTS
    • H01LSEMICONDUCTOR DEVICES NOT COVERED BY CLASS H10
    • H01L2224/00Indexing scheme for arrangements for connecting or disconnecting semiconductor or solid-state bodies and methods related thereto as covered by H01L24/00
    • H01L2224/80Methods for connecting semiconductor or other solid state bodies using means for bonding being attached to, or being formed on, the surface to be connected
    • H01L2224/81Methods for connecting semiconductor or other solid state bodies using means for bonding being attached to, or being formed on, the surface to be connected using a bump connector
    • H01L2224/819Methods for connecting semiconductor or other solid state bodies using means for bonding being attached to, or being formed on, the surface to be connected using a bump connector with the bump connector not providing any mechanical bonding
    • H01L2224/81901Pressing the bump connector against the bonding areas by means of another connector
    • H01L2224/81903Pressing the bump connector against the bonding areas by means of another connector by means of a layer connector
    • HELECTRICITY
    • H01ELECTRIC ELEMENTS
    • H01LSEMICONDUCTOR DEVICES NOT COVERED BY CLASS H10
    • H01L2224/00Indexing scheme for arrangements for connecting or disconnecting semiconductor or solid-state bodies and methods related thereto as covered by H01L24/00
    • H01L2224/80Methods for connecting semiconductor or other solid state bodies using means for bonding being attached to, or being formed on, the surface to be connected
    • H01L2224/83Methods for connecting semiconductor or other solid state bodies using means for bonding being attached to, or being formed on, the surface to be connected using a layer connector
    • H01L2224/831Methods for connecting semiconductor or other solid state bodies using means for bonding being attached to, or being formed on, the surface to be connected using a layer connector the layer connector being supplied to the parts to be connected in the bonding apparatus
    • H01L2224/83101Methods for connecting semiconductor or other solid state bodies using means for bonding being attached to, or being formed on, the surface to be connected using a layer connector the layer connector being supplied to the parts to be connected in the bonding apparatus as prepeg comprising a layer connector, e.g. provided in an insulating plate member
    • HELECTRICITY
    • H01ELECTRIC ELEMENTS
    • H01LSEMICONDUCTOR DEVICES NOT COVERED BY CLASS H10
    • H01L2224/00Indexing scheme for arrangements for connecting or disconnecting semiconductor or solid-state bodies and methods related thereto as covered by H01L24/00
    • H01L2224/80Methods for connecting semiconductor or other solid state bodies using means for bonding being attached to, or being formed on, the surface to be connected
    • H01L2224/83Methods for connecting semiconductor or other solid state bodies using means for bonding being attached to, or being formed on, the surface to be connected using a layer connector
    • H01L2224/832Applying energy for connecting
    • H01L2224/83201Compression bonding
    • H01L2224/83203Thermocompression bonding, e.g. diffusion bonding, pressure joining, thermocompression welding or solid-state welding
    • HELECTRICITY
    • H01ELECTRIC ELEMENTS
    • H01LSEMICONDUCTOR DEVICES NOT COVERED BY CLASS H10
    • H01L2224/00Indexing scheme for arrangements for connecting or disconnecting semiconductor or solid-state bodies and methods related thereto as covered by H01L24/00
    • H01L2224/80Methods for connecting semiconductor or other solid state bodies using means for bonding being attached to, or being formed on, the surface to be connected
    • H01L2224/83Methods for connecting semiconductor or other solid state bodies using means for bonding being attached to, or being formed on, the surface to be connected using a layer connector
    • H01L2224/838Bonding techniques
    • H01L2224/8385Bonding techniques using a polymer adhesive, e.g. an adhesive based on silicone, epoxy, polyimide, polyester
    • H01L2224/83851Bonding techniques using a polymer adhesive, e.g. an adhesive based on silicone, epoxy, polyimide, polyester being an anisotropic conductive adhesive
    • HELECTRICITY
    • H01ELECTRIC ELEMENTS
    • H01LSEMICONDUCTOR DEVICES NOT COVERED BY CLASS H10
    • H01L2224/00Indexing scheme for arrangements for connecting or disconnecting semiconductor or solid-state bodies and methods related thereto as covered by H01L24/00
    • H01L2224/80Methods for connecting semiconductor or other solid state bodies using means for bonding being attached to, or being formed on, the surface to be connected
    • H01L2224/83Methods for connecting semiconductor or other solid state bodies using means for bonding being attached to, or being formed on, the surface to be connected using a layer connector
    • H01L2224/838Bonding techniques
    • H01L2224/8385Bonding techniques using a polymer adhesive, e.g. an adhesive based on silicone, epoxy, polyimide, polyester
    • H01L2224/83855Hardening the adhesive by curing, i.e. thermosetting
    • H01L2224/83862Heat curing
    • HELECTRICITY
    • H01ELECTRIC ELEMENTS
    • H01LSEMICONDUCTOR DEVICES NOT COVERED BY CLASS H10
    • H01L2224/00Indexing scheme for arrangements for connecting or disconnecting semiconductor or solid-state bodies and methods related thereto as covered by H01L24/00
    • H01L2224/80Methods for connecting semiconductor or other solid state bodies using means for bonding being attached to, or being formed on, the surface to be connected
    • H01L2224/83Methods for connecting semiconductor or other solid state bodies using means for bonding being attached to, or being formed on, the surface to be connected using a layer connector
    • H01L2224/838Bonding techniques
    • H01L2224/8385Bonding techniques using a polymer adhesive, e.g. an adhesive based on silicone, epoxy, polyimide, polyester
    • H01L2224/83855Hardening the adhesive by curing, i.e. thermosetting
    • H01L2224/83874Ultraviolet [UV] curing
    • HELECTRICITY
    • H01ELECTRIC ELEMENTS
    • H01LSEMICONDUCTOR DEVICES NOT COVERED BY CLASS H10
    • H01L2224/00Indexing scheme for arrangements for connecting or disconnecting semiconductor or solid-state bodies and methods related thereto as covered by H01L24/00
    • H01L2224/80Methods for connecting semiconductor or other solid state bodies using means for bonding being attached to, or being formed on, the surface to be connected
    • H01L2224/83Methods for connecting semiconductor or other solid state bodies using means for bonding being attached to, or being formed on, the surface to be connected using a layer connector
    • H01L2224/838Bonding techniques
    • H01L2224/8385Bonding techniques using a polymer adhesive, e.g. an adhesive based on silicone, epoxy, polyimide, polyester
    • H01L2224/8388Hardening the adhesive by cooling, e.g. for thermoplastics or hot-melt adhesives
    • HELECTRICITY
    • H01ELECTRIC ELEMENTS
    • H01LSEMICONDUCTOR DEVICES NOT COVERED BY CLASS H10
    • H01L2224/00Indexing scheme for arrangements for connecting or disconnecting semiconductor or solid-state bodies and methods related thereto as covered by H01L24/00
    • H01L2224/91Methods for connecting semiconductor or solid state bodies including different methods provided for in two or more of groups H01L2224/80 - H01L2224/90
    • H01L2224/92Specific sequence of method steps
    • H01L2224/921Connecting a surface with connectors of different types
    • H01L2224/9211Parallel connecting processes
    • HELECTRICITY
    • H01ELECTRIC ELEMENTS
    • H01LSEMICONDUCTOR DEVICES NOT COVERED BY CLASS H10
    • H01L2224/00Indexing scheme for arrangements for connecting or disconnecting semiconductor or solid-state bodies and methods related thereto as covered by H01L24/00
    • H01L2224/93Batch processes
    • H01L2224/94Batch processes at wafer-level, i.e. with connecting carried out on a wafer comprising a plurality of undiced individual devices
    • HELECTRICITY
    • H01ELECTRIC ELEMENTS
    • H01LSEMICONDUCTOR DEVICES NOT COVERED BY CLASS H10
    • H01L24/00Arrangements for connecting or disconnecting semiconductor or solid-state bodies; Methods or apparatus related thereto
    • H01L24/01Means for bonding being attached to, or being formed on, the surface to be connected, e.g. chip-to-package, die-attach, "first-level" interconnects; Manufacturing methods related thereto
    • H01L24/26Layer connectors, e.g. plate connectors, solder or adhesive layers; Manufacturing methods related thereto
    • H01L24/31Structure, shape, material or disposition of the layer connectors after the connecting process
    • H01L24/32Structure, shape, material or disposition of the layer connectors after the connecting process of an individual layer connector
    • HELECTRICITY
    • H01ELECTRIC ELEMENTS
    • H01LSEMICONDUCTOR DEVICES NOT COVERED BY CLASS H10
    • H01L24/00Arrangements for connecting or disconnecting semiconductor or solid-state bodies; Methods or apparatus related thereto
    • H01L24/93Batch processes
    • H01L24/94Batch processes at wafer-level, i.e. with connecting carried out on a wafer comprising a plurality of undiced individual devices
    • HELECTRICITY
    • H05ELECTRIC TECHNIQUES NOT OTHERWISE PROVIDED FOR
    • H05KPRINTED CIRCUITS; CASINGS OR CONSTRUCTIONAL DETAILS OF ELECTRIC APPARATUS; MANUFACTURE OF ASSEMBLAGES OF ELECTRICAL COMPONENTS
    • H05K2203/00Indexing scheme relating to apparatus or processes for manufacturing printed circuits covered by H05K3/00
    • H05K2203/04Soldering or other types of metallurgic bonding
    • H05K2203/0425Solder powder or solder coated metal powder

Definitions

  • the present invention relates to an anisotropic conductive film in which metal particles and a flux are present in contact with or close to each other in the film.
  • Patent Document 1 It has been proposed to use an anisotropic conductive film in which conductive particles having a nickel / gold plating layer formed on the surface of a resin core are dispersed in an insulating adhesive composition when an IC chip is mounted on a substrate.
  • Patent Document 1 the conductive particles are crushed between the terminals of the IC chip and the terminals of the substrate, or the conductive particles bite into the respective terminals to ensure conduction, and the insulating adhesive composition is used for the IC chip, the substrate, and the conductive particles. And are fixed.
  • connection structure obtained by connecting the IC chip to the substrate using an anisotropic conductive film is high temperature and high pressure. Or, when stored in a high-temperature and high-humidity environment, there is a problem that conduction reliability is lowered.
  • the conductive particles of the anisotropic conductive film it is possible to employ solder particles that form a metal bond with copper or the like at a relatively low temperature as compared with metals such as copper and aluminum that are widely used as terminal materials for IC chips. It is considered.
  • An object of the present invention is to solve the above-described problems of the prior art, and an anisotropic conductive film having metal particles such as solder particles having an oxide film on the surface as conductive particles for anisotropic conductive connection. In this case, it is possible to suppress occurrence of a short circuit and to realize high conduction reliability.
  • the present inventors have used metal particles in order to suppress the occurrence of short circuit. Rather than randomly dispersing in the insulating adhesive composition, the anisotropic conductive film should be regularly arranged when viewed in plan, and in order to achieve high conduction reliability, the flux in the film Has been found to be present in contact with or close to the metal particles, and the present invention has been completed.
  • the present invention is an anisotropic conductive film having metal particles in an insulating film, wherein the metal particles are regularly arranged in a plan view, and the anisotropic conductive film surface side end of the metal particles or a different surface.
  • an anisotropic conductive film in which a flux is disposed so as to be in contact with or close to at least one of the end portions on the back side of the isotropic conductive film.
  • the present invention also relates to a method for producing the above anisotropic conductive film, which comprises the following steps (A) to (C): (A) a step of disposing a flux on at least the bottom of the concave portion of the transfer mold having the concave portions arranged regularly; (B) a step of placing metal particles in the recesses in which the flux is disposed; and (C) the insulating film is brought into contact with the insulating film from the recess side of the transfer mold in which the metal particles are disposed, and the metal particles are applied to the insulating film by heating and pressing.
  • a production method is provided. This production method preferably further comprises step (D) (D) There is a step of thermocompression bonding another insulating film to the metal particle transfer surface of the insulating film to which the metal particles have been transferred.
  • the present invention is another method for producing the above-mentioned anisotropic conductive film, which comprises the following steps (a) to (d): (A) a step of disposing metal particles in the recesses of the transfer mold having regularly arranged recesses; (B) a step of disposing a flux on a recess forming surface on which transfer-type metal particles are disposed; (C) a step of bringing the insulating film into contact with the transfer-type flux arrangement surface side and applying heat and pressure to transfer the metal particles to the insulating film; , Thermocompression bonding another insulating film; Have
  • the present invention provides the first electronic component by disposing the aforementioned anisotropic conductive film disposed between the terminal of the first electronic component and the terminal of the second electronic component, and heating and pressing the first electronic component.
  • a connection structure in which the second electronic component and the second electronic component are anisotropically conductively connected.
  • the metal particles are regularly arranged in a plan view, so that the occurrence of short-circuits can be suppressed when applied to anisotropic conductive connection. it can. Also, since the flux is arranged so that the flux contacts or is close to at least one of the anisotropic conductive film surface side end portion or the anisotropic conductive film back surface side end portion of the metal particles, The oxide film on the surface of the metal particles can be removed at the time of conductive connection, and high conduction reliability can be realized.
  • FIG. 1A is a cross-sectional view of the anisotropic conductive film of the present invention.
  • FIG. 1B is a cross-sectional view of the anisotropic conductive film of the present invention.
  • FIG. 1C is a cross-sectional view of the anisotropic conductive film of the present invention.
  • FIG. 2A is a cross-sectional view of the anisotropic conductive film of the present invention.
  • FIG. 2B is a cross-sectional view of the anisotropic conductive film of the present invention.
  • FIG. 2C is a cross-sectional view of the anisotropic conductive film of the present invention.
  • FIG. 3 is a cross-sectional view of the anisotropic conductive film of the present invention.
  • FIG. 4 is a cross-sectional view of the anisotropic conductive film of the present invention.
  • FIG. 5 is a cross-sectional view of the anisotropic conductive film of the present invention.
  • FIG. 6 is a cross-sectional view of the anisotropic conductive film of the present invention.
  • FIG. 7A is a process explanatory diagram of the method for producing an anisotropic conductive film of the present invention.
  • FIG. 7B is a process explanatory diagram of the method for producing an anisotropic conductive film of the present invention.
  • FIG. 7C is a process explanatory diagram of the method for producing an anisotropic conductive film of the present invention.
  • FIG. 7A is a process explanatory diagram of the method for producing an anisotropic conductive film of the present invention.
  • FIG. 7B is a process explanatory diagram of the method for producing an anisotropic conductive film of the present invention.
  • FIG. 7C is a process explanatory diagram of
  • FIG. 8A is a process explanatory diagram of the method for producing an anisotropic conductive film of the present invention.
  • FIG. 8B is a process explanatory diagram of the method for producing an anisotropic conductive film of the present invention.
  • FIG. 8C is a process explanatory diagram of the method for producing an anisotropic conductive film of the present invention.
  • FIG. 8D is a process explanatory diagram of the method for producing an anisotropic conductive film of the present invention.
  • FIG. 9A is a process explanatory diagram of the method for producing an anisotropic conductive film of the present invention.
  • FIG. 9B is a process explanatory diagram of the method for producing an anisotropic conductive film of the present invention.
  • FIG. 9C is a process explanatory diagram of the method for producing an anisotropic conductive film of the present invention.
  • FIG. 9D is a process explanatory diagram of the method for producing an anisotropic conductive film of the present invention.
  • FIG. 10A is a cross-sectional view of the anisotropic conductive film of the present invention.
  • FIG. 10B is a cross-sectional view of the anisotropic conductive film of the present invention.
  • FIG. 10C is a cross-sectional view of the anisotropic conductive film of the present invention.
  • FIG. 10D is a cross-sectional view of the anisotropic conductive film of the present invention.
  • FIG. 11A is a cross-sectional view of the anisotropic conductive film of the present invention.
  • FIG. 11B is a cross-sectional view of the anisotropic conductive film of the present invention.
  • FIG. 11C is a cross-sectional view of the anisotropic conductive film of the present invention.
  • FIG. 11D is a cross-sectional view of the anisotropic conductive film of the present invention.
  • FIG. 12A is a process explanatory diagram of the method for producing an anisotropic conductive film of the present invention.
  • FIG. 12B is a process explanatory diagram of the method for producing an anisotropic conductive film of the present invention.
  • FIG. 12C is a process explanatory diagram of the method for producing an anisotropic conductive film of the present invention.
  • FIG. 12D is a process explanatory diagram of the method for producing an anisotropic conductive film of the present invention.
  • the insulating film 1 can be used by appropriately selecting from the insulating films employed in conventionally known anisotropic conductive films.
  • a thermoplastic acrylic or epoxy resin film, a thermosetting or photocuring acrylic or epoxy resin film, and the like can be given.
  • the thickness of such an insulating film is usually 10 to 40 ⁇ m.
  • the insulating film 1 should just be a film in the state of an anisotropic conductive film at least, and may be a highly viscous liquid at the time of the manufacture.
  • the metal particles 2 are used as anisotropic conductive film metal particles in an anisotropic conductive film and can be used by appropriately selecting from those having an oxide film formed on the surface. it can. Among these, solder particles having an average particle diameter of 10 to 40 ⁇ m when measured with an image type particle size distribution meter are preferred.
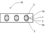
  • the flux 3 is in contact with or close to at least one end of the anisotropic conductive film surface side end or the anisotropic conductive film back side end of the metal particles. Is arranged.
  • the flux 3 is arranged so as to contact the anisotropic conductive film surface side end 2 a of the metal particles 2.
  • the flux 3 is disposed so as to contact the anisotropic conductive film back surface side end 2 b of the metal particles 2.
  • FIG. 1A the flux 3 is disposed so as to contact the anisotropic conductive film back surface side end 2 b of the metal particles 2.
  • the flux 3 is arranged so as to contact the anisotropic conductive film surface side end 2 a and the anisotropic conductive film back side end 2 b of the metal particles 2. As described above, when the metal particles 2 and the flux 3 are in contact with each other, the oxide film on the surface of the metal particles 2 is removed by the flux 3 by the heat in the anisotropic conductive connection, and the metal particles 2 are connected. A metal bond is formed with the terminal to be.
  • the quantitative relationship between the metal particles 2 and the flux 3 in contact with or close to the metal particles 2 is such that the thickness of the flux 3 is 0.001 to 0.4 times the average particle diameter of the metal particles 2. If it is this range, the surface of the metal particle 2 can be cleaned and an anisotropic conductive connection thing will not be corroded.
  • the flux 3 When the flux 3 is placed in contact with or close to the metal particles 2, the flux diluted in a solvent (preferred dilution ratio: 0.1 to 40 wt% with respect to the solvent) What is necessary is just to apply
  • the flux 3 removes the oxide film on the surface of the metal particles 2 under the heating condition in the anisotropic conductive connection.
  • a known flux according to the material of the metal particles 2 can be applied.
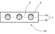
  • the insulating film 1 is a single layer. However, as shown in FIG. 3, the insulating film 1 has a two-layer structure (1a and 1b), and a metal is interposed between these layers. Particles 2 may be arranged. With such a two-layer structure, the manufacturing flexibility can be expanded.
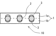
  • the anisotropic conductive film 10 of the present invention includes an embodiment in which a part of the surface of the metal particle 2 is not in contact with the flux 3.
  • the surface portion of the metal particle 2 that is not in contact with the flux 3 faces the side surface direction of the film, but may face the front surface side of the film or may face the back surface side.
  • the surface portion of the metal particles 2 that is not in contact with the flux 3 is preferably disposed on the opposite side of the surface portion of the metal particles that are in contact with the flux.
  • the flux 3 may be arrange
  • the flux 3 disposed between the adjacent metal particles 2 is attracted to the metal particles 2 at the time of anisotropic conductive connection.
  • the surface of the particles can be cleaned and delamination of the insulating film having a two-layer structure does not occur.
  • the amount of flux per unit area arranged at least one of the anisotropic conductive film surface side end 2a or the anisotropic conductive film back side end 2b of the metal particles 2 is adjacent.
  • the amount of flux per unit area disposed between the metal particles 2 is preferably larger.
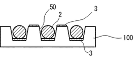
  • the flux 3 is disposed on at least the bottom of the recess 50 of the transfer mold 100 having the recesses 50 arranged regularly. Specifically, as shown in FIG. 7A, the flux 3 may be disposed only at the bottom of the recess 50, or as shown in FIG. 7B, the flux 3 may be disposed on the entire inner wall surface including the bottom of the recess 50. Good. Further, as shown in FIG. 7C, the flux 3 may be disposed on the bottom of the recess 50 and the surface between the adjacent recesses 50 of the transfer body 100. In the case of FIG. 7C, the amount of flux per unit area at the bottom of the recess 50 is preferably larger than the amount of flux per unit area of the surface between adjacent recesses 50.
  • the flux 3 is applied to the entire surface of the transfer mold by a screen printing method, and the flux on the outermost surface is applied if necessary. Scraping with a blade.
  • the metal particles 2 are arranged in the recesses 50 in which the flux 3 is arranged.
  • a known method can be employed.
  • metal particles may be dispersed on the surface of the transfer mold, and the metal particles present on the transfer mold surface other than the recesses may be removed by air blow or a blade.
  • you may supply a metal particle to a recessed part one by one with a micro dispenser.
  • the flux 3 may be arranged on the surface of the metal particles 2 by using a process technique as shown in FIG. 8D.
  • FIGS. 9A to 9D the insulating film 1 is brought into contact with the transfer mold 100 (FIGS. 8A to 8D) of FIGS.
  • the metal particles 2 are transferred to the insulating film 1 by applying pressure. If the insulating film 1 is wound around the roll in this state, the anisotropic conductive film 10 of FIG. 10A is obtained from the embodiment of FIG. 9A, and the anisotropic conductive film 10 of FIG. 10B is obtained from the embodiment of FIG. 9C is obtained, and the anisotropic conductive film 10 of FIG. 10C is obtained from the embodiment of FIG. 9C, and the anisotropic conductive film 10 of FIG. 10D is obtained from the embodiment of FIG. 9D.
  • step (D) in order to make the insulating film have a two-layer structure.
  • the anisotropic conductive film of the present invention can also be produced by another production method having the following steps (a) to (c).
  • the metal particles 2 are arranged in the recesses 50 of the transfer mold 200 having the recesses 50 arranged in a regular arrangement.
  • the anisotropic conductive film of the present invention is disposed between a terminal of a first electronic component such as an IC chip or a semiconductor wafer and a terminal of a second electronic component such as a wiring board or a halfway wafer, and is heated. It is useful for manufacturing a connection structure in which the first electronic component and the second electronic component are anisotropically conductively connected by applying pressure. Such a connection structure is also one embodiment of the present invention.
  • Example 1 A nickel plate having a thickness of 2 mm was prepared, and cylindrical convex portions (outer diameter 25 ⁇ m, height 20 ⁇ m) were formed in a tetragonal lattice pattern to obtain a transfer material master. The distance between the centers of adjacent convex portions was 40 ⁇ m. Therefore, the density of the convex portions was 625 pieces / mm 2 .
  • a flux (ESR-250T4, Senju Metal Industry Co., Ltd.) diluted with toluene using a squeegee is applied to the transfer mold peeled off from the transfer mold master, and the flux thickness in the recess becomes 1 ⁇ m after drying. The flux on the surface of the transfer mold was scraped off.
  • solder particles fine solder powder, Mitsui Mining & Smelting Co., Ltd.
  • the recesses were filled with solder particles by air blowing.
  • insulating film 60 ⁇ m of insulating film (phenoxy resin (YP-50, Nippon Steel & Sumikin Chemical Co., Ltd.) with a thickness of 20 ⁇ m, epoxy resin (jER828, Mitsubishi Chemical Co., Ltd.) on the transfer type solder particle adhesion surface to which conductive particles have adhered. ) 40 parts by weight, and a cationic curing agent (SI-60L, Sanshin Chemical Industry Co., Ltd.) 2 parts by weight), and press at a temperature of 50 ° C. and a pressure of 0.5 MPa to form an insulating film. Solder particles were transferred.
  • Example 2 A transfer mold similar to that of Example 1 was prepared. Solder particles (fine solder powder, Mitsui Mining & Smelting Co., Ltd.) having an average particle diameter of 20 ⁇ m were sprayed on the transfer mold, and then air blowed to form solder particles in the recesses. Filled.
  • Solder particles fine solder powder, Mitsui Mining & Smelting Co., Ltd.
  • a flux diluted to 20 wt% with toluene using a squeegee was applied to the surface of the transfer mold filled with solder particles so that the flux thickness after drying was 1 ⁇ m. .
  • An insulating film (phenoxy resin (YP-50, Nippon Steel & Sumikin Chemical Co., Ltd.) 60 parts by mass, epoxy resin (jER828, Mitsubishi Chemical Co., Ltd.) 40 parts by mass, and cationic curing with respect to the flux surface
  • An agent (SI-60L, a film consisting of 2 parts by mass of Sanshin Chemical Industry Co., Ltd.) was placed and pressed at a temperature of 50 ° C. and a pressure of 0.5 MPa to transfer the solder particles to the insulating film.
  • Comparative Example 1 An anisotropic conductive film was obtained by repeating Example 1 except that no flux was used.
  • Example 3 A transfer mold similar to that in Example 1 was prepared, and a flux was disposed on the bottom of the recess of the transfer mold in the same manner as in Example 1. Then, the recess was filled with solder particles. On the surface of the transfer mold, a flux (ESR-250T4, Senju Metal Industry Co., Ltd.) diluted to 5 wt% with toluene was applied again using a squeegee. Then, the anisotropic conductive film was obtained by repeating the same operation as Example 1. The coating thickness after drying of the flux was 1 ⁇ m at the end of the solder particles on the film interface side, and less than 1 ⁇ m between the solder particles.
  • ESR-250T4 Senju Metal Industry Co., Ltd.
  • Example 4 Example 1 is repeated except that the dilution of the flux (ESR-250T4, Senju Metal Industry Co., Ltd.) with toluene is changed from 5 wt% to 10 wt% in Example 1 and the coating thickness after drying is changed to 2 ⁇ m. Thus, an anisotropic conductive film was obtained.
  • ESR-250T4, Senju Metal Industry Co., Ltd. Senju Metal Industry Co., Ltd.
  • the initial conduction resistance value needs to be less than 1 ⁇
  • the conduction resistance value after PCT and after the high temperature and high humidity bias test needs to be less than 15 ⁇ .

Landscapes

  • Engineering & Computer Science (AREA)
  • Chemical & Material Sciences (AREA)
  • Manufacturing & Machinery (AREA)
  • Microelectronics & Electronic Packaging (AREA)
  • Organic Chemistry (AREA)
  • Physics & Mathematics (AREA)
  • Dispersion Chemistry (AREA)
  • Spectroscopy & Molecular Physics (AREA)
  • Computer Hardware Design (AREA)
  • Power Engineering (AREA)
  • Thermal Sciences (AREA)
  • Non-Insulated Conductors (AREA)
  • Conductive Materials (AREA)
  • Adhesives Or Adhesive Processes (AREA)
  • Manufacturing Of Electrical Connectors (AREA)
PCT/JP2016/050065 2015-01-13 2016-01-05 異方性導電フィルム、その製造方法及び接続構造体 Ceased WO2016114160A1 (ja)

Priority Applications (3)

Application Number Priority Date Filing Date Title
US15/541,621 US10575410B2 (en) 2015-01-13 2016-01-05 Anisotropic conductive film, manufacturing method thereof, and connection structure
CN201680004593.6A CN107112657B (zh) 2015-01-13 2016-01-05 各向异性导电膜、其制造方法及连接构造体
KR1020177010334A KR102028900B1 (ko) 2015-01-13 2016-01-05 이방성 도전 필름, 그 제조 방법 및 접속 구조체

Applications Claiming Priority (2)

Application Number Priority Date Filing Date Title
JP2015-004592 2015-01-13
JP2015004592A JP6458503B2 (ja) 2015-01-13 2015-01-13 異方性導電フィルム、その製造方法及び接続構造体

Publications (1)

Publication Number Publication Date
WO2016114160A1 true WO2016114160A1 (ja) 2016-07-21

Family

ID=56405707

Family Applications (1)

Application Number Title Priority Date Filing Date
PCT/JP2016/050065 Ceased WO2016114160A1 (ja) 2015-01-13 2016-01-05 異方性導電フィルム、その製造方法及び接続構造体

Country Status (6)

Country Link
US (1) US10575410B2 (enExample)
JP (1) JP6458503B2 (enExample)
KR (1) KR102028900B1 (enExample)
CN (1) CN107112657B (enExample)
TW (1) TWI691976B (enExample)
WO (1) WO2016114160A1 (enExample)

Cited By (5)

* Cited by examiner, † Cited by third party
Publication number Priority date Publication date Assignee Title
WO2019176545A1 (ja) * 2018-03-14 2019-09-19 デクセリアルズ株式会社 異方導電性シート、及び異方導電性シートの製造方法
WO2021187591A1 (ja) * 2020-03-19 2021-09-23 デクセリアルズ株式会社 接続体、及び接続体の製造方法
JP2021153049A (ja) * 2020-03-19 2021-09-30 デクセリアルズ株式会社 接続体、及び接続体の製造方法
KR20240006491A (ko) 2021-05-12 2024-01-15 세키스이가가쿠 고교가부시키가이샤 도전성 입자, 도전 재료 및 접속 구조체
WO2024195546A1 (ja) * 2023-03-23 2024-09-26 デクセリアルズ株式会社 フィラー含有フィルム、接続構造体及びその製造方法

Families Citing this family (9)

* Cited by examiner, † Cited by third party
Publication number Priority date Publication date Assignee Title
JP6935702B2 (ja) * 2016-10-24 2021-09-15 デクセリアルズ株式会社 異方性導電フィルム
CN113078486B (zh) * 2016-10-24 2023-10-20 迪睿合株式会社 各向异性导电膜的制造方法
KR102422589B1 (ko) * 2017-01-27 2022-07-18 쇼와덴코머티리얼즈가부시끼가이샤 절연 피복 도전 입자, 이방 도전 필름, 이방 도전 필름의 제조 방법, 접속 구조체 및 접속 구조체의 제조 방법
JP2019029135A (ja) * 2017-07-27 2019-02-21 日立化成株式会社 異方性導電フィルム及びその製造方法、並びに接続構造体及びその製造方法
KR102827173B1 (ko) * 2018-06-26 2025-06-27 가부시끼가이샤 레조낙 이방성 도전 필름과 그 제조 방법 및 접속 구조체의 제조 방법
KR102856173B1 (ko) 2018-06-26 2025-09-04 가부시끼가이샤 레조낙 땜납 입자
CN110767348A (zh) * 2019-11-12 2020-02-07 业成科技(成都)有限公司 异方性导电膜及其制作方法
CN116685652A (zh) * 2020-11-12 2023-09-01 株式会社力森诺科 电路连接用黏合剂薄膜及其制造方法、以及连接结构体及其制造方法
KR20230153372A (ko) * 2021-03-09 2023-11-06 닛토덴코 가부시키가이샤 접합 시트 및 그 제조 방법

Citations (5)

* Cited by examiner, † Cited by third party
Publication number Priority date Publication date Assignee Title
JPS62123607A (ja) * 1985-11-25 1987-06-04 シャープ株式会社 異方導電性テ−プの製造方法
JP2003286457A (ja) * 2002-03-28 2003-10-10 Asahi Kasei Corp 異方導電性接着シートおよびその製造方法
JP2009152160A (ja) * 2007-12-25 2009-07-09 Tokai Rubber Ind Ltd 粒子転写型およびその製造方法、粒子転写膜の製造方法ならびに異方性導電膜
JP2010073395A (ja) * 2008-09-17 2010-04-02 Sekisui Chem Co Ltd フラックス内包カプセル含有導電性粒子、異方性導電材料及び接続構造体
JP2014060150A (ja) * 2012-08-24 2014-04-03 Dexerials Corp 異方性導電フィルム及びその製造方法

Family Cites Families (15)

* Cited by examiner, † Cited by third party
Publication number Priority date Publication date Assignee Title
TW277152B (enExample) * 1994-05-10 1996-06-01 Hitachi Chemical Co Ltd
JP3196845B2 (ja) * 1999-02-22 2001-08-06 日本電気株式会社 バンプ電極形成方法
JP2001185570A (ja) * 1999-10-15 2001-07-06 Nec Corp バンプ形成方法
US20070175579A1 (en) * 2003-12-04 2007-08-02 Asahi Kasei Emd Corporation Anisotropic conductive adhesive sheet and connecting structure
US20060280912A1 (en) * 2005-06-13 2006-12-14 Rong-Chang Liang Non-random array anisotropic conductive film (ACF) and manufacturing processes
CA2666404A1 (en) * 2006-10-10 2008-04-17 Hitachi Chemical Company, Ltd. Connected structure and method for manufacture thereof
EP2308904A4 (en) * 2008-07-31 2012-11-14 Sekisui Chemical Co Ltd POLYMER PARTICLE, CONDUCTIVE PARTICLE, ANISOTROPIC CONDUCTIVE MATERIAL, AND CONNECTION STRUCTURE
CN102549091A (zh) * 2009-09-16 2012-07-04 住友电木株式会社 粘合膜、多层电路基板、电子部件和半导体装置
JP2011185570A (ja) 2010-03-10 2011-09-22 Osaka Gas Co Ltd 排熱回収装置
CN102859797B (zh) 2010-04-22 2015-05-20 积水化学工业株式会社 各向异性导电材料及连接结构体
US9084373B2 (en) * 2011-02-24 2015-07-14 Dexerials Corporation Thermally conductive adhesive
KR101774624B1 (ko) * 2011-08-05 2017-09-04 세키스이가가쿠 고교가부시키가이샤 도전 재료 및 접속 구조체
JP5445558B2 (ja) * 2011-10-24 2014-03-19 デクセリアルズ株式会社 異方導電性接着シート及び接続方法
US9231178B2 (en) * 2012-06-07 2016-01-05 Cooledge Lighting, Inc. Wafer-level flip chip device packages and related methods
JP6364191B2 (ja) * 2012-12-06 2018-07-25 積水化学工業株式会社 導電材料、接続構造体及び接続構造体の製造方法

Patent Citations (5)

* Cited by examiner, † Cited by third party
Publication number Priority date Publication date Assignee Title
JPS62123607A (ja) * 1985-11-25 1987-06-04 シャープ株式会社 異方導電性テ−プの製造方法
JP2003286457A (ja) * 2002-03-28 2003-10-10 Asahi Kasei Corp 異方導電性接着シートおよびその製造方法
JP2009152160A (ja) * 2007-12-25 2009-07-09 Tokai Rubber Ind Ltd 粒子転写型およびその製造方法、粒子転写膜の製造方法ならびに異方性導電膜
JP2010073395A (ja) * 2008-09-17 2010-04-02 Sekisui Chem Co Ltd フラックス内包カプセル含有導電性粒子、異方性導電材料及び接続構造体
JP2014060150A (ja) * 2012-08-24 2014-04-03 Dexerials Corp 異方性導電フィルム及びその製造方法

Cited By (8)

* Cited by examiner, † Cited by third party
Publication number Priority date Publication date Assignee Title
WO2019176545A1 (ja) * 2018-03-14 2019-09-19 デクセリアルズ株式会社 異方導電性シート、及び異方導電性シートの製造方法
JP2019160620A (ja) * 2018-03-14 2019-09-19 デクセリアルズ株式会社 異方導電性シート、及び異方導電性シートの製造方法
JP7042121B2 (ja) 2018-03-14 2022-03-25 デクセリアルズ株式会社 異方導電性シート、及び異方導電性シートの製造方法
WO2021187591A1 (ja) * 2020-03-19 2021-09-23 デクセリアルズ株式会社 接続体、及び接続体の製造方法
JP2021153049A (ja) * 2020-03-19 2021-09-30 デクセリアルズ株式会社 接続体、及び接続体の製造方法
US12418130B2 (en) 2020-03-19 2025-09-16 Dexerials Corporation Connection body and method for manufacturing connection body
KR20240006491A (ko) 2021-05-12 2024-01-15 세키스이가가쿠 고교가부시키가이샤 도전성 입자, 도전 재료 및 접속 구조체
WO2024195546A1 (ja) * 2023-03-23 2024-09-26 デクセリアルズ株式会社 フィラー含有フィルム、接続構造体及びその製造方法

Also Published As

Publication number Publication date
CN107112657B (zh) 2019-05-17
TW201643892A (zh) 2016-12-16
TWI691976B (zh) 2020-04-21
CN107112657A (zh) 2017-08-29
US20170359904A1 (en) 2017-12-14
JP2016131082A (ja) 2016-07-21
KR102028900B1 (ko) 2019-10-07
US10575410B2 (en) 2020-02-25
KR20170057363A (ko) 2017-05-24
JP6458503B2 (ja) 2019-01-30

Similar Documents

Publication Publication Date Title
JP6458503B2 (ja) 異方性導電フィルム、その製造方法及び接続構造体
JP6146007B2 (ja) 接合体の製造方法、パワーモジュールの製造方法、パワーモジュール用基板及びパワーモジュール
JP6950797B2 (ja) 異方性導電フィルム
TWI824740B (zh) 異向性導電膜、連接構造體、及連接構造體之製造方法
JPWO2008047918A1 (ja) 電子機器のパッケージ構造及びパッケージ製造方法
WO2016114293A1 (ja) バンプ形成用フィルム、半導体装置及びその製造方法、並びに接続構造体
TWI790007B (zh) 含有填料之膜、含有填料之膜之製造方法、膜貼合體、連接構造體及連接構造體之製造方法
JP2022097589A (ja) 異方性導電フィルム
JP5100715B2 (ja) 半導体装置及び半導体装置の製造方法
JP2024152864A (ja) 異方性導電フィルム
TW202412970A (zh) 金屬粒子凝集體、導電性膜、連接構造體、及其等之製造方法
JP6093633B2 (ja) 電子部品の接合方法
CN110692110A (zh) 导体形成用组合物及其制造方法,导体及其制造方法,芯片电阻器
JP6962404B2 (ja) 異方性導電フィルム
JP6160037B2 (ja) 接合体の製造方法、パワーモジュールの製造方法、及び、接合体、パワーモジュール、パワーモジュール用基板
HK1240407B (zh) 各向异性导电膜、其制造方法及连接构造体
HK1240407A1 (en) Anisotropic electrically-conductive film, method for manufacturing same, and connection structure
JP2013168630A (ja) セラミック多層基板の製造方法、接着用セラミックシート、接着用セラミックシート付き未焼成セラミックシート
JP2000174066A (ja) 半導体装置の実装方法
WO2018088191A1 (ja) セラミック基板及びセラミック基板の製造方法
JP6682804B2 (ja) 異方性導電フィルム
JP6077224B2 (ja) セラミック多層基板の製造方法
HK1240400B (zh) 多层基板

Legal Events

Date Code Title Description
121 Ep: the epo has been informed by wipo that ep was designated in this application

Ref document number: 16737231

Country of ref document: EP

Kind code of ref document: A1

ENP Entry into the national phase

Ref document number: 20177010334

Country of ref document: KR

Kind code of ref document: A

WWE Wipo information: entry into national phase

Ref document number: 15541621

Country of ref document: US

NENP Non-entry into the national phase

Ref country code: DE

122 Ep: pct application non-entry in european phase

Ref document number: 16737231

Country of ref document: EP

Kind code of ref document: A1