WO2016009899A1 - 表面実装インダクタ及びその製造方法 - Google Patents

表面実装インダクタ及びその製造方法 Download PDF

Info

Publication number
WO2016009899A1
WO2016009899A1 PCT/JP2015/069526 JP2015069526W WO2016009899A1 WO 2016009899 A1 WO2016009899 A1 WO 2016009899A1 JP 2015069526 W JP2015069526 W JP 2015069526W WO 2016009899 A1 WO2016009899 A1 WO 2016009899A1
Authority
WO
WIPO (PCT)
Prior art keywords
coil
winding
molded body
outer periphery
size
Prior art date
Legal status (The legal status is an assumption and is not a legal conclusion. Google has not performed a legal analysis and makes no representation as to the accuracy of the status listed.)
Ceased
Application number
PCT/JP2015/069526
Other languages
English (en)
French (fr)
Japanese (ja)
Inventor
佳利 正田
晃三 佐藤
村上 誠
佐々森 邦夫
高橋 直人
Current Assignee (The listed assignees may be inaccurate. Google has not performed a legal analysis and makes no representation or warranty as to the accuracy of the list.)
Toko Inc
Original Assignee
Toko Inc
Priority date (The priority date is an assumption and is not a legal conclusion. Google has not performed a legal analysis and makes no representation as to the accuracy of the date listed.)
Filing date
Publication date
Application filed by Toko Inc filed Critical Toko Inc
Priority to CN201580039109.9A priority Critical patent/CN106575563B/zh
Priority to KR1020177001313A priority patent/KR101866150B1/ko
Publication of WO2016009899A1 publication Critical patent/WO2016009899A1/ja
Priority to US15/407,727 priority patent/US10847309B2/en
Anticipated expiration legal-status Critical
Priority to US17/074,168 priority patent/US11908611B2/en
Ceased legal-status Critical Current

Links

Images

Classifications

    • HELECTRICITY
    • H01ELECTRIC ELEMENTS
    • H01FMAGNETS; INDUCTANCES; TRANSFORMERS; SELECTION OF MATERIALS FOR THEIR MAGNETIC PROPERTIES
    • H01F27/00Details of transformers or inductances, in general
    • H01F27/28Coils; Windings; Conductive connections
    • H01F27/29Terminals; Tapping arrangements for signal inductances
    • H01F27/292Surface mounted devices
    • HELECTRICITY
    • H01ELECTRIC ELEMENTS
    • H01FMAGNETS; INDUCTANCES; TRANSFORMERS; SELECTION OF MATERIALS FOR THEIR MAGNETIC PROPERTIES
    • H01F17/00Fixed inductances of the signal type
    • H01F17/04Fixed inductances of the signal type with magnetic core
    • HELECTRICITY
    • H01ELECTRIC ELEMENTS
    • H01FMAGNETS; INDUCTANCES; TRANSFORMERS; SELECTION OF MATERIALS FOR THEIR MAGNETIC PROPERTIES
    • H01F27/00Details of transformers or inductances, in general
    • H01F27/08Cooling; Ventilating
    • HELECTRICITY
    • H01ELECTRIC ELEMENTS
    • H01FMAGNETS; INDUCTANCES; TRANSFORMERS; SELECTION OF MATERIALS FOR THEIR MAGNETIC PROPERTIES
    • H01F27/00Details of transformers or inductances, in general
    • H01F27/28Coils; Windings; Conductive connections
    • HELECTRICITY
    • H01ELECTRIC ELEMENTS
    • H01FMAGNETS; INDUCTANCES; TRANSFORMERS; SELECTION OF MATERIALS FOR THEIR MAGNETIC PROPERTIES
    • H01F27/00Details of transformers or inductances, in general
    • H01F27/28Coils; Windings; Conductive connections
    • H01F27/2823Wires
    • H01F27/2828Construction of conductive connections, of leads
    • HELECTRICITY
    • H01ELECTRIC ELEMENTS
    • H01FMAGNETS; INDUCTANCES; TRANSFORMERS; SELECTION OF MATERIALS FOR THEIR MAGNETIC PROPERTIES
    • H01F27/00Details of transformers or inductances, in general
    • H01F27/28Coils; Windings; Conductive connections
    • H01F27/29Terminals; Tapping arrangements for signal inductances
    • HELECTRICITY
    • H01ELECTRIC ELEMENTS
    • H01FMAGNETS; INDUCTANCES; TRANSFORMERS; SELECTION OF MATERIALS FOR THEIR MAGNETIC PROPERTIES
    • H01F27/00Details of transformers or inductances, in general
    • H01F27/28Coils; Windings; Conductive connections
    • H01F27/32Insulating of coils, windings, or parts thereof
    • HELECTRICITY
    • H01ELECTRIC ELEMENTS
    • H01FMAGNETS; INDUCTANCES; TRANSFORMERS; SELECTION OF MATERIALS FOR THEIR MAGNETIC PROPERTIES
    • H01F41/00Apparatus or processes specially adapted for manufacturing or assembling magnets, inductances or transformers; Apparatus or processes specially adapted for manufacturing materials characterised by their magnetic properties
    • H01F41/02Apparatus or processes specially adapted for manufacturing or assembling magnets, inductances or transformers; Apparatus or processes specially adapted for manufacturing materials characterised by their magnetic properties for manufacturing cores, coils, or magnets
    • HELECTRICITY
    • H01ELECTRIC ELEMENTS
    • H01FMAGNETS; INDUCTANCES; TRANSFORMERS; SELECTION OF MATERIALS FOR THEIR MAGNETIC PROPERTIES
    • H01F41/00Apparatus or processes specially adapted for manufacturing or assembling magnets, inductances or transformers; Apparatus or processes specially adapted for manufacturing materials characterised by their magnetic properties
    • H01F41/02Apparatus or processes specially adapted for manufacturing or assembling magnets, inductances or transformers; Apparatus or processes specially adapted for manufacturing materials characterised by their magnetic properties for manufacturing cores, coils, or magnets
    • H01F41/0206Manufacturing of magnetic cores by mechanical means
    • H01F41/0246Manufacturing of magnetic circuits by moulding or by pressing powder
    • HELECTRICITY
    • H01ELECTRIC ELEMENTS
    • H01FMAGNETS; INDUCTANCES; TRANSFORMERS; SELECTION OF MATERIALS FOR THEIR MAGNETIC PROPERTIES
    • H01F41/00Apparatus or processes specially adapted for manufacturing or assembling magnets, inductances or transformers; Apparatus or processes specially adapted for manufacturing materials characterised by their magnetic properties
    • H01F41/02Apparatus or processes specially adapted for manufacturing or assembling magnets, inductances or transformers; Apparatus or processes specially adapted for manufacturing materials characterised by their magnetic properties for manufacturing cores, coils, or magnets
    • H01F41/04Apparatus or processes specially adapted for manufacturing or assembling magnets, inductances or transformers; Apparatus or processes specially adapted for manufacturing materials characterised by their magnetic properties for manufacturing cores, coils, or magnets for manufacturing coils
    • HELECTRICITY
    • H01ELECTRIC ELEMENTS
    • H01FMAGNETS; INDUCTANCES; TRANSFORMERS; SELECTION OF MATERIALS FOR THEIR MAGNETIC PROPERTIES
    • H01F41/00Apparatus or processes specially adapted for manufacturing or assembling magnets, inductances or transformers; Apparatus or processes specially adapted for manufacturing materials characterised by their magnetic properties
    • H01F41/02Apparatus or processes specially adapted for manufacturing or assembling magnets, inductances or transformers; Apparatus or processes specially adapted for manufacturing materials characterised by their magnetic properties for manufacturing cores, coils, or magnets
    • H01F41/04Apparatus or processes specially adapted for manufacturing or assembling magnets, inductances or transformers; Apparatus or processes specially adapted for manufacturing materials characterised by their magnetic properties for manufacturing cores, coils, or magnets for manufacturing coils
    • H01F41/06Coil winding
    • H01F41/076Forming taps or terminals while winding, e.g. by wrapping or soldering the wire onto pins, or by directly forming terminals from the wire
    • HELECTRICITY
    • H01ELECTRIC ELEMENTS
    • H01FMAGNETS; INDUCTANCES; TRANSFORMERS; SELECTION OF MATERIALS FOR THEIR MAGNETIC PROPERTIES
    • H01F17/00Fixed inductances of the signal type
    • H01F17/04Fixed inductances of the signal type with magnetic core
    • H01F2017/048Fixed inductances of the signal type with magnetic core with encapsulating core, e.g. made of resin and magnetic powder
    • YGENERAL TAGGING OF NEW TECHNOLOGICAL DEVELOPMENTS; GENERAL TAGGING OF CROSS-SECTIONAL TECHNOLOGIES SPANNING OVER SEVERAL SECTIONS OF THE IPC; TECHNICAL SUBJECTS COVERED BY FORMER USPC CROSS-REFERENCE ART COLLECTIONS [XRACs] AND DIGESTS
    • Y10TECHNICAL SUBJECTS COVERED BY FORMER USPC
    • Y10TTECHNICAL SUBJECTS COVERED BY FORMER US CLASSIFICATION
    • Y10T29/00Metal working
    • Y10T29/49Method of mechanical manufacture
    • Y10T29/49002Electrical device making
    • Y10T29/4902Electromagnet, transformer or inductor

Definitions

  • the present invention relates to a surface mount inductor including a coil formed by winding a conductive wire, and a molded body containing a coil formed using a sealing material including a resin and a magnetic material, and a method for manufacturing the same.
  • a coil 21 is formed by winding a conductive wire on a conventional surface mount inductor, and this coil 21 is embedded in a molded body 27 formed of a sealing material containing magnetic powder and resin. There is one in which the coil 21 is connected to an external terminal 28 formed on the surface of the molded body 27 (see, for example, JP 2010-245473 A).
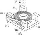
  • this surface-mount inductor is configured such that a coil 21 formed by winding a conductive wire is placed on a tablet 22, and a lead-out end 21 b of the coil 21 is placed on a columnar protrusion of the tablet 22 as shown in FIG.
  • the coil and the tablet are arranged in the molding die so as to be sandwiched between the inner wall surface of the molding die 24 along the outer side surface of the portion 22a.
  • the molded object 27 which incorporates the coil 21 by the resin molding method or the compacting method is formed using this metal mold
  • such a conventional surface-mount inductor is a molded body in which a coil is built in by a resin molding method or a powder molding method in a state where the lead end of the coil is sandwiched between the columnar convex portion of the tablet and the inner wall surface of the molding die. Since the shape of the tablet is complicated, the shape of the coil cannot be increased, and the area of the coil winding portion and the cross-sectional area of the conductive wire are reduced, resulting in poor superimposed current value Idc and resistance value Rdc. It was.
  • An object of one or more embodiments of the present invention is to provide a surface-mount inductor that can improve the superimposed current value Idc and the resistance value Rdc and can be manufactured at low cost, and a manufacturing method thereof.
  • a surface mount inductor including a coil formed by winding a conducting wire and a sealing material including a resin and a magnetic material, and including a molded body incorporating the coil. Is formed by winding a conducting wire so that the lead end is positioned on the outer periphery of the winding portion, and the molded body has a coil surface partially exposed on four side surfaces parallel to the coil winding axis. The area of the outer part of the winding part of the coil is formed so that the area of the part outside the outer periphery of the coil is substantially the same as or smaller than the area of the inner part of the coil winding part.
  • one or more embodiments of the present invention use a coil formed by winding a conducting wire and a sealing material including a resin and a magnetic material, and a surface-mount inductor including a molded body incorporating the coil.
  • a coil is formed by winding a conducting wire so that the leading end is positioned on the outer periphery of the winding part, and the coil is arranged between a pair of plate-like tablets formed using a sealing material
  • the molded body Forming the molded body so that the area of the inner part of the winding part is substantially the same as or smaller than the area of the inner periphery of the winding part, and an external terminal connected to the lead-out end of the coil on the surface of the molded body Forming.
  • a surface mount inductor including a coil formed by winding a conducting wire and a sealing material including a resin and a magnetic material, and including a molded body incorporating the coil. Is formed by winding a conducting wire so that the lead end is positioned on the outer periphery of the winding portion, and the molded body has a coil surface partially exposed on four side surfaces parallel to the coil winding axis.
  • the area of the outer part of the outer periphery of the winding part of the coil is formed so that it is substantially the same as or smaller than the area of the inner part of the inner part of the winding part of the coil,
  • the built-in coil can be enlarged, and the superimposed current value Idc and the resistance value Rdc can be improved.
  • the structure of the tablet for forming the molded body can be simplified, and the tablet can be easily made.
  • one or more embodiments of the present invention use a coil formed by winding a conducting wire and a sealing material including a resin and a magnetic material, and a surface-mount inductor including a molded body incorporating the coil.
  • a coil is formed by winding a conducting wire so that the leading end is positioned on the outer periphery of the winding part, and the coil is arranged between a pair of plate-like tablets formed using a sealing material
  • the coil is partially exposed on the four side surfaces parallel to the winding axis of the coil, and the area of the outer portion of the coil winding portion is smaller than the coil.
  • FIG. 1 is a perspective view showing an embodiment of a surface mount inductor according to the present invention. It is a perspective view which shows arrangement
  • One or more embodiments of the present invention include a molded body including a coil formed by winding a conductive wire and a coil formed using a sealing material including a resin and a magnetic material.
  • the coil has a winding portion around which a conducting wire is wound so that both ends thereof are positioned on the outer periphery, and a lead-out end portion drawn from the outer periphery of the winding portion.
  • the surface of the coil is partially exposed on four side surfaces parallel to the coil winding axis, and the area of the outer portion of the coil winding portion is larger than the inner periphery of the coil winding portion. It is formed so as to be substantially the same as or smaller than the area of the inner part.
  • one or more embodiments of the present invention can increase the outer size of the coil to the maximum within the range of the outer size of the molded body, and thus reduce the dead space of the molded body. It is possible to increase the diameter of the winding axis of the coil and the cross-sectional area of the conducting wire.
  • a coil is formed by winding a conducting wire such that the leading end is positioned on the outer periphery of the winding portion.
  • the coil is arranged between a pair of plate-like tablets formed using a sealing material and having the same size as the outer circumference of the coil, and these are integrated using a resin molding method.
  • the coil is partially exposed on four side surfaces parallel to the winding axis of the coil, and the area of the outer part of the coil winding part is substantially the same as the area of the inner part of the coil winding part.
  • the molded body is formed to be the same or smaller.
  • an external terminal connected to the coil drawing end is formed on the surface of the molded body. Therefore, the manufacturing method of the surface mount inductor according to the present invention can increase the outer size of the coil to the limit within the range of the outer size of the molded body, so that the dead space of the molded body can be reduced. It is possible to increase the diameter of the winding axis of the coil and the cross-sectional area of the conducting wire.
  • FIG. 1 is a perspective view showing a state where a molded body of a surface mount inductor according to an embodiment of the present invention is seen through
  • FIG. 2 is a view where the inside of the molded body of a surface mounted inductor according to the present invention is seen through.
  • 11 is a coil
  • 17 is a molded body.
  • the coil 11 includes a winding part 11a in which a conducting wire is wound in a spiral shape so that both ends thereof are positioned on the outer periphery, and a drawing end part 11b drawn from the winding part 11a.
  • An air core coil is formed.
  • the conducting wire is a rectangular wire having a rectangular cross section.
  • the winding part 11a is formed in an elliptical shape.
  • the lead-out end portion 11b is formed such that both ends of the conducting wire are drawn out from the winding portion 11a so as to face each other with the winding portion 11a interposed therebetween, and further bent in a direction opposite to the drawn-out direction.
  • the molded body 17 is formed so as to incorporate the coil 11 using a sealing material including a resin and a magnetic material.
  • a sealing material for example, an iron-based metal magnetic powder is used as a magnetic material, and an epoxy resin is used as a resin, and a mixture thereof is used.
  • the size W1 of the molded body 17 in the width direction is formed to be approximately the same as the size W2 of the outer circumference in the minor axis direction of the winding portion 11a of the coil 11.
  • the length L1 of the molded body 17 is such that the outer diameter L2 of the winding portion 11a of the coil 11 in the longitudinal direction, the thickness A of one of the leading ends 11b, and the thickness A of the other leading end 11b. It is approximately the same size as the sum of the thickness A or slightly larger.
  • a part of the surface in the minor axis direction of the winding portion 11 a of the coil 11 is exposed on the opposite side surfaces of the molded body 17 in the width direction.
  • the surface of the lead-out end portion 11 b of the coil 11 is exposed on the side surfaces of the molded body 17 facing in the length direction.
  • the total area of the portions D1, D2, D3, D4 outside the outer peripheral surface of the winding part 11a of the coil 11 of the molded body 17 is the part inside the inner peripheral surface of the winding part 11a of the coil 11. It is formed to be substantially the same as S1 or smaller.
  • a pair of external terminals 18 is formed on the surface of the molded body 17 as shown in FIG.
  • the coil 11 is connected between the pair of external terminals 18 by connecting the drawn end portions 11 b of the coils 11 exposed on the opposite side surfaces in the length direction of the molded body 17 to the external terminals 18.
  • Such a surface mount inductor is manufactured as follows. First, after forming a winding part by winding a conductive wire coated with a rectangular insulating coating in a spiral shape so that both ends thereof are positioned on the outer periphery, and then winding both ends of the conductive wire
  • the air core coil is formed by being drawn from the outer periphery of the turning portion and further bent to form a lead end portion.
  • the outer periphery of the coil 11 is used. Plate-shaped tablets 12 and 13 having approximately the same size are formed. Next, as shown in FIG.
  • the winding part 11a and the leading end part 11b are The provided air-core coil is placed between the pair of plate-like tablets 12 and 13, and the punch 16 is set in the cavity of the molding die in this state.
  • the air core coil 11 is built in by molding a pair of plate-like tablets and air core coils by a so-called resin molding method in which the mold is punched by a mold and a punch at 120 to 250 ° C. A molded body 17 is formed.
  • the formed body 17 has a part of the surface in the short diameter direction of the winding portion 11a of the coil 11 on the side surface facing in the width direction, and the surface of the leading end portion 11b of the coil 11 on the side surface facing in the length direction.
  • the area of the portion outside the outer peripheral surface of the winding portion 11a of the coil 11 is larger than the inner peripheral surface of the winding portion 11a of the coil 11. Is formed to be substantially the same as or smaller than the area of the inner portion.
  • the molded body 17 formed in this way is subjected to a treatment for peeling off the insulating coating on the lead-out end portion 11b of the coil 11 exposed on the opposite side surfaces in the length direction and a barrel polishing treatment.
  • the process of peeling off the insulating coating and the barrel polishing process can be performed simultaneously.
  • an external terminal material containing a conductive material is applied to the surface of the molded body 17 and cured to form external terminals 18 on the surface of the molded body 17.
  • the external terminal 18 may be plated with a material appropriately selected from one or more of Ni, Sn, Cu, Au, Pd and the like.
  • the present invention is not limited to this embodiment.
  • iron-based metal magnetic powder is used as the sealing material as the sealing material
  • epoxy resin is used as the resin.
  • the metal magnetic powder of another composition is used as the filling material, and the surface is coated with an insulator such as glass.
  • Metal magnetic powder, metal magnetic powder with modified surface, ferrite powder, glass powder, etc. may be used.
  • the resin a thermosetting resin such as a polyimide resin or a phenol resin, or a thermoplastic resin such as a polyethylene resin or a polyamide resin may be used.
  • the coil may have a winding portion formed in a circular shape.
  • the molded body has a coil placed on a plate-like tablet formed using a sealing material in a cavity of a molding die, and a powdery sealing material is filled on the coil, and these are resin molded.
  • a compacting method to expose the surface in the short diameter direction of the coil winding portion on the surfaces of two opposite side surfaces in the width direction, and outside the outer periphery of the coil winding portion Is formed so that the area of the part of the coil is substantially the same as or smaller than the area of the inner part of the coil winding part, and the coil is drawn out on the surfaces of the two opposite side surfaces in the length direction.
  • the surface of the end portion may be exposed.

Landscapes

  • Engineering & Computer Science (AREA)
  • Power Engineering (AREA)
  • Manufacturing & Machinery (AREA)
  • Microelectronics & Electronic Packaging (AREA)
  • Coils Or Transformers For Communication (AREA)
  • Manufacturing Cores, Coils, And Magnets (AREA)
  • Coils Of Transformers For General Uses (AREA)
  • Insulating Of Coils (AREA)
PCT/JP2015/069526 2014-07-18 2015-07-07 表面実装インダクタ及びその製造方法 Ceased WO2016009899A1 (ja)

Priority Applications (4)

Application Number Priority Date Filing Date Title
CN201580039109.9A CN106575563B (zh) 2014-07-18 2015-07-07 表面安装电感器及其制造方法
KR1020177001313A KR101866150B1 (ko) 2014-07-18 2015-07-07 표면 실장 인덕터 및 그 제조 방법
US15/407,727 US10847309B2 (en) 2014-07-18 2017-01-17 Surface mounted inductor and manufacturing method therefor
US17/074,168 US11908611B2 (en) 2014-07-18 2020-10-19 Manufacturing method for surface mounted inductor

Applications Claiming Priority (2)

Application Number Priority Date Filing Date Title
JP2014147486A JP6060116B2 (ja) 2014-07-18 2014-07-18 表面実装インダクタ及びその製造方法
JP2014-147486 2014-07-18

Related Child Applications (1)

Application Number Title Priority Date Filing Date
US15/407,727 Continuation US10847309B2 (en) 2014-07-18 2017-01-17 Surface mounted inductor and manufacturing method therefor

Publications (1)

Publication Number Publication Date
WO2016009899A1 true WO2016009899A1 (ja) 2016-01-21

Family

ID=55078395

Family Applications (1)

Application Number Title Priority Date Filing Date
PCT/JP2015/069526 Ceased WO2016009899A1 (ja) 2014-07-18 2015-07-07 表面実装インダクタ及びその製造方法

Country Status (5)

Country Link
US (2) US10847309B2 (enExample)
JP (1) JP6060116B2 (enExample)
KR (1) KR101866150B1 (enExample)
CN (1) CN106575563B (enExample)
WO (1) WO2016009899A1 (enExample)

Cited By (3)

* Cited by examiner, † Cited by third party
Publication number Priority date Publication date Assignee Title
KR101792389B1 (ko) 2016-01-29 2017-11-20 삼성전기주식회사 코일 전자부품
CN113972048A (zh) * 2021-10-29 2022-01-25 深圳市斯比特电子有限公司 快速装配式磁集成器件
JP2024093262A (ja) * 2022-12-27 2024-07-09 株式会社村田製作所 インダクタの製造方法、および、インダクタ

Families Citing this family (20)

* Cited by examiner, † Cited by third party
Publication number Priority date Publication date Assignee Title
JP6341138B2 (ja) * 2015-04-10 2018-06-13 株式会社村田製作所 面実装インダクタ及びその製造方法
JP6388015B2 (ja) * 2016-11-17 2018-09-12 Tdk株式会社 コイル部品およびコイル装置
JP2018182209A (ja) * 2017-04-19 2018-11-15 株式会社村田製作所 コイル部品
CN107359045B (zh) * 2017-07-17 2022-03-25 广州市精程达精密机械有限公司 一种弯角成型机
KR102484848B1 (ko) * 2017-09-20 2023-01-05 삼성전기주식회사 박막형 칩 전자부품
JP7372747B2 (ja) * 2018-03-16 2023-11-01 日東電工株式会社 配線回路基板およびその製造方法
WO2019239671A1 (ja) * 2018-06-15 2019-12-19 アルプスアルパイン株式会社 コイル封入圧粉成形コア、インダクタンス素子、および電子・電気機器
JP6922871B2 (ja) * 2018-09-28 2021-08-18 株式会社村田製作所 インダクタ部品およびインダクタ部品の製造方法
JP2020077795A (ja) * 2018-11-08 2020-05-21 株式会社村田製作所 表面実装インダクタ
KR102176279B1 (ko) 2019-05-03 2020-11-09 삼성전기주식회사 코일 전자 부품
JP7373930B2 (ja) * 2019-06-28 2023-11-06 太陽誘電株式会社 積層コイル部品
US20210035730A1 (en) * 2019-07-31 2021-02-04 Murata Manufacturing Co., Ltd. Inductor
CN110718359B (zh) * 2019-11-08 2024-12-31 汕头市信技电子科技有限公司 一种表面贴装一体成型电感器的制造结构及其方法
JP7456239B2 (ja) * 2020-03-31 2024-03-27 株式会社村田製作所 インダクタ
JP7279688B2 (ja) * 2020-06-08 2023-05-23 株式会社村田製作所 インダクタ
KR102414826B1 (ko) * 2020-06-18 2022-06-30 삼성전기주식회사 코일 부품
CN112382479B (zh) * 2020-10-21 2022-09-23 惠州市明大精密电子有限公司 一种工字电感及其制作方法
CN113470966B (zh) * 2021-07-15 2022-05-20 合泰盟方电子(深圳)股份有限公司 一种电感成型系统及成型工艺
CN115458323A (zh) * 2022-10-27 2022-12-09 汕头市信技电子科技有限公司 以小形薄形实现高性能的表面贴装电感器的制造方法
WO2025192106A1 (ja) * 2024-03-15 2025-09-18 パナソニックIpマネジメント株式会社 インダクタ及びインダクタの製造方法

Citations (2)

* Cited by examiner, † Cited by third party
Publication number Priority date Publication date Assignee Title
JP2010283119A (ja) * 2009-06-04 2010-12-16 Denso Corp リアクトル
JP2014049597A (ja) * 2012-08-31 2014-03-17 Toko Inc 面実装インダクタ及びその製造方法

Family Cites Families (9)

* Cited by examiner, † Cited by third party
Publication number Priority date Publication date Assignee Title
JP3201309B2 (ja) * 1997-05-23 2001-08-20 株式会社村田製作所 積層型コイル及びその製造方法
JP4933830B2 (ja) * 2006-05-09 2012-05-16 スミダコーポレーション株式会社 インダクタ
JP2008124162A (ja) * 2006-11-10 2008-05-29 Toko Inc 低背型チップコイルとその製造方法
JP4714779B2 (ja) * 2009-04-10 2011-06-29 東光株式会社 表面実装インダクタの製造方法とその表面実装インダクタ
JP2012160507A (ja) * 2011-01-31 2012-08-23 Toko Inc 面実装インダクタと面実装インダクタの製造方法
JP2013110184A (ja) * 2011-11-18 2013-06-06 Toko Inc 面実装インダクタの製造方法とその面実装インダクタ
JP5623446B2 (ja) * 2012-03-02 2014-11-12 東光株式会社 面実装インダクタの製造方法
KR101771731B1 (ko) * 2012-08-28 2017-08-25 삼성전기주식회사 적층 칩 전자부품
JP5894119B2 (ja) * 2013-06-14 2016-03-23 東光株式会社 面実装インダクタの製造方法

Patent Citations (2)

* Cited by examiner, † Cited by third party
Publication number Priority date Publication date Assignee Title
JP2010283119A (ja) * 2009-06-04 2010-12-16 Denso Corp リアクトル
JP2014049597A (ja) * 2012-08-31 2014-03-17 Toko Inc 面実装インダクタ及びその製造方法

Cited By (5)

* Cited by examiner, † Cited by third party
Publication number Priority date Publication date Assignee Title
KR101792389B1 (ko) 2016-01-29 2017-11-20 삼성전기주식회사 코일 전자부품
CN113972048A (zh) * 2021-10-29 2022-01-25 深圳市斯比特电子有限公司 快速装配式磁集成器件
CN113972048B (zh) * 2021-10-29 2022-05-17 深圳市斯比特电子有限公司 快速装配式磁集成器件
JP2024093262A (ja) * 2022-12-27 2024-07-09 株式会社村田製作所 インダクタの製造方法、および、インダクタ
JP7735992B2 (ja) 2022-12-27 2025-09-09 株式会社村田製作所 インダクタの製造方法

Also Published As

Publication number Publication date
JP2016025180A (ja) 2016-02-08
US11908611B2 (en) 2024-02-20
CN106575563A (zh) 2017-04-19
KR20170019439A (ko) 2017-02-21
CN106575563B (zh) 2018-10-26
KR101866150B1 (ko) 2018-06-08
US10847309B2 (en) 2020-11-24
JP6060116B2 (ja) 2017-01-11
US20210035731A1 (en) 2021-02-04
US20170125158A1 (en) 2017-05-04

Similar Documents

Publication Publication Date Title
JP6060116B2 (ja) 表面実装インダクタ及びその製造方法
TWI581277B (zh) 面安裝電感器及面安裝電感器之製造方法
KR102046344B1 (ko) 면실장 인덕터 및 그 제조 방법
JP5450565B2 (ja) 面実装インダクタ
JP2018107199A (ja) 表面実装インダクタ
WO2016035861A1 (ja) 表面実装インダクタ及びその製造方法
JP2015115406A (ja) コモンモードチョークコイル及びその製造方法
JP2016025180A5 (enExample)
JP2020077795A (ja) 表面実装インダクタ
JP2020077794A (ja) 表面実装インダクタ
JP2020077790A (ja) 表面実装インダクタ
WO2013018755A1 (ja) コイル部品及びその製造方法
JP5450566B2 (ja) 面実装インダクタの製造方法
JP6379468B2 (ja) 巻線型電子部品
JP2020107861A (ja) コイル部品の製造方法
JP2020167304A (ja) コイル部品の製造方法
KR20150139267A (ko) 권선형 인덕터
JP2016162801A (ja) 表面実装インダクタ及びその製造方法
JP6332159B2 (ja) 表面実装インダクタ及びその製造方法
KR20160134633A (ko) 권선형 인덕터 및 그 제조 방법
WO2016035862A1 (ja) 表面実装インダクタ及びその製造方法
WO2017070832A1 (zh) 一种表面贴装电感及其制造方法
KR102310477B1 (ko) 인덕터 및 이의 제조 방법
JP2016025150A (ja) トロイダルコイル
KR101130790B1 (ko) 변압기 및 그 제조방법

Legal Events

Date Code Title Description
121 Ep: the epo has been informed by wipo that ep was designated in this application

Ref document number: 15821836

Country of ref document: EP

Kind code of ref document: A1

ENP Entry into the national phase

Ref document number: 20177001313

Country of ref document: KR

Kind code of ref document: A

NENP Non-entry into the national phase

Ref country code: DE

122 Ep: pct application non-entry in european phase

Ref document number: 15821836

Country of ref document: EP

Kind code of ref document: A1