WO2015156099A1 - 電磁シールド部材 - Google Patents

電磁シールド部材 Download PDF

Info

Publication number
WO2015156099A1
WO2015156099A1 PCT/JP2015/058399 JP2015058399W WO2015156099A1 WO 2015156099 A1 WO2015156099 A1 WO 2015156099A1 JP 2015058399 W JP2015058399 W JP 2015058399W WO 2015156099 A1 WO2015156099 A1 WO 2015156099A1
Authority
WO
WIPO (PCT)
Prior art keywords
protrusion
electromagnetic shielding
edge
shielding member
wide
Prior art date
Legal status (The legal status is an assumption and is not a legal conclusion. Google has not performed a legal analysis and makes no representation as to the accuracy of the status listed.)
Ceased
Application number
PCT/JP2015/058399
Other languages
English (en)
French (fr)
Japanese (ja)
Inventor
裕一 木本
武史 清水
康志 井谷
Current Assignee (The listed assignees may be inaccurate. Google has not performed a legal analysis and makes no representation or warranty as to the accuracy of the list.)
Sumitomo Wiring Systems Ltd
AutoNetworks Technologies Ltd
Sumitomo Electric Industries Ltd
Original Assignee
Sumitomo Wiring Systems Ltd
AutoNetworks Technologies Ltd
Sumitomo Electric Industries Ltd
Priority date (The priority date is an assumption and is not a legal conclusion. Google has not performed a legal analysis and makes no representation as to the accuracy of the date listed.)
Filing date
Publication date
Application filed by Sumitomo Wiring Systems Ltd, AutoNetworks Technologies Ltd, Sumitomo Electric Industries Ltd filed Critical Sumitomo Wiring Systems Ltd
Priority to DE112015001734.8T priority Critical patent/DE112015001734T5/de
Priority to CN201580016912.0A priority patent/CN106165224B/zh
Priority to US15/300,672 priority patent/US9681594B2/en
Publication of WO2015156099A1 publication Critical patent/WO2015156099A1/ja
Anticipated expiration legal-status Critical
Ceased legal-status Critical Current

Links

Images

Classifications

    • HELECTRICITY
    • H05ELECTRIC TECHNIQUES NOT OTHERWISE PROVIDED FOR
    • H05KPRINTED CIRCUITS; CASINGS OR CONSTRUCTIONAL DETAILS OF ELECTRIC APPARATUS; MANUFACTURE OF ASSEMBLAGES OF ELECTRICAL COMPONENTS
    • H05K9/00Screening of apparatus or components against electric or magnetic fields
    • H05K9/0073Shielding materials
    • H05K9/0081Electromagnetic shielding materials, e.g. EMI, RFI shielding
    • HELECTRICITY
    • H05ELECTRIC TECHNIQUES NOT OTHERWISE PROVIDED FOR
    • H05KPRINTED CIRCUITS; CASINGS OR CONSTRUCTIONAL DETAILS OF ELECTRIC APPARATUS; MANUFACTURE OF ASSEMBLAGES OF ELECTRICAL COMPONENTS
    • H05K9/00Screening of apparatus or components against electric or magnetic fields
    • H05K9/0073Shielding materials
    • H05K9/0098Shielding materials for shielding electrical cables
    • BPERFORMING OPERATIONS; TRANSPORTING
    • B60VEHICLES IN GENERAL
    • B60RVEHICLES, VEHICLE FITTINGS, OR VEHICLE PARTS, NOT OTHERWISE PROVIDED FOR
    • B60R16/00Electric or fluid circuits specially adapted for vehicles and not otherwise provided for; Arrangement of elements of electric or fluid circuits specially adapted for vehicles and not otherwise provided for
    • B60R16/02Electric or fluid circuits specially adapted for vehicles and not otherwise provided for; Arrangement of elements of electric or fluid circuits specially adapted for vehicles and not otherwise provided for electric constitutive elements
    • B60R16/0207Wire harnesses
    • B60R16/0215Protecting, fastening and routing means therefor
    • HELECTRICITY
    • H02GENERATION; CONVERSION OR DISTRIBUTION OF ELECTRIC POWER
    • H02GINSTALLATION OF ELECTRIC CABLES OR LINES, OR OF COMBINED OPTICAL AND ELECTRIC CABLES OR LINES
    • H02G3/00Installations of electric cables or lines or protective tubing therefor in or on buildings, equivalent structures or vehicles
    • H02G3/02Details
    • H02G3/04Protective tubing or conduits, e.g. cable ladders or cable troughs
    • H02G3/0462Tubings, i.e. having a closed section
    • H02G3/0468Corrugated
    • BPERFORMING OPERATIONS; TRANSPORTING
    • B60VEHICLES IN GENERAL
    • B60YINDEXING SCHEME RELATING TO ASPECTS CROSS-CUTTING VEHICLE TECHNOLOGY
    • B60Y2410/00Constructional features of vehicle sub-units
    • B60Y2410/114Shields, e.g. for heat protection

Definitions

  • the present invention relates to an electromagnetic shielding member that shields electromagnetic noise.
  • a shielded electric wire includes an electric wire to be shielded and an electromagnetic shielding member that covers the periphery of the electric wire.
  • Patent Document 1 discloses an electromagnetic shield member obtained by bending a flexible metal plate member into a cylindrical shape.
  • the electromagnetic shielding member shown in Patent Document 1 is such that the first outer edge portion of the four outer edge portions of the metal material plate member and the second outer edge portion on the opposite side of the first outer edge portion overlap each other. It can be obtained by bending a metal plate member into a cylindrical shape.
  • Patent Document 1 also discloses a case where the first outer edge portion and the second outer edge portion are connected to each other by welding to be maintained in a cylindrical shape.
  • An object of the present invention is to provide an electromagnetic shield member that maintains a cylindrical shape with a simpler structure.
  • the electromagnetic shield member according to the first aspect is an electromagnetic shield member that forms a cylindrical body having a structure in which a metal plate member is bent into a cylindrical shape, and the electromagnetic shield member is formed of the metal plate member that is bent into a cylindrical shape.
  • a first protrusion and a second protrusion formed on each of the first edge and the second edge in the circumferential direction, the first protrusion being spaced apart in the longitudinal direction of the cylindrical body;
  • a plurality of edges are formed, the first wide part formed wider than the first narrow part in the longitudinal direction on the tip side than the first narrow part, the second projection part,
  • a plurality of second wide portions formed at the second edge with a space in the longitudinal direction and having a width wider in the longitudinal direction than the second narrow portion are arranged on the tip side of the second narrow portion.
  • the first projection and the second projection are hooked to each other, Serial second protrusion between the metal plate member in a state where the first protrusion portion is interposed is formed in a cylindrical shape.
  • the electromagnetic shielding member according to the second aspect is an aspect of the electromagnetic shielding member according to the first aspect.
  • the first protrusion has a shape portion in which the width in the longitudinal direction widens from the first narrow portion to the first wide portion in the first protrusion
  • the second projecting portion has a shape portion in which the width in the longitudinal direction increases from the second narrow portion to the second wide portion of the second projecting portion.
  • the electromagnetic shielding member according to the third aspect is an aspect of the electromagnetic shielding member according to the first aspect or the second aspect.
  • the electromagnetic shielding member according to the third aspect further has a bending deformation portion that enables bending deformation of the electromagnetic shielding member.
  • the electromagnetic shielding member according to the fourth aspect is an aspect of the electromagnetic shielding member according to the third aspect.
  • the electrobending deformable portion includes a convex crest portion along the circumferential direction of the cylindrical body and a concave trough portion along the circumferential direction alternately arranged in the longitudinal direction. It has a bellows structure.
  • the first protrusion is sandwiched between the second protrusions adjacent to the first protrusion.
  • the 1st wide part of a 1st projection part is hooked in the 2nd wide part of the 2nd projection part on both sides of this 1st projection part.
  • the second protrusion is sandwiched between the first protrusions adjacent to the second protrusion.
  • the 2nd wide part of a 2nd projection part is hooked in the 1st wide part of the 1st projection part on both sides of this 2nd projection part.
  • the first protrusion and the second protrusion are firmly hooked by the force in the direction of expanding the hollow portion of the cylindrical electromagnetic shield member. As a result, it is possible to more avoid the disconnection that maintains the cylindrical shape of the electromagnetic shield member.
  • the electromagnetic shield member has a bending deformation portion that enables bending deformation of the electromagnetic shielding member.
  • the electromagnetic shielding member in the third aspect is effective when the shielded electric wire is wired along a curved path.
  • the bending deformation portion has a bellows structure in which convex ridges along the circumferential direction of the cylindrical body and concave valleys along the circumferential direction are alternately connected in the longitudinal direction. In this case, it is possible to further reduce the possibility that liquids such as water and foreign matters such as stepping stones enter the inside of the electromagnetic shield member.
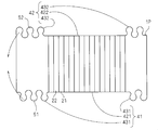
  • FIG. 1 is a cross-sectional view of an electromagnetic shield member 1.
  • FIG. 3 is an enlarged plan view of a first protrusion and a second protrusion of the electromagnetic shield member 1.
  • FIG. 3 is a plan view of a metal plate member that constitutes the electromagnetic shield member 1.
  • FIG. It is sectional drawing of 1 A of electromagnetic shielding members which concern on 2nd Embodiment.
  • It is a side perspective view of electromagnetic shielding member 1B concerning a 3rd embodiment.
  • It is a side perspective view of electromagnetic shielding member 1C concerning a 4th embodiment.
  • It is a top view of electromagnetic shielding member 1C.
  • FIG. 1st projection part and the 2nd projection part which concern on the 1st application example applicable to the electromagnetic shielding member 1.
  • FIG. 2nd projection part which concern on the 2nd application example applicable to the electromagnetic shielding member 1.
  • FIG. 2nd projection part which concern on the 3rd application example applicable to the electromagnetic shielding member 1.
  • FIG. 1 is a side perspective view of the electromagnetic shield member 1.
  • FIG. 2 is a cross-sectional view of the electromagnetic shielding member 1 in the II-II plane of FIG.
  • FIG. 4 is a plan view of the metal plate member 1P constituting the electromagnetic shield member 1 according to the present embodiment.
  • the electromagnetic shield member 1 has a cylindrical structure in which the metal plate member 1P is bent into a cylindrical shape.
  • the electromagnetic shielding member 1 has a hollow portion 19 through which the electric wire 9 to be shielded is inserted.
  • This embodiment is an example in which the electromagnetic shield member 1 is obtained by bending the plate-shaped metal plate member 1P into a cylindrical shape.
  • the metal constituting the electromagnetic shield member 1 for example, a light and soft metal such as aluminum is employed.
  • the electromagnetic shield member 1 includes a first protrusion 51 and a second protrusion 52 formed respectively on the first edge 41 and the second edge 42 in the circumferential direction of the metal plate member 1P bent into a cylindrical shape.
  • the electromagnetic shielding member 1 further includes a bending deformation portion 2 that enables bending deformation of the electromagnetic shielding member 1.
  • the electromagnetic shielding member 1 further includes a non-bending deformation portion 3 adjacent to the bending deformation portion 2 in the longitudinal direction of the electromagnetic shielding member 1.
  • the longitudinal direction of the cylindrical electromagnetic shield member 1 (cylinder) is also the axial direction of the cylindrical electromagnetic shield member 1 and is also a direction orthogonal to the circumferential direction of the cylindrical electromagnetic shield member 1. .
  • the bending deformation portion 2 in the electromagnetic shield member 1 is composed of a convex peak portion 21 along the circumferential direction of the electromagnetic shield member 1 and a concave valley portion 22 along the circumferential direction of the electromagnetic shield member 1.
  • the member 1 has a bellows structure that is alternately arranged in the longitudinal direction.
  • a single slit 4 along the longitudinal direction of the electromagnetic shield member 1 is formed in the bending deformation portion 2.
  • the slit 4 is a cut formed by the end surface of the first edge portion 41 and the end surface of the second edge portion 42 in the metal plate member 1 ⁇ / b> P, and is also a separation line of the electromagnetic shield member 1.
  • the mountain portion 21 includes a convex portion that is continuous while being bent on the outer peripheral surface side of the electromagnetic shield member 1.
  • the peak portion 21 forms a groove whose opening faces the hollow portion 19 side of the electromagnetic shield member 1.
  • the peak portion 21 includes a convex portion (a continuous convex portion) having no gap over at least a half circumference of the electromagnetic shield member 1.
  • the peak portion 21 includes a convex portion that is bent while being bent in a range excluding the slit 4 in the circumferential direction of the electromagnetic shield member 1.
  • the trough portion 22 includes a concave portion that is continuous along the circumferential direction of the electromagnetic shield member 1 while being bent.
  • the valley portion 22 includes a concave portion (a continuous concave portion) having no gap over at least a half circumference of the electromagnetic shield member 1.
  • the trough portion 22 includes a concave portion that is bent while being bent in a range excluding the slit 4 in the circumferential direction of the electromagnetic shield member 1.
  • the trough portion 22 is formed with a groove whose opening faces the outer peripheral surface side of the electromagnetic shield member 1. Note that, on the inner peripheral surface side of the electromagnetic shield member 1, the valley portion 22 forms a convex portion protruding toward the hollow portion 19 side of the electromagnetic shield member 1.
  • the bending deformation portion 2 is deformed so that the distance between the adjacent convex ridges 21 via the concave troughs 22 on the inner side in the bending direction is reduced. Further, the bending deformation portion 2 is deformed so that the distance between the adjacent convex peaks 21 via the concave valleys 22 on the outer side in the bending direction is increased. Thereby, the electromagnetic shielding member 1 can have a bent shape. In FIG. 1, the electromagnetic shielding member 1 having a bent shape is drawn with imaginary lines.
  • the non-bending deformation part 3 in the electromagnetic shielding member 1 is formed adjacent to the bending deformation part 2 in the longitudinal direction of the electromagnetic shielding member 1.
  • the non-bending deformable portion 3 is a portion in which portions having the same diameter in the electromagnetic shield member 1 are continuously connected in the longitudinal direction of the electromagnetic shield member 1.
  • the non-bending deformation portion 3 is a portion that does not deform even when the electromagnetic shield member 1 has a bent shape, unlike the bending deformation portion 2.
  • the contours of the outer peripheral surface and the inner peripheral surface of the non-bending deformable portion 3 are circular.
  • the case where the outline of the outer peripheral surface and inner peripheral surface of the non-bending deformable portion 3 is a perfect circle, an ellipse, an ellipse (rounded rectangle), or the like can be considered.
  • the case where the outline of the outer peripheral surface of the non-bending deformation part 3 and an inner peripheral surface is polygonal shape is also considered.
  • the electromagnetic shielding member 1 includes one bending deformation portion 2 and two non-bending deformation portions 3 adjacent thereto.
  • the electromagnetic shield member 1 includes only one bending deformation portion 2, that is, the bending deformation portion 2 is formed over the entire length of the electromagnetic shielding member 1.
  • the electromagnetic shielding member 1 includes only one non-bending deformable portion 3.
  • the case where the part of the same diameter in the electromagnetic shielding member 1 is continuously connected over the full length of the electromagnetic shielding member 1 etc. can be considered.
  • the electromagnetic shielding member 1 includes one non-bending deformation portion 3 and two bending deformation portions 2 adjacent thereto, or a plurality of bending deformation portions 2 and non-bending deformation portions, respectively. 3 is also conceivable.
  • first edge and second edge In the present embodiment, the first edge portion 41 and the second edge portion 42 in the circumferential direction of the metal plate member 1P having a structure bent into a cylindrical shape include an edge portion in one bending deformation portion 2 and two non-bending portions. The edge part in the deformation
  • transformation part 3 is included.
  • the pair of edge portions in the bending deformation portion 2 are referred to as center edge portions 421 and 422, respectively.
  • a pair of edge part in the non-bending deformation part 3 is called the end side edge parts 431 and 432, respectively. Therefore, it can be said that the slit 4 is a separation line formed by the end surface of the central edge 421 and the end surface of the central edge 422.
  • the first edge portion 41 includes a central edge portion 421 and two end side edge portions 431.
  • the second edge 42 includes a center edge 422 and two end side edges 432.
  • first protrusion 51 is formed on the end side edge 431 of the first edge 41.
  • the second protrusion 52 is formed on the end side edge 432 in the second edge 42.
  • the case where the 1st protrusion part 51 is formed in the center edge part 421 in the 1st edge part 41, and the 2nd protrusion part 52 is formed in the center edge part 422 in the 2nd edge part 42 is also considered. This will be described later.
  • the first protrusion 51 and the second protrusion 52 have the same shape.
  • a plurality of first protrusions 51 are formed on the first edge 41, in the present embodiment, on the end edge 431 in the first edge 41 with a gap in the longitudinal direction of the electromagnetic shield member 1.
  • the first protrusion 51 has a first wide portion 510 that is formed wider than the first narrow portion 511 in the longitudinal direction of the electromagnetic shield member 1.
  • the first wide portion 510 is formed on the distal end side of the first protrusion 51 with respect to the first narrow portion 511.
  • the first wide portion 510 is provided on the distal end side of the first protrusion 51 relative to the first narrow portion 511.
  • the first wide portion 510 is the first narrow portion. What is necessary is just to be in the position nearer to the tip side than 511. Even if both the first wide portion 510 and the first narrow portion 511 are provided at positions close to the first edge portion 41 side of the first protrusion 51, the first wide portion 510 is What is necessary is just to be in the position nearer to the tip side than the narrow part 511.
  • the first narrow portion 511 is a portion continuous with the end side edge portion 431 in the first edge portion 41.
  • the first protrusion 51 is a protrusion protruding outward from the end side edge 431 of the first edge 41.
  • the tip of the first protrusion 51 means the opposite end of the first protrusion 51 with respect to the end edge 431 side.
  • a plurality of second protrusions 52 are formed on the end side edge 432 of the second edge 42 with an interval in the longitudinal direction of the electromagnetic shield member 1.
  • the second protrusion 52 has a second wide portion 520 that is formed wider than the second narrow portion 521 in the longitudinal direction of the electromagnetic shield member 1.
  • the second wide portion 520 is formed on the distal end side of the second protrusion 52 than the second narrow portion 521.
  • the second wide portion 520 is provided on the distal end side of the second protrusion 52 relative to the second narrow portion 521. Therefore, even when both the second wide portion 520 and the second narrow portion 521 are provided at positions close to the distal end side of the second protrusion 52, the second wide portion 520 is the second narrow portion.
  • the second wide portion 520 is the first wide portion 520. What is necessary is just to be in the position nearer to the tip side than double narrow part 521.
  • the second narrow portion 521 is a portion that is continuous with the end side edge portion 432 in the second edge portion 42. That is, in the present embodiment, it can be said that the second protrusion 52 is also a protrusion protruding outward from the end edge 432 in the second edge 42. In the present embodiment, the tip of the second protrusion 52 means the opposite end of the second protrusion 52 with respect to the end edge 432 side.
  • the first protruding portion 51 has a shape portion in which the width in the longitudinal direction of the electromagnetic shielding member 1 extends from the first narrow portion 511 to the first wide portion 510 in the first protruding portion 51.
  • the first protrusion 51 has a shape portion in which the width in the longitudinal direction of the electromagnetic shield member 1 gradually increases from the first narrow portion 511 to the first wide portion 510 in the first protrusion 51.
  • the 2nd projection part 52 has a shape part which the width in the longitudinal direction of the electromagnetic shielding member 1 spreads from the 2nd narrow part 521 in the 2nd projection part 52 to the 2nd wide part 520.
  • the second protrusion 52 has a shape portion in which the width in the longitudinal direction of the electromagnetic shielding member 1 gradually increases from the second narrow portion 521 to the second wide portion 520 in the second protrusion 52.
  • FIG. 3 is an enlarged view of the first protrusion 51 and the second protrusion 52 in the present embodiment.
  • the first wide portion 510 is defined as the widest portion of the first protrusion 51.
  • the first wide portion 510 is formed at an intermediate position between the root portion (first narrow portion 511) and the most distal end portion of the first protrusion 51.
  • the second wide part 520 is defined as the widest part of the second protrusion 52 in the present specification.
  • the second wide portion 520 is formed at an intermediate position between the root portion (second narrow portion 521) and the most distal end portion of the second protrusion 52.
  • the width in the longitudinal direction of the electromagnetic shielding member 1 in the gap between the second narrow portions 521 of the second protrusion 52 is the same as the width of the first wide portion 510 of the first protrusion 51. Has been.
  • the width of the gap between the first narrow portions 511 of the first protrusion 51 in the longitudinal direction of the electromagnetic shield member 1 is also the same as the width of the second wide portion 520 of the second protrusion 52. It is formed with a width.
  • the part which connects both the 1st projection parts 51 in the base side rather than the 1st narrow part 511 between the adjacent 1st projection parts 51 has the curved edge shape. Make it. In this case, the gap between the first protrusions 51 into which the second protrusions 52 are inserted can be increased. However, there may be a case where this portion forms a straight edge shape.
  • the part which connects both the 2nd projection parts 52 in the root side rather than the 2nd narrow part 521 between the adjacent 2nd projection parts 52 has the curved edge shape. Make it. In this case, the gap between the second protrusions 52 into which the first protrusions 51 are inserted can be increased. However, there may be a case where this portion forms a straight edge shape.
  • the first projection 51 and the second projection 52 are hooked to each other, and the metal plate member 1 ⁇ / b> P is cylindrical with the first projection 51 interposed between the second projections 52. It is formed. That is, the first protrusion 51 and the second protrusion 52 adjacent to the first protrusion 51 are hooked to each other in a state where the first protrusion 51 is interposed between the second protrusions 52, thereby forming a cylindrical shape.
  • the electromagnetic shielding member 1 can be obtained.
  • the first protrusion 51 is passed through the gap between the second protrusions 52.
  • the first wide portion 510 of the first protrusion 51 is passed through the gap between the second protrusions 52 so that a part of the first protrusion 51 overlaps the outer peripheral surface of the second edge 42.
  • the operation that is, the operation of making the first protrusion 51 exist between the second protrusions 52 is performed.
  • a force is applied in the direction in which the first edge 41 and the second edge 42 are separated from the electromagnetic shield member 1 in a state where the first protrusion 51 exists between the second protrusions 52. Then, the first wide portion 510 of the first protrusion 51 is caught by the second wide portion 520 of the second protrusion 52 adjacent to the first protrusion 51. At this time, as shown in FIG. 3, the hollow portion of the electromagnetic shielding member 1 is formed between the tip-side portion of the first protrusion 51 and the portion of the end-side edge 432 where the second protrusion 52 is not formed. It is conceivable that a hole 191 through which the portion 19 is exposed is formed. The direction in which the first edge portion 41 and the second edge portion 42 are separated is also the direction in which the hollow portion 19 of the cylindrical electromagnetic shield member 1 is enlarged.
  • the first edge 41 and the second edge 42 with respect to the electromagnetic shield member 1 in a state where the second protrusion 52 exists between the first protrusions 51.
  • the second wide portions 520 of the second protrusions 52 are caught by the first wide portions 510 of the first protrusions 51 adjacent to the second protrusions 52.
  • a part of the first protrusion 51 overlaps the second edge 42 on the outer peripheral surface side of the electromagnetic shielding member 1 and a part of the second protrusion 52 is the first.
  • the first protrusion 51 and the second protrusion 52 are engaged with each other while being overlapped with the edge 41. Thereby, the 1st edge part 41 and the 2nd edge part 42 are connected, and the electromagnetic shielding member 1 maintains a cylindrical shape.
  • the outer edge line forming the outer edge of the portion extending from the first narrow portion 511 to the first wide portion 510 is curved with respect to the direction in which the first protruding portion 51 projects from the first edge portion 41. And tilted.
  • this outer edge line may be linear. It should be noted that the inclination of the outer edge line, that is, the inclination angle can be determined as appropriate.
  • the 1st projection part 51 of the 1st edge part 41 and the 2nd projection part 52 of the 2nd edge part 42 are pressed to the flat metal plate member 1P before bending, for example to a cylinder shape. It is formed by processing.
  • the first protrusion 51 and the second protrusion 52 having various shapes can be easily provided on the first edge 41 and the second edge 42, respectively.
  • the electromagnetic shield member 1 is used in a state of surrounding the electric wire 9 to be shielded, that is, in a state where the electric wire 9 is inserted through the hollow portion 19 of the electromagnetic shield member 1.
  • the electric wire 9 is drawn with a virtual line (two-dot chain line).
  • the electric wire 9 is an insulated wire having, for example, a conductor mainly composed of copper or aluminum and an insulating coating covering the periphery of the conductor.
  • the electromagnetic shield member 1 surrounds the three wires 9.
  • the electromagnetic shielding member 1 encloses the one electric wire 9
  • the case where the two electric wires 9 are enclosed, or the case where the four or more electric wires 9 are enclosed is also considered.
  • the wire harness provided with the electric wire 9 and the electromagnetic shielding member 1 is mounted on a vehicle such as an automobile, for example. Moreover, the case where a wire harness is provided with binding members 126, such as a clamp for preventing the electromagnetic shielding member 1 from opening more reliably at the time of vehicle mounting, is also considered.
  • the first protrusion 51 is sandwiched between the second protrusions 52 adjacent to the first protrusion 51. Then, the first wide portion 510 of the first protrusion 51 is caught by the second wide portion 520 of the second protrusion 52 adjacent to the first protrusion 51. The second protrusion 52 is sandwiched between the first protrusions 51 adjacent to the second protrusion 52. And the 2nd wide part 520 of the 2nd projection part 52 is hooked on the 1st wide part 510 of the 1st projection part 51 of the both sides of this 2nd projection part 52.
  • the 1st edge part 41 of the metal plate member 1P and the 2nd edge part 42 are connected, and the metal plate member 1P is formed in a cylinder shape.
  • the electromagnetic shielding member 1 that maintains the cylindrical shape with a simpler structure.
  • the 1st projection part 51 and the 2nd projection part 52 are hooked firmly with the force applied to the direction which expands the hollow part 19 of the cylindrical electromagnetic shielding member 1.
  • FIG. 1st projection part 51 and the 2nd projection part 52 are hooked firmly with the force applied to the direction which expands the hollow part 19 of the cylindrical electromagnetic shielding member 1.
  • the electromagnetic shielding member 1 has a bending deformation portion 2 that enables the electromagnetic shielding member 1 to be bent.
  • the electromagnetic shielding member 1 is effective when the shielded electric wire 9 is wired along a curved path.
  • an electromagnetic shielding member 1A according to the second embodiment will be described with reference to FIG.
  • the electromagnetic shield member 1 ⁇ / b> A a part of the first protrusion 51 overlaps the second edge 42 in a state where the first protrusion 51 exists on the inner peripheral surface side of the electromagnetic shield member 1 ⁇ / b> A.
  • FIG. 5 is a cross-sectional view of the electromagnetic shielding member 1A.
  • the same components as those shown in FIGS. 1 to 4 are given the same reference numerals.
  • the difference of the electromagnetic shielding member 1A from the electromagnetic shielding member 1 will be described.
  • a part of the first protrusion 51 overlaps the second edge 42 on the inner peripheral surface side of the electromagnetic shielding member 1A. That is, the first protrusion 51 is sandwiched between the second protrusions 52 in a state where a part of the first protrusion 51 exists in the hollow portion 19 of the electromagnetic shield member 1A.
  • a part of the second protrusion 52 overlaps the first edge 41 on the inner peripheral surface side of the electromagnetic shield member 1A. That is, the second protrusion 52 is sandwiched between the first protrusions 51 in a state where a part of the second protrusion 52 exists in the hollow portion 19 of the electromagnetic shield member 1A.
  • the electromagnetic shielding member 1A maintains a cylindrical shape by the above-described joining structure. Also in this embodiment, the same effect as that of the first embodiment can be obtained.
  • a part of the first protrusion 51 existing on the inner peripheral surface side of the first edge 41 is It contacts the inner peripheral surface of the electromagnetic shielding member 1A.
  • a part of 2nd protrusion part 52 which exists in the internal peripheral surface side of the 2nd edge part 42 contacts with the internal peripheral surface of 1 A of electromagnetic shielding members. In this case, the possibility that the connection due to the engagement of the first protrusion 51 and the second protrusion 52 will be further reduced.
  • FIG. 6 is a side perspective view of the electromagnetic shielding member 1B.
  • the same components as those shown in FIGS. 1 to 5 are given the same reference numerals.
  • the first protrusion 51 is formed on the center edge 421 and the end edge 431.
  • a second protrusion 52 is formed on the central edge 422 and the end edge 432.
  • the convex crest 21B and the concave trough 22B are the first protrusion 51, the second protrusion 52, the first edge 41, and the second edge 42 in the circumferential direction of the electromagnetic shield member 1B. It is formed in the range except.
  • the convex peak portion 21B and the concave valley portion 22B are in a range excluding the first protrusion 51 and the second protrusion 52 in the circumferential direction of the electromagnetic shield member 1B, that is, from the first edge 41 to the second edge. The case where it forms in the range over the part 42 is also considered.
  • FIG. 7 is a side perspective view of the electromagnetic shielding member 1C.
  • FIG. 8 is a plan view of the electromagnetic shielding member 1C. 7 and 8, the same components as those shown in FIGS. 1 to 6 are given the same reference numerals.
  • the electromagnetic shielding member 1C has a bending deformation portion 2C having a structure different from that of the electromagnetic shielding members 1, 1A, 1B.
  • the points of the electromagnetic shielding member 1C different from the electromagnetic shielding members 1, 1A, 1B will be described.
  • the bending deformation portion 2C is a portion in which a plurality of cuts 20C are formed in parallel in the circumferential direction.
  • each of the cuts 20C is formed along the longitudinal direction. It is also conceivable that each of the cuts 20 ⁇ / b> C is formed along a direction oblique to the longitudinal direction of the cylindrical electromagnetic shield member 1.
  • the plurality of cuts 20C are formed at equal intervals in the circumferential direction.
  • five cuts 20C are formed at equal intervals in the bending deformation portion 2C.
  • the slit 4 which the center edge part 421C and the center edge part 422C in the bending deformation part 2C comprise is also in the state which can be said to be a cut
  • FIGS. 7 and 8 is an interval at which six cuts including the slits 4 formed by the five cuts 20C and the central edge 421C and the central edge 422C are equally divided into six in the entire circumferential direction. It is an example when it is formed. Of course, a case where two to four cuts 20C are formed in the bending deformation portion 2C, or a case where six or more cuts 20C are formed may be considered.
  • each of the strip portions 201C between the cuts 20C in each of the bending deformation portions 2C is more easily bent than the other portions. For this reason, when an external force in the bending direction is applied, the electromagnetic shield member 1C is bent so that a part of the band-shaped portion 201C protrudes toward the outer peripheral surface, so that the bent band-shaped portion 201C is bent inward.
  • each of the belt-like portions 201C between the cuts 20C in each of the bending deformation portions 2C is bent in advance into a shape protruding to the outer peripheral surface side.
  • each of the belt-like portions 201 ⁇ / b> C is bent into a curved shape protruding toward the outer peripheral surface at the central portion in the longitudinal direction of the cut 20 ⁇ / b> C. Thereby, each cut 20C is in an open state.
  • a plurality of fold lines 31C are formed in the non-bending deformation portion 3C.
  • each of the plurality of fold lines 31C includes six slits 4 formed by combining five slits 20C and a central edge 421C and a central edge 422C in the circumferential direction of the electromagnetic shield member 1C. It is formed at the same position as the cut.
  • the fold line 31C is a fold line having a convex shape on the outer peripheral surface side of the non-bending deformable portion 3C.
  • FIG. 9 is an enlarged plan view of the first protrusion 51X and the second protrusion 52X.
  • the same components as those shown in FIGS. 1 to 8 are given the same reference numerals.
  • differences between the first protrusion 51X and the second protrusion 52X from the first protrusion 51 and the second protrusion 52 will be described.
  • the first protrusion 51X and the second protrusion 52X have the same shape.
  • the first protrusion 51X has a first narrow part 511X and a first wide part 510X. And the 1st wide part 510X continues to the front-end
  • the first wide portion 510X is defined as a portion having the widest width in the longitudinal direction in the first protrusion 51X.
  • corners are formed on the outer edge of the portion extending from the first narrow portion 511 ⁇ / b> X to the first wide portion 510 ⁇ / b> X in the first protrusion 51 ⁇ / b> X.
  • the outer edge of the first wide portion 510X is formed in a rectangular shape.
  • the second protrusion 52X has a second narrow part 521X and a second wide part 520X. And the 2nd wide part 520X continues to the front-end
  • the second wide portion 520X is defined as a portion having the widest width in the longitudinal direction in the second protrusion 52X.
  • corners are formed on the outer edge of the portion of the second protrusion 52 ⁇ / b> X extending from the second narrow portion 521 ⁇ / b> X to the second wide portion 520 ⁇ / b> X.
  • the outer edge of the second wide portion 520X is formed in a rectangular shape.
  • the first wide portion 510X of one first protrusion 51X is caught by two second wide portions 520X in the adjacent second protrusion 52X.
  • the second wide portion 520X of one second protrusion 52X is caught by the two first wide portions 510X in the two adjacent first protrusions 51X.
  • the width of the first wide portion 510X of the first protrusion 51X in the longitudinal direction of the electromagnetic shield member 1 is the same as that of the second wide portion 520X of the second protrusion 52X adjacent to the first protrusion 51X. Greater than the width between. The same applies to the second protrusion 52X.
  • a part of the first wide portion 510X of the first protrusion 51X includes a portion where the second protrusion 52X is not formed in the second edge portion 42 and the second protrusion 52 adjacent to the first protrusion 51X.
  • the case where it overlaps with a part of 2nd narrow part 521X in can be considered.
  • the first projecting portion 51X and the second projecting portion 52X are engaged with each other, whereby the electromagnetic shielding members 1, 1A, 1B to which the first projecting portion 51X and the second projecting portion 52X according to this application example are applied.
  • 1C maintain a cylindrical shape.
  • FIG. 10 is an enlarged plan view of the first protrusion 51Y and the second protrusion 52Y.
  • the same components as those shown in FIGS. 1 to 9 are given the same reference numerals.
  • differences between the first protrusions 51Y and the second protrusions 52Y from the first protrusions 51 and 51X and the second protrusions 52 and 52X will be described.
  • the first protrusion 51Y has a shape in which the width gradually increases from the first narrow portion 511Y to the tip.
  • the first wide portion 510Y is defined as the maximum width portion of the first protrusion 51Y.
  • the first wide portion 510Y is formed at the most distal end portion of the first protrusion 51Y.
  • the outer edge of the first protrusion 51Y is formed in a trapezoidal shape.
  • the second protrusion 52Y has a shape in which the width gradually increases from the second narrow portion 521Y to the tip.
  • the second wide portion 520Y is defined as the maximum width portion of the second protrusion 52Y.
  • the second wide portion 520Y is formed at the most distal end portion of the second protrusion 52Y.
  • the outer edge of the second protrusion 52 ⁇ / b> Y is formed in a trapezoidal shape.
  • the intermediate position between the first narrow portion 511Y and the first wide portion 510Y of the first protrusion 51Y is the second narrow portion 521Y of the adjacent second protrusion 52Y. It is caught in the intermediate position with the second wide portion 520Y.
  • the intermediate position between the second narrow portion 521Y and the second wide portion 520Y of the second protrusion 52Y is between the first narrow portion 511Y and the first wide portion 510Y in the adjacent first protrusion 51Y. It gets caught in the middle position.
  • the electromagnetic shielding members 1, 1A, 1B, and 1C to which the first protrusion 51Y and the second protrusion 52Y are applied maintain a cylindrical shape.
  • FIG. 11 is an enlarged plan view of the first protrusion 51Z and the second protrusion 52Z.
  • the same components as those shown in FIGS. 1 to 10 are denoted by the same reference numerals.
  • differences between the first protrusions 51Z and the second protrusions 52Z from the first protrusions 51, 51X, 51Y and the second protrusions 52, 52X, 52Y will be described.
  • first protrusion 51Z and the second protrusion 52Z have different shapes.
  • the shape of the first protrusion 51 ⁇ / b> Z is the same as the shape of the first protrusion 51.
  • the shape of the second protrusion 52Z is the same as the shape of the second protrusion 52Y.
  • the first protrusion 51Z has the same shape as the first protrusion 51
  • the second protrusion The case where the part 52Z has the same shape as the second protrusion 52Y is shown.
  • combinations of the first protrusion 51Z and the second protrusion 52Z may be considered other than the above.
  • the electromagnetic shielding member according to the present invention can be freely combined with each of the embodiments and application examples shown above within the scope of the invention described in each claim, or each of the embodiments and application examples as appropriate. It is also possible to configure by changing or omitting a part.

Landscapes

  • Engineering & Computer Science (AREA)
  • Microelectronics & Electronic Packaging (AREA)
  • Mechanical Engineering (AREA)
  • Architecture (AREA)
  • Civil Engineering (AREA)
  • Structural Engineering (AREA)
  • Physics & Mathematics (AREA)
  • Electromagnetism (AREA)
  • Shielding Devices Or Components To Electric Or Magnetic Fields (AREA)
  • Details Of Indoor Wiring (AREA)
PCT/JP2015/058399 2014-04-09 2015-03-20 電磁シールド部材 Ceased WO2015156099A1 (ja)

Priority Applications (3)

Application Number Priority Date Filing Date Title
DE112015001734.8T DE112015001734T5 (de) 2014-04-09 2015-03-20 Elektromagnetisches Schirmelement
CN201580016912.0A CN106165224B (zh) 2014-04-09 2015-03-20 电磁屏蔽部件
US15/300,672 US9681594B2 (en) 2014-04-09 2015-03-20 Electromagnetic shielding member

Applications Claiming Priority (2)

Application Number Priority Date Filing Date Title
JP2014080053A JP2015201986A (ja) 2014-04-09 2014-04-09 電磁シールド部材
JP2014-080053 2014-04-09

Publications (1)

Publication Number Publication Date
WO2015156099A1 true WO2015156099A1 (ja) 2015-10-15

Family

ID=54287679

Family Applications (1)

Application Number Title Priority Date Filing Date
PCT/JP2015/058399 Ceased WO2015156099A1 (ja) 2014-04-09 2015-03-20 電磁シールド部材

Country Status (5)

Country Link
US (1) US9681594B2 (enExample)
JP (1) JP2015201986A (enExample)
CN (1) CN106165224B (enExample)
DE (1) DE112015001734T5 (enExample)
WO (1) WO2015156099A1 (enExample)

Cited By (2)

* Cited by examiner, † Cited by third party
Publication number Priority date Publication date Assignee Title
IT201600121212A1 (it) * 2016-11-30 2018-05-30 G Iron S R L Canala portacavi schermante
WO2021094147A1 (de) * 2019-11-13 2021-05-20 Thyssenkrupp Steel Europe Ag Verfahren zur herstellung eines zumindest teilbereichsweise geschlossenen blechprofils aus metall

Families Citing this family (6)

* Cited by examiner, † Cited by third party
Publication number Priority date Publication date Assignee Title
CA3048398A1 (en) * 2017-03-15 2018-09-20 Nippon Steel Corporation Method of manufacturing a quenched member and quenched member
DE102019102347B4 (de) * 2019-01-30 2024-01-11 Fujitsu Client Computing Limited Computersystem
JP7331619B2 (ja) * 2019-10-23 2023-08-23 住友電装株式会社 ワイヤハーネス
JPWO2023013753A1 (enExample) * 2021-08-05 2023-02-09
DE102021130027A1 (de) 2021-11-17 2023-05-17 Scherdel Innotec Forschungs- Und Entwicklungs-Gmbh Dünnwandiges Rohr, metallisches Flachmaterial und Verfahren zum Herstellen eines dünnwandigen Rohrs
CN115126849B (zh) * 2022-07-27 2025-04-25 中国航发湖南动力机械研究所 一种电磁屏蔽传动轴装置

Citations (4)

* Cited by examiner, † Cited by third party
Publication number Priority date Publication date Assignee Title
JPH0569059A (ja) * 1991-03-04 1993-03-23 Nacam 自動車用操舵軸の管体
JPH11275731A (ja) * 1998-03-20 1999-10-08 Mitsubishi Shindoh Co Ltd 電磁波シールド体
JP2000077881A (ja) * 1998-08-31 2000-03-14 Nippon Telegr & Teleph Corp <Ntt> ファスナー電磁シールド
WO2008099836A1 (ja) * 2007-02-13 2008-08-21 Nsk Ltd. ステアリングコラム装置

Family Cites Families (15)

* Cited by examiner, † Cited by third party
Publication number Priority date Publication date Assignee Title
US3273601A (en) * 1966-09-20 Stamped tubular product and method of making the same
US1999818A (en) * 1931-01-22 1935-04-30 Patrick J Mcintyre Method of forming tubing
US3461531A (en) * 1967-03-09 1969-08-19 William J De Gain Method of making a tubular product
US3577621A (en) * 1969-05-14 1971-05-04 Koppy Tool Corp Stretch method for making a tubular product
DE3201108A1 (de) * 1982-01-15 1983-07-28 Siemens AG, 1000 Berlin und 8000 München Verschlusssystem fuer eine manschette aus schrumpfbarem material
US4684762A (en) * 1985-05-17 1987-08-04 Raychem Corp. Shielding fabric
DE10149305C1 (de) * 2001-10-01 2003-04-30 Infineon Technologies Ag Abschirmelement zur elektromagnetischen Abschirmung einer Durchgangsöffnung
DE102006005736A1 (de) * 2006-02-07 2007-08-09 Thyssenkrupp Presta Ag Wellrohr
JP2012065448A (ja) * 2010-09-16 2012-03-29 Yazaki Corp 導電路用シールド部材及びワイヤハーネス
JP5645075B2 (ja) * 2011-02-28 2014-12-24 株式会社オートネットワーク技術研究所 シールド導電体
DE102011007660A1 (de) * 2011-04-19 2012-10-25 Hilti Aktiengesellschaft Handwerkzeugmaschine und Herstellungsverfahren
JP5880070B2 (ja) * 2012-01-23 2016-03-08 株式会社オートネットワーク技術研究所 電磁シールド具及びワイヤハーネス
JP5772640B2 (ja) 2012-02-08 2015-09-02 株式会社オートネットワーク技術研究所 電磁シールド具及びワイヤハーネス
ITMI20120788A1 (it) * 2012-05-09 2013-11-10 Ilpea Ind Spa Sistema schermante flessibile a copertura totale per onde elettromagnetiche
JP6132206B2 (ja) * 2014-03-03 2017-05-24 住友電装株式会社 シールド導電路

Patent Citations (4)

* Cited by examiner, † Cited by third party
Publication number Priority date Publication date Assignee Title
JPH0569059A (ja) * 1991-03-04 1993-03-23 Nacam 自動車用操舵軸の管体
JPH11275731A (ja) * 1998-03-20 1999-10-08 Mitsubishi Shindoh Co Ltd 電磁波シールド体
JP2000077881A (ja) * 1998-08-31 2000-03-14 Nippon Telegr & Teleph Corp <Ntt> ファスナー電磁シールド
WO2008099836A1 (ja) * 2007-02-13 2008-08-21 Nsk Ltd. ステアリングコラム装置

Cited By (2)

* Cited by examiner, † Cited by third party
Publication number Priority date Publication date Assignee Title
IT201600121212A1 (it) * 2016-11-30 2018-05-30 G Iron S R L Canala portacavi schermante
WO2021094147A1 (de) * 2019-11-13 2021-05-20 Thyssenkrupp Steel Europe Ag Verfahren zur herstellung eines zumindest teilbereichsweise geschlossenen blechprofils aus metall

Also Published As

Publication number Publication date
DE112015001734T5 (de) 2017-02-09
JP2015201986A (ja) 2015-11-12
US20170118878A1 (en) 2017-04-27
CN106165224A (zh) 2016-11-23
CN106165224B (zh) 2018-07-31
US9681594B2 (en) 2017-06-13

Similar Documents

Publication Publication Date Title
WO2015156099A1 (ja) 電磁シールド部材
CN104380532B (zh) 屏蔽套筒以及包括屏蔽套筒的屏蔽端部元件
CN105659435B (zh) 压接端子
JP6361544B2 (ja) 電磁シールド部材
WO2014050737A1 (ja) シールド導電路及びその製造方法
JP6229540B2 (ja) 電磁シールド部材
WO2015053255A1 (ja) 圧着端子
WO2015151987A1 (ja) 電磁シールド部材及び電磁シールド部材製造方法
JP2016167340A (ja) ジョイント部材及びワイヤーハーネス
JP6164188B2 (ja) クリップ
WO2016158400A1 (ja) 電線モジュール及び電線モジュール製造方法
JP2004119071A (ja) フラットケーブルの屈曲方法及び該屈曲方法によって屈曲させたフラットケーブル
WO2016129377A1 (ja) ワイヤーハーネス支持体、ワイヤーハーネス及び保護部材
WO2015159667A1 (ja) 電磁シールド部材及びワイヤーハーネス
JP6183179B2 (ja) 同軸ケーブル用スリーブ及び同軸ケーブル
JP2016073145A (ja) 電磁シールド部材
JP2015162474A (ja) 電磁シールド部材
JP2015153492A (ja) ワイヤーハーネス
JP2016157658A (ja) グロメット及びグロメット付電線
JP2017188214A (ja) 外装部材付電線
WO2016052148A1 (ja) 電磁シールド部材
JP2016167427A (ja) 電線群保護具およびワイヤハーネス
WO2016027629A1 (ja) 電磁シールド部材及び電磁シールド部材製造方法
WO2015137191A1 (ja) 電磁シールド部材
JP2016039109A (ja) ワイヤーハーネス

Legal Events

Date Code Title Description
121 Ep: the epo has been informed by wipo that ep was designated in this application

Ref document number: 15776423

Country of ref document: EP

Kind code of ref document: A1

WWE Wipo information: entry into national phase

Ref document number: 15300672

Country of ref document: US

WWE Wipo information: entry into national phase

Ref document number: 112015001734

Country of ref document: DE

122 Ep: pct application non-entry in european phase

Ref document number: 15776423

Country of ref document: EP

Kind code of ref document: A1