WO2014042030A1 - インホイールモータ駆動装置のサスペンション構造 - Google Patents

インホイールモータ駆動装置のサスペンション構造 Download PDF

Info

Publication number
WO2014042030A1
WO2014042030A1 PCT/JP2013/073540 JP2013073540W WO2014042030A1 WO 2014042030 A1 WO2014042030 A1 WO 2014042030A1 JP 2013073540 W JP2013073540 W JP 2013073540W WO 2014042030 A1 WO2014042030 A1 WO 2014042030A1
Authority
WO
WIPO (PCT)
Prior art keywords
wheel motor
trailing arm
motor drive
drive device
trailing
Prior art date
Legal status (The legal status is an assumption and is not a legal conclusion. Google has not performed a legal analysis and makes no representation as to the accuracy of the status listed.)
Ceased
Application number
PCT/JP2013/073540
Other languages
English (en)
French (fr)
Japanese (ja)
Inventor
四郎 田村
鈴木 稔
Current Assignee (The listed assignees may be inaccurate. Google has not performed a legal analysis and makes no representation or warranty as to the accuracy of the list.)
NTN Corp
Original Assignee
NTN Corp
NTN Toyo Bearing Co Ltd
Priority date (The priority date is an assumption and is not a legal conclusion. Google has not performed a legal analysis and makes no representation as to the accuracy of the date listed.)
Filing date
Publication date
Application filed by NTN Corp, NTN Toyo Bearing Co Ltd filed Critical NTN Corp
Priority to US14/427,746 priority Critical patent/US9771105B2/en
Priority to EP13836890.7A priority patent/EP2896519B1/en
Priority to CN201380047324.4A priority patent/CN104619527B/zh
Priority to IN451MUN2015 priority patent/IN2015MN00451A/en
Publication of WO2014042030A1 publication Critical patent/WO2014042030A1/ja
Anticipated expiration legal-status Critical
Ceased legal-status Critical Current

Links

Images

Classifications

    • BPERFORMING OPERATIONS; TRANSPORTING
    • B62LAND VEHICLES FOR TRAVELLING OTHERWISE THAN ON RAILS
    • B62DMOTOR VEHICLES; TRAILERS
    • B62D21/00Understructures, i.e. chassis frame on which a vehicle body may be mounted
    • B62D21/11Understructures, i.e. chassis frame on which a vehicle body may be mounted with resilient means for suspension, e.g. of wheels or engine; sub-frames for mounting engine or suspensions
    • BPERFORMING OPERATIONS; TRANSPORTING
    • B60VEHICLES IN GENERAL
    • B60GVEHICLE SUSPENSION ARRANGEMENTS
    • B60G21/00Interconnection systems for two or more resiliently-suspended wheels, e.g. for stabilising a vehicle body with respect to acceleration, deceleration or centrifugal forces
    • B60G21/02Interconnection systems for two or more resiliently-suspended wheels, e.g. for stabilising a vehicle body with respect to acceleration, deceleration or centrifugal forces permanently interconnected
    • B60G21/04Interconnection systems for two or more resiliently-suspended wheels, e.g. for stabilising a vehicle body with respect to acceleration, deceleration or centrifugal forces permanently interconnected mechanically
    • B60G21/05Interconnection systems for two or more resiliently-suspended wheels, e.g. for stabilising a vehicle body with respect to acceleration, deceleration or centrifugal forces permanently interconnected mechanically between wheels on the same axle but on different sides of the vehicle, i.e. the left and right wheel suspensions being interconnected
    • B60G21/051Trailing arm twist beam axles
    • BPERFORMING OPERATIONS; TRANSPORTING
    • B60VEHICLES IN GENERAL
    • B60KARRANGEMENT OR MOUNTING OF PROPULSION UNITS OR OF TRANSMISSIONS IN VEHICLES; ARRANGEMENT OR MOUNTING OF PLURAL DIVERSE PRIME-MOVERS IN VEHICLES; AUXILIARY DRIVES FOR VEHICLES; INSTRUMENTATION OR DASHBOARDS FOR VEHICLES; ARRANGEMENTS IN CONNECTION WITH COOLING, AIR INTAKE, GAS EXHAUST OR FUEL SUPPLY OF PROPULSION UNITS IN VEHICLES
    • B60K7/00Disposition of motor in, or adjacent to, traction wheel
    • B60K7/0007Disposition of motor in, or adjacent to, traction wheel the motor being electric
    • BPERFORMING OPERATIONS; TRANSPORTING
    • B60VEHICLES IN GENERAL
    • B60GVEHICLE SUSPENSION ARRANGEMENTS
    • B60G2200/00Indexing codes relating to suspension types
    • B60G2200/20Semi-rigid axle suspensions
    • B60G2200/21Trailing arms connected by a torsional beam, i.e. twist-beam axles
    • BPERFORMING OPERATIONS; TRANSPORTING
    • B60VEHICLES IN GENERAL
    • B60GVEHICLE SUSPENSION ARRANGEMENTS
    • B60G2200/00Indexing codes relating to suspension types
    • B60G2200/40Indexing codes relating to the wheels in the suspensions
    • B60G2200/422Driving wheels or live axles
    • BPERFORMING OPERATIONS; TRANSPORTING
    • B60VEHICLES IN GENERAL
    • B60GVEHICLE SUSPENSION ARRANGEMENTS
    • B60G2204/00Indexing codes related to suspensions per se or to auxiliary parts
    • B60G2204/10Mounting of suspension elements
    • B60G2204/18Mounting of vehicle engines
    • B60G2204/182Electric motor on wheel support
    • BPERFORMING OPERATIONS; TRANSPORTING
    • B60VEHICLES IN GENERAL
    • B60GVEHICLE SUSPENSION ARRANGEMENTS
    • B60G2300/00Indexing codes relating to the type of vehicle
    • B60G2300/50Electric vehicles; Hybrid vehicles
    • BPERFORMING OPERATIONS; TRANSPORTING
    • B60VEHICLES IN GENERAL
    • B60KARRANGEMENT OR MOUNTING OF PROPULSION UNITS OR OF TRANSMISSIONS IN VEHICLES; ARRANGEMENT OR MOUNTING OF PLURAL DIVERSE PRIME-MOVERS IN VEHICLES; AUXILIARY DRIVES FOR VEHICLES; INSTRUMENTATION OR DASHBOARDS FOR VEHICLES; ARRANGEMENTS IN CONNECTION WITH COOLING, AIR INTAKE, GAS EXHAUST OR FUEL SUPPLY OF PROPULSION UNITS IN VEHICLES
    • B60K17/00Arrangement or mounting of transmissions in vehicles
    • B60K17/04Arrangement or mounting of transmissions in vehicles characterised by arrangement, location or kind of gearing
    • B60K17/043Transmission unit disposed in on near the vehicle wheel, or between the differential gear unit and the wheel
    • BPERFORMING OPERATIONS; TRANSPORTING
    • B60VEHICLES IN GENERAL
    • B60KARRANGEMENT OR MOUNTING OF PROPULSION UNITS OR OF TRANSMISSIONS IN VEHICLES; ARRANGEMENT OR MOUNTING OF PLURAL DIVERSE PRIME-MOVERS IN VEHICLES; AUXILIARY DRIVES FOR VEHICLES; INSTRUMENTATION OR DASHBOARDS FOR VEHICLES; ARRANGEMENTS IN CONNECTION WITH COOLING, AIR INTAKE, GAS EXHAUST OR FUEL SUPPLY OF PROPULSION UNITS IN VEHICLES
    • B60K7/00Disposition of motor in, or adjacent to, traction wheel
    • B60K2007/0038Disposition of motor in, or adjacent to, traction wheel the motor moving together with the wheel axle
    • BPERFORMING OPERATIONS; TRANSPORTING
    • B60VEHICLES IN GENERAL
    • B60KARRANGEMENT OR MOUNTING OF PROPULSION UNITS OR OF TRANSMISSIONS IN VEHICLES; ARRANGEMENT OR MOUNTING OF PLURAL DIVERSE PRIME-MOVERS IN VEHICLES; AUXILIARY DRIVES FOR VEHICLES; INSTRUMENTATION OR DASHBOARDS FOR VEHICLES; ARRANGEMENTS IN CONNECTION WITH COOLING, AIR INTAKE, GAS EXHAUST OR FUEL SUPPLY OF PROPULSION UNITS IN VEHICLES
    • B60K7/00Disposition of motor in, or adjacent to, traction wheel
    • B60K2007/0092Disposition of motor in, or adjacent to, traction wheel the motor axle being coaxial to the wheel axle

Definitions

  • the present invention relates to a suspension device for attaching an in-wheel motor drive device to the vehicle body side.
  • Trailing arm suspension devices are widely used as vehicle suspension devices. Further, a torsion beam type suspension device in which the left and right trailing arms are connected by a cross beam (also referred to as a torsion beam) is advantageous in terms of cost and is adopted as a rear wheel of a small vehicle. Those described in 1) are known.
  • a spindle for attaching a wheel to the rear end of the trailing arm is provided. This spindle protrudes outward in the vehicle width.
  • in-wheel motor drive devices have been proposed in which a motor is arranged in the space region of the wheel and the wheels are driven by this motor.
  • suspension devices that include a trailing arm and suspend an in-wheel motor drive device include those described in Japanese Patent Application Laid-Open No. 2010-1116017 (Patent Document 2) and Japanese Patent Application Laid-Open No. 2006-27310 (Patent Document 3). It has been known.
  • an in-wheel motor drive device is disposed on the inner side in the vehicle width direction as viewed from the trailing arm.
  • an in-wheel motor drive device is disposed on the outer side in the vehicle width direction as seen from the trailing arm.
  • an object of the present invention is to provide a suspension structure that can protect an in-wheel motor drive device from a convex portion or a stepping stone on the ground.
  • the suspension structure of the in-wheel motor drive device has a pair of pivots attached to the vehicle body side at the front end, extends in the vehicle front-rear direction, and is spaced apart in the vehicle width direction.
  • a trailing arm a beam member extending between the pair of trailing arms and extending in the vehicle width direction, a bracket coupled to a rear end region of the trailing arm, and an in-wheel motor drive device coupled and fixed to the bracket.
  • the in-wheel motor drive device is disposed above the trailing end region of the trailing arm, and the lower side of the in-wheel motor drive device is covered with the trailing end region and the bracket of the trailing arm.
  • the lower surface of the in-wheel motor driving device is covered with the rear end region of the trailing arm and the bracket, the lower surface of the in-wheel motor driving device can be protected. Accordingly, it is possible to prevent a ground convex portion, a stepping stone, or the like from colliding with the lower surface of the in-wheel motor drive device.
  • the shape of the bracket is not particularly limited, as one embodiment of the present invention, the bracket is made of a plate material, and extends from the rear end region of the trailing arm outward in the vehicle width direction. And a vertical wall portion extending upward. According to this embodiment, protection of the lower surface of the in-wheel motor drive device can be suitably realized.
  • the overhanging wall portion has a drain hole penetrating in the vertical direction. According to this embodiment, it is possible to prevent water, pebbles and the like from accumulating on the upper surface of the overhanging wall portion.
  • the rear end region of the trailing arm is connected to connect to the lower end of the shock absorber extending from the vehicle body side in the front-rear direction position included in the front-rear direction range from the front end to the rear end of the bracket. Part. According to such an embodiment, it is possible to bring the connecting portion between the shock absorber and the trailing arm closer to the in-wheel motor drive device, which is advantageous in the layout configuration of the suspension device. Further, the vertical swing of the in-wheel motor drive device can be effectively attenuated.
  • the trailing arm only needs to extend in the front-rear direction, and the extending direction is not particularly limited. Further, the cross-sectional shape of the trailing arm is not particularly limited. Generally, the radial dimension of the in-wheel motor drive device is larger than the vertical dimension of the trailing arm cross-sectional shape. Therefore, as a preferred embodiment of the present invention, the trailing end region of the trailing arm extends in a straight line so as to be substantially horizontal, and the central region of the trailing arm gradually increases toward the front side with respect to the trailing end region. Inclined and extended. According to this embodiment, the in-wheel motor drive device can be suitably attached to the trailing arm in a narrow space between the vehicle body and the ground. In addition, the central region of the trailing arm can cover the front surface of the in-wheel motor drive device, and the front surface of the in-wheel motor drive device can be protected from the convex portions of the ground or stepping stones.
  • the present invention can protect the in-wheel motor drive device from the convex portion of the ground or the stepping stone in the suspension structure in which the in-wheel motor drive device is attached to the trailing arm. Therefore, the reliability and durability of the in-wheel motor drive device are improved while enjoying the cost performance of the trailing arm suspension.
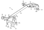
  • FIG. 1 is a perspective view showing a suspension structure of an in-wheel motor drive apparatus according to an embodiment of the present invention, and shows main suspension members taken out for easy understanding.
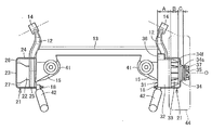
  • FIG. 2 is a plan view showing the suspension structure of the embodiment.
  • FIG. 3 is a rear view showing the suspension structure of the embodiment, showing a state seen from the rear of the vehicle.
  • FIGS. 2 and 3 show a state in which the in-wheel motor driving device is removed from one of the trailing arms.
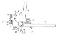
  • FIG. 4 is a front view showing a part of the suspension structure of the embodiment, and shows a state seen from the front of the vehicle.
  • FIG. 5 is a side view showing the suspension structure of the embodiment, showing a state seen from the outside in the vehicle width direction.
  • the suspension structure according to the present embodiment includes a pair of trailing arms 12 that extend in the vehicle longitudinal direction and are spaced apart in the vehicle width direction, and are installed between the pair of trailing arms 12 and 12 so as to extend in the vehicle width direction.
  • a torsion beam type suspension member 11 having a cross beam 13 extending in the direction is adopted.
  • the trailing arm 12 and the cross beam 13 are both metal pipe members. Both ends of the cross beam 13 are respectively coupled to the central region of the trailing arm 12, and a vehicle body (not shown) supported by the torsion beam type suspension member 11 rolls so that one trailing arm 12 is different from the other trailing arm 12. Since the cross beam 13 is twisted when swinging in such a manner, the torsion beam suspension member 11 exhibits a stabilizer effect.
  • the trailing arm 12 has a pivot 14 for attaching to the vehicle body side member at the front end thereof.
  • the pivot center of the pivot 14 extends while inclining with respect to the vehicle width direction.
  • the tilt direction is as shown by a one-dot chain line in FIG. Is also located forward.
  • the torsion beam suspension member 11 further includes a spring lower seat 16 that receives the lower end of the coil spring 41.
  • the spring lower seat 16 is provided on a plate 15 that is disposed adjacent to the rear of the coupling point between the cross beam 13 and the trailing arm 12.
  • the plate 15 is formed by bending a metal plate, and is coupled to the center region and the rear end region of the trailing arm 12 and to the end portion of the cross beam 13.
  • the coil spring 41 is a component part of the suspension device, and serves as a spring for relaxing the swing of the trailing arm 12 around the pivot 14.
  • the lower end of the coil spring 41 is supported by the spring lower seat 16 on the inner side in the vehicle width direction than the rear end region of the trailing arm 12.
  • the upper end of the coil spring 41 supports a vehicle body side member (not shown).
  • the trailing arm 12 has a connecting portion 18 for connecting to the lower end of the shock absorber 42 at the rear end, and is connected to the lower end of the shock absorber 42 via the connecting portion 18.
  • the shock absorber 42 is a component of the suspension device, and serves as a damper that attenuates the swing of the trailing arm 12 around the pivot 14.
  • the upper end of the shock absorber 42 supports a vehicle body side member (not shown).
  • the trailing end region 12b of the trailing arm 12 extends linearly so as to be substantially horizontal. Further, the central region 12c of the trailing arm 12 extends with an inclination with respect to the rear end region 12b so as to gradually increase toward the front. The front end region 12f of the trailing arm 12 extends linearly so as to be substantially horizontal at a position higher than the rear end region 12b.
  • the in-wheel motor drive device 31 is connected and fixed to the rear end region of each trailing arm 12.
  • the in-wheel motor drive device 31 includes a motor portion 32, a speed reduction portion 33, and a hub portion 34, and a trailing arm with a hub shaft 35 that is rotatably supported by the hub portion 34 extends in the vehicle width direction. 12 is connected and fixed to a bracket 21 attached to the frame 12. The distal end portion of the hub shaft 35 protrudes from the hub portion 34 and has a plurality of bolts 37 for connecting with the load wheel of the wheel 44.
  • the motor unit 32, the speed reduction unit 33, and the hub unit 34 constitute a common rotation axis O.
  • the motor unit 32, the speed reduction unit 33, and the hub unit 34 are arranged in this order when viewed in the direction of the rotation axis O.
  • the motor unit 32 and the speed reduction unit 33 include a non-rotating casing.
  • the outer peripheral member of the hub portion 34 corresponds to a bearing outer ring and is coupled to the casing of the motor portion 32 and the speed reduction portion 33.
  • the hub shaft 35 that is rotatably supported by the outer peripheral member of the hub portion 34 is a rotating member that extends along the rotation axis O.
  • a power cable terminal box 36 is formed on the front side of the casing of the motor unit 32.
  • the motor part 32 has a substantially cylindrical shape around the rotation axis O, and has a rotor and a stator built in the casing.
  • the speed reduction unit 33 is substantially cylindrical with the rotation axis O as the center, and incorporates, for example, a cycloid speed reduction mechanism in the casing to reduce the rotational input from the motor unit 32 and output it to the hub unit 34. Since the cycloid reduction mechanism is smaller and lighter than the planetary gear reduction mechanism and can reduce the speed more than 1/10, it is advantageous as a reduction mechanism for an in-wheel motor drive device.
  • the axial direction dimension A of the motor part 32 is a dimension from the end face in the axis O direction of the motor part 32 excluding protrusions such as screw heads to the boundary between the motor part 32 and the speed reduction part 33.
  • the axial dimension B of the speed reduction part 33 is a dimension from the boundary between the motor part 32 and the speed reduction part 33 to the boundary between the speed reduction part 33 and the hub part 34.
  • the axial dimension C of the hub part 34 is a dimension from the boundary between the speed reducing part 33 and the hub part 34 to the end surface in the axis O direction of the outer ring portion of the hub part 34 excluding the hub shaft 35.
  • the axial dimension B is smaller than the axial dimension A
  • the axial dimension C is smaller than the axial dimension B.
  • the radial dimension of the speed reduction part 33 is smaller than the radial dimension of the motor part 32.
  • the radial dimension of the hub part 34 is smaller than the radial dimension of the speed reducing part 33.
  • An outward flange 34 f is formed on the outer peripheral surface of the hub portion 34 on the speed reduction portion 33 side so as to close a radial dimensional difference between the speed reduction portion 33 and the hub portion 34.
  • the outward flange 34f has an end face 34s.
  • the end face 34s is perpendicular to the rotation axis O.
  • a plurality of triangular ribs 33r are formed on the outer periphery of the speed reducing portion 33 at predetermined intervals in the circumferential direction.
  • the triangular rib 33r is also connected to the motor unit 32 and reinforces the connection between the motor unit 32 and the speed reduction unit 33 having different radial dimensions. Further, a bolt hole 33 s for connecting and fixing the brake caliper 45 is formed on the upper outer periphery of the speed reducing portion 33.
  • the wheel 44 is a well-known wheel with a rubber tire attached to the outer periphery of the road wheel, and is fixed to the hub shaft 35 by a bolt 37.
  • the speed reducing portion 33 and the hub portion 34 are completely accommodated in the inner space of the wheel 44.
  • the outer portion of the motor portion 32 in the axis O direction is accommodated in the inner space of the wheel 44, and the inner portion of the motor portion 32 in the axis O direction is inner in the vehicle width direction than the wheel 44 Located in.
  • the bracket 21 is coupled to the rear end region of the trailing arm 12 by welding or the like, and protrudes upward from the rear end region of the trailing arm 12.
  • the in-wheel motor drive device 31 is connected to the rear end region of the trailing arm 12 via the bracket 21 and is disposed above the trailing arm rear end region.
  • the bracket 21 is made of a metal plate. As shown in FIGS. 3 and 4, the bracket 21 projects from the rear end region of the trailing arm 12 outward in the vehicle width direction, and further extends from the projecting wall 22.
  • a vertical wall portion 23 extending upward, a front wall portion 24 bent 90 degrees from the front edge of the vertical wall portion 23 and extending in the vehicle width direction and coupled to the rear end region of the trailing arm 12, and the vertical wall portion 23
  • a rear wall portion 25 that is bent 90 degrees from the rear edge and extends in the vehicle width direction and is coupled to the rear end of the trailing arm 12.
  • the vertical wall portion 23 is a wall that spreads perpendicular to the ground.
  • the vertical wall portion 23 is perpendicular to the vehicle width direction.
  • a substantially semicircular cutout portion 23c is formed on the upper edge of the vertical wall portion 23 so as to cut out downward.
  • the periphery of the notch 23c extends in an arc shape and coincides with the end surface 34s of the hub portion 34 of the in-wheel motor drive device 31 as shown in FIG.
  • a plurality of through holes 23h are formed on the periphery of the notch 23c, and bolt holes are formed on the end face 34s at positions corresponding to the through holes 23h.
  • the in-wheel motor drive device 31 is connected and fixed to the bracket 21 by screwing a plurality of bolts 43 penetrating the through hole 23h into the bolt holes of the end surface 34s.
  • the overhanging wall portion 22 is located between the front wall portion 24 and the rear wall portion 25 when viewed in the vertical direction.
  • a drain hole 26 penetrating in the vertical direction is formed between the front wall portion 24 and the overhanging wall portion 22.
  • a drain hole 27 penetrating in the vertical direction is formed between the overhanging wall portion 22 and the rear wall portion 25. The drain holes 26 and 27 prevent rainwater, pebbles and the like from accumulating on the upper surface of the overhanging wall portion 22.
  • the arrangement of the shock absorber 42 is devised.
  • the connecting portion 18 for the shock absorber 42 is a protrusion that protrudes inward in the vehicle width direction from the rear end of the trailing arm 12, and its front-rear direction position is more than the rear wall portion 25 that constitutes the rear end of the bracket 21. Located in front.
  • the front-rear direction position of the connecting part 18 is included in the front-rear direction range from the front wall part 24 to the rear wall part 25 constituting the front end of the bracket 21 in this way, the connection between the shock absorber 42 and the trailing arm 12 is achieved. It is possible to bring the portion closer to the in-wheel motor drive device 31, and the torsion beam type suspension member 11 can be easily disposed below the vehicle body. Further, the swing of the in-wheel motor drive device 31 in the vertical direction can be effectively attenuated by the shock absorber 42.
  • a coil spring 41 extending in the vertical direction is disposed in the vicinity of the in-wheel motor drive device 31, and the vehicle longitudinal direction position of the coil spring 41 is the front end of the in-wheel motor drive device 31. Since the coil spring 41 is included in the range from the rear end to the rear end, the vertical swing of the trailing arm 12 can be effectively mitigated.
  • the in-wheel motor drive device 31 is connected and fixed to the rear end region of the trailing arm 12 so that the rotation axis O extends in the vehicle width direction.
  • the position in the vehicle width direction of the pivot 14 is included in the axial dimensions A, B, and C that are the range from the vehicle width direction inner end to the vehicle width direction outer end of the in-wheel motor drive device 31. According to this embodiment, the influence which the bending moment resulting from the in-wheel motor drive device 31 has on the trailing arm 12 can be reduced.
  • the rear end region of the trailing arm 12 is disposed below the in-wheel motor drive device 31 and faces the lower surface of the in-wheel motor drive device 31. Therefore, since the rear end region of the trailing arm 12 covers the lower surface of the in-wheel motor drive device 31, the in-wheel motor drive device 31 can be protected from a stepping stone or a convex portion of the road surface.
  • the load of the vehicle supported by the road surface includes the wheels 44, the hub shaft 35, the hub portion 34, and the like.
  • the motor portion 32 and the speed reduction portion 33 do not transmit the vehicle load. Therefore, it is not necessary to increase the strength of the motor unit 32 and the speed reduction unit 33, and the in-wheel motor drive device 31 can be reduced in weight.
  • the power cable extending from the terminal box 36 is connected to a vehicle body (not shown).
  • the power cable may be provided inside the trailing arm 12 and inside the cross beam 13 and may be drawn from the center of the cross beam 13 and connected to the vehicle body.
  • a first opening 12h is provided in the central region of the trailing arm 12.
  • the first opening 12 h is provided on the upper surface of the trailing arm 12 and is open upward in the vicinity of the connection point between the trailing arm 12 and the cross beam 13.
  • Three power cables 38 and one signal cable 39 extending from the terminal box 36 extend through the torsion beam suspension member 11 via the first opening 12h.
  • a cover that covers the power cable 38 and the signal cable 39 from the terminal box 36 to the first opening 12h may be further provided.
  • the trailing arm 12 having a hollow cross section communicates with the cross beam 13 having a hollow cross section, and the power cable 38 and the signal cable 39 are provided inside the cross beam 13.
  • the cross beam 13 has a second opening 13h in the central region, and the power cable 38 and the signal cable 39 extending from the pair of in-wheel motor driving devices 31 are connected to the torsion beam suspension member 11 via the second opening 13h. It extends outside and is connected to an inverter (not shown) on the vehicle body side.
  • the power cable 38 and the signal cable 39 can be protected from a stepping stone or a convex portion of the ground.
  • the cross beam 13 is formed in a hollow cross section and the power cable 38 and the signal cable 39 are provided therein, the power cable 38 and the signal cable 39 connected to the pair of in-wheel motor driving devices 31 are respectively connected to the cross beam 13.
  • the cross beam 13 has a second opening 13h in the central region, and the power cable 38 and the signal cable 39 extending from the pair of in-wheel motor drive devices 31 are connected to the outside of the torsion beam suspension member 11 from the second opening 13h. Therefore, the end of the power cable 38 or the like can be connected to an inverter installed at the center of the vehicle body through a short path.
  • FIG. 7 is a perspective view showing a suspension structure according to another embodiment, in which a trailing arm and a cross beam are taken out for easy understanding. Since the basic configuration of the trailing arm type suspension device is the same as that of the above-described embodiment shown in FIGS. 1 to 5, the description of the overlapping parts will be omitted, and different parts will be described.
  • the trailing end region of the trailing arm 12 is disposed above the in-wheel motor drive device 31 and faces the upper surface of the in-wheel motor drive device 31.
  • the bracket 21 includes an overhanging wall portion 22 that projects outward from the rear end region of the trailing arm 12 in the vehicle width direction, and a vertical that extends further downward from the overhanging wall portion 22. Wall portion 23.
  • the end surface 34 s of the in-wheel motor drive device 31 coincides with the cutout portion 23 c of the vertical wall portion 23 that extends downward from the rear end region of the trailing arm 12.
  • An in-wheel motor is driven by passing a bolt through a plurality of bolt holes 23h formed at intervals around the periphery of the notch 23c and screwing the tip of the bolt into a female screw formed on the end surface 34s.
  • the device 31 is connected and fixed to the bracket 21.
  • a connecting portion 25 s connected to the lower end of the shock absorber 42 is formed below the rear wall portion 25.
  • the connecting portion 25s includes a pair of tongue pieces that protrude from the rear wall portion 25 and face each other, and receives the lower end of the shock absorber 42 between the pair of tongue pieces.
  • the rear end region of the trailing arm 12 extends linearly so as to be substantially horizontal.
  • the central region of the trailing arm is inclined with respect to the rear end region so as to gradually become lower toward the front.
  • the front end region of the trailing arm 12 is disposed below the rear end region and extends linearly so as to be substantially horizontal.
  • the in-wheel motor drive device is disposed below the rear end region of the trailing arm 12.
  • the position of the pivot 14 in the vehicle width direction is included in the axial dimensions A, B, and C, which are the range from the vehicle width direction inner end of the in-wheel motor drive device 31 to the vehicle width direction outer end. Even if the weight of the in-wheel motor drive device 31 is large, the bending moment acting on the trailing arm 12 can be reduced.
  • FIG. 8 is a perspective view showing a suspension structure according to still another embodiment, in which a trailing arm and a cross beam are taken out for easy understanding. Since the basic configuration of the trailing arm type suspension device is the same as that of the above-described embodiment shown in FIGS. 1 to 5, the description of the overlapping parts will be omitted, and different parts will be described.
  • the longitudinal position of the in-wheel motor drive device is included in the longitudinal dimension of the rear end region of the trailing arm 12 in the longitudinal direction of the vehicle body.
  • the embodiment of FIG. 8 is different in that the in-wheel motor drive device is arranged behind the trailing end of the trailing arm 12.
  • the trailing arm 12 includes a reinforcing member 17 that is coupled to the rear end of the trailing arm and extends in the vertical direction.
  • the reinforcing member 17 is a pipe member having substantially the same cross-sectional shape as the trailing arm 12, and includes an upper portion 17a extending upward from the rear end of the trailing arm and a lower portion 17b extending downward from the rear end of the trailing arm.
  • the trailing arm 12 excluding the reinforcing member 17 extends horizontally.
  • the bracket 21 includes a projecting wall portion 22 projecting outward from the reinforcing member 17 in the vehicle width direction, a vertical wall portion 23 extending further rearward from the projecting wall portion 22, and 90 degrees from the upper edge of the vertical wall portion 23.
  • An upper wall portion 28 that bends and extends in the vehicle width direction and is coupled to the upper end of the reinforcing member 17, and a lower wall that is bent 90 degrees from the lower edge of the vertical wall portion 23 and extends in the vehicle width direction and is coupled to the lower end of the reinforcing member 17 Part 29.
  • the vertical wall portion 23 is perpendicular to the ground and is perpendicular to the vehicle width direction.
  • the upper wall portion 28 and the lower wall portion 29 are substantially horizontal. At the rear edge of the vertical wall portion 23, a notch portion 23c cut forward is formed.
  • a spring lower seat 16 is formed on the upper surface of the upper wall portion 28. The spring lower seat 16 is located at the upper end of the reinforcing member 17.
  • the in-wheel motor drive device is disposed rearward from the rear end of the trailing arm 12.
  • the position of the pivot 14 in the vehicle width direction is included in the axial dimensions A, B, and C, which are the range from the vehicle width direction inner end of the in-wheel motor drive device 31 to the vehicle width direction outer end. Even if the weight of the in-wheel motor drive device 31 is large, the bending moment acting on the trailing arm 12 can be reduced.
  • the suspension structure of the in-wheel motor drive device according to the present invention is advantageously used in electric vehicles and hybrid vehicles.

Landscapes

  • Engineering & Computer Science (AREA)
  • Mechanical Engineering (AREA)
  • Chemical & Material Sciences (AREA)
  • Combustion & Propulsion (AREA)
  • Transportation (AREA)
  • Vehicle Body Suspensions (AREA)
  • Arrangement Or Mounting Of Propulsion Units For Vehicles (AREA)
PCT/JP2013/073540 2012-09-12 2013-09-02 インホイールモータ駆動装置のサスペンション構造 Ceased WO2014042030A1 (ja)

Priority Applications (4)

Application Number Priority Date Filing Date Title
US14/427,746 US9771105B2 (en) 2012-09-12 2013-09-02 Suspension structure for in-wheel motor drive device
EP13836890.7A EP2896519B1 (en) 2012-09-12 2013-09-02 Suspension structure for in-wheel motor drive device
CN201380047324.4A CN104619527B (zh) 2012-09-12 2013-09-02 轮内电动机驱动装置的悬架结构
IN451MUN2015 IN2015MN00451A (enExample) 2012-09-12 2013-09-02

Applications Claiming Priority (2)

Application Number Priority Date Filing Date Title
JP2012-200843 2012-09-12
JP2012200843A JP5932582B2 (ja) 2012-09-12 2012-09-12 インホイールモータ駆動装置のサスペンション構造

Publications (1)

Publication Number Publication Date
WO2014042030A1 true WO2014042030A1 (ja) 2014-03-20

Family

ID=50278147

Family Applications (1)

Application Number Title Priority Date Filing Date
PCT/JP2013/073540 Ceased WO2014042030A1 (ja) 2012-09-12 2013-09-02 インホイールモータ駆動装置のサスペンション構造

Country Status (6)

Country Link
US (1) US9771105B2 (enExample)
EP (1) EP2896519B1 (enExample)
JP (1) JP5932582B2 (enExample)
CN (1) CN104619527B (enExample)
IN (1) IN2015MN00451A (enExample)
WO (1) WO2014042030A1 (enExample)

Families Citing this family (14)

* Cited by examiner, † Cited by third party
Publication number Priority date Publication date Assignee Title
JP5932581B2 (ja) * 2012-09-12 2016-06-08 Ntn株式会社 インホイールモータ駆動装置のサスペンション構造
DE102015213356A1 (de) * 2015-07-16 2017-01-19 Zf Friedrichshafen Ag Antreibbare Verbundlenkerachse eines Fahrzeuges mit zwei Längslenkern
DE102015213357B4 (de) * 2015-07-16 2018-02-08 Zf Friedrichshafen Ag Antreibbare Verbundlenkerachse mit einem Querprofil und jeweils endseitig des Querprofils damit verbundenen Längslenkern
JP6853622B2 (ja) * 2015-09-29 2021-03-31 Ntn株式会社 インホイールモータ駆動装置、およびインホイールモータ駆動装置とサスペンション装置の連結構造
US9944327B2 (en) * 2016-09-15 2018-04-17 Kawasaki Jukogyo Kabushiki Kaisha Utility vehicle
US11084371B2 (en) * 2017-01-10 2021-08-10 Showa Corporation Motor drive device
DE102018103885B4 (de) * 2017-04-13 2020-07-23 Benteler Automobiltechnik Gmbh Kraftfahrzeugachse mit Elektroantrieb
JP6891783B2 (ja) 2017-12-04 2021-06-18 トヨタ自動車株式会社 インホイールモータユニットの取付構造
USD883864S1 (en) 2018-05-10 2020-05-12 Allison Transmission, Inc. Axle assembly
JP7127478B2 (ja) * 2018-10-23 2022-08-30 トヨタ自動車株式会社 サスペンション装置、車両
DE102019111714A1 (de) * 2019-05-06 2020-11-12 Universität Siegen Hinterachse für ein zweispuriges Fahrzeug und zweispuriges Fahrzeug mit einer Hinterachse
CN111923721B (zh) * 2019-10-24 2022-04-29 中国北方车辆研究所 一种单纵臂轮毂电机驱动模块
CN111873790B (zh) * 2020-07-15 2021-08-20 长城汽车股份有限公司 前减速器安装支架组件和车辆
JP7533387B2 (ja) * 2021-07-08 2024-08-14 トヨタ自動車株式会社 トーションビーム式サスペンション

Citations (8)

* Cited by examiner, † Cited by third party
Publication number Priority date Publication date Assignee Title
JPH08127211A (ja) 1994-11-01 1996-05-21 Daihatsu Motor Co Ltd トレーリングアーム式サスペンション
JP2005324722A (ja) * 2004-05-17 2005-11-24 Toyota Motor Corp 部品の搭載構造
JP2005335514A (ja) * 2004-05-26 2005-12-08 Toyota Motor Corp 車輪支持装置
JP2006027310A (ja) 2004-07-12 2006-02-02 Nissan Motor Co Ltd 車両用インホイールモータの支持構造
JP2006062476A (ja) * 2004-08-25 2006-03-09 Toyota Motor Corp インホイールモータのハウジング構造
WO2010034807A1 (en) * 2008-09-26 2010-04-01 M.B. Gerrard V/Miles B. Gerrard A vehicle suspension
JP2010116017A (ja) 2008-11-12 2010-05-27 Ntn Corp インホイールモータ駆動装置およびインホイールモータ駆動装置用ケーシング
JP2010228544A (ja) * 2009-03-26 2010-10-14 Nissan Motor Co Ltd 車両用サスペンション装置

Family Cites Families (18)

* Cited by examiner, † Cited by third party
Publication number Priority date Publication date Assignee Title
US3937291A (en) * 1974-10-07 1976-02-10 Corbin Gentry, Inc. Motor mount for electric powered motorcycle
CA2078014A1 (en) * 1991-09-18 1993-03-19 Donald L. Stephens Lightweight suspension system for a wheeled vehicle, spring arm and method of manufacture
US5524726A (en) * 1995-04-18 1996-06-11 Tenergy L.L.C. Swing arm supported electrical drive assembly for powering cycles
US5924504A (en) * 1997-02-18 1999-07-20 Meritor Heavy Vehicle Systems, Llc Suspension drive unit assembly for an electrically driven vehicle
DE19932586A1 (de) * 1999-07-13 2001-04-12 Zahnradfabrik Friedrichshafen Achse mit einer unterhalb der Radachse angeordneten Achsbrücke
JP2002337554A (ja) * 2001-05-16 2002-11-27 Mazda Motor Corp 車両の駆動装置配設構造
JP2005153557A (ja) * 2003-11-20 2005-06-16 Ntn Corp 自動車のモータ駆動システム
JP4656998B2 (ja) * 2005-04-22 2011-03-23 トヨタ自動車株式会社 インホイールモータの冷却構造
US7501732B2 (en) * 2005-05-30 2009-03-10 Denso Corporation Electric rotating machine
DE602006019738D1 (de) * 2005-08-01 2011-03-03 Hitachi Construction Machinery Trommeldrehvorrichtung für eine Baumaschine
JP2007099114A (ja) * 2005-10-05 2007-04-19 Nissan Motor Co Ltd ホイールインモータの取り付け構造
US7651153B2 (en) * 2006-07-18 2010-01-26 Unicell Limited Delivery vehicle
JP2010069963A (ja) 2008-09-16 2010-04-02 Asahi Tec Corp トレーリング部材およびトーションビーム式サスペンション
KR101104006B1 (ko) 2009-12-03 2012-01-06 현대자동차주식회사 차량의 리어 서스펜션
DE112011100470A5 (de) * 2010-02-07 2012-11-15 Ksm Castings Gmbh Achsmodul
DE102011005625A1 (de) * 2011-03-16 2012-09-20 Zf Friedrichshafen Ag Antriebsvorrichtung zum Antreiben eines Rades einer Verbundlenkerachse für ein elektrisch antreibbares Fahrzeug
KR101301754B1 (ko) * 2011-05-23 2013-08-29 현대모비스 주식회사 인휠 구동장치
JP5932581B2 (ja) * 2012-09-12 2016-06-08 Ntn株式会社 インホイールモータ駆動装置のサスペンション構造

Patent Citations (8)

* Cited by examiner, † Cited by third party
Publication number Priority date Publication date Assignee Title
JPH08127211A (ja) 1994-11-01 1996-05-21 Daihatsu Motor Co Ltd トレーリングアーム式サスペンション
JP2005324722A (ja) * 2004-05-17 2005-11-24 Toyota Motor Corp 部品の搭載構造
JP2005335514A (ja) * 2004-05-26 2005-12-08 Toyota Motor Corp 車輪支持装置
JP2006027310A (ja) 2004-07-12 2006-02-02 Nissan Motor Co Ltd 車両用インホイールモータの支持構造
JP2006062476A (ja) * 2004-08-25 2006-03-09 Toyota Motor Corp インホイールモータのハウジング構造
WO2010034807A1 (en) * 2008-09-26 2010-04-01 M.B. Gerrard V/Miles B. Gerrard A vehicle suspension
JP2010116017A (ja) 2008-11-12 2010-05-27 Ntn Corp インホイールモータ駆動装置およびインホイールモータ駆動装置用ケーシング
JP2010228544A (ja) * 2009-03-26 2010-10-14 Nissan Motor Co Ltd 車両用サスペンション装置

Also Published As

Publication number Publication date
IN2015MN00451A (enExample) 2015-09-04
US20150203159A1 (en) 2015-07-23
EP2896519A4 (en) 2016-04-13
JP5932582B2 (ja) 2016-06-08
EP2896519B1 (en) 2018-10-31
CN104619527B (zh) 2017-03-22
JP2014054918A (ja) 2014-03-27
US9771105B2 (en) 2017-09-26
CN104619527A (zh) 2015-05-13
EP2896519A1 (en) 2015-07-22

Similar Documents

Publication Publication Date Title
JP5932582B2 (ja) インホイールモータ駆動装置のサスペンション構造
JP5932581B2 (ja) インホイールモータ駆動装置のサスペンション構造
JP6271196B2 (ja) インホイールモータ駆動装置
JP6853622B2 (ja) インホイールモータ駆動装置、およびインホイールモータ駆動装置とサスペンション装置の連結構造
JP6056972B2 (ja) インホイールモータ駆動車輪のモータ給電線配索構造
US20160052359A1 (en) Suspension device for in-wheel motor driven wheel
US11084371B2 (en) Motor drive device
JP6438228B2 (ja) インホイールモータ駆動装置の電力線配索構造
CN107531118B (zh) 用于车辆的悬架构造
JP2014054920A (ja) インホイールモータ駆動装置のサスペンション構造
JP6423153B2 (ja) 電動式転舵装置搭載車両
JP2020050160A (ja) インホイールモータ駆動装置用トレーリングアーム構造
JP5978077B2 (ja) インホイールモータ駆動装置のサスペンション構造
US10675966B2 (en) Wheel driving unit
JP6339820B2 (ja) インホイールモータ駆動装置のサスペンション構造
JP5616239B2 (ja) 走行車両
JP2015013528A (ja) インホイールモータ駆動車輪のモータ給電線配索構造
JP6363850B2 (ja) インホイールモータ駆動装置と転舵機構との連結構造
JP6384524B2 (ja) 自動車のフロントロアアーム構造
JP6369166B2 (ja) 車両用サスペンション装置

Legal Events

Date Code Title Description
121 Ep: the epo has been informed by wipo that ep was designated in this application

Ref document number: 13836890

Country of ref document: EP

Kind code of ref document: A1

NENP Non-entry into the national phase

Ref country code: DE

WWE Wipo information: entry into national phase

Ref document number: 14427746

Country of ref document: US