WO2013051333A1 - 流体圧シリンダ及びクランプ装置 - Google Patents

流体圧シリンダ及びクランプ装置 Download PDF

Info

Publication number
WO2013051333A1
WO2013051333A1 PCT/JP2012/069666 JP2012069666W WO2013051333A1 WO 2013051333 A1 WO2013051333 A1 WO 2013051333A1 JP 2012069666 W JP2012069666 W JP 2012069666W WO 2013051333 A1 WO2013051333 A1 WO 2013051333A1
Authority
WO
WIPO (PCT)
Prior art keywords
valve
valve body
fluid pressure
air passage
output member
Prior art date
Legal status (The legal status is an assumption and is not a legal conclusion. Google has not performed a legal analysis and makes no representation as to the accuracy of the status listed.)
Ceased
Application number
PCT/JP2012/069666
Other languages
English (en)
French (fr)
Japanese (ja)
Inventor
川上 孝幸
Current Assignee (The listed assignees may be inaccurate. Google has not performed a legal analysis and makes no representation or warranty as to the accuracy of the list.)
Pascal Engineering Corp
Original Assignee
Pascal Engineering Corp
Priority date (The priority date is an assumption and is not a legal conclusion. Google has not performed a legal analysis and makes no representation as to the accuracy of the date listed.)
Filing date
Publication date
Family has litigation
First worldwide family litigation filed litigation Critical https://patents.darts-ip.com/?family=48043504&utm_source=google_patent&utm_medium=platform_link&utm_campaign=public_patent_search&patent=WO2013051333(A1) "Global patent litigation dataset” by Darts-ip is licensed under a Creative Commons Attribution 4.0 International License.
Application filed by Pascal Engineering Corp filed Critical Pascal Engineering Corp
Priority to CN201280028086.8A priority Critical patent/CN103596725B/zh
Priority to EP12838481.5A priority patent/EP2764953B1/en
Priority to US14/114,650 priority patent/US9511466B2/en
Priority to KR1020147000915A priority patent/KR101947690B1/ko
Publication of WO2013051333A1 publication Critical patent/WO2013051333A1/ja
Anticipated expiration legal-status Critical
Ceased legal-status Critical Current

Links

Images

Classifications

    • BPERFORMING OPERATIONS; TRANSPORTING
    • B23MACHINE TOOLS; METAL-WORKING NOT OTHERWISE PROVIDED FOR
    • B23QDETAILS, COMPONENTS, OR ACCESSORIES FOR MACHINE TOOLS, e.g. ARRANGEMENTS FOR COPYING OR CONTROLLING; MACHINE TOOLS IN GENERAL CHARACTERISED BY THE CONSTRUCTION OF PARTICULAR DETAILS OR COMPONENTS; COMBINATIONS OR ASSOCIATIONS OF METAL-WORKING MACHINES, NOT DIRECTED TO A PARTICULAR RESULT
    • B23Q17/00Arrangements for observing, indicating or measuring on machine tools
    • B23Q17/22Arrangements for observing, indicating or measuring on machine tools for indicating or measuring existing or desired position of tool or work
    • BPERFORMING OPERATIONS; TRANSPORTING
    • B23MACHINE TOOLS; METAL-WORKING NOT OTHERWISE PROVIDED FOR
    • B23QDETAILS, COMPONENTS, OR ACCESSORIES FOR MACHINE TOOLS, e.g. ARRANGEMENTS FOR COPYING OR CONTROLLING; MACHINE TOOLS IN GENERAL CHARACTERISED BY THE CONSTRUCTION OF PARTICULAR DETAILS OR COMPONENTS; COMBINATIONS OR ASSOCIATIONS OF METAL-WORKING MACHINES, NOT DIRECTED TO A PARTICULAR RESULT
    • B23Q3/00Devices holding, supporting, or positioning work or tools, of a kind normally removable from the machine
    • B23Q3/02Devices holding, supporting, or positioning work or tools, of a kind normally removable from the machine for mounting on a work-table, tool-slide, or analogous part
    • B23Q3/06Work-clamping means
    • B23Q3/08Work-clamping means other than mechanically-actuated
    • B23Q3/082Work-clamping means other than mechanically-actuated hydraulically actuated
    • BPERFORMING OPERATIONS; TRANSPORTING
    • B23MACHINE TOOLS; METAL-WORKING NOT OTHERWISE PROVIDED FOR
    • B23QDETAILS, COMPONENTS, OR ACCESSORIES FOR MACHINE TOOLS, e.g. ARRANGEMENTS FOR COPYING OR CONTROLLING; MACHINE TOOLS IN GENERAL CHARACTERISED BY THE CONSTRUCTION OF PARTICULAR DETAILS OR COMPONENTS; COMBINATIONS OR ASSOCIATIONS OF METAL-WORKING MACHINES, NOT DIRECTED TO A PARTICULAR RESULT
    • B23Q17/00Arrangements for observing, indicating or measuring on machine tools
    • B23Q17/002Arrangements for observing, indicating or measuring on machine tools for indicating or measuring the holding action of work or tool holders
    • B23Q17/005Arrangements for observing, indicating or measuring on machine tools for indicating or measuring the holding action of work or tool holders by measuring a force, a pressure or a deformation
    • BPERFORMING OPERATIONS; TRANSPORTING
    • B25HAND TOOLS; PORTABLE POWER-DRIVEN TOOLS; MANIPULATORS
    • B25BTOOLS OR BENCH DEVICES NOT OTHERWISE PROVIDED FOR, FOR FASTENING, CONNECTING, DISENGAGING OR HOLDING
    • B25B5/00Clamps
    • B25B5/06Arrangements for positively actuating jaws
    • B25B5/061Arrangements for positively actuating jaws with fluid drive
    • B25B5/062Arrangements for positively actuating jaws with fluid drive with clamping means pivoting around an axis parallel to the pressing direction
    • FMECHANICAL ENGINEERING; LIGHTING; HEATING; WEAPONS; BLASTING
    • F15FLUID-PRESSURE ACTUATORS; HYDRAULICS OR PNEUMATICS IN GENERAL
    • F15BSYSTEMS ACTING BY MEANS OF FLUIDS IN GENERAL; FLUID-PRESSURE ACTUATORS, e.g. SERVOMOTORS; DETAILS OF FLUID-PRESSURE SYSTEMS, NOT OTHERWISE PROVIDED FOR
    • F15B11/00Servomotor systems without provision for follow-up action; Circuits therefor
    • F15B11/06Servomotor systems without provision for follow-up action; Circuits therefor involving features specific to the use of a compressible medium, e.g. air, steam
    • F15B11/072Combined pneumatic-hydraulic systems
    • FMECHANICAL ENGINEERING; LIGHTING; HEATING; WEAPONS; BLASTING
    • F15FLUID-PRESSURE ACTUATORS; HYDRAULICS OR PNEUMATICS IN GENERAL
    • F15BSYSTEMS ACTING BY MEANS OF FLUIDS IN GENERAL; FLUID-PRESSURE ACTUATORS, e.g. SERVOMOTORS; DETAILS OF FLUID-PRESSURE SYSTEMS, NOT OTHERWISE PROVIDED FOR
    • F15B15/00Fluid-actuated devices for displacing a member from one position to another; Gearing associated therewith
    • F15B15/20Other details, e.g. assembly with regulating devices
    • F15B15/22Other details, e.g. assembly with regulating devices for accelerating or decelerating the stroke
    • F15B15/225Other details, e.g. assembly with regulating devices for accelerating or decelerating the stroke with valve stems operated by contact with the piston end face or with the cylinder wall
    • FMECHANICAL ENGINEERING; LIGHTING; HEATING; WEAPONS; BLASTING
    • F15FLUID-PRESSURE ACTUATORS; HYDRAULICS OR PNEUMATICS IN GENERAL
    • F15BSYSTEMS ACTING BY MEANS OF FLUIDS IN GENERAL; FLUID-PRESSURE ACTUATORS, e.g. SERVOMOTORS; DETAILS OF FLUID-PRESSURE SYSTEMS, NOT OTHERWISE PROVIDED FOR
    • F15B15/00Fluid-actuated devices for displacing a member from one position to another; Gearing associated therewith
    • F15B15/20Other details, e.g. assembly with regulating devices
    • F15B15/28Means for indicating the position, e.g. end of stroke
    • F15B15/2807Position switches, i.e. means for sensing of discrete positions only, e.g. limit switches
    • FMECHANICAL ENGINEERING; LIGHTING; HEATING; WEAPONS; BLASTING
    • F15FLUID-PRESSURE ACTUATORS; HYDRAULICS OR PNEUMATICS IN GENERAL
    • F15BSYSTEMS ACTING BY MEANS OF FLUIDS IN GENERAL; FLUID-PRESSURE ACTUATORS, e.g. SERVOMOTORS; DETAILS OF FLUID-PRESSURE SYSTEMS, NOT OTHERWISE PROVIDED FOR
    • F15B15/00Fluid-actuated devices for displacing a member from one position to another; Gearing associated therewith
    • F15B15/20Other details, e.g. assembly with regulating devices
    • F15B15/28Means for indicating the position, e.g. end of stroke
    • F15B15/2815Position sensing, i.e. means for continuous measurement of position, e.g. LVDT
    • BPERFORMING OPERATIONS; TRANSPORTING
    • B23MACHINE TOOLS; METAL-WORKING NOT OTHERWISE PROVIDED FOR
    • B23QDETAILS, COMPONENTS, OR ACCESSORIES FOR MACHINE TOOLS, e.g. ARRANGEMENTS FOR COPYING OR CONTROLLING; MACHINE TOOLS IN GENERAL CHARACTERISED BY THE CONSTRUCTION OF PARTICULAR DETAILS OR COMPONENTS; COMBINATIONS OR ASSOCIATIONS OF METAL-WORKING MACHINES, NOT DIRECTED TO A PARTICULAR RESULT
    • B23Q1/00Members which are comprised in the general build-up of a form of machine, particularly relatively large fixed members
    • B23Q1/70Stationary or movable members for carrying working-spindles for attachment of tools or work

Definitions

  • the air passage in the clamp body is switched by the on-off valve mechanism in conjunction with the operation of the output member.
  • the present invention relates to a fluid pressure cylinder and a clamp device that can detect the position of the output member through a change in pressure.
  • a fluid pressure cylinder employed in a clamping device that clamps a clamping object such as a workpiece to be machined includes a cylinder body, an output member that is mounted on the cylinder body so as to freely move back and forth, and the output member.
  • a fluid chamber or the like is provided for driving on at least one of the advance side and the entry side.
  • the clamping device of Patent Document 1 includes a pressure sensor that detects a fluid pressure supplied to a fluid pressure cylinder, and a raised position of a detected portion at a lower end portion of an operation rod that protrudes outside from a piston member of the fluid pressure cylinder.
  • the position of the piston rod is detected by two position sensors that detect the lowered position.
  • a mechanism for opening and closing the air passage in conjunction with the lifting and lowering operation of the output rod of the fluid pressure cylinder is provided so that the ascending position and the descending position of the output rod can be detected.
  • a work cradle for receiving a clamping object is provided independently.
  • the work cradle includes a pad member in which an air ejection port is formed, and an outer cylinder member that elastically supports the pad member on the clamping object side.
  • pressurized air is ejected from the air ejection port, and when the clamping device is driven to clamp and the pad member is pressed and retracted by the object to be clamped, the air ejection port is formed in the outer cylinder member. It is detected that the pressure of the pressurized air has increased and the clamped state has been reached.
  • an operation rod is protruded outside from a piston member of a fluid pressure cylinder, and an ascending position and a descending position of a detected portion provided at a lower end portion of the operation rod are detected by two position sensors. Since a detection space for moving the detected portion and installing the position sensor is required on the lower side of the fluid pressure cylinder, there is a problem that the clamping device (that is, the fluid pressure cylinder) is increased in size.
  • An object of the present invention is to provide a fluid pressure cylinder and a clamp device that can reliably detect that the output member has reached a predetermined position through a change in the air pressure of the air passage in the clamp body and can be reduced in size. That is, providing a fluid pressure cylinder and a clamp device that can improve the reliability and durability of detecting a predetermined position of the output member.
  • the fluid pressure cylinder according to claim 1 includes a cylinder main body, an output member equipped to be able to advance and retreat in the cylinder main body, and a fluid chamber for driving the output member to at least one of the advance side and the retreat side.
  • the fluid pressure cylinder includes an air passage formed in the cylinder body and supplied with pressurized air at one end and communicated with the outside at the other end, and an on-off valve mechanism capable of opening and closing the air passage.
  • the valve mechanism includes a valve body that is movably mounted in a mounting hole formed in the cylinder body and has a tip projecting into the fluid chamber, a valve seat that can contact the valve body, and a fluid pressure in the fluid chamber.
  • a fluid pressure introducing chamber that holds the valve body in a state of being advanced to the output member side, and a fluid pressure introducing passage that communicates the fluid chamber and the fluid pressure introducing chamber.
  • the fluid pressure cylinder according to a second aspect is the invention according to the first aspect, wherein the on-off valve mechanism maintains a valve open state in which the valve body is separated from the valve seat in a state where the fluid pressure is supplied to the fluid chamber.
  • the on-off valve mechanism When the fluid pressure in the fluid chamber is switched to the drain pressure and the output member reaches a predetermined position, the on-off valve mechanism is switched to a closed state in which the valve body is in contact with the valve seat. It is characterized by.
  • the fluid pressure cylinder according to claim 3 is the invention according to claim 1, wherein when the fluid pressure is supplied to the fluid chamber, the on-off valve mechanism maintains the valve closed state in which the valve body is in contact with the valve seat. When the fluid pressure in the fluid chamber is switched to the drain pressure and the output member reaches a predetermined position, the on-off valve mechanism is switched to an open state in which the valve body is separated from the valve seat. It is characterized by.
  • the fluid pressure cylinder according to the second aspect of the present invention, wherein the on-off valve mechanism is inserted and screwed into the mounting hole formed in the cylinder body and the valve body is inserted so as to be able to advance and retract.
  • the valve member is formed at the output member side end portion of the cap member, and the fluid pressure introducing chamber is formed between the cap member and the valve body.
  • the fluid pressure cylinder according to the fourth aspect of the invention, wherein the valve body includes a valve body main body, and a movable valve body that is externally fitted to the valve body main body and can approach and separate from the valve seat. And a seal member is provided between the valve body main body and the movable valve body.
  • the fluid pressure cylinder according to claim 6 is characterized in that, in the invention according to claim 1, the fluid pressure introduction path of the on-off valve mechanism is formed in a penetrating manner in the valve body.
  • the fluid pressure cylinder according to the first aspect of the invention is characterized in that the on-off valve mechanism includes an elastic member that elastically urges the valve body toward the output member.
  • the fluid pressure cylinder according to an eighth aspect is the invention according to the first aspect, wherein the predetermined position is any one of an upper limit position, an operation intermediate position, and a lower limit position of the output member.
  • a clamp device includes a clamp rod made of the output member, and the clamp rod is driven by the fluid pressure cylinder according to the eighth aspect.
  • the on-off valve mechanism for opening and closing the air passage in the clamp body
  • the on-off valve mechanism includes a valve body, a valve seat, a fluid pressure introduction chamber, and a fluid pressure introduction path. Since the on-off valve mechanism can be incorporated into the clamp body by incorporating the valve body into the mounting hole formed in the clamp body, the hydraulic cylinder can be reduced in size.
  • the fluid pressure in the fluid chamber of the front fluid pressure cylinder is configured to be able to be introduced into the fluid pressure inlet chamber of the on-off valve mechanism via the fluid pressure introduction path, and in the state where the output member does not reach the predetermined position, the fluid in the fluid chamber
  • the valve body can be held in a state of projecting toward the fluid chamber using the pressure, and the open / close state of the open / close valve mechanism can be maintained. Since the valve body is biased by utilizing the fluid pressure in the fluid chamber, it is advantageous in terms of reliability and durability.
  • the valve body When the output member reaches a predetermined position, the valve body is moved by the output member so that the open / close state of the open / close valve mechanism is switched reliably, so that the predetermined position of the output member is reliably set via the air pressure of the air passage. It can be detected.
  • the clamp device of the second aspect it is possible to detect that the output member has reached a predetermined position via the air pressure changed from the state where the air passage is communicated to the state where it is shut off.
  • the clamp device of the third aspect it is possible to detect that the output member has reached the predetermined position via the air pressure changed from the state where the air passage is blocked to the state where it is communicated.
  • the on-off valve mechanism can be compactly incorporated in the clamp body. According to the clamp device of claim 5, since the frictional force is generated between the main body portion and the valve member by the seal member when the main body portion moves, the valve member is moved following the movement of the main body portion. be able to.
  • the clamp device of the sixth aspect it is not necessary to form the fluid pressure introduction path in the clamp body, and the on-off valve mechanism can be configured compactly.
  • the clamp device of the seventh aspect when the fluid pressure in the fluid chamber is switched to the drain pressure, the open / close state of the open / close valve mechanism can be maintained until the output member reaches a predetermined position.
  • the clamp device of the eighth aspect it is possible to reliably detect that the output member has reached any one of the upper limit position, the operation halfway position, and the lower limit position. According to the clamp device of the ninth aspect, the same effect as that of the first aspect can be obtained in the clamp device of the type in which the clamp rod is driven by the fluid pressure cylinder.
  • FIG. 5 is a sectional view taken along line VV in FIG. 4.
  • FIG. 6 is a sectional view taken along line VI-VI in FIG. 5.
  • FIG. 5 is a sectional view taken along line VV in FIG. 4.
  • FIG. 6 is a sectional view taken along line VI-VI in FIG. 5.
  • FIG. 5 is a sectional view taken along line VV in FIG. 4.
  • FIG. 6 is a sectional view taken along line VI-VI in FIG. 5.
  • FIG. 5 is a sectional view taken along line VV in FIG. 4.
  • FIG. 6 is a sectional view taken along line VI-VI in FIG. 5.
  • FIG. 5 is a sectional view taken along line VV in FIG. 4.
  • FIG. 6 is a sectional view taken along line VI-VI in FIG. 5.
  • FIG. 5 is a sectional view taken along line VV in FIG. 4.
  • FIG. 6 is a sectional view taken along line VI-VI in FIG. 5.
  • FIG. 5 is a sectional
  • FIG. It is sectional drawing of the on-off valve mechanism (valve closed state) of FIG. It is sectional drawing of the cylinder main body principal part of Example 3, and a 2nd on-off valve mechanism (valve open state). It is sectional drawing of the cylinder main part of Example 3, and an on-off valve mechanism (valve closed state). It is sectional drawing of the cylinder main part of Example 4, and an on-off valve mechanism (valve open state). It is sectional drawing of the cylinder main part of Example 4, and an on-off valve mechanism (valve closing state). It is sectional drawing of the clamp apparatus (unclamped state) of Example 5.
  • FIG. It is an enlarged view of the f section of FIG. It is an enlarged view of the g section of FIG.
  • FIG. It is sectional drawing of the clamp apparatus (position just before a raise limit) of Example 5.
  • FIG. It is an enlarged view of the h section of FIG. It is sectional drawing of the clamp apparatus of Example 5 (clamp state). It is an enlarged view of the i section of FIG. It is an enlarged view of the j section of FIG. It is sectional drawing of the clamp apparatus (unclamped state) of Example 6.
  • FIG. It is an enlarged view of the k section of FIG.
  • FIG. 27 is a view corresponding to FIG. 26 in a clamped state. It is sectional drawing of the clamp apparatus (unclamped state) of Example 7. It is sectional drawing of the clamp apparatus (unclamped state) of Example 7. It is an enlarged view of the m section of FIG.
  • FIG. 32 is an enlarged view of a portion n in FIG. 31. It is sectional drawing of the clamp apparatus (unclamped state) of Example 8. FIG. It is an enlarged view of the p section of FIG. It is sectional drawing of the clamp apparatus (clamp state) of Example 8.
  • FIG. 36 is an enlarged view of a part q in FIG. 35.
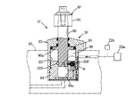
  • This embodiment is an example in which the present invention is applied to a clamp device configured to drive an output member (clamp rod) by a hydraulic cylinder as a fluid pressure cylinder.
  • the clamping device 1 is assembled in a protruding manner upward on a base member 2 such as a pallet.
  • the clamping device 1 fixes a clamping object such as a workpiece to the fixing surface 2a of the base member 2 so as to be unfixable.
  • hydraulic pressure fluid pressure means oil in a compressed state.
  • the clamping device 1 is formed in a hydraulic cylinder 3 (fluid pressure cylinder) in a vertical posture, an output member 4, and a cylinder body 10 of the hydraulic cylinder 3, and is supplied with pressurized air at one end and communicates with the other end at the other end.
  • the first and second air passages 21 and 22 and the first and second on-off valve mechanisms 30 and 50 capable of opening and closing the first and second air passages 21 and 22, respectively.
  • the first on-off valve mechanism 30 is for detecting that the output member 4 is at the ascent limit position via the air pressure in the first air passage 21.
  • the second on-off valve mechanism 50 is for detecting that the output member 4 is at the lower limit position via the air pressure in the second air passage 22.
  • the rising limit position of the output member 4 corresponds to “a predetermined position of the output member”.
  • the lower limit position of the output member 4 corresponds to “another predetermined position of the output member”.
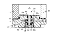
  • the cylinder body 10 As shown in FIGS. 1, 4, 6, and 8, the cylinder body 10 is fixed to the cylinder member 11, the upper end wall member 12 fixed to the upper end of the cylinder member 11, and the lower end of the cylinder member 11. A lower end wall member 13 and the like are provided.
  • the base member 2 is formed with an open upper end mounting hole 2b, and the cylinder member 11 and the lower end wall member 13 of the cylinder body 10 are fitted in the mounting hole.
  • a part of the lower end surface of the upper end wall member 12 is in contact with the fixing surface 2a, and the upper end wall member 12 is fixed to the base member 2 by a plurality of (for example, four) bolts that pass through the plurality of bolt holes 12a.
  • the upper end wall member 12 is formed with an insertion hole through which the output member 4 is inserted.
  • the insertion hole has a lower first insertion hole 12b and an upper second insertion hole 12c.
  • the second insertion hole 12c The diameter is slightly smaller than that of the first insertion hole 12b.
  • An annular seal mounting recess 12d is formed at the upper end portion of the second insertion hole 12c.
  • the cylinder member 11 is formed with a cylinder hole 11a that is continuous with the lower end of the first insertion hole 12b and has a larger diameter than the first insertion hole 12b.
  • a cylindrical portion 12e at the lower end of the upper end wall member 12 is fitted into the upper end of the cylinder hole 11a, and a protruding portion 13a at the upper end of the lower end wall member 13 is fitted into the lower end of the cylinder hole 11a.
  • 12 and the lower end wall member 13 are respectively fixed to the cylinder member 11 by a plurality of (for example, six) bolts.
  • the output member 4 is a clamp rod (that is, piston rod member 4a) of the clamp device 1.
  • One end portion of the clamp arm 4b in a horizontal posture is fixed to the upper end portion of the output member 4.
  • the piston rod member 4a is mounted on the cylinder body 10 so as to be able to advance and retract in the axial direction.
  • the piston rod member 4a has a piston rod portion 4c and a piston portion 4p fixed to the lower end portion thereof.
  • the piston rod portion 4c is inserted into the second insertion hole 12c through a small-diameter rod portion 4d that is oil-tightly slidably inserted and a lower end of the small-diameter rod portion 4d with a small annular clearance. And a possible large diameter rod portion 4e.
  • the piston portion 4p is slidably mounted in the cylinder hole 11a in an oil-tight manner. A part of the small diameter rod portion 4d protrudes upward from the cylinder body 10.
  • the clamp arm 4b is fixed to the upper end portion of the small diameter rod portion 4d with a bolt. As the clamp arm 4b, a clamp arm having a size corresponding to the thickness of the object to be clamped (particularly, a thickness in the vertical direction) is used.
  • the piston portion 4p When the piston rod member 4a reaches the upper limit position (unclamp position) (see FIG. 1), the piston portion 4p contacts the lower surface of the upper end wall member 12, and the large-diameter rod portion 4e is inserted into the first insertion hole 12b. It becomes a state.
  • the piston rod member 4a reaches the lower limit position (clamp position) (see FIG. 8), the piston portion 4p comes into contact with the upper surface of the lower end wall member 13.
  • the cylinder body 10 is provided with seal members 10a to 10c for oil-tight sealing, and a seal member 4s is mounted on the outer peripheral portion of the piston portion 4p.
  • An annular dust seal 12f that contacts the outer peripheral surface of the small-diameter rod portion 4d is attached to the seal mounting recess 12d.
  • an annular clamp oil chamber 14 on the upper side of the piston portion 4p and an unclamp oil chamber 15 on the lower side of the piston portion 4p are provided, and the clamp oil chamber 14 is placed in the first insertion hole 12b. It has the cylinder part 14a which is a cylindrical oil chamber part extended.
  • the clamping oil chamber 14 and the unclamping oil chamber 15 are connected to the hydraulic pressure supply source 5 through an oil passage (not shown).
  • the first air passage 21 will be described. As shown in FIGS. 1, 4, 6, and 8, the first air passage 21 is connected to the upstream air passage 21 a and the upstream air passage 21 a through a first on-off valve mechanism 30 described later. And a downstream air passage 21b.
  • the upstream end of the upstream air passage 21 a is connected to a first air supply path 21 s formed in the base member 2, and the downstream end of the downstream air passage 21 b is connected to a first air discharge path 21 e formed in the base member 2.
  • the upstream air passage 21 a includes a vertical air passage formed in the cylinder member 11 and the upper end wall member 12, and a horizontal air passage formed in the upper end wall member 12.
  • the downstream air passage 21 b is formed inside the cylinder member 11 and the upper end wall member 12.
  • the upstream end of the second air passage 22 is connected to a second air supply passage 22 s formed in the base member 2, and the downstream end of the second air passage 22. Is connected to a second air discharge passage 22e formed in the base member 2 through the mounting hole 2b.
  • a second on-off valve mechanism 50 is connected to the downstream end of the second air passage 22.
  • the second air passage 22 includes a vertical air passage formed inside the cylinder member 11 and the lower end wall member 13, and a horizontal air passage formed inside the lower end wall member 13.
  • the first and second air supply paths 21s and 22s are connected to the pressurized air supply sources 21m and 22m, respectively, and the first and second pressure switches 21n are provided in the middle of the first and second air supply paths 21s and 22s. 22n or a pressure sensor is connected.
  • the first and second pressure switches 21n and 22n are switched from off to on (or from on to off) when the pressure of the pressurized air in the air supply passages 21s and 22s is increased to a set pressure or higher.
  • the first and second air discharge paths 21e and 22e are open to the outside.
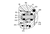
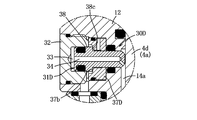
  • the first on-off valve mechanism 30 As shown in FIGS. 2, 7, and 9, the first on-off valve mechanism 30 is disposed inside the wall portion of the upper end wall member 12 in the vicinity of the outer peripheral side of the upper end portion of the first insertion hole 12b.
  • the downstream end of the upstream air passage 21a of the air passage 21 is provided so as to be openable and closable.
  • the first on-off valve mechanism 30 includes a valve body 31, a cap member 32, a valve seat 32a, a hydraulic pressure introduction chamber 33 (fluid pressure introduction chamber), a hydraulic pressure introduction passage 34 (fluid pressure introduction passage), and internal air.
  • the passages 35a to 35f are provided, and are installed in the mounting holes 36 of the upper end wall member 12 via the cap member 32 and the annular member 37.
  • the mounting hole 36 is formed in the upper end wall member 12 so as to penetrate horizontally.
  • An annular member 37 is fixedly mounted in the middle of the mounting hole 36, and its outer peripheral side is sealed by a seal member 37s.
  • a cap member 32 that closes the open side portion of the mounting hole 36 is fixed by screwing and sealed by a seal member 32s.
  • a through hole 37 a having the same diameter as the small diameter hole 36 a of the mounting hole 36 is formed in the circular wall portion of the annular member 37.
  • the valve body 31 is attached to the accommodating chamber formed in the cap member 32 and the annular member 37, the through hole 37a, and the small diameter hole 36a so as to be movable in the horizontal direction.
  • the valve body 31 includes a valve body main body 38 whose front end part can partially protrude from the cylindrical part 14a of the clamping oil chamber 14, and a movable valve body 39 that is movably fitted on the valve body main body 38.
  • the valve body 31 can move about 1.0 mm to 2.0 mm in the horizontal direction with respect to the mounting hole 36.
  • the movable valve body 39 is movable about 1.0 mm to 2.0 mm relative to the valve body 38 in the horizontal direction.
  • the valve body 38 is formed by integrally forming a small diameter shaft portion 38a and a large diameter shaft portion 38b.
  • the small-diameter shaft portion 38a is inserted into the small-diameter hole 36a and the through-hole 37a, and the proximal end portion of the large-diameter shaft portion 38b is slidably fitted in the concave hole 32b of the cap member 32.
  • the movable valve body 39 is externally fitted to the large-diameter shaft portion 38 b in the accommodation chamber between the annular member 37 and the cap member 32.
  • a seal member 40 for sealing the outer peripheral side of the small diameter shaft portion 38a, a seal member 41 for sealing the outer peripheral side of the large diameter shaft portion 38b, and a seal member 42 for sealing between the valve body main body 38 and the movable valve body 39 are also provided. Is provided.
  • An annular air passage 35 a communicating with the upstream air passage 21 a is formed in the outer peripheral portion of the annular member 37.
  • the air passage 35 a communicates with an air passage 35 b in the wall portion of the annular member 37.
  • a cap-shaped air passage 35c is formed between the annular member 37 and the movable valve body 39, and a horizontally oriented air passage 35d that can communicate with the air passage 35c is formed in the cap member 32.
  • An annular air passage 35e that communicates with the air passage 35d and an air passage 35f that communicates with the air passage 35e and communicates with the upstream end of the downstream air passage 21b are formed on the outer periphery of the cap member 32. .
  • the movable valve body 39 has a small-diameter cylindrical portion 39a and a tapered cylindrical portion 39b.
  • the tapered cylinder portion 39b has a tapered outer peripheral surface.
  • An annular valve seat 32a for opening and closing the air passages 35c and 35d is formed on the end surface of the cap member 32.
  • An annular valve surface 39v that can be brought into contact with and separated from the annular valve seat 32a is formed on the end surface of the tapered cylindrical portion 39b of the movable valve body 39.
  • An annular engagement portion 39c that slightly protrudes toward the valve body 38 is formed on the inner peripheral portion of the distal end of the small-diameter cylindrical portion 39a, and is formed with a slightly smaller diameter at the distal end of the large-diameter shaft portion 38b of the valve body 38.
  • the engagement shaft 38c is externally fitted so as to be relatively movable.
  • a hydraulic oil introduction chamber 33 is formed between the cap member 32 and the valve body main body 38 in the concave hole 32b, and a clamp oil chamber is provided via a hydraulic introduction passage 34 formed in the valve body main body 38 so as to penetrate therethrough. It is connected to 14 cylindrical portions 14a.
  • a plurality of branch oil passages 34 a are formed at the distal end portion of the hydraulic pressure introduction passage 34.
  • the operation of the hydraulic cylinder 3 and the first on-off valve mechanism 30 will be described.
  • the valve body 31 receives the hydraulic pressure introduced into the hydraulic pressure introduction chamber 33, the valve body main body 38 enters the advanced state, and the valve surface 39v The valve is separated from the seat 32a and switched from the closed state to the open state, and the air passages 35a to 35f are brought into the communication state.
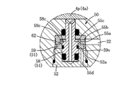
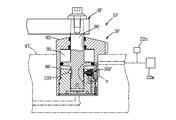
  • the second on-off valve mechanism 50 As shown in FIGS. 1, 3, 8, and 10, the second on-off valve mechanism 50 has the same structure as the first on-off valve mechanism 30. Therefore, the structure of the valve mechanism will be briefly described.
  • the second on-off valve mechanism 50 is disposed in a vertical posture in the mounting hole 56 in the central portion of the lower end wall member 13, and the second on-off valve mechanism 50 is provided to open and close the downstream end of the second air passage 22. Yes.
  • the second on-off valve mechanism 50 includes a valve body 51, a cap member 52, a valve seat 52a, a hydraulic pressure introduction chamber 53 (fluid pressure introduction chamber), a hydraulic pressure introduction passage 54 (fluid pressure introduction passage), and internal air. Passages 55a to 55d, which are incorporated into the vertical mounting hole 56 of the lower end wall member 13 via a cap member 52 and an annular member 57.
  • the cap member 52 is fixed to the lower end wall member 13 by screwing and sealed with a seal member 52s.
  • the annular member 57 is fixed to the middle part of the mounting hole 56.
  • a through hole 57 a having the same diameter as the small diameter hole 56 a of the mounting hole 56 is formed in the horizontal wall of the annular member 57.
  • the valve body 51 includes a valve body main body 58 and a movable valve body 59.
  • the valve body 58 is formed by integrally forming a small-diameter shaft portion 58a and a large-diameter shaft portion 58b, and the large-diameter shaft portion 58b is accommodated in an accommodation chamber 52b formed by the cap member 52 and the annular member 57.
  • the small-diameter shaft portion 58a is slidably inserted through the small-diameter hole 56a and the through-hole 57a, and can partially protrude upward from the upper end surface of the lower end wall member 13.
  • An engagement shaft portion 58c having a slightly smaller diameter is formed at the upper end portion of the large diameter shaft portion 58b.
  • the movable valve body 59 has a small-diameter cylindrical portion 59a and a large-diameter portion 59b, and an annular engagement portion 59c externally fitted to the engagement shaft portion 58c is provided in the vicinity of the upper end of the small-diameter cylindrical portion 59a. Is formed.
  • a seal member 60 that seals the outer peripheral side of the small diameter shaft portion 58a, a seal seal member 61 that seals the outer peripheral side of the large diameter shaft portion 58b, and a seal member 62 that seals between the large diameter shaft portion 58b and the movable valve element 59 are also provided. Is provided.
  • annular air passage 55 a communicating with the downstream end of the second air passage 22 is formed on the outer peripheral portion of the annular member 57.
  • An air passage 55 b communicating with the annular air passage 55 a is formed in the wall portion of the annular member 57.
  • a cap-shaped air passage 55c communicating with the air passage 55b is formed between the annular member 57 and the movable valve body 59.
  • the cap member 52 is formed with an air passage 55d that can communicate with the air passage 55c.
  • An annular valve seat 52 a is formed on the upper end surface of the cap member 52, and an annular valve surface 59 v capable of contacting and separating from the annular valve seat 52 a is formed on the lower surface of the movable valve body 59.
  • the unclamping oil chamber 15 is filled with hydraulic pressure, so that hydraulic pressure is introduced from the hydraulic pressure introduction hole 54 to the hydraulic pressure introduction chamber 53, and the hydraulic pressure introduction chamber 53.
  • the valve body 51 is urged upward by the hydraulic pressure and moved upward, and the movable valve body 59 is also moved upward via the engagement of the stepped portion of the annular engagement portion 59c and the small diameter shaft portion 58c.
  • the surface 59v is separated from the annular valve seat 52a and maintains the valve open state.
  • the first and second on-off valve mechanisms 30 and 50 that open and close the air passages 21 and 22 in the clamp body 10 are incorporated into the mounting holes 36 and 56 formed in the cylinder body 10. Since the first and second on-off valve mechanisms 30 and 50 can be incorporated in the clamp body 10, the hydraulic cylinder 1 capable of detecting the rising limit position and the falling limit position of the output member 4 can be reduced in size.
  • the hydraulic pressure in the clamp oil chamber 14 is introduced into the hydraulic pressure introduction chamber 33, and the hydraulic pressure is applied to the valve body 31 so that the valve body 31 can be held in a protruding state toward the output member 4 side. It is advantageous in terms of reliability and durability.
  • the second on-off valve mechanism When the output member 4 reaches a predetermined position, the valve members 31 and 51 are moved by the output member 4 to switch the open / close state of the first and second open / close valve mechanisms 30 and 50. The predetermined position of the output member 4 can be reliably detected via the air pressure.
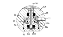
  • a second on-off valve mechanism 50A obtained by partially changing the second on-off valve mechanism 50 of the first embodiment will be described. However, only a change part is demonstrated, the same code
  • a concave hole 58d that is open at the lower end and opened to the hydraulic pressure introducing chamber 53 is formed at the lower end portion of the valve body 58A, and the concave hole 58d and the hydraulic pressure introducing chamber 53 are formed.
  • the compression coil spring 53a was attached to the.
  • the valve body 58A is biased upward by the hydraulic pressure of the hydraulic pressure introducing chamber 53 and biased upward by the compression coil spring 53a.
  • the compression coil spring 53a is provided, when switching from the unclamped state to the clamped state, it is possible to improve the operational reliability of the valve body 51 at the time of transition until the hydraulic pressure charged in the unclamped oil chamber 15 rises. it can.
  • a compression spring may be incorporated in the first on-off valve mechanism 30 as described above.
  • the same effect as the hydraulic cylinder of the first embodiment can be obtained.
  • the 2nd on-off valve mechanism 50B which changed the 2nd on-off valve mechanism 50 of Example 1 partially is demonstrated. However, only a change part is demonstrated, the same code
  • the valve body 51B includes a valve body main body 58 and a movable valve body 59B that is movably fitted on the valve body main body 58.
  • the valve body 58 is obtained by integrally forming a small diameter shaft portion 58a and a large diameter shaft portion 58b.
  • annular air passage 55g formed on the outer peripheral side of the movable valve body 59B and communicating with the downstream end of the second air passage 22, and an annular air passage formed in the cap member 52 in a vertically penetrating manner.
  • An air passage 55h capable of communicating with 55g is provided.
  • An annular valve seat 52a is formed on the upper end surface of the cap member 52, and an annular valve surface 59v is formed on the lower end surface of the movable valve body 59B.
  • seal members 60 to 62 are provided.
  • a second on-off valve mechanism 50C obtained by partially changing the second on-off valve mechanism 50B of the third embodiment will be described. However, only a change part is demonstrated, the same code
  • the valve body 51C includes a valve body main body 58 and a movable valve body 59B.
  • a cup-shaped cup member 52c is fixed inside the cap member 52C, and the large-diameter shaft portion 58b of the valve body 58 is slidably mounted in the accommodation hole of the cup member 52c.
  • An annular valve seat 52a is formed on the upper end surfaces of the cap member 52C and the cup member 52c, and an annular valve surface 59v is formed on the lower end of the movable valve body 59B.
  • An air passage 55j communicating with the air passage 55 is formed.
  • the air passage 55j is open to the outside through the second air discharge passage 22e.
  • the hydraulic pressure in the unclamping oil chamber 15 is introduced into the hydraulic pressure introducing chamber 53, so that the annular valve surface 59v is formed in the annular valve seat as in the second on-off valve mechanism 50B.
  • the valve is opened away from 52a.
  • the annular valve surface 59v comes into contact with the annular valve seat 52a and closes in the same manner as the second on-off valve mechanism 50B.
  • This second on-off valve mechanism 50C is advantageous in terms of manufacturing because the accuracy requirements for parts are alleviated.
  • the same effect as the hydraulic cylinder of the first embodiment can be obtained.
  • a first on-off valve mechanism 30D is provided instead of the first on-off valve mechanism 30 of the first embodiment, and a second on-off valve mechanism 50 is provided instead of the second on-off valve mechanism 50 of the first embodiment.
  • 50D is provided, and the other configuration is the same as that of the embodiment. Therefore, the same members are denoted by the same reference numerals and the description thereof is omitted.
  • the first on-off valve mechanism 30 is closed when the output member 4 is at the upper limit position, and is opened when the output member 4 is at the lower limit position.
  • the first on-off valve mechanism 30D is opened when the output member 4 is at the upper limit position, and is closed when the output member 4 is at the lower limit position.
  • the first on-off valve mechanism 30D includes a cap member 32, an annular member 37D, a valve body 31D, a hydraulic pressure introduction chamber 33, a hydraulic pressure introduction passage 34, and an internal air passage 35a. , 35b, 35g, and 35h, and is mounted in a horizontal mounting hole 36 formed in the upper end wall member 12.
  • the valve body 31D is configured only by the valve body main body 38, and the valve body main body 38 is formed by integrally forming a small diameter shaft portion 38a and a large diameter shaft portion 38b.
  • the large diameter shaft portion 38b is movably accommodated in a storage chamber 32b formed by the cap member 32 and the annular member 37D, and the small diameter shaft portion 38a is formed in the through hole 37a of the annular member 37 and the small diameter hole 36a of the mounting hole 36. It is slidably inserted. Seal members 32s, 40, 41 are also provided.
  • an air passage 35a that communicates with the upstream air passage 21a and is formed in the outer peripheral portion of the annular member 37, an air passage 35b that is formed in the wall portion of the annular member 37D, and the air passage 35b
  • An annular air passage 35g formed in the inner peripheral portion of the annular member 37D so as to communicate with the air passage 35h formed between the cap member 32 and the annular member 37 and communicated with the upstream end of the downstream air passage 21b; Is formed.
  • An annular valve surface 38c is formed on the end surface of the large-diameter shaft portion 38b of the valve body 38, and an annular valve seat 37b that can contact and separate from the annular valve surface 38c is formed on the end surface of the annular member 37D.
  • the second on-off valve mechanism 50D includes a cap member 52, an annular member 57D, a valve body 51, a hydraulic pressure introduction chamber 53, a hydraulic pressure introduction path 54, and internal air passages 55a and 55b. 55g and 55h, and mounted in a vertical mounting hole 56 formed in the lower end wall member 13.
  • the valve body 51 is configured only by the valve body main body 58, and the valve body main body 58 is formed by integrally forming a small diameter shaft portion 58a and a large diameter shaft portion 58b.
  • the large diameter shaft portion 58b is movably accommodated in an accommodation chamber 52b formed by the cap member 52 and the annular member 57D, and the small diameter shaft portion 58a is formed in the through hole 57a of the annular member 57D and the small diameter hole 56a of the mounting hole 56. It is slidably inserted. Seal members 52s, 60, 61 are also provided.
  • an air passage 55a formed in the outer peripheral portion of the annular member 57D so as to communicate with the second air passage 22, and a wall portion of the annular member 57D so as to communicate with the air passage 55a.
  • An air passage 55h communicating with 22e is formed.
  • An annular valve surface 58c is formed on the end surface of the large-diameter shaft portion 58b of the valve body 58, and an annular valve seat 57b that can contact and separate from the annular valve surface 58c is formed on the end surface of the annular member 57D.
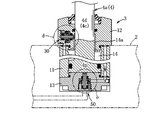
  • the hydraulic cylinder 3E of the clamp device 1E includes a cylinder body 70, an output member 73, a clamp oil chamber 74, an unclamp oil chamber 75, an on-off valve mechanism 76, and pressurized air. Is provided with an air passage 85s for supplying air, an air passage 77 for discharging pressurized air, and the like.
  • FIG. 25 shows the hydraulic cylinder 3E when the clamp device is in a clamped state. The hydraulic cylinder 3E is used in a state of being fitted into a recessed hole 78a of a base member 78 such as a work pallet.
  • the clamp oil chamber 74 and the unclamp oil chamber 75 are connected to a hydraulic pressure supply source.
  • the air passage 85s is connected to a pressurized air supply source via an air supply passage (not shown), and a pressure switch or a pressure sensor is connected to the air supply passage.
  • the air passage 77 is open to the outside.
  • the output member 73 is formed by integrally forming a rod portion 73a and a piston portion 73b.
  • the cylinder main body 70 includes a cylinder member 71 and an upper end wall member 72.
  • the on-off valve mechanism 76 has a structure similar to that of the on-off valve mechanism 50D, and will be described briefly.
  • the on-off valve mechanism 76 is mounted in the vertical mounting hole 72a of the upper end wall member 72 so as to face the piston portion 73b.
  • the on-off valve mechanism 76 includes a cap member 79, a valve body 80, an annular member 81, a hydraulic pressure introduction chamber 82, a hydraulic pressure introduction path 83, internal air passages 85a, 85b, 85c, and the like.
  • the valve body 80 is formed by integrally forming a small diameter shaft portion 80a and a large diameter shaft portion 80b.
  • the large-diameter shaft portion 80 b is movably inserted into a hole formed in the upper end wall member 72 and sealed with a seal member 84.
  • the small diameter shaft portion 80 a is slidably inserted into the through hole 81 a of the annular member 81 and the insertion hole 79 a of the cap member 79, and can project from the lower surface of the upper end wall member 72.
  • a seal member 85 that seals between the small diameter shaft portion 80a and the cap member 79 is also provided.
  • annular air passage 85a that communicates with the air passage 85s
  • annular air passage 85b that can communicate with the air passage 85a and is formed in the inner peripheral portion of the annular member 81
  • air passage 85b that can communicate with the air passage 85a and is formed in the inner peripheral portion of the annular member 81
  • an air passage 85c formed in the wall portion of the annular member 81 and an air passage 85c communicating with the discharge air passage 77.
  • An annular valve seat 81a is formed on the upper surface of the annular member 81, and an annular valve surface 80v capable of contacting and separating from the annular valve seat 81a is formed at the lower end of the large diameter shaft portion 80b.
  • the output member 73 reaches the rising limit position as shown in FIG. Since the valve body 80 is pushed upward at 73b, the annular valve surface 80v is separated from the annular valve seat 81a and is opened, and the air pressure in the air passage 76 is reduced. It can be detected that the clamp state has been reached. In addition, the same effect as the hydraulic cylinder of the first embodiment can be obtained.
  • the output member 4F is twisted by 90 ° around the shaft center during the first descending period when the output member 4F descends from the ascending limit position, and then moves to the descending limit position without being twisted to be in a clamped state. . Further, the output member rises without being twisted in the first rising stage when the output member 4F rises from the clamped state, and then the output member 4F is twisted by 90 ° around the axis and enters the unclamped state in the latter half of the rising.
  • the hydraulic cylinder 3F has an output member 4F (clamp rod, that is, a piston rod member 90), and a clamp arm 91 is fixed to the upper end portion of the output member 4F.
  • the cylinder body 92 has a cylinder hole 93, and a rod insertion hole 94 a is formed in the lower end wall member 94 of the cylinder body 92.
  • a piston portion 90a that slides in the cylinder hole 93 is formed in the middle portion of the piston rod member 90.
  • a clamp oil chamber 95 is formed on the upper side of the piston portion 90a.
  • An unclamping oil chamber 96 is formed on the side.
  • the twist mechanism 100 for twisting the piston rod member 90 includes a plurality of cam grooves 101 formed in the outer periphery of the piston rod member 90 in the unclamping oil chamber 96 and a plurality of cam grooves 101 held by the lower end wall member 94. A plurality of steel balls 103 engaged with each other are provided.
  • the cam groove 101 includes a vertical linear groove 101a in the upper half of the cam groove 101 and a spiral groove 101b continuous with the lower end of the linear groove 101a.
  • the clamp device 1F has an opening / closing for detecting that the piston rod member 90 has completed the twisting operation when the piston rod member 90 shifts from the unclamped state to the clamped state (the piston rod member 90 is lowered).
  • a valve mechanism 50F is provided. Since this on-off valve mechanism 50F has substantially the same structure as that of the second on-off valve mechanism 50 of the first embodiment, the same reference numerals will be given to the same members and the description will be made briefly.
  • the on-off valve mechanism 50F includes a mounting hole 56 formed in the lower end wall member 94 in the horizontal direction, a valve body 51, a cap member 52, an annular member 57, a hydraulic pressure introduction chamber 53, and a hydraulic pressure introduction path 54. And.
  • the valve body 51 includes a valve body main body 58 and a movable valve body 59.
  • the movable valve body 59 has an annular engagement portion, and the valve body main body 58 has a small diameter shaft portion.
  • the air passage 23 formed in the lower end wall member 94 is connected to an air supply source via an air supply path, and a pressure switch or a pressure sensor is connected to the air supply path.
  • the discharge air passage 24 formed in the lower end wall member 94 is open to the outside.
  • annular air passage 55a formed in the outer peripheral portion of the annular member 57 so as to communicate with the air passage 23, an air passage 55b formed in the annular member 57, and the annular member 57 And a cap-shaped air passage 55c formed between the movable valve body 59 and an air passage 55d formed in the cap member 52 so as to communicate with the air passage 55c and communicated with the discharge air passage 24.
  • An annular valve seat 52a is formed on the end surface of the cap member 52, and an annular valve surface 59v that can contact and separate from the annular valve seat 52a is formed on the movable valve body 59.
  • the outer periphery of the piston rod member 90 is a detection groove 102 similar to the cam groove 101, and a hemispherical tip of the valve body 58 of the on-off valve mechanism 50F is engaged.
  • a matching detection groove 102 is formed.
  • the detection groove 102 has a straight groove 102a in the upper half of the groove and a spiral groove 102b connected to the lower end of the straight groove 102a.
  • the spiral groove 102b is formed deep, and the straight groove 102a is formed to a depth of about 1 ⁇ 2 of the spiral groove 102b.
  • a clamp apparatus 1G according to the eighth embodiment will be described with reference to FIGS.
  • This clamping device 1G is the same as the clamping device 1F of the seventh embodiment, but the structure of the on-off valve mechanism 30G is different. Therefore, the same reference numerals are assigned to the same members as those of the clamp device 1F of the seventh embodiment, and the description thereof is omitted, and the on-off valve mechanism 30G will be described. Since this on-off valve mechanism 30G is the same as the first on-off valve mechanism 30D of the fifth embodiment, the same members are denoted by the same reference numerals and will be briefly described.
  • the on-off valve mechanism 50F of the seventh embodiment is opened when the output member 4F is being twisted, and the output member 4F is closed after the twist operation is completed. However, the on-off valve mechanism 30G is closed when the output member 4F is twisted, and the valve is opened after the output member 4F is completed.
  • the on-off valve mechanism 30G includes a cap member 32, an annular member 37D, a valve body 31D, a hydraulic pressure introduction chamber 33, a hydraulic pressure introduction path 34, and internal air passages 35i, 35j, 35k, 35m, and 35n. It is mounted in a horizontal mounting hole 36 formed in the lower end wall member 94.
  • the valve body 31D is configured only by the valve body main body 38, and the valve body main body 38 is formed by integrally forming a small diameter shaft portion 38a and a large diameter shaft portion 38b.
  • the large-diameter shaft portion 38b is movably accommodated in a housing chamber formed by the cap member 32 and the annular member 37D, and the small-diameter shaft portion 38a is slid into the through-hole 37a of the annular member 37D and the small-diameter hole 36a of the mounting hole 36. It is inserted freely.
  • the air passage 35i communicated with the air passage 23 and formed in the outer peripheral portion of the annular member 37D, the air passage 35j formed in the wall portion of the annular member 37D, and the air passage 35j.
  • An annular air passage 35k formed in the inner peripheral portion of the annular member 37D, an annular air passage 35m that can communicate with the air passage 35k, and a cap member 32 that communicates with the air passage 35m.
  • An air passage 35n that is in communication with the air passage 24 is formed.
  • An annular valve seat 38c is formed on the end surface of the large-diameter shaft portion 38b of the valve body 38, and an annular valve seat 37b that can contact and separate from the annular valve surface 38c is formed on the end surface of the annular member 37D.
  • a common pressure switch or pressure sensor is provided in a plurality of air supply passages that supply pressurized air to a plurality of air passages in a plurality of on-off valve mechanisms. Is also possible.
  • the hydraulic cylinder is described as an example of the fluid pressure cylinder, but the present invention can be similarly applied to an air cylinder as the fluid pressure cylinder.
  • the fluid pressure cylinder according to the present invention can be employed in a hydraulic cylinder or an air cylinder applied to a clamp device or other mechanical devices.

Landscapes

  • Engineering & Computer Science (AREA)
  • Mechanical Engineering (AREA)
  • Physics & Mathematics (AREA)
  • Fluid Mechanics (AREA)
  • General Engineering & Computer Science (AREA)
  • Jigs For Machine Tools (AREA)
  • Actuator (AREA)
PCT/JP2012/069666 2011-10-07 2012-08-02 流体圧シリンダ及びクランプ装置 Ceased WO2013051333A1 (ja)

Priority Applications (4)

Application Number Priority Date Filing Date Title
CN201280028086.8A CN103596725B (zh) 2011-10-07 2012-08-02 流体压汽缸及夹紧装置
EP12838481.5A EP2764953B1 (en) 2011-10-07 2012-08-02 Fluid pressure cylinder and clamp device
US14/114,650 US9511466B2 (en) 2011-10-07 2012-08-02 Fluid pressure cylinder and clamp device
KR1020147000915A KR101947690B1 (ko) 2011-10-07 2012-08-02 유체압 실린더 및 클램프 장치

Applications Claiming Priority (2)

Application Number Priority Date Filing Date Title
JP2011-222846 2011-10-07
JP2011222846A JP5337221B2 (ja) 2011-10-07 2011-10-07 流体圧シリンダ及びクランプ装置

Publications (1)

Publication Number Publication Date
WO2013051333A1 true WO2013051333A1 (ja) 2013-04-11

Family

ID=48043504

Family Applications (1)

Application Number Title Priority Date Filing Date
PCT/JP2012/069666 Ceased WO2013051333A1 (ja) 2011-10-07 2012-08-02 流体圧シリンダ及びクランプ装置

Country Status (7)

Country Link
US (1) US9511466B2 (enExample)
EP (1) EP2764953B1 (enExample)
JP (1) JP5337221B2 (enExample)
KR (1) KR101947690B1 (enExample)
CN (1) CN103596725B (enExample)
TW (1) TWI549775B (enExample)
WO (1) WO2013051333A1 (enExample)

Cited By (4)

* Cited by examiner, † Cited by third party
Publication number Priority date Publication date Assignee Title
WO2014104123A1 (ja) * 2012-12-28 2014-07-03 株式会社コスメック シリンダ装置
WO2014115628A1 (ja) * 2013-01-22 2014-07-31 株式会社コスメック シリンダ装置
CN111022413A (zh) * 2019-12-30 2020-04-17 无锡市瑞可特科技有限公司 气检式旋转油压缸
US11167385B2 (en) 2017-08-30 2021-11-09 Smc Corporation Balancer cylinder and workpiece-conveying apparatus in which balancer cylinder is used

Families Citing this family (36)

* Cited by examiner, † Cited by third party
Publication number Priority date Publication date Assignee Title
US9453521B1 (en) 2011-12-30 2016-09-27 Lincoln Global IP Clamp and method of use
JP6012445B2 (ja) * 2012-11-13 2016-10-25 パスカルエンジニアリング株式会社 流体圧シリンダ及び旋回式クランプ装置
JP5951461B2 (ja) * 2012-12-03 2016-07-13 パスカルエンジニアリング株式会社 流体圧シリンダ及び旋回式クランプ装置
JP6208480B2 (ja) * 2013-06-11 2017-10-04 株式会社コスメック 倍力機構付きシリンダ装置
JP5419114B2 (ja) * 2013-07-26 2014-02-19 パスカルエンジニアリング株式会社 開閉弁機構
JP6202705B2 (ja) * 2013-09-18 2017-09-27 パスカルエンジニアリング株式会社 流体圧シリンダ
WO2015058645A1 (en) * 2013-10-24 2015-04-30 Byd Company Limited Single-way damping plunger cylinder and forklift comprising the same
JP6298294B2 (ja) * 2013-12-12 2018-03-20 株式会社コスメック シリンダ装置
CN104772631B (zh) * 2014-01-15 2017-04-05 富鼎电子科技(嘉善)有限公司 夹持装置及其采用的可旋转驱动机构
US9481453B2 (en) * 2014-03-31 2016-11-01 Goodrich Corporation Shrinking system for landing gear
JP6410342B2 (ja) * 2014-06-04 2018-10-24 パスカルエンジニアリング株式会社 流体圧シリンダ及びクランプ装置
CN104625874A (zh) * 2015-03-09 2015-05-20 江苏天宏自动化科技有限公司 自动化机加工用气密检测安全系统
EP3284958B1 (en) * 2015-04-13 2021-06-30 Kosmek Ltd. Cylinder device
JP6669949B2 (ja) * 2015-05-27 2020-03-18 パスカルエンジニアリング株式会社 プル型クランプ装置
JP6600194B2 (ja) * 2015-08-26 2019-10-30 株式会社Fuji チャック装置
JP6616997B2 (ja) * 2015-09-25 2019-12-04 株式会社コスメック シリンダ装置
KR101634262B1 (ko) * 2015-12-23 2016-06-30 주식회사 신안오토테크 공압 실린더 유니트
JP6730767B2 (ja) * 2016-04-29 2020-07-29 株式会社コスメック 位置検出機能付きシリンダ装置
CN107756429A (zh) * 2016-08-18 2018-03-06 大连精维液压技术有限公司 具有到位检测功能的自调节压紧点式旋转夹紧器
JP6848767B2 (ja) * 2016-09-27 2021-03-24 信越化学工業株式会社 レジスト材料及びパターン形成方法
US10821564B2 (en) * 2017-03-15 2020-11-03 Seiko Instruments Inc. Cylinder device, press machine, workpiece clamping apparatus, cylinder device actuating method, method for clamping workpiece, and method for pressing workpiece
CN107702842B (zh) * 2017-09-29 2021-07-02 常州中车汽车零部件有限公司 压板压点检测装置以及压板压点检测机构
IT201800000538A1 (it) * 2018-01-04 2019-07-04 Walter Bronzino Dispositivo di presa-pezzi per macchine utensili e centri di lavoro, munito di sistema di rilevamento della posizione delle griffe
JP2018109444A (ja) * 2018-02-08 2018-07-12 パスカルエンジニアリング株式会社 油圧シリンダ及びクランプ装置
EP3546787B1 (en) * 2018-03-27 2021-02-24 Aida Engineering, Ltd. Gas cushion device
CN112585363B (zh) * 2018-08-17 2023-02-17 克斯美库股份有限公司 缸体装置
JP7193122B2 (ja) * 2018-10-22 2022-12-20 株式会社コスメック ワークサポート
CN113227588B (zh) * 2019-02-06 2024-02-06 克斯美库股份有限公司 带保持阀的空气压力缸装置
CN110524283A (zh) * 2019-08-27 2019-12-03 芜湖永裕汽车工业股份有限公司 发动机气缸盖端面加工用夹具
EP3825557B1 (en) * 2019-11-22 2024-08-07 Goodrich Actuation Systems SAS Hydraulic actuators
CN110948268A (zh) * 2019-12-13 2020-04-03 青岛理工大学 智能检测夹紧力的多工位车刀刀头铣削夹具系统
DE102020115803B4 (de) * 2020-06-16 2024-03-21 Ludwig Ehrhardt Gmbh Schwenkspanner mit einem Übertragungsgetriebe
CH717769A1 (de) * 2020-08-21 2022-02-28 Erowa Ag Spannfutter.
CN112318205B (zh) * 2020-10-19 2021-07-20 台州威德隆机械有限公司 一种多工位专机的工装夹具及其装夹控制方法
US11635097B1 (en) * 2022-04-20 2023-04-25 Hamilton Sundstrand Corporation Actuator with end stop valve
DE102022115370A1 (de) 2022-06-21 2023-12-21 Ludwig Ehrhardt Gmbh Spannvorrichtung

Citations (6)

* Cited by examiner, † Cited by third party
Publication number Priority date Publication date Assignee Title
JPS5559802U (enExample) * 1978-10-19 1980-04-23
JPS60129410A (ja) * 1983-12-19 1985-07-10 Honda Motor Co Ltd シリンダ用リミツトバルブ装置
DE102005052780A1 (de) * 2005-11-05 2007-05-10 Zero-Point-Systems Günther Stark GmbH Schnellspann-Zylinder mit Verriegelungskontrolle
JP2009072891A (ja) * 2007-09-24 2009-04-09 Howa Mach Ltd クランプ装置
EP2177309A1 (de) * 2008-10-18 2010-04-21 Andreas Maier GmbH & Co. KG Schnellspannzylinder mit Anwesenheitskontrolle des Einzugsnippels
JP2011002041A (ja) * 2009-06-18 2011-01-06 Smc Corp 流体圧シリンダ

Family Cites Families (35)

* Cited by examiner, † Cited by third party
Publication number Priority date Publication date Assignee Title
US666959A (en) 1900-09-29 1901-01-29 James O Fink Steam-motor.
US2949098A (en) * 1956-03-21 1960-08-16 Flick Reedy Corp Actuator for service in piston and cylinder devices
US3348803A (en) 1964-10-30 1967-10-24 Parker Hannifin Corp Piston reversing actuator valve
DE1528583A1 (de) 1965-05-20 1970-01-29 Stahl U Appbau Hans Leffer Gmb Hydraulisch oder pneumatisch kontinuierlich betaetigter Kolbenantrieb mit hin- und hergehender Bewegung,insbesondere doppeltwirkender Druckuebersetzer
US3414693A (en) * 1966-04-29 1968-12-03 Tomkins Johnson Co Cylinder head limit switch assembly
US3463055A (en) 1966-12-02 1969-08-26 Ltv Electrosystems Inc Fluid actuator
FR1520108A (fr) * 1967-04-21 1968-04-05 Tomkins Johnson Co Appareil moteur à chambre expansible
US3530896A (en) 1968-04-25 1970-09-29 Whiteman Marvin E Hydraulic power actuator and pilot valve unit assembly
JPS523987A (en) * 1975-06-27 1977-01-12 Kondo Seisakusho:Kk Hydraulic drive device
GB1558642A (en) 1977-04-01 1980-01-09 Standard Telephones Cables Ltd Injection lasers
DE2843131C2 (de) 1978-10-03 1984-08-02 Vladimir Kazimirovič Čubukov Zentrifugaldünnschichtapparat
JPS5918165Y2 (ja) * 1978-12-08 1984-05-26 株式会社小松製作所 シリンダのストロ−ク端検出装置
JPS5649404A (en) * 1979-09-25 1981-05-06 Yunitsuku:Kk Multistage stretching boom
US4632018A (en) 1983-06-02 1986-12-30 Lymburner Robert K Fluid cylinder position sensor mounting apparatus
DE3918909A1 (de) * 1989-06-09 1990-12-13 Teves Gmbh Alfred Hauptzylinder, insbesondere fuer eine blockiergeschuetzte, hydraulische bremsanlage, mit einer einrichtung zur bestimmung der lage des hauptkolbens
JPH0615549A (ja) 1991-02-18 1994-01-25 Hitachi Seiki Co Ltd クランプ・アンクランプ確認装置
NO177917C (no) 1992-12-21 1996-01-24 Kongsberg Automotive As Anordning ved en indikator til angivelse av nådd slitasjegrense for servoopererte clutcher
JP3437622B2 (ja) * 1994-02-01 2003-08-18 株式会社コスメック 流体圧ピストン発動機
JP3459302B2 (ja) * 1994-12-13 2003-10-20 株式会社コスメック リリーフ弁の作動状態検出装置
JPH1130201A (ja) * 1997-05-16 1999-02-02 Nok Corp ピストン型アキュムレータのピストン位置検出装置
JP2001087991A (ja) 1999-09-24 2001-04-03 Taiyo Ltd クランプの確認制御方法および装置
JP4094340B2 (ja) 2002-02-13 2008-06-04 株式会社コスメック クランプの動作検出装置
KR100573414B1 (ko) * 2004-07-06 2006-04-26 주식회사 삼천리기계 유압 실린더
EP2039462A1 (en) * 2006-06-13 2009-03-25 Kosmek Ltd. Swing-type clamp
US20100038179A1 (en) * 2006-07-12 2010-02-18 Pascal Engineering Corporation Lubrication structure for gas spring
JP2009125821A (ja) 2007-11-20 2009-06-11 Sekiguchi Seiki Kk クランプ装置
JP4297511B1 (ja) 2008-02-15 2009-07-15 パスカルエンジニアリング株式会社 クランプ装置
JP5051905B2 (ja) * 2008-02-18 2012-10-17 パスカルエンジニアリング株式会社 流体通路接続装置
JP2008304065A (ja) * 2008-06-19 2008-12-18 Pascal Engineering Corp クランプ装置
JP5499260B2 (ja) * 2009-06-18 2014-05-21 Smc株式会社 流体圧シリンダのピストン位置検出装置
JP5385710B2 (ja) * 2009-07-09 2014-01-08 パスカルエンジニアリング株式会社 クランプ装置
JP5541786B2 (ja) * 2010-05-10 2014-07-09 パスカルエンジニアリング株式会社 クランプ装置
JP5557630B2 (ja) * 2010-07-13 2014-07-23 パスカルエンジニアリング株式会社 クランプ装置
JP5700677B2 (ja) * 2011-10-06 2015-04-15 パスカルエンジニアリング株式会社 クランプ装置
JP6012445B2 (ja) * 2012-11-13 2016-10-25 パスカルエンジニアリング株式会社 流体圧シリンダ及び旋回式クランプ装置

Patent Citations (6)

* Cited by examiner, † Cited by third party
Publication number Priority date Publication date Assignee Title
JPS5559802U (enExample) * 1978-10-19 1980-04-23
JPS60129410A (ja) * 1983-12-19 1985-07-10 Honda Motor Co Ltd シリンダ用リミツトバルブ装置
DE102005052780A1 (de) * 2005-11-05 2007-05-10 Zero-Point-Systems Günther Stark GmbH Schnellspann-Zylinder mit Verriegelungskontrolle
JP2009072891A (ja) * 2007-09-24 2009-04-09 Howa Mach Ltd クランプ装置
EP2177309A1 (de) * 2008-10-18 2010-04-21 Andreas Maier GmbH & Co. KG Schnellspannzylinder mit Anwesenheitskontrolle des Einzugsnippels
JP2011002041A (ja) * 2009-06-18 2011-01-06 Smc Corp 流体圧シリンダ

Non-Patent Citations (1)

* Cited by examiner, † Cited by third party
Title
See also references of EP2764953A1 *

Cited By (8)

* Cited by examiner, † Cited by third party
Publication number Priority date Publication date Assignee Title
WO2014104123A1 (ja) * 2012-12-28 2014-07-03 株式会社コスメック シリンダ装置
JP2014129864A (ja) * 2012-12-28 2014-07-10 Kosmek Ltd シリンダ装置
US10018191B2 (en) 2012-12-28 2018-07-10 Kosmek Ltd. Cylinder apparatus
WO2014115628A1 (ja) * 2013-01-22 2014-07-31 株式会社コスメック シリンダ装置
JP2014159868A (ja) * 2013-01-22 2014-09-04 Kosmek Ltd シリンダ装置
US9909600B2 (en) 2013-01-22 2018-03-06 Kosmek Ltd. Cylinder apparatus
US11167385B2 (en) 2017-08-30 2021-11-09 Smc Corporation Balancer cylinder and workpiece-conveying apparatus in which balancer cylinder is used
CN111022413A (zh) * 2019-12-30 2020-04-17 无锡市瑞可特科技有限公司 气检式旋转油压缸

Also Published As

Publication number Publication date
CN103596725B (zh) 2017-04-26
JP5337221B2 (ja) 2013-11-06
EP2764953A1 (en) 2014-08-13
EP2764953B1 (en) 2017-08-02
EP2764953A4 (en) 2015-08-19
US20140138890A1 (en) 2014-05-22
CN103596725A (zh) 2014-02-19
TWI549775B (zh) 2016-09-21
KR20140079349A (ko) 2014-06-26
TW201315565A (zh) 2013-04-16
US9511466B2 (en) 2016-12-06
JP2013082025A (ja) 2013-05-09
KR101947690B1 (ko) 2019-02-13

Similar Documents

Publication Publication Date Title
JP5337221B2 (ja) 流体圧シリンダ及びクランプ装置
JP5815611B2 (ja) 流体圧シリンダ及びクランプ装置
KR101751509B1 (ko) 클램프 장치
EP2246608A1 (en) Fluid path connection device
US9815156B2 (en) Positioning apparatus
JP2016006353A (ja) 流体圧シリンダ及びクランプ装置
JP6288768B2 (ja) クランプ装置
JP2018109444A (ja) 油圧シリンダ及びクランプ装置
KR20130017072A (ko) 유체압 실린더
JP6410472B2 (ja) クランプ装置
JP5419114B2 (ja) 開閉弁機構
JP2004255484A (ja) クランプ装置
JP6291518B2 (ja) 流体圧シリンダ及びクランプ装置
KR20170091085A (ko) 클램프 장치
JP5337323B2 (ja) 位置検出装置
JP5666660B2 (ja) 位置検知装置
CN108138812A (zh) 流体压力装置及其制造方法
JP2014042966A (ja) クランプ装置
JP2015003346A (ja) クランプ装置
JP6617021B2 (ja) 異常状態の検出機構付きクランプ装置
JP3239951U (ja) クランプ装置
CN119866255A (zh) 夹紧装置
JP2006118690A (ja) シリンダ装置およびその装置を利用したワークサポート

Legal Events

Date Code Title Description
121 Ep: the epo has been informed by wipo that ep was designated in this application

Ref document number: 12838481

Country of ref document: EP

Kind code of ref document: A1

REEP Request for entry into the european phase

Ref document number: 2012838481

Country of ref document: EP

WWE Wipo information: entry into national phase

Ref document number: 2012838481

Country of ref document: EP

ENP Entry into the national phase

Ref document number: 20147000915

Country of ref document: KR

Kind code of ref document: A

WWE Wipo information: entry into national phase

Ref document number: 14114650

Country of ref document: US

NENP Non-entry into the national phase

Ref country code: DE