WO2012073812A1 - メラミン化粧板 - Google Patents

メラミン化粧板 Download PDF

Info

Publication number
WO2012073812A1
WO2012073812A1 PCT/JP2011/077161 JP2011077161W WO2012073812A1 WO 2012073812 A1 WO2012073812 A1 WO 2012073812A1 JP 2011077161 W JP2011077161 W JP 2011077161W WO 2012073812 A1 WO2012073812 A1 WO 2012073812A1
Authority
WO
WIPO (PCT)
Prior art keywords
resin
decorative board
melamine
melamine decorative
surface layer
Prior art date
Legal status (The legal status is an assumption and is not a legal conclusion. Google has not performed a legal analysis and makes no representation as to the accuracy of the status listed.)
Ceased
Application number
PCT/JP2011/077161
Other languages
English (en)
French (fr)
Japanese (ja)
Inventor
敏則 木福
Current Assignee (The listed assignees may be inaccurate. Google has not performed a legal analysis and makes no representation or warranty as to the accuracy of the list.)
Sumitomo Bakelite Co Ltd
Original Assignee
Sumitomo Bakelite Co Ltd
Priority date (The priority date is an assumption and is not a legal conclusion. Google has not performed a legal analysis and makes no representation as to the accuracy of the date listed.)
Filing date
Publication date
Application filed by Sumitomo Bakelite Co Ltd filed Critical Sumitomo Bakelite Co Ltd
Priority to US13/884,739 priority Critical patent/US10279571B2/en
Priority to CN201180056139.2A priority patent/CN103228449B/zh
Priority to KR1020137013617A priority patent/KR101536490B1/ko
Priority to EP20110845057 priority patent/EP2647503A4/en
Priority to BR112013013005A priority patent/BR112013013005A2/pt
Publication of WO2012073812A1 publication Critical patent/WO2012073812A1/ja
Anticipated expiration legal-status Critical
Ceased legal-status Critical Current

Links

Images

Classifications

    • BPERFORMING OPERATIONS; TRANSPORTING
    • B32LAYERED PRODUCTS
    • B32BLAYERED PRODUCTS, i.e. PRODUCTS BUILT-UP OF STRATA OF FLAT OR NON-FLAT, e.g. CELLULAR OR HONEYCOMB, FORM
    • B32B27/00Layered products comprising a layer of synthetic resin
    • B32B27/42Layered products comprising a layer of synthetic resin comprising condensation resins of aldehydes, e.g. with phenols, ureas or melamines
    • BPERFORMING OPERATIONS; TRANSPORTING
    • B32LAYERED PRODUCTS
    • B32BLAYERED PRODUCTS, i.e. PRODUCTS BUILT-UP OF STRATA OF FLAT OR NON-FLAT, e.g. CELLULAR OR HONEYCOMB, FORM
    • B32B17/00Layered products essentially comprising sheet glass, or glass, slag, or like fibres
    • B32B17/02Layered products essentially comprising sheet glass, or glass, slag, or like fibres in the form of fibres or filaments
    • BPERFORMING OPERATIONS; TRANSPORTING
    • B32LAYERED PRODUCTS
    • B32BLAYERED PRODUCTS, i.e. PRODUCTS BUILT-UP OF STRATA OF FLAT OR NON-FLAT, e.g. CELLULAR OR HONEYCOMB, FORM
    • B32B17/00Layered products essentially comprising sheet glass, or glass, slag, or like fibres
    • B32B17/02Layered products essentially comprising sheet glass, or glass, slag, or like fibres in the form of fibres or filaments
    • B32B17/04Layered products essentially comprising sheet glass, or glass, slag, or like fibres in the form of fibres or filaments bonded with or embedded in a plastic substance
    • BPERFORMING OPERATIONS; TRANSPORTING
    • B32LAYERED PRODUCTS
    • B32BLAYERED PRODUCTS, i.e. PRODUCTS BUILT-UP OF STRATA OF FLAT OR NON-FLAT, e.g. CELLULAR OR HONEYCOMB, FORM
    • B32B17/00Layered products essentially comprising sheet glass, or glass, slag, or like fibres
    • B32B17/06Layered products essentially comprising sheet glass, or glass, slag, or like fibres comprising glass as the main or only constituent of a layer, next to another layer of a specific material
    • B32B17/10Layered products essentially comprising sheet glass, or glass, slag, or like fibres comprising glass as the main or only constituent of a layer, next to another layer of a specific material of synthetic resin
    • B32B17/10005Layered products essentially comprising sheet glass, or glass, slag, or like fibres comprising glass as the main or only constituent of a layer, next to another layer of a specific material of synthetic resin laminated safety glass or glazing
    • B32B17/1055Layered products essentially comprising sheet glass, or glass, slag, or like fibres comprising glass as the main or only constituent of a layer, next to another layer of a specific material of synthetic resin laminated safety glass or glazing characterized by the resin layer, i.e. interlayer
    • B32B17/10743Layered products essentially comprising sheet glass, or glass, slag, or like fibres comprising glass as the main or only constituent of a layer, next to another layer of a specific material of synthetic resin laminated safety glass or glazing characterized by the resin layer, i.e. interlayer containing acrylate (co)polymers or salts thereof
    • BPERFORMING OPERATIONS; TRANSPORTING
    • B32LAYERED PRODUCTS
    • B32BLAYERED PRODUCTS, i.e. PRODUCTS BUILT-UP OF STRATA OF FLAT OR NON-FLAT, e.g. CELLULAR OR HONEYCOMB, FORM
    • B32B17/00Layered products essentially comprising sheet glass, or glass, slag, or like fibres
    • B32B17/06Layered products essentially comprising sheet glass, or glass, slag, or like fibres comprising glass as the main or only constituent of a layer, next to another layer of a specific material
    • B32B17/10Layered products essentially comprising sheet glass, or glass, slag, or like fibres comprising glass as the main or only constituent of a layer, next to another layer of a specific material of synthetic resin
    • B32B17/10005Layered products essentially comprising sheet glass, or glass, slag, or like fibres comprising glass as the main or only constituent of a layer, next to another layer of a specific material of synthetic resin laminated safety glass or glazing
    • B32B17/1055Layered products essentially comprising sheet glass, or glass, slag, or like fibres comprising glass as the main or only constituent of a layer, next to another layer of a specific material of synthetic resin laminated safety glass or glazing characterized by the resin layer, i.e. interlayer
    • B32B17/1077Layered products essentially comprising sheet glass, or glass, slag, or like fibres comprising glass as the main or only constituent of a layer, next to another layer of a specific material of synthetic resin laminated safety glass or glazing characterized by the resin layer, i.e. interlayer containing polyurethane
    • BPERFORMING OPERATIONS; TRANSPORTING
    • B32LAYERED PRODUCTS
    • B32BLAYERED PRODUCTS, i.e. PRODUCTS BUILT-UP OF STRATA OF FLAT OR NON-FLAT, e.g. CELLULAR OR HONEYCOMB, FORM
    • B32B29/00Layered products comprising a layer of paper or cardboard
    • B32B29/02Layered products comprising a layer of paper or cardboard next to a fibrous or filamentary layer
    • BPERFORMING OPERATIONS; TRANSPORTING
    • B32LAYERED PRODUCTS
    • B32BLAYERED PRODUCTS, i.e. PRODUCTS BUILT-UP OF STRATA OF FLAT OR NON-FLAT, e.g. CELLULAR OR HONEYCOMB, FORM
    • B32B33/00Layered products characterised by particular properties or particular surface features, e.g. particular surface coatings; Layered products designed for particular purposes not covered by another single class
    • BPERFORMING OPERATIONS; TRANSPORTING
    • B32LAYERED PRODUCTS
    • B32BLAYERED PRODUCTS, i.e. PRODUCTS BUILT-UP OF STRATA OF FLAT OR NON-FLAT, e.g. CELLULAR OR HONEYCOMB, FORM
    • B32B5/00Layered products characterised by the non- homogeneity or physical structure, i.e. comprising a fibrous, filamentary, particulate or foam layer; Layered products characterised by having a layer differing constitutionally or physically in different parts
    • B32B5/16Layered products characterised by the non- homogeneity or physical structure, i.e. comprising a fibrous, filamentary, particulate or foam layer; Layered products characterised by having a layer differing constitutionally or physically in different parts characterised by features of a layer formed of particles, e.g. chips, powder or granules
    • EFIXED CONSTRUCTIONS
    • E04BUILDING
    • E04FFINISHING WORK ON BUILDINGS, e.g. STAIRS, FLOORS
    • E04F13/00Coverings or linings, e.g. for walls or ceilings
    • E04F13/07Coverings or linings, e.g. for walls or ceilings composed of covering or lining elements; Sub-structures therefor; Fastening means therefor
    • E04F13/08Coverings or linings, e.g. for walls or ceilings composed of covering or lining elements; Sub-structures therefor; Fastening means therefor composed of a plurality of similar covering or lining elements
    • BPERFORMING OPERATIONS; TRANSPORTING
    • B32LAYERED PRODUCTS
    • B32BLAYERED PRODUCTS, i.e. PRODUCTS BUILT-UP OF STRATA OF FLAT OR NON-FLAT, e.g. CELLULAR OR HONEYCOMB, FORM
    • B32B2250/00Layers arrangement
    • B32B2250/022 layers
    • BPERFORMING OPERATIONS; TRANSPORTING
    • B32LAYERED PRODUCTS
    • B32BLAYERED PRODUCTS, i.e. PRODUCTS BUILT-UP OF STRATA OF FLAT OR NON-FLAT, e.g. CELLULAR OR HONEYCOMB, FORM
    • B32B2255/00Coating on the layer surface
    • B32B2255/02Coating on the layer surface on fibrous or filamentary layer
    • BPERFORMING OPERATIONS; TRANSPORTING
    • B32LAYERED PRODUCTS
    • B32BLAYERED PRODUCTS, i.e. PRODUCTS BUILT-UP OF STRATA OF FLAT OR NON-FLAT, e.g. CELLULAR OR HONEYCOMB, FORM
    • B32B2255/00Coating on the layer surface
    • B32B2255/12Coating on the layer surface on paper layer
    • BPERFORMING OPERATIONS; TRANSPORTING
    • B32LAYERED PRODUCTS
    • B32BLAYERED PRODUCTS, i.e. PRODUCTS BUILT-UP OF STRATA OF FLAT OR NON-FLAT, e.g. CELLULAR OR HONEYCOMB, FORM
    • B32B2255/00Coating on the layer surface
    • B32B2255/26Polymeric coating
    • BPERFORMING OPERATIONS; TRANSPORTING
    • B32LAYERED PRODUCTS
    • B32BLAYERED PRODUCTS, i.e. PRODUCTS BUILT-UP OF STRATA OF FLAT OR NON-FLAT, e.g. CELLULAR OR HONEYCOMB, FORM
    • B32B2262/00Composition or structural features of fibres which form a fibrous or filamentary layer or are present as additives
    • B32B2262/10Inorganic fibres
    • B32B2262/101Glass fibres
    • BPERFORMING OPERATIONS; TRANSPORTING
    • B32LAYERED PRODUCTS
    • B32BLAYERED PRODUCTS, i.e. PRODUCTS BUILT-UP OF STRATA OF FLAT OR NON-FLAT, e.g. CELLULAR OR HONEYCOMB, FORM
    • B32B2264/00Composition or properties of particles which form a particulate layer or are present as additives
    • B32B2264/10Inorganic particles
    • B32B2264/102Oxide or hydroxide
    • BPERFORMING OPERATIONS; TRANSPORTING
    • B32LAYERED PRODUCTS
    • B32BLAYERED PRODUCTS, i.e. PRODUCTS BUILT-UP OF STRATA OF FLAT OR NON-FLAT, e.g. CELLULAR OR HONEYCOMB, FORM
    • B32B2305/00Condition, form or state of the layers or laminate
    • B32B2305/07Parts immersed or impregnated in a matrix
    • B32B2305/076Prepregs
    • BPERFORMING OPERATIONS; TRANSPORTING
    • B32LAYERED PRODUCTS
    • B32BLAYERED PRODUCTS, i.e. PRODUCTS BUILT-UP OF STRATA OF FLAT OR NON-FLAT, e.g. CELLULAR OR HONEYCOMB, FORM
    • B32B2307/00Properties of the layers or laminate
    • B32B2307/30Properties of the layers or laminate having particular thermal properties
    • B32B2307/306Resistant to heat
    • B32B2307/3065Flame resistant or retardant, fire resistant or retardant
    • BPERFORMING OPERATIONS; TRANSPORTING
    • B32LAYERED PRODUCTS
    • B32BLAYERED PRODUCTS, i.e. PRODUCTS BUILT-UP OF STRATA OF FLAT OR NON-FLAT, e.g. CELLULAR OR HONEYCOMB, FORM
    • B32B2307/00Properties of the layers or laminate
    • B32B2307/50Properties of the layers or laminate having particular mechanical properties
    • B32B2307/554Wear resistance
    • BPERFORMING OPERATIONS; TRANSPORTING
    • B32LAYERED PRODUCTS
    • B32BLAYERED PRODUCTS, i.e. PRODUCTS BUILT-UP OF STRATA OF FLAT OR NON-FLAT, e.g. CELLULAR OR HONEYCOMB, FORM
    • B32B2307/00Properties of the layers or laminate
    • B32B2307/50Properties of the layers or laminate having particular mechanical properties
    • B32B2307/558Impact strength, toughness
    • BPERFORMING OPERATIONS; TRANSPORTING
    • B32LAYERED PRODUCTS
    • B32BLAYERED PRODUCTS, i.e. PRODUCTS BUILT-UP OF STRATA OF FLAT OR NON-FLAT, e.g. CELLULAR OR HONEYCOMB, FORM
    • B32B2451/00Decorative or ornamental articles
    • BPERFORMING OPERATIONS; TRANSPORTING
    • B32LAYERED PRODUCTS
    • B32BLAYERED PRODUCTS, i.e. PRODUCTS BUILT-UP OF STRATA OF FLAT OR NON-FLAT, e.g. CELLULAR OR HONEYCOMB, FORM
    • B32B2479/00Furniture
    • YGENERAL TAGGING OF NEW TECHNOLOGICAL DEVELOPMENTS; GENERAL TAGGING OF CROSS-SECTIONAL TECHNOLOGIES SPANNING OVER SEVERAL SECTIONS OF THE IPC; TECHNICAL SUBJECTS COVERED BY FORMER USPC CROSS-REFERENCE ART COLLECTIONS [XRACs] AND DIGESTS
    • Y10TECHNICAL SUBJECTS COVERED BY FORMER USPC
    • Y10TTECHNICAL SUBJECTS COVERED BY FORMER US CLASSIFICATION
    • Y10T428/00Stock material or miscellaneous articles
    • Y10T428/249921Web or sheet containing structurally defined element or component
    • YGENERAL TAGGING OF NEW TECHNOLOGICAL DEVELOPMENTS; GENERAL TAGGING OF CROSS-SECTIONAL TECHNOLOGIES SPANNING OVER SEVERAL SECTIONS OF THE IPC; TECHNICAL SUBJECTS COVERED BY FORMER USPC CROSS-REFERENCE ART COLLECTIONS [XRACs] AND DIGESTS
    • Y10TECHNICAL SUBJECTS COVERED BY FORMER USPC
    • Y10TTECHNICAL SUBJECTS COVERED BY FORMER US CLASSIFICATION
    • Y10T428/00Stock material or miscellaneous articles
    • Y10T428/25Web or sheet containing structurally defined element or component and including a second component containing structurally defined particles
    • Y10T428/254Polymeric or resinous material
    • YGENERAL TAGGING OF NEW TECHNOLOGICAL DEVELOPMENTS; GENERAL TAGGING OF CROSS-SECTIONAL TECHNOLOGIES SPANNING OVER SEVERAL SECTIONS OF THE IPC; TECHNICAL SUBJECTS COVERED BY FORMER USPC CROSS-REFERENCE ART COLLECTIONS [XRACs] AND DIGESTS
    • Y10TECHNICAL SUBJECTS COVERED BY FORMER USPC
    • Y10TTECHNICAL SUBJECTS COVERED BY FORMER US CLASSIFICATION
    • Y10T428/00Stock material or miscellaneous articles
    • Y10T428/26Web or sheet containing structurally defined element or component, the element or component having a specified physical dimension
    • Y10T428/266Web or sheet containing structurally defined element or component, the element or component having a specified physical dimension of base or substrate

Definitions

  • the present invention relates to a melamine decorative board.
  • This application claims priority based on Japanese Patent Application No. 2010-267733 filed in Japan on November 30, 2010, the contents of which are incorporated herein by reference.
  • a melamine decorative board is a decorative board with a surface layer (decorative layer) having a melamine resin formed on the surface, and it is hard and has good water resistance, stain resistance, and scratch resistance. It has been used in various fields such as vehicle interior applications. Since a melamine decorative board using a general melamine resin has a high surface hardness, it is not suitable for post-form (secondary molding) processing applications such as bending. However, in recent years, a melamine resin for post-forms corresponding to bending applications has been developed, and a post-form decorative board using the post-form decorative plates can be heated and bent and has been used for applications such as doors.
  • Patent Document 1 discloses a decorative melamine board in which aluminum is combined with a surface layer made of melamine resin-impregnated paper using a melamine resin for post-form.
  • a non-combustible melamine decorative board that is widely used as a kitchen panel material in the melamine decorative board, and among these, a non-combustible melamine decorative board with a decorative board specification using a glass fiber substrate and aluminum hydroxide fine powder, etc. Has become the mainstream.
  • the present invention has been made in view of the above problems, and is a melamine decorative board that maintains excellent surface hardness of a melamine resin, has excellent nonflammability, can be used for thinning, and has excellent bending workability at room temperature. It is intended to provide.
  • a melamine decorative board having a structure in which a surface layer and a core material layer are laminated,
  • the surface layer has a surface layer base supporting a resin containing a melamine resin on the first surface side serving as a design surface and supporting the solid content of the thermoplastic emulsion resin on the second surface side in contact with the core material layer.
  • Consists of surface layer material made of material The melamine decorative board, wherein the core material layer is composed of a glass cloth or a core material layer material made of a glass cloth-based prepreg.
  • thermoplastic emulsion resin includes emulsion resin particles having an average particle size of 30 to 100 nm.
  • the solid content of the thermoplastic emulsion resin is described in any one of the above (1) to (5), which includes urethane acrylic composite particles having a heterophase structure of an acrylic resin and a urethane resin in a single particle. Melamine decorative board.
  • the urethane acrylic composite particle according to (6) which is an aqueous clear type having a core-shell structure in which an acrylic component is a core and a urethane component is a shell.
  • the prepreg having the glass cloth as a base material is obtained by impregnating a glass cloth with a resin composition containing a thermoplastic resin in a solid content of 10 to 50% by mass, any of the above (1) to (7)
  • the melamine decorative board as described in one.
  • the said melamine decorative board as described in said (8) in which the said thermoplastic resin contains an acrylic resin and / or a urethane resin.
  • a melamine decorative board that maintains the surface hardness of the melamine resin, is excellent in nonflammability, can cope with thinning, and is excellent in bending workability at room temperature.
  • the melamine decorative board of the present invention is a melamine decorative board having a structure in which a surface layer and a core material layer are laminated, and the surface layer is a resin containing a melamine resin on the first surface side which becomes a design surface Is formed of a surface layer material composed of a surface layer base material supporting the solid content of the thermoplastic emulsion resin on the second surface side in contact with the core material layer, and the core material layer is made of glass cloth or glass cloth. It is characterized by being comprised with the core material layer material which consists of a prepreg which uses as a base material.
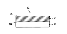
  • FIG. 1 shows the configuration of a melamine decorative board 12 composed of a surface layer 15 and a core material layer 16.
  • FIG. 2 shows the manufacturing method of a melamine decorative board 12 .
  • the melamine decorative board 12 is obtained by superposing the surface layer material 15A and the core material layer material 16A, and laminating them by heating and pressing.
  • the surface layer 15 is composed of a surface layer material 15A, and this surface layer material 15A is disposed on the design surface (exposed surface) side of the melamine decorative board 12 of the present invention.
  • 15 A of surface layer materials carry
  • the surface layer base material supports the resin.
  • the resin adheres to the surface of the base material (carrier) or is impregnated in the voids inside the base material and is supported after the molding of the surface layer material. It means that the resin is capable of exhibiting the performance of the resin.
  • the resin may not be uniformly distributed on the surface of the base material and the inside of the base material.
  • the surface layer base material is a sheet-like base material having a design surface formed on the first surface side 151.
  • the material of the surface layer substrate is not particularly limited, but preferably, pulp, linter, synthetic fiber, glass fiber, or the like can be used, and if necessary, a titanium oxide-containing decorative paper containing a pigment such as titanium oxide. Etc. can be used.
  • the basis weight of the surface layer substrate is not particularly limited, but is preferably 40 to 150 g / m 2 . If the basis weight is less than the lower limit, the coating treatment is difficult due to the problem of cutting and wrinkling in the resin impregnation step, and the resin impregnation amount to be supported on each of the first surface and the second surface is adjusted. It is also difficult to do.
  • the basis weight exceeds the above upper limit, the impregnation amount of the resin carried by the surface layer base material becomes uneven, which reduces the flexibility of the melamine decorative board 12 and causes a decrease in productivity and cost. Therefore, it is not preferable.
  • a resin containing a melamine resin is supported on the first surface side 151 of the surface layer base material.
  • surface hardness suitable for the surface of the 1st surface side 151 of surface layer material 15A ie, a melamine decorative board surface.
  • a melamine resin For example, what is obtained by making melamine and formaldehyde react under neutrality or weak alkali can be used.
  • the reaction molar ratio of formaldehyde to melamine (the value of (molar amount of formaldehyde) / (molar amount of melamine), hereinafter may be simply referred to as “reaction molar ratio”) is not particularly limited.
  • a value obtained by reacting at a value of ⁇ 4.0, preferably 1.0 to 2.0, more preferably 1.1 to 1.8 can be suitably used.
  • the reaction molar ratio is less than the lower limit, unreacted components increase, resulting in a decrease in storage stability and cost.
  • the reaction molar ratio exceeds the upper limit the resin flexibility after curing becomes significant.
  • a melamine resin what is contained individually by 1 type can also be used, and what mixed and contained 2 or more types of melamine resins from which a reaction molar ratio, a weight average molecular weight, etc. differ can also be used.
  • a melamine resin a commercially available thing, such as a melamine resin by Sumitomo Chemical Co., Ltd., can also be used.
  • the weight average molecular weight of the melamine resin is not particularly limited, but is preferably 200 to 500, and particularly preferably 250 to 350. When the molecular weight is smaller than the lower limit value, the amount of unreacted components increases, and the storage stability is lowered. When the molecular weight is larger than the upper limit value, the impregnation property to the substrate is lowered.
  • the weight average molecular weight can be measured, for example, by GPC (gel permeation chromatography, standard substance: converted to polystyrene).
  • the content of the melamine resin in the resin supported on the first surface 151 of the surface layer material 15A is not particularly limited, but is 80 to 100% by mass, and particularly preferably 95 to 100% by mass. When the content of the melamine resin is less than the lower limit, the surface hardness and the stain resistance are lowered.
  • the method of supporting the resin containing the melamine resin on the first surface side 151 of the surface layer base material is not particularly limited, but a resin varnish in which the resin is dissolved in a solvent is used, for example, a spray device, a shower device, Examples thereof include a method in which coating is performed using a known apparatus such as a kiss coater or a comma coater, followed by heating and drying at about 80 to 130 ° C.
  • the resin-impregnated paper after heat drying preferably has 2 to 6% by mass of volatile matter (solvent) remaining when the weight of the entire resin-impregnated paper is 100% by mass.
  • the solvent for dissolving the resin containing the melamine resin is not particularly limited, and examples thereof include water and methanol. Of these, water is preferred. Moreover, you may use a poor solvent in the range which does not exert a bad influence.
  • the solid content of the resin varnish (all components excluding the solvent) is not particularly limited, but is preferably 30 to 70% by mass, and particularly preferably 45 to 60% by mass of the resin varnish. Thereby, the impregnation property to the base material of the resin varnish can be improved.
  • the solid content of the thermoplastic emulsion resin is supported on the second surface side 152 which is the opposite side of the design surface of the surface layer base material.
  • the thermoplastic emulsion resin is a resin that contains a thermoplastic resin and is dispersed in a solvent to form an emulsion.
  • the solid content of the thermoplastic emulsion resin means a component obtained by removing the solvent from the thermoplastic emulsion resin.
  • the solid content of the thermoplastic emulsion resin contains components present as emulsion resin particles, has adhesive properties with metals and various materials, and imparts flexibility to the melamine decorative board.
  • the solid content of the thermoplastic emulsion resin is carried on the second surface side 152, whereby the adhesive strength between the surface layer 15 and the core material layer 16 can be improved, and the bending process of the melamine decorative board is performed. Can be improved.
  • the solid content of the thermoplastic emulsion resin is not particularly limited.
  • grains of a thermoplastic resin are mentioned.
  • urethane acrylic composite particles are preferable.
  • the urethane-acrylic composite particles mean those having a heterogeneous structure of an acrylic resin and a urethane resin in a single particle. Since each of the urethane resin and the acrylic resin has high adhesive strength with the core material layer, good adhesive strength with the core material layer can be expressed by using urethane acrylic composite particles.
  • the urethane resin is particularly excellent in toughness, elasticity, and flexibility
  • the acrylic resin is particularly excellent in transparency, durability, weather resistance, chemical resistance, and film forming property.
  • “heterophasic structure” means a structure in which a plurality of phases composed of different types of resins exist in one particle, and examples thereof include a core-shell structure, a localized structure, and a sea-island structure.
  • the arrangement state between the particles when the urethane acrylic composite particles are supported on the first surface side 151 of the surface layer material 15A is not particularly limited, and examples thereof include a linear structure. The structure of the particles and the arrangement state between the particles can be confirmed by, for example, a scanning electron microscope (SEM).
  • the urethane acrylic composite particles are particularly preferably an aqueous clear type having a core-shell structure in which an acrylic component is a core and a urethane component is a shell. If the urethane-acrylic composite particles have the above-described core-shell structure, the surface outline becomes a urethane composition when supported on the second surface side 152 of the surface layer material 15A, and therefore the second surface side 152 of the surface layer material 15A. Has properties of both urethane resin and acrylic resin while imparting the properties of urethane resin to the outer shell.
  • the term “aqueous clear” means that the resin solution is water-soluble, the coating film after the moisture is removed is non-aqueous, and the resin solution is transparent enough to clearly distinguish the underlying pattern. Means. Since the resin carried on the second surface side 152 of the surface layer material 15A is an aqueous clear type, the influence of the surface layer on the color tone of the design surface can be suppressed.
  • solid content of a thermoplastic emulsion resin the thing in which one type in the said thermoplastic resin is contained independently can also be used, and the thing containing a mixture of two or more different thermoplastic resins is used. You can also In addition to the thermoplastic resin emulsion particles, the solid content of the thermoplastic emulsion resin may contain a small amount of a thickener, a penetration accelerator, an antifoaming agent, and the like, if necessary.
  • the solid content of the thermoplastic emulsion resin preferably includes emulsion resin particles having an average particle diameter of 30 to 100 nm, and the average particle diameter of the emulsion resin particles is particularly preferably 60 to 90 nm.
  • the solid content of the thermoplastic emulsion resin is preferably water-insoluble. As a result, the solid content of the thermoplastic emulsion resin is transferred to the first surface side 151 of the surface layer material 15A and mixed with the melamine resin supported on the first surface side 151, so that the first surface It can prevent that the surface performance by the melamine resin of the side 151 is impaired.
  • the method of supporting the solid content of the thermoplastic emulsion resin on the second surface side 152 of the surface layer base material is not particularly limited, and a resin containing a melamine resin is applied to the first surface side 151 of the surface layer base material. It can carry out similarly to the above-mentioned method to carry
  • the resin-impregnated paper after heat drying preferably contains 2 to 6% by mass of volatile matter when the total weight of the resin-impregnated paper is 100% by mass. This facilitates the handling of the resin-impregnated paper and improves the design appearance and surface gloss of the decorative board by improving the resin flow of the melamine resin carried on the first surface side 151 at the time of thermoforming. It becomes.
  • thermoplastic emulsion resin Although it does not specifically limit as a solvent used for the said thermoplastic emulsion resin, For example, water etc. are mentioned. Moreover, you may use a poor solvent in the range which does not exert a bad influence.
  • the solid content (all components excluding the solvent) of the thermoplastic emulsion resin is not particularly limited, but is preferably 25 to 60% by mass, particularly preferably 30 to 45% by mass, of the thermoplastic emulsion resin. Thereby, the impregnation property to the base material of the said thermoplastic emulsion resin can be improved.
  • the melamine decorative board 12 is formed by laminating the core material layer 16 on the second surface side 152 of the surface layer 15.
  • the core material layer 16 is constituted by a core material layer material 16A made of glass cloth or a prepreg based on glass cloth. Thereby, heat resistance, incombustibility, rigidity, etc. can be provided to a melamine decorative board.
  • a glass cloth For example, a glass woven fabric, a glass nonwoven fabric, etc. are mentioned, Among these, a glass woven fabric is preferable from the point of nonflammability and intensity
  • glass which comprises a glass cloth E glass, C glass, A glass, S glass, D glass, NE glass, T glass, H glass etc. are mentioned, for example. Among these, T glass is preferable. Thereby, the thermal expansion coefficient of a glass cloth can be made small.
  • the weight of the glass cloth is not particularly limited, but it is necessary to satisfy “there should be no cracks / penetration after combustion”, which is the non-flammability conformity requirement of Article 2, Item 9 of the Building Standards Act.
  • the basis weight is preferably 100 g / m 2 or more.
  • the upper limit of a weight does not require a restriction
  • the prepreg is not particularly limited.
  • a prepreg obtained by impregnating the above glass cloth with a resin composition containing a thermoplastic resin or the like can be used.
  • the resin composition is not particularly limited as long as the interlayer adhesion strength between the second surface side 152 of the surface layer 15 and the core material layer 16 is sufficient for forming the melamine decorative board 12,
  • the thermoplastic resin is preferably contained in a solid content of 10 to 50% by mass, particularly preferably 20 to 35% by mass. Thereby, the interlayer adhesive strength between the second surface side 152 of the surface layer 15 and the core material layer 16 can be improved.
  • thermoplastic resin is not particularly limited, and examples thereof include an acrylic resin, a urethane resin, an ethylene vinyl acetate resin, and a styrene butadiene rubber (SBR). Of these, acrylic resins and urethane resins are preferable.
  • the prepreg can be produced by a conventionally known method.
  • the prepreg can be obtained by impregnating a glass cloth similar to the glass cloth described above with a varnish obtained by dissolving the resin composition in a solvent and drying the glass cloth.
  • the core material 16A can further improve the adhesive strength and achieve a high normal temperature bending workability by further supporting a thermoplastic emulsion resin on the surface in contact with the surface layer material 15A.
  • the solid content of the thermoplastic emulsion resin carried on the surface of the core material 16A in contact with the surface layer material 15A is not particularly limited as long as it provides flexibility and does not affect the calorific value and gas toxicity during combustion.
  • the average particle size of the emulsion resin particles contained in the solid content of the thermoplastic emulsion resin is not particularly limited, and may be water-soluble or water-insoluble.
  • the thickness of the core material layer 16 is preferably 100 ⁇ m or more. Thereby, sufficient heat resistance and nonflammability can be imparted to the melamine decorative board 12. Further, the upper limit of the thickness is not particularly limited, but the thickness and weight of the melamine decorative board 12 increase as the thickness increases, and the cost increases. Therefore, the upper limit of the thickness is set within an allowable range in the design of the final product. Is preferably 350 ⁇ m or less. Therefore, the thickness of the core material layer 16 is preferably 100 ⁇ m or more and 350 ⁇ m or less.
  • the melamine decorative board 12 is obtained by superposing the above-described surface layer material 15A and the core material layer material 16A in a predetermined order, and laminating them by heating and pressing.
  • the conditions for heat-press molding the melamine decorative board 12 are not particularly limited, but for example, it can be carried out at a temperature of 130 to 150 ° C., a pressure of 2 to 8 MPa, and a time of 10 to 60 minutes.
  • it can be mirror finished by overlapping a mirror finish plate on the first surface side of the surface layer material 15A, and by overlapping an emboss plate or an emboss film, It can be embossed.
  • the melamine decorative board of this invention is not limited to the form of the melamine decorative board 12 shown in FIG.1 and FIG.2.
  • the surface layer 15 is formed by laminating another core material layer material on the lower side of the core material layer and laminating two core material layers.
  • the core material layer 16 and the core material layer 17 can also be configured as a three-layer structure.
  • the outermost layer may have a support layer 19.
  • the protective layer 18 is not particularly limited.
  • a paper base material having a basis weight of 10 to 50 g / m 2 contains a melamine resin alone, or is selected from aluminum hydroxide, magnesium hydroxide, or silica. It can be obtained by impregnating a resin composition containing a melamine resin with an inorganic filler to be obtained and drying it.
  • the support layer 19 is not particularly limited.
  • the support layer 19 can be used for the same base material as that used for the surface layer base material, on the first surface side or the second surface side of the surface layer material.
  • a prepreg impregnated with a resin, a metal foil, or the like can be used.
  • the melamine decorative board of the present invention can be bent with a minimum bending radius of 10 mmR or less at room temperature (usually about 20 to 30 ° C.), but is not particularly limited.
  • the minimum bend radius R is the minimum at which 100% non-defective product can be obtained without causing defects such as cracking even if the room temperature bending process is repeatedly performed in one direction along a mold having a curved portion with a radius R. Means the radius R of the mold.
  • Example 1 Using a titanium oxide-containing decorative paper (Dai Nippon Printing Co., Ltd.) having a basis weight of 80 g / m 2 as the surface layer base material, an emulsion of urethane acrylic composite particles (on the second surface side of the titanium oxide-containing decorative paper) “SU-100” manufactured by Chuo Rika Kogyo Co., Ltd., average particle diameter: 84 nm, dispersion medium: water) was applied so that the solid content was 40 g / m 2, and then the first surface side of the decorative paper ( After coating melamine resin (reaction molar ratio 1.4, resin solid content 50% by mass) to 50 g / m 2 on the design surface side), it is dried for 90 seconds with a hot air dryer at 120 ° C., A surface layer material having a resin ratio of 53% and a volatile content of 3% was obtained.
  • melamine resin reaction molar ratio 1.4, resin solid content 50% by mass
  • the melamine resin is prepared by adding raw material melamine and formalin to a reaction kettle at a predetermined blending ratio, adding a catalyst, raising the temperature to the boiling point, performing a reflux reaction, and confirming that melamine dissolution has been completed,
  • the resin solid content was adjusted by dehydration and synthesized by a method of cooling.
  • a glass cloth having a thickness of 0.2 mm (“WEA 7628” manufactured by Nanya Plastic Co., Ltd.) as a core material layer is superimposed on the second surface side of the obtained surface layer material, and heated for 40 minutes at 140 ° C. and 2 MPa.
  • the melamine decorative board (1) having a thickness of 0.3 mm was obtained by pressure molding.
  • Example 2 Solid emulsion of urethane acrylic composite particles (“SU-100” manufactured by Chuo Rika Kogyo Co., Ltd., average particle size: 84 nm, dispersion medium: water) on 0.2 mm thick glass cloth (“WEA 7628” manufactured by Nanya Plastic Co., Ltd.) After coating 70 g / m 2 in minutes, it was dried with a hot air dryer at 120 ° C. for 150 seconds to prepare a prepreg with a resin ratio of 25% and a volatile content of 3%, and this was used as a core material layer Except that, a melamine decorative board (2) having a thickness of 0.3 mm was obtained in the same manner as in Example 1.
  • Emulsion of urethane acrylic composite particles (“SU-100” manufactured by Chuo Rika Kogyo Co., Ltd., average particle size: 84 nm, dispersion medium: water) on the front and back surfaces of the titanium oxide-containing thin paper having a basis weight of 80 g / m 2 is 50 g / in solid content. after m 2 coated, dried for 60 seconds at 120 ° C. hot air dryer, the resin ratio is 40%, to produce a volatile fraction of 4% of the prepreg.
  • Example 2 After combining the prepreg and the melamine decorative board obtained in Example 1 so as to sandwich a glass cloth base material thickness of 0.2 mm (“WEA 7628” manufactured by Nanya Plastic Co., Ltd.), the same heating as in Example 1 was performed. Molding was performed under pressure molding conditions to obtain a melamine decorative board (3) having a thickness of 0.4 mm.
  • Comparative Example 1 Using the titanium oxide-containing decorative paper of the surface layer base material (basis weight 80 g / m 2 ) used in Example 1, coating was performed from the front and back surfaces of the decorative paper by the dip impregnation method, and a general-purpose melamine resin (reaction molar ratio of 1. 8 and a resin solid content of 52% by mass) was applied so that the resin solid content would be 100 g / m 2, and then dried in a hot air dryer at 120 ° C. for 90 seconds, the resin ratio was 55%, and the volatile content ratio was 6%. A surface layer material was obtained.
  • a general-purpose melamine resin reaction molar ratio of 1. 8 and a resin solid content of 52% by mass
  • the general-purpose melamine resin used for the surface layer was applied to bleached kraft paper with a basis weight of 200 g / m 2 (“DLP-195” manufactured by Toyo Fiber Co., Ltd.) by the dip impregnation method, followed by hot air drying at 130 ° C.
  • a prepreg having a resin ratio of 50% and a volatile content of 4% was prepared by drying for 150 seconds in a machine.
  • a melamine decorative board (4) having a thickness of 0.3 mm was obtained in the same manner as in Example 1 except that the obtained prepreg was used as a core material layer.
  • Comparative Example 2 The thickness is the same as in Example 1 except that the same surface layer material as in Comparative Example 1 is used and a 0.2 mm thick polyester non-woven fabric (manufactured by Asahi Kasei Kogyo Co., Ltd., spunbond “IEL”) is used as the core material layer. A 0.3 mm melamine decorative board (5) was obtained.
  • Boiling resistance test The treatment was carried out by a method based on the boiling resistance test of JIS K6902, and the presence or absence of delamination and delamination of the test piece after being immersed in boiling water for 2 hours was confirmed. 3. Contamination resistance test The treatment was carried out by a method based on the JIS K6902 contamination resistance test, and the presence or absence of residual contaminated material on the sample surface was confirmed. 4). Bending Formability Test According to the bending formability test (Method A) of JIS K6902, external bending and internal bending were performed at room temperature and 10 mmR, and the presence or absence of cracks on the decorative sheet surface was confirmed. 5. Surface hardness (pencil hardness) test An evaluation was performed by a pencil hardness test in accordance with JIS K5600.
  • Comparative Example 1 since the melamine resin was used as the resin to be carried on the second surface side of the surface layer without using the solid content of the thermoplastic emulsion resin, the melamine decorative board (4) was inferior in room temperature bending workability. It was. Moreover, in Comparative Example 1 and Comparative Example 2, as a core material layer, a glass cloth or a prepreg having a glass cloth as a base material is not used. In Comparative Example 1, a prepreg having a craft paper base material is used. Since the polyester nonwoven fabric was used, the melamine decorative boards (4) and (5) were inferior in incombustibility.
  • the surface layer carries a resin containing a melamine resin on the first surface side, Consists of a surface layer material consisting of a surface layer base material carrying the solid content of the thermoplastic emulsion resin on the surface side, and the core material layer is composed of a glass cloth or a core material layer material consisting of a prepreg based on a glass cloth. Therefore, it has excellent nonflammability, can cope with thinning, and has excellent bending workability at room temperature. Furthermore, the melamine decorative boards (1), (2) and (3) obtained in Examples 1 to 3 are excellent in surface hardness, boiling resistance, and stain resistance, which are the basic required quality of the decorative boards. It was.
  • the melamine decorative board of the present invention has good bending workability and nonflammability, and can cope with thinning. And since the surface layer base material similar to the conventional decorative board can be used for the surface layer, it can be freely selected from abundant color patterns, and walls subject to the regulation of nonflammable materials in public facilities etc. It can be widely applied to various uses.

Landscapes

  • Engineering & Computer Science (AREA)
  • Architecture (AREA)
  • Life Sciences & Earth Sciences (AREA)
  • Wood Science & Technology (AREA)
  • Civil Engineering (AREA)
  • Structural Engineering (AREA)
  • Laminated Bodies (AREA)
  • Finishing Walls (AREA)
PCT/JP2011/077161 2010-11-30 2011-11-25 メラミン化粧板 Ceased WO2012073812A1 (ja)

Priority Applications (5)

Application Number Priority Date Filing Date Title
US13/884,739 US10279571B2 (en) 2010-11-30 2011-11-25 Decorative melamine board
CN201180056139.2A CN103228449B (zh) 2010-11-30 2011-11-25 三聚氰胺装饰板
KR1020137013617A KR101536490B1 (ko) 2010-11-30 2011-11-25 멜라민 화장판
EP20110845057 EP2647503A4 (en) 2010-11-30 2011-11-25 DECORATIVE MELAMINE BOARD
BR112013013005A BR112013013005A2 (pt) 2010-11-30 2011-11-25 prancha de melamina decorativa

Applications Claiming Priority (2)

Application Number Priority Date Filing Date Title
JP2010-267733 2010-11-30
JP2010267733A JP5099206B2 (ja) 2010-11-30 2010-11-30 メラミン化粧板

Publications (1)

Publication Number Publication Date
WO2012073812A1 true WO2012073812A1 (ja) 2012-06-07

Family

ID=46171750

Family Applications (1)

Application Number Title Priority Date Filing Date
PCT/JP2011/077161 Ceased WO2012073812A1 (ja) 2010-11-30 2011-11-25 メラミン化粧板

Country Status (8)

Country Link
US (1) US10279571B2 (enExample)
EP (1) EP2647503A4 (enExample)
JP (1) JP5099206B2 (enExample)
KR (1) KR101536490B1 (enExample)
CN (1) CN103228449B (enExample)
BR (1) BR112013013005A2 (enExample)
TW (1) TWI510363B (enExample)
WO (1) WO2012073812A1 (enExample)

Cited By (3)

* Cited by examiner, † Cited by third party
Publication number Priority date Publication date Assignee Title
WO2015016255A1 (ja) * 2013-07-31 2015-02-05 住友ベークライト株式会社 メラミン化粧板およびメラミン化粧板の製造方法
US20150050476A1 (en) * 2013-04-18 2015-02-19 Brook One Corporation Burnthrough resistant laminate film
JP2016164242A (ja) * 2015-03-06 2016-09-08 住友ベークライト株式会社 メラミン化粧材およびメラミン化粧材の製造方法

Families Citing this family (13)

* Cited by examiner, † Cited by third party
Publication number Priority date Publication date Assignee Title
JP5625884B2 (ja) * 2010-12-21 2014-11-19 住友ベークライト株式会社 不燃性化粧パネル
EP2657015B1 (en) * 2010-12-22 2017-06-14 Sumitomo Bakelite Company, Ltd. Surface layer material and melamine decorative laminate
KR20150133216A (ko) * 2013-03-22 2015-11-27 스미또모 베이크라이트 가부시키가이샤 멜라민 수지 금속 화장판 및 멜라민 수지 금속 화장판의 제조 방법
JP6263852B2 (ja) * 2013-03-28 2018-01-24 住友ベークライト株式会社 化粧板の製造方法
JP6413237B2 (ja) * 2013-12-27 2018-10-31 住友ベークライト株式会社 メラミン化粧材およびメラミン化粧材の製造方法
JP2017154359A (ja) * 2016-03-01 2017-09-07 住友ベークライト株式会社 化粧板
WO2017164199A1 (ja) * 2016-03-23 2017-09-28 パナソニックIpマネジメント株式会社 表面化粧パネル及びこれを備えた化粧パネル
US10933608B2 (en) 2016-08-19 2021-03-02 Wilsonart Llc Surfacing materials and method of manufacture
US11504955B2 (en) 2016-08-19 2022-11-22 Wilsonart Llc Decorative laminate with matte finish and method of manufacture
US11745475B2 (en) 2016-08-19 2023-09-05 Wilsonart Llc Surfacing materials and method of manufacture
US11077639B2 (en) 2016-08-19 2021-08-03 Wilsonart Llc Surfacing materials and method of manufacture
US11020948B2 (en) 2017-09-28 2021-06-01 Wilsonart Llc High pressure decorative laminate having a top layer of energy cured acrylated urethane polymer
JP6627925B2 (ja) * 2018-07-13 2020-01-08 住友ベークライト株式会社 メラミン化粧材およびメラミン化粧材の製造方法

Citations (5)

* Cited by examiner, † Cited by third party
Publication number Priority date Publication date Assignee Title
JPH08512255A (ja) * 1993-09-02 1996-12-24 インターナショナル ペーパー カンパニー 装飾表面層およびその製造方法
JPH10305526A (ja) * 1997-03-03 1998-11-17 Sumitomo Bakelite Co Ltd 化粧板
JPH11268186A (ja) * 1998-03-20 1999-10-05 Sumitomo Bakelite Co Ltd 化粧板の製造方法
JP2001096702A (ja) 1999-10-04 2001-04-10 Sumitomo Bakelite Co Ltd メラミン樹脂化粧シート
JP2005343153A (ja) * 2004-06-07 2005-12-15 Sumitomo Bakelite Co Ltd メラミン樹脂化粧板およびその製造方法

Family Cites Families (18)

* Cited by examiner, † Cited by third party
Publication number Priority date Publication date Assignee Title
US3589974A (en) * 1968-04-24 1971-06-29 Formica Corp Decorative laminate surfaced with a compressed layer of a fibrillated acrylic fiber paper,said paper having been transparentized during a heat and pressure consolidation step and having been substantially free of any impregnating resin
DE3418282A1 (de) * 1984-05-17 1985-11-21 Hoechst Ag, 6230 Frankfurt Dekorative platte mit verbesserten oberflaecheneigenschaften
JPH0624822B2 (ja) * 1990-03-05 1994-04-06 アイカ工業株式会社 化粧材
EP0704303B1 (en) 1994-04-12 2000-07-05 Seiko Epson Corporation Method and apparatus for ink jet recording
JP3029563B2 (ja) * 1995-11-29 2000-04-04 住友ベークライト株式会社 金属コア両面化粧板
JP3898256B2 (ja) 1996-08-28 2007-03-28 大日本印刷株式会社 化粧シート
GB2337994A (en) * 1998-06-01 1999-12-08 Cray Valley Ltd Binder for coating composition
KR100404132B1 (ko) * 2000-11-17 2003-11-01 주식회사 메라톤 옵셋 인쇄지를 이용한 멜라민 화장판 및 그의 제조방법
NL1023515C2 (nl) * 2003-05-23 2004-11-24 Trespa Int Bv Decoratief paneel voor toepassing buitenshuis en werkwijze voor het vervaardigen hiervan.
JP2005068202A (ja) * 2003-08-28 2005-03-17 Aica Kogyo Co Ltd メラミン樹脂組成物及びこれを用いたメラミン化粧板
JP4417752B2 (ja) * 2004-03-16 2010-02-17 住友ベークライト株式会社 ポストフォーム化粧板及びその製造方法
US20050266221A1 (en) * 2004-05-28 2005-12-01 Panolam Industries International, Inc. Fiber-reinforced decorative laminate
JP4674101B2 (ja) * 2005-03-10 2011-04-20 アイカ工業株式会社 可撓性化粧板
JP4812671B2 (ja) * 2007-03-26 2011-11-09 三菱化学株式会社 化粧シート
CN101165075B (zh) * 2007-09-07 2010-06-23 香港生产力促进局 聚氨酯-丙烯酸酯复合乳液及其制备方法
JP4354003B2 (ja) 2008-08-19 2009-10-28 アイカ工業株式会社 不燃化粧板
JP2010228179A (ja) * 2009-03-26 2010-10-14 Aica Kogyo Co Ltd 化粧シート及び化粧板
JP2010228116A (ja) * 2009-03-26 2010-10-14 Aica Kogyo Co Ltd 転写シート、メラミン化粧板の製造方法及びメラミン化粧板

Patent Citations (5)

* Cited by examiner, † Cited by third party
Publication number Priority date Publication date Assignee Title
JPH08512255A (ja) * 1993-09-02 1996-12-24 インターナショナル ペーパー カンパニー 装飾表面層およびその製造方法
JPH10305526A (ja) * 1997-03-03 1998-11-17 Sumitomo Bakelite Co Ltd 化粧板
JPH11268186A (ja) * 1998-03-20 1999-10-05 Sumitomo Bakelite Co Ltd 化粧板の製造方法
JP2001096702A (ja) 1999-10-04 2001-04-10 Sumitomo Bakelite Co Ltd メラミン樹脂化粧シート
JP2005343153A (ja) * 2004-06-07 2005-12-15 Sumitomo Bakelite Co Ltd メラミン樹脂化粧板およびその製造方法

Non-Patent Citations (1)

* Cited by examiner, † Cited by third party
Title
See also references of EP2647503A4 *

Cited By (3)

* Cited by examiner, † Cited by third party
Publication number Priority date Publication date Assignee Title
US20150050476A1 (en) * 2013-04-18 2015-02-19 Brook One Corporation Burnthrough resistant laminate film
WO2015016255A1 (ja) * 2013-07-31 2015-02-05 住友ベークライト株式会社 メラミン化粧板およびメラミン化粧板の製造方法
JP2016164242A (ja) * 2015-03-06 2016-09-08 住友ベークライト株式会社 メラミン化粧材およびメラミン化粧材の製造方法

Also Published As

Publication number Publication date
JP2012116091A (ja) 2012-06-21
US10279571B2 (en) 2019-05-07
EP2647503A1 (en) 2013-10-09
KR20140071950A (ko) 2014-06-12
CN103228449A (zh) 2013-07-31
JP5099206B2 (ja) 2012-12-19
BR112013013005A2 (pt) 2016-08-09
TWI510363B (zh) 2015-12-01
CN103228449B (zh) 2015-10-14
EP2647503A4 (en) 2014-07-16
US20130230712A1 (en) 2013-09-05
KR101536490B1 (ko) 2015-07-13
TW201223755A (en) 2012-06-16

Similar Documents

Publication Publication Date Title
JP5099206B2 (ja) メラミン化粧板
JP6500330B2 (ja) メラミン樹脂金属化粧板の製造方法
JP5201173B2 (ja) 表面層材料及びメラミン化粧板
JP5487853B2 (ja) 不燃性化粧板
CN103260877B (zh) 表面层材料及三聚氰胺装饰板
JP6179632B2 (ja) 不燃性化粧パネル
JP6484946B2 (ja) メラミン化粧板およびメラミン化粧板の製造方法
JP5625884B2 (ja) 不燃性化粧パネル
JP5842673B2 (ja) 化粧パネルの製造方法
JP5990966B2 (ja) 不燃性化粧パネル
JP5682380B2 (ja) 不燃化粧板
JP2017074703A (ja) 化粧板
JP6331806B2 (ja) 化粧板
JP5641312B2 (ja) 不燃化粧板
JP2022131555A (ja) 化粧板
JP5488440B2 (ja) 表面層材料及びメラミン化粧板
JP6720597B2 (ja) メラミン樹脂化粧板
TWI474922B (zh) 表面層材料及三聚氰胺裝飾薄板
JP6443191B2 (ja) メラミン化粧板
JP2020097246A (ja) メラミン樹脂化粧板

Legal Events

Date Code Title Description
121 Ep: the epo has been informed by wipo that ep was designated in this application

Ref document number: 11845057

Country of ref document: EP

Kind code of ref document: A1

WWE Wipo information: entry into national phase

Ref document number: 2011845057

Country of ref document: EP

WWE Wipo information: entry into national phase

Ref document number: 13884739

Country of ref document: US

ENP Entry into the national phase

Ref document number: 20137013617

Country of ref document: KR

Kind code of ref document: A

NENP Non-entry into the national phase

Ref country code: DE

REG Reference to national code

Ref country code: BR

Ref legal event code: B01A

Ref document number: 112013013005

Country of ref document: BR

ENP Entry into the national phase

Ref document number: 112013013005

Country of ref document: BR

Kind code of ref document: A2

Effective date: 20130524