WO2012018024A1 - プラズマ処理装置 - Google Patents

プラズマ処理装置 Download PDF

Info

Publication number
WO2012018024A1
WO2012018024A1 PCT/JP2011/067698 JP2011067698W WO2012018024A1 WO 2012018024 A1 WO2012018024 A1 WO 2012018024A1 JP 2011067698 W JP2011067698 W JP 2011067698W WO 2012018024 A1 WO2012018024 A1 WO 2012018024A1
Authority
WO
WIPO (PCT)
Prior art keywords
plasma
chamber
plasma processing
processing apparatus
gas
Prior art date
Legal status (The legal status is an assumption and is not a legal conclusion. Google has not performed a legal analysis and makes no representation as to the accuracy of the status listed.)
Ceased
Application number
PCT/JP2011/067698
Other languages
English (en)
French (fr)
Japanese (ja)
Inventor
節原 裕一
江部 明憲
Current Assignee (The listed assignees may be inaccurate. Google has not performed a legal analysis and makes no representation or warranty as to the accuracy of the list.)
EMD Corp
University of Osaka NUC
Original Assignee
Osaka University NUC
EMD Corp
Priority date (The priority date is an assumption and is not a legal conclusion. Google has not performed a legal analysis and makes no representation as to the accuracy of the date listed.)
Filing date
Publication date
Application filed by Osaka University NUC, EMD Corp filed Critical Osaka University NUC
Priority to KR1020147022431A priority Critical patent/KR101523893B1/ko
Priority to US13/813,602 priority patent/US20130192759A1/en
Priority to EP11814649.7A priority patent/EP2602813A1/en
Priority to KR1020137005321A priority patent/KR101454132B1/ko
Priority to CN201180037725.2A priority patent/CN103155103B/zh
Publication of WO2012018024A1 publication Critical patent/WO2012018024A1/ja
Anticipated expiration legal-status Critical
Ceased legal-status Critical Current

Links

Images

Classifications

    • CCHEMISTRY; METALLURGY
    • C23COATING METALLIC MATERIAL; COATING MATERIAL WITH METALLIC MATERIAL; CHEMICAL SURFACE TREATMENT; DIFFUSION TREATMENT OF METALLIC MATERIAL; COATING BY VACUUM EVAPORATION, BY SPUTTERING, BY ION IMPLANTATION OR BY CHEMICAL VAPOUR DEPOSITION, IN GENERAL; INHIBITING CORROSION OF METALLIC MATERIAL OR INCRUSTATION IN GENERAL
    • C23CCOATING METALLIC MATERIAL; COATING MATERIAL WITH METALLIC MATERIAL; SURFACE TREATMENT OF METALLIC MATERIAL BY DIFFUSION INTO THE SURFACE, BY CHEMICAL CONVERSION OR SUBSTITUTION; COATING BY VACUUM EVAPORATION, BY SPUTTERING, BY ION IMPLANTATION OR BY CHEMICAL VAPOUR DEPOSITION, IN GENERAL
    • C23C16/00Chemical coating by decomposition of gaseous compounds, without leaving reaction products of surface material in the coating, i.e. chemical vapour deposition [CVD] processes
    • C23C16/44Chemical coating by decomposition of gaseous compounds, without leaving reaction products of surface material in the coating, i.e. chemical vapour deposition [CVD] processes characterised by the method of coating
    • C23C16/50Chemical coating by decomposition of gaseous compounds, without leaving reaction products of surface material in the coating, i.e. chemical vapour deposition [CVD] processes characterised by the method of coating using electric discharges
    • C23C16/505Chemical coating by decomposition of gaseous compounds, without leaving reaction products of surface material in the coating, i.e. chemical vapour deposition [CVD] processes characterised by the method of coating using electric discharges using radio frequency discharges
    • C23C16/509Chemical coating by decomposition of gaseous compounds, without leaving reaction products of surface material in the coating, i.e. chemical vapour deposition [CVD] processes characterised by the method of coating using electric discharges using radio frequency discharges using internal electrodes
    • HELECTRICITY
    • H01ELECTRIC ELEMENTS
    • H01LSEMICONDUCTOR DEVICES NOT COVERED BY CLASS H10
    • H01L21/00Processes or apparatus adapted for the manufacture or treatment of semiconductor or solid state devices or of parts thereof
    • H01L21/02Manufacture or treatment of semiconductor devices or of parts thereof
    • H01L21/02104Forming layers
    • HELECTRICITY
    • H01ELECTRIC ELEMENTS
    • H01JELECTRIC DISCHARGE TUBES OR DISCHARGE LAMPS
    • H01J37/00Discharge tubes with provision for introducing objects or material to be exposed to the discharge, e.g. for the purpose of examination or processing thereof
    • H01J37/32Gas-filled discharge tubes
    • H01J37/32009Arrangements for generation of plasma specially adapted for examination or treatment of objects, e.g. plasma sources
    • H01J37/32082Radio frequency generated discharge
    • H01J37/321Radio frequency generated discharge the radio frequency energy being inductively coupled to the plasma
    • H01J37/3211Antennas, e.g. particular shapes of coils
    • HELECTRICITY
    • H01ELECTRIC ELEMENTS
    • H01JELECTRIC DISCHARGE TUBES OR DISCHARGE LAMPS
    • H01J37/00Discharge tubes with provision for introducing objects or material to be exposed to the discharge, e.g. for the purpose of examination or processing thereof
    • H01J37/32Gas-filled discharge tubes
    • H01J37/32009Arrangements for generation of plasma specially adapted for examination or treatment of objects, e.g. plasma sources
    • H01J37/32357Generation remote from the workpiece, e.g. down-stream
    • HELECTRICITY
    • H01ELECTRIC ELEMENTS
    • H01JELECTRIC DISCHARGE TUBES OR DISCHARGE LAMPS
    • H01J37/00Discharge tubes with provision for introducing objects or material to be exposed to the discharge, e.g. for the purpose of examination or processing thereof
    • H01J37/32Gas-filled discharge tubes
    • H01J37/32009Arrangements for generation of plasma specially adapted for examination or treatment of objects, e.g. plasma sources
    • H01J37/32422Arrangement for selecting ions or species in the plasma
    • HELECTRICITY
    • H01ELECTRIC ELEMENTS
    • H01JELECTRIC DISCHARGE TUBES OR DISCHARGE LAMPS
    • H01J37/00Discharge tubes with provision for introducing objects or material to be exposed to the discharge, e.g. for the purpose of examination or processing thereof
    • H01J37/32Gas-filled discharge tubes
    • H01J37/32431Constructional details of the reactor
    • H01J37/32532Electrodes
    • H01J37/32568Relative arrangement or disposition of electrodes; moving means
    • HELECTRICITY
    • H01ELECTRIC ELEMENTS
    • H01JELECTRIC DISCHARGE TUBES OR DISCHARGE LAMPS
    • H01J37/00Discharge tubes with provision for introducing objects or material to be exposed to the discharge, e.g. for the purpose of examination or processing thereof
    • H01J37/32Gas-filled discharge tubes
    • H01J37/32431Constructional details of the reactor
    • H01J37/32623Mechanical discharge control means
    • HELECTRICITY
    • H01ELECTRIC ELEMENTS
    • H01JELECTRIC DISCHARGE TUBES OR DISCHARGE LAMPS
    • H01J37/00Discharge tubes with provision for introducing objects or material to be exposed to the discharge, e.g. for the purpose of examination or processing thereof
    • H01J37/32Gas-filled discharge tubes
    • H01J37/32431Constructional details of the reactor
    • H01J37/32798Further details of plasma apparatus not provided for in groups H01J37/3244 - H01J37/32788; special provisions for cleaning or maintenance of the apparatus
    • H01J37/32816Pressure
    • H01J37/32834Exhausting
    • HELECTRICITY
    • H01ELECTRIC ELEMENTS
    • H01JELECTRIC DISCHARGE TUBES OR DISCHARGE LAMPS
    • H01J37/00Discharge tubes with provision for introducing objects or material to be exposed to the discharge, e.g. for the purpose of examination or processing thereof
    • H01J37/32Gas-filled discharge tubes
    • H01J37/32431Constructional details of the reactor
    • H01J37/32798Further details of plasma apparatus not provided for in groups H01J37/3244 - H01J37/32788; special provisions for cleaning or maintenance of the apparatus
    • H01J37/32899Multiple chambers, e.g. cluster tools
    • HELECTRICITY
    • H01ELECTRIC ELEMENTS
    • H01JELECTRIC DISCHARGE TUBES OR DISCHARGE LAMPS
    • H01J37/00Discharge tubes with provision for introducing objects or material to be exposed to the discharge, e.g. for the purpose of examination or processing thereof
    • H01J37/32Gas-filled discharge tubes
    • H01J37/32917Plasma diagnostics
    • H01J37/32935Monitoring and controlling tubes by information coming from the object and/or discharge
    • H01J37/32954Electron temperature measurement
    • HELECTRICITY
    • H01ELECTRIC ELEMENTS
    • H01LSEMICONDUCTOR DEVICES NOT COVERED BY CLASS H10
    • H01L21/00Processes or apparatus adapted for the manufacture or treatment of semiconductor or solid state devices or of parts thereof
    • H01L21/02Manufacture or treatment of semiconductor devices or of parts thereof
    • H01L21/04Manufacture or treatment of semiconductor devices or of parts thereof the devices having potential barriers, e.g. a PN junction, depletion layer or carrier concentration layer
    • H01L21/34Manufacture or treatment of semiconductor devices or of parts thereof the devices having potential barriers, e.g. a PN junction, depletion layer or carrier concentration layer the devices having semiconductor bodies not provided for in groups H01L21/18, H10D48/04 and H10D48/07, with or without impurities, e.g. doping materials
    • H01L21/46Treatment of semiconductor bodies using processes or apparatus not provided for in groups H01L21/428
    • H01L21/461Treatment of semiconductor bodies using processes or apparatus not provided for in groups H01L21/428 to change their surface-physical characteristics or shape, e.g. etching, polishing, cutting
    • H01L21/465Chemical or electrical treatment, e.g. electrolytic etching
    • HELECTRICITY
    • H05ELECTRIC TECHNIQUES NOT OTHERWISE PROVIDED FOR
    • H05HPLASMA TECHNIQUE; PRODUCTION OF ACCELERATED ELECTRICALLY-CHARGED PARTICLES OR OF NEUTRONS; PRODUCTION OR ACCELERATION OF NEUTRAL MOLECULAR OR ATOMIC BEAMS
    • H05H1/00Generating plasma; Handling plasma
    • H05H1/24Generating plasma
    • H05H1/46Generating plasma using applied electromagnetic fields, e.g. high frequency or microwave energy
    • HELECTRICITY
    • H05ELECTRIC TECHNIQUES NOT OTHERWISE PROVIDED FOR
    • H05HPLASMA TECHNIQUE; PRODUCTION OF ACCELERATED ELECTRICALLY-CHARGED PARTICLES OR OF NEUTRONS; PRODUCTION OR ACCELERATION OF NEUTRAL MOLECULAR OR ATOMIC BEAMS
    • H05H1/00Generating plasma; Handling plasma
    • H05H1/24Generating plasma
    • H05H1/46Generating plasma using applied electromagnetic fields, e.g. high frequency or microwave energy
    • H05H1/4645Radiofrequency discharges
    • H05H1/4652Radiofrequency discharges using inductive coupling means, e.g. coils
    • CCHEMISTRY; METALLURGY
    • C23COATING METALLIC MATERIAL; COATING MATERIAL WITH METALLIC MATERIAL; CHEMICAL SURFACE TREATMENT; DIFFUSION TREATMENT OF METALLIC MATERIAL; COATING BY VACUUM EVAPORATION, BY SPUTTERING, BY ION IMPLANTATION OR BY CHEMICAL VAPOUR DEPOSITION, IN GENERAL; INHIBITING CORROSION OF METALLIC MATERIAL OR INCRUSTATION IN GENERAL
    • C23CCOATING METALLIC MATERIAL; COATING MATERIAL WITH METALLIC MATERIAL; SURFACE TREATMENT OF METALLIC MATERIAL BY DIFFUSION INTO THE SURFACE, BY CHEMICAL CONVERSION OR SUBSTITUTION; COATING BY VACUUM EVAPORATION, BY SPUTTERING, BY ION IMPLANTATION OR BY CHEMICAL VAPOUR DEPOSITION, IN GENERAL
    • C23C16/00Chemical coating by decomposition of gaseous compounds, without leaving reaction products of surface material in the coating, i.e. chemical vapour deposition [CVD] processes
    • C23C16/22Chemical coating by decomposition of gaseous compounds, without leaving reaction products of surface material in the coating, i.e. chemical vapour deposition [CVD] processes characterised by the deposition of inorganic material, other than metallic material
    • C23C16/24Deposition of silicon only

Definitions

  • the present invention relates to a plasma processing apparatus for performing predetermined processing such as deposition (film formation) and etching on a substrate to be processed.
  • a plasma processing apparatus has been used in a film forming process for forming a thin film on a substrate and an etching process for the substrate.
  • plasma processing equipment such as capacitive coupling type and inductive coupling type.
  • the inductively coupled plasma processing equipment is capable of generating high-density plasma and has a high processing speed. (For example, refer to Patent Document 1).
  • Formation of a silicon thin film by a plasma processing apparatus is usually performed as follows. First, hydrogen (H 2 ) gas and silane (SiH 4 ) gas are introduced into a vacuum vessel, and plasma is generated in the vacuum vessel by applying discharge power. At this time, the hydrogen gas molecules and silane gas molecules collide with each other, and these molecules are decomposed, and the atomic hydrogen radicals and silane radicals (SiH 3 , SiH 2 , SiH, Si) generated thereby are stored in the vacuum vessel. Is diffused to reach the substrate surface, and a silicon thin film is formed on the substrate surface.
  • hydrogen (H 2 ) gas and silane (SiH 4 ) gas are introduced into a vacuum vessel, and plasma is generated in the vacuum vessel by applying discharge power. At this time, the hydrogen gas molecules and silane gas molecules collide with each other, and these molecules are decomposed, and the atomic hydrogen radicals and silane radicals (SiH 3 , SiH 2 , SiH, Si) generated thereby are stored in the vacuum
  • the energy of electrons required to dissociate molecules by electron collision is higher in the case of hydrogen molecules than in the case of SiH 4 molecules. Therefore, increasing the high-energy electrons for dissociating hydrogen molecules or increasing the plasma density causes significant dissociation of silane-based molecules at the same time as the generation of high-density atomic hydrogen radicals, and SiH 2 , SiH, A large number of radicals such as Si having a high adhesion coefficient, that is, easy to adhere to the microcrystalline silicon thin film being formed, are generated.
  • the problem to be solved by the present invention is to provide a plasma processing apparatus capable of easily controlling the energy distribution of electrons in plasma according to the type of gas molecules and their dissociation energy.
  • the plasma processing apparatus which has been made to solve the above problems, A plasma generation chamber; a high-frequency antenna provided in the plasma generation chamber; plasma generation gas introduction means for introducing a gas for generating plasma into the plasma generation chamber; and a plasma processing chamber in communication with the plasma generation chamber;
  • a plasma processing apparatus comprising a processing gas introduction means for introducing a processing gas into the plasma processing chamber, A plasma control plate provided in the plasma generation chamber and capable of changing a distance from the high-frequency antenna; Moving means for moving the plasma control plate; It is characterized by providing.
  • a differential pressure generating means for generating a differential pressure between the plasma generating chamber and the plasma processing chamber.
  • the differential pressure generating means By making the pressure of the plasma generation chamber higher than that of the plasma processing chamber using the differential pressure generating means, it is possible to prevent the processing gas in the plasma processing chamber from entering the plasma generation chamber and dissociating the processing gas excessively. Can do.
  • a plate material having a large number of through holes is provided at the boundary between the plasma generating chamber and the plasma processing chamber, or a processing gas which is the processing gas introducing means and has holes on the plasma processing chamber side A large number of introduction pipes arranged at the boundary between the plasma generation chamber and the plasma processing chamber with a gap may be used.
  • the plasma processing apparatus can be provided with a plurality of plasma generation chambers in response to an increase in the area of the substrate to be processed.
  • the plasma generation chamber is arranged at a certain interval on one wall surface of the plasma processing chamber, and an exhaust means for exhausting the plasma processing chamber between these plasma generation chambers and an exhaust amount for adjusting the exhaust amount. It is desirable to use a configuration in which adjusting means is provided. These exhaust means and exhaust amount adjusting means are for maintaining the time during which the processing gas introduced into the plasma processing chamber is present in the plasma processing chamber substantially constant, and by this, the plasma generated in the plasma generation chamber is used. It is possible to prevent the dissociation of the processing gas in the plasma processing chamber from proceeding excessively.
  • the plasma processing apparatus controls the energy distribution of electrons in the plasma by adjusting the distance between the high-frequency antennas in the plasma generation chamber with a plasma control plate provided in the plasma generation chamber. is there.
  • a plasma control plate provided in the plasma generation chamber.
  • the plasma control plate is brought close to the high-frequency antenna, electrons in the plasma generated in the plasma generation chamber disappear due to collision with the plasma control plate, and the electron density decreases.
  • This decrease in electron density reduces collisions between electrons in the plasma, leaving many high-energy electrons in the plasma.
  • the energy distribution of electrons can be controlled simply by adjusting the distance between the plasma control plate and the high-frequency antenna. Using this, the degree of dissociation can be controlled according to the type of gas molecule.
  • FIG. 2 is a schematic longitudinal sectional view (a) and a schematic transverse sectional view (b) showing an experimental apparatus for examining a change in plasma characteristics with respect to a distance between a high frequency antenna and a plasma control plate.
  • the graph (a) which shows the change of the electron temperature with respect to the distance between a high frequency antenna and a plasma control board, and the graph (b) which shows the change of an electron density.
  • the graph (a) which shows the change of the energy distribution of the electron with respect to the distance between a high frequency antenna and a plasma control board, and the graph (b) which shows the change of the relative ratio.
  • 1 is a schematic longitudinal sectional view showing a first embodiment of a plasma processing apparatus according to the present invention.
  • the bottom view which shows the partition plate provided in the boundary of a plasma production chamber and a plasma processing chamber.
  • the schematic longitudinal cross-sectional view which shows 2nd Example of the plasma processing apparatus which concerns on this invention.
  • the schematic longitudinal cross-sectional view which shows 3rd Example of the plasma processing apparatus which concerns on this invention.
  • the schematic longitudinal cross-sectional view which shows the 1st modification of the plasma processing apparatus of 3rd Example.
  • the schematic longitudinal cross-sectional view (a) which shows the 2nd modification of the plasma processing apparatus of 3rd Example, and the bottom view (b) which shows the partition plate used by this modification.
  • the inventor of the present application conducted an experiment on the change in plasma characteristics with respect to the distance between the high-frequency antenna and the plasma control plate, using the experimental apparatus shown in the schematic diagram of FIG.
  • This experimental apparatus is made of stainless steel having a structure in which two cylindrical tubes having a diameter of 150 mm extending in the vertical (hereinafter referred to as “vertical” or “upper and lower”) direction and in the horizontal (hereinafter referred to as “lateral”) direction cross each other.
  • Cross tube chamber 51 high-frequency antenna 52 made of a U-shaped conductor inserted into cross tube chamber 51 from one end of a cylindrical tube extending in the lateral direction of cross tube chamber 51, and the other end
  • a Langmuir probe 53 for measuring various states of plasma inserted into the cross tube chamber 51 from the side, and arranged at equal intervals on both sides of the high-frequency antenna 52 280 mm in length, 97 mm in width, and 6 mm in thickness 2
  • a plasma control plate 54 made of a single aluminum flat plate.
  • the high-frequency antenna 52 is inserted in the chamber 51 with both ends of the U shape aligned vertically.
  • a high-frequency power source 522 having a frequency of 13.56 MHz and a maximum output of 1250 W is connected to one end of the high-frequency antenna 52 via an impedance matching device 521, and the other end is grounded.
  • the high frequency antenna 52 is covered with a dielectric pipe inside the chamber 51.
  • the dimensions of the high frequency antenna 52 inside the chamber 51 are 55 mm long and 110 mm wide.
  • the plasma control plate 54 is provided with an operation rod and a moving mechanism (not shown) extending in a direction perpendicular to the surface. Since the operation rod can be moved in the longitudinal direction by the moving mechanism, the distance between the plasma control plate 54 and the high frequency antenna 52 can be freely adjusted.
  • an inlet for introducing a gas for generating plasma into the chamber 51 is provided in the upper part of the cylindrical tube extending in the vertical direction, and the exhaust for evacuating the chamber 51 is provided in the lower part. Mouth is provided.
  • the change in plasma characteristics with respect to the distance D between the high-frequency antenna 52 and the plasma control plate 54 was examined.
  • the experimental results are shown in FIGS.
  • hydrogen was introduced as a plasma generation gas at a flow rate of 5 sccm
  • the output of the high frequency power source was 800 W
  • the pressure in the chamber 51 was 10 Pa.
  • the plasma was measured with the distance between the tip of the Langmuir probe 53 and the high-frequency antenna 52 being 120 mm.
  • the inventor of the present application has obtained knowledge that it is effective to adjust the distance from the high-frequency antenna using a plasma control plate for controlling the energy distribution of electrons in the plasma. Examples of the plasma processing apparatus according to the present invention will be described below.
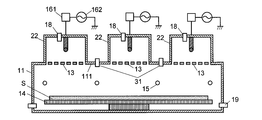
  • FIG. 4 is a schematic longitudinal sectional view of a first embodiment of the plasma processing apparatus according to the present invention.
  • the plasma processing apparatus 10 of this embodiment includes a plasma processing chamber 11 composed of a rectangular parallelepiped vacuum vessel and a plasma generator attached to a top plate (upper wall) 111 of the plasma processing chamber 11 composed of a rectangular parallelepiped vacuum vessel. Chamber 12.
  • a partition plate 13 having a large number of through holes 131 for generating a differential pressure in the plasma processing chamber 11 and the plasma generation chamber 12 is disposed at the boundary between the plasma processing chamber 11 and the plasma generation chamber 12. Yes.
  • a substrate table 14 for placing the substrate S is provided so as to face the partition plate 13.
  • the substrate base 14 has a built-in heater, and the substrate S can be heated during the formation of the thin film as necessary.
  • a processing gas inlet 15 for introducing a processing gas into the plasma processing chamber 11 is provided at a position between the partition plate 13 and the substrate base 14 in the plasma processing chamber 11.
  • An exhaust port 19 for exhausting the plasma processing chamber is provided below the plasma processing chamber 11.
  • a high frequency antenna 16 formed by bending a rod-like conductor into a U shape is provided. Both ends of the high-frequency antenna 16 are attached to the upper wall of the plasma generation chamber 12, and one end is connected to the high-frequency power source 162 via the impedance matching device 161 and the other end is grounded, as in the experimental apparatus of FIG. .
  • two plasma control plates 17 are arranged at an equal distance from the high frequency antenna 16 so as to sandwich the high frequency antenna 16.
  • An operation rod 171 is attached to the plasma control plate 17, and the operation rod 171 can be moved in the longitudinal direction by the moving mechanism 172.
  • the distance between the plasma control plate 17 and the high-frequency antenna 16 can be adjusted by the action of the operation rod 171 and the moving mechanism 172 which are moving means of the control plate 17.
  • a plasma generation gas inlet 18 for introducing a plasma generation gas into the chamber is provided on the wall of the plasma generation chamber 12.
  • the operation of the plasma processing apparatus 10 of the first embodiment will be described by taking as an example the case of generating a silicon thin film.
  • hydrogen (H 2 ) gas is introduced into the plasma generation chamber 12 as a plasma generation gas from the plasma generation gas inlet 18, and SiH 4 gas is supplied into the plasma processing chamber 11 as a processing gas from the processing gas inlet 15.
  • a gas containing is introduced.
  • the pressure in the plasma processing chamber 11 is set to 1 Pa or less, and the pressure in the plasma generation chamber 12 is set to 2 Pa higher than that in the plasma processing chamber 11.
  • the processing gas (SiH 4 gas) introduced into the plasma processing chamber 11 passes through the through holes of the partition plate 13 and enters the plasma generation chamber 12. It can be prevented from entering.
  • high frequency power having a frequency of 13.56 MHz and a power of 1000 W is input to the high frequency antenna 16.
  • plasma containing atomic hydrogen radicals and electrons is generated in the plasma generation chamber 12.
  • the plasma generated in the plasma generation chamber 12 passes through the through hole of the partition plate 13 and diffuses into the plasma processing chamber 11.
  • the plasma diffused from the plasma generation chamber 12 is introduced from the processing gas inlet 15.
  • SiH 4 gas is decomposed to generate silane radicals containing SiH 3 .
  • a silicon thin film is formed on the substrate S by the hydrogen radicals generated in the plasma generation chamber and passing through the through holes of the partition plate 13 and the silane-based radicals generated in the plasma processing chamber.
  • the temperature of the substrate S is maintained at 200 ° C. by the heater.
  • plasma generation is performed by adjusting the distance between the plasma control plate 17 and the high frequency antenna 16.
  • the energy distribution of electrons in the plasma in the chamber 12 can be controlled.
  • the percentage of electrons in the high energy region increases by bringing the plasma control plate 17 closer to the high frequency antenna 16. For this reason, generation of atomic hydrogen radicals can be promoted.
  • the electron temperature of the plasma can be finely adjusted so that the radical dissociation reaction does not proceed excessively.
  • a function peculiar to the plasma processing apparatus 10 of the present embodiment which is difficult to realize with the conventional plasma processing apparatus, is that a plasma generation chamber is provided between the plasma generation chamber 12 and the plasma processing chamber 11 via a partition plate 13.
  • the SiH 4 gas introduced into the plasma processing chamber 11 flows back into the plasma generation chamber 12 with a high proportion of high-energy electrons and flows into the plasma generation chamber 12. It is possible to suppress passing the region near the antenna 16 and excessive dissociation of SiH 4 molecules.
  • the energy distribution of electrons in the diffusion plasma in which the plasma generated in the plasma generation chamber 12 is introduced into the plasma processing chamber 11 via the partition plate 13 is the plasma generated in the plasma generation chamber 12.
  • a plasma generation chamber 12 that is a reaction region that generates atomic hydrogen radicals by dissociation of H 2 gas and a plasma processing chamber 11 that is a reaction region that dissociates SiH 4 gas are separated. Can be separated.
  • the partition plate 13 provided with the processing gas introduction hole 132 (FIG. 5B) can also be used.
  • the processing gas introduction hole 132 is provided only on the surface of the partition plate 13 on the side of the plasma processing chamber 11, and the processing gas introduced into the processing gas introduction pipe 1321 embedded in the plate material is introduced into the plasma processing chamber 11. Can be sent to.
  • the processing gas can be introduced from the vicinity of the through hole 131, the processing gas is efficiently decomposed by the diffusion plasma introduced into the plasma processing chamber 11 through the through hole 131. At the same time, excessive dissociation of the processing gas can be suppressed.
  • the plasma processing apparatus 10 of the present embodiment can be used effectively even when an oxide film or a nitride film is formed.
  • oxygen gas is introduced into the plasma generation chamber 12 to generate high-density atomic oxygen radicals, and at the same time, an organic metal gas (eg, TMAl (tri-methyl-aluminum): aluminum) is added to the plasma processing chamber 11. In this case, a good quality oxide film can be formed on the substrate.
  • ammonia (NH 3 ) gas is introduced into the plasma generation chamber 12 to generate high-density atomic nitrogen radicals, which are reacted with the organometallic gas introduced into the plasma processing chamber 11 to form the nitride film.
  • the distance between the plasma control plate 17 and the high-frequency antenna 16 is appropriately set according to the film forming conditions.
  • the distance may be set based on the result of a preliminary experiment while changing the distance, and the distance may be fixed during the production of the thin film.
  • the distance may be changed as needed while measuring the energy of electrons in the plasma generation chamber 12 and / or the plasma processing chamber 11 using a Langmuir probe.
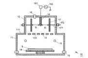
  • FIG. 6 shows a schematic longitudinal sectional view of a second embodiment of the plasma processing apparatus according to the present invention.
  • the plasma processing apparatus 20 of the present embodiment has the same configuration as that of the plasma processing apparatus 10 of the first embodiment, except that a plurality of plasma generation chambers 22 are provided on the top plate 111 of one plasma processing chamber 11. Have.
  • the energy of electrons in the plasma in each plasma generation chamber 22 can be individually and easily adjusted by independently adjusting the position of the plasma control plate 17 in each plasma generation chamber 22. Can be controlled. Thereby, since it can control so that the deposition rate of each part of the board
  • the plasma state can be individually changed by introducing different gases in each plasma generation chamber, and film formation with a high degree of freedom can be performed.
  • FIG. 7 shows a schematic longitudinal sectional view of a third embodiment of the plasma processing apparatus according to the present invention.
  • the plasma processing apparatus 30 of the present embodiment is the same as the plasma processing apparatus 20 shown in the second embodiment. Is provided.
  • the upper exhaust port 31 includes a vacuum pump (exhaust means) (not shown) and an exhaust amount adjusting unit that adjusts the exhaust amount of the vacuum pump.
  • vacuum exhaust in the plasma processing chamber 11 is performed through an exhaust port (lower exhaust port) 19 disposed below the substrate S. This is to prevent the processing gas used for film formation from being exhausted more than necessary.
  • different exhaust ports (specifically, the upper exhaust port 31) are equally arranged in the plasma processing chamber 11, and the respective exhaust amounts are adjusted by the exhaust amount adjusting unit.
  • the time during which the processing gas introduced into the plasma processing chamber 11 exists in the plasma processing chamber is adjusted to be substantially constant.
  • a semiconductor film can be formed on the substrate.
  • the provision of the upper exhaust port 31 can be suitably used for a plasma processing apparatus having a structure that does not include the plasma control plate 17 shown in FIG.
  • a plasma processing apparatus having a structure shown in FIG. 9 can be used.
  • a plurality of plasma generation chambers 22 are connected to the plasma processing chamber 11 via partition plates 33.
  • the partition plate 33 is provided with a through-hole 331 and a processing gas introduction hole 332 immediately below each plasma generation chamber 22,
  • An exhaust hole 333 is provided in a region between the plasma generation chambers 22. This exhaust hole 333 corresponds to the upper exhaust port 31 of the third embodiment.
  • the exhaust hole 333 is connected to an exhaust pipe 3331 embedded in the plate material of the partition plate 33, and a process introduced into the plasma processing chamber 11 by a vacuum pump and an exhaust amount adjusting unit (not shown) provided in the exhaust pipe 3331.
  • the time during which the gas is present in the plasma processing chamber is adjusted to be substantially constant.
  • the present invention is not limited to these embodiments.
  • a high-frequency antenna used in a conventional inductively coupled plasma processing apparatus such as a plate-shaped high-frequency antenna or a winding coil is used.
  • a plurality of high-frequency antennas may be provided in each plasma generation chamber. It can also be provided outside the plasma generation chamber.
  • this invention is not limited to a film forming process. For example, it can also be used for plasma processes that require radical density control, such as an etching process, an ashing process, or a cleaning process.

Landscapes

  • Engineering & Computer Science (AREA)
  • Physics & Mathematics (AREA)
  • Chemical & Material Sciences (AREA)
  • Plasma & Fusion (AREA)
  • Analytical Chemistry (AREA)
  • Chemical Kinetics & Catalysis (AREA)
  • Materials Engineering (AREA)
  • Mechanical Engineering (AREA)
  • Metallurgy (AREA)
  • Organic Chemistry (AREA)
  • General Chemical & Material Sciences (AREA)
  • Electromagnetism (AREA)
  • Spectroscopy & Molecular Physics (AREA)
  • General Physics & Mathematics (AREA)
  • Condensed Matter Physics & Semiconductors (AREA)
  • Manufacturing & Machinery (AREA)
  • Computer Hardware Design (AREA)
  • Microelectronics & Electronic Packaging (AREA)
  • Power Engineering (AREA)
  • Inorganic Chemistry (AREA)
  • Chemical Vapour Deposition (AREA)
  • Plasma Technology (AREA)
  • Drying Of Semiconductors (AREA)
PCT/JP2011/067698 2010-08-02 2011-08-02 プラズマ処理装置 Ceased WO2012018024A1 (ja)

Priority Applications (5)

Application Number Priority Date Filing Date Title
KR1020147022431A KR101523893B1 (ko) 2010-08-02 2011-08-02 플라스마 처리장치
US13/813,602 US20130192759A1 (en) 2010-08-02 2011-08-02 Plasma processing device
EP11814649.7A EP2602813A1 (en) 2010-08-02 2011-08-02 Plasma treatment device
KR1020137005321A KR101454132B1 (ko) 2010-08-02 2011-08-02 플라스마 처리장치
CN201180037725.2A CN103155103B (zh) 2010-08-02 2011-08-02 等离子体处理装置

Applications Claiming Priority (2)

Application Number Priority Date Filing Date Title
JP2010173507A JP5735232B2 (ja) 2010-08-02 2010-08-02 プラズマ処理装置
JP2010-173507 2010-08-02

Publications (1)

Publication Number Publication Date
WO2012018024A1 true WO2012018024A1 (ja) 2012-02-09

Family

ID=45559521

Family Applications (1)

Application Number Title Priority Date Filing Date
PCT/JP2011/067698 Ceased WO2012018024A1 (ja) 2010-08-02 2011-08-02 プラズマ処理装置

Country Status (7)

Country Link
US (1) US20130192759A1 (enExample)
EP (1) EP2602813A1 (enExample)
JP (1) JP5735232B2 (enExample)
KR (2) KR101454132B1 (enExample)
CN (1) CN103155103B (enExample)
TW (1) TWI515760B (enExample)
WO (1) WO2012018024A1 (enExample)

Cited By (1)

* Cited by examiner, † Cited by third party
Publication number Priority date Publication date Assignee Title
JP2016072065A (ja) * 2014-09-30 2016-05-09 株式会社Screenホールディングス プラズマ処理装置

Families Citing this family (16)

* Cited by examiner, † Cited by third party
Publication number Priority date Publication date Assignee Title
US9793126B2 (en) * 2010-08-04 2017-10-17 Lam Research Corporation Ion to neutral control for wafer processing with dual plasma source reactor
JP5462368B2 (ja) * 2010-09-06 2014-04-02 株式会社イー・エム・ディー プラズマ処理装置
US9245761B2 (en) 2013-04-05 2016-01-26 Lam Research Corporation Internal plasma grid for semiconductor fabrication
US9147581B2 (en) 2013-07-11 2015-09-29 Lam Research Corporation Dual chamber plasma etcher with ion accelerator
JP2015074792A (ja) * 2013-10-07 2015-04-20 株式会社Screenホールディングス プラズマcvd装置
GB2531233A (en) * 2014-02-27 2016-04-20 C Tech Innovation Ltd Plasma enhanced catalytic conversion method and apparatus
JP6431303B2 (ja) * 2014-07-03 2018-11-28 株式会社Screenホールディングス エッチング装置およびエッチング方法
US20190333735A1 (en) * 2016-06-24 2019-10-31 Emd Corporation Plasma source and plasma processing apparatus
CN108987228B (zh) * 2017-06-02 2024-05-17 北京北方华创微电子装备有限公司 用于处理工件的等离子体反应装置
US12312689B2 (en) * 2019-05-01 2025-05-27 Applied Materials, Inc. Large-area high-density plasma processing chamber for flat panel displays
JP2021077451A (ja) * 2019-11-05 2021-05-20 東京エレクトロン株式会社 プラズマ処理装置およびプラズマ処理方法
JP6809745B1 (ja) * 2020-08-03 2021-01-06 株式会社ニッシン プラズマ処理装置
EP4200891A1 (en) 2020-08-28 2023-06-28 Mattson Technology, Inc. Plasma strip tool with movable insert
KR102459640B1 (ko) * 2020-12-21 2022-10-27 주식회사 테스 기판처리장치
US20250232952A1 (en) * 2024-01-12 2025-07-17 Tokyo Electron Limited Balanced resonator source for plasma processing
JP2025185545A (ja) * 2024-06-10 2025-12-22 東京エレクトロン株式会社 プラズマ処理装置及び上部電極

Citations (3)

* Cited by examiner, † Cited by third party
Publication number Priority date Publication date Assignee Title
JP2003188154A (ja) * 2001-12-21 2003-07-04 Sharp Corp プラズマプロセス装置およびプラズマ制御方法
JP2003332307A (ja) * 2002-05-08 2003-11-21 Tokyo Electron Ltd プラズマ処理装置
JP2007035411A (ja) * 2005-07-26 2007-02-08 Hitachi High-Technologies Corp プラズマ処理装置

Family Cites Families (17)

* Cited by examiner, † Cited by third party
Publication number Priority date Publication date Assignee Title
JP3132599B2 (ja) * 1992-08-05 2001-02-05 株式会社日立製作所 マイクロ波プラズマ処理装置
JPH07142463A (ja) * 1993-11-22 1995-06-02 Nec Corp 半導体装置の製造方法と製造装置
JPH08222399A (ja) * 1994-12-14 1996-08-30 Adtec:Kk 高周波プラズマ発生装置
US5683548A (en) * 1996-02-22 1997-11-04 Motorola, Inc. Inductively coupled plasma reactor and process
DE19841777C1 (de) * 1998-09-12 2000-01-05 Fraunhofer Ges Forschung Vorrichtung zur plasmatechnischen Abscheidung von polykristallinem Diamant
JP3514186B2 (ja) * 1999-09-16 2004-03-31 日新電機株式会社 薄膜形成方法及び装置
WO2001075188A2 (en) * 2000-03-30 2001-10-11 Tokyo Electron Limited Method of and apparatus for gas injection
JP4371543B2 (ja) * 2000-06-29 2009-11-25 日本電気株式会社 リモートプラズマcvd装置及び膜形成方法
US20030024900A1 (en) * 2001-07-24 2003-02-06 Tokyo Electron Limited Variable aspect ratio plasma source
JP5162108B2 (ja) * 2005-10-28 2013-03-13 日新電機株式会社 プラズマ生成方法及び装置並びにプラズマ処理装置
JP5082411B2 (ja) * 2006-12-01 2012-11-28 東京エレクトロン株式会社 成膜方法
US8528498B2 (en) * 2007-06-29 2013-09-10 Lam Research Corporation Integrated steerability array arrangement for minimizing non-uniformity
JP2009123934A (ja) * 2007-11-15 2009-06-04 Tokyo Electron Ltd プラズマ処理装置
JP5227245B2 (ja) * 2009-04-28 2013-07-03 東京エレクトロン株式会社 プラズマ処理装置
US8900403B2 (en) * 2011-05-10 2014-12-02 Lam Research Corporation Semiconductor processing system having multiple decoupled plasma sources
US8900402B2 (en) * 2011-05-10 2014-12-02 Lam Research Corporation Semiconductor processing system having multiple decoupled plasma sources
KR20130072941A (ko) * 2011-12-22 2013-07-02 삼성전자주식회사 플라즈마 식각 장치

Patent Citations (3)

* Cited by examiner, † Cited by third party
Publication number Priority date Publication date Assignee Title
JP2003188154A (ja) * 2001-12-21 2003-07-04 Sharp Corp プラズマプロセス装置およびプラズマ制御方法
JP2003332307A (ja) * 2002-05-08 2003-11-21 Tokyo Electron Ltd プラズマ処理装置
JP2007035411A (ja) * 2005-07-26 2007-02-08 Hitachi High-Technologies Corp プラズマ処理装置

Cited By (1)

* Cited by examiner, † Cited by third party
Publication number Priority date Publication date Assignee Title
JP2016072065A (ja) * 2014-09-30 2016-05-09 株式会社Screenホールディングス プラズマ処理装置

Also Published As

Publication number Publication date
KR101523893B1 (ko) 2015-05-28
CN103155103B (zh) 2016-06-08
EP2602813A1 (en) 2013-06-12
KR101454132B1 (ko) 2014-10-22
CN103155103A (zh) 2013-06-12
JP2012033803A (ja) 2012-02-16
KR20130062982A (ko) 2013-06-13
JP5735232B2 (ja) 2015-06-17
KR20140108331A (ko) 2014-09-05
TWI515760B (zh) 2016-01-01
TW201234407A (en) 2012-08-16
US20130192759A1 (en) 2013-08-01

Similar Documents

Publication Publication Date Title
JP5735232B2 (ja) プラズマ処理装置
JP4273932B2 (ja) 表面波励起プラズマcvd装置
JP6410622B2 (ja) プラズマ処理装置及び成膜方法
JP4540742B2 (ja) 原子層成長装置および薄膜形成方法
US20070110918A1 (en) Remote plasma apparatus for processing substrate with two types of gases
WO2007020810A1 (ja) プラズマ処理装置
KR102418243B1 (ko) 플라즈마 처리 장치 및 플라즈마 처리 방법
JP3682178B2 (ja) プラズマ処理方法及びプラズマ処理装置
JP4575998B2 (ja) 薄膜形成装置および薄膜形成方法
JP4426632B2 (ja) プラズマ処理装置
JP2009206312A (ja) 成膜方法および成膜装置
JPH11293469A (ja) 表面処理装置および表面処理方法
JP4545107B2 (ja) 膜質の安定な低誘電率膜の形成方法
JP4273983B2 (ja) 表面波励起プラズマcvd装置
CN104704142A (zh) 等离子体处理装置及用于处理至少一块基片的方法
JP2022093741A (ja) プラズマcvd装置
JP2022168101A (ja) プラズマ支援ald装置
JP4304280B2 (ja) プラズマ生成装置およびプラズマ処理製造方法
JP2013207142A (ja) プラズマ形成装置
JP5078656B2 (ja) 原子層成長装置
JP2007154226A (ja) プラズマcvd装置
JP2005150474A (ja) 酸化膜形成装置および酸化膜形成方法
JP2016091617A (ja) プラズマ処理装置
JP2007273865A (ja) プラズマエッチング装置

Legal Events

Date Code Title Description
WWE Wipo information: entry into national phase

Ref document number: 201180037725.2

Country of ref document: CN

121 Ep: the epo has been informed by wipo that ep was designated in this application

Ref document number: 11814649

Country of ref document: EP

Kind code of ref document: A1

NENP Non-entry into the national phase

Ref country code: DE

WWE Wipo information: entry into national phase

Ref document number: 2011814649

Country of ref document: EP

ENP Entry into the national phase

Ref document number: 20137005321

Country of ref document: KR

Kind code of ref document: A

WWE Wipo information: entry into national phase

Ref document number: 13813602

Country of ref document: US