WO2011145640A1 - 複数のフィンピッチを有する冷却装置 - Google Patents
複数のフィンピッチを有する冷却装置 Download PDFInfo
- Publication number
- WO2011145640A1 WO2011145640A1 PCT/JP2011/061365 JP2011061365W WO2011145640A1 WO 2011145640 A1 WO2011145640 A1 WO 2011145640A1 JP 2011061365 W JP2011061365 W JP 2011061365W WO 2011145640 A1 WO2011145640 A1 WO 2011145640A1
- Authority
- WO
- WIPO (PCT)
- Prior art keywords
- fin
- radiating fin
- fin group
- heat
- fins
- Prior art date
- Legal status (The legal status is an assumption and is not a legal conclusion. Google has not performed a legal analysis and makes no representation as to the accuracy of the status listed.)
- Ceased
Links
Images
Classifications
-
- F—MECHANICAL ENGINEERING; LIGHTING; HEATING; WEAPONS; BLASTING
- F28—HEAT EXCHANGE IN GENERAL
- F28D—HEAT-EXCHANGE APPARATUS, NOT PROVIDED FOR IN ANOTHER SUBCLASS, IN WHICH THE HEAT-EXCHANGE MEDIA DO NOT COME INTO DIRECT CONTACT
- F28D1/00—Heat-exchange apparatus having stationary conduit assemblies for one heat-exchange medium only, the media being in contact with different sides of the conduit wall, in which the other heat-exchange medium is a large body of fluid, e.g. domestic or motor car radiators
-
- F—MECHANICAL ENGINEERING; LIGHTING; HEATING; WEAPONS; BLASTING
- F28—HEAT EXCHANGE IN GENERAL
- F28D—HEAT-EXCHANGE APPARATUS, NOT PROVIDED FOR IN ANOTHER SUBCLASS, IN WHICH THE HEAT-EXCHANGE MEDIA DO NOT COME INTO DIRECT CONTACT
- F28D15/00—Heat-exchange apparatus with the intermediate heat-transfer medium in closed tubes passing into or through the conduit walls ; Heat-exchange apparatus employing intermediate heat-transfer medium or bodies
- F28D15/02—Heat-exchange apparatus with the intermediate heat-transfer medium in closed tubes passing into or through the conduit walls ; Heat-exchange apparatus employing intermediate heat-transfer medium or bodies in which the medium condenses and evaporates, e.g. heat pipes
- F28D15/0266—Heat-exchange apparatus with the intermediate heat-transfer medium in closed tubes passing into or through the conduit walls ; Heat-exchange apparatus employing intermediate heat-transfer medium or bodies in which the medium condenses and evaporates, e.g. heat pipes with separate evaporating and condensing chambers connected by at least one conduit; Loop-type heat pipes; with multiple or common evaporating or condensing chambers
-
- F—MECHANICAL ENGINEERING; LIGHTING; HEATING; WEAPONS; BLASTING
- F28—HEAT EXCHANGE IN GENERAL
- F28D—HEAT-EXCHANGE APPARATUS, NOT PROVIDED FOR IN ANOTHER SUBCLASS, IN WHICH THE HEAT-EXCHANGE MEDIA DO NOT COME INTO DIRECT CONTACT
- F28D15/00—Heat-exchange apparatus with the intermediate heat-transfer medium in closed tubes passing into or through the conduit walls ; Heat-exchange apparatus employing intermediate heat-transfer medium or bodies
- F28D15/02—Heat-exchange apparatus with the intermediate heat-transfer medium in closed tubes passing into or through the conduit walls ; Heat-exchange apparatus employing intermediate heat-transfer medium or bodies in which the medium condenses and evaporates, e.g. heat pipes
- F28D15/0275—Arrangements for coupling heat-pipes together or with other structures, e.g. with base blocks; Heat pipe cores
-
- F—MECHANICAL ENGINEERING; LIGHTING; HEATING; WEAPONS; BLASTING
- F28—HEAT EXCHANGE IN GENERAL
- F28F—DETAILS OF HEAT-EXCHANGE AND HEAT-TRANSFER APPARATUS, OF GENERAL APPLICATION
- F28F1/00—Tubular elements; Assemblies of tubular elements
- F28F1/10—Tubular elements and assemblies thereof with means for increasing heat-transfer area, e.g. with fins, with projections, with recesses
- F28F1/12—Tubular elements and assemblies thereof with means for increasing heat-transfer area, e.g. with fins, with projections, with recesses the means being only outside the tubular element
- F28F1/24—Tubular elements and assemblies thereof with means for increasing heat-transfer area, e.g. with fins, with projections, with recesses the means being only outside the tubular element and extending transversely
- F28F1/32—Tubular elements and assemblies thereof with means for increasing heat-transfer area, e.g. with fins, with projections, with recesses the means being only outside the tubular element and extending transversely the means having portions engaging further tubular elements
-
- F—MECHANICAL ENGINEERING; LIGHTING; HEATING; WEAPONS; BLASTING
- F28—HEAT EXCHANGE IN GENERAL
- F28F—DETAILS OF HEAT-EXCHANGE AND HEAT-TRANSFER APPARATUS, OF GENERAL APPLICATION
- F28F3/00—Plate-like or laminated elements; Assemblies of plate-like or laminated elements
- F28F3/02—Elements or assemblies thereof with means for increasing heat-transfer area, e.g. with fins, with recesses, with corrugations
- F28F3/022—Elements or assemblies thereof with means for increasing heat-transfer area, e.g. with fins, with recesses, with corrugations the means being wires or pins
-
- H—ELECTRICITY
- H01—ELECTRIC ELEMENTS
- H01L—SEMICONDUCTOR DEVICES NOT COVERED BY CLASS H10
- H01L23/00—Details of semiconductor or other solid state devices
- H01L23/34—Arrangements for cooling, heating, ventilating or temperature compensation ; Temperature sensing arrangements
- H01L23/36—Selection of materials, or shaping, to facilitate cooling or heating, e.g. heatsinks
- H01L23/367—Cooling facilitated by shape of device
- H01L23/3672—Foil-like cooling fins or heat sinks
-
- H—ELECTRICITY
- H01—ELECTRIC ELEMENTS
- H01L—SEMICONDUCTOR DEVICES NOT COVERED BY CLASS H10
- H01L23/00—Details of semiconductor or other solid state devices
- H01L23/34—Arrangements for cooling, heating, ventilating or temperature compensation ; Temperature sensing arrangements
- H01L23/42—Fillings or auxiliary members in containers or encapsulations selected or arranged to facilitate heating or cooling
- H01L23/427—Cooling by change of state, e.g. use of heat pipes
-
- H—ELECTRICITY
- H01—ELECTRIC ELEMENTS
- H01L—SEMICONDUCTOR DEVICES NOT COVERED BY CLASS H10
- H01L23/00—Details of semiconductor or other solid state devices
- H01L23/34—Arrangements for cooling, heating, ventilating or temperature compensation ; Temperature sensing arrangements
- H01L23/46—Arrangements for cooling, heating, ventilating or temperature compensation ; Temperature sensing arrangements involving the transfer of heat by flowing fluids
- H01L23/467—Arrangements for cooling, heating, ventilating or temperature compensation ; Temperature sensing arrangements involving the transfer of heat by flowing fluids by flowing gases, e.g. air
-
- H—ELECTRICITY
- H05—ELECTRIC TECHNIQUES NOT OTHERWISE PROVIDED FOR
- H05K—PRINTED CIRCUITS; CASINGS OR CONSTRUCTIONAL DETAILS OF ELECTRIC APPARATUS; MANUFACTURE OF ASSEMBLAGES OF ELECTRICAL COMPONENTS
- H05K7/00—Constructional details common to different types of electric apparatus
- H05K7/20—Modifications to facilitate cooling, ventilating, or heating
- H05K7/20218—Modifications to facilitate cooling, ventilating, or heating using a liquid coolant without phase change in electronic enclosures
-
- H—ELECTRICITY
- H05—ELECTRIC TECHNIQUES NOT OTHERWISE PROVIDED FOR
- H05K—PRINTED CIRCUITS; CASINGS OR CONSTRUCTIONAL DETAILS OF ELECTRIC APPARATUS; MANUFACTURE OF ASSEMBLAGES OF ELECTRICAL COMPONENTS
- H05K7/00—Constructional details common to different types of electric apparatus
- H05K7/20—Modifications to facilitate cooling, ventilating, or heating
- H05K7/2039—Modifications to facilitate cooling, ventilating, or heating characterised by the heat transfer by conduction from the heat generating element to a dissipating body
-
- F—MECHANICAL ENGINEERING; LIGHTING; HEATING; WEAPONS; BLASTING
- F28—HEAT EXCHANGE IN GENERAL
- F28F—DETAILS OF HEAT-EXCHANGE AND HEAT-TRANSFER APPARATUS, OF GENERAL APPLICATION
- F28F2215/00—Fins
- F28F2215/04—Assemblies of fins having different features, e.g. with different fin densities
-
- H—ELECTRICITY
- H01—ELECTRIC ELEMENTS
- H01L—SEMICONDUCTOR DEVICES NOT COVERED BY CLASS H10
- H01L2924/00—Indexing scheme for arrangements or methods for connecting or disconnecting semiconductor or solid-state bodies as covered by H01L24/00
- H01L2924/0001—Technical content checked by a classifier
- H01L2924/0002—Not covered by any one of groups H01L24/00, H01L24/00 and H01L2224/00
Definitions
- the present invention relates to a cooling device that cools a heating element by forced air cooling, and more specifically, cools an electrical component such as a power conversion device mounted on a moving body such as a railway vehicle, an aircraft, or a ship by forced air cooling.
- the present invention relates to a cooling device.
- a conventional cooling device there is an electric component cooling device (hereinafter referred to as a conventional example) in a housing shown in FIG.
- a flat heat receiving block 42 a plurality of U-shaped heat pipes 43 standing on the surface of the heat receiving block 42, and a heat pipe 43 attached to the heat pipe 43 in a direction parallel to the heat receiving block 42.
- It is composed of a radiating fin group 44 having a plurality of fins 44a, and is formed such that the fin pitch between the fins 44a is uniform in any part (Patent Document 1).
- the cooling device 41 of the conventional example when the dimension of the fins 44a is long in the flow direction of the cooling air, the flow velocity of the cooling air flowing between the fins 44a is remarkably reduced as it proceeds to the leeward side. Therefore, the cooling capacity of the conventional cooling device 41 is greatly different between the leeward side and the leeward side.
- a plurality of (three in FIG. 14) heating elements 450-1, 450-2, and 450-3 are thermally connected to the heat receiving block 42, and the cooling air is directed in the direction from left to right on the paper surface of FIG.
- the heating element 450-3 disposed on the most leeward side is less likely to be cooled than the heating element 450-1 disposed on the most leeward side. There is a problem that a decrease in temperature is suppressed.
- the present invention has been made in view of the above-described problems of the prior art, and an object of the present invention is to provide a cooling device with improved cooling capacity on the leeward side without increasing the number of installed radiating fins and the amount of cooling air. To do.
- a first aspect of the present invention includes a heat receiving block thermally connected to a heat generating element, and a heat dissipating fin group having a plurality of fins thermally connected to the heat receiving block, and a direction parallel to the heat receiving block
- a cooling device in which a flow of cooling air is set, wherein a plurality of the radiating fin groups are arranged in a row along a flow direction of the cooling air, and the upper side of the cooling air among the plurality of radiating fin groups
- the cooling device is characterized in that the fin pitch of the heat dissipating fin group disposed on the fin is larger than the fin pitch of the heat dissipating fin group disposed on the leeward side of the cooling air.
- a second aspect of the present invention includes a heat receiving block thermally connected to a heat generating element, and a heat dissipating fin group having a plurality of fins standing on the surface of the heat receiving block, and a direction parallel to the heat receiving block
- a cooling device in which a flow of cooling air is set, wherein a plurality of the radiating fin groups are arranged in a row along a flow direction of the cooling air, and the upper side of the cooling air among the plurality of radiating fin groups
- the cooling device is characterized in that the fin pitch of the heat dissipating fin group disposed on the fin is larger than the fin pitch of the heat dissipating fin group disposed on the leeward side of the cooling air.
- a heat receiving block thermally connected to the heat generating element, a plurality of heat pipes erected on the surface of the heat receiving block, and a direction parallel to the heat receiving block to the heat pipe.
- a cooling device in which a flow of cooling air is set in a direction parallel to the heat receiving block, wherein the heat radiation fin group extends along the flow direction of the cooling air.
- the fin pitch of the radiating fin group arranged on the leeward side of the cooling air among the plurality of radiating fin groups is more than the fin pitch of the radiating fin group arranged on the leeward side of the cooling air.
- the cooling device is also characterized by being large.
- the plurality of radiating fin groups are arranged in parallel or substantially parallel to the flow direction of the cooling air, and the surfaces of the fins constituting the radiating fin group are also parallel to the flow direction of the cooling air. Or they are mounted almost parallel.
- the fin pitch of each fin constituting the same radiating fin group is the same or almost the same, but the fin pitch is different for each radiating fin group, that is, the fin pitch between adjacent fins is different if the radiating fin group is different. It has become.
- positioned at the windward side of cooling air is larger than the fin pitch of the radiation fin group arrange
- the “radiating fin group” means a group of fins in which a plurality of fins are arranged in a direction perpendicular to the flow direction of the cooling air.
- a fourth aspect of the present invention is a cooling device characterized in that the fin pitch of the radiating fin group arranged on the leeward side is an integral multiple of the fin pitch of the radiating fin group arranged on the leeward side. is there.
- the length of the fins of the radiating fin group disposed on the leeward side is shorter than the length of the fins of the radiating fin group disposed on the leeward side. It is.
- a sixth aspect of the present invention is the cooling device, wherein the heat pipe is U-shaped or L-shaped in a side view.
- the pressure loss of the cooling air due to the leeward radiating fin group is suppressed, and the amount and speed of the cooling air passing through the radiating fin group are reduced. Since it can suppress, the cooling capacity on the leeward side is improved, and the cooling capacity can be made uniform from the leeward side to the leeward side. In this way, since the cooling capacity can be made uniform, the cooling capacity can be reliably exhibited from the windward side to the leeward side even with a large cooling device having a long fin.
- the cooling device can be reduced in size and weight, and the manufacturing cost can be reduced.
- it is not necessary to install a powerful fan to improve the cooling capacity on the leeward side so the installation space can be saved, and the power consumption for driving the fan is reduced to reduce the environmental load. Can do.
- the cooling ability is further improved from the windward side radiating fin group to the leeward side radiating fin group.
- the pressure loss of the cooling air due to the fins can be suppressed, and the cooling air flowing between the fins can be made uniform for each of the radiating fin groups. It can flow efficiently.
- the cooling air can be efficiently flowed through the radiating fin group, the cooling capacity of the leeward radiating fin group can be further improved, and the heat generating element can be reliably cooled even in a limited space such as in a vehicle casing.
- the downwind radiating fin group having a high cooling capacity is downsized.
- the cooling capacity of the leeward radiating fin group can be improved while reducing the weight.
- the cooling capacity of the whole cooling device can be made more uniform by appropriately adjusting the lengths of the fins of the leeward radiating fin group and the leeward radiating fin group.
- the shape of the heat pipe is U-shaped or L-shaped when viewed from the side, it is easy to mount fins, and the number of fins installed and the fin pitch are determined according to the operating conditions of the cooling device. It can be adjusted appropriately according to.
- the figure is the front view of the state which attached the heat generating element which is the cooling device using the heat pipe which concerns on other embodiment examples
- (b) The figure is the cooling which used the heat pipe which concerns on other embodiment examples
- It is a top view of the state which was an apparatus and attached the heat generating element.
- It is a cooling device concerning other examples of the present invention, and is a top view in the state where a heating element was attached.
- It is a cooling device of a prior art example, and is a side view in the state where a heating element was attached.
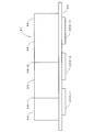
- the cooling device 1 is a heat pipe type cooling device, and is attached to the flat heat receiving block 2 and the surface of the heat receiving block 2 in the vertical direction.
- a plurality of U-shaped heat pipes 3 in a side view, and a first radiating fin group 4 and a second radiating fin group 5 attached to the heat pipe 3 are provided.
- the first radiating fin group 4 includes a plurality of (17 in FIG. 1) first fins 4a, and the first fins 4a are rectangular thin plates.
- the second radiating fin group 5 includes a plurality of (33 in FIG. 1) second fins 5a, and the second fins 5a are rectangular thin plates.
- the heating elements 50-1, 50-2, and 50-3 that are the objects to be cooled are thermally transferred from the left to the right in FIG. It is connected.
- first fins 4a are arranged at equal intervals in the vertical direction with respect to the surface of the heat receiving block 2, and each first fin 4a receives heat. It arrange
- second fins 5a are arranged at equal intervals in the vertical direction with respect to the surface of the heat receiving block 2, and each of the second fins 5a is also arranged with respect to the surface of the heat receiving block 2. Are arranged in parallel. Therefore, in the second radiating fin group 5, 32 gaps 5b having a constant width narrower than the gap 4b extend in parallel to the surface of the heat receiving block 2 between the second fins 5a. And all the space
- the 1st fin 4a provided in the furthest position with respect to the heat receiving block 2 and the 2nd fin 5a provided in the furthest position with respect to the heat receiving block 2 are mutually arrange
- the 1st fin 4a provided in the nearest position with respect to the heat receiving block 2 and the 2nd fin 5a provided in the nearest position with respect to the heat receiving block 2 are mutually arrange
- the shape and dimensions of the first fins 4a, which are the constituent elements of the first radiating fin group 4, are the same, and the side surfaces of the first radiating fin group 4 are aligned with the edges of the first fins 4a. It has become.
- the shape and dimension of the 2nd fin 5a which is a component of the 2nd radiation fin group 5 are mutually the same, The side part of the 2nd radiation fin group 5 has the edge part of the 2nd fin 5a aligned It has become.
- the cooling air is supplied from the left to the right in FIG. Further, cooling is performed so that the cooling air flows parallel or substantially parallel to the surface of the heat receiving block 2, that is, parallel or substantially parallel to the surfaces of the first fins 4 a and the second fins 5 a.
- the device 1 is installed.
- the cooling air first passes through the first radiating fin group 4 along the first fins 4 a, and the cooling air that has passed through the first radiating fin group 4 then passes through the second radiating fin group 5.
- the second radiating fin group 5 passes through the second fins 5a, so that the first radiating fin group 4 and the second radiating fin group 5 can be prevented from becoming a barrier for cooling air.
- a gap 8 between the radiation fin groups is formed between the first radiation fin group 4 and the second radiation fin group 5. Due to the gap 8 between the radiating fin groups, the fin is not divided into a single-plate fin 44a as in the conventional example, but is divided into a first fin 4a and a second fin 5a. A second radiating fin group 5 is formed.
- the dimensions of the first fin 4a are 480 mm in width, 300 mm in length, and 0.5 mm in thickness, and the gap 4b in the first fin 4a is 6.5 mm.
- the width of the second fin 5a is 480 mm, which is the same as that of the first fin 4a, and the thickness is also 0.5 mm, which is the same as that of the first fin 4a. Longer than 495 mm.
- the gap 5b of the second fin is 3 mm.
- the heat receiving block 2 has a width of 500 mm, a length of 1000 mm, and a thickness of 25 mm.
- the side view of the U-shaped heat pipe 3 has a pipe diameter of 15.88 mm, a height of 200 mm, and a lateral width of 115.88 mm. .
- the cross-sectional shape of the U-shaped heat pipe 3 in a side view is a circle.
- the width of the gap 8 between the heat dissipating fin groups is preferably as narrow as possible from the point of not affecting the cooling capacity, and the end face of the first fin 4a and the end face of the second fin 5a facing the end face of the first fin 4a abut. May be.
- the width of the gap 8 between the radiating fin groups is 5 mm.
- the first fin 4a and the heat receiving block 2 are both flat plates made of a metal material having good thermal conductivity, and are made of aluminum, aluminum alloy, copper, copper alloy or the like.
- the heat pipe 3 is also made of the same metal material as that of the first fins 4a and the heat receiving block 2, and the working fluid is sealed in the decompressed state in accordance with the compatibility with the container material. For example, when the container is copper, the working fluid uses pure water.
- the fixing method of the 1st fin 4a and the 2nd fin 5a is not specifically limited,
- the hole (not shown) is provided in each predetermined position of the 1st fin 4a and the 2nd fin 5a.
- the first fin 4 a and the second fin 5 a are fixed to the cooling device 1 via the heat pipe 3 by being inserted so that the heat pipe 3 is fitted into the hole.
- the arrangement relationship between the first fin 4a and the second fin 5a is not particularly limited as long as the gap 4b between the first fins 4a is larger than the gap 5b between the second fins 5a. If it is the said aspect, since the pressure loss by the 1st radiation fin group 4 can be reduced, the reduction
- the fin pitch of the first radiating fin group 4 and the second radiating fin group 5 is an integer multiple relationship (in FIG. 2, the first radiating fin group). 4 and the 2nd radiation fin group 5 are arrange
- the second fin 5a is prevented from becoming a barrier for the cooling air 7 passing through the first radiating fin group 4 from the left to the right in the drawing, and the air volume and the air speed of the cooling air 7 Can be prevented from receiving and losing pressure of the second fin 5a. Accordingly, the cooling air 7 that has passed through the first radiating fin group 4 is configured to smoothly flow into the second radiating fin group 5 provided on the leeward side.
- the fin pitch of the first radiating fin group 4 and the second radiating fin group 5 is not an integral multiple (in FIG. 3, the first radiating fin group 4 and the second radiating fin group 5 Even if the fin pitch is 3: 2), it is possible to suppress the decrease in the air volume and the air speed of the cooling air 7 passing through the second radiating fin group 5.
- the phases of the fin pitches of the first radiating fin group 4 and the second radiating fin group 5 are not aligned. That is, the configuration in which the second fins 5a are arranged on the same plane of the first fins 4a and the configuration in which the second fins 5a are not arranged on the same plane of the first fins 4a are alternately arranged. Therefore, in the case of the fin arrangement of FIG. 3, there are places in the second radiating fin group where the cooling air 7 flows smoothly and places where the second fin is obstructed and the cooling air 7 is difficult to flow.
- the cooling air 7 that has passed through the first radiating fin group 4 receives pressure from the second fin 5a
- the air volume in the second radiating fin group 5 is as follows.
- the arrangement shown in FIG. 2 in which the fin pitch phases of the first heat dissipating fin group 4 and the second heat dissipating fin group 5 are an integral multiple of each other is preferable.
- the heat receiving block temperature of the cooling device 1 according to the first embodiment and the heat receiving block temperature of the conventional cooling device 41 will be described with reference to FIG.
- the heat receiving block temperature is obtained by numerical analysis.
- the configuration of the cooling device 1 according to the first embodiment used for numerical analysis is the same as the configuration described above.
- the length of the fin 44a is the sum of the length of the first fin 4a, the length of the second fin 5a, and the width of the gap 8 between the radiating fin groups.
- the fin pitch is the same as that of the cooling device 1 used in the numerical analysis except that the fin pitch of the second radiating fin group 5 is the same as that of the second radiating fin group 5.
- Each heating element 50-1, 50-2, 50-3, 450-1, 450-2, 450-3 generates heat uniformly and a total amount of heat of 11000 W is input to the heat receiving blocks 2, 42, respectively.
- the numerical analysis was performed under the conditions that the cooling air hitting the front surfaces of the first radiating fin group 4 and the radiating fin group 44 was 20 ° C. and the wind speed was 5.8 m / s.
- the cooling device 1 can improve the cooling capacity on the leeward side and reduce the total weight while making the cooling capacity uniform.
- the line graph of FIG. 5 is the temperature distribution on the surface of the fin 44a appropriately selected from the radiating fin group 44 of the cooling device 41 of the conventional example.
- the “fin tip” is the upper side of the cooling air. It means the end of the fin on the opposite side.
- the position of the gap 8 between the heat dissipating fin groups, that is, the ratio of the length of the first fin 4a and the length of the second fin 5a is not particularly limited and can be selected as appropriate. From the viewpoint of improving the cooling capacity on the leeward side, Thus, it is preferable to determine based on the temperature distribution on the fin surface.
- the surface temperature of the fin 44a of the single plate which is a conventional example increases as it moves from the windward side of the cooling air to the leeward side.
- interval 8 between radiation fin groups is provided in the position which shows the intermediate temperature of the minimum temperature of the fin 44a surface, and the maximum temperature. That is, the fins 44a are divided at the position of the temperature difference ⁇ T / 2 at which the temperature difference ⁇ T on the surface of the fins 44a can be divided equally, so that the first radiating fin group 4 and the second radiating fin group 5 are formed.
- the space 8 between the radiating fin groups is positioned.
- gap 8 between radiation fin groups is provided in the position which shows intermediate temperature, two radiation fin groups can be formed for every area
- the temperature distribution on the surface of the fin 44a decreases more rapidly as it approaches the windward side, and the relationship between the temperature distribution and the distance from the fin tip is not linear. Therefore, when the gap 8 between the radiation fin groups is provided at the position of the temperature difference ⁇ T / 2 at which the temperature difference ⁇ T on the surface of the fin 44a can be divided equally, the length of the second fin 5a of the second radiation fin group 5 is It becomes longer than the length of the 1st fin 4a of the 1 thermal radiation fin group 4.
- the cooling device 21 according to the third embodiment of the present invention is Three radiating fin groups are provided.
- the cooling device 21 according to the third embodiment is attached to the heat receiving block 22 having a flat plate shape, a U-shaped heat pipe 23 attached to the surface of the heat receiving block 22 in the vertical direction, and the heat pipe 23.
- a first radiation fin group 24, a second radiation fin group 25, and a third radiation fin group 26 are provided.
- the first radiating fin group 24 includes a plurality of (9 in FIG. 6) first fins 24a.
- the second radiating fin group 25 includes a plurality of (17 in FIG. 6) second fins 25a.
- the third radiating fin group 26 includes a plurality of (33 in FIG. 6) third fins 26a. That is, the number of the second fins 25a of the cooling device 21 is the same as the number of the first fins 4a of the cooling device 1, and the number of the third fins 26a of the cooling device 21 is the number of the second fins 5a of the cooling device 1. It is the same as the number of sheets.
- the first fin 24a, the second fin 25a, and the third fin 26a are all rectangular thin plates.
- a space 28-1 between the heat radiating fin groups is provided between the first heat radiating fin group 24 and the second heat radiating fin group 25, and a space 28 between the heat radiating fin groups is provided between the second heat radiating fin group 25 and the third heat radiating fin group 26. -2 is formed.
- a heating element as a cooled object is thermally connected to 250-1, 250-2, 250-3 in order from the windward side. .
- the arrangement relationship of the first fin 24a, the second fin 25a, and the third fin 26a is such that the gap 24b between the first fins 24a is larger than the gap 25b between the second fins 25a, and the gap 25b between the second fins 25a is the second. There is no particular limitation as long as it is larger than the gap 26b between the three fins 26a. If it is the said aspect, since the pressure loss by the 1st radiation fin group 24 can be reduced, the fall of the air volume and wind speed of the cooling wind which passes the 2nd radiation fin group 25 can be suppressed, and the number of the 1st fins 24a reduces.
- the temperature rise of the cooling air passing through the first radiating fin group 24 can be suppressed, and further, the pressure loss due to the second radiating fin group 4 can be reduced, so that the amount and speed of the cooling air passing through the third radiating fin group 26 can be reduced.
- the decrease can be suppressed, and the increase in the temperature of the cooling air that has passed through the second radiating fin group 25 by reducing the number of the second fins 25a can be suppressed. As shown in FIG.
- the fin pitch of the first radiating fin group 24 and the second radiating fin group 25 is an integer multiple, and the second radiating fin group 25 and the second radiating fin group 25
- the fin pitch of the three radiating fin groups 26 is an integer multiple relationship (in FIG. 6, the fin pitches of the first radiating fin group 24, the second radiating fin group 25, and the third radiating fin group 26 are 4: 2: 1). Has been. Further, the fin pitch phases of the first radiating fin group 24, the second radiating fin group 25, and the third radiating fin group 26 are aligned.
- the second fins 25a of the second radiating fin group 25 and the third fins 26a of the third radiating fin group 26 are arranged on the same plane of the first fins 24a, and the gap 24b between the first fins 24a.
- the second fin 25a is disposed at a portion that divides the width into two
- the third fin 26a is disposed at a portion that divides the gap 24b between the first fins 24a into four equal portions.
- the fin arrangement similar to that of the cooling device 1 prevents the second fin 25a and the third fin 26a from becoming a barrier to the flow of the cooling air, and the air volume and the air speed of the cooling air are the second. Loss due to the pressure of the fins 25a and the third fins 26a can be suppressed. Therefore, the cooling air passing through the first radiating fin group 24 is arranged in the second radiating fin group 25 arranged on the leeward side of the first radiating fin group 24 and on the leeward side of the second radiating fin group 25.
- the third radiating fin group 26 is configured to flow smoothly and further improve the cooling capacity on the leeward side.
- the cooling device 31 according to the second embodiment of the present invention has a plurality of fins erected in the vertical direction with respect to the heat receiving block, and three radiating fins.
- a heat sink forming a group.
- the cooling device 31 according to the second embodiment includes a plate-shaped heat receiving block 32 and a first radiating fin group 34, a second radiating fin group 35, and a third radiating fin group 36 attached to the surface of the heat receiving block 32. I have.
- the first radiating fin group 34 has a structure in which a plurality of (six in FIG. 8A) first fins 34a are erected on a flat bottom portion 34c. ing.
- Each of the first fins 34a is provided so that the surface of the first fin 34a is parallel to the direction of the flow of the cooling air in a direction perpendicular to the bottom surface portion 34c, and the fin pitch is equally spaced.
- the second radiating fin group 35 has a structure in which a plurality of (11 in FIG. 8B) second fins 35a are erected on a flat bottom portion 35c. ing.
- the third radiating fin group 36 has a structure in which a plurality of (21 in FIG. 8C) third fins 36a are erected on a flat bottom portion 36c. ing.
- Each of the third fins 36a is provided so that the surface of the third fin 36a is parallel to the vertical direction with respect to the bottom surface portion 36c and the flow direction of the cooling air, and the fin pitch is equally spaced.
- the bottom surface portions 34c, 35c, and 36c are thermally connected to the heat receiving block 32, so that the first radiating fin group 34, the second radiating fin group 35, and the third radiating fin group 36 are thermally connected to the heat receiving block 32. Is done.
- the heat generating elements which are the objects to be cooled, are provided on the rear surface of the heat receiving block 32 where no fins are provided, in order from the windward side of the cooling air 350-1, 350-2, 350- 3 is thermally connected.
- the arrangement relationship between the first fin 34a, the second fin 35a, and the third fin 36a is such that the gap 34b between the first fins 34a is larger than the gap 35b between the second fins 35a, and the gap 35b between the second fins 35a is first.
- the fin pitch between the first radiating fin group 34 and the second radiating fin group 35 is an integer, like the cooling device 21 according to the third embodiment.
- the fin pitch between the second radiating fin group 35 and the third radiating fin group 36 is an integral multiple (in FIG. 8, the first radiating fin group 34, the second radiating fin group 35, the third radiating fin group
- the fin pitch of 36 is arranged at 4: 2: 1). Further, the fin pitch phases of the first radiating fin group 34, the second radiating fin group 35, and the third radiating fin group 36 are aligned.
- the second fins 35a of the second radiating fin group 35 and the third fins 36a of the third radiating fin group 36 are disposed on the same plane of the first fins 34a, and the gap 34b between the first fins 34a.
- the second fin 35a is arranged at a part that divides the width into two
- the third fin 36a is arranged at a part that divides the width of the gap 34b between the first fins 34a into four equal parts.
- the cooling air passing through the first radiating fin group 34 is disposed on the leeward side of the first radiating fin group 34. It is configured to smoothly flow through the third radiating fin group 36 disposed in the middle and the leeward side of the second radiating fin group 35.
- the first radiating fin group 34 and the second radiating fin group 35 are in contact with each other in order to prevent a decrease in the amount and speed of the cooling air and a disturbance in the flow of the cooling air.
- the radiation fin group boundary 38-1 is formed, and the second radiation fin group 35 and the third radiation fin group 36 are in contact with each other to form the radiation fin group boundary 38-2.
- the radiating fin group boundary portions 38-1 and 38-2 may be separated from the adjacent radiating fin groups as necessary, as in the cooling device 21 of the third embodiment, if necessary.
- the heat receiving block temperature of the cooling device 21 according to the third embodiment and the heat receiving block temperature of the cooling device 41 of the conventional example will be described with reference to FIG.
- the heat receiving block temperature is obtained by numerical analysis under the same conditions as in FIG. That is, the configuration of the cooling device 21 according to the third embodiment used for numerical analysis is the same as the configuration described above.
- the structure of the cooling device 41 of the conventional example is such that the length of the fins 44a is the length of the first fins 24a, the length of the second fins 25a, the length of the third fins 26a, and the gaps 28-1 between the radiating fin groups.
- Each of the widths 28-2 is added up, and the fin pitch of the radiating fin group 44 is the same as that of the cooling device 21 used in the numerical analysis except that the fin pitch is the same as that of the third radiating fin group 26.
- Each heating element 250-1, 250-2, 250-3, 450-1, 450-2, 450-3 generates heat uniformly, and a total amount of heat of 11000 W is input to the heat receiving blocks 22, 42, respectively.
- the numerical analysis was performed under the conditions that the cooling air hitting the front surfaces of the first radiating fin group 24 and the radiating fin group 44 was 20 ° C. and the wind speed was 5.8 m / s.
- data of the cooling device 1 shown in FIG. 4 is also displayed for comparison.
- the temperature of the upper part of the heat receiving block wind of the cooling device 21 is higher than that of the cooling device 41 of the conventional example, but the temperature of the central part of the heat receiving block is substantially the same as that of the conventional example.
- the temperature of the lower part is lower than that of the conventional example.
- the temperature of the lower part of the heat receiving block wind is lower than that of the cooling device 1 of the first embodiment.
- the cooling device 21 of the third embodiment increases the cooling capacity on the leeward side more than the cooling device 1 by increasing the number of radiating fin groups having different fin pitches to three, thereby further improving the cooling capability. Can be made uniform, and the total weight can be further reduced.
- the line graph in FIG. 10 is the temperature distribution on the surface of the fin 44a appropriately selected from the radiating fin group 44 of the cooling device 41 of the conventional example.
- the “fin tip” is the upper side of the cooling air. It means the end of the fin on the opposite side.
- the positions of the radiating fin group gaps 28-1 and 28-2 and the positions of the radiating fin group boundaries 38-1 and 38-2 are not particularly limited and can be selected as appropriate. From the viewpoint of improving the cooling capacity on the leeward side. As with the cooling device 1 of the first embodiment, it is preferable to determine based on the temperature distribution on the fin surface. That is, the fin 44a is divided at the position of the temperature difference ⁇ T / 3 at which the temperature difference ⁇ T on the surface of the fin 44a of the single plate according to the conventional example can be divided into three equal parts, and the first heat dissipating fin group 24, 34, the second heat dissipating.
- the radiating fin group gaps 28-1 and 28-2 or the radiating fin group boundaries 38-1 and 38-2 are positioned so that the fin groups 25 and 35 and the third radiating fin groups 26 and 36 are formed. As described above, when the radiating fin group gaps 28-1 and 28-2 or the radiating fin group boundary portions 38-1 and 38-2 are provided at the position showing the temperature difference ⁇ T / 3, each region where the surface temperature of the fins is close. Three radiating fin groups can be formed.
- the fin pitch of the first radiating fin groups 24 and 34 and the second radiating fin groups 25 and 35 having sufficient cooling capacity can be made larger than the fin pitch of the radiating fin group 44, and in addition, the first radiating fin group 24, Since the fin pitch of 34 can be made larger than the fin pitch of the first radiating fin group 4 of the cooling device 1, it is possible to further suppress the decrease in the amount and speed of cooling air passing through the third radiating fin groups 26 and 36. . Moreover, since the wind speed of the cooling air passing through the first radiating fin groups 24 and 34 is high, the temperature rise of the cooling air in the first radiating fin groups 24 and 34 can be further reduced, and the cooling air having a lower temperature than the cooling device 1. Can be supplied to the second radiating fin groups 25, 35 and the third radiating fin groups 26, 36. Furthermore, since the number of the first fins 24a and 34a can be reduced, the weight of the cooling devices 21 and 31 can be further suppressed.
- the air gaps 28-1, 28 between the radiating fin groups are positioned at the temperature difference ⁇ T / 3 where the temperature difference ⁇ T on the surface of the fin 44a can be divided into three equal parts.
- the length of the second fins 25a and 35a of the second radiating fin groups 25 and 35 is the same as that of the first radiating fin groups 24 and 34.
- the length of the third fins 26a, 36a of the third radiating fin groups 26, 36 is longer than the length of the second fins 25a, 35a of the second radiating fin groups 25, 35. become longer.
- the cooling device 1, 21, and 31 which concerns on the said embodiment example of this invention demonstrates taking the example of the usage method which cools the electrical component (for example, power converter device) mounted in the mobile body (for example, rail vehicle).
- a casing for power control which is cut off from the outside, is fixed to the lower surface of the floor of the railway vehicle, and various electrical components for controlling power, such as a power converter, are stored in the casing.
- These electrical components generate heat during operation. If the heat generation is left as it is, the temperature rises and normal operation cannot be performed. In the worst case, the element may be destroyed by heat. Therefore, it is necessary to cool these electrical components.
- the heat receiving blocks 2, 22, 32 of the cooling devices 1, 21, 31 are brought into contact with the electrical components (hereinafter referred to as heat generating elements) on the back side to be thermally connected to the heat receiving blocks 2, 22, 32.
- a fan for supplying cooling air to the cooling devices 1, 21, 31 is installed in the housing in which the heat generating elements are stored.
- the first radiating fin groups 4, 24, 34 with a large fin pitch are directed toward the upstream side of the cooling air, and the cooling air from the fan is radiated from the first radiating fin groups 4, 24, 34 with a small fin pitch.
- the cooling devices 21, 31 into the fin groups 5, 25, 35 the cooling devices 1, 21, 31 are installed so as to sequentially pass through the third radiating fin groups 26, 36 having the smallest fin pitch. That is, the flow direction of the cooling air blown from the fan is parallel to the surfaces of the heat receiving blocks 2, 22, and 32.
- the heat released from the heat generating element first spreads to the heat receiving blocks 2 and 22 that are thermally connected to the heat generating elements, and the heat spread to the heat receiving blocks 2 and 22 receives the heat.
- the heat pipes 3 and 23 embedded in the blocks 2 and 22 are transmitted to the bottoms, that is, the heating parts. Then, the heat transport system of the heat pipes 3 and 23 is operated, and the heat absorbed by the heating unit is the cooling air blown from the fan through the cooling unit of the heat pipes 3 and 23 extending from the heating unit. It is transmitted to the radiating fin group receiving the flow, and discharged from the radiating fin group to the external environment.
- the heat released from the heating element spreads to the heat receiving block 32 that is thermally connected to the heating element, and the heat spread to the heat receiving block 32 Is transmitted to the radiating fin group receiving the flow of the cooling air blown from, and discharged from the radiating fin group to the external environment.
- the fin pitch of the radiating fin group is gradually reduced from the leeward side of the cooling air to the leeward side, so cooling of the leeward side is suppressed by suppressing the reduction of the air flow rate and the wind speed in the leeward heat radiating fin group.
- Ability improves. For this reason, even if it enlarges a cooling device in order to cool the power converter device of a rail vehicle, for example, the heat generating part far from the windward side can be reliably cooled.
- the cooling air is supplied from the fan. However, when the cooling devices 1, 21, and 31 are placed outside the housing, the running air may be used as the cooling air without installing the fan. Good.
- the heat receiving blocks 2 and 22 are embedded in the surfaces of the heat receiving blocks 2 and 22 by embedding the bottoms of the U-shaped heat pipes 3 and 23 in a side view.
- a plurality of heat pipes 3 and 23 are arranged and fixed to 2 and 22.
- the fins 4a, 5a, 24a, 25a and 26a are provided with holes (not shown) having a shape corresponding to the cross-sectional shape of the heat pipes 3 and 23 at positions corresponding to the arrangement of the heat pipes 3 and 23.
- the holes of the first fins 4a and 24a are fitted into the predetermined heat pipes 3 and 23 located on the windward side of the heat pipes 3 and 23 fixed to the heat receiving blocks 2 and 22.
- First radiating fin groups 4 and 24 having a predetermined number of first fins 4a and 24a are produced.
- the holes of the second fins 5a and 25a are fitted into the predetermined heat pipes 3 and 23 located on the leeward side to produce the second radiating fin groups 5 and 25 including the predetermined number of second fins 5a and 25a. To do.
- the third radiating fin group 26 including a predetermined number of third fins 26 a is produced by fitting holes of the third fins 26 a into a predetermined heat pipe 23 positioned further on the leeward side.
- the cooling device of the present invention is manufactured by attaching the fins 4a, 5a, 24a, 25a, and 26a to the heat pipes 3 and 23 fixed to the heat receiving blocks 2 and 22.
- the cooling device 31 of the second embodiment includes a first radiating fin group 34 shown in FIG. 8A, a second radiating fin group 35 shown in FIG. 8B, and a third radiating fin shown in FIG.
- the groups 36 are respectively produced by extrusion molding using a mold. And each radiation fin group is fixed to the heat receiving block 32 surface in order of the 1st radiation fin group 34, the 2nd radiation fin group 35, and the 3rd radiation fin group 36 from the windward side of a cooling wind.
- the fixing means may be conventional means, for example, means for screwing the bottom surface portions 34c, 35c, 36c to the surface of the heat receiving block 32, or the like.
- each of the above embodiments two to three radiating fin groups are installed. However, four or more radiating fin groups may be installed depending on the cooling conditions and the like.
- the fins in the heat dissipating fin group are arranged at equal intervals, but the fin intervals may be appropriately changed. If the gap between the fins of the leeward radiating fin group is wider than the gap between the fins of the leeward radiating fin group, the cooling performance on the leeward side is improved even if the intervals between the fins are not equal.
- a heat pipe having a U-shape in side view is used, but an L-shape in side view may be used instead.
- the heat pipe is erected in the vertical direction with respect to the heat receiving block surface, but instead, the heat pipe is appropriately inclined with respect to the heat receiving block surface. You may stand upright.
- a predetermined angle for example, 5 to 5 with respect to the vertical direction of the surface of the heat receiving block so that the cooling part of the heat pipe is positioned higher than the heating part.
- a heat pipe may be installed with an inclination of 10 °. In this way, by providing the heat pipe with a predetermined inclination, it is possible to prevent a decrease in the heat transport amount of the heat pipe.
- the heat pipe is erected on the heat receiving block.
- the heat receiving block is erected on the heat receiving block.
- the provided cooling device 11 a columnar (for example, columnar) heat transfer block 13 made of a metal material (for example, aluminum) having excellent thermal conductivity is disposed on the heat receiving block 12 in a direction perpendicular to the surface of the heat receiving block 12.
- a plurality of first fins 14 a are attached to the heat transfer block 13 at a predetermined position in a direction parallel to the surface of the heat receiving block 12 to form the first heat radiation fin group 14.
- a plurality of second fins 15 a are attached to the heat transfer block 13 at a predetermined position in a direction parallel to the surface of the heat receiving block 12 to form the second heat radiation fin group 15.
- the heat released from the heating elements 150-1, 150-2, 150-3 and absorbed by the heat receiving block 12 is transmitted to the first fin 14a and the second fin 15a via the heat transfer block 13, It is discharged from the first fin 14a and the second fin 15a to the external environment.
- the cooling capacity is improved even if a columnar metal material having excellent thermal conductivity is used instead of the heat pipe.
- the heat pipe was erected in the perpendicular direction on the heat receiving block surface, it replaces with this, and as shown to Fig.12 (a) (b), it is on the heat receiving block side surface.
- a heat pipe may be attached. That is, in the cooling device 1 ′, a curved portion extending outward from the side surface on the side surface of the heat receiving block 2 ′, and a direction parallel to the surface of the heat receiving block 2 ′ from the curved portion toward the upper surface of the heat receiving block 2 ′ A plurality of J-shaped heat pipes 3 'having a straight line portion extending in front are provided.
- a plurality of first fins 4 a ′ are attached to the heat pipe 3 ′ at a predetermined position in the vertical direction with respect to the surface of the heat receiving block 2 ′ to form a first radiating fin group 4 ′.
- a plurality of second fins 5a ′ are attached to the heat pipe 3 ′ at a predetermined position in the vertical direction with respect to the surface of the heat receiving block 2 ′ to form a second heat radiation fin group 5 ′.
- the heat released from the heating elements 50'-1, 50'-2, 50'-3 and absorbed by the heat receiving block 2 ' is transferred to the first fin 4a' and the second fin via the heat pipe 3 '.
- the first fin 4a ′ and the second fin 5a ′ are not in contact with the surface of the heat receiving block 2 ′. Instead of this, all or part of the first fin 4a 'and the second fin 5a' may be in contact with the surface of the heat receiving block 2 '.
- heat is transferred to the first fin 4a' and the second fin 5a 'via the heat pipe 3'.
- the heat is transmitted from the heat receiving block 2 'directly to the first fin 4a' and the second fin 5a '.
- each radiating fin group has a structure in which a plurality of fins are erected on a flat bottom surface, and the bottom surface is in direct contact with the heat receiving block.
- a cooling device 31 ′ in which the fins and the heat receiving block are thermally connected by standing the fins directly on the surface of the heat receiving block may be used. That is, in the cooling device 31 ′, the first fin 34 a ′ of the first radiating fin group 34 ′ and the second fin 35 a ′ of the second radiating fin group 35 ′ are directly provided on the surface of the heat receiving block 32 ′.
- the method for fixing the first fin 34a 'and the second fin 35a' to the heat receiving block 32 ' is not particularly limited.
- a groove for fitting the first fin 34a 'and the second fin 35a' is formed on the surface of the heat receiving block 32 ', and the first fin 34a' and the second fin 35a 'are fitted in this groove, and the heat receiving blocks on both sides of each fin.
- the surface of 32 ' is pressed by a pressing jig and fixed by caulking.
- the heat released from the heat generating elements 350′-1, 350′-2, 350′-3 and absorbed by the heat receiving block 32 ′ is the first fin 34a ′ and the second fin 34a ′ in direct contact with the heat receiving block 32 ′. It is transmitted to the fins 35a 'and discharged from the first fins 34a' and the second fins 35a 'to the outside environment.
- the cooling capacity can be made uniform throughout the heat receiving block, so a large cooling device, for example, a railway
- the utility value is high in fields such as a cooling device that cools a heating element such as a power conversion device mounted on a vehicle by forced air cooling.
Landscapes
- Engineering & Computer Science (AREA)
- Physics & Mathematics (AREA)
- Thermal Sciences (AREA)
- Microelectronics & Electronic Packaging (AREA)
- General Engineering & Computer Science (AREA)
- Mechanical Engineering (AREA)
- Condensed Matter Physics & Semiconductors (AREA)
- Computer Hardware Design (AREA)
- Power Engineering (AREA)
- General Physics & Mathematics (AREA)
- Life Sciences & Earth Sciences (AREA)
- Sustainable Development (AREA)
- Chemical & Material Sciences (AREA)
- Materials Engineering (AREA)
- Geometry (AREA)
- Cooling Or The Like Of Electrical Apparatus (AREA)
- Cooling Or The Like Of Semiconductors Or Solid State Devices (AREA)
Priority Applications (3)
| Application Number | Priority Date | Filing Date | Title |
|---|---|---|---|
| CN201180023141.XA CN102884877B (zh) | 2010-05-18 | 2011-05-18 | 具有多个翅片间距的冷却装置 |
| EP11783574.4A EP2574159B1 (en) | 2010-05-18 | 2011-05-18 | Cooling device with a plurality of fin pitches |
| US13/698,639 US20130112373A1 (en) | 2010-05-18 | 2011-05-18 | Cooling device with a plurality of fin pitches |
Applications Claiming Priority (2)
| Application Number | Priority Date | Filing Date | Title |
|---|---|---|---|
| JP2010-114357 | 2010-05-18 | ||
| JP2010114357A JP4948625B2 (ja) | 2010-02-08 | 2010-05-18 | 複数のフィンピッチを有する冷却装置 |
Publications (1)
| Publication Number | Publication Date |
|---|---|
| WO2011145640A1 true WO2011145640A1 (ja) | 2011-11-24 |
Family
ID=44993229
Family Applications (1)
| Application Number | Title | Priority Date | Filing Date |
|---|---|---|---|
| PCT/JP2011/061365 Ceased WO2011145640A1 (ja) | 2010-05-18 | 2011-05-18 | 複数のフィンピッチを有する冷却装置 |
Country Status (5)
| Country | Link |
|---|---|
| US (1) | US20130112373A1 (enExample) |
| EP (1) | EP2574159B1 (enExample) |
| JP (1) | JP4948625B2 (enExample) |
| CN (1) | CN102884877B (enExample) |
| WO (1) | WO2011145640A1 (enExample) |
Cited By (11)
| Publication number | Priority date | Publication date | Assignee | Title |
|---|---|---|---|---|
| JP2014135350A (ja) * | 2013-01-09 | 2014-07-24 | Ntec Co Ltd | ヒートシンク |
| US10035713B2 (en) | 2013-12-18 | 2018-07-31 | Brita Lp | Filter housing for filter as you pour filtration |
| JPWO2018055923A1 (ja) * | 2016-09-23 | 2019-06-24 | 住友精密工業株式会社 | 冷却装置 |
| US10343931B2 (en) | 2015-09-30 | 2019-07-09 | Brita Lp | Filter cartridge placement in filter as you pour system |
| US10351442B2 (en) | 2013-12-18 | 2019-07-16 | Brita Lp | Flow control device for filter as you pour system |
| US10391427B2 (en) | 2015-09-30 | 2019-08-27 | Brita Lp | Filter design with interchangeable core cover |
| US10427951B2 (en) | 2015-08-20 | 2019-10-01 | Brita Lp | Water purification filter and system |
| US10654725B2 (en) | 2013-12-18 | 2020-05-19 | Brita Lp | Filter assembly for filter as you pour filtration |
| US10752516B2 (en) | 2013-12-18 | 2020-08-25 | Brita Lp | Method and apparatus for reservoir free and ventless water filtering |
| US10765973B2 (en) | 2015-09-30 | 2020-09-08 | Brita Lp | Filter core configuration |
| US11066311B2 (en) | 2013-12-18 | 2021-07-20 | Brita I.P | Method of using a filter media for filtration |
Families Citing this family (37)
| Publication number | Priority date | Publication date | Assignee | Title |
|---|---|---|---|---|
| JP5560182B2 (ja) * | 2010-12-27 | 2014-07-23 | 株式会社日立製作所 | 冷却装置およびそれを備えた電力変換装置 |
| JP5627632B2 (ja) * | 2012-04-18 | 2014-11-19 | 三菱電機株式会社 | 熱交換器およびヒートポンプ装置 |
| BR112015012939A2 (pt) | 2012-12-11 | 2017-07-11 | Furukawa Electric Co Ltd | aparelho de refrigeração |
| JP5654180B2 (ja) * | 2012-12-14 | 2015-01-14 | 古河電気工業株式会社 | 冷却装置 |
| JP6097648B2 (ja) * | 2013-07-10 | 2017-03-15 | 株式会社日立製作所 | 電力変換装置及びこれを搭載した鉄道車両 |
| CN103369932B (zh) * | 2013-07-16 | 2017-02-08 | 湖南智热技术股份有限公司 | 一种功率器件散热器的散热片排布方法及散热器 |
| CN103994674B (zh) * | 2014-06-04 | 2015-12-02 | 无锡杰尔压缩机有限公司 | 不等间距管片式热交换器 |
| US20150361922A1 (en) | 2014-06-13 | 2015-12-17 | Honeywell International Inc. | Heat exchanger designs using variable geometries and configurations |
| JPWO2015198642A1 (ja) * | 2014-06-23 | 2017-04-20 | 日本電気株式会社 | ヒートシンク及びヒートシンクを用いた放熱方法 |
| JP2016009003A (ja) * | 2014-06-23 | 2016-01-18 | 株式会社リコー | 冷却装置、画像投射装置、電子機器 |
| WO2016075742A1 (ja) * | 2014-11-10 | 2016-05-19 | 古河電気工業株式会社 | ヒートシンク |
| JP6447149B2 (ja) * | 2015-01-13 | 2019-01-09 | 富士通株式会社 | 熱交換器、冷却ユニット、及び電子機器 |
| JP2016178208A (ja) * | 2015-03-20 | 2016-10-06 | 日本電気株式会社 | ヒートシンク、放熱構造、冷却構造及び装置 |
| CN106304768A (zh) * | 2015-06-02 | 2017-01-04 | 中兴通讯股份有限公司 | 插箱及其插卡 |
| JP2017112151A (ja) * | 2015-12-14 | 2017-06-22 | 富士電機株式会社 | パワーユニットの冷却構造 |
| CN107105595A (zh) * | 2016-02-19 | 2017-08-29 | 恩佐科技股份有限公司 | 利用散热体排列达低风压需求、低噪音、高效能的散热器 |
| US10386124B2 (en) * | 2016-02-22 | 2019-08-20 | Kentuckiana Curb Company, Inc. | Dual pass opposed (reverse) flow cooling coil with improved performance |
| TWM526264U (zh) * | 2016-03-21 | 2016-07-21 | Taiwan Microloops Corp | 液冷式散熱裝置及其散熱結構 |
| CN107239120B (zh) | 2017-05-18 | 2021-11-30 | 北京嘉楠捷思信息技术有限公司 | 一种电子设备 |
| US10299365B1 (en) * | 2017-07-01 | 2019-05-21 | Juniper Networks, Inc | Apparatus, system, and method for improved cooling of computing components with heatsinks |
| JP6749293B2 (ja) * | 2017-08-09 | 2020-09-02 | ダイキン工業株式会社 | 冷凍装置の室外ユニット |
| CN109994442A (zh) * | 2017-12-29 | 2019-07-09 | 鸿富锦精密工业(武汉)有限公司 | 散热装置及应用所述散热装置的电子装置 |
| US10219365B1 (en) * | 2018-02-23 | 2019-02-26 | Quanta Computer Inc. | Bidirectional and uniform cooling for multiple components in a computing device |
| JP2019176594A (ja) * | 2018-03-28 | 2019-10-10 | 株式会社日立産機システム | 電力変換装置 |
| CN110608552A (zh) * | 2018-06-15 | 2019-12-24 | 杭州三花微通道换热器有限公司 | 换热系统 |
| JP2020040468A (ja) * | 2018-09-07 | 2020-03-19 | 株式会社デンソー | ヘッドアップディスプレイ装置 |
| WO2020170717A1 (ja) * | 2019-02-19 | 2020-08-27 | ソニー株式会社 | 光源装置および投射型表示装置 |
| CN111916410A (zh) * | 2019-05-10 | 2020-11-10 | 株洲中车时代电气股份有限公司 | 一种散热器 |
| CN110475466B (zh) * | 2019-09-23 | 2021-04-13 | 阳光电源股份有限公司 | 一种风冷散热器以及电气设备 |
| CN111442681B (zh) * | 2020-04-30 | 2025-04-11 | 大唐环境产业集团股份有限公司 | 一种翅片管及换热器 |
| EP3933435B1 (en) * | 2020-06-30 | 2025-10-08 | Leica Geosystems AG | Reality capture device with different climate zones for cooling |
| CN112588225A (zh) * | 2020-10-30 | 2021-04-02 | 浙江中科玖源新材料有限公司 | 一种釜内温度均衡的聚酰亚胺反应釜 |
| TWI812374B (zh) * | 2022-07-29 | 2023-08-11 | 艾姆勒科技股份有限公司 | 具有不等間距鰭片組的車用水冷散熱板、以及具有其的封閉式車用水冷散熱器 |
| TWI811045B (zh) * | 2022-07-29 | 2023-08-01 | 艾姆勒科技股份有限公司 | 具有不等表面積鰭片組的車用水冷散熱板、以及具有其的封閉式車用水冷散熱器 |
| US12194831B2 (en) * | 2022-10-11 | 2025-01-14 | Amulaire Thermal Technology, Inc. | Vehicle water-cooling heat sink plate having fin sets with different fin pitch distances |
| US11965702B1 (en) * | 2022-10-21 | 2024-04-23 | Amulaire Thermal Technology, Inc. | Low pressure drop automotive liquid-cooling heat dissipation plate and enclosed automotive liquid-cooling cooler having the same |
| KR102673363B1 (ko) * | 2023-07-24 | 2024-06-07 | 임종수 | 고성능 프로세서를 위한 냉각 구조 |
Citations (7)
| Publication number | Priority date | Publication date | Assignee | Title |
|---|---|---|---|---|
| JPH06276741A (ja) * | 1993-03-17 | 1994-09-30 | Toshiba Corp | 半導体素子用ヒートシンク |
| JPH09119785A (ja) | 1995-10-26 | 1997-05-06 | Furukawa Electric Co Ltd:The | 移動体における筐体内の電気部品冷却装置 |
| JP2000161880A (ja) * | 1998-11-26 | 2000-06-16 | Toshiba Corp | ヒートパイプ式冷却器 |
| JP2001024122A (ja) * | 1999-07-09 | 2001-01-26 | Mitsubishi Electric Corp | 発熱体の冷却装置 |
| JP2003188321A (ja) * | 2001-12-18 | 2003-07-04 | Furukawa Electric Co Ltd:The | ヒートシンク |
| JP2006024661A (ja) * | 2004-07-07 | 2006-01-26 | Hitachi Ltd | 冷却装置 |
| JP2007208116A (ja) * | 2006-02-03 | 2007-08-16 | Fuji Electric Systems Co Ltd | 風冷式冷却体 |
Family Cites Families (16)
| Publication number | Priority date | Publication date | Assignee | Title |
|---|---|---|---|---|
| US1911522A (en) * | 1933-05-30 | Unit heater | ||
| BE416338A (enExample) * | 1924-06-07 | |||
| US2512540A (en) * | 1945-02-19 | 1950-06-20 | Rue Gas Dev Ltd De | Heat exchanger |
| US2613065A (en) * | 1947-11-21 | 1952-10-07 | Chausson Usines Sa | Cooling radiator |
| US4049051A (en) * | 1974-07-22 | 1977-09-20 | The Garrett Corporation | Heat exchanger with variable thermal response core |
| US5437328A (en) * | 1994-04-21 | 1995-08-01 | International Business Machines Corporation | Multi-stage heat sink |
| JPH11121667A (ja) * | 1997-10-20 | 1999-04-30 | Fujitsu Ltd | ヒートパイプ式冷却装置 |
| US6935419B2 (en) * | 2002-02-20 | 2005-08-30 | Hewlett-Packard Development Company, L.P. | Heat sink apparatus with air duct |
| AU2002236332A1 (en) * | 2002-02-28 | 2003-09-09 | Lg Electronics Inc. | Heat exchanger for refrigerator |
| JP4043986B2 (ja) * | 2003-03-31 | 2008-02-06 | 古河電気工業株式会社 | 放熱フィンを備えたヒートシンクおよび放熱フィンの固定方法 |
| US7073573B2 (en) * | 2004-06-09 | 2006-07-11 | Honeywell International, Inc. | Decreased hot side fin density heat exchanger |
| TWI305131B (en) * | 2005-09-08 | 2009-01-01 | Ind Tech Res Inst | Heat dissipation device and composite material with high thermal conductivity |
| JP2008140831A (ja) * | 2006-11-30 | 2008-06-19 | Sumitomo Electric Ind Ltd | 放熱構造体 |
| CN101232793B (zh) * | 2007-01-23 | 2011-11-09 | 杨然森 | 用于电子元件的热传导散热装置 |
| CN201115204Y (zh) * | 2007-09-24 | 2008-09-10 | 王肇仁 | 改进的热管用散热鳍片 |
| CN101652053B (zh) * | 2008-08-13 | 2012-03-14 | 富准精密工业(深圳)有限公司 | 散热装置 |
-
2010
- 2010-05-18 JP JP2010114357A patent/JP4948625B2/ja active Active
-
2011
- 2011-05-18 US US13/698,639 patent/US20130112373A1/en not_active Abandoned
- 2011-05-18 CN CN201180023141.XA patent/CN102884877B/zh active Active
- 2011-05-18 WO PCT/JP2011/061365 patent/WO2011145640A1/ja not_active Ceased
- 2011-05-18 EP EP11783574.4A patent/EP2574159B1/en active Active
Patent Citations (7)
| Publication number | Priority date | Publication date | Assignee | Title |
|---|---|---|---|---|
| JPH06276741A (ja) * | 1993-03-17 | 1994-09-30 | Toshiba Corp | 半導体素子用ヒートシンク |
| JPH09119785A (ja) | 1995-10-26 | 1997-05-06 | Furukawa Electric Co Ltd:The | 移動体における筐体内の電気部品冷却装置 |
| JP2000161880A (ja) * | 1998-11-26 | 2000-06-16 | Toshiba Corp | ヒートパイプ式冷却器 |
| JP2001024122A (ja) * | 1999-07-09 | 2001-01-26 | Mitsubishi Electric Corp | 発熱体の冷却装置 |
| JP2003188321A (ja) * | 2001-12-18 | 2003-07-04 | Furukawa Electric Co Ltd:The | ヒートシンク |
| JP2006024661A (ja) * | 2004-07-07 | 2006-01-26 | Hitachi Ltd | 冷却装置 |
| JP2007208116A (ja) * | 2006-02-03 | 2007-08-16 | Fuji Electric Systems Co Ltd | 風冷式冷却体 |
Non-Patent Citations (1)
| Title |
|---|
| See also references of EP2574159A4 |
Cited By (18)
| Publication number | Priority date | Publication date | Assignee | Title |
|---|---|---|---|---|
| JP2014135350A (ja) * | 2013-01-09 | 2014-07-24 | Ntec Co Ltd | ヒートシンク |
| US11001508B2 (en) | 2013-12-18 | 2021-05-11 | Brita Lp | Filter housing for filter as you pour filtration |
| US11066311B2 (en) | 2013-12-18 | 2021-07-20 | Brita I.P | Method of using a filter media for filtration |
| US11407652B2 (en) | 2013-12-18 | 2022-08-09 | Brita Lp | Container for filter-as-you-pour system |
| US10035713B2 (en) | 2013-12-18 | 2018-07-31 | Brita Lp | Filter housing for filter as you pour filtration |
| US10351442B2 (en) | 2013-12-18 | 2019-07-16 | Brita Lp | Flow control device for filter as you pour system |
| US10654725B2 (en) | 2013-12-18 | 2020-05-19 | Brita Lp | Filter assembly for filter as you pour filtration |
| US10752516B2 (en) | 2013-12-18 | 2020-08-25 | Brita Lp | Method and apparatus for reservoir free and ventless water filtering |
| US10479697B2 (en) | 2013-12-18 | 2019-11-19 | Brita Lp | Container for filter-as-you-pour system |
| US10125027B2 (en) | 2013-12-18 | 2018-11-13 | Brita Lp | Lid for filter-as-you-pour container system |
| US10427951B2 (en) | 2015-08-20 | 2019-10-01 | Brita Lp | Water purification filter and system |
| US10391427B2 (en) | 2015-09-30 | 2019-08-27 | Brita Lp | Filter design with interchangeable core cover |
| US10343931B2 (en) | 2015-09-30 | 2019-07-09 | Brita Lp | Filter cartridge placement in filter as you pour system |
| US11045751B2 (en) | 2015-09-30 | 2021-06-29 | Brita Lp | Filter design with interchangeable core cover |
| US10765973B2 (en) | 2015-09-30 | 2020-09-08 | Brita Lp | Filter core configuration |
| US11174172B2 (en) | 2015-09-30 | 2021-11-16 | Brita Lp | Filter cartridge placement in filter as you pour system |
| US11284534B2 (en) | 2016-09-23 | 2022-03-22 | Sumitomo Precision Products Co., Ltd. | Cooling device |
| JPWO2018055923A1 (ja) * | 2016-09-23 | 2019-06-24 | 住友精密工業株式会社 | 冷却装置 |
Also Published As
| Publication number | Publication date |
|---|---|
| CN102884877A (zh) | 2013-01-16 |
| EP2574159B1 (en) | 2018-02-21 |
| JP2011181882A (ja) | 2011-09-15 |
| US20130112373A1 (en) | 2013-05-09 |
| JP4948625B2 (ja) | 2012-06-06 |
| EP2574159A1 (en) | 2013-03-27 |
| EP2574159A4 (en) | 2016-11-30 |
| CN102884877B (zh) | 2015-09-30 |
Similar Documents
| Publication | Publication Date | Title |
|---|---|---|
| JP4948625B2 (ja) | 複数のフィンピッチを有する冷却装置 | |
| CN103167780B (zh) | 功率模块用复合式散热器组件 | |
| US20080144279A1 (en) | Heat sink | |
| EP2825011B1 (en) | Traction converter and railway vehicle | |
| US20090180251A1 (en) | Multi-position housing made of metal extruded section member for manufacturing a waterproof power electronic device | |
| US20130058041A1 (en) | Semiconductor module and cooler | |
| JP4913333B2 (ja) | ヒートシンクおよび均一な冷却方法 | |
| JP5653950B2 (ja) | 冷却装置 | |
| JPWO2008035452A1 (ja) | 移動体用冷却装置 | |
| WO2016136194A1 (ja) | 電池モジュール | |
| US8558373B2 (en) | Heatsink, heatsink assembly, semiconductor module, and semiconductor device with cooling device | |
| CN108278581B (zh) | 一种led阵列模块的冷却结构 | |
| JP5930911B2 (ja) | 電力変換装置 | |
| CN203423886U (zh) | 散热模块 | |
| JP5653852B2 (ja) | 冷却装置 | |
| TW201433252A (zh) | 散熱裝置及其散熱件 | |
| JP5705570B2 (ja) | 電子部品冷却装置 | |
| KR101707241B1 (ko) | 차량용 열전발전장치 | |
| CN215336756U (zh) | 散热组件、散热器和空调室外机 | |
| CN214228719U (zh) | 高效散热模组 | |
| CN217685508U (zh) | 散热器及空调室外机 | |
| JP4462876B2 (ja) | ルーバー付き放熱フィンを備えるヒートシンク | |
| CN223437310U (zh) | 一种功率设备的散热系统 | |
| US20250024644A1 (en) | Heat sink with heat pipe for an electronic component and a corresponding assembly | |
| JP2002111259A (ja) | 電子機器の放熱器 |
Legal Events
| Date | Code | Title | Description |
|---|---|---|---|
| WWE | Wipo information: entry into national phase |
Ref document number: 201180023141.X Country of ref document: CN |
|
| 121 | Ep: the epo has been informed by wipo that ep was designated in this application |
Ref document number: 11783574 Country of ref document: EP Kind code of ref document: A1 |
|
| WWE | Wipo information: entry into national phase |
Ref document number: 2011783574 Country of ref document: EP |
|
| NENP | Non-entry into the national phase |
Ref country code: DE |
|
| WWE | Wipo information: entry into national phase |
Ref document number: 13698639 Country of ref document: US |