KR20110076868A - 분리 조건 및/또는 안전한 작업 범위 하에서의 c5 탄화수소가 없는 이소프렌의 제조 방법 및 조성물 - Google Patents

분리 조건 및/또는 안전한 작업 범위 하에서의 c5 탄화수소가 없는 이소프렌의 제조 방법 및 조성물 Download PDF

Info

Publication number
KR20110076868A
KR20110076868A KR1020117002773A KR20117002773A KR20110076868A KR 20110076868 A KR20110076868 A KR 20110076868A KR 1020117002773 A KR1020117002773 A KR 1020117002773A KR 20117002773 A KR20117002773 A KR 20117002773A KR 20110076868 A KR20110076868 A KR 20110076868A
Authority
KR
South Korea
Prior art keywords
isoprene
cells
cell
composition
methyl
Prior art date
Legal status (The legal status is an assumption and is not a legal conclusion. Google has not performed a legal analysis and makes no representation as to the accuracy of the status listed.)
Ceased
Application number
KR1020117002773A
Other languages
English (en)
Inventor
앤소니 루돌프 칼라브리아
마가렛 에이 서빈
고팔 케이 초타니
조셉 씨 맥컬리프
마이클 찰스 밀러
티모시 앨런 사보
에린 린 웹스터
칼 제이 샌포드
두카 리차드 라
그레고리 엠 화이티드
Original Assignee
다니스코 유에스 인크.
더 굿이어 타이어 앤드 러버 캄파니
Priority date (The priority date is an assumption and is not a legal conclusion. Google has not performed a legal analysis and makes no representation as to the accuracy of the date listed.)
Filing date
Publication date
Application filed by 다니스코 유에스 인크., 더 굿이어 타이어 앤드 러버 캄파니 filed Critical 다니스코 유에스 인크.
Publication of KR20110076868A publication Critical patent/KR20110076868A/ko
Ceased legal-status Critical Current

Links

Images

Classifications

    • CCHEMISTRY; METALLURGY
    • C12BIOCHEMISTRY; BEER; SPIRITS; WINE; VINEGAR; MICROBIOLOGY; ENZYMOLOGY; MUTATION OR GENETIC ENGINEERING
    • C12NMICROORGANISMS OR ENZYMES; COMPOSITIONS THEREOF; PROPAGATING, PRESERVING, OR MAINTAINING MICROORGANISMS; MUTATION OR GENETIC ENGINEERING; CULTURE MEDIA
    • C12N1/00Microorganisms, e.g. protozoa; Compositions thereof; Processes of propagating, maintaining or preserving microorganisms or compositions thereof; Processes of preparing or isolating a composition containing a microorganism; Culture media therefor
    • C12N1/20Bacteria; Culture media therefor
    • CCHEMISTRY; METALLURGY
    • C12BIOCHEMISTRY; BEER; SPIRITS; WINE; VINEGAR; MICROBIOLOGY; ENZYMOLOGY; MUTATION OR GENETIC ENGINEERING
    • C12PFERMENTATION OR ENZYME-USING PROCESSES TO SYNTHESISE A DESIRED CHEMICAL COMPOUND OR COMPOSITION OR TO SEPARATE OPTICAL ISOMERS FROM A RACEMIC MIXTURE
    • C12P5/00Preparation of hydrocarbons or halogenated hydrocarbons
    • C12P5/007Preparation of hydrocarbons or halogenated hydrocarbons containing one or more isoprene units, i.e. terpenes
    • CCHEMISTRY; METALLURGY
    • C07ORGANIC CHEMISTRY
    • C07CACYCLIC OR CARBOCYCLIC COMPOUNDS
    • C07C11/00Aliphatic unsaturated hydrocarbons
    • C07C11/12Alkadienes
    • C07C11/173Alkadienes with five carbon atoms
    • C07C11/18Isoprene
    • CCHEMISTRY; METALLURGY
    • C12BIOCHEMISTRY; BEER; SPIRITS; WINE; VINEGAR; MICROBIOLOGY; ENZYMOLOGY; MUTATION OR GENETIC ENGINEERING
    • C12NMICROORGANISMS OR ENZYMES; COMPOSITIONS THEREOF; PROPAGATING, PRESERVING, OR MAINTAINING MICROORGANISMS; MUTATION OR GENETIC ENGINEERING; CULTURE MEDIA
    • C12N15/00Mutation or genetic engineering; DNA or RNA concerning genetic engineering, vectors, e.g. plasmids, or their isolation, preparation or purification; Use of hosts therefor
    • C12N15/09Recombinant DNA-technology
    • C12N15/11DNA or RNA fragments; Modified forms thereof; Non-coding nucleic acids having a biological activity
    • C12N15/52Genes encoding for enzymes or proenzymes
    • CCHEMISTRY; METALLURGY
    • C12BIOCHEMISTRY; BEER; SPIRITS; WINE; VINEGAR; MICROBIOLOGY; ENZYMOLOGY; MUTATION OR GENETIC ENGINEERING
    • C12NMICROORGANISMS OR ENZYMES; COMPOSITIONS THEREOF; PROPAGATING, PRESERVING, OR MAINTAINING MICROORGANISMS; MUTATION OR GENETIC ENGINEERING; CULTURE MEDIA
    • C12N15/00Mutation or genetic engineering; DNA or RNA concerning genetic engineering, vectors, e.g. plasmids, or their isolation, preparation or purification; Use of hosts therefor
    • C12N15/09Recombinant DNA-technology
    • C12N15/63Introduction of foreign genetic material using vectors; Vectors; Use of hosts therefor; Regulation of expression
    • CCHEMISTRY; METALLURGY
    • C12BIOCHEMISTRY; BEER; SPIRITS; WINE; VINEGAR; MICROBIOLOGY; ENZYMOLOGY; MUTATION OR GENETIC ENGINEERING
    • C12NMICROORGANISMS OR ENZYMES; COMPOSITIONS THEREOF; PROPAGATING, PRESERVING, OR MAINTAINING MICROORGANISMS; MUTATION OR GENETIC ENGINEERING; CULTURE MEDIA
    • C12N15/00Mutation or genetic engineering; DNA or RNA concerning genetic engineering, vectors, e.g. plasmids, or their isolation, preparation or purification; Use of hosts therefor
    • C12N15/09Recombinant DNA-technology
    • C12N15/63Introduction of foreign genetic material using vectors; Vectors; Use of hosts therefor; Regulation of expression
    • C12N15/70Vectors or expression systems specially adapted for E. coli
    • CCHEMISTRY; METALLURGY
    • C12BIOCHEMISTRY; BEER; SPIRITS; WINE; VINEGAR; MICROBIOLOGY; ENZYMOLOGY; MUTATION OR GENETIC ENGINEERING
    • C12NMICROORGANISMS OR ENZYMES; COMPOSITIONS THEREOF; PROPAGATING, PRESERVING, OR MAINTAINING MICROORGANISMS; MUTATION OR GENETIC ENGINEERING; CULTURE MEDIA
    • C12N15/00Mutation or genetic engineering; DNA or RNA concerning genetic engineering, vectors, e.g. plasmids, or their isolation, preparation or purification; Use of hosts therefor
    • C12N15/09Recombinant DNA-technology
    • C12N15/63Introduction of foreign genetic material using vectors; Vectors; Use of hosts therefor; Regulation of expression
    • C12N15/74Vectors or expression systems specially adapted for prokaryotic hosts other than E. coli, e.g. Lactobacillus, Micromonospora
    • CCHEMISTRY; METALLURGY
    • C12BIOCHEMISTRY; BEER; SPIRITS; WINE; VINEGAR; MICROBIOLOGY; ENZYMOLOGY; MUTATION OR GENETIC ENGINEERING
    • C12NMICROORGANISMS OR ENZYMES; COMPOSITIONS THEREOF; PROPAGATING, PRESERVING, OR MAINTAINING MICROORGANISMS; MUTATION OR GENETIC ENGINEERING; CULTURE MEDIA
    • C12N15/00Mutation or genetic engineering; DNA or RNA concerning genetic engineering, vectors, e.g. plasmids, or their isolation, preparation or purification; Use of hosts therefor
    • C12N15/09Recombinant DNA-technology
    • C12N15/63Introduction of foreign genetic material using vectors; Vectors; Use of hosts therefor; Regulation of expression
    • C12N15/74Vectors or expression systems specially adapted for prokaryotic hosts other than E. coli, e.g. Lactobacillus, Micromonospora
    • C12N15/75Vectors or expression systems specially adapted for prokaryotic hosts other than E. coli, e.g. Lactobacillus, Micromonospora for Bacillus
    • CCHEMISTRY; METALLURGY
    • C12BIOCHEMISTRY; BEER; SPIRITS; WINE; VINEGAR; MICROBIOLOGY; ENZYMOLOGY; MUTATION OR GENETIC ENGINEERING
    • C12NMICROORGANISMS OR ENZYMES; COMPOSITIONS THEREOF; PROPAGATING, PRESERVING, OR MAINTAINING MICROORGANISMS; MUTATION OR GENETIC ENGINEERING; CULTURE MEDIA
    • C12N15/00Mutation or genetic engineering; DNA or RNA concerning genetic engineering, vectors, e.g. plasmids, or their isolation, preparation or purification; Use of hosts therefor
    • C12N15/09Recombinant DNA-technology
    • C12N15/63Introduction of foreign genetic material using vectors; Vectors; Use of hosts therefor; Regulation of expression
    • C12N15/79Vectors or expression systems specially adapted for eukaryotic hosts
    • C12N15/80Vectors or expression systems specially adapted for eukaryotic hosts for fungi
    • CCHEMISTRY; METALLURGY
    • C12BIOCHEMISTRY; BEER; SPIRITS; WINE; VINEGAR; MICROBIOLOGY; ENZYMOLOGY; MUTATION OR GENETIC ENGINEERING
    • C12NMICROORGANISMS OR ENZYMES; COMPOSITIONS THEREOF; PROPAGATING, PRESERVING, OR MAINTAINING MICROORGANISMS; MUTATION OR GENETIC ENGINEERING; CULTURE MEDIA
    • C12N9/00Enzymes; Proenzymes; Compositions thereof; Processes for preparing, activating, inhibiting, separating or purifying enzymes
    • C12N9/88Lyases (4.)
    • CCHEMISTRY; METALLURGY
    • C12BIOCHEMISTRY; BEER; SPIRITS; WINE; VINEGAR; MICROBIOLOGY; ENZYMOLOGY; MUTATION OR GENETIC ENGINEERING
    • C12PFERMENTATION OR ENZYME-USING PROCESSES TO SYNTHESISE A DESIRED CHEMICAL COMPOUND OR COMPOSITION OR TO SEPARATE OPTICAL ISOMERS FROM A RACEMIC MIXTURE
    • C12P5/00Preparation of hydrocarbons or halogenated hydrocarbons
    • C12P5/02Preparation of hydrocarbons or halogenated hydrocarbons acyclic
    • CCHEMISTRY; METALLURGY
    • C12BIOCHEMISTRY; BEER; SPIRITS; WINE; VINEGAR; MICROBIOLOGY; ENZYMOLOGY; MUTATION OR GENETIC ENGINEERING
    • C12YENZYMES
    • C12Y402/00Carbon-oxygen lyases (4.2)
    • C12Y402/03Carbon-oxygen lyases (4.2) acting on phosphates (4.2.3)
    • C12Y402/03027Isoprene synthase (4.2.3.27)
    • YGENERAL TAGGING OF NEW TECHNOLOGICAL DEVELOPMENTS; GENERAL TAGGING OF CROSS-SECTIONAL TECHNOLOGIES SPANNING OVER SEVERAL SECTIONS OF THE IPC; TECHNICAL SUBJECTS COVERED BY FORMER USPC CROSS-REFERENCE ART COLLECTIONS [XRACs] AND DIGESTS
    • Y02TECHNOLOGIES OR APPLICATIONS FOR MITIGATION OR ADAPTATION AGAINST CLIMATE CHANGE
    • Y02EREDUCTION OF GREENHOUSE GAS [GHG] EMISSIONS, RELATED TO ENERGY GENERATION, TRANSMISSION OR DISTRIBUTION
    • Y02E50/00Technologies for the production of fuel of non-fossil origin
    • Y02E50/30Fuel from waste, e.g. synthetic alcohol or diesel

Landscapes

  • Health & Medical Sciences (AREA)
  • Life Sciences & Earth Sciences (AREA)
  • Genetics & Genomics (AREA)
  • Chemical & Material Sciences (AREA)
  • Engineering & Computer Science (AREA)
  • Organic Chemistry (AREA)
  • Zoology (AREA)
  • Wood Science & Technology (AREA)
  • Bioinformatics & Cheminformatics (AREA)
  • General Engineering & Computer Science (AREA)
  • Biotechnology (AREA)
  • Biomedical Technology (AREA)
  • General Health & Medical Sciences (AREA)
  • Biochemistry (AREA)
  • Microbiology (AREA)
  • Molecular Biology (AREA)
  • Physics & Mathematics (AREA)
  • Biophysics (AREA)
  • Plant Pathology (AREA)
  • General Chemical & Material Sciences (AREA)
  • Chemical Kinetics & Catalysis (AREA)
  • Medicinal Chemistry (AREA)
  • Mycology (AREA)
  • Tropical Medicine & Parasitology (AREA)
  • Virology (AREA)
  • Preparation Of Compounds By Using Micro-Organisms (AREA)
  • Micro-Organisms Or Cultivation Processes Thereof (AREA)

Abstract

본 발명은 세포가 정지상에 있는, 배양된 세포로부터의 이소프렌의 제조 방법을 특징으로 한다. 본 발명은 또한 배양된 세포 및/또는 증가된 양의 이소프렌을 포함하는 조성물을 제공한다. 본 발명은 또한 기상 내에 불연성 농도의 이소프렌을 포함하는 시스템을 제공한다. 부가적으로는, 본 발명은 이소프렌 조성물, 예컨대 증가된 양의 이소프렌 또는 증가된 순도를 갖는 조성물을 제공한다.

Description

분리 조건 및/또는 안전한 작업 범위 하에서의 C5 탄화수소가 없는 이소프렌의 제조 방법 및 조성물 {COMPOSITIONS AND METHODS FOR PRODUCING ISOPRENE FREE OF C5 HYDROCARBONS UNDER DECOUPLING CONDITIONS AND/OR SAFE OPERATING RANGES}
관련 출원에 대한 상호 참조
본 출원은 각각의 내용이 전체가 참조로서 본원에 인용되어 있는 2008 년 7 월 2 일에 출원된 미국 가출원 61/134,094 호, 2008 년 7 월 2 일에 출원된 미국 가출원 61/133,947 호 및 2008 년 7 월 2 일에 출원된 미국 가출원 61/134,011 호의 우선권을 주장한다.
이소프렌 (2-메틸-1,3-부타디엔) 은 다양한 합성 중합체, 특히 현저하게는 합성 고무에 대한 중요한 원료이다. 이소프렌은 다양한 미생물, 식물 및 동물 종에 의해 자연적으로 생성된다. 특히, 이소프렌의 생합성에 대해서는 하기 2 가지 경로: 메발로네이트 (MVA) 경로 및 비-메발로네이트 (DXP) 경로 (도 19) 가 밝혀졌다. 그러나, 자연 발생적 유기체로부터의 이소프렌의 수율은 상업적으로는 매력이 없다. 연간 약 800,000 톤의 시스-폴리이소프렌이 이소프렌 중합으로부터 제조되고, 이들 폴리이소프렌 대부분은 타이어 및 고무 산업에서 사용된다. 이소프렌은 또한 신발, 기계 제품, 의료 제품, 스포츠 용품 및 라텍스와 같은 다른 제품에서 합성 엘라스토머로서 사용하기 위해 공중합된다.
현재, 타이어 및 고무 산업은 천연 및 합성 고무의 사용에 기반을 두고 있다. 천연 고무는 고무나무 또는 아프리카의 우림지역에서 발견되는 식물의 유액즙으로부터 수득된다. 합성 고무는 주로 부타디엔 중합체를 기초로 한다. 상기 중합체의 경우, 부타디엔은 에틸렌 및 프로필렌 제조로부터 조-생성물로서 수득된다.
이소프렌은 석유 분별에 의해 수득될 수 있지만, 상기 물질의 정제는 값비싸고 시간 소모적이다. 탄화수소의 C5 스트림의 석유 열분해로는 오직 약 15% 이소프렌 만을 생성한다. 그러므로, 더욱 경제적인 이소프렌의 제조 방법이 필요하다. 특히, 이소프렌을 탄탄한 상업 공정의 요구를 충족시키기에 충분한 속도, 적정농도 및 순도로 생성하는 방법이 요망된다. 또한 값싼 원료로부터 이소프렌을 제조하기 위한 시스템이 요망된다.
발명의 요약
하나의 양상에서, 본 발명은 이소프렌을 제조하는 배양물 내 세포에 관한 것이다. 일부 구현예에서, 본 발명은 약 400 nmole 초과의 이소프렌/세포의 습윤 중량에 대한 세포 g/시간 (nmole/gwcm/hr) 의 이소프렌을 생성하는 배양물 내 세포를 제공한다. 일부 구현예에서, 세포는 (i) 이소프렌 합성효소 폴리펩티드를 코딩하고, (ii) 프로모터에 작동가능하게 연결된 이종 핵산을 갖는다. 일부 구현예에서, 세포는 탄수화물, 글리세롤, 글리세린, 디히드록시아세톤, 일-탄소원, 오일, 동물 지방, 동물 오일, 지방산, 지질, 인지질, 글리세롤지질, 모노글리세라이드, 디글리세라이드, 트리글리세라이드, 재생가능 탄소원, 폴리펩티드 (예를 들어, 미생물 또는 식물 단백질 또는 펩티드), 효모 추출물, 효모 추출물로부터의 성분, 또는 상기 둘 이상의 임의의 조합과 같은 탄소원을 제한 없이 포함하는 배양 배지에서 배양된다. 일부 구현예에서, 세포는 제한된 글루코오스 조건 하에서 배양된다.
일부 구현예에서, 본 발명은 세포 배양 배지 내 탄소의 약 0.002% 초과를 이소프렌으로 전환시키는 배양물 내 세포를 제공한다. 일부 구현예에서, 세포는 (i) 이소프렌 합성효소 폴리펩티드를 코딩하고, (ii) 프로모터에 작동가능하게 연결된 이종 핵산을 갖는다. 일부 구현예에서, 세포는 탄수화물, 글리세롤, 글리세린, 디히드록시아세톤, 일-탄소원, 오일, 동물 지방, 동물 오일, 지방산, 지질, 인지질, 글리세롤지질, 모노글리세라이드, 디글리세라이드, 트리글리세라이드, 재생가능 탄소원, 폴리펩티드 (예를 들어, 미생물 또는 식물 단백질 또는 펩티드), 효모 추출물, 효모 추출물로부터의 성분, 또는 상기 둘 이상의 임의의 조합과 같은 탄소원을 제한 없이 포함하는 배양 배지에서 배양된다. 일부 구현예에서, 세포는 제한된 글루코오스 조건 하에서 배양된다.
일부 구현예에서, 본 발명은 이소프렌 합성효소 폴리펩티드를 코딩하는 이종 핵산을 포함하는 배양물 내 세포를 제공한다. 일부 구현예에서, 세포는 (i) 이소프렌 합성효소 폴리펩티드를 코딩하고, (ii) 프로모터에 작동가능하게 연결된 이종 핵산을 갖는다. 일부 구현예에서, 세포는 탄수화물, 글리세롤, 글리세린, 디히드록시아세톤, 일-탄소원, 오일, 동물 지방, 동물 오일, 지방산, 지질, 인지질, 글리세롤지질, 모노글리세라이드, 디글리세라이드, 트리글리세라이드, 재생가능 탄소원, 폴리펩티드 (예를 들어, 미생물 또는 식물 단백질 또는 펩티드), 효모 추출물, 효모 추출물로부터의 성분, 또는 상기 둘 이상의 임의의 조합과 같은 탄소원을 제한 없이 포함하는 배양 배지에서 배양된다. 일부 구현예에서, 세포는 제한된 글루코오스 조건 하에서 배양된다.
하나의 양상에서, 본 발명은 이소프렌 제조를 위해 본원에 기재된 임의의 세포를 사용하는 방법과 같은 이소프렌의 제조 방법을 특징으로 한다. 일부 구현예에서, 본 방법은 약 400 nmole/gwcm/hr 초과의 이소프렌을 제조하기에 충분한 조건 하에서의 세포의 배양을 포함한다. 일부 구현예에서, 본 방법은 또한 세포에 의해 제조된 이소프렌의 회수를 포함한다. 일부 구현예에서, 본 방법은 세포에 의해 제조된 이소프렌의 정제를 포함한다. 일부 구현예에서, 본 방법은 이소프렌의 중합을 포함한다. 일부 구현예에서, 세포는 (i) 이소프렌 합성효소 폴리펩티드를 코딩하고, (ii) 프로모터에 작동가능하게 연결된 이종 핵산을 갖는다. 일부 구현예에서, 세포는 탄수화물, 글리세롤, 글리세린, 디히드록시아세톤, 일-탄소원, 오일, 동물 지방, 동물 오일, 지방산, 지질, 인지질, 글리세롤지질, 모노글리세라이드, 디글리세라이드, 트리글리세라이드, 재생가능 탄소원, 폴리펩티드 (예를 들어, 미생물 또는 식물 단백질 또는 펩티드), 효모 추출물, 효모 추출물로부터의 성분, 또는 상기 둘 이상의 임의의 조합과 같은 탄소원을 제한 없이 포함하는 배양 배지에서 배양된다. 일부 구현예에서, 세포는 제한된 글루코오스 조건 하에서 배양된다. 다양한 구현예에서, 정지상 동안 제조된 이소프렌의 양 (예컨대, OD60O 당 시간당 브로쓰 1 리터 당 제조된 이소프렌의 양 또는 제조된 이소프렌의 총 양) 은 동일한 시간 동안의 성장상 동안 제조된 이소프렌의 양의 약 2 배 이상이다. 일부 구현예에서, 기상은 약 9.5 % (부피) 이상의 산소를 포함하고, 기상 내 이소프렌의 농도는 연소 하한계 미만 또는 연소 상한계 초과이다. 특정 구현예에서, (i) 기상 내 이소프렌의 농도는 연소 하한계 미만 또는 연소 상한계 초과이고, (ii) 세포는 약 400 nmole/gwcm/hr 초과의 이소프렌을 제조한다.
일부 구현예에서, 본 방법은 세포 배양 배지 내 탄소의 약 0.002% (mol/mol) 초과를 이소프렌으로 전환시키는데 충분한 조건 하에서의 세포의 배양을 포함한다. 일부 구현예에서, 본 방법은 또한 세포에 의해 제조된 이소프렌의 회수를 포함한다. 일부 구현예에서, 본 방법은 세포에 의해 제조된 이소프렌의 정제를 포함한다. 일부 구현예에서, 본 방법은 이소프렌의 중합을 포함한다. 일부 구현예에서, 세포는 (i) 이소프렌 합성효소 폴리펩티드를 코딩하고, (ii) 프로모터에 작동가능하게 연결된 이종 핵산을 갖는다. 일부 구현예에서, 세포는 탄수화물, 글리세롤, 글리세린, 디히드록시아세톤, 일-탄소원, 오일, 동물 지방, 동물 오일, 지방산, 지질, 인지질, 글리세롤지질, 모노글리세라이드, 디글리세라이드, 트리글리세라이드, 재생가능 탄소원, 폴리펩티드 (예를 들어, 미생물 또는 식물 단백질 또는 펩티드), 효모 추출물, 효모 추출물로부터의 성분, 또는 상기 둘 이상의 임의의 조합과 같은 탄소원을 제한 없이 포함하는 배양 배지에서 배양된다. 일부 구현예에서, 세포는 제한된 글루코오스 조건 하에서 배양된다.
일부 구현예에서, 이소프렌은 오직 정지상에서만 제조된다. 일부 구현예에서, 이소프렌은 성장상 및 정지상 모두에서 제조된다. 다양한 구현예에서, 정지상 동안 제조된 이소프렌의 양 (예컨대, OD60O 당 시간당 브로쓰 1 리터 당 제조된 이소프렌의 양 또는 제조된 이소프렌의 총 양) 은 동일한 시간 동안의 성장상 동안 제조된 이소프렌의 양의 약 2, 3, 4, 5, 10, 20, 30, 40, 50 배 이상 또는 그 이상의 배수이다.
하나의 양상에서, 본 발명은 이소프렌을 포함하는 조성물 및 시스템을 특징으로 한다. 일부 구현예에서, 본 조성물은 약 2, 5, 10, 20, 30, 40, 50, 60, 70, 80, 90, 100, 200, 300, 400, 500, 600, 700, 800, 900, 또는 1000 mg 이상의 이소프렌을 포함한다. 일부 구현예에서, 본 조성물은 조성물의 휘발성 유기 분획의 약 2, 5, 10, 20, 30, 40, 50, 60, 70, 80, 90, 100 g 이상의 이소프렌(w/w) 을 포함한다.
일부 구현예에서, 본 조성물은 조성물 내 모든 C5 탄화수소의 총 중량에 대해 약 99.90, 99.92, 99.94, 99.96, 99.98, 또는 100 중량% 이상의 이소프렌을 포함한다. 일부 구현예에서, 본 조성물은 조성물 내 모든 C5 탄화수소의 총 중량에 대해 약 0.12, 0.10, 0.08, 0.06, 0.04, 0.02, 0.01, 0.005, 0.001, 0.0005, 0.0001, 0.00005, 또는 0.00001 중량% 이하의 이소프렌 이외의 C5 탄화수소 (예컨대 1,3-시클로펜타디엔, 시스-1,3-펜타디엔, 트랜스-1,3-펜타디엔, 1-펜틴, 2-펜틴, 1-펜텐, 2-메틸-1-부텐, 3-메틸-1-부틴, 트랜스-피페릴렌, 시스-피페릴렌, 펜트-4-엔-1-인, 트랜스-펜트-3-엔-1-인, 또는 시스-펜트-3-엔-1-인) 를 포함한다. 일부 구현예에서, 본 조성물은 조성물 내 모든 C5 탄화수소의 총 중량에 대해 약 0.12, 0.10, 0.08, 0.06, 0.04, 0.02, 0.01, 0.005, 0.001, 0.0005, 0.0001, 0.00005, 또는 0.00001 중량% 미만의 1,3-시클로펜타디엔, 시스-1,3-펜타디엔, 트랜스-1,3-펜타디엔, 1-펜틴, 2-펜틴, 1-펜텐, 2-메틸-1-부텐, 3-메틸-1-부틴, 트랜 -피페릴렌, 시스-피페릴렌, 펜트-4-엔-1-인, 트랜스-펜트-3-엔-1-인, 또는 시스-펜트-3-엔-1-인을 갖는다. 특정 구현예에서, 본 조성물은 약 2 mg 초과의 이소프렌을 갖고, 조성물 내 모든 C5 탄화수소의 총 중량에 대해 약 99.90, 99.92, 99.94, 99.96, 99.98, 또는 100 중량% 이상의 이소프렌을 갖는다.
일부 구현예에서, 본 조성물은 이소프렌의 중합을 억제하는 조성물 내 임의의 화합물에 대해 이소프렌의 중합을 억제하는 화합물을 약 50, 40, 30, 20, 10, 5, 1, 0.5, 0.1, 0.05, 0.01, 또는 0.005 ug/L 이하로 갖는다. 특정 구현예에서, 본 조성물은 또한 약 2 mg 초과의 이소프렌을 갖는다.
일부 구현예에서, 본 조성물은 에탄올, 아세톤, C5 프레닐 알코올, 및 탄소수 10 이상의 이소프레노이드 화합물로 이루어지는 군으로부터 선택되는 하나 이상의 화합물을 갖는다. 일부 구현예에서, 본 조성물은 약 0.005, 0.01, 0.05, 0.1, 0.5, 1, 5, 10, 20, 30, 40, 60, 80, 100, 또는 120 ug/L 이상의 에탄올, 아세톤, C5 프레닐 알코올 (예컨대, 3-메틸-3-부텐-1-올 또는 3-메틸-2-부텐-1-올), 또는 상기 중 임의의 2 개 이상을 갖는다. 특정 구현예에서, 조성물은 약 2 mg 초과의 이소프렌을 갖고, 에탄올, 아세톤, C5 프레닐 알코올, 및 탄소수 10 이상의 이소프레노이드 화합물로 이루어지는 군으로부터 선택되는 하나 이상의 화합물을 갖는다.
일부 구현예에서, 본 조성물은 이소프렌 및, 2-헵타논, 6-메틸-5-헵텐-2-온, 2,4,5-트리메틸피리딘, 2,3,5-트리메틸피라진, 시트로넬랄, 아세트알데하이드, 메탄티올, 메틸 아세테이트, 1-프로판올, 디아세틸, 2-부타논, 2-메틸-3-부텐-2-올, 에틸 아세테이트, 2-메틸-1-프로판올, 3-메틸-1-부타날, 3-메틸-2-부타논, 1-부탄올, 2-펜타논, 3-메틸-1-부탄올, 에틸 이소부티레이트, 3-메틸-2-부테날, 부틸 아세테이트, 3-메틸부틸 아세테이트, 3-메틸-3-부트-1-에닐 아세테이트, 3-메틸-2-부트-1-에닐 아세테이트, (E)-3,7-디메틸-1,3,6-옥타트리엔, (Z)-3,7-디메틸-1,3,6-옥타트리엔, 및 2,3-시클로헵텐올피리딘으로 이루어지는 군으로부터 선택되는 하나 이상의 제 2 화합물을 포함한다. 다양한 구현예에서, 중량% 단위의 이소프렌 양에 대한 상기 제 2 성분 중 하나의 양 (즉, 성분의 중량을 이소프렌 중량으로 나누고 100 을 곱함) 은 약 0.01, 0.02, 0.05, 0.1, 0.5, 1, 5, 10, 20, 30, 40, 50, 60, 70, 80, 90, 100, 또는 110% (w/w) 이상이다.
일부 구현예에서, 본 조성물은 (i) 이소프렌을 포함하는 기상 및 (ii) 약 400 nmole/gwcm/hr 초과의 이소프렌을 제조하는 배양물 내 세포를 포함한다. 일부 구현예에서, 본 조성물은 폐쇄계를 포함하고, 1 시간 동안 배양된 1 OD600 1 mL 로 표준화되었을 때 기상은 약 5, 10, 20, 30, 40, 50, 60, 70, 80, 90, 100 ug/L 이상의 이소프렌을 포함한다. 일부 구현예에서, 본 조성물은 개방계를 포함하고, 1 vvm 의 속도로 살포되었을 때 기상은 약 5, 10, 20, 30, 40, 50, 60, 70, 80, 90, 100 ug/L 이상의 이소프렌을 포함한다. 일부 구현예에서, 기상의 휘발성 유기 분획은 휘발성 유기 분획 내 모든 C5 탄화수소의 총 중량에 대해 약 99.90, 99.92, 99.94, 99.96, 99.98, 또는 100 중량% 이상의 이소프렌을 포함한다. 일부 구현예에서, 기상의 휘발성 유기 분획은 휘발성 유기 분획 내 모든 C5 탄화수소의 총 중량에 대해 약 0.12, 0.10, 0.08, 0.06, 0.04, 0.02, 0.01, 0.005, 0.001, 0.0005, 0.0001, 0.00005, 또는 0.00001 중량% 이하의 이소프렌 이외의 C5 탄화수소 (예컨대, 1,3-시클로펜타디엔, 시스-1,3-펜타디엔, 트랜스-1,3-펜타디엔, 1-펜틴, 2-펜틴, 1-펜텐, 2-메틸-1-부텐, 3-메틸-1-부틴, 트랜스-피페릴렌, 시스-피페릴렌, 펜트-4-엔-1-인, 트랜스-펜트-3-엔-1-인, 또는 시스-펜트-3-엔-1-인) 를 포함한다. 일부 구현예에서, 기상의 휘발성 유기 분획은 휘발성 유기 분획 내 모든 C5 탄화수소의 총 중량에 대해 약 0.12, 0.10, 0.08, 0.06, 0.04, 0.02, 0.01, 0.005, 0.001, 0.0005, 0.0001, 0.00005, 또는 0.00001 중량% 이하의 1,3-시클로펜타디엔, 시스-1,3-펜타디엔, 트랜스-1,3-펜타디엔, 1-펜틴, 2-펜틴, 1-펜텐, 2-메틸-1-부텐, 3-메틸-1-부틴, 트랜스-피페릴렌, 시스-피페릴렌, 펜트-4-엔-1-인, 트랜스-펜트-3-엔-1-인, 또는 시스-펜트-3-엔-1-인을 갖는다. 특정 구현예에서, 기상의 휘발성 유기 분획은 약 2 mg 초과의 이소프렌을 갖고, 휘발성 유기 분획 내 모든 C5 탄화수소의 총 중량에 대해 약 99.90, 99.92, 99.94, 99.96, 99.98, 또는 100 중량% 이상의 이소프렌을 갖는다.
일부 구현예에서, 기상의 휘발성 유기 분획은 이소프렌의 중합을 억제하는 기상의 휘발성 유기 분획 내 임의의 화합물에 대해 이소프렌의 중합을 억제하는 화합물을 약 50, 40, 30, 20, 10, 5, 1, 0.5, 0.1, 0.05, 0.01, 또는 0.005 ug/L 이하로 갖는다. 특정 구현예에서, 기상의 휘발성 유기 분획은 또한 약 2 mg 초과의 이소프렌을 갖는다.
일부 구현예에서, 기상의 휘발성 유기 분획은 에탄올, 아세톤, C5 프레닐 알코올, 및 탄소수 10 이상의 이소프레노이드 화합물로 이루어지는 군으로부터 선택되는 하나 이상의 화합물을 갖는다. 일부 구현예에서, 기상의 휘발성 유기 분획은 약 0.005, 0.01, 0.05, 0.1, 0.5, 1, 5, 10, 20, 30, 40, 60, 80, 100, 또는 120 ug/L 이상의 에탄올, 아세톤, C5 프레닐 알코올 (예컨대, 3-메틸-3-부텐-1-올 또는 3-메틸-2-부텐-1-올), 또는 상기 중 임의의 2 개 이상을 갖는다. 특정 구현예에서, 기상의 휘발성 유기 분획은 약 2 mg 초과의 이소프렌을 갖고, 에탄올, 아세톤, C5 프레닐 알코올, 및 탄소수 10 이상의 이소프레노이드 화합물로 이루어지는 군으로부터 선택되는 하나 이상의 화합물을 갖는다.
일부 구현예에서, 기상의 휘발성 유기 분획은 이소프렌 및, 2-헵타논, 6-메틸-5-헵텐-2-온, 2,4,5-트리메틸피리딘, 2,3,5-트리메틸피라진, 시트로넬랄, 아세트알데하이드, 메탄티올, 메틸 아세테이트, 1-프로판올, 디아세틸, 2-부타논, 2- 메틸-3-부텐-2-올, 에틸 아세테이트, 2-메틸-1-프로판올, 3-메틸-1-부타날, 3-메틸-2-부타논, 1-부탄올, 2-펜타논, 3-메틸-1-부탄올, 에틸 이소부티레이트, 3-메틸-2-부테날, 부틸 아세테이트, 3-메틸부틸 아세테이트, 3-메틸-3-부트-1-에닐 아세테이트, 3-메틸-2-부트-1-에닐 아세테이트, (E)-3,7-디메틸-1,3,6-옥타트리엔, (Z)-3,7-디메틸-1,3,6-옥타트리엔, 및 2,3-시클로헵텐올피리딘으로 이루어지는 군으로부터 선택되는 하나 이상의 제 2 화합물을 포함한다. 다양한 구현예에서, 기상의 휘발성 유기 분획 내, 중량% 단위의 이소프렌 양에 대한 상기 제 2 성분 중 하나의 양 (즉, 성분의 중량을 이소프렌 중량으로 나누고 100 을 곱함) 은 약 0.01, 0.02, 0.05, 0.1, 0.5, 1, 5, 10, 20, 30, 40, 50, 60, 70, 80, 90, 100, 또는 110% (w/w) 이상이다.
본 발명의 임의의 조성물의 일부 구현예에서, 이소프렌의 일부 이상은 기상에 있다. 일부 구현예에서, 이소프렌의 일부 이상은 액상 (예컨대 응축물) 에 있다. 일부 구현예에서, 이소프렌의 일부 이상은 고상에 있다. 일부 구현예에서, 이소프렌의 일부 이상은 고체 지지체, 예컨대 실리카 및/또는 활성 탄소를 포함하는 지지체에 흡착된다. 일부 구현예에서, 조성물은 에탄올을 포함한다. 일부 구현예에서, 조성물은 약 75 내지 약 90 중량% 의 에탄올, 예컨대 약 75 내지 약 80 중량%, 약 80 내지 약 85 중량%, 또는 약 85 내지 약 90 중량% 의 에탄올을 포함한다. 일부 구현예에서, 조성물은 약 4 내지 약 15 중량% 의 이소프렌, 예컨대 약 4 내지 약 8 중량%, 약 8 내지 약 12 중량%, 또는 약 12 내지 약 15 중량% 의 이소프렌을 포함한다.
일부 구현예에서, 본 발명은 또한 본원에 기재된 임의의 세포 및/또는 조성물을 포함하는 시스템을 특징으로 한다. 일부 구현예에서, 시스템은 챔버가 약 400, 500, 600, 700, 800, 900, 1,000, 1,250, 1,500, 1,750, 2,000, 2,500, 3,000, 4,000, 5,000 nmole/gwcm/hr 이상의 이소프렌을 제조하는 배양물 내 세포를 포함하는 반응기를 포함한다. 일부 구현예에서, 시스템은 폐쇄계가 아니다. 일부 구현예에서, 이소프렌의 일부 이상은 시스템으로부터 제거된다. 일부 구현예에서, 시스템은 이소프렌을 포함하는 기상을 포함한다. 다양한 구현예에서, 기상은 본원에 기재된 임의의 조성물을 포함한다.
하나의 양상에서, 본 발명은 폴리이소프렌을 포함하는 타이어를 제공한다. 일부 구현예에서, 폴리이소프렌은 (i) 본원에 기재된 임의의 조성물 내에서 이소프렌을 중합함 또는 (ii) 본원에 기재된 임의의 조성물로부터 회수된 이소프렌을 중합함으로써 제조된다. 일부 구현예에서, 폴리이소프렌은 시스-1,4-폴리이소프렌을 포함한다.
본 발명의 임의의 조성물, 시스템 및 방법의 일부 구현예에서, 기상에서 불연성 농도의 이소프렌이 제조된다. 일부 구현예에서, 기상은 약 9.5 % (부피) 미만의 산소를 포함한다. 일부 구현예에서, 기상은 약 9.5 % (부피) 이상의 산소를 포함하고, 기상 내 이소프렌의 농도는 연소 하한계 미만 또는 연소 상한계 초과이다. 일부 구현예에서, 이소프렌 외의 기상의 부분은 약 0% 내지 약 100% (부피) 산소, 예컨대 약 10% 내지 약 100% (부피) 산소를 포함한다. 일부 구현예에서, 이소프렌 외의 기상의 부분은 약 0% 내지 약 99% (부피) 질소를 포함한다. 일부 구현예에서, 이소프렌 외의 기상의 부분은 약 1% 내지 약 50% (부피) CO2 를 포함한다.
본 발명의 임의의 양상의 일부 구현예에서, 배양물 내 세포는 이소프렌을 약 400, 500, 600, 700, 800, 900, 1,000, 1,250, 1,500, 1,750, 2,000, 2,500, 3,000, 4,000, 5,000 nmole/gwcm/hr 이상의 이소프렌으로 제조한다. 본 발명의 임의의 양상의 일부 구현예에서, 배양물 내 세포는 세포 배양 배지 내 탄소의 약 0.002, 0.005, 0.01, 0.02, 0.05, 0.1, 0.12, 0.14, 0.16, 0.2, 0.3, 0.4, 0.5, 0.6, 0.7, 0.8, 0.9, 1.0, 1.2, 1.4, 1.6% 이상을 이소프렌으로 전환시킨다. 본 발명의 임의의 양상의 일부 구현예에서, 배양물 내 세포는 이소프렌을 약 1, 10, 25, 50, 100, 150, 200, 250, 300, 400, 500, 600, 700, 800, 900, 1,000, 1,250, 1,500, 1,750, 2,000, 2,500, 3,000, 4,000, 5,000, 10,000, 100,000 이상의, 이소프렌 ng/세포의 습윤 중량에 대한 세포 g/hr (ng/gwcm/h) 으로 제조한다. 본 발명의 임의의 양상의 일부 구현예에서, 배양물 내 세포는 이소프렌의 누적 적정농도 (총 양) 를 약 1, 10, 25, 50, 100, 150, 200, 250, 300, 400, 500, 600, 700, 800, 900, 1,000, 1,250, 1,500, 1,750, 2,000, 2,500, 3,000, 4,000, 5,000, 10,000, 50,000, 100,000 이상의, 이소프렌 mg/브로쓰 L (mg/L브로쓰, 브로쓰의 부피에는 세포 및 세포 배지의 부피가 포함된다) 로 제조한다. 다른 예시적인 이소프렌 제조 속도 및 이소프렌 제조 총량이 본원에 기재된다.
본 발명의 임의의 양상의 일부 구현예에서, 세포는 IDI 폴리펩티드를 코딩하는 이종 핵산을 추가로 포함한다. 본 발명의 임의의 양상의 일부 구현예에서, 세포는 IDI 폴리펩티드를 코딩하는 내생 핵산의 카피의 삽입을 추가로 포함한다. 본 발명의 임의의 양상의 일부 구현예에서, 세포는 DXS 폴리펩티드를 코딩하는 이종 핵산을 추가로 포함한다. 본 발명의 임의의 양상의 일부 구현예에서, 세포는 DXS 폴리펩티드를 코딩하는 내생 핵산의 카피의 삽입을 추가로 포함한다. 본 발명의 임의의 양상의 일부 구현예에서, 세포는 IDI 폴리펩티드 및 DXS 폴리펩티드를 코딩하는 하나 이상의 핵산을 추가로 포함한다. 본 발명의 임의의 양상의 일부 구현예에서, 하나의 핵산이 이소프렌 합성효소 폴리펩티드, IDI 폴리펩티드, 및 DXS 폴리펩티드를 코딩한다. 본 발명의 임의의 양상의 일부 구현예에서, 하나의 벡터가 이소프렌 합성효소 폴리펩티드, IDI 폴리펩티드, 및 DXS 폴리펩티드를 코딩한다. 일부 구현예에서, 벡터는 선별 마커, 예컨대 항생제 내성 핵산을 포함한다.
본 발명의 임의의 양상의 일부 구현예에서, 이종 이소프렌 합성효소 핵산은 T7 프로모터, 예컨대 중 또는 고 카피 플라스미드에 함유된 T7 프로모터에 작동가능하게 연결된다. 본 발명의 임의의 양상의 일부 구현예에서, 이종 이소프렌 합성효소 핵산은 Trc 프로모터, 예컨대 중 또는 고 카피 플라스미드에 함유된 Trc 프로모터에 작동가능하게 연결된다. 본 발명의 임의의 양상의 일부 구현예에서, 이종 이소프렌 합성효소 핵산은 Lac 프로모터, 예컨대 저 카피 플라스미드에 함유된 Lac 프로모터에 작동가능하게 연결된다. 본 발명의 임의의 양상의 일부 구현예에서, 이종 이소프렌 합성효소 핵산은 내생 프로모터, 예컨대 내생 알칼리 세린 프로테아제 프로모터에 작동가능하게 연결된다. 일부 구현예에서, 이종 이소프렌 합성효소 핵산은 선별 마커 없이 세포의 염색체 내에 통합된다.
일부 구현예에서, 하나 이상의 MVA 경로, IDI, DXP, 또는 이소프렌 합성효소 핵산은 성장상에서보다 정지상에서 더욱 활성인 인자 또는 프로모터의 통제 하에 놓인다. 예를 들어, 하나 이상의 MVA 경로, IDI, DXP, 또는 이소프렌 합성효소 핵산은 정지상 시그마 인자, 예컨대 RpoS 의 통제 하에 놓일 수 있다. 일부 구현예에서, 하나 이상의 MVA 경로, IDI, DXP, 또는 이소프렌 합성효소 핵산은 정지상에서 유도가능한 프로모터, 예컨대 정지상에서 활성인 반응 조절자에 의해 유도가능한 프로모터의 통제 하에 놓인다.
본 발명의 임의의 양상의 일부 구현예에서, 세포의 일부 이상은 이종 이소프렌 합성효소 핵산을 약 5, 10, 20, 40, 50, 60, 65 이상의, 연속 배양물 내 세포 분열 (예컨대 희석 없는 연속 배양물) 동안 유지한다. 본 발명의 임의의 양상의 일부 구현예에서, 이소프렌 합성효소, IDI, 또는 DXS 핵산을 포함하는 핵산은 또한 선별 마커, 예컨대 항생제 내성 핵산을 포함한다.
본 발명의 임의의 양상의 일부 구현예에서, 세포는 MVA 경로 폴리펩티드 (예컨대, 사카로마이세스 세레비지아 (Saccharomyces cerevisia) 또는 엔테로코쿠스 파에칼리스 (Enterococcus faecalis) 로부터의 MVA 경로 폴리펩티드) 를 코딩하는 이종 핵산을 추가로 포함한다. 본 발명의 임의의 양상의 일부 구현예에서, 세포는 MVA 경로 폴리펩티드 (예컨대, 사카로마이세스 세레비지아 (Saccharomyces cerevisia) 또는 엔테로코쿠스 파에칼리스 (Enterococcus faecalis) 로부터의 MVA 경로 폴리펩티드) 를 코딩하는 내생 핵산의 카피의 삽입을 추가로 포함한다. 본 발명의 임의의 양상의 일부 구현예에서, 세포는 이소프렌 합성효소, DXS, 및 MVA 경로 핵산을 포함한다. 본 발명의 임의의 양상의 일부 구현예에서, 세포는 이소프렌 합성효소 핵산, DXS 핵산, IDI 핵산, 및 MVA 경로 핵 (IDI 핵산 외에) 을 포함한다.
본 발명의 임의의 양상의 일부 구현예에서, 이소프렌 합성효소 폴리펩티드는 푸에라리아 (Pueraria) (예를 들어, 푸에라리아 몬타나 (Pueraria montana) 또는 푸에라리아 로바타 (Pueraria lobata)) 와 같은 식물로부터의 자연 발생적 폴리펩티드이다.
본 발명의 임의의 양상의 일부 구현예에서, 세포는 박테리아 세포, 예컨대 그람-양성 박테리아 세포 (예를 들어, 바실러스 (Bacillus) 세포, 예컨대 바실러스 서브틸리스 (Bacillus subtilis) 세포 또는 스트렙토마이세스 (Streptomyces) 세포, 예컨대 스트렙토마이세스 리비단스 (Streptomyces lividans), 스트렙토마이세스 코엘리콜로르 (Streptomyces coelicolor), 또는 스트렙토마이세스 그리세우스 (Streptomyces griseus) 세포) 이다. 본 발명의 임의의 양상의 일부 구현예에서, 세포는 그람-음성 박테리아 세포 (예를 들어, 에스케리챠 (Escherichia) 세포, 예컨대 에스케리챠 콜라이 (Escherichia coli) 세포 또는 판토에아 (Pantoea) 세포, 예컨대 판토에아 시트레아 (Pantoea citrea) 세포) 이다. 본 발명의 임의의 양상의 일부 구현예에서, 세포는 진균 세포, 예컨대 사상 진균 세포 (예를 들어, 트리코데르마 (Trichoderma) 세포, 예컨대 트리코데르마 레에세이 (Trichoderma reesei) 세포 또는 아스페르길루스 (Aspergillus) 세포, 예컨대 아스페르길루스 오리자에 (Aspergillus oryzae) 및 아스페르길루스 니게르 (Aspergillus niger)) 또는 효모 세포 (예를 들어, 야로이야 (Yarrowia) 세포, 예컨대 야로이야 리폴라이티카 (Yarrowia lipolytica) 세포) 이다.
본 발명의 임의의 양상의 일부 구현예에서, 미생물 폴리펩티드 탄소원은 효모 또는 박테리아로부터 하나 이상의 폴리펩티드를 포함한다. 본 발명의 임의의 양상의 일부 구현예에서, 식물 폴리펩티드 탄소원은 대두, 옥수수, 카놀라, 야트로파, 야자, 땅콩, 해바라기, 코코넛, 머스타드, 평지씨, 면화씨, 야자핵, 올리브, 잇꽃, 참깨, 또는 아마씨로부터 하나 이상의 폴리펩티드를 포함한다.
하나의 양상에서, 본 발명은 본 발명의 방법 또는 임의의 조성물에 의해 제조된 생성물을 특징으로 한다.
도 1 은 E. 콜라이 (E. coli) 내 발현에 최적화된 kudzu 이소프렌 합성효소 유전자 코돈의 뉴클레오티드 서열이다 (SEQ ID NO:1). atg 출발 코돈은 이탤릭체로 되어 있고, 정지 코돈은 굵은체로, 부가된 PstI 부위는 밑줄쳐 있다.
도 2 는 pTrcKudzu 의 맵이다.
도 3 은 pTrcKudzu 의 뉴클레오티드 서열이다 (SEQ ID NO:2). RBS 는 밑줄 쳐있고, kudzu 이소프렌 합성효소 출발 코돈은 굵은 대문자이고, 정지 코돈은 굵은, 대문자, 이탤릭체이다. 벡터 백본은 pTrcHis2B 이다.
도 4 는 pETNHisKudzu 의 맵이다.
도 5 는 pETNHisKudzu 의 뉴클레오티드 서열이다 (SEQ ID NO:5).
도 6 은 pCL-lac-Kudzu 의 맵이다.
도 7 은 pCL-lac-Kudzu 의 뉴클레오티드 서열이다 (SEQ ID NO:7).
도 8A 는 벡터가 없는 E. 콜라이 BL21 세포에서의 이소프렌의 제조를 나타내는 그래프이다.
도 8B 는 pCL-lac-Kudzu 가 있는 E. 콜라이 BL21 세포에서의 이소프렌의 제조를 나타내는 그래프이다.
도 8C 는 pTrcKudzu 가 있는 E. 콜라이 BL21 세포에서의 이소프렌의 제조를 나타내는 그래프이다.
도 8D 는 pETN-HisKudzu 가 있는 E. 콜라이 BL21 세포에서의 이소프렌의 제조를 나타내는 그래프이다.
도 9A 는 14 리터 공급 배치 발효에서의 E. 콜라이 BL21/pTrcKudzu 의 발효 시간에 걸친 OD 를 나타내는 그래프이다.
도 9B 는 14 리터 공급 배치 발효에서의 E. 콜라이 BL21/pTrcKudzu 의 발효 시간에 걸친 이소프렌 제조를 나타내는 그래프이다.
도 10A 는 판테오아 시트레아 (Panteoa citrea) 에서의 이소프렌의 제조를 나타내는 그래프이다. 대조군 세포는 재조합 kudzu 이소프렌 합성효소가 없다. 회색 다이아몬드는 이소프렌 합성을 나타내고, 검은색 사각형은 OD600 을 나타낸다.
도 10B 는 pCL-lac Kudzu 를 발현하는 판테오아 시트레아 (Panteoa citrea) 에서의 이소프렌의 제조를 나타내는 그래프이다. 회색 다이아몬드는 이소프렌 합성을 나타내고, 검은색 사각형은 OD600 을 나타낸다.
도 10C 는 pTrcKudzu 를 발현하는 판테오아 시트레아 (Panteoa citrea) 에서의 이소프렌의 제조를 나타내는 그래프이다. 회색 다이아몬드는 이소프렌 합성을 나타내고, 검은색 사각형은 OD600 을 나타낸다.
도 11 은 재조합 이소프렌 합성효소를 발현하는 바실러스 서브틸리스 (Bacillus subtilis) 에서의 이소프렌의 제조를 나타내는 그래프이다. BG3594comK 는 플라스미드 (본래 이소프렌 제조) 가 없는 B. 서브틸리스 균주이다. CF443-BG3594comK 는 pBSKudzu (재조합 이소프렌 제조) 를 가진 B. 서브틸리스 균주이다. y-축 상의 IS 는 이소프렌을 나타낸다.
도 12 는 pBS Kudzu #2 의 뉴클레오티드 서열이다 (SEQ ID NO:57).
도 13 은 야로이야 (Yarrowia) 내 발현에 최적화된 kudzu 이소프렌 합성효소 코돈의 뉴클레오티드 서열이다 (SEQ ID NO: 8).
도 14 는 야로이야 (Yarrowia) 내 발현에 최적화된 kudzu 이소프렌 합성효소 유전자 코돈을 포함하는 pTrex3g 의 맵이다.
도 15 는 벡터 pSPZ1(MAP29Spb) 의 뉴클레오티드 서열이다 (SEQ ID NO:11).
도 16 은 야로이야 (Yarrowia) 내 발현에 최적화된 합성 kudzu (푸에라리아 몬타나 (Pueraria montana)) 이소프렌 유전자 코돈의 뉴클레오티드 서열이다 (SEQ ID NO: 12).
도 17 은 합성 혼성 포플러 (포풀러스 알바 x 포풀러스 트레물라 (Populus alba x Populus tremula)) 이소프렌 합성효소 유전자의 뉴클레오티드 서열이다 (SEQ ID NO: 13). ATG 출발 코돈은 굵은체로, 정지 코돈은 밑줄쳐있다.
도 18A 는 벡터 pYLA 1, pYL1 및 pYL2 의 도식적 구축 개요를 보여준다.
도 18B 는 벡터 pYLA(POP1) 의 도식적 구축 개요를 보여준다.
도 18C 는 벡터 pYLA(KZ1) 의 도식적 구축 개요를 보여준다.
도 18D 는 벡터 pYLI(KZ1) 의 도식적 구축 개요를 보여준다.
도 18E 는 벡터 pYLI(MAP29) 의 도식적 구축 개요를 보여준다.
도 18F 는 벡터 pYLA(MAP29) 의 도식적 구축 개요를 보여준다.
도 19 는 이소프렌에 대한 MVA 및 DXP 대사 경로를 보여준다 (F. Bouvier et al., Progress in Lipid Res. 44: 357-429, 2005 에 근거함). 하기 설명에는 경로 내 각각의 폴리펩티드에 대한 대안적인 명칭 및 표시된 폴리펩티드의 활성을 측정하기 위한 어세이를 설명한 참조가 포함된다 (이들 참조 각각은 그 전체가 참조로서 본원에 각각 인용됨, 특히 MVA 및 DXP 경로 내 폴리펩티드에 대한 폴리펩티드 활성에 대한 어세이에 대해). 메발로네이트 경로: AACT; 아세틸-CoA 아세틸트랜스페라아제, MvaE, EC 2.3.1.9. Assay: J. Bacteriol., 184: 2116-2122, 2002; HMGS ; 히드록시메틸글루타릴-CoA 합성효소, MvaS, EC 2.3.3.10. Assay: J. Bacteriol., 184: 4065-4070, 2002; HMGR; 3-히드록시-3-메틸글루타릴-CoA 리덕타아제, MvaE, EC 1.1.1.34. Assay: J. Bacteriol., 184: 2116-2122, 2002; MVK; 메발로네이트 키나아제, ERG12, EC 2.7.1.36. Assay: Curr Genet 19:9-14, 1991. PMK; 포스포메발로네이트 키나아제, ERG8, EC 2.7.4.2, Assay: Mol Cell Biol, 11:620-631, 1991; DPMDC; 디포스포메발로네이트 데카르복실라아제, MVD1, EC 4.1.1.33. Assay: Biochemistry, 33:13355-13362, 1994; IDI; 이소펜테닐-디포스페이트 델타-이소머라아제, IDI1, EC 5.3.3.2. Assay: J. Biol. Chem. 264:19169-19175, 1989. DXP 경로: DXS; 1-데옥시자일룰로오스-5-포스페이트 합성효소, dxs, EC 2.2.1.7. Assay: PNAS, 94:12857-62, 1997; DXR; 1-데옥시-D-자일룰로오스 5-포스페이트 리덕토이소머라아제, dxr, EC 2.2.1.7. Assay: Eur. J. Biochem. 269:4446-4457, 2002; MCT; 4-디포스포시티딜-2C-메틸-D-에리트리톨 합성효소, IspD, EC 2.7.7.60. Assay: PNAS, 97: 6451-6456, 2000; CMK; 4-디포스포시티딜-2-C-메틸-D-에리트리톨 키나아제, IspE, EC 2.7.1.148. Assay: PNAS, 97:1062-1067, 2000; MCS; 2C-메틸-D-에리트리톨 2,4-시클로디포스페이트 합성효소, IspF, EC 4.6.1.12. Assay: PNAS, 96:11758-11763, 1999; HDS; 1-히드록시-2-메틸-2-(E)-부테닐 4-디포스페이트 합성효소, ispG, EC 1.17.4.3. Assay: J. Org. Chem., 70:9168-9174, 2005; HDR; 1-히드록시-2-메틸-2-(E)-부테닐 4-디포스페이트 리덕타아제, IspH, EC 1.17.1.2. Assay: JACS, 126:12847-12855, 2004.
도 20 은 kudzu 이소프렌 합성효소 유전자가 없는 (좌측) 또는 있는 (우측) 재조합 Y. 리포라이티카 (lipolytica) 균주에 의한 이소프렌 제조의 GC-MS 분석 결과를 나타내는 그래프를 보여준다. 화살표는 진정한 이소프렌 표준의 용리 시간을 나타낸다.
도 21 은 pTrcKudzu yIDI DXS Kan 의 맵이다.
도 22 는 pTrcKudzu yIDI DXS Kan 의 뉴클레오티드 서열이다 (SEQ ID NO:20).
도 23A 는 BL21/pTrcKudzukan 에서 글루코오스로부터 이소프렌의 제조를 보여주는 그래프이다. 시간 0 은 IPTG (400 ㎛ol) 로의 유도 시간이다. x-축은 유도 후 시간이고; y-축은 OD600 이고, y2-축은 이소프렌의 총 생산성 (㎍/L 상부공간) 또는 특이적 생산성 (㎍/L 상부공간/OD) 이다. 다이아몬드는 OD600 을 나타내고, 원형은 총 이소프렌 생산성 (㎍/L) 을 나타내고, 사각형은 이소프렌의 특이적 생산성 (㎍/L/OD) 을 나타낸다.
도 23B 는 BL21/pTrcKudzu yIDI kan 에서 글루코오스로부터 이소프렌의 제조를 보여주는 그래프이다. 시간 0 은 IPTG (400 ㎛ol) 로의 유도 시간이다. x-축은 유도 후 시간이고; y-축은 OD600 이고, y2-축은 이소프렌의 총 생산성 (㎍/L 상부공간) 또는 특이적 생산성 (㎍/L 상부공간/OD) 이다. 다이아몬드는 OD600 을 나타내고, 원형은 총 이소프렌 생산성 (㎍/L) 을 나타내고, 사각형은 이소프렌의 특이적 생산성 (㎍/L/OD) 을 나타낸다.
도 23C 는 BL21/pTrcKudzu DXS kan 에서 글루코오스로부터 이소프렌의 제조를 보여주는 그래프이다. 시간 0 은 IPTG (400 ㎛ol) 로의 유도 시간이다. x-축은 유도 후 시간이고; y-축은 OD600 이고, y2-축은 이소프렌의 총 생산성 (㎍/L 상부공간) 또는 특이적 생산성 (㎍/L 상부공간/OD) 이다. 다이아몬드는 OD600 을 나타내고, 원형은 총 이소프렌 생산성 (㎍/L) 을 나타내고, 사각형은 이소프렌의 특이적 생산성 (㎍/L/OD) 을 나타낸다.
도 23D 는 BL21/pTrcKudzu yIDI DXS kan 에서 글루코오스로부터 이소프렌의 제조를 보여주는 그래프이다. 시간 0 은 IPTG (400 ㎛ol) 로의 유도 시간이다. x-축은 유도 후 시간이고; y-축은 OD600 이고, y2-축은 이소프렌의 총 생산성 (㎍/L 상부공간) 또는 특이적 생산성 (㎍/L 상부공간/OD) 이다. 다이아몬드는 OD600 을 나타내고, 원형은 총 이소프렌 생산성 (㎍/L) 을 나타내고, 사각형은 이소프렌의 특이적 생산성 (㎍/L/OD) 을 나타낸다.
도 23E 는 BL21/pCL PtrcKudzu 에서 글루코오스로부터 이소프렌의 제조를 보여주는 그래프이다. 시간 0 은 IPTG (400 ㎛ol) 로의 유도 시간이다. x-축은 유도 후 시간이고; y-축은 OD600 이고, y2-축은 이소프렌의 총 생산성 (㎍/L 상부공간) 또는 특이적 생산성 (㎍/L 상부공간/OD) 이다. 다이아몬드는 OD600 을 나타내고, 원형은 총 이소프렌 생산성 (㎍/L) 을 나타내고, 사각형은 이소프렌의 특이적 생산성 (㎍/L/OD) 을 나타낸다.
도 23F 는 BL21/pCL PtrcKudzu yIDI 에서 글루코오스로부터 이소프렌의 제조를 보여주는 그래프이다. 시간 0 은 IPTG (400 ㎛ol) 로의 유도 시간이다. x-축은 유도 후 시간이고; y-축은 OD600 이고, y2-축은 이소프렌의 총 생산성 (㎍/L 상부공간) 또는 특이적 생산성 (㎍/L 상부공간/OD) 이다. 다이아몬드는 OD600 을 나타내고, 원형은 총 이소프렌 생산성 (㎍/L) 을 나타내고, 사각형은 이소프렌의 특이적 생산성 (㎍/L/OD) 을 나타낸다.
도 23G 는 BL21/pCL PtrcKudzu DXS 에서 글루코오스로부터 이소프렌의 제조를 보여주는 그래프이다. 시간 0 은 IPTG (400 ㎛ol) 로의 유도 시간이다. x-축은 유도 후 시간이고; y-축은 OD600 이고, y2-축은 이소프렌의 총 생산성 (㎍/L 상부공간) 또는 특이적 생산성 (㎍/L 상부공간/OD) 이다. 다이아몬드는 OD600 을 나타내고, 원형은 총 이소프렌 생산성 (㎍/L) 을 나타내고, 사각형은 이소프렌의 특이적 생산성 (㎍/L/OD) 을 나타낸다.
도 23H 는 BL21/pTrcKudzuIDIDXSkan 에서 글루코오스로부터 이소프렌의 제조를 보여주는 그래프이다. 화살표는 IPTG (400 ㎛ol) 로의 유도 시간을 나타낸다. x-축은 유도 후 시간이고; y-축은 OD600 이고, y2-축은 이소프렌의 총 생산성 (㎍/L 상부공간) 또는 특이적 생산성 (㎍/L 상부공간/OD) 이다. 검은색 다이아몬드는 OD600 을 나타내고, 검은색 삼각형은 이소프렌 생산성 (㎍/L) 을 나타내고, 흰색 사각형은 이소프렌의 특이적 생산성 (㎍/L/OD) 을 나타낸다.
도 24 는 pTrcKKDyIkIS kan 의 맵이다.
도 25 는 pTrcKKDyIkIS kan 의 뉴클레오티드 서열이다 (SEQ ID NO:33).
도 26 은 pCL PtrcUpperPathway 의 맵이다.
도 27A-27D 는 pCL PtrcUpperPathway 의 뉴클레오티드 서열이다 (SEQ ID NO:46).
도 28 은 하위 MVA 경로 및 nprE 유전자좌에서 B. 서브틸리스 염색체 내로의 통합을 위한 효모 idi 를 함유하는 카세트의 맵을 보여준다. nprE 상류방향/하류방향은 통합을 위한 nprE 유전자좌로부터의 서열 1 kb 각각을 나타낸다. aprE 프로모터 (알칼리 세린 프로테아제 프로모터) 는 aprE 유전자의 프로모터 (-35, -10, +1 전사 시작 부위, RBS) 를 나타낸다. MVK1 은 효모 메발로네이트 키나아제 유전자를 나타낸다. RBS-PMK 는 시작 부위의 바실러스 RBS 상류방향을 갖는 효모 포스포메발로네이트 키나아제 유전자를 나타낸다. RBS-MPD 는 시작 부위의 바실러스 RBS 상류방향을 갖는 효모 디포스포메발로네이트 데카르복실라아제 유전자를 나타낸다. RBS-IDI 는 시작 부위의 바실러스 RBS 상류방향을 갖는 효모 idi 유전자를 나타낸다. 터미네이터는 B. 아밀리퀘파시엔스 (amyliquefaciens) 로부터의 터미네이터 알칼리 세린 프로테아제 전사 터미네이터를 나타낸다. SpecR 은 스펙티노마이신 내성 마커를 나타낸다. "amp 에 대한 nprE 상류방향 반복" 은 증폭을 위해 사용되는 상류방향 영역의 직접적 반복을 나타낸다.
도 29 는 하위 MVA 경로 및 nprE 유전자좌에서 B. 서브틸리스 염색체 내로의 통합을 위한 효모 idi 를 함유하는 카세트의 뉴클레오티드 서열이다 (SEQ ID NO:47).
도 30 은 p9796-poplar 의 맵이다.
도 31 은 p9796-poplar 의 뉴클레오티드 서열이다 (SEQ ID NO:48).
도 32 는 pTrcPoplar 의 맵이다.
도 33 은 pTrcPoplar 의 뉴클레오티드 서열이다 (SEQ ID NO:49).
도 34 는 pTrcKudzu yIDI Kan 의 맵이다.
도 35 는 pTrcKudzu yIDI Kan 의 뉴클레오티드 서열이다 (SEQ ID NO: 50).
도 36 은 pTrcKudzuDXS Kan 의 맵이다.
도 37 은 pTrcKudzuDXS Kan 의 뉴클레오티드 서열이다 (SEQ ID NO: 51).
도 38 은 pCL PtrcKudzu 의 맵이다.
도 39 는 pCL PtrcKudzu 의 뉴클레오티드 서열이다 (SEQ ID NO:52).
도 40 은 pCL PtrcKudzu A3 의 맵이다.
도 41 은 pCL PtrcKudzu A3 의 뉴클레오티드 서열이다 (SEQ ID NO:53).
도 42 는 pCL PtrcKudzu yIDI 의 맵이다.
도 43 은 pCL PtrcKudzu yIDI 의 뉴클레오티드 서열이다 (SEQ ID NO:54).
도 44 는 pCL PtrcKudzu DXS 의 맵이다.
도 45 는 pCL PtrcKudzu DXS 의 뉴클레오티드 서열이다 (SEQ ID NO:55).
도 46 은 바이오매스 공급원료로부터의 이소프렌 제조를 나타내는 그래프를 보여준다. 페널 A 는 옥수수 대로부터의 이소프렌 제조를 보여주고, 패널 B 는 버개스 (bagasse) 로부터의 이소프렌 제조를 보여주고, 패널 C 는 침엽수 펄프로부터의 이소프렌 제조를 보여주고, 패널 D 는 글루코오스로부터의 이소프렌 제조를 보여주고, 패널 E 는 부가적인 공급원료가 없는 세포로부터의 이소프렌 제조를 보여준다. 회색 사각형은 표시된 접종후 시간에서의 배양물의 OD600 측정을 나타내고, 검은색 삼각형은 표시된 접종후 시간에서의 이소프렌 제조를 나타낸다.
도 47A 는 글루코오스를 첨가하지 않은 배양물 내 BL21 (λDE3) pTrcKudzu yIDI DXS (kan) 에 의한 이소프렌 제조를 나타내는 그래프를 보여준다. 사각형은 OD600 을 나타내고, 삼각형은 제조된 이소프렌을 나타낸다 (㎍/ml).
도 47B 는 BL21 (λDE3) pTrcKudzu yIDI DXS (kan) 에 의한 1% 글루코오스 공급원료 전화당으로부터의 이소프렌 제조를 나타내는 그래프를 보여준다. 사각형은 OD600 을 나타내고, 삼각형은 제조된 이소프렌을 나타낸다 (㎍/ml).
도 47C 는 BL21 (λDE3) pTrcKudzu yIDI DXS (kan) 에 의한 1% 전화당 공급원료로부터의 이소프렌 제조를 나타내는 그래프를 보여준다. 사각형은 OD600 을 나타내고, 삼각형은 제조된 이소프렌을 나타낸다 (㎍/ml).
도 47D 는 BL21 (λDE3) pTrcKudzu yIDI DXS (kan) 에 의한 1% AFEX 옥수수 대 공급원료로부터의 이소프렌 제조를 나타내는 그래프를 보여준다. 사각형은 OD600 을 나타내고, 삼각형은 제조된 이소프렌을 나타낸다 (㎍/ml).
도 48 은 이소프렌 제조의 효모 추출물의 효과를 입증하는 그래프를 보여준다. 패널 A 는 효모 추출물의 양을 달리하여 공급된 반응기 내의 광학 밀도의 시간 과정을 보여준다. 패널 B 는 효모 추출물의 양을 달리하여 공급된 반응기 내의 이소프렌 적정농도의 시간 과정을 보여준다. 적정농도는 발효 브로쓰 1 리터 당 제조된 이소프렌의 양으로서 정의된다. 패널 C 는 공급-배치식 배양물에서 성장된 E. 콜라이 내 이소프렌 제조에 대한 효모 추출물의 효과를 보여준다.
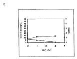
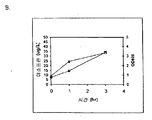
도 49 는 pTrcKudzu + yIDI + DXS 플라스미드를 함유하는 E. 콜라이 세포로 500 L 생물반응기로부터 이소프렌 제조를 입증하는 그래프를 보여준다. 패널 A 는 글루코오스 및 효모 추출물이 공급된 500 L 생물반응기 내의 광학 밀도의 시간 과정을 보여준다. 패널 B 는 글루코오스 및 효모 추출물이 공급된 500 L 생물반응기 내의 이소프렌 적정농도의 시간 과정을 보여준다. 적정농도는 발효 브로쓰 1 리터 당 제조된 이소프렌의 양으로서 정의된다. 패널 C 는 글루코오스 및 효모 추출물이 공급된 500 L 생물반응기로부터 제조된 총 이소프렌의 시간 과정을 보여준다.
도 50 은 pJMupperpathway2 의 맵이다.
도 51 은 pJMupperpathway2 의 뉴클레오티드 서열이다 (SEQ ID NO:56).
도 52 는 pBS Kudzu #2 의 맵이다.
도 53A 는 14 리터 공급 배치 발효 내 재조합 kudzu 이소프렌 합성효소를 발현하는 바실러스 (Bacillus) 의 발효 시간 동안의 성장을 나타내는 그래프이다. 검은색 다이아몬드는 재조합 이소프렌 합성효소가 없는 대조군 균주 (BG3594comK) (본래 이소프렌 제조) 를 나타내고, 회색 삼각형은 pBSKudzu 가 있는 바실러스 (재조합 이소프렌 제조) 를 나타낸다.
도 53B 는 14 리터 공급 배치 발효 내 재조합 kudzu 이소프렌 합성효소를 발현하는 바실러스 (Bacillus) 의 발효 시간 동안의 이소프렌 제조를 나타내는 그래프이다. 검은색 다이아몬드는 재조합 이소프렌 합성효소가 없는 대조군 균주 (BG3594comK) (본래 이소프렌 제조) 를 나타내고, 회색 삼각형은 pBSKudzu 가 있는 바실러스 (재조합 이소프렌 제조) 를 나타낸다.
도 54 는 글루코오스가 공급된 15 L 생물반응기 내의 광학 밀도의 시간 과정이다.
도 55 는 글루코오스가 공급된 15 L 생물반응기 내의 이소프렌 적정농도의 시간 과정이다. 적정농도는 발효 브로쓰 1 리터 당 제조된 이소프렌의 양으로서 정의된다.
도 56 은 글루코오스가 공급된 15 L 생물반응기로부터 제조된 총 이소프렌의 시간 과정이다.
도 57 은 글리세롤이 공급된 15 L 생물반응기 내의 광학 밀도의 시간 과정이다.
도 58 은 글리세롤이 공급된 15 L 생물반응기 내의 이소프렌 적정농도의 시간 과정이다. 적정농도는 발효 브로쓰 1 리터 당 제조된 이소프렌의 양으로서 정의된다.
도 59 는 글리세롤이 공급된 15 L 생물반응기로부터 제조된 총 이소프렌의 시간 과정이다.
도 60A-60C 는 글루코오스가 공급된 15 L 생물반응기 내의 광학 밀도, 메발론산 적정농도, 및 특이적 생산성의 시간 과정이다.
도 61A-61C 는 글루코오스가 공급된 15 L 생물반응기 내의 광학 밀도, 메발론산 적정농도, 및 특이적 생산성의 시간 과정이다.
도 62A-62C 는 글루코오스가 공급된 15 L 생물반응기 내의 광학 밀도, 메발론산 적정농도, 및 특이적 생산성의 시간 과정이다.
도 63A-63C 는 글루코오스가 공급된 15 L 생물반응기 내의 광학 밀도, 이소프렌 적정농도, 및 특이적 생산성의 시간 과정이다.
도 64A-64C 는 글루코오스가 공급된 15 L 생물반응기 내의 광학 밀도, 이소프렌 적정농도, 및 특이적 생산성의 시간 과정이다.
도 65A-65C 는 글루코오스가 공급된 15 L 생물반응기 내의 광학 밀도, 이소프렌 적정농도, 및 특이적 생산성의 시간 과정이다.
도 66A-66C 는 글루코오스가 공급된 15 L 생물반응기 내의 광학 밀도, 이소프렌 적정농도, 및 특이적 생산성의 시간 과정이다.
도 67A-67C 는 글루코오스가 공급된 15 L 생물반응기 내의 광학 밀도, 이소프렌 적정농도, 및 특이적 생산성의 시간 과정이다.
도 68 은 다양한 산소 수준에 대한 연료 농도의 함수로서 시리즈 A 에 대한 계산된 단열 불꽃 온도의 그래프이다. 도면 범례에는 그래프에 나타나는 순서대로 곡선을 나열한다. 예를 들어, 도면 범례에서 첫번째 입력부분 (40℃, 공기 중의 이소프렌) 은 그래프에서 가장 높은 위치의 곡선과 상응한다.
도 69 는 4% 물과 함께 다양한 산소 수준에 대한 연료 농도의 함수로서 시리즈 B 에 대한 계산된 단열 불꽃 온도의 그래프이다. 도면 범례에는 그래프에 나타나는 순서대로 곡선을 나열한다.
도 70 은 5% CO2 와 함께 다양한 산소 수준에 대한 연료 농도의 함수로서 시리즈 C 에 대한 계산된 단열 불꽃 온도의 그래프이다. 도면 범례에는 그래프에 나타나는 순서대로 곡선을 나열한다.
도 71 은 10% CO2 와 함께 다양한 산소 수준에 대한 연료 농도의 함수로서 시리즈 D 에 대한 계산된 단열 불꽃 온도의 그래프이다. 도면 범례에는 그래프에 나타나는 순서대로 곡선을 나열한다.
도 72 는 15% CO2 와 함께 다양한 산소 수준에 대한 연료 농도의 함수로서 시리즈 E 에 대한 계산된 단열 불꽃 온도의 그래프이다. 도면 범례에는 그래프에 나타나는 순서대로 곡선을 나열한다.
도 73 은 20% CO2 와 함께 다양한 산소 수준에 대한 연료 농도의 함수로서 시리즈 F 에 대한 계산된 단열 불꽃 온도의 그래프이다. 도면 범례에는 그래프에 나타나는 순서대로 곡선을 나열한다.
도 74 는 30% CO2 와 함께 다양한 산소 수준에 대한 연료 농도의 함수로서 시리즈 G 에 대한 계산된 단열 불꽃 온도의 그래프이다. 도면 범례에는 그래프에 나타나는 순서대로 곡선을 나열한다.
도 75A 는 시리즈 A 에 대해 중량% 대 부피% 로부터의 CAFT Model 결과의 전환 표이다.
도 75B 는 부피% 로서 작성된 도 68 에서 시리즈 A 에 대한 CAFT 모델로부터의 가연성 결과의 그래프이다.
도 76A 는 시리즈 B 에 대해 중량% 대 부피% 로부터의 CAFT Model 결과의 전환 표이다.
도 76B 는 부피% 로서 작성된 도 69 에서 시리즈 B 에 대한 CAFT 모델로부터의 가연성 결과의 그래프이다.
도 77 은 가연성 시험 용기의 도면이다.
도 78A 는 시험 시리즈 1: 0% 스팀, 0 psig, 및 40℃ 에 대한 가연성 곡선의 그래프이다.
도 78B 는 시험 시리즈 1 에 대한 폭발 및 비-폭발 데이터 지점을 요약하는 표이다.
도 78C 는 CAFT Model 과 비교한 시험 시리즈 1 에 대한 가연성 곡선의 그래프이다.
도 79A 는 시험 시리즈 2: 4% 스팀, 0 psig, 및 40℃ 에 대한 가연성 곡선의 그래프이다.
도 79B 는 시험 시리즈 2 에 대한 폭발 및 비-폭발 데이터 지점을 요약하는 표이다.
도 79C 는 CAFT Model 과 비교한 시험 시리즈 2 에 대한 가연성 곡선의 그래프이다.
도 80A 및 80B 는 시험 시리즈 1 에 대한 상세한 실험 조건 및 결과의 표이다.
도 81 은 시험 시리즈 2 에 대한 상세한 실험 조건 및 결과의 표이다.
도 82 는 3 대기압에서 다양한 질소/산소 비에 대한 연료 농도의 함수로서 작성된 계산된 단열 불꽃 온도의 그래프이다.
도 83 은 1 대기압에서 다양한 질소/산소 비에 대한 연료 농도의 함수로서 작성된 계산된 단열 불꽃 온도의 그래프이다.
도 84 는 도 82 로부터의 데이터를 사용하고, 실시예 13 에 기재된 방법론에 따라 구축된 가연성 엔벨로프의 그래프이다. 실험 데이터 지점 (원) 은 1 초기 시스템 대기압에서 수행되었던 본원에 기재된 시험으로부터 유래된다.
도 85 는 도 83 으로부터의 데이터를 사용하고, 실시예 13 에 기재된 방법론에 따라 구축된 가연성 엔벨로프의 그래프이다. 실험 데이터 지점 (원) 은 1 초기 시스템 대기압에서 수행되었던 본원에 기재된 시험으로부터 유래된다.
도 86A 는 발효 방출-기체의 GC/MS 크로마토그램이다.
도 86B 는 발효 방출-기체 내에 존재하는 소량 휘발물질을 나타내기 위한 도 86A 의 팽창이다.
도 87A 는 -78℃ 에서의 저온-포획 후 방출-기체 내에 존재하는 미량 휘발물질의 GC/MS 크로마토그램이다.
도 87B 는 -196℃ 에서의 저온-포획 후 방출-기체 내에 존재하는 미량 휘발물질의 GC/MS 크로마토그램이다.
도 87C 는 도 87B 의 확대이다.
도 87D 는 도 87C 의 확대이다.
도 88A 및 88B 는 석유-유도 이소프렌 (도 88A) 과 생물학적으로 제조된 이소프렌 (도 88B) 으로부터의 C5 탄화수소를 비교하는 GC/MS 크로마토그램이다. 표준은 주된 이소프렌 피크 근처에서 용리되는 3 가지 C5 탄화수소 불순물을 함유한다 (도 88A). 대조적으로, 생물학적으로 제조된 이소프렌은 상당량의 에탄올 및 아세톤을 함유한다 (실행 시간 3.41 분) (도 88A).
도 89 는 3 g/L 효모 추출물과 함께 글루코오스가 공급되고 Kudzu 이소프렌 합성효소를 발현하는 E. 콜라이 BL21 (DE3) pTrcIS 균주의 발효 방출-기체의 분석 그래프이다.
도 90 은 이소프렌과 구조적으로 유사하고, 또한 중합 촉매 독소로서 작용할 수 있는 여러 불순물의 구조를 보인다.
도 91 은 pTrcHis2AUpperPathway (또한 pTrcUpperMVA 로 불림) 의 맵이다.
도 92A-92C 는 pTrcHis2AUpperPathway (또한 pTrcUpperMVA 로 불림) 의 뉴클레오티드 서열이다 (SEQ ID NO:86).
도 93 은 글루코오스가 공급된 15 L 생물반응기 내의 광학 밀도의 시간 과정이다.
도 94 는 글루코오스가 공급된 15 L 생물반응기 내의 이소프렌 적정농도의 시간 과정이다. 적정농도는 발효 브로쓰 1 리터 당 제조된 이소프렌의 양으로서 정의된다.
도 95 는 글루코오스가 공급된 15 L 생물반응기로부터 제조된 총 이소프렌의 시간 과정이다.
도 96 은 전화당이 공급된 15 L 생물반응기 내의 광학 밀도의 시간 과정이다.
도 97 은 전화당이 공급된 15 L 생물반응기 내의 이소프렌 적정농도의 시간 과정이다. 적정농도는 발효 브로쓰 1 리터 당 제조된 이소프렌의 양으로서 정의된다.
도 98 은 전화당이 공급된 15 L 생물반응기로부터 제조된 총 이소프렌의 시간 과정이다.
도 99 는 글루코오스가 공급된 15 L 생물반응기 내의 광학 밀도의 시간 과정이다.
도 100 은 글루코오스가 공급된 15 L 생물반응기 내의 이소프렌 적정농도의 시간 과정이다. 적정농도는 발효 브로쓰 1 리터 당 제조된 이소프렌의 양으로서 정의된다.
도 101 은 글루코오스가 공급된 15 L 생물반응기로부터의 이소프렌 특이적 활성의 시간 과정이다.
도 102 는 pCLPtrcUpperPathwayHGS2 의 맵이다.
도 103A-103C 는 pCLPtrcUpperPathwayHGS2 의 뉴클레오티드 서열이다 (SEQ ID NO: 87).
도 104 는 글루코오스가 공급된 15 L 생물반응기 내의 광학 밀도의 시간 과정이다.
도 105 는 글루코오스가 공급된 15 L 생물반응기 내의 이소프렌 적정농도의 시간 과정이다. 적정농도는 발효 브로쓰 1 리터 당 제조된 이소프렌의 양으로서 정의된다.
도 106 은 글루코오스가 공급된 15 L 생물반응기로부터 제조된 총 이소프렌의 시간 과정이다.
도 107 은 플라스미드 MCM330 의 맵이다.
도 108A-108C 는 플라스미드 MCM330 의 뉴클레오티드 서열이다 (SEQ ID NO:90).
도 109 는 pET24D-Kudzu 의 맵이다.
도 110A 및 110B 는 pET24D-Kudzu 의 뉴클레오티드 서열이다 (SEQ ID NO:101).
도 111A 는 글루코오스가 공급된 15 L 생물반응기 내의 광학 밀도의 시간 과정이다.
도 111B 는 글루코오스가 공급된 15 L 생물반응기 내의 이소프렌 적정농도의 시간 과정이다. 적정농도는 발효 브로쓰 1 리터 당 제조된 이소프렌의 양으로서 정의된다.
도 111C 는 글루코오스가 공급된 15 L 생물반응기 내의 이소프렌의 특이적 생산성의 시간 과정이다.
하나의 양상에서, 본 발명은 증가된 양 및/또는 순도로의 이소프렌의 제조 방법 및 조성물을 특징으로 한다. 본원에 사용되는 바와 같이, 용어 "이소프렌" 또는 "2-메틸-1,3-부타디엔" (CAS# 78-79-5) 은 3,3-디메틸알릴 피로포스페이트 (DMAPP) 로부터의 피로포스페이트의 제거로부터 생성된 직접적 및 최종 휘발성 C5 탄화수소 생성물을 말하고, 하나 이상의 DMAPP 분자에 대한 하나 이상의 이소펜테닐 디포스페이트 (IPP) 분자의 연결 또는 중합을 포함하지 않는다.
대부분의 이소프렌은 물질이 중합에 적합하기 전 집중적인 정제를 필요로 하는 불순한 C5 탄화수소 분획으로서 석유화학 공급원으로부터 유도된다. 여러 불순물은 이소프렌과의 구조적 유사성 및 중합 촉매 독성으로서 작용할 수 있다는 사실로 인해 특히 문제가 있다. 이러한 화합물에는 1,3-시클로펜타디엔, 시스- 및 트랜스-1,3-펜타디엔, 1-펜틴, 2-펜틴, 3-메틸-1-부틴, 트랜스-피페릴렌, 시스-피페릴렌, 펜트-4-엔-1-인, 트랜스-펜트-3-엔-1-인, 및 시스-펜트-3-엔-1-인 (도 90) 이 포함된다. 일부 구현예에서, 본 발명의 이소프렌 조성물은 임의의 오염 불포화 C5 탄화수소가 실질적으로 없다. 실시예 10 에 추가로 기재되는 바와 같이, 이소프렌 이외의 불포화 C5 탄화수소 (예컨대 1,3-시클로펜타디엔, 시스-1,3-펜타디엔, 트랜 -1,3-펜타디엔, 1-펜틴, 2-펜틴, 1-펜텐, 2-메틸-1-부텐, 3-메틸-1-부틴, 트랜스-피페릴렌, 시스-피페릴렌, 펜트-4-엔-1-인, 트랜스-펜트-3-엔-1-인, 또는 시스-펜트-3-엔-1-인) 의 검출가능한 양이 본원에 기재된 방법을 사용하여 제조된 이소프렌 조성물에서 발견되지 않았다. 본원에 기재된 방법을 사용하여 제조된 일부 이소프렌 조성물은 GC/MS 분석에 의해 측정되는 바와 같이 에탄올, 아세톤, 및 C5 프레닐 알코올을 함유한다. 모든 이들 성분은 석유화학 공급원으로부터 유도된 이소프렌 조성물에 존재하는 이성질체 C5 탄화수소 분획보다 이소프렌 스트림으로부터 더욱 쉽게 제거된다. 따라서, 일부 구현예에서, 본 발명의 이소프렌 조성물은 중합 등급을 위해 최소의 처리를 필요로 한다.
하나의 양상에서, 본 발명의 조성물 및 방법은 이소프렌 제조 속도를 증가시키고 제조되는 이소프렌의 총 양을 증가시킨다. 예를 들어, 4.8 × 104 nmole/gwcm/hr 의 이소프렌을 생성하는 세포 배양 시스템이 제조되었다 (표 1). 상기 시스템의 효율은 세포가 세포 배양 배지로부터 소모하는 탄소의 약 2.2% 를 이소프렌으로 전환킴으로써 입증된다. 실시예 및 표 2 에서 제시되는 바와 같이, 브로쓰 1 리터 당 대략 3 g 의 이소프렌이 생성되었다. 바람직한 경우, 예컨대 본원에 기재된 바와 같은 다른 조건을 사용하여 더욱 많은 양의 이소프렌이 수득될 수 있다. 일부 구현예에서, 재생가능 탄소원이 이소프렌의 제조에 사용된다. 일부 구현예에서, 이소프렌의 제조는 세포의 성장과 분리된다. 일부 구현예에서, 이소프렌의 농도 및 임의의 산화제는 이소프렌의 제조 또는 회수 동안 화재가 일어날 수 있는 위험을 감소 또는 제거시키기 위해 불연성 범위 내에 있다. 본 발명의 조성물 및 방법은 세포 당 고 이소프렌 수율, 고 탄소 수율, 고 이소프렌 순도, 고 생산성, 저 에너지 사용, 저 제조 비용 및 투자, 및 최소 부작용을 허용케 하므로 바람직하다. 이소프렌 제조를 위한 상기 효율적인, 대규모, 생합성 방법은 합성 이소프렌-기재 고무를 위한 이소프렌 공급원을 제공하고, 천연 고무 사용에 대한 바람직한, 저비용 대안을 제공한다.
하기 추가 논의되는 바와 같이, 세포에 의해 제조된 이소프렌의 양은 이소프렌 합성효소 폴리펩티드 (예를 들어, 식물 이소프렌 합성효소 폴리펩티드) 를 코딩하는 이종 핵산을 세포 내에 도입함으로써 크게 증가될 수 있다. 이소프렌 합성효소 폴리펩티드는 디메틸알릴 디포스페이트 (DMAPP) 를 이소프렌으로 전환시킨다. 실시예에서 제시되는 바와 같이, 이종 푸에라리아 몬타나 (Pueraria Montana) (kudzu) 이소프렌 합성효소 폴리펩티드는 다양한 숙주 세포, 예컨대 에스케리챠 콜라이 (Escherichia coli), 판테오아 시트레아 (Panteoa citrea), 바실러스 서브틸리스 (Bacillus subtilis), 야로이야 리폴라이티카 (Yarrowia lipolytica), 및 트리코데르마 레에세이 (Trichoderma reesei) 에서 발현되었다. 모든 상기 세포는 이종 이소프렌 합성효소 폴리펩티드가 없는 상응하는 세포보다 더욱 많은 이소프렌을 제조한다. 표 1 및 2 에서 예증되는 바와 같이, 본원에 기재된 방법을 사용하여 다량의 이소프렌이 제조된다. 예를 들어, 이종 이소프렌 합성효소 핵산이 있는 B. 서브틸리스 세포는 이종 핵산이 없는 상응하는 대조군 B. 서브틸리스 세포보다 14 리터 발효기에서 대략 10 배 더 많은 이소프렌을 제조한다 (표 2). 발효기 내, E. 콜라이에 의한 브로쓰 1 리터 당 300 mg 의 이소프렌 (mg/L, 브로쓰의 부피에는 세포의 부피 및 세포 배지의 부피가 포함된다) 및 B. 서브틸리스에 의한 30 mg/L 의 제조는 현저한 양의 이소프렌이 제조될 수 있음을 나타낸다 (표 2). 바람직한 경우, 이소프렌은 더욱 큰 큐모로 제조될 수 있거나, 본원에 기재된 다른 조건이 이소프렌의 양을 추가로 증가시키기 위해 사용될 수 있다. 표 1 및 2 에 열거된 벡터 및 실험 조건은 하기 추가 상세한 사항 및 실시예 섹션에 기재되어 있다.
표 1: 본 발명의 세포 배양물 및 방법을 사용하는 진탕 플라스크로부터의 이소프렌의 예시적 수율. 이소프렌 제조 측정을 위한 어세이는 실시예 I, 파트 II 에 기재되어 있다. 본 어세이를 위해, 진탕 플라스크로부터 샘플을 1 회 이상의 시점에서 제거하고, 30 분 동안 배양하였다. 그 다음 본 샘플에서 제조된 이소프렌의 양을 측정하였다. 이소프렌 제조의 상부공간 농도 및 특이적 속도는 표 1 에 나열되어 있고 본원에서 추가로 기재된다.
Figure pct00001
* 액체 대 상부공간 부피비가 1:19 인 밀봉된 상부공간 바이알에서 1 시간 동안 배양된, 1 OD600 1 mL 로 표준화됨.
표 2: 본 발명의 세포 배양물 및 방법을 사용하는 발효기 내 이소프렌의 예시적 수율. 이소프렌 제조 측정을 위한 어세이는 실시예 I, 파트 II 에 기재되어 있다. 본 어세이를 위해, 발효기의 방출-기체의 샘플을 취하고, 이소프렌의 양에 대해 분석하였다. 피크 상부공간 농도 (발효 동안 최고 상부공간 농도임), 적정농도 (브로쓰 1 리터 당 제조되는 이소프렌의, 누적 총 양임), 및 이소프렌 제조의 피크 특이적 속도 (발효 동안 최고 특이적 속도임) 가 표 2 에 나열되고 본원에 추가로 기재되어 있다.
Figure pct00002
Figure pct00003
** 1 vvm (방출-기체 1 부피/1 L브로쓰/분) 의 방출-기체 흐름 속도에 표준화됨.
부가적으로는, 이종 이소프렌 합성효소 핵산을 함유하는 세포에 의한 이소프렌 제조는 세포에 의해 발현되는 1-데옥시-D-자일룰로오스-5-포스페이트 합성효소 (DXS) 폴리펩티드 및/또는 이소펜테닐 디포스페이트 이소머라아제 (IDI) 폴리펩티드의 양을 증가시킴으로써 향상될 수 있다. 예를 들어, DXS 핵산 및/또는 IDI 핵산은 세포 내에 도입될 수 있다. DXS 핵산은 이종 핵산 또는 내생 핵산의 이중 카피일 수 있다. 유사하게는, IDI 핵산은 이종 핵산 또는 내생 핵산의 이중 카피일 수 있다. 일부 구현예에서, DXS 및/또는 IDI 폴리펩티드의 양은 내생 DXS 및/또는 IDI 프로모터 또는 조절 영역을 DXS 및/또는 IDI 핵산의 더 큰 전사를 야기하는 기타 프로모터 및/또는 조절 영역으로 대체함으로써 증가된다. 일부 구현예에서, 세포는 이소프렌 합성효소 폴리펩티드를 코딩하는 이종 핵산 (예를 들어, 식물 이소프렌 합성효소 핵산) 및 이소프렌 합성효소 폴리펩티드를 코딩하는 내생 핵산의 이중 카피 모두를 함유한다.
코딩된 DXS 및 IDI 폴리펩티드는 이소프렌의 생합성을 위한 DXP 경로의 일부이다 (도 19). DXS 폴리펩티드는 피루베이트 및 D-글리세르알데하이드-3-포스페이트를 1-데옥시-D-자일룰로오스-5-포스페이트로 전환시킨다. 임의의 특정 이론에 얽매이는 것으로 의도되지 않으면서, DXS 폴리펩티드의 양의 증가가 DXP 경로를 통해 탄소의 흐름을 증가시켜, 더 큰 이소프렌 제조를 야기하는 것으로 여겨진다. IDI 폴리펩티드는 이소펜테닐 디포스페이트 (IPP) 와 디메틸알릴 디포스페이트 (DMAPP) 의 상호전환을 촉매화한다. 임의의 특정 이론에 얽매이는 것으로 의도되지 않으면서, 세포 내 IDI 폴리펩티드의 양의 증가가 DMAPP 로 전환되고, 그 후 이소프렌으로 전환되는 IPP 의 양 (및 전환 속도) 을 증가시키는 것으로 여겨진다.
예를 들어, kudzu 이소프렌 합성효소, S. 세레비지아 IDI, 및 E. 콜라이 DXS 핵산을 가진 E. 콜라이 세포의 발효를 이소프렌 제조에 사용하였다. 이소프렌 수준은 15 시간의 시간 동안 50 내지 300 ㎍/L 로 변하였다 (실시예 7, 파트 VII).
일부 구현예에서, 이종 또는 추가의 내생 이소프렌 합성효소, IDI, 및 DXS 핵산의 존재는 이들 이종 또는 추가의 내생 핵산 중 오직 1 개 또는 2 개를 갖는 상응하는 세포와 비교하여, 세포를 더욱 재생가능하게 성장시키고 더욱 장기간 생존가능하게 남아있게 한다. 예를 들어, 이종 이소프렌 합성효소, IDI, 및 DXS 핵산을 함유하는 세포는 이종 이소프렌 합성효소 및 DXS 핵산 만을 갖는 세포 또는 이종 이소프렌 합성효소 핵산 만을 갖는 세포보다 잘 성장하였다. 또한, 이종 이소프렌 합성효소, IDI, 및 DXS 핵산은 E. 콜라이 세포에 의해 유지되었던 고 카피 플라스미드 상의 강한 프로모터에 성공적으로 작동가능하게 연결되어 있고, 이것은 다량의 상기 폴리펩티드가 세포에게 과량의 독성을 유발하지 않으면서 세포에서 발현될 수 있음을 암시한다. 임의의 특정 이론에 얽매이는 것으로 의도되지 않으면서, 이종 또는 추가의 내생 이소프렌 합성효소 및 IDI 핵산의 존재가, 세포에 오직 이종 또는 추가의 내생 DXS 핵산 만이 존재했을 경우 축적될 것인 하나 이상의 잠재적으로 독성인 중간체의 양을 감소시킬 수 있을 것으로 여겨진다.
일부 구현예에서, 이종 이소프렌 합성효소 핵산을 함유하는 세포에 의한 이소프렌의 제조는 세포에 의해 발현된 MVA 폴리펩티드의 양을 증가시킴으로써 증가된다 (도 19). 예시적 MVA 경로 폴리펩티드에는 하기 폴리펩티드 중 임의의 것이 포함된다: 아세틸-CoA 아세틸트랜스페라아제 (AA-CoA 티올라아제) 폴리펩티드, 3-히드록시-3-메틸글루타릴-CoA 합성효소 (HMG-CoA 합성효소) 폴리펩티드, 3-히드록시-3-메틸글루타릴-CoA 리덕타아제 (HMG-CoA 리덕타아제) 폴리펩티드, 메발로네이트 키나아제 (MVK) 폴리펩티드, 포스포메발로네이트 키나아제 (PMK) 폴리펩티드, 디포스포메발로네이트 데카르복실라아제 (MVD) 폴리펩티드, IDI 폴리펩티드, 및 2 개 이상의 MVA 경로 폴리펩티드의 활성을 갖는 폴리펩티드 (예를 들어, 융합 폴리펩티드). 예를 들어, 하나 이상의 MVA 경로 핵산이 세포 내에 도입될 수 있다. 일부 구현예에서, 세포는 AA-CoA 티올라아제, HMG-CoA 합성효소, 및 HMG-CoA 리덕타아제 핵산을 포함하는 상위 MVA 경로를 함유한다. 일부 구현예에서, 세포는 MVK, PMK, MVD, 및 IDI 핵산을 포함하는 하위 MVA 경로를 함유한다. 일부 구현예에서, 세포는 AA-CoA 티올라아제, HMG-CoA 합성효소, HMG-CoA 리덕타아제, MVK, PMK, MVD, 및 IDI 핵산을 포함하는 전체 MVA 경로를 함유한다. MVA 경로 핵산은 이종 핵산 또는 내생 핵산의 이중 카피일 수 있다. 일부 구현예에서, 하나 이상의 MVA 경로 폴리펩티드의 양은 MVA 경로 핵산에 대한 내생 프로모터 또는 조절 영역을 MVA 경로 핵산의 더 큰 전사를 유발하는 기타 프로모터 및/또는 조절 영역으로 대체함으로써 증가된다. 일부 구현예에서, 세포는 이소프렌 합성효소 폴리펩티드를 코딩하는 이종 핵산 (예를 들어, 식물 이소프렌 합성효소 핵산) 및 이소프렌 합성효소 폴리펩티드를 코딩하는 내생 핵산의 이중 카피 모두를 함유한다.
예를 들어, kudzu 이소프렌 합성효소 폴리펩티드를 코딩하는 핵산 및 사카로마이세스 세레비지아 (Saccharomyces cerevisia) MVK, PMK, MVD, 및 IDI 폴리펩티드를 코딩하는 핵산을 함유하는 E. 콜라이 세포는 이소프렌을 6.67 × 10-4 mol/L브로쓰/OD600/hr 의 속도로 제조하였다 (실시예 8 참조). 부가적으로는, 엔테로코쿠스 파에칼리스 (Enterococcus faecalis) AA-CoA 티올라아제, HMG-CoA 합성효소, 및 HMG-CoA 리덕타아제 폴리펩티드를 코딩하는 핵산을 갖는 E. 콜라이 세포의 14 리터 발효는 22 그램의 메발론산 (MVA 경로의 중간체) 을 제조하였다. 상기 세포의 진탕 플라스크는 리터 당 2-4 그램의 메발론산을 제조하였다. 이 결과는 이종 MVA 경로 핵산이 E. 콜라이에서 활성임을 나타낸다. 상위 MVA 경로 및 하위 MVA 경로 모두, 뿐 아니라 kudzu 이소프렌 합성효소에 대한 핵산을 함유하는 E. 콜라이 세포 (균주 MCM 127) 는 오직 하위 MVA 경로 및 kudzu 이소프렌 합성효소에 대한 핵산을 갖는 E. 콜라이 세포와 비교하여 (균주 MCM 131) 유의하게 많은 이소프렌 (874 ug/L) 을 제조하였다 (표 3 및 실시예 8, 파트 VIII 참조).
일부 구현예에서, 세포의 일부 이상은 연속 배양물 (예컨대 희석 없는 연속 배양물) 에서 약 5, 10, 20, 50, 75, 100, 200, 300, 이상의 세포 분열에 대해 이종 이소프렌 합성효소, DXS, IDI, 및/또는 MVA 경로 핵산을 유지한다. 본 발명의 임의의 양상의 일부 구현예에서, 내생 이소프렌 합성효소, DXS, IDI, 및/또는 MVA 경로 핵산의 이종 또는 이중 카피를 포함하는 핵산은 또한 선별 마커, 예컨대 카나마이신, 암피실린, 카르베니실린, 젠타마이신, 하이그로마이신, 플레오마이신, 블레오마이신, 네오마이신, 또는 클로르암페니콜 항생제 내성 핵산을 포함한다.
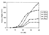
실시예 7, 파트 VI 에서 나타내는 바와 같이, 제조되는 이소프렌의 양은 효모 추출물을 세포 배양 배지에 첨가함으로써 추가로 증가될 수 있다. 본 실시예에서, 제조되는 이소프렌의 양은 시험된 농도에 대해 세포 배지 내 효모 추출물의 양에 선형 비례하였다 (도 48C). 부가적으로는, 브로쓰 1 리터 당 대략 0.11 그램의 이소프렌을 효모 추출물 및 글루코오스가 있는 세포 배지로부터 제조하였다 (실시예 7, 파트 VIII). 상기 실험 모두는 이소프렌을 제조하기 위해 kudzu 이소프렌 합성효소, S. 세레비지아 IDI, 및 E. 콜라이 DXS 핵산을 갖는 E. 콜라이 세포를 사용하였다. 글루코오스의 존재하에서의 효모 추출물의 양의 증가는 효모 추출물의 존재하에서의 글루코오스의 양의 증가보다 더 많은 이소프렌이 제조되도록 하였다. 또한, 효모 추출물 양의 증가는 세포에게 더 긴 시간 동안 높은 수준의 이소프렌을 제조하게 하였고, 세포의 건강을 향상시켰다.
또한 탄소원으로서 3 가지 유형의 가수분해된 바이오매스 (버개스, 옥수수 대, 및 침엽수 펄프) 를 사용하여 이소프렌 제조를 입증하였다 (도 46A-C). kudzu 이소프렌 합성효소, S. 세레비지아 IDI, 및 E. 콜라이 DXS 핵산을 갖는 E. 콜라이 세포는 동등량의 글루코오스로부터 생성된 것만큼의 이소프렌을 상기 가수분해된 바이오매스 탄소원으로부터 제조하였다 (예를 들어, 1% 글루코오스, w/v). 바람직한 경우, 임의의 기타 바이오매스 탄소원이 본 발명의 조성물 및 방법에 사용될 수 있다. 바이오매스 탄소원은 많은 통상적인 세포 배지보다 값싸기 때문에 바이오매스 탄소원이 바람직하고, 이로 인해 이소프렌의 경제적인 제조를 용이하게 한다.
부가적으로는, 전화당은 이소프렌 발생을 위한 탄소원으로서 기능하는 것으로 제시되었다 (도 47C 및 96-98). 예를 들어, 2.4 g/L 의 이소프렌을 MVA 경로 폴리펩티드 및 Kudzu 이소프렌 합성효소를 발현하는 세포로부터 제조하였다 (실시예 8, 파트 XV). 글리세롤은 또한 Kudzu 이소프렌 합성효소를 발현하는 세포로부터 2.2 mg/L 의 이소프렌 발생을 위한 탄소원으로서 사용되었다 (실시예 8, 파트 XIV). 이소프렌 합성효소 핵산 외에 DXS 핵산, IDI 핵산, 및/또는 하나 이상의 MVA 경로 핵산 (예컨대, 전체 MVA 경로를 코딩하는 핵산) 을 발현하는 것은 글리세롤로부터 이소프렌의 제조를 증가시킬 수 있다.
일부 구현예에서, 오일이 세포 배지에 포함된다. 예를 들어, 오일 및 글루코오스 공급원을 함유하는 세포 배지에서 배양되는 경우 kudzu 이소프렌 합성효소 핵산을 함유하는 B. 서브틸리스 세포는 이소프렌을 제조하였다 (실시예 4, 파트 III). 일부 구현예에서, 1 개 초과의 오일 (예컨대 2, 3, 4, 5 개 이상의 오일) 이 세포 배지에 포함된다. 임의의 특정 이론에 얽매이는 것으로 의도되지 않으면서, (i) 오일은 이소프렌으로의 전환에 이용가능한 세포 내 탄소의 양을 증가시킬 수 있고, (ii) 오일은 세포 내 아세틸-CoA 의 양을 증가시켜, MVA 경로를 통한 탄소 흐름을 증가시킬 수 있고, 및/또는 (ii) 오일은 세포에 추가 영양분을 제공할 수 있으며, 이것은 세포 내의 많은 탄소가 다른 생성물보다 이소프렌으로 전환되므로 바람직한 것으로 여겨진다. 일부 구현예에서, 오일을 함유하는 세포 배지에서 배양된 세포는 이소프렌을 제조하기 위해 자연적으로 MVA 경로를 사용하고, 전체 MVA 경로에 대한 핵산을 함유하도록 유전적으로 개질된다. 일부 구현예에서, 오일은 숙주 세포에 의해 오일의 사용을 용이하게 하기 위해 세포 배양 배지에 첨가되기 전에 부분적으로 또는 완전히 가수분해된다.
세포 (예를 들어, 박테리아) 내 이소프렌과 같은 소형 분자의 상업적 제조에 대한 주요 장애 중 하나는 분자 제조를 세포의 성장과 분리시키는 것이다. 이소프렌의 상업적으로 실행가능한 제조를 위한 일부 구현예에서, 공급원료로부터의 상당한 양의 탄소가 세포의 성장 및 유지 ("탄소 효율") 보다, 이소프렌으로 전환된다. 다양한 구현예에서, 세포는 세포 배양 배지 내 탄소의 약 0.0015, 0.002, 0.005, 0.01, 0.02, 0.05, 0.1, 0.12, 0.14, 0.16, 0.2, 0.3, 0.4, 0.5, 0.6, 0.7, 0.8, 0.9, 1.0, 1.2, 1.4, 1.6, 1.8, 2.0, 2.5, 3.0, 3.5, 4.0, 5.0, 6.0, 7.0, 또는 8.0% 이상을 이소프렌으로 전환시킨다. 특정 구현예에서, 하류방향 생성물로 전환된 공급원료로부터의 탄소의 상당한 부분이 이소프렌으로 전환된다. 실시예 11 에 추가로 기재되는 바와 같이, MVA 경로 및 kudzu 이소프렌 합성효소 핵산을 발현하는 E. 콜라이 세포는 이소프렌 또는 중간체 메발론산 제조와 성장과의 분리를 보여, 높은 탄소 효율을 야기한다. 특히, 메발론산은 엔테로코쿠스 파에칼리스 (Enterococcus faecalis) 로부터의 상위 MVA 경로를 발현하는 세포로부터 형성되었다. 이소프렌은 엔테로코쿠스 파에칼리스 (Enterococcus faecalis) 로부터의 상위 MVA 경로, 사카로마이세스 세레비지아에 (Saccharomyces cerevisiae) 로부터의 하위 MVA 경로, 및 푸에라리아 몬타나 (Pueraria montana) (Kudzu) 로부터의 이소프렌 합성효소를 발현하는 세포로부터 형성되었다. 이러한 이소프렌 또는 메발론산 제조와 성장과의 분리는 E. 콜라이의 4 가지 상이한 균주: BL21(LDE3), BL21(LDE3) 튜너 (Tuner), FM5, 및 MG1655 에서 입증되었다. 첫번째 2 개의 E. 콜라이 균주는 B 균주이고, 나머지 2 개는 K12 균주이다. 제조와 성장과의 분리는 또한 ack 및 pta 유전자가 결실된 MG1655 의 변이체에서 입증되었다. 상기 변이체는 또한 아세테이트의 제조가 적은 것이 입증되었다.
예시적 폴리펩티드 및 핵산
다양한 이소프렌 합성효소, DXS, IDI, 및/또는 MVA 경로 폴리펩티드 및 핵산이 본 발명의 조성물 및 방법에 사용될 수 있다.
본원에 사용되는 바와 같이, "폴리펩티드" 에는 폴리펩티드, 단백질, 펩티드, 폴리펩티드의 분절, 및 융합 폴리펩티드가 포함된다. 일부 구현예에서, 융합 폴리펩티드에는 첫번째 폴리펩티드의 일부 또는 전부 (예를 들어, 이소프렌 합성효소, DXS, IDI, 또는 MVA 경로 폴리펩티드 또는 이의 촉매적으로 활성인 분절) 가 포함되고, 임의로 제 2 폴리펩티드의 일부 또는 전부 (예를 들어, 융합 폴리펩티드의 정제 또는 결실을 용이하게 하는 펩티드, 예컨대 His-태그) 가 포함될 수 있다. 일부 구현예에서, 융합 폴리펩티드는 2 개 이상의 MVA 경로 폴리펩티드 (예컨대, AA-CoA 티올라아제 및 HMG-CoA 리덕타아제 폴리펩티드) 의 활성을 갖는다. 일부 구현예에서, 폴리펩티드는 2 개 이상의 MVA 경로 폴리펩티드의 활성을 갖는 자연 발생적 폴리펩티드 (예컨대, 엔테로코쿠스 파에칼리스 (Enterococcus faecalis) mvaE 핵산에 의해 코딩된 폴리펩티드) 이다.
다양한 구현예에서, 폴리펩티드는 약 50, 100, 150, 175, 200, 250, 300, 350, 400 개 이상의 아미노산을 갖는다. 일부 구현예에서, 폴리펩티드 분절은 전장 폴리펩티드로부터 약 25, 50, 75, 100, 150, 200, 300 개 이상의 인접 아미노산을 함유하고, 상응하는 전장 폴리펩티드의 활성의 약 5%, 10%, 20%, 30%, 40%, 50%, 60%, 70%, 80%, 90%, 95%, 또는 100% 이상을 갖는다. 특정 구현예에서, 폴리펩티드에는 임의의 자연 발생적 이소프렌 합성효소, DXS, IDI, 또는 MVA 경로 폴리펩티드의 전체 아미노산 서열 또는 절편이 포함된다. 일부 구현예에서, 폴리펩티드는 야생형 (즉, 자연 발생적 서열) 이소프렌 합성효소, DXS, IDI, 또는 MVA 경로 폴리펩티드의 서열과 비교하여 하나 이상의 돌연변이를 갖는다.
일부 구현예에서, 폴리펩티드는 단리된 폴리펩티드이다. 본원에 사용되는 바와 같이, "단리된 폴리펩티드" 는 폴리펩티드의 라이브러리, 예컨대 2, 5, 10, 20, 50 이상의 상이한 폴리펩티드의 라이브러리의 일부가 아니고, 자연적으로 발생하는 하나 이상의 성분과 분리된다. 단리된 폴리펩티드는 예를 들어, 폴리펩티드를 코딩하는 재조합 핵산의 발현에 의해 수득될 수 있다.
일부 구현예에서, 폴리펩티드는 이종 폴리펩티드이다. "이종 폴리펩티드" 는 그의 아미노산 서열이 동일한 숙주 세포에서 자연적으로 발현되는 또다른 폴리펩티드의 서열과 일치하지 않는 폴리펩티드를 의미한다. 특히, 이종 폴리펩티드는 자연에서 동일한 숙주 세포에서 발견되는 야생형 핵산과 일치하지 않는다.
본원에 사용되는 바와 같이, "핵산" 은 단일 또는 이중 가닥 형태의 2 개 이상의 데옥시리보뉴클레오티드 및/또는 리보뉴클레오티드를 말한다. 일부 구현예에서, 핵산은 재조합 핵산이다. "재조합 핵산" 은 관심의 핵산이 유래한 유기체의 자연에서 발생되는 게놈 내에, 관심의 핵산 측면에 있는 하나 이상의 핵산 (예를 들어, 유전자) 이 없는 관심의 핵산을 의미한다. 그러므로 용어에는 예를 들어, 벡터 내에, 자가 복제성 플라스미드 또는 바이러스 내에, 또는 원핵생물 또는 진핵생물의 게놈 DNA 내에 도입된, 또는 다른 서열과 독립적인 개별 분자 (예를 들어, cDNA, 게놈 DNA 분절, 또는 PCR 또는 제한 엔도뉴클레아제 소화에 의해 제조된 cDNA 분절) 로서 존재하는 재조합 DNA 가 포함된다. 다양한 구현예에서, 핵산은 재조합 핵산이다. 일부 구현예에서, 이소프렌 합성효소, DXS, IDI, 또는 MVA 경로 핵산은, 재조합 핵산이 이소프렌 합성효소, DXS, IDI, 또는 MVA 경로 폴리펩티드 및 또다른 폴리펩티드의 전부 또는 일부 (예를 들어, 융합 폴리펩티드의 정제 또는 결실을 용이하게 하는 펩티드, 예컨대 His-태그) 를 포함하는 융합 폴리펩티드를 코딩하도록 또다른 폴리펩티드의 전부 또는 일부를 코딩하는 또다른 핵산에 작동가능하게 연결된다. 일부 구현예에서, 재조합 핵산의 일부 또는 전부는 화학적으로 합성된다.
일부 구현예에서, 핵산은 이종 핵산이다. "이종 핵산" 은 그의 핵산 서열이 동일한 숙주 세포에서 자연적으로 발견되는 또다른 핵산의 서열과 일치하지 않는 핵산을 의미한다.
특정 구현예에서, 핵산에는 임의의 자연 발생적 이소프렌 합성효소, DXS, IDI, 또는 MVA 경로 핵산의 전체 핵산 서열 또는 절편이 포함된다. 일부 구현예에서, 핵산에는 자연 발생적 이소프렌 합성효소 핵산 DXS, IDI, 또는 MVA 경로 핵산으로부터 약 50, 100, 150, 200, 300, 400, 500, 600, 700, 800 개 이상의 인접 뉴클레오티드가 포함된다. 일부 구현예에서, 핵산은 야생형 (즉, 자연에서 발생하는 서열) 이소프렌 합성효소, DXS, IDI, 또는 MVA 경로 핵산의 서열과 비교하여 하나 이상의 돌연변이를 갖는다. 일부 구현예에서, 핵산은 이소프렌 합성효소, DXS, IDI, 또는 MVA 경로 핵산의 전사 또는 번역을 증가시키는 하나 이상의 돌연변이 (예를 들어, 묵음 돌연변이) 를 갖는다. 일부 구현예에서, 핵산은 이소프렌 합성효소, DXS, IDI, 또는 MVA 경로 폴리펩티드를 코딩하는 임의의 핵산의 축퇴 변이체이다.
"코돈 축퇴성" 은 코딩된 폴리펩티드의 아미노산 서열에 영향을 주지 않으면서 뉴클레오티드 서열의 변화를 가능하게 하는 유전적 코드의 다양성을 말한다. 당업자는 제공된 아미노산을 구체화하기 위한 뉴클레오티드 코돈의 사용에서 특이적 숙주 세포에 의해 나타내진 "코돈-편향" 을 잘 알고 있다. 그러므로, 숙주 세포에서 향상된 발현을 위해 핵산을 합성하는 경우, 일부 구현예에서, 코돈 사용 빈도가 숙주 세포의 바람직한 코돈 사용 빈도에 근접하도록 핵산을 디자인하는 것이 바람직하다.
예시적 이소프렌 합성효소, DXS, IDI, 및/또는 MVA 경로 폴리펩티드 및 핵산의 접근 번호는 부록 1 에 나열되어 있다 (부록 1 의 접근 번호 및 상응하는 서열은, 특히 이소프렌 합성효소, DXS, IDI, 및/또는 MVA 경로 폴리펩티드 및 핵산의 아미노산 및 핵산 서열에 대해, 본원에 그 전체가 참조로서 인용되어 있다). Kegg 데이터베이스는 또한 수 많은 예시적 이소프렌 합성효소, DXS, IDI, 및/또는 MVA 경로 폴리펩티드 및 핵산의 아미노산 및 핵산 서열 (예를 들어, 특히 이소프렌 합성효소, DXS, IDI, 및/또는 MVA 경로 폴리펩티드 및 핵산의 아미노산 및 핵산 서열과 관련하여, 전체가 본원에 각각 참조로서 인용된 "genome.jp/kegg/pathway/map/map00100.html" 웹사이트 및 그곳의 서열 참조) 을 함유한다. 일부 구현예에서, 이소프렌 합성효소, DXS, IDI, 및/또는 MVA 경로 폴리펩티드 및/또는 핵산 중 하나 이상은 부록 1 중의 임의의 접근 번호 또는 Kegg 데이터베이스에 존재하는 임의의 서열에 상응하는 임의의 서열과 같은 2007 년 12 월 12 일에 공개적으로 이용가능한 서열과 일치하는 서열을 갖는다. 부가적인 예시적 이소프렌 합성효소, DXS, IDI, 및/또는 MVA 경로 폴리펩티드 및 핵산은 하기에 추가로 기재되어 있다.
예시적 이소프렌 합성효소 폴리펩티드 및 핵산
상기 주지된 바와 같이, 이소프렌 합성효소 폴리펩티드는 디메틸알릴 디포스페이트 (DMAPP) 를 이소프렌으로 전환시킨다. 예시적 이소프렌 합성효소 폴리펩티드에는 폴리펩티드, 폴리펩티드의 분절, 펩티드, 및 이소프렌 합성효소 폴리펩티드의 하나 이상의 활성을 갖는 융합 폴리펩티드가 포함된다. 표준 방법은 시험관 내에서, 세포 추출물 내에서, 또는 생체 내에서 DMAPP 를 이소프렌으로 전환시키는 폴리펩티드의 능력을 측정함으로써 폴리펩티드가 이소프렌 합성효소 폴리펩티드 활성을 갖는지의 여부를 측정하는데 사용될 수 있다. 예시적 어세이에서, 세포 추출물은 실시예 1 에 기재된 바와 같은 진탕 플라스크 방법에서 균주 (예를 들어, 본원에 기재된 E. 콜라이/pTrcKudzu 균주) 를 성장시켜 조제된다. 유도 완료 후, 대략 10 mL 의 세포를 7000 × g 에서 10 분 동안의 원심분리에 의해 펠렛화하고, 글리세롤 없이 5 ml 의 PEB 에 재현탁시켰다. 표준 절차를 사용하여 프렌치 압력 셀 (French Pressure cell) 을 사용하여 세포를 용해시켰다. 대안적으로는, -80℃ 에서 동결/해동 후 세포에 라이소자임 (Ready-Lyse 라이소자임 용액; EpiCentre) 을 처리한다.
세포 추출물 내의 이소프렌 합성효소 폴리펩티드 활성은 예를 들어, 특히, 이소프렌 합성효소 폴리펩티드 활성에 대한 어세이에 대해, 전체가 각각 본원에 참조로서 인용된 문헌 [Silver et al., J. Biol. Chem. 270:13010-13016, 1995] 및 그곳의 참조에 기재된 바와 같이 측정될 수 있다. DMAPP (Sigma) 를 질소 스트림 하에서 건조 상태로 증발시키고, 100 mM 인산칼륨 완충액 (pH 8.2) 중 100 mM 의 농도로 재수화시켜, -20℃ 에 저장하였다. 어세이를 수행하기 위해, 5 ㎕ 의 1 M MgCl2, 1 mM (250 ㎍/ml) DMAPP, 65 ㎕ 의 식물 추출물 완충액 (PEB) (50 mM Tris-HCl, pH 8.0, 20 mM MgCl2, 5% 글리세롤, 및 2 mM DTT) 의 용액을 금속 스크류 캡 및 테플론 코팅 실리콘 격막을 가진 20 ml Headspace 바이알 (Agilent Technologies) 에 25 ㎕ 의 세포 추출물에 첨가하고, 37℃ 에서 15 분 동안 진탕하면서 배양하였다. 200 ㎕ 의 250 mM EDTA 를 첨가하여 반응을 켄칭하고, 실시예 1, 파트 II 에 기재된 바와 같이 GC/MS 에 의해 정량하였다.
예시적 이소프렌 합성효소 핵산에는 폴리펩티드, 폴리펩티드의 분절, 펩티드, 또는 이소프렌 합성효소 폴리펩티드의 하나 이상의 활성을 갖는 융합 폴리펩티드를 코딩하는 핵산이 포함된다. 예시적 이소프렌 합성효소 폴리펩티드 및 핵산에는 본원에 기재된 임의의 공급원 유기체로부터의 자연 발생적 폴리펩티드 및 핵산 뿐 아니라 본원에 기재된 임의의 공급원 유기체로부터 유래된 돌연변이체 폴리펩티드 및 핵산이 포함된다.
일부 구현예에서, 이소프렌 합성효소 폴리펩티드 또는 핵산은 파바세아에 (Fabaceae) 과, 예컨대 파보이데아에 (Faboideae) 아과로부터의 것이다. 일부 구현예에서, 이소프렌 합성효소 폴리펩티드 또는 핵산은, 특히, 이소프렌 합성효소 핵산 및 이소프렌 합성효소 폴리펩티드의 발현에 대해 각각 전체가 참조로서 인용된, 푸에라리아 몬타나 (Pueraria montana) (kudzu) (Sharkey et al., Plant Physiology 137: 700-712, 2005), 푸에라리아 로바타 (Pueraria lobata), 포플러 (예컨대, 포풀러스 알바 x 트레물라 (Populus alba x tremula) CAC35696) Miller et al., Planta 213: 483-487, 2001) 사시나무 (예컨대, 포풀러스 트레물로이데스 (Populus tremuloides) Silver et al, JBC 270(22): 13010-1316, 1995), 또는 영국산 오크 (English Oak) 퀘르쿠스 로부르 (Quercus robur) (Zimmer et al., WO 98/02550) 로부터의 자연 발생적 폴리펩티드 또는 핵산이다. 적합한 이소프렌 합성효소에는 특히 이소프렌 합성효소 핵산 및 폴리펩티드의 서열에 대해, 전체가 참조로서 각각 인용된 Genbank 접근 번호 AY341431, AY316691, AY279379, AJ457070, 및 AY182241 이 포함되나 이에 제한되는 것은 아니다. 일부 구현예에서, 이소프렌 합성효소 폴리펩티드 또는 핵산은 퀘르쿠스 로부르 (Quercus robur) 로부터의 자연 발생적 폴리펩티드 또는 핵산이 아니다 (즉, 이소프렌 합성효소 폴리펩티드 또는 핵산은 퀘르쿠스 로부르 (Quercus robur) 로부터의 자연 발생적 폴리펩티드 또는 핵산 이외의 이소프렌 합성효소 폴리펩티드 또는 핵산이다). 일부 구현예에서, 이소프렌 합성효소 핵산 또는 폴리펩티드는 포플러 (예컨대, 포풀러스 알바 x 트레물라 (Populus alba x tremula) CAC35696) 로부터의 자연 발생적 폴리펩티드 또는 핵산이 아니다.
예시적 DXS 폴리펩티드 및 핵산
상기 주지된 바와 같이, 1-데옥시-D-자일룰로오스-5-포스페이트 합성효소 (DXS) 폴리펩티드는 피루베이트 및 D-글리세르알데하이드-3-포스페이트를 1-데옥시-D-자일룰로오스-5-포스페이트로 전환시킨다. 예시적 DXS 폴리펩티드에는 폴리펩티드, 폴리펩티드의 분절, 펩티드, 및 DXS 폴리펩티드의 하나 이상의 활성을 가진 융합 폴리펩티드가 포함된다. 표준 방법 (예컨대 본원에 기재된 방법) 은 시험관 내에서, 세포 추출물 내에서, 또는 생체 내에서 피루베이트 및 D-글리세르알데하이드-3-포스페이트를 1-데옥시-D-자일룰로오스-5-포스페이트로 전환시키는 폴리펩티드의 능력을 측정함으로써 폴리펩티드가 DXS 폴리펩티드 활성을 갖는지를 측정하기 위해 사용될 수 있다. 예시적 DXS 핵산에는 폴리펩티드, 폴리펩티드의 분절, 펩티드, 또는 DXS 폴리펩티드의 하나 이상의 활성을 가진 융합 폴리펩티드를 코딩하는 핵산이 포함된다. 예시적 DXS 폴리펩티드 및 핵산에는 본원에 기재된 임의의 공급원 유기체로부터의 자연 발생적 폴리펩티드 및 핵산 뿐 아니라 본원에 기재된 임의의 공급원 유기체로부터 유래된 돌연변이체 폴리펩티드 및 핵산이 포함된다.
예시적 IDI 폴리펩티드 및 핵산
이소펜테닐 디포스페이트 이소머라아제 폴리펩티드 (이소펜테닐-디포스페이트 델타-이소머라아제 또는 IDI) 는 이소펜테닐 디포스페이트 (IPP) 및 디메틸알릴 디포스페이트 (DMAPP) 의 상호전환 (예를 들어, IPP 를 DMAPP 로 전환시킴 및/또는 DMAPP 를 IPP 로 전환시킴) 을 촉매화한다. 예시적 IDI 폴리펩티드에는 폴리펩티드, 폴리펩티드의 분절, 펩티드, 및 IDI 폴리펩티드의 하나 이상의 활성을 갖는 융합 폴리펩티드가 포함된다. 표준 방법 (예컨대 본원에 기재된 방법) 은 시험관 내에서, 세포 추출물 내에서, 또는 생체 내에서 IPP 및 DMAPP 를 상호전환시키는 폴리펩티드의 능력을 측정함으로써 폴리펩티드가 IDI 폴리펩티드 활성을 갖는지를 측정하기 위해 사용될 수 있다. 예시적 IDI 핵산에는 폴리펩티드, 폴리펩티드의 분절, 펩티드, 또는 IDI 폴리펩티드의 하나 이상의 활성을 갖는 융합 폴리펩티드를 코딩하는 핵산이 포함된다. 예시적 IDI 폴리펩티드 및 핵산에는 본원에 기재된 임의의 공급원 유기체로부터의 자연 발생적 폴리펩티드 및 핵산 뿐 아니라 본원에 기재된 임의의 공급원 유기체로부터 유래된 돌연변이체 폴리펩티드 및 핵산이 포함된다.
예시적 MVA 경로 폴리펩티드 및 핵산
예시적 MVA 경로 폴리펩티드에는 아세틸-CoA 아세틸트랜스페라아제 (AA-CoA 티올라아제) 폴리펩티드, 3-히드록시-3-메틸글루타릴-CoA 합성효소 (HMG-CoA 합성효소) 폴리펩티드, 3-히드록시-3-메틸글루타릴-CoA 리덕타아제 (HMG-CoA 리덕타아제) 폴리펩티드, 메발로네이트 키나아제 (MVK) 폴리펩티드, 포스포메발로네이트 키나아제 (PMK) 폴리펩티드, 디포스포메발로네이트 데카르복실라아제 (MVD) 폴리펩티드, IDI 폴리펩티드, 및 2 개 이상의 MVA 경로 폴리펩티드의 활성을 갖는 폴리펩티드 (예를 들어, 융합 폴리펩티드) 가 포함된다. 특히, MVA 경로 폴리펩티드에는 폴리펩티드, 폴리펩티드의 분절, 펩티드, 및 MVA 경로 폴리펩티드의 하나 이상의 활성을 갖는 융합 폴리펩티드가 포함된다. 예시적 MVA 경로 핵산에는 폴리펩티드, 폴리펩티드의 분절, 펩티드, 또는 MVA 경로 폴리펩티드의 하나 이상의 활성을 갖는 융합 폴리펩티드를 코딩하는 핵산이 포함된다. 예시적 MVA 경로 폴리펩티드 및 핵산에는 본원에 기재된 임의의 공급원 유기체로부터의 자연 발생적 폴리펩티드 및 핵산 뿐 아니라 본원에 기재된 임의의 공급원 유기체로부터 유래된 돌연변이체 폴리펩티드 및 핵산이 포함된다.
특히, 아세틸-CoA 아세틸트랜스페라아제 폴리펩티드 (AA-CoA 티올라아제 또는 AACT) 는 아세틸-CoA 의 2 개의 분자를 아세토아세틸-CoA 로 전환시킨다. 표준 방법 (예컨대 본원에 기재된 방법) 은 시험관 내에서, 세포 추출물 내에서, 또는 생체 내에서 아세틸-CoA 의 2 개의 분자를 아세토아세틸-CoA 로 전환시키는 폴리펩티드의 능력을 측정함으로써 폴리펩티드가 AA-CoA 티올라아제 폴리펩티드 활성을 갖는지를 측정하기 위해 사용될 수 있다.
3-히드록시-3-메틸글루타릴-CoA 합성효소 (HMG-CoA 합성효소 또는 HMGS) 폴리펩티드는 아세토아세틸-CoA 를 3-히드록시-3-메틸글루타릴-CoA 로 전환시킨다. 표준 방법 (예컨대 본원에 기재된 방법) 은 시험관 내에서, 세포 추출물 내에서, 또는 생체 내에서 아세토아세틸-CoA 를 3-히드록시-3-메틸글루타릴-CoA 로 전환시키는 폴리펩티드의 능력을 측정함으로써 폴리펩티드가 HMG-CoA 합성효소 폴리펩티드 활성을 갖는지를 측정하기 위해 사용될 수 있다.
3-히드록시-3-메틸글루타릴-CoA 리덕타아제 (HMG-CoA 리덕타아제 또는 HMGR) 폴리펩티드는 3-히드록시-3-메틸글루타릴-CoA 를 메발로네이트로 전환시킨다. 표준 방법 (예컨대 본원에 기재된 방법) 은 시험관 내에서, 세포 추출물 내에서, 또는 생체 내에서 3-히드록시-3-메틸글루타릴-CoA 를 메발로네이트로 전환시키는 폴리펩티드의 능력을 측정함으로써 폴리펩티드가 HMG-CoA 리덕타아제 폴리펩티드 활성을 갖는지를 측정하기 위해 사용될 수 있다.
메발로네이트 키나아제 (MVK) 폴리펩티드는 메발로네이트가 메발로네이트-5-포스페이트를 형성하도록 인산화시킨다. 표준 방법 (예컨대 본원에 기재된 방법) 은 시험관 내에서, 세포 추출물 내에서, 또는 생체 내에서 메발로네이트를 메발로네이트-5-포스페이트로 전환시키는 폴리펩티드의 능력을 측정함으로써 폴리펩티드가 MVK 폴리펩티드 활성을 갖는지를 측정하기 위해 사용될 수 있다.
포스포메발로네이트 키나아제 (PMK) 폴리펩티드는 메발로네이트-5-포스페이트가 메발로네이트-5-디포스페이트를 형성하도록 인산화시킨다. 표준 방법 (예컨대 본원에 기재된 방법) 은 시험관 내에서, 세포 추출물 내에서, 또는 생체 내에서 메발로네이트-5-포스페이트를 메발로네이트-5-디포스페이트로 전환시키는 폴리펩티드의 능력을 측정함으로써 폴리펩티드가 PMK 폴리펩티드 활성을 갖는지를 측정하기 위해 사용될 수 있다.
디포스포메발로네이트 데카르복실라아제 (MVD 또는 DPMDC) 폴리펩티드는 메발로네이트-5-디포스페이트를 이소펜테닐 디포스페이트 폴리펩티드 (IPP) 로 전환시킨다. 표준 방법 (예컨대 본원에 기재된 방법) 은 시험관 내에서, 세포 추출물 내에서, 또는 생체 내에서 메발로네이트-5-디포스페이트를 IPP 로 전환시키는 폴리펩티드의 능력을 측정함으로써 폴리펩티드가 MVD 폴리펩티드 활성을 갖는지를 측정하기 위해 사용될 수 있다.
예시적 IDI 폴리펩티드 및 핵산은 상기 기재되어 있다.
핵산 단리를 위한 예시적 방법
이소프렌 합성효소, DXS, IDI, 및/또는 MVA 경로 핵산은 표준 방법을 사용하여 단리될 수 있다. 관심의 공급원 유기체 (예컨대, 박테리아 게놈) 로부터의 바람직한 핵산 수득 방법은 공통적이고, 분자 생물학 업계에 잘 알려져 있다 (예를 들어, 특히, 관심의 핵산의 단리에 대해, 각각 전체가 본원에 참조로서 인용된, WO 2004/033646 호 및 그곳에 언급된 참고문헌 참조). 예를 들어, 핵산의 서열이 공지된 경우 (예컨대 본원에 기재된 임의의 공지된 핵산), 적합한 게놈 라이브러리는 제한 엔도뉴클레아제 소화에 의해 생성될 수 있고, 바람직한 핵산 서열에 상보적인 탐침으로 스크리닝할 수 있다. 일단 서열이 단리되면, DNA 는 표준 프라이머 지정 증폭 방법, 예컨대 적합한 벡터를 사용하는 형질전환에 적합한 DNA 의 양을 수득하기 위한 폴리머라아제 연쇄 반응 (PCR) (특히, PCR 방법에 대해, 본원에 전체가 참조로서 인용된 미국 특허 제 4,683,202 호) 을 사용하여 증폭될 수 있다.
대안적으로는, 이소프렌 합성효소, DXS, IDI, 및/또는 MVA 경로 핵산 (예컨대, 공지된 핵산 서열을 가진 임의의 이소프렌 합성효소, DXS, IDI, 및/또는 MVA 경로 핵산) 은 표준 방법을 사용하여 화학적으로 합성될 수 있다.
본원에 기재된 조성물 및 방법에 사용하기에 적합할 수 있는 부가적인 이소프렌 합성효소, DXS, IDI, 또는 MVA 경로 폴리펩티드 및 핵산은 표준 방법을 사용하여 확인될 수 있다. 예를 들어, 자연적으로 이소프렌을 제조하는 것으로 알려진 유기체의 염색체 DNA 의 코스미드 라이브러리는 E. 콜라이와 같은 유기체에서 구축될 수 있고, 그 다음 이소프렌 제조에 대해 스크리닝된다. 특히, 코스미드 라이브러리는 게놈 DNA 의 큰 절편 (35-45 kb) 이 벡터 내로 패키지되는 곳에서 작성될 수 있고, 적합한 숙주를 형질전환시키는데 사용될 수 있다. 코스미드 벡터는 다량의 DNA 를 수용할 수 있다는데 있어 독특하다. 일반적으로, 코스미드 벡터는 이종 DNA 의 패키지 및 후속 환형화에 필요한 cos DNA 서열의 하나 이상의 카피를 갖는다. cos 서열 외에, 상기 벡터는 또한 ColEI 및 암피실린 또는 네오마이신에 내성인 핵산과 같은 약물 내성 마커와 같은 복제 기원을 함유한다. 적합한 박테리아 숙주의 형질전환을 위해 코스미드 벡터를 사용하는 방법은, 특히, 형질전환 방법과 관련하여, 전체가 참조로서 본원에 인용된 문헌 [Sambrook et al, Molecular Cloning: A Laboratory Manual, 2nd ed., Cold Spring Harbor, 1989] 에 잘 기재되어 있다.
전형적으로는 코스미드를 클로닝하기 위해, 적합한 제한 엔도뉴클레아제를 사용하여 이종 DNA 를 단리하고, 적합한 리가아제를 사용하여 코스미드 벡터의 cos 영역에 인접하게 라이게이션하였다. 그 다음 선형화 이종 DNA 를 함유하는 코스미드 벡터를 박테리오파지와 같은 DNA 패키지 비히클과 반응시켰다. 패키지 과정 동안, cos 부위는 분할되고, 이종 DNA 가 박테리아 바이러스 입자의 머리 부분 내에 패키지되었다. 그 다음 상기 입자는 E. 콜라이와 같은 적합한 숙주 세포를 트랜스펙션시키기 위해 사용된다. 일단 세포 내에 주입되면, 이종 DNA 는 cos 점착성 말단의 영향 하에서 환형화된다. 이 방식으로, 이종 DNA 의 큰 절편이 숙주 세포에 도입되고 발현된다.
이소프렌 합성효소, DXS, IDI, 및/또는 MVA 경로 핵산을 수득하기 위한 부가적인 방법에는 어세이 (예컨대 본원에 기재된 상부공간 어세이) 에 의해 또는 보존된 아미노산 길이 (예를 들어, 3 개 이상의 보존된 아미노산) 를 코딩하는 뉴클레오티드에 대해 지정된 프라이머를 사용하는 PCR 에 의해 메타게놈 라이브러리를 스크리닝하는 것이 포함된다. 보존된 아미노산은 공지된 이소프렌 합성효소, DXS, IDI, 및/또는 MVA 경로 폴리펩티드의 아미노산 서열을 정렬시켜 확인될 수 있다. 이소프렌 합성효소 폴리펩티드에 대해 보존된 아미노산은 공지된 이소프렌 합성효소 폴리펩티드의 정렬된 서열에 근거하여 확인될 수 있다. 자연적으로 이소프렌을 제조하는 것으로 발견된 유기체는 표준 단백질 정제 방법 (당업계에 잘 알려짐) 에 적용될 수 있고, 수득된 정제된 폴리펩티드는 표준 방법을 사용하여 서열분석될 수 있다. 다른 방법은 문헌 (예를 들어, 특히 이소프렌의 합성에 관여하는 핵산의 확인에 대해, 전체가 참조로서 본원에 인용된 문헌 [Julsing et al ., Applied . Microbiol. Biotechnol . 75: 1377-84, 2007; Withers et al ., Appl Environ Microbiol. 73(19):6277-83, 2007] 참조) 에서 발견된다.
부가적으로는, 표준 서열 정렬 및/또는 구조 예측 프로그램은 일차 및/또는 예측된 폴리펩티드 이차 구조와, 공지된 DXS, IDI, 또는 MVA 경로 폴리펩티드 및 핵산의 구조와의 유사성에 근거한 부가적인 DXS, IDI, 또는 MVA 경로 폴리펩티드 및 핵산을 확인하기 위해 사용될 수 있다. 스위스포트-트렘블 데이터베이스 (웹사이트 "expasy.org", Swiss Institute of Bioinformatics Swiss-Prot group CMU - 1 rue Michel Servet CH-1211 Geneva 4, Switzerland) 와 같은 표준 데이터베이스가 또한 이소프렌 합성효소, DXS, IDI, 또는 MVA 경로 폴리펩티드 및 핵산을 확인하기 위해 사용될 수 있다. 이소프렌 합성효소, DXS, IDI, 또는 MVA 경로 폴리펩티드의 이차 및/또는 삼차 구조는 표준 구조 예측 프로그램, 예컨대 PredictProtein (630 West, 168 Street, BB217, New York, N.Y. 10032, USA) 의 디폴트 설정을 사용하여 예측될 수 있다. 대안적으로는, 이소프렌 합성효소, DXS, IDI, 또는 MVA 경로 폴리펩티드의 실제 이차 및/또는 삼차 구조는 표준 방법을 사용하여 측정될 수 있다. 부가적인 이소프렌 합성효소, DXS, IDI, 또는 MVA 경로 핵산은 또한 공지된 이소프렌 합성효소, DXS, IDI, 또는 MVA 경로 핵산으로부터 생성된 탐침에 대한 혼성화에 의해 확인될 수 있다.
예시적 프로모터 및 벡터
본원에 기재된 임의의 이소프렌 합성효소, DXS, IDI, 또는 MVA 경로 핵산은 하나 이상의 벡터에 포함될 수 있다. 따라서, 본 발명은 또한 본원에 기재된 이소프렌 합성효소, DXS, IDI, 또는 MVA 경로 폴리펩티드 중 임의의 것을 코딩하는 하나 이상의 핵산을 가진 벡터를 특징으로 한다. 본원에 사용되는 바와 같이, "벡터" 는 숙주 세포에서 하나 이상의 관심의 핵산을 전달할 수 있는, 바람직하게는 발현할 수 있는 구축물을 의미한다. 벡터의 예에는 플라스미드, 바이러스 벡터, DNA 또는 RNA 발현 벡터, 코스미드, 및 파지 벡터가 포함되나 이에 제한되지 않는다. 일부 구현예에서, 벡터는 발현 조절 서열의 조절 하에서 핵산을 함유한다.
본원에 사용되는 바와 같이, "발현 조절 서열" 은 관심의 핵산의 전사를 지정하는 핵산 서열을 의미한다. 발현 조절 서열은 프로모터, 예컨대 구성적 또는 유도성 프로모터, 또는 인핸서일 수 있다. "유도성 프로모터" 는 환경적 또는 발달적 규제 하에서 활성인 프로모터이다. 발현 조절 서열은 전사되는 핵산 절편에 작동가능하게 연결된다.
일부 구현예에서, 벡터는 선별 마커를 포함한다. "선별 마커" 라는 용어는 도입된 핵산 또는 벡터를 함유하는 숙주 세포의 선별을 용이하게 하는, 숙주 세포에서 발현을 가능하게 하는 핵산을 말한다. 선별가능한 마커의 예에는 항생제 내성 핵산 (예를 들어, 카나마이신, 암피실린, 카르베니실린, 젠타마이신, 하이그로마이신, 플레오마이신, 블레오마이신, 네오마이신, 또는 클로르암페니콜) 및/또는 대사적 장점, 예컨대 숙주 세포에 대한 영양적 장점을 부여하는 핵산이 포함되나 이에 제한되는 것은 아니다. 예시적인 영양 선별 마커에는 amdS, argB, 및 pyr4 로서 당업계에 공지된 마커가 포함된다. 트리코데르마 (Trichoderma) 의 형질전환을 위한 벡터 시스템에 유용한 마커는 당업계에 알려져 있다 (예를 들어, 특히 선별 마커에 관해, 본원에 전체가 참조로서 인용된 문헌 [Finkelstein, Chapter 6 in Biotechnology of Filamentous Fungi, Finkelstein et al., Eds. Butterworth-Heinemann, Boston, MA, Chap. 6., 1992; 및 Kinghorn et al., Applied Molecular Genetics of Filamentous Fungi, Blackie Academic and Professional, Chapman and Hall, London, 1992] 참조). 일부 구현예에서, 선별 마커는 amdS 핵산이며, 이것은 효소 아세타미다아제를 코딩하고, 형질변환된 세포를 질소원으로서 아세타미드 상에서 성장하도록 한다. 선별 마커로서 A. 니둘란스 (A. nidulans) amdS 핵산의 사용이 [Kelley et al, EMBO J. 4:475 - 479, 1985 및 Penttila et al., Gene 61:155-164, 1987 (특히 선별 마커에 관해, 본원에 각각 전체가 참조로서 인용됨)] 에 기재되어 있다. 일부 구현예에서, 이소프렌 합성효소, DXS, IDI, 또는 MVA 경로 핵산은 선별 마커 없이 세포의 염색체 내에 통합된다.
적합한 벡터는 사용되는 숙주 세포와 상용성인 것이다. 적합한 벡터는 예를 들어, 박테리아, 바이러스 (예컨대, 박테리오파지 T7 또는 M-13 유래 파지), 코스미드, 효모, 또는 식물로부터 유래될 수 있다. 이러한 벡터를 수득하기 위한 프로토콜 그리고 사용하는 프로토콜은 당업자에게 공지되어 있다 (예를 들어, 특히 벡터의 사용에 관해, 본원에 전체가 참조로서 인용된 Sambrook et al, Molecular Cloning: A Laboratory Manual, 2nd ed., Cold Spring Harbor, 1989 참조).
프로모터는 당업계에 잘 알려져 있다. 숙주 세포에서 기능하는 임의의 프로모터는 숙주 세포 내 이소프렌 합성효소, DXS, IDI, 또는 MVA 경로 핵산의 발현에 사용될 수 있다. 다양한 숙주 세포에서 이소프렌 합성효소, DXS, IDI, 또는 MVA 경로 핵산의 발현을 유도하는데 유용한 개시 조절 영역 또는 프로모터는 수 많으며, 당업자에게 익숙하다 (예를 들어, 특히, 관심의 핵산의 발현용 벡터에 관해, 본원에 각각 전체가 참조로서 인용된 WO 2004/033646 및 그곳에 언급된 참조문헌 참조). 상기 핵산을 유도할 수 있는 사실상 임의의 프로모터가 본 발명에 적합하다 (CYC1, HIS3, GAL1, GAL10, ADH1, PGK, PHO5, GAPDH, ADCI, TRP1, URA3, LEU2, ENO, 및 TPI (사카로마이세스 (Saccharomyces) 에서의 발현에 유용함); AOX1 (피치아 (Pichia) 에서의 발현에 유용함); 및 lac, trp, □PL, □PR, T7, tac, 및 trc (E. 콜라이에서의 발현에 유용함) 를 포함하나 이에 제한되지 않음).
일부 구현예에서, 글루코오스 이소머라아제 프로모터가 사용된다 (예를 들어, 관심의 폴리펩티드의 발현을 위한 각각의 프로모터 및 플라스미드 시스템에 관해, 본원에 각각 전체가 참조로서 인용된 미국 특허 번호 7,132,527 및 그곳에 언급된 참조문헌 참조). 보고된 글루코오스 이소머라아제 프로모터 돌연변이체는 글루코오스 이소머라아제 프로모터에 작동가능하게 연결된 핵산에 의해 코딩된 폴리펩티드의 발현 수준을 변화시키기 위해 사용될 수 있다 (미국 특허 번호 7,132,527). 다양한 구현예에서, 글루코오스 이소머라아제 프로모터는 저, 중간 또는 고 카피 플라스미드에 함유된다 (미국 특허 번호 7,132,527).
다양한 구현예에서, 이소프렌 합성효소, DXS, IDI, 및/또는 MVA 경로 핵산은 저 카피 플라스미드 (예를 들어, 세포 당 약 1 내지 약 4 카피로 유지되는 플라스미드), 중 카피 플라스미드 (예를 들어, 세포 당 약 10 내지 약 15 카피로 유지되는 플라스미드), 또는 고 카피 플라스미드 (예를 들어, 세포 당 약 50 개 이상의 카피로 유지되는 플라스미드) 에 함유된다. 일부 구현예에서, 이종 또는 추가의 내생 이소프렌 합성효소, DXS, IDI, 또는 MVA 경로 핵산은 T7 프로모터에 작동가능하게 연결된다. 일부 구현예에서, T7 프로모터에 작동가능하게 연결된 이종 또는 추가의 내생 이소프렌 합성효소, DXS, IDI, 또는 MVA 경로 핵산은 중 또는 고 카피 플라스미드에 함유된다. 일부 구현예에서, 이종 또는 추가의 내생 이소프렌 합성효소, DXS, IDI, 또는 MVA 경로 핵산은 Trc 프로모터에 작동가능하게 연결된다. 일부 구현예에서, Trc 프로모터에 작동가능하게 연결된 이종 또는 추가의 내생 이소프렌 합성효소, DXS, IDI, 또는 MVA 경로 핵산은 중 또는 고 카피 플라스미드에 함유된다. 일부 구현예에서, 이종 또는 추가의 내생 이소프렌 합성효소, DXS, IDI, 또는 MVA 경로 핵산은 Lac 프로모터에 작동가능하게 연결된다. 일부 구현예에서, Lac 프로모터에 작동가능하게 연결된 이종 또는 추가의 내생 이소프렌 합성효소, DXS, IDI, 또는 MVA 경로 핵산은 저 카피 플라스미드에 함유된다. 일부 구현예에서, 이종 또는 추가의 내생 이소프렌 합성효소, DXS, IDI, 또는 MVA 경로 핵산은 내생 프로모터, 예컨대 내생 에스케리챠 (Escherichia), 판테오아 (Panteoa), 바실러스 (Bacillus), 야로이와 (Yarrowia), 스트렙토마이세스 (Streptomyces), 또는 트리코데르마 (Trichoderma) 프로모터 또는 내생 알칼리 세린 프로테아제, 이소프렌 합성효소, DXS, IDI, 또는 MVA 경로 프로모터에 작동가능하게 연결된다. 일부 구현예에서, 내생 프로모터에 작동가능하게 연결된 이종 또는 추가의 내생 이소프렌 합성효소, DXS, IDI, 또는 MVA 경로 핵산은 고 카피 플라스미드에 함유된다. 일부 구현예에서, 벡터는 세포 내 세포 내 염색체 내에 통합되지 않는 복제 플라스미드이다. 일부 구현예에서, 벡터의 일부 또는 모두는 세포 내 염색체 내에 통합된다.
일부 구현예에서, 벡터는 진균 숙주 세포 내로 도입되는 경우 숙주 세포 게놈 내로 통합되고 복제되는 임의의 벡터이다. 벡터 목록에 대해 Fungal Genetics Stock Center Catalogue of Strains (FGSC, 특히 벡터에 관해, 본원에 각각 전체가 참조로서 인용된 웹사이트 "fgsc.net" 및 그곳에 언급된 참조문헌) 을 참조한다. 적합한 발현 및/또는 통합 벡터의 부가적인 예는 (특히 벡터에 관해, 본원에 각각 전체가 참조로서 인용된 문헌 [Sambrook et al., Molecular Cloning: A Laboratory Manual, 2nd ed., Cold Spring Harbor, 1989, Current Protocols in Molecular Biology (F. M. Ausubel et al., (eds) 1987, Supplement 30, section 7.7.18); van den Hondel et al. in Bennett and Lasure (Eds.) More Gene Manipulations in Fungi, Academic Press pp. 396-428, 1991]; 및 미국 특허 번호 5,874,276) 에 제공된다. 특히 유용한 벡터에는 pFB6, pBR322, PUC18, pUC100, 및 pENTR/D 가 포함된다.
일부 구현예에서, 이소프렌 합성효소, DXS, IDI, 또는 MVA 경로 핵산은 진균 숙주 세포에서 전사 활성을 나타내는 적합한 프로모터에 작동가능하게 연결된다. 프로모터는 숙주 세포에 대해 내생 또는 이종인 폴리펩티드를 코딩하는 하나 이상의 핵산으로부터 유래될 수 있다. 일부 구현예에서, 프로모터는 트리코데르마 (Trichoderma) 숙주에서 유용하다. 프로모터의 적합한 비-제한적 예에는 cbh1, cbh2, egl1, egl2, pepA, hfb1, hfb2, xyn1, 및 amy 가 포함된다. 일부 구현예에서, 프로모터는 숙주 세포에 대해 본래의 것이다. 예를 들어, 일부 구현예에서, T. 레에세이가 숙주인 경우, 프로모터는 본래의 T. 레에세이 프로모터이다. 일부 구현예에서, 프로모터는 T. 레에세이 cbh1 이고, 이것은 유도성 프로모터이고, 특히 프로모터에 대해, 전체가 참조로서 인용된 접근 번호 D86235 로 GenBank 에 기탁되어 있다. 일부 구현예에서, 프로모터는 진균 숙주 세포에 대해 이종인 것이다. 유용한 프로모터의 다른 예에는 A. 아와모리 및 A 니게르 글루코아밀라아제 (glaA) (특히 프로모터에 관해, 각각 전체가 참조로서 본원에 인용된 Nunberg et al., Mol. Cell Biol. 4:2306-2315, 1984 및 Boel et al., EMBO J. 3:1581-1585, 1984); 아스페르길루스 니게르 (Aspergillus niger) 알파 아밀라아제, 아스페르길루스 오리자에 (Aspergillus oryzae) TAKA 아밀라아제, T. 레에세이 xln1, 및 T. 레에세이 셀로바이오히드롤라아제 1 (특히 프로모터에 관해, 전체가 참조로서 인용된 EP 137280) 의 유전자로부터의 프로모터가 포함된다.
일부 구현예에서, 발현 벡터에는 또한 종결 서열이 포함된다. 종결 조절 영역은 또한 숙주 세포에 대해 본래의 것인 다양한 유전자로부터 유래될 수 있다. 일부 구현예에서, 종결 서열 및 프로모터 서열은 동일한 공급원으로부터 유래된다. 또다른 구현예에서, 종결 서열은 숙주 세포에 대해 내생이다. 특히 적합한 터미네이터 서열은 트리코데르마 균주 (예컨대, T. 레에세이) 로부터 유래된 cbh1 이다. 기타 유용한 진균 터미네이터에는 A. 니게르 또는 A. 아와모리 글루코아밀라아제 핵산으로부터의 터미네이터 (특히 진균 터미네이터에 관해, 본원에 전체가 각각 참조로서 인용된 Nunberg et al ., Mol . Cell Biol . 4:2306-2315, 1984 및 Boel et al ., EMBO J. 3:1581-1585, 1984) 가 포함된다. 임의로, 종결 부위가 포함될 수 있다. 폴리펩티드의 효과적인 발현을 위해, 폴리펩티드를 코딩하는 DNA 는 발현이 적합한 메신저 RNA 의 형성을 야기하도록 선택된 발현 조절 영역에 개시 코돈을 통해 작동가능하게 연결된다.
일부 구현예에서, 프로모터, 코딩 영역 및 터미네이터 모두는 발현될 이소프렌 합성효소, DXS, IDI, 또는 MVA 경로 핵산으로부터 기원한다. 일부 구현예에서, 이소프렌 합성효소, DXS, IDI, 또는 MVA 경로 핵산에 대한 코딩 영역은, 이것이 발현 구축물 프로모터 및 터미네이터 서열의 전사 통제 하에 있도록 일반적인-목적 발현 벡터 내로 삽입된다. 일부 구현예에서, 유전자 또는 이의 일부는 강한 cbh1 프로모터의 하류방향에 삽입된다.
이소프렌 합성효소, DXS, IDI, 또는 MVA 경로 핵산은 표준 기술 (특히 적합한 DNA 서열의 스크리닝 및 벡터의 구축에 관해, 본원에 전체가 참조로서 인용된 문헌 [Sambrook et al., Molecular Cloning: A Laboratory Manual, Cold Spring Harbor, 1982]) 을 사용하여 발현 벡터와 같은 벡터 내로 도입될 수 있다. 관심의 핵산 (예컨대, 이소프렌 합성효소, DXS, IDI, 또는 MVA 경로 핵산), 프로모터, 터미네이터, 및 기타 서열을 포함하는 DNA 구축물을 라이게이션하기 위해 사용되는 방법 및 이들을 적합한 벡터 내에 삽입하기 위한 방법은 당업계에 잘 알려져 있다. 예를 들어, 제한 효소는 이소프렌 합성효소, DXS, IDI, 또는 MVA 경로 핵산 및 벡터를 분할하기 위해 사용될 수 있다. 그 다음, 분할된 이소프렌 합성효소, DXS, IDI, 또는 MVA 경로 핵산의 상용성 말단 및 분할된 벡터는 라이게이션될 수 있다. 연결은 일반적으로 편리한 제한 부위에서의 라이게이션에 의해 달성된다. 이러한 부위가 존재하지 않는 경우, 합성 올리고뉴클레오티드 링커는 통상의 실시에 따라 사용된다 (특히, 올리고뉴클레오티드 링커에 관해, 전체가 참조로서 본원에 각각 인용된 문헌 [Sambrook et al., Molecular Cloning: A Laboratory Manual, 2nd ed., Cold Spring Harbor, 1989, 및 Bennett and Lasure, More Gene Manipulations in Fungi, Academic Press, San Diego, pp 70-76, 1991] 참조). 부가적으로는, 벡터는 공지된 재조합 기술을 사용하여 구축될 수 있다 (예를 들어, Invitrogen Life Technologies, Gateway Technology).
일부 구현예에서, 자연 발생적 세포에서 현재 발견되는 것보다 훨씬 더 높은 수준으로 이소프렌 합성효소, DXS, IDI, 또는 MVA 경로 핵산을 과발현시키는 것이 바람직할 것이다. 이 결과는 상기 폴리펩티드를 다중카피 플라스미드로 코딩하는 핵산의 선택성 클로닝 및 강한 유도성 또는 구성적 프로모터 하에 상기 핵산을 놓음으로써 달성될 수 있다. 원하는 폴리펩티드의 과발현 방법은 분자 생물학 업계에 공통적이고 잘 알려져 있으며, 예는 특히, 클로닝 기술에 관해, 본원에 전체가 참조로서 인용된 문헌 [Sambrook et al., Molecular Cloning: A Laboratory Manual, 2nd ed., Cold Spring Harbor, 1989] 에서 찾을 수 있다.
하기 자원에는 본 발명에 따라 유용한 부가적인 일반적 방법론의 설명이 포함된다: 특히, 분자 생물학 및 클로닝 기술에 관해, 본원에 각각 전체가 참조로서 인용된 문헌 [Kreigler, Gene Transfer and Expression; A Laboratory Manual, 1990 및 Ausubel et al., Eds. Current Protocols in Molecular Biology, 1994].
예시적 공급원 유기체
이소프렌 합성효소, DXS, IDI, 또는 MVA 경로 핵산 (및 그들의 코딩된 폴리펩티드) 은 자연적으로 이소프렌 합성효소, DXS, IDI, 및/또는 MVA 경로 핵산을 함유하는 임의의 유기체로부터 수득될 수 있다. 상기 주지된 바와 같이, 이소프렌은 다양한 유기체, 예컨대 박테리아, 효모, 식물 및 동물에 의해 자연적으로 형성된다. 유기체는 이소프렌을 제조하기 위해 MVA 경로, DXP 경로, 또는 MVA 및 DXP 경로 모두를 함유한다 (도 19). 그러므로, DXS 핵산은 예를 들어, DXP 경로를 함유하는 또는 MVA 및 DXP 경로 모두를 함유하는 임의의 유기체로부터 선택될 수 있다. IDI 및 이소프렌 합성효소 핵산은 예를 들어, MVA 경로, DXP 경로, 또는 MVA 및 DXP 경로 모두를 함유하는 임의의 유기체로부터 수득될 수 있다. MVA 경로 핵산은 MVA 경로를 함유하는 또는 MVA 및 DXP 경로 모두를 함유하는 임의의 유기체로부터 수득될 수 있다.
일부 구현예에서, 이소프렌 합성효소, DXS, IDI, 또는 MVA 경로 핵산의 핵산 서열은 자연에서 하기 유기체 중 임의의 것에 의해 제조되는 핵산의 서열과 일치한다. 일부 구현예에서, 이소프렌 합성효소, DXS, IDI, 또는 MVA 경로 폴리펩티드의 아미노산 서열은 자연에서 하기 유기체 중 임의의 것에 의해 제조되는 폴리펩티드의 서열과 일치한다. 일부 구현예에서, 이소프렌 합성효소, DXS, IDI, 또는 MVA 경로 핵산 또는 폴리펩티드는 본원에 기재된 임의의 유기체로부터 유래된 돌연변이체 핵산 또는 폴리펩티드이다. 본원에서 사용되는 바와 같은, "~ 로부터 유래된" 은 하나 이상의 돌연변이가 도입된 핵산 또는 폴리펩티드의 공급원을 말한다. 예를 들어, "식물 폴리펩티드로부터 유래된" 폴리펩티드는 하나 이상의 돌연변이를 야생형 (즉, 자연에서 발생하는 서열) 식물 폴리펩티드의 서열 내에 도입함으로부터 산출되는 관심의 폴리펩티드를 말한다.
일부 구현예에서, 공급원 유기체는 진균이고, 이의 예는 아스페르길루스 (Aspergillus) 종, 예컨대 A 오리자에 및 A 니게르, 사카로마이세스 (Saccharomyces) 종, 예컨대 S. 세레비지아에, 스퀴조사카로마이세스 (Schizosaccharomyces) 종, 예컨대 S. 폼베, 및 트리코데르마 (Trichoderma) 종, 예컨대 T. 레에세이이다. 일부 구현예에서, 공급원 유기체는 사상 진균 세포이다. "사상 진균" 이라는 용어는 아문 에우마이코티나 (Eumycotina) 의 모든 사상 형태 (Alexopoulos, C. J. (1962), Introductory Mycology, Wiley, New York 참조) 를 말한다. 상기 진균은 키틴, 셀룰로오스, 및 기타 복합 다당류로 구성된 세포벽을 갖는 영양 균사체를 특징으로 한다. 사상 진균은 효모와 형태적으로, 물리적으로 그리고 유전적으로 구별된다. 사상 진균에 의한 영양적 성장은 군사 신장에 의해 이루어지고, 탄소 이화작용은 의무적 호기성이다. 사상 진균 모 세포는 트리코데르마 (Trichoderma), (예를 들어, 트리코데르마 레에세이 (Trichoderma reesei), 하이포크레아 제코리나 (Hypocrea jecorina) 의 무성 형태, 이전에는 T. 롱기브라키아툼 (T. longibrachiatum), 트리코데르마 비리데 (Trichoderma viride), 트리코데르마 코닌기이 (Trichoderma koningii), 트리코데르마 하르지아눔 (Trichoderma harzianum) 으로서 분류되었음) (Sheir-Neirs et al., Appl. Microbiol. Biotechnol 20: 46-53, 1984; ATCC No. 56765 및 ATCC No. 26921); 페니실리움 (Penicillium) 종, 휴미콜라 (Humicola) 종 (예를 들어, H. 인솔렌스 (H. insolens), H. 라누기노스 (H. lanuginose), 또는 H. 그리세아 (H. grisea)); 크리소스포리움 (Chrysosporium) 종 (예를 들어, C. 루크노웬스 (C. lucknowense)), 글리오클라디움 (Gliocladium) 종, 아스페르길루스 (Aspergillus) 종 (예를 들어, A. 오리자에 (A. oryzae), A. 니게르 (A. niger), A. 소자에 (A. sojae), A. 자포니쿠스 (A. japonicus), A. 니둘란스 (A. nidulans), 또는 A. 아와모리 (A. awamori)) (Ward et al., Appl. Microbiol. Biotechnol. 39: 7380743, 1993 및 Goedegebuur et al, Genet 41: 89-98, 2002), 푸사리움 종 (Fusarium sp.), (예를 들어, F. 로세움 (F. roseum), F. 그라미눔 (F. graminum), F. 세레알리스 (F. cerealis), F. 옥시스포룸 (F. oxysporuim), 또는 F. 베네나툼 (F. venenatum)), 뉴로스포라 (Neurospora) 종 (예를 들어, N. 크라싸 (N. crassa)), 하이포크레아 (Hypocrea) 종, 무코르 (Mucor) 종 (예를 들어, M. 미에헤이 (M. miehei)), 리조푸스 (Rhizopus) 종 및 에메리셀라 (Emericella) 종 (또한, Innis et al., Sci. 228: 21-26, 1985 참조) 의 세포일 수 있으나 이에 제한되는 것은 아니다. "트리코데르마" 또는 "트리코데르마 종 (Trichoderma sp. 또는 Trichoderma spp.)" 이라는 용어는 트리코데르마로서 이전에 또는 현재 분류되는 임의의 진균 속을 말한다.
일부 구현예에서, 진균은 A. 니둘란스, A. 아와모리, A. 오리자에, A. 아쿨레아투스 (A. aculeatus), A. 니게르, A. 자포니쿠스, T. 레에세이, T. 비리데, F. 옥시스포룸, 또는 F. 솔라니이다. 아스페르길루스 (Aspergillus) 균주는 특히, 진균에 관해, 전체가 본원에 각각 참조로서 인용된 문헌 [Ward et al., Appl. Microbiol. Biotechnol. 39:738-743, 1993 및 Goedegebuur et al., Curr Gene 41:89-98, 2002] 에 기재되어 있다. 특정 구현예에서, 진균은 트리코데르마의 균주, 예컨대 T. 레에세이의 균주이다. T. 레에세이의 균주는 알려져 있고, 비제한적인 예에는 특히, T. 레에세이의 균주에 관해, 전체가 본원에 각각 참조로서 인용된 ATCC No. 13631, ATCC No. 26921, ATCC No. 56764, ATCC No. 56765, ATCC No. 56767, 및 NRRL 15709 가 포함된다. 일부 구현예에서, 숙주 균주는 RL-P37 의 유도체이다. RL-P37 은 특히, T. 레에세이의 균주에 관해, 전체가 본원에 참조로서 인용된 문헌 [Sheir-Neiss et al., Appl. Microbiol. Biotechnology 20:46-53, 1984] 에 기재되어 있다.
일부 구현예에서, 공급원 유기체는 효모, 예컨대 사카로마이세스 종, 스퀴조사카로마이세스 종, 피치아 종, 또는 칸디다 (Candida) 종이다.
일부 구현예에서, 공급원 유기체는 박테리아, 예컨대 바실러스의 균주, 예컨대 B. 리케니포르미스 또는 B. 서브틸리스, 판토에아 (Pantoea) 균주, 예컨대 P. 시트레아 (P. citrea), 슈도모나스 (Pseudomonas) 균주, 예컨대 P. 알칼리제네스 (P. alcaligenes), 스트렙토마이세스 균주, 예컨대 S. 리비단스 또는 S. 루비지노수스 (S. rubiginosus), 또는 에스케리챠 균주, 예컨대 E. 콜라이이다.
본원에서 사용되는 바와 같이, "바실러스 속" 에는 당업자에게 알려진 바와 같은 "바실러스" 속 내의 모든 종이 포함되며, B. 서브틸리스, B. 리케니포르미스, B. 렌투스, B. 브레비스, B. 스테아로테르모필루스 (B. stearothermophilus), B. 알칼로필루스 (B. alkalophilus), B. 아밀로리퀘파시엔스 (B. amyloliquefaciens), B. 클라우시 (B. clausii), B. 할로두란스 (B. halodurans), B. 메가테리움 (B. megaterium), B. 코아굴란스 (B. coagulans), B. 써큘란스 (B. circulans), B. 라우투스 (B. lautus), 및 B. 투린지엔시스 (B. thuringiensis) 가 포함되나 이에 제한되지 않는다. 바실러스 속에 대한 분류학 재편성이 지속적으로 이루어짐을 인지한다. 그러므로, 속에는 이제는 "제오바실러스 스테아로테르모필러스 (Geobacillus stearothermophilus)" 라고 칭하는 B. 스테아로테르모필러스 (B. stearothermophilus) 와 같은 유기체가 포함되나 이에 제한되지 않는, 재분류된 종이 포함되는 것으로 의도된다. 산소의 존재하에서 저항성 내생포자의 생성은 바실러스 속의 정의된 특징으로 간주되나, 이러한 특성은 또한 최근의 명칭 알리시클로바실러스 (Alicyclobacillus), 암피바실러스 (Amphibacillus), 아뉴리니바실러스 (Aneurinibacillus), 아녹시바실러스 (Anoxybacillus), 브레비바실러스 (Brevibacillus), 필로바실러스 (Filobacillus), 그라실리바실러스 (Gracilibacillus), 할로바실러스 (Halobacillus), 파에니바실러스 (Paenibacillus), 살리바실러스 (Salibacillus), 테르모바실러스 (Thermobacillus), 우레이바실러스 (Ureibacillus), 및 버지바실러스 (Virgibacillus) 에도 적용된다.
일부 구현예에서, 공급원 유기체는 그람-양성 박테리아이다. 비-제한적인 예에는 스트렙토마이세스 (Streptomyces) (예를 들어, S. 리비단스, S. 코엘리콜로르, 또는 S. 그리세우스) 및 바실러스의 균주가 포함된다. 일부 구현예에서, 공급원 유기체는 그람-음성 박테리아, 예컨대 E. 콜라이 또는 슈도모나스 종이다.
일부 구현예에서, 공급원 유기체는 식물, 예컨대 파바세아에 (Fabaceae) 족, 예컨대 파보이데아에 (Faboideae) 아족으로부터의 식물이다. 일부 구현예에서, 공급원 유기체는 칡, 포플러 (예컨대, 포풀러스 알바 x 트레물라 (Populus alba x tremula) CAC35696), 사시나무 (예컨대, 포풀러스 트레물로이데스 (Populus tremuloides)), 또는 퀘르쿠스 로부르 (Quercus robur) 이다.
일부 구현예에서, 공급원 유기체는 조류, 예컨대 녹색 조류, 적색 조류, 회조류, 클로라라크니오조류, 유글레나, 크로미스타, 또는 와편모충이다.
일부 구현예에서, 공급원 유기체는 시아노박테리아, 예컨대 형태학 상으로 하기 그룹 중 임의의 것으로 분류되는 시아노박테리아이다: 크로오코칼스 (Chroococcales), 플뤠로캅살스 (Pleurocapsales), 오실라토리알레스 (Oscillatoriales), 노스토칼레스 (Nostocales), 또는 스티고네마탈레스 (Stigonematales).
예시적 숙주 세포
다양한 숙주 세포는 이소프렌 합성효소, DXS, IDI, 및/또는 MVA 경로 폴리펩티드를 발현하고, 청구된 본 발명의 방법에서 이소프렌을 제조하기 위해 사용될 수 있다. 예시적 숙주 세포에는 "예시적 공급원 유기체" 라는 표제하에서 이전 섹션에서 열거된 임의의 유기체로부터의 세포가 포함된다. 숙주 세포는 이소프렌을 자연적으로 제조하는 세포 또는 이소프렌을 자연적으로 제조하지 않는 세포일 수 있다. 일부 구현예에서, 숙주 세포는 DXP 경로를 사용하여 이소프렌을 자연적으로 제조하고, 이소프렌 합성효소, DXS, 및/또는 IDI 핵산은 상기 경로를 사용하여 이소프렌의 제조를 향상시키기 위해 첨가된다. 일부 구현예에서, 숙주 세포는 MVA 경로를 사용하여 이소프렌을 자연적으로 제조하고, 이소프렌 합성효소 및/또는 하나 이상의 MVA 경로 핵산은 상기 경로를 사용하여 이소프렌의 제조를 향상시키기 위해 첨가된다. 일부 구현예에서, 숙주 세포는 DXP 경로를 사용하여 이소프렌을 자연적으로 제조하고, 하나 이상의 MVA 경로 핵산은 MVA 경로의 일부 또는 전부 뿐 아니라 DXP 경로를 사용하여 이소프렌을 제조하기 위해 첨가된다. 일부 구현예에서, 숙주 세포는 DXP 및 MVA 경로 모두를 사용하여 이소프렌을 자연적으로 제조하고, 하나 이상의 이소프렌 합성효소, DXS, IDI, 또는 MVA 경로 핵산은 상기 경로 중 하나 또는 모두에 의한 이소프렌의 제조를 향상시키기 위해 첨가된다.
예시적 형질전환 방법
이소프렌 합성효소, DXS, IDI, 및/또는 MVA 경로 핵산 또는 이들을 함유하는 벡터는 코딩된 이소프렌 합성효소, DXS, IDI, 및/또는 MVA 경로 폴리펩티드의 발현을 위해 표준 기술을 사용하여 숙주 세포 (예를 들어, 식물 세포, 진균 세포, 효모 세포, 또는 본원에 기재된 박테리아 세포) 내로 삽입될 수 있다. 숙주 세포 내로의 DNA 구축물 또는 벡터의 도입은 형질전환, 전기천공법, 핵 마이크로주입, 형질도입, 트랜스펙션 (예를 들어, 리포펙틴 매개 또는 DEAE-덱스트린 매개 트랜스펙션 또는 재조합 파지 바이러스를 사용하는 트랜스펙션), 인산칼슘 DNA 침전물로의 인큐베이션, DNA-코팅 마이크로발사체로의 고속 포격, 및 원생동물 융합과 같은 기술을 사용하여 수행될 수 있다. 일반적인 형질전환 기술은 당업계에 알려져 있다 (예를 들어, 특히, 형질전환 방법에 관해, 전체가 참조로서 본원에 각각 인용된 문헌 [Current Protocols in Molecular Biology (F. M. Ausubel et al. (eds) Chapter 9, 1987; Sambrook et al., Molecular Cloning: A Laboratory Manual, 2nd ed., Cold Spring Harbor, 1989; 및 Campbell et al., Curr . Genet. 16:53-56, 1989] 참조). 트리코데르마 내 이종 폴리펩티드의 발현은 특히, 형질전환 및 발현 방법에 관해, 전체가 참조로서 본원에 각각 인용된 미국 특허 번호 6,022,725; 미국 특허 번호 6,268,328; 미국 특허 번호 7,262,041; WO 2005/001036; Harkki et al .; Enzyme Microb . Technol. 13:227-233, 1991; Harkki et al ., Bio Technol. 7:596-603, 1989; EP 244,234; EP 215,594; 및 Nevalainen et al ., " The Molecular Biology of Trichoderma and its Application to the Expression of Both Homologous and Heterologous Genes," in Molecular Industrial Mycology, Eds. Leong and Berka, Marcel Dekker Inc., NY pp. 129 - 148, 1992] 에 기재되어 있다. 또한, 아스페르길루스 균주의 형질전환에 대해 Cao et al., (Sci. 9:991-1001, 2000; EP 238023; 및 Yelton et al ., Proceedings . Natl . Acad . Sci. USA 81:1470-1474, 1984 (특히, 형질전환 방법에 관해, 전체가 참조로서 본원에 각각 인용됨) 를 참조할 수 있다. 도입된 핵산은 염색체 DNA 내로 통합될 수 있거나, 외부염색체 복제 서열로서 유지될 수 있다.
당업계에 공지된 임의의 방법은 형질전환체를 선택하는데 사용될 수 있다. 하나의 비제한적 예에서, amdS 마커를 포함하는 안정한 형질전환체는, 빠른 성장 속도와 아세타미드를 함유하는 고체 배양 배지 상에서의 우둘투둘하다기 보다는 매끈한 가장자리를 갖는 원형 콜로니의 형성에 의해 불안정한 형질전환체와 구별된다. 부가적으로는, 일부 경우에서, 추가의 안정성 시험은, 고체 비-선별 배지 (예를 들어, 아세타미드가 결핍된 배지) 상에서 형질전환체를 성장시키고, 상기 배양 배지로부터 포자를 수확하고, 아세타미드를 함유하는 선별 배지 상에서 후속적으로 발아하고 성장하는 포자의 % 를 측정하여 수행된다.
일부 구현예에서, 진균 세포는 원생동물 형성 및 원생동물의 형질전환 후 공지된 방식으로 세포 벽의 재생을 포함하는 방법에 의해 형질전환된다. 하나의 특이적 구현예에서, 형질전환을 위한 트리코데르마 종의 조제는 진균 균사로부터의 원생동물의 조제를 포함한다 (특히, 형질전환 방법에 관해, 본원에 전체가 참조로서 인용된 문헌 [Campbell et al ., Curr . Genet . 16:53-56, 1989] 참조). 일부 구현예에서, 균사는 발아된 영양 포자로부터 수득된다. 균사는 원생동물을 야기하는 세포벽을 소화하는 효소로 처리된다. 그 다음 원생동물은 현탁 배지 내 삼투압 안정화제의 존재에 의해 보호된다. 상기 안정화제에는 소르비톨, 만니톨, 염화칼륨, 황산마그네슘 등이 포함된다. 통상, 상기 안정화제의 농도는 0.8 M 내지 1.2 M 이다. 현탁 배지 내 소르비톨의 약 1.2 M 용액을 사용하는 것이 바람직하다.
숙주 트리코데르마 종 균주 내로의 DNA 의 섭취는 칼슘 이온 농도에 따라 다르다. 일반적으로, 약 10 mM CaCl2 내지 50 mM CaCl2 가 섭취 용액에 사용된다. 섭취 용액 내 칼슘 이온 외에, 일반적으로 포함되는 다른 화합물은 TE 완충액 (10 Mm Tris, pH 7.4; 1 mM EDTA) 또는 10 mM MOPS, pH 6.0 완충액 (모르폴린프로판술폰산) 및 폴리에틸렌 글리콜 (PEG) 과 같은 완충 시스템이다. 임의의 특정 이론에 구애되는 것으로 의도되지 않으면서, 폴리에틸렌 글리콜은 세포막을 융합시키도록 작용하여, 배지의 내용물이 트리코데르마 종 균주의 세포질 내로 전달되도록 하고, 플라스미드 DNA 가 핵으로 이동되도록 하는 것으로 여겨진다. 상기 융합은 종종 숙주 염색체 내에 통합된 플라스미드 DNA 의 다중 카피를 남긴다.
통상적으로, 105 내지 107/mL (예컨대 2 × 106/mL) 의 밀도로 투과성 처리에 적용된 트리코데르마 종 원생동물 또는 세포를 함유하는 현탁액이 형질전환에 사용된다. 적합한 용액 (예를 들어, 1.2 M 소르비톨 및 50 mM CaCl2) 내 부피 100 ㎕ 의 상기 원생동물 또는 세포를 바람직한 DNA 와 혼합한다. 일반적으로, 고 농도의 PEG 를 섭취 용액에 첨가한다. 0.1 내지 1 부피의 25% PEG 4000 을 원생동물 현탁액에 첨가할 수 있다. 일부 구현예에서, 약 0.25 부피를 원생동물 현탁액에 첨가한다. 디메틸 술폭시드, 헤파린, 스페르미딘, 염화칼륨 등과 같은 첨가제를 또한 섭취 용액에 첨가하고 형질전환을 도울 수 있다. 유사한 절차가 다른 진균 숙주 세포 (예를 들어, 특히, 형질전환 방법에 관해, 각각 본원에 전체가 참조로서 인용된 미국 특허 번호 6,022,725 및 6,268,328 참조) 에 대해 이용가능하다.
일반적으로, 그 다음 혼합물은 10 내지 30 분의 기간 동안 대략 0℃ 에서 배양된다. 그 다음 부가적인 PEG 를 혼합물에 첨가하여 바람직한 핵산 서열의 섭취를 추가로 향상시킨다. 25% PEG 4000 은 일반적으로 형질전환 혼합물의 부피의 5 내지 15 배 부피로 첨가된다; 그러나, 다소 적거나 많은 부피가 적합할 수 있다. 25% PEG 4000 은 바람직하게는 형질전환 혼합물의 약 10 배 부피이다. PEG 를 첨가한 후, 그 다음 형질전환 혼합물은 소르비톨 및 CaCl2 용액의 첨가 전 실온 또는 빙상에서 배양된다. 그 다음 원생동물 현탁액을 성장 배지의 용융 분취액에 추가로 첨가한다. 성장 배지가 성장 선별 (예를 들어, 아세타미드 또는 항생제) 에 포함되는 경우, 이것은 형질전환체의 성장만을 허용한다.
박테리아 세포의 형질전환은 예를 들어, 특히, 형질전환 방법에 관해, 본원에 전체가 참조로서 인용된 문헌 [Sambrook et al., Molecular Cloning: A Laboratory Manual, Cold Spring Harbor, 1982] 에 기재된 바와 같은 통상의 방법에 따라 수행될 수 있다.
예시적 세포 배양 배지
본 발명에는 또한 이소프렌을 제조하는 세포 또는 배양물 내 세포의 집단이 포함된다. "배양물 내 세포" 란, 세포가 1 회 이상의 세포 분열을 겪도록 하는 용액 (예를 들어, 세포 배지) 내 2 개 이상의 세포를 의미한다. "배양물 내 세포" 에는 식물 조직으로 분화된 세포를 함유하는 살아있는, 다세포 식물의 일부인 식물 세포는 포함되지 않는다. 다양한 구현예에서, 세포 배양물에는 약 10, 20, 50, 100, 200, 500, 1,000, 5,000, 10,000 개 이상의 세포가 포함된다.
임의의 탄소원은 숙주 세포를 배양하기 위해 사용될 수 있다. "탄소원" 이라는 용어는 숙주 세포 또는 유기체에 의해 대사될 수 있는 하나 이상의 탄소-함유 화합물을 말한다. 예를 들어, 숙주 세포를 배양하는데 사용되는 세포 배지에는 생존력을 유지하거나 숙주 세포를 성장시키는데 적합한 임의의 탄소원이 포함될 수 있다.
일부 구현예에서, 탄소원은 탄수화물 (예컨대, 단당류, 이당류, 올리고당류, 또는 다당류), 전화당 (예를 들어, 효소적으로 처리된 수크로오스 시럽), 글리세롤, 글리세린 (예를 들어, 바이오디젤 또는 비누 제조 공정의 글리세린 부산물), 디히드록시아세톤, 일-탄소원, 오일 (예를 들어, 식물 또는 식물성 오일, 예컨대 옥수수, 야자, 또는 대두유), 동물 지방, 동물 오일, 지방산 (예를 들어, 포화 지방산, 불포화 지방산, 또는 다중불포화 지방산), 지질, 인지질, 글리세롤지질, 모노글리세라이드, 디글리세라이드, 트리글리세라이드, 폴리펩티드 (예를 들어, 미생물 또는 식물 단백질 또는 펩티드), 재생가능 탄소원 (예를 들어, 바이오매스 탄소원, 예컨대 가수분해된 바이오매스 탄소원), 효모 추출물, 효모 추출물로부터의 성분, 중합체, 산, 알코올, 알데하이드, 케톤, 아미노산, 숙시네이트, 락테이트, 아세테이트, 에탄올, 또는 상기 중 2 개 이상의 임의의 조합이다. 일부 구현예에서, 탄소원은 글루코오스를 포함하나 이에 제한되지 않는 광합성 생성물이다.
예시적 단당류에는 글루코오스 및 프룩토오스가 포함되고; 예시적 올리고당류에는 락토오스 및 수크로오스가 포함되고, 예시적 다당류에는 전분 및 셀룰로오스가 포함된다. 예시적 탄수화물에는 C6 당 (예를 들어, 프룩토오스, 만노오스, 갈락토오스, 또는 글루코오스) 및 C5 당 (예를 들어, 자일로오스 또는 아라비노오스) 이 포함된다. 일부 구현예에서, 세포 배지에는 탄수화물 뿐 아니라 탄수화물 이외의 탄소원 (예를 들어, 글리세롤, 글리세린, 디히드록시아세톤, 일-탄소원, 오일, 동물 지방, 동물 오일, 지방산, 지질, 인지질, 글리세롤지질, 모노글리세라이드, 디글리세라이드, 트리글리세라이드, 재생가능 탄소원, 또는 효모 추출물로부터의 성분) 이 포함된다. 일부 구현예에서, 세포 배지에는 탄수화물 뿐 아니라 폴리펩티드 (예를 들어, 미생물 또는 식물 단백질 또는 펩티드) 가 포함된다. 일부 구현예에서, 미생물 폴리펩티드는 효모 또는 박테리아로부터의 폴리펩티드이다. 일부 구현예에서, 식물 폴리펩티드는 대두, 옥수수, 카놀라, 야트로파, 야자, 땅콩, 해바라기, 코코넛, 머스타드, 평지씨, 면화씨, 야자핵, 올리브, 잇꽃, 참깨, 또는 아마씨로부터의 폴리펩티드이다.
일부 구현예에서, 탄수화물의 농도는 브로쓰 1 리터 당 약 5 그램 이상 (g/L, 브로쓰의 부피에는 세포의 부피 및 세포 배지의 부피가 모두 포함된다), 예컨대 약 10, 15, 20, 30, 40, 50, 60, 80, 100, 150, 200, 300, 400, 이상 g/L 이다. 일부 구현예에서, 탄수화물의 농도는 약 50 내지 약 400 g/L, 예컨대 약 100 내지 약 360 g/L, 약 120 내지 약 360 g/L, 또는 약 200 내지 약 300 g/L 이다. 일부 구현예에서, 상기 탄수화물의 농도에는 숙주 세포의 배양 전 및/또는 그 동안 첨가되는 탄수화물의 총 양이 포함된다.
일부 구현예에서, 세포는 제한된 글루코오스 조건 하에서 배양된다. "제한된 글루코오스 조건" 이란, 첨가되는 글루코오스의 양이 세포에 의해 소모되는 글루코오스의 양의 약 105% 이하 (예컨대, 약 100%) 인 것을 의미한다. 특정 구현예에서, 배양 배지에 첨가되는 글루코오스의 양은 특정 시간 동안 세포에 의해 소모되는 글루코오스의 양과 대략 동일하다. 일부 구현예에서, 세포 성장 속도는 세포가 세포 배지 내 글루코오스의 양에 의해 지지될 수 있는 속도로 성장하는 식으로 첨가된 글루코오스의 양을 제한하여 조절된다. 일부 구현예에서, 글루코오스는 세포가 배양된 시간 동안 축적되지 않는다. 다양한 구현예에서, 세포는 약 1, 2, 3, 5, 10, 15, 20, 25, 30, 35, 40, 50, 60, 또는 70 시간 이상 동안 제한된 글루코오스 조건 하에서 배양된다. 다양한 구현예에서, 세포는 세포가 배양되는 총 시간 길이의 약 5, 10, 15, 20, 25, 30, 35, 40, 50, 60, 70, 80, 90, 95, 또는 100% 이상 동안 제한된 글루코오스 조건 하에서 배양된다. 임의의 특정 이론에 구애되는 것으로 의도되지 않으면서, 제한된 글루코오스 조건이 더욱 바람직한 세포의 조절을 가능하게 할 수 있을 것으로 여겨진다.
일부 구현예에서, 세포는 과량의 글루코오스의 존재하에서 배양된다. 특정 구현예에서, 첨가되는 글루코오스의 양은 특정 시간 기간 동안 세포에 의해 소모되는 글루코오스의 양의 약 105% (예컨대, 약 110, 120, 150, 175, 200, 250, 300, 400, 또는 500% 초과) 이상이다. 일부 구현예에서, 글루코오스는 세포가 배양되는 시간 동안 축적된다.
예시적 지질은 포화, 불포화 또는 분지된 C4 이상의 지방산인 하나 이상의 지방산을 함유하는 임의의 성분이다.
예시적 오일은 실온에서 액체인 지질이다. 일부 구현예에서, 지질은 하나 이상의 C4 이상의 지방산 (예를 들어, 4 개 이상의 탄소를 갖는 하나 이상의 포화, 불포화 또는 분지형 지방산을 함유함) 을 함유한다. 일부 구현예에서, 오일은 대두, 옥수수, 카놀라, 야트로파, 야자, 땅콩, 해바라기, 코코넛, 머스타드, 평지씨, 면화씨, 야자핵, 올리브, 잇꽃, 참깨, 아마씨, 유질 미생물 세포, 오구나무, 또는 상기 중 2 이상의 임의의 조합으로부터 수득된다.
예시적 지방산에는 화학식 RCOOH (식 중, "R" 은 탄화수소임) 의 화합물이 포함된다. 예시적 불포화 지방산에는 "R" 에 하나 이상의 탄소-탄소 이중 결합이 포함되는 화합물이 포함된다. 예시적 불포화 지방산에는 올레산, 박센산, 리놀레산, 팔미텔라이드산, 및 아라키돈산이 포함되나 이에 제한되는 것은 아니다. 예시적 다중불포화 지방산에는 "R" 에 다수의 탄소-탄소 이중 결합이 포함되는 화합물이 포함된다. 예시적 포화 지방산에는 "R" 이 포화 지방족 기인 화합물이 포함된다. 일부 구현예에서, 탄소원에는 하나 이상의 C12-C22 지방산, 예컨대 C12 포화 지방산, C14 포화 지방산, C16 포화 지방산, C18 포화 지방산, C20 포화 지방산, 또는 C22 포화 지방산이 포함된다. 예시적 구현예에서, 지방산은 팔미트산이다. 일부 구현예에서, 탄소원은 지방산의 염 (예를 들어, 불포화 지방산), 지방산의 유도체 (예를 들어, 불포화 지방산), 또는 지방산의 염 또는 유도체 (예를 들어, 불포화 지방산) 이다. 적합한 염에는 리튬 염, 칼륨 염, 나트륨 염 등이 포함되나 이에 제한되지 않는다. 디- 및 트리글리세롤은 글리세롤의 지방산 에스테르이다.
일부 구현예에서, 지질, 오일, 지방, 지방산, 모노글리세라이드, 디글리세라이드, 또는 트리글리세라이드의 농도는 브로쓰 1 리터 당 약 1 그램 이상 (g/L, 브로쓰의 부피에는 세포의 부피 및 세포 배지의 부피가 모두 포함된다), 예컨대 약 5, 10, 15, 20, 30, 40, 50, 60, 80, 100, 150, 200, 300, 400 g/L 이상이다. 일부 구현예에서, 지질, 오일, 지방, 지방산, 모노글리세라이드, 디글리세라이드, 또는 트리글리세라이드의 농도는 약 10 내지 약 400 g/L, 예컨대 약 25 내지 약 300 g/L, 약 60 내지 약 180 g/L, 또는 약 75 내지 약 150 g/L 이다. 일부 구현예에서, 농도에는 숙주 세포의 배양 전 및/또는 그 동안 첨가되는 지질, 오일, 지방, 지방산, 모노글리세라이드, 디글리세라이드, 또는 트리글리세라이드의 총 양이 포함된다. 일부 구현예에서, 탄소원에는 (i) 지질, 오일, 지방, 지방산, 모노글리세라이드, 디글리세라이드, 또는 트리글리세라이드 및 (ii) 탄수화물, 예컨대 글루코오스가 모두 포함된다. 일부 구현예에서, 지질, 오일, 지방, 지방산, 모노글리세라이드, 디글리세라이드, 또는 트리글리세라이드 대 탄수화물의 비는 탄소 기준으로 (즉, 탄수화물 탄소 당 지질, 오일, 지방, 지방산, 모노글리세라이드, 디글리세라이드, 또는 트리글리세라이드 내 1 개 탄소) 약 1:1 이다. 특정 구현예에서, 지질, 오일, 지방, 지방산, 모노글리세라이드, 디글리세라이드, 또는 트리글리세라이드의 양은 약 60 내지 180 g/L 이고, 탄수화물의 양은 약 120 내지 360 g/L 이다.
예시적 미생물 폴리펩티드 탄소원에는 효모 또는 박테리아로부터의 하나 이상의 폴리펩티드가 포함된다. 예시적 식물 폴리펩티드 탄소원에는 대두, 옥수수, 카놀라, 야트로파, 야자, 땅콩, 해바라기, 코코넛, 머스타드, 평지씨, 면화씨, 야자핵, 올리브, 잇꽃, 참깨, 또는 아마씨로부터의 하나 이상의 폴리펩티드가 포함된다.
예시적 재생가능 탄소원에는 치즈 유청 침투물, 옥수수 침지액, 사탕무우 당밀, 보리 누룩, 및 상기 중 임의의 것으로부터의 성분이 포함된다. 예시적 재생가능 탄소원에는 또한 바이오매스에 존재하는 글루코오스, 헥소오스, 펜토오스 및 자일로오스, 예컨대 옥수수, 지팽이풀 (switchgrass), 사탕수수, 발효 공정의 세포 폐기물, 및 대두, 옥수수, 또는 밀의 제분으로부터의 단백질 부산물이 포함된다. 일부 구현예에서, 바이오매스 탄소원은 리그노셀룰로오스, 헤미셀룰로오스 또는 세룰로오스 물질, 예컨대, 잔디, 밀, 밀짚, 버개스, 사탕수수 버개스, 침엽수 펄프, 옥수수, 옥수수 속 또는 겉껍질, 옥수수 핵, 옥수수 핵으로부터의 섬유, 옥수수 대, 지팽이풀, 왕겨 생성물, 또는 곡물의 습윤 또는 건조 제분으로부터의 부산물 (예를 들어, 옥수수, 수수, 호밀, 라이밀 (triticate), 보리, 밀, 및/또는 주정박) 이나 이에 제한되지 않는다. 예시적 세룰로오스 물질에는 목재, 종이 및 펄프 폐기물, 초본 식물, 및 과일 과육이 포함된다. 일부 구현예에서, 탄소원에는 임의의 식물 부분, 예컨대 줄기, 곡물, 뿌리 또는 덩이줄기가 포함된다. 일부 구현예에서, 하기 식물 중 임의의 것의 전부 또는 일부는 탄소원으로서 사용된다: 옥수수, 밀, 호밀, 수수, 라이밀, 쌀, 기장, 보리, 카사바, 콩과, 예컨대 콩 및 완두콩, 감자, 고구마, 바나나, 사탕수수, 및/또는 타피오카. 일부 구현예에서, 탄소원은 바이오매스 가수분해물, 예컨대 자일로오스 및 글루코오스를 모두 포함하는 또는 수크로오스 및 글루코오스를 모두 포함하는 바이오매스 가수분해물이다.
일부 구현예에서, 재생가능 탄소원 (예컨대, 바이오매스) 은 세포 배양 배지에 첨가되기 전에 전처리된다. 일부 구현예에서, 전처리에는 효소적 전처리, 화학적 전처리, 또는 효소적 및 화학적 전처리 모두의 조합 (예를 들어, 특히, 재생가능 탄소원의 전처리에 관해, 각각 본원에 전체가 참조로서 인용된 문헌 [Farzaneh et al ., Bioresource Technology 96 (18): 2014-2018, 2005]; 미국 특허 번호 6,176,176; 미국 특허 번호 6,106,888 참조) 이 포함된다. 일부 구현예에서, 재생가능 탄소원은 세포 배양 배지에 첨가되기 전에 부분적으로 또는 완전히 가수분해된다.
일부 구현예에서, 재생가능 탄소원 (예컨대, 옥수수 대) 은 세포 배양 배지에 첨가하기 전에 암모니아 섬유 팽창 (AFEX) 전처리에 적용된다 (예를 들어, 문헌 [Farzaneh et al ., Bioresource Technology 96 (18): 2014-2018, 2005] 참조). AFEX 전처리 동안, 재생가능 탄소원을 중간 온도 (예컨대, 약 60 내지 약 100℃) 및 고압 (예컨대, 약 250 내지 약 300 psi) 에서 약 5 분 동안 액체 무수 암모니아로 처리한다. 그 다음, 압력은 빠르게 방출된다. 이 과정에서, 리그닌 가용화, 헤미셀룰로오스 가수분해, 셀룰로오스 탈결정화 (decrystallization) 의 조합된 화학적 및 물리적 효과, 및 증가된 표면적은 셀룰로오스 및 헤미셀룰로오스의 발효성 당으로의 거의 완전한 효소적 전환을 가능하게 한다. AFEX 전처리는, 거의 모든 암모니아가 회수 및 재사용될 수 있는 반면, 나머지는 하류방향 과정 내 미생물에 대한 질소원으로서 담당한다는 장점을 갖는다. 또한, 세정 스트림이 AFEX 전처리에 필요하지 않다. 그러므로, AFEX 처리 후 건조 물질 회수는 본질적으로 100% 이다. AFEX 는 기본적으로 건조 내지 건조 공정이다. 처리된 재생가능 탄소원은 장기간 동안 안정하고, 효소적 가수분해 또는 발효 공정에 매우 높은 고체 적재량으로 공급될 수 있다. 셀룰로오스 및 헤미셀룰로오스는 분해되지 않거나 거의 분해되지 않으면서, AFEX 공정에서 매우 잘 보존된다. AFEX 전처리를 거친 재생가능 탄소원의 효소적 가수분해 전에 중화할 필요가 없다. AFEX-처리된 탄소원의 효소적 가수분해는 후속 발효 용도를 위해 깨끗한 당 스트림을 생성한다.
일부 구현예에서, 탄소원 (예를 들어, 재생가능 탄소원) 의 농도는 약 0.1, 0.5, 1, 1.5, 2, 3, 4, 5, 10, 15, 20, 30, 40, 또는 50% 이상 글루코오스 (w/v) 에 동등하다. 동등량의 글루코오스는 탄소원으로부터 발생된 글루코오스의 양을 측정하기 위한 참조로서 글루코오스로의 표준 HPLC 방법을 사용하여 측정할 수 있다. 일부 구현예에서, 탄소원 (예를 들어, 재생가능 탄소원) 의 농도는 약 0.1 내지 약 20% 글루코오스, 예컨대 약 0.1 내지 약 10% 글루코오스, 약 0.5 내지 약 10% 글루코오스, 약 1 내지 약 10% 글루코오스, 약 1 내지 약 5% 글루코오스, 또는 약 1 내지 약 2% 글루코오스에 동등하다.
일부 구현예에서, 탄소원에는 효모 추출물 또는 효모 추출물의 하나 이상의 성분이 포함된다. 일부 구현예에서, 효모 추출물의 농도는 브로쓰 1 리터 당 1 그램 이상의 효모 추출물 (g/L, 브로쓰의 부피에는 세포의 부피 및 세포 배지의 부피가 모두 포함된다), 예컨대 약 5, 10, 15, 20, 30, 40, 50, 60, 80, 100, 150, 200, 300 g/L 이상이다. 일부 구현예에서, 효모 추출물의 농도는 약 1 내지 약 300 g/L, 예컨대 약 1 내지 약 200 g/L, 약 5 내지 약 200 g/L, 약 5 내지 약 100 g/L, 또는 약 5 내지 약 60 g/L 이다. 일부 구현예에서, 농도에는 숙주 세포의 배양 전 및/또는 그 동안 첨가되는 효모 추출물의 총 양이 포함된다. 일부 구현예에서, 탄소원에는 효모 추출물 (또는 그의 하나 이상의 성분) 및 또다른 탄소원, 예컨대 글루코오스 모두가 포함된다. 일부 구현예에서, 효모 추출물 대 다른 탄소원의 비는 약 1:5, 약 1:10, 또는 약 1:20 (w/w) 이다.
부가적으로는, 탄소원은 또한 이산화탄소, 또는 메탄올과 같은 1-탄소 기질일 것이다. 단일 탄소원 (예를 들어, 메탄올, 포름알데하이드, 또는 포르메이트) 로부터의 글리세롤 제조는 메틸요구성 효모 (특히, 탄소원에 관해, 본원에 전체가 참조로서 인용된 문헌 [Yamada et al ., Agric . Biol . Chem ., 53(2) 541-543, 1989]) 및 박테리아 (특히, 탄소원에 관해, 본원에 전체가 참조로서 인용된 문헌 [Hunter et . al ., Biochemistry, 24, 4148-4155, 1985]) 에서 보고되어 있다. 상기 유기체는 메탄에서 포르메이트로의 산화 상태 범위의 단일 탄소 화합물을 동화시키고, 글리세롤을 제조할 수 있다. 탄소 동화 경로는 리불로오스 모노포스페이트를 통해, 세린을 통해, 또는 자일룰로오스-모노포스페이트를 통해 (특히, 탄소원에 관해, 본원에 전체가 참조로서 인용된 문헌 [Gottschalk, Bacterial Metabolism, Second Edition, Springer-Verlag: New York, 1986]) 이루어질 수 있다. 리불로오스 모노포스페이트 경로에는 프룩토오스 및 결국에는 3 탄소 생성물 글리세르알데하이드-3-포스페이트가 되는 6 탄당을 형성하는, 포르메이트의 리불로오스-5-포스페이트와의 축합이 포함된다. 마찬가지로, 세린 경로는 메틸렌테트라히드로폴레이트를 통한 당분해 경로로 1-탄소 화합물을 동화시킨다.
1 내지 2 탄소 기질 외에, 메틸요구성 유기체는 또한 대사 활성을 위해 메틸아민, 글루코사민과 같은 화합물 및 다양한 아미노산을 함유하는 수 많은 다른 탄소를 이용하는 것으로 알려져 있다. 예를 들어, 메틸요구성 효모는 트레할로오스 또는 글리세롤을 형성하기 위해 메틸아민으로부터 탄소를 이용하는 것으로 알려져 있다 (특히, 탄소원에 관해, 본원에 전체가 참조로서 인용된 문헌 [Bellion et al, Microb . Growth Cl Compd ., [Int. Symp.], 7th ed., 415-32. Editors: Murrell et al ., Publisher: Intercept, Andover, UK, 1993]). 유사하게는, 칸디다의 다양한 종은 알라닌 또는 올레산을 대사한다 (특히, 탄소원에 관해, 본원에 전체가 참조로서 인용된 문헌 [Suiter et al ., Arch . Microbiol. 153(5), 485-9, 1990]).
일부 구현예에서, 세포를 생리학적 염 및 영양분을 함유하는 표준 배지에서 배양한다 (예를 들어, 특히, 세포 배지에 관해, 본원에 전체가 각각 참조로서 인용된 문헌 [Pourquie, J. et al ., Biochemistry and Genetics of Cellulose Degradation, eds. Aubert et al., Academic Press, pp. 71-86, 1988 및 Ilmen et al., Appl . Environ . Microbiol . 63:1298-1306, 1997] 참조). 예시적 성장 배지는 보통의 시판 제조 배지, 예컨대 루리아 베르타니 (Luria Bertani: LB) 브로쓰, 사보우라우드 덱스트로오스 (Sabouraud Dextrose: SD) 브로쓰, 또는 효모 배지 (Yeast medium: YM) 브로쓰이다. 기타 정의된 또는 합성 성장 배지가 또한 사용될 수 있고, 특정 숙주 세포의 성장에 적합한 배지가 미생물학 또는 발효 과학 당업자에게 알려져 있다.
적합한 탄소원 외에, 세포 배지는 바람직하게는 적합한 미네랄, 염, 보조인자, 완충액, 및 배양물 성장 또는 이소프렌 제조의 향상에 적합한 당업자에게 알려져 있는 다른 성분을 함유한다 (예를 들어, 특히, 세포 배지 및 세포 배양 조건에 관해, 본원에 전체가 각각 참조로서 인용된 WO 2004/033646 및 그곳에 언급된 참조문헌 및 WO 96/35796 및 그곳에 언급된 참조문헌 참조). 이소프렌 합성효소, DXS, IDI, 및/또는 MVA 경로 핵산이 유도성 프로모터의 조절 하에 있는 일부 구현예에서, 유도제 (예를 들어, 당, 금속 염 또는 항생제) 가 바람직하게는, 이소프렌 합성효소, DXS, IDI, 및/또는 MVA 경로 폴리펩티드의 발현을 유도하는데 효과적인 농도로 배지에 첨가된다. 일부 구현예에서, 세포 배지는 하나 이상의 DXS, IDI, 또는 MVA 경로 핵산을 갖는 벡터 상의 항생제 내성 핵산 (예컨대, 카나마이신 내성 핵산) 에 상응하는 항생제 (예컨대, 카나마이신) 를 갖는다.
예시적 세포 배양 조건
박테리아 배양물의 유지 및 성장에 적합한 물질 및 방법은 당업계에 잘 알려져 있다. 예시적 기술은 특히, 세포 배양 기술에 관해, 본원에 전체가 각각 참조로서 인용된 문헌 [Manual of Methods for General Bacteriology Gerhardt et al., eds), American Society for Microbiology, Washington, D.C. (1994) 또는 Brock in Biotechnology : A Textbook of Industrial Microbiology, Second Edition (1989) Sinauer Associates, Inc., Sunderland, MA] 에서 찾을 수 있다. 일부 구현예에서, 세포는 숙주 세포 내에 삽입된 핵산에 의해 코딩되는 하나 이상의 이소프렌 합성효소, DXS, IDI, 또는 MVA 경로 폴리펩티드의 발현을 가능하게 하는 조건 하에서 배양 배지에서 배양된다.
표준 세포 배양 조건은 세포를 배양하는데 사용될 수 있다 (예를 들어, 특히, 세포 배양 및 발효 조건에 관해, 본원에 전체가 참조로서 인용된 WO 2004/033646 및 그곳에 언급된 참조문헌 참조). 적합한 온도, 기체 혼합물, 및 pH (예컨대 약 20 내지 약 37℃, 약 6% 내지 약 84% CO2, 및 pH 약 5 내지 약 9) 에서 세포를 성장 및 유지시킨다. 일부 구현예에서, 적합한 세포 배지에서 세포를 35℃ 에서 성장시킨다. 일부 구현예에서, 예를 들어, 원하는 양의 이소프렌 제조가 달성될 때까지 배양물을 진탕 배양물 또는 발효기 내의 적합한 배지에서 대략 28℃ 에서 배양한다. 일부 구현예에서, 발효를 위한 pH 범위는 약 pH 5.0 내지 약 pH 9.0 (예컨대, 약 pH 6.0 내지 약 pH 8.0 또는 약 6.5 내지 약 7.0) 이다. 숙주 세포의 요구에 근거해, 호기성, 무산소성 또는 혐기성 조건 하에서 반응을 수행할 수 있다. 제시된 사상 진균을 위한 예시적 배양 조건은 당업계에 알려져 있고, 과학 문헌 및/또는 미국 미생물 보존센터 및 진균 유전학 저장 센터 [American Type Culture Collection and Fungal Genetics Stock Center] 와 같은 진균 공급원으로부터 찾을 수 있다.
다양한 구현예에서, 임의의 공지된 발효 방식, 예컨대 배치, 공급-배치, 또는 연속 과정을 사용하여 세포를 성장시킨다. 일부 구현예에서, 배치 발효 방법이 사용된다. 고전적인 배치 발효는 배지 조성이 발효 시작시에 고정되고, 발효 동안 인위적인 변경을 적용하지 않는 폐쇄계이다. 그러므로, 발효 시작 시, 세포 배지를 바람직한 숙주 세포로 접종하고, 발효는 시스템에 아무것도 첨가하지 않고 일어나게 한다. 그러나, 전형적으로는 "배치" 발효는 탄소원의 첨가에 관한 배치이고, pH 및 산소 농도와 같은 인자에 대한 조절 시도가 종종 이루어진다. 배치 시스템에서, 시스템의 대사물질 및 바이오매스 조성물은 발효가 중지되는 시간까지 계속 변한다. 배치 배양물 내에서, 세포는 정적 지체상에서 고속 성장 로그 상으로, 그리고 최종적으로 성장 속도가 감소하거나 중단되는 정지상으로 조정된다. 일부 구현예에서, 로그상 내 세포는 대부분의 이소프렌 제조를 담당한다. 일부 구현예에서, 정지상 내 세포는 이소프렌을 제조한다.
일부 구현예에서, 표준 배치 시스템에 대한 변형, 예컨대 공급-배치식 시스템이 사용된다. 공급-배치식 발효 공정은 발효가 진행되면 탄소원을 증분으로 첨가하는 제외가 있는 전형적인 배치 시스템을 포함한다. 공급-배치식 시스템은 대사물질 억제가 세포의 대사를 억제하기 쉬울 때, 및 세포 배지 내 제한된 양의 탄소원을 갖는 것이 바람직한 경우 유용하다. 공급-배치식 발효는 제한된 양 또는 과량의 탄소원 (예를 들어, 글루코오스) 으로 수행될 수 있다. 공급-배치식 시스템 내 실제 탄소원 농도의 측정은 어렵고, 그러므로 측정가능한 인자, 예컨대 pH, 용존 산소, 및 CO2 와 같은 폐 기체의 부분압의 변화에 근거하여 추정된다. 배치 및 공급-배치식 발효는 통상적이고 당업계에 잘 알려져 있으며, 예는 특히, 세포 배양물 및 발효 조건에 관해, 본원에 전체가 각각 참조로서 인용된 문헌 [Brock, Biotechnology: A Textbook of Industrial Microbiology, Second Edition (1989) Sinauer Associates, Inc.] 에서 찾을 수 있다.
일부 구현예에서, 연속 발효 방법이 사용된다. 연속 발효는 정의된 발효 배지를 생물반응기에 연속해서 첨가하고, 동등 량의 조건화 배지를 처리를 위해 동시에 제거하는 개방계이다. 연속 발효는 일반적으로, 세포가 주로 로그 상 성장에 있을 때 일정한 고 밀도로 배양물을 유지한다.
연속 발효는 세포 성장 또는 이소프렌 제조에 영향을 주는 하나의 인자 또는 임의의 수의 인자의 조절을 가능하게 한다. 예를 들어, 하나의 방법은 제한 영양분, 예컨대 탄소원 또는 질소 수준을 고정된 속도로 유지하고, 모든 다른 변수를 적정하게 한다. 다른 시스템에서, 성장에 영향을 주는 다수의 인자는 계속 변할 수 있지만, 세포 농도 (예를 들어, 배지 탁도에 의해 측정된 농도) 가 일정하게 유지된다. 연속 시스템은 안정한 상태 성장 조건을 유지하기 위해 노력한다. 그러므로, 배출되는 배지로 인한 세포 손실은 발효 내 세포 성장 속도에 대해 균형을 이룬다. 연속 발효 공정을 위한 영양분 및 성장 인자 조절 방법 뿐 아니라, 생성물 형성 속도 최대화 기술은 산업 미생물 분야에 잘 알려져 있고, 다양한 방법이 특히, 세포 배양물 및 발효 조건에 관해, 본원에 전체가 참조로서 인용된 문헌 [Brock, Biotechnology: A Textbook of Industrial Microbiology, Second Edition (1989) Sinauer Associates, Inc.] 에 상세히 기재되어 있다.
일부 구현예에서, 세포는 전체 세포 촉매로서 기질 상에 고정되고, 이소프렌 제조를 위해 발효 조건에 적용된다.
일부 구현예에서, 산소를 액체에 도입하고 배양물의 균일성을 유지하기 위해 액체 배양 병을 진탕기 내에 둔다. 일부 구현예에서, 배양물이 성장하는 온도, 습도, 진탕 속도, 및/또는 다른 조건을 조절하기 위해 인큐베이터를 사용한다. 가장 간단한 인큐베이터는 전형적으로 약 65℃ 이하인, 조절가능한 히터가 있는 절연 박스이다. 더욱 정교한 인큐베이터에는 또한 온도 (냉장고를 통해) 저하 능력, 또는 습도 또는 CO2 수준 조절 능력이 포함될 수 있다. 대부분의 인큐베이터에는 타이머가 포함되고; 일부는 또한 상이한 온도, 습도 수준, 등을 통해 사이클을 프로그래밍할 수 있다. 인큐베이터는 크기가 테이블탑에서 유닛까지 작은 공간의 크기가 다양할 수 있다.
원한다면, 세포 배지의 일부 또는 전부는 영양분 보충 및/또는 잠재적으로 유해한 대사 부산물 및 사멸 세포의 축적을 피하기 위해 교체될 수 있다. 현탁 배양의 경우, 세포는 현탁 배양물을 원심분리 또는 여과한 다음, 신선한 배지에 세포를 재현탁함으로써 배지로부터 분리될 수 있다. 부착 배양의 경우, 배지는 흡입에 의해 직접적으로 제거되고 대체될 수 있다. 일부 구현예에서, 세포 배지는 세포의 일부 이상이 연속 배양물 (예컨대, 희석 없는 연속 배양물) 에서 약 5, 10, 20, 40, 50, 60, 65 이상의 세포 분열에 대해 분열하도록 한다.
일부 구현예에서, 구성적 또는 누출 프로모터 (예컨대, Trc 프로모터) 가 사용되고, 화합물 (예컨대, IPTG) 은 프로모터에 작동가능하게 연결된 이소프렌 합성효소, DXS, IDI, 또는 MVA 경로 핵산(들) 의 발현을 유도하기 위해 첨가되지 않는다. 일부 구현예에서, 화합물 (예컨대, IPTG) 은 프로모터에 작동가능하게 연결된 이소프렌 합성효소, DXS, IDI, 또는 MVA 경로 핵산(들) 의 발현을 유도하기 위해 첨가된다.
세포 성장과 이소프렌 제조를 분리하기 위한 예시적 방법
바람직하게는, 공급원료로부터의 탄소는 세포의 성장 및 유지보다는 이소프렌으로 전환된다. 일부 구현예에서, 세포를 저 내지 중간 OD600 으로 성장시킨 다음, 이소프렌 제조를 시작 또는 증가시킨다. 상기 전략은 많은 부분의 탄소가 이소프렌으로 전환되도록 한다.
일부 구현예에서, 세포는 이들이 더이상 분열하지 않거나 매우 천천히 분열하면서, 여러 시간 (예컨대, 약 2, 4, 6, 8, 10, 15, 20, 25, 30 시간 이상) 동안 이소프렌을 계속 제조하는 정도의 광학 밀도에 도달한다. 예를 들어, 도 60A-67C 는 세포가 이들이 더이상 분열하지 않거나 매우 천천히 분열하는 정도의 광학 밀도에 도달한 후 세포가 상당량의 메발론산 또는 이소프렌을 계속 제조할 수 있음을 나타낸다. 이 경우, 550 nm 에서의 광학 밀도는 시간에 걸쳐 감소하고 (예컨대 세포가 세포 용해, 성장 중단, 영양분 결핍 또는 세포 성장 결핍을 초래하는 다른 인자로 인해 더이상 기하급수적 성장상에 있지 않은 후 광학 밀도의 감소), 세포는 상당량의 메발론산 또는 이소프렌을 계속 제조한다. 일부 구현예에서, 세포의 550 nm 에서의 광학 밀도는 특정 시간 동안 (예컨대 약 5, 10, 15, 20, 25, 30, 40, 50 또는 60 시간 이상) 에 걸쳐 약 50% 이하 (예컨대 약 40, 30, 20, 10, 5, 또는 0% 이하) 로 증가하고, 상기 시간 동안 세포는 이소프렌을 약 1, 10, 25, 50, 100, 150, 200, 250, 300, 400, 500, 600, 700, 800, 900, 1,000; 1,250; 1,500; 1,750; 2,000; 2,500; 3,000; 4,000; 5,000; 10,000; 20,000; 30,000; 40,000; 50,000; 100,000; 200,000; 300,000; 400,000; 500,000; 600,000; 700,000; 800,000; 900,000; 1,000,000 이상 몰의 이소프렌/세포의 습윤 중량에 대한 세포 g/시간 (nmole/gwcm/hr) 로 제조한다. 일부 구현예에서, 이소프렌의 양은 약 2 내지 약 5,000 nmole/gwcm/hr, 예컨대 약 2 내지 약 100 nmole/gwcm/hr, 약 100 내지 약 500 nmole/gwcm/hr, 약 150 내지 약 500 nmole/gwcm/hr, 약 500 내지 약 1,000 nmole/gwcm/hr, 약 1,000 내지 약 2,000 nmole/gwcm/hr, 또는 약 2,000 내지 약 5,000 nmole/gwcm/hr 이다. 일부 구현예에서, 이소프렌의 양은 약 20 내지 약 5,000 nmole/gwcm/hr, 약 100 내지 약 5,000 nmole/gwcm/hr, 약 200 내지 약 2,000 nmole/gwcm/hr, 약 200 내지 약 1,000 nmole/gwcm/hr, 약 300 내지 약 1,000 nmole/gwcm/hr, 또는 약 400 내지 약 1,000 nmole/gwcm/hr 이다.
일부 구현예에서, 세포의 550 nm 에서의 광학 밀도는 특정 시간 (예컨대 약 5, 10, 15, 20, 25, 30, 40, 50 또는 60 시간 이상) 에 걸쳐 약 50% 이하 (예컨대 약 40, 30, 20, 10, 5, 또는 0% 이하) 로 감소하고, 세포는 상기 시간 동안 약 1, 10, 25, 50, 100, 150, 200, 250, 300, 400, 500, 600, 700, 800, 900, 1,000, 1,250, 1,500, 1,750, 2,000, 2,500, 3,000, 4,000, 5,000, 10,000, 50,000, 100,000, mg 이상의 이소프렌/브로쓰 L (mg/L브로쓰, 브로쓰의 부피에는 세포의 부피 및 세포 배지의 부피가 포함된다) 의 이소프렌의 누적 적정농도 (총 양) 를 제조한다. 일부 구현예에서, 이소프렌의 양은 약 2 내지 약 5,000 mg/L브로쓰, 예컨대 약 2 내지 약 100 mg/L브로쓰, 약 100 내지 약 500 mg/L브로쓰, 약 500 내지 약 1,000 mg/L 로쓰, 약 1,000 내지 약 2,000 mg/L브로쓰, 또는 약 2,000 내지 약 5,000 mg/L브로쓰 이다. 일부 구현예에서, 이소프렌의 양은 약 20 내지 약 5,000 mg/L브로쓰, 약 100 내지 약 5,000 mg/L브로쓰, 약 200 내지 약 2,000 mg/L브로쓰, 약 200 내지 약 1,000 mg/L브로 , 약 300 내지 약 1,000 mg/L브로쓰, 또는 약 400 내지 약 1,000 mg/L브로쓰 이다.
일부 구현예에서, 세포의 550 nm 에서의 광학 밀도는 특정 시간 (예컨대 약 5, 10, 15, 20, 25, 30, 40, 50 또는 60 시간 이상) 에 걸쳐 약 50% 이하 (예컨대 약 40, 30, 20, 10, 5, 또는 0% 이하) 로 증가하고, 그 시간 동안 세포는 약 0.0015, 0.002, 0.005, 0.01, 0.02, 0.05, 0.1, 0.12, 0.14, 0.16, 0.2, 0.3, 0.4, 0.5, 0.6, 0.7, 0.8, 0.9, 1.0, 1.2, 1.4, 1.6, 1.8, 2.0, 2.5, 3.0, 3.5, 4.0, 5.0, 6.0, 7.0, 또는 8.0% 이상의 세포 배양 배지 내 탄소를 이소프렌으로 전환시킨다. 일부 구현예에서, 탄소의 이소프렌으로의 % 전환율은 예컨대 약 0.002 내지 약 4.0%, 약 0.002 내지 약 3.0%, 약 0.002 내지 약 2.0%, 약 0.002 내지 약 1.6%, 약 0.002 내지 약 0.005%, 약 0.005 내지 약 0.01%, 약 0.01 내지 약 0.05%, 약 0.05 내지 약 0.15%, 0.15 내지 약 0.2%, 약 0.2 내지 약 0.3%, 약 0.3 내지 약 0.5%, 약 0.5 내지 약 0.8%, 약 0.8 내지 약 1.0%, 또는 약 1.0 내지 약 1.6% 이다. 일부 구현예에서, 탄소의 이소프렌으로의 % 전환율은 약 0.002 내지 약 0.4%, 0.002 내지 약 0.16%, 0.04 내지 약 0.16%, 약 0.005 내지 약 0.3%, 약 0.01 내지 약 0.3%, 또는 약 0.05 내지 약 0.3% 이다.
일부 구현예에서, 이소프렌은 오직 정지상에서 제조된다. 일부 구현예에서, 이소프렌은 성장상 및 정지상 모두에서 제조된다. 다양한 구현예에서, 정지상 동안 제조된 이소프렌의 양 (예컨대 제조된 이소프렌의 총 양 또는 OD600 당 1 시간 당 브로쓰 1 리터 당 제조된 이소프렌의 양) 은 동일한 시간 동안의 성장상 동안 제조된 이소프렌의 양의 약 2, 3, 4, 5, 10, 20, 30, 40, 50 배 이상이다. 다양한 구현예에서, 세포가 정지상에 있는 동안, 제조되는 이소프렌의 총 양 (예컨대, 특정 시간, 예컨대 20 시간 동안의 발효 동안 이소프렌의 제조) 의 약 5, 10, 20, 30, 40, 50, 60, 70, 80, 90, 95, 99% 이상이 제조된다. 다양한 구현예에서, 세포의 550 nm 에서의 광학 밀도가 약 50% 이하 (예컨대, 약 40, 30, 20, 10, 5, 또는 0% 이하) 로 증가하는 정도로 세포가 천천히 분열하거나 전혀 분열하지 않는 동안, 제조되는 이소프렌의 총 양 (예컨대, 특정 시간, 예컨대 20 시간 동안의 발효 동안 이소프렌의 제조) 의 약 5, 10, 20, 30, 40, 50, 60, 70, 80, 90, 95, 99% 이상이 제조된다. 일부 구현예에서, 이소프렌은 오직 성장상에서 제조된다.
일부 구현예에서, 하나 이상의 MVA 경로, IDI, DXP, 또는 이소프렌 합성효소 핵산은 성장상에서보다 정지상에서 더욱 활성인 프로모터 또는 인자의 조절 하에 있다. 예를 들어, 하나 이상의 MVA 경로, IDI, DXP, 또는 이소프렌 합성효소 핵산은 정지상 시그마 인자, 예컨대 RpoS 의 조절 하에 있을 수 있다. 일부 구현예에서, 하나 이상의 MVA 경로, IDI, DXP, 또는 이소프렌 합성효소 핵산은 정지상에서 활성인 반응 조절자에 의해 유도가능한 프로모터와 같은, 정지상에서 유도가능한 프로모터의 조절 하에 있다.
안전한 조작 범위 내에서의 이소프렌의 제조
가연성 특성에 따라 안전한 조작 수준 내에서의 이소프렌의 제조는 상업적 설비의 디자인 및 구축을 단순히하고, 안전하게 작업하기 위한 능력을 크게 향상시키고, 화재 발생 잠재성을 제한한다. 특히, 이소프렌 제조를 위한 최적 범위는 안전한 구역, 즉, 불연성 범위의 이소프렌 농도 내이다. 하나의 이러한 양상에서, 본 발명은 불연성 범위의 이소프렌 농도 내 (이소프렌의 가연성 엔벨로프 외부) 이소프렌의 제조 방법을 특징으로 한다.
그러므로, 공정 안전성을 확실히 하기 위해, 이소프렌의 연소 한계 (예컨대 O2, N2, CO2, 또는 상기 기체 중 2 개 이상의 임의의 조합의 존재하에서의 이소프렌) 를 측정하는데 컴퓨터 모델링 및 실험적 시험을 사용하였다. 가연성 엔벨로프는 연소 하한계 (LFL), 연소 상한계 (UFL), 제한 산소 농도 (LOC), 및 제한 온도를 특징으로 한다. 연소되는 시스템에 대해, 최소량의 연료 (예컨대, 이소프렌) 가 최소량의 산화제, 전형적으로 산소의 존재하에 있어야만 한다. LFL 은 연소를 유지하기 위해 존재해야만 하는 최소량의 이소프렌인 반면, UFL 은 존재할 수 있는 최대 량의 이소프렌이다. 상기 제한 초과에서, 혼합물은 풍부한 연료이고, 산소 분획은 가연성 혼합물을 갖기엔 너무 낮다. LOC 는 가연성 혼합물을 갖기 위해 또한 존재해야만 하는 최소 분획의 산소를 나타낸다. 제한 온도는 이소프렌 발화점을 기준으로 하며, 이소프렌의 연소를 발할 수 있는 최하 온도이다. 상기 한계는 이소프렌의 농도, 산화제의 유형 및 농도, 시스템 내 존재하는 비활성 물질, 온도, 및 시스템의 압력에 특이적이다. 가연성 엔벨로프의 제한 내에 놓인 조성물은 연소를 발하고 공정 설비의 디자인 및 조작 모두에서 부가적인 안전성 예방책을 필요로 한다.
하기 조건은 컴퓨터 시뮬레이션 및 수학적 분석 및 실험적 시험을 사용하여 시험되었다. 원한다면, 다른 조건 (예컨대 다른 온도, 압력, 및 영구 기체 조성) 은 LFL, UFL, 및 LOC 농도를 측정하기 위해 본원에 기재된 방법을 사용하여 시험될 수 있다.
(1) 컴퓨터 시뮬레이션 및 수학적 분석
시험 스위트 1:
이소프렌: 0 wt% - 14 wt%
O2: 6 wt% - 21 wt%
N2: 79 wt% - 94 wt%
시험 스위트 2:
이소프렌: 0 wt% - 14 wt%
O2: 6 wt% - 21 wt%
N2: 79 wt% - 94 wt%
H2O 로 포화됨
시험 스위트 3:
이소프렌: 0 wt% - 14 wt%
O2: 6 wt% - 21 wt%
N2: 79 wt% - 94 wt%
CO2: 5 wt% - 30 wt%
(2) 연소 한계의 최종 측정을 위한 실험적 시험
시험 스위트 1:
이소프렌: 0 wt% - 14 wt%
O2: 6 wt% - 21 wt%
N2: 79 wt% - 94 wt%
시험 스위트 2:
이소프렌: 0 wt% - 14 wt%
O2: 6 wt% - 21 wt%
N2: 79 wt% - 94 wt%
H2O 로 포화됨
시뮬레이션 소프트웨어를 사용하여 여러 상이한 시험 조건에 대해 시스템의 가연성 특성의 추정치를 제공하였다. CO2 는 시스템의 연소 한계에 대해 유의한 영향을 보이지 않았다. 시험 스위트 1 및 2 는 실험적 시험에 의해 확인되었다. 모델링 결과는 실험적 시험 결과와 연관이 있었다. 물을 첨가하면 약간의 변화만이 발견되었다.
LOC 는 40℃, 1 대기압에서 이소프렌, O2, N2, 및 CO2 혼합물에 대해 9.5 부피% 인 것으로 측정되었다. 30% 이하의 CO2 의 첨가는 이소프렌, O2, 및 N2 혼합물의 가연성 특성에 유의하게 영향을 미치지 않았다. 가연성 특성에서의 오직 약간의 변화가 건조 및 물 포화 이소프렌, O2, 및 N2 시스템 사이에서 보였다. 제한 온도는 약 -54℃ 이다. 약 -54℃ 미만의 온도는 이소프렌의 연소를 발하기에는 너무 낮다.
일부 구현예에서, 시스템 내의 산소의 양에 따라 이소프렌의 LFL 은 약 1.5 부피% 내지 약 2.0 부피% 의 범위이고, 이소프렌의 UFL 은 약 2.0 부피% 내지 약 12.0 부피% 의 범위이다. 일부 구현예에서, LOC 는 약 9.5 부피% 산소이다. 일부 구현예에서, 이소프렌의 LFL 은 약 1.5 부피% 내지 약 2.0 부피% 이고, 이소프렌의 UFL 은 약 2.0 부피% 내지 약 12.0 부피% 이고, 온도가 약 25℃ 내지 약 55℃ (예컨대, 약 40℃) 인 경우 LOC 는 약 9.5 부피% 산소이고, 압력은 약 1 대기압 내지 3 대기압이다.
일부 구현예에서, 이소프렌은 약 9.5 부피% 산소 미만 (즉, 이소프렌의 가연성 혼합물을 갖기 위해 필요한 LOC 미만) 의 존재하에서 제조된다. 이소프렌이 약 9.5 부피% 산소 이상의 존재하에서 제조되는 일부 구현예에서, 이소프렌 농도는 LFL 미만 (예컨대 약 1.5 부피% 미만) 이다. 예를 들어, 이소프렌의 양은 이소프렌 조성물을 비활성 기체로 희석함으로써 (예를 들어, 이소프렌 조성물을 LFL 미만으로 유지하기 위해 질소와 같은 비활성 기체를 연속적으로 또는 주기적으로 첨가함으로써) LFL 미만으로 유지될 수 있다. 이소프렌이 약 9.5 부피% 산소 이상의 존재하에서 제조되는 일부 구현예에서, 이소프렌 농도는 UFL 초과 (예컨대 약 12 부피% 초과) 이다. 예를 들어, 이소프렌의 양은 이소프렌을 UFL 초과의 농도로 제조하는 시스템 (예컨대 본원에 기재된 세포 배양 시스템 중 임의의 것) 을 사용하여 UFL 초과의 농도로 유지될 수 있다. 바람직한 경우, 비교적 낮은 수준의 산소가 사용되어 UFL 이 또한 비교적 낮도록 할 수 있다. 이 경우, UFL 초과로 남아있기 위해 보다 낮은 이소프렌 농도가 필요하다.
이소프렌이 약 9.5 부피% 산소 이상의 존재하에서 제조되는 일부 구현예에서, 이소프렌 농도는 가연성 엔벨로프 내 (예컨대 LFL 내지 UFL) 이다. 이소프렌 농도가 가연성 엔벨로프 내에 있을 수 있는 일부 구현예에서, 화재 또는 폭발 가능성을 감소시키기 위해 하나 이상의 단계가 수행된다. 예를 들어, 하나 이상의 점화원 (예컨대, 스파크를 일으킬 수 있는 임의의 물질) 이 회피될 수 있다. 일부 구현예에서, 이소프렌의 농도가 가연성 엔벨로프 내에 남아있는 시간을 감소시키기 위해 하나 이상의 단계가 수행된다. 일부 구현예에서, 이소프렌의 농도가 가연성 엔벨로프 근처이거나 그 내에 있는 때를 검출하기 위해 센서가 사용된다. 바람직한 경우, 이소프렌의 농도는 세포 배양 동안 1 이상의 시점에서 측정할 수 있고, 세포 배양 조건 및/또는 비활성 기체의 양은 이소프렌의 농도가 가연성 엔벨로프 근처이거나 그 내에 있는 경우 표준 방법을 사용하여 조정될 수 있다. 특정 구현예에서, 세포 배양 조건 (예컨대, 발효 조건) 은 이소프렌의 농도를 LFL 미만으로 감소시키거나, 이소프렌의 농도를 UFL 초과로 증가시키기 위해 조정된다. 일부 구현예에서, 이소프렌의 양은 이소프렌 조성물을 비활성 기체로 희석함으로써 (예컨대, 이소프렌 조성물을 LFL 미만으로 유지하기 위해 비활성 기체를 연속적으로 또는 주기적으로 첨가함으로써) LFL 미만으로 유지된다.
일부 구현예에서, 이소프렌 이외의 가연성 휘발물질 (예컨대 하나 이상의 당) 의 양은 제조되는 이소프렌의 양의 적어도 약 2, 5, 10, 50, 75, 또는 100 배 미만이다. 일부 구현예에서, 이소프렌 기체 이외의 기상 부분은 약 0% 내지 약 100% (부피) 산소, 예컨대 약 0% 내지 약 10%, 약 10% 내지 약 20%, 약 20% 내지 약 30%, 약 30% 내지 약 40%, 약 40% 내지 약 50%, 약 50% 내지 약 60%, 약 60% 내지 약 70%, 약 70% 내지 약 80%, 약 90% 내지 약 90%, 또는 약 90% 내지 약 100% (부피) 산소를 포함한다. 일부 구현예에서, 이소프렌 기체 이외의 기상 부분은 약 0% 내지 약 99% (부피) 질소, 예컨대 약 0% 내지 약 10%, 약 10% 내지 약 20%, 약 20% 내지 약 30%, 약 30% 내지 약 40%, 약 40% 내지 약 50%, 약 50% 내지 약 60%, 약 60% 내지 약 70%, 약 70% 내지 약 80%, 약 90% 내지 약 90%, 또는 약 90% 내지 약 99% (부피) 질소를 포함한다.
일부 구현예에서, 이소프렌 기체 이외의 기상 부분은 약 1% 내지 약 50% (부피) CO2, 예컨대 약 1% 내지 약 10%, 약 10% 내지 약 20%, 약 20% 내지 약 30%, 약 30% 내지 약 40%, 또는 약 40% 내지 약 50% (부피) CO2 를 포함한다.
일부 구현예에서, 이소프렌 조성물은 또한 에탄올을 함유한다. 예를 들어, 에탄올은 이소프렌의 추출 증류에 사용되어, 에탄올 및 이소프렌 모두를 포함하는 조성물 (예컨대 중간체 생성물 스트림) 을 산출할 수 있다. 바람직하게는, 에탄올의 양은 에탄올에 대해 가연성 엔벨로프 외부에 있다. 에탄올의 LOC 는 약 8.7 부피% 이고, 에탄올에 대한 LFL 은 표준 조건, 예컨대 약 1 대기압 및 약 60℉ 에서 약 3.3 부피% 이다 (특히, LOC, LFL, 및 UFL 값에 관해, 본원에 전체가 참조로서 인용된 문헌 [NFPA 69 Standard on Explosion Prevention Systems, 2008 edition] 참조). 일부 구현예에서, 이소프렌 및 에탄올을 포함하는 조성물은 에탄올의 가연성 혼합물을 갖는데 필요한 LOC 미만 (예컨대 약 8.7% 부피% 미만) 의 존재하에서 제조된다. 이소프렌 및 에탄올을 포함하는 조성물이 에탄올의 가연성 혼합물을 갖는데 필요한 약 LOC 이상의 존재하에서 제조되는 일부 구현예에서, 에탄올 농도는 LFL 미만 (예컨대 약 3.3 부피% 미만) 이다.
다양한 구현예에서, 산화제 (예컨대 산소) 의 양은 시스템 내 임의의 연료 (예컨대 이소프렌 또는 에탄올) 의 LOC 미만이다. 다양한 구현예에서, 산화제 (예컨대 산소) 의 양은 이소프렌 또는 에탄올의 LOC 의 약 60, 40, 30, 20, 10, 또는 5% 미만이다. 다양한 구현예에서, 산화제 (예컨대 산소) 의 양은 2, 4, 5, 이상의 절대 % 지점 (부피%) 으로 이소프렌 또는 에탄올의 LOC 미만이다. 특정 구현예에서, 산소의 양은 이소프렌 또는 에탄올의 LOC 미만으로 2 절대 % 지점 (부피%) 이상이다 (예컨대, 이소프렌의 LOC 가 9.5 부피% 인 경우 7.5 부피% 미만의 산소 농도). 다양한 구현예에서, 연료의 양 (예컨대 이소프렌 또는 에탄올) 은 연료에 대한 LFL 의 약 25, 20, 15, 10, 또는 5% 이하이다.
이소프렌의 예시적 제조
일부 구현예에서, 세포는 세포에 의해 이소프렌의 제조를 허용하는 조건 하에서 배양 배지에서 배양된다. "피크 절대 생산성" 이란, 특정 시간 동안의 세포 배양 (예를 들어, 특정 발효 실행 동안 세포의 배양) 동안 방출-기체 내의 이소프렌의 최대 절대량을 의미한다. "피크 절대 생산성 시점" 이란, 방출-기체 내 이소프렌의 절대 량이 특정 시간 동안의 세포 배양 (예를 들어, 특정 발효 실행 동안 세포의 배양) 동안 최대인 때의 발효 실행 동안의 시점을 의미한다. 일부 구현예에서, 이소프렌 양은 피크 절대 생산성 시점에서 측정된다. 일부 구현예에서, 세포에 대한 피크 절대 생산성은 대략 본원에 기재된 이소프렌 양 중 임의의 양이다.
"피크 특이적 생산성" 이란, 특정 시간 동안의 세포 배양 (예를 들어, 특정 발효 실행 동안 세포의 배양) 동안 세포 당 제조되는 이소프렌의 최대 량을 의미한다. "피크 특이적 생산성 시점" 이란, 세포 당 제조되는 이소프렌의 양이 최대인 때의 특정 시간 동안의 세포 배양 (예를 들어, 특정 발효 실행 동안 세포의 배양) 동안의 시점을 의미한다. 특이적 생산성은 총 생산성을, 600 nm 에서의 광학 밀도 (OD600) 에 의해 측정된 바와 같은 세포의 양으로 나누에 결정된다. 일부 구현예에서, 이소프렌 양은 피크 특이적 생산성 시점에서 측정된다. 일부 구현예에서, 세포에 대한 피크 특이적 생산성은 대략 본원에 기재된 세포 당 이소프렌의 양 중 임의의 양이다.
"누적 총 생산성" 이란, 특정 시간 동안의 세포 배양 (예를 들어, 특정 발효 실행 동안 세포의 배양) 동안 제조되는 이소프렌의 누적, 총 양을 의미한다. 일부 구현예에서, 이소프렌의 누적, 총 양을 측정한다. 일부 구현예에서, 세포에 대한 누적 총 생산성은 대략 본원에 기재된 이소프렌의 양 중 임의의 양이다.
"상대적 검출기 반응" 이란, 하나의 화합물 (예컨대, 이소프렌) 에 대한 검출기 반응 (예컨대, GC/MS 영역) 대 하나 이상의 화합물 (예컨대, 모든 C5 탄화수소) 의 검출기 반응 (예컨대, GC/MS 영역) 사이의 비를 말한다. 검출기 반응은 본원에 기재된 바와 같이 측정될 수 있다 (예컨대 Agilent HP-5MS GC/MS 컬럼 (30 m × 250 ㎛; 0.25 ㎛ 필름 두께) 이 구비된 Agilent 6890 GC/MS 시스템으로 수행되는 GC/MS 분석). 바람직한 경우, 상대적 검출기 반응은 각각의 화합물에 대한 반응 인자를 사용하여 중량% 로 전환될 수 있다. 상기 반응 인자는 제공된 양의 특정 화합물에 대해 얼마나 많은 신호가 발생하는지 (즉, 검출기가 특정 화합물에 대해 얼마나 민감한지) 에 대한 측정값이다. 상기 반응 인자는 검출기가 비교되는 화합물에 대해 상이한 민감성을 가지고 있는 경우 상대적 검출기 반응을 중량% 로 전환시키기 위한 교정 인자로서 사용될 수 있다. 대안적으로는, 중량% 는 반응 인자가 비교되는 화합물에 대해 동일하다는 것을 추정함으로써 근사치를 계산할 수 있다. 그러므로, 중량% 는 상대적 검출기 반응과 대략 동일한 것으로 추정될 수 있다.
일부 구현예에서, 배양물 내 세포는 이소프렌을 약 1, 10, 25, 50, 100, 150, 200, 250, 300, 400, 500, 600, 700, 800, 900, 1,000, 1,250, 1,500, 1,750, 2,000, 2,500, 3,000, 4,000, 5,000, 이상 몰의 이소프렌/세포의 습윤 중량에 대한 세포 g/시간 (nmole/gwcm/hr) 으로 제조한다. 일부 구현예에서, 이소프렌의 양은 약 2 내지 약 5,000 nmole/gwcm/hr, 예컨대 약 2 내지 약 100 nmole/gwcm/hr, 약 100 내지 약 500 nmole/gwcm/hr, 약 150 내지 약 500 nmole/gwcm/hr, 약 500 내지 약 1,000 nmole/gwcm/hr, 약 1,000 내지 약 2,000 nmole/gwcm/hr, 또는 약 2,000 내지 약 5,000 nmole/gwcm/hr 이다. 일부 구현예에서, 이소프렌의 양은 약 20 내지 약 5,000 nmole/gwcm/hr, 약 100 내지 약 5,000 nmole/gwcm/hr, 약 200 내지 약 2,000 nmole/gwcm/hr, 약 200 내지 약 1,000 nmole/gwcm/hr, 약 300 내지 약 1,000 nmole/gwcm/hr, 또는 약 400 내지 약 1,000 nmole/gwcm/hr 이다.
단위 nmole/gwcm/hr 의 이소프렌의 양은 특히, 이소프렌 제조의 측정에 관해, 본원에 전체가 참조로서 인용된 미국 특허 번호 5,849,970 에 기재된 바와 같이 측정할 수 있다. 예를 들어, 2 mL 의 상부공간 (예를 들어, 200 rpm 에서 대략 3 시간 동안 진탕하며 32℃ 의 밀폐 바이알에서 배양된 2 mL 의 배양물과 같은 배양물로부터의 상부공간) 은 표준 기체 크로마토그래피 시스템, 예컨대 n-옥탄/porasil C 컬럼 (Alltech Associates, Inc., Deerfield, 111.) 이 구비되고, RGD2 산화제2수은 환원 기체 검출기 (Trace Analytical, Menlo Park, CA) 가 연결된 등온선적으로 (85℃) 작동되는 시스템을 사용하여 이소프렌에 대해 분석한다 (예를 들어, 특히, 이소프렌 제조의 측정에 관해, 본원에 전체가 각각 참조로서 인용된 문헌 [Greenberg et al, Atmos . Environ. 27A: 2689-2692, 1993; Silver et al ., Plant Physiol. 97:1588-1591, 1991] 참조). 기체 크로마토그래피 영역 단위는 표준 이소프렌 농도 검정 곡선을 통해 nmol 이소프렌으로 전환된다. 일부 구현예에서, 세포의 습윤 중량에 대한 세포의 그램에 대한 값은 세포 배양물의 샘플에 대한 A600 값을 수득한 다음, A600 값을 공지된 A600 값을 갖는 세포 배양물에 대한 습윤 중량의 검정 곡선에 대해 세포의 그램으로 전환시킴으로써 계산된다. 일부 구현예에서, 세포의 그램은, A600 값이 1 인 1 리터의 브로쓰 (세포 배지 및 세포 포함) 가 1 그램의 습윤 세포 중량을 갖는 것으로 가정함으로써 추정한다. 값은 또한 배양물을 인큐베이션하는 시간의 수, 예컨대 3 시간으로 나눈다.
일부 구현예에서, 배양물 내 세포는 이소프렌을 약 1, 10, 25, 50, 100, 150, 200, 250, 300, 400, 500, 600, 700, 800, 900, 1,000, 1,250, 1,500, 1,750, 2,000, 2,500, 3,000, 4,000, 5,000, 10,000, 100,000, 이상의 ng 의 이소프렌/세포의 습윤 중량에 대한 세포 g/hr (ng/gwcm/h) 로 제조한다. 일부 구현예에서, 이소프렌의 양은 약 2 내지 약 5,000 ng/gwcm/h, 예컨대 약 2 내지 약 100 ng/gwcm/h, 약 100 내지 약 500 ng/gwcm/h, 약 500 내지 약 1,000 ng/gwcm/h, 약 1,000 내지 약 2,000 ng/gwcm/h, 또는 약 2,000 내지 약 5,000 ng/gwcm/h 이다. 일부 구현예에서, 이소프렌의 양은 약 20 내지 약 5,000 ng/gwcm/h, 약 100 내지 약 5,000 ng/gwcm/h, 약 200 내지 약 2,000 ng/gwcm/h, 약 200 내지 약 1,000 ng/gwcm/h, 약 300 내지 약 1,000 ng/gwcm/h, 또는 약 400 내지 약 1,000 ng/gwcm/h 이다. 이소프렌의 양 (ng/gwcm/h) 은 상기 논의된 nmole/gwcm/hr 의 단위의 이소프렌 제조에 대한 값에 68.1 을 곱하여 (하기 방정식 5 에 기재된 바와 같음) 계산될 수 있다.
일부 구현예에서, 배양물 내 세포는 이소프렌의 누적 적정농도 (총 양) 를 약 1, 10, 25, 50, 100, 150, 200, 250, 300, 400, 500, 600, 700, 800, 900, 1,000, 1,250, 1,500, 1,750, 2,000, 2,500, 3,000, 4,000, 5,000, 10,000, 50,000, 100,000, 이상 mg 의 이소프렌/브로쓰 L (mg/L브로쓰, 브로쓰의 부피에는 세포 및 세포 배지의 부피가 포함된다) 로 제조한다. 일부 구현예에서, 이소프렌의 양은 약 2 내지 약 5,000 mg/L브로쓰, 예컨대 약 2 내지 약 100 mg/L브로쓰, 약 100 내지 약 500 mg/L브로쓰, 약 500 내지 약 1,000 mg/L브로쓰, 약 1,000 내지 약 2,000 mg/L브로쓰, 또는 약 2,000 내지 약 5,000 mg/L브로쓰 이다. 일부 구현예에서, 이소프렌의 양은 약 20 내지 약 5,000 mg/L브로쓰, 약 100 내지 약 5,000 mg/L브로쓰, 약 200 내지 약 2,000 mg/L브로쓰, 약 200 내지 약 1,000 mg/L브로쓰, 약 300 내지 약 1,000 mg/L브로쓰, 또는 약 400 내지 약 1,000 mg/L브로쓰 이다.
이소프렌의 특이적 생산성 (이소프렌 mg/진탕 플라스크 또는 유사한 배양물로부터의 상부공간 L) 은, 대략 1.0 의 OD600 값에서 세포 배양물로부터 1 ml 샘플을 취하고, 이것을 20 mL 바이알에 넣고, 30 분 동안 인큐베이션한 다음, 상부공간 내 이소프렌의 양을 측정함으로써 (예를 들어, 실시예 I, 파트 II 에 기재된 바와 같음) 측정할 수 있다. OD600 값이 1.0 이 아닌 경우, 측정은 OD600 값으로 나눔으로써 1.0 의 OD600 값에 표준화될 수 있다. 이소프렌 mg/상부공간 L 의 값은 38 의 인자를 곱하여 mg/L브로쓰/hr/OD600 배양 브로쓰로 전환될 수 있다. mg/L브로쓰/hr/OD600 단위의 값은 시간의 수 및 OD600 값을 곱하여 이소프렌 mg/브로쓰 L 단위의 누적 적정농도를 수득할 수 있다.
발효기 내의 즉각적인 이소프렌 제조 속도 (mg/L브로쓰/hr) 는 발효기 방출-기체의 샘플을 취하고, 이것을 예를 들어, 실시예 I, 파트 II 에 기재된 바와 같이 이소프렌의 양에 대해 분석하고 (단위, 예컨대 L기체 당 이소프렌 mg), 이 값을 방출-기체가 브로쓰 1 리터를 통과하는 속도로 곱함으로써 (예를 들어, 1 vvm (공기의 부피/브로쓰의 부피/분) 에서 이것은 시간 당 60 L기체 이다) 측정할 수 있다. 그러므로, 1 mg/L기체 의 방출-기체 수준은 1 vvm 의 공기 흐름에서 60 mg/L브로쓰/hr 의 즉각적인 제조 속도에 상응한다. 바람직하게는, mg/L브로쓰/hr 단위의 값은 OD600 값으로 나누어 mg/L브로쓰/hr/OD 단위의 특이적 속도를 수득할 수 있다. 이소프렌 mg/L기체 의 평균 값은 상기 평균 방출-기체 이소프렌 농도에 발효 동안 발효 브로쓰 1 리터당 살포되는 방출-기체의 총 양을 곱함으로써 총 생성물 생산성 (발효 브로쓰 1 리터 당 이소프렌 그램, mg/L브로쓰) 으로 전환될 수 있다. 그러므로, 1 vvm 에서 10 시간에 걸친 0.5 mg/L브로쓰/hr 의 평균 방출-기체 이소프렌 농도는 300 mg 이소프렌/L브로쓰 의 총 생성물 농도에 상응한다.
일부 구현예에서, 배양물 내 세포는 세포 배양 배지 내 탄소의 약 0.0015, 0.002, 0.005, 0.01, 0.02, 0.05, 0.1, 0.12, 0.14, 0.16, 0.2, 0.3, 0.4, 0.5, 0.6, 0.7, 0.8, 0.9, 1.0, 1.2, 1.4, 1.6, 1.8, 2.0, 2.5, 3.0, 3.5, 4.0, 5.0, 6.0, 7.0, 또는 8.0% 이상을 이소프렌으로 전환시킨다. 일부 구현예에서, 탄소의 이소프렌으로의 % 전환율은 약 0.002 내지 약 4.0%, 약 0.002 내지 약 3.0%, 약 0.002 내지 약 2.0%, 약 0.002 내지 약 1.6%, 약 0.002 내지 약 0.005%, 약 0.005 내지 약 0.01%, 약 0.01 내지 약 0.05%, 약 0.05 내지 약 0.15%, 0.15 내지 약 0.2%, 약 0.2 내지 약 0.3%, 약 0.3 내지 약 0.5%, 약 0.5 내지 약 0.8%, 약 0.8 내지 약 1.0%, 또는 약 1.0 내지 약 1.6% 이다. 일부 구현예에서, 탄소의 이소프렌으로의 % 전환율은 약 0.002 내지 약 0.4%, 0.002 내지 약 0.16%, 0.04 내지 약 0.16%, 약 0.005 내지 약 0.3%, 약 0.01 내지 약 0.3%, 또는 약 0.05 내지 약 0.3% 이다.
탄소의 이소프렌으로의 % 전환율 (또한 "% 탄소 수율" 로서 언급됨) 은 제조되는 이소프렌 내 탄소 몰을 탄소원 내 탄소 몰 (예컨대, 배치 및 공급 글루코오스 및 효모 추출물 내 탄소 몰) 로 나누어 측정할 수 있다. 상기 수에 100% 를 곱하여 % 값을 산출한다 (방정식 1 에 표시된 바와 같음).
방정식 1
% 탄소 수율 = (제조되는 이소프렌 내 탄소 몰)/(탄소원 내 탄소 몰) * 100
상기 계산을 위해, 효모 추출물은 50% w/w 탄소를 함유하는 것으로 추정될 수 있다. 예로서, 실시예 7, 파트 VIII 에 기재된 500 리터에 대해, 탄소의 이소프렌으로의 % 전환율은 방정식 2 에 제시된 바와 같이 계산할 수 있다.
방정식 2
% 탄소 수율 = (39.1 g 이소프렌 * 1/68.1 mol/g * 5 C/mol)/[(181221 g 글루코오스 * 1/180 mol/g * 6 C/mol) + (17780 g 효모 추출물 * 0.5 * 1/12 mol/g)] * 100 = 0.042%
본원에 기재된 2 개의 500 리터 발효 (실시예 7, 파트 VII 및 VIII) 의 경우, 탄소의 이소프렌으로의 % 전환율은 0.04 내지 0.06% 였다. 0.11 내지 0.16% 탄소 수율은 본원에 기재된 바와 같은 14 리터 시스템을 사용하여 달성하였다. 실시예 11, 파트 V 에는 본원에 기재된 방법을 사용하여 탄소의 이소프렌으로의 1.53% 전환율이 기재되어 있다.
당업자는 이소프렌 제조 속도 또는 제조된 이소프렌의 양을 임의의 기타 단위로 쉽게 전환시킬 수 있다. 예시적 방정식은 단위 사이에 상호전환을 위해 하기에 열거되어 있다.
이소프렌 제조 속도에 대한 단위 (총 및 특이적)
방정식 3
1 g 이소프렌/L브로쓰/hr = 14.7 mmol 이소프렌/L브로쓰/hr (총 체적 속도)
방정식 4
1 nmol 이소프렌/gwcm/hr = 1 nmol 이소프렌/L브로쓰/hr/OD600 (이 전환율은 1 의 OD600 값을 갖는 브로쓰 1 리터가 1 그램의 습윤 세포 중량을 갖는다는 것으로 추정한다)
방정식 5
1 nmol 이소프렌/gwcm/hr = 68.1 ng 이소프렌/gwcm/hr (제공된 이소프렌의 분자량)
방정식 6
1 nmol 이소프렌/L기체 O2/hr = 90 nmol 이소프렌/L브로쓰/hr (배양 브로쓰 L 당 90 L/hr 의 O2 흐름 속도로)
방정식 7
1 ug 이소프렌/L기체 방출-기체 내 이소프렌 = 60 ug 이소프렌/L브로쓰/hr, L브로쓰 당 60 L기체 의 흐름 속도로 (1 vvm)
적정농도에 대한 단위 (총 및 특이적)
방정식 8
1 nmol 이소프렌/세포 단백질 mg = 150 nmol 이소프렌/L브로쓰/OD600 (이 전환율은 1 의 OD600 값을 갖는 브로쓰 1 리터가 대략 150 mg 의 총 세포 단백질을 갖는다는 것으로 추정한다) (특이적 생산성)
방정식 9
1 g 이소프렌/L브로쓰 = 14.7 mmol 이소프렌/L브로쓰 (총 적정농도)
바람직한 경우, 방정식 10 은 세포의 습윤 중량을 포함하는 임의의 단위를 세포의 건조 중량을 포함하는 상응하는 단위로 전환하기 위해 사용될 수 있다.
방정식 10
세포의 건조 중량 = (세포의 습윤 중량)/3.3
바람직한 경우, 방정식 11 은 ppm 내지 ug/L 단위 사이를 전환하기 위해 사용될 수 있다. 특히, "ppm" 은 ug/g (w/w) 또는 uL/L (vol/vol) 로 정의된 백만 당 부를 의미한다. ug/L 에서 ppm 로의 전환 (예를 들어, 기체 g 당 분석물 ug) 은 방출-기체 L 당 질량 (즉, 기체의 밀도) 을 측정하여 수행될 수 있다. 예를 들어, STP 에서의 공기 1 리터는 대략 1.2 g/L 의 밀도를 갖는다. 그러므로, 1 ppm (ug/g) 의 농도는 STP 에서의 0.83 ug/L (방정식 11) 과 동일하다. ppm (ug/g) 에서 ug/L 로의 전환은 압력, 온도, 및 방출-기체의 전체적인 조성 모두의 함수이다.
방정식 11
1 ppm (ug/g) 은 표준 온도 및 압력 (STP; 101.3 kPa (1 bar) 및 273.15K) 에서의 0.83 ug/L 와 동일하다.
ug/L 에서 ppmv 으로의 전환 (예를 들어, 기체 L 당 분석물 uL) 은 이상 기체 법칙 (방정식 12) 을 사용하여 수행될 수 있다. 예를 들어, 1000 ug/L기체 의 방출-기체 농도는 14.7 umol/L기체 에 상응한다. 이상 기체 상수는 0.082057 L.atm K-1mol-1 이고, 방정식 12 를 사용하여, STP 에서 HG 의 14.7 umol 에 의해 점유된 부피는 0.329 mL 이다. 그러므로, 1000 ug/L HG 의 농도는 STP 에서 329 ppmv 또는 0.0329% (v/v) 이다.
방정식 12
PV = nRT, 식 중, "P" 는 압력이고, "V" 는 부피이고, "n" 은 기체의 몰이고, "R" 은 이상 기체 상수이고, "T" 는 온도 (Kelvin) 이다.
이소프렌 조성물 내 불순물의 양은 전형적으로 본원에서 부피 당 중량 (w/v) 기반, 단위 예컨대 ug/L 로 측정된다. 바람직한 경우, 단위 ug/L 의 측정치는 방정식 13 을 사용하는 mg/m3 으로 전환될 수 있다.
방정식 13
1 ug/L = 1 mg/m3
본 발명에 포함되는 일부 구현예에서, 이소프렌 합성효소 폴리펩티드를 코딩하는 이종 핵산을 포함하는 세포는 이소프렌 합성효소 폴리펩티드를 코딩하는 이종 핵산 없이 본질적으로 동일한 조건하에서 성장하는 상응하는 세포로부터 제조되는 이소프렌의 양보다 약 2 배, 3 배, 5 배, 10 배, 25 배, 50 배, 100 배, 150 배, 200 배, 400 배 이상의 이소프렌의 양을 제조한다.
본 발명에 포함되는 일부 구현예에서, 이소프렌 합성효소 폴리펩티드를 코딩하는 이종 핵산 및 DXS, IDI, 및/또는 MVA 경로 폴리펩티드를 코딩하는 하나 이상의 이종 핵산을 포함하는 세포는 이종 핵산 없이 본질적으로 동일한 조건하에서 성장하는 상응하는 세포로부터 제조되는 이소프렌의 양보다 약 2 배, 3 배, 5 배, 10 배, 25 배, 50 배, 100 배, 150 배, 200 배, 400 배 이상의 이소프렌의 양을 제조한다.
일부 구현예에서, 이소프렌 조성물은 조성물 내 모든 C5 탄화수소의 총 중량에 대해 약 99.90, 99.92, 99.94, 99.96, 99.98, 또는 100 중량% 이상의 이소프렌을 포함한다. 일부 구현예에서, 조성물은 조성물 내 모든 C5 탄화수소에 대한 검출기 반응과 비교하여 이소프렌에 대해, 약 99.90, 99.91, 99.92, 99.93, 99.94, 99.95, 99.96, 99.97, 99.98, 99.99, 또는 100% 이상의 상대적 검출기 반응을 갖는다. 일부 구현예에서, 이소프렌 조성물은 조성물 내 모든 C5 탄화수소의 총 중량에 대해 약 99.90 내지 약 99.92, 약 99.92 내지 약 99.94, 약 99.94 내지 약 99.96, 약 99.96 내지 약 99.98, 약 99.98 내지 100 중량% 이상의 이소프렌을 포함한다.
일부 구현예에서, 이소프렌 조성물은 조성물 내 모든 C5 탄화수소의 총 중량에 대해 약 0.12, 0.10, 0.08, 0.06, 0.04, 0.02, 0.01, 0.005, 0.001, 0.0005, 0.0001, 0.00005, 또는 0.00001 중량% 이하의 이소프렌 이외의 C5 탄화수소 (예컨대, 1,3-시클로펜타디엔, 시스-1,3-펜타디엔, 트랜스-1,3-펜타디엔, 1-펜틴, 2-펜틴, 1-펜텐, 2-메틸-1-부텐, 3-메틸-1-부틴, 트랜스-피페릴렌, 시스-피페릴렌, 펜트-4-엔-1-인, 트랜스-펜트-3-엔-1-인, 또는 시스-펜트-3-엔-1-인) 를 포함한다. 일부 구현예에서, 조성물은 조성물 내 모든 C5 탄화수소에 대한 검출기 반응에 대해, 이소프렌 이외의 C5 탄화수소에 대해 약 0.12, 0.10, 0.08, 0.06, 0.04, 0.02, 0.01, 0.005, 0.001, 0.0005, 0.0001, 0.00005, 또는 0.00001% 이하의 상대적 검출기 반응을 갖는다. 일부 구현예에서, 조성물은 조성물 내 모든 C5 탄화수소에 대한 검출기 반응에 대해, 1,3-시클로펜타디엔, 시스-1,3-펜타디엔, 트랜스-1,3-펜타디엔, 1-펜틴, 2-펜틴, 1-펜텐, 2-메틸-1-부텐, 3-메틸-1-부틴, 트랜스-피페릴렌, -피페릴렌, 펜트-4-엔-1-인, 트랜스-펜트-3-엔-1-인, 또는 시스-펜트-3-엔-1-인에 대해 약 0.12, 0.10, 0.08, 0.06, 0.04, 0.02, 0.01, 0.005, 0.001, 0.0005, 0.0001, 0.00005, 또는 0.00001% 이하의 상대적 검출기 반응을 갖는다. 일부 구현예에서, 이소프렌 조성물은 조성물 내 모든 C5 탄화수소의 총 중량에 대해, 약 0.02 내지 약 0.04%, 약 0.04 내지 약 0.06%, 약 0.06 내지 0.08%, 약 0.08 내지 0.10%, 또는 약 0.10 내지 약 0.12 중량% 의 이소프렌 이외의 C5 탄화수소 (예컨대, 1,3-시클로펜타디엔, 시스-1,3-펜타디엔, 트랜스-1,3-펜타디엔, 1-펜틴, 2-펜틴, 1-펜텐, 2-메틸-1-부텐, 3-메틸-1-부틴, 트랜스-피페릴렌, 시스-피페릴렌, 펜트-4-엔-1-인, 트랜스-펜트-3-엔-1-인, 또는 시스-펜트-3-엔-1-인) 를 포함한다.
일부 구현예에서, 이소프렌 조성물은 이소프렌의 중합을 억제하는 조성물 내 임의의 화합물에 대한 이소프렌의 중합을 억제하는 화합물을 약 50, 40, 30, 20, 10, 5, 1, 0.5, 0.1, 0.05, 0.01, 또는 0.005 ug/L 이하 포함한다. 일부 구현예에서, 이소프렌 조성물은 이소프렌의 중합을 억제하는 조성물 내 임의의 화합물에 대한 이소프렌의 중합을 억제하는 화합물을 약 0.005 내지 약 50, 예컨대 약 0.01 내지 약 10, 약 0.01 내지 약 5, 약 0.01 내지 약 1, 약 0.01 내지 약 0.5, 또는 약 0.01 내지 약 0.005 ug/L 포함한다. 일부 구현예에서, 이소프렌 조성물은 약 50, 40, 30, 20, 10, 5, 1, 0.5, 0.1, 0.05, 0.01, 또는 0.005 ug/L 이하의 이소프렌 이외의 탄화수소 (예컨대, 1,3-시클로펜타디엔, 시스-1,3-펜타디엔, 트랜스-1,3-펜타디엔, 1-펜틴, 2-펜틴, 1-펜텐, 2-메틸-1-부텐, 3-메틸-1-부틴, 트랜스-피페릴렌, 시스-피페릴렌, 펜트-4-엔-1-인, 트랜스-펜트-3-엔-1-인, 또는 시스-펜트-3-엔-1-인) 을 포함한다. 일부 구현예에서, 이소프렌 조성물은 약 0.005 내지 약 50, 예컨대 약 0.01 내지 약 10, 약 0.01 내지 약 5, 약 0.01 내지 약 1, 약 0.01 내지 약 0.5, 또는 약 0.01 내지 약 0.005 ug/L 의 이소프렌 이외의 탄화수소를 포함한다. 일부 구현예에서, 이소프렌 조성물은 약 50, 40, 30, 20, 10, 5, 1, 0.5, 0.1, 0.05, 0.01, 또는 0.005 ug/L 이하의 단백질 또는 지방산 (예컨대, 천연 고무와 자연적으로 관련된 단백질 또는 지방산) 을 포함한다.
일부 구현예에서, 이소프렌 조성물은 약 10, 5, 1, 0.8, 0.5, 0.1, 0.05, 0.01, 또는 0.005 ppm 이하의 알파 아세틸렌, 피페릴렌, 아세토니트릴, 또는 1,3-시클로펜타디엔을 포함한다. 일부 구현예에서, 이소프렌 조성물은 약 5, 1, 0.5, 0.1, 0.05, 0.01, 또는 0.005 ppm 이하의 황 또는 알렌을 포함한다. 일부 구현예에서, 이소프렌 조성물은 약 30, 20, 15, 10, 5, 1, 0.5, 0.1, 0.05, 0.01, 또는 0.005 ppm 이하의 모든 아세틸렌 (예컨대, 펜틴-1, 부틴-2, 2MB1-3-인, 및 1-펜틴-4-인) 을 포함한다. 일부 구현예에서, 이소프렌 조성물은 약 2000, 1000, 500, 200, 100, 50, 40, 30, 20, 10, 5, 1, 0.5, 0.1, 0.05, 0.01, 또는 0.005 ppm 이하의 이소프렌 이량체, 예컨대 시클릭 이소프렌 이량체 (예를 들어, 2 개의 이소프렌 단위의 이량체화로부터 유도된 시클릭 C10 화합물) 를 포함한다.
일부 구현예에서, 이소프렌 조성물에는 에탄올, 아세톤, C5 프레닐 알코올 (예컨대, 3-메틸-3-부텐-1-올 또는 3-메틸-2-부텐-1-올), 또는 상기 중 임의의 2 개 이상이 포함된다. 특정 구현예에서, 이소프렌 조성물은 약 0.005, 0.01, 0.05, 0.1, 0.5, 1, 5, 10, 20, 30, 40, 60, 80, 100, 또는 120 ug/L 이상의 에탄올, 아세톤, C5 프레닐 알코올 (예컨대, 3-메틸-3-부텐-1-올 또는 3-메틸-2-부텐-1-올), 또는 상기 중 임의의 2 개 이상을 포함한다. 일부 구현예에서, 이소프렌 조성물은 약 0.005 내지 약 120, 예컨대 약 0.01 내지 약 80, 약 0.01 내지 약 60, 약 0.01 내지 약 40, 약 0.01 내지 약 30, 약 0.01 내지 약 20, 약 0.01 내지 약 10, 약 0.1 내지 약 80, 약 0.1 내지 약 60, 약 0.1 내지 약 40, 약 5 내지 약 80, 약 5 내지 약 60, 또는 약 5 내지 약 40 ug/L 의 에탄올, 아세톤, C5 프레닐 알코올, 또는 상기 중 임의의 2 개 이상을 포함한다.
일부 구현예에서, 이소프렌 조성물에는 하나 이상의 하기 성분이 포함된다: 2-헵타논, 6-메틸-5-헵텐-2-온, 2,4,5-트리메틸피리딘, 2,3,5-트리메틸피라진, 시트로넬랄, 아세트알데하이드, 메탄티올, 메틸 아세테이트, 1-프로판올, 디아세틸, 2-부타논, 2-메틸-3-부텐-2-올, 에틸 아세테이트, 2-메틸-1-프로판올, 3-메틸-1- 부타날, 3-메틸-2-부타논, 1-부탄올, 2-펜타논, 3-메틸-1-부탄올, 에틸 이소부티레이트, 3-메틸-2-부테날, 부틸 아세테이트, 3-메틸부틸 아세테이트, 3-메틸-3-부트-1-에닐 아세테이트, 3-메틸-2-부트-1-에닐 아세테이트, (E)-3,7-디메틸-1,3,6-옥타트리엔, (Z)-3,7-디메틸-1,3,6-옥타트리엔, 2,3-시클로헵텐올피리딘, 또는 선형 이소프렌 중합체 (예컨대, 다중 이소프렌 단위의 중합으로부터 유도된 선형 이소프렌 이량체 또는 선형 이소프렌 삼량체). 다양한 구현예에서, 중량% 의 단위 내 이소프렌의 양에 대한 상기 성분 중 하나의 양 (즉, 성분의 중량 ÷ 이소프렌의 중량 × 100) 은 약 0.01, 0.02, 0.05, 0.1, 0.5, 1, 5, 10, 20, 30, 40, 50, 60, 70, 80, 90, 100, 또는 110% (w/w) 이상이다. 일부 구현예에서, 이소프렌에 대한 검출기 반응에 대한 제 2 화합물에 대한 상대적 검출기 반응은 약 0.01, 0.02, 0.05, 0.1, 0.5, 1, 5, 10, 20, 30, 40, 50, 60, 70, 80, 90, 100, 또는 110% 이상이다. 다양한 구현예에서, 중량% 의 단위 내 이소프렌의 양에 대한 상기 성분 중 하나의 양 (즉, 성분의 중량 ÷ 이소프렌의 중량 × 100) 은 약 0.01 내지 약 105% (w/w), 예컨대 약 0.01 내지 약 90, 약 0.01 내지 약 80, 약 0.01 내지 약 50, 약 0.01 내지 약 20, 약 0.01 내지 약 10, 약 0.02 내지 약 50, 약 0.05 내지 약 50, 약 0.1 내지 약 50, 또는 0.1 내지 약 20% (w/w) 이다.
일부 구현예에서, 이소프렌 조성물에는 하기 중 하나 이상이 포함된다: 알코올, 알데하이드, 또는 케톤 (예컨대, 본원에 기재된 알코올, 알데하이드, 또는 케톤 중 임의의 것). 일부 구현예에서, 이소프렌 조성물에는 (i) 알코올 및 알데하이드, (ii) 알코올 및 케톤, (iii) 알데하이드 및 케톤, 또는 (iv) 알코올, 알데하이드, 및 케톤이 포함된다.
일부 구현예에서, 이소프렌 조성물은 메탄올, 아세트알데하이드, 에탄올, 메탄티올, 1-부탄올, 3-메틸-1-프로판올, 아세톤, 아세트산, 2-부타논, 2-메틸-1-부탄올, 또는 인돌 중 하나 이상을 함유한다. 일부 구현예에서, 이소프렌 조성물은 메탄올, 아세트알데하이드, 에탄올, 메탄티올, 1-부탄올, 3-메틸-1-프로판올, 아세톤, 아세트산, 2-부타논, 2-메틸- 1-부탄올, 또는 인돌 중 하나 이상을 1 ppm 이상 함유한다. 일부 구현예에서, 메탄올, 아세트알데하이드, 에탄올, 메탄티올, 1-부탄올, 3-메틸-1-프로판올, 아세톤, 아세트산, 2-부타논, 2-메틸-1-부탄올, 또는 인돌 중 하나 이상의 농도는, 이소프렌 조성물 (예컨대 정제 전 방출-기체) 내에서 약 1 내지 약 10,000 ppm 이다. 일부 구현예에서, 이소프렌 조성물 (예컨대 하나 이상의 정제 단계를 거친 후의 방출-기체) 에는 메탄올, 아세트알데하이드, 에탄올, 메탄티올, 1-부탄올, 3-메틸-1-프로판올, 아세톤, 아세트산, 2-부타논, 2-메틸-1-부탄올, 또는 인돌 중 하나 이상이 약 1 내지 약 100 ppm, 예컨대 약 1 내지 약 10 ppm, 약 10 내지 약 20 ppm, 약 20 내지 약 30 ppm, 약 30 내지 약 40 ppm, 약 40 내지 약 50 ppm, 약 50 내지 약 60 ppm, 약 60 내지 약 70 ppm, 약 70 내지 약 80 ppm, 약 80 내지 약 90 ppm, 또는 약 90 내지 약 100 ppm 의 농도로 포함된다. 세포 배양물 (예컨대, 세포 배양물의 상부공간 내 휘발성 유기 화합물) 로부터의 휘발성 유기 화합물은 표준 방법, 예컨대 본원에 기재된 방법 또는 다른 표준 방법, 예컨대 양자 이동 반응-질량 분석 (예를 들어, 특히, 휘발성 유기 화합물의 분석에 관해, 본원에 전체가 참조로서 인용된 문헌 [Bunge et al ., Applied and Environmental Microbiology, 74(7):2179-2186, 2008] 참조) 을 사용하여 분석될 수 있다.
일부 구현예에서, 조성물은 약 2 mg 초과의 이소프렌, 예컨대 약 5, 10, 20, 30, 40, 50, 60, 70, 80, 90, 100, 200, 300, 400, 500, 600, 700, 800, 900, 또는 1000 mg 이상의 이소프렌을 포함한다. 일부 구현예에서, 조성물은 약 2, 5, 10, 20, 30, 40, 50, 60, 70, 80, 90, 100 g 이상의 이소프렌을 포함한다. 일부 구현예에서, 조성물 내 이소프렌의 양은 약 2 내지 약 5,000 mg, 예컨대 약 2 내지 약 100 mg, 약 100 내지 약 500 mg, 약 500 내지 약 1,000 mg, 약 1,000 내지 약 2,000 mg, 또는 약 2,000 내지 약 5,000 mg 이다. 일부 구현예에서, 조성물 내 이소프렌의 양은 약 20 내지 약 5,000 mg, 약 100 내지 약 5,000 mg, 약 200 내지 약 2,000 mg, 약 200 내지 약 1,000 mg, 약 300 내지 약 1,000 mg, 또는 약 400 내지 약 1,000 mg 이다. 일부 구현예에서, 조성물의 휘발성 유기 분획의 약 20, 25, 30, 40, 50, 60, 70, 80, 90, 또는 95 중량% 이상은 이소프렌이다.
일부 구현예에서, 조성물에는 에탄올이 포함된다. 일부 구현예에서, 조성물에는 약 75 내지 약 90 중량% 의 에탄올, 예컨대 약 75 내지 약 80 중량%, 약 80 내지 약 85 중량%, 또는 약 85 내지 약 90 중량% 의 에탄올이 포함된다. 조성물에 에탄올이 포함되는 일부 구현예에서, 조성물에는 또한 약 4 내지 약 15 중량% 의 이소프렌, 예컨대 약 4 내지 약 8 중량%, 약 8 내지 약 12 중량%, 또는 약 12 내지 약 15 중량% 의 이소프렌이 포함된다.
본 발명에 포함되는 일부 구현예에서, 이소프렌 합성효소 폴리펩티드, DXS 폴리펩티드, IDI 폴리펩티드, 및/또는 MVA 경로 폴리펩티드를 코딩하는 하나 이상의 이종 핵산을 포함하는 세포는, 하나 이상의 이종 핵산이 없는 본질적으로 동일한 조건 하에서 성장된 상응하는 세포로부터 제조된 이소프레노이드 화합물보다 약 2 배, 3 배, 5 배, 10 배, 25 배, 50 배, 100 배, 150 배, 200 배, 400 배 초과하는 양의 이소프레노이드 화합물 (예컨대, 하나 이상의 IPP 분자와 하나 이상의 DMAPP 분자의 반응으로부터 형성된 10 개 이상의 탄소 원자를 갖는 화합물) 을 제조한다. 본 발명에 포함되는 일부 구현예에서, 이소프렌 합성효소 폴리펩티드, DXS 폴리펩티드, IDI 폴리펩티드, 및/또는 MVA 경로 폴리펩티드를 코딩하는 하나 이상의 이종 핵산을 포함하는 세포는, 하나 이상의 이종 핵산이 없는 본질적으로 동일한 조건 하에서 성장된 상응하는 세포로부터 제조된 C5 프레닐 알코올의 양보다 약 2 배, 3 배, 5 배, 10 배, 25 배, 50 배, 100 배, 150 배, 200 배, 400 배 초과하는 양의 C5 프레닐 알코올 (예컨대 3-메틸-3-부텐-1-올 또는 3-메틸-2-부텐-1-올) 을 제조한다.
예시적 이소프렌 정제 방법
일부 구현예에서, 본원에 기재된 임의의 방법은 이소프렌을 회수하는 것을 추가로 포함한다. 예를 들어, 본 발명의 조성물 및 방법을 사용하여 제조된 이소프렌은 표준 기술, 예컨대 기체 스트리핑, 막 향상 분리, 분획화, 흡착/탈착, 투석증발, 고상으로부터 이소프렌의 열 또는 진공 탈착, 또는 고상에 고정 또는 흡착된 이소프렌의 용매로의 추출을 사용하여 회수될 수 있다 (예를 들어, 특히, 이소프렌 회수 및 정제 방법에 관해, 본원에 전체가 각각 참조로서 인용된 미국 특허 번호 4,703,007 및 4,570,029 참조). 특정 구현예에서, 알코올 (예컨대 에탄올, 메탄올, 프로판올, 또는 이의 조합) 로의 추출 증류는 이소프렌을 회수하기 위해 사용된다. 일부 구현예에서, 이소프렌의 회수에는 액체 형태의 이소프렌의 단리 (예컨대, 이소프렌의 순 용액 또는 용매 중의 이소프렌의 용액) 가 포함된다. 기체 스트리핑에는 연속 방식으로의 발효 방출-기체 스트림으로부터의 이소프렌 증기의 제거가 포함된다. 이러한 제거는 고상에 대한 흡착, 액상 내로의 분할, 또는 직접 응축 (예컨대 응축 코일에 대한 노출로 인한 또는 압력 증가로 인한 응축) 을 포함하나 이에 제한되지 않는 여러 상이한 방식으로 달성될 수 있다. 일부 구현예에서, 증기의 이슬점 초과의 희석 이소프렌 증기 스트림의 막 풍부는 액체 이소프렌의 응축을 야기한다. 일부 구현예에서, 이소프렌은 압착되고 응축된다.
이소프렌의 회수에는 1 단계 또는 다단계가 포함될 수 있다. 일부 구현예에서, 발효 방출-기체로부터의 이소프렌 증기의 제거 및 이소프렌의 액상으로의 전환은 연속으로 수행된다. 예를 들어, 이소프렌은 방출-기체 스트림으로부터 직접 응축되어 액체를 형성할 수 있다. 일부 구현예에서, 발효 방출-기체로부터의 이소프렌 증기의 제거 및 이소프렌의 액상으로의 전환은 연속으로 수행된다. 예를 들어, 이소프렌은 고상에 흡착된 다음, 고상으로부터 용매로 추출될 수 있다.
일부 구현예에서, 본원에 기재된 임의의 방법에는 이소프렌을 정제하는 것이 추가로 포함된다. 예를 들어, 본 발명의 조성물 및 방법을 사용하여 제조된 이소프렌은 표준 기술을 사용하여 정제될 수 있다. 정제는 이소프렌이 제조될 때, 존재하는 하나 이상의 성분으로부터 이소프렌을 분리하는 방법을 말한다. 일부 구현예에서, 이소프렌은 실질적으로 순수한 액체로서 수득된다. 정제 방법의 예에는 (i) 액체 추출제 내 용액으로부터의 증류 및 (ii) 크로마토그래피가 포함된다. 본원에 사용된 바와 같은, "정제된 이소프렌" 은 이소프렌이 제조될 때, 존재하는 하나 이상의 성분으로부터 분리된 이소프렌을 의미한다. 일부 구현예에서, 이소프렌은 이소프렌이 제조될 때, 존재하는 다른 성분이 없이 약 20 중량% 이상이다. 다양한 구현예에서, 이소프렌은 약 25 중량%, 30 중량%, 40 중량%, 50 중량%, 60 중량%, 70 중량%, 75 중량%, 80 중량%, 90 중량%, 95 중량%, 또는 99 중량% 이상 순수하다. 순도는 임의의 적합한 방법에 의해, 예를 들어, 컬럼 크로마토그래피, HPLC 분석, 또는 GC-MS 분석에 의해 어세이할 수 있다.
일부 구현예에서, 이소프렌의 제거를 위한 하나 이상의 회수 단계 후 남은 기상의 일부 이상은 이소프렌의 제조를 위해 기상을 세포 배양 시스템 (예컨대 발효기) 내로 도입함으로써 재생된다.
일부 구현예에서, 본원에 기재된 임의의 방법에는 이소프렌을 중합하는 것이 추가로 포함된다. 예를 들어, 표준 방법은 정제된 이소프렌을 중합하여 시스-폴리이소프렌 또는 표준 방법을 사용하는 기타 하위 스트림 생성물을 형성하기 위해 사용될 수 있다. 따라서, 본 발명은 또한 본원에 기재된 임의의 이소프렌 조성물로 만들어진 폴리이소프렌, 예컨대 시스-1,4-폴리이소프렌 및/또는 트랜스-1,4-폴리이소프렌을 포함하는 타이어를 특징으로 한다.
실시예
본 발명의 순수한 예로 의도되고, 그러므로 본 발명을 어떠한 방식으로도 제한하는 것으로 고려되지 않아야 하는 실시예, 및 상기 논의된 본 발명의 상세한 양상 및 구현예를 또한 설명한다. 다르게 언급되지 않는 경우, 온도는 섭씨 온도이고, 기압은 대기압 또는 그 근처의 압력이다. 하기 실시예 및 상세한 설명은 제한이 아닌 예로서 제공되는 것이다. 본 명세서에 언급된 모든 공개, 특허 출원 및 특허는, 각각의 개별 공개, 특허 출원, 또는 특허가 참조로서 인용되는 것으로 구체적으로 개별적으로 나타내지는 경우와 같이 참조로서 본원에 인용된다. 특히, 본원에 언급된 모든 공개는 본 발명과 연관하여 사용될 수 있는 조성물 및 방법론을 설명 및 기재하려는 목적으로 참조로서 본원에 표현적으로 인용된다. 상기 발명이 설명으로서, 이해의 명확성을 목적으로 실시예로서 일부 상세히 기재되어 있지만, 당업자에게는 본 발명의 교시의 견지에서 특허청구범위의 취지 또는 범주로부터 벗어남 없이 특정 변화 및 개질이 이루어질 수 있다는 것이 쉽게 명백할 것이다.
실시예 1: 재조합 kudzu 이소프렌 합성효소를 발현하는 E. 콜라이 내 이소프렌의 제조
I. E. 콜라이 내 kudzu 이소프렌 합성효소의 발현용 벡터의 구축
kudzu (푸에라리아 몬타나 (Pueraria montana)) 이소프렌 합성효소 유전자 (IspS) 에 대한 단백질 서열을 GenBank (AAQ84170) 로부터 수득하였다. E. 콜라이 코돈 용법에 대해 최적화된 kudzu 이소프렌 합성효소 유전자를 DNA2.0 (SEQ ID NO: 1) 에서 구입하였다. BspLU11I/PstI 로의 제한 엔도뉴클레아제 소화에 의해 공급된 플라스미드로부터 이소프렌 합성효소 유전자를 제거하고, 젤-정제하고, NcoI/PstI 으로 소화된 pTrcHis2B (Invitrogen) 내에 라이게이션하였다. PstI 부위에 대해 이소프렌 합성효소 유전자 5' 에 정지 코돈이 있도록 구축물을 디자인하였다. 그 결과, 구축물이 발현될 때, His-태그는 이소프렌 합성효소 단백질에 부착되지 않는다. 수득 플라스미드인 pTrcKudzu 를 서열분석에 의해 입증하였다 (도 2 및 3).
또한 이소프렌 합성효소 유전자를 pET16b (Novagen) 내에 클로닝하였다. 이 경우, 이소프렌 합성효소 유전자를 재조합 이소프렌 합성효소 단백질이 N-말단 His 태그에 함유되도록 pET16b 내에 삽입하였다. 이소프렌 합성효소 유전자를 프라이머 세트 pET-His-Kudzu-2F: 5'-CGTGAGATCATATGTGTGCGACCTCTTCTCAATTTAC (SEQ ID NO:3) 및 pET-His-Kudzu-R: 5'-CGGTCGACGGATCCCTGCAGTTAGACATACATCAGCTG (SEQ ID NO:4) 를 사용하여 PCR 에 의해 pTrcKudzu 로부터 증폭시켰다. 상기 프라이머에 유전자의 5'-말단에 NdeI 부위 및 3' 말단에 BamH1 부위를 각각 첨가하였다. 상기 기재된 플라스미드 pTrcKudzu 를 주형 DNA 로서 사용하였고, 헤르쿨라아제 (Herculase) 폴리머라아제 (Stratagene) 를 제조자의 지침에 따라 사용하였고, 프라이머를 10 pMol 의 농도로 첨가하였다. PCR 을 총 부피 25 ㎕ 에서 수행하였다. PCR 생성물을 NdeI/BamH1 으로 소화하고, 동일한 효소로 소화된 pET16b 내로 클로닝하였다. 라이게이션 믹스를 E. 콜라이 Top10 (Invitrogen) 내로 형질전환시키고, 서열분석에 의해 올바른 클론을 선택하였다. kudzu 이소프렌 합성효소 유전자가 T7 프로모터로부터 발현된 수득된 플라스미드를 pETNHisKudzu (도 4 및 5) 로 지정하였다.
kudzu 이소프렌 합성효소 유전자를 또한 저 카피 수 플라스미드 pCL1920 내로 클로닝하였다. 프라이머를 상기 기재된 pTrcKudzu 로부터 kudzu 이소프렌 합성효소 유전자를 증폭시키는데 사용하였다. 정방향 프라이머에 HindIII 부위 및 E. 콜라이 일치 RBS 를 5' 말단에 첨가하였다. PstI 클로닝 부위는 pTrcKudzu 내 정지 코돈의 바로 3' 에 이미 존재하여, 최종 PCR 생성물에 PstI 부위가 포함되도록 역방향 프라이머를 구축하였다. 프라이머의 서열은 다음과 같았다: HindIII-rbs-Kudzu F: 5'-CATATGAAAGCTTGTATCGATTAAATAAGGAGGAATAAACC (SEQ ID NO:6) 및 BamH1-Kudzu R:
5'-CGGTCGACGGATCCCTGCAGTTAGACATACATCAGCTG (SEQ ID NO:4). PCR 생성물을 10 pmol 의 농도의 프라이머 및 1 ng 의 주형 DNA (pTrcKudzu) 로, 헤르쿨라아제 폴리머라아제를 사용하여 증폭시켰다. 증폭 프로토콜에는 (1 분 동안 95℃, 1 분 동안 60℃, 2 분 동안 72℃) 의 30 사이클이 포함되었다. 생성물을 HindIII 및 PstI 으로 소화시키고, HindIII 및 PstI 로 소화되었던 pCL1920 내로 라이게이션하였다. 라이게이션 믹스를 E. 콜라이 Top 10 내로 형질전환시켰다. 여러 개의 형질전환체를 서열분석에 의해 확인하였다. 수득된 플라스미드를 pCL-lac-Kudzu (도 6 및 7) 로 지정하였다.
II. 이소프렌 제조의 측정
진탕 플라스크 배양을 위해, 1 ml 의 배양물을 진탕 플라스크에서 20 ml CTC 상부공간 바이알 (Agilent 바이알 cat# 5188 2753; 캡 cat# 5188 2759) 로 옮겼다. 캡을 단단히 돌려 잠그고, 바이알을 250 rpm 에서 진탕하면서 동일한 온도에서 인큐베이션하였다. 30 분 후, 바이알을 인큐베이터에서 제거하고, 하기 기재된 바와 같이 분석하였다 (상기 어세이로부터의 일부 실험 값에 대해 표 1 참조).
발효기 내 이소프렌 제조가 측정되었던 경우, 샘플을 발효기의 방출-기체로부터 취하고, 하기 기재된 바와 같이 직접적으로 분석하였다 (상기 어세이로부터의 일부 실험 값에 대해 표 2 참조).
상부공간 방식으로 작동하는 CTC Analytics (Switzerland) CombiPAL 오토샘플러가 접속된 Agilent 6890 GC/MS 시스템을 사용하여 분석하였다. Agilent HP-5MS GC/MS 컬럼 (30 m × 0.25 mm; 0.25 ㎛ 필름 두께) 를 분석물 분리를 위해 사용하였다. 샘플러를 500 ㎕ 의 상부공간 기체를 주입하는 것으로 설정하였다. GC/MS 방법은 운반 기체로서 헬륨을 1 ml/분의 속도로 이용하였다. 주입 포트를 50:1 의 분열비로 250℃ 에서 유지하였다. 오븐 온도를 분석 2 분 기간 동안 37℃ 로 유지하였다. Agilent 5793N 질량 선택적 검출기를 m/z 67 상의 단일 이온 모니터링 (SIM) 방식으로 실행시켰다. 검출기를 1.4 에서 1.7 분으로 전환시켜 영구 기체 용리를 시켰다. 상기 조건 하에서, 이소프렌 (2-메틸-1,3-부타디엔) 은 1.78 분에 용리되는 것을 관찰하였다. 검정 표를 사용하여 이소프렌 절대량을 정량하였고, 1 ㎍/L 에서 2000 ㎍/L 까지 선형인 것으로 발견되었다. 검출 한계는 상기 방법을 사용하여 50 내지 100 ng/L 인 것으로 추정되었다.
III. 재조합 이소프렌 합성효소를 발현하는 E. 콜라이 세포를 함유하는 진탕 플라스크 내 이소프렌의 제조
상기 기재된 벡터를 E. 콜라이 균주 BL21 (Novagen) 내에 도입하여 균주 BL21/ptrcKudzu, BL21/pCL-lac-Kudzu 및 BL21/pETHisKudzu 를 제조하였다. 균주를 LA (루리아 아가 (Luria agar)) + 카르베니실린 (50 ㎍/ml) 상의 단리를 위해 얇게 퍼뜨리고, 37℃ 에서 밤새 인큐베이션하였다. 단일 콜로니를 20 ml 루리아 베르타니 (Luria Bertani) 브로쓰 (LB) 및 카르베니실린 (100 ㎍/ml) 을 함유하는 250 ml 배플 (baffled) 진탕 플라스크 내에 인큐베이션하였다. 배양물을 200 rpm 으로 진탕하면서 20℃ 에서 밤새 성장시켰다. 밤샘 배양물의 OD600 을 측정하고, 배양물을 30 ml MagicMedia (Invitrogen) + 카르베니실린 (100 ㎍/ml) 을 함유하는 250 ml 배플 진탕 플라스크에 OD600 ~ 0.05 으로 희석하였다. 배양물을 200 rpm 으로 진탕하면서 30℃ 에서 인큐베이션하였다. OD600 가 약 0.5 - 0.8 일 때, 400 μM IPTG 를 첨가하고, 세포를 200 rpm 으로 진탕하면서 30℃ 에서 추가 6 시간 동안 인큐베이션하였다. IPTG 로의 인큐베이션 0, 2, 4 및 6 시간 후에, 배양물 1 ml 분취액을 수집하고, OD600 을 측정하고, 제조된 이소프렌의 양을 상기 기재된 바와 같이 측정하였다. 결과를 도 8 에 제시한다.
IV. 14 리터 발효 내 BL21/ptrcKudzu 로부터의 이소프렌의 제조
재조합 kudzu 이소프렌 합성효소 유전자를 함유하는 E. 콜라이로부터의 이소프렌의 대규모 제조를 공급-배치식 배양물로부터 측정하였다. 발효 배지 1 리터 당 발효 배지 (TM2) 에 대한 구성은 다음과 같았다: K2HPO4 13.6 g, KH2PO4 13.6 g, MgSO4 * 7H2O 2 g, 구연산 1 수화물 2 g, 철 암모늄 시트레이트 0.3 g, (NH4)2SO4 3.2 g, 효모 추출물 5 g, 1000× 개질 미량 금속 용액 (Modified Trace Metal Solution) 1 ml. 모든 성분을 함께 첨가하고, diH2O 에 용해하였다. 수산화칼륨 (KOH) 으로 pH 를 6.8 으로 조정하고, 부피를 충분히 하였다. 최종 생성물을 0.22 μ 필터 (이것으로만, 오토클레이브하지 않음) 로 필터 멸균하였다. 1000× 개질 미량 금속 용액 (Modified Trace Metal Solution) 에 대한 구성은 다음과 같았다: 구연산 * H2O 40 g, MnSO4 * H2O 30 g, NaCl 10 g, FeSO4 * 7H2O 1 g, CoCl2 * 6H2O 1 g, ZnSO * 7H2O 1 g, CuSO4 * 5H2O 100 mg, H3BO3 100 mg, NaMoO4 * 2H2O 100 mg. 각 성분을 diH2O 에 한번에 용해하고, HCl/NaOH 로 pH 를 3.0 으로 조정한 다음, 부피를 충분히 하고, 0.22 μ 필터로 필터 멸균하였다.
바람직한 발효, pH 6.7 및 온도 34℃ 에서 글루코오스로부터 이소프렌 형성을 모니터링하기 위해 14 L 생물반응기에서 상기 실험을 수행하였다. 동결 바이알로부터 취해진 E. 콜라이 균주 BL21/ptrcKudzu 의 접종물을 소이톤-효모 추출물-글루코오스 배지에서 제조하였다. 접종물을 OD550 = 0.6 까지 성장시킨 후, 2 개의 600 ml 플라스크를 원심분리하고, 세포 펠렛 (70 ml 의 OD 3.1 물질) 을 생물반응기에 옮기기 위해 내용물을 70 ml 상청액에 재현탁하였다. 접종 후 다양한 시간에서, 샘플을 제거하고, 제조된 이소프렌의 양을 상기 기재된 바와 같이 측정하였다. 결과는 도 9 에 제시된다.
실시예 2: 재조합 poplar 이소프렌 합성효소를 발현하는 E. 콜라이 내 이소프렌의 제조
poplar (포풀러스 알바 x 포풀러스 트레물라 (Populus alba x Populus tremula)) 이소프렌 합성효소에 대한 단백질 서열 (Schnitzler, J-P, et al. (2005) Planta 222:777-786) 을 GenBank (CAC35696) 로부터 입수하였다. E. 콜라이에 대해 최적화된 코돈인 유전자를 DNA2.0 로부터 구입하였다 (p9796-poplar, 도 30 및 31). BspLU11I/PstI 로의 제한 엔도뉴클레아제 소화에 의해 공급된 플라스미드로부터 이소프렌 합성효소 유전자를 제거하고, 젤-정제하고, NcoI/PstI 으로 소화된 pTrcHis2B 내로 라이게이션하였다. 삽입물 내 정지 코돈이 PstI 부위 전에 있도록 구축물을 클로닝하여, His-태그가 이소프렌 합성효소 단백질에 부착되지 않은 구축물을 산출한다. 수득된 플라스미드 pTrcPoplar (도 32 및 33) 를 서열분석에 의해 입증하였다.
실시예 3: 재조합 kudzu 이소프렌 합성효소를 발현하는 판테오아 시트레아 (Panteoa citrea ) 내 이소프렌의 제조
실시예 1 에 기재된 pTrcKudzu 및 pCL-lac Kudzu 플라스미드를 P. 시트레아 내로 전기천공시켰다 (미국 특허 번호 7,241,587). 형질전환체를 카르베니실린 (200 ㎍/ml) 또는 스펙티노마이신 (50 ㎍/ml) 을 각각 함유하는 LA 상에서 선별하였다. 진탕 플라스크로부터의 이소프렌의 제조 및 제조되는 이소프렌의 양의 측정을 재조합 kudzu 이소프렌 합성효소를 발현하는 E. 콜라이 균주에 대해 실시예 1 에 기재된 바와 같이 수행하였다. 결과를 도 10 에 제시한다.
실시예 4: 재조합 kudzu 이소프렌 합성효소를 발현하는 바실러스 서브틸리스 내 이소프렌의 제조
I. kudzu 이소프렌 합성효소의 발현을 위한 B. 서브틸리스 복제 플라스미드의 구축
kudzu 이소프렌 합성효소 유전자를, aprE 프로모터의 통제 하에서 복제 플라스미드 (클로르암페니콜 내성 카세트가 있는 pBS19) 를 사용하여 바실러스 서브틸리스 aprEnprE Pxyl-comK 균주 (BG3594comK) 에서 발현하였다. 이소프렌 합성효소 유전자, aprE 프로모터 및 전사 터미네이터를 각각 증폭시키고, PCR 를 사용하여 융합시켰다. 구축물을 pBS19 내로 클로닝하고, B. 서브틸리스 내로 형질전환시켰다.
a) aprE 프로모터의 증폭
aprE 프로모터를 하기 프라이머를 사용하여 바실러스 서브틸리스로부터의 염색체 DNA 로부터 증폭시켰다:
CF 797 (+) aprE 프로모터 MfeI 를 출발함
5'- GACATCAATTGCTCCATTTTCTTCTGCTATC (SEQ ID NO:58)
CF 07-43 (-) Kudzu ispS 에 대해 aprE 프로모터를 융합함
5'- ATTGAGAAGAGGTCGCACACACTCTTTACCCTCTCCTTTTA (SEQ ID NO:59)
b) 이소프렌 합성효소 유전자의 증폭
kudzu 이소프렌 합성효소 유전자를 플라스미드 pTrcKudzu (SEQ ID NO:2) 로부터 증폭시켰다. 유전자는 E. 콜라이에 대해 최적화된 코돈을 가지고 있고, DNA 2.0 에 의해 합성되었다. 하기 프라이머를 사용하였다:
CF 07-42 (+) kudzu 이소프렌 합성효소 유전자에 대해 aprE 프로모터를 융합함 (GTG 출발 코돈)
5'- TAAAAGGAGAGGGTAAAGAGTGTGTGCGACCTCTTCTCAAT (SEQ ID NO:60)
CF 07-45 (-) 터미네이터에 대해 kudzu 이소프렌 합성효소 유전자의 3' 말단을 융합함
5'- CCAAGGCCGGTTTTTTTTAGACATACATCAGCTGGTTAATC (SEQ ID NO:61)
c) 전사 터미네이터의 증폭
바실러스 아밀리퀘파시엔스의 알칼리 세린 프로테아제로부터의 터미네이터를 하기 프라이머를 사용하여 미리 서열분석된 플라스미드 pJHPms382 로부터 증폭시켰다:
CF 07-44 (+) 터미네이터에 대해 kudzu 이소프렌 합성효소의 3' 말단을 융합함
5'- GATTAACCAGCTGATGTATGTCTAAAAAAAACCGGCCTTGG (SEQ ID NO:62)
CF 07-46 (-) B. 아밀리퀘파시엔스 터미네이터의 말단 (BamH1)
5'- GACATGACGGATCCGATTACGAATGCCGTCTC (SEQ ID NO:63)
kudzu 분절을 하기 프라이머로의 PCR 을 사용하여 터미네이터 분절에 융합시켰다:
CF 07-42 (+) kudzu 이소프렌 합성효소 유전자에 대해 aprE 프로모터를 융합함 (GTG 출발 코돈)
5'- TAAAAGGAGAGGGTAAAGAGTGTGTGCGACCTCTTCTCAAT (SEQ ID NO:61)
CF 07-46 (-) B. 아밀리퀘파시엔스 터미네이터의 말단 (BamH1)
5'- GACATGACGGATCCGATTACGAATGCCGTCTC (SEQ ID NO:63)
kudzu-터미네이터 분절을 하기 프라이머로의 PCR 을 사용하여 프로모터 분절에 융합시켰다:
CF 797 (+) aprE 프로모터 MfeI 를 출발함
5'- GACATCAATTGCTCCATTTTCTTCTGCTATC (SEQ ID NO:64)
CF 07-46 (-) B. 아밀리퀘파시엔스 터미네이터 (BamH1) 의 말단
5'- GACATGACGGATCCGATTACGAATGCCGTCTC (SEQ ID NO:63)
융합 PCR 분절을 Qiagen 키트를 사용하여 정제하고, 제한 효소 MfeI 및 BamH1 으로 소화하였다. 상기 소화된 DNA 분절을 Qiagen 키트를 사용하여 젤 정제하고, EcoRI 및 BamH1 으로 소화하여 젤 정제한 pBS19 로서 알려진 벡터와 라이게이션하였다.
라이게이션 믹스를 E. 콜라이 Top 10 세포 내로 형질전환시키고, 콜로니를 LA+50 카르베니실린 플레이트 상에서 선별하였다. 총 6 개의 콜로니를 선택하고 LB+50 카르베니실린에서 밤새 성장시킨 다음, 플라스미드를 Qiagen 키트를 사용하여 단리하였다. 삽입물을 확인하기 위해 플라스미드를 EcoRI 및 BamH1 으로 소화시키고, 올바른 플라스미드 중 3 개를 하기 프라이머로의 서열분석을 위해 보냈다:
CF 149 (+) aprE 프로모터의 EcoRI 출발
5'- GACATGAATTCCTCCATTTTCTTCTGC (SEQ ID NO:65)
CF 847 (+) pXX 049 내 서열 (aprE 프로모터의 말단)
5'- AGGAGAGGGTAAAGAGTGAG (SEQ ID NO:66)
CF 07-45 (-) 터미네이터에 대해 kudzu 이소프렌 합성효소의 3' 말단을 융합함
5'- CCAAGGCCGGTTTTTTTTAGACATACATCAGCTGGTTAATC (SEQ ID NO:61)
CF 07-48 (+) kudzu 이소프렌 합성효소에 대한 서열분석 프라이머
5'- CTTTTCCATCACCCACCTGAAG (SEQ ID NO:67)
CF 07-49 (+) kudzu 이소프렌 합성효소 내 서열분석
5'- GGCGAAATGGTCCAACAACAAAATTATC (SEQ ID NO:68)
pBS Kudzu #2 (도 52 및 12) 로 지정된 플라스미드를 서열분석에 의해 정정하고, 바실러스 서브틸리스 숙주 균주인 BG 3594 comK 내로 형질전환시켰다. LA + 5 클로르암페니콜 플레이트 상에서 선별을 수행하였다. 형질전환체를 선택하고, LA + 5 클로르암페니콜 상의 단일 콜로니를 딴 다음, OD600 이 1.5 에 도달할 때까지 LB+5 클로르암페니콜에서 성장시켰다. 이것을 글리세롤의 존재하에, -80℃ 에서 바이알 내에 동결건조하였다. 수득된 균주를 CF 443 으로 지정하였다.
II. 재조합 이소프렌 합성효소를 발현하는 B. 서브틸리스 세포를 함유하는 진탕 플라스크 내 이소프렌의 제조
밤샘 배양물을 LA + 클로르암페니콜 (Cm, 25 ㎍/ml) 로부터 CF 443 의 단일 콜로니로 접종시켰다. 200 rpm 으로 진탕하면서 37℃ 에서 배양물을 LB + Cm 에서 성장시켰다. 상기 밤샘 배양물 (1 ml) 을 사용하여, 25 ㎍/ml 의 최종 농도로 25 ml Grants II 배지 및 클로르암페니콜을 함유하는 250 ml 배플 진탕 플라스크를 접종하였다. Grants II 배지 구성은 10 g 소이톤, 3 ml 1 M K2HPO4, 75 g 글루코오스, 3.6 g 우레아, 100 ml 10× MOPS, 1 L 까지 H2O 충분량, pH 7.2 이었고; 10× MOPS 구성은 83.72 g MOPS, 7.17 g 트리신, 12 g KOH 펠렛, 10 ml 0.276M K2SO4 용액, 10 ml 0.528M MgCl2 용액, 29.22 g NaCl, 100 ml 100× 미량영양소, 1 L 까지 H2O 충분량이었고; 100× 미량영양소 구성은 1.47 g CaCl2*2H2O, 0.4 g FeSO4*7H20, 0.1 g MnSO4*H20, 0.1 g ZnSO4*H2O, 0.05 g CuCl2*2H2O, 0.1 g CoCl2*6H2O, 0.1 g Na2MoO4*2H2O, 1 L 까지 H2O 충분량이었다. 진탕 플라스크를 37℃ 에서 인큐베이션하고, 샘플을 18, 24, 및 44 시간에 취하였다. 18 시간에 CF443 의 상부공간 및 대조군 균주를 샘플링하였다. 이것은 이소프렌의 18 시간 축적을 나타내었다. 이소프렌의 양을 실시예 1 에 기재된 바와 같은 기체 크로마토그래피에 의해 측정하였다. 이소프렌의 제조는 재조합 이소프렌 합성효소를 발현시킴으로써 유의하게 향상되었다 (도 11).
III. 14 L 발효 내 CF443 에 의한 이소프렌의 제조
복제 플라스미드 상에 재조합 kudzu 이소프렌 합성효소 유전자를 함유하는 B. 서브틸리스로부터의 이소프렌의 대규모 제조를 공급-배치식 배양물로부터 측정하였다. kudzu 이소프렌 합성효소 유전자를 발현하는 바실러스 균주 CF 443, 또는 kudzu 이소프렌 합성효소 유전자를 발현하지 않는 대조군 균주를 대두 가루 (Cargill), 인산나트륨 및 인산칼륨, 황산마그네슘 및, 구연산, 염화제2철 및 염화망간의 용액을 함유하는 영양 배지에서 통상의 공급-배치식 발효에 의해 배양하였다. 발효 전 배지를 셀룰라아제, 헤미셀룰라아제 및 펙티나아제를 포함하는 효소의 혼합물을 사용하여 90 분 동안 불린다 (참조, WO95/04134). 14 L 배치 발효에 60% wt/wt 글루코오스 (Cargill DE99 덱스트로오스, ADM Versadex greens 또는 Danisco 전화당) 및 99% wt/wt 오일 (Western Family 대두 오일, 99% wt/wt 는 세포 배양 배지에 첨가하기 전의 오일의 농도이다) 을 공급한다. 배치 중의 글루코오스가 검출되지 않을 때 공급을 시작하였다. 공급 속도를 여러 시간에 걸쳐 높이고, 동일한 탄소 기재의 오일을 첨가하여 조절하였다. 28% w/v 수산화암모늄을 사용하여 pH 를 6.8 - 7.4 로 조절하였다. 거품이 발생하는 경우, 소포제를 배지에 첨가하였다. 발효 온도를 37℃ 에서 조절하고, 발효 배양물을 750 rpm 으로 진탕하였다. pH, DO%, 기류, 및 압력과 같은 다양한 기타 파라미터를 전체 공정 동안 모니터링하였다. DO% 를 20 초과로 유지한다. 샘플을 36 시간의 시간 과정에 걸쳐 채취하고, 세포 성장 (OD550) 및 이소프렌 제조에 대해 분석하였다. 상기 실험 결과를 도 53A 및 53B 에 제시한다.
IV. B. 서브틸리스 내 kudzu 이소프렌 합성효소 (ispS) 의 통합
kudzu 이소프렌 합성효소 유전자를 aprE 프로모터의 통제 하에서 통합 플라스미드 (pJH101-cmpR) 내에 클로닝하였다. 시험된 조건 하에서, 이소프렌이 검출되지 않았다.
실시예 5: 트리코데르마 내 이소프렌의 제조
I. 트리코데르마 레에세이 내 kudzu 이소프렌 합성효소의 발현용 벡터의 구축
야로이야 리폴라이티카 (Yarrowia lipolytica) 코돈-최적화 kudzu IS 유전자를 DNA 2.0 (SEQ ID NO:8) 에 의해 합성하였다 (도 13). 상기 플라스미드는 하기 PCR 증폭 반응에 대한 주형으로서 담당하였다: 총 반응 부피 50 ㎕ 중에, 1 ㎕ 플라스미드 주형 (20 ng/ul), 1 ㎕ 프라이머 EL-945 (10 uM) 5'- GCTTATGGATCCTCTAGACTATTACACGTACATCAATTGG (SEQ ID NO:9), 1 ㎕ 프라이머 EL-965 (10 uM) 5'-CACCATGTGTGCAACCTCCTCCCAGTTTAC (SEQ ID NO:10), 1 ㎕ dNTP (10 mM), 5 ㎕ 10× PfuUltra II 융합 HS DNA 폴리머라아제 완충액, 1 ㎕ PfuUltra II 융합 HS DNA 폴리머라아제, 40 ㎕ 물. 정방향 프라이머에는 Y. 리폴라이티카 코돈-최적화 kudzu 이소프렌 합성효소 유전자에 상응하지 않으나, pENTR/D-TOPO 벡터 내의 클로닝에 필요한 5'-말단에 부가적인 4 개의 뉴클레오티드가 함유되어 있다. 역방향 프라이머에는 Y. 리폴라이티카 코돈-최적화 kudzu 이소프렌 합성효소 유전자에 상응하지 않으나, 다른 벡터 백본 내로의 클로닝을 위해 삽입된 5'-말단에 부가적인 21 개의 뉴클레오티드가 함유되어 있다. MJ Research PTC-200 Thermocycler 를 사용하여, PCR 반응을 하기와 같이 수행하였다: 2 분 동안 95℃ (첫번째 사이클만), 30 초 동안 95℃, 30 초 동안 55℃, 30 초 동안 72℃ (27 사이클 동안 반복), 마지막 사이클 후 1 분 동안 72℃. PCR 생성물을 1.2% E-젤 상에서 분석하여, Y. 리폴라이티카 코돈-최적화 kudzu 이소프렌 합성효소 유전자의 성공적인 증폭을 확인하였다.
그 다음 PCR 생성물을 하기 제조자의 프로토콜에 따라 TOPO pENTR/D-TOPO Cloning Kit 를 사용하여 클로닝하였다: 총 반응 용액 6 ㎕ 중에, 1 ㎕ PCR 반응물, 1 ㎕ 염 용액, 1 ㎕ TOPO pENTR/D-TOPO 벡터 및 3 ㎕ 물. 반응을 실온에서 5 분 동안 인큐베이션하였다. 1 ㎕ 의 TOPO 반응물을 TOP10 화학적으로 수용능이 된 E. 콜라이 세포 내로 형질전환시켰다. 형질전환체를 LA + 50 ㎍/ml 카나마이신 플레이트 상에서 선별하였다. 여러 개의 콜로니를 집어내고, 각각을 LB + 50 ㎍/ml 카나마이신을 함유하는 5 ml 튜브 내에 접종하고, 배양물을 200 rpm 으로 진탕하면서 37℃ 에서 밤새 성장시켰다. 제조자의 프로토콜에 따라 QIAprep Spin Miniprep Kit 를 사용하여 밤샘 배양 튜브로부터 플라스미드를 단리하였다. 여러 개의 플라스미드을 서열분석하여 DNA 서열이 올바른지를 입증하였다.
Y. 리폴라이티카 코돈-최적화 kudzu 이소프렌 합성효소 유전자를 코딩하는 단일 pENTR/D-TOPO 플라스미드를, 주문 제작된 pTrex3g 벡터 내로의 Gateway 클로닝을 위해 사용하였다. pTrex3g 의 구축은 WO 2005/001036 A2 에 기재되어 있다. Gateway LR Clonase II Enzyme Mix Kit (Invitrogen) 에 대한 제조자의 프로토콜에 따라 반응을 수행하였다: 1 ㎕ Y. 리폴라이티카 코돈-최적화 kudzu 이소프렌 합성효소 유전자 pENTR/D-TOPO 공여체 벡터, 1 ㎕ pTrex3g 목적지 벡터, 6 ㎕ TE 완충액, pH 8.0 (총 반응 부피 8 ㎕). 반응을 실온에서 1 시간 동안 인큐베이션시킨 다음 1 ㎕ 트로테이나아제 K 용액을 첨가하고, 인큐베이션을 37℃ 에서 10 분 동안 계속하였다. 그 다음, 1 ㎕ 의 반응물을 TOP10 화학적으로 수용능이 된 E. 콜라이 세포 내로 형질전환시켰다. 형질전환체를 LA + 50 ㎍/ml 카르베니실린 플레이트 상에서 선별하였다. 여러 개의 콜로니를 집어내고, 각각을 LB + 50 ㎍/ml 카르베니실린을 함유하는 5 ml 튜브 내에 접종하고, 배양물을 200 rpm 으로 진탕하면서 37℃ 에서 밤새 성장시켰다. 제조자의 프로토콜에 따라 QIAprep Spin Miniprep Kit (Qiagen, Inc.) 를 사용하여 밤샘 배양 튜브로부터 플라스미드를 단리하였다. 여러 개의 플라스미드을 서열분석하여 DNA 서열이 올바른지를 입증하였다.
4 개의 (quad) 결실 트리코데르마 레에세이 균주 내로의 Y. 리폴라이티카 코돈-최적화 kudzu 이소프렌 합성효소 pTrex3g 플라스미드의 유전자주입 형질전환 (도 14) 을 Biolistic PDS-1000/HE Particle Delivery System (참조, WO 2005/001036 A2) 을 사용하여 수행하였다. 안정한 형질전환체의 단리 및 진탕 플라스크 평가를 특허 공개 WO 2005/001036 A2 의 실시예 11 에 열거된 프로토콜을 사용하여 수행하였다.
II. T. 레에세이의 재조합 균주 내 이소프렌의 제조
상기 기재된 이소프렌 합성효소 형질전환체의 1 ml 의 15 및 36 시간 동안의 배양물을 상부공간 바이알로 옮겼다. 바이알을 밀봉하고, 5 시간 동안 30℃ 에서 인큐베이션하였다. 상부공간 기체를 측정하고, 실시예 1 에 기재된 방법에 의해 이소프렌을 확인하였다. 형질전환체 중 2 개가 미량의 이소프렌을 보였다. 이소프렌의 양은 14 시간 인큐베이션에 의해 증가될 수 있었다. 2 개의 양성 샘플은 14 시간 인큐베이션 동안 약 0.5 ㎍/L 의 수준에서 이소프렌을 보였다. 비-형질전환된 대조군은 검출할 수 없는 이소프렌 수준을 보였다. 상기 실험은 외생 이소프렌 합성효소를 보충하였을 때 T. 레에세이가 내생 전구체로부터 이소프렌을 제조할 수 있음을 보인다.
실시예 6: 야로이야 내 이소프렌의 제조
I. 야로이야 리폴라이티카 내 kudzu 이소프렌 합성효소의 발현용 벡터의 구축.
야로이야 리폴라이티카 내 kudzu 이소프렌 합성효소 유전자의 발현용 벡터의 구축을 위한 시작점은 벡터 pSPZl(MAP29Spb) 였다. 상기 벡터 (SEQ ID No: 11) 의 완전한 서열은 도 15 에 제시되어 있다.
하기 분절을 주형으로서 Y. 리폴라이티카 균주 GICC 120285 의 염색체 DNA: URA3 유전자의 프로모터가 없는 형태, 18S 리보솜 RNA 유전자의 분절, Y. 리폴라이티카 XPR2 유전자의 전사 터미네이터 및 XPR2 및 ICL1 유전자의 프로모터를 함유하는 2 개의 DNA 분절을 사용하여 PCR 에 의해 증폭하였다. 하기 PCR 프라이머를 사용하였다
ICL1 3
5 ' - GGTGAATTCAGTCTACTGGGGATTCCCAAATCTATATATACTGCAGGTGAC
(SEQ ID NO:69)
ICL1 5
5'- GCAGGTGGGAAACTATGCACTCC (SEQ ID NO:70)
XPR 3
5'- CCTGAATTCTGTTGGATTGGAGGATTGGATAGTGGG (SEQ ID NO:71)
XPR 5
5'- GGTGTCGACGTACGGTCGAGCTTATTGACC (SEQ ID NO:72)
XPRT3
5'- GGTGGGCCCGCATTTTGCCACCTACAAGCCAG (SEQ ID NO:73)
XPRT 5
5'- GGTGAATTCTAGAGGATCCCAACGCTGTTGCCTACAACGG (SEQ ID NO:74)
Y18S3
5'- GGTGCGGCCGCTGTCTGGACCTGGTGAGTTTCCCCG (SEQ ID NO:75)
Y18S 5
5'- GGTGGGCCCATTAAATCAGTTATCGTTTATTTGATAG (SEQ ID NO:76)
YURA3
5'- GGTGACCAGCAAGTCCATGGGTGGTTTGATCATGG (SEQ ID NO:77)
YURA 50
5'- GGTGCGGCCGCCTTTGGAGTACGACTCCAACTATG (SEQ ID NO:78)
YURA 51
5'- GCGGCCGCAGACTAAATTTATTTCAGTCTCC (SEQ ID NO:79)
PCR 증폭을 위해, PfuUltraII 폴리머라아제 (Stratagene), 공급처에서 제공된 완충액 및 dNTPs, 2.5 μM 프라이머 및 표시된 주형 DNA 를 제조자의 지침대로 사용하였다. 하기 사이클을 사용하여 증폭을 수행하였다: 1 분 동안 95℃; 34× (30 초 동안 95℃; 30 초 동안 55℃; 3 분 동안 72℃) 및 72℃ 에서 10 분 후, 4℃ 인큐베이션.
야로이야 내의 발현을 위해 코돈-최적화된, kudzu 이소프렌 합성효소 유전자를 코딩하는 합성 DNA 분자를 DNA 2.0 로부터 입수하였다 (도 16; SEQ ID NO: 12). 각각 XPR2 및 ICL1 프로모터의 통제하에서 합성 kudzu 이소프렌 합성효소 유전자를 가지고 있는 플라스미드 pYLA(KZ1) 및 pYLI(KZ1) 의 구축물 도식에 대한 상세한 설명을 도 18 에 제시한다. 교배 인자 유전자 (MAP29) 가 이소프렌 합성효소 유전자 대신에 삽입된 대조군 플라스미드를 또한 구축하였다 (도 18E 및 18F).
유사한 클로닝 절차가 poplar (포풀러스 알바 x 포풀러스 트레물라 (Populus alba x Populus tremula)) 이소프렌 합성효소 유전자를 발현하기 위해 사용될 수 있다. poplar 이소프렌의 서열이 문헌 [Miller B. et al. (2001) Planta 213, 483-487] 에 기재되어 있고 도 17 에 제시되어 있다 (SEQ ID NO: 13). 각각 XPR2 및 ICL1 프로모터의 통제하에서 합성 poplar 이소프렌 합성효소 유전자를 가지고 있는 플라스미드 pYLA(POP1) 및 pYLI(POP1) 의 생성을 위한 구축물 도식을 도 18A 및 B 에 제시한다.
II. Y. 리폴라이티카의 재조합 균주에 의한 이소프렌의 제조.
벡터 pYLA(KZ1), pYLI(KZ1), pYLA(MAP29) 및 pYLI(MAP29) 를 SacII 로 소화시키고, 우리딘 영양요구성을 위해 표준 리튬 아세테이트/폴리에틸렌 글리콜 절차에 의해 균주 Y. 리폴라이티카 CLIB 122 를 형질전환시키는데 사용하였다. 간략하게는, 밤새 YEPD (1% 효모 추출물, 2% 펩톤, 2% 글루코오스) 에서 성장된 효모 세포를 원심분리 (4000 rpm, 10 분) 에 의해 수집하고, 멸균수로 1 회 세정하고, 0.1 M 리튬 아세테이트, pH 6.0 에 현탁시켰다. 세포 현탁액의 200 ㎕ 분취액을 선형화된 플라스미드 DNA 용액 (10-20 ㎍) 과 혼합하고, 10 분 동안 실온에서 인큐베이션하고, 샘플 완충액 내 1 ml 의 50% PEG 4000 과 혼합하였다. 현탁액을 1 시간 동안 실온에서 추가로 인큐베이션한 후, 42℃ 에서 2 분 열 쇼크를 주었다. 그 다음 세포를 SC his leu 플레이트 (0.67% 효모 질소 베이스, 2% 글루코오스, 류신 및 히스티딘 각각 100 mg/L) 상에 플레이팅하였다. 형질전환체는 30℃ 에서 3-4 일의 인큐베이션 후 나타났다.
pYLA(KZ1) 형질전환으로부터의 3 개의 단리물, pYLI(KZ1) 형질전환으로부터의 3 개의 단리물, pYLA(MAP29) 형질전환으로부터의 2 개의 단리물 및 pYLI(MAP29) 형질전환으로부터의 2 개의 단리물을 YEP7 배지 (1% 효모 추출물, 2% 펩톤, pH 7.0) 에서, 30℃ 에서 진탕하면서 24 시간 동안 성장시켰다. 10 ml 의 배양액으로부터의 세포를 원심분리에 의해 수집하고, 3 ml 의 신선한 YEP7 에 재현탁시키고, 15 ml 마개 뚜껑 바이알에 넣었다. 바이알을 천천히 (60 rpm) 진탕하면서 실온에서 밤새 인큐베이션시켰다. 상기 바이알의 상부공간 내 이소프렌 함량을 실시예 1 에 기재된 바와 같은 질량-분석 검출기를 사용하여 기체 크로마토그래피에 의해 분석하였다. pYLA(KZ1) 및 pYLI(KZ1) 로 수득된 모든 형질전환체는 쉽게 검출가능한 양의 이소프렌 (0.5 ㎍/L 내지 1 ㎍/L, 도 20) 을 제조하였다. 이소프렌 합성효소 유전자 대신 피타아제 유전자를 가지고 있는 대조군 균주의 상부공간에서는 이소프렌이 검출되지 않았다.
실시예 7: kudzu 이소프렌 합성효소 및 idi , 또는 dxs , 또는 idi dxs 를 발현하는 E. 콜라이 내 이소프렌의 제조
I. E. 콜라이 내 이소프렌의 제조를 위해 kudzu 이소프렌 합성효소 및 idi, 또는 dxs, 또는 idi 및 dxs 를 코딩하는 벡터의 구축
i) pTrcKudzuKan 의 구축
pTrcKudzu 의 bla 유전자 (실시예 1 에 기재됨) 를 카나마이신 내성을 부여하는 유전자로 대체하였다. bla 유전자를 제거하기 위해, pTrcKudzu 를 BspHI 로 소화시키고, Shrimp Alkaline Phosphatase (SAP) 로 처리하고, 65℃ 에서 가열 치사시킨 다음, Klenow 분절 및 dNTP 로 말단을 채웠다. 5 kbp 큰 분절을 아가로오스 젤로부터 정제하고, 프라이머 MCM22 5'- GATCAAGCTTAACCGGAATTGCCAGCTG (SEQ ID NO: 14) 및 MCM23 5'- GATCCGATCGTCAGAAGAACTCGTCAAGAAGGC (SEQ ID NO: 15) 를 사용하여 pCR-Blunt-II-TOPO 로부터 PCR 증폭된 kanr 유전자에 라이게이션시키고, HindIII 및 PvuI 으로 소화시키고, 말단을 채웠다. 카나마이신 내성을 부여하는 플라스미드 (pTrcKudzuKan) 를 가지고 있는 형질전환체를 카나마이신 50 ㎍/ml 을 함유하는 LA 상에서 선별하였다.
ii) pTrcKudzu yIDI Kan 의 구축
pTrcKudzuKan 을 PstI 으로 소화시키고, SAP 로 처리하고, 가열 치사시키고, 젤 정제하였다. 이것을 합성 RBS 를 가진 S. 세레비지아에로부터 idi 를 코딩하는 PCR 생성물에 라이게이션하였다. PCR 에 대한 프라이머는 NsiI-YIDI 1 F 5'- CATCAATGCATCGCCCTTAGGAGGTAAAAAAAAATGAC (SEQ ID NO: 16) 및 PstI-YIDI 1 R 5'- CCTTCTGCAGGACGCGTTGTTATAGC (SEQ ID NO: 17) 이었고; 주형은 S. 세레비지아에 게놈 DNA 였다. PCR 생성물을 NsiI 및 PstI 로 소화시키고, 라이게이션 전에 젤 정제하였다. 라이게이션 혼합물을 화학적으로 수용능이 된 TOP10 세포 내로 형질전환시키고, 50 ㎍/ml 카나마이신을 함유하는 LA 상에서 선별하였다. 여러 개의 형질전환체를 단리하고, 서열분석하고, 수득된 플라스미드를 pTrcKudzu-yΙDI(kan) 으로 불렀다 (도 34 및 35).
iii) pTrcKudzu DXS Kan 의 구축
플라스미드 pTrcKudzuKan 을 PstI 으로 소화시키고, SAP 로 처리하고, 가열 치사시키고, 젤 정제하였다. 이것을 합성 RBS 를 가진 E. 콜라이로부터 dxs 를 코딩하는 PCR 생성물에 라이게이션하였다. PCR 에 대한 프라이머는 MCM 13 5'- GATCATGCATTCGCCCTTAGGAGGTAAAAAAACATGAGTTTTGATATTGCCAAAT ACCCG (SEQ ID NO: 18) 및 MCM14 5'- CATGCTGCAGTTATGCCAGCCAGGCCTTGAT (SEQ ID NO: 19) 이었고; 주형은 E. 콜라이 게놈 DNA 였다. PCR 생성물을 NsiI 및 PstI 로 소화시키고, 라이게이션 전에 젤 정제하였다. 수득된 형질전환 반응물을 TOP10 세포 내로 형질전환시키고, 카나마이신 50 ㎍/ml 을 함유하는 LA 상에서 선별하였다. 여러 개의 형질전환체를 단리하고, 서열분석하고, 수득된 플라스미드를 pTrcKudzu-DXS(kan) 으로 불렀다 (도 36 및 37).
iv) pTrcKudzu-yIDI-dxs (kan) 의 구축
pTrcKudzu-yIDI(kan) 을 PstI 으로 소화시키고, SAP 로 처리하고, 가열 치사시키고, 젤 정제하였다. 이것을 NsiI 및 PstI 로 소화시킨 합성 RBS (프라이머 MCM13 5'-GATCATGCATTCGCCCTTAGGAGGTAAAAAAACATGAGTTTTGATATTGCCAAAT ACCCG (SEQ ID NO: 18) 및 MCM14 5'-CATGCTGCAGTTATGCCAGCCAGGCCTTGAT (SEQ ID NO: 19); 주형 TOP10 세포) 를 가진 E. 콜라이 dxs 를 코딩하는 PCR 생성물에 라이게이션하고, 젤 정제하였다. 최종 플라스미드를 pTrcKudzu-yIDI-dxs (kan) 으로 불렀다 (도 21 및 22).
v) pCL PtrcKudzu 의 구축
상기 실시예 1 로부터의 프로모터, 구조적 유전자 및 터미네이터를 함유하는 DNA 의 분절을 SspI 를 사용하여 pTrcKudzu 로부터 소화시키고, 젤 정제하였다. 이것을 PvuII 로 소화시킨 pCL1920 에 라이게이션하고, SAP 로 처리하고, 가열 치사시켰다. 수득되는 라이게이션 혼합물을 TOP10 세포 내로 형질전환시키고, 스펙티노마이신 50 ㎍/ml 을 함유하는 LA 에서 선별하였다. 여러 개의 클론을 단리하고, 서열분석하고, 2 개를 선별하였다. pCL PtrcKudzu 및 pCL PtrcKudzu (A3) 은 반대 방향의 삽입물을 갖는다 (도 38-41).
vi) pCL PtrcKudzu yIDI 의 구축
NsiI-PstI 소화되고, 젤 정제된, 상기 IDI PCR 엠플리콘 형태 (ii) 를 PstI 로 소화된 pCL PtrcKudzu 내로 라이게이션하고, SAP 로 처리하고, 가열 치사시켰다. 라이게이션 혼합물을 TOP10 세포 내로 형질전환시키고, 스펙티노마이신 50 ㎍/ml 을 함유하는 LA 에서 선별하였다. 여러 개의 클론을 단리하고, 서열분석하고, 수득된 플라스미드를 pCL PtrcKudzu yIDI 로 불렀다 (도 42 및 43).
vii) pCL PtrcKudzu DXS 의 구축
NsiI-PstI 소화되고, 젤 정제된, 상기 DXS PCR 엠플리콘 형태 (iii) 를 PstI 로 소화된 pCL PtrcKudzu (A3) 내로 라이게이션하고, SAP 로 처리하고, 가열 치사시켰다. 라이게이션 혼합물을 TOP10 세포 내로 형질전환시키고, 스펙티노마이신 50 ㎍/ml 을 함유하는 LA 에서 선별하였다. 여러 개의 클론을 단리하고, 서열분석하고, 수득된 플라스미드를 pCL PtrcKudzu DXS 로 불렀다 (도 44 및 45).
II. 상이한 카피 수의 kudzu 이소프렌 합성효소, idi, 및/또는 dxs 를 발현하는 배양물로부터의 상부공간 내 이소프렌의 측정
플라스미드 pTrcKudzu(kan) (A), pTrcKudzu-yIDI kan (B), pTrcKudzu-DXS kan (C), pTrcKudzu-ylDI-DXS kan (D) 로 이전에 형질전환된 E. 콜라이 BL21(λDE3) 의 배양물을 LB 카나마이신 50 ㎍/mL 에서 성장시켰다. pCL PtrcKudzu (E), pCL PtrcKudzu, pCL PtrcKudzu-yIDI (F) 및 pCL PtrcKudzu-DXS (G) 의 배양물을 LB 스펙티노마이신 50 ㎍/mL 에서 성장시켰다. 배양물을 시간 0 (OD600 대략 0.5) 에서 400 μM IPTG 로 유도하고, 이소프렌 상부공간 측정을 위해 샘플을 채취하였다 (실시예 1 참조). 결과를 도 23A-23G 에 제시한다.
플라스미드 pTrcKudzu-yIDI-dxs (kan) 를 형질전환에 의해 E. 콜라이 균주 BL21 내로 도입하였다. 수득된 균주 BL21/pTrc Kudzu IDI DXS 를 20℃ 에서 카나마이신 (50 ㎍/ml) 을 함유하는 LB 에서 밤새 성장시키고, 1% 글루코오스를 함유하는 TM3 (13.6 g K2PO4, 13.6 g KH2PO4, 2.0 g MgSO4*7H2O), 2.0 g 구연산 1 수화물, 0.3 g 철 암모늄 시트레이트, 3.2 g (NH4)2SO4, 0.2 g 효모 추출물, 1.0 ml 100O× Modified Trace Metal Solution, pH 6.8 로 조정됨 및 H2O 충분량, 및 필터 살균됨) 의 진탕 플라스크에 접종하는데 사용하였다. OD600 이 0.8 에 도달할 때까지, 플라스크를 30℃ 에서 인큐베이션시킨 다음, 400 μM IPTG 로 유도하였다. 유도 후 다양한 시간에 샘플을 채취하고, 상부공간 내 이소프렌의 양을 실시예 1 에 기재된 바와 같이 측정하였다. 결과를 도 23H 에 제시한다.
III. E. 콜라이/pTrcKudzu yIDI DXS 내 바이오매스로부터의 이소프렌의 제조
균주 BL21 pTrcKudzuIDIDXS 를 대조군으로서 글루코오스와 3 가지 유형의 바이오매스; 버개스, 옥수수 대 및 침엽수 펄프로부터 이소프렌을 생성하는 능력에 대해 시험하였다. 바이오매스의 가수분해산물을 효소적 가수분해에 의해 제조하고 (Brown, L and Torget, R., 1996, NREL 표준 어세이 방법 Lap-009 "Enzymatic Saccharification of Lignocellulosic Biomass"), 글루코오스 등가물에 대해 희석물로서 사용하였다. 상기 예에서, 글루코오스 등가물은 1% 글루코오스와 동일하였다. BL21 (DE3) pTrcKudzu yIDI DXS (kan) 의 새롭게 형질전환된 세포 플레이트로부터의 단일 콜로니를 5 ml 의 LB + 카나마이신 (50 ㎍/ml) 접종에 사용하였다. 배양물을 25℃ 에서 밤새 진탕하면서 인큐베이션하였다. 다음날, 밤샘 배양물을 25 ml 의 TM3 + 0.2% YE + 1% 공급원료에 OD600 이 0.05 가 되도록 희석하였다. 공급원료는 옥수수 대, 버개스, 또는 침엽수 펄프였다. 글루코오스를 양성 대조군으로서 사용하였고, 음성 대조군으로서 글루코오스가 사용되지 않았다. 배양물을 180 rpm 으로 진탕하면서 30℃ 에서 인큐베이션하였다. OD600 가 ~0.8 에 도달할 때까지 배양물을 OD600 에 대해 모니터링하고, 배양물을 실시예 1 에 기재된 바와 같이 이소프렌 제조에 대해 1 및 3 시간에 분석하였다. 배양물을 유도하지 않았다. 첨가된 공급원료를 함유하는 모든 배양물은 글루코오스 양성 대조군과 동등한 이소프렌을 제조한다. 실험을 2 중으로 수행하였고, 도 46 에 제시한다.
IV. E. 콜라이/pTrcKudzuIDIDXS 내 전화당으로부터의 이소프렌의 제조
BL21 (λDE3)/pTrcKudzu yIDI DXS (kan) 의 새롭게 형질전환된 세포 플레이트로부터의 단일 콜로니를 5 mL 의 LB + 카나마이신 (50 ㎍/ml) 접종에 사용하였다. 배양물을 25℃ 에서 밤새 진탕하면서 인큐베이션하였다. 다음날, 밤샘 배양물을 25 ml 의 TM3 + 0.2% YE + 1% 공급원료에 OD600 이 0.05 가 되도록 희석하였다. 공급원료는 글루코오스, 전환 글루코오스 또는 옥수수 대였다. 전화당 공급원료 (Danisco Invert Sugar) 를 효소적으로 처리한 수크로오스 시럽에 의해 제조하였다. AFEX 옥수수 대를 하기 기재된 바와 같이 제조하였다 (파트 V). 세포를 30℃ 에서 성장시키고, 첫번째 샘플을 배양물의 OD600 가 ~0.8-1.0 에 도달할 때 측정하였다 (0 시간). 배양물을 0, 1 및 3 시간에 실시예 1 과 같이 이소프렌 제조에 대해, OD600 에 의해 측정된 바와 같은 성장에 대해 분석하였다. 결과를 도 47 에 제시한다.
V. AFEX 전처리된 옥수수 대로부터의 가수분해물의 제조
AFEX 전처리된 옥수수 대를 Michigan Biotechnology Institute 로부터 입수하였다. 전처리 조건은 60% 습도, 1:1 암모니아 적재, 및 90℃ 에서 30 분 동안이었고, 그 다음 공기 건조시켰다. AFEX 전처리된 옥수수 대 내의 습도 함량은 21.27% 였다. AFEX 전처리된 옥수수 대 내 글루칸 및 자일란의 함량은 각각 31.7% 및 19.1% (건조 기준) 였다. 당화 과정은 다음과 같았다; 20 g 의 AFEX 전처리된 옥수수 대를 5 ml 의 1 M 나트륨 시트레이트 완충액 pH 4.8, 2.25 ml 의 Accellerase 1000, 0.1 ml 의 Grindamyl H121 (제빵 산업에 대한 아스페르길루스 니게르 (Aspergillus niger) 로부터의 Danisco 자일라나아제 제품), 및 72.65 ml 의 DI 물이 있는 500 ml 플라스크에 첨가하였다. 플라스크를 오비탈 쉐이커에 넣고, 50℃ 에서 96 시간 동안 인큐베이션하였다. 쉐이커로부터 1 개의 샘플을 취하고, HPLC 를 사용하여 분석하였다. 가수분해물에는 38.5 g/l 의 글루코오스, 21.8 g/l 의 자일로오스, 및 10.3 g/l 의 글루코오스 및/또는 자일로오스의 올리고머가 함유되어 있다.
VI. 공급-배치식 배양물에서 성장한 E. 콜라이 내 이소프렌 제조에 대한 효모 추출물의 효과
발효를, 상기 기재된 pTrcKudzu yIDI DXS 플라스미드를 함유하는 E. 콜라이 세포로 이전에 기재된 바와 같이 14 L 규모로 수행하였다. 효모 추출물 (Bio Springer, Montreal, Quebec, Canada) 을 기하급수적 속도로 공급하였다. 발효기에 전달된 효모 추출물의 총 양은 40 시간 발효 동안 70 내지 830 g 이었다. 발효 브로쓰의 광학 밀도를 550 nm 의 파장에서 측정하였다. 발효기 내의 최종 광학 밀도는 첨가된 효모 추출물의 양에 비례하였다 (도 48A). 발효기로부터의 방출-기체 내 이소프렌 수준을 이전에 기재된 바와 같이 측정하였다. 이소프렌 적정농도는 발효 과정에 걸쳐 증가하였다 (도 48B). 제조되는 이소프렌의 양은 공급된 효모 추출물의 양에 선형으로 비례하였다 (도 48C).
VII. pTrcKudzu DXS yIDI 의 500 L 발효 내 이소프렌의 제조
kudzu 이소프렌 합성효소, S. 세레비지아에 IDI, 및 E. 콜라이 DXS 핵산 (E. 콜라이 BL21 (λDE3) pTrc Kudzu dxs yidi) 을 갖는 E. 콜라이 세포의 500 리터 발효를 이소프렌을 제조하기 위해 사용하였다. 이소프렌의 수준은 15 시간의 기간에 걸쳐 50 내지 300 ㎍/L 였다. 평균 이소프렌 농도, 장치를 통한 평균 흐름 및 이소프렌 초기흡착포화선 (breakthrough) 의 범위를 기반으로 하여, 수집된 이소프렌의 양은 대략 17 g 인 것으로 계산되었다.
VIII. 공급-배치식 배양물에서 성장한 E. 콜라이의 500 L 발효 내 이소프렌의 제조
배지 구성 (발효 배지 1 리터 당):
K2HPO4 7.5 g, MgSO4 * 7H2O 2 g, 구연산 1 수화물 2 g, 철 암모늄 시트레이트 0.3 g, 효모 추출물 0.5 g, 1000× 개질 미량 금속 용액 (Modified Trace Metal Solution) 1 ml. 모든 성분을 함께 첨가하고, diH2O 에 용해하였다. 상기 용액을 오토클레이브하였다. 암모니아 기체 (NH3) 로 pH 를 7.0 로 조정하고, 부피를 충분량으로 하였다. 멸균 및 pH 조정 후에 글루코오스 10 g, 티아민 * HCl 0.1 g, 및 항생제를 첨가하였다.
1000× 개질 미량 금속 용액 (Modified Trace Metal Solution):
구연산 * H2O 40 g, MnSO4 * H2O 30 g, NaCl 10 g, FeSO4 * 7H2O 1 g, CoCl2 * 6H2O 1 g, ZnSO * 7H2O 1 g, CuSO4 * 5H2O 100 mg, H3BO3 100 mg, NaMoO4 * 2H2O 100 mg. 각 성분을 diH2O 에 한번에 용해하고, HCl/NaOH 로 pH 를 3.0 으로 조정한 다음, 부피를 충분히 하고, 0.22 μ 필터로 필터 멸균하였다.
발효를, pTrcKudzu yIDI DXS 플라스미드를 함유하는 E. 콜라이 세포로 500 L 생물반응기에서 수행하였다. 상기 실험을 바람직한 발효 pH 7.0 및 온도 30℃ 에서 글루코오스 및 효모 추출물로부터 이소프렌 형성을 모니터링하기 위해 수행하였다. 동결 바이알로부터 채취한 E. 콜라이 균주 접종물을 소이톤-효모 추출물-글루코오스 배지에 조제하였다. 접종물을 550 nm 에서 측정된 OD 0.15 까지 성장시킨 후, 20 ml 을 2.5 L 소이톤-효모 추출물-글루코오스 배지를 함유하는 생물반응기 접종에 사용하였다. 2.5 L 생물반응기를 30℃ 에서 OD 1.0 까지 성장시키고, 2.0 L 를 500 L 생물반응기로 옮겼다.
효모 추출물 (Bio Springer, Montreal, Quebec, Canada) 및 글루코오스를 기하급수적 속도로 공급하였다. 50 시간 발효 동안 생물반응기에 전달된 글루코오스 및 효모 추출물의 총 양은 각각 181.2 kg 및 17.6 kg 이었다. 시간에 걸친 생물반응기 내의 광학 밀도를 도 49A 에 제시한다. 생물반응기로부터의 방출-기체 내 이소프렌 수준을 이전에 기재된 바와 같이 측정하였다. 이소프렌 적정농도는 발효 과정에 걸쳐 증가하였다 (도 49B). 50 시간 발효 동안 제조되는 이소프렌의 총 양은 55.1 g 이었고, 제조 시간 과정은 도 49C 에 제시된다.
실시예 8: kudzu 이소프렌 합성효소 및 재조합 메발론산 경로 유전자를 발현하는 E. 콜라이 내 이소프렌의 제조
I. 하위 MVA 경로 클로닝
하위 메발론산 경로를 클로닝하기 위한 전략은 다음과 같았다. 메발론산 생합성 경로 중 4 개의 유전자; 메발로네이트 키나아제 (MVK), 포스포메발로네이트 키나아제 (PMK), 디포스포메발로네이트 데카르복실라아제 (MVD) 및 이소펜테닐 디포스페이트 이소머라아제 유전자를 S. 세레비지아에 염색체 DNA 로부터 PCR 에 의해 증폭시키고, pCR BluntII TOPO 플라스미드 (Invitrogen) 내에 개별적으로 클로닝하였다. 일부 경우에서, idi 유전자를 E. 콜라이 염색체 DNA 로부터 증폭시켰다. E. 콜라이 일치 RBS (AGGAGGT (SEQ ID NO:80) 또는 AAGGAGG (SEQ ID NO:81)) 를 5' 말단에 삽입하고, 출발 코돈 및 PstI 부위의 8 bp 상류방향을 3' 말단에 첨가하는 식으로 프라이머를 디자인하였다. 그 다음 유전자를 전체 경로가 조립될 때까지 pTrcHis2B 벡터 내로 하나씩 클로닝하였다.
S. 세레비지아에 S288C 로부터의 염색체 DNA 를 ATCC (ATCC 204508D) 로부터 입수하였다. 제조자의 지침대로 PfuTurbo 를 사용하고 프라이머 MVKF (5'-AGGAGGTAAAAAAACATGTCATTACCGTTCTTAACTTCTGC, SEQ ID NO:21) 및 MVK-Pst1-R (5'- ATGGCTGCAGGCCTATCGCAAATTAGCTTATGAAGTCCATGGTAAATTCGTG, SEQ ID NO:22) 을 사용하여 S. 세레비지아에의 염색체로부터 MVK 유전자를 증폭시켰다. 올바른 크기의 PCR 생성물 (1370 bp) 을 1.2% E-젤 (Invitrogen) 을 통해 전기영동에 의해 확인하고, pZeroBLUNT TOPO 내로 클로닝하였다. 수득된 플라스미드를 pMVK1 로 지정하였다. 플라스미드 pMVK1 을 SacI 및 Taq 1 제한 엔도뉴클라아제로 소화시키고, 분절을 젤 정제하고, SacI 및 BstBI 로 소화된 pTrcHis2B 내로 라이게이션하였다. 수득된 플라스미드를 pTrcMVK1 이라고 불렀다.
메발론산 생합성 경로 내의 제 2 유전자 PMK 를 프라이머: PstI-PMK1 R (5'-GAATTCGCCCTTCTGCAGCTACC, SEQ ID NO:23) 및 BsiHKA I-PMK1 F (5'-CGACTGGTGCACCCTTAAGGAGGAAAAAAACATGTCAG, SEQ ID NO:24) 를 사용하는 PCR 에 의해 증폭시켰다. PCR 반응을 제조자의 지침대로 Pfu Turbo 폴리머라아제 (Stratagene) 를 사용하여 수행하였다. 올바른 크기의 생성물 (1387 bp) 을 PstI 및 BsiHKI 로 소화시키고, PstI 로 소화된 pTrcMVK1 내로 라이게이션시켰다. 수득된 플라스미드를 pTrcKK 라고 불렀다. MVD 및 idi 유전자를 동일한 방식으로 클로닝하였다. 프라이머 쌍 PstI-MVD 1 R (5'-GTGCTGGAATTCGCCCTTCTGCAGC, SEQ ID NO:25) 및 NsiI-MVD 1 F (5'-GTAGATGCATGCAGAATTCGCCCTTAAGGAGG, SEQ ID NO:26) 을 사용하여 PCR 을 수행하여 MVD 유전자를 증폭시키고, PstI-YIDI 1 R (5'-CCTTCTGCAGGACGCGTTGTTATAGC, SEQ ID NO:27) 및 NsiI-YIDI 1 F (5'- CATCAATGCATCGCCCTTAGGAGGTAAAAAAAAATGAC, SEQ ID NO:28) 로 yIDI 유전자를 증폭시켰다. 일부 경우에서, E. 콜라이로부터의 IPP 이소머라아제 유전자, idi 를 사용하였다. E. 콜라이 염색체 DNA 로부터 idi 를 증폭시키기 위해, 하기 프라이머 세트를 사용하였다: PstI-CIDI 1 R (5'- GTGTGATGGATATCTGCAGAATTCG, SEQ ID NO:29) 및 NsiI-CIDI 1 F (5'- CATCAATGCATCGCCCTTAGGAGGTAAAAAAACATG, SEQ ID NO:30). 주형 DNA 는 E. 콜라이 FM5 로부터 표준 방법에 의해 단리된 염색체 DNA 였다 (특히, 핵산의 단리에 관해, 본원에 각각 전체가 참조로서 인용된 WO 96/35796 및 WO 2004/033646). 최종 플라스미드를, 효모 idi 유전자를 코딩하는 구축물에 대해 pKKDIy 로 또는 E. 콜라이 idi 유전자를 코딩하는 구축물에 대해 pKKDIc 라고 불렀다. 플라스미드를 후속 분석을 위해 E. 콜라이 숙주 BL21 내로 형질전환하였다. 일부 경우에서 kudzu 로부터의 이소프렌 합성효소를 pKKDIy 내로 클로닝하여, 플라스미드 pKKDIyIS 를 산출하였다.
하위 MVA 경로를 또한 카나마이신 항생제 내성 마커를 함유하는 pTrc 내로 클로닝하였다. 플라스미드 pTrcKKDIy 를 제한 엔도뉴클레아제 ApaI 및 PstI 로 소화시키고, 5930 bp 분절을 1.2% 아가로오스 E-젤 상에서 분리하고, 제조자의 지침에 따라 Qiagen Gel Purification 키트를 사용하여 정제하였다. 실시예 7 에 기재된 플라스미드 pTrcKudzuKan 을 제한 엔도뉴클레아제 ApaI 및 PstI 로 소화시키고, Qiagen Gel Purification 키트를 사용하여 1.2% E-젤로부터 벡터를 함유하는 3338 bp 분절을 정제하였다. 3338 bp 벡터 분절 및 5930 bp 하위 MVA 경로 분절을 Roche Quick Ligation 키트를 사용하여 라이게이션하였다. 라이게이션 믹스를 E. 콜라이 TOP10 세포 내로 형질전환시키고, 형질전환체를 카나마이신 (50 ㎍/ml) 을 함유하는 LA 상에서 선별하여 밤새 37℃ 에서 성장시켰다. 형질전환체를 제한 효소 소화에 의해 입증하고, 하나를 저장물로서 동결시켰다. 플라스미드를 pTrcKanKKDIy 로 지정하였다.
II. pTrcKanKKDIy 내로의 kudzu 이소프렌 합성효소 유전자의 클로닝
kudzu 이소프렌 합성효소 유전자를, 프라이머 MCM50 5'-GATCATGCATTCGCCCTTAGGAGGTAAAAAAACATGTGTGCGACCTCTTCTCAATTTACT (SEQ ID NO:31) 및 MCM53 5'-CGGTCGACGGATCCCTGCAGTTAGACATACATCAGCTG (SEQ ID NO:32) 를 사용하여 실시예 1 에 기재된 pTrcKudzu 로부터 PCR 에 의해 증폭시켰다. 수득된 PCR 분절을 pCR2.1 내에 클로닝하고, E. 콜라이 TOP10 내로 형질전환시켰다. 상기 분절은 kudzu 이소프렌 합성효소에 대한 코딩 서열 및 E. 콜라이로부터의 RBS 을 함유하는 상류방향 영역을 함유한다. 형질전환체를 카르베니실린 (50 ㎍/ml) 을 함유하는 LA 상에서 선별하여 밤새 37℃ 에서 인큐베이션하였다. 분절의 올바른 삽입을 서열분석에 의해 입증하였고, 상기 균주를 MCM93 으로 지정하였다.
균주 MCM93 으로부터의 플라스미드를 제한 엔도뉴클레아제 NsiI 및 PstI 로 소화시켜, RBS 및 kudzu 이소프렌 합성효소를 함유하는 1724 bp 삽입체를 방출시켰다. 1724 bp 분절을 1.2% 아가로오스 E-젤 상에서 분리하고, 제조자의 지침에 따라 Qiagen Gel Purification 키트를 사용하여 정제하였다. 플라스미드 pTrcKanKKDIy 를 제한 엔도뉴클레아제 PstI 로 소화시키고, SAP 로 30 분 동안 37℃ 에서 처리하고, Qiagen PCR 클린업 (cleanup) 키트를 사용하여 정제하였다. DNA 분절을 코딩하는 플라스미드 및 kudzu 이소프렌 합성효소를 Roche Quick Ligation 키트를 사용하여 라이게이션하였다. 라이게이션 믹스를 E. 콜라이 TOP10 세포 내로 형질전환시키고, 형질전환체를 50 ㎍/ml 으로 카나마이신을 함유하는 LA 상에서 선별하여 37℃ 에서 밤새 성장시켰다. 올바른 형질전환체를 제한 소화에 의해 입증하고, 플라스미드를 pTrcKKDyIkISKan 이라고 지정하였다 (도 24 및 25). 상기 플라스미드를 BL21(λDE3) 세포 (Invitrogen) 내로 형질전환시켰다.
III. kudzu 로부터 재조합 하위 메발로네이트 경로 및 이소프렌 합성효소를 발현하는 E. 콜라이 내 메발로네이트로부터의 이소프렌 제조.
균주 BL21/pTrcKKDyIkISKan 을 pH 7.1 로 조정하고 0.5% 글루코오스 및 0.5% 메발론산을 보충한 MOPS 배지 (Neidhardt et al., (1974) J. Bacteriology 119:736-747) 내에서 배양하였다. 또한, 동일한 조건을 사용하나, 0.5% 메발론산을 첨가하지 않은 대조군 배양물을 설정하였다. 1% 접종물이 있는 밤샘 종자 배양물로부터 배양을 시작하고, 배양물의 OD600 이 0.3 내지 0.5 에 도달할 때 500 μM IPTG 로 유도하였다. 배양물을 250 rpm 으로 진탕하면서 30℃ 에서 성장시켰다. 이소프렌 제조를 실시예 1 에 기재된 상부공간 어세이를 사용함으로써 유도 3 시간 후에 분석하였다. 이소프렌의 최대 제조는 6.67 × 10-4 mol/L브로쓰/OD600/hr (식 중, L브로쓰 는 브로쓰의 부피이고, 여기에는 세포의 부피 및 세포 배지의 부피가 모두 포함된다) 였다. 메발론산을 보충하지 않은 대조군 배양물은 측정가능한 이소프렌을 제조하지 않았다.
IV. 상위 MVA 경로 클로닝
3 개의 효소 활성을 코딩하는 2 개의 유전자를 포함하는 상위 메발로네이트 생합성 경로를 엔테로코쿠스 파에칼리스 (Enterococcus faecalis) 로부터 클로닝하였다. mvaE 유전자는 경로 내의 첫번째 및 세번째 단백질인 아세틸-CoA 아세틸트랜스페라아제 및 3-히드록시-3-메틸글루타릴-CoA (HMG-CoA) 리덕타아제 모두의 효소 활성을 갖는 단백질을 코딩하고, mvaS 유전자는 경로 내 제 2 효소인 HMG-CoA 합성효소를 코딩한다. mvaE 유전자를 하기 프라이머를 사용하여 앞쪽에 스페이서 및 E. 콜라이 리보솜 결합 부위를 갖는 E. 파에칼리스 게놈 DNA (ATCC 700802D-5) 로부터 증폭시켰다:
CF 07-60 (+) mvaE w/RBS + ATG 출발 코돈 SacI 의 출발
5' -GAGACATGAGCTCAGGAGGTAAAAAAACATGAAAACAGTAGTTATTATTG (SEQ ID NO:34)
CF 07-62 (-) 사이에 RBS 를 갖는 mvaS 에 대해 mvaE 를 융합함
5' -TTTATCAATCCCAATTGTCATGTTTTTTTACCTCCTTTATTGTTTTCTTAAATC (SEQ ID NO:35)
mvaS 유전자를 하기 프라이머를 사용하여 앞쪽에 E. 콜라이로부터 스페이서 및 RBS 를 갖는 E. 파에칼리스 게놈 DNA (ATCC 700802D-5) 로부터 증폭시켰다:
CF 07-61 (+) 사이에 RBS 를 갖는 mvaS 에 대해 mvaE 를 융합함
5' -GATTTAAGAAAACAATAAAGGAGGTAAAAAAACATGACAATTGGGATTGATAAA (SEQ ID NO:36)
CF 07-102 (-) mvaS 유전자 BglII 의 말단
5' -GACATGACATAGATCTTTAGTTTCGATAAGAACGAACGGT (SEQ ID NO:37)
PCR 분절을 하기 프라이머를 사용하는 PCR 로 함께 융합하였다:
CF 07-60 (+) mvaE w/RBS + ATG 출발 코돈 SacI 의 출발
5 ' -GAGACATGAGCTCAGGAGGTAAAAAAACATGAAAACAGTAGTTATTATTG (SEQ ID NO:34)
CF 07-102 (-) mvaS 유전자 BglII 의 말단
5'-GACATGACATAGATCTTTAGTTTCGATAAGAACGAACGGT (SEQ ID NO:37)
융합 PCR 분절을 Qiagen 키트를 사용하여 정제하고, 제한 효소 SacI 및 BglII 로 소화시켰다. 상기 소화된 DNA 분절을 Qiagen 키트를 사용하여 젤 정제하고, SacI 및 BglII 로 소화된 시판 벡터 pTrcHis2A 내로 라이게이션하고, 젤 정제하였다.
라이게이션 믹스를 E. 콜라이 Top 10 세포 내에 형질전환하고, 콜로니를 LA+50 ㎍/ml 카르베니실린 플레이트 상에서 선별하였다. 총 6 개의 콜로니를 선택하고, LB+50 ㎍/ml 카르베니실린에서 밤새 성장시키고, Qiagen 키트를 사용하여 플라스미드를 단리하였다. 플라스미드를 SacI 및 BglII 로 소화시켜 삽입물을 확인하고, 하나의 올바른 플라스미드를 하기 프라이머로 서열분석하였다:
CF 07-58 (+) mvaE 유전자의 출발
5' - ATGAAAACAGTAGTTATTATTGATGC (SEQ ID NO:38)
CF 07-59 (-) mvaE 유전자의 말단
5' - ATGTTATTGTTTTCTTAAATCATTTAAAATAGC (SEQ ID NO:39)
CF 07-82 (+) mvaS 유전자의 출발
5' - ATGACAATTGGGATTGATAAAATTAG (SEQ ID NO:40)
CF 07-83 (-) mvaS 유전자의 말단
5' - TTAGTTTCGATAAGAACGAACGGT (SEQ ID NO:41)
CF 07-86 (+) mvaE 내 서열
5' - GAAATAGCCCCATTAGAAGTATC (SEQ ID NO:42)
CF 07-87 (+) mvaE 내 서열
5' - TTGCCAATCATATGATTGAAAATC (SEQ ID NO:43)
CF 07-88 (+) mvaE 내 서열
5' - GCTATGCTTCATTAGATCCTTATCG (SEQ ID NO:44)
CF 07-89 (+) 서열 mvaS
5' - GAAACCTACATCCAATCTTTTGCCC (SEQ ID NO:45)
pTrcHis2AUpperPathway#1 이라고 불리는 플라스미드를 서열분석에 의해 정정하고, 시판 E. 콜라이 균주 BL21 내로 형질전환시켰다. LA+ 50 ㎍/ml 카르베니실린 상에서 선별하였다. 2 개의 형질전환체를 선택하고, 이들의 OD600 이 1.5 에 도달할 때까지 LB+ 50 ㎍/ml 카르베니실린에서 성장시켰다. 글리세롤의 존재하에 -80℃ 의 바이알에서 모든 균주를 동결시켰다. 균주를 BL21 내 pTrcHis2AUpperPathway#1 에 대해서는 CF 449, 단리물 #1 및 BL21 내 pTrcHis2AUpperPathway#1 에 대해서는 CF 450, 단리물 #2 로 지정하였다. 분석 시 모든 클론은 동일하게 행동하는 것으로 발견되었다.
V. pCL1920 내로의 UpperMVA Pathway 의 클로닝
플라스미드 pTrcHis2AUpperPathway 를 제한 엔도뉴클레아제 SspI 으로 소화시켜, pTrc-mvaE-mvaS-(His 태그)-터미네이터를 함유하는 분절을 방출시켰다. 상기 분절에서, his-태그는 번역되지 않았다. 상기 뭉툭한 말단 4.5 kbp 분절을 Qiagen Gel Purification 키트를 사용하여 1.2% E-젤로부터 정제하였다. pCL1920 으로부터의 탈인산화된, 뭉툭한 말단 4.2 kbp 분절을, 벡터를 제한 엔도뉴클레아제 PvuII 로 소화시키고, SAP 로 처리하고, Qiagen Gel Purification 키트를 사용하여 1.2% E-젤로부터 젤 정제함으로써 제조하였다. Roche Quick Ligation Kit 를 사용하여 2 개의 분절을 라이게이션하고, TOP10 화학적으로 수용능이 된 세포 내에 형질전환시켰다. 형질전환체를 스펙티노마이신 (50 ㎍/ml) 을 함유하는 LA 상에서 선별하였다. PCR 에 의한 삽입물의 존재에 대해 스크리닝함으로써 올바른 콜로니를 확인하였다. 플라스미드를 pCL PtrcUpperPathway (도 26 및 27A-27D) 로 지정하였다.
VI. 조합된 상위 및 하위 메발론산 경로를 발현하는 균주
완전한 메발론산 경로와 kudzu 이소프렌 합성효소를 갖는 균주를 수득하기 위해, 플라스미드 pTrcKKDyIkISkan 및 pCLpTrcUpperPathway 를 모두 BL21(λDE3) 수용능 세포 (Invitrogen) 내에 형질전환시키고, 형질전환체를 카나마이신 (50 ㎍/ml) 및 스펙티노마이신 (50 ㎍/ml) 을 함유하는 LA 상에서 선별하였다. 모든 플라스미드가 숙주 내에 유지되었는지를 확인하기 위해 형질전환체를 플라스미드 프렙에 의해 체크하였다. 균주를 MCM 127 로 지정하였다.
VII. E. 콜라이/pUpperpathway 내 글루코오스로부터 메발론산의 제조
BL21/pTrcHis2A-mvaE/mvaS 또는 FM5/p pTrcHis2A-mvaE/mvaS 의 단일 콜로니를 LB + 카르베니실린 (100 ㎍/ml) 내에 접종하고, 200 rpm 으로 진탕하면서 37℃ 에서 밤새 성장시켰다. 상기 배양물을 250 ml 배플 플라스크 내의 50 ml 배지 내에 OD600 이 0.1 이 되도록 희석하였다. 배지는 TM3 + 1 또는 2% 글루코오스 + 카르베니실린 (100 ug/ml) 또는 TM3 + 1% 글루코오스 + 가수분해된 대두 오일 + 카르베니실린 (100 ug/ml) 또는 TM3 + 바이오매스 (조제된 버개스, 옥수수 대 또는 지팽이풀) 이었다. 배양물을 OD600 0.4 에 도달할 때까지 대략 2-3 시간 동안 200 rpm 으로 진탕하면서 30℃ 에서 성장시켰다. 이 시점에, mvaE mvaS 구축물로부터의 발현을 IPTG (400 μM) 의 첨가에 의해 유도하였다. 2 시간 간격에서 유도 후 6 시간 (그 다음 필요하면 24, 36 및 48 시간) 에 채취된 샘플로 추가 20 또는 40 시간 동안 배양물을 인큐베이션하였다. 1 ml 의 배양물을 제거하고, OD600 을 측정하고, 마이크로퓨즈 내 세포를 펠렛화하고, 상청액을 제거하고, 이것을 메발론산에 대해 분석함으로써 샘플링을 수행하였다.
엔테로코쿠스 파에칼리스 AA-CoA 티올라아제, HMG-CoA 합성효소, 및 HMG-CoA 리덕타아제 폴리펩티드를 코딩하는 핵산을 갖는 E. 콜라이 세포의 14 리터 발효로 세포 배지로서 TM3 배지 및 2% 글루코오스와 함께 22 그램의 메발론산이 제조되었다. 상기 세포의 진탕 플라스크는 세포 배양 배지로서 LB 배지 및 1% 글루코오스와 함께 1 리터 당 2-4 그램의 메발론산을 제조하였다. 상기 균주에서의 메발론산의 제조는 MVA 경로가 E. 콜라이에서 기능을 하였음을 나타내었다.
VIII. 상위 및 하위 MVA 경로와 kudzu 이소프렌 합성효소를 함유하는 E. 콜라이 BL21 로부터의 이소프렌의 제조.
하기 균주를 상위 및 하위 MVA 경로를 함유하는 플라스미드 및 상기 기재된 바와 같은 kudzu 이소프렌 합성효소 유전자 및 idi, dxs, 및 dxr 을 함유하는 플라스미드 및 실시예 7 에 기재된 이소프렌 합성효소 유전자의 다양한 조합으로의 형질전환에 의해 제작하였다. 사용된 숙주 세포는 화학적으로 수용능이 된 BL21(λDE3) 이었고, 형질전환을 표준 방법에 의해 수행하였다. 형질전환체를 카나마이신 (50 ㎍/ml) 또는 카나마이신 + 스펙티노마이신 (모두 농도는 50 ㎍/ml 임) 을 함유하는 L 아가 상에서 선별하였다. 플레이트를 37℃ 에서 성장시켰다. 수득된 균주를 하기와 같이 지정하였다:
카나마이신 + 스펙티노마이신 (각각 50 ㎍/ml) 상에서 성장함
MCM127 - BL21(λDE3) 내 pCL Upper MVA + pTrcKKDyIkIS (kan)
MCM131 - BL21(λDE3) 내 pCL1920 + pTrcKKDyIkIS (kan)
MCM125 - BL21(λDE3) 내 pCL Upper MVA + pTrcHis2B (kan)
카나마이신 (50 ㎍/ml) 상에서 성장함
MCM64 - BL21(λDE3) 내 pTrcKudzu yIDI DXS (kan)
MCM50 - BL21(λDE3) 내 pTrcKudzu (kan)
MCM123 - BL21(λDE3) 내 pTrcKudzu yIDI DXS DXR (kan)
상기 균주를 동결 저장액으로부터 LA + 적합한 항생제에 스트리킹하고, 37℃ 에서 밤새 성장시켰다. 각 플레이트로부터 단일 콜로니를 진탕 플라스크 (25 ml LB + 적합한 항생제) 에 접종하는데 사용하였다. 플라스크를 200 rpm 으로 진탕하면서 밤새 22℃ 에서 인큐베이션시켰다. 다음날 아침, 플라스크를 37℃ 인큐베이터로 옮기고, 200 rpm 으로 진탕하면서 추가 4.5 시간 동안 성장시켰다. 세포를 펠렛화하기 위해 25 ml 배양물을 원심분리하고, 세포를 5 ml LB + 적합한 항생제에 재현탁시켰다. 그 다음 배양물을 OD600 가 0.1 이 되도록 25 ml LB+ 1% 글루코오스 + 적합한 항생제 내에 희석하였다. 각 균주에 대해 2 개의 플라스크를 배정하고, 하나의 세트는 IPTG (800 μM) 로 유도하고, 제 2 세트는 유도하지 않았다. 배양물을 250 rpm 으로 진탕하면서 37℃ 에서 인큐베이션하였다. 1 세트의 배양물을 1.50 시간 (샘플링 시점 1 후 즉시) 후에 유도하였다. 각 샘플링 시점에, OD600 을 측정하고, 이소프렌의 양을 실시예 1 에 기재된 바와 같이 측정하였다. 결과를 표 3 에 제시한다. 제조된 이소프렌의 양을 특정 균주에 대해 피크 제조시 양으로 나타낸다.
표 3. E. 콜라이 균주 내 이소프렌의 제조
Figure pct00004
메발로노락톤 (1.0 g, 7.7 mmol) (CAS# 503-48-0) 을 물 (7.7 mL) 에 용해된 시럽으로서 Sigma-Aldrich (WI, USA) 로부터 공급받고, 메발론산의 칼륨 염을 생성하기 위해 수산화칼륨 (7.7 mmol) 으로 처리하였다. 메발론산으로의 전환을 1H NMR 분석에 의해 확인하였다. HPLC 분석용 샘플을 14,000 rpm 으로 5 분 동안 원심분리에 의해 제조하여 세포를 제거한 후, 300 ㎕ 상청액 분취액을 900 ㎕ 의 H2O 에 첨가하였다. 그 다음 과염소산 (70% 용액 36 ㎕) 을 첨가한 후 혼합하고 빙상에서 5 분 동안 냉각시켰다. 그 다음 샘플을 다시 원심분리하고 (14,000 rpm, 5 분 동안), 상청액을 HPLC 로 옮겼다. 메발론산 표준 (20, 10, 5, 1 및 0.5 g/L) 을 동일한 방식으로 제조하였다. 메발론산 (20 uL 주사 부피) 분석을, 굴절률 (RI) 검출로 0.6 mL/분에서 5 mM 황산으로 용리되는 BioRad Aminex 87-H+ 컬럼 (7.0 mm 에 의해 300 mm) 을 사용하여 HPLC 에 의해 수행하였다. 상기 조건 하에서 메발론산은 18.5 분에 락톤 형태로서 용리되었다.
X. 상위 MVA 경로 + kudzu 이소프렌 합성효소를 함유하는 E. 콜라이 BL21 로부터의 이소프렌의 제조
메발론산 경로 폴리펩티드 + Kudzu 이소프렌 합성효소를 발현하는 E. 콜라이의 15 L 규모 발효를 사용하여, 공급-배치식 배양액 내 세포로부터 이소프렌을 제조하였다. 상기 실험은 글루코오스 제한 조건 하에서 성장하는 세포가 2.2 g/L 의 이소프렌을 제조한다는 것을 증명한다.
배지 구성 (발효 배지 1 리터 당):
발효 배지 1 리터 당 하기 성분을 사용하여 배지를 제조하였다: K2HPO4 7.5 g, MgSO4 * 7H2O 2 g, 구연산 1 수화물 2 g, 철 암모늄 시트레이트 0.3 g, 효모 추출물 0.5 g, 및 1000× 개질 미량 금속 용액 (Modified Trace Metal Solution) 1 ml. 모든 성분을 함께 첨가하고, diH2O 에 용해하였다. 상기 용액을 오토클레이브하였다. 수산화암모늄 (30%) 으로 pH 를 7.0 로 조정하고, 부피를 충분량으로 하였다. 멸균 및 pH 조정 후에 글루코오스 10 g, 티아민 * HCl 0.1 g, 및 항생제를 첨가하였다.
1000× 개질 미량 금속 용액 (Modified Trace Metal Solution):
1000× 개질 미량 금속 용액을 하기 성분을 사용하여 제조하였다: 구연산 * H2O 40 g, MnSO4 * H2O 30 g, NaCl 10 g, FeSO4 * 7H2O 1 g, CoCl2 * 6H2O 1 g, ZnSO * 7H2O 1 g, CuSO4 * 5H2O 100 mg, H3BO3 100 mg, 및 NaMoO4 * 2H2O 100 mg. 각 성분을 diH2O 에 한번에 용해하고, HCl/NaOH 로 pH 를 3.0 으로 조정한 다음, 부피를 충분히 하고, 0.22 μ 필터로 필터 멸균하였다.
발효를, pCL PtrcUpperPathway (도 26) 및 pTrcKKDyIkIS 플라스미드를 함유하는 BL21 (DE3) E. 콜라이 세포로 15 L 생물반응기에서 수행하였다. 상기 실험을 바람직한 발효 pH 7.0 및 온도 30℃ 에서 글루코오스로부터 이소프렌 형성을 모니터링 하기 위해 실시하였다. 동결 바이알로부터 채취한 E. 콜라이 균주의 접종물을 LB 브로쓰 아가 플레이트 (항생제 있음) 상에 스트리킹하고 37℃ 에서 인큐베이션하였다. 단일 콜로니를 소이톤-효모 추출물-글루코오스 배지 내로 접종하였다. 550 nm 에서 측정하였을 때 접종물이 OD 1.0 까지 성장한 후, 500 mL 을 5 L 생물반응기에 접종하는데 사용하였다.
세포가 정지상에 도달할 때까지 글루코오스를 기하급수적 속도로 공급하였다. 이 후 글루코오스 공급량을 감소시켜 대사 요구를 충족시켰다. 54 시간 발효 동안 생물반응기에 전달되는 글루코오스의 총 양은 3.7 kg 이었다. 이소프로필-베타-D-1-티오갈락토피라노시드 (IPTG) 를 첨가하여 유도를 달성하였다. 550 nm 에서의 광학 밀도 (OD550) 가 10 의 값에 도달하였을 때 IPTG 농도를 25 uM 로 하였다. OD550 이 190 에 도달하였을 때 IPTG 농도를 50 uM 으로 상승시켰다. IPTG 농도를 38 시간 발효 시 100 uM 로 증가시켰다. 시간에 따른 생물반응기 내 OD550 프로파일을 도 54 에 제시한다. 생물반응기로부터의 배출 기체 내 이소프렌 수준을 본원에 기재된 바와 같이 측정하였다. 이소프렌 적정농도는 발효 과정 동안 최종 값 2.2 g/L 로 증가되었다 (도 55). 54 시간 발효 동안 제조되는 이소프렌의 총 양은 15.9 g 이었고, 제조 시간 과정은 도 56 에 제시된다.
XI. 15 L 규모의 공급-배치식 배양물에서 성장하고 메발론산 경로로부터의 유전자를 발현하는 E. 콜라이로부터의 이소프렌 발효
메발론산 경로 폴리펩티드 및 Kudzu 이소프렌 합성효소를 발현하는 E. 콜라이의 15 L 규모 발효를 공급-배치식 배양물 내 세포로부터 이소프렌을 제조하는데 사용하였다. 상기 실험은 글루코오스 제한 조건 하에서 성장하는 세포가 3.0 g/L 의 이소프렌을 제조한다는 것을 증명한다.
배지 구성 (발효 배지 1 리터 당):
발효 배지 1 리터 당 하기 성분을 사용하여 배지를 제조하였다: K2HPO4 7.5 g, MgSO4 * 7H2O 2 g, 구연산 1 수화물 2 g, 철 암모늄 시트레이트 0.3 g, 효모 추출물 0.5 g, 및 1000× 개질 미량 금속 용액 (Modified Trace Metal Solution) 1 ml. 모든 성분을 함께 첨가하고, diH2O 에 용해하였다. 상기 용액을 오토클레이브하였다. 수산화암모늄 (30%) 으로 pH 를 7.0 로 조정하고, 부피를 충분량으로 하였다. 멸균 및 pH 조정 후에 글루코오스 10 g, 티아민 * HCl 0.1 g, 및 항생제를 첨가하였다.
1000× 개질 미량 금속 용액 (Modified Trace Metal Solution):
1000× 개질 미량 금속 용액을 하기 성분을 사용하여 제조하였다: 구연산 * H2O 40 g, MnSO4 * H2O 30 g, NaCl 10 g, FeSO4 * 7H2O 1 g, CoCl2 * 6H2O 1 g, ZnSO * 7H2O 1 g, CuSO4 * 5H2O 100 mg, H3BO3 100 mg, 및 NaMoO4 * 2H2O 100 mg. 각 성분을 diH2O 에 한번에 용해하고, HCl/NaOH 로 pH 를 3.0 으로 조정한 다음, 부피를 충분히 하고, 0.22 μ 필터로 필터 멸균하였다.
pCL PtrcUpperMVA 및 pTrc KKDyIkIS 플라스미드를 함유하는 BL21 (DE3) E. 콜라이 세포로 15 L 생물반응기에서 발효를 수행하였다. 상기 실험을 바람직한 발효 pH 7.0 및 온도 30℃ 에서 글루코오스로부터 이소프렌 형성을 모니터링 하기 위해 실시하였다. 동결 바이알로부터 채취한 E. 콜라이 균주의 접종물을 LB 브로쓰 아가 플레이트 (항생제 있음) 상에 스트리킹하고 37℃ 에서 인큐베이션하였다. 단일 콜로니를 트립톤-효모 추출물 배지 내로 접종하였다. 550 nm 에서 측정하였을 때 접종물이 OD 1.0 까지 성장한 후, 500 mL 을 5 L 생물반응기에 접종하는데 사용하였다.
세포가 정지상에 도달할 때까지 글루코오스를 기하급수적 속도로 공급하였다. 이 후 글루코오스 공급량을 감소시켜 대사 요구를 충족시켰다. 59 시간 발효 동안 생물반응기에 전달되는 글루코오스의 총 양은 2.2 kg 이었다. IPTG 를 첨가하여 유도를 달성하였다. 550 nm 에서의 광학 밀도 (OD550) 가 10 의 값에 도달하였을 때 IPTG 농도를 25 uM 로 하였다. OD550 이 190 에 도달하였을 때 IPTG 농도를 50 uM 으로 상승시켰다. 시간에 따른 생물반응기 내 OD550 프로파일을 도 93 에 제시한다. 생물반응기로부터의 배출 기체 내 이소프렌 수준을 본원에 기재된 바와 같이 측정하였다. 이소프렌 적정농도는 발효 과정 동안 최종 값 3.0 g/L 로 증가되었다 (도 94). 59 시간 발효 동안 제조되는 이소프렌의 총 양은 22.8 g 이었고, 제조 시간 과정은 도 95 에 제시된다. 발효 동안 이소프렌 제조에 투입된 이용된 탄소의 몰 수율은 2.2% 였다. 글루코오스로부터의 이소프렌의 중량% 수율은 1.0% 였다.
XII. 15 L 규모의 공급-배치식 배양물에서 성장하고 메발론산 경로로부터의 유전자를 발현하는 E. 콜라이로부터의 이소프렌 발효
메발론산 경로 폴리펩티드, 푸에라리아 로바타 (Pueraria lobata) 이소프렌 합성효소, 및 Kudzu 이소프렌 합성효소를 발현하는 E. 콜라이의 15 L 규모 발효를 공급-배치식 배양물 내 세포로부터 이소프렌을 제조하는데 사용하였다. 상기 실험은 글루코오스 제한 조건 하에서 성장하는 세포가 3.3 g/L 의 이소프렌을 제조한다는 것을 증명한다.
i) pCLPtrcUpperPathwayHGS2 의 구축
푸에라리아 로바타 (Pueraria lobata) 로부터 이소프렌 합성효소를 코딩하는 유전자를 프라이머 NsiI-RBS-HGS F (CTTGATGCATCCTGCATTCGCCCTTAGGAGG, SEQ ID NO:88) 및 pTrcR (CCAGGCAAATTCTGTTTTATCAG, SEQ ID NO:89), 및 pTrcKKDyIkIS 를 주형으로서 사용하여 PCR 증폭시켰다. 그렇게 수득된 PCR 생성물을 NsiI 및 PstI 로 제한 소화시키고, 젤 정제하였다. 플라스미드 pCL PtrcUpperPathway 를 PstI 로 제한 소화시키고, 제조자의 지침에 따라 rAPid 알칼리 포스파타아제 (Roche) 를 사용하여 탈인산화시켰다.
상기 DNA 분절을 함께 라이게이션하고, 라이게이션 반응물을 E. 콜라이 Top 10 화학적으로 수용능이 된 세포 (Invitrogen) 내로 형질전환시키고, 스펙티노마이신 (50 ug/ml) 을 함유하는 L 아가 상에 플레이팅하고, 37℃ 에서 밤새 인큐베이션하였다. 플라스미드 DNA 를 Qiaquick Spin Mini-prep 키트를 사용하여 6 개의 클론으로부터 제조하였다. 플라스미드 DNA 를 제한 효소 EcoRV 및 MluI 으로 소화시켜 삽입물이 오른쪽 방향을 갖는 클론을 확인하였다 (즉, pTrc 프로모터와 동일한 방향의 유전자).
수득된 올바른 플라스미드를 pCLPtrcUpperPathwayHGS2 로 지정하였다. 상기 플라스미드를 본원에 기재된 상부공간 어세이를 사용하여 어세이하고, E. 콜라이 Top 10 내 이소프렌을 제조하였음을 발견하여, 유전자의 기능성을 입증하였다. 플라스미드를 pTrcKKDyIkIS 를 함유하는 BL21(LDE3) 내로 형질전환시켜, 균주 BL21/pCLPtrcUpperPathwayHGS2-pTrcKKDyIkIS 를 산출하였다. 상기 균주는 BL21/pCL PtrcUpperMVA 및 pTrc KKDyIkIS 균주와 비교하여 이소프렌 합성효소의 추가 카피를 갖는다 (실시예 8, 파트 XI). 상기 균주는 또한 실시예 8, 파트 XI 에서 사용된 BL21/pCL PtrcUpperMVA 및 pTrc KKDyIkIS 균주와 비교해 HMGS 의 발현 및 활성이 증가하였다.
ii) 15 L 규모의 공급-배치식 배양물에서 성장하고 pCLPtrcUpperPathwayHGS2-pTrcKKDyIkIS 를 발현하는 E. 콜라이로부터의 이소프렌 발효
배지 구성 (발효 배지 1 리터 당):
발효 배지 1 리터 당 하기 성분을 사용하여 배지를 제조하였다: K2HPO4 7.5 g, MgSO4 * 7H2O 2 g, 구연산 1 수화물 2 g, 철 암모늄 시트레이트 0.3 g, 효모 추출물 0.5 g, 및 1000× 개질 미량 금속 용액 (Modified Trace Metal Solution) 1 ml. 모든 성분을 함께 첨가하고, diH2O 에 용해하였다. 상기 용액을 오토클레이브하였다. 수산화암모늄 (30%) 으로 pH 를 7.0 로 조정하고, 부피를 충분량으로 하였다. 멸균 및 pH 조정 후에 글루코오스 10 g, 티아민 * HCl 0.1 g, 및 항생제를 첨가하였다.
1000× 개질 미량 금속 용액 (Modified Trace Metal Solution):
1000× 개질 미량 금속 용액을 하기 성분을 사용하여 제조하였다: 구연산 * H2O 40 g, MnSO4 * H2O 30 g, NaCl 10 g, FeSO4 * 7H2O 1 g, CoCl2 * 6H2O 1 g, ZnSO * 7H2O 1 g, CuSO4 * 5H2O 100 mg, H3BO3 100 mg, 및 NaMoO4 * 2H2O 100 mg. 각 성분을 diH2O 에 한번에 용해하고, HCl/NaOH 로 pH 를 3.0 으로 조정한 다음, 부피를 충분히 하고, 0.22 μ 필터로 필터 멸균하였다.
pCLPtrcUpperPathwayHGS2 및 pTrc KKDyIkIS 플라스미드를 함유하는 BL21 (DE3) E. 콜라이 세포로 15 L 생물반응기에서 발효를 수행하였다. 상기 실험을 바람직한 발효 pH 7.0 및 온도 30℃ 에서 글루코오스로부터 이소프렌 형성을 모니터링 하기 위해 실시하였다. 동결 바이알로부터 채취한 E. 콜라이 균주의 접종물을 LB 브로쓰 아가 플레이트 (항생제 있음) 상에 스트리킹하고 37℃ 에서 인큐베이션하였다. 단일 콜로니를 트립톤-효모 추출물 배지 내로 접종하였다. 550 nm 에서 측정하였을 때 접종물이 OD 1.0 까지 성장한 후, 500 mL 을 5 L 생물반응기에 접종하는데 사용하였다.
세포가 정지상에 도달할 때까지 글루코오스를 기하급수적 속도로 공급하였다. 이 후 글루코오스 공급량을 감소시켜 대사 요구를 충족시켰다. 58 시간 발효 동안 생물반응기에 전달되는 글루코오스의 총 양은 2.1 kg 이었다. IPTG 를 첨가하여 유도를 달성하였다. 550 nm 에서의 광학 밀도 (OD550) 가 9 의 값에 도달하였을 때 IPTG 농도를 25 uM 로 하였다. OD550 이 170 에 도달하였을 때 IPTG 농도를 50 uM 으로 상승시켰다. 시간에 따른 생물반응기 내 OD550 프로파일을 도 104 에 제시한다. 생물반응기로부터의 배출 기체 내 이소프렌 수준을 본원에 기재된 바와 같이 측정하였다. 이소프렌 적정농도는 발효 과정 동안 최종 값 3.3 g/L 로 증가되었다 (도 105). 58 시간 발효 동안 제조되는 이소프렌의 총 양은 24.5 g 이었고, 제조 시간 과정은 도 106 에 제시된다. 발효 동안 이소프렌 제조에 투입된 이용된 탄소의 몰 수율은 2.5% 였다. 글루코오스로부터의 이소프렌의 중량% 수율은 1.2% 였다. 분석으로 이소프렌 합성효소의 활성이 CL PtrcUpperMVA 및 pTrc KKDyIkIS 플라스미드를 발현하는 BL21 (데이터는 제시되지 않음) 과 비교하여 대략 3-4 배 증가하였음을 보여주었다.
XIII. E. 콜라이 내 하위 메발로네이트 경로의 염색체 통합.
메발로네이트 키나아제, 메발로네이트 포스페이트 키나아제, 메발로네이트 피로포스페이트 데카르복실라아제, 및 IPP 이소머라아제를 함유하는 합성 오페론을 E. 콜라이의 염색체 내에 통합시켰다. 바람직한 경우, 오페론의 상이한 프로모터 5' 를 통합시켜 발현이 변경될 수 있다.
표 9 에는 본 실험에 사용된 프라이머를 나열한다.
표 9. 프라이머
Figure pct00005
i) 표적 벡터 구축
통합을 위해 attTn7 부위를 선택하였다. 상동성 상류방향 (attTn7 업) (프라이머 MCM78 및 MCM79) 및 하류방향 (attTn7 다운) (프라이머 MCM88 및 MCM89) 영역을 MG1655 세포로부터 PCR 에 의해 증폭시켰다. 1uL 10uM 프라이머, 3uL ddH2O, 45uL Invitrogen Platinum PCR Supermix High Fidelity, 및 MG1655 의 스크랩한 콜로니를 함유하는 50 uL 반응물을 94℃ 에서 2:00 동안 변성시키고, 25 회 (94℃ 에서 2:00, 50℃ 에서 0:30, 및 68℃ 에서 1:00) 사이클에 적용하고, 72℃ 에서 7:00 동안 확장시키고, 4℃ 로 냉각시켰다. 제조자의 지침에 따라 상기 수득된 DNA 를 pCR2.1 (Invitrogen) 내로 클로닝하여, 플라스미드 MCM278 (attTn7 업) 및 MCM252 (attTn7 다운) 를 산출하였다. MCM252 로부터 소화되고 젤 정제된 832bp ApaI-PvuI 분절을 ApaI-PvuI 소화되고 젤 정제된 플라스미드 pR6K 내로 클로닝하여, 플라스미드 MCM276 을 제작하였다. MCM278 로부터 소화되고 젤 정제된 825bp PstI-NotI 분절을 PstI-NotI 소화되고 젤 정제된 MCM276 내로 클로닝하여, 플라스미드 MCM281 을 제작하였다.
ii) 하위 경로 및 프로모터의 클로닝
제조자의 지침에 따라 Roche Expand Long PCR System 을 사용하여 프라이머 MCM104 및 MCM105 로 pTrcKKDyIkIS 로부터 MVK-PMK-MVD-IDI 유전자를 증폭시켰다. 상기 생성물을 NotI 및 ApaI 로 소화시키고, NotI 및 ApaI 로 소화된 MCM281 내로 클로닝시키고 젤 정제하였다. 프라이머 MCM120 및 MCM127 을, Stratagene Pfu Ultra II 를 사용하여 GeneBridges FRT-gb2-Cm-FRT 주형 DNA 로부터 CMR 카세트를 증폭하기 위해 사용하였다. 4:00 동안의 95℃ 에서의 변성, 0:20 동안 95℃, 0:20 동안 55℃, 2:00 동안 72℃ 의 5 회 사이클, 0:20 동안 95℃, 0:20 동안 58℃, 2:00 동안 72℃, 10:00 동안 72℃ 의 25 회 사이클 후, 4℃ 로의 냉각의 PCR 프로그램을 1uL ~10 ng/uL 주형, 1 uL 각 프라이머, 1.25 uL 10 mM dNTPs, 5 uL 10x 완충액, 1 uL 효소, 및 39.75 uL ddH20 를 함유하는 4 개의 5O uL PCR 반응에 사용하였다. 반응물을 수집하고, Qiagen PCR 클린업 컬럼으로 정제하고, 플라스미드 MCM296 을 함유하는 물 세정된 Pirl 세포를 전기천공하기 위해 사용하였다. 2.5V 및 200 ohms 에서 2 mM 큐벳 내에서 전기천공을 수행하였다. 30℃ 에서 3 hr 동안 LB 에서 전기천공 반응을 회복시켰다. 형질전환체 MCM330 을 CMP5, Kan50 이 있는 LA 상에서 선별하였다 (도 107 및 108A-108C).
iii) E. 콜라이 염색체 내로의 통합
MCM330 으로부터 미니프렙된 DNA (Qiaquick Spin 키트) 를 SnaBI 으로 소화시키고, GeneBridges 플라스미드 pRedET Carb 을 함유하는 BL21(DE3) (Novagen) 또는 MG1655 를 전기천공하는데 사용하였다. 세포를 30℃ 에서 ~OD1 까지 성장시킨 다음, 0.4% L-아라비노오스로 37℃ 에서 1.5 시간 동안 유도하였다. 상기 세포를 4℃ ddH2O 로 3 회 세정한 후, 2 uL 의 DNA 를 전기천공시켰다. 클로르암페니콜 (5 ug/ml) 을 함유하는 L 아가 상에서 통합체를 선별하고, 이어서 L 아가 + 카나마이신 (50 ug/ml) 상에서 성장하지 않는다는 것을 확인하였다. BL21 통합체 MCM331 및 MG1655 통합체 MCM333 을 동결시켰다.
iv) Kudzu 이소프렌 합성효소를 코딩하는 pET24D-Kudzu 의 구축
kudzu 이소프렌 합성효소 유전자를 pCR2.1 벡터 (Invitrogen) 로부터의 pET24d 벡터 (Novagen) 내로 서브클로닝하였다. 특히, kudzu 이소프렌 합성효소 유전자를 프라이머 MCM50 5'- GATCATGCAT TCGCCCTTAG GAGGTAAAAA AACATGTGTG CGACCTCTTC TCAATTTACT (SEQ ID NO:99) 및 MCM53 5'-CGGTCGACGG ATCCCTGCAG TTAGACATAC ATCAGCTG (SEQ ID NO: 100) 을 사용하여 pTrcKudzu 주형 DNA 로부터 증폭시켰다. Taq DNA Polymerase (Invitrogen) 를 사용하여 PCR 반응을 수행하였고, 수득된 PCR 반응물을 pCR2.1-TOPO TA 클로닝 벡터 (Invitrogen) 내로 클로닝하고, E. 콜라이 Top 10 화학적으로 수용능이 된 세포 (Invitrogen) 내로 형질전환시켰다. 카르베니실린 (50 ㎍/ml) 을 함유하는 L 아가 상에 형질전환체를 플레이팅하고, 37℃ 에서 밤새 인큐베이션하였다. 카르베니실린 50 ㎍/ml 을 함유하는 5 ml Luria Broth 배양물을 단일 형질전환체로 접종하고, 밤새 37℃ 에서 성장시켰다. 5 개의 콜로니를 1 ml 의 액체 배양물 (Luria Broth) 로부터 단리된 플라스미드 DNA 의 서열분석에 의해 올바른 삽입물에 대해 스크리닝하고, QIAprep Spin Mini-prep Kit (Qiagen) 를 사용하여 정제하였다. MCM93 으로 지칭된 수득된 플라스미드는 pCR2.1 백본 내에 kudzu 이소프렌 합성효소 코딩 서열을 함유한다.
kudzu 코딩 서열을 PciI 및 BamH1 (Roche) 로 제한 엔도뉴클레아제 소화에 의해 제거하고, QIAquick Gel Extraction 키트 (Qiagen) 를 사용하여 젤 정제하였다. pET24d 벡터 DNA 를 NcoI 및 BamH1 (Roche) 로 소화시키고, 새우 알칼리 포스파타아제 (Roche) 로 처리하고, QIAprep Spin Mini-prep Kit (Qiagen) 를 사용하여 정제하였다. kudzu 이소프렌 합성효소 분절을 Rapid DNA Ligation Kit (Roche) 를 사용하여 NcoI/BamH1 소화된 pET24d 로 5:1 분절 대 벡터 비로 총 부피 20 ㎕ 에서 라이게이션시켰다. 라이게이션 혼합물 일부 (5 ㎕) 를 E. 콜라이 Top 10 화학적으로 수용능이 된 세포 내로 형질전환시키고, 카나마이신 (50 ㎍/ml) 을 함유하는 L 아가 상에 플레이팅시켰다. 올바른 형질전환체를 서열분석에 의해 확인하고, 화학적으로 수용능이 된 BL21(λDE3)pLysS 세포 (Novagen) 내로 형질전환시켰다. 카나마이신 (50 ㎍/ml) 을 함유하는 L 아가 상에 37℃ 에서 밤새 성장시킨 후 단일 콜로니를 선별하였다. pET24D-Kudzu 로서 지정된 수득된 플라스미드의 맵을 도 109 에 제시한다. pET24D-Kudzu 의 서열 (SEQ ID NO: 101) 을 도 110A 및 110B 에 제시한다. 이소프렌 합성효소 활성을 상부공간 어세이를 사용하여 확인하였다.
v) 제조 균주
균주 MCM331 및 MCM333 을 플라스미드 pCLPtrcupperpathway 및 pTrcKudzu 또는 pETKudzu 으로 공동형질전환시켜, 표 10 에 제시된 균주를 산출하였다.
표 10. 제조 균주
Figure pct00006
vi) 15 L 규모의 공급-배치식 배양물에서 성장하고 메발론산 경로로부터의 유전자를 발현하는 E. 콜라이로부터의 이소프렌 발효
배지 구성 (발효 배지 1 리터 당):
발효 배지 1 리터 당 하기 성분을 사용하여 배지를 제조하였다: K2HPO4 7.5 g, MgSO4 * 7H2O 2 g, 구연산 1 수화물 2 g, 철 암모늄 시트레이트 0.3 g, 효모 추출물 0.5 g, 및 1000× 개질 미량 금속 용액 (Modified Trace Metal Solution) 1 ml. 모든 성분을 함께 첨가하고, diH2O 에 용해하였다. 상기 용액을 오토클레이브하였다. 수산화암모늄 (30%) 으로 pH 를 7.0 로 조정하고, 부피를 충분량으로 하였다. 멸균 및 pH 조정 후에 글루코오스 10 g, 티아민 * HCl 0.1 g, 및 항생제를 첨가하였다.
1000× 개질 미량 금속 용액 (Modified Trace Metal Solution):
1000× 개질 미량 금속 용액을 하기 성분을 사용하여 제조하였다: 구연산 * H2O 40 g, MnSO4 * H2O 30 g, NaCl 10 g, FeSO4 * 7H2O 1 g, CoCl2 * 6H2O 1 g, ZnSO * 7H2O 1 g, CuSO4 * 5H2O 100 mg, H3BO3 100 mg, 및 NaMoO4 * 2H2O 100 mg. 각 성분을 diH2O 에 한번에 용해하고, HCl/NaOH 로 pH 를 3.0 으로 조정한 다음, 부피를 충분히 하고, 0.22 μ 필터로 필터 멸균하였다.
pCL PtrcUpperMVA 및 pTrcKudzu 플라스미드 및 상기 기재된 gil.2 통합된 하위 MVA 경로를 함유하는 BL21 (DE3) E. 콜라이 세포로 15 L 생물반응기에서 발효를 수행하였다. 상기 실험을 바람직한 발효 pH 7.0 및 온도 30℃ 에서 글루코오스로부터 이소프렌 형성을 모니터링 하기 위해 실시하였다. 동결 바이알로부터 채취한 E. 콜라이 균주의 접종물을 LB 브로쓰 아가 플레이트 (항생제 있음) 상에 스트리킹하고 37℃ 에서 인큐베이션하였다. 단일 콜로니를 트립톤-효모 추출물 배지 내로 접종하였다. 550 nm 에서 측정하였을 때 접종물이 OD 1.0 까지 성장한 후, 500 mL 을 5 L 생물반응기에 접종하는데 사용하였다.
세포가 정지상에 도달할 때까지 글루코오스를 기하급수적 속도로 공급하였다. 이 후 글루코오스 공급량을 감소시켜 대사 요구를 충족시켰다. 57 시간 발효 동안 생물반응기에 전달되는 글루코오스의 총 양은 3.9 kg 이었다. IPTG 를 첨가하여 유도를 달성하였다. 이산화탄소 증발 속도가 100 mmol/L/hr 에 도달하였을 때 IPTG 농도를 100 uM 로 하였다. 시간에 따른 생물반응기 내 OD550 프로파일을 도 111A 에 제시한다. 생물반응기로부터의 배출 기체 내 이소프렌 수준을 본원에 기재된 바와 같이 측정하였다.
이소프렌 적정농도는 발효 과정 동안 최종 값 1.6 g/L 로 증가되었다 (도 111B). 발효 과정 동안 이소프렌의 특이적 생산성은 도 111C 에 제시되고, 1.2 mg/OD/hr 에서 피크를 이루었다. 57 시간 발효 동안 제조되는 이소프렌의 총 양은 16.2 g 이었다. 발효 동안 이소프렌 제조에 투입된 이용된 탄소의 몰 수율은 0.9% 였다. 글루코오스로부터의 이소프렌의 중량% 수율은 0.4% 였다.
XIV. 탄소원으로서 글리세롤을 사용하는 kudzu 이소프렌 합성효소를 함유하는 E. 콜라이 BL21 로부터의 이소프렌의 제조
Kudzu 이소프렌 합성효소를 발현하는 E. 콜라이의 15 L 규모 발효를 공급-배치식 배양물 내 글리세롤 공급된 세포로부터 이소프렌을 제조하기 위해 사용하였다. 상기 실험은 글리세롤 (글루코오스 없음) 의 존재하에서 성장하는 세포가 2.2 mg/L 의 이소프렌을 제조하였음을 증명한다.
배지 구성 (발효 배지 1 리터 당):
발효 배지 1 리터 당 하기 성분을 사용하여 배지를 제조하였다: K2HPO4 7.5 g, MgSO4 * 7H2O 2 g, 구연산 1 수화물 2 g, 철 암모늄 시트레이트 0.3 g, 및 1000× 개질 미량 금속 용액 (Modified Trace Metal Solution) 1 ml. 모든 성분을 함께 첨가하고, diH2O 에 용해하였다. 상기 용액을 오토클레이브하였다. 수산화암모늄 (30%) 으로 pH 를 7.0 로 조정하고, 부피를 충분량으로 하였다. 멸균 및 pH 조정 후에 글리세롤 5.1 g, 티아민 * HCl 0.1 g, 및 항생제를 첨가하였다.
1000× 개질 미량 금속 용액 (Modified Trace Metal Solution):
발효 배지 1 리터 당 하기 성분을 사용하여 배지를 제조하였다: 구연산 * H2O 40 g, MnSO4 * H2O 30 g, NaCl 10 g, FeSO4 * 7H2O 1 g, CoCl2 * 6H2O 1 g, ZnSO * 7H2O 1 g, CuSO4 * 5H2O 100 mg, H3BO3 100 mg, 및 NaMoO4 * 2H2O 100 mg. 각 성분을 diH2O 에 한번에 용해하고, HCl/NaOH 로 pH 를 3.0 으로 조정한 다음, 부피를 충분히 하고, 0.22 μ 필터로 필터 멸균하였다.
pTrcKudzu 플라스미드를 함유하는 BL21 (DE3) E. 콜라이 세포로 15 L 생물반응기에서 발효를 수행하였다. 상기 실험을 바람직한 발효 pH 7.0 및 온도 35℃ 에서 글리세롤로부터 이소프렌 형성을 모니터링 하기 위해 실시하였다. 동결 바이알로부터 채취한 E. 콜라이 균주의 접종물을 LB 브로쓰 아가 플레이트 (항생제 있음) 상에 스트리킹하고 37℃ 에서 인큐베이션하였다. 단일 콜로니를 소이톤-효모 추출물-글루코오스 배지 내로 접종하고, 35℃ 에서 성장시켰다. 550 nm 에서 측정하였을 때 접종물이 OD 1.0 까지 성장한 후, 600 mL 을 7.5 L 생물반응기에 접종하는데 사용하였다.
세포가 550 nm 에서의 광학 밀도 (OD550) 가 153 에 도달할 때까지 글리세롤을 기하급수적 속도로 공급하였다. 36 시간 발효 동안 생물반응기에 전달되는 글리세롤의 총 양은 1.7 kg 이었다. 접종 물 내의 글루코오스 외에는, 생물반응기에 글루코오스를 추가하지 않았다. IPTG 를 첨가하여 유도를 달성하였다. OD550 이 50 의 값에 도달하였을 때 IPTG 농도를 20 uM 로 하였다. 시간에 따른 생물반응기 내 OD550 프로파일을 도 57 에 제시한다. 생물반응기로부터의 배출 기체 내 이소프렌 수준을 본원에 기재된 바와 같이 측정하였다. 이소프렌 적정농도는 발효 과정 동안 최종 값 2.2 g/L 로 증가되었다 (도 58). 54 시간 발효 동안 제조되는 이소프렌의 총 양은 20.9 mg 이었고, 제조 시간 과정은 도 59 에 제시된다.
XV. 탄소원으로서 전화당을 사용하는 15 L 규모에서의 공급-배치식 배양물 내에서 성장하고, 메발론산 경로로부터의 유전자를 발현하는 E. 콜라이로부터의 이소프렌 발효
메발론산 경로 폴리펩티드 및 Kudzu 이소프렌 합성효소를 발현하는 E. 콜라이의 15 L 규모 발효를 공급-배치식 배양물 내 전화당 공급된 세포로부터 이소프렌을 제조하기 위해 사용하였다. 상기 실험은 전화당의 존재하에서 성장하는 세포가 2.4 g/L 의 이소프렌을 제조하였음을 증명한다.
배지 구성 (발효 배지 1 리터 당):
발효 배지 1 리터 당 하기 성분을 사용하여 배지를 제조하였다: K2HPO4 7.5 g, MgSO4 * 7H2O 2 g, 구연산 1 수화물 2 g, 철 암모늄 시트레이트 0.3 g, 효모 추출물 0.5 g, 및 1000× 개질 미량 금속 용액 (Modified Trace Metal Solution) 1 ml. 모든 성분을 함께 첨가하고, diH2O 에 용해하였다. 상기 용액을 오토클레이브하였다. 수산화암모늄 (30%) 으로 pH 를 7.0 로 조정하고, 부피를 충분량으로 하였다. 멸균 및 pH 조정 후에 전화당 10 g, 티아민 * HCl 0.1 g, 및 항생제를 첨가하였다.
1000× 개질 미량 금속 용액 (Modified Trace Metal Solution):
1000× 개질 미량 금속 용액을 하기 성분을 사용하여 제조하였다: 구연산 * H2O 40 g, MnSO4 * H2O 30 g, NaCl 10 g, FeSO4 * 7H2O 1 g, CoCl2 * 6H2O 1 g, ZnSO * 7H2O 1 g, CuSO4 * 5H2O 100 mg, H3BO3 100 mg, 및 NaMoO4 * 2H2O 100 mg. 각 성분을 diH2O 에 한번에 용해하고, HCl/NaOH 로 pH 를 3.0 으로 조정한 다음, 부피를 충분히 하고, 0.22 μ 필터로 필터 멸균하였다.
pCL PtrcUpperMVA 및 pTrc KKDyIkIS 플라스미드를 함유하는 BL21 (DE3) E. 콜라이 세포로 15 L 생물반응기에서 발효를 수행하였다. 상기 실험을 바람직한 발효 pH 7.0 및 온도 30℃ 에서 전화당으로부터 이소프렌 형성을 모니터링 하기 위해 실시하였다. 동결 바이알로부터 채취한 E. 콜라이 균주의 접종물을 LB 브로쓰 아가 플레이트 (항생제 있음) 상에 스트리킹하고 37℃ 에서 인큐베이션하였다. 단일 콜로니를 트립톤-효모 추출물 배지 내로 접종하였다. 550 nm 에서 측정하였을 때 접종물이 OD 1.0 까지 성장한 후, 500 mL 을 5 L 생물반응기에 접종하는데 사용하였다.
세포가 정지상에 도달할 때까지 전화당을 기하급수적 속도로 공급하였다. 이 후 전화당 공급량을 감소시켜 대사 요구를 충족시켰다. 44 시간 발효 동안 생물반응기에 전달되는 전화당의 총 양은 2.4 kg 이었다. IPTG 를 첨가하여 유도를 달성하였다. 550 nm 에서의 광학 밀도 (OD550) 가 9 의 값에 도달하였을 때 IPTG 농도를 25 uM 로 하였다. OD550 이 200 에 도달하였을 때 IPTG 농도를 50 uM 로 증가시켰다. 시간에 따른 생물반응기 내 OD550 프로파일을 도 96 에 제시한다. 생물반응기로부터의 배출 기체 내 이소프렌 수준을 본원에 기재된 바와 같이 측정하였다. 이소프렌 적정농도는 발효 과정 동안 최종 값 2.4 g/L 로 증가되었다 (도 97). 44 시간 발효 동안 제조되는 이소프렌의 총 양은 18.4 g 이었고, 제조 시간 과정은 도 98 에 제시된다. 발효 동안 이소프렌 제조에 투입된 이용된 탄소의 몰 수율은 1.7% 였다. 글루코오스로부터의 이소프렌의 중량% 수율은 0.8% 였다.
실시예 9. 바실러스 서브틸리스 내로의 통합을 위한 상위 및 하위 MVA 경로의 구축
I. 바실러스 서브틸리스 내 상위 MVA 경로의 구축
엔테로코쿠스 파에칼리스 (Enterococcus faecalis) 로부터의 상위 경로를 aprE 프로모터의 통제 하에서 B. 서브틸리스 내로 통합한다. 상위 경로는 2 개의 유전자; AACT 및 HMGR 을 코딩하는 mvaE, 및 HMGS 를 코딩하는 mvaS 로 이루어진다. 2 개의 유전자를 mvaS 앞의 RBS 부위 사이에 정지 코돈과 함께 융합하고, aprE 프로모터의 통제 하에 두었다. 터미네이터를 mvaE 유전자 뒤에 위치시켰다. 클로르암페니콜 내성 마커를 mvaE 유전자 후에 클로닝하고, 구축물을 상동성 측면 영역을 사용하여 이중 체크에 의해 aprE 유전자좌에 통합시킨다.
4 개의 DNA 분절을 PCR 반응에 의해 서로 융합되도록 하게 할 돌출부를 함유하도록 PCR 에 의해 증폭시킨다. PCR 증폭을 제조자의 지침에 따라 헤르큘라아제 폴리머라아제를 사용하여 실시한다.
1. PaprE
CF 07-134 (+) aprE 프로모터 PstI 의 출발
5'- GACATCTGCAGCTCCATTTTCTTCTGC (SEQ ID NO: 82)
CF 07-94 (-) mvaE 에 PaprE 를 융합시킴
5'- CAATAATAACTACTGTTTTCACTCTTTACCCTCTCCTTTTAA (SEQ ID NO: 83)
주형: 바실러스 서브틸리스 염색체 DNA
2. mvaE
CF 07-93 (+) aprE 프로모터에 mvaE 를 융합시킴 (GTG 출발 코돈)
5'- TTAAAAGGAGAGGGTAAAGAGTGAAAACAGTAGTTATTATTG (SEQ ID NO: 84)
CF 07-62 (-) 사이에 RBS 를 두고 mvaS 에 mvaE 를 융합시킴
5'- TTTATCAATCCCAATTGTCATGTTTTTTTACCTCCTTTATTGTTTTCTTAAATC
(SEQ ID NO:35)
주형: 엔테로코쿠스 파에칼리스 염색체 DNA (ATCC 로부터)
3. mvaS
CF 07-61 (+) 사이에 RBS 를 두고 mvaS 에 mvaE 를 융합시킴
5'-GATTTAAGAAAACAATAAAGGAGGTAAAAAAACATGACAATTGGGATTGATAAA (SEQ ID NO:36)
CF 07-124 (-) 터미네이터에 mvaS 의 말단을 융합시킴
5'- CGGGGCCAAGGCCGGTTTTTTTTAGTTTCGATAAGAACGAACGGT (SEQ ID NO:85)
주형: 엔테로코쿠스 파에칼리스 염색체 DNA
4. B. 아밀리퀘파시엔스 알칼리 세린 프로테아제 터미네이터
CF 07-123 (+) 터미네이터에 mvaS 의 말단을 융합시킴
5'- ACCGTTCGTTCTTATCGAAACTAAAAAAAACCGGCCTTGGCCCCG (SEQ ID NO:86)
CF 07-46 (-) B. 아밀리퀘파시엔스 터미네이터 BamH1 의 말단
5'- GACATGACGGATCCGATTACGAATGCCGTCTC (SEQ ID NO:63)
주형: 바실러스 아밀리퀘파시엔스 염색체 DNA
PCR 융합 반응
5. mvaS 에 mvaE 를 융합시킴
CF 07-93 (+) aprE 프로모터에 mvaE 를 융합시킴 (GTG 출발 코돈)
5'- TTAAAAGGAGAGGGTAAAGAGTGAAAACAGTAGTTATTATTG (SEQ ID NO: 84)
CF 07-124 (-) 터미네이터에 mvaS 의 말단을 융합시킴
5'- CGGGGCCAAGGCCGGTTTTTTTTAGTTTCGATAAGAACGAACGGT (SEQ ID NO:85)
주형: 상기로부터의 #2 및 3
6. aprE 프로모터에 mvaE-mvaS 를 융합시킴
CF 07-134 (+) aprE 프로모터 PstI 의 출발
5'- GACATCTGCAGCTCCATTTTCTTCTGC (SEQ ID NO: 82)
CF 07-124 (-) 터미네이터에 mvaS 의 말단을 융합시킴
5'- CGGGGCCAAGGCCGGTTTTTTTTAGTTTCGATAAGAACGAACGGT (SEQ ID NO:85)
주형: 상기로부터의 #1 및 #4
7. 터미네이터에 PaprE-mvaE-mvaS 를 융합시킴
CF 07-134 (+) aprE 프로모터 PstI 의 출발
5'- GACATCTGCAGCTCCATTTTCTTCTGC (SEQ ID NO: 82)
CF 07-46 (-) B. 아밀리퀘파시엔스 터미네이터 BamH1 의 말단
5'- GACATGACGGATCCGATTACGAATGCCGTCTC (SEQ ID NO:63)
주형: #4 및 #6
생성물을 제한 엔도뉴클레아제 PstI/BamH1 로 소화시키고, PstI/BamH1 로 소화된 pJM102 에 라이게이션시켰다 (Perego, M. 1993. Integrational vectors for genetic manipulation in Bacillus subtilis, p. 615-624. In A. L. Sonenshein, J. A. Hoch, and R. Losick (ed.), Bacillus subtilis and other gram-positive bacteria: biochemistry, physiology, and molecular genetics. American Society for Microbiology, Washington,D.C.). 라이게이션을 E. 콜라이 TOP 10 화학적으로 수용능이 된 세포 내로 형질전환시키고, 형질전환체를 카르베니실린 (50 ㎍/ml) 을 함유하는 LA 상에서 선별한다. 서열분석에 의해 올바른 플라스미드를 확인하고, pJMUpperpathway2 (도 50 및 51) 로 지정한다. 정제된 플라스미드 DNA 를 바실러스 서브틸리스 aprEnprE Pxy1-comK 내로 형질전환시키고, 형질전환체를 클로르암페니콜 (5 ㎍/ml) 을 함유하는 L 아가 상에서 선별한다. 올바른 콜로니를 선별하고, 이어서 클로르암페니콜 10, 15 및 25 ㎍/ml 을 함유하는 L 아가 상에 플레이팅하여, 상위 경로를 함유하는 카세트의 카피 수를 증폭시킨다.
수득된 균주를 1% 글루코오스 및 1% 를 함유하는 LB 에서 성장시킴으로써 메발론산 제조에 대해 시험한다. 배양물을 메발론산의 제조에 대해 GC 에 의해 분석한다.
이어서 상기 균주를 하위 메발론산 경로의 통합을 위한 숙주로서 사용한다.
하기 프라이머를 상기 다양한 구축물을 서열분석하는데 사용하였다.
서열분석 프라이머:
CF 07-134 (+) aprE 프로모터 PstI 의 출발
5'- GACATCTGCAGCTCCATTTTCTTCTGC (SEQ ID NO: 82)
CF 07-58 (+) mvaE 유전자의 출발
5'- ATGAAAACAGTAGTTATTATTGATGC (SEQ ID NO:38)
CF 07-59 (-) mvaE 유전자의 말단
5'- ATGTTATTGTTTTCTTAAATCATTTAAAATAGC (SEQ ID NO:39)
CF 07-82 (+) mvaS 유전자의 출발
5'- ATGACAATTGGGATTGATAAAATTAG (SEQ ID NO:40)
CF 07-83 (-) mvaS 유전자의 말단
5'- TTAGTTTCGATAAGAACGAACGGT (SEQ ID NO:41)
CF 07-86 (+) mvaE 내 서열
5'- GAAATAGCCCCATTAGAAGTATC (SEQ ID NO:42)
CF 07-87 (+) mvaE 내 서열
5'- TTGCCAATCATATGATTGAAAATC (SEQ ID NO:43)
CF 07-88 (+) mvaE 내 서열
5'- GCTATGCTTCATTAGATCCTTATCG (SEQ ID NO:44)
CF 07-89 (+) 서열 mvaS
5'- GAAACCTACATCCAATCTTTTGCCC (SEQ ID NO:45)
형질전환체를 5 ㎍/ml 의 농도로 클로르암페니콜을 함유하는 LA 상에서 선별한다. 하나의 콜로니를 서열분석에 의해 올바른 통합을 갖는지를 확인하고, 수 일에 걸쳐 클로르암페니콜의 농도를 25 ㎍/ml 의 최종 수준으로 증가시켜 함유하는 LA 상에 플레이팅한다. 이것은 관심의 유전자를 함유하는 카세트를 증폭시킨다. 수득된 균주를 CF 455: pJMupperpathway#1 X Bacillus subtilis aprEnprE Pxyl comK 로 지정한다 (클로르암페니콜 25 ㎍/ml 을 함유하는 LA 상에서 성장시키기 위해 증폭됨).
II. 바실러스 서브틸리스 내 하위 MVA 경로의 구축
유전자 mvk1, pmk, mpd 및 idi 로 이루어진 하위 MVA 경로를 B. 서브틸리스 염색체 (통합 부위) 의 nprE 영역으로부터의 측면 DNA 영역, aprE 프로모터, 및 스펙티노마이신 내성 마커 (도 28 및 29 참조) 로 이루어진 카세트에 조합한다. 상기 카세트를 DNA2.0 에 의해 합성하고, aprE 유전자좌에 통합된 상위 MVA 경로를 함유하는 B. 서브틸리스의 염색체 내에 통합한다. kudzu 이소프렌 합성효소 유전자를 실시예 4 에 기재된 복제 플라스미드로부터 발현시키고, 통합된 상위 및 하위 경로 모두를 갖는 균주 내로 형질전환시킨다.
실시예 10: 예시적 이소프렌 조성물 및 이의 제조 방법
I. 이소프렌 함유 발효 방출-기체의 조성 분석
14 L 규모 발효를 이소프레노이드 전구체 생합성에 대한 전체 메발로네이트 경로, 효모로부터의 이소프레닐 피로포스페이트 이소머라아제, 및 Kudzu 로부터의 이소프렌 합성효소를 코딩하는 2 개의 플라스미드 (pCL upperMev; pTrcKKDyIkIS) 를 함유하는 재조합 E. 콜라이 BL21 (DE3) 균주로 수행하였다. 14 L 탱크로부터의 발효 방출-기체를 피크 이소프렌 생산성 시간 (27.9 시간 경과 발효 시간, "EFT") 근처에 20 mL 상부공간 바이알 내에 수집하고, 휘발성 성분에 대해 상부공간 GC/MS 에 의해 분석한다.
상부공간 분석을 Agilent HP-5MS GC/MS 컬럼 (30 m × 250 ㎛; 0.25 ㎛ 필름 두께) 이 장착된 Agilent 6890 GC/MS 시스템으로 수행하였다. 20 mL 상부공간 바이알로부터 500 uL 분취액을 샘플링하기 위해 combiPAL 자동주입기를 사용하였다. GC/MS 방법은 헬륨을 운반 기체로서 1 mL/분의 흐름으로 이용하였다. 주입 포트를 250℃ 에서 50:1 의 분할 비로 유지하였다. 오븐 온도를 37℃ 에서 초기 2 분 기간에서 유지한 후, 10 분의 총 방법 시간 동안 25℃/분의 속도로 237℃ 로 증가시켰다. Agilent 5793N 질량 선택 검출기는 m/z 29 에서 m/z 300 으로 스캐닝하였다. 상기 시스템의 검출 한계는 대략 0.1 ug/L기체 또는 대략 0.1 ppm 이다. 바람직한 경우, 낮은 검출 한계를 갖는 더욱 민감한 장비를 사용할 수 있다.
방출-기체는 99.925 % (v/v) 영구 기체 (N2, CO2 및 O2), 대략 0.075% 이소프렌 (2-메틸-1,3-부타디엔) (~750 ppmv, 2100 ㎍/L) 및 소량 (<50 ppmv) 의 에탄올, 아세톤, 및 2 개의 C5 프레닐 알코올로 이루어졌다. 수증기의 양은 측정하지는 않았으나, 0℃ 에서의 평형 증기압과 동일한 것으로 추정되었다. 휘발성 유기 분획의 조성을 GC/MS 크로마토그램 내 피크 하 면적의 적분 (도 86A 및 86B) 에 의해 측정하고, 표 6 에 나열한다. 에탄올 및 아세톤 표준에 대한 검정 곡선은 표준 방법을 사용하여 GC 면적의 기상 농도로의 전환 (단위 ug/L) 을 가능하게 하였다.
표 6. 발효 방출-기체 내 휘발성 유기 성분의 조성. 방출-기체를 이종 메발로네이트 경로, 효모로부터의 이소프레닐 피로포스페이트 이소머라아제, 및 Kudzu 로부터의 이소프렌 합성효소를 발현하는 E. 콜라이 BL21 (DE3) 균주를 사용하는 발효의 27.9 시간 시점에 분석하였다.
Figure pct00007
II. 재조합 E. 콜라이 균주의 발효 동안 이소프렌과 동시 제조되는 미량 휘발성 유기 화합물 (VOC) 의 측정
14 L 규모 발효를 이소프레노이드 전구체 생합성에 대한 전체 메발로네이트 경로, 효모로부터의 이소프레℃닐 피로포스페이트 이소머라아제, 및 Kudzu 로부터의 이소프렌 합성효소를 코딩하는 2 개의 플라스미드 (pCL upperMev; pTrcKKDyIkIS) 를 함유하는 재조합 E. 콜라이 BL21 (DE3) 균주로 수행하였다.
발효 방출-기체를 농축을 위해 냉각 상부공간 바이알을 통해 통과시키고, 미량의 휘발성 유기 성분을 확인하였다. 상기 발효로부터의 방출-기체를 석영솜 (2 g) 으로 패킹한 20 mL 상부공간 바이알을 통해 10 분 동안 1 L/분의 속도로 샘플링하고, 드라이 아이스로 -78℃ 로 냉각시켰다. 바이알을 새로운 비닐 캡으로 다시 캡을 씌우고, 실시예 10, 파트 I 에 기재된 조건을 사용하여 트랩된 VOC 에 대해 상부공간 GC/MS 에 의해 분석하였다. 도 87A-87D 에 관찰된 화합물의 비는 발효 방출-기체, -78℃ 에서의 상대적 증기압, 및 질량분석기의 검출기 반응의 전체적 수준의 조합이다. 예를 들어, 산화된 휘발물질 (예를 들어, 아세톤 및 에탄올) 에 대한 이소프렌의 낮은 수준은 -78℃ 에서 상부공간 바이알에 축적되지 않는 정도의 상기 물질의 높은 휘발성의 작용이다.
많은 상기 화합물의 존재는 생물학적 공급원으로부터 유도된 이소프렌 조성물에 독특한 것이다. 결과는 도 87A-87D 에 묘사되어 있고, 표 7A 및 7B 에 요약된다.
표 7A: - 78℃ 에서 저온- 트랩핑 후 E. 콜라이 BL21 ( DE3 ) ( pCL upperMev ; pTrcKKDyIkIS) 에 의해 제조된 방출-기체 내 존재하는 미량 휘발물질.
Figure pct00008
1GC 면적은 열거된 화합물에 상응하는 피크 하의 비-교정된 면적이다.
2면적 % 는 모든 화합물의 총 피크 면적에 상대적인 % 로서 표현되는 피크 면적이다.
3비율 % 는 2-메틸-1,3-부타디엔의 피크 면적에 상대적인 % 로서 표현되는 피크 면적이다.
표 7B. - 196℃ 에서 저온- 트랩핑 후 E. 콜라이 BL21 ( DE3 ) ( pCL upperMev ; pTrcKKDyIkIS) 에 의해 제조된 방출-기체 내 존재하는 미량 휘발물질.
Figure pct00009
1GC 면적은 열거된 화합물에 상응하는 피크 하의 비-교정된 면적이다.
2면적 % 는 모든 화합물의 총 피크 면적에 상대적인 % 로서 표현되는 피크 면적이다.
3비율 % 는 2-메틸-1,3-부타디엔의 피크 면적에 상대적인 % 로서 표현되는 피크 면적이다.
III. 발효로부터 유도된 이소프렌 내 C5 탄화수소 이성질체의 부재.
발효 방출-기체에 존재하는 이소프렌의 저온-트랩핑을 액체 질소에 냉각된 2 mL 상부공간 바이알을 사용하여 수행하였다. 방출-기체 (1 L/분) 를 먼저, 2 mL 바이알 (-196℃) 내 얼음 및 고체 CO2 의 축적을 최소화하기 위해 수산화나트륨 펠렛을 함유하는 20 mL 바이알을 통해 통과시켰다. 대략 10 L 의 방출-기체를 바이알을 통해 통과시키고, 그 후 이것을 배출로 -78℃ 로 가온시킨 후, 새로운 바이알 캡으로 다시 밀폐하고 GC/MS 에 의해 분석하였다.
GC/MS 상부공간 분석을 상부공간 방식으로 100 uL 기체 타이트 주사기를 사용하는 Agilent 6890 GC/MS 시스템으로 수행하였다. Zebron ZB-624 GC/MS 컬럼 (30 m × 250 ㎛; 1.40 ㎛ 필름 두께) 을 분석물 분리를 위해 사용하였다. GC 자동주입기에 기체-타이트 100 uL 주사기를 장착시키고, 바늘 높이를 조절하여 2 mL GC 바이알로부터 50 uL 상부공간 샘플을 주사하였다. GC/MS 방법은 헬륨을 운반 기체로서 1 mL/분의 흐름으로 이용하였다. 주입 포트를 200℃ 에서 20:1 의 분할 비로 유지하였다. 오븐 온도를 37℃ 에서 5 분 분석 기간 동안 유지하였다. Agilent 5793N 질량 선택 검출기는 m/z 55, 66, 67 및 70 에서 단일 이온 모니터링 (SIM) 방식으로 실행하였다. 상기 조건 하에서, 이소프렌은 2.966 분에 용리되는 것으로 관찰되었다 (도 88B). 석유 유도 이소프렌의 표준 (Sigma-Aldrich) 을 또한 상기 방법을 사용하여 분석하였고, 주 피크 바로 전 또는 후에 용리되고 교정된 GC 면적에 근거하여 정량화된 부가적인 C5 탄화수소 이성질체를 함유하는 것으로 발견되었다 (도 88A).
표 8A: 석유-유도 이소프렌의 GC / MS 분석
Figure pct00010
표 8B: 발효-유도 이소프렌 (% 총 C5 탄화수소) 의 GC / MS 분석
Figure pct00011
별도의 실험에서, 검출기 반응이 각 화합물에 대해 동일하였는지를 측정하기 위해 C5 탄화수소의 표준 혼합물을 분석하였다. 화합물은 2-메틸-1-부텐, 2-메틸- 1,3-부타디엔, (E)-2-펜텐, (Z)-2-펜텐 및 (E)-1,3-펜타디엔이었다. 이 경우, 분석을 50℃ 에서 15 분 동안 유지된 Agilent DB-Petro 컬럼 (100 m × 0.25 mm, 0.50 um 필름 두께) 상에서 수행하였다. GC/MS 방법은 헬륨을 운반 기체로서 1 mL/분의 흐름으로 이용하였다. 주입 포트를 200℃ 에서 50:1 의 분할 비로 유지하였다. Agilent 5793N 질량 선택 검출기는 m/z 19 에서 m/z 250 까지의 전체 스캔 방식으로 실행하였다. 상기 조건하에서, 각각의 표준의 100 ug/L 농도는 실험 오차 내에서 동일한 검출기 반응을 산출하였다.
IV. 고상에 흡착된 이소프렌을 포함하는 조성물.
생물학적으로 제조된 이소프렌을 활성탄에 흡착시켜 50 내지 99.9% 탄소, 0.1% 내지 50% 이소프렌, 0.01% 내지 5% 물, 및 미량 (<0.1%) 의 기타 휘발성 유기 성분을 함유하는 고상을 산출하였다.
발효 방출-기체를 0℃ 로 유지된 구리 응축 코일을 통과시킨 후, 수증기를 제거하기 위해 과립화된 실리카 건조제 필터에 적용하였다. 탈습된 방출-기체를 이소프렌의 초기흡착포화선이 GC/MS 에 의해 필터 배기관에서 검출되는 지점까지 탄소 함유 필터 (Koby Jr, Koby Filters, MA) 를 통과시켰다. 카트리지에 흡착된 이소프렌의 양은 수집 기간에 걸친 방출-기체 내 농도, 전체 흐름 속도 및 % 초기흡착포화를 계산함으로써 간접적으로 측정될 수 있다. 대안적으로는 흡착된 이소프렌은 열, 진공 또는 용매-매개 탈착에 의해 필터로부터 회수할 수 있다.
V. 응축 이소프렌의 수집 및 분석.
발효 방출-기체를 탈습시키고, 적합한 흡착제 (예를 들어, 아스카라이트) 를 통해 여과에 의해 CO2 를 제거하였다. 그 다음 수득된 방출-기체 스트림을 스트림 내 VOC 를 축합시키기 위해 액체 질소-냉각 콘덴서를 통과시켰다. 수집 용기는 수득된 이소프렌 축합물을 억제시키기 위해 t-부틸 카테콜을 함유한다. 표준 방법, 예컨대 본원에 기재된 방법을 사용하여 순도를 측정하기 위해 축합물을 GC/MS 및 NMR 에 의해 분석하였다.
VI. 발효에 의한 프레닐 알코올의 제조
Kudzu 이소프렌 합성효소를 발현하는 E. 콜라이 BL21 (DE3) 균주로부터의 방출-기체의 분석은 이소프렌 및 3-메틸-3-부텐-1-올 (이소프레놀) 모두의 존재하에서 밝혀졌다. 발효에 걸친 발효 방출-기체 내 2 개 화합물의 수준은 상부공간 GC/MS 에 의해 측정되는 바와 같이 도 89 에 제시된다. 획득된 이소프레놀 (3-메틸-3-부텐-1-올, 3-MBA) 의 수준은 이 실험에서 거의 10 ug/L방출기체 였다. 부가적인 실험으로 발효 방출-기체 내 대략 20 ug/L방출기체 의 수준을 제조하였다.
실시예 11: 공급-배치식 배양물에서 발효되고 메발론산 경로로부터의 유전자를 발현하는 E. 콜라이 내 이소프렌의 성장 및 제조의 분리
실시예 11 은 이소프렌 제조 및 메발론산으로부터의 세포 성장 분리를 나타낸다.
I. 발효 조건
배지 구성 (발효 배지 1 리터 당):
발효 배지 1 리터 당 하기 성분을 사용하여 배지를 제조하였다: K2HPO4 7.5 g, MgSO4 * 7H2O 2 g, 구연산 1 수화물 2 g, 철 암모늄 시트레이트 0.3 g, 효모 추출물 0.5 g, 및 1000× 개질 미량 금속 용액 (Modified Trace Metal Solution) 1 ml. 모든 성분을 함께 첨가하고, diH2O 에 용해하였다. 상기 용액을 오토클레이브하였다. 수산화암모늄 (30%) 으로 pH 를 7.0 로 조정하고, 부피를 충분량으로 하였다. 멸균 및 pH 조정 후에 글루코오스 10 g, 티아민 * HCl 0.1 g, 및 항생제를 첨가하였다.
1000× 개질 미량 금속 용액 (Modified Trace Metal Solution):
1000× 개질 미량 금속 용액을 하기 성분을 사용하여 제조하였다: 구연산 * H2O 40 g, MnSO4 * H2O 30 g, NaCl 10 g, FeSO4 * 7H2O 1 g, CoCl2 * 6H2O 1 g, ZnSO * 7H2O 1 g, CuSO4 * 5H2O 100 mg, H3BO3 100 mg, 및 NaMoO4 * 2H2O 100 mg. 각 성분을 diH2O 에 한번에 용해하고, HCl/NaOH 로 pH 를 3.0 으로 조정한 다음, 부피를 충분히 하고, 0.22 μ 필터로 필터 멸균하였다.
pTrcHis2AUpperPathway (또는 pTrcUpperMVA 로 불림, 도 91 및 92A-92C) (50 ㎍/ml 카르베니실린) 또는 pCL PtrcUpperMVA (또한 pCL PtrcUpperPathway 로 불림 (도 26)) (50 ㎍/ml 스펙티노마이신) 플라스미드를 함유하는 E. 콜라이 세포로 발효를 수행하였다. 이소프렌이 제조되는 실험을 위해, E. 콜라이 세포에는 또한 pTrc KKDyIkIS (50 ㎍/ml 카나마이신) 플라스미드가 함유된다. 상기 실험을 바람직한 발효 pH 7.0 및 온도 30℃ 에서 글루코오스로부터 메발론산 또는 이소프렌 형성을 모니터링 하기 위해 실시하였다. 동결 바이알로부터 채취한 E. 콜라이 균주의 접종물을 LB 브로쓰 아가 플레이트 (항생제 있음) 상에 스트리킹하고 37℃ 에서 인큐베이션하였다. 단일 콜로니를 트립톤-효모 추출물 배지 내로 접종하였다. 550 nm 에서 측정하였을 때 접종물이 광학 밀도 1.0 까지 성장한 후, 이것을 생물반응기에 접종하는데 사용하였다.
세포가 정지상에 도달할 때까지 글루코오스를 기하급수적 속도로 공급하였다. 이 후 글루코오스 공급량을 감소시켜 대사 요구를 충족시켰다. IPTG 를 첨가하여 유도를 달성하였다. 과염소산 (Sigma-Aldrich # 244252) 처리된 샘플 (0.3 M, 4℃ 에서 5 분 동안 인큐베이션됨) 을 유기산 HPLC 컬럼 (BioRad # 125-0140) 에 적용하여 발효 브로쓰 내 메발론산 농도를 측정하였다. 브로쓰 메발론산 피크 크기를 D,L-메발로네이트를 형성하기 위해 과염소산이 처리된 메발로놀아세톤 (Sigma-Aldrich # M4667) 으로부터 발생되는 검정 곡선과 비교하여 농도를 측정하였다. 생물반응기로부터의 방출-기체 내 이소프렌 수준을 본원에 기재된 바와 같이 측정하였다. 이소프렌 적정농도를 발효 브로쓰 1 리터 당 제조되는 이소프렌의 양으로서 정의한다.
II. 150 L 규모에서 pTrcUpperMVA 플라스미드를 발현하는 E. 콜라이 BL21 (DE3) 세포로부터의 메발론산 제조
실시예 11, 파트 I 에서 상기 설명된 바와 같이 플레이트 상에서 성장한 BL21 (DE3) 세포를 45 mL 의 트립톤-효모 추출물 배지를 함유하는 플라스크 내에 접종하고, 170 rpm 으로 진탕하면서 30℃ 에서 5 시간 동안 인큐베이션하였다. 상기 용액을 트립톤-효모 추출물 배지의 5 L 생물반응기로 옮기고, 배양물의 OD550 이 1.0 에 도달할 때까지 세포를 27.5 rpm 으로 30℃ 에서 성장시켰다. 5 L 의 접종물을 45 kg 의 배지를 함유하는 150 L 생물반응기 내에 시딩하였다. OD550 이 10 의 값에 도달하였을 때 IPTG 농도를 1.1 mM 로 하였다. 시간에 따른 생물반응기 내 OD550 프로파일을 도 60A 에 제시한다. 메발론산 적정농도를 발효 과정에 따라 최종 값 61.3 g/L (도 60B) 으로 증가시켰다. 발효 동안의 특이적 생산성 프로파일은 도 60C 에 제시되어 있고, 도 60A 와의 비교는 성장과 메발론산 제조의 분리를 증명한다. 52.5 시간 발효 동안 제조된 메발론산의 총 양은 이용된 글루코오스 14.1 kg 으로부터 4.0 kg 이었다. 발효 동안 메발론산 제조에 투입된 이용된 탄소의 몰 수율은 34.2% 였다.
III. 15 L 규모에서 pTrcUpperMVA 플라스미드를 발현하는 E. 콜라이 BL21 (DE3) 세포로부터의 메발론산 제조
실시예 11, 파트 I 에서 상기 설명된 바와 같이 플레이트 상에서 성장한 BL21 (DE3) 세포를 500 mL 의 트립톤-효모 추출물 배지를 함유하는 플라스크 내에 접종하고, 160 rpm 으로 30℃ 에서 OD550 이 1.0 이 될 때까지 성장시켰다. 상기 물질을 4.5 kg 의 배지를 함유하는 15 L 생물반응기 내에 시딩하였다. OD550 이 10 의 값에 도달하였을 때 IPTG 농도를 1.0 mM 로 하였다. 시간에 따른 생물반응기 내 OD550 프로파일을 도 61A 에 제시한다. 메발론산 적정농도를 발효 과정에 따라 최종 값 53.9 g/L (도 61B) 으로 증가시켰다. 발효 동안의 특이적 생산성 프로파일은 도 61C 에 제시되어 있고, 도 61A 와의 비교는 성장과 메발론산 제조의 분리를 증명한다. 46.6 시간 발효 동안 제조된 메발론산의 총 양은 이용된 글루코오스 2.1 kg 으로부터 491 g 이었다. 발효 동안 메발론산 제조에 투입된 이용된 탄소의 몰 수율은 28.8% 였다.
IV. 15 L 규모에서 pTrcUpperMVA 플라스미드를 발현하는 E. 콜라이 FM5 세포로부터의 메발론산 제조
실시예 11, 파트 I 에서 상기 설명된 바와 같이 플레이트 상에서 성장한 FM5 세포를 500 mL 의 트립톤-효모 추출물 배지를 함유하는 플라스크 내에 접종하고, 160 rpm 으로 30℃ 에서 OD550 이 1.0 이 될 때까지 성장시켰다. 상기 물질을 4.5 kg 의 배지를 함유하는 15 L 생물반응기 내에 시딩하였다. OD550 이 30 의 값에 도달하였을 때 IPTG 농도를 1.0 mM 로 하였다. 시간에 따른 생물반응기 내 OD550 프로파일을 도 62A 에 제시한다. 메발론산 적정농도를 발효 과정에 따라 최종 값 23.7 g/L (도 62B) 으로 증가시켰다. 발효 동안의 특이적 생산성 프로파일은 도 62C 에 제시되어 있고, 도 62A 와의 비교는 성장과 메발론산 제조의 분리를 증명한다. 51.2 시간 발효 동안 제조된 메발론산의 총 양은 이용된 글루코오스 1.1 kg 으로부터 140 g 이었다. 발효 동안 메발론산 제조에 투입된 이용된 탄소의 몰 수율은 15.2% 였다.
V. 15 L 규모에서 pCL PtrcUpperMVA 및 pTrc KKDyIkIS 플라스미드를 발현하는 E. 콜라이 BL21 (DE3) 세포로부터의 이소프렌 제조
실시예 11, 파트 I 에서 상기 설명된 바와 같이 플레이트 상에서 성장한 pCL PtrcUpperMVA 및 pTrc KKDyIkIS 플라스미드를 발현하는 BL21 (DE3) 세포를 500 mL 의 트립톤-효모 추출물 배지를 함유하는 플라스크 내에 접종하고, 160 rpm 으로 30℃ 에서 OD550 이 1.0 이 될 때까지 성장시켰다. 상기 물질을 4.5 kg 의 배지를 함유하는 15 L 생물반응기 내에 시딩하였다. OD550 이 10 의 값에 도달하였을 때 IPTG 농도를 25 μM 로 하였다. OD550 이 190 에 도달하였을 때 IPTG 농도를 50 uM 로 증가시켰다. 발효 38 시간에 IPTG 농도를 100 uM 로 상승시켰다. 시간에 따른 생물반응기 내 OD550 프로파일을 도 63A 에 제시한다. 이소프렌 적정농도를 발효 과정에 따라 최종 값 2.2 g/L 브로쓰 (도 63B) 로 증가시켰다. 발효 동안의 특이적 생산성 프로파일은 도 63C 에 제시되어 있고, 도 63A 와의 비교는 성장과 이소프렌 제조의 분리를 증명한다. 54.4 시간 발효 동안 제조된 이소프렌의 총 양은 이용된 글루코오스 2.3 kg 으로부터 15.9 g 이었다. 발효 동안 이소프렌 제조에 투입된 이용된 탄소의 몰 수율은 1.53% 였다.
VI. 15 L 규모에서 pCL PtrcUpperMVA 및 pTrc KKDyIkIS 플라스미드를 발현하는 E. 콜라이 BL21 (DE3) 튜너 세포로부터의 이소프렌 제조
실시예 11, 파트 I 에서 상기 설명된 바와 같이 플레이트 상에서 성장한 pCL PtrcUpperMVA 및 pTrc KKDyIkIS 플라스미드를 발현하는 BL21 (DE3) 튜너 세포를 500 mL 의 트립톤-효모 추출물 배지를 함유하는 플라스크 내에 접종하고, 160 rpm 으로 30℃ 에서 OD550 이 1.0 이 될 때까지 성장시켰다. 상기 물질을 4.5 kg 의 배지를 함유하는 15 L 생물반응기 내에 시딩하였다. OD550 이 10 의 값에 도달하였을 때 IPTG 농도를 26 μM 로 하였다. OD550 이 175 에 도달하였을 때 IPTG 농도를 50 uM 로 증가시켰다. 시간에 따른 생물반응기 내 OD550 프로파일을 도 64A 에 제시한다. 이소프렌 적정농도를 발효 과정에 따라 최종 값 1.3 g/L 브로쓰 (도 64B) 로 증가시켰다. 발효 동안의 특이적 생산성 프로파일은 도 64C 에 제시되어 있고, 도 64A 와의 비교는 성장과 이소프렌 제조의 분리를 증명한다. 48.6 시간 발효 동안 제조된 이소프렌의 총 양은 이용된 글루코오스 1.6 kg 으로부터 9.9 g 이었다. 발효 동안 이소프렌 제조에 투입된 이용된 탄소의 몰 수율은 1.34% 였다.
VII. 15 L 규모에서 pCL PtrcUpperMVA 및 pTrc KKDyIkIS 플라스미드를 발현하는 E. 콜라이 MG1655 세포로부터의 이소프렌 제조
실시예 11, 파트 I 에서 상기 설명된 바와 같이 플레이트 상에서 성장한 pCL PtrcUpperMVA 및 pTrc KKDyIkIS 플라스미드를 발현하는 MG1655 세포를 500 mL 의 트립톤-효모 추출물 배지를 함유하는 플라스크 내에 접종하고, 160 rpm 으로 30℃ 에서 OD550 이 1.0 이 될 때까지 성장시켰다. 상기 물질을 4.5 kg 의 배지를 함유하는 15 L 생물반응기 내에 시딩하였다. OD550 이 45 의 값에 도달하였을 때 IPTG 농도를 24 μM 로 하였다. 시간에 따른 생물반응기 내 OD550 프로파일을 도 65A 에 제시한다. 이소프렌 적정농도를 발효 과정에 따라 최종 값 393 mg/L 브로쓰로 증가시켰다 (도 65B). 발효 동안의 특이적 생산성 프로파일은 도 65C 에 제시되어 있고, 도 65A 와의 비교는 성장과 이소프렌 제조의 분리를 증명한다. 67.4 시간 발효 동안 제조된 이소프렌의 총 양은 이용된 글루코오스 520 g 으로부터 2.2 g 이었다. 발효 동안 이소프렌 제조에 투입된 이용된 탄소의 몰 수율은 0.92% 였다.
VIII. 15 L 규모에서 pCL PtrcUpperMVA 및 pTrc KKDyIkIS 플라스미드를 발현하는 E. 콜라이 MG1655ack-pta 세포로부터의 이소프렌 제조
실시예 11, 파트 I 에서 상기 설명된 바와 같이 플레이트 상에서 성장한 pCL PtrcUpperMVA 및 pTrc KKDyIkIS 플라스미드를 발현하는 MG1655ack-pta 세포를 500 mL 의 트립톤-효모 추출물 배지를 함유하는 플라스크 내에 접종하고, 160 rpm 으로 30℃ 에서 OD550 이 1.0 이 될 때까지 성장시켰다. 상기 물질을 4.5 kg 의 배지를 함유하는 15 L 생물반응기 내에 시딩하였다. OD550 이 10 의 값에 도달하였을 때 IPTG 농도를 30 μM 로 하였다. 시간에 따른 생물반응기 내 OD550 프로파일을 도 66A 에 제시한다. 이소프렌 적정농도를 발효 과정에 따라 최종 값 368 mg/L 브로쓰로 증가시켰다 (도 66B). 발효 동안의 특이적 생산성 프로파일은 도 66C 에 제시되어 있고, 도 66A 와의 비교는 성장과 이소프렌 제조의 분리를 증명한다. 56.7 시간 발효 동안 제조된 이소프렌의 총 양은 이용된 글루코오스 531 g 으로부터 1.8 g 이었다. 발효 동안 이소프렌 제조에 투입된 이용된 탄소의 몰 수율은 0.73% 였다.
IX. 15 L 규모에서 pCL PtrcUpperMVA 및 pTrc KKDyIkIS 플라스미드를 발현하는 E. 콜라이 FM5 세포로부터의 이소프렌 제조
실시예 11, 파트 I 에서 상기 설명된 바와 같이 플레이트 상에서 성장한 pCL PtrcUpperMVA 및 pTrc KKDyIkIS 플라스미드를 발현하는 FM5 세포를 500 mL 의 트립톤-효모 추출물 배지를 함유하는 플라스크 내에 접종하고, 160 rpm 으로 30℃ 에서 OD550 이 1.0 이 될 때까지 성장시켰다. 상기 물질을 4.5 kg 의 배지를 함유하는 15 L 생물반응기 내에 시딩하였다. OD550 이 15 의 값에 도달하였을 때 IPTG 농도를 27 μM 로 하였다. 시간에 따른 생물반응기 내 OD550 프로파일을 도 67A 에 제시한다. 이소프렌 적정농도를 발효 과정에 따라 최종 값 235 mg/L 브로쓰로 증가시켰다 (도 67B). 발효 동안의 특이적 생산성 프로파일은 도 67C 에 제시되어 있고, 도 67A 와의 비교는 성장과 이소프렌 제조의 분리를 증명한다. 52.3 시간 발효 동안 제조된 이소프렌의 총 양은 이용된 글루코오스 948 g 으로부터 1.4 g 이었다. 발효 동안 이소프렌 제조에 투입된 이용된 탄소의 몰 수율은 0.32% 였다.
실시예 12: 공급-배치식 배양물에서 발효되고 메발론산 경로로부터의 유전자를 발현하는 E. 콜라이의 기하급수적 성장상 동안의 이소프렌의 제조
실시예 12 는 세포의 기하급수적 성장상 동안의 이소프렌의 제조를 예증한다.
배지 구성 (발효 배지 1 리터 당):
발효 배지 1 리터 당 하기 성분을 사용하여 배지를 제조하였다: K2HPO4 7.5 g, MgSO4 * 7H2O 2 g, 구연산 1 수화물 2 g, 철 암모늄 시트레이트 0.3 g, 효모 추출물 0.5 g, 및 1000× 개질 미량 금속 용액 (Modified Trace Metal Solution) 1 ml. 모든 성분을 함께 첨가하고, diH2O 에 용해하였다. 상기 용액을 오토클레이브하였다. 수산화암모늄 (30%) 으로 pH 를 7.0 로 조정하고, 부피를 충분량으로 하였다. 멸균 및 pH 조정 후에 글루코오스 10 g, 티아민 * HCl 0.1 g, 및 항생제를 첨가하였다.
1000× 개질 미량 금속 용액 (Modified Trace Metal Solution):
1000× 개질 미량 금속 용액을 하기 성분을 사용하여 제조하였다: 구연산 * H2O 40 g, MnSO4 * H2O 30 g, NaCl 10 g, FeSO4 * 7H2O 1 g, CoCl2 * 6H2O 1 g, ZnSO * 7H2O 1 g, CuSO4 * 5H2O 100 mg, H3BO3 100 mg, 및 NaMoO4 * 2H2O 100 mg. 각 성분을 diH2O 에 한번에 용해하고, HCl/NaOH 로 pH 를 3.0 으로 조정한 다음, 부피를 충분히 하고, 0.22 μ 필터로 필터 멸균하였다.
pCL PtrcUpperMVA 및 pTrc KKDyIkIS 플라스미드를 함유하는 ATCC11303 E. 콜라이 세포로 15 L 생물반응기에서 발효를 수행하였다. 상기 실험을 바람직한 발효 pH 7.0 및 온도 30℃ 에서 글루코오스로부터 이소프렌 형성을 모니터링 하기 위해 실시하였다. 동결 바이알로부터 채취한 E. 콜라이 균주의 접종물을 LB 브로쓰 아가 플레이트 (항생제 있음) 상에 스트리킹하고 37℃ 에서 인큐베이션하였다. 단일 콜로니를 트립톤-효모 추출물 배지 내로 접종하였다. 550 nm 에서 측정하였을 때 접종물이 OD 1.0 까지 성장한 후, 500 mL 을 5 L 생물반응기에 접종하는데 사용하였다.
세포가 정지상에 도달할 때까지 글루코오스를 기하급수적 속도로 공급하였다. 이 후 글루코오스 공급량을 감소시켜 대사 요구를 충족시켰다. 50 시간 발효 동안 생물반응기에 전달되는 글루코오스의 총 양은 2.0 kg 이었다. IPTG 를 첨가하여 유도를 달성하였다. 550 nm 에서의 광학 밀도 (OD550) 가 10 의 값에 도달하였을 때 IPTG 농도를 25 uM 로 하였다. OD550 이 190 에 도달하였을 때 IPTG 농도를 50 uM 로 증가시켰다. 시간에 따른 생물반응기 내 OD550 프로파일을 도 99 에 제시한다. 생물반응기로부터의 배출 기체 내 이소프렌 수준을 본원에 기재된 바와 같이 측정하였다. 이소프렌 적정농도를 발효 과정에 따라 최종 값 1.4 g/L (도 100) 로 증가시켰다. 50 시간 발효 동안 제조된 이소프렌의 총 양은 10.0 g 이었다. 생물반응기 내에서 시간에 걸친 이소프렌 특이적 생산성의 프로파일은 도 101 에 제시된다. 발효 동안 이소프렌 제조에 투입된 이용된 탄소의 몰 수율은 1.1% 였다. 글루코오스로부터의 이소프렌의 중량% 수율은 0.5% 였다.
실시예 13: 이소프렌의 가연성 모델링 및 시험
I. 이소프렌의 가연성 모델링 및 시험 요약
가연성 모델링 및 실험을 다양한 탄화수소/산소/질소/물/이산화탄소 혼합물에 대해 수행하였다. 상기 모델링 및 시험된 실험은 고정된 압력 및 온도에서 구체적인 스팀 및 일산화탄소 농도 하에서의 이소프렌 및 산소/질소 가연성 곡선을 규정하기 위한 것이었다. 모델 조건의 매트릭스를 표 4 에 제시하고, 수행된 실험 매트릭스를 표 5 에 제시한다.
표 4. 모델링된 이소프렌 가연성의 요약
Figure pct00012
표 5. 이소프렌 가연성 시험의 요약
Figure pct00013
II. 계산된 단열 불꽃 온도 (CAFT) 모델의 설명
연소 발생에 대해 선택된 제한 불꽃 온도에 따른 계산된 단열 불꽃 온도 (CAFT) 를 이소프렌에 대한 가연성 엔벨로프를 측정하기 위해 사용하였다. 불꽃 온도를 계산하기 위해 본 연구에 사용된 컴퓨터 프로그램은 NASA Glenn Research Center CEA (Chemical Equilibrium with Applications) 소프트웨어이다.
균질 연소 메카니즘 (연소 및 산화제 모두가 기체 상태인) 에 대한 단열 불꽃 온도 모델을 사용하는 가연성 엔벨로프를 측정하는데 5 단계가 포함된다: 바람직한 반응물의 선택, 시험 조건의 선택, 제한 불꽃 온도의 선택, 반응물의 개질, 및 계산으로부터 가연성 엔벨로프의 구축.
상기 첫번째 단계인 바람직한 반응물의 선택에서는, 시스템에 존재할 반응물 종류 및 각각의 양으로서 결정해야만 한다. 많은 경우, 계산에 사용되는 컴퓨터 프로그램은 반응물 목록 및 제품 종류를 가지고 있다. 연구되는 종류에 대한 데이터 중 임의의 것이 프로그램에서 발견되지 않는 경우, 이들을 JANAF 표와 같은 다른 공급원 또는 인터넷으로부터 입수할 수 있다. 상기 현행 모델에서 물, 질소, 산소 및 이산화탄소에 대한 데이터는 프로그램 데이터베이스에 존재하였다. 프로그램 데이터베이스는 종류로서 이소프렌을 가지지 않았다; 그러므로 열역학적 특성은 수동으로 입력하였다.
다음 단계는 연소 과정이 일어나는 초기 압력 및 온도 조건을 결정하는 단계이다. 이 모델에서 압력은 1 대기압 (절대) 이었고, 온도는 이소프렌의 비등점인 40℃ 였다.
연소에 대한 제한 불꽃 온도는 이론적 원리에 근거해 선택되거나 실험적으로 측정될 수 있다. 각 방법은 스스로의 제한을 갖는다.
이전 연구에 근거해, 탄화수소의 제한 불꽃 온도는 1000 K 내지 1500 K 범위에 놓였다. 이 모델을 위해, 1500 K 의 값을 선택하였다. 이것은 일산화탄소의 이산화탄소로의 반응 (고도의 발열 반응, 및 대부분의 비율의 불꽃 에너지를 구성함) 이 자가 유지되게 되는 온도이다.
일단 제한 불꽃 온도가 결정되면, 제공된 반응 혼합물 (종류 농도) 에 대해 모델 계산을 수행하고, 단열 불꽃 온도를 결정한다. 불꽃 발생은 온도가 제한 불꽃 온도보다 높은 경우에만 발생한 것으로 간주된다. 그 다음 반응 혼합물 조성을 변경시켜 발생 및 비-발생 혼합물에 대한 데이터 세트를 작성하였다.
상기 유형의 모델은 실험적으로 측정된 연소 한계와 양호한 일치성을 보인다. 유도된 엔벨로프 외부의 영역은 불연성이고 내부 영역은 가연성이다. 엔벨로프의 형태는 코를 형성한다. 엔벨로프의 코는 기체 연료에 대한 제한 산소 농도 (LOC) 와 관련된다.
III. 계산된 단열 불꽃 온도 (CAFT) 모델로부터의 결과
도 68 내지 74 에 작성된 것은 시리즈 A 내지 G 각각에 대한 CAFT 모델 결과이다. 도면은 계산된 단열 불꽃 온도 (NASA CEA 프로그램 사용) 를 여러 산소/질소 비율 (중량) 에 대한 연료 농도 (중량) 의 함수로서 작성한다. 선택된 제한 불꽃 온도인 1500 K 초과인 곡선의 일부는, 불꽃 발생에 충분한 연료 수준을 함유한다. 결과는 도 68 내지 74 에 제시된 형태로 해석되기는 어려울 수 있다. 부가적으로는, 현행 형태는 일반적으로 부피% 로 제시된 실험 데이터와 비교하기 위해 수행되기에는 좋지 않다.
실시예로서 시리즈 A 를 사용하여 도 68 에서의 데이터를 전통적 가연성 엔벨로프의 형태로 플롯팅할 수 있다. 도 68 및 세로좌표 상의 1500 K 온도선을 가로지르는 판독을 사용하여, 교차하는 각 곡선에 대해 접선 대 가로좌표 (산소 대 질소 비) 를 떨어뜨림으로서 상기 제한 불꽃 온도에 대한 연료 농도를 측정할 수 있다. 상기 값은 제시된 중량% 의 산화제 (도 75A) 에 대한 연료의 중량% 로서 표에 나타낼 수 있다. 그 다음 연료의 조성 (100 중량% 이소프렌) 및 산화제의 조성 (물, 산소 및 질소의 상대적 함량) 을 알면 몰 량을 달성할 수 있다.
상기 몰 량으로부터 % 부피 농도를 계산할 수 있다. 그 다음 부피% 로의 농도는 가연성 엔벨로프를 작성하기 위해 플롯팅될 수 있다 (도 75B). 엔벨로프에 의해 둘러싸인 면적은 폭발성 범위이고, 배제된 면적은 비-폭발성 범위이다. 엔벨로프의 "코" 는 제한 산소 농도이다. 도 76A 및 76B 는 도 69 에 제시된 데이터로부터 발생된 시리즈 B 에 대한 가연성 엔벨로프에 대해 계산된 부피 농도가 제시되어 있다. 도 70-74 에 제시된 데이터에 대해 유사한 접근법이 사용될 수 있다.
IV. 가연성 시험 실험 장비 및 절차
가연성 시험 4 리터 고압 용기에서 수행하였다. 용기는 내부 직경 6" 및 내부 높이 8.625" 의, 실린더 형태였다. 용기의 온도 (및 내부 기체) 를 PID 통제기에 의해 통제되는 외부 가열기를 사용하여 유지하였다. 열 손실을 막기 위해, 압력 용기 주변에 세라믹 울과 반사 단열제를 둘러쌌다. 유형 K 열전대를 기체 공간의 온도 뿐 아니라 용기 자체의 온도를 측정하기 위해 사용하였다. 도 77 은 시험 용기를 나타낸다.
시험을 실시하기 전, 용기를 비우고, 질소로 퍼지하여, 이전 시험으로부터의 임의의 기체가 제거되었음을 확실히 하였다. 그 다음 용기에 진공을 적용했다. 이후 수행된 압력은 전형적으로 대략 0.06 bar(a) 였다. 질소 퍼지로 인해, 상기 초기압을 담당하는 기체가 질소인 것으로 가정하였다. 부분압을 사용하고, 물, 이소프렌, 질소, 및 산소를 적합한 양으로 첨가하여 문제의 시험 조건을 달성하였다. 용기 내의 자석으로 움직이는 혼합 팬은 기체 내용물의 혼합을 확실히 하였다. 점화 대략 1 분 전에 팬을 꺼서, 약 2 분 동안 기체가 혼합되게 하였다.
점화기는 타이머 회로 상의 1.5 ohm 니크롬 코일 및 AC 볼트 공급원으로 구성되었다. 오실로스코프를 사용하여, 34.4 VAC 가 3.2 초 동안 점화기에 전달된 것으로 측정되었다. 3.8 amps 의 최대 전류가 점화 사이클 내에서는 대략 절반으로 발생하였다. 그러므로, 최대 파워는 131 W 이었고, 점화 사이클에 걸쳐 제공된 총 에너지는 대략 210 J 이었다.
데이터 습득 시스템에 연결된 가변적 자기저항 Validyne DP215 압력 전송기를 사용하여 폭연 데이터를 습득하였다. 압력 상승이 5% 이상이었을 경우 기체 혼합물이 폭연된 것으로 간주하였다.
V. 가연성 시험 결과
첫번째 실험 시리즈 (시리즈 1) 를 스팀 없이 40℃ 및 0 psig 에서 실행하였다. 다양한 농도의 이소프렌 및 산소에서의 실험 실행으로 도 78A 에 제시된 가연성 곡선을 산출하였다. 상기 곡선에서 제시된 데이터 지점은 오직 곡선 경계에 있는 것이다. 상기 시리즈로부터 취득된 모든 데이터 지점의 상세한 목록은 도 8OA 및 80B 에 제시된다.
도 78B 는 도 78A 에서 제시된 폭발성 데이터 지점을 요약한다. 도 78C 는 CAFT 모델 예측 가연성 엔벨로프로의 실험 데이터의 비교이다. 모델은 실험 데이터에 매우 잘 들어맞는다. 불일치는 시험 챔버의 비-단열 특성 및 모델의 제한으로 인한 것일 수 있다. 모델은 산화 반응에 대한 무한한 시간 수평선을 보고, 임의의 반응 동역학 제한하는 것은 고려하지 않는다.
부가적으로는, 모델은 데이터베이스에 있는 평형 화학 종류의 수가 제한되어 있으므로, 열분해 종류를 적합하게 예측할 수 없을 것이다. 또한, 모델에 의해 개발되는 가연성 엔벨로프는 제한 불꽃 온도 (1500K) 에 대해 하나의 값을 사용한다. 제한 불꽃 온도는 반응하는 화학적 종류에 따라 1,000K 내지 1,500K 의 값의 범위일 수 있다. 화학량론적 연료/산화제 수준 초과의 연료 농도에서 형성되는 열분해 화학 종류의 착물 특성이, 이 모델이 상기 시스템에 대한 상위 가연성 제한을 정확하게 예측할 수 없는지에 대한 하나의 이유이다.
제 2 실험 시리즈 (시리즈 2) 를 4% 의 고정된 스팀 농도로 40℃ 및 0 psig 에서 실행하였다. 다양한 농도의 이소프렌 및 산소에서의 실험 실행으로 도 79A 에 제시된 가연성 곡선을 산출하였다. 상기 곡선에서 제시된 데이터 지점은 오직 곡선 경계에 있는 것이다. 상기 시리즈로부터 취득된 모든 데이터 지점의 상세한 목록은 도 81 에 제시된다.
시리즈 1 의 데이터와의 유사성으로 인해, 하위 가연성 제한, 제한 산소 농도, 및 상위 가연성 제한의 오직 핵심 지점을 시험하였다. 시험 혼합물에 대한 4% 스팀의 첨가는 가연성 엔벨로프의 핵심 제한을 유의하게 변경하지 않았다. 스팀/물 및 또는 기타 비활성물질의 더 높은 농도가 가연성 엔벨로프에 영향을 줄 수 있는 것을 유념해야만 한다.
도 79B 는 도 79A 에 제시된 폭발성 데이터 지점을 요약한다. 도 79C 는 CAFT 모델 예상된 가연성 엔벨로프와 실험 데이터의 비교이다. 모델은 실험 데이터와 매우 잘 들어맞는다. 불일치는 시리즈 1 에 기재된 동일한 인자로 인한 것일 수 있다.
V. 3 대기압에서 공기 내 이소프렌의 가연성 제한 계산
실시예 13, 파트 I 내지 IV 에 기재된 방법은 또한 3 대기압 및 40℃ 의 절대 시스템 압력에서 이소프렌의 연소 한계를 계산하기 위해 사용하였다. 상기 결과를 대기압 및 40℃ 의 절대 시스템 압력에서 실시예 13, 파트 I 내지 IV 의 것과 비교하였다. 초기 시스템 압력을 증가시켜 가연성 엔벨로프를 더 크게 확장 또는 성장시키기 때문에 더 높은 압력을 시험하였다. 연소 상한계가 가장 영향을 받았고, 그 다음 산소 조성 제한이었다. 연소 하한계는 가장 적게 영향을 받았다 (예를 들어, 특히, 연소 한계의 계산에 관해, 본원에 전체가 참조로서 인용된 문헌 "Bulletin 627 - Flammability Characteristics of Combustible Gases and Vapors" Michael G. Zabetakis 저, 이전의 US Bureau of Mines 출판 (1965) 참조).
도 82 에서, 계산된 단열 불꽃 온도는 총 연료/질소/산소의 중량% (시스템 압력은 초기에는 3 대기압이었음) 로 표현된 이소프렌 (연료) 농도의 함수로서 작성된다. 계산된 불꽃 온도는 1 대기압 시스템에서 초기에 측정된 것과 매우 유사하다 (도 83). 그 결과, 가연성 엔벨로프가 계산된 단열 가연성 데이터를 사용하여 작성되는 경우, 곡선은 매우 유사하였다 (도 84 및 85 참조). 그러므로, 상기 이론적 계산에 근거하여, 1 대기압에서 3 대기압으로의 시스템 압력 증가는 가연성 엔벨로프의 유의한 증가/확장을 낳지는 않는다. 바람직한 경우, 상기 모델 결과는 실험 시험 (예컨대, 1 대기압에서 본원에 기재된 실험 시험) 을 사용하여 입증될 수 있다.
VII. 가연성 연구 요약
계산된 단열 온도 모델을 40℃ 및 0 psig 에서 이소프렌/산소/질소/물/이산화탄소 시스템의 가연성 엔벨로프에 대해 개발하였다. 개발된 CAFT 모델은 상기 작업에서 수행된 시험에 의해 발생되는 실험 데이터와 잘 들어맞는다. 시리즈 1 및 2 로부터의 실험 결과는 시리즈 A 및 B 로부터의 모델 결과를 입증하였다.
다르게 정의하지 않는 한, 본원에서 사용된 모든 기술적 및 과학적 용어는 본 발명이 속한 당업자에 의해 통상적으로 이해되는 것들이다. 문헌 [Singleton, et al., Dictionary of Microbiology and Molecular Biology, 2nd ed., John Wiley and Sons, New York (1994), 및 Hale & Marham, The Harper Collins Dictionary of Biology, Harper Perennial, N.Y. (1991)] 은 본 발명에서 사용되는 많은 용어에 대한 일반적 정의를 제공한다.
본 발명은 기재된 특정 방법론, 프로토콜 및 시약이 변화될 수 있으므로 이에 제한되는 것이 아닌 것으로 이해된다. 당업자는 또한 본원에 기재된 것과 유사한 또는 동등한 임의의 방법 및 물질이 본 발명을 실시 또는 시험하기 위해 사용될 수 있다는 것을 인지할 것이다.
본원에 제공된 표제는 전체로서 본 명세서에 참고로 포함될 수 있는 발명의 다양한 양상 또는 구현예의 제한이 아니다. 본원에서 사용하기 위해 다르게 명확하게 표시되지 않는 한, 단수형 표현은 복수형 표현을 나타낸다.
본원의 값 또는 매개변수에 대한 표현 "약" 은 자체적 값 또는 매개변수를 지시하는 구현예를 포함 (및 설명) 한다. 예를 들어, "약 X" 를 나타내는 설명은 "X" 의 설명을 포함한다. 수치적 범위는 범위를 한정하는 수치를 포함한다.
본원에 기재된 본 발명의 양상 및 구현예에는 양상 및 구현예 "를 포함하는," "로 이루어지는," 및 "로 본질적으로 이루어지는 것이 포함되는 것으로 이해된다.
부록 1
예시적- 데옥시 -D- 자일룰로오스 -5- 포스페이트 합성효소 핵산 및 폴리펩티드
Figure pct00014
Figure pct00015
Figure pct00016
Figure pct00017
Figure pct00018
Figure pct00019
Figure pct00020
Figure pct00021
Figure pct00022
Figure pct00023
Figure pct00024
Figure pct00025
예시적 아세틸- CoA - 아세틸트랜스페라아제 핵산 및 폴리펩티드
Figure pct00026
Figure pct00027
Figure pct00028
Figure pct00029
Figure pct00030
Figure pct00031
Figure pct00032
Figure pct00033
Figure pct00034
Figure pct00035
Figure pct00036
Figure pct00037
예시적 HMG - CoA 합성효소 핵산 및 폴리펩티드
Figure pct00038
Figure pct00039
Figure pct00040
Figure pct00041
예시적 히드록시에틸글루타릴 - CoA 리덕타아제 핵산 및 폴리펩티드
Figure pct00042
Figure pct00043
Figure pct00044
Figure pct00045
예시적 메발로네이트 키나아제 핵산 및 폴리펩티드
Figure pct00046
Figure pct00047
Figure pct00048
Figure pct00049
예시적 포스포메발로네이트 키나아제 핵산 및 폴리펩티드
Figure pct00050
Figure pct00051
Figure pct00052
예시적 디포스포메발로네이트 데카르복실라아제 핵산 및 폴리펩티드
Figure pct00053
Figure pct00054
Figure pct00055
Figure pct00056
예시적 이소펜테닐 - 디포스페이트 델타- 이소머라아제 ( IDI ) 핵산 및 폴리펩티드
Figure pct00057
Figure pct00058
Figure pct00059
Figure pct00060
Figure pct00061
Figure pct00062
Figure pct00063
Figure pct00064
Figure pct00065
예시적 이소프렌 합성효소 핵산 및 폴리펩티드
Genbank 접근 번호
Figure pct00066
<110> Danisco US Inc. The Goodyear Tire & Rubber Company CALABRIA, Anthony Rudolf CERVIN, Marguerite A. CHOTANI, Gopal K. MCAULIFEE, Joseph C. MILLER, Michael Charles SABO, Timothy Alan WEBSTER, Erin Lynne SANFORD, Karl J. LA DUCA, Richard WHITED, Gregory M. <120> COMPOSITIONS AND METHODS FOR PRODUCING ISOPRENE FREE OF C5 HYDROCARBONS UNDER DECOUPLING CONDITIONS AND/OR SAFE OPERATING RANGES <130> 643842000449 <140> Not Yet Assigned <141> 2009-07-01 <150> PCT/US2009/049429 <151> 2009-07-01 <150> US 61/134,011 <151> 2008-07-02 <150> US 61/133,947 <151> 2008-07-02 <150> US 61/134,094 <151> 2008-07-02 <160> 102 <170> FastSEQ for Windows Version 4.0 <210> 1 <211> 1701 <212> DNA <213> Escherichia coli <400> 1 atgtgtgcga cctcttctca atttactcag attaccgagc ataattcccg tcgttccgca 60 aactatcagc caaacctgtg gaatttcgaa ttcctgcaat ccctggagaa cgacctgaaa 120 gtggaaaagc tggaggagaa agcgaccaaa ctggaggaag aagttcgctg catgatcaac 180 cgtgtagaca cccagccgct gtccctgctg gagctgatcg acgatgtgca gcgcctgggt 240 ctgacctaca aatttgaaaa agacatcatt aaagccctgg aaaacatcgt actgctggac 300 gaaaacaaaa agaacaaatc tgacctgcac gcaaccgctc tgtctttccg tctgctgcgt 360 cagcacggtt tcgaggtttc tcaggatgtt tttgagcgtt tcaaggataa agaaggtggt 420 ttcagcggtg aactgaaagg tgacgtccaa ggcctgctga gcctgtatga agcgtcttac 480 ctgggtttcg agggtgagaa cctgctggag gaggcgcgta ccttttccat cacccacctg 540 aagaacaacc tgaaagaagg cattaatacc aaggttgcag aacaagtgag ccacgccctg 600 gaactgccat atcaccagcg tctgcaccgt ctggaggcac gttggttcct ggataaatac 660 gaaccgaaag aaccgcatca ccagctgctg ctggagctgg cgaagctgga ttttaacatg 720 gtacagaccc tgcaccagaa agagctgcaa gatctgtccc gctggtggac cgagatgggc 780 ctggctagca aactggattt tgtacgcgac cgcctgatgg aagtttattt ctgggcactg 840 ggtatggcgc cagacccgca gtttggtgaa tgtcgcaaag ctgttactaa aatgtttggt 900 ctggtgacga tcatcgatga cgtgtatgac gtttatggca ctctggacga actgcaactg 960 ttcaccgatg ctgtagagcg ctgggacgtt aacgctatta acaccctgcc ggactatatg 1020 aaactgtgtt tcctggcact gtacaacacc gttaacgaca cgtcctattc tattctgaaa 1080 gagaaaggtc ataacaacct gtcctatctg acgaaaagct ggcgtgaact gtgcaaagcc 1140 tttctgcaag aggcgaaatg gtccaacaac aaaattatcc cggctttctc caagtacctg 1200 gaaaacgcca gcgtttcctc ctccggtgta gcgctgctgg cgccgtctta cttttccgta 1260 tgccagcagc aggaagacat ctccgaccac gcgctgcgtt ccctgaccga cttccatggt 1320 ctggtgcgtt ctagctgcgt tatcttccgc ctgtgcaacg atctggccac ctctgcggcg 1380 gagctggaac gtggcgagac taccaattct atcattagct acatgcacga aaacgatggt 1440 accagcgagg aacaggcccg cgaagaactg cgtaaactga tcgacgccga atggaaaaag 1500 atgaatcgtg aacgcgttag cgactccacc ctgctgccta aagcgttcat ggaaatcgca 1560 gttaacatgg cacgtgtttc ccactgcacc taccagtatg gcgatggtct gggtcgccca 1620 gactacgcga ctgaaaaccg catcaaactg ctgctgattg accctttccc gattaaccag 1680 ctgatgtatg tctaactgca g 1701 <210> 2 <211> 6080 <212> DNA <213> Artificial Sequence <220> <223> Synthetic Construct <400> 2 gtttgacagc ttatcatcga ctgcacggtg caccaatgct tctggcgtca ggcagccatc 60 ggaagctgtg gtatggctgt gcaggtcgta aatcactgca taattcgtgt cgctcaaggc 120 gcactcccgt tctggataat gttttttgcg ccgacatcat aacggttctg gcaaatattc 180 tgaaatgagc tgttgacaat taatcatccg gctcgtataa tgtgtggaat tgtgagcgga 240 taacaatttc acacaggaaa cagcgccgct gagaaaaagc gaagcggcac tgctctttaa 300 caatttatca gacaatctgt gtgggcactc gaccggaatt atcgattaac tttattatta 360 aaaattaaag aggtatatat taatgtatcg attaaataag gaggaataaa ccatgtgtgc 420 gacctcttct caatttactc agattaccga gcataattcc cgtcgttccg caaactatca 480 gccaaacctg tggaatttcg aattcctgca atccctggag aacgacctga aagtggaaaa 540 gctggaggag aaagcgacca aactggagga agaagttcgc tgcatgatca accgtgtaga 600 cacccagccg ctgtccctgc tggagctgat cgacgatgtg cagcgcctgg gtctgaccta 660 caaatttgaa aaagacatca ttaaagccct ggaaaacatc gtactgctgg acgaaaacaa 720 aaagaacaaa tctgacctgc acgcaaccgc tctgtctttc cgtctgctgc gtcagcacgg 780 tttcgaggtt tctcaggatg tttttgagcg tttcaaggat aaagaaggtg gtttcagcgg 840 tgaactgaaa ggtgacgtcc aaggcctgct gagcctgtat gaagcgtctt acctgggttt 900 cgagggtgag aacctgctgg aggaggcgcg taccttttcc atcacccacc tgaagaacaa 960 cctgaaagaa ggcattaata ccaaggttgc agaacaagtg agccacgccc tggaactgcc 1020 atatcaccag cgtctgcacc gtctggaggc acgttggttc ctggataaat acgaaccgaa 1080 agaaccgcat caccagctgc tgctggagct ggcgaagctg gattttaaca tggtacagac 1140 cctgcaccag aaagagctgc aagatctgtc ccgctggtgg accgagatgg gcctggctag 1200 caaactggat tttgtacgcg accgcctgat ggaagtttat ttctgggcac tgggtatggc 1260 gccagacccg cagtttggtg aatgtcgcaa agctgttact aaaatgtttg gtctggtgac 1320 gatcatcgat gacgtgtatg acgtttatgg cactctggac gaactgcaac tgttcaccga 1380 tgctgtagag cgctgggacg ttaacgctat taacaccctg ccggactata tgaaactgtg 1440 tttcctggca ctgtacaaca ccgttaacga cacgtcctat tctattctga aagagaaagg 1500 tcataacaac ctgtcctatc tgacgaaaag ctggcgtgaa ctgtgcaaag cctttctgca 1560 agaggcgaaa tggtccaaca acaaaattat cccggctttc tccaagtacc tggaaaacgc 1620 cagcgtttcc tcctccggtg tagcgctgct ggcgccgtct tacttttccg tatgccagca 1680 gcaggaagac atctccgacc acgcgctgcg ttccctgacc gacttccatg gtctggtgcg 1740 ttctagctgc gttatcttcc gcctgtgcaa cgatctggcc acctctgcgg cggagctgga 1800 acgtggcgag actaccaatt ctatcattag ctacatgcac gaaaacgatg gtaccagcga 1860 ggaacaggcc cgcgaagaac tgcgtaaact gatcgacgcc gaatggaaaa agatgaatcg 1920 tgaacgcgtt agcgactcca ccctgctgcc taaagcgttc atggaaatcg cagttaacat 1980 ggcacgtgtt tcccactgca cctaccagta tggcgatggt ctgggtcgcc cagactacgc 2040 gactgaaaac cgcatcaaac tgctgctgat tgaccctttc ccgattaacc agctgatgta 2100 tgtctaactg cagctggtac catatgggaa ttcgaagctt tctagaacaa aaactcatct 2160 cagaagagga tctgaatagc gccgtcgacc atcatcatca tcatcattga gtttaaacgg 2220 tctccagctt ggctgttttg gcggatgaga gaagattttc agcctgatac agattaaatc 2280 agaacgcaga agcggtctga taaaacagaa tttgcctggc ggcagtagcg cggtggtccc 2340 acctgacccc atgccgaact cagaagtgaa acgccgtagc gccgatggta gtgtggggtc 2400 tccccatgcg agagtaggga actgccaggc atcaaataaa acgaaaggct cagtcgaaag 2460 actgggcctt tcgttttatc tgttgtttgt cggtgaacgc tctcctgagt aggacaaatc 2520 cgccgggagc ggatttgaac gttgcgaagc aacggcccgg agggtggcgg gcaggacgcc 2580 cgccataaac tgccaggcat caaattaagc agaaggccat cctgacggat ggcctttttg 2640 cgtttctaca aactcttttt gtttattttt ctaaatacat tcaaatatgt atccgctcat 2700 gagacaataa ccctgataaa tgcttcaata atattgaaaa aggaagagta tgagtattca 2760 acatttccgt gtcgccctta ttcccttttt tgcggcattt tgccttcctg tttttgctca 2820 cccagaaacg ctggtgaaag taaaagatgc tgaagatcag ttgggtgcac gagtgggtta 2880 catcgaactg gatctcaaca gcggtaagat ccttgagagt tttcgccccg aagaacgttt 2940 tccaatgatg agcactttta aagttctgct atgtggcgcg gtattatccc gtgttgacgc 3000 cgggcaagag caactcggtc gccgcataca ctattctcag aatgacttgg ttgagtactc 3060 accagtcaca gaaaagcatc ttacggatgg catgacagta agagaattat gcagtgctgc 3120 cataaccatg agtgataaca ctgcggccaa cttacttctg acaacgatcg gaggaccgaa 3180 ggagctaacc gcttttttgc acaacatggg ggatcatgta actcgccttg atcgttggga 3240 accggagctg aatgaagcca taccaaacga cgagcgtgac accacgatgc ctgtagcaat 3300 ggcaacaacg ttgcgcaaac tattaactgg cgaactactt actctagctt cccggcaaca 3360 attaatagac tggatggagg cggataaagt tgcaggacca cttctgcgct cggcccttcc 3420 ggctggctgg tttattgctg ataaatctgg agccggtgag cgtgggtctc gcggtatcat 3480 tgcagcactg gggccagatg gtaagccctc ccgtatcgta gttatctaca cgacggggag 3540 tcaggcaact atggatgaac gaaatagaca gatcgctgag ataggtgcct cactgattaa 3600 gcattggtaa ctgtcagacc aagtttactc atatatactt tagattgatt taaaacttca 3660 tttttaattt aaaaggatct aggtgaagat cctttttgat aatctcatga ccaaaatccc 3720 ttaacgtgag ttttcgttcc actgagcgtc agaccccgta gaaaagatca aaggatcttc 3780 ttgagatcct ttttttctgc gcgtaatctg ctgcttgcaa acaaaaaaac caccgctacc 3840 agcggtggtt tgtttgccgg atcaagagct accaactctt tttccgaagg taactggctt 3900 cagcagagcg cagataccaa atactgtcct tctagtgtag ccgtagttag gccaccactt 3960 caagaactct gtagcaccgc ctacatacct cgctctgcta atcctgttac cagtggctgc 4020 tgccagtggc gataagtcgt gtcttaccgg gttggactca agacgatagt taccggataa 4080 ggcgcagcgg tcgggctgaa cggggggttc gtgcacacag cccagcttgg agcgaacgac 4140 ctacaccgaa ctgagatacc tacagcgtga gctatgagaa agcgccacgc ttcccgaagg 4200 gagaaaggcg gacaggtatc cggtaagcgg cagggtcgga acaggagagc gcacgaggga 4260 gcttccaggg ggaaacgcct ggtatcttta tagtcctgtc gggtttcgcc acctctgact 4320 tgagcgtcga tttttgtgat gctcgtcagg ggggcggagc ctatggaaaa acgccagcaa 4380 cgcggccttt ttacggttcc tggccttttg ctggcctttt gctcacatgt tctttcctgc 4440 gttatcccct gattctgtgg ataaccgtat taccgccttt gagtgagctg ataccgctcg 4500 ccgcagccga acgaccgagc gcagcgagtc agtgagcgag gaagcggaag agcgcctgat 4560 gcggtatttt ctccttacgc atctgtgcgg tatttcacac cgcatatggt gcactctcag 4620 tacaatctgc tctgatgccg catagttaag ccagtataca ctccgctatc gctacgtgac 4680 tgggtcatgg ctgcgccccg acacccgcca acacccgctg acgcgccctg acgggcttgt 4740 ctgctcccgg catccgctta cagacaagct gtgaccgtct ccgggagctg catgtgtcag 4800 aggttttcac cgtcatcacc gaaacgcgcg aggcagcaga tcaattcgcg cgcgaaggcg 4860 aagcggcatg catttacgtt gacaccatcg aatggtgcaa aacctttcgc ggtatggcat 4920 gatagcgccc ggaagagagt caattcaggg tggtgaatgt gaaaccagta acgttatacg 4980 atgtcgcaga gtatgccggt gtctcttatc agaccgtttc ccgcgtggtg aaccaggcca 5040 gccacgtttc tgcgaaaacg cgggaaaaag tggaagcggc gatggcggag ctgaattaca 5100 ttcccaaccg cgtggcacaa caactggcgg gcaaacagtc gttgctgatt ggcgttgcca 5160 cctccagtct ggccctgcac gcgccgtcgc aaattgtcgc ggcgattaaa tctcgcgccg 5220 atcaactggg tgccagcgtg gtggtgtcga tggtagaacg aagcggcgtc gaagcctgta 5280 aagcggcggt gcacaatctt ctcgcgcaac gcgtcagtgg gctgatcatt aactatccgc 5340 tggatgacca ggatgccatt gctgtggaag ctgcctgcac taatgttccg gcgttatttc 5400 ttgatgtctc tgaccagaca cccatcaaca gtattatttt ctcccatgaa gacggtacgc 5460 gactgggcgt ggagcatctg gtcgcattgg gtcaccagca aatcgcgctg ttagcgggcc 5520 cattaagttc tgtctcggcg cgtctgcgtc tggctggctg gcataaatat ctcactcgca 5580 atcaaattca gccgatagcg gaacgggaag gcgactggag tgccatgtcc ggttttcaac 5640 aaaccatgca aatgctgaat gagggcatcg ttcccactgc gatgctggtt gccaacgatc 5700 agatggcgct gggcgcaatg cgcgccatta ccgagtccgg gctgcgcgtt ggtgcggata 5760 tctcggtagt gggatacgac gataccgaag acagctcatg ttatatcccg ccgtcaacca 5820 ccatcaaaca ggattttcgc ctgctggggc aaaccagcgt ggaccgcttg ctgcaactct 5880 ctcagggcca ggcggtgaag ggcaatcagc tgttgcccgt ctcactggtg aaaagaaaaa 5940 ccaccctggc gcccaatacg caaaccgcct ctccccgcgc gttggccgat tcattaatgc 6000 agctggcacg acaggtttcc cgactggaaa gcgggcagtg agcgcaacgc aattaatgtg 6060 agttagcgcg aattgatctg 6080 <210> 3 <211> 37 <212> DNA <213> Artificial Sequence <220> <223> PCR Primer <400> 3 cgtgagatca tatgtgtgcg acctcttctc aatttac 37 <210> 4 <211> 38 <212> DNA <213> Artificial Sequence <220> <223> PCR Primer <400> 4 cggtcgacgg atccctgcag ttagacatac atcagctg 38 <210> 5 <211> 7404 <212> DNA <213> Artificial Sequence <220> <223> Synthetic Construct <400> 5 ttctcatgtt tgacagctta tcatcgataa gctttaatgc ggtagtttat cacagttaaa 60 ttgctaacgc agtcaggcac cgtgtatgaa atctaacaat gcgctcatcg tcatcctcgg 120 caccgtcacc ctggatgctg taggcatagg cttggttatg ccggtactgc cgggcctctt 180 gcgggatatc cggatatagt tcctcctttc agcaaaaaac ccctcaagac ccgtttagag 240 gccccaaggg gttatgctag ttattgctca gcggtggcag cagccaactc agcttccttt 300 cgggctttgt tagcagccgg atccctgcag ttagacatac atcagctggt taatcgggaa 360 agggtcaatc agcagcagtt tgatgcggtt ttcagtcgcg tagtctgggc gacccagacc 420 atcgccatac tggtaggtgc agtgggaaac acgtgccatg ttaactgcga tttccatgaa 480 cgctttaggc agcagggtgg agtcgctaac gcgttcacga ttcatctttt tccattcggc 540 gtcgatcagt ttacgcagtt cttcgcgggc ctgttcctcg ctggtaccat cgttttcgtg 600 catgtagcta atgatagaat tggtagtctc gccacgttcc agctccgccg cagaggtggc 660 cagatcgttg cacaggcgga agataacgca gctagaacgc accagaccat ggaagtcggt 720 cagggaacgc agcgcgtggt cggagatgtc ttcctgctgc tggcatacgg aaaagtaaga 780 cggcgccagc agcgctacac cggaggagga aacgctggcg ttttccaggt acttggagaa 840 agccgggata attttgttgt tggaccattt cgcctcttgc agaaaggctt tgcacagttc 900 acgccagctt ttcgtcagat aggacaggtt gttatgacct ttctctttca gaatagaata 960 ggacgtgtcg ttaacggtgt tgtacagtgc caggaaacac agtttcatat agtccggcag 1020 ggtgttaata gcgttaacgt cccagcgctc tacagcatcg gtgaacagtt gcagttcgtc 1080 cagagtgcca taaacgtcat acacgtcatc gatgatcgtc accagaccaa acattttagt 1140 aacagctttg cgacattcac caaactgcgg gtctggcgcc atacccagtg cccagaaata 1200 aacttccatc aggcggtcgc gtacaaaatc cagtttgcta gccaggccca tctcggtcca 1260 ccagcgggac agatcttgca gctctttctg gtgcagggtc tgtaccatgt taaaatccag 1320 cttcgccagc tccagcagca gctggtgatg cggttctttc ggttcgtatt tatccaggaa 1380 ccaacgtgcc tccagacggt gcagacgctg gtgatatggc agttccaggg cgtggctcac 1440 ttgttctgca accttggtat taatgccttc tttcaggttg ttcttcaggt gggtgatgga 1500 aaaggtacgc gcctcctcca gcaggttctc accctcgaaa cccaggtaag acgcttcata 1560 caggctcagc aggccttgga cgtcaccttt cagttcaccg ctgaaaccac cttctttatc 1620 cttgaaacgc tcaaaaacat cctgagaaac ctcgaaaccg tgctgacgca gcagacggaa 1680 agacagagcg gttgcgtgca ggtcagattt gttctttttg ttttcgtcca gcagtacgat 1740 gttttccagg gctttaatga tgtctttttc aaatttgtag gtcagaccca ggcgctgcac 1800 atcgtcgatc agctccagca gggacagcgg ctgggtgtct acacggttga tcatgcagcg 1860 aacttcttcc tccagtttgg tcgctttctc ctccagcttt tccactttca ggtcgttctc 1920 cagggattgc aggaattcga aattccacag gtttggctga tagtttgcgg aacgacggga 1980 attatgctcg gtaatctgag taaattgaga agaggtcgca cacatatgac gaccttcgat 2040 atggccgctg ctgtgatgat gatgatgatg atgatgatga tggcccatgg tatatctcct 2100 tcttaaagtt aaacaaaatt atttctagag gggaattgtt atccgctcac aattccccta 2160 tagtgagtcg tattaatttc gcgggatcga gatctcgatc ctctacgccg gacgcatcgt 2220 ggccggcatc accggcgcca caggtgcggt tgctggcgcc tatatcgccg acatcaccga 2280 tggggaagat cgggctcgcc acttcgggct catgagcgct tgtttcggcg tgggtatggt 2340 ggcaggcccc gtggccgggg gactgttggg cgccatctcc ttgcatgcac cattccttgc 2400 ggcggcggtg ctcaacggcc tcaacctact actgggctgc ttcctaatgc aggagtcgca 2460 taagggagag cgtcgagatc ccggacacca tcgaatggcg caaaaccttt cgcggtatgg 2520 catgatagcg cccggaagag agtcaattca gggtggtgaa tgtgaaacca gtaacgttat 2580 acgatgtcgc agagtatgcc ggtgtctctt atcagaccgt ttcccgcgtg gtgaaccagg 2640 ccagccacgt ttctgcgaaa acgcgggaaa aagtggaagc ggcgatggcg gagctgaatt 2700 acattcccaa ccgcgtggca caacaactgg cgggcaaaca gtcgttgctg attggcgttg 2760 ccacctccag tctggccctg cacgcgccgt cgcaaattgt cgcggcgatt aaatctcgcg 2820 ccgatcaact gggtgccagc gtggtggtgt cgatggtaga acgaagcggc gtcgaagcct 2880 gtaaagcggc ggtgcacaat cttctcgcgc aacgcgtcag tgggctgatc attaactatc 2940 cgctggatga ccaggatgcc attgctgtgg aagctgcctg cactaatgtt ccggcgttat 3000 ttcttgatgt ctctgaccag acacccatca acagtattat tttctcccat gaagacggta 3060 cgcgactggg cgtggagcat ctggtcgcat tgggtcacca gcaaatcgcg ctgttagcgg 3120 gcccattaag ttctgtctcg gcgcgtctgc gtctggctgg ctggcataaa tatctcactc 3180 gcaatcaaat tcagccgata gcggaacggg aaggcgactg gagtgccatg tccggttttc 3240 aacaaaccat gcaaatgctg aatgagggca tcgttcccac tgcgatgctg gttgccaacg 3300 atcagatggc gctgggcgca atgcgcgcca ttaccgagtc cgggctgcgc gttggtgcgg 3360 atatctcggt agtgggatac gacgataccg aagacagctc atgttatatc ccgccgttaa 3420 ccaccatcaa acaggatttt cgcctgctgg ggcaaaccag cgtggaccgc ttgctgcaac 3480 tctctcaggg ccaggcggtg aagggcaatc agctgttgcc cgtctcactg gtgaaaagaa 3540 aaaccaccct ggcgcccaat acgcaaaccg cctctccccg cgcgttggcc gattcattaa 3600 tgcagctggc acgacaggtt tcccgactgg aaagcgggca gtgagcgcaa cgcaattaat 3660 gtaagttagc tcactcatta ggcaccggga tctcgaccga tgcccttgag agccttcaac 3720 ccagtcagct ccttccggtg ggcgcggggc atgactatcg tcgccgcact tatgactgtc 3780 ttctttatca tgcaactcgt aggacaggtg ccggcagcgc tctgggtcat tttcggcgag 3840 gaccgctttc gctggagcgc gacgatgatc ggcctgtcgc ttgcggtatt cggaatcttg 3900 cacgccctcg ctcaagcctt cgtcactggt cccgccacca aacgtttcgg cgagaagcag 3960 gccattatcg ccggcatggc ggccgacgcg ctgggctacg tcttgctggc gttcgcgacg 4020 cgaggctgga tggccttccc cattatgatt cttctcgctt ccggcggcat cgggatgccc 4080 gcgttgcagg ccatgctgtc caggcaggta gatgacgacc atcagggaca gcttcaagga 4140 tcgctcgcgg ctcttaccag cctaacttcg atcactggac cgctgatcgt cacggcgatt 4200 tatgccgcct cggcgagcac atggaacggg ttggcatgga ttgtaggcgc cgccctatac 4260 cttgtctgcc tccccgcgtt gcgtcgcggt gcatggagcc gggccacctc gacctgaatg 4320 gaagccggcg gcacctcgct aacggattca ccactccaag aattggagcc aatcaattct 4380 tgcggagaac tgtgaatgcg caaaccaacc cttggcagaa catatccatc gcgtccgcca 4440 tctccagcag ccgcacgcgg cgcatctcgg gcagcgttgg gtcctggcca cgggtgcgca 4500 tgatcgtgct cctgtcgttg aggacccggc taggctggcg gggttgcctt actggttagc 4560 agaatgaatc accgatacgc gagcgaacgt gaagcgactg ctgctgcaaa acgtctgcga 4620 cctgagcaac aacatgaatg gtcttcggtt tccgtgtttc gtaaagtctg gaaacgcgga 4680 agtcagcgcc ctgcaccatt atgttccgga tctgcatcgc aggatgctgc tggctaccct 4740 gtggaacacc tacatctgta ttaacgaagc gctggcattg accctgagtg atttttctct 4800 ggtcccgccg catccatacc gccagttgtt taccctcaca acgttccagt aaccgggcat 4860 gttcatcatc agtaacccgt atcgtgagca tcctctctcg tttcatcggt atcattaccc 4920 ccatgaacag aaatccccct tacacggagg catcagtgac caaacaggaa aaaaccgccc 4980 ttaacatggc ccgctttatc agaagccaga cattaacgct tctggagaaa ctcaacgagc 5040 tggacgcgga tgaacaggca gacatctgtg aatcgcttca cgaccacgct gatgagcttt 5100 accgcagctg cctcgcgcgt ttcggtgatg acggtgaaaa cctctgacac atgcagctcc 5160 cggagacggt cacagcttgt ctgtaagcgg atgccgggag cagacaagcc cgtcagggcg 5220 cgtcagcggg tgttggcggg tgtcggggcg cagccatgac ccagtcacgt agcgatagcg 5280 gagtgtatac tggcttaact atgcggcatc agagcagatt gtactgagag tgcaccatat 5340 atgcggtgtg aaataccgca cagatgcgta aggagaaaat accgcatcag gcgctcttcc 5400 gcttcctcgc tcactgactc gctgcgctcg gtcgttcggc tgcggcgagc ggtatcagct 5460 cactcaaagg cggtaatacg gttatccaca gaatcagggg ataacgcagg aaagaacatg 5520 tgagcaaaag gccagcaaaa ggccaggaac cgtaaaaagg ccgcgttgct ggcgtttttc 5580 cataggctcc gcccccctga cgagcatcac aaaaatcgac gctcaagtca gaggtggcga 5640 aacccgacag gactataaag ataccaggcg tttccccctg gaagctccct cgtgcgctct 5700 cctgttccga ccctgccgct taccggatac ctgtccgcct ttctcccttc gggaagcgtg 5760 gcgctttctc atagctcacg ctgtaggtat ctcagttcgg tgtaggtcgt tcgctccaag 5820 ctgggctgtg tgcacgaacc ccccgttcag cccgaccgct gcgccttatc cggtaactat 5880 cgtcttgagt ccaacccggt aagacacgac ttatcgccac tggcagcagc cactggtaac 5940 aggattagca gagcgaggta tgtaggcggt gctacagagt tcttgaagtg gtggcctaac 6000 tacggctaca ctagaaggac agtatttggt atctgcgctc tgctgaagcc agttaccttc 6060 ggaaaaagag ttggtagctc ttgatccggc aaacaaacca ccgctggtag cggtggtttt 6120 tttgtttgca agcagcagat tacgcgcaga aaaaaaggat ctcaagaaga tcctttgatc 6180 ttttctacgg ggtctgacgc tcagtggaac gaaaactcac gttaagggat tttggtcatg 6240 agattatcaa aaaggatctt cacctagatc cttttaaatt aaaaatgaag ttttaaatca 6300 atctaaagta tatatgagta aacttggtct gacagttacc aatgcttaat cagtgaggca 6360 cctatctcag cgatctgtct atttcgttca tccatagttg cctgactccc cgtcgtgtag 6420 ataactacga tacgggaggg cttaccatct ggccccagtg ctgcaatgat accgcgagac 6480 ccacgctcac cggctccaga tttatcagca ataaaccagc cagccggaag ggccgagcgc 6540 agaagtggtc ctgcaacttt atccgcctcc atccagtcta ttaattgttg ccgggaagct 6600 agagtaagta gttcgccagt taatagtttg cgcaacgttg ttgccattgc tgcaggcatc 6660 gtggtgtcac gctcgtcgtt tggtatggct tcattcagct ccggttccca acgatcaagg 6720 cgagttacat gatcccccat gttgtgcaaa aaagcggtta gctccttcgg tcctccgatc 6780 gttgtcagaa gtaagttggc cgcagtgtta tcactcatgg ttatggcagc actgcataat 6840 tctcttactg tcatgccatc cgtaagatgc ttttctgtga ctggtgagta ctcaaccaag 6900 tcattctgag aatagtgtat gcggcgaccg agttgctctt gcccggcgtc aacacgggat 6960 aataccgcgc cacatagcag aactttaaaa gtgctcatca ttggaaaacg ttcttcgggg 7020 cgaaaactct caaggatctt accgctgttg agatccagtt cgatgtaacc cactcgtgca 7080 cccaactgat cttcagcatc ttttactttc accagcgttt ctgggtgagc aaaaacagga 7140 aggcaaaatg ccgcaaaaaa gggaataagg gcgacacgga aatgttgaat actcatactc 7200 ttcctttttc aatattattg aagcatttat cagggttatt gtctcatgag cggatacata 7260 tttgaatgta tttagaaaaa taaacaaata ggggttccgc gcacatttcc ccgaaaagtg 7320 ccacctgacg tctaagaaac cattattatc atgacattaa cctataaaaa taggcgtatc 7380 acgaggccct ttcgtcttca agaa 7404 <210> 6 <211> 41 <212> DNA <213> Artificial Sequence <220> <223> PCR Primer <400> 6 catatgaaag cttgtatcga ttaaataagg aggaataaac c 41 <210> 7 <211> 6266 <212> DNA <213> Artificial Sequence <220> <223> Synthetic Construct <400> 7 cccgtcttac tgtcgggaat tcgcgttggc cgattcatta atgcagctgg cacgacaggt 60 ttcccgactg gaaagcgggc agtgagcgca acgcaattaa tgtgagttag ctcactcatt 120 aggcacccca ggctttacac tttatgcttc cggctcgtat gttgtgtgga attgtgagcg 180 gataacaatt tcacacagga aacagctatg accatgatta cgccaagctt gtatcgatta 240 aataaggagg aataaaccat gtgtgcgacc tcttctcaat ttactcagat taccgagcat 300 aattcccgtc gttccgcaaa ctatcagcca aacctgtgga atttcgaatt cctgcaatcc 360 ctggagaacg acctgaaagt ggaaaagctg gaggagaaag cgaccaaact ggaggaagaa 420 gttcgctgca tgatcaaccg tgtagacacc cagccgctgt ccctgctgga gctgatcgac 480 gatgtgcagc gcctgggtct gacctacaaa tttgaaaaag acatcattaa agccctggaa 540 aacatcgtac tgctggacga aaacaaaaag aacaaatctg acctgcacgc aaccgctctg 600 tctttccgtc tgctgcgtca gcacggtttc gaggtttctc aggatgtttt tgagcgtttc 660 aaggataaag aaggtggttt cagcggtgaa ctgaaaggtg acgtccaagg cctgctgagc 720 ctgtatgaag cgtcttacct gggtttcgag ggtgagaacc tgctggagga ggcgcgtacc 780 ttttccatca cccacctgaa gaacaacctg aaagaaggca ttaataccaa ggttgcagaa 840 caagtgagcc acgccctgga actgccatat caccagcgtc tgcaccgtct ggaggcacgt 900 tggttcctgg ataaatacga accgaaagaa ccgcatcacc agctgctgct ggagctggcg 960 aagctggatt ttaacatggt acagaccctg caccagaaag agctgcaaga tctgtcccgc 1020 tggtggaccg agatgggcct ggctagcaaa ctggattttg tacgcgaccg cctgatggaa 1080 gtttatttct gggcactggg tatggcgcca gacccgcagt ttggtgaatg tcgcaaagct 1140 gttactaaaa tgtttggtct ggtgacgatc atcgatgacg tgtatgacgt ttatggcact 1200 ctggacgaac tgcaactgtt caccgatgct gtagagcgct gggacgttaa cgctattaac 1260 accctgccgg actatatgaa actgtgtttc ctggcactgt acaacaccgt taacgacacg 1320 tcctattcta ttctgaaaga gaaaggtcat aacaacctgt cctatctgac gaaaagctgg 1380 cgtgaactgt gcaaagcctt tctgcaagag gcgaaatggt ccaacaacaa aattatcccg 1440 gctttctcca agtacctgga aaacgccagc gtttcctcct ccggtgtagc gctgctggcg 1500 ccgtcttact tttccgtatg ccagcagcag gaagacatct ccgaccacgc gctgcgttcc 1560 ctgaccgact tccatggtct ggtgcgttct agctgcgtta tcttccgcct gtgcaacgat 1620 ctggccacct ctgcggcgga gctggaacgt ggcgagacta ccaattctat cattagctac 1680 atgcacgaaa acgatggtac cagcgaggaa caggcccgcg aagaactgcg taaactgatc 1740 gacgccgaat ggaaaaagat gaatcgtgaa cgcgttagcg actccaccct gctgcctaaa 1800 gcgttcatgg aaatcgcagt taacatggca cgtgtttccc actgcaccta ccagtatggc 1860 gatggtctgg gtcgcccaga ctacgcgact gaaaaccgca tcaaactgct gctgattgac 1920 cctttcccga ttaaccagct gatgtatgtc taactgcagg tcgactctag aggatccccg 1980 ggtaccgagc tcgaattcac tggccgtcgt tttacaacgt cgtgactggg aaaaccctgg 2040 cgttacccaa cttaatcgcc ttgcagcaca tccccctttc gccagctggc gtaatagcga 2100 agaggcccgc accgatcgcc cttcccaaca gttgcgcagc ctgaatggcg aatggcgcct 2160 gatgcggtat tttctcctta cgcatctgtg cggtatttca caccgcatat ggtgcactct 2220 cagtacaatc tgctctgatg ccgcatagtt aagccagccc cgacacccgc caacacccgc 2280 tgacgagctt agtaaagccc tcgctagatt ttaatgcgga tgttgcgatt acttcgccaa 2340 ctattgcgat aacaagaaaa agccagcctt tcatgatata tctcccaatt tgtgtagggc 2400 ttattatgca cgcttaaaaa taataaaagc agacttgacc tgatagtttg gctgtgagca 2460 attatgtgct tagtgcatct aacgcttgag ttaagccgcg ccgcgaagcg gcgtcggctt 2520 gaacgaattg ttagacatta tttgccgact accttggtga tctcgccttt cacgtagtgg 2580 acaaattctt ccaactgatc tgcgcgcgag gccaagcgat cttcttcttg tccaagataa 2640 gcctgtctag cttcaagtat gacgggctga tactgggccg gcaggcgctc cattgcccag 2700 tcggcagcga catccttcgg cgcgattttg ccggttactg cgctgtacca aatgcgggac 2760 aacgtaagca ctacatttcg ctcatcgcca gcccagtcgg gcggcgagtt ccatagcgtt 2820 aaggtttcat ttagcgcctc aaatagatcc tgttcaggaa ccggatcaaa gagttcctcc 2880 gccgctggac ctaccaaggc aacgctatgt tctcttgctt ttgtcagcaa gatagccaga 2940 tcaatgtcga tcgtggctgg ctcgaagata cctgcaagaa tgtcattgcg ctgccattct 3000 ccaaattgca gttcgcgctt agctggataa cgccacggaa tgatgtcgtc gtgcacaaca 3060 atggtgactt ctacagcgcg gagaatctcg ctctctccag gggaagccga agtttccaaa 3120 aggtcgttga tcaaagctcg ccgcgttgtt tcatcaagcc ttacggtcac cgtaaccagc 3180 aaatcaatat cactgtgtgg cttcaggccg ccatccactg cggagccgta caaatgtacg 3240 gccagcaacg tcggttcgag atggcgctcg atgacgccaa ctacctctga tagttgagtc 3300 gatacttcgg cgatcaccgc ttccctcatg atgtttaact ttgttttagg gcgactgccc 3360 tgctgcgtaa catcgttgct gctccataac atcaaacatc gacccacggc gtaacgcgct 3420 tgctgcttgg atgcccgagg catagactgt accccaaaaa aacagtcata acaagccatg 3480 aaaaccgcca ctgcgccgtt accaccgctg cgttcggtca aggttctgga ccagttgcgt 3540 gagcgcatac gctacttgca ttacagctta cgaaccgaac aggcttatgt ccactgggtt 3600 cgtgccttca tccgtttcca cggtgtgcgt cacccggcaa ccttgggcag cagcgaagtc 3660 gaggcatttc tgtcctggct ggcgaacgag cgcaaggttt cggtctccac gcatcgtcag 3720 gcattggcgg ccttgctgtt cttctacggc aaggtgctgt gcacggatct gccctggctt 3780 caggagatcg gaagacctcg gccgtcgcgg cgcttgccgg tggtgctgac cccggatgaa 3840 gtggttcgca tcctcggttt tctggaaggc gagcatcgtt tgttcgccca gcttctgtat 3900 ggaacgggca tgcggatcag tgagggtttg caactgcggg tcaaggatct ggatttcgat 3960 cacggcacga tcatcgtgcg ggagggcaag ggctccaagg atcgggcctt gatgttaccc 4020 gagagcttgg cacccagcct gcgcgagcag gggaattaat tcccacgggt tttgctgccc 4080 gcaaacgggc tgttctggtg ttgctagttt gttatcagaa tcgcagatcc ggcttcagcc 4140 ggtttgccgg ctgaaagcgc tatttcttcc agaattgcca tgattttttc cccacgggag 4200 gcgtcactgg ctcccgtgtt gtcggcagct ttgattcgat aagcagcatc gcctgtttca 4260 ggctgtctat gtgtgactgt tgagctgtaa caagttgtct caggtgttca atttcatgtt 4320 ctagttgctt tgttttactg gtttcacctg ttctattagg tgttacatgc tgttcatctg 4380 ttacattgtc gatctgttca tggtgaacag ctttgaatgc accaaaaact cgtaaaagct 4440 ctgatgtatc tatctttttt acaccgtttt catctgtgca tatggacagt tttccctttg 4500 atatgtaacg gtgaacagtt gttctacttt tgtttgttag tcttgatgct tcactgatag 4560 atacaagagc cataagaacc tcagatcctt ccgtatttag ccagtatgtt ctctagtgtg 4620 gttcgttgtt tttgcgtgag ccatgagaac gaaccattga gatcatactt actttgcatg 4680 tcactcaaaa attttgcctc aaaactggtg agctgaattt ttgcagttaa agcatcgtgt 4740 agtgtttttc ttagtccgtt atgtaggtag gaatctgatg taatggttgt tggtattttg 4800 tcaccattca tttttatctg gttgttctca agttcggtta cgagatccat ttgtctatct 4860 agttcaactt ggaaaatcaa cgtatcagtc gggcggcctc gcttatcaac caccaatttc 4920 atattgctgt aagtgtttaa atctttactt attggtttca aaacccattg gttaagcctt 4980 ttaaactcat ggtagttatt ttcaagcatt aacatgaact taaattcatc aaggctaatc 5040 tctatatttg ccttgtgagt tttcttttgt gttagttctt ttaataacca ctcataaatc 5100 ctcatagagt atttgttttc aaaagactta acatgttcca gattatattt tatgaatttt 5160 tttaactgga aaagataagg caatatctct tcactaaaaa ctaattctaa tttttcgctt 5220 gagaacttgg catagtttgt ccactggaaa atctcaaagc ctttaaccaa aggattcctg 5280 atttccacag ttctcgtcat cagctctctg gttgctttag ctaatacacc ataagcattt 5340 tccctactga tgttcatcat ctgagcgtat tggttataag tgaacgatac cgtccgttct 5400 ttccttgtag ggttttcaat cgtggggttg agtagtgcca cacagcataa aattagcttg 5460 gtttcatgct ccgttaagtc atagcgacta atcgctagtt catttgcttt gaaaacaact 5520 aattcagaca tacatctcaa ttggtctagg tgattttaat cactatacca attgagatgg 5580 gctagtcaat gataattact agtccttttc ctttgagttg tgggtatctg taaattctgc 5640 tagacctttg ctggaaaact tgtaaattct gctagaccct ctgtaaattc cgctagacct 5700 ttgtgtgttt tttttgttta tattcaagtg gttataattt atagaataaa gaaagaataa 5760 aaaaagataa aaagaataga tcccagccct gtgtataact cactacttta gtcagttccg 5820 cagtattaca aaaggatgtc gcaaacgctg tttgctcctc tacaaaacag accttaaaac 5880 cctaaaggct taagtagcac cctcgcaagc tcgggcaaat cgctgaatat tccttttgtc 5940 tccgaccatc aggcacctga gtcgctgtct ttttcgtgac attcagttcg ctgcgctcac 6000 ggctctggca gtgaatgggg gtaaatggca ctacaggcgc cttttatgga ttcatgcaag 6060 gaaactaccc ataatacaag aaaagcccgt cacgggcttc tcagggcgtt ttatggcggg 6120 tctgctatgt ggtgctatct gactttttgc tgttcagcag ttcctgccct ctgattttcc 6180 agtctgacca cttcggatta tcccgtgaca ggtcattcag actggctaat gcacccagta 6240 aggcagcggt atcatcaaca ggctta 6266 <210> 8 <211> 1695 <212> DNA <213> Yarrowia lipolytica <400> 8 atgtgtgcaa cctcctccca gtttactcag attaccgagc ataattctcg acgatctgct 60 aactaccagc cgaacctttg gaactttgag tttctccagt ctctcgaaaa tgacctgaag 120 gtggaaaagc tcgaggagaa ggcgaccaaa ctcgaggagg aggtgcgatg tatgatcaac 180 agagttgaca cccaacccct gtctttgctg gagctgatcg acgatgtgca gcggttgggt 240 ttgacttata aattcgagaa ggacattatc aaggcactgg agaacattgt gctcctcgac 300 gagaacaaga agaacaagtc tgatcttcac gctaccgctc tctctttccg acttcttcga 360 caacacggct tcgaggtgtc gcaggacgtc ttcgagagat ttaaggacaa ggagggagga 420 tttagcggcg agctgaaggg agacgttcag ggtcttctct ccttgtacga ggcgtcctac 480 ctgggattcg agggagagaa cctcctggag gaagctcgta cattttccat cactcacctt 540 aagaataacc ttaaggaggg aattaacacc aaggtggccg agcaggtttc tcacgccctg 600 gagctcccct accaccaacg gctccataga ctggaggctc gttggttcct ggacaaatat 660 gagccaaagg agcctcatca tcagttgctg ttggagttgg ccaagctgga cttcaatatg 720 gttcagacgc tgcaccaaaa ggagttgcag gacctgtctc gatggtggac cgagatggga 780 ttggcctcga agctggattt tgtccgtgac cgacttatgg aggtctattt ttgggccctt 840 ggaatggcgc ctgaccccca gttcggagag tgccggaagg cggtgacgaa gatgttcggt 900 cttgtgacta tcatcgacga cgtctacgat gtctacggca cactcgacga gttgcagctg 960 ttcactgacg ccgtcgagcg atgggatgtg aacgccatta atactctccc tgactatatg 1020 aagctgtgct tcctggctct gtacaacact gtcaacgata cctcgtactc tatcctcaag 1080 gagaagggac acaacaatct ctcctacttg accaaatcct ggcgagaact gtgcaaggct 1140 tttctgcagg aggctaaatg gtccaataac aagatcattc ctgctttttc taaatacctg 1200 gaaaatgcct cggtgtcgag ctctggcgtc gcccttctgg ccccttccta cttctccgtc 1260 tgccagcagc aggaggatat ttccgatcat gctcttagat cgctgaccga ttttcacggc 1320 ctcgtgcgat cttcctgcgt gatttttcgg ttgtgtaatg accttgcgac ctctgctgct 1380 gagctggaac gaggcgagac tacaaattcc attatttctt acatgcacga aaacgatgga 1440 acatctgaag aacaggctag agaggaactg cgaaagttga tcgacgccga gtggaagaag 1500 atgaacagag agcgggtgtc cgactctacc ctgcttccca aggccttcat ggagatcgcc 1560 gtgaacatgg ctcgagtttc ccattgtact taccagtacg gtgacggcct gggtcgtccg 1620 gactacgcta cagagaaccg aatcaagctg ctgctcatcg accccttccc tatcaaccaa 1680 ttgatgtacg tgtaa 1695 <210> 9 <211> 40 <212> DNA <213> Artificial Sequence <220> <223> PCR Primer <400> 9 gcttatggat cctctagact attacacgta catcaattgg 40 <210> 10 <211> 30 <212> DNA <213> Artificial Sequence <220> <223> PCR Primer <400> 10 caccatgtgt gcaacctcct cccagtttac 30 <210> 11 <211> 8190 <212> DNA <213> Artificial Sequence <220> <223> Synthetic Construct <400> 11 tcgaccggtg agaagaacag catcgggaca agggaaggaa gaacaaagac aaagaaaaca 60 aaagaaagca attgaaaaca aaacaaaaca attttcattc cttctcttat cattcctttt 120 cttttctttt ctctcattca acgcactcca tcgtatccgt attcctctta ttttttctct 180 ttctctatat ccatttcttt ctctctaggt gtgtcctctc tctctcttca atttctctac 240 tccgcattcc aacgcatcct tcccccaacc tcccatttcc tccttacggc ccgatagcga 300 tcgtctttcc ctcgctatca ctcgctaccg gcccctcctc tgcaccgtaa cctcctacgt 360 atttaccata tcataaagtt ttttccgacg cttatcgctg accccctgtc gccctcctat 420 tggcttccgg attatcttct tgtccataag gtgatccatg cttcctgaag attcccgaaa 480 tgtgtccact ttggcgggga atcattccat ccacttcttt ctctctcgct ttcctcattc 540 ggcgctcccc ttccgcgtct cattggtctt ccgctccgtt tttgctttgc cgatgttact 600 tggggagagg tgcgataatc ctttcgcaaa aactcggttt gacgcctccc atggtataaa 660 tagtgggtgg tggacaggtg ccttcgcttt tctttaagca agagaatccc attgtcttga 720 ctatcacgaa ttcacataca ttatgaagat caccgctgtc attgcccttt tattctcact 780 tgctgctgcc tcacctattc cagttgccga tcctggtgtg gtttcagtta gcaagtcata 840 tgctgatttc cttcgtgttt accaaagttg gaacactttt gctaatcctg atagacccaa 900 ccttaagaag agaaatgata cacctgcaag tggatatcaa gttgaaaaag tcgtaatttt 960 gtcacgtcac ggtgttaggg cccctacaaa aatgactcaa accatgcgtg atgtcactcc 1020 taatacatgg ccagaatggc ccgttaaatt aggatatatt acaccaagag gtgaacactt 1080 gatatcactt atgggcggtt tttaccgtca aaaattccag caacaaggaa tcctttctca 1140 gggctcctgt cctactccta actccatata tgtctgggct gacgtcgatc agcgtacttt 1200 aaaaactggt gaagcattcc ttgctggttt ggcaccacaa tgtggcttga caattcatca 1260 ccaacaaaat cttgagaaag ctgatcctct ttttcatccc gttaaagctg gaacctgctc 1320 tatggataaa actcaagttc aacaagctgt tgagaaggag gcacaaactc ctatagataa 1380 tttgaatcaa cattacatcc cctttttagc tttaatgaat acaacattaa attttagtac 1440 ttctgcctgg tgccaaaaac actctgctga taaatcctgt gacctaggtt tatccatgcc 1500 ttctaaattg tccataaaag ataatggtaa caaggtcgca ttggatggag ctattggtct 1560 atcctctact ttggccgaga tttttcttct tgaatatgct caaggcatgc ctcaagctgc 1620 ttggggtaac atccactcag agcaagagtg ggcttccttg ctaaagttgc ataatgttca 1680 attcgatttg atggcccgaa caccttatat tgctcgacat aacggtactc ctttattgca 1740 agctatatca aatgccctta atcccaacgc cactgaatca aaacttccag atatttcacc 1800 tgataacaaa atattgttca ttgcaggtca tgacacaaat attgctaata tagccggcat 1860 gttaaatatg cgttggacat taccaggtca accagataat actcctccag gtggtgccct 1920 agtatttgaa cgtcttgctg ataaaagtgg aaaacaatat gtttctgtat ctatggttta 1980 tcaaacacta gaacaacttc gatcacagac tcccctttct ctaaatcagc ctgccggatc 2040 tgttcaactt aaaattccag gttgcaatga tcaaacagcc gagggttact gtcctctttc 2100 cacttttaca agagttgttt cccaatctgt tgaacctgga tgccaacttc aataatgagg 2160 atccaagtaa gggaatgaga atgtgatcca cttttaattc ctaatgaata catgcctata 2220 gttcttttct tttgttcttt atgtcgtttt tcgatggtac ggccgttgtc aatctcagtt 2280 tgtgtgcttg gttgcagctt ggtttcaaat ctgttcatct catgaatctt ttaccatttc 2340 accacacgtt tataccattc tctcatagaa tcttcatcaa accatctcgg ggttagagtg 2400 gaaagaaagt cttgttcttt tatttccttt tttccatctt caaggctttt cttttcttcc 2460 tcctcctcgt tcatcttgag gtttgacgtg tctgtttaga attttgagct gttgcagcat 2520 cttatttttt gttttgcgaa aacgaagcgc tttactctct tcatcagttg gacgattgta 2580 cctttgaaaa ccaactactt ttgcatgttt tgtatagaaa tcaatgatat tagaatccca 2640 tcctttaatt tctttcaaag tagttgagct atagttaagt gtaagggccc tactgcgaaa 2700 gcatttgcca aggatgtttt cattaatcaa gaacgaaagt taggggatcg aagacgatca 2760 gataccgtcg tagtcttaac cataaactat gccgactagg gatcgggcaa tgtttcattt 2820 atcgacttgc tcggcacctt acgagaaatc aaagtctttg ggttccgggg ggagtatggt 2880 cgcaaggctg aaacttaaag gaattgacgg aagggcacca caatggagtg gagcctgcgg 2940 cttaatttga ctcaacacgg ggaaactcac caggtccaga catagtaagg attgacagat 3000 tgagagctct ttcttgattc tatgggtggt ggtgcatggc cgttcttagt tggtggagtg 3060 atttgtctgc ttaattgcga taacgaacga gaccttaacc tgctaaatag ctggatcagc 3120 cattttggct gatcattagc ttcttagagg gactattggc ataaagccaa tggaagtttg 3180 aggcaataac aggtctgtga tgcccttaga tgttctgggc cgcacgcgcg ctacactgac 3240 ggagccaacg agttgaaaaa aatcttttga ttttttatcc ttggccggaa ggtctgggta 3300 atcttgttaa actccgtcgt gctggggata gagcattgca attattgcgg ccgctcctca 3360 attcgatgtt gcagatttta caagttttta aaatgtattt cattattact ttttatatgc 3420 ctaataaaaa agccatagtt taatctatag ataacttttt ttccagtgca ctaacggacg 3480 ttacattccc atacaaaact gcgtagttaa agctaaggaa aagttaatat catgttaatt 3540 aaatacgcta tttacaataa gacattgaac tcatttatat cgttgaatat gaataaccaa 3600 tttcagcgaa tttttaacaa acatcgttca cctcgtttaa ggatatcttg tgtatggggt 3660 gttgacttgc tttatcgaat aattaccgta cctgtaattg gcttgctgga tatagcggta 3720 gtctaatatc tagcaaaaat cttttgggtg aaaaggcttg caatttcacg acaccgaact 3780 atttgtcatt ttttaataag gaagttttcc ataaattcct gtaattctcg gttgatctaa 3840 ttgaaaagag tagttttgca tcacgatgag gagggctttt gtagaaagaa atacgaacga 3900 aacgaaaatc agcgttgcca tcgctttgga caaagctccc ttacctgaag agtcgaattt 3960 tattgatgaa cttataactt ccaagcatgc aaaccaaaag ggagaacaag taatccaagt 4020 agacacggga attggattct tggatcacat gtatcatgca ctggctaaac atgcaggctg 4080 gagcttacga ctttactcaa gaggtgattt aatcatcgat gatcatcaca ctgcagaaga 4140 tactgctatt gcacttggta ttgcattcaa gcaggctatg ggtaactttg ccggcgttaa 4200 aagatttgga catgcttatt gtccacttga cgaagctctt tctagaagcg tagttgactt 4260 gtcgggacgg ccctatgctg ttatcgattt gggattaaag cgtgaaaagg ttggggaatt 4320 gtcctgtgaa atgatccctc acttactata ttccttttcg gtagcagctg gaattacttt 4380 gcatgttacc tgcttatatg gtagtaatga ccatcatcgt gctgaaagcg cttttaaatc 4440 tctggctgtt gccatgcgcg cggctactag tcttactgga agttctgaag tcccaagcac 4500 gaagggagtg ttgtaaagat gaattggatt atgtcaggaa aagaacgaca attttgcatc 4560 caaattgtct aaattttaga gttgcttgaa aacaatagaa ccttacttgc tttataatta 4620 cgttaattag aagcgttatc tcgtgaagga atatagtacg tagccgtata aattgaattg 4680 aatgttcagc ttatagaata gagacacttt gctgttcaat gcgtcgtcac ttaccatact 4740 cactttatta tacgacttta agtataaact ccgcggttat ggtaaaatta atgatgcaca 4800 aacgtccgat tccatatggg tacactacaa ttaaatactt ttaagctgat cccccacaca 4860 ccatagcttc aaaatgtttc tactcctttt ttactcttcc agattttctc ggactccgcg 4920 catcgccgta ccacttcaaa acacccaagc acagcatact aaattttccc tctttcttcc 4980 tctagggtgt cgttaattac ccgtactaaa ggtttggaaa agaaaaaaga gaccgcctcg 5040 tttctttttc ttcgtcgaaa aaggcaataa aaatttttat cacgtttctt tttcttgaaa 5100 tttttttttt tagttttttt ctctttcagt gacctccatt gatatttaag ttaataaacg 5160 gtcttcaatt tctcaagttt cagtttcatt tttcttgttc tattacaact ttttttactt 5220 cttgttcatt agaaagaaag catagcaatc taatctaagg gcggtgttga caattaatca 5280 tcggcatagt atatcggcat agtataatac gacaaggtga ggaactaaac catggccaag 5340 ttgaccagtg ccgttccggt gctcaccgcg cgcgacgtcg ccggagcggt cgagttctgg 5400 accgaccggc tcgggttctc ccgggacttc gtggaggacg acttcgccgg tgtggtccgg 5460 gacgacgtga ccctgttcat cagcgcggtc caggaccagg tggtgccgga caacaccctg 5520 gcctgggtgt gggtgcgcgg cctggacgag ctgtacgccg agtggtcgga ggtcgtgtcc 5580 acgaacttcc gggacgcctc cgggccggcc atgaccgaga tcggcgagca gccgtggggg 5640 cgggagttcg ccctgcgcga cccggccggc aactgcgtgc acttcgtggc cgaggagcag 5700 gactgacacg tccgacggcg gcccacgggt cccaggcctc ggagatccgt cccccttttc 5760 ctttgtcgat atcatgtaat tagttatgtc acgcttacat tcacgccctc cccccacatc 5820 cgctctaacc gaaaaggaag gagttagaca acctgaagtc taggtcccta tttatttttt 5880 tatagttatg ttagtattaa gaacgttatt tatatttcaa atttttcttt tttttctgta 5940 cagacgcgag cttcccagta aatgtgccat ctcgtaggca gaaaacggtt cccccgtagg 6000 gtctctctct tggcctcctt tctaggtcgg gctgattgct cttgaagctc tctagggggg 6060 ctcacaccat aggcagataa cgttccccac cggctcgcct cgtaagcgca caaggactgc 6120 tcccaaagat cctaggcggg attttgccga tttcggccta aaggaaccgg aacacgtaga 6180 aagccagtcc gcagaaacgg tgctgacccc ggatgaatgt cagctactgg gctatctgga 6240 caagggaaaa cgcaagcgca aagagaaagc aggtagcttg cagtgggctt acatggcgat 6300 agctagactg ggcggtttta tggacagcaa gcgaaccgga attgccagct ggggcgccct 6360 ctggtaaggt tgggaagccc tgcaaagtaa actggatggc tttcttgccg ccaaggatct 6420 gatggcgcag gggatcaaga tctgatcaag agacaggatg aggatcgttt cgcatgattg 6480 aacaagatgg attgcacgca ggttctccgg ccgcttgggt ggagaggcta ttcggctatg 6540 actgggcaca acagacaatc ggctgctctg atgccgccgt gttccggctg tcagcgcagg 6600 ggcgcccggt tctttttgtc aagaccgacc tgtccggtgc cctgaatgaa ctgcaggacg 6660 aggcagcgcg gctatcgtgg ctggccacga cgggcgttcc ttgcgcagct gtgctcgacg 6720 ttgtcactga agcgggaagg gactggctgc tattgggcga agtgccgggg caggatctcc 6780 tgtcatctcg ccttgctcct gccgagaaag tatccatcat ggctgatgca atgcggcggc 6840 tgcatacgct tgatccggct acctgcccat tcgaccacca agcgaaacat cgcatcgagc 6900 gagcacgtac tcggatggaa gccggtcttg tcgatcagga tgatctggac gaagagcatc 6960 aggggctcgc gccagccgaa ctgttcgcca ggctcaaggc gcgcatgccc gacggcgagg 7020 atctcgtcgt gatccatggc gatgcctgct tgccgaatat catggtggaa aatggccgct 7080 tttctggatt caacgactgt ggccggctgg gtgtggcgga ccgctatcag gacatagcgt 7140 tggatacccg tgatattgct gaagagcttg gcggcgaatg ggctgaccgc ttcctcgtgc 7200 tttacggtat cgccgctccc gattcgcagc gcatcgcctt ctatcgcctt cttgacgagt 7260 tcttctgaat tgaaaaaggt accaagttta ctcatatata ctttagattg atttaaaact 7320 tcatttttaa tttaaaagga tctaggtgaa gatccttttt gataatctca tgaccaaaat 7380 cccttaacgt gagttttcgt tccactgagc gtcagacccc gtagaaaaga tcaaaggatc 7440 ttcttgagat cctttttttc tgcgcgtaat ctgctgcttg caaacaaaaa aaccaccgct 7500 accagcggtg gtttgtttgc cggatcaaga gctaccaact ctttttccga aggtaactgg 7560 cttcagcaga gcgcagatac caaatactgt ccttctagtg tagccgtagt taggccacca 7620 cttcaagaac tctgtagcac cgcctacata cctcgctctg ctaatcctgt taccagtggc 7680 tgctgccagt ggcgataagt cgtgtcttac cgggttggac tcaagacgat agttaccgga 7740 taaggcgcag cggtcgggct gaacgggggg ttcgtgcaca cagcccagct tggagcgaac 7800 gacctacacc gaactgagat acctacagcg tgagcattga gaaagcgcca cgcttcccga 7860 agggagaaag gcggacaggt atccggtaag cggcagggtc ggaacaggag agcgcacgag 7920 ggagcttcca gggggaaacg cctggtatct ttatagtcct gtcgggtttc gccacctctg 7980 acttgagcgt cgatttttgt gatgctcgtc aggggggcgg agcctatgga aaaacgccag 8040 caacgcggcc tttttacggt tcctggcctt ttgctggcct tttgctcaca tgttctttcc 8100 tgcgttatcc cctgattctg tggataaccg tattaccgcc tttgagtgag ctgataccgc 8160 tcgccgcagc cgaacgaccg agcgcagcga 8190 <210> 12 <211> 1724 <212> DNA <213> Yarrowia lipolytica <400> 12 gaattcaaaa caaaatgtgt gcaacctcct cccagtttac tcagattacc gagcataatt 60 ctcgacgatc tgctaactac cagccgaacc tttggaactt tgagtttctc cagtctctcg 120 aaaatgacct gaaggtggaa aagctcgagg agaaggcgac caaactcgag gaggaggtgc 180 gatgtatgat caacagagtt gacacccaac ccctgtcttt gctggagctg atcgacgatg 240 tgcagcggtt gggtttgact tataaattcg agaaggacat tatcaaggca ctggagaaca 300 ttgtgctcct cgacgagaac aagaagaaca agtctgatct tcacgctacc gctctctctt 360 tccgacttct tcgacaacac ggcttcgagg tgtcgcagga cgtcttcgag agatttaagg 420 acaaggaggg aggatttagc ggcgagctga agggagacgt tcagggtctt ctctccttgt 480 acgaggcgtc ctacctggga ttcgagggag agaacctcct ggaggaagct cgtacatttt 540 ccatcactca ccttaagaat aaccttaagg agggaattaa caccaaggtg gccgagcagg 600 tttctcacgc cctggagctc ccctaccacc aacggctcca tagactggag gctcgttggt 660 tcctggacaa atatgagcca aaggagcctc atcatcagtt gctgttggag ttggccaagc 720 tggacttcaa tatggttcag acgctgcacc aaaaggagtt gcaggacctg tctcgatggt 780 ggaccgagat gggattggcc tcgaagctgg attttgtccg tgaccgactt atggaggtct 840 atttttgggc ccttggaatg gcgcctgacc cccagttcgg agagtgccgg aaggcggtga 900 cgaagatgtt cggtcttgtg actatcatcg acgacgtcta cgatgtctac ggcacactcg 960 acgagttgca gctgttcact gacgccgtcg agcgatggga tgtgaacgcc attaatactc 1020 tccctgacta tatgaagctg tgcttcctgg ctctgtacaa cactgtcaac gatacctcgt 1080 actctatcct caaggagaag ggacacaaca atctctccta cttgaccaaa tcctggcgag 1140 aactgtgcaa ggcttttctg caggaggcta aatggtccaa taacaagatc attcctgctt 1200 tttctaaata cctggaaaat gcctcggtgt cgagctctgg cgtcgccctt ctggcccctt 1260 cctacttctc cgtctgccag cagcaggagg atatttccga tcatgctctt agatcgctga 1320 ccgattttca cggcctcgtg cgatcttcct gcgtgatttt tcggttgtgt aatgaccttg 1380 cgacctctgc tgctgagctg gaacgaggcg agactacaaa ttccattatt tcttacatgc 1440 acgaaaacga tggaacatct gaagaacagg ctagagagga actgcgaaag ttgatcgacg 1500 ccgagtggaa gaagatgaac agagagcggg tgtccgactc taccctgctt cccaaggcct 1560 tcatggagat cgccgtgaac atggctcgag tttcccattg tacttaccag tacggtgacg 1620 gcctgggtcg tccggactac gctacagaga accgaatcaa gctgctgctc atcgacccct 1680 tccctatcaa ccaattgatg tacgtgtaat agtctagagg atcc 1724 <210> 13 <211> 1701 <212> DNA <213> Artificial Sequence <220> <223> Synthetic Construct <400> 13 gaattcaaca aaaatgtgct ctgtttccac tgagaacgtg tcctttactg agactgagac 60 tgaagcacgt agaagcgcca actacgaacc caactcctgg gattatgact ttctgctgtc 120 ttctgacacc gacgagtcga tcgaggttta taaggataag gccaagaaac ttgaggccga 180 ggtcagacga gagattaaca acgagaaggc cgagttcctg acccttcttg agctgatcga 240 caacgttcaa cgacttggtc ttggttaccg tttcgaatcc gatatccgac gtgcattgga 300 tcgatttgtc tcgtccggag gtttcgatgg tgtgactaag acgtcgctgc acgccacagc 360 tctttccttc agactgttgc ggcagcatgg atttgaggtt tcccaggaag ccttttctgg 420 tttcaaggat cagaacggaa actttttgga gaatctcaag gaggacacca aggccatcct 480 gtcgttgtat gaggcctcgt tcctggctct tgagggcgag aatattctgg atgaggctcg 540 ggttttcgct atttcgcacc tgaaggagtt gtcggaggaa aagatcggaa aggaactggc 600 cgagcaggtc aaccatgcac ttgaacttcc cctgcatcga cgtacccagc gactggaggc 660 cgtgtggagc atcgaggcgt acagaaaaaa ggaggatgct aatcaggttc tgctcgaact 720 cgctatcctc gactataaca tgattcagag cgtgtaccag cgtgacttgc gagagacaag 780 ccggtggtgg cgacgggtgg gactggccac gaagctccac tttgctaaag atcgattgat 840 tgagtcgttc tactgggcag tgggtgtggc ctttgagcct cagtactccg actgccgaaa 900 ctccgttgca aagatgtttt cttttgtcac tatcatcgac gacatctacg atgtttacgg 960 cactctcgat gaactcgaac tcttcacgga cgctgtcgag cgatgggatg tgaatgccat 1020 taatgatctg ccagattata tgaagttgtg tttcttggcg ctctacaaca caattaatga 1080 aattgcctac gacaacctca aggacaaggg agagaacatt ctgccctacc ttactaaagc 1140 ctgggccgac ctgtgtaacg cctttttgca ggaagccaag tggctctata acaaatctac 1200 tcctacattt gatgactact tcggcaacgc ttggaagtct tccagcggcc ctctccagtt 1260 gatcttcgct tactttgcag tggtccagaa catcaagaaa gaggagattg agaacctcca 1320 gaagtatcac gacatcatct cccgaccttc gcacatcttt cgactgtgca atgaccttgc 1380 ctccgcatcc gctgagattg cccgaggaga aacagccaat tctgtgtcgt gttacatgcg 1440 tacaaagggc atctccgagg agctggctac cgagtctgtg atgaacctga tcgatgaaac 1500 ctgtaagaag atgaacaaag agaaactggg cggttctctg ttcgccaaac catttgttga 1560 aaccgcgatc aatctggctc gtcagtctca ttgtacttac cataacggtg acgcgcacac 1620 ttcgccggac gaattgaccc gtaagcgtgt gctttcggtg attaccgagc cgatcctgcc 1680 gttcgaaaga taataggatc c 1701 <210> 14 <211> 28 <212> DNA <213> Artificial Sequence <220> <223> PCR Primer <400> 14 gatcaagctt aaccggaatt gccagctg 28 <210> 15 <211> 33 <212> DNA <213> Artificial Sequence <220> <223> PCR Primer <400> 15 gatccgatcg tcagaagaac tcgtcaagaa ggc 33 <210> 16 <211> 38 <212> DNA <213> Artificial Sequence <220> <223> PCR Primer <400> 16 catcaatgca tcgcccttag gaggtaaaaa aaaatgac 38 <210> 17 <211> 26 <212> DNA <213> Artificial Sequence <220> <223> PCR Primer <400> 17 ccttctgcag gacgcgttgt tatagc 26 <210> 18 <211> 60 <212> DNA <213> Artificial Sequence <220> <223> PCR Primer <400> 18 gatcatgcat tcgcccttag gaggtaaaaa aacatgagtt ttgatattgc caaatacccg 60 60 <210> 19 <211> 31 <212> DNA <213> Artificial Sequence <220> <223> PCR Primer <400> 19 catgctgcag ttatgccagc caggccttga t 31 <210> 20 <211> 8803 <212> DNA <213> Artificial Sequence <220> <223> Synthetic Construct <400> 20 gctggtacca tatgggaatt cgaagctttc tagaacaaaa actcatctca gaagaggatc 60 tgaatagcgc cgtcgaccat catcatcatc atcattgagt ttaaacggtc tccagcttgg 120 ctgttttggc ggatgagaga agattttcag cctgatacag attaaatcag aacgcagaag 180 cggtctgata aaacagaatt tgcctggcgg cagtagcgcg gtggtcccac ctgaccccat 240 gccgaactca gaagtgaaac gccgtagcgc cgatggtagt gtggggtctc cccatgcgag 300 agtagggaac tgccaggcat caaataaaac gaaaggctca gtcgaaagac tgggcctttc 360 gttttatctg ttgtttgtcg gtgaacgctc tcctgagtag gacaaatccg ccgggagcgg 420 atttgaacgt tgcgaagcaa cggcccggag ggtggcgggc aggacgcccg ccataaactg 480 ccaggcatca aattaagcag aaggccatcc tgacggatgg cctttttgcg tttctacaaa 540 ctctttttgt ttatttttct aaatacattc aaatatgtat ccgcttaacc ggaattgcca 600 gctggggcgc cctctggtaa ggttgggaag ccctgcaaag taaactggat ggctttctcg 660 ccgccaagga tctgatggcg caggggatca agctctgatc aagagacagg atgaggatcg 720 tttcgcatga ttgaacaaga tggattgcac gcaggttctc cggccgcttg ggtggagagg 780 ctattcggct atgactgggc acaacagaca atcggctgct ctgatgccgc cgtgttccgg 840 ctgtcagcgc aggggcgccc ggttcttttt gtcaagaccg acctgtccgg tgccctgaat 900 gaactgcaag acgaggcagc gcggctatcg tggctggcca cgacgggcgt tccttgcgca 960 gctgtgctcg acgttgtcac tgaagcggga agggactggc tgctattggg cgaagtgccg 1020 gggcaggatc tcctgtcatc tcaccttgct cctgccgaga aagtatccat catggctgat 1080 gcaatgcggc ggctgcatac gcttgatccg gctacctgcc cattcgacca ccaagcgaaa 1140 catcgcatcg agcgagcacg tactcggatg gaagccggtc ttgtcgatca ggatgatctg 1200 gacgaagagc atcaggggct cgcgccagcc gaactgttcg ccaggctcaa ggcgagcatg 1260 cccgacggcg aggatctcgt cgtgacccat ggcgatgcct gcttgccgaa tatcatggtg 1320 gaaaatggcc gcttttctgg attcatcgac tgtggccggc tgggtgtggc ggaccgctat 1380 caggacatag cgttggctac ccgtgatatt gctgaagagc ttggcggcga atgggctgac 1440 cgcttcctcg tgctttacgg tatcgccgct cccgattcgc agcgcatcgc cttctatcgc 1500 cttcttgacg agttcttctg acatgaccaa aatcccttaa cgtgagtttt cgttccactg 1560 agcgtcagac cccgtagaaa agatcaaagg atcttcttga gatccttttt ttctgcgcgt 1620 aatctgctgc ttgcaaacaa aaaaaccacc gctaccagcg gtggtttgtt tgccggatca 1680 agagctacca actctttttc cgaaggtaac tggcttcagc agagcgcaga taccaaatac 1740 tgtccttcta gtgtagccgt agttaggcca ccacttcaag aactctgtag caccgcctac 1800 atacctcgct ctgctaatcc tgttaccagt ggctgctgcc agtggcgata agtcgtgtct 1860 taccgggttg gactcaagac gatagttacc ggataaggcg cagcggtcgg gctgaacggg 1920 gggttcgtgc acacagccca gcttggagcg aacgacctac accgaactga gatacctaca 1980 gcgtgagcta tgagaaagcg ccacgcttcc cgaagggaga aaggcggaca ggtatccggt 2040 aagcggcagg gtcggaacag gagagcgcac gagggagctt ccagggggaa acgcctggta 2100 tctttatagt cctgtcgggt ttcgccacct ctgacttgag cgtcgatttt tgtgatgctc 2160 gtcagggggg cggagcctat ggaaaaacgc cagcaacgcg gcctttttac ggttcctggc 2220 cttttgctgg ccttttgctc acatgttctt tcctgcgtta tcccctgatt ctgtggataa 2280 ccgtattacc gcctttgagt gagctgatac cgctcgccgc agccgaacga ccgagcgcag 2340 cgagtcagtg agcgaggaag cggaagagcg cctgatgcgg tattttctcc ttacgcatct 2400 gtgcggtatt tcacaccgca tatggtgcac tctcagtaca atctgctctg atgccgcata 2460 gttaagccag tatacactcc gctatcgcta cgtgactggg tcatggctgc gccccgacac 2520 ccgccaacac ccgctgacgc gccctgacgg gcttgtctgc tcccggcatc cgcttacaga 2580 caagctgtga ccgtctccgg gagctgcatg tgtcagaggt tttcaccgtc atcaccgaaa 2640 cgcgcgaggc agcagatcaa ttcgcgcgcg aaggcgaagc ggcatgcatt tacgttgaca 2700 ccatcgaatg gtgcaaaacc tttcgcggta tggcatgata gcgcccggaa gagagtcaat 2760 tcagggtggt gaatgtgaaa ccagtaacgt tatacgatgt cgcagagtat gccggtgtct 2820 cttatcagac cgtttcccgc gtggtgaacc aggccagcca cgtttctgcg aaaacgcggg 2880 aaaaagtgga agcggcgatg gcggagctga attacattcc caaccgcgtg gcacaacaac 2940 tggcgggcaa acagtcgttg ctgattggcg ttgccacctc cagtctggcc ctgcacgcgc 3000 cgtcgcaaat tgtcgcggcg attaaatctc gcgccgatca actgggtgcc agcgtggtgg 3060 tgtcgatggt agaacgaagc ggcgtcgaag cctgtaaagc ggcggtgcac aatcttctcg 3120 cgcaacgcgt cagtgggctg atcattaact atccgctgga tgaccaggat gccattgctg 3180 tggaagctgc ctgcactaat gttccggcgt tatttcttga tgtctctgac cagacaccca 3240 tcaacagtat tattttctcc catgaagacg gtacgcgact gggcgtggag catctggtcg 3300 cattgggtca ccagcaaatc gcgctgttag cgggcccatt aagttctgtc tcggcgcgtc 3360 tgcgtctggc tggctggcat aaatatctca ctcgcaatca aattcagccg atagcggaac 3420 gggaaggcga ctggagtgcc atgtccggtt ttcaacaaac catgcaaatg ctgaatgagg 3480 gcatcgttcc cactgcgatg ctggttgcca acgatcagat ggcgctgggc gcaatgcgcg 3540 ccattaccga gtccgggctg cgcgttggtg cggatatctc ggtagtggga tacgacgata 3600 ccgaagacag ctcatgttat atcccgccgt caaccaccat caaacaggat tttcgcctgc 3660 tggggcaaac cagcgtggac cgcttgctgc aactctctca gggccaggcg gtgaagggca 3720 atcagctgtt gcccgtctca ctggtgaaaa gaaaaaccac cctggcgccc aatacgcaaa 3780 ccgcctctcc ccgcgcgttg gccgattcat taatgcagct ggcacgacag gtttcccgac 3840 tggaaagcgg gcagtgagcg caacgcaatt aatgtgagtt agcgcgaatt gatctggttt 3900 gacagcttat catcgactgc acggtgcacc aatgcttctg gcgtcaggca gccatcggaa 3960 gctgtggtat ggctgtgcag gtcgtaaatc actgcataat tcgtgtcgct caaggcgcac 4020 tcccgttctg gataatgttt tttgcgccga catcataacg gttctggcaa atattctgaa 4080 atgagctgtt gacaattaat catccggctc gtataatgtg tggaattgtg agcggataac 4140 aatttcacac aggaaacagc gccgctgaga aaaagcgaag cggcactgct ctttaacaat 4200 ttatcagaca atctgtgtgg gcactcgacc ggaattatcg attaacttta ttattaaaaa 4260 ttaaagaggt atatattaat gtatcgatta aataaggagg aataaaccat gtgtgcgacc 4320 tcttctcaat ttactcagat taccgagcat aattcccgtc gttccgcaaa ctatcagcca 4380 aacctgtgga atttcgaatt cctgcaatcc ctggagaacg acctgaaagt ggaaaagctg 4440 gaggagaaag cgaccaaact ggaggaagaa gttcgctgca tgatcaaccg tgtagacacc 4500 cagccgctgt ccctgctgga gctgatcgac gatgtgcagc gcctgggtct gacctacaaa 4560 tttgaaaaag acatcattaa agccctggaa aacatcgtac tgctggacga aaacaaaaag 4620 aacaaatctg acctgcacgc aaccgctctg tctttccgtc tgctgcgtca gcacggtttc 4680 gaggtttctc aggatgtttt tgagcgtttc aaggataaag aaggtggttt cagcggtgaa 4740 ctgaaaggtg acgtccaagg cctgctgagc ctgtatgaag cgtcttacct gggtttcgag 4800 ggtgagaacc tgctggagga ggcgcgtacc ttttccatca cccacctgaa gaacaacctg 4860 aaagaaggca ttaataccaa ggttgcagaa caagtgagcc acgccctgga actgccatat 4920 caccagcgtc tgcaccgtct ggaggcacgt tggttcctgg ataaatacga accgaaagaa 4980 ccgcatcacc agctgctgct ggagctggcg aagctggatt ttaacatggt acagaccctg 5040 caccagaaag agctgcaaga tctgtcccgc tggtggaccg agatgggcct ggctagcaaa 5100 ctggattttg tacgcgaccg cctgatggaa gtttatttct gggcactggg tatggcgcca 5160 gacccgcagt ttggtgaatg tcgcaaagct gttactaaaa tgtttggtct ggtgacgatc 5220 atcgatgacg tgtatgacgt ttatggcact ctggacgaac tgcaactgtt caccgatgct 5280 gtagagcgct gggacgttaa cgctattaac accctgccgg actatatgaa actgtgtttc 5340 ctggcactgt acaacaccgt taacgacacg tcctattcta ttctgaaaga gaaaggtcat 5400 aacaacctgt cctatctgac gaaaagctgg cgtgaactgt gcaaagcctt tctgcaagag 5460 gcgaaatggt ccaacaacaa aattatcccg gctttctcca agtacctgga aaacgccagc 5520 gtttcctcct ccggtgtagc gctgctggcg ccgtcttact tttccgtatg ccagcagcag 5580 gaagacatct ccgaccacgc gctgcgttcc ctgaccgact tccatggtct ggtgcgttct 5640 agctgcgtta tcttccgcct gtgcaacgat ctggccacct ctgcggcgga gctggaacgt 5700 ggcgagacta ccaattctat cattagctac atgcacgaaa acgatggtac cagcgaggaa 5760 caggcccgcg aagaactgcg taaactgatc gacgccgaat ggaaaaagat gaatcgtgaa 5820 cgcgttagcg actccaccct gctgcctaaa gcgttcatgg aaatcgcagt taacatggca 5880 cgtgtttccc actgcaccta ccagtatggc gatggtctgg gtcgcccaga ctacgcgact 5940 gaaaaccgca tcaaactgct gctgattgac cctttcccga ttaaccagct gatgtatgtc 6000 taactgcatc gcccttagga ggtaaaaaaa aatgactgcc gacaacaata gtatgcccca 6060 tggtgcagta tctagttacg ccaaattagt gcaaaaccaa acacctgaag acattttgga 6120 agagtttcct gaaattattc cattacaaca aagacctaat acccgatcta gtgagacgtc 6180 aaatgacgaa agcggagaaa catgtttttc tggtcatgat gaggagcaaa ttaagttaat 6240 gaatgaaaat tgtattgttt tggattggga cgataatgct attggtgccg gtaccaagaa 6300 agtttgtcat ttaatggaaa atattgaaaa gggtttacta catcgtgcat tctccgtctt 6360 tattttcaat gaacaaggtg aattactttt acaacaaaga gccactgaaa aaataacttt 6420 ccctgatctt tggactaaca catgctgctc tcatccacta tgtattgatg acgaattagg 6480 tttgaagggt aagctagacg ataagattaa gggcgctatt actgcggcgg tgagaaaact 6540 agatcatgaa ttaggtattc cagaagatga aactaagaca aggggtaagt ttcacttttt 6600 aaacagaatc cattacatgg caccaagcaa tgaaccatgg ggtgaacatg aaattgatta 6660 catcctattt tataagatca acgctaaaga aaacttgact gtcaacccaa acgtcaatga 6720 agttagagac ttcaaatggg tttcaccaaa tgatttgaaa actatgtttg ctgacccaag 6780 ttacaagttt acgccttggt ttaagattat ttgcgagaat tacttattca actggtggga 6840 gcaattagat gacctttctg aagtggaaaa tgacaggcaa attcatagaa tgctataaca 6900 acgcgtcctg cattcgccct taggaggtaa aaaaacatga gttttgatat tgccaaatac 6960 ccgaccctgg cactggtcga ctccacccag gagttacgac tgttgccgaa agagagttta 7020 ccgaaactct gcgacgaact gcgccgctat ttactcgaca gcgtgagccg ttccagcggg 7080 cacttcgcct ccgggctggg cacggtcgaa ctgaccgtgg cgctgcacta tgtctacaac 7140 accccgtttg accaattgat ttgggatgtg gggcatcagg cttatccgca taaaattttg 7200 accggacgcc gcgacaaaat cggcaccatc cgtcagaaag gcggtctgca cccgttcccg 7260 tggcgcggcg aaagcgaata tgacgtatta agcgtcgggc attcatcaac ctccatcagt 7320 gccggaattg gtattgcggt tgctgccgaa aaagaaggca aaaatcgccg caccgtctgt 7380 gtcattggcg atggcgcgat taccgcaggc atggcgtttg aagcgatgaa tcacgcgggc 7440 gatatccgtc ctgatatgct ggtgattctc aacgacaatg aaatgtcgat ttccgaaaat 7500 gtcggcgcgc tcaacaacca tctggcacag ctgctttccg gtaagcttta ctcttcactg 7560 cgcgaaggcg ggaaaaaagt tttctctggc gtgccgccaa ttaaagagct gctcaaacgc 7620 accgaagaac atattaaagg catggtagtg cctggcacgt tgtttgaaga gctgggcttt 7680 aactacatcg gcccggtgga cggtcacgat gtgctggggc ttatcaccac gctaaagaac 7740 atgcgcgacc tgaaaggccc gcagttcctg catatcatga ccaaaaaagg tcgtggttat 7800 gaaccggcag aaaaagaccc gatcactttc cacgccgtgc ctaaatttga tccctccagc 7860 ggttgtttgc cgaaaagtag cggcggtttg ccgagctatt caaaaatctt tggcgactgg 7920 ttgtgcgaaa cggcagcgaa agacaacaag ctgatggcga ttactccggc gatgcgtgaa 7980 ggttccggca tggtcgagtt ttcacgtaaa ttcccggatc gctacttcga cgtggcaatt 8040 gccgagcaac acgcggtgac ctttgctgcg ggtctggcga ttggtgggta caaacccatt 8100 gtcgcgattt actccacttt cctgcaacgc gcctatgatc aggtgctgca tgacgtggcg 8160 attcaaaagc ttccggtcct gttcgccatc gaccgcgcgg gcattgttgg tgctgacggt 8220 caaacccatc agggtgcttt tgatctctct tacctgcgct gcataccgga aatggtcatt 8280 atgaccccga gcgatgaaaa cgaatgtcgc cagatgctct ataccggcta tcactataac 8340 gatggcccgt cagcggtgcg ctacccgcgt ggcaacgcgg tcgggtggaa ctgacgccgc 8400 tggaaaaact accaattggc aaaggcattg tgaagcgtcg tggcgagaaa ctggcgatcc 8460 ttaactttgg tacgctgatg ccagaagcgg cgaaagtcgc cgaatcgctg aacgccacgc 8520 tggtcgatat gcgttttgtg aaaccgcttg atgaagcgtt aattctggaa atggccgcca 8580 gccatgaagc gctggtcacc gtagaagaaa acgccattat gggcggcgca ggcagcggcg 8640 tgaacgaagt gctgatggcc catcgtaaac cagtacccgt gctgaacatt ggcctgccgg 8700 acttctttat tccgcaagga actcaggaag aaatgcgcgc cgaactcggc ctcgatgccg 8760 ctggtatgga agccaaaatc aaggcctggc tggcataact gca 8803 <210> 21 <211> 41 <212> DNA <213> Artificial Sequence <220> <223> PCR Primer <400> 21 aggaggtaaa aaaacatgtc attaccgttc ttaacttctg c 41 <210> 22 <211> 52 <212> DNA <213> Artificial Sequence <220> <223> PCR Primer <400> 22 atggctgcag gcctatcgca aattagctta tgaagtccat ggtaaattcg tg 52 <210> 23 <211> 23 <212> DNA <213> Artificial Sequence <220> <223> PCR Primer <400> 23 gaattcgccc ttctgcagct acc 23 <210> 24 <211> 38 <212> DNA <213> Artificial Sequence <220> <223> PCR Primer <400> 24 cgactggtgc acccttaagg aggaaaaaaa catgtcag 38 <210> 25 <211> 25 <212> DNA <213> Artificial Sequence <220> <223> PCR Primer <400> 25 gtgctggaat tcgcccttct gcagc 25 <210> 26 <211> 32 <212> DNA <213> Artificial Sequence <220> <223> PCR Primer <400> 26 gtagatgcat gcagaattcg cccttaagga gg 32 <210> 27 <211> 26 <212> DNA <213> Artificial Sequence <220> <223> PCR Primer <400> 27 ccttctgcag gacgcgttgt tatagc 26 <210> 28 <211> 38 <212> DNA <213> Artificial Sequence <220> <223> PCR Primer <400> 28 catcaatgca tcgcccttag gaggtaaaaa aaaatgac 38 <210> 29 <211> 25 <212> DNA <213> Artificial Sequence <220> <223> PCR Primer <400> 29 gtgtgatgga tatctgcaga attcg 25 <210> 30 <211> 36 <212> DNA <213> Artificial Sequence <220> <223> PCR Primer <400> 30 catcaatgca tcgcccttag gaggtaaaaa aacatg 36 <210> 31 <211> 60 <212> DNA <213> Artificial Sequence <220> <223> PCR Primer <400> 31 gatcatgcat tcgcccttag gaggtaaaaa aacatgtgtg cgacctcttc tcaatttact 60 60 <210> 32 <211> 38 <212> DNA <213> Artificial Sequence <220> <223> PCR Primer <400> 32 cggtcgacgg atccctgcag ttagacatac atcagctg 38 <210> 33 <211> 10992 <212> DNA <213> Artificial Sequence <220> <223> Synthetic Construct <400> 33 gtttgacagc ttatcatcga ctgcacggtg caccaatgct tctggcgtca ggcagccatc 60 ggaagctgtg gtatggctgt gcaggtcgta aatcactgca taattcgtgt cgctcaaggc 120 gcactcccgt tctggataat gttttttgcg ccgacatcat aacggttctg gcaaatattc 180 tgaaatgagc tgttgacaat taatcatccg gctcgtataa tgtgtggaat tgtgagcgga 240 taacaatttc acacaggaaa cagcgccgct gagaaaaagc gaagcggcac tgctctttaa 300 caatttatca gacaatctgt gtgggcactc gaccggaatt atcgattaac tttattatta 360 aaaattaaag aggtatatat taatgtatcg attaaataag gaggaataaa ccatggatcc 420 gagctcggat ccactagtaa cggccgccag tgtgctggaa ttcgccctta ggaggtaaaa 480 aaacatgtca ttaccgttct taacttctgc accgggaaag gttattattt ttggtgaaca 540 ctctgctgtg tacaacaagc ctgccgtcgc tgctagtgtg tctgcgttga gaacctacct 600 gctaataagc gagtcatctg caccagatac tattgaattg gacttcccgg acattagctt 660 taatcataag tggtccatca atgatttcaa tgccatcacc gaggatcaag taaactccca 720 aaaattggcc aaggctcaac aagccaccga tggcttgtct caggaactcg ttagtctttt 780 ggatccgttg ttagctcaac tatccgaatc cttccactac catgcagcgt tttgtttcct 840 gtatatgttt gtttgcctat gcccccatgc caagaatatt aagttttctt taaagtctac 900 tttacccatc ggtgctgggt tgggctcaag cgcctctatt tctgtatcac tggccttagc 960 tatggcctac ttgggggggt taataggatc taatgacttg gaaaagctgt cagaaaacga 1020 taagcatata gtgaatcaat gggccttcat aggtgaaaag tgtattcacg gtaccccttc 1080 aggaatagat aacgctgtgg ccacttatgg taatgccctg ctatttgaaa aagactcaca 1140 taatggaaca ataaacacaa acaattttaa gttcttagat gatttcccag ccattccaat 1200 gatcctaacc tatactagaa ttccaaggtc tacaaaagat cttgttgctc gcgttcgtgt 1260 gttggtcacc gagaaatttc ctgaagttat gaagccaatt ctagatgcca tgggtgaatg 1320 tgccctacaa ggcttagaga tcatgactaa gttaagtaaa tgtaaaggca ccgatgacga 1380 ggctgtagaa actaataatg aactgtatga acaactattg gaattgataa gaataaatca 1440 tggactgctt gtctcaatcg gtgtttctca tcctggatta gaacttatta aaaatctgag 1500 cgatgatttg agaattggct ccacaaaact taccggtgct ggtggcggcg gttgctcttt 1560 gactttgtta cgaagagaca ttactcaaga gcaaattgac agcttcaaaa agaaattgca 1620 agatgatttt agttacgaga catttgaaac agacttgggt gggactggct gctgtttgtt 1680 aagcgcaaaa aatttgaata aagatcttaa aatcaaatcc ctagtattcc aattatttga 1740 aaataaaact accacaaagc aacaaattga cgatctatta ttgccaggaa acacgaattt 1800 accatggact tcataagcta atttgcgata ggcctgcacc cttaaggagg aaaaaaacat 1860 gtcagagttg agagccttca gtgccccagg gaaagcgtta ctagctggtg gatatttagt 1920 tttagataca aaatatgaag catttgtagt cggattatcg gcaagaatgc atgctgtagc 1980 ccatccttac ggttcattgc aagggtctga taagtttgaa gtgcgtgtga aaagtaaaca 2040 atttaaagat ggggagtggc tgtaccatat aagtcctaaa agtggcttca ttcctgtttc 2100 gataggcgga tctaagaacc ctttcattga aaaagttatc gctaacgtat ttagctactt 2160 taaacctaac atggacgact actgcaatag aaacttgttc gttattgata ttttctctga 2220 tgatgcctac cattctcagg aggatagcgt taccgaacat cgtggcaaca gaagattgag 2280 ttttcattcg cacagaattg aagaagttcc caaaacaggg ctgggctcct cggcaggttt 2340 agtcacagtt ttaactacag ctttggcctc cttttttgta tcggacctgg aaaataatgt 2400 agacaaatat agagaagtta ttcataattt agcacaagtt gctcattgtc aagctcaggg 2460 taaaattgga agcgggtttg atgtagcggc ggcagcatat ggatctatca gatatagaag 2520 attcccaccc gcattaatct ctaatttgcc agatattgga agtgctactt acggcagtaa 2580 actggcgcat ttggttgatg aagaagactg gaatattacg attaaaagta accatttacc 2640 ttcgggatta actttatgga tgggcgatat taagaatggt tcagaaacag taaaactggt 2700 ccagaaggta aaaaattggt atgattcgca tatgccagaa agcttgaaaa tatatacaga 2760 actcgatcat gcaaattcta gatttatgga tggactatct aaactagatc gcttacacga 2820 gactcatgac gattacagcg atcagatatt tgagtctctt gagaggaatg actgtacctg 2880 tcaaaagtat cctgaaatca cagaagttag agatgcagtt gccacaatta gacgttcctt 2940 tagaaaaata actaaagaat ctggtgccga tatcgaacct cccgtacaaa ctagcttatt 3000 ggatgattgc cagaccttaa aaggagttct tacttgctta atacctggtg ctggtggtta 3060 tgacgccatt gcagtgatta ctaagcaaga tgttgatctt agggctcaaa ccgctaatga 3120 caaaagattt tctaaggttc aatggctgga tgtaactcag gctgactggg gtgttaggaa 3180 agaaaaagat ccggaaactt atcttgataa ataacttaag gtagctgcat gcagaattcg 3240 cccttaagga ggaaaaaaaa atgaccgttt acacagcatc cgttaccgca cccgtcaaca 3300 tcgcaaccct taagtattgg gggaaaaggg acacgaagtt gaatctgccc accaattcgt 3360 ccatatcagt gactttatcg caagatgacc tcagaacgtt gacctctgcg gctactgcac 3420 ctgagtttga acgcgacact ttgtggttaa atggagaacc acacagcatc gacaatgaaa 3480 gaactcaaaa ttgtctgcgc gacctacgcc aattaagaaa ggaaatggaa tcgaaggacg 3540 cctcattgcc cacattatct caatggaaac tccacattgt ctccgaaaat aactttccta 3600 cagcagctgg tttagcttcc tccgctgctg gctttgctgc attggtctct gcaattgcta 3660 agttatacca attaccacag tcaacttcag aaatatctag aatagcaaga aaggggtctg 3720 gttcagcttg tagatcgttg tttggcggat acgtggcctg ggaaatggga aaagctgaag 3780 atggtcatga ttccatggca gtacaaatcg cagacagctc tgactggcct cagatgaaag 3840 cttgtgtcct agttgtcagc gatattaaaa aggatgtgag ttccactcag ggtatgcaat 3900 tgaccgtggc aacctccgaa ctatttaaag aaagaattga acatgtcgta ccaaagagat 3960 ttgaagtcat gcgtaaagcc attgttgaaa aagatttcgc cacctttgca aaggaaacaa 4020 tgatggattc caactctttc catgccacat gtttggactc tttccctcca atattctaca 4080 tgaatgacac ttccaagcgt atcatcagtt ggtgccacac cattaatcag ttttacggag 4140 aaacaatcgt tgcatacacg tttgatgcag gtccaaatgc tgtgttgtac tacttagctg 4200 aaaatgagtc gaaactcttt gcatttatct ataaattgtt tggctctgtt cctggatggg 4260 acaagaaatt tactactgag cagcttgagg ctttcaacca tcaatttgaa tcatctaact 4320 ttactgcacg tgaattggat cttgagttgc aaaaggatgt tgccagagtg attttaactc 4380 aagtcggttc aggcccacaa gaaacaaacg aatctttgat tgacgcaaag actggtctac 4440 caaaggaata agatcaattc gctgcatcgc ccttaggagg taaaaaaaaa tgactgccga 4500 caacaatagt atgccccatg gtgcagtatc tagttacgcc aaattagtgc aaaaccaaac 4560 acctgaagac attttggaag agtttcctga aattattcca ttacaacaaa gacctaatac 4620 ccgatctagt gagacgtcaa atgacgaaag cggagaaaca tgtttttctg gtcatgatga 4680 ggagcaaatt aagttaatga atgaaaattg tattgttttg gattgggacg ataatgctat 4740 tggtgccggt accaagaaag tttgtcattt aatggaaaat attgaaaagg gtttactaca 4800 tcgtgcattc tccgtcttta ttttcaatga acaaggtgaa ttacttttac aacaaagagc 4860 cactgaaaaa ataactttcc ctgatctttg gactaacaca tgctgctctc atccactatg 4920 tattgatgac gaattaggtt tgaagggtaa gctagacgat aagattaagg gcgctattac 4980 tgcggcggtg agaaaactag atcatgaatt aggtattcca gaagatgaaa ctaagacaag 5040 gggtaagttt cactttttaa acagaatcca ttacatggca ccaagcaatg aaccatgggg 5100 tgaacatgaa attgattaca tcctatttta taagatcaac gctaaagaaa acttgactgt 5160 caacccaaac gtcaatgaag ttagagactt caaatgggtt tcaccaaatg atttgaaaac 5220 tatgtttgct gacccaagtt acaagtttac gccttggttt aagattattt gcgagaatta 5280 cttattcaac tggtgggagc aattagatga cctttctgaa gtggaaaatg acaggcaaat 5340 tcatagaatg ctataacaac gcgtcctgca ttcgccctta ggaggtaaaa aaacatgtgt 5400 gcgacctctt ctcaatttac tcagattacc gagcataatt cccgtcgttc cgcaaactat 5460 cagccaaacc tgtggaattt cgaattcctg caatccctgg agaacgacct gaaagtggaa 5520 aagctggagg agaaagcgac caaactggag gaagaagttc gctgcatgat caaccgtgta 5580 gacacccagc cgctgtccct gctggagctg atcgacgatg tgcagcgcct gggtctgacc 5640 tacaaatttg aaaaagacat cattaaagcc ctggaaaaca tcgtactgct ggacgaaaac 5700 aaaaagaaca aatctgacct gcacgcaacc gctctgtctt tccgtctgct gcgtcagcac 5760 ggtttcgagg tttctcagga tgtttttgag cgtttcaagg ataaagaagg tggtttcagc 5820 ggtgaactga aaggtgacgt ccaaggcctg ctgagcctgt atgaagcgtc ttacctgggt 5880 ttcgagggtg agaacctgct ggaggaggcg cgtacctttt ccatcaccca cctgaagaac 5940 aacctgaaag aaggcattaa taccaaggtt gcagaacaag tgagccacgc cctggaactg 6000 ccatatcacc agcgtctgca ccgtctggag gcacgttggt tcctggataa atacgaaccg 6060 aaagaaccgc atcaccagct gctgctggag ctggcgaagc tggattttaa catggtacag 6120 accctgcacc agaaagagct gcaagatctg tcccgctggt ggaccgagat gggcctggct 6180 agcaaactgg attttgtacg cgaccgcctg atggaagttt atttctgggc actgggtatg 6240 gcgccagacc cgcagtttgg tgaatgtcgc aaagctgtta ctaaaatgtt tggtctggtg 6300 acgatcatcg atgacgtgta tgacgtttat ggcactctgg acgaactgca actgttcacc 6360 gatgctgtag agcgctggga cgttaacgct attaacaccc tgccggacta tatgaaactg 6420 tgtttcctgg cactgtacaa caccgttaac gacacgtcct attctattct gaaagagaaa 6480 ggtcataaca acctgtccta tctgacgaaa agctggcgtg aactgtgcaa agcctttctg 6540 caagaggcga aatggtccaa caacaaaatt atcccggctt tctccaagta cctggaaaac 6600 gccagcgttt cctcctccgg tgtagcgctg ctggcgccgt cttacttttc cgtatgccag 6660 cagcaggaag acatctccga ccacgcgctg cgttccctga ccgacttcca tggtctggtg 6720 cgttctagct gcgttatctt ccgcctgtgc aacgatctgg ccacctctgc ggcggagctg 6780 gaacgtggcg agactaccaa ttctatcatt agctacatgc acgaaaacga tggtaccagc 6840 gaggaacagg cccgcgaaga actgcgtaaa ctgatcgacg ccgaatggaa aaagatgaat 6900 cgtgaacgcg ttagcgactc caccctgctg cctaaagcgt tcatggaaat cgcagttaac 6960 atggcacgtg tttcccactg cacctaccag tatggcgatg gtctgggtcg cccagactac 7020 gcgactgaaa accgcatcaa actgctgctg attgaccctt tcccgattaa ccagctgatg 7080 tatgtctaac tgcagctggt accatatggg aattcgaagc tttctagaac aaaaactcat 7140 ctcagaagag gatctgaata gcgccgtcga ccatcatcat catcatcatt gagtttaaac 7200 ggtctccagc ttggctgttt tggcggatga gagaagattt tcagcctgat acagattaaa 7260 tcagaacgca gaagcggtct gataaaacag aatttgcctg gcggcagtag cgcggtggtc 7320 ccacctgacc ccatgccgaa ctcagaagtg aaacgccgta gcgccgatgg tagtgtgggg 7380 tctccccatg cgagagtagg gaactgccag gcatcaaata aaacgaaagg ctcagtcgaa 7440 agactgggcc tttcgtttta tctgttgttt gtcggtgaac gctctcctga gtaggacaaa 7500 tccgccggga gcggatttga acgttgcgaa gcaacggccc ggagggtggc gggcaggacg 7560 cccgccataa actgccaggc atcaaattaa gcagaaggcc atcctgacgg atggcctttt 7620 tgcgtttcta caaactcttt ttgtttattt ttctaaatac attcaaatat gtatccgctt 7680 aaccggaatt gccagctggg gcgccctctg gtaaggttgg gaagccctgc aaagtaaact 7740 ggatggcttt ctcgccgcca aggatctgat ggcgcagggg atcaagctct gatcaagaga 7800 caggatgagg atcgtttcgc atgattgaac aagatggatt gcacgcaggt tctccggccg 7860 cttgggtgga gaggctattc ggctatgact gggcacaaca gacaatcggc tgctctgatg 7920 ccgccgtgtt ccggctgtca gcgcaggggc gcccggttct ttttgtcaag accgacctgt 7980 ccggtgccct gaatgaactg caagacgagg cagcgcggct atcgtggctg gccacgacgg 8040 gcgttccttg cgcagctgtg ctcgacgttg tcactgaagc gggaagggac tggctgctat 8100 tgggcgaagt gccggggcag gatctcctgt catctcacct tgctcctgcc gagaaagtat 8160 ccatcatggc tgatgcaatg cggcggctgc atacgcttga tccggctacc tgcccattcg 8220 accaccaagc gaaacatcgc atcgagcgag cacgtactcg gatggaagcc ggtcttgtcg 8280 atcaggatga tctggacgaa gagcatcagg ggctcgcgcc agccgaactg ttcgccaggc 8340 tcaaggcgag catgcccgac ggcgaggatc tcgtcgtgac ccatggcgat gcctgcttgc 8400 cgaatatcat ggtggaaaat ggccgctttt ctggattcat cgactgtggc cggctgggtg 8460 tggcggaccg ctatcaggac atagcgttgg ctacccgtga tattgctgaa gagcttggcg 8520 gcgaatgggc tgaccgcttc ctcgtgcttt acggtatcgc cgctcccgat tcgcagcgca 8580 tcgccttcta tcgccttctt gacgagttct tctgacgcat gaccaaaatc ccttaacgtg 8640 agttttcgtt ccactgagcg tcagaccccg tagaaaagat caaaggatct tcttgagatc 8700 ctttttttct gcgcgtaatc tgctgcttgc aaacaaaaaa accaccgcta ccagcggtgg 8760 tttgtttgcc ggatcaagag ctaccaactc tttttccgaa ggtaactggc ttcagcagag 8820 cgcagatacc aaatactgtc cttctagtgt agccgtagtt aggccaccac ttcaagaact 8880 ctgtagcacc gcctacatac ctcgctctgc taatcctgtt accagtggct gctgccagtg 8940 gcgataagtc gtgtcttacc gggttggact caagacgata gttaccggat aaggcgcagc 9000 ggtcgggctg aacggggggt tcgtgcacac agcccagctt ggagcgaacg acctacaccg 9060 aactgagata cctacagcgt gagctatgag aaagcgccac gcttcccgaa gggagaaagg 9120 cggacaggta tccggtaagc ggcagggtcg gaacaggaga gcgcacgagg gagcttccag 9180 ggggaaacgc ctggtatctt tatagtcctg tcgggtttcg ccacctctga cttgagcgtc 9240 gatttttgtg atgctcgtca ggggggcgga gcctatggaa aaacgccagc aacgcggcct 9300 ttttacggtt cctggccttt tgctggcctt ttgctcacat gttctttcct gcgttatccc 9360 ctgattctgt ggataaccgt attaccgcct ttgagtgagc tgataccgct cgccgcagcc 9420 gaacgaccga gcgcagcgag tcagtgagcg aggaagcgga agagcgcctg atgcggtatt 9480 ttctccttac gcatctgtgc ggtatttcac accgcatatg gtgcactctc agtacaatct 9540 gctctgatgc cgcatagtta agccagtata cactccgcta tcgctacgtg actgggtcat 9600 ggctgcgccc cgacacccgc caacacccgc tgacgcgccc tgacgggctt gtctgctccc 9660 ggcatccgct tacagacaag ctgtgaccgt ctccgggagc tgcatgtgtc agaggttttc 9720 accgtcatca ccgaaacgcg cgaggcagca gatcaattcg cgcgcgaagg cgaagcggca 9780 tgcatttacg ttgacaccat cgaatggtgc aaaacctttc gcggtatggc atgatagcgc 9840 ccggaagaga gtcaattcag ggtggtgaat gtgaaaccag taacgttata cgatgtcgca 9900 gagtatgccg gtgtctctta tcagaccgtt tcccgcgtgg tgaaccaggc cagccacgtt 9960 tctgcgaaaa cgcgggaaaa agtggaagcg gcgatggcgg agctgaatta cattcccaac 10020 cgcgtggcac aacaactggc gggcaaacag tcgttgctga ttggcgttgc cacctccagt 10080 ctggccctgc acgcgccgtc gcaaattgtc gcggcgatta aatctcgcgc cgatcaactg 10140 ggtgccagcg tggtggtgtc gatggtagaa cgaagcggcg tcgaagcctg taaagcggcg 10200 gtgcacaatc ttctcgcgca acgcgtcagt gggctgatca ttaactatcc gctggatgac 10260 caggatgcca ttgctgtgga agctgcctgc actaatgttc cggcgttatt tcttgatgtc 10320 tctgaccaga cacccatcaa cagtattatt ttctcccatg aagacggtac gcgactgggc 10380 gtggagcatc tggtcgcatt gggtcaccag caaatcgcgc tgttagcggg cccattaagt 10440 tctgtctcgg cgcgtctgcg tctggctggc tggcataaat atctcactcg caatcaaatt 10500 cagccgatag cggaacggga aggcgactgg agtgccatgt ccggttttca acaaaccatg 10560 caaatgctga atgagggcat cgttcccact gcgatgctgg ttgccaacga tcagatggcg 10620 ctgggcgcaa tgcgcgccat taccgagtcc gggctgcgcg ttggtgcgga tatctcggta 10680 gtgggatacg acgataccga agacagctca tgttatatcc cgccgtcaac caccatcaaa 10740 caggattttc gcctgctggg gcaaaccagc gtggaccgct tgctgcaact ctctcagggc 10800 caggcggtga agggcaatca gctgttgccc gtctcactgg tgaaaagaaa aaccaccctg 10860 gcgcccaata cgcaaaccgc ctctccccgc gcgttggccg attcattaat gcagctggca 10920 cgacaggttt cccgactgga aagcgggcag tgagcgcaac gcaattaatg tgagttagcg 10980 cgaattgatc tg 10992 <210> 34 <211> 50 <212> DNA <213> Artificial Sequence <220> <223> PCR Primer <400> 34 gagacatgag ctcaggaggt aaaaaaacat gaaaacagta gttattattg 50 <210> 35 <211> 54 <212> DNA <213> Artificial Sequence <220> <223> PCR Primer <400> 35 tttatcaatc ccaattgtca tgttttttta cctcctttat tgttttctta aatc 54 <210> 36 <211> 54 <212> DNA <213> Artificial Sequence <220> <223> PCR Primer <400> 36 gatttaagaa aacaataaag gaggtaaaaa aacatgacaa ttgggattga taaa 54 <210> 37 <211> 40 <212> DNA <213> Artificial Sequence <220> <223> PCR Primer <400> 37 gacatgacat agatctttag tttcgataag aacgaacggt 40 <210> 38 <211> 26 <212> DNA <213> Artificial Sequence <220> <223> PCR Primer <400> 38 atgaaaacag tagttattat tgatgc 26 <210> 39 <211> 33 <212> DNA <213> Artificial Sequence <220> <223> PCR Primer <400> 39 atgttattgt tttcttaaat catttaaaat agc 33 <210> 40 <211> 26 <212> DNA <213> Artificial Sequence <220> <223> PCR Primer <400> 40 atgacaattg ggattgataa aattag 26 <210> 41 <211> 24 <212> DNA <213> Artificial Sequence <220> <223> PCR Primer <400> 41 ttagtttcga taagaacgaa cggt 24 <210> 42 <211> 23 <212> DNA <213> Artificial Sequence <220> <223> PCR Primer <400> 42 gaaatagccc cattagaagt atc 23 <210> 43 <211> 24 <212> DNA <213> Artificial Sequence <220> <223> PCR Primer <400> 43 ttgccaatca tatgattgaa aatc 24 <210> 44 <211> 25 <212> DNA <213> Artificial Sequence <220> <223> PCR Primer <400> 44 gctatgcttc attagatcct tatcg 25 <210> 45 <211> 25 <212> DNA <213> Artificial Sequence <220> <223> PCR Primer <400> 45 gaaacctaca tccaatcttt tgccc 25 <210> 46 <211> 8703 <212> DNA <213> Artificial Sequence <220> <223> Synthetic Construct <400> 46 cccgtcttac tgtcgggaat tcgcgttggc cgattcatta atgcagattc tgaaatgagc 60 tgttgacaat taatcatccg gctcgtataa tgtgtggaat tgtgagcgga taacaatttc 120 acacaggaaa cagcgccgct gagaaaaagc gaagcggcac tgctctttaa caatttatca 180 gacaatctgt gtgggcactc gaccggaatt atcgattaac tttattatta aaaattaaag 240 aggtatatat taatgtatcg attaaataag gaggaataaa ccatggatcc gagctcagga 300 ggtaaaaaaa catgaaaaca gtagttatta ttgatgcatt acgaacacca attggaaaat 360 ataaaggcag cttaagtcaa gtaagtgccg tagacttagg aacacatgtt acaacacaac 420 ttttaaaaag acattccact atttctgaag aaattgatca agtaatcttt ggaaatgttt 480 tacaagctgg aaatggccaa aatcccgcac gacaaatagc aataaacagc ggtttgtctc 540 atgaaattcc cgcaatgacg gttaatgagg tctgcggatc aggaatgaag gccgttattt 600 tggcgaaaca attgattcaa ttaggagaag cggaagtttt aattgctggc gggattgaga 660 atatgtccca agcacctaaa ttacaacgtt ttaattacga aacagaaagc tacgatgcgc 720 ctttttctag tatgatgtat gatggattaa cggatgcctt tagtggtcag gcaatgggct 780 taactgctga aaatgtggcc gaaaagtatc atgtaactag agaagagcaa gatcaatttt 840 ctgtacattc acaattaaaa gcagctcaag cacaagcaga agggatattc gctgacgaaa 900 tagccccatt agaagtatca ggaacgcttg tggagaaaga tgaagggatt cgccctaatt 960 cgagcgttga gaagctagga acgcttaaaa cagtttttaa agaagacggt actgtaacag 1020 cagggaatgc atcaaccatt aatgatgggg cttctgcttt gattattgct tcacaagaat 1080 atgccgaagc acacggtctt ccttatttag ctattattcg agacagtgtg gaagtcggta 1140 ttgatccagc ctatatggga atttcgccga ttaaagccat tcaaaaactg ttagcgcgca 1200 atcaacttac tacggaagaa attgatctgt atgaaatcaa cgaagcattt gcagcaactt 1260 caatcgtggt ccaaagagaa ctggctttac cagaggaaaa ggtcaacatt tatggtggcg 1320 gtatttcatt aggtcatgcg attggtgcca caggtgctcg tttattaacg agtttaagtt 1380 atcaattaaa tcaaaaagaa aagaaatatg gagtggcttc tttatgtatc ggcggtggct 1440 taggactcgc tatgctacta gagagacctc agcaaaaaaa aaacagccga ttttatcaaa 1500 tgagtcctga ggaacgcctg gcttctcttc ttaatgaagg ccagatttct gctgatacaa 1560 aaaaagaatt tgaaaatacg gctttatctt cgcagattgc caatcatatg attgaaaatc 1620 aaatcagtga aacagaagtg ccgatgggcg ttggcttaca tttaacagtg gacgaaactg 1680 attatttggt accaatggcg acagaagagc cctcagttat tgcggctttg agtaatggtg 1740 caaaaatagc acaaggattt aaaacagtga atcaacaacg cttaatgcgt ggacaaatcg 1800 ttttttacga tgttgcagat cccgagtcat tgattgataa actacaagta agagaagcgg 1860 aagtttttca acaagcagag ttaagttatc catctatcgt taaacggggc ggcggcttaa 1920 gagatttgca atatcgtact tttgatgaat catttgtatc tgtcgacttt ttagtagatg 1980 ttaaggatgc aatgggggca aatatcgtta acgctatgtt ggaaggtgtg gccgagttgt 2040 tccgtgaatg gtttgcggag caaaagattt tattcagtat tttaagtaat tatgccacgg 2100 agtcggttgt tacgatgaaa acggctattc cagtttcacg tttaagtaag gggagcaatg 2160 gccgggaaat tgctgaaaaa attgttttag cttcacgcta tgcttcatta gatccttatc 2220 gggcagtcac gcataacaaa ggaatcatga atggcattga agctgtagtt ttagctacag 2280 gaaatgatac acgcgctgtt agcgcttctt gtcatgcttt tgcggtgaag gaaggtcgct 2340 accaaggctt gactagttgg acgctggatg gcgaacaact aattggtgaa atttcagttc 2400 cgcttgcttt agccacggtt ggcggtgcca caaaagtctt acctaaatct caagcagctg 2460 ctgatttgtt agcagtgacg gatgcaaaag aactaagtcg agtagtagcg gctgttggtt 2520 tggcacaaaa tttagcggcg ttacgggcct tagtctctga aggaattcaa aaaggacaca 2580 tggctctaca agcacgttct ttagcgatga cggtcggagc tactggtaaa gaagttgagg 2640 cagtcgctca acaattaaaa cgtcaaaaaa cgatgaacca agaccgagcc atggctattt 2700 taaatgattt aagaaaacaa taaaggaggt aaaaaaacat gacaattggg attgataaaa 2760 ttagtttttt tgtgccccct tattatattg atatgacggc actggctgaa gccagaaatg 2820 tagaccctgg aaaatttcat attggtattg ggcaagacca aatggcggtg aacccaatca 2880 gccaagatat tgtgacattt gcagccaatg ccgcagaagc gatcttgacc aaagaagata 2940 aagaggccat tgatatggtg attgtcggga ctgagtccag tatcgatgag tcaaaagcgg 3000 ccgcagttgt cttacatcgt ttaatgggga ttcaaccttt cgctcgctct ttcgaaatca 3060 aggaagcttg ttacggagca acagcaggct tacagttagc taagaatcac gtagccttac 3120 atccagataa aaaagtcttg gtcgtagcgg cagatattgc aaaatatggc ttaaattctg 3180 gcggtgagcc tacacaagga gctggggcgg ttgcaatgtt agttgctagt gaaccgcgca 3240 ttttggcttt aaaagaggat aatgtgatgc tgacgcaaga tatctatgac ttttggcgtc 3300 caacaggcca cccgtatcct atggtcgatg gtcctttgtc aaacgaaacc tacatccaat 3360 cttttgccca agtctgggat gaacataaaa aacgaaccgg tcttgatttt gcagattatg 3420 atgctttagc gttccatatt ccttacacaa aaatgggcaa aaaagcctta ttagcaaaaa 3480 tctccgacca aactgaagca gaacaggaac gaattttagc ccgttatgaa gaaagtatcg 3540 tctatagtcg tcgcgtagga aacttgtata cgggttcact ttatctggga ctcatttccc 3600 ttttagaaaa tgcaacgact ttaaccgcag gcaatcaaat tggtttattc agttatggtt 3660 ctggtgctgt cgctgaattt ttcactggtg aattagtagc tggttatcaa aatcatttac 3720 aaaaagaaac tcatttagca ctgctggata atcggacaga actttctatc gctgaatatg 3780 aagccatgtt tgcagaaact ttagacacag acattgatca aacgttagaa gatgaattaa 3840 aatatagtat ttctgctatt aataataccg ttcgttctta tcgaaactaa gagatctgca 3900 gctggtacca tatgggaatt cgaagcttgg gcccgaacaa aaactcatct cagaagagga 3960 tctgaatagc gccgtcgacc atcatcatca tcatcattga gtttaaacgg tctccagctt 4020 ggctgttttg gcggatgaga gaagattttc agcctgatac agattaaatc agaacgcaga 4080 agcggtctga taaaacagaa tttgcctggc ggcagtagcg cggtggtccc acctgacccc 4140 atgccgaact cagaagtgaa acgccgtagc gccgatggta gtgtggggtc tccccatgcg 4200 agagtaggga actgccaggc atcaaataaa acgaaaggct cagtcgaaag actgggcctt 4260 tcgttttatc tgttgtttgt cggtgaacgc tctcctgagt aggacaaatc cgccgggagc 4320 ggatttgaac gttgcgaagc aacggcccgg agggtggcgg gcaggacgcc cgccataaac 4380 tgccaggcat caaattaagc agaaggccat cctgacggat ggcctttttg cgtttctaca 4440 aactcttttt gtttattttt ctaaatacat tcaaatatgt atccgctcat gagacaataa 4500 ccctgataaa tgcttcaata atctggcgta atagcgaaga ggcccgcacc gatcgccctt 4560 cccaacagtt gcgcagcctg aatggcgaat ggcgcctgat gcggtatttt ctccttacgc 4620 atctgtgcgg tatttcacac cgcatatggt gcactctcag tacaatctgc tctgatgccg 4680 catagttaag ccagccccga cacccgccaa cacccgctga cgagcttagt aaagccctcg 4740 ctagatttta atgcggatgt tgcgattact tcgccaacta ttgcgataac aagaaaaagc 4800 cagcctttca tgatatatct cccaatttgt gtagggctta ttatgcacgc ttaaaaataa 4860 taaaagcaga cttgacctga tagtttggct gtgagcaatt atgtgcttag tgcatctaac 4920 gcttgagtta agccgcgccg cgaagcggcg tcggcttgaa cgaattgtta gacattattt 4980 gccgactacc ttggtgatct cgcctttcac gtagtggaca aattcttcca actgatctgc 5040 gcgcgaggcc aagcgatctt cttcttgtcc aagataagcc tgtctagctt caagtatgac 5100 gggctgatac tgggccggca ggcgctccat tgcccagtcg gcagcgacat ccttcggcgc 5160 gattttgccg gttactgcgc tgtaccaaat gcgggacaac gtaagcacta catttcgctc 5220 atcgccagcc cagtcgggcg gcgagttcca tagcgttaag gtttcattta gcgcctcaaa 5280 tagatcctgt tcaggaaccg gatcaaagag ttcctccgcc gctggaccta ccaaggcaac 5340 gctatgttct cttgcttttg tcagcaagat agccagatca atgtcgatcg tggctggctc 5400 gaagatacct gcaagaatgt cattgcgctg ccattctcca aattgcagtt cgcgcttagc 5460 tggataacgc cacggaatga tgtcgtcgtg cacaacaatg gtgacttcta cagcgcggag 5520 aatctcgctc tctccagggg aagccgaagt ttccaaaagg tcgttgatca aagctcgccg 5580 cgttgtttca tcaagcctta cggtcaccgt aaccagcaaa tcaatatcac tgtgtggctt 5640 caggccgcca tccactgcgg agccgtacaa atgtacggcc agcaacgtcg gttcgagatg 5700 gcgctcgatg acgccaacta cctctgatag ttgagtcgat acttcggcga tcaccgcttc 5760 cctcatgatg tttaactttg ttttagggcg actgccctgc tgcgtaacat cgttgctgct 5820 ccataacatc aaacatcgac ccacggcgta acgcgcttgc tgcttggatg cccgaggcat 5880 agactgtacc ccaaaaaaac agtcataaca agccatgaaa accgccactg cgccgttacc 5940 accgctgcgt tcggtcaagg ttctggacca gttgcgtgag cgcatacgct acttgcatta 6000 cagcttacga accgaacagg cttatgtcca ctgggttcgt gccttcatcc gtttccacgg 6060 tgtgcgtcac ccggcaacct tgggcagcag cgaagtcgag gcatttctgt cctggctggc 6120 gaacgagcgc aaggtttcgg tctccacgca tcgtcaggca ttggcggcct tgctgttctt 6180 ctacggcaag gtgctgtgca cggatctgcc ctggcttcag gagatcggaa gacctcggcc 6240 gtcgcggcgc ttgccggtgg tgctgacccc ggatgaagtg gttcgcatcc tcggttttct 6300 ggaaggcgag catcgtttgt tcgcccagct tctgtatgga acgggcatgc ggatcagtga 6360 gggtttgcaa ctgcgggtca aggatctgga tttcgatcac ggcacgatca tcgtgcggga 6420 gggcaagggc tccaaggatc gggccttgat gttacccgag agcttggcac ccagcctgcg 6480 cgagcagggg aattaattcc cacgggtttt gctgcccgca aacgggctgt tctggtgttg 6540 ctagtttgtt atcagaatcg cagatccggc ttcagccggt ttgccggctg aaagcgctat 6600 ttcttccaga attgccatga ttttttcccc acgggaggcg tcactggctc ccgtgttgtc 6660 ggcagctttg attcgataag cagcatcgcc tgtttcaggc tgtctatgtg tgactgttga 6720 gctgtaacaa gttgtctcag gtgttcaatt tcatgttcta gttgctttgt tttactggtt 6780 tcacctgttc tattaggtgt tacatgctgt tcatctgtta cattgtcgat ctgttcatgg 6840 tgaacagctt tgaatgcacc aaaaactcgt aaaagctctg atgtatctat cttttttaca 6900 ccgttttcat ctgtgcatat ggacagtttt ccctttgata tgtaacggtg aacagttgtt 6960 ctacttttgt ttgttagtct tgatgcttca ctgatagata caagagccat aagaacctca 7020 gatccttccg tatttagcca gtatgttctc tagtgtggtt cgttgttttt gcgtgagcca 7080 tgagaacgaa ccattgagat catacttact ttgcatgtca ctcaaaaatt ttgcctcaaa 7140 actggtgagc tgaatttttg cagttaaagc atcgtgtagt gtttttctta gtccgttatg 7200 taggtaggaa tctgatgtaa tggttgttgg tattttgtca ccattcattt ttatctggtt 7260 gttctcaagt tcggttacga gatccatttg tctatctagt tcaacttgga aaatcaacgt 7320 atcagtcggg cggcctcgct tatcaaccac caatttcata ttgctgtaag tgtttaaatc 7380 tttacttatt ggtttcaaaa cccattggtt aagcctttta aactcatggt agttattttc 7440 aagcattaac atgaacttaa attcatcaag gctaatctct atatttgcct tgtgagtttt 7500 cttttgtgtt agttctttta ataaccactc ataaatcctc atagagtatt tgttttcaaa 7560 agacttaaca tgttccagat tatattttat gaattttttt aactggaaaa gataaggcaa 7620 tatctcttca ctaaaaacta attctaattt ttcgcttgag aacttggcat agtttgtcca 7680 ctggaaaatc tcaaagcctt taaccaaagg attcctgatt tccacagttc tcgtcatcag 7740 ctctctggtt gctttagcta atacaccata agcattttcc ctactgatgt tcatcatctg 7800 agcgtattgg ttataagtga acgataccgt ccgttctttc cttgtagggt tttcaatcgt 7860 ggggttgagt agtgccacac agcataaaat tagcttggtt tcatgctccg ttaagtcata 7920 gcgactaatc gctagttcat ttgctttgaa aacaactaat tcagacatac atctcaattg 7980 gtctaggtga ttttaatcac tataccaatt gagatgggct agtcaatgat aattactagt 8040 ccttttcctt tgagttgtgg gtatctgtaa attctgctag acctttgctg gaaaacttgt 8100 aaattctgct agaccctctg taaattccgc tagacctttg tgtgtttttt ttgtttatat 8160 tcaagtggtt ataatttata gaataaagaa agaataaaaa aagataaaaa gaatagatcc 8220 cagccctgtg tataactcac tactttagtc agttccgcag tattacaaaa ggatgtcgca 8280 aacgctgttt gctcctctac aaaacagacc ttaaaaccct aaaggcttaa gtagcaccct 8340 cgcaagctcg ggcaaatcgc tgaatattcc ttttgtctcc gaccatcagg cacctgagtc 8400 gctgtctttt tcgtgacatt cagttcgctg cgctcacggc tctggcagtg aatgggggta 8460 aatggcacta caggcgcctt ttatggattc atgcaaggaa actacccata atacaagaaa 8520 agcccgtcac gggcttctca gggcgtttta tggcgggtct gctatgtggt gctatctgac 8580 tttttgctgt tcagcagttc ctgccctctg attttccagt ctgaccactt cggattatcc 8640 cgtgacaggt cattcagact ggctaatgca cccagtaagg cagcggtatc atcaacaggc 8700 tta 8703 <210> 47 <211> 9371 <212> DNA <213> Artificial Sequence <220> <223> Synthetic Construct <400> 47 tgtaaccttt gctttcaaat gagtagaaat aatgcacatc catgtttgta tcgtgcaaat 60 aaagtgtttc atccgtagga aaaaatgact ttagtatctg ttccgctttt tctgatgaaa 120 tgtgctcccc gacaaaattg aatgaatcat ggacatttgc tggctttgat acagcgaaag 180 cagccgttcc tatgttatat atcggattta acagcaggac aaaaaacacc atgacagcca 240 tcgtcaccca cttattcaca cgcacataaa cctttcctga cttttggaac agatgatagc 300 tcatcaaaaa tcccgccatt gccaaataaa tcgtatatgg cattactgca ccataatctt 360 ttgagatttg attgggatat ggcgcaagca gcaagacaag cagtccgata atcagcgtat 420 aaaataagcc tagtaagatc ttatccgttc tccaatacag cttgaaaaac actacattca 480 acgcaatggg aagagtgatg atgaaaaaca gaaacacgaa tgcaatcggc tccatcccat 540 ccgggtattc cttccaatac gaaaagaaac taaaaatcat ttgtacgatc ggcaaactga 600 caacagcaag gtcgaacgta taaaacttac cctttccgcc atgatcacgc ggcatcagca 660 tatagtgaaa agccgtcagc agcacatatc cgtataacaa aaaatgcagc agcggcagca 720 gttcttttcc gtcctctctt aagtaagcgc tggtgaagtt tgttgattgc acctggtgaa 780 taagttcaac agacactccc gccagcagca caatccgcaa tataacaccc gccaagaaca 840 ttgtgcgctg ccggtttatt ttgggatgat gcaccaaaag atataagccc gccagaacaa 900 caattgacca ttgaatcagc agggtgcttt gtctgcttaa tataaaataa cgttcgaaat 960 gcaatacata atgactgaat aactccaaca cgaacaacaa ctccattttc ttctgctatc 1020 aaaataacag actcgtgatt ttccaaacga gctttcaaaa aagcctctgc cccttgcaaa 1080 tcggatgcct gtctataaaa ttcccgatat tggttaaaca gcggcgcaat ggcggccgca 1140 tctgatgtct ttgcttggcg aatgttcatc ttatttcttc ctccctctca ataatttttt 1200 cattctatcc cttttctgta aagtttattt ttcagaatac ttttatcatc atgctttgaa 1260 aaaatatcac gataatatcc attgttctca cggaagcaca cgcaggtcat ttgaacgaat 1320 tttttcgaca ggaatttgcc gggactcagg agcatttaac ctaaaaaagc atgacatttc 1380 agcataatga acatttactc atgtctattt tcgttctttt ctgtatgaaa atagttattt 1440 cgagtctcta cggaaatagc gagagatgat atacctaaat agagataaaa tcatctcaaa 1500 aaaatgggtc tactaaaata ttattccatc tattacaata aattcacaga atagtctttt 1560 aagtaagtct actctgaatt tttttaaaag gagagggtaa agagtgtcat taccgttctt 1620 aacttctgca ccgggaaagg ttattatttt tggtgaacac tctgctgtgt acaacaagcc 1680 tgccgtcgct gctagtgtgt ctgcgttgag aacctacctg ctaataagcg agtcatctgc 1740 accagatact attgaattgg acttcccgga cattagcttt aatcataagt ggtccatcaa 1800 tgatttcaat gccatcaccg aggatcaagt aaactcccaa aaattggcca aggctcaaca 1860 agccaccgat ggcttgtctc aggaactcgt tagtcttttg gatccgttgt tagctcaact 1920 atccgaatcc ttccactacc atgcagcgtt ttgtttcctg tatatgtttg tttgcctatg 1980 cccccatgcc aagaatatta agttttcttt aaagtctact ttacccatcg gtgctgggtt 2040 gggctcaagc gcctctattt ctgtatcact ggccttagct atggcctact tgggggggtt 2100 aataggatct aatgacttgg aaaagctgtc agaaaacgat aagcatatag tgaatcaatg 2160 ggccttcata ggtgaaaagt gtattcacgg taccccttca ggaatagata acgctgtggc 2220 cacttatggt aatgccctgc tatttgaaaa agactcacat aatggaacaa taaacacaaa 2280 caattttaag ttcttagatg atttcccagc cattccaatg atcctaacct atactagaat 2340 tccaaggtct acaaaagatc ttgttgctcg cgttcgtgtg ttggtcaccg agaaatttcc 2400 tgaagttatg aagccaattc tagatgccat gggtgaatgt gccctacaag gcttagagat 2460 catgactaag ttaagtaaat gtaaaggcac cgatgacgag gctgtagaaa ctaataatga 2520 actgtatgaa caactattgg aattgataag aataaatcat ggactgcttg tctcaatcgg 2580 tgtttctcat cctggattag aacttattaa aaatctgagc gatgatttga gaattggctc 2640 cacaaaactt accggtgctg gtggcggcgg ttgctctttg actttgttac gaagagacat 2700 tactcaagag caaattgaca gcttcaaaaa gaaattgcaa gatgatttta gttacgagac 2760 atttgaaaca gacttgggtg ggactggctg ctgtttgtta agcgcaaaaa atttgaataa 2820 agatcttaaa atcaaatccc tagtattcca attatttgaa aataaaacta ccacaaagca 2880 acaaattgac gatctattat tgccaggaaa cacgaattta ccatggactt cataaaagga 2940 gagggtgtca gagttgagag ccttcagtgc cccagggaaa gcgttactag ctggtggata 3000 tttagtttta gatacaaaat atgaagcatt tgtagtcgga ttatcggcaa gaatgcatgc 3060 tgtagcccat ccttacggtt cattgcaagg gtctgataag tttgaagtgc gtgtgaaaag 3120 taaacaattt aaagatgggg agtggctgta ccatataagt cctaaaagtg gcttcattcc 3180 tgtttcgata ggcggatcta agaacccttt cattgaaaaa gttatcgcta acgtatttag 3240 ctactttaaa cctaacatgg acgactactg caatagaaac ttgttcgtta ttgatatttt 3300 ctctgatgat gcctaccatt ctcaggagga tagcgttacc gaacatcgtg gcaacagaag 3360 attgagtttt cattcgcaca gaattgaaga agttcccaaa acagggctgg gctcctcggc 3420 aggtttagtc acagttttaa ctacagcttt ggcctccttt tttgtatcgg acctggaaaa 3480 taatgtagac aaatatagag aagttattca taatttagca caagttgctc attgtcaagc 3540 tcagggtaaa attggaagcg ggtttgatgt agcggcggca gcatatggat ctatcagata 3600 tagaagattc ccacccgcat taatctctaa tttgccagat attggaagtg ctacttacgg 3660 cagtaaactg gcgcatttgg ttgatgaaga agactggaat attacgatta aaagtaacca 3720 tttaccttcg ggattaactt tatggatggg cgatattaag aatggttcag aaacagtaaa 3780 actggtccag aaggtaaaaa attggtatga ttcgcatatg ccagaaagct tgaaaatata 3840 tacagaactc gatcatgcaa attctagatt tatggatgga ctatctaaac tagatcgctt 3900 acacgagact catgacgatt acagcgatca gatatttgag tctcttgaga ggaatgactg 3960 tacctgtcaa aagtatcctg aaatcacaga agttagagat gcagttgcca caattagacg 4020 ttcctttaga aaaataacta aagaatctgg tgccgatatc gaacctcccg tacaaactag 4080 cttattggat gattgccaga ccttaaaagg agttcttact tgcttaatac ctggtgctgg 4140 tggttatgac gccattgcag tgattactaa gcaagatgtt gatcttaggg ctcaaaccgc 4200 taatgacaaa agattttcta aggttcaatg gctggatgta actcaggctg actggggtgt 4260 taggaaagaa aaagatccgg aaacttatct tgataaataa aaggagaggg tgaccgttta 4320 cacagcatcc gttaccgcac ccgtcaacat cgcaaccctt aagtattggg ggaaaaggga 4380 cacgaagttg aatctgccca ccaattcgtc catatcagtg actttatcgc aagatgacct 4440 cagaacgttg acctctgcgg ctactgcacc tgagtttgaa cgcgacactt tgtggttaaa 4500 tggagaacca cacagcatcg acaatgaaag aactcaaaat tgtctgcgcg acctacgcca 4560 attaagaaag gaaatggaat cgaaggacgc ctcattgccc acattatctc aatggaaact 4620 ccacattgtc tccgaaaata actttcctac agcagctggt ttagcttcct ccgctgctgg 4680 ctttgctgca ttggtctctg caattgctaa gttataccaa ttaccacagt caacttcaga 4740 aatatctaga atagcaagaa aggggtctgg ttcagcttgt agatcgttgt ttggcggata 4800 cgtggcctgg gaaatgggaa aagctgaaga tggtcatgat tccatggcag tacaaatcgc 4860 agacagctct gactggcctc agatgaaagc ttgtgtccta gttgtcagcg atattaaaaa 4920 ggatgtgagt tccactcagg gtatgcaatt gaccgtggca acctccgaac tatttaaaga 4980 aagaattgaa catgtcgtac caaagagatt tgaagtcatg cgtaaagcca ttgttgaaaa 5040 agatttcgcc acctttgcaa aggaaacaat gatggattcc aactctttcc atgccacatg 5100 tttggactct ttccctccaa tattctacat gaatgacact tccaagcgta tcatcagttg 5160 gtgccacacc attaatcagt tttacggaga aacaatcgtt gcatacacgt ttgatgcagg 5220 tccaaatgct gtgttgtact acttagctga aaatgagtcg aaactctttg catttatcta 5280 taaattgttt ggctctgttc ctggatggga caagaaattt actactgagc agcttgaggc 5340 tttcaaccat caatttgaat catctaactt tactgcacgt gaattggatc ttgagttgca 5400 aaaggatgtt gccagagtga ttttaactca agtcggttca ggcccacaag aaacaaacga 5460 atctttgatt gacgcaaaga ctggtctacc aaaggaataa aaggagaggg tgactgccga 5520 caacaatagt atgccccatg gtgcagtatc tagttacgcc aaattagtgc aaaaccaaac 5580 acctgaagac attttggaag agtttcctga aattattcca ttacaacaaa gacctaatac 5640 ccgatctagt gagacgtcaa atgacgaaag cggagaaaca tgtttttctg gtcatgatga 5700 ggagcaaatt aagttaatga atgaaaattg tattgttttg gattgggacg ataatgctat 5760 tggtgccggt accaagaaag tttgtcattt aatggaaaat attgaaaagg gtttactaca 5820 tcgtgcattc tccgtcttta ttttcaatga acaaggtgaa ttacttttac aacaaagagc 5880 cactgaaaaa ataactttcc ctgatctttg gactaacaca tgctgctctc atccactatg 5940 tattgatgac gaattaggtt tgaagggtaa gctagacgat aagattaagg gcgctattac 6000 tgcggcggtg agaaaactag atcatgaatt aggtattcca gaagatgaaa ctaagacaag 6060 gggtaagttt cactttttaa acagaatcca ttacatggca ccaagcaatg aaccatgggg 6120 tgaacatgaa attgattaca tcctatttta taagatcaac gctaaagaaa acttgactgt 6180 caacccaaac gtcaatgaag ttagagactt caaatgggtt tcaccaaatg atttgaaaac 6240 tatgtttgct gacccaagtt acaagtttac gccttggttt aagattattt gcgagaatta 6300 cttattcaac tggtgggagc aattagatga cctttctgaa gtggaaaatg acaggcaaat 6360 tcatagaatg ctataaaaaa aaccggcctt ggccccgccg gttttttatt atttttcttc 6420 ctccgcatgt tcaatccgct ccataatcga cggatggctc cctctgaaaa ttttaacgag 6480 aaacggcggg ttgacccggc tcagtcccgt aacggccaag tcctgaaacg tctcaatcgc 6540 cgcttcccgg tttccggtca gctcaatgcc gtaacggtcg gcggcgtttt cctgataccg 6600 ggagacggca ttcgtaattt gaatacatac gaacaaatta ataaagtgaa aaaaatactt 6660 cggaaacatt taaaaaataa ccttattggt acttacatgt ttggatcagg agttgagagt 6720 ggactaaaac caaatagtga tcttgacttt ttagtcgtcg tatctgaacc attgacagat 6780 caaagtaaag aaatacttat acaaaaaatt agacctattt caaaaaaaat aggagataaa 6840 agcaacttac gatatattga attaacaatt attattcagc aagaaatggt accgtggaat 6900 catcctccca aacaagaatt tatttatgga gaatggttac aagagcttta tgaacaagga 6960 tacattcctc agaaggaatt aaattcagat ttaaccataa tgctttacca agcaaaacga 7020 aaaaataaaa gaatatacgg aaattatgac ttagaggaat tactacctga tattccattt 7080 tctgatgtga gaagagccat tatggattcg tcagaggaat taatagataa ttatcaggat 7140 gatgaaacca actctatatt aactttatgc cgtatgattt taactatgga cacgggtaaa 7200 atcataccaa aagatattgc gggaaatgca gtggctgaat cttctccatt agaacatagg 7260 gagagaattt tgttagcagt tcgtagttat cttggagaga atattgaatg gactaatgaa 7320 aatgtaaatt taactataaa ctatttaaat aacagattaa aaaaattata atgtaacctt 7380 tgctttcaaa tgagtagaaa taatgcacat ccatgtttgt atcgtgcaaa taaagtgttt 7440 catccgtagg aaaaaatgac tttagtatct gttccgcttt ttctgatgaa atgtgctccc 7500 cgacaaaatt gaatgaatca tggacatttg ctggctttga tacagcgaaa gcagccgttc 7560 ctatgttata tatcggattt aacagcagga caaaaaacac catgacagcc atcgtcaccc 7620 acttattcac acgcacataa acctttcctg acttttggaa cagatgatag ctcatcaaaa 7680 atcccgccat tgccaaataa atcgtatatg gcattactgc accataatct tttgagattt 7740 gattgggata tggcgcaagc agcaagacaa gcagtccgat aatcagcgta taaaataagc 7800 ctagtaagat cttatccgtt ctccaataca gcttgaaaaa cactacattc aacgcaatgg 7860 gaagagtgat gatgaaaaac agaaacacga atgcaatcgg ctccatccca tccgggtatt 7920 ccttccaata cgaaaagaaa ctaaaaatca tttgtacgat cggcaaactg acaacagcaa 7980 ggtcgaacgt ataaaactta ccctttccgc catgatcacg cggcatcagc atatagtgaa 8040 aagccgtcag cagcacatat ccgtataaca aaaaatgcag cagcggcagc agttcttttc 8100 cgtcctctct taagtaagcg ctggtgaagt ttgttgattg cacctggtga ataagttcaa 8160 cagacactcc cgccagcagc acaatccgca atataacacc cgccaagaac attgtgcgct 8220 gccggtttat tttgggatga tgcaccaaaa gatataagcc cgccagaaca acaattgacc 8280 attgaatcag cagggtgctt tgtctgctta atataaaata acgttcgaaa tgcaatacat 8340 aatgactgaa taactccaac acgaacaaca aaagtgcgca ttttataaaa gctaatgatt 8400 cagtccacat aattgataga cgaattctgc tacaggtcac gtggctatgt gaaggatcgc 8460 gcgtccagtt aagagcaaaa acattgacaa aaaaatttat ttatgctaaa atttactatt 8520 aatatatttg tatgtataat aagattctcc tggccagggg aatcttattt tttgtggagg 8580 atcatttcat gaggaaaaat gagtccagct taacgtctct aatttcagct tttgcccgtg 8640 catatcacag ccgatatgac acacctctta tttttgatga ttttatcgca aaagatctca 8700 ttaacgaaaa agagtttatc gacatcagta aaaatatgat tcaagaaata tcgtttttca 8760 acaaagagat cgccgaacgt cttcaaaatg atcctgaaaa aatattaaaa tgggttgcac 8820 aaatccagct gtctccaacg cccctagcac gtgcttctta ttgtgaaaaa gtcttgcaca 8880 acgaattaat cctgggggca aaacagtatg tcattcttgg agcgggactg gatactttct 8940 gctttcggca tccagaatta gaaaacagct tacaggtttt cgaggttgat catccggcca 9000 cacagcaatt gaaaaaaaat aagctgaagg atgcaaatct gacaattccg ggtcatcttc 9060 attttgttcc tatggatttc accaaaacgt tttcgtatga tcctctctta gatgaaggat 9120 ttaaaaacac aaaaacattc ttcagccttc tcggagtgtc ttattatgta acacgggaag 9180 aaaatgcaag cttgatcagc aatttatttt ctcatgtccc gcctggaagc tctattgttt 9240 ttgattatgc ggacgaaaca ctttttacag caaaagggac gtcgaatcga gttgaacata 9300 tggtgaagat ggctgccgca agcggggaac cgatgaaatc atgtttcact tatcaagaga 9360 ttgaacatct g 9371 <210> 48 <211> 4339 <212> DNA <213> Artificial Sequence <220> <223> Synthetic Construct <400> 48 tagaaaaact catcgagcat caaatgaaac tgcaatttat tcatatcagg attatcaata 60 ccatattttt gaaaaagccg tttctgtaat gaaggagaaa actcaccgag gcagttccat 120 aggatggcaa gatcctggta tcggtctgcg attccgactc gtccaacatc aatacaacct 180 attaatttcc cctcgtcaaa aataaggtta tcaagtgaga aatcaccatg agtgacgact 240 gaatccggtg agaatggcaa aagtttatgc atttctttcc agacttgttc aacaggccag 300 ccattacgct cgtcatcaaa atcactcgca tcaaccaaac cgttattcat tcgtgattgc 360 gcctgagcga ggcgaaatac gcgatcgctg ttaaaaggac aattacaaac aggaatcgag 420 tgcaaccggc gcaggaacac tgccagcgca tcaacaatat tttcacctga atcaggatat 480 tcttctaata cctggaacgc tgtttttccg gggatcgcag tggtgagtaa ccatgcatca 540 tcaggagtac ggataaaatg cttgatggtc ggaagtggca taaattccgt cagccagttt 600 agtctgacca tctcatctgt aacatcattg gcaacgctac ctttgccatg tttcagaaac 660 aactctggcg catcgggctt cccatacaag cgatagattg tcgcacctga ttgcccgaca 720 ttatcgcgag cccatttata cccatataaa tcagcatcca tgttggaatt taatcgcggc 780 ctcgacgttt cccgttgaat atggctcata ttcttccttt ttcaatatta ttgaagcatt 840 tatcagggtt attgtctcat gagcggatac atatttgaat gtatttagaa aaataaacaa 900 ataggggtca gtgttacaac caattaacca attctgaaca ttatcgcgag cccatttata 960 cctgaatatg gctcataaca ccccttgttt gcctggcggc agtagcgcgg tggtcccacc 1020 tgaccccatg ccgaactcag aagtgaaacg ccgtagcgcc gatggtagtg tggggactcc 1080 ccatgcgaga gtagggaact gccaggcatc aaataaaacg aaaggctcag tcgaaagact 1140 gggcctttcg cccgggctaa ttagggggtg tcgcccttta gtcgctgaac atgtgctctg 1200 tttctaccga gaacgtttcc ttcactgaga cggaaaccga ggcacgtcgt agcgcgaact 1260 acgagccgaa tagctgggac tacgatttcc tgctgtcttc cgatactgac gaatctattg 1320 aggtgtacaa agacaaagca aagaaactgg aggctgaagt gcgccgcgaa attaacaacg 1380 agaaagctga attcctgact ctgctggagc tgatcgataa cgtacagcgc ctgggtctgg 1440 gttaccgctt cgaatctgat atccgtcgcg cactggatcg tttcgtaagc agcggcggtt 1500 tcgatggcgt gaccaaaacg agcctgcacg ctaccgcgct gtccttccgt ctgctgcgtc 1560 agcacggctt cgaagtttct caggaagcat tctccggttt caaagatcaa aacggtaact 1620 tcctggaaaa cctgaaagaa gacactaagg cgatcctgag cctgtatgag gcaagctttc 1680 tggccctgga gggtgagaac atcctggatg aggcgcgcgt attcgccatc tcccatctga 1740 aagagctgtc tgaagagaaa atcggtaagg aactggcaga gcaggttaat cacgcactgg 1800 aactgccgct gcatcgtcgt acccagcgtc tggaggcggt ttggtccatc gaagcgtacc 1860 gcaaaaagga ggatgctaac caggttctgc tggaactggc catcctggac tacaacatga 1920 tccagtccgt ttaccagcgt gatctgcgtg aaacctcccg ttggtggcgc cgtgtgggcc 1980 tggcgaccaa actgcacttc gctaaggacc gcctgattga gtctttttac tgggcagtcg 2040 gcgttgcgtt cgaacctcag tattctgact gccgtaacag cgttgcgaaa atgttcagct 2100 tcgttactat tatcgacgac atctacgacg tttacggtac tctggacgag ctggaactgt 2160 ttaccgacgc tgtcgaacgt tgggatgtta acgccatcaa cgatctgcct gactacatga 2220 aactgtgctt cctggcactg tataacacga tcaacgaaat tgcatacgac aacctgaaag 2280 acaaaggtga aaacatcctg ccgtacctga ctaaagcgtg ggcggatctg tgtaacgctt 2340 ttctgcaaga agcgaaatgg ctgtataaca aatccactcc gacctttgac gattatttcg 2400 gcaatgcctg gaaatccagc tctggcccgc tgcaactgat cttcgcttat tttgcggttg 2460 tccaaaacat caaaaaggag gaaattgaaa acctgcaaaa ataccacgat atcattagcc 2520 gtccttctca tatctttcgc ctgtgcaacg acctggcaag cgcgtccgca gagatcgcac 2580 gtggcgaaac cgctaactct gtttcctgct acatgcgcac caagggcatt tccgaagagc 2640 tggcaaccga gagcgtaatg aatctgatcg acgaaacctg taagaaaatg aacaaagaaa 2700 aactgggtgg ctccctgttc gctaaaccgt tcgtagagac tgctattaac ctggcacgtc 2760 agagccactg cacctaccac aatggtgacg cacatactag cccggatgaa ctgactcgta 2820 aacgtgtact gtctgttatc accgaaccga ttctgccgtt cgaacgttaa ctgcagcgtc 2880 aatcgaaagg gcgacacaaa atttattcta aatgcataat aaatactgat aacatcttat 2940 agtttgtatt atattttgta ttatcgttga catgtataat tttgatatca aaaactgatt 3000 ttccctttat tattttcgag atttattttc ttaattctct ttaacaaact agaaatattg 3060 tatatacaaa aaatcataaa taatagatga atagtttaat tataggtgtt catcaatcga 3120 aaaagcaacg tatcttattt aaagtgcgtt gcttttttct catttataag gttaaataat 3180 tctcatatat caagcaaagt gacaggcgcc cttaaatatt ctgacaaatg ctctttccct 3240 aaactccccc cataaaaaaa cccgccgaag cgggttttta cgttatttgc ggattaacga 3300 ttactcgtta tcagaaccgc ccagggggcc cgagcttaag actggccgtc gttttacaac 3360 acagaaagag tttgtagaaa cgcaaaaagg ccatccgtca ggggccttct gcttagtttg 3420 atgcctggca gttccctact ctcgccttcc gcttcctcgc tcactgactc gctgcgctcg 3480 gtcgttcggc tgcggcgagc ggtatcagct cactcaaagg cggtaatacg gttatccaca 3540 gaatcagggg ataacgcagg aaagaacatg tgagcaaaag gccagcaaaa ggccaggaac 3600 cgtaaaaagg ccgcgttgct ggcgtttttc cataggctcc gcccccctga cgagcatcac 3660 aaaaatcgac gctcaagtca gaggtggcga aacccgacag gactataaag ataccaggcg 3720 tttccccctg gaagctccct cgtgcgctct cctgttccga ccctgccgct taccggatac 3780 ctgtccgcct ttctcccttc gggaagcgtg gcgctttctc atagctcacg ctgtaggtat 3840 ctcagttcgg tgtaggtcgt tcgctccaag ctgggctgtg tgcacgaacc ccccgttcag 3900 cccgaccgct gcgccttatc cggtaactat cgtcttgagt ccaacccggt aagacacgac 3960 ttatcgccac tggcagcagc cactggtaac aggattagca gagcgaggta tgtaggcggt 4020 gctacagagt tcttgaagtg gtgggctaac tacggctaca ctagaagaac agtatttggt 4080 atctgcgctc tgctgaagcc agttaccttc ggaaaaagag ttggtagctc ttgatccggc 4140 aaacaaacca ccgctggtag cggtggtttt tttgtttgca agcagcagat tacgcgcaga 4200 aaaaaaggat ctcaagaaga tcctttgatc ttttctacgg ggtctgacgc tcagtggaac 4260 gacgcgcgcg taactcacgt taagggattt tggtcatgag cttgcgccgt cccgtcaagt 4320 cagcgtaatg ctctgcttt 4339 <210> 49 <211> 6065 <212> DNA <213> Artificial Sequence <220> <223> Synthetic Construct <400> 49 gtttgacagc ttatcatcga ctgcacggtg caccaatgct tctggcgtca ggcagccatc 60 ggaagctgtg gtatggctgt gcaggtcgta aatcactgca taattcgtgt cgctcaaggc 120 gcactcccgt tctggataat gttttttgcg ccgacatcat aacggttctg gcaaatattc 180 tgaaatgagc tgttgacaat taatcatccg gctcgtataa tgtgtggaat tgtgagcgga 240 taacaatttc acacaggaaa cagcgccgct gagaaaaagc gaagcggcac tgctctttaa 300 caatttatca gacaatctgt gtgggcactc gaccggaatt atcgattaac tttattatta 360 aaaattaaag aggtatatat taatgtatcg attaaataag gaggaataaa ccatgtgctc 420 tgtttctacc gagaacgttt ccttcactga gacggaaacc gaggcacgtc gtagcgcgaa 480 ctacgagccg aatagctggg actacgattt cctgctgtct tccgatactg acgaatctat 540 tgaggtgtac aaagacaaag caaagaaact ggaggctgaa gtgcgccgcg aaattaacaa 600 cgagaaagct gaattcctga ctctgctgga gctgatcgat aacgtacagc gcctgggtct 660 gggttaccgc ttcgaatctg atatccgtcg cgcactggat cgtttcgtaa gcagcggcgg 720 tttcgatggc gtgaccaaaa cgagcctgca cgctaccgcg ctgtccttcc gtctgctgcg 780 tcagcacggc ttcgaagttt ctcaggaagc attctccggt ttcaaagatc aaaacggtaa 840 cttcctggaa aacctgaaag aagacactaa ggcgatcctg agcctgtatg aggcaagctt 900 tctggccctg gagggtgaga acatcctgga tgaggcgcgc gtattcgcca tctcccatct 960 gaaagagctg tctgaagaga aaatcggtaa ggaactggca gagcaggtta atcacgcact 1020 ggaactgccg ctgcatcgtc gtacccagcg tctggaggcg gtttggtcca tcgaagcgta 1080 ccgcaaaaag gaggatgcta accaggttct gctggaactg gccatcctgg actacaacat 1140 gatccagtcc gtttaccagc gtgatctgcg tgaaacctcc cgttggtggc gccgtgtggg 1200 cctggcgacc aaactgcact tcgctaagga ccgcctgatt gagtcttttt actgggcagt 1260 cggcgttgcg ttcgaacctc agtattctga ctgccgtaac agcgttgcga aaatgttcag 1320 cttcgttact attatcgacg acatctacga cgtttacggt actctggacg agctggaact 1380 gtttaccgac gctgtcgaac gttgggatgt taacgccatc aacgatctgc ctgactacat 1440 gaaactgtgc ttcctggcac tgtataacac gatcaacgaa attgcatacg acaacctgaa 1500 agacaaaggt gaaaacatcc tgccgtacct gactaaagcg tgggcggatc tgtgtaacgc 1560 ttttctgcaa gaagcgaaat ggctgtataa caaatccact ccgacctttg acgattattt 1620 cggcaatgcc tggaaatcca gctctggccc gctgcaactg atcttcgctt attttgcggt 1680 tgtccaaaac atcaaaaagg aggaaattga aaacctgcaa aaataccacg atatcattag 1740 ccgtccttct catatctttc gcctgtgcaa cgacctggca agcgcgtccg cagagatcgc 1800 acgtggcgaa accgctaact ctgtttcctg ctacatgcgc accaagggca tttccgaaga 1860 gctggcaacc gagagcgtaa tgaatctgat cgacgaaacc tgtaagaaaa tgaacaaaga 1920 aaaactgggt ggctccctgt tcgctaaacc gttcgtagag actgctatta acctggcacg 1980 tcagagccac tgcacctacc acaatggtga cgcacatact agcccggatg aactgactcg 2040 taaacgtgta ctgtctgtta tcaccgaacc gattctgccg ttcgaacgtt aactgcagct 2100 ggtaccatat gggaattcga agctttctag aacaaaaact catctcagaa gaggatctga 2160 atagcgccgt cgaccatcat catcatcatc attgagttta aacggtctcc agcttggctg 2220 ttttggcgga tgagagaaga ttttcagcct gatacagatt aaatcagaac gcagaagcgg 2280 tctgataaaa cagaatttgc ctggcggcag tagcgcggtg gtcccacctg accccatgcc 2340 gaactcagaa gtgaaacgcc gtagcgccga tggtagtgtg gggtctcccc atgcgagagt 2400 agggaactgc caggcatcaa ataaaacgaa aggctcagtc gaaagactgg gcctttcgtt 2460 ttatctgttg tttgtcggtg aacgctctcc tgagtaggac aaatccgccg ggagcggatt 2520 tgaacgttgc gaagcaacgg cccggagggt ggcgggcagg acgcccgcca taaactgcca 2580 ggcatcaaat taagcagaag gccatcctga cggatggcct ttttgcgttt ctacaaactc 2640 tttttgttta tttttctaaa tacattcaaa tatgtatccg ctcatgagac aataaccctg 2700 ataaatgctt caataatatt gaaaaaggaa gagtatgagt attcaacatt tccgtgtcgc 2760 ccttattccc ttttttgcgg cattttgcct tcctgttttt gctcacccag aaacgctggt 2820 gaaagtaaaa gatgctgaag atcagttggg tgcacgagtg ggttacatcg aactggatct 2880 caacagcggt aagatccttg agagttttcg ccccgaagaa cgttttccaa tgatgagcac 2940 ttttaaagtt ctgctatgtg gcgcggtatt atcccgtgtt gacgccgggc aagagcaact 3000 cggtcgccgc atacactatt ctcagaatga cttggttgag tactcaccag tcacagaaaa 3060 gcatcttacg gatggcatga cagtaagaga attatgcagt gctgccataa ccatgagtga 3120 taacactgcg gccaacttac ttctgacaac gatcggagga ccgaaggagc taaccgcttt 3180 tttgcacaac atgggggatc atgtaactcg ccttgatcgt tgggaaccgg agctgaatga 3240 agccatacca aacgacgagc gtgacaccac gatgcctgta gcaatggcaa caacgttgcg 3300 caaactatta actggcgaac tacttactct agcttcccgg caacaattaa tagactggat 3360 ggaggcggat aaagttgcag gaccacttct gcgctcggcc cttccggctg gctggtttat 3420 tgctgataaa tctggagccg gtgagcgtgg gtctcgcggt atcattgcag cactggggcc 3480 agatggtaag ccctcccgta tcgtagttat ctacacgacg gggagtcagg caactatgga 3540 tgaacgaaat agacagatcg ctgagatagg tgcctcactg attaagcatt ggtaactgtc 3600 agaccaagtt tactcatata tactttagat tgatttaaaa cttcattttt aatttaaaag 3660 gatctaggtg aagatccttt ttgataatct catgaccaaa atcccttaac gtgagttttc 3720 gttccactga gcgtcagacc ccgtagaaaa gatcaaagga tcttcttgag atcctttttt 3780 tctgcgcgta atctgctgct tgcaaacaaa aaaaccaccg ctaccagcgg tggtttgttt 3840 gccggatcaa gagctaccaa ctctttttcc gaaggtaact ggcttcagca gagcgcagat 3900 accaaatact gtccttctag tgtagccgta gttaggccac cacttcaaga actctgtagc 3960 accgcctaca tacctcgctc tgctaatcct gttaccagtg gctgctgcca gtggcgataa 4020 gtcgtgtctt accgggttgg actcaagacg atagttaccg gataaggcgc agcggtcggg 4080 ctgaacgggg ggttcgtgca cacagcccag cttggagcga acgacctaca ccgaactgag 4140 atacctacag cgtgagctat gagaaagcgc cacgcttccc gaagggagaa aggcggacag 4200 gtatccggta agcggcaggg tcggaacagg agagcgcacg agggagcttc cagggggaaa 4260 cgcctggtat ctttatagtc ctgtcgggtt tcgccacctc tgacttgagc gtcgattttt 4320 gtgatgctcg tcaggggggc ggagcctatg gaaaaacgcc agcaacgcgg cctttttacg 4380 gttcctggcc ttttgctggc cttttgctca catgttcttt cctgcgttat cccctgattc 4440 tgtggataac cgtattaccg cctttgagtg agctgatacc gctcgccgca gccgaacgac 4500 cgagcgcagc gagtcagtga gcgaggaagc ggaagagcgc ctgatgcggt attttctcct 4560 tacgcatctg tgcggtattt cacaccgcat atggtgcact ctcagtacaa tctgctctga 4620 tgccgcatag ttaagccagt atacactccg ctatcgctac gtgactgggt catggctgcg 4680 ccccgacacc cgccaacacc cgctgacgcg ccctgacggg cttgtctgct cccggcatcc 4740 gcttacagac aagctgtgac cgtctccggg agctgcatgt gtcagaggtt ttcaccgtca 4800 tcaccgaaac gcgcgaggca gcagatcaat tcgcgcgcga aggcgaagcg gcatgcattt 4860 acgttgacac catcgaatgg tgcaaaacct ttcgcggtat ggcatgatag cgcccggaag 4920 agagtcaatt cagggtggtg aatgtgaaac cagtaacgtt atacgatgtc gcagagtatg 4980 ccggtgtctc ttatcagacc gtttcccgcg tggtgaacca ggccagccac gtttctgcga 5040 aaacgcggga aaaagtggaa gcggcgatgg cggagctgaa ttacattccc aaccgcgtgg 5100 cacaacaact ggcgggcaaa cagtcgttgc tgattggcgt tgccacctcc agtctggccc 5160 tgcacgcgcc gtcgcaaatt gtcgcggcga ttaaatctcg cgccgatcaa ctgggtgcca 5220 gcgtggtggt gtcgatggta gaacgaagcg gcgtcgaagc ctgtaaagcg gcggtgcaca 5280 atcttctcgc gcaacgcgtc agtgggctga tcattaacta tccgctggat gaccaggatg 5340 ccattgctgt ggaagctgcc tgcactaatg ttccggcgtt atttcttgat gtctctgacc 5400 agacacccat caacagtatt attttctccc atgaagacgg tacgcgactg ggcgtggagc 5460 atctggtcgc attgggtcac cagcaaatcg cgctgttagc gggcccatta agttctgtct 5520 cggcgcgtct gcgtctggct ggctggcata aatatctcac tcgcaatcaa attcagccga 5580 tagcggaacg ggaaggcgac tggagtgcca tgtccggttt tcaacaaacc atgcaaatgc 5640 tgaatgaggg catcgttccc actgcgatgc tggttgccaa cgatcagatg gcgctgggcg 5700 caatgcgcgc cattaccgag tccgggctgc gcgttggtgc ggatatctcg gtagtgggat 5760 acgacgatac cgaagacagc tcatgttata tcccgccgtc aaccaccatc aaacaggatt 5820 ttcgcctgct ggggcaaacc agcgtggacc gcttgctgca actctctcag ggccaggcgg 5880 tgaagggcaa tcagctgttg cccgtctcac tggtgaaaag aaaaaccacc ctggcgccca 5940 atacgcaaac cgcctctccc cgcgcgttgg ccgattcatt aatgcagctg gcacgacagg 6000 tttcccgact ggaaagcggg cagtgagcgc aacgcaatta atgtgagtta gcgcgaattg 6060 atctg 6065 <210> 50 <211> 6912 <212> DNA <213> Artificial Sequence <220> <223> Synthetic Construct <400> 50 ttgtctgctc ccggcatccg cttacagaca agctgtgacc gtctccggga gctgcatgtg 60 tcagaggttt tcaccgtcat caccgaaacg cgcgaggcag cagatcaatt cgcgcgcgaa 120 ggcgaagcgg catgcattta cgttgacacc atcgaatggt gcaaaacctt tcgcggtatg 180 gcatgatagc gcccggaaga gagtcaattc agggtggtga atgtgaaacc agtaacgtta 240 tacgatgtcg cagagtatgc cggtgtctct tatcagaccg tttcccgcgt ggtgaaccag 300 gccagccacg tttctgcgaa aacgcgggaa aaagtggaag cggcgatggc ggagctgaat 360 tacattccca accgcgtggc acaacaactg gcgggcaaac agtcgttgct gattggcgtt 420 gccacctcca gtctggccct gcacgcgccg tcgcaaattg tcgcggcgat taaatctcgc 480 gccgatcaac tgggtgccag cgtggtggtg tcgatggtag aacgaagcgg cgtcgaagcc 540 tgtaaagcgg cggtgcacaa tcttctcgcg caacgcgtca gtgggctgat cattaactat 600 ccgctggatg accaggatgc cattgctgtg gaagctgcct gcactaatgt tccggcgtta 660 tttcttgatg tctctgacca gacacccatc aacagtatta ttttctccca tgaagacggt 720 acgcgactgg gcgtggagca tctggtcgca ttgggtcacc agcaaatcgc gctgttagcg 780 ggcccattaa gttctgtctc ggcgcgtctg cgtctggctg gctggcataa atatctcact 840 cgcaatcaaa ttcagccgat agcggaacgg gaaggcgact ggagtgccat gtccggtttt 900 caacaaacca tgcaaatgct gaatgagggc atcgttccca ctgcgatgct ggttgccaac 960 gatcagatgg cgctgggcgc aatgcgcgcc attaccgagt ccgggctgcg cgttggtgcg 1020 gatatctcgg tagtgggata cgacgatacc gaagacagct catgttatat cccgccgtca 1080 accaccatca aacaggattt tcgcctgctg gggcaaacca gcgtggaccg cttgctgcaa 1140 ctctctcagg gccaggcggt gaagggcaat cagctgttgc ccgtctcact ggtgaaaaga 1200 aaaaccaccc tggcgcccaa tacgcaaacc gcctctcccc gcgcgttggc cgattcatta 1260 atgcagctgg cacgacaggt ttcccgactg gaaagcgggc agtgagcgca acgcaattaa 1320 tgtgagttag cgcgaattga tctggtttga cagcttatca tcgactgcac ggtgcaccaa 1380 tgcttctggc gtcaggcagc catcggaagc tgtggtatgg ctgtgcaggt cgtaaatcac 1440 tgcataattc gtgtcgctca aggcgcactc ccgttctgga taatgttttt tgcgccgaca 1500 tcataacggt tctggcaaat attctgaaat gagctgttga caattaatca tccggctcgt 1560 ataatgtgtg gaattgtgag cggataacaa tttcacacag gaaacagcgc cgctgagaaa 1620 aagcgaagcg gcactgctct ttaacaattt atcagacaat ctgtgtgggc actcgaccgg 1680 aattatcgat taactttatt attaaaaatt aaagaggtat atattaatgt atcgattaaa 1740 taaggaggaa taaaccatgt gtgcgacctc ttctcaattt actcagatta ccgagcataa 1800 ttcccgtcgt tccgcaaact atcagccaaa cctgtggaat ttcgaattcc tgcaatccct 1860 ggagaacgac ctgaaagtgg aaaagctgga ggagaaagcg accaaactgg aggaagaagt 1920 tcgctgcatg atcaaccgtg tagacaccca gccgctgtcc ctgctggagc tgatcgacga 1980 tgtgcagcgc ctgggtctga cctacaaatt tgaaaaagac atcattaaag ccctggaaaa 2040 catcgtactg ctggacgaaa acaaaaagaa caaatctgac ctgcacgcaa ccgctctgtc 2100 tttccgtctg ctgcgtcagc acggtttcga ggtttctcag gatgtttttg agcgtttcaa 2160 ggataaagaa ggtggtttca gcggtgaact gaaaggtgac gtccaaggcc tgctgagcct 2220 gtatgaagcg tcttacctgg gtttcgaggg tgagaacctg ctggaggagg cgcgtacctt 2280 ttccatcacc cacctgaaga acaacctgaa agaaggcatt aataccaagg ttgcagaaca 2340 agtgagccac gccctggaac tgccatatca ccagcgtctg caccgtctgg aggcacgttg 2400 gttcctggat aaatacgaac cgaaagaacc gcatcaccag ctgctgctgg agctggcgaa 2460 gctggatttt aacatggtac agaccctgca ccagaaagag ctgcaagatc tgtcccgctg 2520 gtggaccgag atgggcctgg ctagcaaact ggattttgta cgcgaccgcc tgatggaagt 2580 ttatttctgg gcactgggta tggcgccaga cccgcagttt ggtgaatgtc gcaaagctgt 2640 tactaaaatg tttggtctgg tgacgatcat cgatgacgtg tatgacgttt atggcactct 2700 ggacgaactg caactgttca ccgatgctgt agagcgctgg gacgttaacg ctattaacac 2760 cctgccggac tatatgaaac tgtgtttcct ggcactgtac aacaccgtta acgacacgtc 2820 ctattctatt ctgaaagaga aaggtcataa caacctgtcc tatctgacga aaagctggcg 2880 tgaactgtgc aaagcctttc tgcaagaggc gaaatggtcc aacaacaaaa ttatcccggc 2940 tttctccaag tacctggaaa acgccagcgt ttcctcctcc ggtgtagcgc tgctggcgcc 3000 gtcttacttt tccgtatgcc agcagcagga agacatctcc gaccacgcgc tgcgttccct 3060 gaccgacttc catggtctgg tgcgttctag ctgcgttatc ttccgcctgt gcaacgatct 3120 ggccacctct gcggcggagc tggaacgtgg cgagactacc aattctatca ttagctacat 3180 gcacgaaaac gatggtacca gcgaggaaca ggcccgcgaa gaactgcgta aactgatcga 3240 cgccgaatgg aaaaagatga atcgtgaacg cgttagcgac tccaccctgc tgcctaaagc 3300 gttcatggaa atcgcagtta acatggcacg tgtttcccac tgcacctacc agtatggcga 3360 tggtctgggt cgcccagact acgcgactga aaaccgcatc aaactgctgc tgattgaccc 3420 tttcccgatt aaccagctga tgtatgtcta actgcatcgc ccttaggagg taaaaaaaaa 3480 tgactgccga caacaatagt atgccccatg gtgcagtatc tagttacgcc aaattagtgc 3540 aaaaccaaac acctgaagac attttggaag agtttcctga aattattcca ttacaacaaa 3600 gacctaatac ccgatctagt gagacgtcaa atgacgaaag cggagaaaca tgtttttctg 3660 gtcatgatga ggagcaaatt aagttaatga atgaaaattg tattgttttg gattgggacg 3720 ataatgctat tggtgccggt accaagaaag tttgtcattt aatggaaaat attgaaaagg 3780 gtttactaca tcgtgcattc tccgtcttta ttttcaatga acaaggtgaa ttacttttac 3840 aacaaagagc cactgaaaaa ataactttcc ctgatctttg gactaacaca tgctgctctc 3900 atccactatg tattgatgac gaattaggtt tgaagggtaa gctagacgat aagattaagg 3960 gcgctattac tgcggcggtg agaaaactag atcatgaatt aggtattcca gaagatgaaa 4020 ctaagacaag gggtaagttt cactttttaa acagaatcca ttacatggca ccaagcaatg 4080 aaccatgggg tgaacatgaa attgattaca tcctatttta taagatcaac gctaaagaaa 4140 acttgactgt caacccaaac gtcaatgaag ttagagactt caaatgggtt tcaccaaatg 4200 atttgaaaac tatgtttgct gacccaagtt acaagtttac gccttggttt aagattattt 4260 gcgagaatta cttattcaac tggtgggagc aattagatga cctttctgaa gtggaaaatg 4320 acaggcaaat tcatagaatg ctataacaac gcgtcctgca gctggtacca tatgggaatt 4380 cgaagctttc tagaacaaaa actcatctca gaagaggatc tgaatagcgc cgtcgaccat 4440 catcatcatc atcattgagt ttaaacggtc tccagcttgg ctgttttggc ggatgagaga 4500 agattttcag cctgatacag attaaatcag aacgcagaag cggtctgata aaacagaatt 4560 tgcctggcgg cagtagcgcg gtggtcccac ctgaccccat gccgaactca gaagtgaaac 4620 gccgtagcgc cgatggtagt gtggggtctc cccatgcgag agtagggaac tgccaggcat 4680 caaataaaac gaaaggctca gtcgaaagac tgggcctttc gttttatctg ttgtttgtcg 4740 gtgaacgctc tcctgagtag gacaaatccg ccgggagcgg atttgaacgt tgcgaagcaa 4800 cggcccggag ggtggcgggc aggacgcccg ccataaactg ccaggcatca aattaagcag 4860 aaggccatcc tgacggatgg cctttttgcg tttctacaaa ctctttttgt ttatttttct 4920 aaatacattc aaatatgtat ccgcttaacc ggaattgcca gctggggcgc cctctggtaa 4980 ggttgggaag ccctgcaaag taaactggat ggctttctcg ccgccaagga tctgatggcg 5040 caggggatca agctctgatc aagagacagg atgaggatcg tttcgcatga ttgaacaaga 5100 tggattgcac gcaggttctc cggccgcttg ggtggagagg ctattcggct atgactgggc 5160 acaacagaca atcggctgct ctgatgccgc cgtgttccgg ctgtcagcgc aggggcgccc 5220 ggttcttttt gtcaagaccg acctgtccgg tgccctgaat gaactgcaag acgaggcagc 5280 gcggctatcg tggctggcca cgacgggcgt tccttgcgca gctgtgctcg acgttgtcac 5340 tgaagcggga agggactggc tgctattggg cgaagtgccg gggcaggatc tcctgtcatc 5400 tcaccttgct cctgccgaga aagtatccat catggctgat gcaatgcggc ggctgcatac 5460 gcttgatccg gctacctgcc cattcgacca ccaagcgaaa catcgcatcg agcgagcacg 5520 tactcggatg gaagccggtc ttgtcgatca ggatgatctg gacgaagagc atcaggggct 5580 cgcgccagcc gaactgttcg ccaggctcaa ggcgagcatg cccgacggcg aggatctcgt 5640 cgtgacccat ggcgatgcct gcttgccgaa tatcatggtg gaaaatggcc gcttttctgg 5700 attcatcgac tgtggccggc tgggtgtggc ggaccgctat caggacatag cgttggctac 5760 ccgtgatatt gctgaagagc ttggcggcga atgggctgac cgcttcctcg tgctttacgg 5820 tatcgccgct cccgattcgc agcgcatcgc cttctatcgc cttcttgacg agttcttctg 5880 acatgaccaa aatcccttaa cgtgagtttt cgttccactg agcgtcagac cccgtagaaa 5940 agatcaaagg atcttcttga gatccttttt ttctgcgcgt aatctgctgc ttgcaaacaa 6000 aaaaaccacc gctaccagcg gtggtttgtt tgccggatca agagctacca actctttttc 6060 cgaaggtaac tggcttcagc agagcgcaga taccaaatac tgtccttcta gtgtagccgt 6120 agttaggcca ccacttcaag aactctgtag caccgcctac atacctcgct ctgctaatcc 6180 tgttaccagt ggctgctgcc agtggcgata agtcgtgtct taccgggttg gactcaagac 6240 gatagttacc ggataaggcg cagcggtcgg gctgaacggg gggttcgtgc acacagccca 6300 gcttggagcg aacgacctac accgaactga gatacctaca gcgtgagcta tgagaaagcg 6360 ccacgcttcc cgaagggaga aaggcggaca ggtatccggt aagcggcagg gtcggaacag 6420 gagagcgcac gagggagctt ccagggggaa acgcctggta tctttatagt cctgtcgggt 6480 ttcgccacct ctgacttgag cgtcgatttt tgtgatgctc gtcagggggg cggagcctat 6540 ggaaaaacgc cagcaacgcg gcctttttac ggttcctggc cttttgctgg ccttttgctc 6600 acatgttctt tcctgcgtta tcccctgatt ctgtggataa ccgtattacc gcctttgagt 6660 gagctgatac cgctcgccgc agccgaacga ccgagcgcag cgagtcagtg agcgaggaag 6720 cggaagagcg cctgatgcgg tattttctcc ttacgcatct gtgcggtatt tcacaccgca 6780 tatggtgcac tctcagtaca atctgctctg atgccgcata gttaagccag tatacactcc 6840 gctatcgcta cgtgactggg tcatggctgc gccccgacac ccgccaacac ccgctgacgc 6900 gccctgacgg gc 6912 <210> 51 <211> 7902 <212> DNA <213> Artificial Sequence <220> <223> Synthetic Construct <400> 51 ttgtctgctc ccggcatccg cttacagaca agctgtgacc gtctccggga gctgcatgtg 60 tcagaggttt tcaccgtcat caccgaaacg cgcgaggcag cagatcaatt cgcgcgcgaa 120 ggcgaagcgg catgcattta cgttgacacc atcgaatggt gcaaaacctt tcgcggtatg 180 gcatgatagc gcccggaaga gagtcaattc agggtggtga atgtgaaacc agtaacgtta 240 tacgatgtcg cagagtatgc cggtgtctct tatcagaccg tttcccgcgt ggtgaaccag 300 gccagccacg tttctgcgaa aacgcgggaa aaagtggaag cggcgatggc ggagctgaat 360 tacattccca accgcgtggc acaacaactg gcgggcaaac agtcgttgct gattggcgtt 420 gccacctcca gtctggccct gcacgcgccg tcgcaaattg tcgcggcgat taaatctcgc 480 gccgatcaac tgggtgccag cgtggtggtg tcgatggtag aacgaagcgg cgtcgaagcc 540 tgtaaagcgg cggtgcacaa tcttctcgcg caacgcgtca gtgggctgat cattaactat 600 ccgctggatg accaggatgc cattgctgtg gaagctgcct gcactaatgt tccggcgtta 660 tttcttgatg tctctgacca gacacccatc aacagtatta ttttctccca tgaagacggt 720 acgcgactgg gcgtggagca tctggtcgca ttgggtcacc agcaaatcgc gctgttagcg 780 ggcccattaa gttctgtctc ggcgcgtctg cgtctggctg gctggcataa atatctcact 840 cgcaatcaaa ttcagccgat agcggaacgg gaaggcgact ggagtgccat gtccggtttt 900 caacaaacca tgcaaatgct gaatgagggc atcgttccca ctgcgatgct ggttgccaac 960 gatcagatgg cgctgggcgc aatgcgcgcc attaccgagt ccgggctgcg cgttggtgcg 1020 gatatctcgg tagtgggata cgacgatacc gaagacagct catgttatat cccgccgtca 1080 accaccatca aacaggattt tcgcctgctg gggcaaacca gcgtggaccg cttgctgcaa 1140 ctctctcagg gccaggcggt gaagggcaat cagctgttgc ccgtctcact ggtgaaaaga 1200 aaaaccaccc tggcgcccaa tacgcaaacc gcctctcccc gcgcgttggc cgattcatta 1260 atgcagctgg cacgacaggt ttcccgactg gaaagcgggc agtgagcgca acgcaattaa 1320 tgtgagttag cgcgaattga tctggtttga cagcttatca tcgactgcac ggtgcaccaa 1380 tgcttctggc gtcaggcagc catcggaagc tgtggtatgg ctgtgcaggt cgtaaatcac 1440 tgcataattc gtgtcgctca aggcgcactc ccgttctgga taatgttttt tgcgccgaca 1500 tcataacggt tctggcaaat attctgaaat gagctgttga caattaatca tccggctcgt 1560 ataatgtgtg gaattgtgag cggataacaa tttcacacag gaaacagcgc cgctgagaaa 1620 aagcgaagcg gcactgctct ttaacaattt atcagacaat ctgtgtgggc actcgaccgg 1680 aattatcgat taactttatt attaaaaatt aaagaggtat atattaatgt atcgattaaa 1740 taaggaggaa taaaccatgt gtgcgacctc ttctcaattt actcagatta ccgagcataa 1800 ttcccgtcgt tccgcaaact atcagccaaa cctgtggaat ttcgaattcc tgcaatccct 1860 ggagaacgac ctgaaagtgg aaaagctgga ggagaaagcg accaaactgg aggaagaagt 1920 tcgctgcatg atcaaccgtg tagacaccca gccgctgtcc ctgctggagc tgatcgacga 1980 tgtgcagcgc ctgggtctga cctacaaatt tgaaaaagac atcattaaag ccctggaaaa 2040 catcgtactg ctggacgaaa acaaaaagaa caaatctgac ctgcacgcaa ccgctctgtc 2100 tttccgtctg ctgcgtcagc acggtttcga ggtttctcag gatgtttttg agcgtttcaa 2160 ggataaagaa ggtggtttca gcggtgaact gaaaggtgac gtccaaggcc tgctgagcct 2220 gtatgaagcg tcttacctgg gtttcgaggg tgagaacctg ctggaggagg cgcgtacctt 2280 ttccatcacc cacctgaaga acaacctgaa agaaggcatt aataccaagg ttgcagaaca 2340 agtgagccac gccctggaac tgccatatca ccagcgtctg caccgtctgg aggcacgttg 2400 gttcctggat aaatacgaac cgaaagaacc gcatcaccag ctgctgctgg agctggcgaa 2460 gctggatttt aacatggtac agaccctgca ccagaaagag ctgcaagatc tgtcccgctg 2520 gtggaccgag atgggcctgg ctagcaaact ggattttgta cgcgaccgcc tgatggaagt 2580 ttatttctgg gcactgggta tggcgccaga cccgcagttt ggtgaatgtc gcaaagctgt 2640 tactaaaatg tttggtctgg tgacgatcat cgatgacgtg tatgacgttt atggcactct 2700 ggacgaactg caactgttca ccgatgctgt agagcgctgg gacgttaacg ctattaacac 2760 cctgccggac tatatgaaac tgtgtttcct ggcactgtac aacaccgtta acgacacgtc 2820 ctattctatt ctgaaagaga aaggtcataa caacctgtcc tatctgacga aaagctggcg 2880 tgaactgtgc aaagcctttc tgcaagaggc gaaatggtcc aacaacaaaa ttatcccggc 2940 tttctccaag tacctggaaa acgccagcgt ttcctcctcc ggtgtagcgc tgctggcgcc 3000 gtcttacttt tccgtatgcc agcagcagga agacatctcc gaccacgcgc tgcgttccct 3060 gaccgacttc catggtctgg tgcgttctag ctgcgttatc ttccgcctgt gcaacgatct 3120 ggccacctct gcggcggagc tggaacgtgg cgagactacc aattctatca ttagctacat 3180 gcacgaaaac gatggtacca gcgaggaaca ggcccgcgaa gaactgcgta aactgatcga 3240 cgccgaatgg aaaaagatga atcgtgaacg cgttagcgac tccaccctgc tgcctaaagc 3300 gttcatggaa atcgcagtta acatggcacg tgtttcccac tgcacctacc agtatggcga 3360 tggtctgggt cgcccagact acgcgactga aaaccgcatc aaactgctgc tgattgaccc 3420 tttcccgatt aaccagctga tgtatgtcta actgcattcg cccttaggag gtaaaaaaac 3480 atgagttttg atattgccaa atacccgacc ctggcactgg tcgactccac ccaggagtta 3540 cgactgttgc cgaaagagag tttaccgaaa ctctgcgacg aactgcgccg ctatttactc 3600 gacagcgtga gccgttccag cgggcacttc gcctccgggc tgggcacggt cgaactgacc 3660 gtggcgctgc actatgtcta caacaccccg tttgaccaat tgatttggga tgtggggcat 3720 caggcttatc cgcataaaat tttgaccgga cgccgcgaca aaatcggcac catccgtcag 3780 aaaggcggtc tgcacccgtt cccgtggcgc ggcgaaagcg aatatgacgt attaagcgtc 3840 gggcattcat caacctccat cagtgccgga attggtattg cggttgctgc cgaaaaagaa 3900 ggcaaaaatc gccgcaccgt ctgtgtcatt ggcgatggcg cgattaccgc aggcatggcg 3960 tttgaagcga tgaatcacgc gggcgatatc cgtcctgata tgctggtgat tctcaacgac 4020 aatgaaatgt cgatttccga aaatgtcggc gcgctcaaca accatctggc acagctgctt 4080 tccggtaagc tttactcttc actgcgcgaa ggcgggaaaa aagttttctc tggcgtgccg 4140 ccaattaaag agctgctcaa acgcaccgaa gaacatatta aaggcatggt agtgcctggc 4200 acgttgtttg aagagctggg ctttaactac atcggcccgg tggacggtca cgatgtgctg 4260 gggcttatca ccacgctaaa gaacatgcgc gacctgaaag gcccgcagtt cctgcatatc 4320 atgaccaaaa aaggtcgtgg ttatgaaccg gcagaaaaag acccgatcac tttccacgcc 4380 gtgcctaaat ttgatccctc cagcggttgt ttgccgaaaa gtagcggcgg tttgccgagc 4440 tattcaaaaa tctttggcga ctggttgtgc gaaacggcag cgaaagacaa caagctgatg 4500 gcgattactc cggcgatgcg tgaaggttcc ggcatggtcg agttttcacg taaattcccg 4560 gatcgctact tcgacgtggc aattgccgag caacacgcgg tgacctttgc tgcgggtctg 4620 gcgattggtg ggtacaaacc cattgtcgcg atttactcca ctttcctgca acgcgcctat 4680 gatcaggtgc tgcatgacgt ggcgattcaa aagcttccgg tcctgttcgc catcgaccgc 4740 gcgggcattg ttggtgctga cggtcaaacc catcagggtg cttttgatct ctcttacctg 4800 cgctgcatac cggaaatggt cattatgacc ccgagcgatg aaaacgaatg tcgccagatg 4860 ctctataccg gctatcacta taacgatggc ccgtcagcgg tgcgctaccc gcgtggcaac 4920 gcggtcggcg tggaactgac gccgctggaa aaactaccaa ttggcaaagg cattgtgaag 4980 cgtcgtggcg agaaactggc gatccttaac tttggtacgc tgatgccaga agcggcgaaa 5040 gtcgccgaat cgctgaacgc cacgctggtc gatatgcgtt ttgtgaaacc gcttgatgaa 5100 gcgttaattc tggaaatggc cgccagccat gaagcgctgg tcaccgtaga agaaaacgcc 5160 attatgggcg gcgcaggcag cggcgtgaac gaagtgctga tggcccatcg taaaccagta 5220 cccgtgctga acattggcct gccggacttc tttattccgc aaggaactca ggaagaaatg 5280 cgcgccgaac tcggcctcga tgccgctggt atggaagcca aaatcaaggc ctggctggca 5340 taactgcagc tggtaccata tgggaattcg aagctttcta gaacaaaaac tcatctcaga 5400 agaggatctg aatagcgccg tcgaccatca tcatcatcat cattgagttt aaacggtctc 5460 cagcttggct gttttggcgg atgagagaag attttcagcc tgatacagat taaatcagaa 5520 cgcagaagcg gtctgataaa acagaatttg cctggcggca gtagcgcggt ggtcccacct 5580 gaccccatgc cgaactcaga agtgaaacgc cgtagcgccg atggtagtgt ggggtctccc 5640 catgcgagag tagggaactg ccaggcatca aataaaacga aaggctcagt cgaaagactg 5700 ggcctttcgt tttatctgtt gtttgtcggt gaacgctctc ctgagtagga caaatccgcc 5760 gggagcggat ttgaacgttg cgaagcaacg gcccggaggg tggcgggcag gacgcccgcc 5820 ataaactgcc aggcatcaaa ttaagcagaa ggccatcctg acggatggcc tttttgcgtt 5880 tctacaaact ctttttgttt atttttctaa atacattcaa atatgtatcc gcttaaccgg 5940 aattgccagc tggggcgccc tctggtaagg ttgggaagcc ctgcaaagta aactggatgg 6000 ctttctcgcc gccaaggatc tgatggcgca ggggatcaag ctctgatcaa gagacaggat 6060 gaggatcgtt tcgcatgatt gaacaagatg gattgcacgc aggttctccg gccgcttggg 6120 tggagaggct attcggctat gactgggcac aacagacaat cggctgctct gatgccgccg 6180 tgttccggct gtcagcgcag gggcgcccgg ttctttttgt caagaccgac ctgtccggtg 6240 ccctgaatga actgcaagac gaggcagcgc ggctatcgtg gctggccacg acgggcgttc 6300 cttgcgcagc tgtgctcgac gttgtcactg aagcgggaag ggactggctg ctattgggcg 6360 aagtgccggg gcaggatctc ctgtcatctc accttgctcc tgccgagaaa gtatccatca 6420 tggctgatgc aatgcggcgg ctgcatacgc ttgatccggc tacctgccca ttcgaccacc 6480 aagcgaaaca tcgcatcgag cgagcacgta ctcggatgga agccggtctt gtcgatcagg 6540 atgatctgga cgaagagcat caggggctcg cgccagccga actgttcgcc aggctcaagg 6600 cgagcatgcc cgacggcgag gatctcgtcg tgacccatgg cgatgcctgc ttgccgaata 6660 tcatggtgga aaatggccgc ttttctggat tcatcgactg tggccggctg ggtgtggcgg 6720 accgctatca ggacatagcg ttggctaccc gtgatattgc tgaagagctt ggcggcgaat 6780 gggctgaccg cttcctcgtg ctttacggta tcgccgctcc cgattcgcag cgcatcgcct 6840 tctatcgcct tcttgacgag ttcttctgac gcatgaccaa aatcccttaa cgtgagtttt 6900 cgttccactg agcgtcagac cccgtagaaa agatcaaagg atcttcttga gatccttttt 6960 ttctgcgcgt aatctgctgc ttgcaaacaa aaaaaccacc gctaccagcg gtggtttgtt 7020 tgccggatca agagctacca actctttttc cgaaggtaac tggcttcagc agagcgcaga 7080 taccaaatac tgtccttcta gtgtagccgt agttaggcca ccacttcaag aactctgtag 7140 caccgcctac atacctcgct ctgctaatcc tgttaccagt ggctgctgcc agtggcgata 7200 agtcgtgtct taccgggttg gactcaagac gatagttacc ggataaggcg cagcggtcgg 7260 gctgaacggg gggttcgtgc acacagccca gcttggagcg aacgacctac accgaactga 7320 gatacctaca gcgtgagcta tgagaaagcg ccacgcttcc cgaagggaga aaggcggaca 7380 ggtatccggt aagcggcagg gtcggaacag gagagcgcac gagggagctt ccagggggaa 7440 acgcctggta tctttatagt cctgtcgggt ttcgccacct ctgacttgag cgtcgatttt 7500 tgtgatgctc gtcagggggg cggagcctat ggaaaaacgc cagcaacgcg gcctttttac 7560 ggttcctggc cttttgctgg ccttttgctc acatgttctt tcctgcgtta tcccctgatt 7620 ctgtggataa ccgtattacc gcctttgagt gagctgatac cgctcgccgc agccgaacga 7680 ccgagcgcag cgagtcagtg agcgaggaag cggaagagcg cctgatgcgg tattttctcc 7740 ttacgcatct gtgcggtatt tcacaccgca tatggtgcac tctcagtaca atctgctctg 7800 atgccgcata gttaagccag tatacactcc gctatcgcta cgtgactggg tcatggctgc 7860 gccccgacac ccgccaacac ccgctgacgc gccctgacgg gc 7902 <210> 52 <211> 6783 <212> DNA <213> Artificial Sequence <220> <223> Synthetic Construct <400> 52 ctggcgtaat agcgaagagg cccgcaccga tcgcccttcc caacagttgc gcagcctgaa 60 tggcgaatgg cgcctgatgc ggtattttct ccttacgcat ctgtgcggta tttcacaccg 120 catatggtgc actctcagta caatctgctc tgatgccgca tagttaagcc agccccgaca 180 cccgccaaca cccgctgacg agcttagtaa agccctcgct agattttaat gcggatgttg 240 cgattacttc gccaactatt gcgataacaa gaaaaagcca gcctttcatg atatatctcc 300 caatttgtgt agggcttatt atgcacgctt aaaaataata aaagcagact tgacctgata 360 gtttggctgt gagcaattat gtgcttagtg catctaacgc ttgagttaag ccgcgccgcg 420 aagcggcgtc ggcttgaacg aattgttaga cattatttgc cgactacctt ggtgatctcg 480 cctttcacgt agtggacaaa ttcttccaac tgatctgcgc gcgaggccaa gcgatcttct 540 tcttgtccaa gataagcctg tctagcttca agtatgacgg gctgatactg ggccggcagg 600 cgctccattg cccagtcggc agcgacatcc ttcggcgcga ttttgccggt tactgcgctg 660 taccaaatgc gggacaacgt aagcactaca tttcgctcat cgccagccca gtcgggcggc 720 gagttccata gcgttaaggt ttcatttagc gcctcaaata gatcctgttc aggaaccgga 780 tcaaagagtt cctccgccgc tggacctacc aaggcaacgc tatgttctct tgcttttgtc 840 agcaagatag ccagatcaat gtcgatcgtg gctggctcga agatacctgc aagaatgtca 900 ttgcgctgcc attctccaaa ttgcagttcg cgcttagctg gataacgcca cggaatgatg 960 tcgtcgtgca caacaatggt gacttctaca gcgcggagaa tctcgctctc tccaggggaa 1020 gccgaagttt ccaaaaggtc gttgatcaaa gctcgccgcg ttgtttcatc aagccttacg 1080 gtcaccgtaa ccagcaaatc aatatcactg tgtggcttca ggccgccatc cactgcggag 1140 ccgtacaaat gtacggccag caacgtcggt tcgagatggc gctcgatgac gccaactacc 1200 tctgatagtt gagtcgatac ttcggcgatc accgcttccc tcatgatgtt taactttgtt 1260 ttagggcgac tgccctgctg cgtaacatcg ttgctgctcc ataacatcaa acatcgaccc 1320 acggcgtaac gcgcttgctg cttggatgcc cgaggcatag actgtacccc aaaaaaacag 1380 tcataacaag ccatgaaaac cgccactgcg ccgttaccac cgctgcgttc ggtcaaggtt 1440 ctggaccagt tgcgtgagcg catacgctac ttgcattaca gcttacgaac cgaacaggct 1500 tatgtccact gggttcgtgc cttcatccgt ttccacggtg tgcgtcaccc ggcaaccttg 1560 ggcagcagcg aagtcgaggc atttctgtcc tggctggcga acgagcgcaa ggtttcggtc 1620 tccacgcatc gtcaggcatt ggcggccttg ctgttcttct acggcaaggt gctgtgcacg 1680 gatctgccct ggcttcagga gatcggaaga cctcggccgt cgcggcgctt gccggtggtg 1740 ctgaccccgg atgaagtggt tcgcatcctc ggttttctgg aaggcgagca tcgtttgttc 1800 gcccagcttc tgtatggaac gggcatgcgg atcagtgagg gtttgcaact gcgggtcaag 1860 gatctggatt tcgatcacgg cacgatcatc gtgcgggagg gcaagggctc caaggatcgg 1920 gccttgatgt tacccgagag cttggcaccc agcctgcgcg agcaggggaa ttaattccca 1980 cgggttttgc tgcccgcaaa cgggctgttc tggtgttgct agtttgttat cagaatcgca 2040 gatccggctt cagccggttt gccggctgaa agcgctattt cttccagaat tgccatgatt 2100 ttttccccac gggaggcgtc actggctccc gtgttgtcgg cagctttgat tcgataagca 2160 gcatcgcctg tttcaggctg tctatgtgtg actgttgagc tgtaacaagt tgtctcaggt 2220 gttcaatttc atgttctagt tgctttgttt tactggtttc acctgttcta ttaggtgtta 2280 catgctgttc atctgttaca ttgtcgatct gttcatggtg aacagctttg aatgcaccaa 2340 aaactcgtaa aagctctgat gtatctatct tttttacacc gttttcatct gtgcatatgg 2400 acagttttcc ctttgatatg taacggtgaa cagttgttct acttttgttt gttagtcttg 2460 atgcttcact gatagataca agagccataa gaacctcaga tccttccgta tttagccagt 2520 atgttctcta gtgtggttcg ttgtttttgc gtgagccatg agaacgaacc attgagatca 2580 tacttacttt gcatgtcact caaaaatttt gcctcaaaac tggtgagctg aatttttgca 2640 gttaaagcat cgtgtagtgt ttttcttagt ccgttatgta ggtaggaatc tgatgtaatg 2700 gttgttggta ttttgtcacc attcattttt atctggttgt tctcaagttc ggttacgaga 2760 tccatttgtc tatctagttc aacttggaaa atcaacgtat cagtcgggcg gcctcgctta 2820 tcaaccacca atttcatatt gctgtaagtg tttaaatctt tacttattgg tttcaaaacc 2880 cattggttaa gccttttaaa ctcatggtag ttattttcaa gcattaacat gaacttaaat 2940 tcatcaaggc taatctctat atttgccttg tgagttttct tttgtgttag ttcttttaat 3000 aaccactcat aaatcctcat agagtatttg ttttcaaaag acttaacatg ttccagatta 3060 tattttatga atttttttaa ctggaaaaga taaggcaata tctcttcact aaaaactaat 3120 tctaattttt cgcttgagaa cttggcatag tttgtccact ggaaaatctc aaagccttta 3180 accaaaggat tcctgatttc cacagttctc gtcatcagct ctctggttgc tttagctaat 3240 acaccataag cattttccct actgatgttc atcatctgag cgtattggtt ataagtgaac 3300 gataccgtcc gttctttcct tgtagggttt tcaatcgtgg ggttgagtag tgccacacag 3360 cataaaatta gcttggtttc atgctccgtt aagtcatagc gactaatcgc tagttcattt 3420 gctttgaaaa caactaattc agacatacat ctcaattggt ctaggtgatt ttaatcacta 3480 taccaattga gatgggctag tcaatgataa ttactagtcc ttttcctttg agttgtgggt 3540 atctgtaaat tctgctagac ctttgctgga aaacttgtaa attctgctag accctctgta 3600 aattccgcta gacctttgtg tgtttttttt gtttatattc aagtggttat aatttataga 3660 ataaagaaag aataaaaaaa gataaaaaga atagatccca gccctgtgta taactcacta 3720 ctttagtcag ttccgcagta ttacaaaagg atgtcgcaaa cgctgtttgc tcctctacaa 3780 aacagacctt aaaaccctaa aggcttaagt agcaccctcg caagctcggg caaatcgctg 3840 aatattcctt ttgtctccga ccatcaggca cctgagtcgc tgtctttttc gtgacattca 3900 gttcgctgcg ctcacggctc tggcagtgaa tgggggtaaa tggcactaca ggcgcctttt 3960 atggattcat gcaaggaaac tacccataat acaagaaaag cccgtcacgg gcttctcagg 4020 gcgttttatg gcgggtctgc tatgtggtgc tatctgactt tttgctgttc agcagttcct 4080 gccctctgat tttccagtct gaccacttcg gattatcccg tgacaggtca ttcagactgg 4140 ctaatgcacc cagtaaggca gcggtatcat caacaggctt acccgtctta ctgtcgggaa 4200 ttcgcgttgg ccgattcatt aatgcagatt ctgaaatgag ctgttgacaa ttaatcatcc 4260 ggctcgtata atgtgtggaa ttgtgagcgg ataacaattt cacacaggaa acagcgccgc 4320 tgagaaaaag cgaagcggca ctgctcttta acaatttatc agacaatctg tgtgggcact 4380 cgaccggaat tatcgattaa ctttattatt aaaaattaaa gaggtatata ttaatgtatc 4440 gattaaataa ggaggaataa accatgtgtg cgacctcttc tcaatttact cagattaccg 4500 agcataattc ccgtcgttcc gcaaactatc agccaaacct gtggaatttc gaattcctgc 4560 aatccctgga gaacgacctg aaagtggaaa agctggagga gaaagcgacc aaactggagg 4620 aagaagttcg ctgcatgatc aaccgtgtag acacccagcc gctgtccctg ctggagctga 4680 tcgacgatgt gcagcgcctg ggtctgacct acaaatttga aaaagacatc attaaagccc 4740 tggaaaacat cgtactgctg gacgaaaaca aaaagaacaa atctgacctg cacgcaaccg 4800 ctctgtcttt ccgtctgctg cgtcagcacg gtttcgaggt ttctcaggat gtttttgagc 4860 gtttcaagga taaagaaggt ggtttcagcg gtgaactgaa aggtgacgtc caaggcctgc 4920 tgagcctgta tgaagcgtct tacctgggtt tcgagggtga gaacctgctg gaggaggcgc 4980 gtaccttttc catcacccac ctgaagaaca acctgaaaga aggcattaat accaaggttg 5040 cagaacaagt gagccacgcc ctggaactgc catatcacca gcgtctgcac cgtctggagg 5100 cacgttggtt cctggataaa tacgaaccga aagaaccgca tcaccagctg ctgctggagc 5160 tggcgaagct ggattttaac atggtacaga ccctgcacca gaaagagctg caagatctgt 5220 cccgctggtg gaccgagatg ggcctggcta gcaaactgga ttttgtacgc gaccgcctga 5280 tggaagttta tttctgggca ctgggtatgg cgccagaccc gcagtttggt gaatgtcgca 5340 aagctgttac taaaatgttt ggtctggtga cgatcatcga tgacgtgtat gacgtttatg 5400 gcactctgga cgaactgcaa ctgttcaccg atgctgtaga gcgctgggac gttaacgcta 5460 ttaacaccct gccggactat atgaaactgt gtttcctggc actgtacaac accgttaacg 5520 acacgtccta ttctattctg aaagagaaag gtcataacaa cctgtcctat ctgacgaaaa 5580 gctggcgtga actgtgcaaa gcctttctgc aagaggcgaa atggtccaac aacaaaatta 5640 tcccggcttt ctccaagtac ctggaaaacg ccagcgtttc ctcctccggt gtagcgctgc 5700 tggcgccgtc ttacttttcc gtatgccagc agcaggaaga catctccgac cacgcgctgc 5760 gttccctgac cgacttccat ggtctggtgc gttctagctg cgttatcttc cgcctgtgca 5820 acgatctggc cacctctgcg gcggagctgg aacgtggcga gactaccaat tctatcatta 5880 gctacatgca cgaaaacgat ggtaccagcg aggaacaggc ccgcgaagaa ctgcgtaaac 5940 tgatcgacgc cgaatggaaa aagatgaatc gtgaacgcgt tagcgactcc accctgctgc 6000 ctaaagcgtt catggaaatc gcagttaaca tggcacgtgt ttcccactgc acctaccagt 6060 atggcgatgg tctgggtcgc ccagactacg cgactgaaaa ccgcatcaaa ctgctgctga 6120 ttgacccttt cccgattaac cagctgatgt atgtctaact gcagctggta ccatatggga 6180 attcgaagct ttctagaaca aaaactcatc tcagaagagg atctgaatag cgccgtcgac 6240 catcatcatc atcatcattg agtttaaacg gtctccagct tggctgtttt ggcggatgag 6300 agaagatttt cagcctgata cagattaaat cagaacgcag aagcggtctg ataaaacaga 6360 atttgcctgg cggcagtagc gcggtggtcc cacctgaccc catgccgaac tcagaagtga 6420 aacgccgtag cgccgatggt agtgtggggt ctccccatgc gagagtaggg aactgccagg 6480 catcaaataa aacgaaaggc tcagtcgaaa gactgggcct ttcgttttat ctgttgtttg 6540 tcggtgaacg ctctcctgag taggacaaat ccgccgggag cggatttgaa cgttgcgaag 6600 caacggcccg gagggtggcg ggcaggacgc ccgccataaa ctgccaggca tcaaattaag 6660 cagaaggcca tcctgacgga tggccttttt gcgtttctac aaactctttt tgtttatttt 6720 tctaaataca ttcaaatatg tatccgctca tgagacaata accctgataa atgcttcaat 6780 aat 6783 <210> 53 <211> 6783 <212> DNA <213> Artificial Sequence <220> <223> Synthetic Construct <400> 53 cccgtcttac tgtcgggaat tcgcgttggc cgattcatta atgcagatta ttgaagcatt 60 tatcagggtt attgtctcat gagcggatac atatttgaat gtatttagaa aaataaacaa 120 aaagagtttg tagaaacgca aaaaggccat ccgtcaggat ggccttctgc ttaatttgat 180 gcctggcagt ttatggcggg cgtcctgccc gccaccctcc gggccgttgc ttcgcaacgt 240 tcaaatccgc tcccggcgga tttgtcctac tcaggagagc gttcaccgac aaacaacaga 300 taaaacgaaa ggcccagtct ttcgactgag cctttcgttt tatttgatgc ctggcagttc 360 cctactctcg catggggaga ccccacacta ccatcggcgc tacggcgttt cacttctgag 420 ttcggcatgg ggtcaggtgg gaccaccgcg ctactgccgc caggcaaatt ctgttttatc 480 agaccgcttc tgcgttctga tttaatctgt atcaggctga aaatcttctc tcatccgcca 540 aaacagccaa gctggagacc gtttaaactc aatgatgatg atgatgatgg tcgacggcgc 600 tattcagatc ctcttctgag atgagttttt gttctagaaa gcttcgaatt cccatatggt 660 accagctgca gttagacata catcagctgg ttaatcggga aagggtcaat cagcagcagt 720 ttgatgcggt tttcagtcgc gtagtctggg cgacccagac catcgccata ctggtaggtg 780 cagtgggaaa cacgtgccat gttaactgcg atttccatga acgctttagg cagcagggtg 840 gagtcgctaa cgcgttcacg attcatcttt ttccattcgg cgtcgatcag tttacgcagt 900 tcttcgcggg cctgttcctc gctggtacca tcgttttcgt gcatgtagct aatgatagaa 960 ttggtagtct cgccacgttc cagctccgcc gcagaggtgg ccagatcgtt gcacaggcgg 1020 aagataacgc agctagaacg caccagacca tggaagtcgg tcagggaacg cagcgcgtgg 1080 tcggagatgt cttcctgctg ctggcatacg gaaaagtaag acggcgccag cagcgctaca 1140 ccggaggagg aaacgctggc gttttccagg tacttggaga aagccgggat aattttgttg 1200 ttggaccatt tcgcctcttg cagaaaggct ttgcacagtt cacgccagct tttcgtcaga 1260 taggacaggt tgttatgacc tttctctttc agaatagaat aggacgtgtc gttaacggtg 1320 ttgtacagtg ccaggaaaca cagtttcata tagtccggca gggtgttaat agcgttaacg 1380 tcccagcgct ctacagcatc ggtgaacagt tgcagttcgt ccagagtgcc ataaacgtca 1440 tacacgtcat cgatgatcgt caccagacca aacattttag taacagcttt gcgacattca 1500 ccaaactgcg ggtctggcgc catacccagt gcccagaaat aaacttccat caggcggtcg 1560 cgtacaaaat ccagtttgct agccaggccc atctcggtcc accagcggga cagatcttgc 1620 agctctttct ggtgcagggt ctgtaccatg ttaaaatcca gcttcgccag ctccagcagc 1680 agctggtgat gcggttcttt cggttcgtat ttatccagga accaacgtgc ctccagacgg 1740 tgcagacgct ggtgatatgg cagttccagg gcgtggctca cttgttctgc aaccttggta 1800 ttaatgcctt ctttcaggtt gttcttcagg tgggtgatgg aaaaggtacg cgcctcctcc 1860 agcaggttct caccctcgaa acccaggtaa gacgcttcat acaggctcag caggccttgg 1920 acgtcacctt tcagttcacc gctgaaacca ccttctttat ccttgaaacg ctcaaaaaca 1980 tcctgagaaa cctcgaaacc gtgctgacgc agcagacgga aagacagagc ggttgcgtgc 2040 aggtcagatt tgttcttttt gttttcgtcc agcagtacga tgttttccag ggctttaatg 2100 atgtcttttt caaatttgta ggtcagaccc aggcgctgca catcgtcgat cagctccagc 2160 agggacagcg gctgggtgtc tacacggttg atcatgcagc gaacttcttc ctccagtttg 2220 gtcgctttct cctccagctt ttccactttc aggtcgttct ccagggattg caggaattcg 2280 aaattccaca ggtttggctg atagtttgcg gaacgacggg aattatgctc ggtaatctga 2340 gtaaattgag aagaggtcgc acacatggtt tattcctcct tatttaatcg atacattaat 2400 atatacctct ttaattttta ataataaagt taatcgataa ttccggtcga gtgcccacac 2460 agattgtctg ataaattgtt aaagagcagt gccgcttcgc tttttctcag cggcgctgtt 2520 tcctgtgtga aattgttatc cgctcacaat tccacacatt atacgagccg gatgattaat 2580 tgtcaacagc tcatttcaga atctggcgta atagcgaaga ggcccgcacc gatcgccctt 2640 cccaacagtt gcgcagcctg aatggcgaat ggcgcctgat gcggtatttt ctccttacgc 2700 atctgtgcgg tatttcacac cgcatatggt gcactctcag tacaatctgc tctgatgccg 2760 catagttaag ccagccccga cacccgccaa cacccgctga cgagcttagt aaagccctcg 2820 ctagatttta atgcggatgt tgcgattact tcgccaacta ttgcgataac aagaaaaagc 2880 cagcctttca tgatatatct cccaatttgt gtagggctta ttatgcacgc ttaaaaataa 2940 taaaagcaga cttgacctga tagtttggct gtgagcaatt atgtgcttag tgcatctaac 3000 gcttgagtta agccgcgccg cgaagcggcg tcggcttgaa cgaattgtta gacattattt 3060 gccgactacc ttggtgatct cgcctttcac gtagtggaca aattcttcca actgatctgc 3120 gcgcgaggcc aagcgatctt cttcttgtcc aagataagcc tgtctagctt caagtatgac 3180 gggctgatac tgggccggca ggcgctccat tgcccagtcg gcagcgacat ccttcggcgc 3240 gattttgccg gttactgcgc tgtaccaaat gcgggacaac gtaagcacta catttcgctc 3300 atcgccagcc cagtcgggcg gcgagttcca tagcgttaag gtttcattta gcgcctcaaa 3360 tagatcctgt tcaggaaccg gatcaaagag ttcctccgcc gctggaccta ccaaggcaac 3420 gctatgttct cttgcttttg tcagcaagat agccagatca atgtcgatcg tggctggctc 3480 gaagatacct gcaagaatgt cattgcgctg ccattctcca aattgcagtt cgcgcttagc 3540 tggataacgc cacggaatga tgtcgtcgtg cacaacaatg gtgacttcta cagcgcggag 3600 aatctcgctc tctccagggg aagccgaagt ttccaaaagg tcgttgatca aagctcgccg 3660 cgttgtttca tcaagcctta cggtcaccgt aaccagcaaa tcaatatcac tgtgtggctt 3720 caggccgcca tccactgcgg agccgtacaa atgtacggcc agcaacgtcg gttcgagatg 3780 gcgctcgatg acgccaacta cctctgatag ttgagtcgat acttcggcga tcaccgcttc 3840 cctcatgatg tttaactttg ttttagggcg actgccctgc tgcgtaacat cgttgctgct 3900 ccataacatc aaacatcgac ccacggcgta acgcgcttgc tgcttggatg cccgaggcat 3960 agactgtacc ccaaaaaaac agtcataaca agccatgaaa accgccactg cgccgttacc 4020 accgctgcgt tcggtcaagg ttctggacca gttgcgtgag cgcatacgct acttgcatta 4080 cagcttacga accgaacagg cttatgtcca ctgggttcgt gccttcatcc gtttccacgg 4140 tgtgcgtcac ccggcaacct tgggcagcag cgaagtcgag gcatttctgt cctggctggc 4200 gaacgagcgc aaggtttcgg tctccacgca tcgtcaggca ttggcggcct tgctgttctt 4260 ctacggcaag gtgctgtgca cggatctgcc ctggcttcag gagatcggaa gacctcggcc 4320 gtcgcggcgc ttgccggtgg tgctgacccc ggatgaagtg gttcgcatcc tcggttttct 4380 ggaaggcgag catcgtttgt tcgcccagct tctgtatgga acgggcatgc ggatcagtga 4440 gggtttgcaa ctgcgggtca aggatctgga tttcgatcac ggcacgatca tcgtgcggga 4500 gggcaagggc tccaaggatc gggccttgat gttacccgag agcttggcac ccagcctgcg 4560 cgagcagggg aattaattcc cacgggtttt gctgcccgca aacgggctgt tctggtgttg 4620 ctagtttgtt atcagaatcg cagatccggc ttcagccggt ttgccggctg aaagcgctat 4680 ttcttccaga attgccatga ttttttcccc acgggaggcg tcactggctc ccgtgttgtc 4740 ggcagctttg attcgataag cagcatcgcc tgtttcaggc tgtctatgtg tgactgttga 4800 gctgtaacaa gttgtctcag gtgttcaatt tcatgttcta gttgctttgt tttactggtt 4860 tcacctgttc tattaggtgt tacatgctgt tcatctgtta cattgtcgat ctgttcatgg 4920 tgaacagctt tgaatgcacc aaaaactcgt aaaagctctg atgtatctat cttttttaca 4980 ccgttttcat ctgtgcatat ggacagtttt ccctttgata tgtaacggtg aacagttgtt 5040 ctacttttgt ttgttagtct tgatgcttca ctgatagata caagagccat aagaacctca 5100 gatccttccg tatttagcca gtatgttctc tagtgtggtt cgttgttttt gcgtgagcca 5160 tgagaacgaa ccattgagat catacttact ttgcatgtca ctcaaaaatt ttgcctcaaa 5220 actggtgagc tgaatttttg cagttaaagc atcgtgtagt gtttttctta gtccgttatg 5280 taggtaggaa tctgatgtaa tggttgttgg tattttgtca ccattcattt ttatctggtt 5340 gttctcaagt tcggttacga gatccatttg tctatctagt tcaacttgga aaatcaacgt 5400 atcagtcggg cggcctcgct tatcaaccac caatttcata ttgctgtaag tgtttaaatc 5460 tttacttatt ggtttcaaaa cccattggtt aagcctttta aactcatggt agttattttc 5520 aagcattaac atgaacttaa attcatcaag gctaatctct atatttgcct tgtgagtttt 5580 cttttgtgtt agttctttta ataaccactc ataaatcctc atagagtatt tgttttcaaa 5640 agacttaaca tgttccagat tatattttat gaattttttt aactggaaaa gataaggcaa 5700 tatctcttca ctaaaaacta attctaattt ttcgcttgag aacttggcat agtttgtcca 5760 ctggaaaatc tcaaagcctt taaccaaagg attcctgatt tccacagttc tcgtcatcag 5820 ctctctggtt gctttagcta atacaccata agcattttcc ctactgatgt tcatcatctg 5880 agcgtattgg ttataagtga acgataccgt ccgttctttc cttgtagggt tttcaatcgt 5940 ggggttgagt agtgccacac agcataaaat tagcttggtt tcatgctccg ttaagtcata 6000 gcgactaatc gctagttcat ttgctttgaa aacaactaat tcagacatac atctcaattg 6060 gtctaggtga ttttaatcac tataccaatt gagatgggct agtcaatgat aattactagt 6120 ccttttcctt tgagttgtgg gtatctgtaa attctgctag acctttgctg gaaaacttgt 6180 aaattctgct agaccctctg taaattccgc tagacctttg tgtgtttttt ttgtttatat 6240 tcaagtggtt ataatttata gaataaagaa agaataaaaa aagataaaaa gaatagatcc 6300 cagccctgtg tataactcac tactttagtc agttccgcag tattacaaaa ggatgtcgca 6360 aacgctgttt gctcctctac aaaacagacc ttaaaaccct aaaggcttaa gtagcaccct 6420 cgcaagctcg ggcaaatcgc tgaatattcc ttttgtctcc gaccatcagg cacctgagtc 6480 gctgtctttt tcgtgacatt cagttcgctg cgctcacggc tctggcagtg aatgggggta 6540 aatggcacta caggcgcctt ttatggattc atgcaaggaa actacccata atacaagaaa 6600 agcccgtcac gggcttctca gggcgtttta tggcgggtct gctatgtggt gctatctgac 6660 tttttgctgt tcagcagttc ctgccctctg attttccagt ctgaccactt cggattatcc 6720 cgtgacaggt cattcagact ggctaatgca cccagtaagg cagcggtatc atcaacaggc 6780 tta 6783 <210> 54 <211> 7687 <212> DNA <213> Artificial Sequence <220> <223> Synthetic Construct <400> 54 ctggcgtaat agcgaagagg cccgcaccga tcgcccttcc caacagttgc gcagcctgaa 60 tggcgaatgg cgcctgatgc ggtattttct ccttacgcat ctgtgcggta tttcacaccg 120 catatggtgc actctcagta caatctgctc tgatgccgca tagttaagcc agccccgaca 180 cccgccaaca cccgctgacg agcttagtaa agccctcgct agattttaat gcggatgttg 240 cgattacttc gccaactatt gcgataacaa gaaaaagcca gcctttcatg atatatctcc 300 caatttgtgt agggcttatt atgcacgctt aaaaataata aaagcagact tgacctgata 360 gtttggctgt gagcaattat gtgcttagtg catctaacgc ttgagttaag ccgcgccgcg 420 aagcggcgtc ggcttgaacg aattgttaga cattatttgc cgactacctt ggtgatctcg 480 cctttcacgt agtggacaaa ttcttccaac tgatctgcgc gcgaggccaa gcgatcttct 540 tcttgtccaa gataagcctg tctagcttca agtatgacgg gctgatactg ggccggcagg 600 cgctccattg cccagtcggc agcgacatcc ttcggcgcga ttttgccggt tactgcgctg 660 taccaaatgc gggacaacgt aagcactaca tttcgctcat cgccagccca gtcgggcggc 720 gagttccata gcgttaaggt ttcatttagc gcctcaaata gatcctgttc aggaaccgga 780 tcaaagagtt cctccgccgc tggacctacc aaggcaacgc tatgttctct tgcttttgtc 840 agcaagatag ccagatcaat gtcgatcgtg gctggctcga agatacctgc aagaatgtca 900 ttgcgctgcc attctccaaa ttgcagttcg cgcttagctg gataacgcca cggaatgatg 960 tcgtcgtgca caacaatggt gacttctaca gcgcggagaa tctcgctctc tccaggggaa 1020 gccgaagttt ccaaaaggtc gttgatcaaa gctcgccgcg ttgtttcatc aagccttacg 1080 gtcaccgtaa ccagcaaatc aatatcactg tgtggcttca ggccgccatc cactgcggag 1140 ccgtacaaat gtacggccag caacgtcggt tcgagatggc gctcgatgac gccaactacc 1200 tctgatagtt gagtcgatac ttcggcgatc accgcttccc tcatgatgtt taactttgtt 1260 ttagggcgac tgccctgctg cgtaacatcg ttgctgctcc ataacatcaa acatcgaccc 1320 acggcgtaac gcgcttgctg cttggatgcc cgaggcatag actgtacccc aaaaaaacag 1380 tcataacaag ccatgaaaac cgccactgcg ccgttaccac cgctgcgttc ggtcaaggtt 1440 ctggaccagt tgcgtgagcg catacgctac ttgcattaca gcttacgaac cgaacaggct 1500 tatgtccact gggttcgtgc cttcatccgt ttccacggtg tgcgtcaccc ggcaaccttg 1560 ggcagcagcg aagtcgaggc atttctgtcc tggctggcga acgagcgcaa ggtttcggtc 1620 tccacgcatc gtcaggcatt ggcggccttg ctgttcttct acggcaaggt gctgtgcacg 1680 gatctgccct ggcttcagga gatcggaaga cctcggccgt cgcggcgctt gccggtggtg 1740 ctgaccccgg atgaagtggt tcgcatcctc ggttttctgg aaggcgagca tcgtttgttc 1800 gcccagcttc tgtatggaac gggcatgcgg atcagtgagg gtttgcaact gcgggtcaag 1860 gatctggatt tcgatcacgg cacgatcatc gtgcgggagg gcaagggctc caaggatcgg 1920 gccttgatgt tacccgagag cttggcaccc agcctgcgcg agcaggggaa ttaattccca 1980 cgggttttgc tgcccgcaaa cgggctgttc tggtgttgct agtttgttat cagaatcgca 2040 gatccggctt cagccggttt gccggctgaa agcgctattt cttccagaat tgccatgatt 2100 ttttccccac gggaggcgtc actggctccc gtgttgtcgg cagctttgat tcgataagca 2160 gcatcgcctg tttcaggctg tctatgtgtg actgttgagc tgtaacaagt tgtctcaggt 2220 gttcaatttc atgttctagt tgctttgttt tactggtttc acctgttcta ttaggtgtta 2280 catgctgttc atctgttaca ttgtcgatct gttcatggtg aacagctttg aatgcaccaa 2340 aaactcgtaa aagctctgat gtatctatct tttttacacc gttttcatct gtgcatatgg 2400 acagttttcc ctttgatatg taacggtgaa cagttgttct acttttgttt gttagtcttg 2460 atgcttcact gatagataca agagccataa gaacctcaga tccttccgta tttagccagt 2520 atgttctcta gtgtggttcg ttgtttttgc gtgagccatg agaacgaacc attgagatca 2580 tacttacttt gcatgtcact caaaaatttt gcctcaaaac tggtgagctg aatttttgca 2640 gttaaagcat cgtgtagtgt ttttcttagt ccgttatgta ggtaggaatc tgatgtaatg 2700 gttgttggta ttttgtcacc attcattttt atctggttgt tctcaagttc ggttacgaga 2760 tccatttgtc tatctagttc aacttggaaa atcaacgtat cagtcgggcg gcctcgctta 2820 tcaaccacca atttcatatt gctgtaagtg tttaaatctt tacttattgg tttcaaaacc 2880 cattggttaa gccttttaaa ctcatggtag ttattttcaa gcattaacat gaacttaaat 2940 tcatcaaggc taatctctat atttgccttg tgagttttct tttgtgttag ttcttttaat 3000 aaccactcat aaatcctcat agagtatttg ttttcaaaag acttaacatg ttccagatta 3060 tattttatga atttttttaa ctggaaaaga taaggcaata tctcttcact aaaaactaat 3120 tctaattttt cgcttgagaa cttggcatag tttgtccact ggaaaatctc aaagccttta 3180 accaaaggat tcctgatttc cacagttctc gtcatcagct ctctggttgc tttagctaat 3240 acaccataag cattttccct actgatgttc atcatctgag cgtattggtt ataagtgaac 3300 gataccgtcc gttctttcct tgtagggttt tcaatcgtgg ggttgagtag tgccacacag 3360 cataaaatta gcttggtttc atgctccgtt aagtcatagc gactaatcgc tagttcattt 3420 gctttgaaaa caactaattc agacatacat ctcaattggt ctaggtgatt ttaatcacta 3480 taccaattga gatgggctag tcaatgataa ttactagtcc ttttcctttg agttgtgggt 3540 atctgtaaat tctgctagac ctttgctgga aaacttgtaa attctgctag accctctgta 3600 aattccgcta gacctttgtg tgtttttttt gtttatattc aagtggttat aatttataga 3660 ataaagaaag aataaaaaaa gataaaaaga atagatccca gccctgtgta taactcacta 3720 ctttagtcag ttccgcagta ttacaaaagg atgtcgcaaa cgctgtttgc tcctctacaa 3780 aacagacctt aaaaccctaa aggcttaagt agcaccctcg caagctcggg caaatcgctg 3840 aatattcctt ttgtctccga ccatcaggca cctgagtcgc tgtctttttc gtgacattca 3900 gttcgctgcg ctcacggctc tggcagtgaa tgggggtaaa tggcactaca ggcgcctttt 3960 atggattcat gcaaggaaac tacccataat acaagaaaag cccgtcacgg gcttctcagg 4020 gcgttttatg gcgggtctgc tatgtggtgc tatctgactt tttgctgttc agcagttcct 4080 gccctctgat tttccagtct gaccacttcg gattatcccg tgacaggtca ttcagactgg 4140 ctaatgcacc cagtaaggca gcggtatcat caacaggctt acccgtctta ctgtcgggaa 4200 ttcgcgttgg ccgattcatt aatgcagatt ctgaaatgag ctgttgacaa ttaatcatcc 4260 ggctcgtata atgtgtggaa ttgtgagcgg ataacaattt cacacaggaa acagcgccgc 4320 tgagaaaaag cgaagcggca ctgctcttta acaatttatc agacaatctg tgtgggcact 4380 cgaccggaat tatcgattaa ctttattatt aaaaattaaa gaggtatata ttaatgtatc 4440 gattaaataa ggaggaataa accatgtgtg cgacctcttc tcaatttact cagattaccg 4500 agcataattc ccgtcgttcc gcaaactatc agccaaacct gtggaatttc gaattcctgc 4560 aatccctgga gaacgacctg aaagtggaaa agctggagga gaaagcgacc aaactggagg 4620 aagaagttcg ctgcatgatc aaccgtgtag acacccagcc gctgtccctg ctggagctga 4680 tcgacgatgt gcagcgcctg ggtctgacct acaaatttga aaaagacatc attaaagccc 4740 tggaaaacat cgtactgctg gacgaaaaca aaaagaacaa atctgacctg cacgcaaccg 4800 ctctgtcttt ccgtctgctg cgtcagcacg gtttcgaggt ttctcaggat gtttttgagc 4860 gtttcaagga taaagaaggt ggtttcagcg gtgaactgaa aggtgacgtc caaggcctgc 4920 tgagcctgta tgaagcgtct tacctgggtt tcgagggtga gaacctgctg gaggaggcgc 4980 gtaccttttc catcacccac ctgaagaaca acctgaaaga aggcattaat accaaggttg 5040 cagaacaagt gagccacgcc ctggaactgc catatcacca gcgtctgcac cgtctggagg 5100 cacgttggtt cctggataaa tacgaaccga aagaaccgca tcaccagctg ctgctggagc 5160 tggcgaagct ggattttaac atggtacaga ccctgcacca gaaagagctg caagatctgt 5220 cccgctggtg gaccgagatg ggcctggcta gcaaactgga ttttgtacgc gaccgcctga 5280 tggaagttta tttctgggca ctgggtatgg cgccagaccc gcagtttggt gaatgtcgca 5340 aagctgttac taaaatgttt ggtctggtga cgatcatcga tgacgtgtat gacgtttatg 5400 gcactctgga cgaactgcaa ctgttcaccg atgctgtaga gcgctgggac gttaacgcta 5460 ttaacaccct gccggactat atgaaactgt gtttcctggc actgtacaac accgttaacg 5520 acacgtccta ttctattctg aaagagaaag gtcataacaa cctgtcctat ctgacgaaaa 5580 gctggcgtga actgtgcaaa gcctttctgc aagaggcgaa atggtccaac aacaaaatta 5640 tcccggcttt ctccaagtac ctggaaaacg ccagcgtttc ctcctccggt gtagcgctgc 5700 tggcgccgtc ttacttttcc gtatgccagc agcaggaaga catctccgac cacgcgctgc 5760 gttccctgac cgacttccat ggtctggtgc gttctagctg cgttatcttc cgcctgtgca 5820 acgatctggc cacctctgcg gcggagctgg aacgtggcga gactaccaat tctatcatta 5880 gctacatgca cgaaaacgat ggtaccagcg aggaacaggc ccgcgaagaa ctgcgtaaac 5940 tgatcgacgc cgaatggaaa aagatgaatc gtgaacgcgt tagcgactcc accctgctgc 6000 ctaaagcgtt catggaaatc gcagttaaca tggcacgtgt ttcccactgc acctaccagt 6060 atggcgatgg tctgggtcgc ccagactacg cgactgaaaa ccgcatcaaa ctgctgctga 6120 ttgacccttt cccgattaac cagctgatgt atgtctaact gcatcgccct taggaggtaa 6180 aaaaaaatga ctgccgacaa caatagtatg ccccatggtg cagtatctag ttacgccaaa 6240 ttagtgcaaa accaaacacc tgaagacatt ttggaagagt ttcctgaaat tattccatta 6300 caacaaagac ctaatacccg atctagtgag acgtcaaatg acgaaagcgg agaaacatgt 6360 ttttctggtc atgatgagga gcaaattaag ttaatgaatg aaaattgtat tgttttggat 6420 tgggacgata atgctattgg tgccggtacc aagaaagttt gtcatttaat ggaaaatatt 6480 gaaaagggtt tactacatcg tgcattctcc gtctttattt tcaatgaaca aggtgaatta 6540 cttttacaac aaagagccac tgaaaaaata actttccctg atctttggac taacacatgc 6600 tgctctcatc cactatgtat tgatgacgaa ttaggtttga agggtaagct agacgataag 6660 attaagggcg ctattactgc ggcggtgaga aaactagatc atgaattagg tattccagaa 6720 gatgaaacta agacaagggg taagtttcac tttttaaaca gaatccatta catggcacca 6780 agcaatgaac catggggtga acatgaaatt gattacatcc tattttataa gatcaacgct 6840 aaagaaaact tgactgtcaa cccaaacgtc aatgaagtta gagacttcaa atgggtttca 6900 ccaaatgatt tgaaaactat gtttgctgac ccaagttaca agtttacgcc ttggtttaag 6960 attatttgcg agaattactt attcaactgg tgggagcaat tagatgacct ttctgaagtg 7020 gaaaatgaca ggcaaattca tagaatgcta taacgacgcg tcctgcagct ggtaccatat 7080 gggaattcga agctttctag aacgaaaact catctcagaa gaggatctga atagcgccgt 7140 cgaccatcat catcatcatc attgagttta aacggtctcc agcttggctg ttttggcgga 7200 tgagagaaga ttttcagcct gatacagatt aaatcagaac gcagaagcgg tctgataaaa 7260 cagaatttgc ctggcggcag tagcgcggtg gtcccacctg accccatgcc gaactcagaa 7320 gtgaaacgcc gtagcgccga tggtagtgtg gggtctcccc atgcgagagt agggaactgc 7380 caggcatcaa ataaaacgaa aggctcagtc gaaagactgg gcctttcgtt ttatctgttg 7440 tttgtcggtg aacgctctcc tgagtaggac aaatccgccg ggagcggatt tgaacgttgc 7500 gaagcaacgg cccggagggt ggcgggcagg acgcccgcca taaactgcca ggcatcaaat 7560 taagcagaag gccatcctga cggatggcct ttttgcgttt ctacaaactc tttttgttta 7620 tttttctaaa tacattcaaa tatgtatccg ctcatgagac aataaccctg ataaatgctt 7680 caataat 7687 <210> 55 <211> 8675 <212> DNA <213> Artificial Sequence <220> <223> Synthetic Construct <400> 55 cccgtcttac tgtcgggaat tcgcgttggc cgattcatta atgcagatta ttgaagcatt 60 tatcagggtt attgtctcat gagcggatac atatttgaat gtatttagaa aaataaacaa 120 aaagagtttg tagaaacgca aaaaggccat ccgtcaggat ggccttctgc ttaatttgat 180 gcctggcagt ttatggcggg cgtcctgccc gccaccctcc gggccgttgc ttcgcaacgt 240 tcaaatccgc tcccggcgga tttgtcctac tcaggagagc gttcaccgac aaacaacaga 300 taaaacgaaa ggcccagtct ttcgactgag cctttcgttt tatttgatgc ctggcagttc 360 cctactctcg catggggaga ccccacacta ccatcggcgc tacggcgttt cacttctgag 420 ttcggcatgg ggtcaggtgg gaccaccgcg ctactgccgc caggcaaatt ctgttttatc 480 agaccgcttc tgcgttctga tttaatctgt atcaggctga aaatcttctc tcatccgcca 540 aaacagccaa gctggagacc gtttaaactc aatgatgatg atgatgatgg tcgacggcgc 600 tattcagatc ctcttctgag atgagttttt gttctagaaa gcttcgaatt cccatatggt 660 accagctgca gttatgccag ccaggccttg attttggctt ccataccagc ggcatcgagg 720 ccgagttcgg cgcgcatttc ttcctgagtt ccttgcggaa taaagaagtc cggcaggcca 780 atgttcagca cgggtactgg tttacgatgg gccatcagca cttcgttcac gccgctgcct 840 gcgccgccca taatggcgtt ttcttctacg gtgaccagcg cttcatggct ggcggccatt 900 tccagaatta acgcttcatc aagcggtttc acaaaacgca tatcgaccag cgtggcgttc 960 agcgattcgg cgactttcgc cgcttctggc atcagcgtac caaagttaag gatcgccagt 1020 ttctcgccac gacgcttcac aatgcctttg ccaattggta gtttttccag cggcgtcagt 1080 tccacgccga ccgcgttgcc acgcgggtag cgcaccgctg acgggccatc gttatagtga 1140 tagccggtat agagcatctg gcgacattcg ttttcatcgc tcggggtcat aatgaccatt 1200 tccggtatgc agcgcaggta agagagatca aaagcaccct gatgggtttg accgtcagca 1260 ccaacaatgc ccgcgcggtc gatggcgaac aggaccggaa gcttttgaat cgccacgtca 1320 tgcagcacct gatcataggc gcgttgcagg aaagtggagt aaatcgcgac aatgggtttg 1380 tacccaccaa tcgccagacc cgcagcaaag gtcaccgcgt gttgctcggc aattgccacg 1440 tcgaagtagc gatccgggaa tttacgtgaa aactcgacca tgccggaacc ttcacgcatc 1500 gccggagtaa tcgccatcag cttgttgtct ttcgctgccg tttcgcacaa ccagtcgcca 1560 aagatttttg aatagctcgg caaaccgccg ctacttttcg gcaaacaacc gctggaggga 1620 tcaaatttag gcacggcgtg gaaagtgatc gggtcttttt ctgccggttc ataaccacga 1680 ccttttttgg tcatgatatg caggaactgc gggcctttca ggtcgcgcat gttctttagc 1740 gtggtgataa gccccagcac atcgtgaccg tccaccgggc cgatgtagtt aaagcccagc 1800 tcttcaaaca acgtgccagg cactaccatg cctttaatat gttcttcggt gcgtttgagc 1860 agctctttaa ttggcggcac gccagagaaa acttttttcc cgccttcgcg cagtgaagag 1920 taaagcttac cggaaagcag ctgtgccaga tggttgttga gcgcgccgac attttcggaa 1980 atcgacattt cattgtcgtt gagaatcacc agcatatcag gacggatatc gcccgcgtga 2040 ttcatcgctt caaacgccat gcctgcggta atcgcgccat cgccaatgac acagacggtg 2100 cggcgatttt tgccttcttt ttcggcagca accgcaatac caattccggc actgatggag 2160 gttgatgaat gcccgacgct taatacgtca tattcgcttt cgccgcgcca cgggaacggg 2220 tgcagaccgc ctttctgacg gatggtgccg attttgtcgc ggcgtccggt caaaatttta 2280 tgcggataag cctgatgccc cacatcccaa atcaattggt caaacggggt gttgtagaca 2340 tagtgcagcg ccacggtcag ttcgaccgtg cccagcccgg aggcgaagtg cccgctggaa 2400 cggctcacgc tgtcgagtaa atagcggcgc agttcgtcgc agagtttcgg taaactctct 2460 ttcggcaaca gtcgtaactc ctgggtggag tcgaccagtg ccagggtcgg gtatttggca 2520 atatcaaaac tcatgttttt ttacctccta agggcgaatg cagttagaca tacatcagct 2580 ggttaatcgg gaaagggtca atcagcagca gtttgatgcg gttttcagtc gcgtagtctg 2640 ggcgacccag accatcgcca tactggtagg tgcagtggga aacacgtgcc atgttaactg 2700 cgatttccat gaacgcttta ggcagcaggg tggagtcgct aacgcgttca cgattcatct 2760 ttttccattc ggcgtcgatc agtttacgca gttcttcgcg ggcctgttcc tcgctggtac 2820 catcgttttc gtgcatgtag ctaatgatag aattggtagt ctcgccacgt tccagctccg 2880 ccgcagaggt ggccagatcg ttgcacaggc ggaagataac gcagctagaa cgcaccagac 2940 catggaagtc ggtcagggaa cgcagcgcgt ggtcggagat gtcttcctgc tgctggcata 3000 cggaaaagta agacggcgcc agcagcgcta caccggagga ggaaacgctg gcgttttcca 3060 ggtacttgga gaaagccggg ataattttgt tgttggacca tttcgcctct tgcagaaagg 3120 ctttgcacag ttcacgccag cttttcgtca gataggacag gttgttatga cctttctctt 3180 tcagaataga ataggacgtg tcgttaacgg tgttgtacag tgccaggaaa cacagtttca 3240 tatagtccgg cagggtgtta atagcgttaa cgtcccagcg ctctacagca tcggtgaaca 3300 gttgcagttc gtccagagtg ccataaacgt catacacgtc atcgatgatc gtcaccagac 3360 caaacatttt agtaacagct ttgcgacatt caccaaactg cgggtctggc gccataccca 3420 gtgcccagaa ataaacttcc atcaggcggt cgcgtacaaa atccagtttg ctagccaggc 3480 ccatctcggt ccaccagcgg gacagatctt gcagctcttt ctggtgcagg gtctgtacca 3540 tgttaaaatc cagcttcgcc agctccagca gcagctggtg atgcggttct ttcggttcgt 3600 atttatccag gaaccaacgt gcctccagac ggtgcagacg ctggtgatat ggcagttcca 3660 gggcgtggct cacttgttct gcaaccttgg tattaatgcc ttctttcagg ttgttcttca 3720 ggtgggtgat ggaaaaggta cgcgcctcct ccagcaggtt ctcaccctcg aaacccaggt 3780 aagacgcttc atacaggctc agcaggcctt ggacgtcacc tttcagttca ccgctgaaac 3840 caccttcttt atccttgaaa cgctcaaaaa catcctgaga aacctcgaaa ccgtgctgac 3900 gcagcagacg gaaagacaga gcggttgcgt gcaggtcaga tttgttcttt ttgttttcgt 3960 ccagcagtac gatgttttcc agggctttaa tgatgtcttt ttcaaatttg taggtcagac 4020 ccaggcgctg cacatcgtcg atcagctcca gcagggacag cggctgggtg tctacacggt 4080 tgatcatgca gcgaacttct tcctccagtt tggtcgcttt ctcctccagc ttttccactt 4140 tcaggtcgtt ctccagggat tgcaggaatt cgaaattcca caggtttggc tgatagtttg 4200 cggaacgacg ggaattatgc tcggtaatct gagtaaattg agaagaggtc gcacacatgg 4260 tttattcctc cttatttaat cgatacatta atatatacct ctttaatttt taataataaa 4320 gttaatcgat aattccggtc gagtgcccac acagattgtc tgataaattg ttaaagagca 4380 gtgccgcttc gctttttctc agcggcgctg tttcctgtgt gaaattgtta tccgctcaca 4440 attccacaca ttatacgagc cggatgatta attgtcaaca gctcatttca gaatctggcg 4500 taatagcgaa gaggcccgca ccgatcgccc ttcccaacag ttgcgcagcc tgaatggcga 4560 atggcgcctg atgcggtatt ttctccttac gcatctgtgc ggtatttcac accgcatatg 4620 gtgcactctc agtacaatct gctctgatgc cgcatagtta agccagcccc gacacccgcc 4680 aacacccgct gacgagctta gtaaagccct cgctagattt taatgcggat gttgcgatta 4740 cttcgccaac tattgcgata acaagaaaaa gccagccttt catgatatat ctcccaattt 4800 gtgtagggct tattatgcac gcttaaaaat aataaaagca gacttgacct gatagtttgg 4860 ctgtgagcaa ttatgtgctt agtgcatcta acgcttgagt taagccgcgc cgcgaagcgg 4920 cgtcggcttg aacgaattgt tagacattat ttgccgacta ccttggtgat ctcgcctttc 4980 acgtagtgga caaattcttc caactgatct gcgcgcgagg ccaagcgatc ttcttcttgt 5040 ccaagataag cctgtctagc ttcaagtatg acgggctgat actgggccgg caggcgctcc 5100 attgcccagt cggcagcgac atccttcggc gcgattttgc cggttactgc gctgtaccaa 5160 atgcgggaca acgtaagcac tacatttcgc tcatcgccag cccagtcggg cggcgagttc 5220 catagcgtta aggtttcatt tagcgcctca aatagatcct gttcaggaac cggatcaaag 5280 agttcctccg ccgctggacc taccaaggca acgctatgtt ctcttgcttt tgtcagcaag 5340 atagccagat caatgtcgat cgtggctggc tcgaagatac ctgcaagaat gtcattgcgc 5400 tgccattctc caaattgcag ttcgcgctta gctggataac gccacggaat gatgtcgtcg 5460 tgcacaacaa tggtgacttc tacagcgcgg agaatctcgc tctctccagg ggaagccgaa 5520 gtttccaaaa ggtcgttgat caaagctcgc cgcgttgttt catcaagcct tacggtcacc 5580 gtaaccagca aatcaatatc actgtgtggc ttcaggccgc catccactgc ggagccgtac 5640 aaatgtacgg ccagcaacgt cggttcgaga tggcgctcga tgacgccaac tacctctgat 5700 agttgagtcg atacttcggc gatcaccgct tccctcatga tgtttaactt tgttttaggg 5760 cgactgccct gctgcgtaac atcgttgctg ctccataaca tcaaacatcg acccacggcg 5820 taacgcgctt gctgcttgga tgcccgaggc atagactgta ccccaaaaaa acagtcataa 5880 caagccatga aaaccgccac tgcgccgtta ccaccgctgc gttcggtcaa ggttctggac 5940 cagttgcgtg agcgcatacg ctacttgcat tacagcttac gaaccgaaca ggcttatgtc 6000 cactgggttc gtgccttcat ccgtttccac ggtgtgcgtc acccggcaac cttgggcagc 6060 agcgaagtcg aggcatttct gtcctggctg gcgaacgagc gcaaggtttc ggtctccacg 6120 catcgtcagg cattggcggc cttgctgttc ttctacggca aggtgctgtg cacggatctg 6180 ccctggcttc aggagatcgg aagacctcgg ccgtcgcggc gcttgccggt ggtgctgacc 6240 ccggatgaag tggttcgcat cctcggtttt ctggaaggcg agcatcgttt gttcgcccag 6300 cttctgtatg gaacgggcat gcggatcagt gagggtttgc aactgcgggt caaggatctg 6360 gatttcgatc acggcacgat catcgtgcgg gagggcaagg gctccaagga tcgggccttg 6420 atgttacccg agagcttggc acccagcctg cgcgagcagg ggaattaatt cccacgggtt 6480 ttgctgcccg caaacgggct gttctggtgt tgctagtttg ttatcagaat cgcagatccg 6540 gcttcagccg gtttgccggc tgaaagcgct atttcttcca gaattgccat gattttttcc 6600 ccacgggagg cgtcactggc tcccgtgttg tcggcagctt tgattcgata agcagcatcg 6660 cctgtttcag gctgtctatg tgtgactgtt gagctgtaac aagttgtctc aggtgttcaa 6720 tttcatgttc tagttgcttt gttttactgg tttcacctgt tctattaggt gttacatgct 6780 gttcatctgt tacattgtcg atctgttcat ggtgaacagc tttgaatgca ccaaaaactc 6840 gtaaaagctc tgatgtatct atctttttta caccgttttc atctgtgcat atggacagtt 6900 ttccctttga tatgtaacgg tgaacagttg ttctactttt gtttgttagt cttgatgctt 6960 cactgataga tacaagagcc ataagaacct cagatccttc cgtatttagc cagtatgttc 7020 tctagtgtgg ttcgttgttt ttgcgtgagc catgagaacg aaccattgag atcatactta 7080 ctttgcatgt cactcaaaaa ttttgcctca aaactggtga gctgaatttt tgcagttaaa 7140 gcatcgtgta gtgtttttct tagtccgtta tgtaggtagg aatctgatgt aatggttgtt 7200 ggtattttgt caccattcat ttttatctgg ttgttctcaa gttcggttac gagatccatt 7260 tgtctatcta gttcaacttg gaaaatcaac gtatcagtcg ggcggcctcg cttatcaacc 7320 accaatttca tattgctgta agtgtttaaa tctttactta ttggtttcaa aacccattgg 7380 ttaagccttt taaactcatg gtagttattt tcaagcatta acatgaactt aaattcatca 7440 aggctaatct ctatatttgc cttgtgagtt ttcttttgtg ttagttcttt taataaccac 7500 tcataaatcc tcatagagta tttgttttca aaagacttaa catgttccag attatatttt 7560 atgaattttt ttaactggaa aagataaggc aatatctctt cactaaaaac taattctaat 7620 ttttcgcttg agaacttggc atagtttgtc cactggaaaa tctcaaagcc tttaaccaaa 7680 ggattcctga tttccacagt tctcgtcatc agctctctgg ttgctttagc taatacacca 7740 taagcatttt ccctactgat gttcatcatc tgagcgtatt ggttataagt gaacgatacc 7800 gtccgttctt tccttgtagg gttttcaatc gtggggttga gtagtgccac acagcataaa 7860 attagcttgg tttcatgctc cgttaagtca tagcgactaa tcgctagttc atttgctttg 7920 aaaacaacta attcagacat acatctcaat tggtctaggt gattttaatc actataccaa 7980 ttgagatggg ctagtcaatg ataattacta gtccttttcc tttgagttgt gggtatctgt 8040 aaattctgct agacctttgc tggaaaactt gtaaattctg ctagaccctc tgtaaattcc 8100 gctagacctt tgtgtgtttt ttttgtttat attcaagtgg ttataattta tagaataaag 8160 aaagaataaa aaaagataaa aagaatagat cccagccctg tgtataactc actactttag 8220 tcagttccgc agtattacaa aaggatgtcg caaacgctgt ttgctcctct acaaaacaga 8280 ccttaaaacc ctaaaggctt aagtagcacc ctcgcaagct cgggcaaatc gctgaatatt 8340 ccttttgtct ccgaccatca ggcacctgag tcgctgtctt tttcgtgaca ttcagttcgc 8400 tgcgctcacg gctctggcag tgaatggggg taaatggcac tacaggcgcc ttttatggat 8460 tcatgcaagg aaactaccca taatacaaga aaagcccgtc acgggcttct cagggcgttt 8520 tatggcgggt ctgctatgtg gtgctatctg actttttgct gttcagcagt tcctgccctc 8580 tgattttcca gtctgaccac ttcggattat cccgtgacag gtcattcaga ctggctaatg 8640 cacccagtaa ggcagcggta tcatcaacag gctta 8675 <210> 56 <211> 8032 <212> DNA <213> Artificial Sequence <220> <223> Synthetic Construct <400> 56 tcgctgcgct cggtcgttcg gctgcggcga gcggtatcag ctcactcaaa ggcggtaata 60 cggttatcca cagaatcagg ggataacgca ggaaagaaca tgtgagcaaa aggccagcaa 120 aaggccagga accgtaaaaa ggccgcgttg ctggcgtttt tccataggct ccgcccccct 180 gacgagcatc acaaaaatcg acgctcaagt cagaggtggc gaaacccgac aggactataa 240 agataccagg cgtttccccc tggaagctcc ctcgtgcgct ctcctgttcc gaccctgccg 300 cttaccggat acctgtccgc ctttctccct tcgggaagcg tggcgctttc tcatagctca 360 cgctgtaggt atctcagttc ggtgtaggtc gttcgctcca agctgggctg tgtgcacgaa 420 ccccccgttc agcccgaccg ctgcgcctta tccggtaact atcgtcttga gtccaacccg 480 gtaagacacg acttatcgcc actggcagca gccactggta acaggattag cagagcgagg 540 tatgtaggcg gtgctacaga gttcttgaag tggtggccta actacggcta cactagaaga 600 acagtatttg gtatctgcgc tctgctgaag ccagttacct tcggaaaaag agttggtagc 660 tcttgatccg gcaaacaaac caccgctggt agcggtggtt tttttgtttg caagcagcag 720 attacgcgca gaaaaaaagg atctcaagaa gatcctttga tcttttctac ggggtctgac 780 gctcagtgga acgaaaactc acgttaaggg attttggtca tgagattatc aaaaaggatc 840 ttcacctaga tccttttaaa ttaaaaatga agttttaaat caatctaaag tatatatgag 900 taaacttggt ctgacagtta ccaatgctta atcagtgagg cacctatctc agcgatctgt 960 ctatttcgtt catccatagt tgcctgactc cccgtcgtgt agataactac gatacgggag 1020 ggcttaccat ctggccccag tgctgcaatg ataccgcgag acccacgctc accggctcca 1080 gatttatcag caataaacca gccagccgga agggccgagc gcagaagtgg tcctgcaact 1140 ttatccgcct ccatccagtc tattaattgt tgccgggaag ctagagtaag tagttcgcca 1200 gttaatagtt tgcgcaacgt tgttgccatt gctacaggca tcgtggtgtc acgctcgtcg 1260 tttggtatgg cttcattcag ctccggttcc caacgatcaa ggcgagttac atgatccccc 1320 atgttgtgca aaaaagcggt tagctccttc ggtcctccga tcgttgtcag aagtaagttg 1380 gccgcagtgt tatcactcat ggttatggca gcactgcata attctcttac tgtcatgcca 1440 tccgtaagat gcttttctgt gactggtgag tactcaacca agtcattctg agaatagtgt 1500 atgcggcgac cgagttgctc ttgcccggcg tcaatacggg ataataccgc gccacatagc 1560 agaactttaa aagtgctcat cattggaaaa cgttcttcgg ggcgaaaact ctcaaggatc 1620 ttaccgctgt tgagatccag ttcgatgtaa cccactcgtg cacccaactg atcttcagca 1680 tcttttactt tcaccagcgt ttctgggtga gcaaaaacag gaaggcaaaa tgccgcaaaa 1740 aagggaataa gggcgacacg gaaatgttga atactcatac tcttcctttt tcaatattat 1800 tgaagcattt atcagggtta ttgtctcatg agcggataca tatttgaatg tatttagaaa 1860 aataaacaaa taggggttcc gcgcacattt ccccgaaaag tgccacctga cgtctaagaa 1920 accattatta tcatgacatt aacctataaa aataggcgta tcacgaggcc ctttcgtctc 1980 gcgcgtttcg gtgatgacgg tgaaaacctc tgacacatgc agctcccgga gacggtcaca 2040 gcttgtctgt aagcggatgc cgggagcaga caagcccgtc agggcgcgtc agcgggtgtt 2100 ggcgggtgtc ggggctggct taactatgcg gcatcagagc agattgtact gagagtgcac 2160 catagatctg gagctgtaat ataaaaacct tcttcaacta acggggcagg ttagtgacat 2220 tagaaaaccg actgtaaaaa gtacagtcgg cattatctca tattataaaa gccagtcatt 2280 aggcctatct gacaattcct gaatagagtt cataaacaat cctgcatgat aaccatcaca 2340 aacagaatga tgtacctgta aagatagcgg taaatatatt gaattacctt tattaatgaa 2400 ttttcctgct gtaataatgg gtagaaggta attactatta ttattgatat ttaagttaaa 2460 cccagtaaat gaagtccatg gaataataga aagagaaaaa gcattttcag gtataggtgt 2520 tttgggaaac aatttccccg aaccattata tttctctaca tcagaaaggt ataaatcata 2580 aaactctttg aagtcattct ttacaggagt ccaaatacca gagaatgttt tagatacacc 2640 atcaaaaatt gtataaagtg gctctaactt atcccaataa cctaactctc cgtcgctatt 2700 gtaaccagtt ctaaaagctg tatttgagtt tatcaccctt gtcactaaga aaataaatgc 2760 agggtaaaat ttatatcctt cttgttttat gtttcggtat aaaacactaa tatcaatttc 2820 tgtggttata ctaaaagtcg tttgttggtt caaataatga ttaaatatct cttttctctt 2880 ccaattgtct aaatcaattt tattaaagtt catttgatat gcctcctaaa tttttatcta 2940 aagtgaattt aggaggctta cttgtctgct ttcttcatta gaatcaatcc ttttttaaaa 3000 gtcaatatta ctgtaacata aatatatatt ttaaaaatat cccactttat ccaattttcg 3060 tttgttgaac taatgggtgc tttagttgaa gaataaaaga cctatgcggt gtgaaatacc 3120 gcacagatgc gtaaggagaa aataccgcat caggcgccat tcgccattca ggctgcgcaa 3180 ctgttgggaa gggcgatcgg tgcgggcctc ttcgctatta cgccagctgg cgaaaggggg 3240 atgtgctgca aggcgattaa gttgggtaac gccagggttt tcccagtcac gacgttgtaa 3300 aacgacggcc agtgccaagc ttgcatgcct gcactccatt ttcttctgct atcaaaataa 3360 cagactcgtg attttccaaa cgagctttca aaaaagcctc tgccccttgc aaatcggatg 3420 cctgtctata aaattcccga tattggttaa acagcggcgc aatggcggcc gcatctgatg 3480 tctttgcttg gcgaatgttc atcttatttc ttcctccctc tcaataattt tttcattcta 3540 tcccttttct gtaaagttta tttttcagaa tacttttatc atcatgcttt gaaaaaatat 3600 cacgataata tccattgttc tcacggaagc acacgcaggt catttgaacg aattttttcg 3660 acaggaattt gccgggactc aggagcattt aacctaaaaa agcatgacat ttcagcataa 3720 tgaacattta ctcatgtcta ttttcgttct tttctgtatg aaaatagtta tttcgagtct 3780 ctacggaaat agcgagagat gatataccta aatagagata aaatcatctc aaaaaaatgg 3840 gtctactaaa atattattcc atctattaca ataaattcac agaatagtct tttaagtaag 3900 tctactctga atttttttaa aaggagaggg taaagagtga aaacagtagt tattattgat 3960 gcattacgaa caccaattgg aaaatataaa ggcagcttaa gtcaagtaag tgccgtagac 4020 ttaggaacac atgttacaac acaactttta aaaagacatt ccactatttc tgaagaaatt 4080 gatcaagtaa tctttggaaa tgttttacaa gctggaaatg gccaaaatcc cgcacgacaa 4140 atagcaataa acagcggttt gtctcatgaa attcccgcaa tgacggttaa tgaggtctgc 4200 ggatcaggaa tgaaggccgt tattttggcg aaacaattga ttcaattagg agaagcggaa 4260 gttttaattg ctggcgggat tgagaatatg tcccaagcac ctaaattaca acgttttaat 4320 tacgaaacag aaagctacga tgcgcctttt tctagtatga tgtatgatgg attaacggat 4380 gcctttagtg gtcaggcaat gggcttaact gctgaaaatg tggccgaaaa gtatcatgta 4440 actagagaag agcaagatca attttctgta cattcacaat taaaagcagc tcaagcacaa 4500 gcagaaggga tattcgctga cgaaatagcc ccattagaag tatcaggaac gcttgtggag 4560 aaagatgaag ggattcgccc taattcgagc gttgagaagc taggaacgct taaaacagtt 4620 tttaaagaag acggtactgt aacagcaggg aatgcatcaa ccattaatga tggggcttct 4680 gctttgatta ttgcttcaca agaatatgcc gaagcacacg gtcttcctta tttagctatt 4740 attcgagaca gtgtggaagt cggtattgat ccagcctata tgggaatttc gccgattaaa 4800 gccattcaaa aactgttagc gcgcaatcaa cttactacgg aagaaattga tctgtatgaa 4860 atcaacgaag catttgcagc aacttcaatc gtggtccaaa gagaactggc tttaccagag 4920 gaaaaggtca acatttatgg tggcggtatt tcattaggtc atgcgattgg tgccacaggt 4980 gctcgtttat taacgagttt aagttatcaa ttaaatcaaa aagaaaagaa atatggagtg 5040 gcttctttat gtatcggcgg tggcttagga ctcgctatgc tactagagag acctcagcaa 5100 aaaaaaaaca gccgatttta tcaaatgagt cctgaggaac gcctggcttc tcttcttaat 5160 gaaggccaga tttctgctga tacaaaaaaa gaatttgaaa atacggcttt atcttcgcag 5220 attgccaatc atatgattga aaatcaaatc agtgaaacag aagtgccgat gggcgttggc 5280 ttacatttaa cagtggacga aactgattat ttggtaccaa tggcgacaga agagccctca 5340 gttattgcgg ctttgagtaa tggtgcaaaa atagcacaag gatttaaaac agtgaatcaa 5400 caacgcttaa tgcgtggaca aatcgttttt tacgatgttg cagatcccga gtcattgatt 5460 gataaactac aagtaagaga agcggaagtt tttcaacaag cagagttaag ttatccatct 5520 atcgttaaac ggggcggcgg cttaagagat ttgcaatatc gtacttttga tgaatcattt 5580 gtatctgtcg actttttagt agatgttaag gatgcaatgg gggcaaatat cgttaacgct 5640 atgttggaag gtgtggccga gttgttccgt gaatggtttg cggagcaaaa gattttattc 5700 agtattttaa gtaattatgc cacggagtcg gttgttacga tgaaaacggc tattccagtt 5760 tcacgtttaa gtaaggggag caatggccgg gaaattgctg aaaaaattgt tttagcttca 5820 cgctatgctt cattagatcc ttatcgggca gtcacgcata acaaaggaat catgaatggc 5880 attgaagctg tagttttagc tacaggaaat gatacacgcg ctgttagcgc ttcttgtcat 5940 gcttttgcgg tgaaggaagg tcgctaccaa ggcttgacta gttggacgct ggatggcgaa 6000 caactaattg gtgaaatttc agttccgctt gctttagcca cggttggcgg tgccacaaaa 6060 gtcttaccta aatctcaagc agctgctgat ttgttagcag tgacggatgc aaaagaacta 6120 agtcgagtag tagcggctgt tggtttggca caaaatttag cggcgttacg ggccttagtc 6180 tctgaaggaa ttcaaaaagg acacatggct ctacaagcac gttctttagc gatgacggtc 6240 ggagctactg gtaaagaagt tgaggcagtc gctcaacaat taaaacgtca aaaaacgatg 6300 aaccaagacc gagccatggc tattttaaat gatttaagaa aacaataaaa ggagagggtg 6360 acaattggga ttgataaaat tagttttttt gtgccccctt attatattga tatgacggca 6420 ctggctgaag ccagaaatgt agaccctgga aaatttcata ttggtattgg gcaagaccaa 6480 atggcggtga acccaatcag ccaagatatt gtgacatttg cagccaatgc cgcagaagcg 6540 atcttgacca aagaagataa agaggccatt gatatggtga ttgtcgggac tgagtccagt 6600 atcgatgagt caaaagcggc cgcagttgtc ttacatcgtt taatggggat tcaacctttc 6660 gctcgctctt tcgaaatcaa ggaagcttgt tacggagcaa cagcaggctt acagttagct 6720 aagaatcacg tagccttaca tccagataaa aaagtcttgg tcgtagcggc agatattgca 6780 aaatatggct taaattctgg cggtgagcct acacaaggag ctggggcggt tgcaatgtta 6840 gttgctagtg aaccgcgcat tttggcttta aaagaggata atgtgatgct gacgcaagat 6900 atctatgact tttggcgtcc aacaggccac ccgtatccta tggtcgatgg tcctttgtca 6960 aacgaaacct acatccaatc ttttgcccaa gtctgggatg aacataaaaa acgaaccggt 7020 cttgattttg cagattatga tgctttagcg ttccatattc cttacacaaa aatgggcaaa 7080 aaagccttat tagcaaaaat ctccgaccaa actgaagcag aacaggaacg aattttagcc 7140 cgttatgaag aaagtatcgt ctatagtcgt cgcgtaggaa acttgtatac gggttcactt 7200 tatctgggac tcatttccct tttagaaaat gcaacgactt taaccgcagg caatcaaatt 7260 ggtttattca gttatggttc tggtgctgtc gctgaatttt tcactggtga attagtagct 7320 ggttatcaaa atcatttaca aaaagaaact catttagcac tgctggataa tcggacagaa 7380 ctttctatcg ctgaatatga agccatgttt gcagaaactt tagacacaga cattgatcaa 7440 acgttagaag atgaattaaa atatagtatt tctgctatta ataataccgt tcgttcttat 7500 cgaaactaaa aaaaaccggc cttggccccg ccggtttttt attatttttc ttcctccgca 7560 tgttcaatcc gctccataat cgacggatgg ctccctctga aaattttaac gagaaacggc 7620 gggttgaccc ggctcagtcc cgtaacggcc aagtcctgaa acgtctcaat cgccgcttcc 7680 cggtttccgg tcagctcaat gccgtaacgg tcggcggcgt tttcctgata ccgggagacg 7740 gcattcgtaa tcgggatccc cgggtaccga gctcgaattc gtaatcatgt catagctgtt 7800 tcctgtgtga aattgttatc cgctcacaat tccacacaac atacgagccg gaagcataaa 7860 gtgtaaagcc tggggtgcct aatgagtgag ctaactcaca ttaattgcgt tgcgctcact 7920 gcccgctttc cagtcgggaa acctgtcgtg ccagctgcat taatgaatcg gccaacgcgc 7980 ggggagaggc ggtttgcgta ttgggcgctc ttccgcttcc tcgctcactg ac 8032 <210> 57 <211> 6592 <212> DNA <213> Artificial Sequence <220> <223> Synthetic Construct <400> 57 gaattgctcc attttcttct gctatcaaaa taacagactc gtgattttcc aaacgagctt 60 tcaaaaaagc ctctgcccct tgcaaatcgg atgcctgtct ataaaattcc cgatattggt 120 taaacagcgg cgcaatggcg gccgcatctg atgtctttgc ttggcgaatg ttcatcttat 180 ttcttcctcc ctctcaataa ttttttcatt ctatcccttt tctgtaaagt ttatttttca 240 gaatactttt atcatcatgc tttgaaaaaa tatcacgata atatccattg ttctcacgga 300 agcacacgca ggtcatttga acgaattttt tcgacaggaa tttgccggga ctcaggagca 360 tttaacctaa aaaagcatga catttcagca taatgaacat ttactcatgt ctattttcgt 420 tcttttctgt atgaaaatag ttatttcgag tctctacgga aatagcgaga gatgatatac 480 ctaaatagag ataaaatcat ctcaaaaaaa tgggtctact aaaatattat tccatctatt 540 acaataaatt cacagaatag tcttttaagt aagtctactc tgaatttttt taaaaggaga 600 gggtaaagag tgtgtgcgac ctcttctcaa tttactcaga ttaccgagca taattcccgt 660 cgttccgcaa actatcagcc aaacctgtgg aatttcgaat tcctgcaatc cctggagaac 720 gacctgaaag tggaaaagct ggaggagaaa gcgaccaaac tggaggaaga agttcgctgc 780 atgatcaacc gtgtagacac ccagccgctg tccctgctgg agctgatcga cgatgtgcag 840 cgcctgggtc tgacctacaa atttgaaaaa gacatcatta aagccctgga aaacatcgta 900 ctgctggacg aaaacaaaaa gaacaaatct gacctgcacg caaccgctct gtctttccgt 960 ctgctgcgtc agcacggttt cgaggtttct caggatgttt ttgagcgttt caaggataaa 1020 gaaggtggtt tcagcggtga actgaaaggt gacgtccaag gcctgctgag cctgtatgaa 1080 gcgtcttacc tgggtttcga gggtgagaac ctgctggagg aggcgcgtac cttttccatc 1140 acccacctga agaacaacct gaaagaaggc attaatacca aggttgcaga acaagtgagc 1200 cacgccctgg aactgccata tcaccagcgt ctgcaccgtc tggaggcacg ttggttcctg 1260 gataaatacg aaccgaaaga accgcatcac cagctgctgc tggagctggc gaagctggat 1320 tttaacatgg tacagaccct gcaccagaaa gagctgcaag atctgtcccg ctggtggacc 1380 gagatgggcc tggctagcaa actggatttt gtacgcgacc gcctgatgga agtttatttc 1440 tgggcactgg gtatggcgcc agacccgcag tttggtgaat gtcgcaaagc tgttactaaa 1500 atgtttggtc tggtgacgat catcgatgac gtgtatgacg tttatggcac tctggacgaa 1560 ctgcaactgt tcaccgatgc tgtagagcgc tgggacgtta acgctattaa caccctgccg 1620 gactatatga aactgtgttt cctggcactg tacaacaccg ttaacgacac gtcctattct 1680 attctgaaag agaaaggtca taacaacctg tcctatctga cgaaaagctg gcgtgaactg 1740 tgcaaagcct ttctgcaaga ggcgaaatgg tccaacaaca aaattatccc ggctttctcc 1800 aagtacctgg aaaacgccag cgtttcctcc tccggtgtag cgctgctggc gccgtcttac 1860 ttttccgtat gccagcagca ggaagacatc tccgaccacg cgctgcgttc cctgaccgac 1920 ttccatggtc tggtgcgttc tagctgcgtt atcttccgcc tgtgcaacga tctggccacc 1980 tctgcggcgg agctggaacg tggcgagact accaattcta tcattagcta catgcacgaa 2040 aacgatggta ccagcgagga acaggcccgc gaagaactgc gtaaactgat cgacgccgaa 2100 tggaaaaaga tgaatcgtga acgcgttagc gactccaccc tgctgcctaa agcgttcatg 2160 gaaatcgcag ttaacatggc acgtgtttcc cactgcacct accagtatgg cgatggtctg 2220 ggtcgcccag actacgcgac tgaaaaccgc atcaaactgc tgctgattga ccctttcccg 2280 attaaccagc tgatgtatgt ctaaaaaaaa ccggccttgg ccccgccggt tttttattat 2340 ttttcttcct ccgcatgttc aatccgctcc ataatcgacg gatggctccc tctgaaaatt 2400 ttaacgagaa acggcgggtt gacccggctc agtcccgtaa cggccaagtc ctgaaacgtc 2460 tcaatcgccg cttcccggtt tccggtcagc tcaatgccgt aacggtcggc ggcgttttcc 2520 tgataccggg agacggcatt cgtaatcgga tcctctagag tcgacctgca ggcatgcaag 2580 ctttgcctcg cgcgtttcgg tgatgacggt gaaaacctct gacacatgca gctcccggag 2640 acggtcacag cttgtctgta agcggatgcc gggagcagac aagcccgtca gggcgcgtca 2700 gcgggtgttg gcgggtgtcg gggcgcagcc atgacccagt cacgtagcga tagcggagtg 2760 tatactggct taactatgcg gcatcagagc agattgtact gagagtgcac catatgcggt 2820 gtgaaatacc gcacagatgc gtaaggagaa aataccgcat caggcgctct tccgcttcct 2880 cgctcactga ctcgctgcgc tcggtcgttc ggctgcggcg agcggtatca gctcactcaa 2940 aggcggtaat acggttatcc acagaatcag gggataacgc aggaaagaac atgtgagcaa 3000 aaggccagca aaaggccagg aaccgtaaaa aggccgcgtt gctggcgttt ttccataggc 3060 tccgcccccc tgacgagcat cacaaaaatc gacgctcaag tcagaggtgg cgaaacccga 3120 caggactata aagataccag gcgtttcccc ctggaagctc cctcgtgcgc tctcctgttc 3180 cgaccctgcc gcttaccgga tacctgtccg cctttctccc ttcgggaagc gtggcgcttt 3240 ctcaatgctc acgctgtagg tatctcagtt cggtgtaggt cgttcgctcc aagctgggct 3300 gtgtgcacga accccccgtt cagcccgacc gctgcgcctt atccggtaac tatcgtcttg 3360 agtccaaccc ggtaagacac gacttatcgc cactggcagc agccactggt aacaggatta 3420 gcagagcgag gtatgtaggc ggtgctacag agttcttgaa gtggtggcct aactacggct 3480 acactagaag gacagtattt ggtatctgcg ctctgctgaa gccagttacc ttcggaaaaa 3540 gagttggtag ctcttgatcc ggcaaacaaa ccaccgctgg tagcggtggt ttttttgttt 3600 gcaagcagca gattacgcgc agaaaaaaag gatctcaaga agatcctttg atcttttcta 3660 cggggtctga cgctcagtgg aacgaaaact cacgttaagg gattttggtc atgagattat 3720 caaaaaggat cgaagtcggt tcagaaaaag aaggatatgg atctggagct gtaatataaa 3780 aaccttcttc aactaacggg gcaggttagt gacattagaa aaccgactgt aaaaagtaca 3840 gtcggcatta tctcatatta taaaagccag tcattaggcc tatctgacaa ttcctgaata 3900 gagttcataa acaatcctgc atgataacca tcacaaacag aatgatgtac ctgtaaagat 3960 agcggtaaat atattgaatt acctttatta atgaattttc ctgctgtaat aatgggtaga 4020 aggtaattac tattattatt gatatttaag ttaaacccag taaatgaagt ccatggaata 4080 atagaaagag aaaaagcatt ttcaggtata ggtgttttgg gaaacaattt aaaagaacca 4140 ttatatttct ctacatcaga aaggtataaa tcataaaact ctttgaagtc attctttaca 4200 ggagtccaaa taccagagaa tgttttagat acaccatcaa aaattgtata aagtggctct 4260 aacttatccc aataacctaa ctctccgtcg ctattgtaac cagttctaaa agctgtattt 4320 gagtttatca cccttgtcac taagaaaata aatgcagggt aaaatttata tccttcttgt 4380 tttatgtttc ggtataaaac actaatatca atttctgtgg ttatactaaa agtcgtttgt 4440 tggttcaaat aatgattaaa tatctctttt ctcttccaat tgtctaaatc aattttatta 4500 aagttcattt gatatgcctc ctaaattttt atctaaagtg aatttaggag gcttacttgt 4560 ctgctttctt cattagaatc aatccttttt taaagtcaat attactgtaa cataaatata 4620 tattttaaaa atatcccact ttatccaatt ttcgtttgtt gaactaatgg gtgctttagt 4680 tgaagaataa agaccacatt aaaaaatgtg gtcttttgtg tttttttaaa ggatttgagc 4740 gtacgcgaaa aatccttttc tttctttctt atcttgataa taagggtaac tattgccggt 4800 tgtccattca tggctgaact ctgcttcctc tgttgacatg acacacatca tctcaatatc 4860 cgaatagggc ccatcagtct gacgaccaag agagccataa acaccaatag ccttaacatc 4920 atccccatat ttatccaata ttcgttcctt aatttcatga acaatcttca ttctttcttc 4980 tctagtcatt attattggtc cattcactat tctcattccc ttttcagata attttagatt 5040 tgcttttcta aataagaata tttggagagc accgttctta ttcagctatt aataactcgt 5100 cttcctaagc atccttcaat ccttttaata acaattatag catctaatct tcaacaaact 5160 ggcccgtttg ttgaactact ctttaataaa ataatttttc cgttcccaat tccacattgc 5220 aataatagaa aatccatctt catcggcttt ttcgtcatca tctgtatgaa tcaaatcgcc 5280 ttcttctgtg tcatcaaggt ttaatttttt atgtatttct tttaacaaac caccatagga 5340 gattaacctt ttacggtgta aaccttcctc caaatcagac aaacgtttca aattcttttc 5400 ttcatcatcg gtcataaaat ccgtatcctt tacaggatat tttgcagttt cgtcaattgc 5460 cgattgtata tccgatttat atttattttt cggtcgaatc atttgaactt ttacatttgg 5520 atcatagtct aatttcattg cctttttcca aaattgaatc cattgttttt gattcacgta 5580 gttttctgtt attctaaaat aagttggttc cacacatacc attacatgca tgtgctgatt 5640 ataagaatta tctttattat ttattgtcac atccgttgca cgcataaaac caacaagatt 5700 tttattaatt tttttatatt gcatcattcg gcgaaatcct tgagccatat ctgtcaaact 5760 cttatttaat tcttcgccat cataaacatt tttaactgtt aatgtgagaa acaaccaacg 5820 aactgttggc ttttgtttaa taacttcagc aacaaccttt tgtgactgaa tgccatgttt 5880 cattgctctc ctccagttgc acattggaca aagcctggat ttgcaaaacc acactcgata 5940 ccactttctt tcgcctgttt cacgattttg tttatactct aatatttcag cacaatcttt 6000 tactctttca gcctttttaa attcaagaat atgcagaagt tcaaagtaat caacattagc 6060 gattttcttt tctctccatg gtctcacttt tccacttttt gtcttgtcca ctaaaaccct 6120 tgatttttca tctgaataaa tgctactatt aggacacata atattaaaag aaacccccat 6180 ctatttagtt atttgtttag tcacttataa ctttaacaga tggggttttt ctgtgcaacc 6240 aattttaagg gttttcaata ctttaaaaca catacatacc aacacttcaa cgcacctttc 6300 agcaactaaa ataaaaatga cgttatttct atatgtatca agataagaaa gaacaagttc 6360 aaaaccatca aaaaaagaca ccttttcagg tgcttttttt attttataaa ctcattccct 6420 gatctcgact tcgttctttt tttacctctc ggttatgagt tagttcaaat tcgttctttt 6480 taggttctaa atcgtgtttt tcttggaatt gtgctgtttt atcctttacc ttgtctacaa 6540 accccttaaa aacgttttta aaggctttta agccgtctgt acgttcctta ag 6592 <210> 58 <211> 31 <212> DNA <213> Artificial Sequence <220> <223> PCR Primer <400> 58 gacatcaatt gctccatttt cttctgctat c 31 <210> 59 <211> 41 <212> DNA <213> Artificial Sequence <220> <223> PCR Primer <400> 59 attgagaaga ggtcgcacac actctttacc ctctcctttt a 41 <210> 60 <211> 41 <212> DNA <213> Artificial Sequence <220> <223> PCR Primer <400> 60 taaaaggaga gggtaaagag tgtgtgcgac ctcttctcaa t 41 <210> 61 <211> 41 <212> DNA <213> Artificial Sequence <220> <223> PCR Primer <400> 61 ccaaggccgg ttttttttag acatacatca gctggttaat c 41 <210> 62 <211> 41 <212> DNA <213> Artificial Sequence <220> <223> PCR Primer <400> 62 gattaaccag ctgatgtatg tctaaaaaaa accggccttg g 41 <210> 63 <211> 32 <212> DNA <213> Artificial Sequence <220> <223> PCR Primer <400> 63 gacatgacgg atccgattac gaatgccgtc tc 32 <210> 64 <211> 31 <212> DNA <213> Artificial Sequence <220> <223> PCR Primer <400> 64 gacatcaatt gctccatttt cttctgctat c 31 <210> 65 <211> 27 <212> DNA <213> Artificial Sequence <220> <223> PCR Primer <400> 65 gacatgaatt cctccatttt cttctgc 27 <210> 66 <211> 20 <212> DNA <213> Artificial Sequence <220> <223> PCR Primer <400> 66 aggagagggt aaagagtgag 20 <210> 67 <211> 22 <212> DNA <213> Artificial Sequence <220> <223> PCR Primer <400> 67 cttttccatc acccacctga ag 22 <210> 68 <211> 28 <212> DNA <213> Artificial Sequence <220> <223> PCR Primer <400> 68 ggcgaaatgg tccaacaaca aaattatc 28 <210> 69 <211> 51 <212> DNA <213> Artificial Sequence <220> <223> Synthetic Construct <400> 69 ggtgaattca gtctactggg gattcccaaa tctatatata ctgcaggtga c 51 <210> 70 <211> 23 <212> DNA <213> Artificial Sequence <220> <223> PCR Primer <400> 70 gcaggtggga aactatgcac tcc 23 <210> 71 <211> 36 <212> DNA <213> Artificial Sequence <220> <223> PCR Primer <400> 71 cctgaattct gttggattgg aggattggat agtggg 36 <210> 72 <211> 30 <212> DNA <213> Artificial Sequence <220> <223> PCR Primer <400> 72 ggtgtcgacg tacggtcgag cttattgacc 30 <210> 73 <211> 32 <212> DNA <213> Artificial Sequence <220> <223> PCR Primer <400> 73 ggtgggcccg cattttgcca cctacaagcc ag 32 <210> 74 <211> 40 <212> DNA <213> Artificial Sequence <220> <223> PCR Primer <400> 74 ggtgaattct agaggatccc aacgctgttg cctacaacgg 40 <210> 75 <211> 36 <212> DNA <213> Artificial Sequence <220> <223> PCR Primer <400> 75 ggtgcggccg ctgtctggac ctggtgagtt tccccg 36 <210> 76 <211> 37 <212> DNA <213> Artificial Sequence <220> <223> PCR Primer <400> 76 ggtgggccca ttaaatcagt tatcgtttat ttgatag 37 <210> 77 <211> 35 <212> DNA <213> Artificial Sequence <220> <223> PCR Primer <400> 77 ggtgaccagc aagtccatgg gtggtttgat catgg 35 <210> 78 <211> 35 <212> DNA <213> Artificial Sequence <220> <223> PCR Primer <400> 78 ggtgcggccg cctttggagt acgactccaa ctatg 35 <210> 79 <211> 31 <212> DNA <213> Artificial Sequence <220> <223> PCR Primer <400> 79 gcggccgcag actaaattta tttcagtctc c 31 <210> 80 <211> 7 <212> DNA <213> Escherichia coli <400> 80 aggaggt 7 <210> 81 <211> 7 <212> DNA <213> Escherichial coli <400> 81 aaggagg 7 <210> 82 <211> 27 <212> DNA <213> Artificial Sequence <220> <223> PCR Primer <400> 82 gacatctgca gctccatttt cttctgc 27 <210> 83 <211> 42 <212> DNA <213> Artificial Sequence <220> <223> PCR Primer <400> 83 caataataac tactgttttc actctttacc ctctcctttt aa 42 <210> 84 <211> 42 <212> DNA <213> Artificial Sequence <220> <223> PCR Primer <400> 84 ttaaaaggag agggtaaaga gtgaaaacag tagttattat tg 42 <210> 85 <211> 45 <212> DNA <213> Artificial Sequence <220> <223> PCR Primer <400> 85 cggggccaag gccggttttt tttagtttcg ataagaacga acggt 45 <210> 86 <211> 7999 <212> DNA <213> Artificial Sequence <220> <223> Synthetic Construct <400> 86 gtttgacagc ttatcatcga ctgcacggtg caccaatgct tctggcgtca ggcagccatc 60 ggaagctgtg gtatggctgt gcaggtcgta aatcactgca taattcgtgt cgctcaaggc 120 gcactcccgt tctggataat gttttttgcg ccgacatcat aacggttctg gcaaatattc 180 tgaaatgagc tgttgacaat taatcatccg gctcgtataa tgtgtggaat tgtgagcgga 240 taacaatttc acacaggaaa cagcgccgct gagaaaaagc gaagcggcac tgctctttaa 300 caatttatca gacaatctgt gtgggcactc gaccggaatt atcgattaac tttattatta 360 aaaattaaag aggtatatat taatgtatcg attaaataag gaggaataaa ccatggatcc 420 gagctcagga ggtaaaaaaa catgaaaaca gtagttatta ttgatgcatt acgaacacca 480 attggaaaat ataaaggcag cttaagtcaa gtaagtgccg tagacttagg aacacatgtt 540 acaacacaac ttttaaaaag acattccact atttctgaag aaattgatca agtaatcttt 600 ggaaatgttt tacaagctgg aaatggccaa aatcccgcac gacaaatagc aataaacagc 660 ggtttgtctc atgaaattcc cgcaatgacg gttaatgagg tctgcggatc aggaatgaag 720 gccgttattt tggcgaaaca attgattcaa ttaggagaag cggaagtttt aattgctggc 780 gggattgaga atatgtccca agcacctaaa ttacaacgtt ttaattacga aacagaaagc 840 tacgatgcgc ctttttctag tatgatgtat gatggattaa cggatgcctt tagtggtcag 900 gcaatgggct taactgctga aaatgtggcc gaaaagtatc atgtaactag agaagagcaa 960 gatcaatttt ctgtacattc acaattaaaa gcagctcaag cacaagcaga agggatattc 1020 gctgacgaaa tagccccatt agaagtatca ggaacgcttg tggagaaaga tgaagggatt 1080 cgccctaatt cgagcgttga gaagctagga acgcttaaaa cagtttttaa agaagacggt 1140 actgtaacag cagggaatgc atcaaccatt aatgatgggg cttctgcttt gattattgct 1200 tcacaagaat atgccgaagc acacggtctt ccttatttag ctattattcg agacagtgtg 1260 gaagtcggta ttgatccagc ctatatggga atttcgccga ttaaagccat tcaaaaactg 1320 ttagcgcgca atcaacttac tacggaagaa attgatctgt atgaaatcaa cgaagcattt 1380 gcagcaactt caatcgtggt ccaaagagaa ctggctttac cagaggaaaa ggtcaacatt 1440 tatggtggcg gtatttcatt aggtcatgcg attggtgcca caggtgctcg tttattaacg 1500 agtttaagtt atcaattaaa tcaaaaagaa aagaaatatg gagtggcttc tttatgtatc 1560 ggcggtggct taggactcgc tatgctacta gagagacctc agcaaaaaaa aaacagccga 1620 ttttatcaaa tgagtcctga ggaacgcctg gcttctcttc ttaatgaagg ccagatttct 1680 gctgatacaa aaaaagaatt tgaaaatacg gctttatctt cgcagattgc caatcatatg 1740 attgaaaatc aaatcagtga aacagaagtg ccgatgggcg ttggcttaca tttaacagtg 1800 gacgaaactg attatttggt accaatggcg acagaagagc cctcagttat tgcggctttg 1860 agtaatggtg caaaaatagc acaaggattt aaaacagtga atcaacaacg cttaatgcgt 1920 ggacaaatcg ttttttacga tgttgcagat cccgagtcat tgattgataa actacaagta 1980 agagaagcgg aagtttttca acaagcagag ttaagttatc catctatcgt taaacggggc 2040 ggcggcttaa gagatttgca atatcgtact tttgatgaat catttgtatc tgtcgacttt 2100 ttagtagatg ttaaggatgc aatgggggca aatatcgtta acgctatgtt ggaaggtgtg 2160 gccgagttgt tccgtgaatg gtttgcggag caaaagattt tattcagtat tttaagtaat 2220 tatgccacgg agtcggttgt tacgatgaaa acggctattc cagtttcacg tttaagtaag 2280 gggagcaatg gccgggaaat tgctgaaaaa attgttttag cttcacgcta tgcttcatta 2340 gatccttatc gggcagtcac gcataacaaa ggaatcatga atggcattga agctgtagtt 2400 ttagctacag gaaatgatac acgcgctgtt agcgcttctt gtcatgcttt tgcggtgaag 2460 gaaggtcgct accaaggctt gactagttgg acgctggatg gcgaacaact aattggtgaa 2520 atttcagttc cgcttgcttt agccacggtt ggcggtgcca caaaagtctt acctaaatct 2580 caagcagctg ctgatttgtt agcagtgacg gatgcaaaag aactaagtcg agtagtagcg 2640 gctgttggtt tggcacaaaa tttagcggcg ttacgggcct tagtctctga aggaattcaa 2700 aaaggacaca tggctctaca agcacgttct ttagcgatga cggtcggagc tactggtaaa 2760 gaagttgagg cagtcgctca acaattaaaa cgtcaaaaaa cgatgaacca agaccgagcc 2820 atggctattt taaatgattt aagaaaacaa taaaggaggt aaaaaaacat gacaattggg 2880 attgataaaa ttagtttttt tgtgccccct tattatattg atatgacggc actggctgaa 2940 gccagaaatg tagaccctgg aaaatttcat attggtattg ggcaagacca aatggcggtg 3000 aacccaatca gccaagatat tgtgacattt gcagccaatg ccgcagaagc gatcttgacc 3060 aaagaagata aagaggccat tgatatggtg attgtcggga ctgagtccag tatcgatgag 3120 tcaaaagcgg ccgcagttgt cttacatcgt ttaatgggga ttcaaccttt cgctcgctct 3180 ttcgaaatca aggaagcttg ttacggagca acagcaggct tacagttagc taagaatcac 3240 gtagccttac atccagataa aaaagtcttg gtcgtagcgg cagatattgc aaaatatggc 3300 ttaaattctg gcggtgagcc tacacaagga gctggggcgg ttgcaatgtt agttgctagt 3360 gaaccgcgca ttttggcttt aaaagaggat aatgtgatgc tgacgcaaga tatctatgac 3420 ttttggcgtc caacaggcca cccgtatcct atggtcgatg gtcctttgtc aaacgaaacc 3480 tacatccaat cttttgccca agtctgggat gaacataaaa aacgaaccgg tcttgatttt 3540 gcagattatg atgctttagc gttccatatt ccttacacaa aaatgggcaa aaaagcctta 3600 ttagcaaaaa tctccgacca aactgaagca gaacaggaac gaattttagc ccgttatgaa 3660 gaaagtatcg tctatagtcg tcgcgtagga aacttgtata cgggttcact ttatctggga 3720 ctcatttccc ttttagaaaa tgcaacgact ttaaccgcag gcaatcaaat tggtttattc 3780 agttatggtt ctggtgctgt cgctgaattt ttcactggtg aattagtagc tggttatcaa 3840 aatcatttac aaaaagaaac tcatttagca ctgctggata atcggacaga actttctatc 3900 gctgaatatg aagccatgtt tgcagaaact ttagacacag acattgatca aacgttagaa 3960 gatgaattaa aatatagtat ttctgctatt aataataccg ttcgttctta tcgaaactaa 4020 gagatctgca gctggtacca tatgggaatt cgaagcttgg gcccgaacaa aaactcatct 4080 cagaagagga tctgaatagc gccgtcgacc atcatcatca tcatcattga gtttaaacgg 4140 tctccagctt ggctgttttg gcggatgaga gaagattttc agcctgatac agattaaatc 4200 agaacgcaga agcggtctga taaaacagaa tttgcctggc ggcagtagcg cggtggtccc 4260 acctgacccc atgccgaact cagaagtgaa acgccgtagc gccgatggta gtgtggggtc 4320 tccccatgcg agagtaggga actgccaggc atcaaataaa acgaaaggct cagtcgaaag 4380 actgggcctt tcgttttatc tgttgtttgt cggtgaacgc tctcctgagt aggacaaatc 4440 cgccgggagc ggatttgaac gttgcgaagc aacggcccgg agggtggcgg gcaggacgcc 4500 cgccataaac tgccaggcat caaattaagc agaaggccat cctgacggat ggcctttttg 4560 cgtttctaca aactcttttt gtttattttt ctaaatacat tcaaatatgt atccgctcat 4620 gagacaataa ccctgataaa tgcttcaata atattgaaaa aggaagagta tgagtattca 4680 acatttccgt gtcgccctta ttcccttttt tgcggcattt tgccttcctg tttttgctca 4740 cccagaaacg ctggtgaaag taaaagatgc tgaagatcag ttgggtgcac gagtgggtta 4800 catcgaactg gatctcaaca gcggtaagat ccttgagagt tttcgccccg aagaacgttt 4860 tccaatgatg agcactttta aagttctgct atgtggcgcg gtattatccc gtgttgacgc 4920 cgggcaagag caactcggtc gccgcataca ctattctcag aatgacttgg ttgagtactc 4980 accagtcaca gaaaagcatc ttacggatgg catgacagta agagaattat gcagtgctgc 5040 cataaccatg agtgataaca ctgcggccaa cttacttctg acaacgatcg gaggaccgaa 5100 ggagctaacc gcttttttgc acaacatggg ggatcatgta actcgccttg atcgttggga 5160 accggagctg aatgaagcca taccaaacga cgagcgtgac accacgatgc ctgtagcaat 5220 ggcaacaacg ttgcgcaaac tattaactgg cgaactactt actctagctt cccggcaaca 5280 attaatagac tggatggagg cggataaagt tgcaggacca cttctgcgct cggcccttcc 5340 ggctggctgg tttattgctg ataaatctgg agccggtgag cgtgggtctc gcggtatcat 5400 tgcagcactg gggccagatg gtaagccctc ccgtatcgta gttatctaca cgacggggag 5460 tcaggcaact atggatgaac gaaatagaca gatcgctgag ataggtgcct cactgattaa 5520 gcattggtaa ctgtcagacc aagtttactc atatatactt tagattgatt taaaacttca 5580 tttttaattt aaaaggatct aggtgaagat cctttttgat aatctcatga ccaaaatccc 5640 ttaacgtgag ttttcgttcc actgagcgtc agaccccgta gaaaagatca aaggatcttc 5700 ttgagatcct ttttttctgc gcgtaatctg ctgcttgcaa acaaaaaaac caccgctacc 5760 agcggtggtt tgtttgccgg atcaagagct accaactctt tttccgaagg taactggctt 5820 cagcagagcg cagataccaa atactgtcct tctagtgtag ccgtagttag gccaccactt 5880 caagaactct gtagcaccgc ctacatacct cgctctgcta atcctgttac cagtggctgc 5940 tgccagtggc gataagtcgt gtcttaccgg gttggactca agacgatagt taccggataa 6000 ggcgcagcgg tcgggctgaa cggggggttc gtgcacacag cccagcttgg agcgaacgac 6060 ctacaccgaa ctgagatacc tacagcgtga gctatgagaa agcgccacgc ttcccgaagg 6120 gagaaaggcg gacaggtatc cggtaagcgg cagggtcgga acaggagagc gcacgaggga 6180 gcttccaggg ggaaacgcct ggtatcttta tagtcctgtc gggtttcgcc acctctgact 6240 tgagcgtcga tttttgtgat gctcgtcagg ggggcggagc ctatggaaaa acgccagcaa 6300 cgcggccttt ttacggttcc tggccttttg ctggcctttt gctcacatgt tctttcctgc 6360 gttatcccct gattctgtgg ataaccgtat taccgccttt gagtgagctg ataccgctcg 6420 ccgcagccga acgaccgagc gcagcgagtc agtgagcgag gaagcggaag agcgcctgat 6480 gcggtatttt ctccttacgc atctgtgcgg tatttcacac cgcatatggt gcactctcag 6540 tacaatctgc tctgatgccg catagttaag ccagtataca ctccgctatc gctacgtgac 6600 tgggtcatgg ctgcgccccg acacccgcca acacccgctg acgcgccctg acgggcttgt 6660 ctgctcccgg catccgctta cagacaagct gtgaccgtct ccgggagctg catgtgtcag 6720 aggttttcac cgtcatcacc gaaacgcgcg aggcagcaga tcaattcgcg cgcgaaggcg 6780 aagcggcatg catttacgtt gacaccatcg aatggtgcaa aacctttcgc ggtatggcat 6840 gatagcgccc ggaagagagt caattcaggg tggtgaatgt gaaaccagta acgttatacg 6900 atgtcgcaga gtatgccggt gtctcttatc agaccgtttc ccgcgtggtg aaccaggcca 6960 gccacgtttc tgcgaaaacg cgggaaaaag tggaagcggc gatggcggag ctgaattaca 7020 ttcccaaccg cgtggcacaa caactggcgg gcaaacagtc gttgctgatt ggcgttgcca 7080 cctccagtct ggccctgcac gcgccgtcgc aaattgtcgc ggcgattaaa tctcgcgccg 7140 atcaactggg tgccagcgtg gtggtgtcga tggtagaacg aagcggcgtc gaagcctgta 7200 aagcggcggt gcacaatctt ctcgcgcaac gcgtcagtgg gctgatcatt aactatccgc 7260 tggatgacca ggatgccatt gctgtggaag ctgcctgcac taatgttccg gcgttatttc 7320 ttgatgtctc tgaccagaca cccatcaaca gtattatttt ctcccatgaa gacggtacgc 7380 gactgggcgt ggagcatctg gtcgcattgg gtcaccagca aatcgcgctg ttagcgggcc 7440 cattaagttc tgtctcggcg cgtctgcgtc tggctggctg gcataaatat ctcactcgca 7500 atcaaattca gccgatagcg gaacgggaag gcgactggag tgccatgtcc ggttttcaac 7560 aaaccatgca aatgctgaat gagggcatcg tcccactgcg atgctggttg ccaacgatca 7620 gatggcgctg ggcgcaatgc gcgccattac cgagtccggg ctgcgcgttg gtgcggatat 7680 ctcggtagtg ggatacgacg ataccgaaga cagctcatgt tatatcccgc cgtcaaccac 7740 catcaaacag gattttcgcc tgctggggca aaccagcgtg gaccgcttgc tgcaactctc 7800 tcagggccag gcggtgaagg gcaatcagct gttgcccgtc tcactggtga aaagaaaaac 7860 caccctggcg cccaatacgc aaaccgcctc tccccgcgcg ttggccgatt cattaatgca 7920 gctggcacga caggtttccc gactggaaag cgggcagtga gcgcaacgca attaatgtga 7980 gttagcgcga attgatctg 7999 <210> 87 <211> 10433 <212> DNA <213> Artificial Sequence <220> <223> Synthetic Construct <400> 87 cccgtcttac tgtcgggaat tcgcgttggc cgattcatta atgcagattc tgaaatgagc 60 tgttgacaat taatcatccg gctcgtataa tgtgtggaat tgtgagcgga taacaatttc 120 acacaggaaa cagcgccgct gagaaaaagc gaagcggcac tgctctttaa caatttatca 180 gacaatctgt gtgggcactc gaccggaatt atcgattaac tttattatta aaaattaaag 240 aggtatatat taatgtatcg attaaataag gaggaataaa ccatggatcc gagctcagga 300 ggtaaaaaaa catgaaaaca gtagttatta ttgatgcatt acgaacacca attggaaaat 360 ataaaggcag cttaagtcaa gtaagtgccg tagacttagg aacacatgtt acaacacaac 420 ttttaaaaag acattccact atttctgaag aaattgatca agtaatcttt ggaaatgttt 480 tacaagctgg aaatggccaa aatcccgcac gacaaatagc aataaacagc ggtttgtctc 540 atgaaattcc cgcaatgacg gttaatgagg tctgcggatc aggaatgaag gccgttattt 600 tggcgaaaca attgattcaa ttaggagaag cggaagtttt aattgctggc gggattgaga 660 atatgtccca agcacctaaa ttacaacgtt ttaattacga aacagaaagc tacgatgcgc 720 ctttttctag tatgatgtat gatggattaa cggatgcctt tagtggtcag gcaatgggct 780 taactgctga aaatgtggcc gaaaagtatc atgtaactag agaagagcaa gatcaatttt 840 ctgtacattc acaattaaaa gcagctcaag cacaagcaga agggatattc gctgacgaaa 900 tagccccatt agaagtatca ggaacgcttg tggagaaaga tgaagggatt cgccctaatt 960 cgagcgttga gaagctagga acgcttaaaa cagtttttaa agaagacggt actgtaacag 1020 cagggaatgc atcaaccatt aatgatgggg cttctgcttt gattattgct tcacaagaat 1080 atgccgaagc acacggtctt ccttatttag ctattattcg agacagtgtg gaagtcggta 1140 ttgatccagc ctatatggga atttcgccga ttaaagccat tcaaaaactg ttagcgcgca 1200 atcaacttac tacggaagaa attgatctgt atgaaatcaa cgaagcattt gcagcaactt 1260 caatcgtggt ccaaagagaa ctggctttac cagaggaaaa ggtcaacatt tatggtggcg 1320 gtatttcatt aggtcatgcg attggtgcca caggtgctcg tttattaacg agtttaagtt 1380 atcaattaaa tcaaaaagaa aagaaatatg gagtggcttc tttatgtatc ggcggtggct 1440 taggactcgc tatgctacta gagagacctc agcaaaaaaa aaacagccga ttttatcaaa 1500 tgagtcctga ggaacgcctg gcttctcttc ttaatgaagg ccagatttct gctgatacaa 1560 aaaaagaatt tgaaaatacg gctttatctt cgcagattgc caatcatatg attgaaaatc 1620 aaatcagtga aacagaagtg ccgatgggcg ttggcttaca tttaacagtg gacgaaactg 1680 attatttggt accaatggcg acagaagagc cctcagttat tgcggctttg agtaatggtg 1740 caaaaatagc acaaggattt aaaacagtga atcaacaacg cttaatgcgt ggacaaatcg 1800 ttttttacga tgttgcagat cccgagtcat tgattgataa actacaagta agagaagcgg 1860 aagtttttca acaagcagag ttaagttatc catctatcgt taaacggggc ggcggcttaa 1920 gagatttgca atatcgtact tttgatgaat catttgtatc tgtcgacttt ttagtagatg 1980 ttaaggatgc aatgggggca aatatcgtta acgctatgtt ggaaggtgtg gccgagttgt 2040 tccgtgaatg gtttgcggag caaaagattt tattcagtat tttaagtaat tatgccacgg 2100 agtcggttgt tacgatgaaa acggctattc cagtttcacg tttaagtaag gggagcaatg 2160 gccgggaaat tgctgaaaaa attgttttag cttcacgcta tgcttcatta gatccttatc 2220 gggcagtcac gcataacaaa ggaatcatga atggcattga agctgtagtt ttagctacag 2280 gaaatgatac acgcgctgtt agcgcttctt gtcatgcttt tgcggtgaag gaaggtcgct 2340 accaaggctt gactagttgg acgctggatg gcgaacaact aattggtgaa atttcagttc 2400 cgcttgcttt agccacggtt ggcggtgcca caaaagtctt acctaaatct caagcagctg 2460 ctgatttgtt agcagtgacg gatgcaaaag aactaagtcg agtagtagcg gctgttggtt 2520 tggcacaaaa tttagcggcg ttacgggcct tagtctctga aggaattcaa aaaggacaca 2580 tggctctaca agcacgttct ttagcgatga cggtcggagc tactggtaaa gaagttgagg 2640 cagtcgctca acaattaaaa cgtcaaaaaa cgatgaacca agaccgagcc atggctattt 2700 taaatgattt aagaaaacaa taaaggaggt aaaaaaacat gacaattggg attgataaaa 2760 ttagtttttt tgtgccccct tattatattg atatgacggc actggctgaa gccagaaatg 2820 tagaccctgg aaaatttcat attggtattg ggcaagacca aatggcggtg aacccaatca 2880 gccaagatat tgtgacattt gcagccaatg ccgcagaagc gatcttgacc aaagaagata 2940 aagaggccat tgatatggtg attgtcggga ctgagtccag tatcgatgag tcaaaagcgg 3000 ccgcagttgt cttacatcgt ttaatgggga ttcaaccttt cgctcgctct ttcgaaatca 3060 aggaagcttg ttacggagca acagcaggct tacagttagc taagaatcac gtagccttac 3120 atccagataa aaaagtcttg gtcgtagcgg cagatattgc aaaatatggc ttaaattctg 3180 gcggtgagcc tacacaagga gctggggcgg ttgcaatgtt agttgctagt gaaccgcgca 3240 ttttggcttt aaaagaggat aatgtgatgc tgacgcaaga tatctatgac ttttggcgtc 3300 caacaggcca cccgtatcct atggtcgatg gtcctttgtc aaacgaaacc tacatccaat 3360 cttttgccca agtctgggat gaacataaaa aacgaaccgg tcttgatttt gcagattatg 3420 atgctttagc gttccatatt ccttacacaa aaatgggcaa aaaagcctta ttagcaaaaa 3480 tctccgacca aactgaagca gaacaggaac gaattttagc ccgttatgaa gaaagtatcg 3540 tctatagtcg tcgcgtagga aacttgtata cgggttcact ttatctggga ctcatttccc 3600 ttttagaaaa tgcaacgact ttaaccgcag gcaatcaaat tggtttattc agttatggtt 3660 ctggtgctgt cgctgaattt ttcactggtg aattagtagc tggttatcaa aatcatttac 3720 aaaaagaaac tcatttagca ctgctggata atcggacaga actttctatc gctgaatatg 3780 aagccatgtt tgcagaaact ttagacacag acattgatca aacgttagaa gatgaattaa 3840 aatatagtat ttctgctatt aataataccg ttcgttctta tcgaaactaa agatctgcat 3900 cctgcattcg cccttaggag gtaaaaaaac atgtgtgcga cctcttctca atttactcag 3960 attaccgagc ataattcccg tcgttccgca aactatcagc caaacctgtg gaatttcgaa 4020 ttcctgcaat ccctggagaa cgacctgaaa gtggaaaagc tggaggagaa agcgaccaaa 4080 ctggaggaag aagttcgctg catgatcaac cgtgtagaca cccagccgct gtccctgctg 4140 gagctgatcg acgatgtgca gcgcctgggt ctgacctaca aatttgaaaa agacatcatt 4200 aaagccctgg aaaacatcgt actgctggac gaaaacaaaa agaacaaatc tgacctgcac 4260 gcaaccgctc tgtctttccg tctgctgcgt cagcacggtt tcgaggtttc tcaggatgtt 4320 tttgagcgtt tcaaggataa agaaggtggt ttcagcggtg aactgaaagg tgacgtccaa 4380 ggcctgctga gcctgtatga agcgtcttac ctgggtttcg agggtgagaa cctgctggag 4440 gaggcgcgta ccttttccat cacccacctg aagaacaacc tgaaagaagg cattaatacc 4500 aaggttgcag aacaagtgag ccacgccctg gaactgccat atcaccagcg tctgcaccgt 4560 ctggaggcac gttggttcct ggataaatac gaaccgaaag aaccgcatca ccagctgctg 4620 ctggagctgg cgaagctgga ttttaacatg gtacagaccc tgcaccagaa agagctgcaa 4680 gatctgtccc gctggtggac cgagatgggc ctggctagca aactggattt tgtacgcgac 4740 cgcctgatgg aagtttattt ctgggcactg ggtatggcgc cagacccgca gtttggtgaa 4800 tgtcgcaaag ctgttactaa aatgtttggt ctggtgacga tcatcgatga cgtgtatgac 4860 gtttatggca ctctggacga actgcaactg ttcaccgatg ctgtagagcg ctgggacgtt 4920 aacgctatta acaccctgcc ggactatatg aaactgtgtt tcctggcact gtacaacacc 4980 gttaacgaca cgtcctattc tattctgaaa gagaaaggtc ataacaacct gtcctatctg 5040 acgaaaagct ggcgtgaact gtgcaaagcc tttctgcaag aggcgaaatg gtccaacaac 5100 aaaattatcc cggctttctc caagtacctg gaaaacgcca gcgtttcctc ctccggtgta 5160 gcgctgctgg cgccgtctta cttttccgta tgccagcagc aggaagacat ctccgaccac 5220 gcgctgcgtt ccctgaccga cttccatggt ctggtgcgtt ctagctgcgt tatcttccgc 5280 ctgtgcaacg atctggccac ctctgcggcg gagctggaac gtggcgagac taccaattct 5340 atcattagct acatgcacga aaacgatggt accagcgagg aacaggcccg cgaagaactg 5400 cgtaaactga tcgacgccga atggaaaaag atgaatcgtg aacgcgttag cgactccacc 5460 ctgctgccta aagcgttcat ggaaatcgca gttaacatgg cacgtgtttc ccactgcacc 5520 taccagtatg gcgatggtct gggtcgccca gactacgcga ctgaaaaccg catcaaactg 5580 ctgctgattg accctttccc gattaaccag ctgatgtatg tctaactgca gctggtacca 5640 tatgggaatt cgaagcttgg gcccgaacaa aaactcatct cagaagagga tctgaatagc 5700 gccgtcgacc atcatcatca tcatcattga gtttaaacgg tctccagctt ggctgttttg 5760 gcggatgaga gaagattttc agcctgatac agattaaatc agaacgcaga agcggtctga 5820 taaaacagaa tttgcctggc ggcagtagcg cggtggtccc acctgacccc atgccgaact 5880 cagaagtgaa acgccgtagc gccgatggta gtgtggggtc tccccatgcg agagtaggga 5940 actgccaggc atcaaataaa acgaaaggct cagtcgaaag actgggcctt tcgttttatc 6000 tgttgtttgt cggtgaacgc tctcctgagt aggacaaatc cgccgggagc ggatttgaac 6060 gttgcgaagc aacggcccgg agggtggcgg gcaggacgcc cgccataaac tgccaggcat 6120 caaattaagc agaaggccat cctgacggat ggcctttttg cgtttctaca aactcttttt 6180 gtttattttt ctaaatacat tcaaatatgt atccgctcat gagacaataa ccctgataaa 6240 tgcttcaata atctggcgta atagcgaaga ggcccgcacc gatcgccctt cccaacagtt 6300 gcgcagcctg aatggcgaat ggcgcctgat gcggtatttt ctccttacgc atctgtgcgg 6360 tatttcacac cgcatatggt gcactctcag tacaatctgc tctgatgccg catagttaag 6420 ccagccccga cacccgccaa cacccgctga cgagcttagt aaagccctcg ctagatttta 6480 atgcggatgt tgcgattact tcgccaacta ttgcgataac aagaaaaagc cagcctttca 6540 tgatatatct cccaatttgt gtagggctta ttatgcacgc ttaaaaataa taaaagcaga 6600 cttgacctga tagtttggct gtgagcaatt atgtgcttag tgcatctaac gcttgagtta 6660 agccgcgccg cgaagcggcg tcggcttgaa cgaattgtta gacattattt gccgactacc 6720 ttggtgatct cgcctttcac gtagtggaca aattcttcca actgatctgc gcgcgaggcc 6780 aagcgatctt cttcttgtcc aagataagcc tgtctagctt caagtatgac gggctgatac 6840 tgggccggca ggcgctccat tgcccagtcg gcagcgacat ccttcggcgc gattttgccg 6900 gttactgcgc tgtaccaaat gcgggacaac gtaagcacta catttcgctc atcgccagcc 6960 cagtcgggcg gcgagttcca tagcgttaag gtttcattta gcgcctcaaa tagatcctgt 7020 tcaggaaccg gatcaaagag ttcctccgcc gctggaccta ccaaggcaac gctatgttct 7080 cttgcttttg tcagcaagat agccagatca atgtcgatcg tggctggctc gaagatacct 7140 gcaagaatgt cattgcgctg ccattctcca aattgcagtt cgcgcttagc tggataacgc 7200 cacggaatga tgtcgtcgtg cacaacaatg gtgacttcta cagcgcggag aatctcgctc 7260 tctccagggg aagccgaagt ttccaaaagg tcgttgatca aagctcgccg cgttgtttca 7320 tcaagcctta cggtcaccgt aaccagcaaa tcaatatcac tgtgtggctt caggccgcca 7380 tccactgcgg agccgtacaa atgtacggcc agcaacgtcg gttcgagatg gcgctcgatg 7440 acgccaacta cctctgatag ttgagtcgat acttcggcga tcaccgcttc cctcatgatg 7500 tttaactttg ttttagggcg actgccctgc tgcgtaacat cgttgctgct ccataacatc 7560 aaacatcgac ccacggcgta acgcgcttgc tgcttggatg cccgaggcat agactgtacc 7620 ccaaaaaaac agtcataaca agccatgaaa accgccactg cgccgttacc accgctgcgt 7680 tcggtcaagg ttctggacca gttgcgtgag cgcatacgct acttgcatta cagcttacga 7740 accgaacagg cttatgtcca ctgggttcgt gccttcatcc gtttccacgg tgtgcgtcac 7800 ccggcaacct tgggcagcag cgaagtcgag gcatttctgt cctggctggc gaacgagcgc 7860 aaggtttcgg tctccacgca tcgtcaggca ttggcggcct tgctgttctt ctacggcaag 7920 gtgctgtgca cggatctgcc ctggcttcag gagatcggaa gacctcggcc gtcgcggcgc 7980 ttgccggtgg tgctgacccc ggatgaagtg gttcgcatcc tcggttttct ggaaggcgag 8040 catcgtttgt tcgcccagct tctgtatgga acgggcatgc ggatcagtga gggtttgcaa 8100 ctgcgggtca aggatctgga tttcgatcac ggcacgatca tcgtgcggga gggcaagggc 8160 tccaaggatc gggccttgat gttacccgag agcttggcac ccagcctgcg cgagcagggg 8220 aattaattcc cacgggtttt gctgcccgca aacgggctgt tctggtgttg ctagtttgtt 8280 atcagaatcg cagatccggc ttcagccggt ttgccggctg aaagcgctat ttcttccaga 8340 attgccatga ttttttcccc acgggaggcg tcactggctc ccgtgttgtc ggcagctttg 8400 attcgataag cagcatcgcc tgtttcaggc tgtctatgtg tgactgttga gctgtaacaa 8460 gttgtctcag gtgttcaatt tcatgttcta gttgctttgt tttactggtt tcacctgttc 8520 tattaggtgt tacatgctgt tcatctgtta cattgtcgat ctgttcatgg tgaacagctt 8580 tgaatgcacc aaaaactcgt aaaagctctg atgtatctat cttttttaca ccgttttcat 8640 ctgtgcatat ggacagtttt ccctttgata tgtaacggtg aacagttgtt ctacttttgt 8700 ttgttagtct tgatgcttca ctgatagata caagagccat aagaacctca gatccttccg 8760 tatttagcca gtatgttctc tagtgtggtt cgttgttttt gcgtgagcca tgagaacgaa 8820 ccattgagat catacttact ttgcatgtca ctcaaaaatt ttgcctcaaa actggtgagc 8880 tgaatttttg cagttaaagc atcgtgtagt gtttttctta gtccgttatg taggtaggaa 8940 tctgatgtaa tggttgttgg tattttgtca ccattcattt ttatctggtt gttctcaagt 9000 tcggttacga gatccatttg tctatctagt tcaacttgga aaatcaacgt atcagtcggg 9060 cggcctcgct tatcaaccac caatttcata ttgctgtaag tgtttaaatc tttacttatt 9120 ggtttcaaaa cccattggtt aagcctttta aactcatggt agttattttc aagcattaac 9180 atgaacttaa attcatcaag gctaatctct atatttgcct tgtgagtttt cttttgtgtt 9240 agttctttta ataaccactc ataaatcctc atagagtatt tgttttcaaa agacttaaca 9300 tgttccagat tatattttat gaattttttt aactggaaaa gataaggcaa tatctcttca 9360 ctaaaaacta attctaattt ttcgcttgag aacttggcat agtttgtcca ctggaaaatc 9420 tcaaagcctt taaccaaagg attcctgatt tccacagttc tcgtcatcag ctctctggtt 9480 gctttagcta atacaccata agcattttcc ctactgatgt tcatcatctg agcgtattgg 9540 ttataagtga acgataccgt ccgttctttc cttgtagggt tttcaatcgt ggggttgagt 9600 agtgccacac agcataaaat tagcttggtt tcatgctccg ttaagtcata gcgactaatc 9660 gctagttcat ttgctttgaa aacaactaat tcagacatac atctcaattg gtctaggtga 9720 ttttaatcac tataccaatt gagatgggct agtcaatgat aattactagt ccttttcctt 9780 tgagttgtgg gtatctgtaa attctgctag acctttgctg gaaaacttgt aaattctgct 9840 agaccctctg taaattccgc tagacctttg tgtgtttttt ttgtttatat tcaagtggtt 9900 ataatttata gaataaagaa agaataaaaa aagataaaaa gaatagatcc cagccctgtg 9960 tataactcac tactttagtc agttccgcag tattacaaaa ggatgtcgca aacgctgttt 10020 gctcctctac aaaacagacc ttaaaaccct aaaggcttaa gtagcaccct cgcaagctcg 10080 ggcaaatcgc tgaatattcc ttttgtctcc gaccatcagg cacctgagtc gctgtctttt 10140 tcgtgacatt cagttcgctg cgctcacggc tctggcagtg aatgggggta aatggcacta 10200 caggcgcctt ttatggattc atgcaaggaa actacccata atacaagaaa agcccgtcac 10260 gggcttctca gggcgtttta tggcgggtct gctatgtggt gctatctgac tttttgctgt 10320 tcagcagttc ctgccctctg attttccagt ctgaccactt cggattatcc cgtgacaggt 10380 cattcagact ggctaatgca cccagtaagg cagcggtatc atcaacaggc tta 10433 <210> 88 <211> 31 <212> DNA <213> Artificial Sequence <220> <223> Synthetic Construct <400> 88 cttgatgcat cctgcattcg cccttaggag g 31 <210> 89 <211> 23 <212> DNA <213> Artificial Sequence <220> <223> PCR Primer <400> 89 ccaggcaaat tctgttttat cag 23 <210> 90 <211> 10356 <212> DNA <213> Artificial Sequence <220> <223> Synthetic Construct <400> 90 caagaaaaat gccccgctta cgcagggcat ccatttatta ctcaaccgta accgattttg 60 ccaggttacg cggctggtca acgtcggtgc ctttgatcag cgcgacatgg taagccagca 120 gctgcagcgg aacggtgtag aagatcggtg caatcacctc ttccacatgc ggcatctcga 180 tgatgtgcat gttatcgcta cttacaaaac ccgcatcctg atcggcgaag acatacaact 240 gaccgccacg cgcgcgaact tcttcaatgt tggatttcag tttttccagc aattcgttgt 300 tcggtgcaac aacaataacc ggcatatcgg catcaattag cgccagcgga ccgtgtttca 360 gttcgccagc agcgtaggct tcagcgtgaa tgtaagagat ctctttcaac ttcaatgcgc 420 cttccagcgc gattgggtac tgatcgccac ggcccaggaa cagcgcgtga tgtttgtcag 480 agaaatcttc tgccagcgct tcaatgcgtt tgtcctgaga cagcatctgc tcaatacggc 540 tcggcagcgc ctgcagacca tgcacgatgt catgttcaat ggaggcatcc agacctttca 600 ggcgagacag cttcgccacc agcatcaaca gcacagttaa ctgagtggtg aatgctttag 660 tggatgccac gccgatttct gtacccgcgt tggtcattag cgccagatcg gattcgcgca 720 ccagagaaga acccggaacg ttacagattg ccagtgaacc aaggtaaccc agctctttcg 780 acagacgcag gccagccagg gtatccgcgg tttcgccaga ctgtgacacg atcgcccttc 840 ccaacagttg cgcagcctat acgtacggca gtttaaggtt tacacctata aaagagagag 900 ccgttatcgt ctgtttgtgg atgtacagag tgatattatt gacacgccgg ggcgacggat 960 ggtgatcccc ctggccagtg cacgtctgct gtcagataaa gtctcccgtg aactttaccc 1020 ggtggtgcat atcggggatg aaagctggcg catgatgacc accgatatgg ccagtgtgcc 1080 ggtctccgtt atcggggaag aagtggctga tctcagccac cgcgaaaatg acatcaaaaa 1140 cgccattaac ctgatgttct ggggaatata aatgtcaggc atgagattat caaaaaggat 1200 cttcacctag atccttttca cgtagaaagc cagtccgcag aaacggtgct gaccccggat 1260 gaatgtcagc tactgggcta tctggacaag ggaaaacgca agcgcaaaga gaaagcaggt 1320 agcttgcagt gggcttacat ggcgatagct agactgggcg gttttatgga cagcaagcga 1380 accggaattg ccagctgggg cgccctctgg taaggttggg aagccctgca aagtaaactg 1440 gatggctttc tcgccgccaa ggatctgatg gcgcagggga tcaagctctg atcaagagac 1500 aggatgagga tcgtttcgca tgattgaaca agatggattg cacgcaggtt ctccggccgc 1560 ttgggtggag aggctattcg gctatgactg ggcacaacag acaatcggct gctctgatgc 1620 cgccgtgttc cggctgtcag cgcaggggcg cccggttctt tttgtcaaga ccgacctgtc 1680 cggtgccctg aatgaactgc aagacgaggc agcgcggcta tcgtggctgg ccacgacggg 1740 cgttccttgc gcagctgtgc tcgacgttgt cactgaagcg ggaagggact ggctgctatt 1800 gggcgaagtg ccggggcagg atctcctgtc atctcacctt gctcctgccg agaaagtatc 1860 catcatggct gatgcaatgc ggcggctgca tacgcttgat ccggctacct gcccattcga 1920 ccaccaagcg aaacatcgca tcgagcgagc acgtactcgg atggaagccg gtcttgtcga 1980 tcaggatgat ctggacgaag agcatcaggg gctcgcgcca gccgaactgt tcgccaggct 2040 caaggcgagc atgcccgacg gcgaggatct cgtcgtgacc catggcgatg cctgcttgcc 2100 gaatatcatg gtggaaaatg gccgcttttc tggattcatc gactgtggcc ggctgggtgt 2160 ggcggaccgc tatcaggaca tagcgttggc tacccgtgat attgctgaag agcttggcgg 2220 cgaatgggct gaccgcttcc tcgtgcttta cggtatcgcc gctcccgatt cgcagcgcat 2280 cgccttctat cgccttcttg acgagttctt ctgaattatt aacgcttaca atttcctgat 2340 gcggtatttt ctccttacgc atctgtgcgg tatttcacac cgcatacagg tggcactttt 2400 cggggaaatg tgcgcggaac ccctatttgt ttatttttct aaatacattc aaatatgtat 2460 ccgctcatga gacaataacc ctgataaatg cttcaataat agcacgtgag gagggccacc 2520 atggccaagt tgaccagtgc cgttccggtg ctcaccgcgc gcgacgtcgc cggagcggtc 2580 gagttctgga ccgaccggct cgggttctcc cctagtaacg gccgccagtg tgctggaatt 2640 caggcagttc aacctgttga tagtacgtac taagctctca tgtttcacgt actaagctct 2700 catgtttaac gtactaagct ctcatgttta acgaactaaa ccctcatggc taacgtacta 2760 agctctcatg gctaacgtac taagctctca tgtttcacgt actaagctct catgtttgaa 2820 caataaaatt aatataaatc agcaacttaa atagcctcta aggttttaag ttttataaga 2880 aaaaaaagaa tatataaggc ttttaaagct tttaaggttt aacggttgtg gacaacaagc 2940 cagggatgta acgcactgag aagcccttag agcctctcaa agcaattttc agtgacacag 3000 gaacacttaa cggctgacag cctgaattct gcagatatct gtttttccac tcttcgttca 3060 ctttcgccag gtagctggtg aagacgaagg aagtcccgga gccatctgcg cggcgtacta 3120 cagcaatgtt ttgtgaaggc agtttcagac ccggattcag tttggcgatg gcttcatcat 3180 cccacttctt gattttgccc aggtagatgt cgccgagggt tttaccatcc agcaccagtt 3240 cgccagactt cagccctgga atgttaaccg ccagcaccac gccgccaatc acggtcggga 3300 actggaacag accttcctga gccagttttt cgtcagacag cggcgcgtca gaggcaccaa 3360 aatcaacggt attagcgata atctgtttta cgccaccgga agaaccgata ccctggtagt 3420 taactttatt accggtttct ttctggtaag tgtcagccca tttggcatac accggcgcag 3480 ggaaggttgc acctgcacct gtcaggcttg cttctgcaaa cacagagaaa gcactcatcg 3540 ataaggtcgc ggcgacaaca gttgcgacgg tggtacgcat aactttcata atgtctcctg 3600 ggaggattca taaagcattg tttgttggct acgagaagca aaataggaca aacaggtgac 3660 agttatatgt aaggaatatg acagttttat gacagagaga taaagtcttc agtctgattt 3720 aaataagcgt tgatattcag tcaattacaa acattaataa cgaagagatg acagaaaaat 3780 tttcattctg tgacagagaa aaagtagccg aagatgacgg tttgtcacat ggagttggca 3840 ggatgtttga ttaaaagcaa ttaaccctca ctaaagggcg gccgcgaagt tcctattctc 3900 tagaaagtat aggaacttca ttctaccggg taggggaggc gcttttccca aggcagtctg 3960 gagcatgcgc tttagcagcc ccgctgggca cttggcgcta cacaagtggc ctctggcctc 4020 gcacacattc cacatccacc ggtaggcgcc aaccggctcc gttctttggt ggccccttcg 4080 cgccaccttc cactcctccc ctagtcagga agttcccccc cgccccgcag ctcgcgtcgt 4140 gcaggacgtg acaaatggaa gtagcacgtc tcactagtct cgtgcagatg gacagcaccg 4200 ctgagcaatg gaagcgggta ggcctttggg gcagcggcca atagcagctt tgctccttcg 4260 ctttctgggc tcagaggctg ggaaggggtg ggtccggggg cgggctcagg ggcgggctca 4320 ggggcggggc gggcgcccga aggtcctccg gaggcccggc attctgcacg cttcaaaagc 4380 gcacgtctgc cgcgctgttc tcctcttcct catctccggg cctttcgacc tgcagcagca 4440 cgtgttgaca attaatcatc ggcatagtat atcggcatag tataatacga caaggtgagg 4500 aactaaacca tggagaaaaa aatcactgga tataccaccg ttgatatatc ccaatggcat 4560 cgtaaagaac attttgaggc atttcagtca gttgctcaat gtacctataa ccagaccgtt 4620 cagctggata ttacggcctt tttaaagacc gtaaagaaaa ataagcacaa gttttatccg 4680 gcctttattc acattcttgc ccgcctgatg aatgctcatc cggaattccg tatggcaatg 4740 aaagacggtg agctggtgat atgggatagt gttcaccctt gttacaccgt tttccatgag 4800 caaactgaaa cgttttcatc gctctggagt gaataccacg acgatttccg gcagtttcta 4860 cacatatatt cgcaagatgt ggcgtgttac ggtgaaaacc tggcctattt ccctaaaggg 4920 tttattgaga atatgttttt cgtctcagcc aatccctggg tgagtttcac cagttttgat 4980 ttaaacgtgg ccaatatgga caacttcttc gcccccgttt tcaccatggg caaatattat 5040 acgcaaggcg acaaggtgct gatgccgctg gcgattcagg ttcatcatgc cgtttgtgat 5100 ggcttccatg tcggcagaat gcttaatgaa ttacaacagt actgcgatga gtggcagggc 5160 ggggcgtaag cgggactctg gggttcgaat aaagaccgac caagcgacgt ctgagagctc 5220 cctggcgaat tcggtaccaa taaaagagct ttattttcat gatctgtgtg ttggtttttg 5280 tgtgcggcgc ggaagttcct attctctaga aagtatagga acttcctcga gccctatagt 5340 gagtcgtatt agcccttgac gatgccacat cctgagcaaa taattcaacc actaattgtg 5400 agcggataac acaaggagga aacagctatg tcattaccgt tcttaacttc tgcaccggga 5460 aaggttatta tttttggtga acactctgct gtgtacaaca agcctgccgt cgctgctagt 5520 gtgtctgcgt tgagaaccta cctgctaata agcgagtcat ctgcaccaga tactattgaa 5580 ttggacttcc cggacattag ctttaatcat aagtggtcca tcaatgattt caatgccatc 5640 accgaggatc aagtaaactc ccaaaaattg gccaaggctc aacaagccac cgatggcttg 5700 tctcaggaac tcgttagtct tttggatccg ttgttagctc aactatccga atccttccac 5760 taccatgcag cgttttgttt cctgtatatg tttgtttgcc tatgccccca tgccaagaat 5820 attaagtttt ctttaaagtc tactttaccc atcggtgctg ggttgggctc aagcgcctct 5880 atttctgtat cactggcctt agctatggcc tacttggggg ggttaatagg atctaatgac 5940 ttggaaaagc tgtcagaaaa cgataagcat atagtgaatc aatgggcctt cataggtgaa 6000 aagtgtattc acggtacccc ttcaggaata gataacgctg tggccactta tggtaatgcc 6060 ctgctatttg aaaaagactc acataatgga acaataaaca caaacaattt taagttctta 6120 gatgatttcc cagccattcc aatgatccta acctatacta gaattccaag gtctacaaaa 6180 gatcttgttg ctcgcgttcg tgtgttggtc accgagaaat ttcctgaagt tatgaagcca 6240 attctagatg ccatgggtga atgtgcccta caaggcttag agatcatgac taagttaagt 6300 aaatgtaaag gcaccgatga cgaggctgta gaaactaata atgaactgta tgaacaacta 6360 ttggaattga taagaataaa tcatggactg cttgtctcaa tcggtgtttc tcatcctgga 6420 ttagaactta ttaaaaatct gagcgatgat ttgagaattg gctccacaaa acttaccggt 6480 gctggtggcg gcggttgctc tttgactttg ttacgaagag acattactca agagcaaatt 6540 gacagcttca aaaagaaatt gcaagatgat tttagttacg agacatttga aacagacttg 6600 ggtgggactg gctgctgttt gttaagcgca aaaaatttga ataaagatct taaaatcaaa 6660 tccctagtat tccaattatt tgaaaataaa actaccacaa agcaacaaat tgacgatcta 6720 ttattgccag gaaacacgaa tttaccatgg acttcataag ctaatttgcg ataggcctgc 6780 acccttaagg aggaaaaaaa catgtcagag ttgagagcct tcagtgcccc agggaaagcg 6840 ttactagctg gtggatattt agttttagat acaaaatatg aagcatttgt agtcggatta 6900 tcggcaagaa tgcatgctgt agcccatcct tacggttcat tgcaagggtc tgataagttt 6960 gaagtgcgtg tgaaaagtaa acaatttaaa gatggggagt ggctgtacca tataagtcct 7020 aaaagtggct tcattcctgt ttcgataggc ggatctaaga accctttcat tgaaaaagtt 7080 atcgctaacg tatttagcta ctttaaacct aacatggacg actactgcaa tagaaacttg 7140 ttcgttattg atattttctc tgatgatgcc taccattctc aggaggatag cgttaccgaa 7200 catcgtggca acagaagatt gagttttcat tcgcacagaa ttgaagaagt tcccaaaaca 7260 gggctgggct cctcggcagg tttagtcaca gttttaacta cagctttggc ctcctttttt 7320 gtatcggacc tggaaaataa tgtagacaaa tatagagaag ttattcataa tttagcacaa 7380 gttgctcatt gtcaagctca gggtaaaatt ggaagcgggt ttgatgtagc ggcggcagca 7440 tatggatcta tcagatatag aagattccca cccgcattaa tctctaattt gccagatatt 7500 ggaagtgcta cttacggcag taaactggcg catttggttg atgaagaaga ctggaatatt 7560 acgattaaaa gtaaccattt accttcggga ttaactttat ggatgggcga tattaagaat 7620 ggttcagaaa cagtaaaact ggtccagaag gtaaaaaatt ggtatgattc gcatatgcca 7680 gaaagcttga aaatatatac agaactcgat catgcaaatt ctagatttat ggatggacta 7740 tctaaactag atcgcttaca cgagactcat gacgattaca gcgatcagat atttgagtct 7800 cttgagagga atgactgtac ctgtcaaaag tatcctgaaa tcacagaagt tagagatgca 7860 gttgccacaa ttagacgttc ctttagaaaa ataactaaag aatctggtgc cgatatcgaa 7920 cctcccgtac aaactagctt attggatgat tgccagacct taaaaggagt tcttacttgc 7980 ttaatacctg gtgctggtgg ttatgacgcc attgcagtga ttactaagca agatgttgat 8040 cttagggctc aaaccgctaa tgacaaaaga ttttctaagg ttcaatggct ggatgtaact 8100 caggctgact ggggtgttag gaaagaaaaa gatccggaaa cttatcttga taaataactt 8160 aaggtagctg catgcagaat tcgcccttaa ggaggaaaaa aaaatgaccg tttacacagc 8220 atccgttacc gcacccgtca acatcgcaac ccttaagtat tgggggaaaa gggacacgaa 8280 gttgaatctg cccaccaatt cgtccatatc agtgacttta tcgcaagatg acctcagaac 8340 gttgacctct gcggctactg cacctgagtt tgaacgcgac actttgtggt taaatggaga 8400 accacacagc atcgacaatg aaagaactca aaattgtctg cgcgacctac gccaattaag 8460 aaaggaaatg gaatcgaagg acgcctcatt gcccacatta tctcaatgga aactccacat 8520 tgtctccgaa aataactttc ctacagcagc tggtttagct tcctccgctg ctggctttgc 8580 tgcattggtc tctgcaattg ctaagttata ccaattacca cagtcaactt cagaaatatc 8640 tagaatagca agaaaggggt ctggttcagc ttgtagatcg ttgtttggcg gatacgtggc 8700 ctgggaaatg ggaaaagctg aagatggtca tgattccatg gcagtacaaa tcgcagacag 8760 ctctgactgg cctcagatga aagcttgtgt cctagttgtc agcgatatta aaaaggatgt 8820 gagttccact cagggtatgc aattgaccgt ggcaacctcc gaactattta aagaaagaat 8880 tgaacatgtc gtaccaaaga gatttgaagt catgcgtaaa gccattgttg aaaaagattt 8940 cgccaccttt gcaaaggaaa caatgatgga ttccaactct ttccatgcca catgtttgga 9000 ctctttccct ccaatattct acatgaatga cacttccaag cgtatcatca gttggtgcca 9060 caccattaat cagttttacg gagaaacaat cgttgcatac acgtttgatg caggtccaaa 9120 tgctgtgttg tactacttag ctgaaaatga gtcgaaactc tttgcattta tctataaatt 9180 gtttggctct gttcctggat gggacaagaa atttactact gagcagcttg aggctttcaa 9240 ccatcaattt gaatcatcta actttactgc acgtgaattg gatcttgagt tgcaaaagga 9300 tgttgccaga gtgattttaa ctcaagtcgg ttcaggccca caagaaacaa acgaatcttt 9360 gattgacgca aagactggtc taccaaagga ataagatcaa ttcgctgcat cgcccttagg 9420 aggtaaaaaa aaatgactgc cgacaacaat agtatgcccc atggtgcagt atctagttac 9480 gccaaattag tgcaaaacca aacacctgaa gacattttgg aagagtttcc tgaaattatt 9540 ccattacaac aaagacctaa tacccgatct agtgagacgt caaatgacga aagcggagaa 9600 acatgttttt ctggtcatga tgaggagcaa attaagttaa tgaatgaaaa ttgtattgtt 9660 ttggattggg acgataatgc tattggtgcc ggtaccaaga aagtttgtca tttaatggaa 9720 aatattgaaa agggtttact acatcgtgca ttctccgtct ttattttcaa tgaacaaggt 9780 gaattacttt tacaacaaag agccactgaa aaaataactt tccctgatct ttggactaac 9840 acatgctgct ctcatccact atgtattgat gacgaattag gtttgaaggg taagctagac 9900 gataagatta agggcgctat tactgcggcg gtgagaaaac tagatcatga attaggtatt 9960 ccagaagatg aaactaagac aaggggtaag tttcactttt taaacagaat ccattacatg 10020 gcaccaagca atgaaccatg gggtgaacat gaaattgatt acatcctatt ttataagatc 10080 aacgctaaag aaaacttgac tgtcaaccca aacgtcaatg aagttagaga cttcaaatgg 10140 gtttcaccaa atgatttgaa aactatgttt gctgacccaa gttacaagtt tacgccttgg 10200 tttaagatta tttgcgagaa ttacttattc aactggtggg agcaattaga tgacctttct 10260 gaagtggaaa atgacaggca aattcataga atgctataac aacgcgtcta caaataaaaa 10320 aggcacgtca gatgacgtgc cttttttctt ggggcc 10356 <210> 91 <211> 43 <212> DNA <213> Artificial Sequence <220> <223> PCR Primer <400> 91 gcatgctcga gcggccgctt ttaatcaaac atcctgccaa ctc 43 <210> 92 <211> 37 <212> DNA <213> Artificial Sequence <220> <223> PCR Primer <400> 92 gatcgaaggg cgatcgtgtc acagtctggc gaaaccg 37 <210> 93 <211> 43 <212> DNA <213> Artificial Sequence <220> <223> PCR Primer <400> 93 ctgaattctg cagatatctg tttttccact cttcgttcac ttt 43 <210> 94 <211> 33 <212> DNA <213> Artificial Sequence <220> <223> PCR Primer <400> 94 tctagagggc ccaagaaaaa tgccccgctt acg 33 <210> 95 <211> 111 <212> DNA <213> Artificial Sequence <220> <223> PCR Primer <400> 95 gatcgcggcc gcgcccttga cgatgccaca tcctgagcaa ataattcaac cactaattgt 60 gagcggataa cacaaggagg aaacagctat gtcattaccg ttcttaactt c 111 <210> 96 <211> 75 <212> DNA <213> Artificial Sequence <220> <223> PCR Primer <400> 96 gatcgggccc caagaaaaaa ggcacgtcat ctgacgtgcc ttttttattt gtagacgcgt 60 tgttatagca ttcta 75 <210> 97 <211> 81 <212> DNA <213> Artificial Sequence <220> <223> PCR Primer <400> 97 aaagtagccg aagatgacgg tttgtcacat ggagttggca ggatgtttga ttaaaagcaa 60 ttaaccctca ctaaagggcg g 81 <210> 98 <211> 160 <212> DNA <213> Artificial Sequence <220> <223> PCR Primer <400> 98 agagtgttca ccaaaaataa taacctttcc cggtgcagaa gttaagaacg gtaatgacat 60 agctgtttcc tccttgtgtt atccgctcac aattagtggt tgaattattt gctcaggatg 120 tggcatcgtc aagggctaat acgactcact atagggctcg 160 <210> 99 <211> 60 <212> DNA <213> Artificial Sequence <220> <223> PCR Primer <400> 99 gatcatgcat tcgcccttag gaggtaaaaa aacatgtgtg cgacctcttc tcaatttact 60 60 <210> 100 <211> 38 <212> DNA <213> Artificial Sequence <220> <223> PCR Primer <400> 100 cggtcgacgg atccctgcag ttagacatac atcagctg 38 <210> 101 <211> 6974 <212> DNA <213> Artificial Sequence <220> <223> Synthetic Construct <400> 101 gtgcggccgc aagcttgtcg acggagctcg aattcggatc cctgcagtta gacatacatc 60 agctggttaa tcgggaaagg gtcaatcagc agcagtttga tgcggttttc agtcgcgtag 120 tctgggcgac ccagaccatc gccatactgg taggtgcagt gggaaacacg tgccatgtta 180 actgcgattt ccatgaacgc tttaggcagc agggtggagt cgctaacgcg ttcacgattc 240 atctttttcc attcggcgtc gatcagttta cgcagttctt cgcgggcctg ttcctcgctg 300 gtaccatcgt tttcgtgcat gtagctaatg atagaattgg tagtctcgcc acgttccagc 360 tccgccgcag aggtggccag atcgttgcac aggcggaaga taacgcagct agaacgcacc 420 agaccatgga agtcggtcag ggaacgcagc gcgtggtcgg agatgtcttc ctgctgctgg 480 catacggaaa agtaagacgg cgccagcagc gctacaccgg aggaggaaac gctggcgttt 540 tccaggtact tggagaaagc cgggataatt ttgttgttgg accatttcgc ctcttgcaga 600 aaggctttgc acagttcacg ccagcttttc gtcagatagg acaggttgtt atgacctttc 660 tctttcagaa tagaatagga cgtgtcgtta acggtgttgt acagtgccag gaaacacagt 720 ttcatatagt ccggcagggt gttaatagcg ttaacgtccc agcgctctac agcatcggtg 780 aacagttgca gttcgtccag agtgccataa acgtcataca cgtcatcgat gatcgtcacc 840 agaccaaaca ttttagtaac agctttgcga cattcaccaa actgcgggtc tggcgccata 900 cccagtgccc agaaataaac ttccatcagg cggtcgcgta caaaatccag tttgctagcc 960 aggcccatct cggtccacca gcgggacaga tcttgcagct ctttctggtg cagggtctgt 1020 accatgttaa aatccagctt cgccagctcc agcagcagct ggtgatgcgg ttctttcggt 1080 tcgtatttat ccaggaacca acgtgcctcc agacggtgca gacgctggtg atatggcagt 1140 tccagggcgt ggctcacttg ttctgcaacc ttggtattaa tgccttcttt caggttgttc 1200 ttcaggtggg tgatggaaaa ggtacgcgcc tcctccagca ggttctcacc ctcgaaaccc 1260 aggtaagacg cttcatacag gctcagcagg ccttggacgt cacctttcag ttcaccgctg 1320 aaaccacctt ctttatcctt gaaacgctca aaaacatcct gagaaacctc gaaaccgtgc 1380 tgacgcagca gacggaaaga cagagcggtt gcgtgcaggt cagatttgtt ctttttgttt 1440 tcgtccagca gtacgatgtt ttccagggct ttaatgatgt ctttttcaaa tttgtaggtc 1500 agacccaggc gctgcacatc gtcgatcagc tccagcaggg acagcggctg ggtgtctaca 1560 cggttgatca tgcagcgaac ttcttcctcc agtttggtcg ctttctcctc cagcttttcc 1620 actttcaggt cgttctccag ggattgcagg aattcgaaat tccacaggtt tggctgatag 1680 tttgcggaac gacgggaatt atgctcggta atctgagtaa attgagaaga ggtcgcacac 1740 atggtatatc tccttcttaa agttaaacaa aattatttct agaggggaat tgttatccgc 1800 tcacaattcc cctatagtga gtcgtattaa tttcgcggga tcgagatctc gatcctctac 1860 gccggacgca tcgtggccgg catcaccggc gccacaggtg cggttgctgg cgcctatatc 1920 gccgacatca ccgatgggga agatcgggct cgccacttcg ggctcatgag cgcttgtttc 1980 ggcgtgggta tggtggcagg ccccgtggcc gggggactgt tgggcgccat ctccttgcat 2040 gcaccattcc ttgcggcggc ggtgctcaac ggcctcaacc tactactggg ctgcttccta 2100 atgcaggagt cgcataaggg agagcgtcga gatcccggac accatcgaat ggcgcaaaac 2160 ctttcgcggt atggcatgat agcgcccgga agagagtcaa ttcagggtgg tgaatgtgaa 2220 accagtaacg ttatacgatg tcgcagagta tgccggtgtc tcttatcaga ccgtttcccg 2280 cgtggtgaac caggccagcc acgtttctgc gaaaacgcgg gaaaaagtgg aagcggcgat 2340 ggcggagctg aattacattc ccaaccgcgt ggcacaacaa ctggcgggca aacagtcgtt 2400 gctgattggc gttgccacct ccagtctggc cctgcacgcg ccgtcgcaaa ttgtcgcggc 2460 gattaaatct cgcgccgatc aactgggtgc cagcgtggtg gtgtcgatgg tagaacgaag 2520 cggcgtcgaa gcctgtaaag cggcggtgca caatcttctc gcgcaacgcg tcagtgggct 2580 gatcattaac tatccgctgg atgaccagga tgccattgct gtggaagctg cctgcactaa 2640 tgttccggcg ttatttcttg atgtctctga ccagacaccc atcaacagta ttattttctc 2700 ccatgaagac ggtacgcgac tgggcgtgga gcatctggtc gcattgggtc accagcaaat 2760 cgcgctgtta gcgggcccat taagttctgt ctcggcgcgt ctgcgtctgg ctggctggca 2820 taaatatctc actcgcaatc aaattcagcc gatagcggaa cgggaaggcg actggagtgc 2880 catgtccggt tttcaacaaa ccatgcaaat gctgaatgag ggcatcgttc ccactgcgat 2940 gctggttgcc aacgatcaga tggcgctggg cgcaatgcgc gccattaccg agtccgggct 3000 gcgcgttggt gcggatatct cggtagtggg atacgacgat accgaagaca gctcatgtta 3060 tatcccgccg ttaaccacca tcaaacagga ttttcgcctg ctggggcaaa ccagcgtgga 3120 ccgcttgctg caactctctc agggccaggc ggtgaagggc aatcagctgt tgcccgtctc 3180 actggtgaaa agaaaaacca ccctggcgcc caatacgcaa accgcctctc cccgcgcgtt 3240 ggccgattca ttaatgcagc tggcacgaca ggtttcccga ctggaaagcg ggcagtgagc 3300 gcaacgcaat taatgtaagt tagctcactc attaggcacc gggatctcga ccgatgccct 3360 tgagagcctt caacccagtc agctccttcc ggtgggcgcg gggcatgact atcgtcgccg 3420 cacttatgac tgtcttcttt atcatgcaac tcgtaggaca ggtgccggca gcgctctggg 3480 tcattttcgg cgaggaccgc tttcgctgga gcgcgacgat gatcggcctg tcgcttgcgg 3540 tattcggaat cttgcacgcc ctcgctcaag ccttcgtcac tggtcccgcc accaaacgtt 3600 tcggcgagaa gcaggccatt atcgccggca tggcggcccc acgggtgcgc atgatcgtgc 3660 tcctgtcgtt gaggacccgg ctaggctggc ggggttgcct tactggttag cagaatgaat 3720 caccgatacg cgagcgaacg tgaagcgact gctgctgcaa aacgtctgcg acctgagcaa 3780 caacatgaat ggtcttcggt ttccgtgttt cgtaaagtct ggaaacgcgg aagtcagcgc 3840 cctgcaccat tatgttccgg atctgcatcg caggatgctg ctggctaccc tgtggaacac 3900 ctacatctgt attaacgaag cgctggcatt gaccctgagt gatttttctc tggtcccgcc 3960 gcatccatac cgccagttgt ttaccctcac aacgttccag taaccgggca tgttcatcat 4020 cagtaacccg tatcgtgagc atcctctctc gtttcatcgg tatcattacc cccatgaaca 4080 gaaatccccc ttacacggag gcatcagtga ccaaacagga aaaaaccgcc cttaacatgg 4140 cccgctttat cagaagccag acattaacgc ttctggagaa actcaacgag ctggacgcgg 4200 atgaacaggc agacatctgt gaatcgcttc acgaccacgc tgatgagctt taccgcagct 4260 gcctcgcgcg tttcggtgat gacggtgaaa acctctgaca catgcagctc ccggagacgg 4320 tcacagcttg tctgtaagcg gatgccggga gcagacaagc ccgtcagggc gcgtcagcgg 4380 gtgttggcgg gtgtcggggc gcagccatga cccagtcacg tagcgatagc ggagtgtata 4440 ctggcttaac tatgcggcat cagagcagat tgtactgaga gtgcaccata tatgcggtgt 4500 gaaataccgc acagatgcgt aaggagaaaa taccgcatca ggcgctcttc cgcttcctcg 4560 ctcactgact cgctgcgctc ggtcgttcgg ctgcggcgag cggtatcagc tcactcaaag 4620 gcggtaatac ggttatccac agaatcaggg gataacgcag gaaagaacat gtgagcaaaa 4680 ggccagcaaa aggccaggaa ccgtaaaaag gccgcgttgc tggcgttttt ccataggctc 4740 cgcccccctg acgagcatca caaaaatcga cgctcaagtc agaggtggcg aaacccgaca 4800 ggactataaa gataccaggc gtttccccct ggaagctccc tcgtgcgctc tcctgttccg 4860 accctgccgc ttaccggata cctgtccgcc tttctccctt cgggaagcgt ggcgctttct 4920 catagctcac gctgtaggta tctcagttcg gtgtaggtcg ttcgctccaa gctgggctgt 4980 gtgcacgaac cccccgttca gcccgaccgc tgcgccttat ccggtaacta tcgtcttgag 5040 tccaacccgg taagacacga cttatcgcca ctggcagcag ccactggtaa caggattagc 5100 agagcgaggt atgtaggcgg tgctacagag ttcttgaagt ggtggcctaa ctacggctac 5160 actagaagga cagtatttgg tatctgcgct ctgctgaagc cagttacctt cggaaaaaga 5220 gttggtagct cttgatccgg caaacaaacc accgctggta gcggtggttt ttttgtttgc 5280 aagcagcaga ttacgcgcag aaaaaaagga tctcaagaag atcctttgat cttttctacg 5340 gggtctgacg ctcagtggaa cgaaaactca cgttaaggga ttttggtcat gaacaataaa 5400 actgtctgct tacataaaca gtaatacaag gggtgttatg agccatattc aacgggaaac 5460 gtcttgctct aggccgcgat taaattccaa catggatgct gatttatatg ggtataaatg 5520 ggctcgcgat aatgtcgggc aatcaggtgc gacaatctat cgattgtatg ggaagcccga 5580 tgcgccagag ttgtttctga aacatggcaa aggtagcgtt gccaatgatg ttacagatga 5640 gatggtcaga ctaaactggc tgacggaatt tatgcctctt ccgaccatca agcattttat 5700 ccgtactcct gatgatgcat ggttactcac cactgcgatc cccgggaaaa cagcattcca 5760 ggtattagaa gaatatcctg attcaggtga aaatattgtt gatgcgctgg cagtgttcct 5820 gcgccggttg cattcgattc ctgtttgtaa ttgtcctttt aacagcgatc gcgtatttcg 5880 tctcgctcag gcgcaatcac gaatgaataa cggtttggtt gatgcgagtg attttgatga 5940 cgagcgtaat ggctggcctg ttgaacaagt ctggaaagaa atgcataaac ttttgccatt 6000 ctcaccggat tcagtcgtca ctcatggtga tttctcactt gataacctta tttttgacga 6060 ggggaaatta ataggttgta ttgatgttgg acgagtcgga atcgcagacc gataccagga 6120 tcttgccatc ctatggaact gcctcggtga gttttctcct tcattacaga aacggctttt 6180 tcaaaaatat ggtattgata atcctgatat gaataaattg cagtttcatt tgatgctcga 6240 tgagtttttc taagaattaa ttcatgagcg gatacatatt tgaatgtatt tagaaaaata 6300 aacaaatagg ggttccgcgc acatttcccc gaaaagtgcc acctgaaatt gtaaacgtta 6360 atattttgtt aaaattcgcg ttaaattttt gttaaatcag ctcatttttt aaccaatagg 6420 ccgaaatcgg caaaatccct tataaatcaa aagaatagac cgagataggg ttgagtgttg 6480 ttccagtttg gaacaagagt ccactattaa agaacgtgga ctccaacgtc aaagggcgaa 6540 aaaccgtcta tcagggcgat ggcccactac gtgaaccatc accctaatca agttttttgg 6600 ggtcgaggtg ccgtaaagca ctaaatcgga accctaaagg gagcccccga tttagagctt 6660 gacggggaaa gccggcgaac gtggcgagaa aggaagggaa gaaagcgaaa ggagcgggcg 6720 ctagggcgct ggcaagtgta gcggtcacgc tgcgcgtaac caccacaccc gccgcgctta 6780 atgcgccgct acagggcgcg tcccattcgc caatccggat atagttcctc ctttcagcaa 6840 aaaacccctc aagacccgtt tagaggcccc aaggggttat gctagttatt gctcagcggt 6900 ggcagcagcc aactcagctt cctttcgggc tttgttagca gccggatctc agtggtggtg 6960 gtggtggtgc tcga 6974 <210> 102 <211> 45 <212> DNA <213> Artificial Sequence <220> <223> PCR Primer <400> 102 accgttcgtt cttatcgaaa ctaaaaaaaa ccggccttgg ccccg 45

Claims (31)

  1. 세포가 정지상에 있고, 이소프렌 제조가 동일한 시간 동안의 성장상 동안 제조된 이소프렌의 양의 약 2 배 이상인, 이소프렌을 제조할 수 있는 배양물 내 세포.
  2. 제 1 항에 있어서, 이소프렌이 기상에서 제조되고,
    (a) 기상이 약 9.5 % (부피) 이상의 산소를 포함하고, 기상 내 이소프렌의 농도가 연소 하한계 미만 또는 연소 상한계 초과이거나
    (b) 기상 내 이소프렌의 농도가 연소 하한계 미만 또는 연소 상한계 초과이고, 세포가 약 400 nmole/gwcm/hr 초과의 이소프렌을 제조하는 세포.
  3. 세포가 세포 성장과 이소프렌 제조를 분리하는 조건 하에서 성장하는, 약 400 nmole/gwcm/hr 초과의 이소프렌을 제조하는 배양물 내 세포.
  4. 세포가 세포 성장과 이소프렌 제조를 분리하는 조건 하에서 성장하는, 약 0.1 mg/L브로쓰/hr 초과의 이소프렌의 평균 용적 생산성을 갖는 배양물 내 세포.
  5. 세포가 세포 성장과 이소프렌 제조를 분리하는 조건 하에서 성장하는, 세포가 세포 배양 배지로부터 소모하는 탄소의 약 0.002 몰% 초과를 이소프렌으로 전환시키는 배양물 내 세포.
  6. 제 1 항 내지 제 5 항 중 어느 한 항에 있어서, 세포가 제한된 글루코오스 조건 하에서 성장하는 세포.
  7. 제 1 항 내지 제 6 항 중 어느 한 항에 있어서, 정지상 동안 제조된 이소프렌의 양이 동일한 시간 동안의 성장상 동안 제조된 이소프렌의 양의 약 2, 3, 4, 5, 10, 20, 30, 40, 50 배 또는 그 이상의 배수인 세포.
  8. 제 1 항 내지 제 7 항 중 어느 한 항에 있어서, 이소프렌 합성효소 폴리펩티드를 코딩하는 이종 핵산을 추가로 포함하는 세포.
  9. 제 1 항의 세포에 의해 제조되는 이소프렌을 약 2 mg 초과로 포함하고, 조성물 내 모든 C5 탄화수소의 총 중량에 대해 약 99.94 중량% 이상의 이소프렌을 포함하는 조성물.
  10. 제 1 항의 세포에 의해 제조되는 이소프렌을 약 2, 5, 10, 20, 30, 40, 50, 60, 70, 80, 90, 100, 200, 300, 400, 500, 600, 700, 800, 900, 또는 1000 mg 이상 포함하는 조성물.
  11. 제 1 항의 세포로부터의 휘발성 유기 분획의 약 2, 5, 10, 20, 30, 40, 50, 60, 70, 80, 90, 100 g 이상의 이소프렌 (w/w) 을 포함하는 조성물.
  12. 제 1 항의 세포에 의해 제조되는 이소프렌을 약 2 mg 초과로 포함하고, 이소프렌의 중합을 억제하는 조성물 내 임의의 화합물에 대해 화합물 당 약 0.5 ug/L 이하를 포함하는 조성물.
  13. 제 12 항에 있어서, 이소프렌의 중합을 억제하는 조성물이 조성물 내 모든 C5 탄화수소의 총 중량에 대해 약 0.12, 0.10, 0.08, 0.06, 0.04, 0.02, 0.01, 0.005, 0.001, 0.0005, 0.0001, 0.00005, 또는 0.00001 중량% 이하의 1,3-시클로펜타디엔, 시스-1,3-펜타디엔, 트랜스-1,3-펜타디엔, 1-펜틴, 2-펜틴, 1-펜텐, 2-메틸-1-부텐, 3-메틸-1-부틴, 트랜스-피페릴렌, 시스-피페릴렌, 펜트-4-엔-1-인, 트랜스-펜트-3-엔-1-인, 및 시스-펜트-3-엔-1-인으로 이루어지는 군으로부터 선택되는 하나 이상의 C5 탄화수소를 포함하는 조성물.
  14. 제 12 항에 있어서, 이소프렌의 중합을 억제하는 조성물이 조성물 내 모든 C5 탄화수소의 총 중량에 대해 약 0.12, 0.10, 0.08, 0.06, 0.04, 0.02, 0.01, 0.005, 0.001, 0.0005, 0.0001, 0.00005, 또는 0.00001 중량% 이하의 1,3-시클로펜타디엔, 시스-1,3-펜타디엔, 트랜스-1,3-펜타디엔, 1-펜틴, 2-펜틴, 1-펜텐, 2-메틸-1-부텐, 3-메틸-1-부틴, 트랜스-피페릴렌, 시스-피페릴렌, 펜트-4-엔-1-인, 트랜스-펜트-3-엔-1-인, 또는 시스-펜트-3-엔-1-인을 갖는 조성물.
  15. 제 1 항의 세포에 의해 제조되는 이소프렌을 약 2 mg 초과로 포함하고, 조성물 내 모든 C5 탄화수소의 총 중량에 대해 약 99.90, 99.92, 99.94, 99.96, 99.98, 또는 100 중량% 이상의 이소프렌을 갖는 조성물.
  16. 제 15 항에 있어서, 이소프렌이 배출-기체 부분으로부터 회수되는 조성물.
  17. 제 1 항의 세포에 의해 제조되는 이소프렌을 약 2 mg 초과로 포함하고, 에탄올, 아세톤, C5 프레닐 알코올, 및 탄소수 10 이상의 이소프레노이드 화합물로 이루어지는 군으로부터 선택되는 하나 이상의 화합물을 포함하는 조성물.
  18. 제 1 항의 세포에 의해 제조되는 이소프렌을 약 2 mg 초과로 포함하고, 2-헵타논, 6-메틸-5-헵텐-2-온, 2,4,5-트리메틸피리딘, 2,3,5-트리메틸피라진, 시트로넬랄, 아세트알데하이드, 메탄티올, 메틸 아세테이트, 1-프로판올, 디아세틸, 2-부타논, 2-메틸-3-부텐-2-올, 에틸 아세테이트, 2-메틸-1-프로판올, 3-메틸-1-부타날, 3-메틸-2-부타논, 1-부탄올, 2-펜타논, 3-메틸-1-부탄올, 에틸 이소부티레이트, 3-메틸-2-부테날, 부틸 아세테이트, 3-메틸부틸 아세테이트, 3-메틸-3-부트-1-에닐 아세테이트, 3-메틸-2-부트-1-에닐 아세테이트, (E)-3,7-디메틸-1,3,6-옥타트리엔, (Z)-3,7-디메틸-1,3,6-옥타트리엔, 및 2,3-시클로헵텐올피리딘으로 이루어지는 군으로부터 선택되는 하나 이상의 제 2 화합물을 포함하며; 이소프렌의 양에 대한 제 2 화합물의 양은 약 0.01 % (w/w) 이상인 조성물.
  19. (i) 이소프렌을 포함하는 기상 및 (ii) 제 1 항 내지 제 8 항 중 어느 한 항의 배양물 내 세포를 포함하는 조성물.
  20. 제 19 항에 있어서, 조성물이 폐쇄계를 포함하고, 1 시간 동안 배양된 1 OD600 1 mL 로 표준화되었을 때 기상이 약 5, 10, 20, 30, 40, 50, 60, 70, 80, 90, 또는 100 ug/L 이상의 이소프렌을 포함하는 조성물.
  21. 제 19 항에 있어서, 조성물이 개방계를 포함하고, 1 vvm 의 속도로 살포되었을 때 기상이 약 5, 10, 20, 30, 40, 50, 60, 70, 80, 90, 또는 100 ug/L 이상의 이소프렌을 포함하는 조성물.
  22. 제 19 항에 있어서, 조성물이 휘발성 유기 분획 내 모든 C5 탄화수소의 총 중량에 대해 약 99.90, 99.92, 99.94, 99.96, 99.98, 또는 100 중량% 이상의 이소프렌을 포함하는 기상의 휘발성 유기 분획을 포함하는 조성물.
  23. 하기 단계를 포함하는, 이소프렌의 제조 방법:
    (a) 이소프렌의 제조에 적합한 배양 조건 하에서 제 1 항 내지 제 8 항 중 어느 한 항의 세포를 배양하는 단계로서; 정지상 동안 제조되는 이소프렌의 양이 동일한 시간 동안의 성장상 동안 제조되는 이소프렌의 양의 약 2 배 이상인 단계, 및
    (b) 이소프렌을 제조하는 단계.
  24. 제 23 항에 있어서, 세포가 제한된 글루코오스 조건 하에서 배양되는 방법.
  25. 제 23 항에 있어서, 이소프렌이 세포 배양물의 방출-기체 일부로부터 회수되는 방법.
  26. 기상이 약 9.5 % (부피) 미만의 산소 또는 약 9.5 % (부피) 이상의 산소를 포함하고, 기상 내 이소프렌의 농도가 연소 하한계 미만 또는 연소 상한계 초과인, 기상 내에 불연성 농도의 이소프렌을 포함하는 시스템.
  27. 제 26 항에 있어서, 이소프렌 이외의 기상의 부분이 약 10% 내지 약 100% (부피) 산소를 포함하는 시스템.
  28. 제 26 항에 있어서, 이소프렌 이외의 기상의 부분이 약 0% 내지 약 99% (부피) 질소를 포함하는 시스템.
  29. 제 26 항에 있어서, 이소프렌 이외의 기상의 부분이 약 1% 내지 약 50% (부피) CO2 를 포함하는 시스템.
  30. 하기 단계를 포함하는, 이소프렌의 제조 방법:
    (a) 이소프렌의 제조에 적합한 배양 조건 하에서 세포를 배양하는 단계로서; 기상이 약 9.5 % (부피) 이상의 산소를 포함하는 단계, 및
    (b) 이소프렌을 제조하는 단계로서, 기상 내 이소프렌의 농도는 연소 하한계 미만 또는 연소 상한계 초과이고, 세포는 약 400 nmole/gwcm/hr 초과의 이소프렌을 제조하는 단계.
  31. 하기 단계를 포함하는, 이소프렌의 제조 방법:
    (a) 이소프렌의 제조에 적합한 배양 조건 하에서 세포를 배양하는 단계로서; 기상이 약 9.5 % (부피) 이하의 산소를 포함하는 단계, 및
    (b) 이소프렌을 제조하는 단계로서, 세포는 약 400 nmole/gwcm/hr 초과의 이소프렌을 제조하는 단계.
KR1020117002773A 2008-07-02 2009-07-01 분리 조건 및/또는 안전한 작업 범위 하에서의 c5 탄화수소가 없는 이소프렌의 제조 방법 및 조성물 Ceased KR20110076868A (ko)

Applications Claiming Priority (6)

Application Number Priority Date Filing Date Title
US13394708P 2008-07-02 2008-07-02
US13409408P 2008-07-02 2008-07-02
US13401108P 2008-07-02 2008-07-02
US61/134,011 2008-07-02
US61/134,094 2008-07-02
US61/133,947 2008-07-02

Publications (1)

Publication Number Publication Date
KR20110076868A true KR20110076868A (ko) 2011-07-06

Family

ID=41172205

Family Applications (1)

Application Number Title Priority Date Filing Date
KR1020117002773A Ceased KR20110076868A (ko) 2008-07-02 2009-07-01 분리 조건 및/또는 안전한 작업 범위 하에서의 c5 탄화수소가 없는 이소프렌의 제조 방법 및 조성물

Country Status (15)

Country Link
US (5) US8420360B2 (ko)
EP (2) EP3406722A1 (ko)
JP (5) JP2011526790A (ko)
KR (1) KR20110076868A (ko)
CN (2) CN102791848B (ko)
AU (1) AU2009266938B2 (ko)
BR (1) BRPI0913846A2 (ko)
CA (1) CA2729801A1 (ko)
ES (1) ES2716231T3 (ko)
MX (1) MX318543B (ko)
MY (1) MY156256A (ko)
RU (1) RU2563513C2 (ko)
SG (1) SG167566A1 (ko)
WO (1) WO2010003007A2 (ko)
ZA (1) ZA201100138B (ko)

Cited By (1)

* Cited by examiner, † Cited by third party
Publication number Priority date Publication date Assignee Title
WO2025143854A1 (ko) * 2023-12-29 2025-07-03 포항공과대학교 산학협력단 이소프레놀 고생산 균주 및 이를 이용한 이소프레놀 생산방법

Families Citing this family (78)

* Cited by examiner, † Cited by third party
Publication number Priority date Publication date Assignee Title
WO2009076676A2 (en) * 2007-12-13 2009-06-18 Danisco Us Inc. Compositions and methods for producing isoprene
BRPI0911667A2 (pt) 2008-04-23 2019-04-24 Danisco Us Inc variante de sintase de isopreno para produção microbiana aprimorada de isopreno
AU2009266938B2 (en) 2008-07-02 2013-10-17 Danisco Us Inc. Compositions and methods for producing isoprene free of C5 hydrocarbons under decoupling conditions and/or safe operating ranges
GB0812186D0 (en) 2008-07-03 2008-08-13 Dow Corning Modified polyolefins
GB0812185D0 (en) 2008-07-03 2008-08-13 Dow Corning Polymers modified by silanes
SG169652A1 (en) * 2008-09-15 2011-04-29 Danisco Us Inc Reduction of carbon dioxide emission during isoprene production by fermentation
CA2737082A1 (en) * 2008-09-15 2010-03-18 Danisco Us Inc. Increased isoprene production using mevalonate kinase and isoprene synthase
EP2340312A2 (en) 2008-09-15 2011-07-06 Danisco US Inc. Conversion of prenyl derivatives to isoprene
DK2344629T3 (en) 2008-09-15 2018-03-05 Danisco Us Inc SYSTEMS USING CELL CULTURE TO MAKE ISOPRENE
MY156562A (en) 2008-09-15 2016-02-26 Danisco Us Inc Increased isoprene production using the archaeal lower mevalonate pathway
US8324442B2 (en) * 2009-03-03 2012-12-04 Amyris, Inc. Microbial derived isoprene and methods for making the same
SG10201501879PA (en) 2009-04-23 2015-05-28 Danisco Us Inc Three-dimensional structure of isoprene synthase and its use thereof for generating variants
US20120059121A1 (en) 2009-04-30 2012-03-08 Michael Backer Elastomer Compositions Modified By Silanes
TW201412988A (zh) * 2009-06-17 2014-04-01 Danisco Us Inc 使用dxp及mva途徑之改良之異戊二烯製造
TW201120213A (en) 2009-06-17 2011-06-16 Danisco Us Inc Polymerization of isoprene from renewable resources
TWI434921B (zh) 2009-06-17 2014-04-21 Danisco Us Inc 從生物異戊二烯組合物製造燃料成分之方法及系統
WO2011019894A1 (en) * 2009-08-12 2011-02-17 Gevo, Inc. Cytosolic isobutanol pathway localization for the production of isobutanol
US20110039323A1 (en) * 2009-08-14 2011-02-17 Eric Lawrence Singsaas Isoprene Production
WO2011075534A2 (en) * 2009-12-18 2011-06-23 Danisco Us Inc. Purification of isoprene from renewable resources
AU2010330739B2 (en) 2009-12-22 2014-08-14 Danisco Us Inc. Membrane bioreactor for increased production of isoprene gas
US8455236B2 (en) 2009-12-23 2013-06-04 Danisco Us Inc. Compositions and methods of PGL for the increased production of isoprene
GB201000117D0 (en) 2010-01-06 2010-02-17 Dow Corning Organopolysiloxanes containing an unsaturated group
GB201000121D0 (en) 2010-01-06 2010-02-17 Dow Corning Modified polyolefins
GB201000120D0 (en) 2010-01-06 2010-02-17 Dow Corning Process for forming crosslinked and branched polymers
US8933282B2 (en) 2010-06-17 2015-01-13 Danisco Us Inc. Fuel compositions comprising isoprene derivatives
WO2012019169A1 (en) 2010-08-06 2012-02-09 Danisco Us Inc. Production of isoprene under neutral ph conditions
BR112013010551A8 (pt) 2010-10-27 2018-07-03 Danisco Us Inc variantes de isopreno sintase para produção aprimorada de isopreno
EP2655606A1 (en) 2010-12-22 2013-10-30 Danisco US Inc. Compositions and methods for improved isoprene production using two types of ispg enzymes
BR112013016264A2 (pt) 2010-12-22 2018-06-19 Danisco Us Inc produção biológica de açúcares de pentose com o uso de células recombinantes
US9121038B2 (en) 2011-04-29 2015-09-01 The Goodyear Tire & Rubber Company Recombinant microorganisms for enhanced production of mevalonate, isoprene, and isoprenoids
US8889383B2 (en) 2011-04-29 2014-11-18 Danisco Us Inc. Production of mevalonate, isoprene, and isoprenoids using genes encoding polypeptides having thiolase, HMG-CoA synthase and HMG-CoA reductase enzymatic activities
JP2014528705A (ja) 2011-08-04 2014-10-30 ダニスコ・ユーエス・インク アセトアセチルCoAシンターゼを用いるイソプレン、イソプレノイド前駆体、及びイソプレノイドの生産
BR112014002745A8 (pt) 2011-08-05 2017-06-20 Danisco Us Inc produção de isoprenoides sob condições de ph neutro
SG11201401249PA (en) 2011-10-07 2014-05-29 Danisco Us Inc Utilization of phosphoketolase in the production of mevalonate, isoprenoid precursors, and isoprene
JP6101275B2 (ja) 2011-10-27 2017-03-22 ダニスコ・ユーエス・インク イソプレン産生時の溶解度が向上されたイソプレン合成酵素変異体
US8975051B2 (en) 2011-12-23 2015-03-10 Danisco Us Inc. Enhanced production of isoprene using host cells having decreased ispA activity
US8865442B2 (en) 2011-12-23 2014-10-21 Danisco Us Inc. Production of isoprene under reduced oxygen inlet levels
US9315831B2 (en) 2012-03-30 2016-04-19 Danisco Us Inc. Direct starch to fermentable sugar as feedstock for the production of isoprene, isoprenoid precursor molecules, and/or isoprenoids
US9163263B2 (en) 2012-05-02 2015-10-20 The Goodyear Tire & Rubber Company Identification of isoprene synthase variants with improved properties for the production of isoprene
US8895277B2 (en) 2012-05-02 2014-11-25 Danisco Us Inc. Legume isoprene synthase for production of isoprene
US8741613B2 (en) 2012-05-16 2014-06-03 Glycos Biotechnologies, Inc. Microorganisms and processes for the production of isoprene
WO2013181647A2 (en) 2012-06-01 2013-12-05 Danisco Us Inc. Compositions and methods of producing isoprene and/or industrrial bio-products using anaerobic microorganisms
EP2929036A1 (en) * 2012-12-07 2015-10-14 Global Bioenergies Fermentative production of a hydrocarbon
WO2014099927A1 (en) * 2012-12-17 2014-06-26 Braskem S/A Ap 09 Modified microorganisms and methods of using same for producing isoprene, 2-methyl-1-butanol, 2-methyl-1,3-butanediol, and/or 2-methylbut-2-en-1-ol
WO2014100726A2 (en) 2012-12-21 2014-06-26 Danisco Us Inc. Production of isoprene, isoprenoid, and isoprenoid precursors using an alternative lower mevalonate pathway
US9850512B2 (en) 2013-03-15 2017-12-26 The Research Foundation For The State University Of New York Hydrolysis of cellulosic fines in primary clarified sludge of paper mills and the addition of a surfactant to increase the yield
EP2984105B1 (en) 2013-04-10 2019-05-22 Danisco US Inc. Phosphoketolases for improved production of acetyl coenzyme a-derived metabolites, isoprene, isoprenoid precursors, and isoprenoids
WO2014205355A2 (en) 2013-06-21 2014-12-24 Danisco Us Inc. Compositions and methods for clostridial transformation
JP6744819B2 (ja) 2014-02-20 2020-08-19 ダニスコ・ユーエス・インク メバロン酸、イソプレン、イソプレノイド前駆体、イソプレノイド、およびアセチルCoA由来産物の生産向上のための組換え微生物
US9951363B2 (en) 2014-03-14 2018-04-24 The Research Foundation for the State University of New York College of Environmental Science and Forestry Enzymatic hydrolysis of old corrugated cardboard (OCC) fines from recycled linerboard mill waste rejects
WO2016015021A1 (en) 2014-07-24 2016-01-28 The Regents Of The University Of California Oxidative starch degradation by a new family of pmos
WO2016043805A1 (en) 2014-09-17 2016-03-24 WCCO Belting, Inc. Environmentally friendly rubber composition
WO2016084963A1 (ja) * 2014-11-28 2016-06-02 味の素株式会社 イソプレノイド化合物の製造方法
US20180148566A1 (en) 2016-11-28 2018-05-31 The Goodyear Tire & Rubber Company Rubber composition containing specialized soybean oil and tire with component
JP2020513790A (ja) 2017-02-06 2020-05-21 ザイマージェン インコーポレイテッド 発酵によりチラミンを生成させるための遺伝子操作型生合成経路
WO2018200888A1 (en) 2017-04-27 2018-11-01 Regents Of The University Of California Microorganisms and methods for producing cannabinoids and cannabinoid derivatives
WO2019036140A1 (en) 2017-07-17 2019-02-21 Zymergen Inc. METALLO-ORGANIC STRESS MATERIALS
WO2019156717A2 (en) 2017-10-05 2019-08-15 Zymergen Inc. Optically transparent polyimides
CN111699247A (zh) 2017-12-07 2020-09-22 齐默尔根公司 通过发酵产生(6e)-8-羟基香叶醇的经改造的生物合成途径
WO2019126778A1 (en) 2017-12-21 2019-06-27 Zymergen Inc. Nepetalactol oxidoreductases, nepetalactol synthases, and microbes capable of producing nepetalactone
CN111836898B (zh) 2018-03-30 2024-02-23 英威达纺织(英国)有限公司 用于在连续有氧发酵中控制溶解氧浓度的方法
EP3775246A1 (en) 2018-03-30 2021-02-17 INVISTA Textiles (U.K.) Limited Materials and methods for biosynthetic manufacture of carbon-based chemicals
WO2019191770A1 (en) 2018-03-30 2019-10-03 Invista North America S.A.R.L. Materials and methods for biosynthetic manufacture of pimelic acid and utilization of synthetic polypeptides
EP3775241A1 (en) 2018-03-30 2021-02-17 INVISTA Textiles (U.K.) Limited Methods for controlling oxygen concentration during aerobic biosynthesis
CN111886345B (zh) 2018-03-30 2023-09-15 英威达纺织(英国)有限公司 高氢气利用率和气体再循环
US11053287B2 (en) 2018-05-02 2021-07-06 Inv Nylon Chemicals Americas, Llc Materials and methods for differential biosynthesis in species of the genera Ralstonia and Cupriavidus and organisms related thereto
EP3788148A1 (en) 2018-05-02 2021-03-10 INVISTA Textiles (U.K.) Limited Materials and methods for maximizing biosynthesis through alteration of pyruvate-acetyl-coa-tca balance in species of the genera ralstonia and cupriavidus and organisms related thereto
WO2019213028A1 (en) 2018-05-02 2019-11-07 Invista North America S.A.R.L. Materials and methods for controlling regulation in biosynthesis in species of the genera ralstonia or cupriavidus and organisms related thereto
EP3788156A1 (en) 2018-05-02 2021-03-10 INVISTA Textiles (U.K.) Limited Methods for controlling limitation conditions in product biosynthesis for non-phb generating cupriavidus or ralstonia
WO2019213017A1 (en) 2018-05-02 2019-11-07 Invista North America S.A.R.L. Materials and methods for controlling oxidation and reduction in biosynthetic pathways of species of the genera ralstonia and cupriavidus and organisms related thereto
WO2020069142A1 (en) 2018-09-26 2020-04-02 Demetrix, Inc. Optimized expression systems for expressing berberine bridge enzyme and berberine bridge enzyme-like polypeptides
WO2020236789A1 (en) 2019-05-22 2020-11-26 Demetrix, Inc. Optimized cannabinoid synthase polypeptides
CN114207139B (zh) 2019-06-06 2025-06-10 阿迈瑞斯公司 使宿主细胞产生的非分解代谢化合物的收率和生产率解偶联的方法
AU2020349513A1 (en) 2019-09-18 2022-05-05 Demetrix, Inc. Optimized tetrahydrocannabinolic acid (THCA) synthase polypeptides
WO2021183448A1 (en) 2020-03-09 2021-09-16 Demetrix, Inc. Optimized olivetolic acid cyclase polypeptides
WO2024116153A1 (en) * 2022-12-02 2024-06-06 Amyris Bio Products Portugal, Unipessoal, Ltda. Compositions and methods for using previously cultured cells
CN118475621A (zh) 2023-06-19 2024-08-09 杭州恩和生物科技有限公司 生产7-脱氢胆固醇的融合多肽及其使用方法
CN117304347A (zh) * 2023-08-17 2023-12-29 五邑大学 一种荧光纤维素及其制备方法和纤维膜及其应用

Family Cites Families (47)

* Cited by examiner, † Cited by third party
Publication number Priority date Publication date Assignee Title
US1344713A (en) * 1915-12-02 1920-06-29 Westinghouse Electric & Mfg Co Reactance-coil
DE1793254A1 (de) * 1968-08-23 1971-12-16 Bayer Ag Verfahren zur Gewinnung von Cyclopenten,Isopren und einem Diolefinstrom aus C?-Crackbenzinschnitten
CA1338400C (en) 1983-08-31 1996-06-18 David H. Gelfand Recombinant fungal cellulases
DE3338269A1 (de) * 1983-10-21 1985-05-02 Basf Ag, 6700 Ludwigshafen Verfahren zur gewinnung von isopren aus einem c(pfeil abwaerts)5(pfeil abwaerts)-kohlenwasserstoffgemisch
GB8407828D0 (en) * 1984-03-27 1984-05-02 Ontario Research Foundation In situ preparation
US4570029A (en) * 1985-03-04 1986-02-11 Uop Inc. Process for separating isoprene
US4683202A (en) 1985-03-28 1987-07-28 Cetus Corporation Process for amplifying nucleic acid sequences
EP0625577A1 (en) 1985-08-29 1994-11-23 Genencor International, Inc. Heterologous polypeptides expressed in filamentous fungi, processes for their preparation, and vectors for their preparation
DK122686D0 (da) 1986-03-17 1986-03-17 Novo Industri As Fremstilling af proteiner
GB8610600D0 (en) 1986-04-30 1986-06-04 Novo Industri As Transformation of trichoderma
DK1225227T3 (da) 1990-12-10 2009-06-22 Genencor Int Forbedret forsukring af cellulose ved kloning og amplifikation af beta-glucosidase genet af trichoderma
RU2027760C1 (ru) * 1991-02-01 1995-01-27 Казанский институт биологии Способ получения жидких углеводородов
US5321005A (en) * 1992-12-09 1994-06-14 International Flavors & Fragrances Inc. Flavor and fragrance compositions produced using process for quantitatively and qualitatively substantially continuously analyzing the aroma emitted from a living fruit
WO1995004134A1 (en) 1993-08-02 1995-02-09 Genencor International, Inc. Method of reducing complex carbohydrates in fermentation products
US5861271A (en) * 1993-12-17 1999-01-19 Fowler; Timothy Cellulase enzymes and systems for their expressions
US5686276A (en) 1995-05-12 1997-11-11 E. I. Du Pont De Nemours And Company Bioconversion of a fermentable carbon source to 1,3-propanediol by a single microorganism
US5849970A (en) * 1995-06-23 1998-12-15 The Regents Of The University Of Colorado Materials and methods for the bacterial production of isoprene
DE19629568C1 (de) 1996-07-15 1998-01-08 Fraunhofer Ges Forschung Verfahren zur Herstellung von Isopren
US5872277A (en) * 1997-03-10 1999-02-16 Loyola University Of Chicago Methods for preparing prenyl alcohol
DE19809541A1 (de) * 1998-03-05 1999-09-09 Basf Ag Verfahren zur Inhibierung des Popcornpolymerwachstums
US6176176B1 (en) * 1998-04-30 2001-01-23 Board Of Trustees Operating Michigan State University Apparatus for treating cellulosic materials
TWI250210B (en) * 1998-05-06 2006-03-01 Dsm Ip Assets Bv An isolated DNA sequence coding for an enzyme involved in the mevalonate pathway or the pathway from isopentenyl pyrophosphate to farnesyl pyrophosphate
EP0955363A3 (en) 1998-05-06 2004-01-28 F. Hoffmann-La Roche Ag Dna sequences encoding enzymes involved in production of isoprenoids
US6268328B1 (en) * 1998-12-18 2001-07-31 Genencor International, Inc. Variant EGIII-like cellulase compositions
US6442536B1 (en) 2000-01-18 2002-08-27 Praxair Technology, Inc. Method for predicting flammability limits of complex mixtures
WO2001058839A1 (en) 2000-02-07 2001-08-16 Eastman Chemical Company Process to recover condensable gases from oxygen containing mixtures
WO2001064943A1 (fr) * 2000-03-02 2001-09-07 Center For Advanced Science And Technology Incubation, Ltd. Procede de criblage de substance a inhibition specifique de la voie non mevalonate
US6270739B1 (en) * 2000-06-16 2001-08-07 Eastman Chemical Company Process for the removal of carbon dioxide from 3,4-epoxy-1-butene process recycle streams
US6553689B2 (en) * 2000-09-24 2003-04-29 3M Innovative Properties Company Vapor collection method and apparatus
WO2002037990A2 (en) * 2000-11-10 2002-05-16 Vector Tobacco Ltd. Method and product for removing carcinogens from tobacco smoke
EP1373480B1 (en) 2001-04-04 2009-01-21 Genencor International, Inc. Uncoupled productive and catabolic host cell pathways
US7192751B2 (en) * 2001-12-06 2007-03-20 The Regents Of The University Of California Biosynthesis of amorpha-4,11-diene
CN100366730C (zh) 2002-04-22 2008-02-06 纳幕尔杜邦公司 用于遗传工程的启动子和质粒系统
ATE493490T1 (de) 2002-10-04 2011-01-15 Du Pont Verfahren zur biologischen herstellung von 1,3- propandiol mit hoher ausbeute
FR2850101B1 (fr) * 2003-01-22 2007-03-02 Michelin Soc Tech Procede d'obtention d'une coupe c5 "fcc" enrichie en isoprene et polymerisation selective de l'isoprene a partir de cette coupe
ES2381207T3 (es) 2003-05-29 2012-05-24 Danisco Us Inc. Nuevos genes de trichoderma
US7303899B2 (en) * 2003-11-21 2007-12-04 Genencor International, Inc. Expression of granular starch hydrolyzing enzymes in Trichoderma and process for producing glucose from granular starch substrates
CN101023181A (zh) 2004-05-21 2007-08-22 加利福尼亚大学董事会 提高类异戊二烯化合物的产生的方法
MXPA06014561A (es) * 2004-06-18 2007-03-23 Shell Int Research Proceso para la produccion de un oxido de olefina, un 1,2-diol, un 1,2-diol eter o una alcanolamina.
CN100410230C (zh) * 2006-05-17 2008-08-13 绍兴文理学院 1-氯-2-甲基-4-烃酰氧基-2-丁烯制备方法
EP2024504B2 (en) * 2006-05-26 2022-12-14 Amyris, Inc. Production of isoprenoids
US7947478B2 (en) * 2006-06-29 2011-05-24 The Regents Of The University Of California Short chain volatile hydrocarbon production using genetically engineered microalgae, cyanobacteria or bacteria
JP2008035831A (ja) * 2006-08-09 2008-02-21 Nitta Ind Corp 有用部分の生産性が高められた植物及びその作製方法
US8609385B2 (en) 2007-05-01 2013-12-17 Zuvachem, Inc. Methods for the direct conversion of carbon dioxide into a hydrocarbon using a metabolically engineered photosynthetic microorganism
WO2009076676A2 (en) * 2007-12-13 2009-06-18 Danisco Us Inc. Compositions and methods for producing isoprene
AU2009266938B2 (en) 2008-07-02 2013-10-17 Danisco Us Inc. Compositions and methods for producing isoprene free of C5 hydrocarbons under decoupling conditions and/or safe operating ranges
WO2011075534A2 (en) 2009-12-18 2011-06-23 Danisco Us Inc. Purification of isoprene from renewable resources

Cited By (1)

* Cited by examiner, † Cited by third party
Publication number Priority date Publication date Assignee Title
WO2025143854A1 (ko) * 2023-12-29 2025-07-03 포항공과대학교 산학협력단 이소프레놀 고생산 균주 및 이를 이용한 이소프레놀 생산방법

Also Published As

Publication number Publication date
EP2310490B1 (en) 2019-01-02
AU2009266938B2 (en) 2013-10-17
US10774345B2 (en) 2020-09-15
US9777294B2 (en) 2017-10-03
JP6397090B2 (ja) 2018-09-26
US20130196402A1 (en) 2013-08-01
US8420360B2 (en) 2013-04-16
BRPI0913846A2 (pt) 2020-12-15
RU2011103533A (ru) 2012-08-10
WO2010003007A2 (en) 2010-01-07
CN102791848B (zh) 2017-11-10
CN102791848A (zh) 2012-11-21
US20140155660A1 (en) 2014-06-05
RU2563513C2 (ru) 2015-09-20
EP3406722A1 (en) 2018-11-28
JP5759584B2 (ja) 2015-08-05
MX2011000073A (es) 2011-05-23
EP2310490A2 (en) 2011-04-20
MY156256A (en) 2016-01-29
US9249070B2 (en) 2016-02-02
AU2009266938A1 (en) 2010-01-07
CA2729801A1 (en) 2010-01-07
JP2011526790A (ja) 2011-10-20
US20160281112A1 (en) 2016-09-29
JP2014144007A (ja) 2014-08-14
CN105112347A (zh) 2015-12-02
JP2016104006A (ja) 2016-06-09
US8906658B2 (en) 2014-12-09
US20180066287A1 (en) 2018-03-08
WO2010003007A3 (en) 2010-05-20
JP2015133965A (ja) 2015-07-27
ZA201100138B (en) 2014-04-30
SG167566A1 (en) 2011-01-28
JP2017221207A (ja) 2017-12-21
US20100048964A1 (en) 2010-02-25
JP5848471B2 (ja) 2016-01-27
ES2716231T3 (es) 2019-06-11
MX318543B (es) 2014-03-18

Similar Documents

Publication Publication Date Title
DK2443163T3 (en) POLYMERIZATION OF ISOPREN FROM RENEWABLE RESOURCES
KR20110076868A (ko) 분리 조건 및/또는 안전한 작업 범위 하에서의 c5 탄화수소가 없는 이소프렌의 제조 방법 및 조성물
KR20100118973A (ko) 이소프렌을 생성하기 위한 조성물 및 방법
KR20110122672A (ko) 이소프렌 및 공-산물을 제조하는 방법
KR20110038087A (ko) 재생가능 자원으로부터의 이소프렌 중합체
AU2021203008B9 (en) Genetically engineered bacterium comprising energy-generating fermentation pathway
KR20120047908A (ko) 이소프렌 유도체들을 포함하는 연료 조성물들
AU2016358063B2 (en) Functional expression of monooxygenases and methods of use
AU2016203445B2 (en) Integration of a polynucleotide encoding a polypeptide that catalyzes pyruvate to acetolactate conversion
AU2016319304B2 (en) Production of human milk oligosaccharides in microbial hosts with engineered import / export
CN101365788B (zh) Δ-9延伸酶及其在制备多不饱和脂肪酸中的用途
KR20120099509A (ko) 재조합 숙주 세포에서 육탄당 키나아제의 발현
CN110551713B (zh) 用于修饰梭状芽孢杆菌属细菌的优化的遗传工具
CN101939434B (zh) 用于在大豆中提高种子贮藏油脂的生成和改变脂肪酸谱的来自解脂耶氏酵母的dgat基因
DK2576605T3 (en) PREPARATION OF METABOLITES
KR20140092759A (ko) 숙주 세포 및 아이소부탄올의 제조 방법
KR20140113997A (ko) 부탄올 생성을 위한 유전자 스위치
KR20140099224A (ko) 케토-아이소발레레이트 데카르복실라제 효소 및 이의 이용 방법
KR20130087013A (ko) 추출 발효에서의 알코올 제거를 위한 오일로부터 유래되는 추출 용매
KR20130032897A (ko) 알코올 발효 시의 알코올 에스테르의 생성 및 원위치에서의 생성물 제거
KR20230165368A (ko) Cpf1 또는 csm1을 사용하여 게놈을 변형하기 위한 조성물 및 방법
KR20120136349A (ko) 고가의 화학적 생성물의 미생물 생산, 및 관련 조성물, 방법 및 시스템
KR20220012327A (ko) 피토칸나비노이드 및 피토칸나비노이드 전구체의 생산을 위한 방법 및 세포
IL236992A (en) Genetically modified cyanobacteria that produce ethanol
KR20140015136A (ko) 3-히드록시프로피온산 및 다른 생성물의 제조 방법

Legal Events

Date Code Title Description
PA0105 International application

Patent event date: 20110201

Patent event code: PA01051R01D

Comment text: International Patent Application

PG1501 Laying open of application
A201 Request for examination
PA0201 Request for examination

Patent event code: PA02012R01D

Patent event date: 20140624

Comment text: Request for Examination of Application

E902 Notification of reason for refusal
PE0902 Notice of grounds for rejection

Comment text: Notification of reason for refusal

Patent event date: 20150910

Patent event code: PE09021S01D

E601 Decision to refuse application
PE0601 Decision on rejection of patent

Patent event date: 20151127

Comment text: Decision to Refuse Application

Patent event code: PE06012S01D

Patent event date: 20150910

Comment text: Notification of reason for refusal

Patent event code: PE06011S01I