JP7679587B2 - 複合構造体、フレキシブルディスプレイアセンブリ、及び折り畳み式端末 - Google Patents

複合構造体、フレキシブルディスプレイアセンブリ、及び折り畳み式端末 Download PDF

Info

Publication number
JP7679587B2
JP7679587B2 JP2023573666A JP2023573666A JP7679587B2 JP 7679587 B2 JP7679587 B2 JP 7679587B2 JP 2023573666 A JP2023573666 A JP 2023573666A JP 2023573666 A JP2023573666 A JP 2023573666A JP 7679587 B2 JP7679587 B2 JP 7679587B2
Authority
JP
Japan
Prior art keywords
layer
fiber
flexible display
support member
composite structure
Prior art date
Legal status (The legal status is an assumption and is not a legal conclusion. Google has not performed a legal analysis and makes no representation as to the accuracy of the status listed.)
Active
Application number
JP2023573666A
Other languages
English (en)
Other versions
JP2024520578A (ja
Inventor
チン,ユエン
リー,ヤーンヤーン
ゾウ,チュン
ヤオ,ウエイウエイ
スゥン,ナンジエン
チェン,タイムオン
スゥ,ジャオリヤーン
Current Assignee (The listed assignees may be inaccurate. Google has not performed a legal analysis and makes no representation or warranty as to the accuracy of the list.)
Huawei Technologies Co Ltd
Original Assignee
Huawei Technologies Co Ltd
Priority date (The priority date is an assumption and is not a legal conclusion. Google has not performed a legal analysis and makes no representation as to the accuracy of the date listed.)
Filing date
Publication date
Application filed by Huawei Technologies Co Ltd filed Critical Huawei Technologies Co Ltd
Publication of JP2024520578A publication Critical patent/JP2024520578A/ja
Application granted granted Critical
Publication of JP7679587B2 publication Critical patent/JP7679587B2/ja
Active legal-status Critical Current
Anticipated expiration legal-status Critical

Links

Images

Classifications

    • BPERFORMING OPERATIONS; TRANSPORTING
    • B32LAYERED PRODUCTS
    • B32BLAYERED PRODUCTS, i.e. PRODUCTS BUILT-UP OF STRATA OF FLAT OR NON-FLAT, e.g. CELLULAR OR HONEYCOMB, FORM
    • B32B33/00Layered products characterised by particular properties or particular surface features, e.g. particular surface coatings; Layered products designed for particular purposes not covered by another single class
    • BPERFORMING OPERATIONS; TRANSPORTING
    • B32LAYERED PRODUCTS
    • B32BLAYERED PRODUCTS, i.e. PRODUCTS BUILT-UP OF STRATA OF FLAT OR NON-FLAT, e.g. CELLULAR OR HONEYCOMB, FORM
    • B32B15/00Layered products comprising a layer of metal
    • B32B15/04Layered products comprising a layer of metal comprising metal as the main or only constituent of a layer, which is next to another layer of the same or of a different material
    • B32B15/08Layered products comprising a layer of metal comprising metal as the main or only constituent of a layer, which is next to another layer of the same or of a different material of synthetic resin
    • B32B15/085Layered products comprising a layer of metal comprising metal as the main or only constituent of a layer, which is next to another layer of the same or of a different material of synthetic resin comprising polyolefins
    • BPERFORMING OPERATIONS; TRANSPORTING
    • B32LAYERED PRODUCTS
    • B32BLAYERED PRODUCTS, i.e. PRODUCTS BUILT-UP OF STRATA OF FLAT OR NON-FLAT, e.g. CELLULAR OR HONEYCOMB, FORM
    • B32B15/00Layered products comprising a layer of metal
    • B32B15/04Layered products comprising a layer of metal comprising metal as the main or only constituent of a layer, which is next to another layer of the same or of a different material
    • B32B15/08Layered products comprising a layer of metal comprising metal as the main or only constituent of a layer, which is next to another layer of the same or of a different material of synthetic resin
    • B32B15/095Layered products comprising a layer of metal comprising metal as the main or only constituent of a layer, which is next to another layer of the same or of a different material of synthetic resin comprising polyurethanes
    • BPERFORMING OPERATIONS; TRANSPORTING
    • B32LAYERED PRODUCTS
    • B32BLAYERED PRODUCTS, i.e. PRODUCTS BUILT-UP OF STRATA OF FLAT OR NON-FLAT, e.g. CELLULAR OR HONEYCOMB, FORM
    • B32B15/00Layered products comprising a layer of metal
    • B32B15/14Layered products comprising a layer of metal next to a fibrous or filamentary layer
    • BPERFORMING OPERATIONS; TRANSPORTING
    • B32LAYERED PRODUCTS
    • B32BLAYERED PRODUCTS, i.e. PRODUCTS BUILT-UP OF STRATA OF FLAT OR NON-FLAT, e.g. CELLULAR OR HONEYCOMB, FORM
    • B32B15/00Layered products comprising a layer of metal
    • B32B15/18Layered products comprising a layer of metal comprising iron or steel
    • BPERFORMING OPERATIONS; TRANSPORTING
    • B32LAYERED PRODUCTS
    • B32BLAYERED PRODUCTS, i.e. PRODUCTS BUILT-UP OF STRATA OF FLAT OR NON-FLAT, e.g. CELLULAR OR HONEYCOMB, FORM
    • B32B27/00Layered products comprising a layer of synthetic resin
    • B32B27/06Layered products comprising a layer of synthetic resin as the main or only constituent of a layer, which is next to another layer of the same or of a different material
    • BPERFORMING OPERATIONS; TRANSPORTING
    • B32LAYERED PRODUCTS
    • B32BLAYERED PRODUCTS, i.e. PRODUCTS BUILT-UP OF STRATA OF FLAT OR NON-FLAT, e.g. CELLULAR OR HONEYCOMB, FORM
    • B32B27/00Layered products comprising a layer of synthetic resin
    • B32B27/12Layered products comprising a layer of synthetic resin next to a fibrous or filamentary layer
    • BPERFORMING OPERATIONS; TRANSPORTING
    • B32LAYERED PRODUCTS
    • B32BLAYERED PRODUCTS, i.e. PRODUCTS BUILT-UP OF STRATA OF FLAT OR NON-FLAT, e.g. CELLULAR OR HONEYCOMB, FORM
    • B32B27/00Layered products comprising a layer of synthetic resin
    • B32B27/28Layered products comprising a layer of synthetic resin comprising synthetic resins not wholly covered by any one of the sub-groups B32B27/30 - B32B27/42
    • B32B27/281Layered products comprising a layer of synthetic resin comprising synthetic resins not wholly covered by any one of the sub-groups B32B27/30 - B32B27/42 comprising polyimides
    • BPERFORMING OPERATIONS; TRANSPORTING
    • B32LAYERED PRODUCTS
    • B32BLAYERED PRODUCTS, i.e. PRODUCTS BUILT-UP OF STRATA OF FLAT OR NON-FLAT, e.g. CELLULAR OR HONEYCOMB, FORM
    • B32B27/00Layered products comprising a layer of synthetic resin
    • B32B27/32Layered products comprising a layer of synthetic resin comprising polyolefins
    • BPERFORMING OPERATIONS; TRANSPORTING
    • B32LAYERED PRODUCTS
    • B32BLAYERED PRODUCTS, i.e. PRODUCTS BUILT-UP OF STRATA OF FLAT OR NON-FLAT, e.g. CELLULAR OR HONEYCOMB, FORM
    • B32B27/00Layered products comprising a layer of synthetic resin
    • B32B27/36Layered products comprising a layer of synthetic resin comprising polyesters
    • BPERFORMING OPERATIONS; TRANSPORTING
    • B32LAYERED PRODUCTS
    • B32BLAYERED PRODUCTS, i.e. PRODUCTS BUILT-UP OF STRATA OF FLAT OR NON-FLAT, e.g. CELLULAR OR HONEYCOMB, FORM
    • B32B27/00Layered products comprising a layer of synthetic resin
    • B32B27/40Layered products comprising a layer of synthetic resin comprising polyurethanes
    • BPERFORMING OPERATIONS; TRANSPORTING
    • B32LAYERED PRODUCTS
    • B32BLAYERED PRODUCTS, i.e. PRODUCTS BUILT-UP OF STRATA OF FLAT OR NON-FLAT, e.g. CELLULAR OR HONEYCOMB, FORM
    • B32B3/00Layered products comprising a layer with external or internal discontinuities or unevennesses, or a layer of non-planar shape; Layered products comprising a layer having particular features of form
    • B32B3/02Layered products comprising a layer with external or internal discontinuities or unevennesses, or a layer of non-planar shape; Layered products comprising a layer having particular features of form characterised by features of form at particular places, e.g. in edge regions
    • B32B3/06Layered products comprising a layer with external or internal discontinuities or unevennesses, or a layer of non-planar shape; Layered products comprising a layer having particular features of form characterised by features of form at particular places, e.g. in edge regions for securing layers together; for attaching the product to another member, e.g. to a support, or to another product, e.g. groove/tongue, interlocking
    • BPERFORMING OPERATIONS; TRANSPORTING
    • B32LAYERED PRODUCTS
    • B32BLAYERED PRODUCTS, i.e. PRODUCTS BUILT-UP OF STRATA OF FLAT OR NON-FLAT, e.g. CELLULAR OR HONEYCOMB, FORM
    • B32B3/00Layered products comprising a layer with external or internal discontinuities or unevennesses, or a layer of non-planar shape; Layered products comprising a layer having particular features of form
    • B32B3/10Layered products comprising a layer with external or internal discontinuities or unevennesses, or a layer of non-planar shape; Layered products comprising a layer having particular features of form characterised by a discontinuous layer, i.e. formed of separate pieces of material
    • B32B3/14Layered products comprising a layer with external or internal discontinuities or unevennesses, or a layer of non-planar shape; Layered products comprising a layer having particular features of form characterised by a discontinuous layer, i.e. formed of separate pieces of material characterised by a face layer formed of separate pieces of material which are juxtaposed side-by-side
    • BPERFORMING OPERATIONS; TRANSPORTING
    • B32LAYERED PRODUCTS
    • B32BLAYERED PRODUCTS, i.e. PRODUCTS BUILT-UP OF STRATA OF FLAT OR NON-FLAT, e.g. CELLULAR OR HONEYCOMB, FORM
    • B32B3/00Layered products comprising a layer with external or internal discontinuities or unevennesses, or a layer of non-planar shape; Layered products comprising a layer having particular features of form
    • B32B3/10Layered products comprising a layer with external or internal discontinuities or unevennesses, or a layer of non-planar shape; Layered products comprising a layer having particular features of form characterised by a discontinuous layer, i.e. formed of separate pieces of material
    • B32B3/18Layered products comprising a layer with external or internal discontinuities or unevennesses, or a layer of non-planar shape; Layered products comprising a layer having particular features of form characterised by a discontinuous layer, i.e. formed of separate pieces of material characterised by an internal layer formed of separate pieces of material which are juxtaposed side-by-side
    • BPERFORMING OPERATIONS; TRANSPORTING
    • B32LAYERED PRODUCTS
    • B32BLAYERED PRODUCTS, i.e. PRODUCTS BUILT-UP OF STRATA OF FLAT OR NON-FLAT, e.g. CELLULAR OR HONEYCOMB, FORM
    • B32B5/00Layered products characterised by the non- homogeneity or physical structure, i.e. comprising a fibrous, filamentary, particulate or foam layer; Layered products characterised by having a layer differing constitutionally or physically in different parts
    • B32B5/02Layered products characterised by the non- homogeneity or physical structure, i.e. comprising a fibrous, filamentary, particulate or foam layer; Layered products characterised by having a layer differing constitutionally or physically in different parts characterised by structural features of a fibrous or filamentary layer
    • BPERFORMING OPERATIONS; TRANSPORTING
    • B32LAYERED PRODUCTS
    • B32BLAYERED PRODUCTS, i.e. PRODUCTS BUILT-UP OF STRATA OF FLAT OR NON-FLAT, e.g. CELLULAR OR HONEYCOMB, FORM
    • B32B5/00Layered products characterised by the non- homogeneity or physical structure, i.e. comprising a fibrous, filamentary, particulate or foam layer; Layered products characterised by having a layer differing constitutionally or physically in different parts
    • B32B5/02Layered products characterised by the non- homogeneity or physical structure, i.e. comprising a fibrous, filamentary, particulate or foam layer; Layered products characterised by having a layer differing constitutionally or physically in different parts characterised by structural features of a fibrous or filamentary layer
    • B32B5/024Woven fabric
    • BPERFORMING OPERATIONS; TRANSPORTING
    • B32LAYERED PRODUCTS
    • B32BLAYERED PRODUCTS, i.e. PRODUCTS BUILT-UP OF STRATA OF FLAT OR NON-FLAT, e.g. CELLULAR OR HONEYCOMB, FORM
    • B32B5/00Layered products characterised by the non- homogeneity or physical structure, i.e. comprising a fibrous, filamentary, particulate or foam layer; Layered products characterised by having a layer differing constitutionally or physically in different parts
    • B32B5/02Layered products characterised by the non- homogeneity or physical structure, i.e. comprising a fibrous, filamentary, particulate or foam layer; Layered products characterised by having a layer differing constitutionally or physically in different parts characterised by structural features of a fibrous or filamentary layer
    • B32B5/12Layered products characterised by the non- homogeneity or physical structure, i.e. comprising a fibrous, filamentary, particulate or foam layer; Layered products characterised by having a layer differing constitutionally or physically in different parts characterised by structural features of a fibrous or filamentary layer characterised by the relative arrangement of fibres or filaments of different layers, e.g. the fibres or filaments being parallel or perpendicular to each other
    • BPERFORMING OPERATIONS; TRANSPORTING
    • B32LAYERED PRODUCTS
    • B32BLAYERED PRODUCTS, i.e. PRODUCTS BUILT-UP OF STRATA OF FLAT OR NON-FLAT, e.g. CELLULAR OR HONEYCOMB, FORM
    • B32B5/00Layered products characterised by the non- homogeneity or physical structure, i.e. comprising a fibrous, filamentary, particulate or foam layer; Layered products characterised by having a layer differing constitutionally or physically in different parts
    • B32B5/22Layered products characterised by the non- homogeneity or physical structure, i.e. comprising a fibrous, filamentary, particulate or foam layer; Layered products characterised by having a layer differing constitutionally or physically in different parts characterised by the presence of two or more layers which are next to each other and are fibrous, filamentary, formed of particles or foamed
    • B32B5/24Layered products characterised by the non- homogeneity or physical structure, i.e. comprising a fibrous, filamentary, particulate or foam layer; Layered products characterised by having a layer differing constitutionally or physically in different parts characterised by the presence of two or more layers which are next to each other and are fibrous, filamentary, formed of particles or foamed one layer being a fibrous or filamentary layer
    • B32B5/26Layered products characterised by the non- homogeneity or physical structure, i.e. comprising a fibrous, filamentary, particulate or foam layer; Layered products characterised by having a layer differing constitutionally or physically in different parts characterised by the presence of two or more layers which are next to each other and are fibrous, filamentary, formed of particles or foamed one layer being a fibrous or filamentary layer another layer next to it also being fibrous or filamentary
    • BPERFORMING OPERATIONS; TRANSPORTING
    • B32LAYERED PRODUCTS
    • B32BLAYERED PRODUCTS, i.e. PRODUCTS BUILT-UP OF STRATA OF FLAT OR NON-FLAT, e.g. CELLULAR OR HONEYCOMB, FORM
    • B32B7/00Layered products characterised by the relation between layers; Layered products characterised by the relative orientation of features between layers, or by the relative values of a measurable parameter between layers, i.e. products comprising layers having different physical, chemical or physicochemical properties; Layered products characterised by the interconnection of layers
    • B32B7/04Interconnection of layers
    • B32B7/08Interconnection of layers by mechanical means
    • BPERFORMING OPERATIONS; TRANSPORTING
    • B32LAYERED PRODUCTS
    • B32BLAYERED PRODUCTS, i.e. PRODUCTS BUILT-UP OF STRATA OF FLAT OR NON-FLAT, e.g. CELLULAR OR HONEYCOMB, FORM
    • B32B7/00Layered products characterised by the relation between layers; Layered products characterised by the relative orientation of features between layers, or by the relative values of a measurable parameter between layers, i.e. products comprising layers having different physical, chemical or physicochemical properties; Layered products characterised by the interconnection of layers
    • B32B7/04Interconnection of layers
    • B32B7/12Interconnection of layers using interposed adhesives or interposed materials with bonding properties
    • BPERFORMING OPERATIONS; TRANSPORTING
    • B32LAYERED PRODUCTS
    • B32BLAYERED PRODUCTS, i.e. PRODUCTS BUILT-UP OF STRATA OF FLAT OR NON-FLAT, e.g. CELLULAR OR HONEYCOMB, FORM
    • B32B9/00Layered products comprising a layer of a particular substance not covered by groups B32B11/00 - B32B29/00
    • B32B9/005Layered products comprising a layer of a particular substance not covered by groups B32B11/00 - B32B29/00 comprising one layer of ceramic material, e.g. porcelain, ceramic tile
    • B32B9/007Layered products comprising a layer of a particular substance not covered by groups B32B11/00 - B32B29/00 comprising one layer of ceramic material, e.g. porcelain, ceramic tile comprising carbon, e.g. graphite, composite carbon
    • BPERFORMING OPERATIONS; TRANSPORTING
    • B32LAYERED PRODUCTS
    • B32BLAYERED PRODUCTS, i.e. PRODUCTS BUILT-UP OF STRATA OF FLAT OR NON-FLAT, e.g. CELLULAR OR HONEYCOMB, FORM
    • B32B9/00Layered products comprising a layer of a particular substance not covered by groups B32B11/00 - B32B29/00
    • B32B9/04Layered products comprising a layer of a particular substance not covered by groups B32B11/00 - B32B29/00 comprising such particular substance as the main or only constituent of a layer, which is next to another layer of the same or of a different material
    • B32B9/047Layered products comprising a layer of a particular substance not covered by groups B32B11/00 - B32B29/00 comprising such particular substance as the main or only constituent of a layer, which is next to another layer of the same or of a different material made of fibres or filaments
    • HELECTRICITY
    • H10SEMICONDUCTOR DEVICES; ELECTRIC SOLID-STATE DEVICES NOT OTHERWISE PROVIDED FOR
    • H10KORGANIC ELECTRIC SOLID-STATE DEVICES
    • H10K59/00Integrated devices, or assemblies of multiple devices, comprising at least one organic light-emitting element covered by group H10K50/00
    • H10K59/80Constructional details
    • H10K59/87Passivation; Containers; Encapsulations
    • H10K59/871Self-supporting sealing arrangements
    • BPERFORMING OPERATIONS; TRANSPORTING
    • B32LAYERED PRODUCTS
    • B32BLAYERED PRODUCTS, i.e. PRODUCTS BUILT-UP OF STRATA OF FLAT OR NON-FLAT, e.g. CELLULAR OR HONEYCOMB, FORM
    • B32B2255/00Coating on the layer surface
    • B32B2255/02Coating on the layer surface on fibrous or filamentary layer
    • BPERFORMING OPERATIONS; TRANSPORTING
    • B32LAYERED PRODUCTS
    • B32BLAYERED PRODUCTS, i.e. PRODUCTS BUILT-UP OF STRATA OF FLAT OR NON-FLAT, e.g. CELLULAR OR HONEYCOMB, FORM
    • B32B2255/00Coating on the layer surface
    • B32B2255/20Inorganic coating
    • B32B2255/205Metallic coating
    • BPERFORMING OPERATIONS; TRANSPORTING
    • B32LAYERED PRODUCTS
    • B32BLAYERED PRODUCTS, i.e. PRODUCTS BUILT-UP OF STRATA OF FLAT OR NON-FLAT, e.g. CELLULAR OR HONEYCOMB, FORM
    • B32B2255/00Coating on the layer surface
    • B32B2255/28Multiple coating on one surface
    • BPERFORMING OPERATIONS; TRANSPORTING
    • B32LAYERED PRODUCTS
    • B32BLAYERED PRODUCTS, i.e. PRODUCTS BUILT-UP OF STRATA OF FLAT OR NON-FLAT, e.g. CELLULAR OR HONEYCOMB, FORM
    • B32B2260/00Layered product comprising an impregnated, embedded, or bonded layer wherein the layer comprises an impregnation, embedding, or binder material
    • B32B2260/02Composition of the impregnated, bonded or embedded layer
    • B32B2260/021Fibrous or filamentary layer
    • BPERFORMING OPERATIONS; TRANSPORTING
    • B32LAYERED PRODUCTS
    • B32BLAYERED PRODUCTS, i.e. PRODUCTS BUILT-UP OF STRATA OF FLAT OR NON-FLAT, e.g. CELLULAR OR HONEYCOMB, FORM
    • B32B2260/00Layered product comprising an impregnated, embedded, or bonded layer wherein the layer comprises an impregnation, embedding, or binder material
    • B32B2260/02Composition of the impregnated, bonded or embedded layer
    • B32B2260/021Fibrous or filamentary layer
    • B32B2260/023Two or more layers
    • BPERFORMING OPERATIONS; TRANSPORTING
    • B32LAYERED PRODUCTS
    • B32BLAYERED PRODUCTS, i.e. PRODUCTS BUILT-UP OF STRATA OF FLAT OR NON-FLAT, e.g. CELLULAR OR HONEYCOMB, FORM
    • B32B2260/00Layered product comprising an impregnated, embedded, or bonded layer wherein the layer comprises an impregnation, embedding, or binder material
    • B32B2260/04Impregnation, embedding, or binder material
    • B32B2260/046Synthetic resin
    • BPERFORMING OPERATIONS; TRANSPORTING
    • B32LAYERED PRODUCTS
    • B32BLAYERED PRODUCTS, i.e. PRODUCTS BUILT-UP OF STRATA OF FLAT OR NON-FLAT, e.g. CELLULAR OR HONEYCOMB, FORM
    • B32B2262/00Composition or structural features of fibres which form a fibrous or filamentary layer or are present as additives
    • B32B2262/02Synthetic macromolecular fibres
    • B32B2262/0261Polyamide fibres
    • B32B2262/0269Aromatic polyamide fibres
    • BPERFORMING OPERATIONS; TRANSPORTING
    • B32LAYERED PRODUCTS
    • B32BLAYERED PRODUCTS, i.e. PRODUCTS BUILT-UP OF STRATA OF FLAT OR NON-FLAT, e.g. CELLULAR OR HONEYCOMB, FORM
    • B32B2262/00Composition or structural features of fibres which form a fibrous or filamentary layer or are present as additives
    • B32B2262/02Synthetic macromolecular fibres
    • B32B2262/0292Polyurethane fibres
    • BPERFORMING OPERATIONS; TRANSPORTING
    • B32LAYERED PRODUCTS
    • B32BLAYERED PRODUCTS, i.e. PRODUCTS BUILT-UP OF STRATA OF FLAT OR NON-FLAT, e.g. CELLULAR OR HONEYCOMB, FORM
    • B32B2262/00Composition or structural features of fibres which form a fibrous or filamentary layer or are present as additives
    • B32B2262/10Inorganic fibres
    • B32B2262/101Glass fibres
    • BPERFORMING OPERATIONS; TRANSPORTING
    • B32LAYERED PRODUCTS
    • B32BLAYERED PRODUCTS, i.e. PRODUCTS BUILT-UP OF STRATA OF FLAT OR NON-FLAT, e.g. CELLULAR OR HONEYCOMB, FORM
    • B32B2262/00Composition or structural features of fibres which form a fibrous or filamentary layer or are present as additives
    • B32B2262/10Inorganic fibres
    • B32B2262/106Carbon fibres, e.g. graphite fibres
    • BPERFORMING OPERATIONS; TRANSPORTING
    • B32LAYERED PRODUCTS
    • B32BLAYERED PRODUCTS, i.e. PRODUCTS BUILT-UP OF STRATA OF FLAT OR NON-FLAT, e.g. CELLULAR OR HONEYCOMB, FORM
    • B32B2307/00Properties of the layers or laminate
    • B32B2307/20Properties of the layers or laminate having particular electrical or magnetic properties, e.g. piezoelectric
    • B32B2307/202Conductive
    • BPERFORMING OPERATIONS; TRANSPORTING
    • B32LAYERED PRODUCTS
    • B32BLAYERED PRODUCTS, i.e. PRODUCTS BUILT-UP OF STRATA OF FLAT OR NON-FLAT, e.g. CELLULAR OR HONEYCOMB, FORM
    • B32B2307/00Properties of the layers or laminate
    • B32B2307/30Properties of the layers or laminate having particular thermal properties
    • B32B2307/302Conductive
    • BPERFORMING OPERATIONS; TRANSPORTING
    • B32LAYERED PRODUCTS
    • B32BLAYERED PRODUCTS, i.e. PRODUCTS BUILT-UP OF STRATA OF FLAT OR NON-FLAT, e.g. CELLULAR OR HONEYCOMB, FORM
    • B32B2307/00Properties of the layers or laminate
    • B32B2307/50Properties of the layers or laminate having particular mechanical properties
    • B32B2307/558Impact strength, toughness
    • BPERFORMING OPERATIONS; TRANSPORTING
    • B32LAYERED PRODUCTS
    • B32BLAYERED PRODUCTS, i.e. PRODUCTS BUILT-UP OF STRATA OF FLAT OR NON-FLAT, e.g. CELLULAR OR HONEYCOMB, FORM
    • B32B2457/00Electrical equipment
    • B32B2457/20Displays, e.g. liquid crystal displays, plasma displays
    • GPHYSICS
    • G09EDUCATION; CRYPTOGRAPHY; DISPLAY; ADVERTISING; SEALS
    • G09FDISPLAYING; ADVERTISING; SIGNS; LABELS OR NAME-PLATES; SEALS
    • G09F9/00Indicating arrangements for variable information in which the information is built-up on a support by selection or combination of individual elements
    • G09F9/30Indicating arrangements for variable information in which the information is built-up on a support by selection or combination of individual elements in which the desired character or characters are formed by combining individual elements
    • G09F9/301Indicating arrangements for variable information in which the information is built-up on a support by selection or combination of individual elements in which the desired character or characters are formed by combining individual elements flexible foldable or roll-able electronic displays, e.g. thin LCD, OLED
    • HELECTRICITY
    • H10SEMICONDUCTOR DEVICES; ELECTRIC SOLID-STATE DEVICES NOT OTHERWISE PROVIDED FOR
    • H10KORGANIC ELECTRIC SOLID-STATE DEVICES
    • H10K59/00Integrated devices, or assemblies of multiple devices, comprising at least one organic light-emitting element covered by group H10K50/00
    • H10K59/80Constructional details
    • HELECTRICITY
    • H10SEMICONDUCTOR DEVICES; ELECTRIC SOLID-STATE DEVICES NOT OTHERWISE PROVIDED FOR
    • H10KORGANIC ELECTRIC SOLID-STATE DEVICES
    • H10K59/00Integrated devices, or assemblies of multiple devices, comprising at least one organic light-emitting element covered by group H10K50/00
    • H10K59/80Constructional details
    • H10K59/87Passivation; Containers; Encapsulations
    • H10K59/871Self-supporting sealing arrangements
    • H10K59/8722Peripheral sealing arrangements, e.g. adhesives, sealants
    • HELECTRICITY
    • H10SEMICONDUCTOR DEVICES; ELECTRIC SOLID-STATE DEVICES NOT OTHERWISE PROVIDED FOR
    • H10KORGANIC ELECTRIC SOLID-STATE DEVICES
    • H10K59/00Integrated devices, or assemblies of multiple devices, comprising at least one organic light-emitting element covered by group H10K50/00
    • H10K59/80Constructional details
    • H10K59/8794Arrangements for heating and cooling
    • HELECTRICITY
    • H10SEMICONDUCTOR DEVICES; ELECTRIC SOLID-STATE DEVICES NOT OTHERWISE PROVIDED FOR
    • H10KORGANIC ELECTRIC SOLID-STATE DEVICES
    • H10K77/00Constructional details of devices covered by this subclass and not covered by groups H10K10/80, H10K30/80, H10K50/80 or H10K59/80
    • H10K77/10Substrates, e.g. flexible substrates
    • H10K77/111Flexible substrates

Landscapes

  • Engineering & Computer Science (AREA)
  • Ceramic Engineering (AREA)
  • Chemical & Material Sciences (AREA)
  • Textile Engineering (AREA)
  • Mechanical Engineering (AREA)
  • Physics & Mathematics (AREA)
  • General Physics & Mathematics (AREA)
  • Theoretical Computer Science (AREA)
  • Laminated Bodies (AREA)
  • Electroluminescent Light Sources (AREA)
  • Devices For Indicating Variable Information By Combining Individual Elements (AREA)
  • Telephone Set Structure (AREA)

Description

本出願は、その全体が参照により本明細書に組み込まれる、2021年5月31日に中国国家知識産権局に出願された「COMPOSITE STRUCTURE, FLEXIBLE DISPLAY ASSEMBLY, AND FOLDABLE TERMINAL」と題する中国特許出願第202110606183.1号の優先権を主張するものである。
本出願の実施形態は、フレキシブルディスプレイ技術の分野に関し、特に、複合構造体、フレキシブルディスプレイアセンブリ、及び折り畳み式端末に関する。
フレキシブルディスプレイ技術の発展に伴い、端末デバイスにおけるフレキシブルディスプレイの使用が増加している。折り畳み式端末のフレキシブルディスプレイの画面の平坦性及び剛性を維持するために、通常、金属層が画面下支持機構部として画面の下に配置される。金属層の材料は、主にステンレス鋼及びチタン合金である。ステンレス鋼は広く使用されている材料であるが、ステンレス鋼は重いので、折り畳み式端末の全体的な軽量化にはつながらない。チタン合金はより軽量であるが、チタン合金のコストはステンレス鋼のコストよりはるかに高い。加えて、チタン合金の剛性及び強度はステンレス鋼よりも低い。このため、チタン合金の曲げ信頼性のリスクはステンレス鋼よりも高く、チタン合金は、現在広く使用されていない。ステンレス鋼又はチタン合金で作られている画面下支持機構部の欠点を克服するために、高い構造強度、軽量化、及び低コストを同時に実現することができるフレキシブルディスプレイ支持構造体を提供することが必要である。
これを考慮して、本出願の実施形態は、基板層と機能層とを含む複合構造体を提供する。基板層は、ステンレス鋼などの金属材料に比べて強度が高く、質量が小さく、低コストである硬質ゴム繊維複合材料で作られている。機能層は、複合構造体に、導電性、熱伝導性、耐衝撃性などの機能を付与し得る。複合構造体は、フレキシブルディスプレイを支持するために使用され、フレキシブルディスプレイに、良好な剛性支持を提供し得、小質量及び低コストを有し、加えて、導電性、熱伝導性、耐衝撃性などの機能を効果的に実現することができ、それにより、折り畳み式端末の製品競争力が高まる。
具体的には、本出願の実施形態の第1の態様は、複合構造体を提供する。複合構造体は、基板層と、基板層の少なくとも片側の表面に配置された機能層とを含み、基板層は、並んで配置された第1の支持部材及び第2の支持部材と、第1の支持部材と第2の支持部材との間に配置され、第1の支持部材及び第2の支持部材に接続された屈曲可能な接続部材とを含み、第1の支持部材及び第2の支持部材の材料は、硬質ゴム繊維複合材料を含み、機能層は、導電層、熱伝導層、及び耐衝撃層のうちの1つ又は複数を含む。第1の支持部材及び第2の支持部材は、硬質ゴム繊維複合材料、言い換えると、繊維強化硬質ゴム材料から作られており、これは、小質量及び高強度を有し、フレキシブルディスプレイに対して良好な剛性支持を提供することができ、軽量化の利益が高く、材料コストが低く、それにより、折り畳み式端末の製品競争力が高まる。機能層は、複合構造体に、導電性、熱伝導性、耐衝撃性などの性能を付与し、フレキシブルディスプレイ全体及び端末製品の電気接続、放熱、耐落下性などの機能を実現し、市販のフレキシブルディスプレイ支持構造体に対する多機能要件を満たし、折り畳み式端末製品の市場競争力をさらに高めるために配置され得る。
本出願の一実装形態では、導電層は導電性金属を含み、導電層は単層構造又は多層構造を有する。導電層は、複合構造体が別の構成要素に効果的に電気的に接続されることを可能にするように配置され得る。導電層は、接着、無電解めっき、無電解めっきと電気めっきとの接合、又は金属シート圧入の方式で基板層上に形成され得る。
本出願の一実装形態では、導電性金属は、銅、銀、金、ニッケル、及びスズのうちの1つ又は複数を含む。導電層が単層構造を有する場合、導電層は、1種類の導電性金属、例えば、銅単層又はニッケル単層によって形成されてもよいし、2種類以上の導電性金属によって形成、例えば、導電層がニッケル及び金によって形成、されてもよい。具体的には、導電層の局所領域は金層であり得、金層以外の別の領域はニッケル層である。導電層が多層構造を有する場合、異なる層の材料は同じであっても異なっていてもよく、各層は1種類の導電性金属で形成されてもよいし、2種類以上の異なる導電性金属で形成されてもよい。例えば、導電層は、内層と外層とを含み、内層は、基板層上に配置され、外層は、内層の、基板層から離れた側に配置される。具体的に、内層は、金、銀、及び銅のうちの少なくとも1つを含み、外層は、ニッケル及びスズのうちの少なくとも1つを含み、外層は、内層を保護し得る。代替的に、内層はニッケル層であってもよく、金層はニッケル層上に局所的にめっきされる。
本出願の一実装形態では、熱伝導層は、熱伝導性シリコーンシート、熱伝導性シリコングリス、熱伝導性両面テープ、熱伝導性グラファイトシート、グラフェンシート、及び酸化グラフェンシートのうちの1つ又は複数を含む。熱伝導層は、複合構造体に良好な熱伝導機能を提供し、フレキシブルディスプレイ及び端末製品全体の放熱のための効果的なチャネルを提供するように配置され得る。熱伝導層は、接着又は熱融着の方式で基板層上に形成され得る。
本出願の一実装形態では、耐衝撃層は、シリコーンゴム、熱可塑性エラストマー(TPE)、ポリウレタンアクリレート(PUA)、ポリ塩化ビニル(PVC)軟質ゴム、及びポリウレタン(PU)のうちの1つ又は複数を含む。耐衝撃層は、複合構造体及びフレキシブルディスプレイが外部衝撃に耐える能力を向上させ、複合構造体の安定性を維持するのを助け、端末製品の耐落下性能を向上させるために配置され得る。耐衝撃層は、接着又は熱融着の方式で基板層上に形成され得る。
本出願の一実装形態では、機能層は、基板層の片面に配置されてもよいし、基板層の両面に配置されてもよい。機能層は、基板層を完全に覆っていてもよいし、基板層を部分的に覆っていてもよい。例えば、基板層を部分的に覆うことは、機能層が基板層の第1の支持部材及び第2の支持部材の表面のみを覆い、屈曲可能な接続部材を覆わないことであり得る。機能層が基板層の両面に配置される場合、両面の機能層の材料、層数、厚さなどは、同じであってもよいし、異なっていてもよい。導電層、熱伝導層、及び耐衝撃層は、任意の順序で積層して基板層上に配置され得る。
本出願の一実装形態では、硬質ゴム繊維複合材料は、少なくとも1つの繊維層と、繊維層上で硬化された硬質ゴム材料とを含む。
本出願の一実装形態では、繊維層は、一方向繊維織物及び/又は織繊維織物を含む。言い換えると、各繊維層の繊維の織り方は、一方向織りであってもよいし、多方向織りであってもよい。
本出願の一実装形態では、硬質ゴム材料は、硬質樹脂及び/又は硬質ゴムを含む。フレキシブルディスプレイの本体を支持するために使用される支持部材は、高剛性を有する必要があり、剛性要件を満たすために、硬質樹脂及び/又は硬質ゴムが選択され得る。
本出願の一実装形態では、硬質ゴム材料は、エポキシ樹脂、フェノール樹脂、アミノ樹脂、不飽和ポリエステル、シリルエーテル樹脂、ポリオレフィン、ポリアミド、ポリオキシメチレン、ポリカーボネート、ポリフェニレンエーテル、及びポリスルホンのうちの1つ又は複数を含む。
本出願の一実装形態では、繊維層は、ガラス繊維、炭素繊維、アラミド繊維、酸化アルミニウム繊維、超高分子量ポリエチレン繊維、及びポリ(p-フェニレンベンゾビスオキサゾール)繊維のうちの1つ又は複数を含む。
本出願の一実装形態では、硬質ゴム繊維複合材料における繊維の質量含有率は10%~80%である。繊維含有率を高くすることで、硬質ゴム繊維複合材料の強度を向上させることができる。
本出願の一実装形態では、硬質ゴム繊維複合材料は、複数の繊維層を含み、複数の繊維層及び硬質ゴム材料が、繊維と硬質ゴムとが交互に積層された複合積層体を形成するか、又は複数の繊維層が積層されて繊維スタックを形成し、硬質ゴム材料が繊維スタック上で硬化される。
本出願の一実装形態では、屈曲可能な接続部材の材料は、有機可撓性材料、軟質ゴム繊維複合材料、屈曲可能な硬質ゴム繊維複合材料、及び屈曲可能な金属材料のうちの1つ又は複数を含む。前述の4つの材料の全ては、フレキシブルディスプレイの折り畳み及び展開と協働するために、屈曲可能な接続部材の屈曲性能を実現することができる。軟質ゴム繊維複合材料及び有機可撓性材料は、軽量化の利益をさらに得ることができる。
本出願の一実装形態では、有機可撓性材料は、フッ素ゴム、シリコーンゴム、熱可塑性エラストマー、ポリ塩化ビニル、ポリイミド、ポリエチレンテレフタレート、環状オレフィンポリマー、液晶ポリマー、及びポリジメチルシロキサンのうちの1つ又は複数を含む。
本出願の一実装形態では、軟質ゴム繊維複合材料は、少なくとも1つの繊維層と、繊維層上で硬化された軟質ゴム材料とを含み、軟質ゴム材料は、フッ素ゴム、シリコーンゴム、及び熱可塑性エラストマーのうちの1つ又は複数を含む。
本出願の一実装形態では、軟質ゴム繊維複合材料における繊維の質量含有率は10%~80%である。
本出願の一実装形態では、軟質ゴム繊維複合材料は複数の繊維層を含み、複数の繊維層及び軟質ゴム材料が、繊維と軟質ゴムとが交互に積層された複合積層体を形成するか、又は複数の繊維層が積層されて繊維スタックを形成し、軟質ゴム材料が繊維スタック上で硬化される。
本出願の一実装形態では、屈曲可能な金属材料は、ステンレス鋼、チタン合金、及びアルミニウム合金のうちの1つ又は複数を含む。具体的には、屈曲性能をより良好に実現するために、屈曲可能な金属材料は、多孔質ステンレス鋼、多孔質チタン合金、又は多孔質アルミニウム合金であり得る。
本出願の一実装形態では、屈曲可能な接続部材が軟質ゴム繊維複合材料で作られている場合、複合構造体は、第1の支持部材、第2の支持部材、及び屈曲可能な接続部材に連続的に存在する一体的に織られた繊維層を含む。複合構造体は、1つ又は複数の層を含む一体的に織られた繊維層であり得る。
本出願の一実装形態では、屈曲可能な硬質ゴム繊維複合材料は、多孔質構造を有する。屈曲可能な硬質ゴム繊維複合材料は、硬質ゴム繊維複合材料に対してレーザー穴開け加工を施すことによって多孔質構造を形成して、屈曲性能を実現し得る。
本出願の一実装形態では、屈曲可能な接続部材が屈曲可能な硬質ゴム繊維複合材料で作られている場合、屈曲可能な接続部材と第1の支持部材及び/又は第2の支持部材とは、一体形成された構造であり得る。基板層が一体形成された構造である場合、基板層は、第1の支持部材、第2の支持部材、及び屈曲可能な接続部材内に連続的に存在する一体的に織られた繊維層及び硬質ゴム層を含む。基板層は、一体形成された構造であり、これは、全体として基板層の高い構造安定性を実現するのを助ける。
本出願の一実装形態では、複合構造体の厚さは0.1mm~5mmである。複合構造体の厚さは、材料の性能及び製品の実際の適用要件に従って具体的に設計され得る。複合構造体は、全体として板状又はシート状である。
本出願の一実装形態では、第1の支持部材、屈曲可能な接続部材、及び第2の支持部材は、熱圧着、接着、スプライシング、若しくは埋め込みの方式で組み合わされるか、又は屈曲可能な接続部材と第1の支持部材及び/若しくは第2の支持部材とは、一体形成された構造である。
本出願の実施形態の第1の態様で提供される複合構造体は、高強度、高剛性、小質量、低コスト、及び機能化を特徴とし、屈曲性能を有する。複合構造体は、強度及び剛性などの要件を満たしながら製品の軽量化及び機能化を実現し、折り畳み式端末製品の競争力を高めるために、折り畳み式端末製品で使用され得る。
本出願の実施形態の第2の態様は、本出願の実施形態の第1の態様による複合構造体を含む端末を提供する。複合構造体は、フレキシブルディスプレイとして使用される画面下支持構造体であってもよいし、他の機能部品として使用されてもよい。端末は、フレキシブルディスプレイと、フレキシブルディスプレイの下に配置された複合構造体とを含む。
本出願の実施形態の第3の態様は、フレキシブルディスプレイと、フレキシブルディスプレイを支持するために使用されるフレキシブルディスプレイ支持構造体とを含むフレキシブルディスプレイアセンブリを提供する。フレキシブルディスプレイ支持構造体は、本出願の実施形態の第1の態様による複合構造体を使用することによって作成される。前述の複合構造体は、フレキシブルディスプレイ支持構造体として使用されるので、フレキシブルディスプレイ支持構造体の強度、剛性、及び屈曲性能を満たしながら、製品の軽量化及び機能化を実現することができる。ステンレス鋼のフレキシブルディスプレイ支持構造体と比較して、重量が60%超低減され、コストが低い。
本出願の一実施形態は、本出願の実施形態の第3の態様によるフレキシブルディスプレイアセンブリを含む折り畳み式端末をさらに提供する。フレキシブルディスプレイは、屈曲領域と屈曲領域の両側の非屈曲領域とを含み、フレキシブルディスプレイ支持構造体は、フレキシブルディスプレイの外面に配置され、フレキシブルディスプレイ支持構造体の第1の支持部材及び第2の支持部材は、フレキシブルディスプレイの両側の非屈曲領域にそれぞれ対応し、屈曲可能な接続部材は、フレキシブルディスプレイの屈曲領域に対応する。本出願のこの実施形態において提供される折り畳み式端末によれば、フレキシブルディスプレイ支持構造体は、高強度を有し、フレキシブルディスプレイに対して十分な剛性支持を提供することができ、小質量及び低コストを有する。加えて、フレキシブルディスプレイ支持構造体は、フレキシブルディスプレイ及び折り畳み式端末の電気接続、放熱、及び耐落下性などの機能をさらに実装して、製品競争力を高め、ユーザ体験を向上させることができる。
本出願の一実施形態による折り畳み式端末10の構造の概略図である。 本出願の一実施形態によるフレキシブルディスプレイ支持構造体30の構造の概略図である。 本出願の一実施形態による基板層100の構造の概略図である。 本出願の一実施形態による折り畳み式端末10の構造の概略図である。 一実施形態による、図1のフレキシブルディスプレイ支持構造体30のA-A’方向の断面の構造の概略図である。 一実施形態による、図1のフレキシブルディスプレイ支持構造体30のA-A’方向の断面の構造の概略図である。 一実施形態による、図1のフレキシブルディスプレイ支持構造体30のA-A’方向の断面の構造の概略図である。 一実施形態による、図1のフレキシブルディスプレイ支持構造体30のA-A’方向の断面の構造の概略図である。 一実施形態による、図1のフレキシブルディスプレイ支持構造体30のA-A’方向の断面の構造の概略図である。 一実施形態による、図1のフレキシブルディスプレイ支持構造体30のA-A’方向の断面の構造の概略図である。 一実施形態による、図1のフレキシブルディスプレイ支持構造体30のA-A’方向の断面の構造の概略図である。 一実施形態による、図1のフレキシブルディスプレイ支持構造体30のA-A’方向の断面の構造の概略図である。 図1のフレキシブルディスプレイ支持構造体30のA-A’方向の断面の構造の概略図である。 図1のフレキシブルディスプレイ支持構造体30のA-A’方向の断面の構造の概略図である。 図1のフレキシブルディスプレイ支持構造体30のA-A’方向の断面の構造の概略図である。 一実施形態による、図1のフレキシブルディスプレイ支持構造体30のA-A’方向の断面の構造の概略図である。 一実施形態による、図1のフレキシブルディスプレイ支持構造体30のA-A’方向の断面の構造の概略図である。 本出願の一実施形態による硬質ゴム繊維複合材料の構造の概略図である。 本出願の一実施形態による繊維多方向織り(fiber multidirectional weaving)の構造の概略図である。 本出願の別の実施形態による硬質ゴム繊維複合材料の構造の概略図である。 本出願の別の実施形態による硬質ゴム繊維複合材料の構造の概略図である。 本出願の一実施形態による、複数の角度での繊維層の複数の繊維織り層(fiber weaving layer)の積み重ね(stacking)の概略図である。 本出願の一実施形態による、一体的に織られた繊維層を含むフレキシブルディスプレイ支持構造体の構造の概略図である。 本出願の一実施形態による、硬質ゴム繊維複合材料の作製プロセスのフローチャートである。 本出願の別の実施形態による、硬質ゴム繊維複合材料の作製プロセスのフローチャートである。 本出願の一実施形態による、硬質ゴム繊維複合材料で作られている第1の支持部材と屈曲可能な接続部材との間の接続方式の概略図である。 本出願の一実施形態による、硬質ゴム繊維複合材料で作られている第1の支持部材と屈曲可能な接続部材との間の接続方式の概略図である。 本出願の一実施形態による、硬質ゴム繊維複合材料で作られている第1の支持部材と屈曲可能な接続部材との間の接続方式の概略図である。 本出願の一実施形態による、硬質ゴム繊維複合材料で作られている第1の支持部材と屈曲可能な接続部材との間の接続方式の概略図である。 本出願の一実施形態による、硬質ゴム繊維複合材料で作られている第1の支持部材と屈曲可能な接続部材との間の接続方式の概略図である。
以下は、本出願の実施形態における添付の図面を参照して、本出願の実施形態を説明する。
図1を参照されたい。本出願の実施形態は、折り畳み式端末10を提供する。折り畳み式端末10は、携帯電話、タブレットコンピュータ、ノートブックコンピュータ、ゲーム用ラップトップ、電子ブックリーダー、車載コンピュータ、ディスプレイ、ウェアラブルデバイスなどの端末製品であり得る。折り畳み式端末10は、フレキシブルディスプレイ20と、フレキシブルディスプレイ20の、表示面から離れた側に取り付けられたフレキシブルディスプレイ支持構造体30とを含む。フレキシブルディスプレイ20は、屈曲領域21と、屈曲領域21の両側に位置する非屈曲領域22とを含み、対向する2つの側の非屈曲領域22の表面は平面である。フレキシブルディスプレイ20は屈曲可能であり、屈曲領域21において屈曲されて、フレキシブルディスプレイ20の折り畳み及び展開を実現し得る。例えば、フレキシブルディスプレイ20は、ポリエチレンテレフタレート(polyethylene terephthalate、PET)などの可撓性樹脂材料を基板として使用するアクティブマトリクス式有機発光ダイオード(active matrix organic light-emitting diode、AMOLED)ディスプレイであってもよいし、他の種類又は他の形態のディスプレイであってもよい。
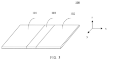
図2及び図3を参照されたい。本出願のこの実施形態において提供されるフレキシブルディスプレイ支持構造体30は、複合構造体で作られている。複合構造体は、基板層100と、基板層100上に配置された機能層200とを含む。基板層100は、並んで配置された第1の支持部材101と、屈曲可能な接続部材103と、第2の支持部材102とを含む。屈曲可能な接続部材103は、第1の支持部材101と第2の支持部材102との間に配置される。屈曲可能な接続部材103の対向する2つの側は、第1の支持部材101及び第2の支持部材102にそれぞれ接続される。第1の支持部材101、屈曲可能な接続部材103、及び第2の支持部材102は、第1の方向(図2のX方向)に並んで配置される。第1の支持部材101及び第2の支持部材102の材料は、硬質ゴム繊維複合材料を含む。具体的には、第1の支持部材101及び第2の支持部材102は、板状の硬質ゴム繊維複合パネルである。機能層200は、導電層、熱伝導層、及び耐衝撃層のうちの1つ又は複数を含む。機能層200は、基板層100の片側の表面又は両側の表面に配置され得る。機能層200が基板層100の片側の表面にのみ配置される場合、機能層200は、基板層100のフレキシブルディスプレイ20に近い側に位置してもよいし、基板層のフレキシブルディスプレイ20から離れた側に位置してもよい。機能層200は、電気めっき、無電解めっき、接合、圧着などにより基板層100上に形成され得る。
本出願の一実装形態では、フレキシブルディスプレイ支持構造体30は、接着剤により、フレキシブルディスプレイ20の、表示面から離れた側の表面に接合されて、フレキシブルディスプレイ20を支持し得る。言い換えると、基板層100又は機能層200は、接着によってフレキシブルディスプレイ20に接合されてもよく、フレキシブルディスプレイ支持構造体30の異なる領域は、同じ接着剤又は異なる接着剤によってフレキシブルディスプレイ20に緊密且つ堅固に接合されてもよい。本出願の一実装形態では、フレキシブルディスプレイ支持構造体30の長さ及び幅(すなわち、図2のX方向及びY方向のサイズ)は、フレキシブルディスプレイ20の長さ及び幅と一致するか、又は基本的に一致する。
図1及び図4を参照されたい。フレキシブルディスプレイ支持構造体30は、フレキシブルディスプレイ20の、表示面から離れた側に取り付けられ、折り畳み式端末を支持するフレキシブルディスプレイ20を担持するために使用される。基板層100の第1の支持部材101及び第2の支持部材102は、フレキシブルディスプレイ20の非屈曲領域22に対応し、屈曲可能な接続部材103は、フレキシブルディスプレイ20の屈曲領域21に対応する。折り畳み式端末10が展開されると、フレキシブルディスプレイ20の屈曲領域21と、屈曲領域21を支持する屈曲可能な接続部材103とが共に展開される。折り畳み式端末10が展開されると、フレキシブルディスプレイ20の屈曲領域21と、屈曲領域21を支持する屈曲可能な接続部材103及び機能層200が共に展開される。第1の支持部材101と第2の支持部材102との間の挟角が180°未満であるとき、フレキシブルディスプレイ20は曲げられた状態にある。第1の支持部材101と第2の支持部材102との間の挟角が180°に等しいとき、フレキシブルディスプレイ20は展開状態にある。フレキシブルディスプレイ支持構造体30は、フレキシブルディスプレイ20を折り畳んだり展開したりする過程でフレキシブルディスプレイ20を支持してフレキシブルディスプレイ20の平坦度を確保し、フレキシブルディスプレイ20の非表示面を保護し得る。本出願のこの実施形態において提供されるフレキシブルディスプレイ支持構造体30によれば、基板層100内の第1の支持部材101及び第2の支持部材102は、硬質ゴム繊維複合材料で作られている。硬質ゴム繊維複合材料は、高強度を有し、ステンレス鋼などの金属材料よりも質量が小さい。従って、硬質ゴム繊維複合材料は、フレキシブルディスプレイに対して良好な剛性支持を提供し、軽量化の利益が高く、折り畳み式端末の製品競争力を高めるのを助ける。機能層200は、フレキシブルディスプレイ支持構造体30の製品機能要件を満たすために、フレキシブルディスプレイ支持構造体30に、導電性、熱伝導性、耐衝撃性などの性能を付与するように配置され得る。
本出願の一実装形態では、機能層200は、導電層、熱伝導層、及び耐衝撃層のうちの1つ又は複数を含み得、必要に応じて、別の機能を有する機能層をさらに含み得る。言い換えると、機能層200は、導電層、熱伝導層、及び耐衝撃層のうちの少なくとも1つを含む。機能層200は、1つ又は複数の導電層を含み得る。機能層200は、1つ又は複数の熱伝導層を含み得る。機能層200は、1つ又は複数の耐衝撃層を含み得る。機能層200の厚さは、5μm~500μmであり得る。機能層200の厚さは、5μm~500μmであり、基板層100の片面の機能層の合計厚さである。いくつかの実施形態では、機能層200の厚さは、10μm~200μmであり得る。いくつかの実施形態では、機能層200の厚さは、6μm~100μmであり得る。機能層200は、基板層100の片面に配置されてもよいし、基板層100の両面に配置されてもよい。機能層200は、基板層100を完全に覆っていてもよいし、基板層100を部分的に覆っていてもよい。機能層200が基板層100の両面に配置されるとき、両面の機能層200の材料、層数、厚さなどは、同じであってもよいし、異なっていてもよい。導電層、熱伝導層、及び耐衝撃層は、実際の要求に応じて、基板層100の片面又は両面に選択的に配置され得る。機能層200は、導電層を含んでもよいし、熱伝導層を含んでもよいし、耐衝撃層を含んでもよいし、導電層と熱伝導層とを含んでもよいし、導電層と耐衝撃層とを含んでもよいし、熱伝導層と耐衝撃層とを含んでもよいし、導電層と熱伝導層と耐衝撃層とを含んでもよい。任意選択で、機能層200は、別の機能を有する機能層をさらに含み得る。導電層、熱伝導層及び耐衝撃層は、任意の順序で積層して基板層100上に配置され得る。任意選択で、耐衝撃層は、最も外側に位置し、また、耐衝撃層は、外側に位置し、フレキシブルディスプレイにより近くてもよく、フレキシブルディスプレイをより良好に保護する。一実施形態では、機能層200は、基板層100上に順に配置された導電層、熱伝導層、及び耐衝撃層を含む。このような積層順序は、プロセスの準備を容易にし、各機能層の機能的実装を容易にする。
図5、図6A、及び図6Bを参照されたい。本出願の一実装形態では、機能層200は単一の機能層であり、言い換えると、機能層200は、基板層100の片面又は両面に配置された導電層、熱伝導層、又は耐衝撃層を含む。例えば、一実施形態では、機能層200は導電層を含む。別の実施形態では、機能層200は熱伝導層を含む。別の実施形態では、機能層200は耐衝撃層を含む。機能層200が基板層100の両面に配置されるとき、両面の機能層200は、同じ機能を有する機能層、例えば、両面とも導電層であってもよいし、異なる機能を有する機能層、例えば、一方の面には導電層が設けられ、他方の面には熱伝導層が配置されてもよい。機能層200は、図6Aに示すように、基板層100の表面を完全に覆っていてもよいし、図6Bに示すように、基板層100の表面を部分的に覆っていてもよい。具体的には、機能層200は、両面の支持部材101、102の表面のみを覆い、屈曲可能な接続部材103の表面は覆わない。
図7、図8A、及び図8Bを参照されたい。本出願の別の実装形態では、機能層200は、第1の機能層201と第2の機能層202とを含む二重の機能層である。第1の機能層201及び第2の機能層202は、導電層、熱伝導層、及び耐衝撃層のいずれか2つである。言い換えると、機能層200は、異なる機能を有する2つの材料層を有する。例えば、一実施形態では、機能層200は、導電層及び耐衝撃層を含む。一実施形態では、機能層200は、導電層及び熱伝導層を含む。一実施形態では、機能層200は、熱伝導層及び耐衝撃層を含む。2つの機能層を配置する順序は限定されなくてもよい。第1の機能層201及び第2の機能層202は、基板層100の表面を完全に覆っていてもよいし、部分的に覆っていてもよい。いくつかの実施形態では、図8Aに示すように、第1の機能層201及び第2の機能層202の両方が、基板層100の表面を完全に覆っている。いくつかの実施形態では、図8Bに示すように、第1の機能層201は、両面の支持部材の表面のみを覆い、屈曲可能な接続部材の表面を覆わず、第2の機能層202は、基板層100を完全に覆っている。
図9及び図10を参照されたい。本出願の別の実装形態では、機能層200は、第1の機能層201、第2の機能層202、及び第3の機能層203を含む複数の機能層である。第1の機能層201、第2の機能層202、及び第3の機能層203は、導電層、熱伝導層、及び耐衝撃層という3つの機能層である。3つの機能層を配置する順序は限定されなくてもよい。
本出願のいくつかの他の実装形態では、機能層200が基板層100の両面に配置されるとき、図11A、図11B、及び図11Cに示すように、単一の機能層が基板層100の一方の面に配置され、二重の機能層が他方の面に配置されるか、又は図12に示すように、単一の機能層が基板層100の一方の面に配置され、複数の機能層が他方の面に配置されるか、又は図13に示すように、二重の機能層が基板層100の一方の面に配置され、複数の機能層が他方の面に配置される。
本出願の一実装形態では、導電層は導電性金属を含み、導電層は単層構造又は多層構造を有し得る。導電層は、フレキシブルディスプレイ支持構造体30に電気伝導機能を提供するために配置され得、フレキシブルディスプレイ支持構造体30が端末10の別の構成要素に効果的に電気的に接続されるようにして、基板層100が全体として非導電性材料で作られている場合、フレキシブルディスプレイ支持構造体30が端末10の別の構成要素に電気的に接続されることができないという問題を補償する。
本出願の一実装形態では、導電性金属は、銅、銀、金、ニッケル、及びスズのうちの1つ又は複数を含み得る。導電層が単層構造を有する場合、導電層は、1種類の導電性金属、例えば、銅単層又はニッケル単層によって形成されてもよいし、2種類以上の導電性金属によって形成されてもよい。例えば、導電層は、ニッケル及び金によって形成される。導電層の局所領域は金層であり得、金層以外の別の領域はニッケル層である。別の例では、導電層は、ニッケル及び銅によって形成される。導電層の局所領域は銅層であり、銅層以外の別の領域はニッケル層である。代替的に、銅及びニッケルは、導電層の全ての領域で使用される。導電層が多層構造を有する場合、異なる層の材料は同じであっても異なっていてもよく、各層は1種類の導電性金属で形成されてもよいし、2種類以上の導電性金属で形成されてもよい。例えば、導電層は、内層と外層とを含み、内層は、基板層上に配置され、外層は、内層の、基板層から離れた側に配置される。具体的に、内層は、金、銀、及び銅のうちの少なくとも1つを含み、外層は、ニッケル及びスズのうちの少なくとも1つを含み、外層は、内層を保護し得る。代替的に、内層はニッケル層であってもよく、金層はニッケル層上に局所的にめっきされる。フレキシブルディスプレイ支持構造体30は、電気伝導機能を有し、電気接続要件を満たすことができる。
導電層は、接着、無電解めっき、無電解めっきと電気めっきとの接合、又は金属シート圧入の方式で基板層100上に形成され得る。一実装形態では、導電層は、無電解めっき方式で基板層100上に形成される。具体的なプロセスは、以下を含み得る。
(1)基板層100の両面を酸洗浄又はアルカリ洗浄して、表面の油汚れを除去する。屈曲可能な接続部材の領域が非金属を含む場合、基板層の屈曲可能な接続部材のその領域は、酸洗浄又はアルカリ洗浄中、覆われている必要がある。屈曲可能な接続部材の領域が金属材料で作られている場合、屈曲可能な接続部材のその領域を覆う必要はない。
(2)続いて、触媒作用が行われ、基板層100の表面に触媒層を堆積させる。触媒は、具体的には、パラジウムを含む触媒であり得る。
(3)基板層100を無電解めっき用のめっき液に浸漬して金属導電層を形成し、洗浄、乾燥して、導電層を有する複合構造体を得る。屈曲可能な接続部材の領域が覆われているとき、導電層は、両側の支持部材の表面のみを覆い、屈曲可能な接続部材の表面は覆わない。屈曲可能な接続部材が覆われていないとき、導電層は、基板層の表面全体を覆い、言い換えると、屈曲可能な接続部材及び両側の支持部材の表面を覆う。導電層をめっきするプロセスでは、非金属を含む屈曲可能な接続部材が覆われるので、屈曲可能な接続部材を腐食及び損傷から保護することができる。
本出願の一実装形態では、熱伝導層は、熱伝導性シリコーンシート、熱伝導性シリコングリス、熱伝導性両面テープ、熱伝導性グラファイトシート、グラフェンシート、及び酸化グラフェンシートのうちの1つ又は複数を含み得る。熱伝導層は、単層構造であってもよいし多層構造であってもよい。熱伝導層は、フレキシブルディスプレイ支持構造体30に良好な熱伝導機能を提供し、フレキシブルディスプレイ及び端末製品全体の放熱を容易にするように配置され得る。具体的には、フレキシブルディスプレイ支持構造体30は、熱伝導機能を有し、端末内部のバッテリなどによって発生した熱をディスプレイ側に伝達し、最終的に熱を端末の外部に放散することができる。熱伝導層は、接着又は熱融着(熱圧着)の方式で基板層100上に形成され得る。
本出願の一実装形態では、耐衝撃層は、シリコーンゴム、熱可塑性エラストマー(TPE)、ポリウレタンアクリレート(PUA)、ポリ塩化ビニル(PVC)軟質ゴム、及びポリウレタン(PU)のうちの1つ又は複数を含み得る。耐衝撃層は、緩衝機能を有し、耐衝撃層は、単層構造であってもよいし多層構造であってもよい。熱可塑性エラストマー(TPE)は、熱可塑性ポリウレタン(TPU)、熱可塑性ポリエステルエラストマー(TPEE)、スチレン系熱可塑性エラストマー、ポリオレフィン系熱可塑性エラストマー(POE)、ポリエーテルエステル系熱可塑性エラストマー、ポリアミド系熱可塑性エラストマーのうちの1つ又は複数を含み得るが、これらに限定されない。耐衝撃層は、フレキシブルディスプレイ支持構造体30に、外部衝撃に耐える能力を与え、ディスプレイを保護するのを助け、端末製品の耐落下性能を向上させるために配置され得る。耐衝撃層が基板層100の片面のみに配置される場合、耐衝撃層は、基板層の、ディスプレイに面する側に位置し、それにより、耐衝撃層が落下衝撃からディスプレイをより良好に保護することができる。耐衝撃層は、接着又は熱融着の方式で基板層100上に形成され得る。
図14を参照されたい。本出願における硬質ゴム繊維複合材料110は、少なくとも1つの繊維層111と、繊維層111上で硬化された硬質ゴム材料112とを含む。本出願の一実装形態では、硬質ゴム材料112は、硬質樹脂及び/又は硬質ゴムを含む。本出願では、硬質樹脂及び硬質ゴムの具体的な種類は特に限定されず、硬質樹脂及び硬質ゴムが繊維と協働してフレキシブルディスプレイに十分な剛性支持を提供する限り、電子デバイスの適用要件を満たすことができる。具体的には、硬質ゴム材料112は、エポキシ樹脂、フェノール樹脂、アミノ樹脂、不飽和ポリエステル、シリルエーテル樹脂、ポリオレフィン、ポリアミド、ポリオキシメチレン、ポリカーボネート、ポリフェニレンエーテル、及びポリスルホンのうちの1つ又は複数を含むが、これらに限定されない。フレキシブルディスプレイ支持構造体の全重量を可能な限り低減するために、機械的支持が満たされるという前提で、比較的小さい質量の硬質ゴム材料が選択され得ることは理解され得る。硬質ゴム材料112は、溶液含浸法又は熱溶融法を熱圧着プロセスと併用することによって、繊維層111上で硬化され得る。
本出願の一実装形態では、繊維層111内の繊維は連続繊維であり、具体的には、ガラス繊維、炭素繊維、アラミド繊維、酸化アルミニウム繊維、超高分子量ポリエチレン繊維、及びポリ(p-フェニレンベンゾビスオキサゾール)繊維のうちの1つ又は複数を含み得るが、これらに限定されない。超高分子量ポリエチレン繊維は、分子量が100万を超えるポリエチレンを使用して紡糸したものである。繊維層111は、1種類の繊維で織られていてもよいし、2種類以上の繊維で織られていてもよい。様々な種類の繊維の性能上の利点は、異なる種類の繊維を織ることによって組み合わせることができる。
本出願の一実装形態では、硬質ゴム繊維複合材料における繊維の質量含有率は、10%~80%であり得る。具体的には、硬質ゴム繊維複合材料中の繊維の質量含有率は、例えば、10%、20%、30%、40%、50%、60%、70%、又は80%であり得る。硬質ゴム繊維複合材料における繊維含有率は、特定の剛性支持要件に従って、及び、選択された硬質樹脂又は硬質ゴムの機械的特性と組み合わせて調整され得る。一般的に、繊維含有率が高いほど、硬質ゴム繊維複合材料の総重量が大きくなり、軽量化に有利である。いくつかの実装形態では、剛性支持性能及び軽量化要件と組み合わせて、硬質ゴム繊維複合材料における繊維の質量含有率は30%~70%である。
本出願の一実装形態では、各繊維層111の繊維の織り方は、一方向織りであってもよいし、多方向織りであってもよい。言い換えると、繊維層111は、一方向繊維織物であってもよいし、織繊維織物であってもよい。一方向繊維織物、言い換えると、繊維単一軸方向織り(fiber single axial-direction weaving)は、一方向(通常、縦糸又は横糸の一方向織物)に多数の繊維糸を有し、別の方向に通常は細い糸を少数だけ有する織物である。従って、織物の強度は全て一方向である。織繊維織物は、繊維が複数の軸方向に織られ、複数の方向に多数の繊維糸が存在し、最終的な織物の強度が複数の軸方向に分布している織物である。例えば、縦糸と横糸の2軸織り(warp and weft biaxial weaving)、言い換えると、0°/90°織り(0°/90° weaving)は、繊維織物の繊維が2つの軸方向に分布し、2つの軸方向の角度がそれぞれ0°及び90°であり、2つの軸方向の繊維間の角度が90°であることを意味する。別の例では、45°織り(言い換えると、+45°/-45°)は、繊維織物の繊維が2つの軸方向に分布し、2つの軸方向の角度がそれぞれ+45°及び-45°であり、2つの軸方向の繊維間の挟角が90度であることを意味する。
本出願の一実装形態では、繊維多方向織りの具体的な製織形態は限定されない。具体的には、多方向織りの形態は、図15の(a)に示す平織りであってもよいし、図15の(b)に示す綾織りであってもよいし、図15の(c)に示す繻子織りであってもよいし、その他であってもよい。図15において、(a)、(b)、(c)はいずれも0°/90°の2軸織りを示している。
本出願の一実装形態では、硬質ゴム繊維複合材料は、1つのみの繊維層111を含んでもよいし、複数(2つ以上)の繊維層111を含んでもよい。例えば、図14の硬質ゴム繊維複合材料には1つの繊維層111があり、図16及び図17の硬質ゴム繊維複合材料には3つの繊維層111がある。1つの繊維層111が存在する場合、強度要件を満たすために、繊維層111は、通常、多方向に織られた繊維層である。複数の繊維層111が存在する場合、硬質ゴム繊維複合材料の機械的強度をより良好に高め、硬質ゴム繊維複合材料の全方向の強度を向上させるために、複数の繊維層111は、異なる角度(複数の角度)で積み重ねられ得、各繊維層111は、一方向に織られてもよいし、多方向に織られてもよい。いくつかの実施形態では、複数の繊維層111は、異なる角度で積み重ねられた一方向繊維織物の複数の層であってもよく、言い換えると、各繊維層111は一方向繊維織物である。本出願の一実装形態では、複数の繊維層111の積み重ね方向は、0°~90°の範囲内の任意の角度であり得る。複数の繊維層は、異なる角度で積み重ねられ、それにより、繊維が複数の方向に分布し、繊維網が形成されて、異なる方向における硬質ゴム繊維複合材料の機械的強度要件を満たし、フレキシブルディスプレイに対して剛性支持をより良好に提供する。図18は、異なる角度での一方向繊維織物の4つの層の積み重ねの概略図である。一方向繊維織物の4つの層は、それぞれ0°、+45°、90°、-45°で積み重ねられる。このようにして、繊維を複数の方向に連続的に分布させることができ、それらの方向における硬質ゴム繊維複合材料の強度が向上し、硬質ゴム繊維複合材料の全体的な機械的性能が向上する。本出願では、0°方向とは、図2におけるX方向、すなわち、第1の支持部材101、屈曲可能な接続部材103及び第2の支持部材103が並んで配置される方向である。いくつかの実施形態では、複数の繊維層が積み重ねられるとき、反りを回避するために、複数の繊維層は、積み重ね方向の中央から2つの側に対称的に、例えば、+45°/0°/0°/-45°、0°/90°/0°/0°/90°/0°、0°/+45°/-45°/-45°/+45°/0°、及び0°/90°/0°/90°/90°/0°/90°/0°/で積み重ねられる。
本出願のいくつかの実装形態では、図16に示すように、複数の繊維層111及び硬質ゴム材料が、繊維と硬質ゴムとが交互に積層された複合積層体を形成する。繊維層111の繊維材料は、同じであっても異なっていてもよい。硬質ゴム層の材料は、同じであってもよいし、異なっていてもよい。作製プロセスが異なるため、例えば、溶液含浸法が使用されることにより、各繊維層111の両面は、通常、硬質ゴム材料で含浸される。複数の繊維層が積層されるとき、異なる繊維層が異なる硬質ゴム材料で含浸される場合、積層体の中間に位置する硬質ゴム層は2つの異なる硬質ゴム材料を含み得る。異なる繊維層は、含浸に同じ硬質ゴム材料を選択することによって、強い結合力を形成しやすくなる。本出願のいくつかの他の実装形態では、図17に示すように、複数の繊維層111は、接触して一緒に積み重ねられ、次いで硬質ゴム材料で含浸されてもよく、言い換えると、硬質ゴム繊維複合材料は、複数の繊維層を積層することによって形成された繊維スタック11と、繊維スタック11上に含浸され硬化された硬質ゴム材料とを含む。
本出願の一実装形態では、屈曲可能な接続部材103の材料は、軟質ゴム繊維複合材料、屈曲可能な金属材料、屈曲可能な硬質ゴム繊維複合材料、又は有機可撓性材料のうちの1つ又は複数を含み得る。屈曲可能な接続部材103は、前述の材料を使用することによって良好な屈曲性能を有し得、これにより、第1の支持部材101及び第2の支持部材102を互いに対して折り畳む又は展開することができる。
一実装形態では、屈曲可能な接続部材103は、軟質ゴム繊維複合材料であり、具体的には軟質ゴム繊維複合パネルである。軟質ゴム繊維複合パネルの両側は、それぞれ、硬質ゴム繊維複合パネルによって形成された第1の支持部材101及び第2の支持部材102に接続される。この場合、基板層100は、硬質ゴム繊維複合材料、軟質ゴム繊維複合材料、及び硬質ゴム繊維複合材料の順の複合パネル構造体である。軟質ゴム繊維複合材料は、柔軟な曲げ機能を実現するために中間領域で使用され、硬質ゴム繊維複合材料は、フレキシブルディスプレイに対して画面下支持を提供するために両側で使用される。本出願の一実装形態では、軟質ゴム繊維複合材料は、少なくとも1つの繊維層と、繊維層上に含浸され硬化された軟質ゴム材料とを含む。本出願の一実装形態では、繊維の選択、繊維層の具体的な構造、軟質ゴム繊維複合材料の構造、作製方式、及び軟質ゴム繊維複合材料の同様のものについては、硬質ゴム繊維複合材料の関連する説明を参照されたい。詳細はここでは改めて説明されない。本出願における軟質ゴム繊維複合材料と硬質ゴム繊維複合材料との違いは、軟質ゴム繊維複合材料が繊維に結合された軟質ゴム材料であり、硬質ゴム繊維複合材料が繊維に結合された硬質ゴム材料であることにある。軟質ゴム繊維複合材料は、軟質かつ屈曲可能であり、フレキシブルディスプレイの屈曲領域の屈曲に適合する屈曲可能な接続部材として使用することができる。硬質ゴム繊維複合材料は、高剛性を有し、フレキシブルディスプレイの非屈曲領域を効果的に支持することができる。軟質ゴム材料は、フッ素ゴム、シリコーンゴム、及び熱可塑性エラストマーのうちの1つ又は複数を含み得るが、これらに限定されない。熱可塑性エラストマー、言い換えると、人造ゴム又は合成ゴムは、具体的に、熱可塑性ポリウレタン(TPU)、熱可塑性ポリエステルエラストマー(TPEE)、スチレン系熱可塑性エラストマー、ポリオレフィン系熱可塑性エラストマー(POE)、ポリエーテルエステル系熱可塑性エラストマー、及びポリアミド系熱可塑性エラストマーのうちの1つ又は複数を含み得るが、これらに限定されない。
本出願の一実装形態では、軟質ゴム繊維複合材料における繊維の質量含有率は10%~80%である。具体的には、軟質ゴム繊維複合材料中の繊維の質量含有率は、例えば、10%、20%、30%、40%、50%、60%、70%、又は80%であってもよい。軟質ゴム繊維複合材料中の繊維含有率は、特定の屈曲性能要件、剛性支持要件、及び選択された軟質ゴム材料の性能に従って調整され得る。一般に、繊維含有率が高いほど、軟質ゴム繊維複合材料全体の強度が増し、屈曲性が低下し、相対的に重量が軽くなる。いくつかの実装形態では、屈曲性能、剛性支持性能、及び軽量化要件と組み合わせて、軟質ゴム繊維複合材料中の繊維の質量含有率は、10%~50%であり得る。
本出願の一実装形態では、基板層100において、第1の支持部材101及び第2の支持部材102内の繊維層並びに屈曲可能な接続部材103内の繊維層は、互いに独立するように設計されてもよいし、一体的に織られた構造であってもよい。繊維層の材料は、同じであっても異なっていてもよい。繊維層の層数は、同じであっても異なっていてもよい。繊維層の積み重ね方法は、同じであっても異なっていてもよい。繊維含有率は、同じであっても異なっていてもよい。硬質ゴム繊維複合材料における繊維含有率及び軟質ゴム繊維複合材料における繊維含有率は、特定の条件に従って選択され得る。一般に、軟質ゴム繊維複合材料における繊維含有率は、硬質ゴム繊維複合材料における繊維含有率よりも低い。
本出願のいくつかの実装形態では、図19に示すように、屈曲可能な接続部材103が軟質ゴム繊維複合材料であるとき、基板層100は、第1の支持部材101、第2の支持部材102、及び屈曲可能な接続部材103内に連続的に存在する一体的に織られた繊維層111であり得る。フレキシブルディスプレイ支持構造体30は、1つ又は複数の層を含む、一体的に織られた繊維層であり得る。図19に示すように、2つの一体的に織られた繊維層が含まれる。一体的に織られた繊維層は、作製プロセスを簡略化し、第1の支持部材101、第2の支持部材102、及び屈曲可能な接続部材103の間の確実な接続を保証することができる。
本出願の一実装形態では、軟質ゴム繊維複合材料は複数の繊維層を含み、複数の繊維層及び軟質ゴム材料が、繊維と軟質ゴムとが交互に積層された複合積層体を形成し得るか、又は複数の繊維層が積層されて繊維スタックを形成し得、軟質ゴム材料が、繊維スタック上に含浸され硬化される。
本出願の一実装形態では、屈曲可能な接続部材103は、単層の織繊維織物を使用することによって形成されてもよいし、複数の角度で一方向繊維織物の複数の層を積み重ねることによって形成されてもよい。
本出願の一実装形態では、硬質ゴム繊維複合材料、軟質ゴム繊維複合材料、及び硬質ゴム繊維複合材料の順で形成された基板層100の具体的な作製方式は限定されない。例えば、基板層100は、以下の2つの方式で作製され得る。
方式1:
ステップ101:複数の繊維層を取り、複数の繊維層を複数の角度で積み重ねて、繊維スタックを形成する。
複数の繊維層は、通常、一方向繊維織物の複数の層であり、複数の繊維層は、0°から90°の範囲の任意の角度で積み重ねられ得る。
ステップ102:溶媒含浸法又は熱溶融法を使用することによって繊維スタックの両面に硬質ゴム材料を含浸させ、中間に軟質ゴム材料を含浸させ、熱圧着後に基板層100を得る。このように作製された基板層100は、第1の支持部材101、第2の支持部材102、及び屈曲可能な接続部材103に連続して存在する一体的に織られた繊維層である。
方式2:
ステップ201:繊維層を取り、溶媒含浸法又は熱溶融法を使用することによって繊維層の両面に硬質ゴム材料を含浸させて、硬質ゴム繊維単層プリプレグを形成し、硬質ゴム繊維単層プリプレグに対して複数の角度で多層スタッキングを実施して、硬質ゴム繊維積層プリプレグを得る。
ステップ202:繊維層を取り、溶媒含浸法又は熱溶融法を使用することによって繊維層の両面に軟質ゴム材料を含浸させて、軟質ゴム繊維単層プリプレグを形成し、軟質ゴム繊維単層プリプレグに対して複数の角度で多層スタッキングを実施した後に、熱圧着を実施して、軟質ゴム繊維複合パネルを得る。このステップでは、目標厚さの単一の繊維層は直接選択され得、多層スタッキングは使用されない。複数の層が積み重ねられた繊維層は、通常、一方向繊維織物であり、単一の繊維層が直接選択される場合、繊維層は、通常、織繊維織物である。
ステップ203:硬質ゴム繊維積層プリプレグ、軟質ゴム繊維複合パネル、及び硬質ゴム繊維積層プリプレグを並べて配置し、次いで、熱圧着を実施して、基板層100を得る。
この実装形態では、基板層100は、硬質ゴム繊維複合材料、軟質ゴム繊維複合材料、及び硬質ゴム繊維複合材料の順の複合パネルである。基板層100は、全体として平板状又はシート状の構造を有する。
接続部において硬質ゴム繊維複合材料と軟質ゴム繊維複合材料とをより良好に接合するために、2つの材料が並んで配置される場合、両側の硬質ゴム繊維積層プリプレグは、中間の軟質ゴム繊維複合パネルに部分的に交差接続され得る。具体的には、硬質ゴム繊維積層プリプレグの中間の数層に位置する単層プリプレグの幅を減少させ得、言い換えると、単層プリプレグを特定の幅に窪ませてクランプ空間を確保する。中間の軟質ゴム繊維複合パネルは、部分的にクランプ空間内にクランプされ、圧入後、硬質ゴム繊維複合材料、軟質ゴム繊維複合材料、及び硬質ゴム繊維複合材料の順で作られている複合パネルが、段差なく作製される。硬質ゴム繊維積層プリプレグは、熱圧着後に、硬質ゴム繊維複合パネル、具体的には、硬質ゴム繊維複合材料から作られているパネルを形成する。
本出願のいくつかの他の実装形態では、軟質ゴム繊維単層プリプレグに対して複数の角度で多層スタッキングを実施して、軟質ゴム繊維積層プリプレグを得ることができ、次いで、硬質ゴム繊維積層プリプレグ、軟質ゴム繊維積層プリプレグ、及び硬質ゴム繊維積層プリプレグを並べて配置し、次いで、熱圧着を実施して、フレキシブルディスプレイ支持構造体を得る。本出願のいくつかの他の実装形態では、硬質ゴム繊維単層プリプレグに対して複数の角度で多層スタッキングを実施して、硬質ゴム繊維積層プリプレグを得ることができ、次いで、熱圧着を実施して、硬質ゴム繊維複合パネルを得、次いで、硬質ゴム繊維複合パネル、軟質ゴム繊維複合パネル、及び硬質ゴム繊維複合パネルを並んで配置し、次いで、熱圧着を実施して、フレキシブルディスプレイ支持構造体を得る。
図20は、溶媒含浸法を使用した硬質ゴム繊維複合材料の作製プロセスのフローチャートである。図21は、熱溶融法を使用した硬質ゴム繊維複合材料の作製プロセスのフローチャートである。
本出願の一実装形態では、硬質ゴム繊維複合材料及び軟質ゴム繊維複合材料は、前述の熱圧着方式で継合(spliced)及び接合(bonded)されてもよいし、良好な接合を実現することができる別の方式、例えば、接着、融着、レーザー溶接などで継合及び接合されてもよい。
本出願の別の実装形態では、屈曲可能な接続部材103は、屈曲可能な金属接続部材であり、屈曲可能な金属接続部材の両側は、それぞれ、硬質ゴム繊維複合パネルによって形成された第1の支持部材101及び第2の支持部材102に接続される。屈曲可能な金属接続部材は、具体的には、ステンレス鋼、チタン合金、アルミニウム合金などの金属材料で作られ得る。屈曲可能な金属接続部材103は、第1の支持部材101及び第2の支持部材102に、熱圧着、接着、スプライシング、クランピングなどの方式で接合されてもよいし、接続機構によって接続されてもよい。
本出願の一実装形態では、硬質ゴム繊維複合材料、金属材料、及び硬質ゴム繊維複合材料の順で形成された基板層100の具体的な作製方式は限定されない。基板層100は、例えば、以下のようにして作製され得る。
ステップ301:繊維層を取り、溶媒含浸法又は熱溶融法を使用することによって繊維層の両面に硬質ゴム材料を含浸させて、硬質ゴム繊維単層プリプレグを形成し、硬質ゴム繊維単層プリプレグに対して複数の角度で多層スタッキングを実施して、硬質ゴム繊維積層プリプレグを得る。
ステップ302:目標厚さの金属シートを取り、硬質ゴム繊維積層プリプレグ、金属シート、及び硬質ゴム繊維積層プリプレグを並べて配置し、次いで、熱圧着を実施して、基板層100を得る。
この実装形態では、基板層100は、硬質ゴム繊維複合材料、金属材料、及び硬質ゴム繊維複合材料の順で作られている複合パネルである。基板層100は、全体として平板状又はシート状の構造を有する。
接続部において硬質ゴム繊維複合材料と金属シートとをより良好に接合するために、2つの材料が並んで配置される場合、両側の硬質ゴム繊維積層プリプレグは、中間の金属シートに部分的に交差接続され得る。具体的には、硬質ゴム繊維積層プリプレグの中間の数層に位置する単層プリプレグの幅を減少させ得、言い換えると、単層プリプレグを特定の幅に窪ませてクランプ空間を確保する。中間の金属シートの2つの端部は特定の厚さだけ低減されて、クランプ空間に一致するクランプ部(低減された表面により段差面が形成される)を形成し、クランプ部は、硬質ゴム繊維積層プリプレグのクランプ空間にクランプされる。熱圧着後に、硬質ゴム繊維複合材料、金属材料、及び硬質ゴム繊維複合材料の順で作られている複合パネルが段差なく作製される。金属シートの両端のクランプ部は、エッチングによって開口部を形成して、硬質ゴム繊維複合材料と金属シートとの接合を強化し得る。熱圧着前に、金属シートの表面をプラズマで処理して、表面粗さを改善し、硬質ゴム繊維複合材料と金属シートとの間の接合を強化し得る。
本出願の一実装形態では、屈曲可能な接続部材として使用される金属シートは、良好な屈曲性能を有することが必要とされ、通常、多孔質金属シートであり、多孔質孔が垂直に(言い換えると、Y方向に)延在する。
本出願の一実装形態では、硬質ゴム繊維複合材料及び金属材料は、前述の熱圧着方式で継合及び接合されてもよいし、良好な接合を実現することができる別の方式、例えば、接着、融着、レーザー溶接などで継合及び接合されてもよい。
本出願の別の実装形態では、屈曲可能な接続部材103は、有機可撓性材料フィルムである。有機可撓性材料フィルムの両側は、それぞれ、硬質ゴム繊維複合パネルによって形成された第1の支持部材101及び第2の支持部材102に接続され、具体的には、熱圧着、接着、溶接、若しくはクランピングによって一緒に接合されてもよいし、接続機構によって接続されてもよい。有機可撓性材料フィルムは、柔軟な及び曲げ機能を実現することができる。有機可撓性材料は、フッ素ゴム、シリコーンゴム、熱可塑性エラストマー、ポリ塩化ビニル(PVC)、ポリイミド(PI)、ポリエチレンテレフタレート(PET)、環状オレフィンポリマー(COP)、液晶ポリマー(LCP)、ポリジメチルシロキサン(PDMS)のうち1つ又は複数を含み得る。熱可塑性エラストマーは、言い換えると、人造ゴム又は合成ゴムである。熱可塑性エラストマーは、具体的に、熱可塑性ポリウレタン(TPU)、熱可塑性ポリエステルエラストマー(TPEE)、スチレン系熱可塑性エラストマー、ポリオレフィン系熱可塑性エラストマー(POE)、ポリエーテルエステル系熱可塑性エラストマー、ポリアミド系熱可塑性エラストマーのうちの1つ又は複数を含み得る。
本出願の一実装形態では、硬質ゴム繊維複合材料、有機可撓性材料、及び硬質ゴム繊維複合材料の順で形成された基板層100の具体的な作製方式は限定されない。基板層100は、例えば、以下のようにして作製され得る。
ステップ301:繊維層を取り、溶媒含浸法又は熱溶融法を使用することによって繊維層の両面に硬質ゴム材料を含浸させて、硬質ゴム繊維単層プリプレグを形成し、硬質ゴム繊維単層プリプレグに対して複数の角度で多層スタッキングを実施して、硬質ゴム繊維積層プリプレグを得る。
ステップ302:目標厚さの有機可撓性材料フィルムを取り、硬質ゴム繊維積層プリプレグ、有機可撓性材料フィルム、及び硬質ゴム繊維積層プリプレグを並べて配置し、次いで、熱圧着を実施して、基板層100を得る。
この実装形態では、基板層100は、硬質ゴム繊維複合材料、有機可撓性材料、及び硬質ゴム繊維複合材料の順で作られている複合パネルである。基板層100は、全体として平板状又はシート状の構造を有する。
この実装形態では、硬質ゴム繊維複合パネル101と有機可撓性材料フィルム103との間の接合部の構造は限定されない。この組合せは、図22Aに示す線の組合せであってもよいし、図22B、図22C、及び図22Dに示す歯の組合せ、すなわちクランプであってもよい。代替的に、図22Eに示すように、両者間の接続を実現するために接続機構104、例えば、バックルの組合せ、が使用される。歯の組合せの具体的な歯の形状は限定されず、歯は、硬質ゴム繊維複合パネル101上に形成されてもよいし、有機可撓性材料フィルム103上に形成されてもよい。
本出願の別の実装形態では、屈曲可能な接続部材103は、屈曲可能な硬質ゴム繊維複合材料である。屈曲可能な接続部材103の領域における硬質ゴム繊維複合材料の屈曲性能を実現するために、屈曲可能な接続部材103の領域における硬質ゴム繊維複合材料は、レーザー穴開け加工などの方式で多孔質構造に形成されてもよい。言い換えると、屈曲可能な硬質ゴム繊維複合材料は、多孔質構造を有する硬質ゴム繊維複合材料である。屈曲性能をより良好に得るために、多孔質構造は、長手方向に(言い換えると、図3のY方向に)延在するように配置され得る。屈曲可能な接続部材103は、第1の支持部材101及び/又は第2の支持部材102と一体形成された構造であり得る。いくつかの実施形態では、基板層100全体は、一体的に形成された硬質ゴム繊維複合パネル全体を含む。屈曲可能な接続部材103は、第1の支持部材101及び第2の支持部材102と同じ材料から作られている。基板層100は、第1の支持部材101、第2の支持部材102、及び屈曲可能な接続部材103に連続して(言い換えると、接続界面を介さずに連続して)存在し、一体的に織られた繊維層と硬質ゴム層とを含む。屈曲可能な接続部材103が屈曲可能な硬質ゴム繊維複合材料であるとき、基板層100は、一体形成された構造であり、これは、基板層の高い構造安定性を全体として実現するのを助ける。
本出願の一実装形態では、硬質ゴム繊維複合材料、屈曲可能な硬質ゴム繊維複合材料、及び硬質ゴム繊維複合材料の順で形成された基板層100の具体的な作製方式は限定されない。基板層100は、例えば、以下のようにして作製され得る。
ステップ401:繊維層を取り、溶媒含浸法又は熱溶融法を使用することによって繊維層の両面に硬質ゴム材料を含浸させて、硬質ゴム繊維単層プリプレグを形成し、硬質ゴム繊維単層プリプレグに対して複数の角度で多層スタッキングを実施した後に、熱圧着を実施して、硬質ゴム繊維パネルを得る。
ステップ402:屈曲可能な接続部材領域が屈曲可能な性能を有するように、レーザー穴開け加工方式で、硬質ゴム繊維パネルの予め設定された屈曲可能な接続部材領域に多孔質構造を形成して、基板層100を得る。
この実装形態では、基板層100は、硬質ゴム繊維複合材料、屈曲可能な硬質ゴム繊維複合材料、及び硬質ゴム繊維複合材料の順で作られている複合パネルであり、基板層100は、一体形成された板又はシート構造である。
本出願の一実装形態では、基板層100の厚さは、約0.1mm~5mmであり得る。具体的には、折り畳み式端末は、折り畳み式端末の実際の要件に従って設計され得る。厚みが大きいほど、支持強度が大きくなることを示す。いくつかの実装形態では、基板層100の厚さは、0.15mm~0.2mmであり得る。いくつかの他の実装形態では、基板層100の厚さは、0.25mm~0.8mmであり得る。いくつかの他の実装形態では、基板層100の厚さは、1mm~2mmであってもよいし、2mm~4mmであってもよい。基板層100の薄い厚さは、重量を低減するのを助け、また、折り畳み式端末の合計厚さを低減するのも助けて、ユーザ体験を向上させる。
本出願の一実装形態では、フレキシブルディスプレイ支持構造体30の厚さは、0.1mm~5mmであり得る。いくつかの実装形態では、フレキシブルディスプレイ支持構造体30の厚さは、0.15mm~0.22mmであり得る。いくつかの他の実装形態では、フレキシブルディスプレイ支持構造体30の厚さは、0.25mm~0.8mmであり得る。いくつかの他の実装形態では、フレキシブルディスプレイ支持構造体30の厚さは、1mm~2mmであってもよいし、2.5mm~4mmであってもよい。フレキシブルディスプレイ支持構造体30の合計厚さは、主に基板層100及び機能層200の厚さの合計に依存する。
本出願では、「複数種」とは、2種類以上を意味する。本出願において、「~」は、両端の終点値を含む範囲値を表す。例えば、機能層200の厚さが5μm~500μmである場合、それは、機能層200の厚さが5μmと500μmとの間であり、終点値5μm及び500μmを含むことを示す。
本出願の実施形態は、複数の実施形態を使用することによって以下でさらに説明される。
実施形態1
図6Bを参照されたい。この実施形態におけるフレキシブルディスプレイ支持構造体30は、基板層100と、基板層100の両面に配置される導電層200とを含む。導電層200は、基板層100の第1の支持部材及び第2の支持部材の表面を覆い、屈曲可能な接続部材を覆わない。基板層100は、エポキシ樹脂連続炭素繊維-ポリウレタン(TPU)連続炭素繊維-エポキシ樹脂連続炭素繊維複合パネルを使用する。あるモデルの折り畳み式携帯電話を例として使用する。この実施形態におけるフレキシブルディスプレイ支持構造体の設計ソリューションでは、フレキシブルディスプレイ支持構造体の外形寸法は161mm×146mmであり、基板層の厚さは0.15mmであり、フレキシブル屈曲可能領域、すなわち屈曲可能な接続部材の幅は20mmであり、両側の支持部材の幅は63mmである。3つのパネル、具体的には、エポキシ樹脂連続炭素繊維複合パネル、ポリウレタン連続炭素繊維複合パネル、及びエポキシ樹脂連続炭素繊維複合パネルを順に並べて配置して組み合わせ、基板層を形成する。導電層200は、ニッケル層である。
この実施形態におけるフレキシブルディスプレイ支持構造体の作製プロセスは、以下の通りである。
(1)厚さ0.02mmの炭素一方向繊維織物を選択し、両側の表面をエポキシ樹脂に浸漬して厚さ0.025mmの単層プリプレグを得た後、0°/90°/0°/0°/90°/0°のスタッキング角度に従ってプリプレグを積層して、厚さ0.15mmのエポキシ樹脂炭素繊維積層プリプレグを形成する。
(2)厚さ0.1mm、幅30mmの45°で織られた炭素繊維織物をTPUに浸漬して、厚さ0.15mmのTPU連続炭素繊維複合パネルを形成する。
(3)3つの材料、具体的には、エポキシ樹脂連続炭素繊維積層プリプレグ、ポリウレタン連続炭素繊維複合パネル、及びエポキシ樹脂連続炭素繊維積層プリプレグを順に並べて配置し、ポリウレタン連続炭素繊維複合パネルと両側のエポキシ樹脂連続炭素繊維積層プリプレグとは交差接続される。ホットプレスの温度を150℃に上げ、金型ギャップを0.15mmとし、150℃で30分間圧着を実施して、厚さ0.15mmのエポキシ樹脂連続炭素繊維-ポリウレタン(TPU)連続炭素繊維-エポキシ樹脂連続炭素繊維複合パネルを得る。
(4)ステップ(3)で得られた複合パネルに対してエッジカットを行い、複合パネルを必要な寸法に切断して基板層を得る。
(5)基板層の屈曲可能領域を覆い、屈曲可能領域の両側の支持部材パネルに対して酸洗浄を行って、表面の油汚れを除去する。
(6)支持部材の両側の表面が触媒化され、パラジウムを含有する触媒の層が支持部材の表面に堆積される。
(7)基板層をめっき液に浸漬して、化学ニッケルめっきを4時間~12時間行う。5μm~10μmのニッケル層を支持部材の表面に堆積させ、ニッケル層を洗浄し、乾燥させて、フレキシブルディスプレイ支持構造体を得る。
完全にステンレス鋼で作られ、同じサイズを有するフレキシブルディスプレイ支持構造体と比較して、この実施形態で作製されたフレキシブルディスプレイ支持構造体の重量は、75%超低減される。加えて、この実施形態で作製されたフレキシブルディスプレイ支持構造体は、試験のために200,000回曲げられたが、亀裂は発生しなかった。加えて、曲げ加工では、屈曲領域の炭素繊維が伸びて変形することがある。これは、屈曲領域が45°で織られた炭素繊維であるためである。従って、曲げ加工で変形が生じ得、折り畳まれた状態と展開された状態との間の変位差が吸収される。この実施形態で作製されるフレキシブルディスプレイ支持構造体は、電気伝導機能を有し、電気接続要件を満たすことができる。
実施形態2
図6Bを参照されたい。この実施形態におけるフレキシブルディスプレイ支持構造体30は、基板層100と、基板層100の両面に配置される導電層200とを含む。導電層200は、基板層100の第1の支持部材及び第2の支持部材の表面を覆い、屈曲可能な接続部材を覆わない。基板層100は、エポキシ樹脂連続炭素繊維-TPU連続炭素繊維-エポキシ樹脂連続炭素繊維複合パネルを使用する。あるモデルの折り畳み式携帯電話を例として使用する。この実施形態におけるフレキシブルディスプレイ支持構造体の設計ソリューションでは、フレキシブルディスプレイ支持構造体の外形寸法は161mm×146mmであり、基板層の厚さは0.15mmであり、フレキシブル屈曲可能領域、すなわち屈曲可能な接続部材の幅は20mmであり、両側の支持部材の幅は63mmである。3つのパネル、具体的には、エポキシ樹脂連続炭素繊維複合パネル、TPU連続炭素繊維複合パネル、及びエポキシ樹脂連続炭素繊維複合パネルを順に並べて配置して接合し、基板層を形成する。各導電層200は、基板層100上に順に配置された銅層及びニッケル層を含む。
この実施形態におけるフレキシブルディスプレイ支持構造体の作製プロセスは、以下の通りである。
(1)厚さ0.02mmの炭素一方向繊維織物を選択し、両側の表面をエポキシ樹脂に浸漬して厚さ0.025mmの単層プリプレグを得た後、0°/90°/0°/0°/90°/0°のスタッキング角度に従ってプリプレグを積層して、厚さ0.15mmのエポキシ樹脂炭素繊維積層プリプレグを形成する。
(2)厚さ0.1mm、幅30mmの0°/90°で織られた炭素繊維織物をTPUに浸漬して、厚さ0.15mmのTPU連続炭素繊維複合パネルを形成する。
(3)3つのパネル、具体的には、エポキシ樹脂連続炭素繊維積層プリプレグ、TPU連続炭素繊維複合パネル、及びエポキシ樹脂連続炭素繊維積層プリプレグを順に並べて配置し、ポリウレタン連続炭素繊維複合パネルと両側のエポキシ樹脂連続炭素繊維積層プリプレグとは交差接続される。ホットプレスの温度を150℃に上げ、金型ギャップを0.15mmとし、150℃で30分間圧着を実施して、厚さ0.15mmのエポキシ樹脂連続炭素繊維-TPU連続炭素繊維-エポキシ樹脂連続炭素繊維複合パネルを得る。
(4)ステップ(3)で得られた複合パネルに対してエッジカットを行い、複合パネルを必要な寸法に切断して基板層を得る。
(5)基板層の屈曲可能領域を覆い、屈曲可能領域の両側の支持部材パネルに対して酸洗浄を行って、表面の油汚れを除去する。
(6)支持部材の両側の表面が触媒化され、パラジウムを含有する触媒の層が支持部材の表面に堆積される。
(7)基板層を化学銅めっき用の第1のめっき液に4~12時間浸漬する。5μm~10μmの銅層が支持部材の表面に堆積される。洗浄後、基板層を化学ニッケルめっき用の第2のめっき液に4~12時間浸漬する。2μm~10μmのニッケル層を堆積させ、ニッケル層を洗浄し、乾燥させて、フレキシブルディスプレイ支持構造体を得る。
完全にステンレス鋼で作られ、同じサイズを有するフレキシブルディスプレイ支持構造体と比較して、この実施形態で作製されたフレキシブルディスプレイ支持構造体の重量は、75%超低減される。加えて、この実施形態で作製されたフレキシブルディスプレイ支持構造体は、試験のために200,000回曲げられたが、亀裂は発生せず、試験後も良好な平坦性を依然として維持することができた。実施形態1と比較すると、この実施形態におけるフレキシブルディスプレイ支持構造体の屈曲領域は、0°方向に連続炭素繊維を有するので、展開時と折り曲げ時との間の変位差を吸収することが比較的困難である。実施形態1と比較すると、この実施形態では、銅層が導電層に追加されており、銅の導電性はニッケルの導電性よりも良好である。従って、この実施形態におけるフレキシブルディスプレイ支持構造体の導電性は、実施形態1における導電性よりも良好である。
実施形態3
図5を参照されたい。この実施形態のフレキシブルディスプレイ支持構造体30は、基板層100と、基板層100の片面に配置された耐衝撃層200とを含む。基板層100は、エポキシ樹脂連続炭素繊維-ポリイミド(PI)-エポキシ樹脂連続炭素繊維複合パネルを使用する。あるモデルの折り畳み式携帯電話を例として使用する。この実施形態におけるフレキシブルディスプレイ支持構造体の設計ソリューションでは、フレキシブルディスプレイ支持構造体の外形寸法は161mm×146mmであり、基板層の厚さは0.15mmであり、フレキシブル屈曲可能領域、すなわち屈曲可能な接続部材の幅は20mmであり、両側の支持部材の幅は63mmである。3つのパネル、具体的には、エポキシ樹脂連続炭素繊維複合パネル、PIフィルム、及びエポキシ樹脂連続炭素繊維複合パネルを順に並べて配置して組み合わせ、フレキシブルディスプレイ支持構造体を形成する。耐衝撃層200は、TPU薄膜である。
この実施形態におけるフレキシブルディスプレイ支持構造体の作製プロセスは、以下の通りである。
(1)厚さ0.03mmの炭素一方向繊維織物を選択し、両側の表面をエポキシ樹脂に浸漬して厚さ0.05mmの単層プリプレグを得た後、0°/90°/0°のスタッキング角度に従ってプリプレグを積層して、厚さ0.15mmのエポキシ樹脂炭素繊維積層プリプレグを形成する。
(2)幅25mm、厚さ0.15mmのPIフィルムを用意する。
(3)エポキシ樹脂炭素繊維積層プリプレグ、PIフィルム、エポキシ樹脂炭素繊維積層プリプレグを並べて配置し、PIフィルムとエポキシ樹脂炭素繊維積層プリプレグを2mm~5mmずらして配置する。
(4)ホットプレスの温度を200℃に上げ、金型ギャップを0.15mmとする。200℃で20分間圧着を実施し、厚さ0.15mmのエポキシ樹脂連続炭素繊維-PIフィルム-エポキシ樹脂連続炭素繊維複合パネルを得る。
(5)ステップ(4)で得られた複合パネルに対してエッジカットを行い、複合パネルを必要な寸法に切断して基板層を得る。
(6)厚さ50μm~150μmのTPU薄膜を基板層の片面にコーティングする。
(7)基板層及びTPU薄膜を積層し、ホットプレスに入れる。150℃の温度で30分間圧着を実施する。冷却後、フレキシブルディスプレイ支持構造体が得られる。
完全にステンレス鋼で作られ、同じサイズを有するフレキシブルディスプレイ支持構造体と比較して、この実施形態で作製されたフレキシブルディスプレイ支持構造体の重量は、75%超低減される。加えて、この実施形態で作製されたフレキシブルディスプレイ支持構造体は、試験のために200,000回曲げられたが、亀裂は発生せず、試験後も良好な平坦性を依然として維持することができた。この実施形態におけるフレキシブルディスプレイ支持構造体では、屈曲領域が純粋なPI材料で作られ、繊維を有さないので、フレキシブルディスプレイ支持構造体は、軟質ゴム繊維複合材料よりも良好な屈曲性能を有するが、繊維網がなく、支持強度がわずかに弱い。この実施形態で作製されたフレキシブルディスプレイ支持構造体は、耐衝撃機能を有し、フレキシブルディスプレイを落下衝撃から効果的に保護することができる。
実施形態4
図6Aを参照されたい。この実施形態におけるフレキシブルディスプレイ支持構造体30は、基板層100と、基板層100の両面に配置された熱伝導層200とを含む。基板層100は、フェノール樹脂連続ガラス繊維-TPU連続ガラス繊維-フェノール樹脂連続ガラス繊維複合パネルを使用する。あるモデルの折り畳み式携帯電話を例として使用する。この実施形態におけるフレキシブルディスプレイ支持構造体の設計ソリューションでは、フレキシブルディスプレイ支持構造体の外形寸法は161mm×146mmであり、基板層の厚さは0.2mmであり、フレキシブル屈曲可能領域、すなわち屈曲可能な接続部材の幅は20mmであり、両側の支持部材の幅は63mmである。3つのパネル、具体的には、フェノール樹脂連続ガラス繊維複合パネル、TPU連続ガラス繊維複合パネル、及びフェノール樹脂連続ガラス繊維複合パネルを順に並べて配置して組み合わせ、基板層を形成する。熱伝導層200の材料は、熱伝導性グラファイトシートである。
この実施形態におけるフレキシブルディスプレイ支持構造体の作製プロセスは、以下の通りである。
(1)厚さ0.02mmのガラス一方向繊維織物を選択し、両側の表面をフェノール樹脂に浸漬して厚さ0.025mmの単層プリプレグを得た後、0°/90°/0°/90°/90°/0°/90°/0°のスタッキング角度に従ってプリプレグを積層して、厚さ0.2mmのフェノール樹脂ガラス繊維積層プリプレグを形成する。
(2)厚さ0.15mm、幅30mmの45°で織られたガラス繊維織物をTPUに浸漬して、厚さ0.2mmのTPU連続ガラス繊維複合パネルを形成する。
(3)3つのパネル、具体的には、フェノール樹脂連続ガラス繊維積層プリプレグ、ポリウレタン連続ガラス繊維複合パネル、及びフェノール樹脂連続ガラス繊維積層プリプレグを順に並べて配置し、ポリウレタン連続ガラス繊維複合パネルとフェノール樹脂連続ガラス繊維積層プリプレグとは、両側で交差接続される。ホットプレスの温度を150℃に上げ、金型ギャップを0.2mmとし、150℃で30分間圧着を実施して、厚さ0.2mmのフェノール樹脂連続ガラス繊維-TPU連続ガラス繊維-フェノール樹脂連続ガラス繊維複合パネルを得る。
(4)ステップ(3)で得られた複合パネルに対してエッジカットを行い、複合パネルを必要な寸法に切断して基板層を得る。
(5)厚さ30μm~100μmの2枚のグラファイトシートを、厚さ10μm~20μmの両面テープで基板層の両面に接合して、フレキシブルディスプレイ支持構造体を得る。
完全にステンレス鋼で作られ、同じサイズを有するフレキシブルディスプレイ支持構造体と比較して、この実施形態で作製されたフレキシブルディスプレイ支持構造体の重量は、75%超低減される。加えて、この実施形態で作製されたフレキシブルディスプレイ支持構造体は、試験のために200,000回曲げられたが、亀裂は発生せず、試験後も良好な平坦性を依然として維持することができた。この実施形態で作製されたフレキシブルディスプレイ支持構造体は、熱伝導機能を有し、端末内部のバッテリによって発生した熱をフレキシブルディスプレイ側に伝達しやすくする。
実施形態5
図8Bを参照されたい。この実施形態におけるフレキシブルディスプレイ支持構造体30は、基板層100と、基板層100の両面に配置された導電層201及び耐衝撃層202とを含む。基板層100は、エポキシ樹脂連続ガラス繊維-シリコーンゴム連続ガラス繊維-エポキシ樹脂連続ガラス繊維複合パネルを使用する。あるモデルの折り畳み式携帯電話を例として使用する。この実施形態におけるフレキシブルディスプレイ支持構造体の設計ソリューションでは、フレキシブルディスプレイ支持構造体の外形寸法は161mm×146mmであり、基板層の厚さは0.2mmであり、フレキシブル屈曲可能領域、すなわち屈曲可能な接続部材の幅は20mmであり、両側の支持部材の幅は63mmである。3つのパネル、具体的には、エポキシ樹脂連続ガラス繊維複合パネル、シリコーンゴム連続ガラス繊維複合パネル、及びエポキシ樹脂連続ガラス繊維複合パネルを順に並べて配置して組み合わせ、基板層を形成する。導電層201の材料は、ニッケル及び金を含む。耐衝撃層202の材料は、TPU薄膜を含む。
この実施形態におけるフレキシブルディスプレイ支持構造体の作製プロセスは、以下の通りである。
(1)厚さ0.02mmのガラス一方向繊維織物を選択し、両側の表面をエポキシ樹脂に浸漬して厚さ0.025mmの単層プリプレグを得た後、0°/90°/0°/90°/90°/0°/90°/0°のスタッキング角度に従ってプリプレグを積層して、厚さ0.2mmのエポキシ樹脂ガラス繊維積層プリプレグを形成する。
(2)厚さ0.15mm、幅30mmの45°で織られたガラス繊維織物をシリコーンゴムに浸漬して、厚さ0.2mmのシリコーンゴム連続ガラス繊維複合パネルを形成する。
(3)3つのパネル、具体的には、エポキシ樹脂連続ガラス繊維積層プリプレグ、シリコーンゴム連続ガラス繊維複合パネル、及びエポキシ樹脂連続ガラス繊維積層プリプレグを順に並べて配置し、シリコーンゴム連続ガラス繊維複合パネルとエポキシ樹脂連続ガラス繊維積層プリプレグとは、両側で交差接続される。ホットプレスの温度を150℃に上げ、金型ギャップを0.2mmとし、150℃で30分間圧着を実施して、厚さ0.2mmのエポキシ樹脂連続ガラス繊維-シリコーンゴム連続ガラス繊維-エポキシ樹脂連続ガラス繊維複合パネルを得る。
(4)ステップ(3)で得られた複合パネルに対してエッジカットを行い、複合パネルを必要な寸法に切断して基板層を得る。
(5)基板層の屈曲可能領域を覆い、屈曲可能領域の両側の支持部材パネルに対して酸洗浄を行って、表面の油汚れを除去する。
(6)支持部材の両側の表面が触媒化され、パラジウムを含有する触媒の層が支持部材の表面に堆積される。
(7)基板層をめっき液に浸漬して、化学ニッケルめっきを4~12時間行う。5μm~10μmのニッケル層を支持部材の表面に堆積させ、ニッケル層を洗浄し、乾燥させる。
(8)次いで、金めっき前領域の外側のニッケル層を被覆し、めっき液に浸漬して化学金めっきを2~4時間行い、それにより、厚さ1μm~2μmの金層が金めっき前領域に堆積され、金層を洗浄し、乾燥させて、導電層を形成する。
(9)厚さ50μm~150μmのTPU薄膜を2つの導電層上に別々にコーティングし、導電層をホットプレスに入れる。150℃の温度で30分間圧着を実施する。冷却後、フレキシブルディスプレイ支持構造体が得られる。
完全にステンレス鋼で作られ、同じサイズを有するフレキシブルディスプレイ支持構造体と比較して、この実施形態で作製されたフレキシブルディスプレイ支持構造体の重量は、75%超低減される。加えて、この実施形態で作製されたフレキシブルディスプレイ支持構造体は、試験のために200,000回曲げられたが、亀裂は発生せず、試験後も良好な平坦性を依然として維持することができた。この実施形態で作製されたフレキシブルディスプレイ支持構造体は、電気伝導機能及び耐衝撃機能を併せ持つ。
実施形態6
図8Bを参照されたい。この実施形態におけるフレキシブルディスプレイ支持構造体30は、基板層100と、基板層100の両面に配置される導電層201及び熱伝導層202とを含む。基板層100は、フェノール樹脂連続ガラス繊維-シリコーンゴム連続ガラス繊維-フェノール樹脂連続ガラス繊維複合パネルを使用する。あるモデルの折り畳み式携帯電話を例として使用する。この実施形態におけるフレキシブルディスプレイ支持構造体の設計ソリューションでは、フレキシブルディスプレイ支持構造体の外形寸法は161mm×146mmであり、基板層の厚さは0.2mmであり、フレキシブル屈曲可能領域、すなわち屈曲可能な接続部材の幅は20mmであり、両側の支持部材の幅は63mmである。3つのパネル、具体的には、フェノール樹脂連続ガラス繊維複合パネル、シリコーンゴム連続ガラス繊維複合パネル、及びフェノール樹脂連続ガラス繊維複合パネルを順に並べて配置して組み合わせ、基板層を形成する。導電層201の材料は、ニッケル及び金を含む。熱伝導層202の材料は、熱伝導性シリコーンシートである。
この実施形態におけるフレキシブルディスプレイ支持構造体の作製プロセスは、以下の通りである。
(1)厚さ0.02mmのガラス一方向繊維織物を選択し、両側の表面をフェノール樹脂に浸漬して厚さ0.025mmの単層プリプレグを得た後、0°/-45°/+45°/0°/0°/+45°/-45°/0°のスタッキング角度に従ってプリプレグを積層して、厚さ0.2mmのフェノール樹脂ガラス繊維積層プリプレグを形成する。
(2)厚さ0.15mm、幅30mmの45°で織られたガラス繊維織物をシリコーンゴムに浸漬して、厚さ0.2mmのTPU連続ガラス繊維複合パネルを形成する。
(3)3つのパネル、具体的には、フェノール樹脂連続ガラス繊維積層プリプレグ、シリコーンゴム連続ガラス繊維複合パネル、及びフェノール樹脂連続ガラス繊維積層プリプレグを順に並べて配置し、シリコーンゴム連続ガラス繊維複合パネルとフェノール樹脂連続ガラス繊維積層プリプレグとは、両側で交差接続される。ホットプレスの温度を150℃に上げ、金型ギャップを0.2mmとし、150℃で30分間圧着を実施して、厚さ0.2mmのフェノール樹脂連続ガラス繊維-シリコーンゴム連続ガラス繊維-フェノール樹脂連続ガラス繊維複合パネルを得る。
(4)ステップ(3)で得られた複合パネルに対してエッジカットを行い、複合パネルを必要な寸法に切断して基板層を得る。
(5)基板層の屈曲可能領域を覆い、屈曲可能領域の両側の支持部材パネルに対して酸洗浄を行って、表面の油汚れを除去する。
(6)支持部材の両側の表面が触媒化され、パラジウムを含有する触媒の層が支持部材の表面に堆積される。
(7)基板層をめっき液に浸漬して、化学ニッケルめっきを4~12時間行う。5μm~10μmのニッケル層を支持部材の表面に堆積させ、ニッケル層を洗浄し、乾燥させる。
(8)次いで、金めっき前領域の外側のニッケル層を被覆し、めっき液に浸漬して化学金めっきを2~4時間行い、それにより、厚さ1μm~2μmの金層が金めっき前領域に堆積され、金層を洗浄し、乾燥させて、導電層を形成する。
(9)厚さ30μm~100μmの熱伝導性シリコーンシートを2つの導電層上に別々にコーティングし、導電層をホットプレスに入れる。100℃の温度で30分間圧着を実施する。冷却後、フレキシブルディスプレイ支持構造体が得られる。
完全にステンレス鋼で作られ、同じサイズを有するフレキシブルディスプレイ支持構造体と比較して、この実施形態で作製されたフレキシブルディスプレイ支持構造体の重量は、75%超低減される。加えて、この実施形態で作製されたフレキシブルディスプレイ支持構造体は、試験のために200,000回曲げられたが、亀裂は発生せず、試験後も良好な平坦性を依然として維持することができた。この実施形態で作製されたフレキシブルディスプレイ支持構造体は、電気伝導機能及び熱伝導機能を併せ持つ。
実施形態7
図8Aを参照されたい。この実施形態におけるフレキシブルディスプレイ支持構造体30は、基板層100と、基板層100の両面に配置された熱伝導層201及び耐衝撃層202とを含む。基板層100は、エポキシ樹脂連続アラミド繊維-ポリウレタン(TPU)連続アラミド繊維-エポキシ樹脂連続アラミド繊維複合パネルを使用する。あるモデルの折り畳み式携帯電話を例として使用する。この実施形態におけるフレキシブルディスプレイ支持構造体の設計ソリューションでは、フレキシブルディスプレイ支持構造体の外形寸法は161mm×146mmであり、基板層の厚さは0.15mmであり、フレキシブル屈曲可能領域、すなわち屈曲可能な接続部材の幅は20mmであり、両側の支持部材の幅は63mmである。3つのパネル、具体的には、エポキシ樹脂連続アラミド繊維複合パネル、ポリウレタン連続アラミド繊維複合パネル、及びエポキシ樹脂連続アラミド繊維複合パネルを順に並べて配置して組み合わせ、基板層を形成する。熱伝導層201の材料は、熱伝導性シリコーンである。耐衝撃層202の材料は、TPU薄膜である。
この実施形態におけるフレキシブルディスプレイ支持構造体の作製プロセスは、以下の通りである。
(1)厚さ0.02mmのアラミド一方向繊維織物を選択し、両側の表面をエポキシ樹脂に浸漬して厚さ0.025mmの単層プリプレグを得た後、0°/+45°/-45°/-45°/+45°/0°のスタッキング角度に従ってプリプレグを積層して、厚さ0.15mmのエポキシ樹脂アラミド繊維積層プリプレグを形成する。
(2)厚さ0.1mm、幅30mmの45°で織られたアラミド繊維織物をTPUに浸漬して、厚さ0.15mmのTPU連続アラミド繊維複合パネルを形成する。
(3)3つのパネル、具体的には、エポキシ樹脂連続アラミド繊維積層プリプレグ、ポリウレタン連続アラミド繊維複合パネル、及びエポキシ樹脂連続アラミド繊維積層プリプレグを順に並べて配置し、ポリウレタン連続アラミド繊維複合パネルと両側のエポキシ樹脂連続アラミド繊維積層プリプレグとは交差接続される。ホットプレスの温度を150℃に上げ、金型ギャップを0.15mmとし、150℃で30分間圧着を実施して、厚さ0.15mmのエポキシ樹脂連続アラミド繊維-ポリウレタン(TPU)連続アラミド繊維-エポキシ樹脂連続アラミド繊維複合パネルを得る。
(4)ステップ(3)で得られた複合パネルに対してエッジカットを行い、複合パネルを必要な寸法に切断して基板層を得る。
(5)厚さ30μm~100μmの熱伝導性シリコーンシートを基板層の上下両面に別々にコーティングし、基板層をホットプレスに入れる。100℃の温度で30分間圧着を実施して熱伝導層を形成する。
(6)厚さ50μm~150μmのTPU薄膜を2つの熱伝導層上に別々にコーティングし、熱伝導層をホットプレスに入れる。150℃の温度で30分間圧着を実施する。冷却後、フレキシブルディスプレイ支持構造体が得られる。
完全にステンレス鋼で作られ、同じサイズを有するフレキシブルディスプレイ支持構造体と比較して、この実施形態で作製されたフレキシブルディスプレイ支持構造体の重量は、75%超低減される。加えて、この実施形態で作製されたフレキシブルディスプレイ支持構造体は、試験のために200,000回曲げられたが、亀裂は発生せず、試験後も良好な平坦性を依然として維持することができた。この実施形態で作製されたフレキシブルディスプレイ支持構造体は、熱伝導機能及び耐衝撃機能を併せ持つ。
実施形態8
図11Aを参照されたい。この実施形態におけるフレキシブルディスプレイ支持構造体30は、基板層100と、基板層100の両面に配置された機能層200とを含む。一方の面の機能層200は、導電層201及び耐衝撃層202を含み、他方の面の機能層200は、導電層を含む。基板層100は、この実施形態のフレキシブルディスプレイ支持構造体をエポキシ樹脂連続炭素繊維-ステンレス鋼-エポキシ樹脂連続炭素繊維複合パネルとして使用する。あるモデルの折り畳み式携帯電話を例として使用する。この実施形態におけるフレキシブルディスプレイ支持構造体の設計ソリューションでは、フレキシブルディスプレイ支持構造体の外形寸法は161mm×146mmであり、フレキシブルディスプレイ支持構造体の厚さは0.15mmであり、フレキシブル屈曲可能領域、すなわち屈曲可能な接続部材の幅は20mmであり、両側の支持部材の幅は63mmである。3つのパネル、具体的には、エポキシ樹脂連続炭素繊維複合パネル、ステンレス鋼シート、及びエポキシ樹脂連続炭素繊維複合パネルを順に並べて配置して組み合わせ、ステンレス鋼シートの両側が、両側のエポキシ樹脂連続炭素繊維複合パネル構造体にそれぞれクランプされて、基板層を形成する。導電層はニッケル層であり、耐衝撃層の材料はTPU薄膜である。
この実施形態におけるフレキシブルディスプレイ支持構造体の作製プロセスは、以下の通りである。
(1)厚さ0.02mmの炭素一方向繊維織物を選択し、両側の表面をエポキシ樹脂に浸漬して厚さ0.025mmの単層プリプレグを得た後、0°/90°/0°/0°/90°/0°のスタッキング角度に従って単層プリプレグを積層して、厚さ0.15mmのエポキシ樹脂炭素繊維積層プリプレグを形成する。
(2)幅30mm、厚さ0.15mmの多孔質ステンレス鋼シートを用意する。中間多孔質領域(柔軟な屈曲可能領域として使用される)は20mmである。左右両側を下げて、厚さ0.05mm、幅5mmの段差構造を形成し、クランプ部とする(クランプ部に孔を開けることができる)。
(3)エポキシ樹脂炭素繊維積層プリプレグ、多孔質ステンレス鋼シート、エポキシ樹脂炭素繊維積層プリプレグを順に並べて配置する。エポキシ樹脂炭素繊維積層プリプレグ及び多孔質ステンレス鋼シートの両側の各々は、幅5mmの接合領域を有する。ホットプレスの温度を150℃に上げ、金型ギャップを0.15mmとし、150℃で30分間圧着を実施して、厚さ0.15mmのエポキシ樹脂連続炭素繊維-ステンレス鋼-エポキシ樹脂連続炭素繊維複合パネルを得る。
(4)ステップ(3)で得られた複合パネルに対してエッジカットを行い、複合パネルを必要な寸法に切断して基板層を得る。
(5)基板層に対して酸洗浄を行い、表面の油汚れを除去する。
(6)基板層の両側の表面に対して触媒作用が行われ、基板層の表面に、パラジウムを含む触媒層を堆積させる。
(7)基板層をめっき液に浸漬して、化学ニッケルめっきを4~12時間行う。5μm~10μmのニッケル層を堆積し、ニッケル層を洗浄し、乾燥させて、導電層を形成する。
(8)厚さ50μm~150μmのTPU薄膜を導電層の片面にコーティングし、導電層をホットプレスに入れる。150℃の温度で30分間圧着を実施する。冷却後、フレキシブルディスプレイ支持構造体が得られる。
完全にステンレス鋼で作られ、同じサイズを有するフレキシブルディスプレイ支持構造体と比較して、この実施形態で作製されたフレキシブルディスプレイ支持構造体の重量は、62%超低減される。加えて、この実施形態で作製されたフレキシブルディスプレイ支持構造体は、試験のために200,000回曲げられたが、亀裂は発生せず、試験後も良好な平坦性を依然として維持することができた。この実施形態で作製されたフレキシブルディスプレイ支持構造体は、電気伝導機能及び耐衝撃機能を併せ持つ。
実施形態9
図10を参照されたい。この実施形態のフレキシブルディスプレイ支持構造体30は、基板層100と、基板層100の両面に配置された導電層201、熱伝導層202、及び耐衝撃層203とを含む。基板層100は、エポキシ樹脂連続ガラス繊維-チタン合金-エポキシ樹脂連続ガラス繊維複合パネルを使用する。あるモデルの折り畳み式携帯電話を例として使用する。この実施形態におけるフレキシブルディスプレイ支持構造体の設計ソリューションでは、フレキシブルディスプレイ支持構造体の外形寸法は161mm×146mmであり、基板層の厚さは0.15mmであり、フレキシブル屈曲可能領域、すなわち屈曲可能な接続部材の幅は20mmであり、両側の支持部材の幅は63mmである。3つのパネル、具体的には、エポキシ樹脂連続炭素繊維複合パネル、チタン合金、及びエポキシ樹脂連続炭素繊維複合パネルを順に並べて配置して組み合わせ、チタン合金シートの両側が、両側のエポキシ樹脂連続炭素繊維複合パネル構造体にそれぞれクランプされて、基板層を形成する。導電層はニッケル層であり、熱伝導層は熱伝導性両面テープを含み、耐衝撃層の材料はTPEE薄膜である。
この実施形態におけるフレキシブルディスプレイ支持構造体の作製プロセスは、以下の通りである。
(1)厚さ0.02mmの炭素一方向繊維織物を選択し、両側の表面をエポキシ樹脂に浸漬して厚さ0.025mmのプリプレグを得た後、0°/90°/0°/0°/90°/0°のスタッキング角度に従ってプリプレグを積層して、厚さ0.15mmのエポキシ樹脂炭素繊維積層プリプレグを形成する。
(2)幅30mm、厚さ0.15mmの多孔質チタン合金シートを用意する。中間多孔質領域(柔軟な屈曲可能領域として使用される)は20mmである。左右両側を下げて、厚さ0.05mm、幅5mmの段差構造を形成し、クランプ部とする(クランプ部に孔を開けることができる)。
(3)エポキシ樹脂炭素繊維積層プリプレグ、多孔質チタン合金シート、エポキシ樹脂炭素繊維積層プリプレグを順に並べて配置する。エポキシ樹脂炭素繊維積層プリプレグ及び多孔質チタン合金シートの両側の各々は、幅5mmの接合領域を有する。ホットプレスの温度を150℃に上げ、金型ギャップを0.15mmとし、150℃で30分間圧着を実施して、厚さ0.15mmのエポキシ樹脂連続炭素繊維-チタン合金-エポキシ樹脂連続炭素繊維複合パネルを得る。
(4)ステップ(3)で得られた複合パネルに対してエッジカットを行い、複合パネルを必要な寸法に切断して基板層を得る。
(5)基板層に対して酸洗浄を行い、表面の油汚れを除去する。
(6)基板層の両側の表面に対して触媒作用が行われ、基板層の表面に、パラジウムを含む触媒層を堆積させる。
(7)基板層をめっき液に浸漬して、化学ニッケルめっきを4~12時間行う。5μm~10μmのニッケル層を堆積し、ニッケル層を洗浄し、乾燥させて、導電層を形成する。
(8)厚さ30μm~100μmの導電性両面テープを導電層の両面に接合し、次いで、厚さ50μm~150μmのTPEE薄膜の層をテープの反対の面に接合して、フレキシブルディスプレイ支持構造体を得る。
完全にステンレス鋼で作られ、同じサイズを有するフレキシブルディスプレイ支持構造体と比較して、この実施形態で作製されたフレキシブルディスプレイ支持構造体の重量は、70%超低減される。加えて、この実施形態で作製されたフレキシブルディスプレイ支持構造体は、試験のために200,000回曲げられたが、亀裂は発生せず、試験後も良好な平坦性を依然として維持することができた。この実施形態で作製されたフレキシブルディスプレイ支持構造体は、電気伝導機能、熱伝導機能、及び耐衝撃機能を併せ持つ。
実施形態10
図11Bを参照されたい。この実施形態におけるフレキシブルディスプレイ支持構造体30は、基板層100と、基板層100の両面に配置された機能層200とを含む。一方の面の機能層200は、導電層201及び耐衝撃層202を含み、他方の面の機能層200は、熱伝導層を含む。基板層100は実施形態1と同様であり、サイズ設計も実施形態1と同様である。導電層はニッケル層であり、耐衝撃層の材料はTPU薄膜である。熱伝導層の材料は、熱伝導性グラファイトシートである。
この実施形態におけるフレキシブルディスプレイ支持構造体の作製プロセスは、以下の通りである。
(1)実施形態1と同様の方法を使用することによって基板層を作製する。
(2)基板層の屈曲可能領域を覆い、屈曲可能領域の両側の支持部材パネルに対して酸洗浄を行って、表面の油汚れを除去する。
(3)支持部材の両側の表面が触媒化され、パラジウムを含有する触媒の層が支持部材の表面に堆積される。
(4)基板層をめっき液に浸漬して、化学ニッケルめっきを4~12時間行う。5μm~10μmのニッケル層が基板層の一方の面の表面に堆積され、ニッケル層を洗浄、乾燥して、導電層を形成する。
(5)厚さ50μm~150μmのTPU薄膜を導電層上にコーティングし、導電層をホットプレスに入れる。150℃の温度で30分間圧着を実施して耐衝撃層を形成する。
(6)厚さ30μm~100μmの熱伝導性グラファイトシートを、接着剤によって基板層の他方の面に接合し、フレキシブルディスプレイ支持構造体を得る。
この実施形態で作製されたフレキシブルディスプレイ支持構造体は、電気伝導機能、熱伝導機能、及び耐衝撃機能を併せ持つ。
実施形態11
図8Bを参照されたい。この実施形態におけるフレキシブルディスプレイ支持構造体30は、基板層100と、基板層100の両面に配置された機能層200とを含む。一方の面の機能層200は、導電層201及び耐衝撃層202を含み、他方の面の機能層200は、導電層201及び熱伝導層202を含む。基板層100は実施形態1と同様であり、サイズ設計も実施形態1と同様である。導電層はニッケル層であり、耐衝撃層の材料はTPEE薄膜である。熱伝導層の材料は、熱伝導性両面テープである。
この実施形態におけるフレキシブルディスプレイ支持構造体の作製プロセスは、以下の通りである。
(1)実施形態1と同様の方法を使用することによって基板層を作製する。
(2)基板層の屈曲可能領域を覆い、屈曲可能領域の両側の支持部材パネルに対して酸洗浄を行って、表面の油汚れを除去する。
(3)支持部材の両側の表面が触媒化され、パラジウムを含有する触媒の層が支持部材の表面に堆積される。
(4)基板層をめっき液に浸漬して、化学ニッケルめっきを4~12時間行う。5μm~10μmのニッケル層が基板層の両側の表面に堆積され、ニッケル層を洗浄、乾燥して、導電層を形成する。
(5)厚さ50μm~150μmのTPEE薄膜を基板層の一方の面の導電層上にコーティングし、導電層をホットプレスに入れる。220℃の温度で30分間圧着を実施して熱伝導層を形成する。
(6)厚さ30μm~100μmの熱伝導性両面テープを、接着によって基板層の他方の面の導電層に接合し、フレキシブルディスプレイ支持構造体を得る。
この実施形態で作製されたフレキシブルディスプレイ支持構造体は、電気伝導機能、熱伝導機能及び耐衝撃機能を有する。
本出願の実施形態におけるフレキシブルディスプレイ支持構造体によれば、有機材料と繊維との複合材料が本体材料として使用される。ステンレス鋼などの金属材料で完全に作られた既存のフレキシブルディスプレイ支持構造体と比較して、フレキシブルディスプレイ支持構造体の重量は大幅に低減され、良好な剛性支持をフレキシブルディスプレイに対して提供することができる。加えて、屈曲領域は、金属材料で作られてもよいし、有機可撓性材料若しくは軟質ゴム繊維複合材料で作られてもよく、それにより、屈曲信頼性を確保しつつも支持構造の総重量がさらに低減され、折り畳み式端末製品の重量を低減するのを助け、製品競争力を高め、ユーザ体験を向上させる。加えて、本出願の実施形態におけるフレキシブルディスプレイ支持構造体は、作製コストが低い。加えて、本出願の実施形態におけるフレキシブルディスプレイ支持構造体は、機能層を配置することによって、電気伝導、熱伝導、耐衝撃性などの機能をさらに有し、その結果、支持構造の機能要件を満たすことができ、端末製品の性能を向上させることができる。

Claims (25)

  1. 基板層と、前記基板層の少なくとも片側の表面に配置された機能層とを含む複合構造体であって、前記基板層は、並んで配置された第1の支持部材及び第2の支持部材と、前記第1の支持部材と前記第2の支持部材との間に配置され且つ前記第1の支持部材及び前記第2の支持部材に接続された屈曲可能な接続部材とを含み、前記第1の支持部材及び前記第2の支持部材の材料は、硬質樹脂繊維複合材料を含み、前記機能層は、少なくとも導電層を
    前記導電層は導電性金属を含み、前記導電層は単層構造又は多層構造を有する、複合構造体。
  2. 前記機能層は、熱伝導層、及び耐衝撃層のうちの1つ又は複数をさらに含む、請求項1に記載の複合構造体。
  3. 前記導電性金属は、銅、銀、金、ニッケル、及びスズのうちの1つ又は複数を含む、請求項に記載の複合構造体。
  4. 前記熱伝導層は、熱伝導性シリコーンシート、熱伝導性シリコングリス、熱伝導性両面テープ、熱伝導性グラファイトシート、グラフェンシート、及び酸化グラフェンシートのうちの1つ又は複数を含む、請求項に記載の複合構造体。
  5. 前記耐衝撃層は、シリコーンゴム、熱可塑性エラストマー、ポリウレタンアクリレート、ポリ塩化ビニル軟質ゴム、及びポリウレタンのうちの1つ又は複数を含む、請求項に記載の複合構造体。
  6. 前記硬質樹脂繊維複合材料は、少なくとも1つの繊維層と、前記繊維層上で硬化された硬質樹脂材料とを含む、請求項1に記載の複合構造体。
  7. 前記繊維層は、一方向繊維織物及び/又は織繊維織物を含む、請求項6に記載の複合構造体。
  8. 前記硬質樹脂材料は、エポキシ樹脂、フェノール樹脂、アミノ樹脂、不飽和ポリエステル、シリルエーテル樹脂、ポリオレフィン、ポリアミド、ポリオキシメチレン、ポリカーボネート、ポリフェニレンエーテル、及びポリスルホンのうちの1つ又は複数を含む、請求項6に記載の複合構造体。
  9. 前記繊維層は、ガラス繊維、炭素繊維、アラミド繊維、酸化アルミニウム繊維、超高分子量ポリエチレン繊維、及びポリ(p-フェニレンベンゾビスオキサゾール)繊維のうちの1つ又は複数を含む、請求項6に記載の複合構造体。
  10. 前記硬質樹脂繊維複合材料における繊維の質量含有率は10%~80%である、請求項1に記載の複合構造体。
  11. 前記硬質樹脂繊維複合材料は、複数の繊維層を含み、前記複数の繊維層及び前記硬質樹脂材料が、繊維と硬質樹脂とが交互に積層された複合積層体を形成するか、又は前記複数の繊維層が積層されて繊維スタックを形成し、前記硬質樹脂材料が前記繊維スタック上で硬化される、請求項6に記載の複合構造体。
  12. 前記屈曲可能な接続部材の材料は、有機可撓性材料、軟質ゴム繊維複合材料、屈曲可能な硬質樹脂繊維複合材料、及び屈曲可能な金属材料のうちの1つ又は複数を含む、請求項1に記載の複合構造体。
  13. 前記有機可撓性材料は、フッ素ゴム、シリコーンゴム、熱可塑性エラストマー、ポリ塩化ビニル、ポリイミド、ポリエチレンテレフタレート、環状オレフィンポリマー、液晶ポリマー、及びポリジメチルシロキサンのうちの1つ又は複数を含む、請求項12に記載の複合構造体。
  14. 前記軟質ゴム繊維複合材料は、少なくとも1つの繊維層と、前記繊維層上で硬化された軟質ゴム材料とを含み、前記軟質ゴム材料は、フッ素ゴム、シリコーンゴム、及び熱可塑性エラストマーのうちの1つ又は複数を含む、請求項12に記載の複合構造体。
  15. 前記軟質ゴム繊維複合材料における繊維の質量含有率は10%~80%である、請求項12に記載の複合構造体。
  16. 前記軟質ゴム繊維複合材料は複数の繊維層を含み、前記複数の繊維層及び前記軟質ゴム材料が、繊維と軟質ゴムとが交互に積層された複合積層体を形成するか、又は前記複数の繊維層が積層されて繊維スタックを形成し、前記軟質ゴム材料が前記繊維スタック上で硬化される、請求項14に記載の複合構造体。
  17. 前記屈曲可能な金属材料は、ステンレス鋼、チタン合金、及びアルミニウム合金のうちの1つ又は複数を含む、請求項12に記載の複合構造体。
  18. 前記屈曲可能な接続部材が前記軟質ゴム繊維複合材料で作られている場合、前記複合構造体は、前記第1の支持部材、前記第2の支持部材、及び前記屈曲可能な接続部材に連続的に存在する一体的に織られた繊維層を含む、請求項12に記載の複合構造体。
  19. 前記屈曲可能な硬質樹脂繊維複合材料は、多孔質構造を有する、請求項12に記載の複合構造体。
  20. 前記屈曲可能な接続部材が前記屈曲可能な硬質樹脂繊維複合材料で作られている場合、前記屈曲可能な接続部材と前記第1の支持部材及び/又は前記第2の支持部材とは、一体形成された構造を有する、請求項12に記載の複合構造体。
  21. 前記複合構造体の厚さは0.1mm~5mmである、請求項1に記載の複合構造体。
  22. 請求項1から21のいずれか一項に記載の複合構造体を含む、端末。
  23. フレキシブルディスプレイアセンブリであって、前記フレキシブルディスプレイアセンブリは、フレキシブルディスプレイと、前記フレキシブルディスプレイを支持するために使用されるフレキシブルディスプレイ支持構造体とを含み、前記フレキシブルディスプレイ支持構造体は、請求項1から21のいずれか一項に記載の複合構造体を使用することによって作成される、フレキシブルディスプレイアセンブリ。
  24. 請求項23に記載のフレキシブルディスプレイアセンブリを含む、折り畳み式端末。
  25. 前記フレキシブルディスプレイは、屈曲領域と前記屈曲領域の両側の非屈曲領域とを含み、前記フレキシブルディスプレイ支持構造体は、前記フレキシブルディスプレイの外面に配置され、前記第1の支持部材及び前記第2の支持部材は、前記フレキシブルディスプレイの両側の前記非屈曲領域にそれぞれ対応し、前記屈曲可能な接続部材は、前記フレキシブルディスプレイの前記屈曲領域に対応する、請求項24に記載の折り畳み式端末。
JP2023573666A 2021-05-31 2022-05-26 複合構造体、フレキシブルディスプレイアセンブリ、及び折り畳み式端末 Active JP7679587B2 (ja)

Applications Claiming Priority (3)

Application Number Priority Date Filing Date Title
CN202110606183.1A CN115416388A (zh) 2021-05-31 2021-05-31 复合结构、柔性屏组件和可折叠终端
CN202110606183.1 2021-05-31
PCT/CN2022/095153 WO2022253089A1 (zh) 2021-05-31 2022-05-26 复合结构、柔性屏组件和可折叠终端

Publications (2)

Publication Number Publication Date
JP2024520578A JP2024520578A (ja) 2024-05-24
JP7679587B2 true JP7679587B2 (ja) 2025-05-20

Family

ID=84195510

Family Applications (1)

Application Number Title Priority Date Filing Date
JP2023573666A Active JP7679587B2 (ja) 2021-05-31 2022-05-26 複合構造体、フレキシブルディスプレイアセンブリ、及び折り畳み式端末

Country Status (6)

Country Link
US (1) US20240083137A1 (ja)
EP (1) EP4322137A4 (ja)
JP (1) JP7679587B2 (ja)
CN (2) CN115416388A (ja)
BR (1) BR112023024000A2 (ja)
WO (1) WO2022253089A1 (ja)

Families Citing this family (16)

* Cited by examiner, † Cited by third party
Publication number Priority date Publication date Assignee Title
KR102501292B1 (ko) * 2021-08-04 2023-02-17 (주)유티아이 플렉시블 커버 윈도우
KR20240007970A (ko) * 2022-07-07 2024-01-18 삼성디스플레이 주식회사 전자 장치
KR20240041387A (ko) * 2022-09-22 2024-04-01 삼성디스플레이 주식회사 표시 장치
KR20240065478A (ko) * 2022-10-31 2024-05-14 삼성디스플레이 주식회사 디지타이저 및 이를 포함하는 표시 장치
CN117153042B (zh) * 2023-01-13 2024-10-29 荣耀终端有限公司 折叠屏设备以及纤维复合板的制造方法
CN118366370A (zh) * 2023-01-18 2024-07-19 荣耀终端有限公司 折叠屏及其制作工艺、可折叠电子设备
CN117119843B (zh) * 2023-04-14 2024-05-17 荣耀终端有限公司 电子设备及其制造方法
CN119007571A (zh) * 2023-05-17 2024-11-22 华为技术有限公司 补强板、显示屏组件及终端
CN116758819A (zh) * 2023-05-31 2023-09-15 上海天马微电子有限公司 支撑板及显示装置
WO2025018573A1 (ko) * 2023-07-20 2025-01-23 삼성전자주식회사 윙 플레이트를 포함하는 전자 장치 및 윙 플레이트의 제조 방법
WO2025023547A1 (ko) * 2023-07-21 2025-01-30 삼성전자 주식회사 지지체를 포함하는 전자장치
CN119960178B (zh) * 2023-11-08 2025-09-16 歌尔科技有限公司 碳纤维结构件和佩戴设备
TWI880603B (zh) * 2024-01-23 2025-04-11 永虹先進材料股份有限公司 複合材料支撐結構及其製造方法以及可撓式顯示裝置
CN120580917A (zh) * 2024-03-01 2025-09-02 华为技术有限公司 电子设备、竹书结构、制备方法、显示模组、电路板
CN118748898B (zh) * 2024-08-28 2024-11-15 武汉华星光电半导体显示技术有限公司 柔性显示模组及其制备方法、电子设备
CN119872052A (zh) * 2025-01-15 2025-04-25 合肥维信诺科技有限公司 支撑结构、其制造方法和电子设备

Citations (6)

* Cited by examiner, † Cited by third party
Publication number Priority date Publication date Assignee Title
JP5127103B2 (ja) 2001-09-10 2013-01-23 株式会社半導体エネルギー研究所 発光装置及び電子機器
JP2016018198A (ja) 2014-07-11 2016-02-01 株式会社ジャパンディスプレイ 表示装置
JP2019536293A (ja) 2016-11-25 2019-12-12 華為技術有限公司Huawei Technologies Co.,Ltd. 熱放散パネル、熱放散装置、及び電子デバイス
JP2020064973A (ja) 2018-10-17 2020-04-23 レノボ・シンガポール・プライベート・リミテッド 筐体用部材及び電子機器
JP2020167085A (ja) 2019-03-29 2020-10-08 大日本印刷株式会社 光学フィルムおよび画像表示装置
JP2021026230A (ja) 2019-07-30 2021-02-22 三星ディスプレイ株式會社Samsung Display Co.,Ltd. 表示装置

Family Cites Families (27)

* Cited by examiner, † Cited by third party
Publication number Priority date Publication date Assignee Title
JP2004069766A (ja) * 2002-08-01 2004-03-04 Three M Innovative Properties Co 画像表示装置
CN101501556A (zh) * 2006-06-22 2009-08-05 诺基亚公司 玻璃纤维增强塑料基材
CN102737554A (zh) * 2012-06-29 2012-10-17 北京金立翔艺彩科技股份有限公司 一种支撑基板的制造方法及led显示装置
CN103129042B (zh) * 2013-01-30 2015-09-16 广东生益科技股份有限公司 一种碳纤维布基复合材料及其制备和应用
KR102037284B1 (ko) * 2013-07-11 2019-10-29 삼성디스플레이 주식회사 표시 장치
KR102051803B1 (ko) * 2013-07-29 2020-01-09 삼성디스플레이 주식회사 접이식 표시 장치
KR102228857B1 (ko) * 2014-09-05 2021-03-17 엘지전자 주식회사 휴대 전자기기
KR20180067204A (ko) * 2016-12-12 2018-06-20 한국항공대학교산학협력단 형상변형 가능한 이중 수지 복합재료 구조물
CN107195795B (zh) * 2017-06-07 2019-06-14 武汉天马微电子有限公司 可折叠显示面板和可折叠显示装置
CN207115888U (zh) * 2017-08-03 2018-03-16 深圳市柔宇科技有限公司 折叠机构及终端
CN207381404U (zh) * 2017-08-31 2018-05-18 昆山国显光电有限公司 一种柔性显示器件
CN108650776B (zh) * 2018-05-15 2020-04-03 武汉华星光电半导体显示技术有限公司 一种柔性电路板及显示屏
CN111131563A (zh) * 2018-11-01 2020-05-08 华为终端有限公司 一种可折叠显示模组及移动终端
TW202100626A (zh) * 2019-01-29 2021-01-01 日商松下知識產權經營股份有限公司 衝擊吸收積層體、顯示裝置
CN110277022A (zh) * 2019-02-20 2019-09-24 华为技术有限公司 一种柔性显示屏及含有该显示屏的终端
WO2020191596A1 (zh) * 2019-03-25 2020-10-01 深圳市汇顶科技股份有限公司 指纹识别装置和电子设备
TR201904794A2 (tr) * 2019-03-29 2019-05-21 Farel Plastik Elektrik Ve Elektronik Imalat Sanayi Anonim Sirketi Beyaz eşya üst tablasi ve söz konusu üst tablanin üreti̇m yöntemi̇
CN110166607A (zh) * 2019-06-19 2019-08-23 Oppo(重庆)智能科技有限公司 移动终端、折叠屏及其基板
CN110286790B (zh) * 2019-06-21 2021-11-12 京东方科技集团股份有限公司 触控面板及显示装置
CN113366557A (zh) * 2019-07-17 2021-09-07 深圳市柔宇科技股份有限公司 柔性显示装置、电子设备及柔性显示装置的制造方法
CN110544431B (zh) * 2019-07-25 2021-02-12 华为技术有限公司 一种复合结构、柔性屏组件及折叠显示终端
CN112466205A (zh) * 2019-09-06 2021-03-09 华为技术有限公司 可折叠电子设备以及折叠屏安装结构
KR20210043029A (ko) * 2019-10-10 2021-04-21 희성전자 주식회사 플렉시블 디스플레이 장치용 지지기판 및 플렉시블 디스플레이 장치
CN110580859A (zh) * 2019-10-14 2019-12-17 刘燕庭 可卷曲显示屏的支撑基板、可卷曲显示装置及电子设备
CN110796955B (zh) * 2019-11-13 2021-12-03 京东方科技集团股份有限公司 柔性显示屏和电子设备
CN210955911U (zh) * 2020-03-11 2020-07-07 上海和辉光电有限公司 柔性屏模组及显示装置
CN216353073U (zh) * 2021-05-18 2022-04-19 华为技术有限公司 柔性屏支撑件、柔性屏模组及电子设备

Patent Citations (6)

* Cited by examiner, † Cited by third party
Publication number Priority date Publication date Assignee Title
JP5127103B2 (ja) 2001-09-10 2013-01-23 株式会社半導体エネルギー研究所 発光装置及び電子機器
JP2016018198A (ja) 2014-07-11 2016-02-01 株式会社ジャパンディスプレイ 表示装置
JP2019536293A (ja) 2016-11-25 2019-12-12 華為技術有限公司Huawei Technologies Co.,Ltd. 熱放散パネル、熱放散装置、及び電子デバイス
JP2020064973A (ja) 2018-10-17 2020-04-23 レノボ・シンガポール・プライベート・リミテッド 筐体用部材及び電子機器
JP2020167085A (ja) 2019-03-29 2020-10-08 大日本印刷株式会社 光学フィルムおよび画像表示装置
JP2021026230A (ja) 2019-07-30 2021-02-22 三星ディスプレイ株式會社Samsung Display Co.,Ltd. 表示装置

Also Published As

Publication number Publication date
JP2024520578A (ja) 2024-05-24
US20240083137A1 (en) 2024-03-14
BR112023024000A2 (pt) 2024-01-30
EP4322137A1 (en) 2024-02-14
CN120599918A (zh) 2025-09-05
CN115416388A (zh) 2022-12-02
WO2022253089A1 (zh) 2022-12-08
EP4322137A4 (en) 2024-11-13

Similar Documents

Publication Publication Date Title
JP7679587B2 (ja) 複合構造体、フレキシブルディスプレイアセンブリ、及び折り畳み式端末
CN108029212B (zh) 壳体
US10796613B2 (en) Flexible display device and manufacturing method therefor
CN111279287B (zh) 多部件设备外壳
CN102482809B (zh) 印刷电路板用玻璃纤维布
CN101543150B (zh) 多层布线基板
KR102140924B1 (ko) 도전성 시트
KR102087163B1 (ko) 그래파이트 적층체, 그래파이트 적층체의 제조 방법, 열 수송용 구조물 및 로드상의 열 수송체
CN102687598B (zh) 柔性电路基板及其制造方法
CN114664180A (zh) 复合结构、柔性屏组件和可折叠终端
CN105073411A (zh) 柔性电子纤维加强复合材料
CN108029213B (zh) 壳体
CN108029215B (zh) 壳体
CN108029214B (zh) 壳体
WO2024046338A1 (zh) 屏幕支撑结构及其制作方法、显示组件和电子设备
CN116110282A (zh) 用于柔性显示屏的屏下支撑件及电子设备
JP6709254B2 (ja) リジッドフレックス多層配線板
CN223067315U (zh) 支撑件、显示屏组件和电子设备
CN209806331U (zh) 电磁波屏蔽膜
CN118748898B (zh) 柔性显示模组及其制备方法、电子设备
JP3142091U (ja) 電気・電子機器
CN120526682A (zh) 显示装置、散热板和制造显示装置的方法
CN121220226A (zh) 弹性构件和包括该弹性构件的显示装置
KR20240117747A (ko) 탄성 부재 및 이를 포함하는 디스플레이 장치
CN119489590A (zh) 导热复合材料及其加工方法、电子设备

Legal Events

Date Code Title Description
A521 Request for written amendment filed

Free format text: JAPANESE INTERMEDIATE CODE: A523

Effective date: 20231219

A621 Written request for application examination

Free format text: JAPANESE INTERMEDIATE CODE: A621

Effective date: 20231219

A977 Report on retrieval

Free format text: JAPANESE INTERMEDIATE CODE: A971007

Effective date: 20241106

A131 Notification of reasons for refusal

Free format text: JAPANESE INTERMEDIATE CODE: A131

Effective date: 20241224

A521 Request for written amendment filed

Free format text: JAPANESE INTERMEDIATE CODE: A523

Effective date: 20250117

TRDD Decision of grant or rejection written
A01 Written decision to grant a patent or to grant a registration (utility model)

Free format text: JAPANESE INTERMEDIATE CODE: A01

Effective date: 20250408

A61 First payment of annual fees (during grant procedure)

Free format text: JAPANESE INTERMEDIATE CODE: A61

Effective date: 20250415

R150 Certificate of patent or registration of utility model

Ref document number: 7679587

Country of ref document: JP

Free format text: JAPANESE INTERMEDIATE CODE: R150