JP7176397B2 - 半導体装置とその製造方法 - Google Patents

半導体装置とその製造方法 Download PDF

Info

Publication number
JP7176397B2
JP7176397B2 JP2018239956A JP2018239956A JP7176397B2 JP 7176397 B2 JP7176397 B2 JP 7176397B2 JP 2018239956 A JP2018239956 A JP 2018239956A JP 2018239956 A JP2018239956 A JP 2018239956A JP 7176397 B2 JP7176397 B2 JP 7176397B2
Authority
JP
Japan
Prior art keywords
conductor film
external connection
substrate
semiconductor element
connection terminal
Prior art date
Legal status (The legal status is an assumption and is not a legal conclusion. Google has not performed a legal analysis and makes no representation as to the accuracy of the status listed.)
Active
Application number
JP2018239956A
Other languages
English (en)
Other versions
JP2020102544A (ja
Inventor
明徳 榊原
崇功 川島
卓矢 門口
幸治 浦本
泰弘 小川
Current Assignee (The listed assignees may be inaccurate. Google has not performed a legal analysis and makes no representation or warranty as to the accuracy of the list.)
Denso Corp
Original Assignee
Denso Corp
Priority date (The priority date is an assumption and is not a legal conclusion. Google has not performed a legal analysis and makes no representation as to the accuracy of the date listed.)
Filing date
Publication date
Application filed by Denso Corp filed Critical Denso Corp
Priority to JP2018239956A priority Critical patent/JP7176397B2/ja
Priority to US16/693,478 priority patent/US11201099B2/en
Priority to CN201911319896.9A priority patent/CN111354710B/zh
Priority to DE102019135373.4A priority patent/DE102019135373B4/de
Publication of JP2020102544A publication Critical patent/JP2020102544A/ja
Application granted granted Critical
Publication of JP7176397B2 publication Critical patent/JP7176397B2/ja
Active legal-status Critical Current
Anticipated expiration legal-status Critical

Links

Images

Classifications

    • HELECTRICITY
    • H01ELECTRIC ELEMENTS
    • H01LSEMICONDUCTOR DEVICES NOT COVERED BY CLASS H10
    • H01L23/00Details of semiconductor or other solid state devices
    • H01L23/34Arrangements for cooling, heating, ventilating or temperature compensation ; Temperature sensing arrangements
    • H01L23/36Selection of materials, or shaping, to facilitate cooling or heating, e.g. heatsinks
    • H01L23/373Cooling facilitated by selection of materials for the device or materials for thermal expansion adaptation, e.g. carbon
    • H01L23/3735Laminates or multilayers, e.g. direct bond copper ceramic substrates
    • HELECTRICITY
    • H01ELECTRIC ELEMENTS
    • H01LSEMICONDUCTOR DEVICES NOT COVERED BY CLASS H10
    • H01L21/00Processes or apparatus adapted for the manufacture or treatment of semiconductor or solid state devices or of parts thereof
    • H01L21/02Manufacture or treatment of semiconductor devices or of parts thereof
    • H01L21/04Manufacture or treatment of semiconductor devices or of parts thereof the devices having potential barriers, e.g. a PN junction, depletion layer or carrier concentration layer
    • H01L21/48Manufacture or treatment of parts, e.g. containers, prior to assembly of the devices, using processes not provided for in a single one of the groups H01L21/18 - H01L21/326 or H10D48/04 - H10D48/07
    • H01L21/4814Conductive parts
    • H01L21/4871Bases, plates or heatsinks
    • H01L21/4882Assembly of heatsink parts
    • HELECTRICITY
    • H01ELECTRIC ELEMENTS
    • H01LSEMICONDUCTOR DEVICES NOT COVERED BY CLASS H10
    • H01L23/00Details of semiconductor or other solid state devices
    • H01L23/34Arrangements for cooling, heating, ventilating or temperature compensation ; Temperature sensing arrangements
    • H01L23/36Selection of materials, or shaping, to facilitate cooling or heating, e.g. heatsinks
    • H01L23/367Cooling facilitated by shape of device
    • H01L23/3677Wire-like or pin-like cooling fins or heat sinks
    • HELECTRICITY
    • H01ELECTRIC ELEMENTS
    • H01LSEMICONDUCTOR DEVICES NOT COVERED BY CLASS H10
    • H01L23/00Details of semiconductor or other solid state devices
    • H01L23/34Arrangements for cooling, heating, ventilating or temperature compensation ; Temperature sensing arrangements
    • H01L23/42Fillings or auxiliary members in containers or encapsulations selected or arranged to facilitate heating or cooling
    • H01L23/433Auxiliary members in containers characterised by their shape, e.g. pistons
    • H01L23/4334Auxiliary members in encapsulations
    • HELECTRICITY
    • H01ELECTRIC ELEMENTS
    • H01LSEMICONDUCTOR DEVICES NOT COVERED BY CLASS H10
    • H01L23/00Details of semiconductor or other solid state devices
    • H01L23/48Arrangements for conducting electric current to or from the solid state body in operation, e.g. leads, terminal arrangements ; Selection of materials therefor
    • H01L23/488Arrangements for conducting electric current to or from the solid state body in operation, e.g. leads, terminal arrangements ; Selection of materials therefor consisting of soldered or bonded constructions
    • H01L23/498Leads, i.e. metallisations or lead-frames on insulating substrates, e.g. chip carriers
    • H01L23/49811Additional leads joined to the metallisation on the insulating substrate, e.g. pins, bumps, wires, flat leads
    • HELECTRICITY
    • H01ELECTRIC ELEMENTS
    • H01LSEMICONDUCTOR DEVICES NOT COVERED BY CLASS H10
    • H01L23/00Details of semiconductor or other solid state devices
    • H01L23/48Arrangements for conducting electric current to or from the solid state body in operation, e.g. leads, terminal arrangements ; Selection of materials therefor
    • H01L23/488Arrangements for conducting electric current to or from the solid state body in operation, e.g. leads, terminal arrangements ; Selection of materials therefor consisting of soldered or bonded constructions
    • H01L23/498Leads, i.e. metallisations or lead-frames on insulating substrates, e.g. chip carriers
    • H01L23/49833Leads, i.e. metallisations or lead-frames on insulating substrates, e.g. chip carriers the chip support structure consisting of a plurality of insulating substrates
    • HELECTRICITY
    • H01ELECTRIC ELEMENTS
    • H01LSEMICONDUCTOR DEVICES NOT COVERED BY CLASS H10
    • H01L23/00Details of semiconductor or other solid state devices
    • H01L23/48Arrangements for conducting electric current to or from the solid state body in operation, e.g. leads, terminal arrangements ; Selection of materials therefor
    • H01L23/488Arrangements for conducting electric current to or from the solid state body in operation, e.g. leads, terminal arrangements ; Selection of materials therefor consisting of soldered or bonded constructions
    • H01L23/498Leads, i.e. metallisations or lead-frames on insulating substrates, e.g. chip carriers
    • H01L23/49838Geometry or layout
    • HELECTRICITY
    • H01ELECTRIC ELEMENTS
    • H01LSEMICONDUCTOR DEVICES NOT COVERED BY CLASS H10
    • H01L23/00Details of semiconductor or other solid state devices
    • H01L23/48Arrangements for conducting electric current to or from the solid state body in operation, e.g. leads, terminal arrangements ; Selection of materials therefor
    • H01L23/488Arrangements for conducting electric current to or from the solid state body in operation, e.g. leads, terminal arrangements ; Selection of materials therefor consisting of soldered or bonded constructions
    • H01L23/498Leads, i.e. metallisations or lead-frames on insulating substrates, e.g. chip carriers
    • H01L23/49838Geometry or layout
    • H01L23/49844Geometry or layout for individual devices of subclass H10D
    • HELECTRICITY
    • H01ELECTRIC ELEMENTS
    • H01LSEMICONDUCTOR DEVICES NOT COVERED BY CLASS H10
    • H01L24/00Arrangements for connecting or disconnecting semiconductor or solid-state bodies; Methods or apparatus related thereto
    • H01L24/80Methods for connecting semiconductor or other solid state bodies using means for bonding being attached to, or being formed on, the surface to be connected
    • HELECTRICITY
    • H01ELECTRIC ELEMENTS
    • H01LSEMICONDUCTOR DEVICES NOT COVERED BY CLASS H10
    • H01L24/00Arrangements for connecting or disconnecting semiconductor or solid-state bodies; Methods or apparatus related thereto
    • H01L24/80Methods for connecting semiconductor or other solid state bodies using means for bonding being attached to, or being formed on, the surface to be connected
    • H01L24/83Methods for connecting semiconductor or other solid state bodies using means for bonding being attached to, or being formed on, the surface to be connected using a layer connector
    • HELECTRICITY
    • H01ELECTRIC ELEMENTS
    • H01LSEMICONDUCTOR DEVICES NOT COVERED BY CLASS H10
    • H01L2224/00Indexing scheme for arrangements for connecting or disconnecting semiconductor or solid-state bodies and methods related thereto as covered by H01L24/00
    • H01L2224/01Means for bonding being attached to, or being formed on, the surface to be connected, e.g. chip-to-package, die-attach, "first-level" interconnects; Manufacturing methods related thereto
    • H01L2224/02Bonding areas; Manufacturing methods related thereto
    • H01L2224/04Structure, shape, material or disposition of the bonding areas prior to the connecting process
    • H01L2224/06Structure, shape, material or disposition of the bonding areas prior to the connecting process of a plurality of bonding areas
    • H01L2224/0601Structure
    • H01L2224/0603Bonding areas having different sizes, e.g. different heights or widths
    • HELECTRICITY
    • H01ELECTRIC ELEMENTS
    • H01LSEMICONDUCTOR DEVICES NOT COVERED BY CLASS H10
    • H01L2224/00Indexing scheme for arrangements for connecting or disconnecting semiconductor or solid-state bodies and methods related thereto as covered by H01L24/00
    • H01L2224/01Means for bonding being attached to, or being formed on, the surface to be connected, e.g. chip-to-package, die-attach, "first-level" interconnects; Manufacturing methods related thereto
    • H01L2224/02Bonding areas; Manufacturing methods related thereto
    • H01L2224/04Structure, shape, material or disposition of the bonding areas prior to the connecting process
    • H01L2224/06Structure, shape, material or disposition of the bonding areas prior to the connecting process of a plurality of bonding areas
    • H01L2224/061Disposition
    • H01L2224/0618Disposition being disposed on at least two different sides of the body, e.g. dual array
    • H01L2224/06181On opposite sides of the body
    • HELECTRICITY
    • H01ELECTRIC ELEMENTS
    • H01LSEMICONDUCTOR DEVICES NOT COVERED BY CLASS H10
    • H01L2224/00Indexing scheme for arrangements for connecting or disconnecting semiconductor or solid-state bodies and methods related thereto as covered by H01L24/00
    • H01L2224/01Means for bonding being attached to, or being formed on, the surface to be connected, e.g. chip-to-package, die-attach, "first-level" interconnects; Manufacturing methods related thereto
    • H01L2224/26Layer connectors, e.g. plate connectors, solder or adhesive layers; Manufacturing methods related thereto
    • H01L2224/31Structure, shape, material or disposition of the layer connectors after the connecting process
    • H01L2224/33Structure, shape, material or disposition of the layer connectors after the connecting process of a plurality of layer connectors
    • H01L2224/331Disposition
    • H01L2224/3318Disposition being disposed on at least two different sides of the body, e.g. dual array
    • H01L2224/33181On opposite sides of the body
    • HELECTRICITY
    • H01ELECTRIC ELEMENTS
    • H01LSEMICONDUCTOR DEVICES NOT COVERED BY CLASS H10
    • H01L2224/00Indexing scheme for arrangements for connecting or disconnecting semiconductor or solid-state bodies and methods related thereto as covered by H01L24/00
    • H01L2224/01Means for bonding being attached to, or being formed on, the surface to be connected, e.g. chip-to-package, die-attach, "first-level" interconnects; Manufacturing methods related thereto
    • H01L2224/42Wire connectors; Manufacturing methods related thereto
    • H01L2224/47Structure, shape, material or disposition of the wire connectors after the connecting process
    • H01L2224/48Structure, shape, material or disposition of the wire connectors after the connecting process of an individual wire connector
    • H01L2224/4805Shape
    • H01L2224/4809Loop shape
    • H01L2224/48091Arched
    • HELECTRICITY
    • H01ELECTRIC ELEMENTS
    • H01LSEMICONDUCTOR DEVICES NOT COVERED BY CLASS H10
    • H01L2224/00Indexing scheme for arrangements for connecting or disconnecting semiconductor or solid-state bodies and methods related thereto as covered by H01L24/00
    • H01L2224/73Means for bonding being of different types provided for in two or more of groups H01L2224/10, H01L2224/18, H01L2224/26, H01L2224/34, H01L2224/42, H01L2224/50, H01L2224/63, H01L2224/71
    • H01L2224/732Location after the connecting process
    • H01L2224/73251Location after the connecting process on different surfaces
    • H01L2224/73265Layer and wire connectors
    • HELECTRICITY
    • H01ELECTRIC ELEMENTS
    • H01LSEMICONDUCTOR DEVICES NOT COVERED BY CLASS H10
    • H01L23/00Details of semiconductor or other solid state devices
    • H01L23/48Arrangements for conducting electric current to or from the solid state body in operation, e.g. leads, terminal arrangements ; Selection of materials therefor
    • H01L23/488Arrangements for conducting electric current to or from the solid state body in operation, e.g. leads, terminal arrangements ; Selection of materials therefor consisting of soldered or bonded constructions
    • H01L23/495Lead-frames or other flat leads
    • H01L23/49541Geometry of the lead-frame
    • H01L23/49548Cross section geometry
    • HELECTRICITY
    • H01ELECTRIC ELEMENTS
    • H01LSEMICONDUCTOR DEVICES NOT COVERED BY CLASS H10
    • H01L2924/00Indexing scheme for arrangements or methods for connecting or disconnecting semiconductor or solid-state bodies as covered by H01L24/00
    • H01L2924/15Details of package parts other than the semiconductor or other solid state devices to be connected
    • H01L2924/181Encapsulation

Landscapes

  • Engineering & Computer Science (AREA)
  • Physics & Mathematics (AREA)
  • Computer Hardware Design (AREA)
  • Power Engineering (AREA)
  • Microelectronics & Electronic Packaging (AREA)
  • General Physics & Mathematics (AREA)
  • Condensed Matter Physics & Semiconductors (AREA)
  • Chemical & Material Sciences (AREA)
  • Geometry (AREA)
  • Materials Engineering (AREA)
  • Manufacturing & Machinery (AREA)
  • Ceramic Engineering (AREA)
  • Internal Circuitry In Semiconductor Integrated Circuit Devices (AREA)
  • Cooling Or The Like Of Semiconductors Or Solid State Devices (AREA)
  • Semiconductor Integrated Circuits (AREA)

Description

本明細書が開示する技術は、半導体装置とその製造方法に関する。
特許文献1に、半導体装置が開示されている。この半導体装置は、セラミック基板と、セラミック基板上に配置された半導体素子と、半導体素子から離れた位置で、基板上に接合された外部接続端子とを備える。外部接続端子は、セラミック基板上に設けられた導体膜(導体配線パターン)を介して、半導体素子と電気的に接続されている。
特開平05-343591号公報
上記した半導体装置では、半導体素子と導体膜との間が、ボンディングワイヤを介して接続されている。これに対して、ボンディングワイヤを省略し、導体膜と半導体素子との間を直接的に接続すれば、半導体装置の小型化を図ることができる。特に、セラミック基板上には、複数の導体膜を独立して(即ち、互いに離間させて)形成することができる。従って、半導体素子が複数の電極を有する場合は、各々の電極に対応する導体膜を、個別に設けることができる。
セラミック基板上に複数の導体膜を設ける場合は、隣り合う導体膜の間に一定の間隔を設けて、それらの間の絶縁性を確保する必要がある。この点に関して、導体膜がエッチング(特に、ウェットエッチング)によって形成されると、導体膜の周縁に沿って延びる側面は、裾広がりの形状を有する。従って、複数の導体膜の配列を設計するときは、そのような側面の形状も考慮して、隣り合う導体膜の間に大きな間隔を設ける必要が生じる。
一般に、導体膜の厚みが大きくなるほど、導体膜の熱容量が増大することによって、半導体素子の温度上昇が抑制される。そのことから、導体膜にはある程度の厚みを持たせることが好ましい。その一方で、導体膜の厚みが大きくなるほど、その側面に形成される裾広がりの幅も大きくなるので、隣り合う導体膜の間に必要とされる間隔も大きくなる。上述したように、導体膜の厚みが大きくなるほど、隣り合う導体膜の間に必要とされる間隔も大きくなり、半導体装置の大型化を招いてしまう。以上の実情を考慮し、本明細書は、半導体装置の大型化を招くことなく、半導体素子の温度上昇を抑制し得る技術を提供する。
本明細書が開示する半導体装置は、絶縁体で構成された基板と、基板上の一部に設けられた第1導体膜と、第1導体膜上に配置された半導体素子と、第1導体膜から離れた位置で、基板上に接合層を介して接合された外部接続端子とを備える。半導体素子は、主電極と信号電極とを有するパワー半導体素子であり、その主電極は第1導体膜に接合されており、その信号電極は外部接続端子と電気的に接続されている。
上記した半導体装置では、絶縁体で構成された基板上に、第1導体膜が設けられているとともに、外部接続端子が接合層を介して接合されている。そして、第1導体膜には、半導体素子の主電極が接合されており、外部接続端子には、半導体素子の信号電極が電気的に接続されている。即ち、半導体素子の二つの電極のうち、信号電極については、基板上の導体膜を介することなく、外部接続端子に接続されている。外部接続端子は、基板上に接合層を介して接合される部材なので、例えばプレス加工といった機械加工によって製造可能であり、その形状を正確に管理することができる。従って、第1導体膜がエッチングによって形成される場合でも、外部接続端子と第1導体膜との間に必要とされる間隔は、エッチングによって形成される二つの導体膜の間に必要とされる間隔と比較すれば、小さくて足りる。これにより、第1導体膜を比較的に厚く形成する場合でも、半導体装置の大型化を避けることができる。
ここで、半導体装置のさらなる小型化を図るために、主電極に対する第1導体膜についても、基板上に接合層を介して接合される別部材に変更することが考えられる。しかしながら、その別部材と基板との間に接合層が介在することで、主電極から放出される半導体素子の熱が、接合層を介して外部へ放熱されることになり、半導体素子の温度上昇を招くおそれがある。そのことから、上記した半導体装置では、半導体素子の放熱に大きく寄与する主電極に対しては、放熱性に優れる第1導体膜が用意されており、これによって半導体素子の温度上昇が抑制される。それに対して、信号電極については、半導体素子の放熱における寄与度が小さい。従って、信号電極から放出される半導体素子の熱が、接合層を介して外部へ放熱される構成であっても、半導体素子の温度に与える影響は無視又は許容することができる。
本技術の一実施形態において、半導体素子の一部は、外部接続端子上に位置しており、信号電極が外部接続端子に接合されていてもよい。この場合、一例ではあるが、信号電極と外部接続端子との間は、はんだ材といった導電性の接合材を介して接合されてもよい。また、信号電極と外部接続端子との間には、スペーサといった他の部材が介して接合されてもよい。このような構成によると、外部接続端子が第1導体膜に近接して配置されるので、半導体装置の小型化を効果的に図ることができる。但し、他の実施形態として、信号電極と外部接続端子とは離れて配置され、信号電極と外部接続端子との間がボンディングワイヤを介して電気的に接続されてもよい。
本明細書は、半導体装置の製造方法も開示する。この製造方法は、例えば、上記した半導体装置を製造することができる。この製造方法は、絶縁体で構成された基板上の導体膜を部分的にエッチングして、基板上の一部を覆う第1導体膜を形成する工程と、第1導体膜から離れた位置で、基板上に接合層を介して外部接続端子を接合する工程と、第1導体膜上に、主電極と信号電極とを有するパワー半導体素子を、主電極が第1導体膜に対向するように配置する工程と、パワー半導体素子の主電極を、第1導体膜に接合する工程と、パワー半導体素子の信号電極を、基板上に接合された外部接続端子へ電気的に接続する工程とを備える。
上記した製造方法において、第1導体膜上にパワー半導体素子を配置する工程では、信号電極が外部接続端子に対向するように、パワー半導体素子の一部を外部接続端子上に配置してもよい。この場合、電気的に接続する工程では、前記接合する工程と並行して、信号電極を外部接続端子へ接合してもよい。
実施例の半導体装置10の構造を模式的に示す断面図。 半導体装置10の回路図。 絶縁回路基板20と信号端子30とを示す平面図。 第1導体膜24と信号端子30との間隔を拡大して示す図。 半導体装置10の製造方法の一又は複数の工程を示す図。 半導体装置10の製造方法の一又は複数の工程を示す図。 半導体装置10の製造方法の一又は複数の工程を示す図。 半導体装置10の製造方法の一又は複数の工程を示す図。 半導体装置10の製造方法の一又は複数の工程を示す図。 半導体装置10の製造方法の一又は複数の工程を示す図。 信号電極12dと信号端子30との間がボンディングワイヤ50を介して接続された変形例を示す。 一変形例の半導体装置110であって、第2絶縁回路基板122が付加された例を示す。 第1区間S1と第2区間S2を有する信号端子30を例示する図。 信号電極12dに対向する部分30bが信号電極12dに向けて突出する信号端子30を例示する図。 他の一変形例の半導体装置210であって、エッチングを用いることなく、第1導体膜224を形成した例を示す図。
本技術の一実施形態において、外部接続端子は、信号電極と対向する部分が、信号電極に向けて突出していてもよい。このような構成によると、外部接続端子と信号電極との間の距離を適切に調整することができ、例えばスペーサといった別の部材を必要とすることなく、外部接続端子と信号電極との間を正しく接合することができる。
本技術の一実施形態において、外部接続端子の側面が基板と成す角度は、第1導体膜の側面が基板と成す角度より大きくてもよい。前述したように、第1導体膜がエッチングによって形成されると、第1導体膜の周縁に沿って延びる側面は、裾広がりの形状を有することが多い。第1導体膜の側面が裾広がりの形状を有していると、第1導体膜の側面が基板と成す角度は、90度よりも小さくなる。このような第1導体膜に対して、外部接続端子の側面も裾広がりの形状を有していると、基板上における第1導体膜と外部接続端子との間の距離(いわゆる沿面距離)が短くなるので、第1導体膜と外部接続端子との間の絶縁性が低下する。言い換えると、必要とされる絶縁性を確保するためには、第1導体膜と外部接続端子との間隔を大きくする必要が生じる。そのことから、外部接続端子の側面は、裾広がりの形状を有さないことが好ましく、仮に裾広がりの形状を有するとしても、その程度は小さいことが好ましい。即ち、外部接続端子の側面が基板と成す角度は、90度であるとよく、あるいは、第1導体膜の側面が基板と成す角度よりも大きくするとよい。
本技術の一実施形態において、第1導体膜の厚みは、外部接続端子の厚みより大きくてもよい。第1導体膜の厚みが大きくなるほど、第1導体膜の熱容量が増大することによって、半導体素子の温度上昇が抑制される。特に、第1導体膜は、半導体素子の主電極に接合されており、半導体素子から多くの熱を受け取ることができる。従って、外部接続端子の厚みを大きくするよりも、第1導体膜の厚みを大きくすることで、半導体素子の温度上昇を効果的に抑制することができる。
本技術の一実施形態において、外部接続端子は、接合層に接する第1区間と、第1区間から基板の外部へ延びるとともに、第1区間よりも厚みの小さい第2区間とを有してもよい。このような構成によると、外部接続端子が、基板の周縁において基板と接触することがない。これにより、外部接続端子と、基板の反対側に設けられた他の部材との間で、基板に沿った沿面距離を長くすることができる。
本技術の一実施形態において、半導体素子は、IGBT(Insulated Gate Bipolar Transistor)構造を含むパワー半導体素子であってよい。この場合、半導体素子の主電極は、IGBT構造のエミッタ又はコレクタに接続されており、半導体素子の信号電極は、IGBT構造のゲートに接続されていてもよい。あるいは、半導体素子は、MOSFET(Metal-Oxide-Semiconductor Field-Effect Transistor)構造を含むパワー半導体素子であってもよい。この場合、半導体素子の主電極は、MOSFETのソース又はドレインに接続されており、半導体素子の信号電極は、MOSFETのゲートに接続されていてもよい。
本技術の一実施形態において、基板はセラミック基板であってもよい。加えて、又は代えて、第1導体膜は、ろう材を介して基板上に接合されていてもよい。この場合、ろう材は、活性金属ろうであってもよい。即ち、基板及び第1導体膜は、AMB(Active Metal Brazing)法を用いて形成された基板、例えば、AMC(Active Metal Brazed Copper)基板であってもよい。
本技術の一実施形態において、半導体装置は、基板の第1導体膜とは反対側に設けられた第2導体膜をさらに備えてもよい。このような構成によると、第2導体膜の熱容量によって、半導体素子の温度上昇を抑制することができる。また、基板の両面に導体膜が存在することで、基板に生じる熱変形(特に、反り)も抑制される。
図面を参照して、実施例の半導体装置10について説明する。半導体装置10は、例えば電気自動車の電力制御装置に採用され、コンバータやインバータといった電力変換回路の少なくとも一部を構成することができる。ここでいう電気自動車は、車輪を駆動するモータを有する自動車を広く意味し、例えば、外部の電力によって充電される電気自動車、モータに加えてエンジンを有するハイブリッド車、及び燃料電池を電源とする燃料電池車等を含む。
図1-図3に示すように、半導体装置10は、半導体素子12と、半導体素子12を封止する封止体14とを備える。封止体14は、絶縁性の材料で構成されている。特に限定されないが、本実施例における封止体14は、例えばエポキシ樹脂といった、封止用材料で構成されている。封止体14は、概して板形状を有している。なお、本願に添付された図面では、図示明瞭化のために、封止体14の断面に付されるべきハッチングが省略されている。
半導体素子12は、パワー半導体素子であって、半導体基板12aと、複数の電極12b、12c、12dとを有する。複数の電極12b、12c、12dには、電力回路に接続される第1主電極12b及び第2主電極12cと、信号回路に接続される複数の信号電極12dとが含まれる。特に限定されないが、半導体素子12はスイッチング素子であり、第1主電極12bと第2主電極12cとの間を導通及び遮断することができる。第1主電極12b及び複数の信号電極12dは、半導体基板12aの一方の表面に位置しており、第2主電極12cは、半導体基板12aの他方の表面に位置している。
特に限定されないが、本実施例における半導体素子12は、IGBT(Insulated Gate Bipolar Transistor)構造12eを有している。第1主電極12bは、IGBT構造12eのエミッタに接続されており、第2主電極12cは、IGBT構造12eのコレクタに接続されており、信号電極12dは、IGBT構造12eのゲートに接続されている。加えて、半導体素子12は、IGBT構造12eと並列に接続されたダイオード構造12fを有している。第1主電極12bは、ダイオード構造12fのアノードに接続されており、第2主電極12cは、ダイオード構造12fのカソードに接続されている。なお、他の実施形態として、半導体素子12は、MOSFET(Metal-Oxide-Semiconductor Field-Effect Transistor)構造を有してもよい。この場合、第1主電極12bは、MOSFET構造のソースに接続され、第2主電極12cは、MOSFET構造のドレインに接続され、信号電極12dは、MOSFET構造のゲートに接続されている。
半導体装置10は、絶縁回路基板20をさらに備える。絶縁回路基板20は、絶縁体で構成された絶縁基板22と、絶縁基板22の一方の表面22aに設けられた第1導体膜24と、絶縁基板22の他方の表面22bに設けられた第2導体膜26とを備える。第1導体膜24と第2導体膜26は、それぞれろう材25、27を介して絶縁基板22に接合されている。第1導体膜24は、絶縁基板22上の一部に設けられており、第1導体膜24の面積は、第2導体膜26の面積よりも小さい。第1導体膜24は、封止体14の内部に位置しており、第2導体膜26は、封止体14の表面に露出している。これにより、絶縁回路基板20は、封止体14の内部の熱(特に、半導体素子12の熱)を、封止体14の外部へ放熱する放熱板としても機能する。
第1導体膜24上には、半導体素子12が配置されている。半導体素子12の第1主電極12bは、第1導体膜24に対向しており、はんだ層42を介して接合されている。これにより、半導体素子12の第1主電極12bは、第1導体膜24に対して電気的に接続されている。また、半導体素子12の第1主電極12bは、第1導体膜24に対して熱的にも接続されている。なお、第1主電極12bと第1導体膜24との間は、はんだ層42に限られず、導電性を有する他の種類の接合層を介して接合されてもよい。また、第1主電極12bと第1導体膜24との間には、例えば導体スペーサといった他の部材が、必要に応じて介挿されてもよい。
本実施例における絶縁基板22は、セラミック基板であり、例えば酸化アルミニウム、窒化シリコン、窒化アルミニウムといった、セラミックで構成されている。第1導体膜24と第2導体膜26は、金属膜であり、例えば銅又はアルミニウムといった金属で構成されている。前述したように、第1導体膜24と第2導体膜26は、それぞれろう材25、27を介して絶縁基板22に接合されている。ろう材25、27は、活性金属ろう材であり、例えば銀及び銅を主たる成分とするろう材に、チタンといった活性金属が添加されている。なお、この種の絶縁回路基板20は、AMC(Active Metal Brazed Copper)基板とも称される。但し、絶縁回路基板20には、AMC基板に限定されず、例えばDBC(Direct Bonded Copper)基板やDBA(Direct Bonded Aluminum)基板を採用することもできる。
一例ではあるが、絶縁基板22の厚みは、0.1~1.0ミリメートルであってもよく、第1導体膜24及び第2導体膜26の厚みは、0.05~1.0ミリメートルであってもよい。また、第1導体膜24及び第2導体膜26の厚みは、絶縁基板22の厚みよりも大きくてもよい。第1導体膜24及び第2導体膜26の厚みが大きいほど、第1導体膜24及び第2導体膜26の熱容量が増大することで、半導体素子12の動作時における温度上昇を効果的に抑制することができる。
半導体装置10は、複数の外部接続端子30、32、34をさらに備える。各々の外部接続端子30、32、34は、金属(例えば銅)といった導電体で構成されており、封止体14の内外に亘って延びている。複数の外部接続端子30、32、34には、複数の信号端子30と、第1電力端子32と、第2電力端子34とが含まれる。信号端子30は、半導体素子12の信号電極12dに、はんだ層44を介して接合されている。即ち、信号端子30は、半導体素子12の信号電極12dと電気的に接続されている。なお、信号端子30と信号電極12dとの間は、はんだ層44に限られず、導電性を有する他の種類の接合層を介して接合されてもよい。
第1電力端子32は、図示されない位置で、絶縁回路基板20の第1導体膜24に接合されている。これにより、第1電力端子32は、第1導体膜24を介して、半導体素子12の第1主電極12bと電気的に接続されている。第2電力端子34は、半導体素子12の第2主電極12cに、はんだ層46を介して接合されている。これにより、第2電力端子34は、半導体素子12の第2主電極12cと電気的に接続されている。
図1、図4に示すように、信号端子30は、第1導体膜24から離れた位置で、絶縁基板22の一方の表面22aに、接合層40を介して接合されている。一例ではあるが、接合層40は、はんだ層である。また、接合層40と絶縁基板22との間には、ろう材25が設けられている。ろう材25の厚みは、接合層40の厚みよりも十分に小さい。なお、接合層40は、はんだに限定されず、他の材料で構成されてもよい。接合層40を構成する材料は、導電性の材料であってもよいし、絶縁性の材料であってもよい。ここで、ろう材25は、接合層40とともに、信号端子30と絶縁基板22との間に位置する接合層と解釈することもできる。即ち、信号端子30と絶縁基板22との間に位置する接合層(25、40)は、異なる材料で構成された多層構造を有してもよい。
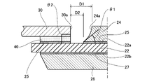
以上のように、本実施例の半導体装置10では、絶縁基板22上に、第1導体膜24と信号端子30とが配置されている。第1導体膜24と信号端子30との間には、一定の間隔D2が設けられており、それらの間の絶縁性が確保されている。この点に関して、詳しくは後述するが、第1導体膜24はエッチングによって形成される。そのため、第1導体膜24の周縁に沿って延びる側面24aは、裾広がりの形状を有しており、その形状を正確に管理することも困難である。従って、そのような側面24aの形状も考慮すると、第1導体膜24と信号端子30との間には、設計上、実際の間隔D2よりも大きな間隔D1を設けることが必要となる。そして、仮に二つの導体膜が隣接する場合は、それぞれの導体膜について側面の形状を考慮する必要があり、二つの導体膜の間に必要とされる設計上の間隔は、さらに大きくなってしまう。
この点に関して、本実施例の半導体装置10では、絶縁基板22上の第1導体膜24に隣接して、他の導体膜ではなく、信号端子30が配置されている。そして、信号端子30は、絶縁基板22上の導体膜を介することなく、半導体素子12の信号電極12dへ電気的に接続されている。信号端子30は、絶縁基板22上に接合層40を介して接合される部材であり、例えばプレス加工といった機械加工によって製造することで、その形状を正確に管理することができる。即ち、信号端子30の側面30aが絶縁基板22と成す角度θ2は、例えば正確に90度とすることもでき、第1導体膜24の側面24aが絶縁基板22と成す角度θ1よりも、大きくすることができる。従って、第1導体膜24がエッチングによって形成される場合でも、信号端子30と第1導体膜24との間に必要とされる設計上の間隔D1は、比較的に小さくて足りる。これにより、第1導体膜24を比較的に厚く形成する場合でも、半導体装置10の大型化を避けることができる。
本実施例の半導体装置10では、半導体素子12の一部が、信号端子30上に位置している。そして、半導体素子12の信号電極12dは、信号端子30にはんだ層44を介して接合されている。なお、信号電極12dと信号端子30との間は、はんだ層44に限られず、導電性を有する他の種類の接合層を介して接合されてもよい。このような構成によると、信号端子30が第1導体膜24に近接して配置されるので、半導体装置10の小型化を効果的に図ることができる。
本実施例の半導体装置10では、第1導体膜24の厚みが、信号端子30の厚みよりも大きくなっている。第1導体膜24の厚みが大きくなるほど、第1導体膜24の熱容量が増大することによって、半導体素子12の温度上昇を抑制することができる。特に、第1導体膜24は、半導体素子12の第1主電極12bに接合されており、半導体素子12から多くの熱を受け取ることができる。従って、信号端子30の厚みを大きくするよりも、第1導体膜24の厚みを大きくすることで、半導体素子12の温度上昇を効果的に抑制することができる。
次に、図5-図10を参照して、半導体装置10の製造方法について説明する。先ず、図5に示すように、絶縁基板22を用意し、絶縁基板22の両面22a、22bにろう材25、27を塗布する。前述したように、ろう材25、27は、活性金属ろう材であってよい。次いで、図6に示すように、絶縁基板22の両面22a、22bに、導体板24x、26xを接合する。この工程では、例えば摂氏800度~1000度の雰囲気下で、絶縁基板22の両面22a、22bに配置した導体板24x、26xを、絶縁基板22に向けて押圧する。
次いで、図7に示すように、導体板24x、26xの表面に、第1導体膜24及び第2導体膜26の形状に合わせて、レジスト膜29を形成する。次いで、図8に示すように、薬液を用いたウェットエッチングにより、導体板24x、26xを部分的に除去する。これにより、第1導体膜24及び第2導体膜26を形成するとともに、絶縁基板22上に設けられたろう材25の一部を露出させる。その後、レジスト膜29を除去する。
次いで、図9に示すように、絶縁基板22上に露出するろう材25上に、接合層40を介して信号端子30を接合する。信号端子30は、プレス加工といった機械加工によって、予め意図された形状(即ち、製品形状)に加工されている。信号端子30は、第1導体膜24との絶縁性を確保するために、第1導体膜24から離れた位置に接合される。特に限定されないが、接合層40ははんだ層であってよく、このときのリフロー温度は、例えば摂氏300度とすることができる。
次いで、図10に示すように、第1導体膜24及び信号端子30上に、半導体素子12を実装する。この工程では、先ず、第1導体膜24上へ半導体素子12を配置する。このとき、半導体素子12の第1主電極12bを、第1導体膜24に対向させるとともに、第1主電極12bと第1導体膜24との間にはんだシート42xを配置する。加えて、半導体素子12の一部は信号端子30上に配置し、半導体素子12の信号電極12dを信号端子30に対向させるとともに、信号電極12dと信号端子30との間にはんだシート44xを配置する。次いで、リフロー工程を実施して、はんだシート42x、44xを溶融及び再凝固させる。これにより、半導体素子12の第1主電極12bを第1導体膜24に接合するとともに、半導体素子12の信号電極12dを信号端子30に接合する。その後、電力端子32、34の組み付けや、封止体14の成形といった他の工程を実施することによって、半導体装置10は完成する。なお、本実施例の製造方法では、半導体素子12の第1主電極12bを第1導体膜24に接合する工程と、半導体素子12の信号電極12dを信号端子30に接合する工程とが、単一のリフロー工程によって並行して実施されるが、それら二つの接合する工程は別々に実施されてもよい。
本実施例の半導体装置10では、半導体素子12の信号電極12dが、はんだ層44を介して信号端子30に接合されている。これに対して、図11に示すように、信号電極12dと信号端子30との間は、ボンディングワイヤ50を介して接続されてもよい。ここで、図11に示す構成では、図1と比較して半導体素子12の向きが反転されており、第2主電極12cがはんだ層42を介して第1導体膜24に接合されている。このように、第1導体膜24には、半導体素子12の二つの主電極12b、12cのうち、どちらが接合されてもよい。
図12に、一変形例の半導体装置110を示す。この半導体装置110は、上述した半導体装置10と比較して、第2絶縁回路基板120をさらに備える。第2絶縁回路基板122は、第2絶縁回路基板120は、絶縁体で構成された第2絶縁基板122と、第2絶縁基板122の一方の表面122aに設けられた第3導体膜124と、第2絶縁基板122の他方の表面122bに設けられた第4導体膜126とを備える。第3導体膜124と第4導体膜126は、それぞれろう材125、127を介して第2絶縁基板122に接合されている。そして、第3導体膜124は、はんだ層142を介して、半導体素子12の第2主電極12cに接合されている。また、図示省略するが、第2電力端子34は第3導体膜124に電気的に接続されており、第4導体膜126は封止体14の表面に露出している。
図13に示すように、上述した半導体装置10、110において、信号端子30は、接合層40に接する第1区間S1と、第1区間S1から絶縁基板22の外部へ延びるとともに、第1区間S1よりも厚みの小さい第2区間S2とを有してもよい。このような構成によると、信号端子30が、絶縁基板22の周縁22eにおいて絶縁基板22と接触することがない。これにより、信号端子30と、絶縁基板22の反対側に設けられた第2導体膜26との間で、絶縁基板22に沿った沿面距離Lを長くすることができる。
図14に示すように、上述した半導体装置10、110において、信号端子30は、半導体素子12の信号電極12dと対向する部分30bが、信号電極12dに向けて突出していてもよい。このような構成によると、信号端子30と信号電極12dとの間の距離を適切に調整することができ、例えばスペーサといった別の部材を必要とすることなく、信号端子30と信号電極12dとの間を正しく接合することができる。また、はんだ層44の過剰な濡れ広がりを抑制することができ、例えば信号電極12dと第1主電極12bとの間の意図しない短絡を避けることができる。
図15に他の変形例の半導体装置210を示す。この半導体装置210は、前述した変形例の半導体装置110と比較して、絶縁回路基板20の第1導体膜224の構成が変更されている。詳しくは、第1導体膜224の側面224aが、裾広がりの形状を有しておらず、絶縁基板22と略90度の角度を成している。これは、第1導体膜224がエッチングによって形成されておらず、第1導体膜224と同じプロファイルを有する導体板を機械加工で製造し、それを絶縁基板22へ接合することによって第1導体膜224が形成されているためである。このような構成によると、第1導体膜224と信号端子30との間隔をさらに縮小して、半導体装置210の小型化を図ることができる。
上述した半導体装置10、110、210の構成は、様々に変更することができる。例えば、半導体装置10、110、210は、単一の半導体素子12に限られず、複数の半導体素子12を有してもよい。また、本明細書では、本技術に係る外部接続端子の構造を、信号端子30に採用した例を説明したが、同様の構造は電力端子32、34といった他の端子にも同様に採用することができる。
以上、いくつかの具体例を詳細に説明したが、これらは例示に過ぎず、特許請求の範囲を限定するものではない。特許請求の範囲に記載の技術には、以上に例示した具体例を様々に変形、変更したものが含まれる。本明細書又は図面に説明した技術要素は、単独であるいは各種の組合せによって技術的有用性を発揮するものである。
10、110、210:半導体装置
12:半導体素子
14:封止体
20、120:絶縁回路基板
22、122:絶縁基板
24、26、124、126、224:導体膜
25、27、125、127:ろう材
30:信号端子
32:第1電力端子
34:第2電力端子
40:接合層

Claims (12)

  1. 絶縁体で構成された基板と、
    前記基板上の一部に設けられた第1導体膜と、
    前記第1導体膜上に配置された半導体素子と、
    前記第1導体膜から離れた位置で、前記基板上に接合層を介して接合された外部接続端子と、
    を備え、
    前記半導体素子は、主電極と信号電極とを有するパワー半導体素子であり、
    前記主電極は、前記第1導体膜と電気的に接続されており、前記信号電極は、前記外部接続端子と電気的に接続されており
    前記第1導体膜の厚みは、前記外部接続端子の厚みよりも大きい、
    半導体装置。
  2. 前記外部接続端子は、前記接合層に接する第1区間と、前記第1区間から前記基板の外部へ延びるとともに、前記第1区間よりも厚みの小さい第2区間とを有する、請求項1に記載の半導体装置。
  3. 絶縁体で構成された基板と、
    前記基板上の一部に設けられた第1導体膜と、
    前記第1導体膜上に配置された半導体素子と、
    前記第1導体膜から離れた位置で、前記基板上に接合層を介して接合された外部接続端子と、
    を備え、
    前記半導体素子は、主電極と信号電極とを有するパワー半導体素子であり、
    前記主電極は、前記第1導体膜と電気的に接続されており、前記信号電極は、前記外部接続端子と電気的に接続されており、
    前記外部接続端子は、前記接合層に接する第1区間と、前記第1区間から前記基板の外部へ延びるとともに、前記第1区間よりも厚みの小さい第2区間とを有する、
    半導体装置。
  4. 前記半導体素子の一部は、前記外部接続端子上に位置しており、前記信号電極が前記外部接続端子に接合されている、請求項1から3のいずれか一項に記載の半導体装置。
  5. 前記外部接続端子は、前記信号電極と対向する部分が、前記信号電極に向けて突出している、請求項1から4のいずれか一項に記載の半導体装置。
  6. 前記外部接続端子の側面が前記基板と成す角度は、前記第1導体膜の側面が前記基板と成す角度よりも大きい、請求項1から5のいずれか一項に記載の半導体装置。
  7. 前記半導体素子は、IGBT(Insulated Gate Bipolar Transistor)構造を含むパワー半導体素子であり、
    前記主電極は、前記IGBT構造のエミッタ又はコレクタに接続されており、
    前記信号電極は、前記IGBT構造のゲートに接続されている、請求項1から6のいずれか一項に記載の半導体装置。
  8. 前記半導体素子は、MOSFET(Metal-Oxide-Semiconductor Field-Effect Transistor)構造を含むパワー半導体素子であり、
    前記主電極は、前記MOSFETのソース又はドレインに接続されており、
    前記信号電極は、前記MOSFETのゲートに接続されている、請求項1から6のいずれか一項に記載の半導体装置。
  9. 前記基板は、セラミック基板である、請求項1から8のいずれか一項に記載の半導体装置。
  10. 前記第1導体膜は、ろう材を介して前記基板上に接合されている、請求項1から9のいずれか一項に記載の半導体装置。
  11. 前記基板の前記第1導体膜とは反対側に設けられた第2導体膜をさらに備える、請求項1から10のいずれか一項に記載の半導体装置。
  12. 半導体装置の製造方法であって、
    絶縁体で構成された基板上の導体膜を部分的にエッチングして、前記基板上の一部を覆う第1導体膜を形成する工程と、
    前記第1導体膜から離れた位置で、前記基板上に接合層を介して外部接続端子を接合する工程と、
    前記第1導体膜上に、主電極と信号電極とを有するパワー半導体素子を、前記主電極が前記第1導体膜に対向するように配置する工程と、
    前記パワー半導体素子の前記主電極を、前記第1導体膜に接合する工程と、
    前記パワー半導体素子の前記信号電極を、前記基板上に接合された前記外部接続端子へ電気的に接続する工程と、
    を備え
    前記配置する工程では、前記信号電極が前記外部接続端子に対向するように、前記パワー半導体素子の一部を前記外部接続端子上に配置し、
    前記電気的に接続する工程では、前記接合する工程と並行して、前記信号電極を前記外部接続端子へ接合する、
    製造方法。
JP2018239956A 2018-12-21 2018-12-21 半導体装置とその製造方法 Active JP7176397B2 (ja)

Priority Applications (4)

Application Number Priority Date Filing Date Title
JP2018239956A JP7176397B2 (ja) 2018-12-21 2018-12-21 半導体装置とその製造方法
US16/693,478 US11201099B2 (en) 2018-12-21 2019-11-25 Semiconductor device and method of manufacturing the same
CN201911319896.9A CN111354710B (zh) 2018-12-21 2019-12-19 半导体装置及其制造方法
DE102019135373.4A DE102019135373B4 (de) 2018-12-21 2019-12-20 Halbleitervorrichtung und Verfahren zum Herstellen derselben

Applications Claiming Priority (1)

Application Number Priority Date Filing Date Title
JP2018239956A JP7176397B2 (ja) 2018-12-21 2018-12-21 半導体装置とその製造方法

Publications (2)

Publication Number Publication Date
JP2020102544A JP2020102544A (ja) 2020-07-02
JP7176397B2 true JP7176397B2 (ja) 2022-11-22

Family

ID=70969295

Family Applications (1)

Application Number Title Priority Date Filing Date
JP2018239956A Active JP7176397B2 (ja) 2018-12-21 2018-12-21 半導体装置とその製造方法

Country Status (4)

Country Link
US (1) US11201099B2 (ja)
JP (1) JP7176397B2 (ja)
CN (1) CN111354710B (ja)
DE (1) DE102019135373B4 (ja)

Families Citing this family (2)

* Cited by examiner, † Cited by third party
Publication number Priority date Publication date Assignee Title
KR102588851B1 (ko) * 2021-04-14 2023-10-16 주식회사 아모센스 파워모듈 및 그 제조방법
KR102735483B1 (ko) * 2021-12-31 2024-11-28 주식회사 아모센스 세라믹 기판 유닛 및 그 제조방법

Citations (2)

* Cited by examiner, † Cited by third party
Publication number Priority date Publication date Assignee Title
JP2013183022A (ja) 2012-03-01 2013-09-12 Toyota Industries Corp 半導体装置および半導体装置の製造方法
JP2016174165A (ja) 2011-12-20 2016-09-29 株式会社東芝 半導体装置

Family Cites Families (19)

* Cited by examiner, † Cited by third party
Publication number Priority date Publication date Assignee Title
US4538170A (en) 1983-01-03 1985-08-27 General Electric Company Power chip package
JPH05343591A (ja) 1992-06-11 1993-12-24 Sumitomo Metal Ind Ltd リードフレーム及びその製造方法
JP3879150B2 (ja) * 1996-08-12 2007-02-07 株式会社デンソー 半導体装置
JP2007251076A (ja) 2006-03-20 2007-09-27 Hitachi Ltd パワー半導体モジュール
DE102006034679A1 (de) * 2006-07-24 2008-01-31 Infineon Technologies Ag Halbleitermodul mit Leistungshalbleiterchip und passiven Bauelement sowie Verfahren zur Herstellung desselben
US7557434B2 (en) 2006-08-29 2009-07-07 Denso Corporation Power electronic package having two substrates with multiple electronic components
DE102006049949B3 (de) * 2006-10-19 2008-05-15 Infineon Technologies Ag Halbleitermodul mit Halbleiterchips auf unterschiedlichen Versorgungspotentialen und Verfahren zur Herstelllung desselben
US8164176B2 (en) * 2006-10-20 2012-04-24 Infineon Technologies Ag Semiconductor module arrangement
KR101493865B1 (ko) * 2007-11-16 2015-02-17 페어차일드코리아반도체 주식회사 구조가 단순화된 반도체 파워 모듈 패키지 및 그 제조방법
JP5257817B2 (ja) * 2010-06-15 2013-08-07 三菱電機株式会社 半導体装置
JP2012146760A (ja) 2011-01-11 2012-08-02 Calsonic Kansei Corp パワー半導体モジュール
CN104126225B (zh) * 2012-02-14 2017-04-12 三菱电机株式会社 半导体装置
WO2014006724A1 (ja) * 2012-07-05 2014-01-09 三菱電機株式会社 半導体装置
CN105122446B (zh) * 2013-09-30 2019-07-19 富士电机株式会社 半导体装置、半导体装置的组装方法、半导体装置用部件以及单位模块
DE102015104990B4 (de) * 2015-03-31 2020-06-04 Infineon Technologies Austria Ag Verbindungshalbleitervorrichtung mit einem Abtastlead
DE102015104996B4 (de) * 2015-03-31 2020-06-18 Infineon Technologies Austria Ag Halbleitervorrichtungen mit Steuer- und Lastleitungen von entgegengesetzter Richtung
JP6897141B2 (ja) * 2017-02-15 2021-06-30 株式会社デンソー 半導体装置とその製造方法
JP6809294B2 (ja) * 2017-03-02 2021-01-06 三菱電機株式会社 パワーモジュール
JP7260278B2 (ja) * 2018-10-19 2023-04-18 現代自動車株式会社 半導体サブアセンブリー及び半導体パワーモジュール

Patent Citations (2)

* Cited by examiner, † Cited by third party
Publication number Priority date Publication date Assignee Title
JP2016174165A (ja) 2011-12-20 2016-09-29 株式会社東芝 半導体装置
JP2013183022A (ja) 2012-03-01 2013-09-12 Toyota Industries Corp 半導体装置および半導体装置の製造方法

Also Published As

Publication number Publication date
CN111354710A (zh) 2020-06-30
DE102019135373A1 (de) 2020-06-25
JP2020102544A (ja) 2020-07-02
CN111354710B (zh) 2023-08-04
US20200203252A1 (en) 2020-06-25
US11201099B2 (en) 2021-12-14
DE102019135373B4 (de) 2024-07-11

Similar Documents

Publication Publication Date Title
US7456492B2 (en) Semiconductor device having semiconductor element, insulation substrate and metal electrode
JP4885046B2 (ja) 電力用半導体モジュール
CN102437138B (zh) 半导体装置
JP2007073743A (ja) 半導体装置
CN113039636A (zh) 功率半导体装置
CN111276447A (zh) 双侧冷却功率模块及其制造方法
JP7124474B2 (ja) 半導体装置
US10903138B2 (en) Semiconductor device and method of manufacturing the same
CN115206919A (zh) 半导体装置
JP5217015B2 (ja) 電力変換装置及びその製造方法
JP2019083294A (ja) 半導体装置とその製造方法
JP7163583B2 (ja) 半導体装置
JP7176397B2 (ja) 半導体装置とその製造方法
JP2012074730A (ja) 電力用半導体モジュール
JP2006190728A (ja) 電力用半導体装置
JP2017054855A (ja) 半導体装置、及び半導体パッケージ
JP2019083292A (ja) 半導体装置
CN115206905B (zh) 半导体装置和使用该半导体装置的半导体模块
US20220392834A1 (en) Semiconductor device
WO2023149144A1 (ja) 半導体装置
CN111599781A (zh) 半导体装置
JP2021034701A (ja) 半導体装置
JP7180533B2 (ja) 半導体装置
WO2024024067A1 (ja) 電力変換装置、電力変換装置の製造方法
JP2021111719A (ja) 半導体装置

Legal Events

Date Code Title Description
A711 Notification of change in applicant

Free format text: JAPANESE INTERMEDIATE CODE: A711

Effective date: 20200401

A621 Written request for application examination

Free format text: JAPANESE INTERMEDIATE CODE: A621

Effective date: 20210520

A977 Report on retrieval

Free format text: JAPANESE INTERMEDIATE CODE: A971007

Effective date: 20220330

A131 Notification of reasons for refusal

Free format text: JAPANESE INTERMEDIATE CODE: A131

Effective date: 20220412

A521 Request for written amendment filed

Free format text: JAPANESE INTERMEDIATE CODE: A523

Effective date: 20220603

TRDD Decision of grant or rejection written
A01 Written decision to grant a patent or to grant a registration (utility model)

Free format text: JAPANESE INTERMEDIATE CODE: A01

Effective date: 20221011

A61 First payment of annual fees (during grant procedure)

Free format text: JAPANESE INTERMEDIATE CODE: A61

Effective date: 20221024

R151 Written notification of patent or utility model registration

Ref document number: 7176397

Country of ref document: JP

Free format text: JAPANESE INTERMEDIATE CODE: R151

R250 Receipt of annual fees

Free format text: JAPANESE INTERMEDIATE CODE: R250