JP6571330B2 - 二次電池用正極活物質層、巻回素子、及び二次電池 - Google Patents
二次電池用正極活物質層、巻回素子、及び二次電池 Download PDFInfo
- Publication number
- JP6571330B2 JP6571330B2 JP2014264984A JP2014264984A JP6571330B2 JP 6571330 B2 JP6571330 B2 JP 6571330B2 JP 2014264984 A JP2014264984 A JP 2014264984A JP 2014264984 A JP2014264984 A JP 2014264984A JP 6571330 B2 JP6571330 B2 JP 6571330B2
- Authority
- JP
- Japan
- Prior art keywords
- elastic modulus
- positive electrode
- active material
- electrode active
- layer
- Prior art date
- Legal status (The legal status is an assumption and is not a legal conclusion. Google has not performed a legal analysis and makes no representation as to the accuracy of the status listed.)
- Active
Links
Images
Classifications
-
- Y—GENERAL TAGGING OF NEW TECHNOLOGICAL DEVELOPMENTS; GENERAL TAGGING OF CROSS-SECTIONAL TECHNOLOGIES SPANNING OVER SEVERAL SECTIONS OF THE IPC; TECHNICAL SUBJECTS COVERED BY FORMER USPC CROSS-REFERENCE ART COLLECTIONS [XRACs] AND DIGESTS
- Y02—TECHNOLOGIES OR APPLICATIONS FOR MITIGATION OR ADAPTATION AGAINST CLIMATE CHANGE
- Y02E—REDUCTION OF GREENHOUSE GAS [GHG] EMISSIONS, RELATED TO ENERGY GENERATION, TRANSMISSION OR DISTRIBUTION
- Y02E60/00—Enabling technologies; Technologies with a potential or indirect contribution to GHG emissions mitigation
- Y02E60/10—Energy storage using batteries
-
- Y—GENERAL TAGGING OF NEW TECHNOLOGICAL DEVELOPMENTS; GENERAL TAGGING OF CROSS-SECTIONAL TECHNOLOGIES SPANNING OVER SEVERAL SECTIONS OF THE IPC; TECHNICAL SUBJECTS COVERED BY FORMER USPC CROSS-REFERENCE ART COLLECTIONS [XRACs] AND DIGESTS
- Y02—TECHNOLOGIES OR APPLICATIONS FOR MITIGATION OR ADAPTATION AGAINST CLIMATE CHANGE
- Y02P—CLIMATE CHANGE MITIGATION TECHNOLOGIES IN THE PRODUCTION OR PROCESSING OF GOODS
- Y02P70/00—Climate change mitigation technologies in the production process for final industrial or consumer products
- Y02P70/50—Manufacturing or production processes characterised by the final manufactured product
Landscapes
- Chemical & Material Sciences (AREA)
- Chemical Kinetics & Catalysis (AREA)
- Electrochemistry (AREA)
- General Chemical & Material Sciences (AREA)
- Engineering & Computer Science (AREA)
- Manufacturing & Machinery (AREA)
- Battery Electrode And Active Subsutance (AREA)
- Materials Engineering (AREA)
- Secondary Cells (AREA)
Description
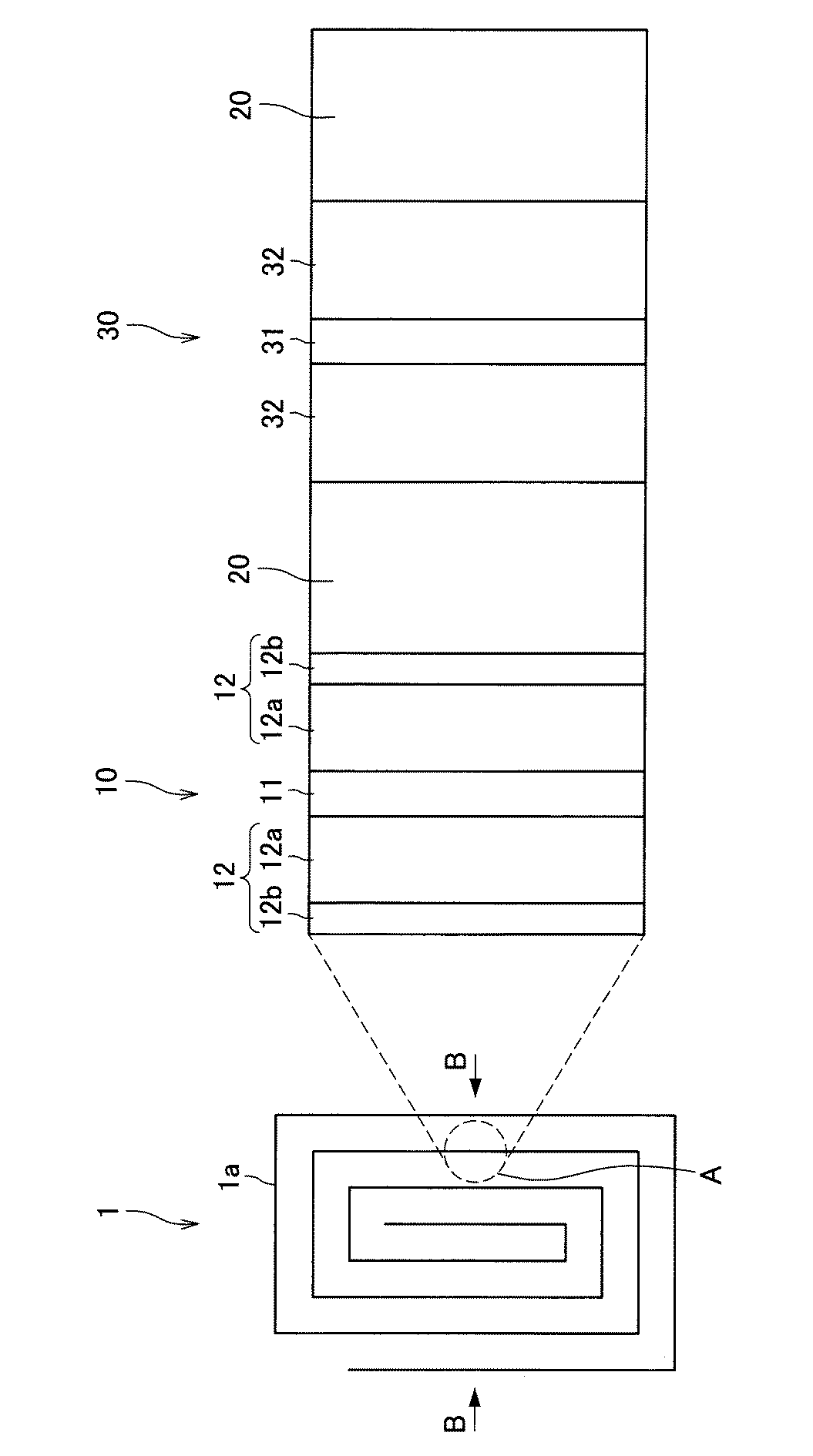
まず、図1を参照して、本発明の実施形態に係るリチウムイオン二次電池の構成について説明する。図1は、巻回素子1aの平断面図と、巻回素子1aの領域Aを拡大した拡大図とを示す。リチウムイオン二次電池は、巻回素子1aと、非水電解質溶液と、外装材とを備える。巻回素子1aは、帯状正極10、セパレータ20、帯状負極30、及びセパレータ20がこの順で積層された電極積層体を長手方向に巻回し、矢印B方向に圧縮したものである。
次に、非水電解質リチウムイオン二次電池の製造方法について説明する。
(帯状正極の製造方法)
正極10は、例えば、以下の方法により作製される。まず、正極集電体11上に高弾性率層12aを形成する。すなわち、高弾性率層12aの材料を有機溶媒や水に分散させることで高弾性率層用合剤スラリーを形成し、この合剤スラリーを正極集電体11上に塗工する。これにより、塗工層が形成される。ついで、塗工層が乾燥する前に高弾性率層12a上に低弾性率層12bを形成する。すなわち、低弾性率層12bの材料を有機溶媒や水に分散させることで低弾性率層用合剤スラリーを形成し、この合剤スラリーを高弾性率層12a上に塗工する。これにより、二層の塗工層が形成される。ついで、塗工層を乾燥する。これにより、低弾性率層12bが高弾性率層12a上に形成される。
負極30は、例えば、以下の方法により作製される。すなわち、負極活物質層の材料を溶剤(例えば水)に分散させることで負極合剤スラリーを形成し、この負極合剤スラリーを集電体上に塗工する。これにより、塗工層を形成する。ついで、塗工層を乾燥する。負極合剤スラリー中では、フッ素樹脂微粒子及びエラストマー系高分子の微粒子が負極活物質層10a内に分散している。ついで、乾燥した塗工層を負極集電体10bとともに圧延する。これにより、負極30が作製される。
ついで、正極10、セパレータ20、負極30、及びセパレータ20をこの順で積層することで電極積層体を作製する。ついで、電極積層体を巻回する。これにより、巻回素子1aを作製する。ついで、巻回素子1aを押しつぶすことで扁平状の巻回素子1aを作製する。ついで、扁平状の巻回素子1aを非水電解液とともに外装体(例えばラミネートフィルム)に挿入し、外装体を封止することで、リチウムイオン二次電池1を作製する。なお、外装体を封止する際には、各集電体に導通する端子を外装体の外部に突出させる。
つぎに、本発明の実施例を説明する。実施例1では、以下の工程により実施例1に係るリチウムイオン二次電池1を作製した。
(高弾性率層の作製)
コバルト酸リチウム、カーボンブラック、及び高弾性率バインダを固形分の質量比97.6:1.2:1.2でN−メチルピロリドン中に溶解分散させることで高弾性率層用合剤スラリーを作製した。ここで、高弾性率バインダは、引張弾性率800MPaのVdF/TFE共重合体とした。ついで、この合剤スラリーを厚さ12μmのアルミ箔集電体(正極集電体11)の両面に塗工することで、塗工層を作製した。塗工層の厚さは、乾燥後の厚さ(すなわち、高弾性率層12aの厚さ)が60μmとなるように調製した。その後、塗工層を乾燥することで、高弾性率層12aを正極集電体11上に形成した。
コバルト酸リチウム、カーボンブラック、及び低弾性率バインダを固形分の質量比97.6:1.2:1.2でN−メチルピロリドン中に溶解分散させることで低弾性率層用合剤スラリーを作製した。ここで、低弾性率バインダは、VdF/TFE共重合体と水素化NBRとの混合物とした。この混合物の引張弾性率は300MPaであった。ついで、この合剤スラリーを各高弾性率層12aの表面に塗工することで、塗工層を作製した。塗工層の厚さは、乾燥後の厚さ(すなわち、低弾性率層12bの厚さ)が60μmとなるように調製した。その後、塗工層を乾燥することで、低弾性率層12bを高弾性率層12a上に形成した。したがって、高弾性率層12aと低弾性率層12bとの厚さの比は1となる。その後、正極集電体11及び正極活物質層12を圧延することで、正極10を作製した。圧延後の正極活物質層12の厚さは72μmであった。また、正極10の総厚さは156μmであり、電極密度は4.15g/cm3であった。ついで、アルミリード線を正極10端部に溶接した。
黒鉛、スチレンブタジエンゴム(SBR)、カルボキシメチルセルロースのナトリウム塩を固形分の質量比98:1:1で水溶媒中に溶解分散させることで、負極合剤スラリーを作製した。ついで、この負極合剤スラリーを厚さ6μmの銅箔集電体(負極集電体31)の両面に塗工後、乾燥した。乾燥後の塗工層を圧延することで負極活物質層32を得た。以上の工程により、負極30を得た。負極30の総厚さは186μmであり、電極密度は1.7g/cm3であった。その後、ニッケルリード線を負極30の端部に溶接した。
正極10、セパレータ20(旭化成イーマテリアルズ社製ND314)、負極30、セパレータ20をこの順に積層し、直径3cmの巻き芯を用いて、この積層体を長手方向に巻きつけた。端部をテープにて固定した後、巻き芯を取り除き、厚さ3cmの2枚の金属プレートの間に円筒状電極巻回素子を挟み、3秒間保持することで、扁平状の巻回素子1aを得た。
上記電極巻回素子をポリプロピレン/アルミ/ナイロンの3層からなるラミネートフィルムに、2本のリード線が外に出るように電解液とともに減圧封止することで、電池を作製した。電解液には、エチレンカーボネート/ジメチルカーボネートを3対7(体積比)で混合した溶媒に、10体積%のFEC(フルオロエチレンカーボネート)及び1.3MのLiPF6を溶解させたものを使用した。この電池を90℃に加熱した厚さ3cmの2枚の金属プレートの間に挟み、5分間保持した。以上の工程により、リチウムイオン二次電池1を作製した。
正極10を株式会社安田精機製作所社製のMIT形耐折度試験機によって折り曲げた。そして、正極10が破断したときの荷重(N)を測定した。荷重が大きいほど、正極10の柔軟性が高いことを意味する。
まず、1サイクル目において、電圧が4.4Vとなるまで0.1CにてCC−CV充電(定電流定電圧充電)を行い、電圧が2.75Vとなるまで0.1CにてCC放電(定電流放電)を行った。次に、2サイクル目において、電圧が4.4Vとなるまで0.2CにてCC−CV充電を行い、電圧が2.75Vとなるまで0.2CにてCC放電を行った。さらに、3サイクル目以降において、電圧が4.4Vとなるまで1.0CにてCC−CV充電を行い、電圧が3.00Vとなるまで1.0CにてCC放電を行うサイクルを繰り返した。
高弾性率バインダ及び低弾性率バインダを表1に示すものに変更した他は、実施例1と同様の処理を行った。評価結果を表2にまとめて示す。なお、正極の電極密度は全て4.15g/cm3とした。
1a 巻回素子
10 正極
11 正極集電体
12 正極活物質層
12a 高弾性率層
12b 低弾性率層
20 セパレータ
30 負極活物質層
31 負極集電体
32 負極活物質層
Claims (6)
- 正極集電体上に設けられ、第1の正極活物質と、高弾性率バインダとを含む高弾性率層と、
前記高弾性率層上に設けられ、第2の正極活物質と、前記高弾性率バインダよりも引張弾性率が低い低弾性率バインダと、を含む低弾性率層と、を備え、
前記高弾性率層の引張弾性率は、前記低弾性率層の引張弾性率よりも大きく、
前記高弾性率バインダは、ポリフッ化ビニリデン(polyvinylidene
fluoride)、ポリフッ化ビニリデンの変性物、フッ化ビニリデン−テトラフルオロエチレン(tetrafluoroethylene)共重合体、フッ化ビニリデン−テトラフルオロエチレン−ヘキサフルオロプロピレン(hexafluoropropylene)共重合体、フッ化ビニリデン(VDF)−ヘキサフルオロプロピレン(HFP)共重合体、フッ化ビニリデン(VDF)−ヘキサフルオロプロピレン(HFP)共重合体の変性物、フッ化ビニリデン(VDF)−アクリレート(acrylate)共重合体、及び水素化アクリロニトリルブタジエン共重合体(hydrogenated acylonitrile−butadieneからなる群から選択されるいずれか1種以上で構成されることを特徴とする、二次電池用正極活物質層。 - 前記高弾性率バインダの引張弾性率は、400〜1200MPaであり、
前記低弾性率バインダの引張弾性率は、150〜700MPaであることを、請求項1記載の二次電池用正極活物質層。 - 前記高弾性率バインダ及び低弾性率バインダのうち、少なくとも一方は、共重合体を含むことを特徴とする、請求項1または2記載の二次電池用正極活物質層。
- 前記第1の正極活物質及び第2の正極活物質のうち、少なくとも一方は、リチウム含有遷移金属酸化物を含むことを特徴とする、請求項1〜3の何れか1項に記載の二次電池用正極活物質層。
- 請求項1〜4の何れか1項に記載の二次電池用正極活物質層を備えることを特徴とする、巻回素子。
- 請求項5記載の巻回素子を備えることを特徴とする、二次電池。
Priority Applications (3)
| Application Number | Priority Date | Filing Date | Title |
|---|---|---|---|
| JP2014264984A JP6571330B2 (ja) | 2014-12-26 | 2014-12-26 | 二次電池用正極活物質層、巻回素子、及び二次電池 |
| KR1020150159984A KR102512059B1 (ko) | 2014-12-26 | 2015-11-13 | 리튬 이차 전지용 양극, 권회 소자 및 리튬 이차 전지 |
| US14/981,594 US10026964B2 (en) | 2014-12-26 | 2015-12-28 | Positive electrode for rechargeable lithium battery, and winding element rechargeable lithium battery |
Applications Claiming Priority (1)
| Application Number | Priority Date | Filing Date | Title |
|---|---|---|---|
| JP2014264984A JP6571330B2 (ja) | 2014-12-26 | 2014-12-26 | 二次電池用正極活物質層、巻回素子、及び二次電池 |
Publications (2)
| Publication Number | Publication Date |
|---|---|
| JP2016126852A JP2016126852A (ja) | 2016-07-11 |
| JP6571330B2 true JP6571330B2 (ja) | 2019-09-04 |
Family
ID=56357053
Family Applications (1)
| Application Number | Title | Priority Date | Filing Date |
|---|---|---|---|
| JP2014264984A Active JP6571330B2 (ja) | 2014-12-26 | 2014-12-26 | 二次電池用正極活物質層、巻回素子、及び二次電池 |
Country Status (2)
| Country | Link |
|---|---|
| JP (1) | JP6571330B2 (ja) |
| KR (1) | KR102512059B1 (ja) |
Families Citing this family (4)
| Publication number | Priority date | Publication date | Assignee | Title |
|---|---|---|---|---|
| KR102342989B1 (ko) * | 2018-10-03 | 2021-12-24 | 다이킨 고교 가부시키가이샤 | 정극 구조체 및 이차 전지 |
| KR102890052B1 (ko) * | 2020-11-02 | 2025-11-26 | 삼성전자주식회사 | 배터리 및 배터리를 포함하는 전자 장치 |
| WO2023120533A1 (ja) * | 2021-12-21 | 2023-06-29 | 富士フイルム株式会社 | 二次電池用バインダー組成物、電極シート及び二次電池、並びに、これら電極シート及び二次電池の製造方法 |
| WO2025115781A1 (ja) * | 2023-12-01 | 2025-06-05 | エリーパワー株式会社 | リチウムイオン二次電池用正極及びリチウムイオン二次電池 |
Family Cites Families (9)
| Publication number | Priority date | Publication date | Assignee | Title |
|---|---|---|---|---|
| JPH09161768A (ja) * | 1995-12-14 | 1997-06-20 | Toray Ind Inc | 電 池 |
| JP4918243B2 (ja) * | 2005-10-06 | 2012-04-18 | 三洋電機株式会社 | 非水電解質二次電池 |
| JPWO2011052126A1 (ja) * | 2009-10-28 | 2013-03-14 | パナソニック株式会社 | 電極、二次電池、および二次電池の製造方法 |
| JP2013131381A (ja) * | 2011-12-21 | 2013-07-04 | Toyota Motor Corp | 非水電解質二次電池 |
| JP2013214394A (ja) * | 2012-04-02 | 2013-10-17 | Sanyo Electric Co Ltd | 非水電解質二次電池用電極及び非水電解質二次電池 |
| JP2014026777A (ja) * | 2012-07-25 | 2014-02-06 | Toyota Motor Corp | 非水電解質二次電池と、該二次電池用の正極の製造方法 |
| GB2507535B (en) * | 2012-11-02 | 2015-07-15 | Nexeon Ltd | Multilayer electrode |
| KR101739298B1 (ko) * | 2013-02-20 | 2017-05-24 | 삼성에스디아이 주식회사 | 전지용 바인더, 이를 채용한 음극과 리튬전지 |
| JP6115361B2 (ja) * | 2013-07-05 | 2017-04-19 | 株式会社Gsユアサ | 非水電解質二次電池 |
-
2014
- 2014-12-26 JP JP2014264984A patent/JP6571330B2/ja active Active
-
2015
- 2015-11-13 KR KR1020150159984A patent/KR102512059B1/ko active Active
Also Published As
| Publication number | Publication date |
|---|---|
| KR20160079639A (ko) | 2016-07-06 |
| JP2016126852A (ja) | 2016-07-11 |
| KR102512059B1 (ko) | 2023-03-17 |
Similar Documents
| Publication | Publication Date | Title |
|---|---|---|
| JP6830757B2 (ja) | 非水電解質二次電池用正極、非水電解質二次電池用巻回素子、及び非水電解質二次電池 | |
| JP6310242B2 (ja) | 二次電池用正極、および二次電池。 | |
| JP6931974B2 (ja) | 正極合剤スラリー、非水電解質二次電池用正極、及び非水電解質二次電池 | |
| JP6278679B2 (ja) | 導電組成物、正極、およびリチウムイオン二次電池。 | |
| JP6447620B2 (ja) | 非水電解質二次電池用正極活物質 | |
| JP6399921B2 (ja) | 非水電解質二次電池用電極巻回素子、それを用いた非水電解質二次電池、及び非水電解質二次電池用電極巻回素子の製造方法 | |
| JP6959010B2 (ja) | 非水電解質二次電池用負極及び非水電解質二次電池 | |
| JP6282458B2 (ja) | 非水電解質二次電池用電極巻回素子、それを用いた非水電解質二次電池、及び非水電解質二次電池用電極巻回素子の製造方法 | |
| JP5258499B2 (ja) | 非水二次電池 | |
| JP6567821B2 (ja) | 非水電解質二次電池用巻回素子及び非水電解質二次電池 | |
| KR20110023820A (ko) | 비수 전해질 이차 전지용 정극 및 그것을 사용한 비수 전해질 이차 전지 | |
| JP6571330B2 (ja) | 二次電池用正極活物質層、巻回素子、及び二次電池 | |
| US10026964B2 (en) | Positive electrode for rechargeable lithium battery, and winding element rechargeable lithium battery | |
| US11978907B2 (en) | Positive electrode for lithium secondary battery, winding element for lithium secondary battery, and lithium secondary battery | |
| JP6406813B2 (ja) | 非水電解質二次電池用負極活物質層及びこれを用いた非水電解質二次電池 | |
| JP7105544B2 (ja) | 正極活物質層、およびリチウムイオン二次電池 | |
| TWI604654B (zh) | 二次電池之正極材料及其製備方法 | |
| CN111213277B (zh) | 非水电解液二次电池 | |
| JP2016126857A (ja) | 非水電解質二次電池 | |
| JP6932165B2 (ja) | 非水電解質二次電池 | |
| JP6931986B2 (ja) | 二次電池用負極、および二次電池 | |
| JP6234186B2 (ja) | 非水電解質二次電池 | |
| KR102290315B1 (ko) | 리튬 이차 전지 | |
| JP2017073329A (ja) | 非水電解質二次電池 |
Legal Events
| Date | Code | Title | Description |
|---|---|---|---|
| A621 | Written request for application examination |
Free format text: JAPANESE INTERMEDIATE CODE: A621 Effective date: 20171004 |
|
| A977 | Report on retrieval |
Free format text: JAPANESE INTERMEDIATE CODE: A971007 Effective date: 20181017 |
|
| A131 | Notification of reasons for refusal |
Free format text: JAPANESE INTERMEDIATE CODE: A131 Effective date: 20181211 |
|
| A521 | Request for written amendment filed |
Free format text: JAPANESE INTERMEDIATE CODE: A523 Effective date: 20190308 |
|
| RD03 | Notification of appointment of power of attorney |
Free format text: JAPANESE INTERMEDIATE CODE: A7423 Effective date: 20190422 |
|
| RD04 | Notification of resignation of power of attorney |
Free format text: JAPANESE INTERMEDIATE CODE: A7424 Effective date: 20190422 |
|
| TRDD | Decision of grant or rejection written | ||
| A01 | Written decision to grant a patent or to grant a registration (utility model) |
Free format text: JAPANESE INTERMEDIATE CODE: A01 Effective date: 20190712 |
|
| A61 | First payment of annual fees (during grant procedure) |
Free format text: JAPANESE INTERMEDIATE CODE: A61 Effective date: 20190808 |
|
| R150 | Certificate of patent or registration of utility model |
Ref document number: 6571330 Country of ref document: JP Free format text: JAPANESE INTERMEDIATE CODE: R150 |
|
| R250 | Receipt of annual fees |
Free format text: JAPANESE INTERMEDIATE CODE: R250 |
|
| R250 | Receipt of annual fees |
Free format text: JAPANESE INTERMEDIATE CODE: R250 |
|
| R250 | Receipt of annual fees |
Free format text: JAPANESE INTERMEDIATE CODE: R250 |
|
| R250 | Receipt of annual fees |
Free format text: JAPANESE INTERMEDIATE CODE: R250 |
