JP6554530B2 - 再成長構造を用いたiii族窒化物トランジスタ - Google Patents

再成長構造を用いたiii族窒化物トランジスタ Download PDF

Info

Publication number
JP6554530B2
JP6554530B2 JP2017243108A JP2017243108A JP6554530B2 JP 6554530 B2 JP6554530 B2 JP 6554530B2 JP 2017243108 A JP2017243108 A JP 2017243108A JP 2017243108 A JP2017243108 A JP 2017243108A JP 6554530 B2 JP6554530 B2 JP 6554530B2
Authority
JP
Japan
Prior art keywords
barrier layer
layer
gate
resistive
regrowth structure
Prior art date
Legal status (The legal status is an assumption and is not a legal conclusion. Google has not performed a legal analysis and makes no representation as to the accuracy of the status listed.)
Expired - Fee Related
Application number
JP2017243108A
Other languages
English (en)
Other versions
JP2018082192A (ja
Inventor
ソーニヤー、ポール
3世、エドワード エー. ビーム
3世、エドワード エー. ビーム
Current Assignee (The listed assignees may be inaccurate. Google has not performed a legal analysis and makes no representation or warranty as to the accuracy of the list.)
Qorvo US Inc
Original Assignee
Triquint Semiconductor Inc
Priority date (The priority date is an assumption and is not a legal conclusion. Google has not performed a legal analysis and makes no representation as to the accuracy of the date listed.)
Filing date
Publication date
Application filed by Triquint Semiconductor Inc filed Critical Triquint Semiconductor Inc
Publication of JP2018082192A publication Critical patent/JP2018082192A/ja
Application granted granted Critical
Publication of JP6554530B2 publication Critical patent/JP6554530B2/ja
Expired - Fee Related legal-status Critical Current
Anticipated expiration legal-status Critical

Links

Images

Classifications

    • HELECTRICITY
    • H10SEMICONDUCTOR DEVICES; ELECTRIC SOLID-STATE DEVICES NOT OTHERWISE PROVIDED FOR
    • H10DINORGANIC ELECTRIC SEMICONDUCTOR DEVICES
    • H10D30/00Field-effect transistors [FET]
    • H10D30/01Manufacture or treatment
    • H10D30/015Manufacture or treatment of FETs having heterojunction interface channels or heterojunction gate electrodes, e.g. HEMT
    • HELECTRICITY
    • H10SEMICONDUCTOR DEVICES; ELECTRIC SOLID-STATE DEVICES NOT OTHERWISE PROVIDED FOR
    • H10DINORGANIC ELECTRIC SEMICONDUCTOR DEVICES
    • H10D30/00Field-effect transistors [FET]
    • H10D30/40FETs having zero-dimensional [0D], one-dimensional [1D] or two-dimensional [2D] charge carrier gas channels
    • H10D30/47FETs having zero-dimensional [0D], one-dimensional [1D] or two-dimensional [2D] charge carrier gas channels having 2D charge carrier gas channels, e.g. nanoribbon FETs or high electron mobility transistors [HEMT]
    • H10D30/471High electron mobility transistors [HEMT] or high hole mobility transistors [HHMT]
    • H10D30/475High electron mobility transistors [HEMT] or high hole mobility transistors [HHMT] having wider bandgap layer formed on top of lower bandgap active layer, e.g. undoped barrier HEMTs such as i-AlGaN/GaN HEMTs
    • HELECTRICITY
    • H10SEMICONDUCTOR DEVICES; ELECTRIC SOLID-STATE DEVICES NOT OTHERWISE PROVIDED FOR
    • H10DINORGANIC ELECTRIC SEMICONDUCTOR DEVICES
    • H10D62/00Semiconductor bodies, or regions thereof, of devices having potential barriers
    • H10D62/40Crystalline structures
    • H10D62/402Amorphous materials
    • HELECTRICITY
    • H10SEMICONDUCTOR DEVICES; ELECTRIC SOLID-STATE DEVICES NOT OTHERWISE PROVIDED FOR
    • H10DINORGANIC ELECTRIC SEMICONDUCTOR DEVICES
    • H10D62/00Semiconductor bodies, or regions thereof, of devices having potential barriers
    • H10D62/80Semiconductor bodies, or regions thereof, of devices having potential barriers characterised by the materials
    • H10D62/85Semiconductor bodies, or regions thereof, of devices having potential barriers characterised by the materials being Group III-V materials, e.g. GaAs
    • HELECTRICITY
    • H10SEMICONDUCTOR DEVICES; ELECTRIC SOLID-STATE DEVICES NOT OTHERWISE PROVIDED FOR
    • H10DINORGANIC ELECTRIC SEMICONDUCTOR DEVICES
    • H10D62/00Semiconductor bodies, or regions thereof, of devices having potential barriers
    • H10D62/80Semiconductor bodies, or regions thereof, of devices having potential barriers characterised by the materials
    • H10D62/85Semiconductor bodies, or regions thereof, of devices having potential barriers characterised by the materials being Group III-V materials, e.g. GaAs
    • H10D62/8503Nitride Group III-V materials, e.g. AlN or GaN
    • HELECTRICITY
    • H10SEMICONDUCTOR DEVICES; ELECTRIC SOLID-STATE DEVICES NOT OTHERWISE PROVIDED FOR
    • H10DINORGANIC ELECTRIC SEMICONDUCTOR DEVICES
    • H10D64/00Electrodes of devices having potential barriers
    • H10D64/111Field plates
    • HELECTRICITY
    • H10SEMICONDUCTOR DEVICES; ELECTRIC SOLID-STATE DEVICES NOT OTHERWISE PROVIDED FOR
    • H10DINORGANIC ELECTRIC SEMICONDUCTOR DEVICES
    • H10D64/00Electrodes of devices having potential barriers
    • H10D64/20Electrodes characterised by their shapes, relative sizes or dispositions 
    • H10D64/27Electrodes not carrying the current to be rectified, amplified, oscillated or switched, e.g. gates
    • H10D64/311Gate electrodes for field-effect devices
    • H10D64/411Gate electrodes for field-effect devices for FETs

Landscapes

  • Insulated Gate Type Field-Effect Transistor (AREA)
  • Junction Field-Effect Transistors (AREA)

Description

本開示の実施形態は、広くは集積回路分野に関し、特に再成長構造を用いたIII族窒化物トランジスタに関する。
現在、窒化ガリウム(GaN)系高電子移動度トランジスタ(HEMT)などのIII族窒化物系トランジスタは、典型的には、トランジスタチャネル内の電流を低減するために、電源電圧に対して負のゲート電圧を用いるデプレションモード(Dモード)デバイスである。しかしながら、電流を低減するために電源電圧に対して正のゲート電圧を用いるエンハンスメントモード(Eモード)デバイスは、パワースイッチングなどの用途には望ましいものであり得る。Eモードデバイスは、トランジスタの作動中に二次元電子ガス(2DEG)がゲート下のチャネルに生じないよう、臨界厚み未満となるように供給層の厚みを制御することによって作られる。
しかしながら、Eモードデバイスを形成する従来の凹部プロセスおよび堆積プロセスでは、ゲートとチャネル間の界面におけるトラップやその他の欠陥が生じ得る。
以下の詳細な説明と添付図面とによって実施形態は容易に理解されるであろう。説明を容易にするために、同じ符号は同じ構成要素を示す。実施形態は例示として示されるものであり、添付図面の形状を限定するものではない。
種々の実施形態による集積回路(IC)デバイスの概略横断面図である。 種々の実施形態による別のICデバイスの概略横断面図である。 種々の実施形態による、基板上に層スタックを形成後のICデバイスの横断面図である。 種々の実施形態による、ソースとドレイン形成後のICデバイスの概略横断面図である。 種々の実施形態による、誘電体層の堆積およびパターン化後のICデバイスの概略横断面図である。 種々の実施形態による、バリア層材料除去後のICデバイスの概略横断面図である。 種々の実施形態による、再成長構造形成後のICデバイスの概略横断面図である。 種々の実施形態による、ゲート端子形成後のICデバイスの概略横断面図である。 種々の実施形態によるICデバイス製造方法を示すフロー図である。 種々の実施形態による、ICデバイスを備えるシステム例の概略図である。
本開示の実施形態によって、再成長構造を用いたIII族窒化物トランジスタの技術および構造が提供される。以下の詳細な説明では、本明細書の一部を成す添付図面を参照する。図面中、同じ符号は同じ部品を示し、本開示の主題が実施され得る実施形態が例示される。他の実施形態を用いることも可能であり、また、構造や論理的な変更が本開示の範囲を逸脱することなく可能であることは理解されるべきである。従って、以下の詳細な説明は限定的な意味合いで捉えられるものではなく、実施形態の範囲は、添付の請求項およびその均等物によって画定されるものである。
本開示の目的のために、「AおよびまたはB」は、(A)、(B)または(AおよびB)を意味する。本開示の目的のために、「A、BおよびまたはC」は、(A)、(B)、(C)、(AおよびB)、(AおよびC)、(BおよびC)または(A、BおよびC)を意味する。
以下の説明では、「ある実施形態では」または「実施形態では」が使用されるが、これらはそれぞれ、1つまたは複数の同じであっても異なっていてもよい実施形態を指す。また、本開示の実施形態に関して使用される「備える」、「含む」、「有する」などは同意語である。また、「接続された」は、直接接続、間接接続あるいは間接的な伝達を指す。
「接続された」とその派生語も本明細書で使用される。この「接続された」は、以下の1つまたは複数を意味する。すなわち、2つ以上の要素が物理的または電気的に直接接触しているか、あるいは、2つ以上の要素が互いに間接的に接触し、さらには互いに協働もしくは相互作用しているか、あるいは、互いに接続しているとされる要素間に、1つまたは複数の他の要素が接続されていることを意味する。
種々の実施形態において、「第1の層上に形成、堆積あるいは構成された第2の層」とは、第2の層が第1の層の上部に形成、堆積あるいは構成されていることを意味し、第2の層の少なくとも一部が、第1の層の少なくとも一部に直接接触(例えば、物理的およびまたは電気的に直接接触)しているか、間接接触(例えば、この両層間に1つまたは複数の他の層を有するなど)していることを意味し得る。
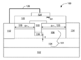
図1は種々の実施形態による集積回路(IC)デバイス100の概略横断面図である。ICデバイス100は基板102上に形成されてもよい。基板102は一般に、その上に層スタック(あるいは単に「スタック101」)が堆積される支持材を含む。ある実施形態では、基板102は、シリコン(Si)、炭化ケイ素(SiC)、酸化アルミニウム(Al)すなわち「サファイア」、窒化ガリウム(GaN)およびまたは窒化アルミニウム(AlN)を含む。他の実施形態では、基板102用として、好適なII〜VI族半導体材料系およびIII〜V族半導体材料系を含む他の材料も使用される。ある実施形態では、その上にバッファ層104の材料がエピタキシャル成長できる任意の材料または材料の任意の組み合わせで基板102を構成してもよい。
基板102上に形成されるスタック101は、1つまたは複数のヘテロ接合/ヘテロ構造を形成する異なる材料系で構成されるエピタキシャル堆積層を備えていてもよい。スタック101の層は、その場で(in situ)形成されてもよい。すなわち、スタック101は、基板102を取り出さずにその構成層を形成する(例えばエピタキシャル成長させる)製造装置(例えばチャンバ)内で、基板102上に形成されてもよい。
一実施形態では、ICデバイス100のスタック101は、基板102上に形成されたバッファ層104を備える。バッファ層104は、ICデバイス100の基板102と他の構成要素(例えばバリア層106)間に結晶構造転移を与えてもよく、これによって、これら2つの間のバッファ層または絶縁層として作用する。例えば、バッファ層104によって、基板102と他の格子不整合材料(例えばバリア層106)間の応力が緩和され得る。一部の実施形態では、バッファ層104を、トランジスタの可動電荷キャリア用のチャネルとして機能させてもよい。一部の実施形態では、バッファ層104は非ドープであってもよい。バッファ層104を、基板102にエピタキシャルに接続してもよい。他の実施形態では、核形成層(図示せず)を基板102とバッファ層104間に介在させてもよい。一部の実施形態では、バッファ層104を複数の堆積膜あるいは層で構成してもよい。
一部の実施形態では、バッファ層104は、例えば窒化ガリウム(GaN)または窒化アルミニウム(AlN)などのIII族窒化物系材料を含んでいてもよい。バッファ層104の厚みは、その下の基板102の表面に実質的に垂直な方向において1〜2μmであってもよい。他の実施形態では、バッファ層104は、他の好適な材料およびまたは厚みを有していてもよい。
スタック101は、バッファ層104上に形成されたバリア層106(「供給層」とも呼ぶ)をさらに備えていてもよい。バリア層106とバッファ層104間には、ヘテロ接合が形成されていてもよい。バリア層106のバンドギャップエネルギーは、バッファ層104のそれより大きくてもよい。バリア層106は、可動電荷キャリアを供給するより広いバンドギャップ層であってもよく、バッファ層104は、該可動電荷キャリア用のチャネルまたは経路を提供するより狭いバンドギャップ層であってもよい。一部の実施形態では、バリア層106のバンドギャップエネルギーは、再成長構造110のバンドギャップエネルギー以下であってもよい。
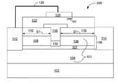
バリア層106は、例えばIII族窒化物系材料などの種々の好適な材料系のうちの任意のもので構成されてもよい。バリア層106は、例えばアルミニウム(Al)、インジウム(In)、ガリウム(Ga)およびまたは窒素(N)を含んでいてもよい。一部の実施形態では、単一材料から成る単独層でバリア層106を構成してもよい。一実施形態では、例えば窒化アルミニウムガリウム(AlGa1−xN)(x:アルミニウムとガリウムの相対量を表す0〜1の値)の単独層でバリア層106を構成してもよい。他の実施形態では、複数の堆積膜あるいは層でバリア層106を構成してもよい。例えば、図2に示すように、ICデバイス200は、バッファ層104上に配置された第1バリア層107と、第1バリア層107上に配置された第2バリア層108とで構成されるバリア層106を備えていてもよい。一部の実施形態では、窒化アルミニウム(AlN)で第1バリア層107を構成し、窒化インジウムアルミニウム(InAlN)、窒化アルミニウムガリウム(AlGaN)または窒化インジウムガリウムアルミニウム(InGaAlN)で第2バリア層108を構成してもよい。他の実施形態では、バリア層106は、他の材料あるいは図示されたものより多くの層を含んでいてもよい。ICデバイス200は、図1のICデバイス100に関連して説明した実施形態に適合していてもよい。
図1に戻り、バッファ層104とバリア層106間の界面(例えばヘテロ接合)に二次元電子ガス(2DEG)を形成して、ソース端子(以後、ソース112)とドレイン端子(以後、ドレイン114)間に電流(例えば可動電荷キャリア)が流れるようにしてもよい。一部の実施形態では、ICデバイス100は、その中に電流を流すために、電源電圧に対して正のゲート電圧を用いるエンハンスメントモード(Eモード)デバイスであってもよい。こうした実施形態では、再成長構造110とバッファ層104間のバリア層106の厚みTは、2DEG形成のための臨界厚みT(例えば、臨界厚みT未満であれば2DEGは生じ得ない)未満であってもよい。例えば、厚みTは、ゲート端子(以後、「ゲート118」)とバッファ層104間に配置されたチャネルのゲート領域では2DEGの形成を阻止し、一方、該ゲート領域とソース112間および該ゲート領域とドレイン114間のチャネルのアクセス領域では2DEGが形成されるように構成されてもよい。一部の実施形態では、バリア層106の厚みおよびまたはアルミニウム含量は、ショットキー(Schottky)ゲートデバイスかMISゲートデバイスのいずれかであるデバイス100に対しては、該ゲート領域における2DEGをすべて確実に除去するように選択されてもよい。他の実施形態では、ICデバイス100は、その中の電流を低減するために、電源電圧に対して負のゲート電圧を用いるデプレションモード(Dモード)デバイスであってもよい。
一部の実施形態では、該ゲート領域におけるバリア層106の厚みTは30Å以下である。例えば、AlGaNの単独層で構成されるバリア層106のゲート領域における厚みTは、20Å以下であってもよい。AlNおよびまたはInAlNで構成されるバリア層106のゲート領域における厚みTは、15Å以下であってもよい。一部の実施形態では、バリア層106の厚みTは10Å〜50Åであってもよい。一部の実施形態では、バリア層106のゲート領域外の領域における厚みは、その下のバッファ層104の表面に実質的に垂直な方向において160Å〜300Åであってもよい。他の実施形態では、バリア層106は、他の好適な材料およびまたは厚みを有していてもよい。
種々の実施形態では、ICデバイス100は、図示のように、バリア層106内に配置された再成長構造110をさらに備える。再成長構造110は、バリア層106の材料が除去され、そこに再成長構造110の材料が堆積または再成長され得ることを示すために「再成長」と呼ばれ得る。一部の実施形態では、再成長構造110をゲート118の絶縁層として機能させて、Eモードデバイスを得てもよい。介在するバリア層106(例えばバリア層106の厚みT)によって、バッファ層104とバリア層106間のチャネル界面を保護し、ゲート凹部/形成プロセスの一部として、チャネル界面を露出する従来の凹部プロセスまたは堆積プロセスに付随するトラップまたは他の欠陥を生じることなく、絶縁層(例えば再成長構造110)が形成できるようにしてもよい。
一部の実施形態では、図示のように、再成長構造110は、バリア層106(例えば、図2の第1バリア層107および第2バリア層108)にエピタキシャルに接続してもよい。図示のように、再成長構造110をゲート118とバッファ層104間に配置してもよい。種々の実施形態では、再成長構造110のバンドギャップエネルギーは、バリア層106およびバッファ層104のそれより大きくてもよい。ある実施形態では、再成長構造110のバンドギャップは5eV以上であってもよい。例えば、再成長構造110のバンドギャップエネルギーは5〜6eVであってもよい。再成長構造110のバンドギャップエネルギーは、バリア層106およびまたはバッファ層104のそれより大きくてもよい。一部の実施形態では、再成長構造110は、ゲート118とバッファ層104間に配置されたゲート領域における2DEGの形成を阻止する動作機能を有していてもよい。再成長構造110は、ICデバイス100のチャネルを塞ぐように構成されて、ゲート領域(例えばチャネル)内の面積抵抗率を上昇させてもよい。例えば、AlGaN層を有するウェーハの面積抵抗率は約500Ω/□であってもよい。低温プロセスを用いて、AlGaN層上に100Å厚のGaN層を堆積後では、面積抵抗率は約1500Ω/□であってもよい。
再成長構造110は、例えばIII族窒化物系材料などの種々の好適な材料系のうちの任意のもので構成されてもよい。再成長構造110は、例えばアルミニウム(Al)、インジウム(In)、ガリウム(Ga)およびまたは窒素(N)を含んでいてもよい。一部の実施形態では、再成長構造110は、窒素(N)とアルミニウム(Al)またはガリウム(Ga)の内の少なくとも1つとを含んでいてもよい。例えば窒化ガリウム(GaN)、窒化アルミニウム(AlN)、窒化インジウムガリウム(InGaN)、窒化インジウムアルミニウム(InAlN)、窒化アルミニウムガリウム(AlGaN)または窒化インジウムガリウムアルミニウム(InGaAlN)で、再成長構造110を構成してもよい。ある実施形態では、GaNで再成長構造110を構成し、AlGaNまたはAlN/InAlNでバリア層106を構成(例えば、図2の第1バリア層107がAlNであり、第2バリア層108がInAlNである)し、GaNでバッファ層104を構成する。
種々の実施形態では、高温(HT)プロセスまたは低温(LT)プロセスを用いてIII族窒化物を堆積して、再成長構造110を形成してもよい。高温プロセスは、例えば、600℃を超える温度(例えば700℃〜800℃)で、例えばGaNなどのIII族窒化物を堆積して、低温プロセスで製造される構造より結晶性の(例えば、より単結晶に近くより非晶質でない)構造を形成するプロセスを備えていてもよい。低温プロセスは、例えば、600℃以下の温度で、例えばGaNなどのIII族窒化物をエピタキシャルに堆積して、高温プロセスで製造される構造より非晶質なあるいは多結晶の構造を形成するプロセスを備えていてもよい。例えば、一実施形態では、再成長構造110は、350℃〜500℃の温度でのエピタキシャル堆積で堆積されたGaNを含んでいてもよい。高温プロセスでは、材料をより付随的なトラップを形成をし易くする圧電性の再成長構造110の材料が生成され得るため、高温プロセスを用いて材料を堆積して再成長構造110を形成すると、ICデバイス100における電流崩壊とゲートリークが上昇し得る。低温プロセスでの再成長構造110の形成では、より多結晶または非晶質な格子構造を有する材料が得られ、これによって、トラップ形成が低減されて、ICデバイス100における電流崩壊とゲートリークが軽減できる。一部の実施形態では、再成長構造110は、低温プロセスで形成された実質的に多結晶または非晶質の格子構造を含む。
種々の実施形態では、再成長構造110の厚みは200Å以下であってもよい。再成長構造110の厚みは、バリア層106の下位にあるバッファ層104の表面に実質的に垂直な方向において、例えば25Å〜200Åであってもよい。他の実施形態では、再成長構造110の厚みおよび材料は他のものであってもよい。
ICデバイス100は、図示のように、バリア層106(例えば、図2の第1バリア層107および第2バリア層108)内に配置されたゲート118をさらに備えていてもよい。ゲート118は、図示のように、チャネル(例えば、ICデバイス100のオン/オフ状態)を制御するように構成されてもよい。ゲート118をICデバイス100の接続端子として機能させてもよく、図示のように、バリア層106および再成長構造110と物理的に直接接触させてもよい。一部の実施形態では、図示のように、ゲート118を、例えば、バリア層106上に形成された窒化ケイ素(SiN)または別の誘電材料などの誘電体層116上に形成してもよい。
ゲート118は、図示のように、バリア層106に接続されたトランク部すなわち底部と、該トランク部から、その上にスタック101が形成された基板102の表面に実質的に平行な逆方向に離れるように延在する頂部と、を有していてもよい。ゲート118のトランク部および頂部のこうした構成をT形フィールドプレートゲートと呼んでもよい。すなわち、一部の実施形態では、ゲート118は、ゲート118とドレイン114間の絶縁破壊電圧を上昇させ得およびまたはその電界を低減させ得る一体型フィールドプレート(例えばゲート118の頂部)を有していてもよい。該一体型フィールドプレートによって、ICデバイス100の高電圧動作が容易になり得る。
ゲート118は、ICデバイス100のしきい値電圧に対する電気経路を提供するゲート電極(例えば、図8のゲート電極118a)と、ゲート電極とバリア層106間およびまたはゲート電極と再成長構造110間に配置され得るゲート誘電体すなわちゲート絶縁体(以後、「ゲート絶縁体膜」と呼ぶ、例えば図8のゲート絶縁体膜118b)と、を備えていてもよい。金属などの導電性材料でゲート電極を構成してもよい。一部の実施形態では、ニッケル(Ni)、プラチナ(Pt)、イリジウム(Ir)、モリブデン(Mo)、金(Au)およびまたはアルミニウム(Al)で、ゲート電極を構成してもよい。ある実施形態では、バリア層106とのゲートコンタクトを得るために、Ni、Pt、IrまたはMoを含む材料がゲート118のトランク部内に配置され、ゲート118の導電性と低抵抗を確実にするために、Auを含む材料がゲート118の頂部内に配置される。
種々の実施形態では、ゲート118は、ICデバイス100のショットキー接合か金属−絶縁体−半導体(MIS)接合を提供するように構成されてもよい。例えば、ゲート絶縁体膜がゲート誘電体であるか、あるいは全く使用されない場合には、ショットキー接合が形成されてもよく、ゲート絶縁体膜がゲート絶縁体である場合には、MIS接合が形成されてもよい。一部の実施形態では、ゲート誘電体は、厚みがゲート絶縁体より小さい薄膜であってもよい。ゲート絶縁体膜は、例えば、窒化ケイ素(SiN)、酸化シリコン(SiO)、酸化アルミニウム(Al)およびまたは酸化ハフニウム(HfO)を含んでいてもよい。他の実施形態では、ゲート絶縁体膜は他の材料を含んでいてもよい。
ICデバイス100は、バリア層106上に形成されたソース112とドレイン114を備えていてもよい。ソース112とドレイン114は、図示のように、バリア層106を通ってバッファ層104内に延在していてもよい。種々の実施形態では、ソース112とドレイン114はオーミックコンタクトである。ソース112とドレイン114は、標準の成長コンタクトよりコンタクト抵抗が比較的小さいものであり得る再成長コンタクトであってもよい。
金属などの導電性材料で、ソース112とドレイン114を構成してもよい。ある実施形態では、ソース112とドレイン114は、チタン(Ti)、アルミニウム(Al)、モリブデン(Mo)、金(Au)およびまたはシリコン(Si)を含んでいてもよい。他の実施形態では、他の材料が用いられる。
ある実施形態では、ドレイン114とゲート118間の距離D1は、ソース112とゲート118間の距離S1より大きい。一部の実施形態では、距離D1は、ドレイン114とゲート118間の最短距離であってもよく、距離S1は、ソース112とゲート118間の最短距離であってもよい。距離S1を距離D1より短くすることによって、ゲート118−ドレイン114間の絶縁破壊電圧を上昇させ得、およびまたはソース112の抵抗を低減させ得る。
一部の実施形態では、図示のように、誘電体層122をゲート118およびまたは誘電体層116上に形成してもよい。誘電体層122は、例えば窒化ケイ素(SiN)を含んでいてもよい。他の実施形態では、誘電体層122には他の材料が用いられる。誘電体層122は、ゲート118の頂部を実質的に封入してもよい。一部の実施形態では、誘電体層122をデバイス100の保護層として機能させてもよい。
ICデバイス100は、ゲート118とドレイン114間の絶縁破壊電圧を上昇させおよびまたは電界を低減するために、誘電体層122上に形成されたフィールドプレート124をさらに備えていてもよい。導電性材料126を用いて、フィールドプレート124をソース112に電気的に接続してもよい。導電性材料126は、誘電体層122上に電極あるいはトレース状の構造物として堆積された、例えば金(Au)などの金属を含んでいてもよい。他の実施形態では、導電性材料126に他の好適な材料を使用してもよい。
フィールドプレート124は、金属などの導電性材料で構成され、ゲート118に関連して説明した材料を含んでいてもよい。フィールドプレート124は、誘電体層122を通してゲート118に容量接続されてもよい。一部の実施形態では、フィールドプレート124とゲート118間の最短距離は1000Å〜2000Åである。フィールドプレート124は、オーバーハング領域が得られるように、図示のように、その一部分がゲート118の上部に直接形成されないようにしてゲート118の上部に形成されてもよい。一部の実施形態では、フィールドプレート124のオーバーハング領域は、ゲート118の頂部端部より距離H1だけ延在する。一部の実施形態では、距離H1は0.2〜1μであってもよい。他の実施形態では、H1は他の値であってもよい。
種々の実施形態では、ICデバイス100は高電子移動度トランジスタ(HEMT)であってもよい。一部の実施形態では、ICデバイス100はショットキーデバイスであってもよい。他の実施形態では、MIS電界効果トランジスタ(MISFET)であってもよい。一部の実施形態では、ゲート118は、例えば、Eモードスイッチデバイスのスイッチングを制御するように構成されてもよい。ICデバイス100は、無線周波数(RF)用途、ロジック用途およびまたは電力変換用途に使用されてもよい。例えば、ICデバイス100によって、例えば交流(AC)−直流(DC)変換器、DC−DC変換器、DC−AC変換器などの電力調整用途を含む電力スイッチ用途用の効果的なスイッチデバイスが提供され得る。
図3〜8は、種々の製造作業後のデバイス(例えば図2のデバイス200)を示す。図3〜8に関連して説明する方法と構成は、図1〜2に関連して説明した実施形態に適合し得、逆もまたそうである。
図3は、種々の実施形態による、基板102上への層スタック(例えばスタック101)形成後のICデバイス300の概略横断面図である。種々の実施形態では、ICデバイス300は、基板102上にバッファ層104を堆積し、バッファ層104上にバリア層106を堆積して作られてもよい。バリア層106は、バッファ層104上に堆積された第1バリア層107と、第1バリア層107上に堆積された第2バリア層108とを備えていてもよい。一部の実施形態では、例えば分子線エピタキシャル法(MBE)、原子層エピタキシャル法(ALE)、化学ビームエピタキシャル法(CBE)およびまたは有機金属化学気相蒸着法(MOCVD)などのエピタキシャル堆積プロセスを用いて、スタック101の層を堆積してもよい。他の実施形態では、他の堆積プロセスを用いてもよい。
図4は、種々の実施形態による、ソース112とドレイン114形成後のICデバイス400の概略横断面図である。種々の実施形態では、バリア層106上に(例えば、第2バリア層108上に)、ソース112とドレイン114を形成してもよい。ある実施形態では、ソース112とドレイン114が形成される領域内のバリア層106上に、例えば蒸発プロセスを用いて、1つまたは複数の金属などの材料が堆積される。ソース112とドレイン114形成のための材料は、下記の順序で堆積される金属が含まれ得る。チタン(Ti)、その後アルミニウム(Al)、その後モリブデン(Mo)、その後チタン(Ti)、その後金(Au)。該堆積材料を加熱(例えば、高速熱アニールプロセスを用いて約850℃×で約30秒間)して、この材料を貫通させて、下部のバリア層106(例えば第1バリア層107および第2バリア層108)およびまたはバッファ層104と溶融させてもよい。実施形態では、ソース112とドレイン114はそれぞれ、バリア層106を経由してバッファ層104内に延在する。ソース112およびドレイン114の厚みは1000Å〜2000Åであってもよい。他の実施形態では、ソース112とドレイン114の厚みはこれ以外であってもよい。
ソース112とドレイン114を再成長プロセスで形成し、低減された接触抵抗または低減されたオン抵抗を有するオーミックコンタクトを得てもよい。該再成長プロセスでは、ソース112とドレイン114が形成される領域において、バリア層106およびまたはバッファ層104の材料を選択的に除去(例えば、エッチング)してもよい。これらの層が選択的に除去された領域に、高濃度ドープ材料(例えばn++材料)を堆積してもよい。ソース112とドレイン114の高濃度ドープ材料は、バッファ層104またはバリア層106に使用した材料と同様の材料であってもよい。例えば、バッファ層がGaNを含むシステムでは、前記選択的に除去した領域に、シリコン(Si)で高濃度にドープされたGaN系材料を厚みが400Å〜700Åになるまでエピタキシャルに堆積してもよい。分子線エピタキシャル法(MBE)、原子層エピタキシャル法(ALE)、化学ビームエピタキシャル法(CBE)、有機金属化学気相蒸着法(MOCVD)またはこれらの好適な組み合わせによって、前記高濃度ドープ材料をエピタキシャルに堆積できる。他の実施形態では、前記高濃度ドープ材料に対して、他の材料、厚みあるいは堆積法が用いられる。例えばチタン(Ti)およびまたは金(Au)を含む1つまたは複数の金属を、例えばリフトオフプロセスを用いて1000Å〜1500Åの厚みで、該高濃度ドープ材料上に形成/堆積できる。他の実施形態では、該1つまたは複数の金属に対して、他の材料、厚みおよびまたは方法が用いられる。
一部の実施形態では、不純物(例えばシリコン)を導入してソース112とドレイン114に高濃度ドープ材料を提供する注入法を用いた注入プロセスによって、ソース112とドレイン114を形成してもよい。注入後、ソース112とドレイン114を高温(例えば1100℃〜1200℃)でアニールしてもよい。前記再成長プロセスでは、前記注入後アニールに伴う高温を好適に避け得る。
図5は、種々の実施形態による、誘電体層116の堆積およびパターン化後の集積回路(IC)デバイス500の概略横断面図である。一部の実施形態では、バリア層106上に誘電材料を堆積することにより、誘電体層116を形成してもよい。誘電体層116は例えば、窒化ケイ素(SiN)あるいは他の適切な誘電材料を含むことができ、例えば化学気相蒸着法(CVD)、物理的気相蒸着法(PVD)および(または)原子層蒸着法(ALD)などの任意の適切な堆積プロセスを用いて堆積されてもよい。例えばリソグラフィおよびまたはエッチングプロセスなどの任意の適切なプロセスを用いて誘電体層116をパターン化して、誘電体層116にゲート凹部開口部117を形成してもよい。
図6は、種々の実施形態による、バリア層106材料除去後の集積回路(IC)デバイス600の概略横断面図である。種々の実施形態では、バリア層106の材料を除去して、図示のように、ゲート凹部開口部117を形成してもよい。バリア層106に再成長構造(例えば図7の再成長構造110)がその後形成できるように、また、バリア層106にゲート(例えば図8のゲート絶縁体膜118bおよびゲート電極118a)が形成できるように、ゲート凹部開口部117を形成してもよい。
例えば、ドライ/プラズマまたはウェットエッチングプロセス(例えば時限または選択的エッチングプロセス)を含む任意の適切なプロセスを用いて、バリア層106の材料を除去してもよい。一部の実施形態では、誘電体層116は、バリア層106の材料を除去するエッチングプロセスの間、ハードマスクとして機能し得る。
一部の実施形態では、バリア層106の材料を除去して、図1に関連して説明した、例えば時限エッチングや選択的エッチングなどによって制御され得る厚みTを得てもよい。ある実施形態では、ゲート凹部開口部117の下部境界が第1バリア層107内に配置されるように、第2バリア層108の材料を除去する。すなわち、ゲート凹部開口部117は、第2バリア層108を完全に貫通してもよい。一部の実施形態では、第1バリア層107の材料を図示のように除去してもよい。一部の実施形態では、バッファ層104の材料がゲート凹部開口部117に露出しないように、第1バリア層107の材料を除去してもよい。他の実施形態では、ゲート凹部開口部117の下部境界は、第1バリア層107内には延在(例えば5Åを超えて)せずに、その上部境界に配置されていてもよい。他の実施形態では、ゲート凹部開口部117の下部境界は、第2バリア層108内に配置されていてもよい(例えば、ゲート凹部開口部117によって、第1バリア層107の材料を露出しない)。
図7は、種々の実施形態による、再成長構造110形成後の集積回路(IC)デバイス700の概略横断面図である。III族窒化物をゲート凹部開口部(例えば、図6のゲート凹部開口部117)内にエピタキシャルに堆積することによって、再成長構造110を形成してもよい。例えば、分子線エピタキシャル法(MBE)、原子層エピタキシャル法(ALE)、化学ビームエピタキシャル法(CBE)、有機金属化学気相蒸着法(MOCVD)またはこれらの好適な組み合わせによって、再成長構造110を堆積してもよい。種々の実施形態では、図1に関連して説明した低温(LT)プロセスを用いて、該堆積プロセスを行ってもよい。例えば、一実施形態では、再成長構造110は、350℃〜500℃の温度でのエピタキシャル堆積によって堆積されたGaNを含んでいてもよい。種々の実施形態では、再成長構造110の厚みは200Å以下であってもよい。再成長構造110の厚みは、バリア層106の下位にあるバッファ層104の表面に実質的に垂直な方向において、例えば25Å〜200Åであってもよい。他の実施形態では、再成長構造110の厚みおよび材料は他のものであってもよい。
一部の実施形態では、再成長構造110形成のために堆積される材料を、再成長構造110形成のために用いられる堆積プロセスの間に、誘電体層116上にキャッピング層610として堆積してもよい。一部の実施形態では、顧客に出荷されるICデバイスの最終製品中に誘電体層116およびまたはキャッピング層610が存在し得ないように、ゲート形成前に、それらの内のいずれかまたは両方を除去してもよい。
図8は、種々の実施形態による、ゲート(例えば図1のゲート118)形成後の集積回路(IC)デバイス800の概略横断面図である。該ゲートは、ゲート電極118aと、一部の実施形態では、ゲート絶縁体膜118bと、を備えていてもよい。
一部の実施形態では、誘電材料または電気絶縁材料を堆積してゲート絶縁体膜118bを形成してもよい。ゲート誘電体膜118bの材料は、例えば、窒化ケイ素(SiN)、酸化シリコン(SiO)、酸化アルミニウム(Al)およびまたは酸化ハフニウム(HfO)で構成されていてもよい。他の実施形態では、他の方法または材料を用いてゲート誘電体膜118bを形成してもよい。一部の実施形態では、ゲート誘電体膜118を全く使用しなくてもよい。
ゲート凹部開口部(例えば図6のゲート凹部開口部117)内に導電性材料を堆積することによって、ゲート電極118aを形成してもよい。ゲート絶縁体膜118bを用いる実施形態では、その上にゲート電極118aを堆積してもよい。ゲート絶縁体膜118bを用いない実施形態では、図示のように、再成長構造110およびバリア層106の表面上にゲート電極118aを堆積してもよい。例えば蒸発、原子層蒸着法(ALD)およびまたは化学気相蒸着法(CVD)を含む任意の好適な堆積プロセスによって、該導電性材料を堆積してもよい。
図9は、種々の実施形態による、集積回路デバイス(例えば、図1〜2のICデバイス100または200)の製造方法900を示すフロー図である。該方法は、図1〜8に関連して説明した方法と構成に適合していてもよい。
方法900は、902において、基板(例えば、図1の基板102)上にバッファ層(例えば、図1のバッファ層104)を形成するステップを備える。バッファ層を形成するステップは、基板上にバッファ層材料をエピタキシャルに堆積するステップを備えていてもよい。一部の実施形態では、該バッファ層を複数の層で構成してもよい。
方法900は、904において、バッファ層(例えば、図1のバッファ層104)上にバリア層(例えば、図1のバリア層106)を形成するステップをさらに備えていてもよい。バリア層を形成するステップは、バッファ層上にバリア層材料をエピタキシャルに堆積するステップを備えていてもよい。一部の実施形態では、バリア層を複数の層(例えば、図2の第1バリア層107および第2バリア層108)で構成してもよい。他の実施形態では、単独層の材料を堆積してバリア層を形成してもよい。
方法900は、906において、ソース(例えば、図1のソース112)とドレイン(例えば、図1のドレイン114)とを形成するステップをさらに備えていてもよい。一部の実施形態では、ソースとドレインはバリア層に接続され、バリア層を通ってバッファ層内に延在していてもよい。
方法900は、908において、バリア層内に再成長構造(例えば、図1の再成長構造110)を形成するステップをさらに備えていてもよい。一部の実施形態では、再成長構造を形成するステップは、バリア層の材料を除去してその中に開口部(例えば、図6のゲート凹部開口部117)を形成するステップと、該開口部内に再成長構造材料を堆積するステップとを備えていてもよい。一部の実施形態では、エピタキシャル堆積プロセスで該再成長構造を堆積してもよい。一部の実施形態では、再成長構造材料を堆積するステップは、再成長構造材料を200Å以下の厚みで堆積するステップを備える。
方法900は、910において、バリア層内にゲート端子(例えば、図1のゲート118)を形成するステップをさらに備えていてもよい。一部の実施形態では、ゲート端子を形成するステップは、バリア層の開口部内の再成長構造上にゲート絶縁体膜(例えば図8のゲート絶縁体膜118b)を堆積するステップを備える。一部の実施形態では、ゲート端子を形成するステップは、ゲート絶縁体膜上にゲート電極材料を堆積するステップ、あるいはゲート絶縁体膜を堆積しない実施形態では、バリア層の開口部内の再成長構造上にゲート電極材を堆積するステップを備える。ゲート電極をバリア層の材料に接続してショットキー接合またはMIS接合を形成してもよい。種々の実施形態では、バリア層の材料を除去してその中に開口部を形成するステップは、908におけるバリア層内に再成長構造を形成するステップの一部であってもよく、また、910におけるバリア層内にゲート端子を形成するステップの一部であってもよい。エッチングプロセスでバリア層の材料を除去して開口部を形成してもよい。
方法900は、912において、ゲート上に誘電体層(例えば、図1の誘電体層116およびまたは122)を形成するステップをさらに備えていてもよい。任意の好適な堆積プロセスによって誘電体層を堆積してもよい。種々の実施形態では、誘電体層は、ICデバイスの保護層として機能し得る。
方法900は、914において、誘電体層上にフィールドプレートを形成するステップをさらに備えていてもよい。任意の好適な堆積法を用いて導電性材料を前記誘電体層上に堆積することにより、フィールドプレートを形成してもよい。リソグラフィプロセスおよびまたはエッチングプロセスなどのパターン化プロセスを用いて前記堆積した導電性材料部分を選択的に除去して、フィールドプレートを形成できる。他の実施形態では、他の好適な方法を用いてもよい。
特許請求された主題の理解に最も有用な順番と方法で、種々の操作が複数の別個の操作として説明される。しかしながら、説明の順番は、これらの操作が必ず順番依存であることを示唆するように解釈されるべきでない。これらの操作は、特に提示の順番に行われなくてもよい。記載の実施形態と異なる順番で、記載された操作を行ってもよい。追加の実施形態では、種々の追加の操作を行ってもよく、およびまたは記載の操作を省略してもよい。
本明細書に記載のICデバイス(例えば、図1、2および8のICデバイス100、200および800)の実施形態およびこうしたICデバイスを備える装置を、他の種々の装置およびシステムに組み込んでもよい。システム例1000のブロック図を図10に示す。図示のように、システム1000は、一部の実施形態では、無線周波数(RF)電力増幅器(PA)モジュールであり得るPAモジュール1002を備える。システム1000は、図示のように、電力増幅器モジュール1002に接続されたトランシーバ1004を備えていてもよい。電力増幅器モジュール1002は、本明細書に記載のICデバイス(例えば、図1、2および8のICデバイス100、200および800)を備えていてもよい。
電力増幅器モジュール1002は、トランシーバ1004からRF入力信号(RFin)を受信してもよい。電力増幅器モジュール1002は、該RF入力信号(RFin)を増幅してRF出力信号(RFout)を出力してもよい。RF入力信号(RFin)およびRF出力信号(RFout)は、それぞれ図10のTx−RFinおよびTx−RFoutで示され、共に送信チェーンの一部であり得る。
増幅されたRF出力信号(RFout)は、アンテナスイッチモジュール(ASM)1006に与えられてもよく、このモジュールによって、アンテナ構造1008経由で、RF出力信号(RFout)の無線(OTA)送信が実現される。また、ASM1006は、アンテナ構造1008経由でRF信号を受信し、その受信RF信号(Rx)を受信チェーンに沿ってトランシーバ1004に接続し得る。
種々の実施形態では、アンテナ構造1008は、例えば、ダイポールアンテナ、モノポールアンテナ、パッチアンテナ、ループアンテナ、マイクロストリップアンテナ、あるいはRF信号のOTA送信/受信に好適な任意の他の形式のアンテナを含む指向性アンテナおよびまたは全方向性アンテナの1つまたは複数を備えていてもよい。
システム1000は、電力増幅を含む任意のシステムであってもよい。前記ICデバイス(例えば、図1、2および8のICデバイス100、200および800)によって、例えば交流(AC)−直流(DC)変換器、DC−DC変換器、DC−AC変換器などの電力調整用途を含む電力スイッチ用途用の効果的なスイッチデバイスが提供され得る。種々の実施形態では、システム1000は、高無線周波数電力と周波数における電力増幅には特に有用であり得る。システム1000は、例えば、陸上および衛星通信、レーダーシステム、および恐らく種々の産業および医学用途におけるいずれか1つまたは複数に対して好適であり得る。より具体的には、種々の実施形態において、システム1000は、レーダー装置、衛星通信装置、携帯電話、携帯電話基地局、ラジオ放送あるいはテレビ増幅器システムから選択された1つであり得る。
説明の目的で実施形態を例示し記載したが、同じ目的を実現するように意図された、広範な代替となるおよびまたは均等な実施形態あるいは実施によって、本開示の範囲を逸脱することなくこれらの実施形態を置換できる。本出願は、本明細書で検討した実施形態に対するいかなる適応や変形もカバーするように意図される。従って、本明細書に記載された実施形態は、請求項とその均等物によってのみ限定されることは明らかである。

Claims (26)

  1. 基板上に配置され、ガリウム(Ga)と窒素(N)とを含むバッファ層と、
    前記バッファ層上に配置され、窒化アルミニウムガリウム(AlGaN)の単独層で構成されるバリア層と、
    前記バリア層内に配置されて前記バリア層にエピタキシャルに接続され、窒素(N)とアルミニウム(Al)とを含み、600℃以下の温度でエピタキシャルに堆積された抵抗性再成長構造と、
    前記バリア層内に配置されたゲート端子と、を備え、
    前記抵抗性再成長構造は、前記ゲート端子と前記バッファ層間に配置され、前記バッファ層と前記ゲート端子間に絶縁層を提供することを特徴とする装置。
  2. 前記抵抗性再成長構造は、窒化アルミニウム(AlN)、窒化インジウムアルミニウム(InAlN)、窒化アルミニウムガリウム(AlGaN)または窒化インジウムガリウムアルミニウム(InGaAlN)を含むことを特徴とする請求項1に記載の装置。
  3. 前記抵抗性再成長構造と前記バッファ層間の前記バリア層の厚みは、10Å〜50Åであることを特徴とする請求項1に記載の装置。
  4. 前記抵抗性再成長構造の材料は、実質的に多結晶または非晶質であることを特徴とする請求項1に記載の装置。
  5. 前記抵抗性再成長構造のバンドギャップエネルギーは5eV以上であることを特徴とする請求項1に記載の装置。
  6. 前記抵抗性再成長構造のバンドギャップエネルギーは、第1のバンドギャップエネルギーであり、
    前記バリア層は、前記第1のバンドギャップエネルギーより小さい第2のバンドギャップエネルギーを有しており、
    前記バッファ層は、前記第2のバンドギャップエネルギーより小さい第3のバンドギャップエネルギーを有していることを特徴とする請求項5に記載の装置。
  7. 前記抵抗性再成長構造の厚みは200Å以下であることを特徴とする請求項1に記載の装置。
  8. 前記抵抗性再成長構造は、前記ゲート端子と前記バッファ層間に配置されたゲート領域における二次元電子ガス(2DEG)の形成を阻止する動作機能を有しており、
    前記ゲート端子は、エンハンスメントモード(Eモード)高電子移動度トランジスタ(HEMT)デバイスのスイッチングを制御するように構成されていることを特徴とする請求項1に記載の装置。
  9. 前記ゲート端子は、
    前記バリア層に接続されたゲート絶縁体膜と、
    前記ゲート絶縁体膜に接続され、前記バリア層の材料に接続されてショットキー接合または金属−絶縁体−半導体(MIS)接合を形成するゲート電極と、を備えることを特徴とする請求項1に記載の装置。
  10. 前記バリア層に接続されたソースと、
    前記バリア層に接続されたドレインと、をさらに備え、前記ソースと前記ドレインは、前記バリア層を通って前記バッファ層内に延在することを特徴とする請求項1に記載の装置。
  11. 前記バリア層上に配置され、前記ゲート端子の一部分を封入する誘電材料をさらに備えることを特徴とする請求項10に記載の装置。
  12. 前記ゲート端子は、T形のフィールドプレートゲートであり、
    前記ゲート端子は、ニッケル(Ni)、白金(Pt)、イリジウム(Ir)、モリブデン(Mo)または金(Au)を含むことを特徴とする請求項11に記載の装置。
  13. 前記誘電材料上に配置され、前記誘電材料を通して、前記ソースに電気的に接続され、また、前記ゲート端子に容量接続されたフィールドプレートをさらに備えることを特徴とする請求項12に記載の装置。
  14. 前記基板をさらに備え、前記基板は、シリコン(Si)、炭化ケイ素(SiC)、サファイア(Al)、窒化ガリウム(GaN)または窒化アルミニウム(AlN)を含むことを特徴とする請求項1に記載の装置。
  15. 基板上に、ガリウム(Ga)と窒素(N)とを含むバッファ層を形成するステップと、
    アルミニウム(Al)と窒素(N)とを含むバリア層を前記バッファ層上に形成するステップと、
    前記バリア層の材料を除去してその中に開口部を形成し、600℃以下の温度で、窒素(N)とアルミニウム(Al)とを含む抵抗性再成長構造を前記バリア層の開口部内に堆積することによって、前記バリア層内に抵抗性再成長構造を形成するステップと、を備えることを特徴とする方法。
  16. 前記バッファ層を形成するステップは、前記基板上にバッファ層材料をエピタキシャルに堆積するステップを備え、
    前記バリア層を形成するステップは、前記バッファ層上にバリア層材料をエピタキシャルに堆積するステップを備え、
    前記抵抗性再成長構造の材料を堆積するステップは、前記バリア層の開口部内に前記抵抗性再成長構造の材料をエピタキシャルに堆積するステップを備えることを特徴とする請求項15に記載の方法。
  17. 前記抵抗性再成長構造の材料は、窒化アルミニウム(AlN)、窒化インジウムアルミニウム(InAlN)、窒化アルミニウムガリウム(AlGaN)または窒化インジウムガリウムアルミニウム(InGaAlN)を含むことを特徴とする請求項16に記載の方法。
  18. 前記バリア層を形成するステップは、第1の層と第2の層とを含む複数の層を形成するステップを備え、
    前記第1の層は、前記バッファ層にエピタキシャルに接続され、また、窒化アルミニウム(AlN)を含んでおり、
    前記第2の層は、前記第1の層にエピタキシャルに接続され、また、窒化インジウムアルミニウム(InAlN)、窒化アルミニウムガリウム(AlGaN)または窒化インジウムガリウムアルミニウム(InGaAlN)を含んでおり、
    前記抵抗性再成長構造は、前記第1の層と前記第2の層とに物理的に直接接触していることを特徴とする請求項16に記載の方法。
  19. 前記バリア層を形成するステップは、窒化アルミニウムガリウム(AlGaN)の単独層を形成するステップを備えることを特徴とする請求項16に記載の方法。
  20. 前記バリア層の材料を除去するステップによって、前記抵抗性再成長構造と前記バッファ層間の前記バリア層の厚みが10Å〜50Åとなることを特徴とする請求項15に記載の方法。
  21. 前記抵抗性再成長構造の材料を堆積するステップは、前記抵抗性再成長構造の材料を200Å以下の厚みで堆積するステップを備えることを特徴とする請求項15に記載の方法。
  22. 前記バリア層の開口部内の前記抵抗性再成長構造上にゲート絶縁体膜の材料を堆積し、前記バリア層の材料に接続されてショットキー接合または金属−絶縁体−半導体(MIS)接合を形成するゲート電極の材料を前記ゲート絶縁体膜上に堆積することによって、前記バリア層内にゲート端子を形成するステップをさらに備えることを特徴とする請求項15に記載の方法。
  23. 前記バリア層内に前記ゲート端子を形成するステップは、
    前記バリア層の材料を除去してバリア層内に開口部を形成するステップをさらに備え、
    前記バリア層の材料を除去するステップは、エッチングプロセスで行われることを特徴とする請求項22に記載の方法。
  24. 前記抵抗性再成長構造は、前記ゲート端子と前記バッファ層間に配置されたゲート領域における二次元電子ガス(2DEG)の形成を阻止する動作機能を有しており、
    前記ゲート端子は、エンハンスメントモード(Eモード)高電子移動度トランジスタ(HEMT)デバイスのスイッチングを制御するように構成されていることを特徴とする請求項22に記載の方法。
  25. 前記バリア層に接続されたソースとドレインとを形成するステップをさらに備え、前記ソースと前記ドレインは、前記バリア層を通って前記バッファ層内に延在することを特徴とする請求項15に記載の方法。
  26. 前記バリア層上に誘電材料を堆積するステップをさらに備えることを特徴とする請求項15に記載の方法。
JP2017243108A 2012-06-27 2017-12-19 再成長構造を用いたiii族窒化物トランジスタ Expired - Fee Related JP6554530B2 (ja)

Applications Claiming Priority (2)

Application Number Priority Date Filing Date Title
US13/535,127 US8975664B2 (en) 2012-06-27 2012-06-27 Group III-nitride transistor using a regrown structure
US13/535,127 2012-06-27

Related Parent Applications (1)

Application Number Title Priority Date Filing Date
JP2013132779A Division JP6335444B2 (ja) 2012-06-27 2013-06-25 再成長構造を用いたiii族窒化物トランジスタ

Publications (2)

Publication Number Publication Date
JP2018082192A JP2018082192A (ja) 2018-05-24
JP6554530B2 true JP6554530B2 (ja) 2019-07-31

Family

ID=49754231

Family Applications (2)

Application Number Title Priority Date Filing Date
JP2013132779A Expired - Fee Related JP6335444B2 (ja) 2012-06-27 2013-06-25 再成長構造を用いたiii族窒化物トランジスタ
JP2017243108A Expired - Fee Related JP6554530B2 (ja) 2012-06-27 2017-12-19 再成長構造を用いたiii族窒化物トランジスタ

Family Applications Before (1)

Application Number Title Priority Date Filing Date
JP2013132779A Expired - Fee Related JP6335444B2 (ja) 2012-06-27 2013-06-25 再成長構造を用いたiii族窒化物トランジスタ

Country Status (4)

Country Link
US (1) US8975664B2 (ja)
JP (2) JP6335444B2 (ja)
DE (1) DE102013010487A1 (ja)
TW (1) TWI610438B (ja)

Families Citing this family (47)

* Cited by examiner, † Cited by third party
Publication number Priority date Publication date Assignee Title
JP2924064B2 (ja) 1990-03-31 1999-07-26 スズキ株式会社 パワートレイン
US7501669B2 (en) 2003-09-09 2009-03-10 Cree, Inc. Wide bandgap transistor devices with field plates
US9773877B2 (en) 2004-05-13 2017-09-26 Cree, Inc. Wide bandgap field effect transistors with source connected field plates
US11791385B2 (en) 2005-03-11 2023-10-17 Wolfspeed, Inc. Wide bandgap transistors with gate-source field plates
JP5966301B2 (ja) * 2011-09-29 2016-08-10 富士通株式会社 化合物半導体装置及びその製造方法
US9123533B2 (en) 2012-08-10 2015-09-01 Avogy, Inc. Method and system for in-situ etch and regrowth in gallium nitride based devices
US8884334B2 (en) * 2012-11-09 2014-11-11 Taiwan Semiconductor Manufacturing Co., Ltd. Composite layer stacking for enhancement mode transistor
US9171946B2 (en) * 2013-03-05 2015-10-27 Seoul Semiconductor Co., Ltd. Nitride semiconductor device and method of manufacturing the same
US9847411B2 (en) * 2013-06-09 2017-12-19 Cree, Inc. Recessed field plate transistor structures
US9755059B2 (en) 2013-06-09 2017-09-05 Cree, Inc. Cascode structures with GaN cap layers
US9679981B2 (en) * 2013-06-09 2017-06-13 Cree, Inc. Cascode structures for GaN HEMTs
KR102309747B1 (ko) * 2013-08-30 2021-10-08 고쿠리츠켄큐카이하츠호진 카가쿠기쥬츠신코키코 InGaAlN계 반도체 소자
KR102309482B1 (ko) * 2014-12-18 2021-10-07 인텔 코포레이션 N-채널 갈륨 질화물 트랜지스터들
TWI569439B (zh) * 2015-03-31 2017-02-01 晶元光電股份有限公司 半導體單元
CN106298903A (zh) * 2015-05-18 2017-01-04 中国科学院苏州纳米技术与纳米仿生研究所 二次外延p型ⅲ族氮化物实现增强型hemt的方法及增强型hemt
TWI563654B (en) * 2015-08-26 2016-12-21 Globalwafers Co Ltd Enhancement-Mode High-Electron-Mobility Transistor Structure
JP6746887B2 (ja) * 2015-09-16 2020-08-26 住友電気工業株式会社 高電子移動度トランジスタ、及び高電子移動度トランジスタの製造方法
CN105355555A (zh) * 2015-10-28 2016-02-24 中国科学院微电子研究所 一种GaN基增强型功率电子器件及其制备方法
US10068976B2 (en) * 2016-07-21 2018-09-04 Taiwan Semiconductor Manufacturing Co., Ltd. Enhancement mode field-effect transistor with a gate dielectric layer recessed on a composite barrier layer for high static performance
CN106876443A (zh) * 2017-03-03 2017-06-20 上海新傲科技股份有限公司 高击穿电压的氮化镓高电子迁移率晶体管及其形成方法
TWI661555B (zh) * 2017-12-28 2019-06-01 Nuvoton Technology Corporation 增強型高電子遷移率電晶體元件
TWI726282B (zh) * 2019-02-19 2021-05-01 世界先進積體電路股份有限公司 半導體裝置及其製造方法
CN111668302B (zh) * 2019-03-08 2023-03-14 世界先进积体电路股份有限公司 半导体装置及其制造方法
US11335797B2 (en) 2019-04-17 2022-05-17 Vanguard International Semiconductor Corporation Semiconductor devices and methods for fabricating the same
CN110676316B (zh) * 2019-09-20 2023-04-11 中国电子科技集团公司第十三研究所 增强型场效应晶体管
US11658233B2 (en) * 2019-11-19 2023-05-23 Wolfspeed, Inc. Semiconductors with improved thermal budget and process of making semiconductors with improved thermal budget
JP7262379B2 (ja) * 2019-12-16 2023-04-21 株式会社東芝 半導体装置
CN111463259B (zh) * 2020-03-10 2022-09-13 安徽长飞先进半导体有限公司 高电子迁移率场效应晶体管及其制备方法
CN111668101B (zh) * 2020-06-03 2022-07-01 西安电子科技大学 一种增强型氮化镓高电子迁移率晶体管及其制备方法
US12349390B2 (en) * 2020-06-04 2025-07-01 Mitsubishi Electric Corporation Semiconductor device
JP2023539318A (ja) * 2020-08-28 2023-09-13 華為技術有限公司 基板および電力増幅コンポーネント
US11502178B2 (en) 2020-10-27 2022-11-15 Wolfspeed, Inc. Field effect transistor with at least partially recessed field plate
US12408403B2 (en) 2020-10-27 2025-09-02 Macom Technology Solutions Holdings, Inc. Field effect transistor with stacked unit subcell structure
US12266721B2 (en) 2020-10-27 2025-04-01 Wolfspeed, Inc. Field effect transistor with multiple stepped field plate
US11658234B2 (en) * 2020-10-27 2023-05-23 Wolfspeed, Inc. Field effect transistor with enhanced reliability
US11749726B2 (en) 2020-10-27 2023-09-05 Wolfspeed, Inc. Field effect transistor with source-connected field plate
WO2022124868A1 (ko) * 2020-12-11 2022-06-16 경북대학교 산학협력단 고전자이동도 트랜지스터 및 그 제조방법
US12261168B2 (en) 2021-02-16 2025-03-25 Efficient Power Conversion Corporation Gate metal-insulator-field plate metal integrated circuit capacitor and method of forming the same
CN113113478B (zh) * 2021-03-01 2022-10-04 西安电子科技大学 基于欧姆再生长的GaN基射频功率器件及其制备方法
US11581448B2 (en) * 2021-04-01 2023-02-14 Raytheon Company Photoconductive semiconductor switch laterally fabricated alongside GaN on Si field effect transistors
KR20230000718A (ko) * 2021-06-25 2023-01-03 삼성전자주식회사 고전자이동도 트랜지스터 및 그 제조 방법
KR102568798B1 (ko) * 2021-07-13 2023-08-21 삼성전자주식회사 고전자 이동도 트랜지스터
US12218202B2 (en) * 2021-09-16 2025-02-04 Wolfspeed, Inc. Semiconductor device incorporating a substrate recess
JP7739982B2 (ja) * 2021-11-30 2025-09-17 富士通株式会社 半導体装置
KR102535264B1 (ko) * 2021-12-09 2023-05-26 울산대학교 산학협력단 고전자 이동성 트랜지스터의 제조방법
WO2023239942A1 (en) * 2022-06-10 2023-12-14 The Board Of Trustees Of The Leland Stanford Junior University Passivation and high temperature oxidation of iridium oxide schottky contacts for iii-nitride devices
US20250142860A1 (en) * 2023-10-30 2025-05-01 Globalfoundries U.S. Inc. High electron mobility transistor with regrown barrier structure

Family Cites Families (28)

* Cited by examiner, † Cited by third party
Publication number Priority date Publication date Assignee Title
US5915164A (en) 1995-12-28 1999-06-22 U.S. Philips Corporation Methods of making high voltage GaN-A1N based semiconductor devices
EP1421626A2 (en) * 2001-08-07 2004-05-26 Jan Kuzmik High electron mobility devices
JP2006032552A (ja) 2004-07-14 2006-02-02 Toshiba Corp 窒化物含有半導体装置
US7238560B2 (en) 2004-07-23 2007-07-03 Cree, Inc. Methods of fabricating nitride-based transistors with a cap layer and a recessed gate
JP2006286698A (ja) * 2005-03-31 2006-10-19 Furukawa Electric Co Ltd:The 電子デバイス及び電力変換装置
EP1938385B1 (en) * 2005-09-07 2014-12-03 Cree, Inc. Transistors with fluorine treatment
JP5100002B2 (ja) * 2005-12-14 2012-12-19 新日本無線株式会社 窒化物半導体装置
JP5087240B2 (ja) * 2006-06-28 2012-12-05 新日本無線株式会社 窒化物半導体装置の製造方法
JP2008124374A (ja) * 2006-11-15 2008-05-29 Sharp Corp 絶縁ゲート電界効果トランジスタ
JP2008153330A (ja) * 2006-12-15 2008-07-03 Oki Electric Ind Co Ltd 窒化物半導体高電子移動度トランジスタ
JP2008270794A (ja) 2007-03-29 2008-11-06 Matsushita Electric Ind Co Ltd 半導体装置及びその製造方法
JP2008288405A (ja) * 2007-05-18 2008-11-27 Nippon Telegr & Teleph Corp <Ntt> ヘテロ構造電界効果トランジスタ
TWI512831B (zh) * 2007-06-01 2015-12-11 Univ California 氮化鎵p型/氮化鋁鎵/氮化鋁/氮化鎵增強型場效電晶體
JP2008306130A (ja) * 2007-06-11 2008-12-18 Sanken Electric Co Ltd 電界効果型半導体装置及びその製造方法
US7795642B2 (en) * 2007-09-14 2010-09-14 Transphorm, Inc. III-nitride devices with recessed gates
US20090072269A1 (en) * 2007-09-17 2009-03-19 Chang Soo Suh Gallium nitride diodes and integrated components
JP2009231396A (ja) * 2008-03-19 2009-10-08 Sumitomo Chemical Co Ltd 半導体装置および半導体装置の製造方法
US7985986B2 (en) * 2008-07-31 2011-07-26 Cree, Inc. Normally-off semiconductor devices
JP2010103478A (ja) * 2008-09-25 2010-05-06 Panasonic Corp 窒化物半導体装置及びその製造方法
US8754496B2 (en) 2009-04-14 2014-06-17 Triquint Semiconductor, Inc. Field effect transistor having a plurality of field plates
WO2010151721A1 (en) 2009-06-25 2010-12-29 The Government Of The United States Of America, As Represented By The Secretary Of The Navy Transistor with enhanced channel charge inducing material layer and threshold voltage control
JP2011082216A (ja) * 2009-10-02 2011-04-21 Fujitsu Ltd 化合物半導体装置及びその製造方法
US8748244B1 (en) * 2010-01-13 2014-06-10 Hrl Laboratories, Llc Enhancement and depletion mode GaN HMETs on the same substrate
JP2011187623A (ja) * 2010-03-08 2011-09-22 Furukawa Electric Co Ltd:The 半導体素子、および半導体素子の製造方法
US20110241020A1 (en) * 2010-03-31 2011-10-06 Triquint Semiconductor, Inc. High electron mobility transistor with recessed barrier layer
KR102065115B1 (ko) * 2010-11-05 2020-01-13 삼성전자주식회사 E-모드를 갖는 고 전자 이동도 트랜지스터 및 그 제조방법
KR20130004760A (ko) * 2011-07-04 2013-01-14 삼성전자주식회사 파워소자 및 이의 제조방법
CN104011867B (zh) 2011-12-23 2016-12-07 英特尔公司 用于栅极凹进晶体管的iii-n材料结构

Also Published As

Publication number Publication date
JP2018082192A (ja) 2018-05-24
US20140001478A1 (en) 2014-01-02
JP6335444B2 (ja) 2018-05-30
DE102013010487A1 (de) 2014-01-02
US8975664B2 (en) 2015-03-10
TW201405823A (zh) 2014-02-01
JP2014011462A (ja) 2014-01-20
TWI610438B (zh) 2018-01-01

Similar Documents

Publication Publication Date Title
JP6554530B2 (ja) 再成長構造を用いたiii族窒化物トランジスタ
US9054167B2 (en) High electron mobility transistor structure and method
US10522647B2 (en) Sidewall passivation for HEMT devices
US20130320349A1 (en) In-situ barrier oxidation techniques and configurations
JP2013247363A (ja) 電荷誘導層を有するiii族窒化物トランジスタ
US20130099284A1 (en) Group iii-nitride metal-insulator-semiconductor heterostructure field-effect transistors
US9112010B2 (en) Nitride-based semiconductor device
US20130256679A1 (en) High electron mobility transistor and method of forming the same
US10032875B2 (en) Semiconductor device and method for manufacturing the semiconductor device
US12062715B2 (en) HEMT transistor with adjusted gate-source distance, and manufacturing method thereof
JP6510815B2 (ja) ドープされた窒化ガリウム高電子移動度トランジスタ
JP6279294B2 (ja) フッ化物系または塩化物系化合物を含むゲート誘電体を備えたiii族窒化物系トランジスタ
KR20110067512A (ko) 인헨스먼트 노멀리 오프 질화물 반도체 소자 및 그 제조방법
US20240347629A1 (en) High-power component based on iii nitride compound semiconductors, intermediate product and process for production of a high-power component

Legal Events

Date Code Title Description
A131 Notification of reasons for refusal

Free format text: JAPANESE INTERMEDIATE CODE: A131

Effective date: 20180918

A977 Report on retrieval

Free format text: JAPANESE INTERMEDIATE CODE: A971007

Effective date: 20180913

A521 Request for written amendment filed

Free format text: JAPANESE INTERMEDIATE CODE: A523

Effective date: 20181115

A131 Notification of reasons for refusal

Free format text: JAPANESE INTERMEDIATE CODE: A131

Effective date: 20190319

A521 Request for written amendment filed

Free format text: JAPANESE INTERMEDIATE CODE: A523

Effective date: 20190322

TRDD Decision of grant or rejection written
A01 Written decision to grant a patent or to grant a registration (utility model)

Free format text: JAPANESE INTERMEDIATE CODE: A01

Effective date: 20190618

A61 First payment of annual fees (during grant procedure)

Free format text: JAPANESE INTERMEDIATE CODE: A61

Effective date: 20190708

R150 Certificate of patent or registration of utility model

Ref document number: 6554530

Country of ref document: JP

Free format text: JAPANESE INTERMEDIATE CODE: R150

R250 Receipt of annual fees

Free format text: JAPANESE INTERMEDIATE CODE: R250

LAPS Cancellation because of no payment of annual fees