JP6271228B2 - 端子への電線の圧着方法 - Google Patents

端子への電線の圧着方法 Download PDF

Info

Publication number
JP6271228B2
JP6271228B2 JP2013242919A JP2013242919A JP6271228B2 JP 6271228 B2 JP6271228 B2 JP 6271228B2 JP 2013242919 A JP2013242919 A JP 2013242919A JP 2013242919 A JP2013242919 A JP 2013242919A JP 6271228 B2 JP6271228 B2 JP 6271228B2
Authority
JP
Japan
Prior art keywords
electric wire
crimping
terminal
barrel
wire
Prior art date
Legal status (The legal status is an assumption and is not a legal conclusion. Google has not performed a legal analysis and makes no representation as to the accuracy of the status listed.)
Active
Application number
JP2013242919A
Other languages
English (en)
Other versions
JP2015103393A (ja
Inventor
豊 寺坂
豊 寺坂
Current Assignee (The listed assignees may be inaccurate. Google has not performed a legal analysis and makes no representation or warranty as to the accuracy of the list.)
Yazaki Corp
Original Assignee
Yazaki Corp
Priority date (The priority date is an assumption and is not a legal conclusion. Google has not performed a legal analysis and makes no representation as to the accuracy of the date listed.)
Filing date
Publication date
Application filed by Yazaki Corp filed Critical Yazaki Corp
Priority to JP2013242919A priority Critical patent/JP6271228B2/ja
Priority to DE112014005350.3T priority patent/DE112014005350T5/de
Priority to CN201480063980.8A priority patent/CN105765789B/zh
Priority to PCT/JP2014/080065 priority patent/WO2015076177A1/ja
Publication of JP2015103393A publication Critical patent/JP2015103393A/ja
Priority to US15/154,080 priority patent/US20160254603A1/en
Application granted granted Critical
Publication of JP6271228B2 publication Critical patent/JP6271228B2/ja
Active legal-status Critical Current
Anticipated expiration legal-status Critical

Links

Images

Classifications

    • HELECTRICITY
    • H01ELECTRIC ELEMENTS
    • H01RELECTRICALLY-CONDUCTIVE CONNECTIONS; STRUCTURAL ASSOCIATIONS OF A PLURALITY OF MUTUALLY-INSULATED ELECTRICAL CONNECTING ELEMENTS; COUPLING DEVICES; CURRENT COLLECTORS
    • H01R4/00Electrically-conductive connections between two or more conductive members in direct contact, i.e. touching one another; Means for effecting or maintaining such contact; Electrically-conductive connections having two or more spaced connecting locations for conductors and using contact members penetrating insulation
    • H01R4/10Electrically-conductive connections between two or more conductive members in direct contact, i.e. touching one another; Means for effecting or maintaining such contact; Electrically-conductive connections having two or more spaced connecting locations for conductors and using contact members penetrating insulation effected solely by twisting, wrapping, bending, crimping, or other permanent deformation
    • H01R4/18Electrically-conductive connections between two or more conductive members in direct contact, i.e. touching one another; Means for effecting or maintaining such contact; Electrically-conductive connections having two or more spaced connecting locations for conductors and using contact members penetrating insulation effected solely by twisting, wrapping, bending, crimping, or other permanent deformation by crimping
    • H01R4/183Electrically-conductive connections between two or more conductive members in direct contact, i.e. touching one another; Means for effecting or maintaining such contact; Electrically-conductive connections having two or more spaced connecting locations for conductors and using contact members penetrating insulation effected solely by twisting, wrapping, bending, crimping, or other permanent deformation by crimping for cylindrical elongated bodies, e.g. cables having circular cross-section
    • H01R4/184Electrically-conductive connections between two or more conductive members in direct contact, i.e. touching one another; Means for effecting or maintaining such contact; Electrically-conductive connections having two or more spaced connecting locations for conductors and using contact members penetrating insulation effected solely by twisting, wrapping, bending, crimping, or other permanent deformation by crimping for cylindrical elongated bodies, e.g. cables having circular cross-section comprising a U-shaped wire-receiving portion
    • H01R4/185Electrically-conductive connections between two or more conductive members in direct contact, i.e. touching one another; Means for effecting or maintaining such contact; Electrically-conductive connections having two or more spaced connecting locations for conductors and using contact members penetrating insulation effected solely by twisting, wrapping, bending, crimping, or other permanent deformation by crimping for cylindrical elongated bodies, e.g. cables having circular cross-section comprising a U-shaped wire-receiving portion combined with a U-shaped insulation-receiving portion
    • HELECTRICITY
    • H01ELECTRIC ELEMENTS
    • H01RELECTRICALLY-CONDUCTIVE CONNECTIONS; STRUCTURAL ASSOCIATIONS OF A PLURALITY OF MUTUALLY-INSULATED ELECTRICAL CONNECTING ELEMENTS; COUPLING DEVICES; CURRENT COLLECTORS
    • H01R43/00Apparatus or processes specially adapted for manufacturing, assembling, maintaining, or repairing of line connectors or current collectors or for joining electric conductors
    • H01R43/04Apparatus or processes specially adapted for manufacturing, assembling, maintaining, or repairing of line connectors or current collectors or for joining electric conductors for forming connections by deformation, e.g. crimping tool
    • H01R43/048Crimping apparatus or processes
    • H01R43/05Crimping apparatus or processes with wire-insulation stripping
    • HELECTRICITY
    • H01ELECTRIC ELEMENTS
    • H01RELECTRICALLY-CONDUCTIVE CONNECTIONS; STRUCTURAL ASSOCIATIONS OF A PLURALITY OF MUTUALLY-INSULATED ELECTRICAL CONNECTING ELEMENTS; COUPLING DEVICES; CURRENT COLLECTORS
    • H01R43/00Apparatus or processes specially adapted for manufacturing, assembling, maintaining, or repairing of line connectors or current collectors or for joining electric conductors
    • H01R43/28Apparatus or processes specially adapted for manufacturing, assembling, maintaining, or repairing of line connectors or current collectors or for joining electric conductors for wire processing before connecting to contact members, not provided for in groups H01R43/02 - H01R43/26

Landscapes

  • Engineering & Computer Science (AREA)
  • Manufacturing & Machinery (AREA)
  • Connections Effected By Soldering, Adhesion, Or Permanent Deformation (AREA)
  • Manufacturing Of Electrical Connectors (AREA)
  • Processing Of Terminals (AREA)

Description

本発明は、端子への電線の圧着方法に関する。
従来、端子への電線の圧着方法としては、下記の特許文献1に示す方法が開示されている。特許文献1では、被覆電線の芯線及び被覆の前端を端子金具で加締めている。インシュレーションバレルの一対の突片は、前後にずれて形成されており、前側にずれた突片の前端からは押さえ片が前方に突出している。押さえ片は、被覆21の前縁の前方までを覆い、被覆の前縁の跳ね上がりを防止している。
特開平11−219735号公報
上記従来の端子への電線の圧着方法では、押さえ片により目視で被覆状体を確認できないため、端子金具に確認窓を設ける必要があった。
本発明は斯かる課題に鑑みてなされたもので、上記課題を解決できる端子への電線の圧着方法を提供することを目的とする。
このような目的を達成するために、本発明の端子への電線の圧着方法は、端子への電線の圧着方法であって、被覆の一部が剥ぎ取られて芯線を露出された電線において、残っている被覆の先端を全周に亘って先細りに加工し、前記先細り部分の一方の端部であって、前記芯線が露出された側の端部をバレルから露出するように配置し、前記先細り部分の前記芯線側と反対側の端部である前記先細り部分の境界が、前記端子のバレル内に収まるように、前記電線を前記バレル内に配置し、前記電線を前記端子に圧着することを特徴とする
また、本発明は、前記被覆の先端を全周に亘って段付き形状に加工することによって前記先細り部分を形成することを特徴とする。
また、本発明は、前記被覆の先端を全周に亘って円錐形状に加工することによって前記先細り部分を形成することを特徴とする。
本発明の端子へ電線を圧着して電線付き端子を製造する方法は、被覆の一部が剥ぎ取られて芯線を露出された電線において、残っている被覆の先端を全周に亘って先細りに加工し、前記先細り部分の一方の端部であって、前記芯線が露出された側の端部をバレルから露出するように配置し、前記先細り部分の前記芯線側と反対側の端部である前記先細り部分の境界が、前記端子のバレル内に収まるように、前記電線を前記バレル内に配置し、前記電線を前記端子に圧着することを特徴とする。
本発明によれば、被覆の先端を全周に亘って先細りに加工するという簡単な構成で、バレルからの被覆の飛び出しを防止できる。
本発明の一実施形態の端子への電線の圧着構造を示す図である。 図1の圧着端子金具に電線を圧着する方法を示す第1の図である。 図1の圧着端子金具に電線を圧着する方法を示す第2の図である。 図1の圧着端子金具に電線を圧着する方法を示す第3の図である。 図1の圧着端子金具に電線を圧着する方法を示す第4の図である。 図1の圧着端子金具に電線を圧着する方法を示す第5の図である。 圧着端子金具に電線を圧着する従来の方法を示す図である。 図1の電線の変形例を示す図である。
以下、図面を参照して、本発明の一実施形態を説明する。
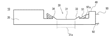
なお、図1は、本実施形態の端子への電線の圧着構造を示す図であり、(a)は平面図,(b)は側面図である。
本実施形態の端子への電線の圧着構造は、図1に示すように、圧着端子金具10で電線90を加締めて構成されている。
圧着端子金具10は、導電性の基板を打ち抜き折り曲げ加工して形成されており、電気接触部20と、芯線バレル30と、電線バレル40とで構成されている。
電気接触部20は、長手方向の一側(図示左側)が開口となった箱状の雌型である。電気接触部20には、雄型の圧着端子金具の電気接触部が挿入される。
電線バレル40は、電線90の被覆92が収容された状態で、端子圧着機により加締められ、被覆92と圧着している。
また、芯線バレル30は、電気接触部20と電線バレル40の間に形成されている。芯線バレル30は、電線90の被覆92が剥ぎ取られた芯線91が収容された状態で、端子圧着機により加締められ、芯線91と圧着している。
芯線バレル30の圧着片31の中央部分は、上面が略水平に形成された完全圧縮部31aとなっている。完全圧縮部31aでは、芯線91が圧着片31に加締められて完全な圧縮状態となっている。完全圧縮部31aの両側には、余肉部である後ベルマウス部33及び前ベルマウス部34が形成されている。
後ベルマウス部33及び前ベルマウス部34は、芯線バレル30の圧着片31が端子圧着機で完全に加締められていない部分であり、圧着片31で芯線91が完全に圧縮されていない状態となっている。このため、後ベルマウス部33及び前ベルマウス部34では、芯線バレル30の圧着片31の後側部分及び前側部分の上面が完全圧縮部31aから上方に延びている。前ベルマウス部34からは、芯線91の先端部分が上方に向けて斜めに延びている。
電千バレル40の圧着片41は、端子圧着機で全体が完全に加締められており、圧着片41で被覆92が芯線91と共に完全に圧縮された状態となっている。このため、電線バレル40では、圧着片41で締め付けられた被覆92が変形し、圧着片41から突出した部分に余肉部が形成されている。被覆92の先端が全周に亘って円錐形状92aに加工されていることから、電線バレル40先端から突出した被覆92の長さは、圧着片41の上下方向の中央部から上面側にかけて徐々に短くなる。
次に、圧着端子金具10に電線90を圧着して、端子への電線の圧着構造を形成する方法について説明する。
圧着端子金具10に電線90を圧着する際には、まず、図2に示すように、電線90の先端の被覆92を剥ぎ取って芯線91の皮むきをし、被覆92の先端を全周に亘って円錐形状に加工する。この加工は、被覆92の皮むきされた先端の円錐形状92aが、被覆92の軸線方向に対して傾斜するように、被覆92の先端を切断することで行われる。
次に電線90の被覆92が剥ぎ取られた芯線91が芯線バレル30に収容されるよう、電線90を電線バレル40内に配置する。このとき、被覆92の先端の円錐形状92aの端部が芯線バレル30内に収まるようにする。
続いて、図3に示すように、芯線バレル30の圧着片31を、端子圧着機の上圧着型81と下圧着型82との間に配置し、上圧着型81と下圧着型82とで芯線バレル30を加締める。上圧着型81は、圧着面85の前後の端部にテーパ部83,84が設けられている。一方、下圧着型82は、圧着面86が面一に形成されている。
このため、上圧着型81と下圧着型82とで芯線バレル30が加締められると、図4に示すように、圧着片31には上述の後ベルマウス部33及び前ベルマウス部34が形成される。また、図4に示すように、芯線91の先端が屈曲して前ベルマウス部34から斜め上方に延びる。
続いて、図5に示すように、電線バレル40の圧着片41を、端子圧着機の上圧着型87と下圧着型88との間に配置し、上圧着型87と下圧着型88とで電線バレル40を加締める。上圧着型87と下圧着型88とで電線バレル40が加締められると、図6に示すように、圧着片41で締め付けられた被覆92が変形し、圧着片41から突出した部分かに余肉部が形成される。
全ての芯線91の先端が揃えて加工されている場合には、図7に示すように、前ベルマウス部34先端から突出した芯線91が、前ベルマウス部34の高さを超えて延びてしまう。
しかしながら、本実施形態では、被覆92の先端が全周に亘って円錐形状に加工されていることから、電線90がどの方向を向いていても、図6に示すように、電線バレル40先端から突出した被覆92の長さは、圧着片41の上下方向の中央部から上面側にかけて徐々に短くなる。
本実施形態によれば、電線90の皮むきされた被覆92の先端が全周に亘って円錐形状に加工されているので、電線90がどの方向を向いていても芯線バレル30からの被覆92の飛び出しを防止できる。このため、圧着端子金具10への電線90の圧着作業を容易にすることができる。この結果、電線90の皮むきされた被覆92の先端を全周に亘って先細りに加工するという簡単な構成で、電線バレル40からの被覆92の飛び出しを防止できる。
また、本実施形態によれば、端子キャビティと被覆92との緩衝を抑えられ、端子キャビティ内に圧着端子金具10をスムーズに挿入できる。また、クリンプハイトを最適値とすることもできる。
なお、上記実施形態では、被覆92の先端の円錐形状92aが、被覆92の軸線方向に対して傾斜している場合について説明した。しかしながら、電線90の皮むきされた芯線91の先端が全周に亘って円錐形状に加工されているのであれば、円錐形状92aの傾斜角度は任意である。
また、上記実施形態では、被覆92の先端の円錐形状92aの端部が圧着端子金具10の電線バレル40内に収まるよう、電線90を電線バレル40内に配置した場合について説明した。しかしながら、電線90は、必ずしも芯線91の先端の円錐形状92aの端部が圧着端子金具10の電線バレル40内に収まるよう配置する必要はなく、芯線91の先端の円錐形状92aの端部が電線バレル40の外側に位置していてもよい。
また、上記実施形態では、電線90の皮むきされた被覆92の先端を全周に亘って円錐形状に加工した場合について説明したが、電線90の皮むきされた被覆92の先端が全周に亘って先細りに加工されているのであれば、その形状は任意である。例えば、図8に示すように、電線90の皮むきされた被覆92の先端を全周に亘って段付き形状に加工してもよい。
この構成によっても、電線90がどの方向を向いていても、電線バレル40先端から突出した芯線91の長さが、圧着片31の上下方向の中央部よりも上面側が短くなるので、電線90がどの方向を向いていても電線バレル40からの被覆92の飛び出しを防止できる。このため、圧着端子金具10への電線90の圧着作業を容易にすることができる。
10 圧着端子金具
20 電気接触部
30 芯線バレル
31 圧着片
31a 完全圧縮部
33 後ベルマウス部
34 前ベルマウス部
40 電線バレル
41 圧着片
81 上圧着型
82 下圧着型
83,84 テーパ部
85 圧着面
86 圧着面
87 上圧着型
88 下圧着型
90 電線
91 芯線
92 被覆
92a 円錐形状

Claims (4)

  1. 端子への電線の圧着方法であって、
    被覆の一部が剥ぎ取られて芯線を露出された電線において、残っている被覆の先端を全周に亘って先細りに加工し、
    前記先細り部分の一方の端部であって、前記芯線が露出された側の端部をバレルから露出するように配置し、
    前記先細り部分の前記芯線側と反対側の端部である前記先細り部分の境界が、前記端子のバレル内に収まるように、前記電線を前記バレル内に配置し、
    前記電線を前記端子に圧着することを特徴とする端子への電線の圧着方法。
  2. 前記被覆の先端を全周に亘って段付き形状に加工することによって前記先細り部分を形成することを特徴とする請求項1に記載の端子への電線の圧着方法。
  3. 前記被覆の先端を全周に亘って円錐形状に加工することによって前記先細り部分を形成することを特徴とする請求項1に記載の端子への電線の圧着方法。
  4. 端子へ電線を圧着して電線付き端子を製造する方法であって、
    被覆の一部が剥ぎ取られて芯線を露出された電線において、残っている被覆の先端を全周に亘って先細りに加工し、
    前記先細り部分の一方の端部であって、前記芯線が露出された側の端部をバレルから露出するように配置し、
    前記先細り部分の前記芯線側と反対側の端部である前記先細り部分の境界が、前記端子のバレル内に収まるように、前記電線を前記バレル内に配置し、
    前記電線を前記端子に圧着することを特徴とする電線付き端子を製造する方法。
JP2013242919A 2013-11-25 2013-11-25 端子への電線の圧着方法 Active JP6271228B2 (ja)

Priority Applications (5)

Application Number Priority Date Filing Date Title
JP2013242919A JP6271228B2 (ja) 2013-11-25 2013-11-25 端子への電線の圧着方法
DE112014005350.3T DE112014005350T5 (de) 2013-11-25 2014-11-13 Elektrische Leitung mit einem Anschluss und Herstellungsverfahren für elektrische Leitung mit Anschluss
CN201480063980.8A CN105765789B (zh) 2013-11-25 2014-11-13 具有端子的电线和具有端子的电线的制造方法
PCT/JP2014/080065 WO2015076177A1 (ja) 2013-11-25 2014-11-13 端子付き電線及び端子付き電線の製造方法
US15/154,080 US20160254603A1 (en) 2013-11-25 2016-05-13 Electric wire with terminal and manufacturing method for electric wire with terminal

Applications Claiming Priority (1)

Application Number Priority Date Filing Date Title
JP2013242919A JP6271228B2 (ja) 2013-11-25 2013-11-25 端子への電線の圧着方法

Publications (2)

Publication Number Publication Date
JP2015103393A JP2015103393A (ja) 2015-06-04
JP6271228B2 true JP6271228B2 (ja) 2018-01-31

Family

ID=53179443

Family Applications (1)

Application Number Title Priority Date Filing Date
JP2013242919A Active JP6271228B2 (ja) 2013-11-25 2013-11-25 端子への電線の圧着方法

Country Status (5)

Country Link
US (1) US20160254603A1 (ja)
JP (1) JP6271228B2 (ja)
CN (1) CN105765789B (ja)
DE (1) DE112014005350T5 (ja)
WO (1) WO2015076177A1 (ja)

Families Citing this family (5)

* Cited by examiner, † Cited by third party
Publication number Priority date Publication date Assignee Title
JP6674433B2 (ja) * 2017-11-28 2020-04-01 矢崎総業株式会社 端子付き電線および端子付き電線の製造方法
JP6709818B2 (ja) 2018-03-29 2020-06-17 矢崎総業株式会社 端子付き電線
JP2019212458A (ja) * 2018-06-04 2019-12-12 矢崎総業株式会社 端子付き電線および端子付き電線の製造方法
JP7111784B2 (ja) * 2020-09-11 2022-08-02 矢崎総業株式会社 雌端子の製造方法
DE102021127516A1 (de) * 2020-11-19 2022-05-19 Yazaki Corporation Elektroleitung mit Anschluss und Anschluss-Crimpvorrichtung

Family Cites Families (12)

* Cited by examiner, † Cited by third party
Publication number Priority date Publication date Assignee Title
JPS56115889U (ja) * 1980-02-06 1981-09-05
DE19902034A1 (de) * 1999-01-20 2000-07-27 Continental Teves Ag & Co Ohg Hydraulikaggregat mit Steckverbindung
JP2005124379A (ja) * 2003-10-17 2005-05-12 Tomoya Sekiguchi 同軸ケーブル接続部形状及びその加工方法
EP2151891A1 (en) * 2008-08-06 2010-02-10 Sumitomo Wiring Systems, Ltd. A terminal fitting and a method of forming it
JP2010049896A (ja) * 2008-08-20 2010-03-04 Sumitomo Wiring Syst Ltd コネクタ
JP5195230B2 (ja) * 2008-09-26 2013-05-08 住友電装株式会社 端子金具付き電線
JP5375687B2 (ja) * 2010-03-15 2013-12-25 株式会社オートネットワーク技術研究所 端子金具、及び端子金具付き電線
TWI403880B (zh) * 2010-11-30 2013-08-01 Inventec Corp 伺服器
JP2012134096A (ja) * 2010-12-24 2012-07-12 Sumitomo Wiring Syst Ltd 端子金具
JP5601233B2 (ja) * 2011-02-07 2014-10-08 住友電装株式会社 端子金具
JP2013149598A (ja) * 2011-12-21 2013-08-01 Auto Network Gijutsu Kenkyusho:Kk 端子、及び端子付き電線の製造方法
JP5914942B2 (ja) * 2012-07-30 2016-05-11 矢崎総業株式会社 端子付きアルミ電線

Also Published As

Publication number Publication date
DE112014005350T5 (de) 2016-08-18
CN105765789B (zh) 2018-05-29
WO2015076177A1 (ja) 2015-05-28
US20160254603A1 (en) 2016-09-01
CN105765789A (zh) 2016-07-13
JP2015103393A (ja) 2015-06-04

Similar Documents

Publication Publication Date Title
JP5374208B2 (ja) 圧着端子金具
JP5884986B2 (ja) 圧着端子付きアルミ電線
JP6422240B2 (ja) 接続構造体、ワイヤハーネス、及びコネクタ
JP5606127B2 (ja) 圧着端子の電線に対する接続構造
JP5920284B2 (ja) 端子付電線
JP6271228B2 (ja) 端子への電線の圧着方法
US20150364835A1 (en) Method of manufacturing connection structural body, connection structural body, wire harness, crimping member and crimping device
JP2014187039A5 (ja)
JP2013105583A (ja) コネクタ端子の接続構造及び接続方法
JP6421737B2 (ja) 端子付き電線の製造方法、圧着冶具、および端子付き電線
CN110323581A (zh) 带端子的电线
US20180138600A1 (en) Terminal and terminal-equipped electric wire
CN100394514C (zh) 扁形电缆
JP2015106548A (ja) 端子への電線の圧着方法
WO2014142155A1 (ja) 防食端子、防食端子付き電線、および防食端子付き電線の製造方法
JP2009054549A (ja) 端子付電線及びその製造方法
JP6519440B2 (ja) 端子付き電線の製造方法、および圧着治具
JP2009272240A (ja) 端子付き電線
EP2658035B1 (en) Terminal manufacturing method and board connector
CN114865339A (zh) 压接端子与电线的连接结构
JP2014164869A (ja) ワイヤハーネス
JP7074399B2 (ja) 端子圧着方法
JP6302390B2 (ja) 端子付電線
JP2018073768A (ja) 接続端子
WO2016167120A1 (ja) 端子および端子付き電線

Legal Events

Date Code Title Description
A621 Written request for application examination

Free format text: JAPANESE INTERMEDIATE CODE: A621

Effective date: 20161020

A131 Notification of reasons for refusal

Free format text: JAPANESE INTERMEDIATE CODE: A131

Effective date: 20170620

A521 Request for written amendment filed

Free format text: JAPANESE INTERMEDIATE CODE: A523

Effective date: 20170727

TRDD Decision of grant or rejection written
A01 Written decision to grant a patent or to grant a registration (utility model)

Free format text: JAPANESE INTERMEDIATE CODE: A01

Effective date: 20171212

A61 First payment of annual fees (during grant procedure)

Free format text: JAPANESE INTERMEDIATE CODE: A61

Effective date: 20171227

R150 Certificate of patent or registration of utility model

Ref document number: 6271228

Country of ref document: JP

Free format text: JAPANESE INTERMEDIATE CODE: R150

R250 Receipt of annual fees

Free format text: JAPANESE INTERMEDIATE CODE: R250

R250 Receipt of annual fees

Free format text: JAPANESE INTERMEDIATE CODE: R250

R250 Receipt of annual fees

Free format text: JAPANESE INTERMEDIATE CODE: R250

S531 Written request for registration of change of domicile

Free format text: JAPANESE INTERMEDIATE CODE: R313531

R350 Written notification of registration of transfer

Free format text: JAPANESE INTERMEDIATE CODE: R350

R250 Receipt of annual fees

Free format text: JAPANESE INTERMEDIATE CODE: R250

R250 Receipt of annual fees

Free format text: JAPANESE INTERMEDIATE CODE: R250