JP6263777B2 - 光書き込み装置および画像形成装置 - Google Patents
光書き込み装置および画像形成装置 Download PDFInfo
- Publication number
- JP6263777B2 JP6263777B2 JP2015097892A JP2015097892A JP6263777B2 JP 6263777 B2 JP6263777 B2 JP 6263777B2 JP 2015097892 A JP2015097892 A JP 2015097892A JP 2015097892 A JP2015097892 A JP 2015097892A JP 6263777 B2 JP6263777 B2 JP 6263777B2
- Authority
- JP
- Japan
- Prior art keywords
- time
- light emitting
- group
- temperature
- emitting elements
- Prior art date
- Legal status (The legal status is an assumption and is not a legal conclusion. Google has not performed a legal analysis and makes no representation as to the accuracy of the status listed.)
- Active
Links
- 230000003287 optical effect Effects 0.000 title claims description 39
- 238000004364 calculation method Methods 0.000 claims description 29
- 230000020169 heat generation Effects 0.000 claims description 25
- 238000010438 heat treatment Methods 0.000 claims description 13
- 238000009499 grossing Methods 0.000 claims description 3
- 238000012546 transfer Methods 0.000 description 29
- 238000000034 method Methods 0.000 description 20
- 239000000758 substrate Substances 0.000 description 14
- 230000002093 peripheral effect Effects 0.000 description 13
- 238000012937 correction Methods 0.000 description 9
- 238000012545 processing Methods 0.000 description 9
- 238000001514 detection method Methods 0.000 description 4
- 230000006866 deterioration Effects 0.000 description 4
- 230000005540 biological transmission Effects 0.000 description 3
- 230000006870 function Effects 0.000 description 3
- 239000012044 organic layer Substances 0.000 description 3
- 239000002131 composite material Substances 0.000 description 2
- 238000003384 imaging method Methods 0.000 description 2
- PJXISJQVUVHSOJ-UHFFFAOYSA-N indium(iii) oxide Chemical compound [O-2].[O-2].[O-2].[In+3].[In+3] PJXISJQVUVHSOJ-UHFFFAOYSA-N 0.000 description 2
- 239000000463 material Substances 0.000 description 2
- 238000005259 measurement Methods 0.000 description 2
- 230000036962 time dependent Effects 0.000 description 2
- 229910052782 aluminium Inorganic materials 0.000 description 1
- XAGFODPZIPBFFR-UHFFFAOYSA-N aluminium Chemical compound [Al] XAGFODPZIPBFFR-UHFFFAOYSA-N 0.000 description 1
- 239000003086 colorant Substances 0.000 description 1
- 238000005094 computer simulation Methods 0.000 description 1
- 230000007423 decrease Effects 0.000 description 1
- 238000011161 development Methods 0.000 description 1
- 238000010586 diagram Methods 0.000 description 1
- 230000000694 effects Effects 0.000 description 1
- 238000005401 electroluminescence Methods 0.000 description 1
- 238000002474 experimental method Methods 0.000 description 1
- 230000017525 heat dissipation Effects 0.000 description 1
- 229910003437 indium oxide Inorganic materials 0.000 description 1
- 239000010410 layer Substances 0.000 description 1
- 238000004519 manufacturing process Methods 0.000 description 1
- 238000012544 monitoring process Methods 0.000 description 1
- 230000005855 radiation Effects 0.000 description 1
- 229920006395 saturated elastomer Polymers 0.000 description 1
- 230000009291 secondary effect Effects 0.000 description 1
- 230000011664 signaling Effects 0.000 description 1
Images
Classifications
-
- G—PHYSICS
- G03—PHOTOGRAPHY; CINEMATOGRAPHY; ANALOGOUS TECHNIQUES USING WAVES OTHER THAN OPTICAL WAVES; ELECTROGRAPHY; HOLOGRAPHY
- G03G—ELECTROGRAPHY; ELECTROPHOTOGRAPHY; MAGNETOGRAPHY
- G03G21/00—Arrangements not provided for by groups G03G13/00 - G03G19/00, e.g. cleaning, elimination of residual charge
- G03G21/20—Humidity or temperature control also ozone evacuation; Internal apparatus environment control
-
- G—PHYSICS
- G03—PHOTOGRAPHY; CINEMATOGRAPHY; ANALOGOUS TECHNIQUES USING WAVES OTHER THAN OPTICAL WAVES; ELECTROGRAPHY; HOLOGRAPHY
- G03G—ELECTROGRAPHY; ELECTROPHOTOGRAPHY; MAGNETOGRAPHY
- G03G15/00—Apparatus for electrographic processes using a charge pattern
- G03G15/04—Apparatus for electrographic processes using a charge pattern for exposing, i.e. imagewise exposure by optically projecting the original image on a photoconductive recording material
- G03G15/043—Apparatus for electrographic processes using a charge pattern for exposing, i.e. imagewise exposure by optically projecting the original image on a photoconductive recording material with means for controlling illumination or exposure
-
- G—PHYSICS
- G03—PHOTOGRAPHY; CINEMATOGRAPHY; ANALOGOUS TECHNIQUES USING WAVES OTHER THAN OPTICAL WAVES; ELECTROGRAPHY; HOLOGRAPHY
- G03G—ELECTROGRAPHY; ELECTROPHOTOGRAPHY; MAGNETOGRAPHY
- G03G15/00—Apparatus for electrographic processes using a charge pattern
- G03G15/04—Apparatus for electrographic processes using a charge pattern for exposing, i.e. imagewise exposure by optically projecting the original image on a photoconductive recording material
- G03G15/04036—Details of illuminating systems, e.g. lamps, reflectors
- G03G15/04045—Details of illuminating systems, e.g. lamps, reflectors for exposing image information provided otherwise than by directly projecting the original image onto the photoconductive recording material, e.g. digital copiers
- G03G15/04063—Details of illuminating systems, e.g. lamps, reflectors for exposing image information provided otherwise than by directly projecting the original image onto the photoconductive recording material, e.g. digital copiers by EL-bars
Landscapes
- Physics & Mathematics (AREA)
- General Physics & Mathematics (AREA)
- Life Sciences & Earth Sciences (AREA)
- Engineering & Computer Science (AREA)
- Atmospheric Sciences (AREA)
- Biodiversity & Conservation Biology (AREA)
- Ecology (AREA)
- Environmental & Geological Engineering (AREA)
- Environmental Sciences (AREA)
- Printers Or Recording Devices Using Electromagnetic And Radiation Means (AREA)
- Electroluminescent Light Sources (AREA)
- Facsimile Heads (AREA)
Description
本発明のさらに他の局面は、自己発熱により発光光量が変化する複数の発光素子であって、主走査方向にライン状に配列された複数の発光素子と、前記複数の発光素子が、前記主走査方向に並ぶ所定数の発光素子を含む複数のグループに分割される場合において、前記グループ毎に時刻t0から時刻t0+Δtまでの発光素子の発熱量を算出する制御手段と、を備え、前記制御手段はさらに、前記グループ毎に、前記時刻t0から前記時刻t0+Δtまでの発熱量と、前記時刻t0での温度とに基づき、前記時刻t0+Δtでの温度を算出し、前記制御手段は、前記グループ毎に算出した温度分布を平滑化した後に、各前記発光素子の温度を算出す。
本発明のさらに他の局面は、上記光書き込み装置を備えた画像形成装置である。
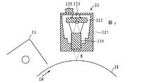
図1等において、x軸、y軸およびz軸は、画像形成装置の左右方向、前後方向および上下方向とする。また、y軸は、光ビームBの主走査方向を示す。
図1において、画像形成装置1は、例えばMFP(Multifunction Peripheral)であって、各色用の感光体ドラム28を用いて各色のトナー像を形成し、各色のトナー像を中間転写ベルト24上に合成し、その後、合成トナー像を記録媒体Sに転写する。以下、このような印刷プロセスを詳説する。
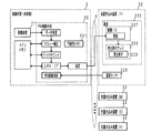
図4に示すように、制御手段3は、YMCK各色の光書き込み装置22の駆動制御のため、少なくとも、画像処理部31と、PH制御手段32と、を含む。
次に、図5を参照して、本画像形成装置1における初期温度設定について説明する。初期温度設定は、画像形成装置1の主電源投入直後、または、図示しないパーソナルコンピュータ等から印刷指示を受け取ったときに実施される。
以下、あるグループA0におけるある時刻t0から時刻t0+Δtまでの素子温度の変化量の算出方法について説明する。この算出方法を各グループに繰返し適用することで、グループ毎に時間ステップΔt単位で素子温度を算出することができる。
図7において、PH制御手段32は、画像処理部31で生成されたラスタデータにおいて、時刻t0からt0+Δtまでの間に感光体ドラム28に書込むべきデータに基づき、グループA0に属する発光素子226毎に、時間ステップΔtにおける発光時間を導出する(S201)。
次に、各発光素子226に供給される駆動電流の温度補正について、図9を参照して説明する。PH制御手段32は、不揮発性メモリ321に、発光素子226のそれぞれについて、素子温度毎の発光光量を、予め定められた基準温度T1での発光光量L1を100%とした時の比で記述したテーブルを保持する。下表2には、ある発光素子226の発光光量の温度特性が示される。
以上説明した通り、本画像形成装置1によれば、少なくとも一つの温度センサ225は必要となるものの、発光素子226毎に各種測定手段を用いることなく、各発光素子226の温度を導出することが可能となる。よって、低コストで簡単な構成で発光素子の温度を求めることが可能な光書き込み装置および画像形成装置を提供することができる。
また、発光素子226が局所的に温度上昇した際に、発光素子226の破壊を防止するための駆動停止制御を行うことができる。
また、印刷開始前や紙間において暖機運転や発光素子226の劣化度合いを揃える目的で、発光素子226の発光を行う場合に生じる温度変化にも追従することができる。
なお、上記実施形態はOLEDに特に好適であるとして説明した。しかし、これに限らず、自己発熱により発光光量が変化する発光素子226であれば、例えばレーザダイオードにも本実施形態は適用可能である。
2 プロセスユニット
22 光書き込み装置
222 基板
223 発光素子アレイ
225 温度センサ
226 発光素子
3 制御手段
32 PH制御手段
Claims (8)
- 自己発熱により発光光量が変化する複数の発光素子であって、主走査方向にライン状に配列された複数の発光素子と、
前記複数の発光素子が、前記主走査方向に並ぶ所定数の発光素子を含む複数のグループに分割される場合において、前記グループ毎に時刻t0から時刻t0+Δtまでの発光素子の発熱量を算出する制御手段と、
前記グループ毎に、前記グループに含まれる前記所定数の発光素子の各々の駆動電流値を記録するメモリとを備え、
前記制御手段は、
前記グループ毎に、前記グループに含まれる前記所定数の発光素子の各々に供給される駆動電流値を、前記メモリから取得する取得手段と、
前記グループ毎に、前記取得手段にて取得した前記グループに含まれる前記所定数の発光素子の各々の駆動電流値と、前記グループに含まれる前記所定数の発光素子の各々に供給される印加電圧と、前記グループに含まれる前記所定数の発光素子の各々の発熱効率と、前記グループに含まれる前記所定数の発光素子の各々が前記時刻t0から前記時刻t0+Δtまでの間に発光する発光時間と、に基づき、前記グループに含まれる前記所定数の発光素子の各々の時刻t0から時刻t0+Δtまでの発熱量を算出する第1の算出手段と、
前記グループ毎に、前記第1の算出手段にて算出した発熱量の総和をとることにより、前記グループの時刻t0から時刻t0+Δtまでの発熱量を算出する第2の算出手段とを含み、
前記制御手段はさらに、前記グループ毎に、前記時刻t0から前記時刻t0+Δtまでの発熱量と、前記時刻t0での温度とに基づき、前記時刻t0+Δtでの温度を算出する、光書き込み装置。 - 自己発熱により発光光量が変化する複数の発光素子であって、主走査方向にライン状に配列された複数の発光素子と、
前記複数の発光素子が、前記主走査方向に並ぶ所定数の発光素子を含む複数のグループに分割される場合において、前記グループ毎に時刻t0から時刻t0+Δtまでの発光素子の発熱量を算出する制御手段と、を備え、
前記制御手段はさらに、前記グループ毎に、前記時刻t0から前記時刻t0+Δtまでの発熱量と、前記時刻t0での温度とに基づき、前記時刻t0+Δtでの温度を算出し、
前記制御手段は、前記グループ毎の温度の算出に、対象となるグループにおける前記時刻t0から前記時刻t0+Δtまでの発熱量と、前記対象となるグループと隣接するグループの前記時刻t0での温度と、を用いる、光書き込み装置。 - 前記制御手段は、前記対象となるグループと隣接するグループにおける前記時刻t0から前記時刻t0+Δtまでの発熱量を、さらに用いる、請求項2に記載の光書き込み装置。
- 各前記発光素子の周囲の外気温度を検出する温度センサをさらに備え、
前記制御手段は、前記グループ毎の温度の算出に、前記時刻t0から前記時刻t0+Δtまでの間で前記温度センサにより検出された外気温度を、さらに用いる、請求項2または3に記載の光書き込み装置。 - 自己発熱により発光光量が変化する複数の発光素子であって、主走査方向にライン状に配列された複数の発光素子と、
前記複数の発光素子が、前記主走査方向に並ぶ所定数の発光素子を含む複数のグループに分割される場合において、前記グループ毎に時刻t0から時刻t0+Δtまでの発光素子の発熱量を算出する制御手段と、を備え、
前記制御手段はさらに、前記グループ毎に、前記時刻t0から前記時刻t0+Δtまでの発熱量と、前記時刻t0での温度とに基づき、前記時刻t0+Δtでの温度を算出し、
前記制御手段は、前記グループ毎に算出した温度分布を平滑化した後に、各前記発光素子の温度を算出する、光書き込み装置。 - 前記制御手段は、前記グループ毎に算出した温度に基づき、各前記発光素子の駆動電流値を温度補正する、請求項1〜5のいずれかに記載の光書き込み装置。
- 各前記発光素子は有機EL素子である、請求項1〜6のいずれかに記載の光書き込み装置。
- 請求項1〜7のいずれかに記載の光書き込み装置を備えた、画像形成装置。
Priority Applications (3)
| Application Number | Priority Date | Filing Date | Title |
|---|---|---|---|
| JP2015097892A JP6263777B2 (ja) | 2015-05-13 | 2015-05-13 | 光書き込み装置および画像形成装置 |
| CN201610318036.3A CN106154785B (zh) | 2015-05-13 | 2016-05-12 | 具备多个发光元件的光写入装置及具备其的图像形成装置 |
| US15/153,235 US9671752B2 (en) | 2015-05-13 | 2016-05-12 | Optical writing device equipped with light emitting elements |
Applications Claiming Priority (1)
| Application Number | Priority Date | Filing Date | Title |
|---|---|---|---|
| JP2015097892A JP6263777B2 (ja) | 2015-05-13 | 2015-05-13 | 光書き込み装置および画像形成装置 |
Publications (2)
| Publication Number | Publication Date |
|---|---|
| JP2016210144A JP2016210144A (ja) | 2016-12-15 |
| JP6263777B2 true JP6263777B2 (ja) | 2018-01-24 |
Family
ID=57276999
Family Applications (1)
| Application Number | Title | Priority Date | Filing Date |
|---|---|---|---|
| JP2015097892A Active JP6263777B2 (ja) | 2015-05-13 | 2015-05-13 | 光書き込み装置および画像形成装置 |
Country Status (3)
| Country | Link |
|---|---|
| US (1) | US9671752B2 (ja) |
| JP (1) | JP6263777B2 (ja) |
| CN (1) | CN106154785B (ja) |
Families Citing this family (4)
| Publication number | Priority date | Publication date | Assignee | Title |
|---|---|---|---|---|
| JP6776650B2 (ja) * | 2016-06-23 | 2020-10-28 | 富士ゼロックス株式会社 | プリントヘッド及び画像形成装置 |
| JP7191625B2 (ja) * | 2018-10-04 | 2022-12-19 | キヤノン株式会社 | 画像形成装置 |
| JP7205266B2 (ja) * | 2019-02-05 | 2023-01-17 | コニカミノルタ株式会社 | 光書き込み装置および画像形成装置 |
| JP2024030014A (ja) * | 2022-08-23 | 2024-03-07 | コニカミノルタ株式会社 | 紙種判別装置、紙種判別方法、および紙種判別プログラム |
Family Cites Families (19)
| Publication number | Priority date | Publication date | Assignee | Title |
|---|---|---|---|---|
| JPS62280057A (ja) * | 1986-05-30 | 1987-12-04 | Matsushita Graphic Commun Syst Inc | Ledアレイヘツド |
| JPS62299360A (ja) * | 1986-06-19 | 1987-12-26 | Canon Inc | 画像露光装置 |
| JP2856262B2 (ja) * | 1990-03-19 | 1999-02-10 | 富士通株式会社 | Ledアレイのドット位置精度安定化装置 |
| JP3234685B2 (ja) * | 1993-08-17 | 2001-12-04 | ブラザー工業株式会社 | プリンタの印字デューティ制御装置 |
| US5825399A (en) * | 1996-02-28 | 1998-10-20 | Eastman Kodak Company | Data-dependent thermal compensation for an LED printhead |
| JP3692610B2 (ja) * | 1996-05-13 | 2005-09-07 | カシオ電子工業株式会社 | カラー電子写真記録装置 |
| JP2003237124A (ja) | 2002-02-13 | 2003-08-27 | Ricoh Elemex Corp | 感熱記録装置 |
| JP2003280591A (ja) * | 2002-03-25 | 2003-10-02 | Sanyo Electric Co Ltd | 有機エレクトロルミネッセンス表示装置 |
| US7298350B2 (en) * | 2002-09-26 | 2007-11-20 | Seiko Epson Corporation | Image forming apparatus |
| JP2006119445A (ja) * | 2004-10-22 | 2006-05-11 | Fuji Photo Film Co Ltd | 有機el露光装置 |
| JP4513528B2 (ja) * | 2004-11-25 | 2010-07-28 | セイコーエプソン株式会社 | 発光装置、画像形成装置、表示装置、及び発光素子の駆動方法 |
| JP2007296819A (ja) * | 2006-05-08 | 2007-11-15 | Fuji Xerox Co Ltd | 画像形成装置 |
| JP2008177107A (ja) * | 2007-01-22 | 2008-07-31 | Seiko Epson Corp | 発光装置、画像形成装置、および発光装置の駆動方法 |
| JP2010052390A (ja) * | 2008-08-29 | 2010-03-11 | Seiko Epson Corp | 露光ヘッド、露光ヘッドの制御方法、画像形成装置 |
| JP5338224B2 (ja) * | 2008-09-25 | 2013-11-13 | カシオ計算機株式会社 | 露光装置及びその駆動制御方法 |
| JP2010120199A (ja) | 2008-11-18 | 2010-06-03 | Seiko Epson Corp | 画像形成装置および画像形成方法 |
| JP2010240858A (ja) * | 2009-04-01 | 2010-10-28 | Seiko Epson Corp | 露光ヘッド、露光ヘッドの制御方法、画像形成装置 |
| JP2014013335A (ja) * | 2012-07-05 | 2014-01-23 | Canon Inc | 表示装置及び表示パネルの駆動方法 |
| JP6554775B2 (ja) * | 2014-10-01 | 2019-08-07 | 株式会社リコー | 画像形成装置 |
-
2015
- 2015-05-13 JP JP2015097892A patent/JP6263777B2/ja active Active
-
2016
- 2016-05-12 CN CN201610318036.3A patent/CN106154785B/zh active Active
- 2016-05-12 US US15/153,235 patent/US9671752B2/en active Active
Also Published As
| Publication number | Publication date |
|---|---|
| CN106154785A (zh) | 2016-11-23 |
| US20160334756A1 (en) | 2016-11-17 |
| US9671752B2 (en) | 2017-06-06 |
| JP2016210144A (ja) | 2016-12-15 |
| CN106154785B (zh) | 2019-05-14 |
Similar Documents
| Publication | Publication Date | Title |
|---|---|---|
| JP6263777B2 (ja) | 光書き込み装置および画像形成装置 | |
| JP6217606B2 (ja) | 発光装置及び画像形成装置 | |
| JP2014228656A (ja) | 画像形成装置 | |
| JP5930750B2 (ja) | 画像形成装置及び画像形成方法 | |
| JP2010240858A (ja) | 露光ヘッド、露光ヘッドの制御方法、画像形成装置 | |
| JP6209771B2 (ja) | 画像形成装置 | |
| US10377146B2 (en) | Image forming apparatus | |
| JP6024212B2 (ja) | 画像形成装置の製造方法、プリントヘッドの光量調整方法、及びプロセスカートリッジの製造方法 | |
| JP2013233687A (ja) | プリントヘッドの光量調整方法、画像形成装置の製造方法、及びプロセスカートリッジの製造方法 | |
| JP5288732B2 (ja) | 光プリントヘッドの補正方法、光プリントヘッドおよび画像形成装置 | |
| JP2012022208A (ja) | 画像処理装置、画像形成装置、及び画像処理プログラム | |
| JP2010201800A (ja) | 露光ヘッド、画像形成装置、画像形成方法 | |
| JP7091192B2 (ja) | プリントヘッド及び画像形成装置 | |
| JP2008177107A (ja) | 発光装置、画像形成装置、および発光装置の駆動方法 | |
| JP2010052390A (ja) | 露光ヘッド、露光ヘッドの制御方法、画像形成装置 | |
| JP7073683B2 (ja) | 画像形成装置 | |
| JP2020055221A (ja) | 発光制御装置及び画像形成装置 | |
| JP2016099582A (ja) | 発光装置及び画像形成装置 | |
| JP2013242351A (ja) | プリントヘッドの光量調整方法及び画像形成装置の製造方法 | |
| JP2009069663A (ja) | 画像形成装置および画像形成方法 | |
| JP2019217666A (ja) | 光記録装置及び画像形成装置 | |
| JP2010046917A (ja) | 露光ヘッド、露光ヘッドの制御方法、画像形成装置 | |
| JP2016124231A (ja) | 画像形成装置、画像形成方法、及びプログラム | |
| JP2013010334A (ja) | 光プリントヘッド及び画像形成装置 | |
| JP2011098485A (ja) | 露光ヘッド、露光ヘッドの制御方法 |
Legal Events
| Date | Code | Title | Description |
|---|---|---|---|
| A977 | Report on retrieval |
Free format text: JAPANESE INTERMEDIATE CODE: A971007 Effective date: 20170418 |
|
| A131 | Notification of reasons for refusal |
Free format text: JAPANESE INTERMEDIATE CODE: A131 Effective date: 20170502 |
|
| A521 | Request for written amendment filed |
Free format text: JAPANESE INTERMEDIATE CODE: A523 Effective date: 20170630 |
|
| TRDD | Decision of grant or rejection written | ||
| A01 | Written decision to grant a patent or to grant a registration (utility model) |
Free format text: JAPANESE INTERMEDIATE CODE: A01 Effective date: 20171114 |
|
| A61 | First payment of annual fees (during grant procedure) |
Free format text: JAPANESE INTERMEDIATE CODE: A61 Effective date: 20171127 |
|
| R150 | Certificate of patent or registration of utility model |
Ref document number: 6263777 Country of ref document: JP Free format text: JAPANESE INTERMEDIATE CODE: R150 |
